ОДМ 218.6.023-2017 МЕТОДИЧЕСКИЕ РЕКОМЕНДАЦИИ ПО ОБЕСПЕЧЕНИЮ БЕЗОПАСНОСТИ ДОРОЖНОГО ДВИЖЕНИЯ НА УЧАСТКАХ ПЕРЕСЕЧЕНИЯ АВТОМОБИЛЬНЫМИ ДОРОГАМИ ПУТЕЙ МИГРАЦИИ ЖИВОТНЫХ
1 Разработан Федеральным автономным учреждением "Российский дорожный научно-исследовательский институт" (ФАУ "РОСДОРНИИ") по заказу Федерального дорожного агентства
2 Внесен Управлением строительства и эксплуатации автомобильных дорог Федерального дорожного агентства
3 Издан на основании распоряжения Федерального дорожного агентства от 31.08.2017 N 2363-р
4 Имеет рекомендательный характер
5 Введен впервые
1.1 Настоящий отраслевой дорожный методический документ (далее - Рекомендации) определяет принципы по обеспечению безопасности дорожного движения на участках пересечения автомобильными дорогами общего пользования (далее - дорога) путей миграции животных.
1.2 Рекомендации направлены на обеспечение безопасности дорожного движения, защиту жизни граждан, водителей, пешеходов и животных, охрану окружающей среды.
1.3 Настоящий методический документ предназначен для организаций, осуществляющих проектирование, строительство и эксплуатацию дорог.
В настоящем методическом документе использованы нормативные ссылки на следующие документы:
ТР ТС 014/2011 Технический регламент Таможенного союза. Безопасность автомобильных дорог
ГОСТ Р 21.1101-2013 Система проектной документации для строительства. Основные требования к проектной и рабочей документации
ГОСТ Р 52289-2004 Технические средства организации дорожного движения. Правила применения дорожных знаков, разметки, светофоров, дорожных ограждений и направляющих устройств
ГОСТ 33127-2014 Дороги автомобильные общего пользования. Ограждения дорожные. Классификация
ГОСТ Р 52766-2007 Дороги автомобильные общего пользования. Элементы обустройства. Общие требования
ГОСТ 9.303-84 Единая система защиты от коррозии и старения. Покрытия металлические и неметаллические неорганические. Общие требования к выбору
СП 20.13330.2011 Свод правил. Нагрузки и воздействия. Актуализированная редакция СНиП 2.01.07-85*
СП 34.13330.2012 Свод правил. Автомобильные дороги (актуализированная редакция СНиП 2.05.02-85*)
3.1 В настоящем ОДМ применены следующие термины с соответствующими определениями:
3.1.1 интенсивность движения: Количество транспортных средств, проходящее в единицу времени (час, сутки) через определенное сечение (участок) дороги.
3.1.2 ландшафтный путепровод: Искусственное сооружение над дорогой, предназначенное для совместного прохода по нему животных, пешеходов и транспортных средств.
3.1.3 экодук: Искусственное сооружение над дорогой, предназначенное для прохода по нему только животных.
3.1.4 тоннель: Горизонтальное или наклонное искусственное сооружение под дорогой, одно из измерений которого (длина) значительно превосходит по размерам два других (ширину и высоту).
3.1.5 скотопрогон: Искусственное подземное сооружение - разновидность туннеля, предназначенное для перехода домашнего скота, а также животных.
3.1.6 миграция животных: Передвижения животных, вызываемые изменением условий существования в местах их обитания или связанные с циклом их развития.
3.1.7 ограждение: Конструкция, устанавливаемая в полосе отвода автомобильной дороги и служащая для защиты участников дорожного движения от животных или направляющая их к местам безопасного перехода через дорогу.
3.1.8 место концентрации ДТП: Участок автомобильной дороги, не превышающий 1000 м вне населенного пункта, 200 м - в населенном пункте, или пересечение дорог, где в течение последних 12 месяцев произошло три и более ДТП одного вида или пять и более ДТП независимо от их вида, в результате которых погибли или ранены люди.
3.1.9 шумозащитные экраны: Элемент обустройства ландшафтных путепроводов и экодуков, конструкция которых защищает животных и пешеходов от негативного воздействия транспортного шума.
3.1.10 переход: Надземное или подземное искусственное сооружение с земляным покровом, предназначенное для прохода по нему животных и людей.
3.1.11 популяция: Совокупность диких животных одного вида, длительное время обитающих на одной территории.
3.1.12 район: Территория площадью более 100 км2, отличающаяся ландшафтными, экологическими, топографическими, природными, климатическими особенностями.
3.1.13 коэффициент стесненности: Параметр, связывающий габаритные размеры подземных переходов (ширину, высоту и длину) и показывающий степень стесненности подземных переходов.
3.2 В настоящем ОДМ применены следующие сокращения:
3.2.1 В: Ширина перехода, м.
3.2.2 Н: Высота перехода, м.
3.2.3 L: Длина перехода, м.
3.2.4 Kc: Коэффициент стесненности.
4.1 Выбор мест устройства переходов осуществляется на основе выявления аварийно-опасных участков дорог (мест концентрации ДТП) и мест пересечений путей миграции животных с дорогой.
4.2 Согласно СП 34.13330.2012 при пересечении автомобильной дорогой путей миграции животных необходимо разрабатывать специальные мероприятия по обеспечению безопасного и беспрепятственного их передвижения за счет:
- применения предупреждающих дорожных знаков о возможности появления диких животных;
- введения ограничения скорости движения;
- установки информационных указателей, предупреждающих водителей об опасности выхода животных на дорогу;
- установки мигающих сигналов;
- установки флуоресцентных знаков;
- устройства переходов;
- устройства ограждений;
- расчистки леса с целью улучшения видимости.
5.1 В целях обеспечения безопасности движения и сохранения популяций различных видов животных трассу дороги рекомендуется устраивать на расстоянии не менее чем в 1, 5 км от границ заповедных зон, природных парков и других мест обитания животных [1]. Трассу необходимо стремиться прокладывать по опушке лесов, без пересечения путей миграции животных, с максимальным сохранением рельефа и растительности.
5.2 При прохождении дороги вблизи заповедников, природных парков и других мест обитания животных ее положение определяется по результатам работы групп специалистов по охране окружающей среды.
5.3 В случае, когда при трассировании дороги не удается избежать пересечения путей миграции животных или когда дорога проходит в местах их обитания, для обеспечения свободного передвижения животных рекомендуется предусматривать специальные переходы через дорогу.
6.1 Выбор вида мероприятий на стадии выработки решений об инженерном обустройстве путей миграции животных через дорогу рекомендуется использовать одну из следующих концепций:
- недопущение выхода диких животных на дорогу путем установки ограждений (рисунок 1, а);
- пропуск диких животных через дорогу путем устройства надземных и/или подземных переходов (рисунок 1, б);
- пропуск животных через дорогу в одном уровне в местах обозначенными дорожными знаками и информационными указателями;
- учитывание боковой видимости в местах пересечения автомобильной дороги с возможными путями миграций животных.
6.2 Схема влияния дорожной инфраструктуры в полосе отвода дороги на природу и животных показана на рисунке 2.


6.3 Выбор проектного решения об инженерном обустройстве путей миграции животных рекомендуется проводить на основе технико-экономического обоснования и инвариантного проектирования проложения трассы.
6.4 При сопоставимых стоимостях проекта дороги рекомендуется выбрать вариант, наиболее удобный и безопасный для движения животных.
7.1 Пути пересечения дорог животными концентрируются на отдельных небольших по протяженности участках, местоположение которых устанавливается в результате анализа линейных графиков дорожно-транспортных происшествий с животными, выявляющих наиболее опасные места с высокой плотностью аварийных ситуаций в соответствии с методикой, изложенной в ОДМ 218.4.005-2010 [2].
7.2 Пути миграции животных, пересекающие проезжую часть дороги, определяются с помощью полевых обследований, определяющих вид популяции.
7.3 Интервалы между обустроенными переходами для животных рекомендуется устраивать в зависимости от их вида и статуса района (зоны) прохождения дороги (таблица 1). В случае если в данном районе (зоне) преобладают популяции животных разных видов, рекомендуется устраивать переходы со средним интервалом в 3 км.
Таблица 1
|
Район |
Виды животных различных популяций | ||
|
Лось, олень |
Косуля, кабан |
Лиса, заяц | |
|
Государственные природные заповедники федерального значения |
3-5 км |
1, 5-2, 5 км |
1 км |
|
Национальные парки федерального значения |
5-8 км |
2-4 км | |
|
Природные парки субъектов Российской Федерации |
8-15 км |
3-5 км | |
|
Государственные природные заказники федерального и регионального значения |
Не определено |
5 км | |
|
Памятники природы федерального и регионального значения |
Не определено |
Не определено |
1-3 км |
7.4 Расстояние между последовательно расположенными переходами является величиной переменной, находящейся в диапазоне от 1, 5 до 15 км, при этом рекомендуется их устраивать не чаще чем через 3 км (рисунок 3).

В особых случаях при определенном сочетании ландшафта, рельефа местности и среды обитания животных интервал между надземными переходами может составлять 200-300 м.
8.1.1 Ландшафтные путепроводы устраиваются для обеспечения прохода на путях миграции животных с совместным движением пешеходов и незначительным движением транспортных средств. Они должны быть устроены в районах активной миграции животных, вблизи притяжения населенных пунктов, парковых зон и др. (рисунок 4).

8.1.2 Ландшафтные путепроводы рекомендуется устраивать в равнинной местности, способствующих естественному изменению путей миграции.
8.1.3 Рекомендуемая ширина ландшафтного путепровода может составлять от 20 до 40 (50) м и зависит от крупности животных данного вида (таблица 2).
Таблица 2
|
Вид животного |
Ширина ландшафтного путепровода, м |
|
Лось |
Более 40 (50) |
|
Косули, кабаны, медведи, рыси, волки |
От 30 до 40 |
|
Лисицы, куницы |
Менее 30 |
8.1.4 В случае, если уровень настила центральной части ландшафтного путепровода выше земляного полотна, то в этом случае необходимо, чтобы подходы к нему были достаточно пологими и составляли не более 15_, а коэффициент заложения выемки соответствовал значениям не круче 5:1.
8.1.5 Центральная часть ландшафтного путепровода и места подхода к нему должны быть огорожены защитными сооружениями высотой не менее 2, 4 м, препятствующими попаданию животных на проезжую часть, снижающими уровень шума на путепроводе и не допускающими ослепление животных фарами транспортных средств.
8.1.6 На пролетах центральной части ландшафтного путепровода и на подходах к нему должны быть высажены растения, полностью соответствующие растительности местной фауны обитания животных (трава, кустарник, деревья) с учетом их потребности, определяемой видом животного мира, его популяцией.
8.1.7 Рекомендуемая глубина верхнего слоя почвы, устраиваемой на конструктивных элементах ландшафтного путепровода, предназначенной для посадки растительности, не должна быть менее 0, 3-0, 7 м.
8.1.8 Полосу движения, предназначенную для прохода животных, рекомендуется устраивать шириной не менее 1-1, 5 м. Граница разделения полос движения не должна иметь препятствий.
8.1.9 Полоса движения, выделенная для движения пешеходов и транспортных средств, может иметь гравийное, земляное или асфальтобетонное покрытие и устраивается в центральной части ландшафтного путепровода.
8.2.1 Предназначены для прохода по ним парнокопытных животных среднего и крупного размеров (лоси, олени, косули и др.), а также животных других популяций (рисунок 5).
8.2.2 Экодуки устраивают на дорогах, имеющих не менее четырех полос с интенсивностью движения не менее 7000-10000 авт./сут.
Примечание - На двухполосных дорогах экодуки рекомендуются устраивать в случае, если они проходят по территории государственных заказников или заповедников.

8.2.3 Экодуки представляют собой монолитные конструкции, выполненные из металла и бетона. Центральная часть экодука в плане может иметь параболическую или прямоугольную форму.
8.2.3 На пролетах центральной части экодуков и на подходах к ним должны быть высажены растения, полностью соответствующие растительности местной фауны обитания животных (трава, кустарник, деревья). При этом необходимо учитывать возможные различия среды обитания на разных сторонах автомобильной дороги, т.е. справа - преобладание хвойных видов деревьев, а слева - лиственных.
8.2.4 Для наибольшей схожести допускается высадка небольших деревьев высотой до 2, 5-4 м.
8.2.5 Рекомендуемая глубина верхнего слоя почвы, устраиваемой на конструктивных элементах экодуков, предназначенной для посадки растительности, не должна быть ниже следующих значений:
- травы - 0, 3 м;
- кустарника - 0, 6 м;
- деревьев - 1, 5 м.
8.2.6 Если уровень настила центральной части экодука выше земляного полотна, то в этом случае необходимо, чтобы подходы были достаточно пологими, с продольным уклоном в равнинной местности не более 15_, в горной местности - не более 25_.
9.1.1 Тоннели предназначены для организации прохода животных под проезжей частью дороги. Они могут быть выполнены в комбинации с местным (или техническим) проездом совмещенным с пешеходной или велосипедной дорожкой.
9.1.2 Тоннели устраиваются как можно ближе к звериным тропам или в непосредственной близости от них, где дорога проходит в насыпи.
9.1.3 Рекомендуемые габаритные размеры тоннелей и значения коэффициента стесненности в зависимости от разных видов животных приведены в таблице 3.
Таблица 3
|
N п/п |
Вид животных |
Ширина, м |
Высота, м |
Коэффициент стесненности, Kc |
|
1 |
Крупные животные (лоси, олени, лани) |
6-8 |
4-5 |
1, 0-1, 5 |
|
2 |
Косули, медведи, кабаны |
3-6 |
2-4 |
0, 5-1, 0 |
|
3 |
Барсуки, лисы, зайцы |
1-2 или диаметр 1, 0-1, 5 |
1-2 или диаметр 1, 0-1, 5 |
0, 2-0, 5 |
9.1.4 Оптимальные размеры тоннелей, чтобы животные не боялись ими пользоваться, могут быть оценены с помощью индекса стесненности (Kc) (1):

(1)
9.1.5 Длина тоннеля определяется шириной элементов поперечного профиля дороги.
9.1.6 Приемлемым соотношением высоты (ширины) к длине тоннелей для крупных и средних животных рекомендуется выдерживать 1:10.
9.1.7 Тоннели, имеющие проход любого сечения диаметром 1, 0 м, рекомендуется использовать при его длине до 20 м, при большем диаметре прохода длина тоннеля определяется шириной земляного полотна и величиной заложения откосов.
9.1.8 При устройстве тоннелей рекомендуется:
- устанавливать примыкающие к тоннелю ограждения, выполняющие функцию направляющих элементов для животных;
- по возможности устраивать в тоннелях воронкообразные (в виде раструба) входы и выходы.
9.1.9 В местах подходов и непосредственно внутри тоннелей рекомендуется устраивать вязанки с хворостом, палками, сучьями для привлечения мелких животных. В случае если дно перехода бетонное, то его необходимо перекрывать слоем почвенного или песчаного покрова толщиной 15-20 см (рисунки 6, 7).


9.1.10 Тоннель в виде трубы проектируется таким образом, чтобы обеспечить необходимый водоотвод. Переход устраивается с уклоном не менее 10_. Нижняя часть перехода выкладывается камнем, песком и землей (рисунок 8).

9.2.1 Места для пропуска животных через дорогу на путях их миграции могут быть совмещены со скотопрогонами, устроенными для пропуска домашних животных вне населенных пунктов.
9.2.2 Согласно СП 34.13330.2012 габариты скотопрогонов рекомендуется принимать по таблице 3.
Таблица 3
|
Назначение сооружений |
Ширина, м |
Высота, м |
|
Для прогона скота и прохода диких животных |
4 |
2, 5 |
9.2.3 Скотопрогоны при пересечении с дорогами рекомендуется отводить под ближайшие сооружения с соответствующим им обустройством.
На подходах к скотопрогону при необходимости устраивают ограждения длиной 15-20 м.
9.2.4 На дне скотопрогонов рекомендуется устраивать почвенный или песчаный слой толщиной 20-30 см.
10.1.1 Ограждения предназначены как непосредственно для защиты водителей от внезапного появления животных на проезжей части, так и для направления их к местам переходов через дорогу подземного или надземного типов.
10.1.2 Установка ограждений определяется с учетом следующих факторов:
- учитывающего статус прилегающих к дороге земель;
- категории дороги;
- количества ДТП, связанных с наездом на животных;
- вида популяций животных и интенсивности их миграции через дорогу.
10.1.3 Ограждения устанавливаются на пересечениях путей миграции животных с дорогами с интенсивностью движения более 2000 авт./сут, проложенных через лесные угодья, заповедники, пастбища и другие места не менее чем на 500 м в каждую сторону от установившегося пути движения животных (рисунок 9) [3].

10.1.4 Ограждения устанавливаются с двух сторон дороги на расстоянии от кромки проезжей части 20-25 м на дорогах I - III категорий и 10-15 м - на дорогах IV и V категорий (по линии границы полосы отвода), за исключением мест пересечений с автомобильными и железными дорогами, а также с водными преградами (реками, каналами), совмещая их с устройством искусственных сооружений (ландшафтных путепроводов, экодуков, тоннелей и скотопрогонов) [3].
10.1.5 Если лес расположен по обе стороны от дороги и не подходит с одной стороны или с обеих сторон вплотную к ней, то ограждения следует сооружать по обе стороны вдоль дороги только в том случае, если расстояние между противолежащими границами леса в среднем меньше чем 500 м.
10.1.6 Пересечения дорог в одном уровне данные места обустраиваются соответствующими ограждениями, препятствующими выходу животных на проезжую часть в зоне пересечения.
10.1.7 Ограждения рекомендуется устанавливать с обеих сторон дороги в одном створе в поперечном профиле, а в продольном профиле они устанавливаются по одной линии.
10.1.8 Ограждения не рекомендуется устраивать у подножья высоких насыпей дорог.
10.1.9 Места соединения ограждений с иными типами защитных сооружений (переходов) устраиваются без разрывов, промежутков, дырок и иных мест, через которые живонтные могли бы проникнуть и выйти на проезжую часть.
10.1.10 Элементы ограждения унифицируются по конструкции, применяемым материалам, монтажным инструментам и принадлежностям.
10.1.11 Ограждения в зоне искусственных сооружений рекомендуется устанавливать таким образом, чтобы они направляли диких животных к ним.
10.1.12 Ограждения оканчиваются в местах пересечений автомобильных дорог или в тех случаях, когда подвижность животных падает и перестает наблюдаться. Для предотвращения пересечения животными дороги в конце лесной зоны или прохода животных между ограждениями их следует устанавливать в 100 м от конца опушки леса.
10.2.1 По условиям расположения ограждения для животных подразделяются на:
- ограждающие (устанавливающиеся на ландшафтных путепроводах, экодуках и вдоль дороги);
- направляющие, располагаемые на походах к искусственным сооружениям для перехода животных через дорогу в разных уровнях.
10.2.2 По способу задерживания прохода животных ограждения подразделяются на:
- удерживающие;
- отпугивающие (с электропроводом, запахом и пр.).
12.2.3 По высоте ограждения подразделяются на:
- большие (высотой 2, 4 м и более);
- средние (высотой от 1, 6 до 2, 4 м);
- малые (высотой до 1, 6 м).
10.2.4 По виду конструкции ограждения подразделяются на:
- решетчатые;
- сетчатые;
- сплошные.
10.2.5 По виду исполнения ограждения подразделяются на:
- простые (приложение Б, рисунок Б.1);
- с отгибающимся верхом (приложение Б, рисунок Б.1);
- погруженные (приложение Б, рисунок Б.1);
- комбинированные (приложение Б, рисунок Б.2).
10.2.6 По используемому материалу:
- металлические;
- керамические;
- полимерные;
- деревянные.
10.3.1 Высота ограждения определяется в зависимости от вида популяции диких животных:
- олень, лось, лань - 2, 4-2, 8 м;
- косуля, кабан, барсуки - 1, 6-2, 4 м;
- лисы, норки, ласки, куницы - 1, 2-1, 6 м с размером ячейки 1-2 см.
10.3.2 Минимальную высоту ограждения измеряют со стороны подхода животных. Если место, где устанавливается ограждение, ниже, чем расположена дорога, то ограждение может быть ниже, чем уровень бровки земляного полотна.
10.3.3 В зависимости от рельефа и глубины снежного покрова высота ограждения может быть увеличена до 3, 7 м.
10.3.4 В особых случаях, когда в лесной зоне преобладают норки, ласки или куницы, общая высота ограждения над уровнем земли с отгибающейся верхней частью сетки должна быть не менее 15-25 см.
Верхнюю часть сетки рекомендуется отгибать на угол от 30° до 45° в сторону леса.
10.3.5 Для предотвращения прохода не только крупных, но и средних и мелких животных, рекомендуется устраивать комбинированные ограждения с ячейками, размер которых изменяется по высоте. Данный тип ограждения рекомендуется устраивать на подходах к ландшафтным путепроводам, экодукам, тоннелям и скотопрогонам.
10.3.6 В верхней и нижней части ограждения рекомендуется натягивать колючую проволоку. Колючая проволока, натянутая поверх ограждения, служит для визуального увеличения высоты ограждения, а внизу - для предотвращения подкапывания животных.
10.3.7 Погруженные ограждения рекомендуется использовать в местах, где присутствуют значительные популяции животных, способных копать и делать подкопы (медведи, псовые, барсуки, кабаны). Ограждение должно быть заглублено в почву (землю) на 20-40 см.
10.4.1 Элементы ограждения должны быть стойкими, прочными и устойчивыми к воздействию механических, климатических и биологических факторов в диапазоне температур от минус 50°С до 50°С.
10.4.2 Элементы ограждений должны обладать стойкостью к воздействию ветра, переносящего взвешенные частицы, при концентрации до 7 г/м3 при скорости ветра 15 м/с.
10.4.3 Конструкция ограждения должна выдерживать снеговую нагрузку не менее 1, 5 кН/м2.
10.4.4 Стойкость к воздействию повышенной влажности воздуха - до 100% при температуре 35°С.
10.4.5 Элементы ограждения должны быть изготовлены в климатическом исполнении "О" по ГОСТ 15150-69 для всех макроклиматических районов на суше, кроме климатического района с антарктическим холодным климатом.
10.4.6 Отклонение от прямолинейности продольных плоскостей элементов ограждения должно быть не более 3, 0 см/м.
10.4.7 Цвет ограждения рекомендуется применять зеленый, черный, красный или серый.
10.4.8 Крепление полотна ограждения на опоре рекомендуется для обеспечения его устойчивости при воздействии на него нагрузки не менее 1 кН.
10.4.9 Полотно ограждения может быть выполнено из сборных конструктивных элементов с размерами 1, 8-4, 0 м.
10.4.10 В случае применения металлических или деревянных ограждений зазор (расстояние) между вертикальными (горизонтальными) элементами рекомендуется устраивать от 2 до 12 см.
10.4.11 В случае применения сетчатых ограждений сетка должна соответствовать следующим требованиям:
- ячейки сетки размером от 4х4 до 16х16 см;
- диаметр проволоки сетчатых ограждений в горизонтальном направлении должен быть не менее 2, 0 мм, в вертикальном направлении - не менее 1, 9 мм, на последних крайних трех вертикальных рядах - не менее 2, 5-3, 0 мм;
- в местах с большими снегопадами сетка должна быть усилена кабелем, расположенным над ней;
- проволока сетчатого ограждения должна обладать прочностью на разрыв (растяжение) и быть выполнена из оцинкованной проволоки с прочностью на разрыв (растяжение) должна составлять не менее 0, 250-0, 270 г/м2.
10.4.12 Больший зазор и крупные ячейки сетки рекомендуется использовать для предупреждения выхода крупных животных, а небольшие - для предупреждения выхода мелких животных.
10.5.1 Опоры служат для крепления на них конструктивных элементов ограждений и могут быть:
- металлические;
- железобетонные;
- деревянные.
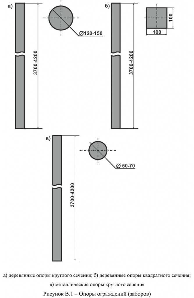
10.5.2. Металлические опоры должны быть диаметром 5-7 см. Деревянные опоры круглого сечения должны иметь диаметр 12-15 см, а квадратного сечения - не менее 10х10 см. Железобетонные опоры должны быть диаметром 8-10 см.
10.5.3 Глубина заглубления опор должна быть в диапазоне значений 0, 7-1, 0 м, но не менее 0, 7 м.
10.5.4 Шаг между опорами рекомендуется устраивать 2, 0-4, 0 м. Допускается увеличивать шаг стоек до 8-10 м.
10.5.5 Фундаменты опор должны обеспечивать устойчивость ограждения при нагрузках 16 кН на пролёт между опорами ограждения.
10.5.6 Опоры в местах изменения направления трассы ограждения (угловые опоры) должны быть установлены таким образом, чтобы полотно ограждения находилось с внешней стороны угла перегиба.
10.5.7 Опоры при монтаже должны быть установлены вертикально. Отклонение опор от вертикального положения должно составлять не менее 5-10 мм.
10.5.8 Высота опор над поверхностью земли назначается в зависимости от типа используемого ограждения, его конструкции и не должна быть выше самого ограждения.
10.5.9 Конструкция опор ограждений должна обеспечивать их устойчивость при воздействии нагрузки с изгибающим моментом в сечении опоры 10, 0 кН·м.
10.5.10 Типовые конструкции опор ограждений приведены в приложении В.
10.6.1 Монтаж полотна ограждения осуществляется с лицевой стороны опоры по отношению к дороге.
10.6.2 Перед установкой ограждения рекомендуется выполнить профилировку местности (корчевание пней, удаление камней, бугров, засыпка ям и т.д., и т.п.).
10.6.3 При профилировании местности должны быть оборудованы водостоки и водопропуски в местах пересечения ограждения с ручьями и местами, затопляемыми паводковыми водами.
11.1 Мероприятия по повышению безопасности дорожного движения осуществляются на основании ПОДД, места перехода животных через автомобильную дорогу должны быть обустроены техническими средствами организации дорожного движения в соответствии с ГОСТ Р 25289-2004. В зоне выхода на дорогу животных рекомендуется устанавливать знак 1.27 "Дикие животные" совместно с табличкой 8.2.1 "Зона действия" (рисунок 10). Одновременно может быть установлен знак 3.24 "Ограничение максимальной скорости" или 6.2 "Рекомендуемая скорость" (рисунок 11 а, б).


11.2 На участках, где устроено ограждение с обеих сторон и переходы для пропуска в разных уровнях животных, знак 1.27 "Дикие животные" не устанавливается. Также допускается не устанавливать знак 1.27 "Дикие животные", где установлено только ограждение.
11.3 Если на участке дороги за 3-5 лет произошло более 30% происшествий, связанных с наездом на животное, совершенных в темное время суток, то рекомендуется устанавливать знак 1.27 "Дикие животные" со светодиодной индикацией (рисунок 12).

11.4 На участках значительной протяженности, где возможен выход на дорогу диких животных, рекомендуется устанавливать дополнительные информационные щиты (приложение Г).
Приложение А

Приложение Б


Приложение В

Приложение Г
Г.1 В случае протяженности зоны выхода животных на двух- или трехполосную дорогу более 3 км рекомендуется через 4-6 км устанавливать с правой ее стороны двойные информационные щиты на желтом фоне с видом животного, пресекающего проезжую часть, на Г-образной опоре (рисунок Г.1). При этом изображение животного должно быть показано в сторону проезжей части. С другой стороны дороги устанавливаются аналогичные щиты в соответствии со схемой, представленной на рисунке Г.2.
Г.2 Щиты рекомендуется выполнять из световозвращающей пленки и устанавливать на отсыпных бермах. Их рекомендуется устраивать квадратной формы с размерами 600-900 мм в зависимости от категории дороги.

Г.3 На дорогах с двумя и более полосами в каждом направлении щиты при наличии разделительной полосы шириной 3 м и более рекомендуется устанавливать в соответствии со схемой, представленной на рисунке Г.3. При этом двойной щит устанавливается только на разделительной полосе.


Г.4 При установке на дороге дорожных знаков 1.27 "Дикие животные" и щитов с изображением животных рекомендуется наносить разметку 1.24.1 на проезжую часть с изображением соответствующего предупреждающего знака.
Г.5 При прохождении дороги через территории заповедников, национальных и природных парков рекомендуется устанавливать щиты с указанием вида животных, которые могут выходить на дорогу, и рекомендуемой скоростью (рисунок Г.4).

Библиография
|
[1] |
Приказ Минтранса России от 13.01.2010 N 4 "Об установлении и использовании придорожных полос автомобильных дорог федерального значения" | |
|
[2] |
ОДМ 218.4.005-2010 |
Рекомендации по обеспечению безопасности движения на автомобильных дорогах |
|
[3] |
ОДМ 218.6.017-2015 |
Методические рекомендации по применению дорожных ограждений различного типа на автомобильных дорогах федерального значения |


