МУ 2.6.1.038-2015 ОЦЕНКА ПОТЕНЦИАЛЬНОЙ РАДОНООПАСНОСТИ ЗЕМЕЛЬНЫХ УЧАСТКОВ ПОД СТРОИТЕЛЬСТВО ЖИЛЫХ, ОБЩЕСТВЕННЫХ И ПРОИЗВОДСТВЕННЫХ ЗДАНИЙ
Введение
Согласно требованиям Норм радиационной безопасности НРБ-99/2009 содержание радона в помещениях жилых, общественных и производственных зданий не должно превышать установленного предела.
Сверхнормативная концентрация радона в помещениях в основном образуется вследствие его избыточных поступлений в здания из грунтовых оснований. В связи с этим, для своевременного принятия мер по противорадоновой защите зданий, при проведении инженерных изысканий для строительства производится оценка потенциальной радоноопасности участков планируемой застройки.
Для обеспечения соответствия вновь строящихся зданий требованиям НРБ-99/2009 по величине среднегодовой эквивалентной равновесной объемной активности (ЭРОА) радона в воздухе помещений в ОСПОРБ-99/2010 и СанПиН 2.6.1.2800-10 установлены ограничения по величине плотности потока радона (ППР) на земельных участках под строительство жилых, общественных и производственных зданий. В случае превышения фактических значений ППР ограничивающего уровня в проекте строительства здания должны предусматриваться мероприятия по оценке защищенности здания от радона и снижению его поступления в воздух помещений.
Основной целью настоящих Методических указаний является внедрение в практику инженерно-экологических изысканий для строительства и санитарного надзора единых подходов к процедуре проведения контроля потенциальной радоноопасности земельных участков и оценке результатов такого контроля.
Настоящие Методические указания устанавливают порядок оценки потенциальной радоноопасности земельных участков под строительство жилых, общественных и производственных зданий, а также процедуру определения исходных данных, необходимых для проектирования их противорадоновой защиты.
Настоящие Методические указания предназначены для использования:
- лабораториями Центров гигиены и эпидемиологии при обеспечении осуществления федерального государственного санитарно-эпидемиологического надзора (контроля) за показателями радоновой безопасности земельных участков под строительство жилых, общественных и производственных зданий;
- организациями любой ведомственной принадлежности и форм собственности, аккредитованными в соответствующих областях измерений (испытаний) на проведение радиационного контроля земельных участков под строительство или проведение инженерных радиационно-экологических изысканий для строительства;
- проектными организациями любой ведомственной принадлежности и форм собственности, разрабатывающими и утверждающими технические задания на проведение инженерных радиационно-экологических изысканий на участках планируемой застройки.
В настоящем документе использованы ссылки на следующие нормативные документы:
Федеральный закон "О радиационной безопасности населения" от 09 января 1996 г. N 3-ФЗ.
Федеральный закон "Об охране окружающей среды" от 10 января 2002 г. N 7-ФЗ (ред. от 25.06.2012 г.);
Федеральный закон "О санитарно-эпидемиологическом благополучии населения" от 30 марта 1999 г. N 52-ФЗ.
Федеральный Закон "Об обеспечении единства измерений" от 26 июня 2008 г. N 102-ФЗ (в ред. ФЗ N 254 от 21.07.2014 г.).
Федеральный Закон "Технический регламент о безопасности зданий и сооружений" от 30 декабря 2009 г. N 384-ФЗ.
СанПиН 2.6.1.2523-09. Нормы радиационной безопасности (НРБ-99/2009). Зарегистрированы Министерством юстиции Российской Федерации 14 августа 2009 г., регистрационный N 14534.
СП 2.6.1.2612-10. Основные санитарные правила обеспечения радиационной безопасности (ОСПОРБ-99/2010). Зарегистрированы Министерством юстиции Российской Федерации 11 августа 2010 г., регистрационный N 18115.
СанПиН 2.6.1.2800-10. Гигиенические требования по ограничению облучения населения за счет природных источников ионизирующего излучения. Зарегистрированы Министерством юстиции Российской Федерации 27 января 2011 г., регистрационный N 19527.
СП 11-102-97. Свод Правил по инженерным изысканиям для строительства. Инженерно-экологические изыскания для строительства.
СП 47.13330.2012. Свод правил. Инженерные изыскания для строительства. Актуализированная редакция СНиП 11-02-96.
Р ФМБА России 15.45-2010. Разработка, изложение, представление на согласование и утверждение нормативных документов ФМБА России. Рекомендации.
Примечание - При пользовании настоящим документом целесообразно проверить действие ссылочных документов на территории России по соответствующим информационным указателям, опубликованным в текущем году.
В настоящем документе применены следующие термины с соответствующими им определениями:
радон - изотоп Rn-222 (далее радон), одноатомный инертный радиоактивный газ с периодом полураспада 3, 82 суток, дочерний продукт распада Ra-226 (далее радий);
мощность активного слоя (грунта) - толщина слоя грунта, при которой выделения радона на его верхней поверхности обусловлены в основном действием источников радона внутри слоя [1];
литологическая разность (слой) - геологическое тело, сложенное осадочными отложениями и образованиями, однородными по составу и генезису;
геодинамически активная зона - пространственно локализованный линейный или изометричный объем (участок) земной коры разного порядка, в котором в силу различных причин имеются или могут возникать условия для концентрации дополнительных тектонических напряжений и повышенных градиентов движений и деформированности горных пород [2], обуславливающих перемещение радона на расстояние, превышающее длину диффузионного переноса;
плотность потока радона (ППР) - активность радона, проходящего через единицу площади в единицу времени, выражаемая в единицах " мБк/м2с";
эманирование - процесс выделения радона из твердой фазы грунта в поровое пространство; выделившийся в поры радон, способный к миграции, называют "свободным", а оставшийся в твердой фазе - "связанным";
коэффициент эманирования (KЭМ, отн. ед.) - характеристика эманирующей способности грунта, определяемая выражениями [3]
(1)
где CRn - удельная активность свободного радона в грунте при отсутствии переноса, Бк/кг;
CRa - удельная активность радия в грунте (CRa=CRn+C*Ra) Бк/кг;
C*Ra - удельная активность связанного радона в грунте, Бк/кг.
стандартное измерение - процедура лабораторного гамма-спектрометрического измерения удельной активности радия (CRa) и одновременно коэффициента эманирования пробы грунта в счетном образце, предусматривающая его выдержку в герметичном состоянии в течение не менее двух недель [4, 5].
экспрессное измерение - процедура лабораторного гамма-спектрометрического экспресс-определения удельной активности радия (C*Ra) в счетном образце без его выдержки в герметичном состоянии;
счетный образец - подготовленная к измерениям проба грунта, помещенная в измерительный контейнер гамма-спектрометрической установки;
радоноопасность - заключенная в объекте возможность нанесения ущерба здоровью человека вследствие избыточного воздействия радона на его организм [6];
аномально радоноопасный участок - участок, на котором поток радона из грунта, значительно превышает по величине поток, обусловленный только диффузионным переносом радона в этом грунте;
потенциально радоноопасный участок - участок, на котором строительство незащищенного от поступлений радона здания, в силу неблагоприятного сочетания геологических, геодинамических, гидрогеологических условий и радиационно-физических свойств грунтов, может привести к сверхнормативной концентрации радона в помещениях;
признаки потенциальной радоноопасности - количественные и качественные показатели геологической среды участка, свидетельствующие о высокой вероятности его потенциальной радоноопасности (высокие по сравнению со средними для данной местности значения ППР с поверхности грунта, удельной активности радия в грунте и его эманационной способности, ОА радона в подпочвенном воздухе, ЭРОА или ОА радона в воздухе помещений расположенных на участке зданий, или значения этих показателей, превышающие соответствующие нормируемые или допустимые уровни, а также наличие геодинамически активных зон);
оценка потенциальной радоноопасности - ранжирование участков строительства на потенциально радоноопасные и безопасные в зависимости от наличия признаков потенциальной радоноопасности, проводящееся на основе результатов расчета, а также полевых и лабораторных измерений.
В настоящем документе применены следующие аббревиатуры и обозначения:
ППР - плотность потока радона;
ОА - объемная активность;
ЭРОА - эквивалентная равновесная объемная активность;
ЛР - литологическая разность;
ППРИ - значение измеренной величины ППР с поверхности грунта на участке;
Δ- неопределенность значения измеренной ППР с поверхности грунта на участке;
ППРi - измеренное значение ППР в i-й контрольной точке;
Δi - неопределенность, обусловленная применяемым методом измерения ППР в i-ой контрольной точке;
ППРР - расчетное значение ППР с поверхности грунта на участке;
ППРД - допустимый уровень ППР на участках строительства.
4.1. Оценка потенциальной радоноопасности участка планируемой застройки осуществляется с целью:
- обоснования целесообразности предусматривать противорадоновую защиту здания при его проектировании;
- получения исходных данных, необходимых для расчета требуемых параметров противорадоновой защиты здания;
- обоснования целесообразности проведения углубленных исследований потенциальной радоноопасности участка в случае недостаточности или неоднозначности результатов первичной оценки.
4.2. Оценка потенциальной радоноопасности не проводится (не требуется) на участках:
- расположенных в зоне вечной мерзлоты при строительстве без оттаивания грунтов основания;
- предназначенных для размещения открытых спортивных площадок, автостоянок, навесов, рекреационных зон, остановок транспорта, комплексного благоустройства и озеленения, трасс трубопроводов, электрокоммуникаций и т.п.;
- отводимых для строительства зданий и сооружений, в помещениях которых не предполагается длительное пребывание людей или организация постоянных рабочих мест.
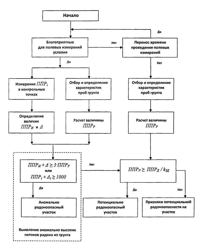
4.3. Порядок оценки потенциальной радоноопасности участка и определения исходных данных для проектирования противорадоновой защиты включает в себя:
- измерение в полевых условиях плотности потока радона (ППР) с поверхности грунта на участке и оценку неопределенности результата измерений;
- отбор проб грунта из пробуренных на участке скважин из разнородных литологических слоёв и проведение лабораторных измерений их радиационно-физических характеристик (за исключением почвенно-растительного слоя);
- расчетное определение ППР на участке с использованием данных о радиационно-физических характеристиках грунтов в геологическом разрезе;
- выявление аномально высоких потоков радона из грунта по результатам сопоставления измеренного и расчетного значений ППР;
- оценку соответствия показателей радоноопасности участка установленным требованиям.
Последовательность выполнения вышеперечисленных работ показана на блок-схеме в Приложении А.
4.4. Полевые измерения ППР с поверхности грунта проводятся с целью выявления аномально радоноопасных участков путем сопоставления результатов измерений ППР с результатами расчета этой величины, осуществляемого с использованием данных о радиационно-физических характеристиках грунтов [7]. Полевые измерения ППР не проводятся при перечисленных в п. 5.1.5 неблагоприятных условиях. В этом случае проведение измерений возможно только после инженерной подготовки участка, либо должно быть перенесено на время, характеризующееся благоприятными условиями.
4.5. Если по архивным данным на территории отсутствуют признаки потенциальной радоноопасности, то при невозможности в период изысканий проведения инженерной подготовки участка или переноса измерений, оценка потенциальной радоноопасности участка может быть осуществлена только на основе расчета ППР с использованием данных о радиационно-физических характеристиках грунтов.
4.6. На территориях, для которых архивные данные отсутствуют, либо по архивным данным имеются признаки потенциальной радоноопасности, а также при неглубоком залегании (менее 1, 5 м) скальных (полускальных) грунтов [8], перекрытых хорошо проницаемыми отложениями, полевые измерения ППР с поверхности грунта должны быть выполнены в обязательном порядке. При невозможности проведения измерений непосредственно в период изысканий, их необходимо провести на последующих стадиях до утверждения окончательного проекта здания, либо провести оценку потенциальной радоноопасности в соответствии с п. 4.8.
4.7. Расчет ППР проводится по формуле (5) на основе результатов экспрессных измерений радиационно-физических свойств грунтов, слагающих геологический разрез до глубины 2, 0 м ниже максимальной глубины заложения подошвы фундамента проектируемого здания.
В случае необходимости повышения достоверности оценки соответствия показателей радоноопасности участка установленным требованиям расчет значения ППР выполняется на основе результатов стандартных измерений радиационно-физических свойств грунтов основания проектируемого здания с использованием формулы (Б1), приведенной в Приложении Б. Расчет выполняется только при наличии результатов инженерно-геологических изысканий на участке и при известной глубине заложения подошвы фундамента проектируемого здания.
Неопределенность расчета среднегодовой величины ППР на основе результатов стандартных измерений радиационно-физических характеристик грунтов с использованием формулы (Б1) не превышает 40% (при доверительной вероятности не менее 95%) на участках вне геодинамически активных зон [7].
4.8. Следует учитывать, что важным дополнительным признаком потенциальной радоноопасности участка является содержание радона в расположенных на участке или непосредственно граничащих с участком зданиях, конструктивные особенности или состояние которых не исключают возможность поступления радона из грунта в помещения. Строгого количественного критерия для квалификации потенциальной радоноопасности участка на основе данного признака не установлено. Однако в случае невозможности оценки потенциальной радоноопасности путем измерений и расчета ППР, и при наличии существующих зданий на участке или непосредственно вблизи его границ, рекомендуется оценивать радоноопасность в соответствии с критерием, приведенным в п. 8.4.
5.1. Полевые измерения плотности потока радона из грунта.
5.1.1. При проведении изысканий на предпроектной стадии и отсутствии привязки здания используется сеть контрольных точек с шагом 25x25 м или более в зависимости от площади участка:
- до 5 га - число контрольных точек принимается из расчета не менее 15 на 1 га, но не менее 10 на весь участок;
- от 5 до 10 га - не менее 10 точек на 1 га, но не менее 75 на весь участок;
- свыше 10 га - не менее 5 точек на 1 га, но не менее 100 на весь участок.
Если имеется привязка проектируемого здания к плану участка, то измерения плотности потока радона производятся в узлах сети контрольных точек не более 10x10 м, располагаемой в пределах контура здания (площади застройки) при общем числе контрольных точек не менее 10, независимо от площади застройки здания.
5.1.2. Точки измерения ППР располагаются в узлах сети в центре специально подготовленных площадок (лунок), размером около 0, 5x0, 5 м. При подготовке площадок удаляется почвенно-растительный слой (дерн) на глубину не более 10 см. Площадки должны располагаться на сухих участках микрорельефа, в них не должна скапливаться влага в процессе пробоотбора.
5.1.3. Продолжительность пробоотбора должна составлять не менее 4 часов.
5.1.4. Если при подготовке площадок необходима пробивка ледового, асфальтового, бетонного или иного твердого покрытия, подготовленные лунки перед измерением ППР следует выдерживать в открытом состоянии не менее одних суток.
5.1.5. Полевые измерения ППР не могут проводиться при следующих неблагоприятных условиях:
- наличии на поверхности искусственных или естественных (ледяных и т.п.) покрытий (без их пробивки и выдерживания лунок в соответствии с п. 5.1.4.),
- наличии воды на поверхности грунта в периоды весеннего снеготаяния и зимних оттепелей;
- в период затяжных дождей (сутки и более перед началом измерений) и не ранее, чем через трое суток после их окончания;
- при избыточном увлажнении почв и грунтов на участке, когда почвенная масса проявляет текучесть (при сжимании в руке из нее выделяется вода);
- при подтоплении участка, когда большая часть поверхности участка покрыта водой или глубина уровня грунтовых вод и/или верховодки менее 0, 5 м (в понижениях микрорельефа застаивается вода);
5.1.6. При наличии на участке хотя бы одного из неблагоприятных условий, перечисленных в п. 5.1.5, следует либо изменить условия (инженерная подготовка участка), либо перенести полевые измерения ППР на период с благоприятными условиями для выполнения измерений.
5.2. Отбор проб грунта
5.2.1. Отбор проб грунта для лабораторного определения радиационно-физических характеристик проводится из скважин. Рекомендуется его совмещать с проведением инженерно-геологических изысканий.
5.2.2. Количество скважин для отбора проб грунта рекомендуется выбирать из условия: 1 скважина на каждые 0, 1 гектара площади одиночного здания, но не менее 2 скважин на одно здание.
5.2.3. Пробы для лабораторного исследования следует отбирать из всех литологических типов грунтов, распространенных на участке до глубины на 2, 0 м ниже проектной отметки заложения подошвы фундамента здания [9] за исключением почвенно-растительного слоя.
5.2.4. На участке из каждой литологической разности должно быть отобрано не менее 2 проб грунта. Объем каждой пробы грунта зависит от типа средства измерений радиационно-физических характеристик грунтов и применяемых методик пробоподготовки.
5.3. Лабораторные исследования характеристик грунтов
5.3.1. Лабораторные исследования проводятся с целью определения следующих радиационно-физических характеристик проб грунта:
- плотности;
- удельной активности радия;
- коэффициента эманирования.
5.3.2. Значения плотности проб грунта следует принимать по результатам инженерно-геологических изысканий на участке. Если результатов инженерно-геологических изысканий нет в наличии расчет ППР по формуле (5) допускается проводить с использованием справочных значений плотности основных типов грунтов приведенных в Приложении В.
5.3.3. Удельная активность радия и коэффициент эманирования в грунтах определяются путем проведения стандартных или экспрессных измерений.
5.3.4. При проведении экспрессных измерений величина удельной активности радия CRa, Бк/кг, в пробе определяется по формуле:
, (2)
где C*Ra - результат экспрессного измерения удельной активности радия в сухом незагерметизированном счетном образце, Бк/кг;
KЭМ - коэффициент эманирования в пробе грунта, отн. ед., справочные значения которого для основных типов грунтов приводятся в Приложении В.
5.3.5. При наличии на участке специфических типов грунтов, обладающих высокой удельной активностью радия и не указанных в Приложении В, а также в случае необходимости уточнения соответствия результата расчета ППР установленным требованиям, выполняются стандартные измерения.
6.1. Применяемые средства измерений и соответствующие им методики выполнения измерений должны обеспечивать:
- измерение ППР с поверхности грунта на уровне 20 мБк/(м2с) с неопределенностью не более 40% при доверительной вероятности не менее 95%;
- измерение удельной активности радия-226 в пробах грунта на уровне 20 Бк/кг с неопределенностью не более 30% при доверительной вероятности не менее 95%.
6.2. Определение значения и неопределенности коэффициента эманирования радона в пробах грунта при проведении стандартных измерений должно выполняться в соответствии с [5].
6.3. Оценка среднегодового значения и неопределенности величины ЭРОА радона в помещениях должна выполняться в соответствии с [10] с учетом коэффициента вариаций радона, значения которого приводятся в Приложении Д.
6.4. Применяемые средства измерений должны быть утвержденного типа и иметь действующие свидетельства о поверке. Также должны быть аттестованы в установленном порядке применяемые методики выполнения измерений.
7.1. Определение ППР по результатам полевых измерений.
7.1.1. Значение измеренной величины ППР с поверхности грунта на участке ППРИ, мБк/(м2с), определяется по формуле:
, (3)
где i = 1, 2, 3, ..., n - порядковый номер контрольной точки;
n - количество контрольных точек;
ППРi - измеренное значение ППР в i-й контрольной точке, мБк/(м2с);
KП - коэффициент, учитывающий влияние глубины промерзания грунта на величину ППР [11], отн. ед., значение которого приводится в Приложении Г.
7.1.2. Неопределенность значения измеренной ППР с поверхности грунта на участке Δ, мБк/(м2с), рассчитывается по формуле:
, (4)
где k - коэффициент охвата, равный 2 [12];
δ- относительная неопределенность измерений ППР согласно применяемой методике измерений, отн. ед.; при отсутствии данных принимать δ=0, 4.
7.2. Расчет ППР с использованием результатов лабораторного исследования характеристик проб грунтов
7.2.1. Расчетное значение ППР с поверхности грунта на участке ППРР, мБк/(м2с), с использованием результатов экспрессных измерений характеристик проб грунта вычисляется по формуле:
, (5)
где j = 1, 2, 3, ..., m - порядковый номер пробы грунта;
m - количество отобранных на участке проб грунта;
C*Raj - результат экспрессного измерения удельной активности радия в j-ой пробе, Бк/кг;
KЭМj - коэффициент эманирования в j-й пробе (принимается в соответствии с Приложением В), отн. ед.;
ρj - плотность грунта в j-й пробе, кг/м3.
7.2.2. Расчетное значение ППР с поверхности грунта на участке ППРР, мБк/(м2с) с использованием результатов стандартных измерений радиационно-физических характеристик проб грунта вычисляется в соответствии с Приложением Б.
8.1. Оценка потенциальной радоноопасности проводится в соответствии с алгоритмом, приведенным в Приложении А.
8.2. Участок квалифицируется как аномально радоноопасный, если выполняется условие:
ППРИ+Δ≥3·ППРР, (6)
либо, если хотя бы в одной контрольной точке при полевых измерениях ППР, выполняется условие [13, 14]:
ППРi+Δi≥1000 мБк/(м2с), (7)
где Δi - неопределенность, обусловленная применяемым методом измерения ППР в i-ой контрольной точке, мБк/(м2с).
8.3. Участок квалифицируется как потенциально радоноопасный, если выполняется условие:
, (8)
где ППРД - допустимый уровень ППР на участках строительства, согласно действующим санитарным правилам (ОСПОРБ-99/2010) или иным документам;
kЗД - коэффициент, значение которого равно 1, 2 на участках для строительства детских и лечебных учреждений и 1, 0 - для всех остальных зданий.
8.4. Участок рекомендуется также считать потенциально радоноопасным, если не менее чем в 10% обследованных помещений на первых этажах разных зданий, расположенных на этом участке или в непосредственной близости от него, среднегодовые значения ЭРОА радона с учетом неопределенности превышают действующие нормативные требования.
8.5. При проектировании здания для строительства на потенциально радоноопасном участке необходимо выполнять расчетную оценку способности подземных ограждающих конструкций препятствовать избыточным поступлениям радона в здание [9].
8.6. На аномально радоноопасных участках рекомендуется проведение специальных, более детальных исследований с осуществлением структурно-геодинамического картирования территории.
8.7. В случаях, когда необходимость и содержание мероприятий по противорадоновой защите здания не поддается однозначному определению, рекомендуется прибегать к научно-технической поддержке компетентных организаций, ведущих исследования в рассматриваемой области.
Результаты полевых и лабораторных измерений, расчета ППР, а также сведения об участке и другая необходимая информация, заносятся в Протокол оценки потенциальной радоноопасности участка. Рекомендуемое содержание Протокола приводится в Приложении Е.
Библиография
[1] Гулабянц Л.А., Заболотский Б.Ю. Мощность "активного" слоя грунта при диффузионном переносе радона в грунтовом основании здания//АНРИ. 2001. N 4 (27). С. 38-40.
[2] Макаров В.И., Дорожко А.Л., Макарова Н.В., Макеев В.М. Геодинамически активные зоны платформ//Геоэкология. 2007. N 2. С. 99-110.
[3] Микляев П.С. Петрова Т.Б. Учет эманирования грунтов и почв при измерениях радия-226 на сцинтилляционных гамма-спектрометрах//АНРИ. 2006 N 3. С. 45-50.
[4] ГОСТ 30108-94. Материалы и изделия строительные. Определение удельной эффективной активности естественных радионуклидов. М.: Стандартинформ, 2007 г.
[5] Методика определения коэффициента эманирования радона в пробах строительных материалов и грунтов. Методика измерений. ФР.1.40.2015.
[6] Гулабянц Л.А. Радоноопасность. Термины, критерии, признаки//АНРИ, 2013. N 1 (72). С. 12-14.
[7] Отчет о НИР "Проведение систематических обследований жилых и общественных зданий на содержание радона и разработка методических документов по обеспечению радонобезопасности строящихся зданий". Том 2. Глава 2. Исследование показателей радоноопасности на экспериментальных площадках./Научн. руководитель А.М. Маренный. ФГУП НИЦ РХБГ ФМБА России. Москва, 2013. 204 с.
[8] ГОСТ 25 100-2011. Грунты. Классификация. М.: Стандартинформ, 2013 г.
[9] Гулабянц Л.А. Пособие по проектированию противорадоновой защиты жилых и общественных зданий. М.: НО "ФЭН-НАУКА", 2013. 52 с.
[10] МУ 2.6.1.037-2015. Определение среднегодовых значений ЭРОА изотопов радона в воздухе помещений по результатам измерений разной длительности. Методические указания (введены в действие 14.05.2015 г.).
[11] Климшин А.В. и др. Влияние промерзания поверхностного слоя грунтов на перенос радона//Вестник КРАУНЦ. Науки о Земле. 2010. N 2. Выпуск 16. С. 146-151.
[12] ГОСТ Р 54500.3-2011. Руководство ИСО/МЭК 98-3:2008. Неопределенность измерения. Часть 3. Руководство по выражению неопределенности измерения.
[13] Микляев П.С., Петрова Т.Б. Механизмы формирования потока радона с поверхности почв и подходы к оценке радоноопасности селитебных территорий//АНРИ. 2007. N 2 (49). С. 2-16.
[14] Микляев П.С., Петрова Т.Б., Цапалов А.А. Принципы оценки потенциальной радоноопасности территорий//АНРИ. 2008. N 4 (55). С. 14-19.
[15] Микляев П.С., Петрова Т.Б., Охрименко С.Е. Исследования коэффициента эманирования грунтов//АНРИ. 2005. N 2. С. 30-38.
[16] Микляев П.С., Петрова Т.Б. Исследования эманирования глинистых пород по радону//Геоэкология, инженерная геология, гидрогеология, геокриология. 2010. N 1. С. 13-22.
ПРИЛОЖЕНИЕ А
(Обязательное)

ПРИЛОЖЕНИЕ Б
(Обязательное)
Расчет ППР из активного слоя грунта с использованием результатов стандартных измерений удельной активности радия и коэффициента эманирования радона в литологических разностях (ЛР) выполняется по формуле:
, мБк/(м2с), (Б1)
где λRn - постоянная распада радона, равная 2, 1*10-6 1/с;
g = 1, 2, ..., s - порядковый номер ЛР, в составе активного слоя грунта;
s - количество ЛР внутри активного слоя грунта;
CRag - результат стандартного измерения удельной активности радия-226 в пробе g-й ЛР, показавшей наибольшее значение C*Ra при экспрессном измерении, Бк/кг;
KЭМg - результат измерения, согласно [5], коэффициента эманирования радона в пробе g-й ЛР, показавшей наибольшее значение C*Ra при экспрессном измерении, отн. ед.;
ΔKЭМg - неопределенность измерения, согласно [5], коэффициента эманирования радона в пробе g-й ЛР, показавшей наибольшее значение C*Ra при экспрессном измерении, отн. ед.;
ρg - плотность g-й ЛР, кг/м3;
hg - мощность (либо часть мощности) g-й ЛР, входящей в состав активного слоя, м.
Множитель 1000 введен в формулу (10) для перевода единицы активности радона из "Бк" в "мБк".
Как показано на рис. 1, слои ЛР могут входить в состав активного слоя с расчетной мощностью Н полностью либо частично. Расчетные значения hg следует задавать, исходя из условия [7]:
.
Порядок расположения и мощности ЛР принимаются для характерного геологического разреза участка по данным инженерных геологических изысканий.
Верхняя граница активного слоя грунта располагается на уровне проектной отметки заложения подошвы фундамента проектируемого здания, как показано ниже на рис. Б1 - варианты схем расположения ЛР в активном слое грунта при разной глубине заложения фундамента здания.

ПРИЛОЖЕНИЕ В
(Справочное)
|
Тип грунта |
Коэффициент эманирования*, отн. ед. |
Плотность, кг/м3 |
|
Пески, супеси |
0, 30 |
1800 |
|
Суглинки |
0, 35 |
1950 |
|
Глины |
0, 40 |
1900 |
|
Грунты с высоким содержанием органической компоненты |
0, 55 |
1200 |
|
Рыхлая кора выветривания скальных пород (суглинок, мука, дресва, обломки) |
0, 35 |
2000 |
|
Известняки, песчаники |
0, 20 |
2200 |
______________________________
* Для слабоизмененных насыпных (намывных, перекопанных) техногенных отложений - песков, супесей, суглинков и глин значения коэффициента эманирования и плотности принимаются по их природным аналогам.
ПРИЛОЖЕНИЕ Г
(Обязательное)
учитывающего зависимость величины ППР от глубины промерзания грунта [11]
|
Глубина промерзания грунта, м |
Значение коэффициента KП, отн. ед. |
|
0-0, 2 |
1, 0 |
|
0, 2-0, 4 |
1, 3 |
|
0, 4-0, 6 |
1, 5 |
|
0, 6-1, 0 |
1, 6 |
|
Более 1, 0 |
1, 7 |
Примечание: глубина промерзания определяется при бурении геологических скважин либо принимается по региональным метеорологическим данным.
ПРИЛОЖЕНИЕ Д
(Рекомендуемое)
Помещения группы "В"
|
Значения коэффициента вариаций радона KV в помещениях группы "В" в режиме кратко- и среднесрочных измерений | |||||||||||
|
Учет температуры |
Краткосрочное измерение |
Продолжительность среднесрочного измерения в сутках | |||||||||
|
1 |
2 |
3 |
4 |
5 |
6 |
8 |
10 |
12 |
14 | ||
|
Есть |
1, 8 |
1, 2 |
1, 0 |
0, 9 |
0, 9 |
0, 9 |
0, 9 |
0, 8 |
0, 8 |
0, 8 |
0, 8 |
|
Нет |
2, 5 |
2, 0 |
1, 8 |
1, 7 |
1, 6 |
1, 5 |
1, 5 |
1, 4 |
1, 4 |
1, 4 |
1, 4 |
Помещения группы "С"
|
Значения коэффициента вариаций радона KV в помещениях группы "С" в режиме среднесрочных измерений | ||||||||
|
Продолжительность среднесрочного измерения в сутках | ||||||||
|
2 |
3 |
4 |
5 |
6 |
8 |
10 |
12 |
14 |
|
2, 4 |
2, 2 |
2, 0 |
1, 8 |
1, 6 |
1, 5 |
1, 4 |
1, 4 |
1, 4 |
|
Значения коэффициента вариаций радона KV в помещениях группы "С" в режиме долгосрочных измерений | ||||
|
Объект контроля |
Минимальная продолжительность одного из двух долгосрочных (интегральных) измерений, проведенных в теплый и отопительный периоды года |
Одно Непрерывное измерение в течение 12 месяцев | ||
|
1 месяц |
2 месяца |
3 месяца | ||
|
Эксплуатируемые помещения в жилых и офисных зданиях |
0, 4 |
0, 3 |
0, 2 |
0 |
ПРИЛОЖЕНИЕ Е
(Рекомендуемое)
потенциальной радоноопасности участка
N ___ от _________
1. Сведения о проводившей обследование организации
|
1.1 |
Название организации | |
|
1.2 |
Название лаборатории | |
|
1.3 |
Адрес организации с индексом | |
|
1.4 |
Телефон, e-mail | |
|
1.5 |
Номер аттестата аккредитации | |
|
1.6 |
Дата окончания действия аттестата | |
|
1.7 |
ФИО руководителя лаборатории | |
|
1.8 |
ФИО исполнителей |
2. Сведения о применявшихся средствах измерений и МВИ
|
2.1 |
Наименование средства измерений (СИ) | |
|
2.2 |
Заводской номер СИ | |
|
2.3 |
Номер свидетельства о поверке | |
|
2.4 |
Дата окончания действия свидетельства | |
|
2.5 |
Кем выдано свидетельство | |
|
2.6 |
Применявшаяся методика выполнения измерений |
3. Сведения об участке и объекте строительства
|
3.1 |
Заказчик | |
|
3.2 |
Наименование объекта строительства | |
|
3.3 |
Адрес (полный ) | |
|
3.4 |
Координаты GPS (долгота/широта) | |
|
3.5 |
Площадь участка и застройки | |
|
3.6 |
Тип и проектная глубина заложения фундамента | |
|
3.7 |
Условия на участке (наличие снежного, ледового, асфальтобетонного, иных естественных и/или искусственных покрытий и/или подсыпок, а также котлованов, выемок, свалок строительного и/или бытового мусора, завалов; стесненные условия застройки; трудности с проездом буровой техники и выполнением бурения; непроходимые и/или труднопроходимые участки и др., условия, влияющие на проведение измерений и отбор проб) | |
|
3.8 |
Требования по инженерной подготовке участка (при необходимости) |
4. Условия проведения измерений (метеоусловия допустимо принимать по данным интернет-сайтов ближайших метеостанций)
|
4.1 |
Дата проведения измерений ППР | |
|
4.2 |
Температура воздуха, °С | |
|
4.3 |
Сведения об осадках за 3 дня до проведения измерений | |
|
4.4 |
Скорость ветра | |
|
4.5 |
Атмосферное давление, мм рт. ст. | |
|
4.6 |
Высота снежного покрова, м | |
|
4.7 |
Сведения о пробивке твердых покрытий (при необходимости): N точки, характер и толщина покрытия, время выдержки. | |
|
4.8 |
Наличие на участке ограничений на проведение полевых измерений ППР, их краткое описание (при отсутствии указать "НЕТ"). |
5. Схема расположения точек измерений ППР и отбора проб грунта с привязкой к контурам участка, инженерно-геологическим скважинам, а также отдельно стоящим проектируемым и существующим зданиям (если в существующих зданиях проводились измерения ЭРОА)
6. Результаты полевых измерений ППР
|
N
|
N
|
Дата и время |
ППРi, мБк/(м2×с) |
Δi, мБк/(м2×с) | ||
|
отбора проб |
измерения | |||||
|
начало |
окончание | |||||
|
1 | ||||||
|
2 | ||||||
|
... | ||||||
|
Табл. значение KП, отн. ед. | ||||||
|
ППРИ, мБк/(м2×с) | ||||||
|
Δ, мБк/(м2×с) | ||||||
|
(ППРИ+Δ), мБк/(м2×с) | ||||||
7. Результаты лабораторных измерений характеристик проб грунта и расчета ППР
|
Дата отбора проб: | ||||||||||
|
Дата (период) проведения измерений: | ||||||||||
|
N
|
лаб. N пробы |
N скв/шурфа |
Глубина отбора, м |
Литологический тип грунта |
ρ, кг/м3 |
Табл. значение KЭМ |
Изм. значение KЭМ±KЭМ |
C*Ra±ΔC*Ra, Бк/кг |
CRa±ΔCRa, Бк/кг |
hg м (в случае расчета по формуле (Б1)) |
|
1 | ||||||||||
|
2 | ||||||||||
|
... | ||||||||||
|
ППРР, мБк/(м2×с): | ||||||||||
8. Значения показателей потенциальной радоноопасности участка
|
Условие ППРИ+Δ≥3·ППРР |
Выполнено/Не выполнено |
|
Условие ППРi+Δi≥1000 мБк/(м2×с) |
Выполнено/Не выполнено |
|
Условие ППРР≥ППРД/kЗД |
Выполнено/Не выполнено |
|
Допустимое значение ППРД, мБк/(м2×с) |
9. Заключение
На участке выявлены/не выявлены признаки потенциальной радоноопасности (ненужное вычеркнуть).
|
Заместитель руководителя Федерального медико-
|
В.В. Романов |


