СП 483.1325800.2020 ТРУБОПРОВОДЫ ПРОМЫСЛОВЫЕ ИЗ ВЫСОКОПРОЧНОГО ЧУГУНА С ШАРОВИДНЫМ ГРАФИТОМ ДЛЯ НЕФТЕГАЗОВЫХ МЕСТОРОЖДЕНИЙ. ПРАВИЛА ПРОЕКТИРОВАНИЯ, СТРОИТЕЛЬСТВА, ЭКСПЛУАТАЦИИ И РЕМОНТА
Field pipelines of ductile cast iron for petroleum and gas deposits. The rules of design, construction, operation and pipeline overhaul
 
    
   
Дата введения - 17 сентября 2020 г.
Введен впервые
Предисловие
Сведения о своде правил
1 ИСПОЛНИТЕЛИ - Государственное унитарное предприятие "Институт проблем транспорта энергоресурсов" (ГУП "ИПТЭР"), Общество с ограниченной ответственностью "Липецкая трубная компания "Свободный сокол" (ООО "ЛТК "Свободный сокол")
2 ВНЕСЕН Техническим комитетом по стандартизации ТК 465 "Строительство"
3 ПОДГОТОВЛЕН к утверждению Департаментом градостроительной деятельности и архитектуры Министерства строительства и жилищно-коммунального хозяйства Российской Федерации (Минстрой России)
4 УТВЕРЖДЕН приказом Министерства строительства и жилищно-коммунального хозяйства Российской Федерации (Минстрой России) от 16 марта 2020 г. N 126/пр и введен в действие с 17 сентября 2020 г.
5 ЗАРЕГИСТРИРОВАН Федеральным агентством по техническому регулированию и метрологии (Росстандарт)
6 ВВЕДЕН ВПЕРВЫЕ
В случае пересмотра (замены) или отмены настоящего свода правил соответствующее уведомление будет опубликовано в установленном порядке. Соответствующая информация, уведомление и тексты размещаются также в информационной системе общего пользования - на официальном сайте разработчика (Минстрой России) в сети Интернет
Введение
Настоящий свод правил разработан в соответствии с положениями федеральных законов от 21 июля 1997 г. N 116-ФЗ "О промышленной безопасности опасных производственных объектов" и от 30 декабря 2009 г. N 384-ФЗ "Технический регламент о безопасности зданий и сооружений" и устанавливает технические характеристики для промысловых трубопроводов из высокопрочного чугуна с шаровидным графитом для нефтегазовых месторождений.
Настоящий свод правил разработан авторским коллективом ГУП "ИПТЭР" (д-р техн. наук С.Г. Бажайкин, д-р техн. наук, проф. К.М. Гумеров, канд. техн. наук А.Г. Сираев) и ООО "ЛТК "Свободный сокол" (руководитель организации-разработчика - И.В. Ефремов; руководители разработки - А.В. Минченков, Б.Ю. Антонов; исполнители - С.И. Костин, Н.А. Сатина).
1.1 Настоящий свод правил распространяется на проектирование, строительство, эксплуатацию и ремонт промысловых трубопроводов с применением труб из высокопрочного чугуна с шаровидным графитом номинальным диаметром от 80 до 500 мм, с номинальным давлением до 6,4 МПа.
1.2 Действие настоящего свода правил не распространяется на промысловые трубопроводы, транспортирующие среды с содержанием сероводорода при его парциальном давлении, равном или превышающем 0,3 кПа.
В настоящем своде правил использованы нормативные ссылки на следующие документы:
ГОСТ 9.602-2016 Единая система защиты от коррозии и старения. Сооружения подземные. Общие требования к защите от коррозии
ГОСТ 12.3.003-86 Система стандартов безопасности труда. Работы электросварочные. Требования безопасности
ГОСТ 12.3.009-76 Система стандартов безопасности труда. Работы погрузочно-разгрузочные. Общие требования безопасности
ГОСТ 12.4.026-2015 Система стандартов безопасности труда. Цвета сигнальные, знаки безопасности и разметка сигнальная. Назначение и правила применения. Общие технические требования и характеристики. Методы испытаний
ГОСТ 969-91 Цементы глиноземистые и высокоглиноземистые. Технические условия
ГОСТ 1412-85 Чугун с пластинчатым графитом для отливок. Марки
ГОСТ 3282-74 Проволока стальная низкоуглеродистая общего назначения. Технические условия
ГОСТ 4666-2015 Арматура трубопроводная. Требования к маркировке
ГОСТ 7512-82 Контроль неразрушающий. Соединения сварные. Радиографический метод
ГОСТ 8736-2014 Песок для строительных работ. Технические условия
ГОСТ 9238-2013 Габариты железнодорожного подвижного состава и приближения строений
ГОСТ 9544-2015 Арматура трубопроводная. Нормы герметичности затворов
ГОСТ 10692-2015 Трубы стальные, чугунные и соединительные детали к ним. Приемка, маркировка, упаковка, транспортирование и хранение
ГОСТ 15150-69 Машины, приборы и другие технические изделия. Исполнения для различных климатических районов. Категории, условия эксплуатации, хранения и транспортирования в части воздействия климатических факторов внешней среды
ГОСТ 16037-80 Соединения сварные стальных трубопроводов. Основные типы, конструктивные элементы и размеры
ГОСТ 18322-2016 Система технического обслуживания и ремонта техники. Термины и определения
ГОСТ 20911-89 Техническая диагностика. Термины и определения
ГОСТ 24297-2013 Верификация закупленной продукции. Организация проведения и методы контроля
ГОСТ 24856-2014 Арматура трубопроводная. Термины и определения
ГОСТ 30546.1-98 Общие требования к машинам, приборам и другим техническим изделиям и методы расчета их сложных конструкций в части сейсмостойкости
ГОСТ Р 51164-98 Трубопроводы стальные магистральные. Общие требования к защите от коррозии
ГОСТ Р 55724-2013 Контроль неразрушающий. Соединения сварные. Методы ультразвуковые
ГОСТ Р 57430-2017 Трубы, соединительные части из высокопрочного чугуна с шаровидным графитом и их соединения для промысловых нефтепроводов. Технические условия
ГОСТ ISO 2531-2012 Трубы, фитинги, арматура и их соединения из чугуна с шаровидным графитом для водо- и газоснабжения. Технические условия
ISO 16134:2006 Землетрясения и конструкция чугунных труб, устойчивая к оседанию
СП 14.13330.2018 "СНиП II-7-81 Строительство в сейсмических районах"
СП 16.13330.2017 "СНиП II-23-81* Стальные конструкции" (с изменением N 1)
СП 18.13330.2011 "СНиП II-89-80* Генеральные планы промышленных предприятий" (с изменением N 1)
СП 20.13330.2016 "СНиП 2.01.07-85* Нагрузки и воздействия" (с изменением N 1)
СП 22.13330.2016 "СНиП 2.02.01-83* Основания зданий и сооружений"
СП 25.13330.2012 "СНиП 2.02.04-88 Основания и фундаменты на вечномерзлых грунтах" (с изменениями N 1, N 2)
СП 28.13330.2017 "СНиП 2.03.11-85 Защита строительных конструкций от коррозии" (с изменением N 1)
СП 31.13330.2012 "СНиП 2.04.02-84* Водоснабжение. Наружные сети и сооружения" (с изменениями N 1, N 2, N 3)
СП 35.13330.2011 "СНиП 2.05.03-84* Мосты и трубы" (с изменением N 1)
СП 36.13330.2012 "СНиП 2.05.06-85* Магистральные трубопроводы" (с изменением N 1)
СП 45.13330.2017 "СНиП 3.02.01-87 Земляные сооружения, основания и фундаменты" (с изменением N 1)
СП 47.13330.2016 "СНиП 11-02-96 Инженерные изыскания для строительства. Основные положения"
СП 61.13330.2012 "СНиП 41-03-2003 Тепловая изоляция оборудования и трубопроводов" (с изменением N 1)
СП 66.13330.2011 Проектирование и строительство напорных сетей водоснабжения и водоотведения с применением высокопрочных труб из чугуна с шаровидным графитом (с изменениями N 1, N 2)
СП 68.13330.2017 "СНиП 3.01.04-87 Приемка в эксплуатацию законченных строительством объектов. Основные положения"
СП 72.13330.2016 "СНиП 3.04.03-85 Защита строительных конструкций и сооружений от коррозии"
СП 86.13330.2014 "СНиП III-42-80* Магистральные трубопроводы" (с изменениями N 1, N 2)
СП 284.1325800.2016 Трубопроводы промысловые для нефти и газа. Правила проектирования и производства работ
СП 341.1325800.2017 Подземные инженерные коммуникации. Прокладка горизонтальным направленным бурением.
Примечание - При пользовании настоящим сводом правил целесообразно проверить действие ссылочных документов в информационной системе общего пользования - на официальном сайте федерального органа в сфере стандартизации в сети Интернет или по ежегодному информационному указателю "Национальные стандарты", который опубликован по состоянию на 1 января текущего года, и по выпускам ежемесячного информационного указателя "Национальные стандарты" за текущий год. Если заменен ссылочный документ, на который дана недатированная ссылка, то рекомендуется использовать действующую версию этого документа с учетом всех внесенных в данную версию изменений. Если заменен ссылочный документ, на который дана датированная ссылка, то рекомендуется использовать версию этого документа с указанным выше годом утверждения (принятия). Если после утверждения настоящего свода правил в ссылочный документ, на который дана датированная ссылка, внесено изменение, затрагивающее положение, на которое дана ссылка, то это положение рекомендуется применять без учета данного изменения. Если ссылочный документ отменен без замены, то положение, в котором дана ссылка на него, рекомендуется применять в части, не затрагивающей эту ссылку. Сведения о действии сводов правил целесообразно проверить в Федеральном информационном фонде стандартов.
В настоящем своде правил применены термины по ГОСТ 24856, а также следующие термины с соответствующими определениями:
3.1 высокопрочный чугун с шаровидным графитом; ВЧШГ: Тип чугуна, в котором графит присутствует преимущественно в шаровидной форме.
3.2
|  
           номинальный диаметр DN: Параметр, применяемый для трубопроводных систем в качестве характеристики присоединяемых частей арматуры. Примечание - Номинальный диаметр приблизительно равен внутреннему диаметру присоединяемого трубопровода, выраженному в миллиметрах и соответствующему ближайшему значению из ряда чисел, принятых в установленном порядке. [ГОСТ 24856-2014, пункт 6.1.3]  | 
3.3 труба чугунная (или из ВЧШГ): Отливка с равномерным каналом, с прямой осью, имеющая раструбные, охватываемые или фланцевые концы.
3.4
|  
           соединительные детали: Элементы трубопровода, предназначенные для изменения направления его оси, ответвления от него, изменения его диаметра. [СП 284.1325800.2016, пункт 3.19]  | 
3.5 фитинг: Соединительная деталь, предназначенная для соединения труб между собой или с техническими устройствами в процессе монтажа трубопроводов, имеющая различное конструктивное исполнение в зависимости от способа соединения.
3.6
|  
           давление рабочее: Наибольшее избыточное давление, возникающее при нормальном протекании рабочего процесса, без учета гидростатического давления среды и допустимого кратковременного повышения давления во время действия предохранительного клапана, максимальное избыточное давление при нормальных условиях эксплуатации. [ГОСТ 24856-2014, пункт А.12.1]  | 
Примечание - Под нормальным протеканием рабочего процесса следует понимать условия (давление, температуру), при сочетании которых обеспечивается безопасная работа (ГОСТ 24856-2014, пункт А.12.2).
3.7
|  
           давление расчетное: Максимальное избыточное давление в оборудовании или трубопроводах, используемое при расчете на прочность при выборе основных размеров, при котором предприятием-изготовителем допускается работа данного оборудования или трубопровода при расчетной температуре при нормальных условиях эксплуатации. [ГОСТ 24856-2014, пункт А.13.1]  | 
3.8
|  
           номинальное давление PN: Наибольшее избыточное давление, выраженное в кгс/см2, при температуре рабочей среды 20 °C, при котором обеспечивается заданный срок службы (ресурс) корпусных деталей арматуры, имеющих определенные размеры, обоснованные расчетом на прочность при выбранных материалах и характеристиках прочности их при температуре 20 °C. [ГОСТ 24856-2014, пункт 6.1.2]  | 
3.9 класс толщины стенок (К): Коэффициент обозначения толщины стенки трубы или соединительной детали, выбираемый из ряда целых чисел - 9, 10, 11, 12.
4.1 Сокращения
В настоящем своде правил применены следующие сокращения:
АСПО - асфальтосмолопарафиновые отложения;
ВИС - внутритрубный инспекционный снаряд;
ГВВ - горизонт высоких вод (ГВВ 10%-ной обеспеченности означает, что такой уровень достигается раз в 10 лет);
ГЖС - газожидкостная смесь;
ГНБ - горизонтальное направленное бурение;
КИП - контрольно-измерительный пункт;
КИПиА - контрольно-измерительные приборы и автоматика;
КСС - контрольное сварное соединение;
ЛЭП - линия электропередачи;
НГДУ - нефтегазодобывающее управление;
НС - насосная станция;
НПС - нефтеперекачивающая станция;
СВБ - сульфатвосстанавливающие бактерии;
ЭХЗ - электрохимическая защита.
4.2 Обозначения
В настоящем своде правил применены следующие обозначения:
BPC - конфигурация уплотнительного резинового кольца;
DN - номинальный диаметр труб и соединительных деталей, мм;
PN - номинальное давление, МПа;
HB - твердость металла по Бринеллю;
RJ - раструбно-замковое соединение труб и соединительных деталей;
TYTON - конфигурация уплотнительного резинового кольца.
5.1 Настоящий свод правил устанавливает требования к проектированию, строительно-монтажным и ремонтным работам, эксплуатации промысловых трубопроводов нефтегазовых месторождений, с применением труб из ВЧШГ номинальным диаметром от 80 до 500 мм, с номинальным давлением до 6,4 МПа. Зависимость номинального давления от номинального диаметра трубопровода представлена в таблице 5.1.
|  
           DN, мм  |   
           PN, МПа, не более  | 
|  
           От 80 до 200 включ.  |   
           6,4  | 
|  
           250  |   
           5,6  | 
|  
           300  |   
           5,4  | 
|  
           350  |   
           5,0  | 
|  
           От 400 до 500 включ.  |   
           4,0  | 
5.2 Состав промысловых трубопроводов нефтегазовых месторождений, на которые распространяется действие настоящего свода правил:
- выкидные линии трубопроводов от нефтяных скважин для транспортирования продукции скважин до замерных установок;
- нефтегазосборные трубопроводы для транспортирования продукции нефтяных скважин от замерных установок до пунктов первой ступени сепарации нефти (нефтегазопроводы);
- нефтепроводы для транспортирования газонасыщенной или разгазированной обводненной или безводной нефти от дожимной насосной станции (установка предварительного сбора, установка предварительного сбора воды, нефтесборный пункт, установка подогрева нефти) до центрального пункта сбора (установка подогрева нефти, нефтесборный пункт);
- трубопроводы систем заводнения нефтяных пластов и систем захоронения пластовых и сточных вод в глубокие поглощающие горизонты;
- водоводы поддержания пластового давления для транспорта пресных, пластовых и сточных вод на кустовую насосную станцию, от кустовой насосной станции и водозаборных сооружений;
- нефтепроводы для транспортирования товарной нефти от центрального пункта сбора до головных сооружений магистральных нефтепроводов;
- продуктопроводы (трубопроводы для перекачки мазута, дизельного топлива и бензинов);
- ингибиторопроводы для подачи ингибиторов к скважинам или другим объектам обустройства нефтегазовых месторождений;
- деэмульгаторопроводы для подачи деэмульгатора к объектам дожимных насосных станций и установок предварительного сброса воды.
Примечания
1 К нефтегазопроводам относятся трубопроводы, транспортирующие нефть с газом в свободном и растворенном состояниях (при абсолютном давлении упругости паров при 20 °C выше 0,2 МПа). К нефтепроводам относятся трубопроводы, транспортирующие дегазированную нефть.
2 Трубопроводы для подачи ингибиторов в продукцию скважин относятся к устройствам в составе установок дозирования реагентов.
3 Границей промыслового трубопровода является запорно-регулирующая арматура, установленная на входе (трубопровода) на технологическую площадку или на выходе с технологической площадки, если иное не предусмотрено внутренними документами эксплуатирующей организации.
5.3 Промысловые трубопроводы (далее - трубопроводы <*>) могут проектироваться подземными, наземными с последующей отсыпкой насыпи, надземными на опорах. Основной вид прокладки трубопроводов - подземный.
--------------------------------
<*> За исключением особо оговоренных случаев.
5.4 Проектируемые трубопроводы, транспортирующие одинаковые и различные жидкие среды, могут прокладываться параллельно действующим или проектируемым трубопроводам.
5.5 Температура нефти (нефтепродуктов), поступающей в трубопровод, должна устанавливаться исходя из возможности транспортирования жидких сред и требований, предъявляемых к сохранности изоляционных покрытий, прочности, устойчивости и надежности трубопровода.
5.6 При ведении монтажных работ трубопроводов из ВЧШГ с применением раструбно-замкового соединения типа RJ сварочные работы не применяются.
Сварка допускается:
- при изготовлении сварных соединительных деталей из ВЧШГ в заводских или базовых условиях;
- ремонте участков трубопровода (труб и соединительных деталей);
- монтаже участков трубопроводов, содержащих стальные элементы.
5.7 Трубопроводы с соединениями типа RJ, как правило, монтируются в траншее. На обводненных участках применяется технология протаскивания готового участка трубопровода, смонтированного на бровке траншеи или на спусковой дорожке, в обводненную или подводную траншею.
5.8 При выборе конструктивных и технологических решений необходимо учитывать, что надежность и безопасность трубопроводов определяются:
- свойствами исходных материалов (труб, соединительных деталей, арматуры, изоляционных покрытий, теплоизоляции, балластирующих устройств), соответствием их требованиям нормативных документов и технических условий предприятий-изготовителей, утвержденных в установленном порядке;
- конструктивными решениями (по толщине стенки труб, глубине заложения, радиусам изгиба, пролетам при надземной прокладке, изоляционным покрытиям), соответствием их требованиям нормативных документов и технических условий предприятий-изготовителей, утвержденных в установленном порядке;
- результатами контроля качества строительства, которые должны соответствовать требованиям нормативных документов и технических условий предприятий-изготовителей, утвержденных в установленном порядке;
- соответствием трубопроводов условиям эксплуатации по давлению и температуре;
- расстояниями от трубопроводов до зданий и сооружений, соответствием их требованиям пожарной безопасности;
- стабильностью положения трубопровода в пространстве в течение всего срока эксплуатации;
- сохранностью необходимого уровня коррозионной защиты трубопровода в течение всего срока его эксплуатации.
Методика расчета наземного трубопровода с соединением типа RJ с учетом крепления их у раструба к опорам принята для расчета поперечной стойкости как жесткая цельная труба и приведена в СП 16.13330.
5.9 Трубопроводы из ВЧШГ должны быть спроектированы и построены таким образом, чтобы была обеспечена надежная и безопасная их эксплуатация в течение всего срока службы. Нормативный срок службы - не менее 35 лет при условии соблюдения требований настоящего свода правил в процессе проектирования, строительно-монтажных работ и эксплуатации.
Срок службы трубопровода из ВЧШГ определен согласно полученным данным по опытной эксплуатации труб на нефтепромысловых трубопроводах и выбран по стойкости эксплуатационной надежности уплотнительных колец с коэффициентом запаса равным 2,5.
5.10 При проектировании трубопроводов из ВЧШГ, предназначенных для транспортирования продуктов, оказывающих коррозионные воздействия на металл труб, соединительные детали и арматуру, необходимо предусматривать защиту от коррозионного воздействия и сероводородного растрескивания в соответствии с 6.9 и другими нормативными документами в области противокоррозионной защиты трубопроводов.
5.11 Трубопроводы из ВЧШГ, смонтированные из труб и соединительных деталей, изготовленных по ГОСТ Р 57430, согласно классификации СП 284.1325800.2016 (пункт 5.3) относятся к классам II и III.
6.1 Общие требования
6.1.1 Материалы и изделия, применяемые для строительства трубопроводов, должны соответствовать требованиям нормативных документов и технических условий предприятий-изготовителей, утвержденных в установленном порядке.
Применение материалов и изделий, не имеющих сопроводительных документов, подтверждающих соответствие их требованиям технических регламентов и других нормативных документов, не допускается.
6.1.2 Вид покрытия трубопроводов выбирается в зависимости от степени коррозионного воздействия перекачиваемой среды. Степень коррозионного воздействия среды по отношению к металлу трубы определяют по глубине проникновения коррозии, приведенной в таблице 6.1.
|  
           Коррозионное проникновение, мм/год  |   
           Скорость коррозии по образцам-свидетелям, г/(мм-ч)  |   
           Степень агрессивного воздействия среды  | 
|  
           От 0 до 0,01 включ.  |   
           От 0 до 0,02 включ.  |   
           Неагрессивная  | 
|  
           Св. 0,01 до 0,1 включ.  |   
           Св. 0,02 до 0,05 включ.  |   
           Слабоагрессивная  | 
|  
           Св. 0,1 до 0,5 включ.  |   
           Св. 0,05 до 0,25 включ.  |   
           Среднеагрессивная  | 
|  
           Св. 0,5  |   
           Св. 0,25  |   
           Сильноагрессивная  | 
6.1.3 Приближенные данные по степени агрессивного воздействия нефтепромысловых водных сред по отношению к трубам из ВЧШГ приведены в таблице 6.2. При наличии в перекачиваемой среде нескольких агрессивных компонентов, концентрация каждого из которых находится в пределах, указанных в таблице 6.2, степень агрессивного воздействия среды на материал трубы повышается на одну ступень. Также степень агрессивного воздействия повышается на одну ступень в каждом из следующих случаев:
- при увеличении скорости потока свыше 1,5 м/с;
- при увеличении содержания взвешенных частиц свыше 150 мг/дм3;
- при повышении температуры среды свыше 60 °C.
|  
           Среда  |   
           pH  |   
           Содержание агрессивных компонентов  |   
           Степень агрессивного воздействия  | |||||
|  
           Минерализация, г/дм  |   
           СВБ  |   
           H2S, мг/дм3  |   
           CO2, мг/дм3  |   
           O2, мг/дм3  |   
           Взвешенные частицы, мг/дм3  | |||
|  
           Вода пресная (техническая):  |  ||||||||
|  
           - неаэрированная  |   
           ~ 7  |   
           Менее 5  |   
           -  |   
           -  |   
           -  |   
           Менее 0,5  |   
           -  |   
           Неагрессивная  | 
|  
           - аэрированная  |   
           ~ 7  |   
           Менее 5  |   
           -  |   
           -  |   
           -  |   
           Более 0,5  |   
           -  |   
           Слабоагрессивная  | 
|  
           Воды подземных горизонтов:  |  ||||||||
|  
           Неаэрированные:  |  ||||||||
|  
           - не содержащие H2S, CO2  |   
           6 - 8  |   
           Любая  |   
           -  |   
           -  |   
           -  |   
           Менее 0,1  |   
           100  |   
           Слабоагрессивная  | 
|  
           - содержащие H2S  |   
           Менее 7  |   
           Любая  |   
           +  |   
           Более 1,0  |   
           -  |   
           Менее 0,1  |   
           100  |   
           Среднеагрессивная  | 
|  
           - содержащие CO2  |   
           Менее 7  |   
           Любая  |   
           -  |   
           -  |   
           Более 20  |   
           Менее 0,1  |   
           100  |   
           Среднеагрессивная  | 
|  
           Аэрированные:  |  ||||||||
|  
           - не содержащие H2S, CO2  |   
           6 - 8  |   
           Любая  |   
           -  |   
           -  |   
           -  |   
           Более 0,1  |   
           100  |   
           Среднеагрессивная  | 
|  
           - содержащие H2S  |   
           6 - 8  |   
           Любая  |   
           +  |   
           Более 1,0  |   
           -  |   
           Более 0,1  |   
           100  |   
           Среднеагрессивная  | 
|  
           - содержащие CO2  |   
           6 - 8  |   
           Любая  |   
           -  |   
           -  |   
           Более 20  |   
           Более 0,1  |   
           100  |   
           Среднеагрессивная  | 
|  
           Промысловые сточные воды:  |  ||||||||
|  
           Неаэрированные:  |  ||||||||
|  
           - не содержащие H2S, CO2  |   
           ~ 7  |   
           Любая  |   
           -  |   
           Менее 1,0  |   
           -  |   
           Менее 0,1  |   
           -  |   
           Неагрессивная  | 
|  
           - содержащие H2S  |   
           Менее 7  |   
           Любая  |   
           +  |   
           Более 1,0  |   
           -  |   
           Менее 0,1  |   
           - (FeS)  |   
           Среднеагрессивная  | 
|  
           - содержащие CO2  |   
           Менее 7  |   
           Любая  |   
           -  |   
           -  |   
           Более 20  |   
           Менее 0,1  |   
           -  |   
           Среднеагрессивная  | 
|  
           Аэрированные:  |  ||||||||
|  
           - не содержащие H2S, CO2  |   
           Менее 7  |   
           Любая  |   
           -  |   
           Менее 1,0  |   
           -  |   
           Более 0,1  |   
           -  |   
           Среднеагрессивная  | 
|  
           - содержащие H2S  |   
           Менее 7  |   
           Любая  |   
           +  |   
           Более 1,0  |   
           -  |   
           Более 0,1  |   
           - (FeS)  |   
           Среднеагрессивная  | 
|  
           - содержащие CO2  |   
           Менее 7  |   
           Любая  |   
           -  |   
           -  |   
           Более 20  |   
           Более 0,1  |   
           -  |   
           Среднеагрессивная  | 
Приближенные данные по степени воздействия нефтяных сред на нефтепромысловые трубопроводы из ВЧШГ в зависимости от концентрации агрессивных компонентов приведены в таблице 6.3. Присутствие в среде нескольких агрессивных компонентов в пределах указанных концентраций увеличивает степень воздействия на одну ступень.
|  
           Среда  |   
           pH  |   
           Содержание агрессивных компонентов  |   
           Степень агрессивного воздействия  | ||||
|  
           СВБ  |   
           H2S, мг/дм3  |   
           CO2, мг/дм3  |   
           O2, мг/дм3  |   
           Взвешенные частицы, мг/дм3  | |||
|  
           Устойчивые водонефтяные эмульсии:  |  |||||||
|  
           - не содержащие агрессивные компоненты  |   
           ~ 7  |   
           -  |   
           -  |   
           -  |   
           -  |   
           До 0,05  |   
           Неагрессивная  | 
|  
           - содержащие агрессивные компоненты  |   
           ~ 7  |   
           +  |   
           Более 1,0 в водной фазе  |   
           Более 5,0  |   
           -  |   
           Более 0,05  |   
           Слабоагрессивная  | 
|  
           Неустойчивые водонефтяные эмульсии:  |  |||||||
|  
           - не содержащие агрессивные компоненты  |   
           ~ 7  |   
           -  |   
           -  |   
           -  |   
           До 0,1 в водной фазе  |   
           -  |   
           Неагрессивная  | 
|  
           - содержащие агрессивные компоненты  |   
           Менее 7  |   
           +  |   
           Более 1,0  |   
           5,0  |   
           Более 0,1 в водной фазе  |   
           -  |   
           Среднеагрессивная  | 
|  
           Газоводонефтяные смеси:  |  |||||||
|  
           - не содержащие агрессивные компоненты  |   
           ~ 7  |   
           -  |   
           -  |   
           -  |   
           -  |   
           -  |   
           Неагрессивная  | 
|  
           - содержащие агрессивные компоненты  |   
           Менее 7  |   
           +  |   
           В следовых количествах  |   
           -  |   
           -  |   
           -  |   
           Среднеагрессивная  | 
6.1.4 Более точные данные по степени агрессивного воздействия перекачиваемых сред на трубы из ВЧШГ определяются методами экспресс-анализа. Одним из наиболее эффективных методов является гравиметрический, основанный на установке образцов-свидетелей в перекачиваемую среду и измерениях потери массы за определенное время. Требования к гравиметрическому методу приведены в [20].
6.1.5 Допустимая температура окружающей среды при хранении труб и соединительных деталей трубопроводов без и с нанесенными противокоррозионными покрытиями: от минус 50 °C до плюс 50 °C, от минус 60 °C до плюс 50 °C - для труб и фитингов, предназначенных для условий Крайнего Севера.
Допустимая температура окружающей среды при проведении погрузочно-разгрузочных работ и транспортировании труб и соединительных деталей трубопроводов без и с нанесенными противокоррозионными покрытиями: от минус 40 °C до плюс 40 °C, от минус 50 °C до плюс 40 °C - для труб и фитингов, предназначенных для условий Крайнего Севера.
Транспортирование, погрузочно-разгрузочные работы и хранение труб и фитингов следует проводить в соответствии с требованиями ГОСТ 10692 и технических условий предприятия-изготовителя.
Строительно-монтажные и ремонтные работы на трубопроводах из ВЧШГ следует проводить при температурах окружающей среды от минус 30 °C до плюс 40 °C.
6.1.6 Трубы и соединительные детали трубопроводов без и с нанесенными противокоррозионными покрытиями предназначены для эксплуатации в трубопроводах с температурой транспортируемой среды от 5 °C до 95 °C.
6.1.7 Уплотнительные резиновые кольца должны храниться в закрытых помещениях при температуре от 0 °C до 35 °C, с соблюдением требований технических условий предприятия-изготовителя.
6.2 Трубы из высокопрочного чугуна с шаровидным графитом для сооружения трубопроводов
6.2.1 Для сооружения трубопроводов применяются чугунные трубы и соединительные детали из ВЧШГ. На отдельных участках и зонах допускается использовать стальные детали и узлы (муфты, втулки, арматура, трубы и соединительные детали) при соответствующем обосновании в проекте.
Требования к стальным трубам и соединительным деталям, технологии их монтажа, правила эксплуатации приведены в СП 284.1325800 и [24].
6.2.2 Чугунные трубы и соединительные детали из-за большого содержания углерода относят к группе ограниченной свариваемости материала. Для получения качественного сварного соединения необходимо оборудование для аргонно-дуговой сварки, железоникелевые или никелевые электроды, должны быть подготовлены сварщики, уровень квалификации которых соответствует А.3 (приложение А).
Сварку допускается применять:
- в заводских условиях - для изготовления соединительных деталей (отводы, тройники);
- в трассовых условиях - для исправления дефектов и при монтаже участков, содержащих стальные элементы.
6.2.3 Трубы и соединительные детали из ВЧШГ должны соответствовать требованиям ГОСТ ISO 2531, ГОСТ Р 57430.
6.3 Трубы из высокопрочного чугуна с шаровидным графитом с соединением типа RJ
6.3.1 Трубы из ВЧШГ изготовляют методом центробежного литья в соответствии с ГОСТ Р 57430.
6.3.2 Трубы из ВЧШГ от DN 80 до DN 500 имеют гладкий конец с одной стороны и раструбную часть с другой, под раструбно-замковое соединение типа RJ с резиновым уплотнительным кольцом типа BPC или TYTON (рисунки 6.1 и 6.2).

d1 - габаритный диаметр кольца; h – ширина уплотнительной части
Рисунок 6.1 - Уплотнительное резиновое кольцо типа BPC

d1 - габаритный диаметр кольца; d2 – диаметр уплотнительной части
Рисунок 6.2 - Уплотнительное резиновое кольцо типа TYTON
6.3.3 Раструбные части труб под соединение типа RJ с уплотнительными резиновыми кольцами типов BPC и TYTON конструктивно отличаются друг от друга конфигурацией посадочного места уплотнительных колец и длиной раструба l1 (см. рисунок 6.3). Трубы с различными типами уплотнительных колец эквивалентны по своим прочностным и эксплуатационным характеристикам.

Рисунок 6.3 - Раструбная труба под соединение типа RJ
6.3.4 Трубопроводы из ВЧШГ с применением раструбных труб под соединение типа RJ предназначены для эксплуатации с рабочим давлением, указанным в таблице 5.1, и при температуре перекачиваемого продукта не более 95 °C.
6.3.5 Соединение типа RJ - стыковое раструбно-замковое соединение с уплотнительным резиновым кольцом (рисунок 6.4). Наплавленный валик на гладком конце трубы и стопоры, вдвигаемые после стыковки труб в выемку раструба и фиксируемые стопорной проволокой, обеспечивают прочность соединения в осевом направлении.


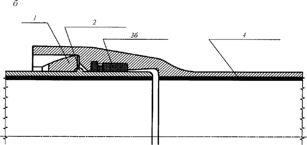
1 - стопор; 2 - кольцевой валик; 3а - уплотнительное кольцо типа BPC; 3б - уплотнительное кольцо типа TYTON; 4 - внутреннее защитное покрытие
Рисунок 6.4 - Раструбно-замковые соединения типа RJ с уплотнительным кольцом типа BPC (а) и с уплотнительным кольцом типа TYTON (б)
6.3.6 Соединение типа RJ не является жестким и позволяет отклоняться соединенным между собой трубам на угол от 3° до 5° в зависимости от диаметра труб при сохранении полной герметичности стыка (рисунок 6.5). Допустимые углы отклонения от осевой линии трубопровода указаны в таблице 6.4.

Рисунок 6.5 - Допустимый угол поворота осевых линий труб в соединении типа RJ (а) и искривление участка трубопровода за счет поворотов на стыках (б)
|  
           Диаметр труб  |   
           Продольное осевое смещение труб Δd, мм  |   
           Допустимый угол отклонения (максимальный) Δφ, град  |   
           Радиус изгиба трубопровода (минимальный) R, м  | 
|  
           DN 80  |   
           14,0  |   
           5  |   
           69  | 
|  
           DN 100  |   
           14,0  |   
           5  |   
           69  | 
|  
           DN 125  |   
           13,5  |   
           5  |   
           69  | 
|  
           DN 150  |   
           13,5  |   
           5  |   
           69  | 
|  
           DN 200  |   
           17,5  |   
           4  |   
           86  | 
|  
           DN 250  |   
           19,5  |   
           4  |   
           86  | 
|  
           DN 300  |   
           21,0  |   
           4  |   
           86  | 
|  
           DN 400  |   
           21,0  |   
           3  |   
           115  | 
|  
           DN 500  |   
           19,0  |   
           3  |   
           115  | 
6.3.7 При выполнении наборных углов поворотов за счет гибкости раструбно-замкового соединения типа RJ рекомендуется использовать на одну трубу больше, чем необходимо для составления угла поворота, например, угол от 9° до 12° для трубопроводов DN 80 - DN 150 выполняется из трех раструбно-замковых соединений RJ (четырех труб), угол от 13° до 16° для тех же диаметров - из четырех раструбно-замковых соединений RJ (пяти труб), угол от 17° до 20° для тех же диаметров - из пяти раструбно-замковых соединений RJ (шесть труб).
6.3.8 Основными характеристиками труб являются номинальный диаметр, класс толщины стенки, длина трубы, вид наружного и внутреннего покрытия, тип уплотнительного кольца.
6.3.9 Номинальный диаметр DN - округленное цифровое обозначение внутреннего проходного сечения, которое является общим для всей трубопроводной системы.
K выбирается из ряда целых чисел в соответствии с ГОСТ Р 57430.
6.3.10 Эффективная длина труб L с раструбно-замковым соединением RJ равна полной длине трубы за вычетом глубины раструба l1, на которую может входить гладкий конец стыкуемой трубы (см. рисунок 6.3).
6.3.11 Механические свойства металла труб в соответствии с ГОСТ Р 57430 должны быть не менее:
|  
           - временное сопротивление σв, МПа (кгс/мм2) .............................  |   
           420 (42);  | 
|  
           - предел текучести σт, МПа (кгс/мм2) ...........................................  |   
           300 (30);  | 
|  
           - относительное удлинение δ, % ..................................................  |   
           10,0;  | 
|  
           - ударная вязкость, кгс·м/см2 .........................................................  |   
           3,0.  | 
Твердость металла труб согласно ГОСТ Р 57430 не должна превышать 230 HB.
6.3.12 Химический состав металла труб и соединительных деталей из ВЧШГ приведен в таблице 6.5.
|  
           Химический состав металла труб (массовая доля элементов), %  | |||||
|  
           C  |   
           Si  |   
           Mn  |   
           Mg  |   
           S  |   
           P  | 
|  
           3,3 - 3,9  |   
           1,9 - 2,9  |   
           До 0,4  |   
           0,025 - 0,05  |   
           Не более  | |
|  
           0,015  |   
           0,1  | ||||
6.3.13 Микроструктура металла труб должна быть ферритная с шаровидной формой графита. Доля перлитной составляющей не должна превышать 20%, шаровидного графита - не менее 95%. Количество структурно-свободного цементита в микроструктуре - не более 5%.
6.3.14 Трубы в заводских условиях испытываются гидравлическим методом. Зависимость давления испытания от номинального диаметра и рабочего давления приведена в таблице 6.6. Давление испытания должно быть не менее 1,5 рабочего давления трубопровода.
|  
           DN, мм  |   
           Максимальное допустимое рабочее давление трубопровода, МПа, не более  |   
           Заводское испытательное гидравлическое давление, МПа, не менее  | 
|  
           От 80 до 200 включ.  |   
           6,4  |   
           9,6  | 
|  
           250  |   
           5,6  |   
           8,4  | 
|  
           300  |   
           5,4  |   
           8,1  | 
|  
           350  |   
           5,0  |   
           7,5  | 
|  
           От 400 до 500 включ.  |   
           4,0  |   
           6,0  | 
|  
           Примечание - Значения заводского испытательного гидравлического давления указаны для максимального допустимого рабочего давления трубопровода.  | ||
Время выдержки заводского испытательного гидравлического давления с одновременным видеоконтролем должно составлять от 25 до 30 с.
Раструбно-замковое соединение труб должно выдерживать заводское испытательное гидравлическое давление не менее заводского испытательного гидравлического давления труб соответствующего диаметра.
6.3.15 Трубы с раструбно-замковым соединением RJ поставляются мерной длиной L, равной 6000 и 5800 мм. Другие размеры труб должны соответствовать требованиям ГОСТ Р 57430.
6.3.16 Для удобства монтажа и демонтажа труб торец гладкого конца трубы должен быть скруглен с радиусом в соответствии с требованиями ГОСТ Р 57430.
6.3.17 В зависимости от условий эксплуатации трубопровода на трубы могут быть нанесены наружное и внутреннее защитные покрытия. В качестве защитных покрытий для труб используются материалы, имеющие высокую стойкость к воздействию нефти, нефтепродуктов и пластовых вод.
6.3.18 На наружную поверхность трубы наносится металлический цинк (чистота цинка 99,9%, вес не менее 130 г/м2) с нанесением поверх цинка дополнительного покрытия одним из следующих материалов:
- грунтовка на основе синтетической смолы;
- эпоксидная композиция по ГОСТ Р 57430;
- полиуретан по ГОСТ Р 57430;
- клейкие полимерные ленты по ГОСТ Р 57430;
- полиэтиленовый рукав.
Нанесение дополнительных покрытий на трубы возможно без цинковой основы. Трубы могут поставляться без внешних защитных покрытий. Тип наружного покрытия определяется проектом.
6.3.19 На внутреннюю поверхность трубы могут быть нанесены следующие типы внутренних покрытий:
- цементно-песчаное покрытие из глиноземистого цемента по ГОСТ 969;
- химически стойкие к газу, нефти и пластовым водам эпоксидные композиции или полиуретановые материалы по ГОСТ Р 57430.
6.3.20 Трубы могут поставляться без внутренних защитных покрытий. Тип внутреннего покрытия определяется проектом.
6.3.21 Трубы должны иметь литую маркировку в раструбе (на внутренней стороне) с указанием:
- знака предприятия-изготовителя;
- номинального диаметра DN;
- номера ковша;
- года и даты изготовления;
- обозначения материала - чугуна с шаровидной формой графита (GGG) по ГОСТ Р 57340.
Дополнительная маркировка (ссылка на стандарт, обозначение класса) наносится несмываемой краской на внешней поверхности трубы.
6.3.22 Упаковка труб и дополнительная маркировка выполняются по ГОСТ 10692.
6.4 Стопоры и уплотнительные кольца для соединений типа RJ
6.4.1 Трубы поставляются в комплекте со стопорами и уплотнительными резиновыми кольцами в соответствии с требованиями технических условий предприятия-изготовителя.
6.4.2 Стопоры для фиксирования гладкого конца трубы в раструбе выполняются из ВЧШГ. Размеры стопоров должны соответствовать требованиям технических условий предприятия-изготовителя. Комплект поставки на одну трубу должен составлять: DN 80 - DN 250 - правый стопор (1 шт.), левый стопор (1 шт.); DN 300 - DN 500 - правый стопор (2 шт.), левый стопор (2 шт.). В левый стопор вваривают стальную низкоуглеродистую проволоку по ГОСТ 3282 или вместо проволоки используют резиновый фиксатор.
6.4.3 Уплотнительные резиновые кольца должны иметь двухслойную конструкцию, формы которой максимально повторяют конфигурацию раструба трубы, и изготовляются из материалов в соответствии с техническими условиями предприятия-изготовителя и требованиями ГОСТ Р 57430.
6.5 Соединительные детали для соединений типа RJ
6.5.1 Допустимые рабочие давления соединительных деталей должны соответствовать допустимым рабочим давлениям трубопроводов в соответствии с таблицей 5.1.
6.5.2 Соединительные детали из ВЧШГ для трубопроводов изготовляются двумя методами: методом литья в сухие самотвердеющие песчаные формы и методом сварки из трубных заготовок ВЧШГ в соответствии с требованиями ГОСТ Р 57430.
6.5.3 Сварные соединительные детали для трубопроводов применяются:
- при необходимости использования нестандартных соединительных деталей;
- переходе трубопровода с чугуна на сталь;
- выполнении ремонтных работ на трубопроводе.
6.5.4 Соединительные детали из ВЧШГ изготовляются следующих конструкций в соответствии с требованиями ГОСТ Р 57430:
- с раструбной частью с одной стороны и гладким концом - с другой;
- с фланцем с одной стороны и гладким концом - с другой;
- с раструбными частями с двух или трех (для тройников) сторон;
- с гладким концом со всех сторон.
6.5.5 Наименования и обозначения литых соединительных деталей должны соответствовать обозначениям, приведенным в таблице 6.7.
|  
           Наименование  |   
           Обозначение  | |
|  
           на схемах  |   
           в документах  | |
|  
           Тройник раструбный  |   
           
  |   
           ТР  | 
|  
           Колено раструбное  |   
           
  |   
           УР  | 
|  
           Колено раструб - гладкий конец  |   
           
  |   
           УРГ  | 
|  
           Отвод раструбный  |   
           
  |   
           ОР  | 
|  
           Отвод раструб - гладкий конец  |   
           
  |   
           ОРГ  | 
|  
           Патрубок раструб - гладкий конец  |   
           
  |   
           ПРГ  | 
|  
           Патрубок фланец - раструб  |   
           
  |   
           ПФР  | 
|  
           Патрубок фланец - гладкий конец  |   
           
  |   
           ПФГ  | 
|  
           Двойной раструб компенсационный  |   
           
  |   
           ДРК  | 
|  
           Муфта надвижная  |   
           
  |   
           МН  | 
|  
           Примечание - Колено - отвод, соответствующий углу поворота оси на 90°.  | ||
6.5.6 Механические свойства литых соединительных частей и стопоров, определяемые при испытании образцов согласно ГОСТ Р 57430, должны быть не менее:
|  
           - временное сопротивление σв, МПа (кгс/мм2) .........................  |   
           420 (42);  | 
|  
           - предел текучести σт, МПа (кгс/мм2) ........................................  |   
           300 (30);  | 
|  
           - относительное удлинение δ, % ...............................................  |   
           5,0;  | 
|  
           - ударная вязкость, кгс·м/см2 .....................................................  |   
           3,0.  | 
Твердость металла на наружной поверхности изделий согласно ГОСТ Р 57430 не должна превышать 250 HB.
6.5.7 Микроструктура металла должна быть ферритно-перлитная с шаровидной формой графита. Доля перлитной составляющей не более 40%. Шаровидный графит - не менее 95%. Количество структурно-свободного цементита - не более 5%.
6.5.8 Химический состав металла должен соответствовать таблице 6.5.
6.5.9 Сварные соединительные детали из ВЧШГ изготовляются следующих конструкций в соответствии с требованиями ГОСТ Р 57430:
- с раструбной частью с одной стороны и гладким концом - с другой;
- с фланцем с одной стороны и гладким концом - с другой;
- с раструбными частями с двух или трех (для тройников) сторон;
- с раструбной частью, фланцем и гладким концом (для тройников).
6.5.10 Наименования и обозначения сварных соединительных деталей должны соответствовать обозначениям, приведенным в таблице 6.8.
|  
           Наименование  |   
           Обозначение  | |
|  
           в схемах  |   
           в документе  | |
|  
           Тройник раструб - гладкий конец  |   
           
  |   
           ТРГ  | 
|  
           Тройник раструб - фланец - гладкий конец  |   
           
  |   
           ТРФГ  | 
|  
           Тройник раструбный  |   
           
  |   
           ТР  | 
|  
           Тройник раструб - фланец  |   
           
  |   
           ТРФ  | 
|  
           Колено раструб - гладкий конец  |   
           
  |   
           УРГ  | 
|  
           Колено раструбное  |   
           
  |   
           УР  | 
|  
           Отвод раструбный  |   
           
  |   
           ОР  | 
|  
           Отвод раструб - гладкий конец  |   
           
  |   
           ОРГ  | 
|  
           Патрубок фланец - гладкий конец  |   
           
  |   
           ПФГ  | 
|  
           Патрубок фланец - раструб  |   
           
  |   
           ПФР  | 
|  
           Примечание - Колено - отвод, соответствующий углу поворота оси на 90°.  | ||
6.5.11 Сварные соединительные детали изготовляются из заготовок труб, выполненных центробежным способом литья по ГОСТ Р 57430.
6.5.12 Сварка выполняется в строгом соответствии с приложением А.
6.5.13 Механические свойства сварных швов, определяемые при испытании образцов, должны быть:
|  
           - временное сопротивление σв, МПа (кгс/мм2), не менее ...........  |   
           400 (40);  | 
|  
           - твердость в околошовной зоне, HB, не более ..........................  |   
           230;  | 
|  
           - угол загиба α, не менее ............................................................  |   
           18°.  | 
6.5.14 Сварные швы соединительных деталей должны быть равнопрочными стенке труб-заготовок.
6.5.15 Каждая соединительная деталь должна быть испытана на предприятии-изготовителе испытательным гидравлическим методом. Значение давления испытания зависит от номинального диаметра детали и рабочего давления трубопровода. Для литых деталей давление заводского гидравлического испытания должно составлять не менее 1,5 рабочего давления трубопровода, для сварных деталей - 1,25 рабочего давления трубопровода. Значения заводского испытательного гидравлического давления представлены в таблице 6.9.
|  
           DN, мм  |   
           Максимальное допустимое рабочее давление трубопровода, МПа, не более  |   
           Заводское испытательное гидравлическое давление литых деталей, МПа, не менее  |   
           Заводское испытательное гидравлическое давление сварных деталей, МПа, не менее  | 
|  
           От 80 до 200 включ.  |   
           6,4  |   
           9,6  |   
           8,0  | 
|  
           250  |   
           5,6  |   
           8,4  |   
           7,0  | 
|  
           300  |   
           5,4  |   
           8,1  |   
           6,75  | 
|  
           350  |   
           5,0  |   
           7,5  |   
           6,25  | 
|  
           От 400 до 500 включ.  |   
           4,0  |   
           6,0  |   
           5,0  | 
|  
           Примечание - Значения заводского испытательного гидравлического давления указаны для максимального допустимого рабочего давления трубопровода.  | |||
Время выдержки под испытательным давлением литых деталей из ВЧШГ составляет от 25 до 30 с. Соединительная часть считается выдержавшей испытание при отсутствии падения давления, видимых протечек и отпотевания.
Время выдержки под испытательным давлением сварных деталей, выполненных из заготовок труб по ГОСТ Р 57430, составляет от 10 до 15 мин. Соединительная часть считается выдержавшей испытание при отсутствии видимых протечек и отпотевания.
Литые и сварные детали соединительных частей типа RJ должны выдерживать заводское испытательное гидравлическое давление не менее заводского испытательного гидравлического давления соединительной детали в соответствии с таблицей 6.9.
6.5.16 Толщина стенок соединительных деталей, предназначенных для строительства трубопровода, должна быть на 1 - 2 класса выше, чем у трубы соответствующего диаметра.
6.5.17 Соединительные детали с раструбно-замковым соединением типа RJ поставляются в комплекте со стопорами из ВЧШГ и уплотнительными резиновыми кольцами.
6.5.18 Соединительные детали поставляются без защитных покрытий или с такими же наружным и внутренним покрытиями, что и трубы из ВЧШГ, применяемые для строительства трубопровода.
6.5.19 Допустимые отклонения по длине соединительных деталей с раструбами, с фланцем и раструбом, с фланцем и гладким концом не должны превышать 20 мм, а по длине фланцевых соединительных частей - 10 мм.
6.5.20 Торцы гладких концов соединительных деталей, а также торцевые поверхности фланцев должны быть перпендикулярны к соответствующим осям. Оси ответвлений тройников должны быть перпендикулярны к осям магистральных частей.
6.5.21 Отклонение от перпендикулярности торцов соединительных деталей не должно превышать 0,5°.
6.5.22 Овальность гладкого конца соединительных деталей должна быть:
- для DN 80 - 200 - в пределах допуска наружного диаметра;
- для DN 250 - 500 - не более 1% наружного диаметра.
6.5.23 Соединительные детали должны иметь маркировку на наружной нерабочей поверхности с указанием:
- товарного знака предприятия-изготовителя;
- номинального диаметра DN;
- условного обозначения соединительной детали;
- года выпуска (допускается указывать две последние цифры);
- обозначения материала соединительной детали - чугуна с шаровидной формой графита по ГОСТ Р 57430;
- номинального давления PN для фланцев, МПа.
6.5.24 Маркировка литых соединительных деталей отливается заодно с литой частью детали, для сварных деталей наносится ударным способом.
Обозначение номинального давления PN для фланцев допускается выполнять штамповкой, дополнительная маркировка (ссылка на стандарт, обозначение класса) наносится несмываемой краской.
6.5.25 Стопоры, поставляемые в комплекте с деталью или трубой из ВЧШГ, должны иметь литую маркировку на одной из плоскостей с указанием:
- номинального диаметра трубы или соединительной части, для которых он предназначен (DN, допускается нанесение только цифрового обозначения);
- конструктивной особенности - левый (Л) или правый (П).
6.5.26 Отводы для участков трубопроводов, на которых предусматривается проход диагностических снарядов, должны иметь радиус изгиба не менее 5DN.
6.6 Стальные трубы и соединительные детали
6.6.1 При строительстве трубопроводов из ВЧШГ могут быть использованы на отдельных участках трубы и соединительные детали из стали (реконструкция стальных трубопроводов с заменой труб, стальные ремонтные муфты и хомуты и т.д.), должны соблюдаться требования СП 284.1325800, других нормативных документов и технической документации.
6.6.2 Переход от чугунных труб к стальным элементам осуществляется с использованием сварных соединительных деталей, изготовленных в заводских условиях в соответствии с требованиями ГОСТ Р 57430.
6.7 Запорно-регулирующая арматура
6.7.1 При выборе типа арматуры необходимо учитывать диаметр и назначение трубопровода, характер перекачиваемой среды.
6.7.2 Применение запорной арматуры в качестве элемента трубопровода, регулирующего рабочее давление, запрещается.
6.7.3 Конструкция запорно-регулирующей арматуры должна обеспечивать герметичность, соответствующую классу А по ГОСТ 9544.
6.7.4 Материал арматуры для трубопроводов принимают в зависимости от условий эксплуатации, параметров и физико-химических свойств транспортируемой среды. Арматуру из цветных металлов и их сплавов рекомендуется применять в случаях, когда применение стальной и чугунной арматуры по каким-либо соображениям невозможно или нецелесообразно по обоснованным причинам.
6.7.5 Соединения труб с запорной арматурой выполняются с помощью переходов, изготовленных в соответствии с требованиями ГОСТ Р 57430.
6.7.6 Наружная изоляция арматуры выполняется путем нанесения наружных защитных изоляционных материалов.
6.7.7 Маркировка и окраска арматуры выполняются в соответствии с требованиями ГОСТ 4666.
6.8 Закрепление трубопроводов против всплытия
6.8.1 Для закрепления (балластировки) трубопроводов, прокладываемых через водные преграды, на заболоченных и обводненных участках, должны предусматриваться утяжеляющие навесные или кольцевые одиночные грузы, балластирующие грузы с использованием грунта и анкерные устройства по техническим условиям, утвержденным в установленном порядке.
6.8.2 Навесные или кольцевые утяжеляющие одиночные грузы должны изготовляться в виде изделий из бетона с плотностью не менее 2300 кг/м3, из чугуна - марки не ниже СЧ15 по ГОСТ 1412.
6.8.3 Балластирующие грузы с использованием грунта изготовляются из высокопрочных полимеров (в том числе из ткани) с последующим заполнением полости грунтом.
6.8.4 Анкерные устройства изготовляются из материалов, обеспечивающих механическую прочность и возможность наращивания удлинительных элементов по мере заглубления анкера. После установки пары анкеров на глубину, обеспечивающую необходимую несущую способность, необходимо установить соединительный силовой пояс натягом.
6.8.5 Все изделия, применяемые для закрепления трубопроводов, должны обладать химической и механической стойкостью по отношению к воздействиям среды, в которой они устанавливаются.
6.8.6 Каждое средство балластировки должно содержать маркировку, обеспечивающую четкую идентификацию с указанием массы и объема средства балластировки, а средства балластировки, предназначенные для укладки в агрессивную среду, маркируются дополнительным индексом.
6.8.7 Шаг расстановки, номинальная масса утяжеляющих балластирующих устройств, несущая способность анкера устанавливаются проектом.
6.8.8 В случаях применения утяжелителей в сильноагрессивных грунтах при их изготовлении должны учитываться повышенные требования к бетону в зависимости от вида и степени засоленности грунтов, а также необходимость вторичной их защиты - нанесения покрытий по бетону и металлическим элементам конструкции в соответствии с требованиями СП 28.13330.
6.8.9 Железобетонные сборные кольцевые утяжелители предназначены для балластировки трубопроводов номинальным диаметром от 300 до 500 мм. Данные утяжелители состоят из двух охватывающих трубу полуколец, соединяемых между собой посредством шпилек, шайб и гаек (рисунок 6.6).

1 - полукольцо; 2 - гайка; 3 - шпилька; 4 - шайба; 5 - строповочная петля
Рисунок 6.6 - Железобетонный сборный кольцевой утяжелитель
6.8.10 Чугунный кольцевой утяжелитель состоит из двух чугунных литых полугрузов, соединенных между собой в четырех местах с помощью болтовых соединений (рисунок 6.7). Данные утяжелители используются для балластировки трубопроводов номинальным диаметром от 100 до 500 мм.

1 - чугунный полугруз; 2 - шайба; 3 - гайка; 4 - болт; B - ширина; d - диаметр отверстия; H - высота; R – наружный диаметр; r1 - диаметр паза; r2 - внутренний диаметр; L - длина
Рисунок 6.7 - Чугунный кольцевой утяжелитель
6.8.11 Железобетонный утяжелитель охватывающего типа состоит из двух железобетонных блоков и двух мягких соединительных поясов из синтетических материалов (рисунок 6.8). Утяжелитель данного типа применяется на трубопроводах номинальным диаметром 500 мм.

1 - железобетонный блок; 2 - верхний мягкий соединительный пояс (МСП); 3 - нижний МСП; 4 - балластируемый трубопровод; Dтр - диаметр трубы
Рисунок 6.8 - Железобетонный утяжелитель охватывающего типа
6.8.12 Балластировку трубопроводов DN 80 - 500 бескаркасными утяжелителями контейнерного типа следует проводить на участках прогнозируемого обводнения и на обводненных (заболоченных) территориях.
6.8.13 Текстильные бескаркасные утяжелители контейнерного типа изготовляют из полимерных материалов. Утяжелители представляют собой заполненные минеральным грунтом замкнутые оболочечные конструкции, соединенные между собой неразъемно при изготовлении (рисунок 6.9).

b - размер в плане; dтр - диаметр трубопровода
Рисунок 6.9 - Контейнерный текстильный бескаркасный утяжелитель
6.9 Противокоррозионные покрытия трубопроводов
6.9.1 Трубы и соединительные детали, изготовленные из ВЧШГ, при высокой прочности и умеренной пластичности имеют высокую коррозионную стойкость. Это сочетание свойств увеличивает ресурс эксплуатации трубопроводов даже при отсутствии защитных покрытий.
Целесообразность применения конкретного типа и конструкции защитного покрытия определяется в зависимости от удельного электрического сопротивления грунта, как основного параметра, определяющего коррозионную агрессивность.
6.9.2 Наружное защитное покрытие наносится на трубы и соединительные детали из ВЧШГ в заводских, базовых и трассовых условиях. Для противокоррозионной защиты в зависимости от условий эксплуатации могут применяться материалы и системы покрытий, приведенные в таблице 6.10.
|  
           Условия нанесения покрытия  |   
           Материал и конструкция наружного защитного покрытия  |   
           Толщина покрытия, мм  |   
           Максимальная температура эксплуатации, °C  | 
|  
           Заводские  |   
           Металлический цинк массой ≥ 130 г/м2 с отделочным покрытием на основе синтетических смол (полимерных материалов)  |   
           ≥ 0,07  |   
           95  | 
|  
           Металлический цинк массой ≥ 200 г/м2 с отделочным покрытием на основе эпоксидных красок  |   
           0,110  |   
           95  | |
|  
           Базовые  |   
           Сплав цинка с алюминием массой ≥ 400 г/м2 с отделочным покрытием на основе эпоксидных красок  |   
           0,110  |   
           95  | 
|  
           На основе полиуретановых смол  |   
           1,5  |   
           95  | |
|  
           Базовые, трассовые  |   
           Экструдированный полиэтилен  |   
           1,8 - 2,0  |   
           60  | 
|  
           Ленточная (пленочная) изоляция  |   
           По ГОСТ Р 57430  | ||
|  
           Мастика изоляционная битумная, битумно-полимерная  |   
           1,0  |   
           40  | |
|  
           Трассовые  |   
           На основе термоусаживающихся материалов (лент)  |   
           1,2  |   
           95  | 
|  
           Полиэтиленовый рукав  |   
           0,2  |   
           95  | |
|  
           Примечания 1 Под максимальной температурой эксплуатации понимается максимальная температура транспортируемой среды. 2 Допускается разброс толщины покрытия в пределах 20%. 3 При наличии покрытий заводского нанесения не требуется нанесение дополнительного покрытия в трассовых условиях.  | |||
6.9.3 В зависимости от электрического сопротивления грунтов, в которых прокладывается участок трубопровода, рекомендуются следующие типы защитных наружных покрытий при укладке:
а) ниже уровня грунтовых вод:
- при электрическом сопротивлении грунтов более 25 Ом·м - цинковое покрытие с завершающим покрытием на основе синтетических смол (полимеров);
- при электрическом сопротивлении грунтов более 15 Ом·м - цинковое покрытие с завершающим покрытием на основе синтетических смол (полимеров) плюс полиэтиленовый рукав или цинковое покрытие с завершающим эпоксидным покрытием;
- при электрическом сопротивлении грунтов более 5 Ом·м - сплав цинка с алюминием с завершающим эпоксидным покрытием;
- при электрическом сопротивлении грунтов менее 5 Ом·м - армированные покрытия (экструдированный полиэтилен, полиуретан, клейкие ленты);
б) выше уровня грунтовых вод:
- при электрическом сопротивлении грунтов более 15 Ом·м - цинковое покрытие с завершающим покрытием на основе синтетических смол (полимеров);
- при электрическом сопротивлении грунтов более 10 Ом·м - цинковое покрытие с завершающим покрытием на основе синтетических смол (полимеров) плюс полиэтиленовый рукав или цинковое покрытие с завершающим эпоксидным покрытием;
- при электрическом сопротивлении грунтов более 5 Ом·м - сплав цинка с алюминием с завершающим эпоксидным покрытием;
- при электрическом сопротивлении грунтов менее 5 Ом·м - армированные покрытия (экструдированный полиэтилен, полиуретан, клейкие ленты).
6.9.4 Для защиты внутренней поверхности труб следует применять покрытия, приведенные в таблице 6.11.
|  
           Условия нанесения покрытия  |   
           Тип защитного покрытия  |   
           Количество слоев  |   
           Суммарная толщина покрытия, мм  |   
           Степень агрессивности транспортируемой среды  | 
|  
           Заводские  |   
           Цементно-песчаное из глиноземистого цемента по ГОСТ 969  |   
           -  |   
           3 - 5  |   
           Неагрессивная Слабоагрессивная Сильноагрессивная  | 
|  
           Заводские, базовые  |   
           Полиуретановые материалы по ГОСТ 9.602  |   
           -  |   
           1 - 2  |   
           Неагрессивная Слабоагрессивная Сильноагрессивная  | 
|  
           Заводские, базовые  |   
           Лакокрасочные покрытия на основе двухкомпонентных эпоксидных, модифицированных эпоксидных и фенольных материалов, содержащих растворитель  |   
           2 - 5  |   
           Не менее 0,3  |   
           Неагрессивная Слабоагрессивная Сильноагрессивная  | 
|  
           Лакокрасочные покрытия на основе двухкомпонентных эпоксидных, модифицированных эпоксидных материалов:  |  ||||
|  
           Заводские  |   
           - с высоким (> 70%) содержанием сухого остатка;  |   
           1 - 2  |   
           0,3 - 0,5  |   
           Неагрессивная Слабоагрессивная Среднеагрессивная  | 
|  
           Базовые  |   
           - не содержащих растворитель  |   
           1  | ||
|  
           Порошковые покрытия на основе полимерных эпоксидных и модифицированных эпоксидных материалов, наносимых по жидкой адгезионной грунтовке (праймеру)  |   
           0,3 - 0,5  |   
           Неагрессивная Слабоагрессивная Среднеагрессивная Сильноагрессивная  | ||
|  
           Заводские  |   
           1 (праймер)  | |||
|  
           Базовые  |   
           1 (порошок)  | |||
|  
           Стеклоэмалевые покрытия:  |  ||||
|  
           Заводские  |   
           - безгрунтовое  |   
           1  |   
           Не менее 0,3  |   
           Неагрессивная Слабоагрессивная Среднеагрессивная  | 
|  
           Базовые  |   
           - покровное  |   
           2  |   
           Не менее 0,4  |   
           Неагрессивная Слабоагрессивная Среднеагрессивная Сильноагрессивная  | 
|  
           Примечание - Для сильноагрессивных сред применяются покрытия только на основе фенольных смол.  | ||||
6.9.5 Для сохранности покрытия заводского или базового нанесения в период транспортирования, погрузочно-разгрузочных работ и складирования труб и соединительных деталей необходимо принимать меры в соответствии с нормативными документами, исключающие возможность механических повреждений покрытий.
6.9.6 Строительство трубопроводов, как правило, выполняют из изолированных труб и соединительных деталей с заводским или базовым покрытием. Трассовая изоляция допускается только при соответствующем обосновании.
6.9.7 Трубопроводы, монтируемые по технологии RJ, должны иметь заводское или базовое покрытие.
6.9.8 Изоляцию трубопроводов из ВЧШГ в трассовых условиях необходимо проводить в соответствии с требованиями СП 284.1325800 и с учетом конструктивных особенностей соединений (неровная поверхность на стыках).
6.9.9 Нанесение изоляционного покрытия на сварные стыки труб из ВЧШГ со стальными трубами осуществляется в соответствии с требованиями СП 284.1325800 и техническими условиями предприятий-изготовителей на изоляционные материалы.
6.10 Тепловая изоляция
6.10.1 Конструкция тепловой изоляции включает антикоррозионное, теплоизоляционное и гидрозащитное покрытия.
6.10.2 Наносимые антикоррозионные покрытия должны соответствовать требованиям ГОСТ Р 51164.
6.10.3 Теплоизоляционный слой выполняется из минераловолокнистых материалов и изделий монолитной формы (скорлуп, цилиндров, полуцилиндров и др.).
Материал и толщина теплоизоляционного слоя определяются теплотехническим расчетом обеспечения необходимой температуры трубопровода при транспортировании жидких сред. Расчет проводится с учетом следующих параметров:
- характеристика транспортируемого продукта;
- метод прокладки трубопроводов;
- климатические условия в районе строительства объекта;
- технологический режим трубопровода;
- возможные остановки работы трубопровода;
- наличие путевого обогрева и его характеристики;
- свойства теплоизоляционного материала;
- другие требования.
6.10.4 Тепловая изоляция для трубопроводов должна предусматриваться с применением готовых к монтажу теплоизолированных труб, узлов и деталей трубопровода, изготовленных в заводских или базовых условиях.
6.10.5 В качестве защитного покрытия для теплоизоляции при подземной прокладке трубопроводов применяются полиэтиленовые трубы-оболочки, при надземной - защитные оболочки из тонколистовой оцинкованной стали.
6.10.6 В течение всего срока эксплуатации трубопровода тепловая изоляция должна обеспечивать свои функции независимо от способа прокладки участков трубопроводов и типа теплоизоляционного покрытия.
6.10.7 Материалы, используемые в теплоизоляционных конструкциях, должны иметь документ, подтверждающий качество на данный вид продукции, соответствовать требованиям нормативной документации и технических условий предприятия-изготовителя, утвержденных в установленном порядке.
7.1 Требования к проектированию трубопроводов из ВЧШГ приведены в соответствующих нормативных документах и законодательных актах в области проектирования, промышленной безопасности, охраны окружающей среды, в том числе [24], СП 284.1325800. Отличительные особенности труб из ВЧШГ, технологии монтажа и ремонта приведены в разделе 14.
7.2 Конструкция участков трубопроводов и способы их монтажа и прокладки должны обеспечивать:
- безопасную и надежную эксплуатацию трубопровода из ВЧШГ в пределах нормативного срока службы;
- ведение технологий промыслового сбора и транспорта продукции скважин в соответствии с проектными параметрами и нормативными документами в данной области;
- возможность контроля технического состояния трубопроводов в процессе строительства и эксплуатации;
- производство монтажных и ремонтных работ с применением передовых технических средств и современных технологических процессов;
- защиту трубопроводов от коррозии, вторичных проявлений молнии, статического электричества;
- предотвращение образования ледяных, гидратных и других пробок.
7.3 Диаметр трубопроводов должен определяться гидравлическим расчетом и соответствовать сортаменту выпускаемых труб.
Гидравлический расчет трубопроводов, транспортирующих ГЖС, рекомендуется проводить по методике, принятой в нефтегазодобывающей компании, с учетом свойств продуктов. Одна из методик гидравлического расчета приведена в приложении Б.
7.4 Расчет на прочность приведен в приложении В настоящего свода правил. При расчете следует учитывать требования СП 284.1325800, принимая соответствующие расчетные коэффициенты для трубопроводов из ВЧШГ.
7.5 Проект на строительство и реконструкцию трубопроводов из ВЧШГ выполняется в соответствии с требованиями, изложенными в [1] и [9], а также с дополнительными требованиями заказчика на основании действующих нормативных документов.
8.1 Необходимый уровень надежности трубопроводов из ВЧШГ и их безопасность обеспечивается:
- назначением категории I для трубопроводов и их участков в независимости от назначения;
- определением коэффициентов надежности, характеризующих назначение, условия работы трубопроводов, применяемые материалы и действующие нагрузки;
- выбором безопасных расстояний от иных зданий и сооружений (не относящихся к трубопроводу);
- расчетами на прочность и устойчивость;
- конструктивно-технологическими решениями при проектировании;
- технологическими решениями при обслуживании и ремонте.
8.2 Трубопроводы подразделяются на классы в зависимости от рабочего давления и номинального диаметра в соответствии с СП 284.1325800.2016 (раздел 5).
8.3 Коэффициенты надежности для трубопроводов из ВЧШГ с номинальным диаметром до 500 мм и номинальным давлением до 6,4 МПа принимают:
- коэффициент надежности по назначению γn=1,00;
- коэффициент надежности по условиям работы γc=0,60;
- коэффициент надежности по материалу γm=1,55;
- коэффициент надежности по нагрузке γf устанавливается в соответствии с таблицей 8.1.
|  
           Нагрузки и воздействия  |   
           Способ прокладки трубопроводов  |   
           Коэффициент надежности по нагрузке γf  | ||
|  
           Вид нагрузки  |   
           Характеристика нагрузки  |   
           Подземный  |   
           Надземный  | |
|  
           Постоянные  |   
           Собственный вес трубопровода и обустройств  |   
           +  |   
           +  |   
           1,10 (0,95)  | 
|  
           Вес изоляции  |   
           +  |   
           +  |   
           1,20  | |
|  
           Давление (вес) грунта (засыпки, насыпи)  |   
           +  |   
           -  |   
           1,20 (0,80)  | |
|  
           Гидростатическое давление воды  |   
           +  |   
           -  |   
           1,00  | |
|  
           Временные длительные  |   
           Внутреннее давление транспортируемой жидкой среды  |   
           +  |   
           +  |   
           1,15  | 
|  
           Вес транспортируемой жидкой среды  |   
           +  |   
           +  |   
           1,00 (0,95)  | |
|  
           Неравномерные деформации грунта, не сопровождающиеся изменением его структуры (осадки, пучения и др.)  |   
           +  |   
           +  |   
           1,50  | |
|  
           Кратковременные  |   
           Снеговая нагрузка  |   
           -  |   
           +  |   
           1,40  | 
|  
           Гололедная нагрузка  |   
           -  |   
           +  |   
           1,30  | |
|  
           Ветровая нагрузка  |   
           -  |   
           +  |   
           1,20  | |
|  
           Нагрузка, вызываемая морозным растрескиванием грунта  |   
           +  |   
           -  |   
           1,20  | |
|  
           Нагрузки и воздействия, возникающие при пропуске очистных устройств  |   
           +  |   
           +  |   
           1,20  | |
|  
           Нагрузки и воздействия, возникающие при испытаниях трубопровода  |   
           +  |   
           +  |   
           1,00  | |
|  
           Особые  |   
           Сейсмические воздействия  |   
           +  |   
           +  |   
           1,00  | 
|  
           Нарушения технологического процесса, временные неисправности или поломки оборудования  |   
           +  |   
           +  |   
           1,00  | |
|  
           Неравномерные деформации грунта, сопровождающиеся изменением его структуры (селевые потоки и оползни; деформации земной поверхности в районах горных выработок и карстовых районах; деформации просадочных грунтов при замачивании или многолетнемерзлых при оттаивании и др.)  |   
           +  |   
           +  |   
           1,00  | |
|  
           Воздействия, вызываемые развитием солифлюкционных и термокарстовых процессов  |   
           +  |   
           -  |   
           1,05  | |
|  
           Примечания 1 Знак "+" означает, что нагрузки и воздействия следует учитывать, знак "-" - не учитывать. 2 Значения коэффициентов надежности по нагрузке, указанные в скобках, должны приниматься в тех случаях, когда уменьшение нагрузки ухудшает условия работы трубопровода. 3 Когда по условиям испытания или эксплуатации в трубопроводах, транспортирующих жидкие среды, возможно попадание воздуха или опорожнение их, необходимо учитывать изменение нагрузки от веса среды.  | ||||
8.4 Безопасность в районах прохождения трубопроводов обеспечивается расположением их на соответствующих расстояниях от объектов инфраструктуры.
Расстояния от оси подземных трубопроводов до зданий, сооружений и инженерных сетей принимаются в зависимости от класса и диаметра трубопровода, транспортируемого продукта, назначения объектов и степени обеспечения их безопасности, но не менее значений, приведенных в СП 284.1325800.2016 (таблица 7).
Расстояния между параллельными трубопроводами принимаются из условий обеспечения сохранности всех действующих трубопроводов при строительстве нового трубопровода, безопасности выполнения работ, надежности их в процессе эксплуатации, но не менее значений, приведенных в СП 284.1325800.2016 (раздел 8).
При прокладке промысловых трубопроводов параллельно магистральным нефте- и газопроводам расстояния между ними принимаются в соответствии с требованиями СП 36.13330.
8.5 Расчет трубопроводов на прочность и устойчивость включает определение толщины стенок труб и соединительных деталей, проведение поверочного расчета принятого конструктивного решения при неблагоприятных сочетаниях нагрузок и воздействий с оценкой прочности и устойчивости рассматриваемого трубопровода, включая оценку устойчивости положения (против всплытия).
8.6 Прочность и устойчивость трубопровода должна обеспечиваться как на стадии проектирования, так и на стадиях сооружения и испытаний трубопроводов.
8.7 При проектировании и эксплуатации необходимо учитывать следующие нагрузки и воздействия на трубопровод:
- силовые нагружения - внутреннее давление среды, собственный вес трубопровода, обустройств и транспортируемой среды, давление (вес) грунта, гидростатическое давление воды, снеговая, ветровая и гололедная нагрузки, нагрузки, возникающие при испытании и пропуске очистных устройств;
- деформационные нагружения - воздействия неравномерных деформаций грунта (морозное растрескивание, селевые потоки и оползни, деформации земной поверхности в районах горных выработок и карстовых районах, просадки, пучение, термокарстовые процессы), сейсмические воздействия.
8.8 При проектировании и эксплуатации необходимо учитывать длительность и характер воздействий на трубопровод.
8.9 Нормативные нагрузки от собственного веса трубопровода, арматуры и обустройств, изоляции, от воздействия грунта принимаются в соответствии с таблицей 8.1.
При отсутствии нагрузок и воздействий в числе приведенных в таблице 8.1 их необходимо принимать в соответствии с СП 284.1325800.2016 (таблица 6).
8.10 Нормативное значение давления транспортируемой среды устанавливается проектом на основании гидравлических расчетов, но не более значений, указанных в таблице 5.1.
8.11 Воздействия от предварительного напряжения трубопровода (упругий изгиб по заданному профилю, предварительная растяжка компенсаторов при надземной прокладке и др.) не учитываются, так как гибкость раструбно-замковых соединений типа RJ обеспечивает подвижность труб, как в угловом, так и в осевом направлении.
8.12 Использование раструбно-замковых соединений типа RJ обеспечивает подвижность труб как в угловом, так и в осевом направлении, что позволяет снизить нагрузки, вызванные сезонными или другими подвижками грунта.
8.13 Методика расчетов на прочность и устойчивость приведена в приложении В.
9.1 Выбор трассы трубопроводов проводится на основе оценки технической и экономической целесообразности и экологической допустимости из нескольких возможных вариантов.
9.2 Прокладка трубопроводов по территориям населенных пунктов, вахтовых жилых комплексов, промышленных и сельскохозяйственных предприятий, аэродромов, морских и речных портов, пристаней и других аналогичных объектов не допускается.
9.3 Допускается совместная в одной траншее или на общих опорах (эстакаде) прокладка промысловых трубопроводов из ВЧШГ одного или различных назначений.
Количество трубопроводов из ВЧШГ, укладываемых в одну траншею или на общих опорах, определяется проектом, исходя из условий надежности и безопасности эксплуатации трубопроводов и удобства выполнения строительно-монтажных и ремонтных работ.
9.4 Расстояние в свету между трубопроводами, укладываемыми в одной траншее или на общих опорах (эстакаде), должно соответствовать требованиям СП 284.1325800.2016 (раздел 8).
9.5 При выборе трасс трубопроводов необходимо учитывать перспективное развитие территорий, по которым прокладываются участки трубопроводов, и месторождений, условия строительства и обслуживания трубопроводов в период их эксплуатации (существующие, строящиеся и проектируемые здания и сооружения, мелиорация, ирригация пустынных и других районов и т.д.).
9.6 Взаимные пересечения трубопроводов, а также пересечения трубопроводов с кабелями и кабельными каналами должны выполняться под углом не менее 60° независимо от способов прокладки и назначения трубопроводов.
9.7 При подземной, наземной и надземной прокладке и взаимном пересечении трубопроводов из ВЧШГ с газопроводами последние должны располагаться над трубопроводами, транспортирующими жидкие среды. При невозможности соблюдения вышеуказанного требования проектируемый трубопровод должен заключаться в защитный футляр с выводом концов на расстояние не менее 10 м в обе стороны от оси пересекаемого газопровода.
10.1 Общие требования
10.1.1 Диаметр трубопровода следует определять на основании гидравлического расчета.
10.1.2 Толщины стенок труб и соединительных деталей трубопроводов следует определять по расчету в соответствии с требованиями настоящего свода правил.
10.1.3 Применяемые для трубопроводов трубы, соединительные детали, материалы для балластировки и закрепления трубопроводов, теплоизоляционные материалы должны соответствовать требованиям, изложенным в разделе 6.
10.1.4 Допустимые радиусы поворота трубопроводов в горизонтальной и вертикальной плоскостях определяются исходя из конструктивных особенностей и условий прочности труб и соединительных деталей с раструбно-замковыми соединениями типа RJ.
10.1.5 На трубопроводах с соединением типа RJ не возникает напряжений упругого изгиба при радиусах поворота более значений R, указанных в таблице 6.4, за счет подвижности соединений в угловом и осевом направлениях.
10.1.6 При проектировании трубопроводов, предназначенных для транспортирования сред, оказывающих коррозионные воздействия на металл труб, соединительных деталей и арматуру, установленную на трубопроводах, необходимо предусматривать мероприятия, обеспечивающие защиту от коррозии и сероводородного растрескивания в соответствии с требованиями настоящего свода правил. Защита трубопроводов от внутренней коррозии осуществляется применением ингибиторов, защитными покрытиями внутренней поверхности труб, подготовкой транспортируемого продукта с удалением из него агрессивных составляющих.
При агрессивности среды, вызывающей внутреннюю коррозию со скоростью 0,2 мм в год и выше, следует применять трубы с внутренним защитным покрытием.
Целесообразность применения средств борьбы с наружной коррозией путем использования антикоррозионных изоляционных материалов, средств ЭХЗ в каждом конкретном случае должна быть обоснована в проектной документации.
10.1.7 Необходимость внешней тепловой изоляции трубопроводов и ее конструктивное оформление определяются теплотехническими расчетами, свойствами транспортируемой среды, способом прокладки трубопровода, требованиями технологического процесса, техники безопасности и пожарной безопасности.
10.1.8 Фланцевые соединения допускаются в местах подключения трубопроводов к аппаратам, арматуре, КИП и другому оборудованию, имеющему ответные фланцы на участках трубопроводов, требующих периодической разборки, а также могут быть использованы в качестве изолирующих в зонах с блуждающими токами.
10.1.9 Не допускается непосредственная приварка к трубопроводам усиливающих элементов. Узлы, в состав которых входят трубы (или соединительные детали) и другие стальные конструкции, должны быть заводского изготовления.
10.1.10 В целях предотвращения продольных перемещений трубопроводов и возникновения усилий от трубопроводов на примыкающие к ним узлы и конструктивные элементы следует предусматривать специальные мероприятия, в том числе установку неподвижных опор, упоров.
10.1.11 На подземных трубопроводах следует применять запорно-регулирующую арматуру - стальную приварную или чугунную с раструбно-замковыми соединениями типа RJ. Для надземного способа прокладки допускается применение фланцевой запорно-регулирующей арматуры.
10.1.12 На трубопроводах должны предусматриваться узлы запуска и приема очистных и диагностических устройств, конструкция и расположение которых определяются проектом.
Места установки узлов пуска и приема очистных и диагностических устройств должны быть ограждены, иметь освещение, к ним должен быть обеспечен подъезд автотранспорта.
В отдельных случаях при соответствующем обосновании допускается не предусматривать устройств пуска и приема очистных и диагностических устройств (например, при незначительной протяженности трубопровода и др.).
10.1.13 При проектировании узлов равнопроходных ответвлений от основного трубопровода, а также неравнопроходных ответвлений, диаметр которых составляет свыше 0,3DN основного трубопровода, следует предусматривать проектные решения, исключающие возможность попадания внутритрубных устройств в ответвление.
10.1.14 Все элементы трубопроводов в пределах одного очищаемого участка должны быть равнопроходными (трубы, линейная арматура, камера приема и запуска очистных устройств и т.п.).
10.1.15 Отводы для участков трубопроводов, где предусматривается проход очистных устройств, должны иметь радиусы изгиба не менее 5DN.
10.2 Размещение запорной и другой арматуры
10.2.1 На трубопроводах следует предусматривать установку запорной арматуры на расстоянии, определяемом расчетом из условия обеспечения безопасности и охраны окружающей среды, но не более (не дальше друг от друга) 5 км для трубопроводов различного назначения. Кроме того, установку запорной арматуры необходимо предусматривать:
- в начале каждого ответвления на расстоянии, допускающем установку монтажного узла, его ремонт и безопасную эксплуатацию;
- на входе и выходе трубопроводов из головных сооружений на расстоянии от границ территории площадок не менее:
- диаметром менее 500 до 300 мм включительно - 300 м,
- диаметром менее 300 мм - 100 м;
- при наличии в пределах этих расстояний устройств для приема и запуска очистных и диагностических устройств дополнительная установка запорной арматуры необязательна;
- на обоих концах перехода трубопровода через водные преграды в зависимости от рельефа трассы с каждой стороны перехода в целях исключения поступления транспортируемого продукта в водоем (река, озеро, канал, искусственный водоем), установка запорной арматуры должна быть на отметках выше ГВВ 10%-ной обеспеченности;
- на обоих концах участков трубопроводов, проходящих на отметках выше населенных пунктов, зданий и сооружений, в том числе железных дорог, на расстоянии, устанавливаемом проектом в зависимости от рельефа местности и необходимости обеспечения безопасности объектов;
- при переходе водной преграды шириной по зеркалу воды в межень более 10 м и глубиной более 1,5 м;
- на обоих берегах болот типа III протяженностью более 500 м включительно.
10.2.2 Для контроля давления в трубопроводе следует устанавливать манометры с обеих сторон запорной арматуры.
10.2.3 Допускается не устанавливать запорную арматуру в начале ответвлений незначительной протяженности до 500 м.
10.2.4 Запорная арматура, устанавливаемая на трубопроводах подключения к площадочным сооружениям, трубопроводах при переходе их через водные преграды и при прокладке их выше отметок зданий и сооружений, должна быть оборудована устройствами, обеспечивающими дистанционное управление и сигнализацию в случае утечек продукта.
10.2.5 При параллельной прокладке двух или более трубопроводов узлы линейной запорной арматуры должны быть смещены на расстояние не менее 50 м, принимаемое по радиусу относительно друг друга. Требование данного пункта не распространяется на линейную запорную арматуру узлов подключения, а также для трубопроводов, прокладываемых в одной траншее или на единой надземной эстакаде.
10.2.6 При соответствующем обосновании допускается уменьшение указанного расстояния исходя из возможности монтажа, ремонта и безопасной эксплуатации, но не менее 25 м.
10.2.7 Запорная арматура диаметром 400 мм и более должна устанавливаться на фундаменты.
10.2.8 Трубопроводы обвязки линейной запорной арматуры, находящиеся под давлением, байпасы, перемычки следует предусматривать в подземном исполнении с кранами бесколодезной установки. Допускается наземная и надземная установка арматуры. К приводу арматуры должен быть предусмотрен доступ. Проектные решения должны исключать неравномерную осадку трубопроводов и арматуры.
10.2.9 Запорная арматура с дистанционным и автоматическим управлением для аварийного перекрытия трубопровода должна быть оборудована ручным дублером.
10.2.10 Арматура, установленная на трубопроводах из ВЧШГ, должна быть защищена от коррозии. В каждом конкретном случае способы и методы защиты указываются в проектной документации.
10.3 Подземная прокладка трубопроводов
10.3.1 Заглубление трубопроводов до верха трубы устанавливается не менее значений, указанных в таблице 10.1.
|  
           Условия прохождения трассы  |   
           Заглубление, м  | 
|  
           На непахотных землях вне постоянных проездов  |   
           0,8  | 
|  
           На пахотных и орошаемых землях  |   
           1,0  | 
|  
           В скальных грунтах и болотистой местности при отсутствии проезда автотранспорта и сельскохозяйственных машин  |   
           0,6  | 
|  
           При пересечении оросительных и осушительных каналов от предельной глубины профиля очистки дна канала  |   
           1,1  | 
|  
           При пересечении автомобильных дорог:  |  |
|  
           - от верха покрытия дороги до верхней образующей защитного футляра  |   
           1,4  | 
|  
           - дна кювета, водоотводной канавы или дренажа до верхней образующей защитного футляра (при размещении дорожного полотна на нулевых отметках или в выемках)  |   
           0,5  | 
10.3.2 Заглубление трубопроводов, транспортирующих среды, замерзающие при отрицательной температуре, устанавливается:
- для пресной воды - согласно СП 31.13330;
- пластовых и сточных вод - в зависимости от минерализации (солености) и температуры воды, почвенных и климатических условий [14].
Допускается уменьшить глубину прокладки трубопроводов на основании теплотехнических расчетов, применения дополнительных мероприятий (например, теплоизоляция).
10.3.3 Глубина прокладки подземного трубопровода в районах многолетнемерзлых грунтов определяется принятым конструктивным решением, обеспечивающим надежность работы трубопровода с учетом требований охраны окружающей среды.
10.3.4 Прокладка трубопроводов из ВЧШГ одного или различного назначения в одной траншее допускается не более четырех трубопроводов номинальным диаметром не более 300 мм каждый.
10.3.5 Ширина траншеи по дну должна быть такой, чтобы расстояние между стенкой траншеи и трубой было не менее 0,4 м.
При балластировке трубопроводов железобетонными и чугунными утяжелителями ширину траншеи следует назначать из условия обеспечения расстояния между низом и стенкой траншеи не менее 0,2 м. Кроме того, ширина траншеи по дну при балластировке трубопровода должна быть не менее 2,2DN.
Такое же расстояние должно быть между трубопроводами, укладываемыми в одной траншее.
10.3.6 При прокладке трубопроводов в скальных, гравийно-галечниковых и щебенистых грунтах и засыпке этими грунтами следует предусматривать устройство подсыпки и присыпки из мягких грунтов толщиной не менее 20 см.
При применении в скальных и мерзлых грунтах взрывного способа рыхления подсыпка из мягких грунтов должна быть толщиной не менее 20 см над выступающими частями основания под трубопроводы. Применяемый грунт не должен содержать мерзлые комья, щебень, гравий размером более 5 см в поперечнике.
Изоляционные покрытия в этих условиях должны быть защищены от повреждения путем присыпки трубопровода мягким грунтом толщиной слоя 20 см или применением при засыпке защитных материалов и конструкций.
Если проектом не предусмотрено применение изоляционного защитного наружного покрытия, то допускаются укладка трубопровода в траншею без подготовки дна траншеи и засыпка трубопровода без предварительной присыпки мягким грунтом.
10.3.7 Проектирование подземных трубопроводов для районов распространения просадочных грунтов необходимо выполнять с учетом требований СП 22.13330.
10.3.8 При прокладке трубопроводов по направлению уклона местности свыше 20% следует предусматривать устройство противоэрозионных экранов и перемычек с применением конструкций из искусственных материалов.
10.3.9 При проектировании трубопроводов, укладываемых на косогорах, необходимо предусматривать мероприятия для отвода поверхностных вод.
10.3.10 При наличии вблизи трассы оврагов и провалов, которые могут повлиять на безопасную эксплуатацию трубопроводов, следует предусматривать противоэрозионные мероприятия.
10.3.11 По трассе трубопроводов следует предусматривать установку постоянных реперов на расстоянии не более 5 км друг от друга и опознавательных знаков на расстоянии не более 1 км друг от друга, на горизонтальных углах поворотов, на переходах трубопроводов через искусственные и естественные препятствия.
10.3.12 Пересечения трубопроводов с другими подземными и надземными инженерными сетями необходимо проектировать в соответствии с требованиями СП 284.1325800.
10.4 Наземная (в насыпи) прокладка трубопроводов
10.4.1 Наземная (в насыпи) прокладка трубопроводов может применяться на участках трассы с резко пересеченным рельефом местности, в заболоченных местах и на участках, длительное время залитых водой.
10.4.2 Требования к работам по отсыпке насыпи перед монтажом трубопровода с тщательным послойным уплотнением и поверхностным закреплением грунта, аналогичным работам при строительстве стальных трубопроводов, приведены в СП 86.13330 и [15].
10.4.3 Отсыпка насыпи должна выполняться в несколько этапов.
Первый слой на 25 - 30 см выше естественных отметок поверхности земли отсыпают самосвалами, разгружающими материал отсыпки на берегу болота, затем бульдозерами его сдвигают в сторону наращивания насыпи вдоль трассы.
После отсыпки первого слоя на полную длину насыпи сооружают второй слой до проектной отметки низа трубы с последующим уплотнением.
Третий слой до проектной отметки насыпают после полной осадки насыпи.
10.4.4 Отсыпку насыпи выполняют из хорошо дренирующих грунтов: супеси, песка, гравия.
10.4.5 Трубопровод укладывается на основание из торфа, минерального (мягкого или мелкогранулированного) грунта или хворостяную выстилку со слоем торфа таким образом, чтобы низ трубопровода был выше уровня поверхности воды на 0,2 - 0,3 м.
Обваловку трубопровода проводят минеральным грунтом насыпи (с присыпкой мягким или мелкогранулированным грунтом) или торфяным грунтом с последующей обсыпкой минеральным грунтом.
10.4.6 Поперечный профиль насыпи устанавливается в зависимости от грунтов и должен быть:
- по верху насыпи - не менее 1,5DN;
- высотой над трубопроводом - 0,8 м;
- с откосами - не менее углов естественного откоса грунта, но не менее 1:1,25.
10.4.7 При пересечении водотоков в насыпи должны предусматриваться водопропускные конструкции и сооружения. Дно водопропускных конструкций и сооружений, а также примыкающие к ним откосы насыпи должны укрепляться железобетонными плитами, камнем, одерновкой или другими конструкциями.
Количество и параметры водопропускных конструкций и сооружений определяются расчетом с учетом рельефа местности, площади водосбора и интенсивности стока поверхностных вод.
10.5 Надземная прокладка трубопровода
10.5.1 Надземная (на опорах) прокладка трубопроводов может применяться при пересечении естественных и искусственных преград, в том числе оврагов, балок, несудоходных и несплавных рек, железных и автомобильных дорог, проложенных через выемки, а также на участках с тектонической и грунтовой активностью (разлом, пучение, провал, оползень, селеобразование).
10.5.2 При сооружении надземных трубопроводов из ВЧШГ в зависимости от их диаметра, назначения, типа наружных покрытий (антикоррозионных и тепловых), высоты опор, протяженности надземных участков могут быть применены разные способы монтажа и укладки, например подъем с поверхности строительной полосы на эстакаду или опоры отдельных труб с последующим соединением их между собой (с использованием соединений типа RJ). Каждая труба должна опираться на одну опору в зоне за раструбом и фиксироваться хомутом, расстояние между опорами определяется расчетом, приведенным в СП 66.13330. Расстояние должно быть не больше длины стандартной трубы - 6 м.
10.5.3 При использовании труб с раструбно-замковыми соединениями типа RJ температурные компенсаторы на трубопроводе не устанавливают, так как соединение обладает свободой продольных перемещений, достаточной для компенсации тепловых расширений в пределах рабочих температур трубопровода.
При использовании других технологий соединения (например, фланцевые) необходимо предусмотреть устройство компенсатора или обосновать возможность его исключения.
10.5.4 Монтаж опорных элементов надземных трубопроводов выполняется после оформления акта приемки опор, которым подтверждается их соответствие проекту.
10.5.5 Монтаж трубопровода осуществляется из труб или секций с заводским или базовым защитным (изоляционным) покрытием.
Высота прокладки надземного трубопровода от поверхности земли до низа трубопровода принимается не менее 0,5 м; в местах свободного прохода людей - 2,5 м; на путях миграции крупных животных - 3,0 м; при пересечении автомобильных дорог - в соответствии с требованиями СП 18.13330.
10.5.6 Высота прокладки трубопроводов над землей на участках многолетнемерзлых грунтов назначается из условия обеспечения мерзлого состояния грунта под опорами и трубопроводом.
10.5.7 При прокладке трубопроводов через естественные препятствия расстояние от низа трубы или пролетного строения (эстакады) принимается:
- при пересечении оврагов и балок - не менее 0,5 м до уровня ГВВ 5%-ной обеспеченности;
- при пересечении несудоходных, несплавных рек и больших оврагов, где возможен ледоход, - не менее 0,5 м до уровня воды 1%-ной обеспеченности и наивысшего горизонта ледохода;
- при пересечении судоходных и сплавных рек - не менее значения, установленного нормами проектирования подмостовых габаритов на судоходных реках и основными требованиями к расположению мостов.
10.5.8 На переходах трубопровода над железными дорогами общей сети расстояние от низа трубы или пролетного строения до головки рельсов принимается в соответствии с требованиями габарита C по ГОСТ 9238. Расстояние в плане от крайней опоры надземного трубопровода должно быть:
- до подошвы откоса насыпи - не менее 5 м;
- до бровки откоса выемки - не менее 3 м;
- до крайнего рельса железной дороги - не менее 10 м.
10.5.9 В местах надземных переходов трубопроводов через естественные и искусственные преграды, в том числе ручьи, овраги, предусматриваются конструктивные решения, обеспечивающие надежную защиту соседних трубопроводов при возможном разрыве на одном из них.
10.5.10 Теплоизоляцию трубопроводов допускается выполнять из горючих воспламеняемых материалов с устройством противопожарных вставок из негорючих материалов, ширина вставки при этом должна быть не менее 0,5 м, а расстояние между вставками - не более 24 м.
10.5.11 Опоры проектируются из негорючих материалов.
10.5.12 В местах установки на трубопроводе арматуры предусматриваются стационарные площадки для ее обслуживания. Площадки должны быть несгораемые и иметь конструкцию, исключающую скопление на них мусора и снега. Они должны быть искробезопасными.
10.5.13 На начальном и конечном участках перехода трубопровода от подземной к надземной прокладке предусматриваются постоянные ограждения из металлической сетки высотой не менее 2,2 м.
Данное требование распространяется для основной подземной прокладки трубопровода в местах перехода на надземную прокладку, на переходах через препятствия, для исключения возможности перехода людей по трубопроводу через препятствие.
10.5.14 В местах переходов надземных трубопроводов через автомобильные дороги необходимо предусматривать устройство защитных конструкций для защиты трубопроводов от несанкционированного съезда автомобильной техники.
10.6 Прокладка трубопроводов в многолетнемерзлых, пучинистых и просадочных грунтах
10.6.1 На участках, где возможно развитие мерзлотных процессов, должны проводиться предварительные инженерные изыскания в соответствии с требованиями СП 47.13330.
10.6.2 При выборе способов прокладки, конструктивных решений и способов монтажа трубопровода должны учитываться режимы его эксплуатации, результаты изысканий, мерзлотно-грунтовые условия, прогнозные изменения инженерно-геокриологических условий и свойств грунтов основания и мероприятий по охране окружающей среды.
10.6.3 Выбранные способ прокладки и конструктивные решения должны обеспечивать работоспособность и ремонтопригодность трубопроводов в течение всего периода эксплуатации.
10.6.4 Методика расчета на прочность, устойчивость и деформативность для участков пучинистых и просадочных грунтов приведена в СП 66.13330. Расчет следует проводить с учетом дополнительных воздействий, вызванных морозным пучением грунтов.
10.6.5 Участки трубопроводов из ВЧШГ на многолетнемерзлых грунтах принимаются категории I независимо от категории просадочности грунтов и способов прокладки.
10.6.6 При прокладке трубопроводов на косогорах с поперечным уклоном более 8° в зоне распространения многолетнемерзлых грунтов в проектных решениях следует предусмотреть укладку труб с уклоном до 20% для поверхностных трубопроводов и 25% - для подземных без установки укрепительных блоков.
10.6.7 При прокладке трубопроводов на свайных основаниях проектом следует предусмотреть выполнение мероприятий, препятствующих пучению и просадке свай, в соответствии с требованиями СП 284.1325800.
10.6.8 При выборе трассы трубопроводов и конструктивных решений по их прокладке на многолетнемерзлых грунтах следует руководствоваться требованиями СП 25.13330.
10.7 Прокладка трубопроводов в сейсмоактивных районах
10.7.1 Проектирование участков трубопроводов, прокладываемых в районах с сейсмичностью по шкале MSK-64 (СП 14.13330) свыше 6 баллов для надземных и свыше 8 баллов для подземных трубопроводов, следует проводить с учетом сейсмических воздействий.
10.7.2 При выборе трассы трубопроводов в сейсмоактивных районах рекомендуется избегать косогорных участков, участков с неустойчивыми и просадочными грунтами, территорий горных выработок и активных тектонических разломов, а также участков, сейсмичность которых превышает 9 баллов.
10.7.3 При прокладке трубопровода в грунтах с резко отличающимися сейсмическими свойствами рекомендуется предусмотреть возможность свободного перемещения труб как в поперечном (угловом), так и в продольном направлении без нарушения герметичности.
10.7.4 Расчет на прочность и устойчивость трубопроводов, проектируемых для строительства в сейсмических районах, необходимо выполнить на основные и особые сочетания нагрузок с учетом расчетной сейсмической нагрузки для удовлетворения условиям сейсмостойкости. Трубы из ВЧШГ соответствуют требованиям ГОСТ 30546.1, ISO 16134 и [13] в части стойкости к сейсмическим воздействиям уровня 9 баллов.
10.7.5 Пересечение трубопроводом зон активных тектонических разломов допускается под углом, близким к 90°, следует применять надземный способ прокладки.
Конструкции опор должны обеспечивать возможность перемещений трубопроводов, возникающих во время землетрясения.
Допускается подземная прокладка трубопровода в зоне активных тектонических разломов. Необходимо соблюдать следующие параметры траншеи: откосы - не менее 1:2, должны быть выполнены подсыпка и присыпка толщиной не менее 0,3 м крупнозернистым песком, торфом и т.д. на всей протяженности длины участка перехода трубопровода через разлом.
Длина участка перехода трубопровода через зону активного тектонического разлома принимается равной ширине разлома плюс 100 м в каждую сторону от границ разлома.
10.7.6 На наиболее опасных в сейсмическом отношении участках трассы предусматривается автоматическая система контроля и отключения аварийных участков трубопроводов.
11.1 Общие требования
11.1.1 К естественным и искусственным препятствиям относят реки, водохранилища, каналы, озера, пруды, ручьи, протоки и болота, овраги, балки, железные и автомобильные дороги.
11.1.2 Укладка участков трубопроводов на переходах через естественные и искусственные препятствия может быть выполнена подземной траншейным и бестраншейным способами, наземной и надземной прокладкой.
11.2 Переходы трубопроводов через водные преграды и болота
11.2.1 Подводные переходы трубопроводов через водные преграды должны проектироваться на основании данных гидрологических, инженерно-геологических и топографических изысканий с учетом условий эксплуатации в районе строительства, существующих и проектируемых гидротехнических сооружений, влияющих на режим водной преграды в месте перехода, перспективных дноуглубительных и выправительных работ в заданном районе пересечения трубопроводом водной преграды, требований по охране рыбных ресурсов и окружающей среды.
Трубопроводы с жидкими сероводородсодержащими средами при переходе через водные преграды в русловой части рек и в границах отметок зеркала озер должны прокладываться в виде воздушного перехода в защитном футляре, равнопрочном рабочему трубопроводу.
11.2.2 Границами подводного перехода трубопровода, определяющими длину перехода, являются:
- для многониточных переходов - участок, ограниченный запорной арматурой, установленной на берегах;
- для однониточных переходов - участок, ограниченный ГВВ не ниже отметок 10%-ной обеспеченности.
11.2.3 Створы переходов через водные преграды должны выбираться на прямолинейных устойчивых плесовых участках с пологими неразмываемыми берегами русла при минимальной ширине заливаемой поймы. Створ подводного перехода следует предусматривать перпендикулярным к динамической оси потока, избегая участков, сложенных скальными грунтами.
11.2.4 При выборе створа перехода трубопровода следует руководствоваться методом оптимального проектирования е учетом гидролого-морфологических характеристик каждого водоема и его изменений в течение срока эксплуатации подводного перехода.
11.2.5 Переходы трубопроводов через реки и каналы следует предусматривать ниже по течению от мостов, промышленных предприятий, пристаней, речных вокзалов, гидротехнических сооружений, водозаборов и других аналогичных объектов, а также нерестилищ и мест массового обитания рыб.
При соответствующем технико-экономическом обосновании допускается располагать переходы трубопроводов через реки и каналы выше по течению от указанных объектов на расстояниях, приведенных в СП 284.1325800.2016 (таблица 7). Должны разрабатываться дополнительные мероприятия, обеспечивающие надежность работы и пожарную безопасность подводных переходов.
11.2.6 Прокладка подводных переходов должна предусматриваться с заглублением в дно пересекаемых водных преград. Заглубление устанавливается с учетом возможных деформаций русла и перспективных дноуглубительных работ.
Проектная отметка верха забалластированного трубопровода при проектировании подводных переходов должна назначаться на 0,5 м ниже прогнозируемого предельного профиля размыва русла рек, определяемого на основании инженерных изысканий с учетом возможных деформаций русла в течение 25 лет после окончания строительства перехода, но не менее 1,0 м от естественных отметок дна водоема.
При пересечении водных преград, дно которых сложено скальными породами, заглубление трубопровода следует принимать не менее 0,5 м, считая от верха забалластированного трубопровода до дна водоема.
11.2.7 Проектные отметки верха трубопровода на переходе с использованием метода ГНБ должны быть более 2 м ниже предельного профиля деформации русла и берегов и не менее 6 м от естественных отметок дна, при этом прогноз деформаций должен составлять период не менее 25 лет после окончания строительства перехода. Рабочие котлованы входа и выхода трубопровода при бурении наклонной скважины под преградой должны располагаться на расстоянии не менее 200 м от границ меженного уровня преграды. Протягивание трубопровода осуществляется гладким концом вперед с помощью приспособления. Методика расчета тягового усилия с учетом сопротивления на раструбе приведена в СП 66.13330.
При сооружении переходов "труба в трубе" и прокладке защитного кожуха сооружение резервной нитки не требуется.
При параллельной прокладке двух трубопроводов через преграду методом ГНБ расстояние в плане между осями этих трубопроводов должно быть не менее 10 м.
11.2.8 Минимальные расстояния от оси подводных переходов трубопроводов при прокладке их ниже по течению от мостов, пристаней и других аналогичных объектов должны приниматься по СП 284.1325800.2016 (таблица 7), как для подземной прокладки.
11.2.9 При пересечении водных преград расстояние между параллельными подводными трубопроводами следует назначать исходя из инженерно-геологических и гидрологических условий, а также из условий производства работ по устройству подводных траншей, возможности укладки в них трубопроводов и сохранности трубопровода при аварии на параллельно проложенном.
Минимальные расстояния между осями трубопроводов, заглубляемых в дно водоема с зеркалом воды в межень шириной свыше 25 м, должны быть не менее 30 м.
Минимальное расстояние между осями параллельных трубопроводов на участках подводных переходов трубопроводов, заглубляемых в дно водоема с зеркалом воды в межень шириной до 25 м, а также прокладываемыми на пойменных участках подводного перехода, следует принимать такими же, как для линейной части трубопровода.
11.2.10 Подводные трубопроводы на переходах в границах ГВВ не ниже 1%-ной обеспеченности должны рассчитываться против всплытия в соответствии с указаниями, изложенными в приложении В.
Если результаты расчета подтверждают возможность всплытия трубопровода, то следует предусматривать:
- на русловом участке перехода - кольцевые грузы, конструкция которых должна обеспечивать надежное их крепление к трубопроводу для укладки трубопровода способом протаскивания по дну;
- на пойменных участках - одиночные грузы или закрепление трубопроводов анкерными устройствами.
11.2.11 Ширину подводных траншей по дну следует назначать с учетом режима водной преграды, методов их разработки, необходимости водолазного обследования и водолазных работ рядом с уложенным трубопроводом, способа укладки и условий прокладки кабеля трубопровода.
Крутизну откосов подводных траншей для укладки трубопроводов следует назначать в зависимости от свойств грунта, аналогично строительству стальных трубопроводов, в соответствии с требованиями СП 86.13330.
11.2.12 Профиль трассы трубопровода следует принимать с учетом допустимого радиуса изгиба трубопровода, рельефа русла реки и расчетной деформации (предельного профиля размыва), геологического строения дна и берегов, необходимой нагрузки и способов укладки подводного трубопровода.
11.2.13 Запорная арматура, устанавливаемая на подводных переходах трубопроводов, должна размещаться на обоих берегах на отметках не ниже отметок ГВВ 10%-ной обеспеченности и выше отметок ледохода.
11.2.14 Проектом должны предусматриваться решения по укреплению берегов в местах прокладки подводного перехода и по предотвращению стока воды вдоль трубопровода (устройства нагорных канав, глиняных перемычек, струенаправляющих дамб).
Ширина укрепляемой полосы берега должна определяться проектом в зависимости от геологических и гидрологических условий, но не менее ширины раскрытия траншеи в урезе с запасом по 10 м в каждую сторону от оси.
11.2.15 При ширине водных преград при меженном горизонте 75 м и более в местах пересечения водных преград трубопроводом должна предусматриваться прокладка резервной нитки. Для многониточных систем необходимость строительства дополнительной резервной нитки независимо от ширины водной преграды устанавливается проектом. При ширине заливаемой поймы выше 500 м по уровню ГВВ при 10%-ной обеспеченности и продолжительности подтопления паводковыми водами свыше 20 сут, а также при пересечении горных рек и соответствующем обосновании в проекте (например, труднодоступность для проведения ремонта) резервную нитку допускается предусматривать при пересечении водных преград шириной до 75 м и горных рек. Диаметр резервной нитки определяется проектом. Допускается предусматривать прокладку перехода через водную преграду шириной свыше 75 м в одну нитку при условии обоснования такого решения в проекте. При необходимости транспортирования по трубопроводу вязких нефти и нефтепродуктов, временное прекращение подачи которых не допускается, следует предусматривать прокладку нефтепроводов и нефтепродуктопроводов через водные преграды шириной менее 75 м в две нитки.
11.2.16 Требования к сигнальным знакам на обоих берегах судоходных и лесосплавных рек и каналов при пересечении их трубопроводами приведены в [25] и [26].
11.2.17 Типы болот принимаются в зависимости от характера передвижения по ним строительной техники и согласно СП 284.1325800.2016 (подраздел 10.3).
11.2.18 На болотах и заболоченных участках должна предусматриваться подземная прокладка трубопроводов.
При соответствующем обосновании в качестве исключения допускается укладка трубопроводов на поверхности болота в теле насыпи (наземная прокладка) или на опорах (надземная прокладка). При этом должны быть обеспечены прочность трубопровода, общая устойчивость его в продольном направлении и против всплытия, а также защита от теплового воздействия в случае разрыва одной из ниток. Расчет продольного усилия приведен в СП 66.13330.
11.2.19 При соответствующем обосновании при подземной прокладке трубопроводов через болота типов II и III длиной свыше 500 м допускается предусматривать прокладку резервной нитки.
11.2.20 Прокладку трубопроводов на болотах следует предусматривать, как правило, прямолинейной с минимальным числом углов поворотов.
11.2.21 Участки трубопроводов, прокладываемые в подводной траншее через болота или заливаемые поймы, а также в обводненных районах, должны быть рассчитаны против всплытия (на устойчивость положения). Для обеспечения устойчивости положения следует предусматривать конструкции и устройства для балластировки и закрепления.
11.2.22 При закреплении трубопровода анкерными устройствами лопасть анкера должна находиться в грунтах, обеспечивающих надежное закрепление анкера.
11.2.23 Прокладка трубопровода из ВЧШГ, смонтированного с использованием соединений типа RJ, выполняется методом протаскивания без внутреннего давления. При этом участок трубопровода является гибким. После протаскивания, укладки в траншею и подачи внутреннего давления он становится жестким.
11.2.24 Все остальные требования к переходам должны соответствовать требованиям СП 284.1325800.2016 (подраздел 10.3).
11.2.25 Требования к испытаниям участка трубопровода на переходе через водные преграды приведены в разделе 19 и [16].
11.3 Переходы трубопроводов через железные и автомобильные дороги
11.3.1 В зависимости от интенсивности движения, категории дороги, диаметра трубопровода, методов производства работ, грунтовых условий прокладка трубопроводов может осуществляться:
- открытым способом, при котором трубопровод укладывается в траншею, устроенную в насыпи дороги с перекрытием движения транспорта и устройством объезда для движения транспорта;
- закрытым способом, без перекрытия движения транспорта, для укладки футляра (кожуха) через дороги применяют методы бестраншейной проходки.
Открытый способ используется там, где возможно временное прекращение движения транспорта или устройство временных объездов, то есть на дорогах с низкой интенсивностью движения.
Закрытый способ (бестраншейная проходка) применяется без ограничений, независимо от категории дорог, интенсивности движения транспорта, категории грунтов и диаметра трубопроводов.
При закрытом способе прокладки кожухов (футляров) применяются технологии прокола или ГНБ. В полученный канал протаскивается готовая плеть.
11.3.2 Переходы трубопроводов через железные и автомобильные дороги должны предусматриваться в местах прохождения дорог по насыпям либо в местах с нулевыми отметками и в исключительных случаях при соответствующем обосновании в выемках дорог.
Прокладка трубопровода через тело насыпи не допускается.
11.3.3 Угол пересечения трубопровода с железными и автомобильными дорогами должен быть, как правило, 90°, но не менее 60°. При соответствующем обосновании пересечение с автомобильными дорогами общего пользования и подъездными дорогами к промышленным предприятиям категорий IV, V, а также с внутренними автомобильными дорогами промышленных предприятий и организаций категорий III-в, IV-в, III-к, IV-к допускается снижение минимального значения угла до 35°.
11.3.4 Участки трубопроводов, прокладываемых на переходах через железные дороги и автомобильные дороги всех категорий с усовершенствованным покрытием капитального и облегченного типов, должны предусматриваться в защитном футляре (кожухе) из стальных труб или в тоннеле, диаметр которых определяется из условия производства работ и конструкции переходов.
11.3.5 Для участков переходов трубопроводов, выполняемых с устройством защитных футляров из стальных труб или прокладываемых методом микротоннелирования, внутренний диаметр футляра или тоннеля должен определяться из условия производства работ и конструкции переходов и должен быть больше наружного диаметра трубопровода не менее чем на 300 мм.
Концы футляра должны выводиться на расстояние:
- при прокладке трубопровода через железные дороги от осей крайних путей - 50 м, но не менее 5 м от подошвы откоса насыпи и 3 м от бровки откоса выемки, от крайнего водоотводного сооружения земляного полотна (кювета, нагорной канавы, резерва) - 3 м;
- при прокладке трубопровода через автомобильные дороги - от бровки земляного полотна - 25 м, но не менее 2 м от подошвы насыпи.
Концы футляров, устанавливаемые на участках переходов трубопроводов через автомобильные дороги категорий III, III-п, IV-п, IV и V, должны выводиться на 5 м от бровки земляного полотна.
11.3.6 Прокладка кабеля связи на участках перехода трубопровода через железные и автомобильные дороги должна проводиться в отдельной трубе. Возможна раздельная прокладка кабеля связи с трубопроводом или совместно с трубопроводом. В последнем случае кабель связи или крепится к футляру трубопровода с наружной стороны, или помещается в защитном футляре.
11.3.7 Заглубление участков трубопроводов, прокладываемых под железными дорогами общей сети и промышленных предприятий, следует принимать в соответствии с СП 284.1325800.
11.3.8 Заглубление участков трубопроводов, прокладываемых под автомобильными дорогами всех категорий, следует принимать не менее 1,4 м от верха покрытия дороги до верхней образующей защитного футляра, а в выемках и на нулевых отметках, кроме того, - не менее 0,5 м от дна кювета, водоотводной канавы или дренажа.
11.3.9 Заглубление при прокладке методом ГНБ должно определяться в зависимости от грунтовых условий и составлять для железных дорог общей сети и автомобильных дорог всех категорий не менее 3,0 м от подошвы рельса или от верха покрытия автомобильной дороги до верхней образующей трубопровода и не менее 1,5 м от дна водоотводных сооружений.
11.3.10 Расстояние между параллельными трубопроводами на участках их переходов под железными и автомобильными дорогами следует назначать исходя из грунтовых условий и условий производства работ, но во всех случаях это расстояние должно быть не менее расстояний, принятых при подземной прокладке трубопроводов.
11.3.11 Пересечение трубопроводов с рельсовыми путями электрифицированного транспорта под стрелками и крестовинами, а также в местах присоединения к рельсам отсасывающих кабелей не допускается.
11.3.12 Минимальное расстояние по горизонтали в свету от подземного трубопровода в местах его перехода через железные дороги общей сети, м, должно приниматься:
20 - до стрелок и крестовин железнодорожного пути и мест присоединения отсасывающих кабелей к рельсам электрифицированных дорог;
30 - до труб, тоннелей и других искусственных сооружений на железных дорогах.
11.3.13 Положение трубопровода в футляре должно быть зафиксировано по всей длине перехода опорно-центрирующими устройствами с диэлектрическим покрытием, обеспечивающими сохранность изоляционного покрытия труб. На каждой трубе должно быть не менее трех опорно-центрирующих устройств, которые расположены на трубе с одинаковым шагом.
11.3.14 На переходах через автомобильные и железные дороги трубопроводов, транспортирующих сероводородсодержащие жидкости, следует предусматривать герметичную закрытую дренажную систему для полного слива этих жидкостей.
11.3.15 При прокладке трубопроводов из ВЧШГ в защитном футляре должны быть учтены особенности труб с соединениями RJ (угловая податливость стыков, наличие раструбных выступов, наличие резиновых уплотнительных колец и др.). Все остальные требования к переходам должны соответствовать СП 284.1325800.2016 (подраздел 10.4).
11.3.16 Требования к испытаниям участка трубопровода на переходе через автомобильные и железные дороги приведены в разделе 19 и [16].
12.1 Общие требования
Если трубопровод целиком смонтирован с применением труб из ВЧШГ, то для его защиты от коррозии достаточно использовать изоляционное покрытие нормального типа независимо от условий прокладки и эксплуатации.
Если трубопровод из ВЧШГ имеет стальные элементы или участки, то в зависимости от конкретных условий прокладки и эксплуатации средства защиты от подземной и атмосферной коррозии должны соответствовать требованиям 6.9, ГОСТ Р 51164 и ГОСТ 9.602.
Противокоррозионная защита независимо от условий прокладки и эксплуатации трубопроводов, а также материалов, из которых трубопровод смонтирован, должна обеспечивать их безотказную работу в течение всего срока эксплуатации трубопровода.
12.2 Защита трубопроводов от почвенной коррозии
12.2.1 Стальные узлы и элементы трубопроводов из ВЧШГ (крановые узлы, тройниковые узлы, муфты и другие элементы) должны иметь противокоррозионное защитное покрытие по всей наружной поверхности в соответствии с требованиями ГОСТ Р 51164.
12.2.2 Подготовка траншеи и засыпка трубопровода грунтом должна выполняться способом, исключающим повреждение изоляции.
12.2.3 Изоляционные покрытия законченных строительством подземных участков трубопроводов из ВЧШГ должны иметь сопротивление не ниже 5·104 Ом·м2. Контроль значения сопротивления должен проводиться катодной поляризацией по методике, приведенной в ГОСТ Р 51164.
12.2.4 Тип и материал изоляционного покрытия трубопровода, полностью смонтированного из труб и соединительных деталей и узлов из ВЧШГ, для защиты от почвенной коррозии должны определяться в каждом конкретном случае на стадии проектирования и соответствовать 6.9.
12.2.5 На трубопроводе, смонтированном из труб и соединительных деталей из ВЧШГ с применением стальных элементов трубопроводов, в зависимости от конкретных условий прокладки стальные элементы должны иметь усиленный или нормальный тип изоляционного покрытия в соответствии с требованиями ГОСТ Р 51164.
12.3 Защита надземных трубопроводов от атмосферной коррозии
12.3.1 Трубопроводы из ВЧШГ при надземной прокладке не нуждаются в дополнительных мерах по защите от атмосферной коррозии, кроме тех мер, которые указаны в 6.9.
12.3.2 Противокоррозионная защита опор и других металлических элементов и конструкций надземных трубопроводов должна быть выполнена в соответствии с требованиями ГОСТ Р 51164, ГОСТ 9.602 и СП 72.13330.
12.3.3 Для защиты от коррозии трубопроводов при надземной прокладке должны использоваться атмосферостойкие лакокрасочные покрытия на основе эпоксидных, полиуретановых и других лакокрасочных материалов, устойчивые к нагрузкам, возникающим в результате перепадов температур в процессе эксплуатации и обеспечивающие защиту с учетом степени коррозионной агрессивности атмосферы по ГОСТ 15150.
12.4 Электрохимическая защита трубопроводов от подземной коррозии
12.4.1 Если трубопровод целиком состоит из труб ВЧШГ и имеется наружное изоляционное защитное покрытие, то, как правило, применение ЭХЗ не требуется.
12.4.2 При применении стальных элементов или узлов, стальных труб на трубопроводах из ВЧШГ, в зависимости от конкретных условий прокладки и эксплуатации трубопровода, стальные части должны быть защищены с использованием средства защиты от коррозии в соответствии с требованиями ГОСТ Р 51164 и ГОСТ 9.602.
12.4.3 При устройстве ЭХЗ на трубопроводе необходимо руководствоваться ГОСТ 9.602, ГОСТ Р 51164, СП 284.1325800, а также 19.2 настоящего свода правил.
12.4.4 Применение ЭХЗ не должно оказывать вредного влияния на соседние трубопроводы и другие подземные металлические сооружения.
12.4.5 Выбор средств защиты от коррозии должен осуществляться с учетом коррозионной активности грунтов, фактической скорости коррозии внутренней и наружной поверхностей труб, эффективности защитных мероприятий при обеспечении проектных сроков эксплуатации трубопроводов.
12.4.6 Для защиты от коррозии трубопроводов из ВЧШГ рекомендуется применять ЭХЗ:
- если грунты обладают удельным электрическим сопротивлением менее 0,5 Ом·м;
- если существует опасное влияние блуждающих постоянных и переменных токов;
- при наличии достаточной электрической проводимости трубопровода в продольном направлении.
12.5 Тепловая изоляция
12.5.1 Тепловая изоляция трубопроводов должна предусматриваться в следующих случаях:
- для обеспечения заданной температуры транспортируемого продукта в соответствии с нормативными документами при транспортировании его в зимних условиях (высокопарафинистая нефть, обводненная нефть, вода и другие жидкие среды);
- исключения пучения или осадки грунтов;
- обеспечения сохранности окружающей среды.
12.5.2 Необходимость проектирования тепловой изоляции определяется нормативными документами. При проектировании тепловой изоляции должны учитываться требования СП 61.13330.
12.5.3 Тепловая изоляция должна обеспечивать защиту трубопроводов от тепловых потерь по всей его длине, в местах расположения опор, стыков, соединительных и переходных элементов и т.д., при различных диаметрах и способах прокладки трубопроводов.
Разрешается выполнять теплоизоляцию надземных трубопроводов из горючих материалов при условии устройства противопожарных перемычек из негорючих материалов. Для подземных трубопроводов выбор материала теплоизоляции не нормируется.
При строительстве надземных трубопроводов в негорючей оболочке допускается противопожарные вставки не предусматривать.
12.5.4 При строительстве надземных и подземных теплоизолированных участков трубопроводов следует применять теплоизолированные трубы, узлы и детали трубопровода, изготовленные в заводских или базовых условиях в соответствии с требованиями технических условий предприятия-изготовителя.
Тепловая защита труб, элементов и узлов трубопровода в местах расположения опор и участков для измерений и контроля поверхности трубопроводов может выполняться как с применением сборных и съемно-разъемных теплоизоляционных конструкций, так и нанесением теплоизоляционного покрытия в трассовых условиях.
При прокладке подземных участков трубопроводов в районах распространения многолетнемерзлых грунтов допускается применение сборных теплоизоляционных конструкций.
12.5.5 Теплоизоляция стыков на трассе и окончательная засыпка траншеи проводятся только после предварительных испытаний участка на прочность и герметичность.
12.6 Требования к внутреннему защитному покрытию труб и соединительных деталей
12.6.1 Защита трубопроводов от внутренней коррозии может осуществляться с помощью технологических методов борьбы с коррозией, антикоррозионных внутренних покрытий и ингибиторов коррозии.
12.6.2 Защита трубопроводов от коррозии технологическими методами должна предусматривать поддержание рабочего режима трубопроводов и периодическую очистку внутренней поверхности участков трубопроводов.
12.6.3 Для защиты внутренней поверхности трубопроводов может быть применена ингибиторная защита.
12.6.4 Необходимость применения ингибиторов коррозии должна определяться в соответствии с требованиями СП 284.1325800.
12.6.5 Для внутренней изоляции труб следует применять материалы в соответствии с требованиями 6.9.
12.6.6 Нанесение внутренних антикоррозионных покрытий труб должно проводиться в стационарных заводских или базовых условиях.
12.6.7 Способ внутренней противокоррозионной защиты трубопроводов должен определяться проектом.
13.1 Общие требования
При организации строительства в целях обеспечения требуемого качества должны строго соблюдаться технологии производства работ, предусмотренные рабочей документацией и проектом производства работ.
Организационно-техническая подготовка строительства трубопроводов должна соответствовать требованиям настоящего раздела и СП 284.1325800.2016 (раздел 15).
13.2 Транспортирование и хранение труб и соединительных деталей
13.2.1 Упаковку, транспортирование, оформление документации и хранение труб и соединительных деталей из ВЧШГ проводят в соответствии с требованиями ГОСТ 10692, технических условий предприятия-изготовителя, настоящего свода правил и нормативных документов.
13.2.2 Трубы и соединительные детали из ВЧШГ допускается перевозить в любых транспортных средствах в закрепленном состоянии, препятствующем их перемещению. При перевозке труб автотранспортом длина свисающих концов не должна превышать 25% длины трубы.
13.2.3 При погрузочно-разгрузочных работах, транспортировании и складировании труб должны предусматриваться меры, исключающие механическое повреждение труб и наружного защитного покрытия.
13.2.4 Погрузка и разгрузка труб, соединительных деталей и узлов трубопроводов, запорно-регулирующей арматуры должны проводиться с помощью мягких строп или других устройств, обеспечивающих сохранность внешних и внутренних покрытий.
13.2.5 При погрузке и разгрузке не допускается сбрасывать трубы и элементы трубопроводов с транспортных средств и перемещать их волочением.
13.2.6 При транспортировании труб, соединительных деталей, узлов трубопроводов, запорно-регулирующей арматуры и погрузочно-разгрузочных работах запрещается подвергать их ударным нагрузкам.
13.2.7 Хранение труб из ВЧШГ на складах и строительных площадках проводится в штабелях, уложенных на ровных поверхностях. Нижние и последующие ряды укладываются на прокладки. Раструбы в каждом ряду должны быть направлены попеременно в противоположные стороны.
13.2.8 При складировании труб, имеющих защитные наружные покрытия, места контакта труб с упорными и разделительными стойками должны быть облицованы амортизирующими материалами. Между рядами в штабеле должны быть уложены эластичные прокладки.
13.2.9 При хранении труб, узлов трубопроводов, трубной арматуры и соединительных деталей их внутренняя полость должна быть защищена от засорения и загрязнения.
13.2.10 Соединительные части и стопоры хранятся рассортированными по видам и диаметрам.
13.2.11 Уплотнительные кольца хранятся в соответствии с техническими условиями предприятия-изготовителя.
13.2.12 При перемещении труб из ВЧШГ с защитным наружным покрытием краном-трубоукладчиком на короткие расстояния следует применять мягкие полотенца или торцевые захваты с мягкими вкладышами. При этом стрела крана-трубоукладчика должна быть обшита эластичными накладками.
13.3 Организация входного контроля
13.3.1 Трубы и элементы трубопроводов, поступающие для строительства трубопровода, подвергаются входному контролю в соответствии с требованиями ГОСТ 24297, технических условий предприятия-изготовителя, настоящего свода правил.
13.3.2 Приемку труб, соединительных деталей и узлов трубопроводов, запорно-регулирующей арматуры, материалов проводят представители заказчика или строительного подрядчика в процессе получения указанной продукции от предприятий-изготовителей и других поставщиков по месту разгрузки продукции с транспортных средств или после транспортирования ее от мест разгрузки на площадки складирования.
13.3.3 Освидетельствование и отбраковку осуществляет комиссия, создаваемая приказом. В состав комиссии должны быть включены представители технических служб и службы материально-технического снабжения заказчика и строительного подрядчика. Для решения отдельных вопросов комиссия может привлекать экспертов и представителей других организаций.
13.3.4 К производству допускаются материалы и изделия только при наличии документов, подтверждающих качество продукции, выданных в порядке, установленном действующим законодательством Российской Федерации, паспортов и других сопроводительных документов от предприятий-изготовителей. При неполных данных или отсутствии таких документов допускается применять материалы и изделия только после проведения испытаний и исследований, подтверждающих их соответствие требованиям стандартов или технических условий.
13.3.5 Входной визуально-измерительный контроль включает:
- внешний осмотр всей партии труб, соединительных деталей, узлов трубопроводов, арматуры (100%);
- инструментальный контроль 5% партии выборочно (но не менее 5 шт.). Если количество труб, соединительных деталей, узлов трубопроводов, арматуры в партии меньше 5 шт., то проверяют все.
13.3.6 При получении неудовлетворительных результатов контроля хотя бы по одному из показателей (внешнему виду, размерам) труба (элемент трубопровода) отбраковывается, а вся остальная партия подвергается проверке.
13.3.7 По истечении гарантийного срока хранения, указанного в технических условиях, или при нечеткой маркировке труб и соединительных деталей (элементами трубопроводов), а также при несоответствии данных маркировки на изделии сопроводительному документу или утере документа о качестве, трубы и соединительные детали (элементы трубопроводов) отбраковываются или подвергаются проверке на пригодность. Их пригодность к строительству определяется по результатам проведения комплекса испытаний в соответствии с требованиями нормативных документов на их выпуск. При получении неудовлетворительных результатов испытания хотя бы по одному из показателей этот показатель контролируется повторно на удвоенном количестве образцов, взятых из той же партии. В случае вторичного получения неудовлетворительных результатов данная партия труб или элементов трубопроводов отбраковывается.
13.3.8 При поступлении партии труб или соединительных деталей (элементов трубопроводов) на объект организация, осуществляющая монтаж трубопроводов, проводит входной контроль их качества путем внешнего осмотра и измерения основных геометрических параметров изделий на соответствие нормативным документам.
13.3.9 При обнаружении скрытых дефектов, выявленных в процессе производства строительно-монтажных работ, строительный подрядчик должен незамедлительно поставить в известность об этом заказчика.
13.3.10 По окончании входного контроля составляется заключение о соответствии продукции установленным требованиям и заполняется журнал учета результатов входного контроля по форме, представленной в приложении Г.
13.4 Входной контроль труб и соединительных деталей из ВЧШГ
13.4.1 Все поставляемые трубы и соединительные детали должны иметь документы предприятия-изготовителя о качестве, удостоверяющие соответствие требованиям стандартов и других нормативных документов, по которым они изготовлены.
13.4.2 В документе о качестве на трубы из ВЧШГ должны быть указаны:
- номинальные размеры труб (условный проход, класс толщины стенки, общая длина в метрах);
- наименование предприятия - изготовителя труб;
- обозначение стандарта или другого нормативного документа, по которому изготовлены трубы;
- год изготовления труб;
- номер партии и входящие в нее номера плавок и номера труб;
- результаты механических испытаний металла труб, входящих в данную партию;
- значение давления заводского гидравлического испытания;
- химический состав металла;
- виды внешнего и внутреннего покрытия;
- тип, материал и количество уплотнительных колец.
13.4.3 Входной контроль труб должен включать визуально-измерительный контроль и ультразвуковую толщинометрию.
13.4.4 Для проведения ультразвуковой толщинометрии отбирается 5% партии труб. При обнаружении хотя бы одной трубы с недопустимыми параметрами проводят контроль всех труб данной партии.
13.4.5 На трубах с заводским изоляционным покрытием проверяется состояние изоляции - сплошность покрытия.
13.4.6 Визуальным осмотром контролируются:
- наличие маркировки и соответствие ее имеющимся документам о качестве или паспортам;
- отсутствие недопустимых вмятин, задиров, механических повреждений, металлургических дефектов и коррозии в соответствии с ГОСТ Р 57430;
- отсутствие на торцах труб забоин и вмятин;
- отсутствие видимых механических повреждений на внутреннем и внешнем защитных покрытиях.
13.4.7 При проведении инструментального контроля труб проверяются следующие параметры:
- длина;
- наружный диаметр и овальность;
- внутренний диаметр;
- кривизна;
- толщина стенки;
- кольцевой валик на гладком конце трубы;
- размеры поверхностных дефектов.
13.4.8 Трубы считаются пригодными по качеству при условии, что:
- они соответствуют требованиям нормативных документов завода-изготовителя, имеют заводскую маркировку и документы на поставку, подтверждающие соответствие требованиям нормативных документов, по которым они изготовлены;
- отсутствуют дефекты недопустимых форм и размеров;
- на защитных покрытиях отсутствуют повреждения.
Трубы, имеющие по результатам входного контроля дефекты, превышающие допустимые, отбраковываются и возвращаются поставщику с предъявлением рекламации.
13.4.9 Входной контроль уплотнительных колец проводят в соответствии с таблицей 13.1.
|  
           Показатель внешнего вида  |   
           Допустимый размер, мм  | |
|  
           на уплотнительной поверхности  |   
           на остальной поверхности  | |
|  
           Трещина, расслоение и механическое повреждение  |   
           Не допускается  | |
|  
           Искажение формы сечения (смещение по месту разъема пресс-форм)  |   
           Допускается в пределах допуска на размер  | |
|  
           Включение, возвышение, углубление, отпечаток на поверхности  |   
           Допускаются не более: - глубиной (высотой) - 0,5; - диаметром - 3,0  |   
           Допускаются не более: - глубиной (высотой) - 1,5; - диаметром - 5,0  | 
|  
           Выпрессовка  |   
           Не допускается  |   
           Не допускается  | 
|  
           Недооформленность  |   
           Не допускается  |   
           Допускаются не более: - глубиной - 1,0; - диаметром - 2,5  | 
|  
           Втянутая кромка  |   
           Допускается глубиной не более 0,5 на 1/3 длины окружности  |   
           Допускается глубиной не более 2,0 на 1/3 длины окружности  | 
|  
           Пузырь  |   
           Не допускается  |   
           Допускаются не более: - высотой - 2,0; - диаметром - 3,0  | 
|  
           Разнотон, разноцвет  |   
           Допускается, в том числе в месте стыка резин  | |
|  
           Следы от стыковки заготовок  |   
           Допускается  | |
13.4.10 Входной контроль стальных труб и деталей, запорно-регулирующей арматуры, изоляционных материалов следует проводить по СП 284.1325800 и нормативным документам заводов-изготовителей.
13.5 Подготовительные работы
13.5.1 Подготовительные работы при строительстве трубопроводов разделяются на трассовые и внетрассовые подготовительные работы.
13.5.2 Внетрассовые подготовительные работы включают устройство вертолетных площадок, причалов, обустройство временных жилых городков, строительство временных дорог, устройство баз и ремонтных мастерских, создание запасов труб, элементов трубопроводов и материалов, а также выполнение работ в базовых условиях.
13.5.3 Трассовые подготовительные работы включают:
- разбивку и закрепление пикетажа, детальную геодезическую разбивку горизонтальных и вертикальных углов поворота, разметку строительной полосы, выноску пикетов за ее пределы;
- расчистку строительной полосы от леса и кустарника;
- снятие плодородного слоя земли;
- планировку строительной полосы, уборку валунов;
- осушение строительной полосы, ее промораживание или защиту от промерзания в зависимости от грунтовых условий;
- строительство временных дорог и технологических проездов;
- устройство защитных ограждений, обеспечивающих безопасность производства работ.
13.5.4 Подготовительные работы при строительстве трубопроводов должны соответствовать требованиям СП 284.1325800.2016 (раздел 16).
14.1 Монтаж трубопроводов из ВЧШГ проводят после завершения разработки траншеи и доставки на трассу труб, соединительных деталей и элементов трубопроводов в количестве, соответствующем суточному объему строительства трубопровода.
14.2 Монтаж трубопроводов из ВЧШГ допускается вести при температуре в пределах от минус 30 °C до плюс 60 °C.
14.3 При производстве монтажных работ запрещается сбрасывать трубы, соединительные детали и элементы трубопроводов с транспортных и технологических средств, а также перемещать их волочением по земле.
14.4 Раскладка по трассе изолированных (в том числе теплоизолированных) труб проводится кранами-трубоукладчиками, оснащенными мягкими стропами, на лежки с мягкими накладками.
14.5 Трубы, соединительные детали и элементы трубопроводов, поступившие на монтаж, должны быть подвергнуты 100%-ному входному контролю.
14.6 Перед монтажом трубопровода из ВЧШГ внутренние полости труб, деталей и узлов должны быть тщательно очищены от грунта, снега, льда, камней и посторонних предметов.
14.7 При строительстве трубопроводов из ВЧШГ должна применяться технология монтажа трубопровода с использованием соединений RJ в соответствии с разделом 15.
14.8 При применении стальных труб и соединительных деталей, стальных узлов на трубопроводах из ВЧШГ процесс выполнения монтажных работ стальных элементов и стальных участков трубопроводов и контроль качества выполненных работ должны соответствовать требованиям СП 284.1325800.2016 (раздел 19).
15.1 Монтаж трубопровода
15.1.1 Монтаж трубопровода из ВЧШГ по технологии RJ допускается вести при температуре в пределах от минус 30 °C до плюс 60 °C при условии отсутствия ограничений по свойствам изоляционного покрытия в данном температурном диапазоне. При отрицательных температурах уплотнительные кольца должны находиться в теплом помещении непосредственно до момента установки в раструб и соединения труб.
15.1.2 Монтаж проводят согласно технологии с выполнением следующих операций (рисунок 15.1):
- наружная поверхность гладкого конца трубы очищается от посторонних предметов и загрязнений с помощью щетки и шпателя;
- наружная поверхность гладкого конца трубы до наплавленного валика (особенно тщательно - фаска) покрывается смазкой (техническим вазелином или аналогичным покрытием), поставляемой предприятием - изготовителем трубной продукции;
- внутренняя поверхность раструба трубы (особенно тщательно - паз для уплотнительного кольца) очищается от посторонних предметов и загрязнений с помощью щетки и скребка;
- в кольцевой паз раструба вкладывается уплотнительное кольцо с проверкой правильности размещения его гребня (рисунок 15.2);
- внутренняя поверхность уплотнительного кольца покрывается смазкой, следует избегать стекания смазки под наружную поверхность уплотнительного кольца;
- монтируемая труба подается к ранее уложенной трубе, центрируется по конусной поверхности уплотнительного кольца и с помощью монтажного приспособления или ломика (при малом диаметре труб) вводится в раструб.

а - очистка и смазка наружной поверхности гладкого конца трубы; б - очистка раструба; в - установка уплотнительного кольца в раструб; г - смазка внутренней поверхности уплотнительного кольца; д - стыковка труб и установка правого стопора; е - установка левого стопора с фиксацией стопорной проволокой; ж - смонтированное соединение
Рисунок 15.1 - Порядок монтажа труб с соединением типа RJ

Рисунок 15.2 - Укладка уплотнительного кольца
15.1.3 Монтаж трубопровода из труб с раструбно-замковым соединением типа RJ осуществляется в строгом соответствии с требованиями инструкции по монтажу труб с соединением типа RJ и техническими условиями на материалы предприятия-изготовителя.
15.1.4 Схемы монтажа трубопровода из труб с соединением типа RJ представлены на рисунке 15.3.


а - лом и деревянный брусок; б - петля и вильчатая штанга; в - петля и тросовая тяга; г - экскаватор и деревянный брусок; д - две замковые штанги
Рисунок 15.3 - Монтаж труб с соединением типа RJ
15.1.5 При приложении усилия на монтажное приспособление гладкий конец смонтированной трубы должен войти в раструб. Расстояние от торца раструба до торца резинового кольца должно быть одинаковым по всему периметру. Неравномерное расстояние свидетельствует о выдавливании кольца из паза раструба, в этом месте стык даст течь при гидравлическом испытании. Монтаж данного стыка следует повторить, заменив кольцо новым. Возможна обратная сборка труб: раструб надвигается на гладкий конец.
Демонтаж проводят с помощью двух замковых штанг (рисунок 15.3, д).
15.1.6 При монтаже труб с соединением типа RJ после их стыковки необходимо:
- вставить правый стопор в выемку раструба и провернуть его вправо до упора;
- вставить левый стопор в выемку раструба и провернуть его влево до упора;
- стопорную проволоку загнуть внутрь выемки раструба.
Для облегчения установки стопоров допускается проводить их монтаж без снятия усилия от монтажного приспособления.
15.1.7 Уложенный трубопровод из труб с соединением типа RJ имеет возможность небольшого осевого движения в каждом стыке за счет технологического зазора между наплавленным буртом и приливом в раструбной части трубы. При этом герметичность раструбно-замкового соединения не нарушается.
15.1.8 Уложенные трубы, при необходимости, допускается разъединить, предварительно удаляются из стыка стопоры.
В случае повторного соединения труб используют новое уплотнительное кольцо.
15.1.9 Монтаж трубопровода производят методом последовательного наращивания из одиночных труб непосредственно в проектном положении трубопровода (на дне траншеи).
15.1.10 При необходимости использовать трубу немерной длины (менее 6 м) ее гладкий конец отрезают до требуемой длины, после чего выполняют фаску ручной шлифовальной машиной.
После укорачивания трубы на гладком конце восстанавливают валик методом наплавки электродуговой сваркой с соблюдением требований приложения А. Технология наплавки валика приведена на рисунке 15.4.

Примечание - Сварку желательно выполнять между отметками A и B, придерживаясь этого рабочего участка путем вращения трубы.
Рисунок 15.4 - Технология наплавки валика
15.1.11 Для наплавки валика необходимы следующее оборудование и материалы:
- электрический сварочный аппарат постоянного тока, дающий ток не менее 160 А;
- электрическая шлифовальная машинка;
- медное направляющее кольцо для позиционирования шва шириной от 25 до 35 мм и толщиной 5 мм.
При отрицательных низких температурах окружающего воздуха, сварочные работы проводят в закрытом отапливаемом помещении (ремонтная база).
15.1.12 Технология наплавки валика на трубу включает следующие операции:
- отмечают место наплавки валика на гладком конце трубы с помощью медного кольца;
- тщательно зачищают участок шириной 25 мм для наплавки валика. Зачистка не должна снижать толщину стенки трубы на значение, превышающее минусовой допуск;
- устанавливают и зажимают медное кольцо непосредственно за местом будущего валика. После того как кольцо будет установлено и зажато болтами, его необходимо слегка обстучать молотком для обеспечения плотного прилегания к трубе;
- наплавляют валик по краю медного кольца в один проход покрытыми электродами диаметром 3 - 4 мм. Наплавка выполняется в направлении снизу вверх преимущественно в нижнем положении (на верхней части поверхности трубы). Это обеспечивается периодическим вращением трубы в процессе наплавки;
- после окончания наплавки зачищают валик (буртик) от шлака и проводят восстановление внешнего защитного покрытия.
15.2 Укорачивание трубы из высокопрочного чугуна с шаровидным графитом
15.2.1 При монтаже трубопроводов с применением труб из ВЧШГ в ряде случаев появляется потребность в трубах нестандартной длины. Для этого применяют метод укорачивания калиброванной трубы, которая отмечается маркировкой, приведенной на рисунке 15.5. Калиброванные трубы поставляются предприятием-изготовителем и имеют гарантированно стабильные диаметры на участке длиной 2/3 длины от гладкого конца трубы.

Рисунок 15.5 - Маркировка для калиброванных труб
15.2.2 Резку труб из ВЧШГ выполняют с помощью дисковой фрезы или роликового резака (рисунок 15.6).

Рисунок 15.6 - Резка трубы из ВЧШГ
Перед тем как резать трубу, необходимо измерить ее внешний диаметр на месте реза, чтобы убедиться, что он соответствует размерам гладкого конца.
После отрезания необходимо с помощью шлифовальной машинки снять фаску и подготовить к стыковке гладкий конец отрезанной трубы.
15.3 Восстановление формы трубы
15.3.1 Эллипсность трубы, возникшая в результате транспортирования и погрузочно-разгрузочных работ, может затруднить сборку элементов трубопровода.
15.3.2 Допускается восстановление формы трубы при эллипсности сечения не более 3%. Восстановление выполняется безударными методами и без повреждения целостности внутреннего покрытия.
15.3.3 При восстановлении с помощью лебедки (рисунок 15.7, а) используются:
- лебедка со стальным тросом;
- седло поддержки с направляющим шкивом для веревки;
- пластина основания с двумя направляющими шкивами.
После восстановления формы проводят сборку трубопровода, не удаляя оборудование, чтобы избежать влияния упругой деформации трубы.

Рисунок 15.7 - Восстановление окружности с помощью лебедки (а) и домкрата (б)
15.3.4 При восстановлении с помощью гидравлического домкрата (рисунок 15.7, б) используются:
- гидравлический домкрат;
- брусок или регулируемая поддержка;
- две покрытые резиной пластины основания соответствующего размера.
Перед сборкой трубопровода оборудование необходимо удалить.
15.4 Ремонт внутреннего покрытия
15.4.1 Повреждение цементного покрытия может быть восстановлено на месте производства работ по монтажу трубопровода, если оно отвечает следующим условиям:
- участок меньше, чем 0,1 м2;
- длина меньше, чем четверть длины окружности трубы;
- отсутствует локальная деформация трубы.
В противном случае необходимо отрезать поврежденный участок трубы.
15.4.2 Восстановление покрытия следует проводить в защищенном от мороза месте.
Для проведения ремонта внешнего цементно-песчаного покрытия применяют песчано-цементный раствор согласно таблице 15.1.
|  
           Компоненты  |   
           ГОСТ  |   
           Соотношение компонентов по массе  |   
           Масса компонентов на один замес, кг  | 
|  
           Цемент глиноземистый  |   
           ГОСТ 969  |   
           1,0  |   
           1,0  | 
|  
           Песок мелкозернистый для строительных работ  |   
           ГОСТ 8736  |   
           1,0  |   
           1,0  | 
|  
           Вода питьевая  |   
           -  |   
           0,3 - 0,5  |   
           0,3 - 0,5  | 
|  
           Примечание - Мелкозернистый песок получают при просеивании через сито с ячейками размером 0,20 мм.  | |||
15.4.3 Песок и цемент засыпают в емкость, перемешивают вручную лопаткой до получения однородной смеси. В смесь добавляют воду, раствор перемешивают лопаткой вручную до получения однородной консистенции, способной ровно укладываться на ремонтируемую поверхность. Наличие комков в растворе не допускается.
Место дефекта смачивают тонким слоем жидкого стекла флейцевой кистью.
Раствор наносят в трубу на место дефекта с помощью резиновой перчатки, уплотняют, заглаживают и затем затирают флейцевой кистью. После затирки место дефекта покрывают тонким слоем жидкого стекла.
15.4.4 Для проведения мелкого ремонта (размер дефекта меньше 1,0 см2, глубина меньше толщины покрытия) допускается применение водоцементного раствора.
Воду добавляют в цемент. Раствор вручную перемешивают до получения однородной консистенции, что позволяет его ровно укладывать на ремонтируемую поверхность. Наличие комков в растворе не допускается.
Место дефекта смачивают тонким слоем жидкого стекла. Ремонтный раствор наносят в трубу на место дефекта с помощью резиновой перчатки, уплотняют, заглаживают и затирают флейцевой кистью.
15.4.5 Ремонтное покрытие после нанесения и заглаживания должно иметь ровную формообразующую поверхность с прилегающим покрытием и не отличаться по цвету.
15.4.6 После проведения ремонтных работ наличие остатков компонентов наносимого покрытия в раструбе и на наружной поверхности гладкого конца трубы не допускается.
15.5 Ремонт наружного защитного покрытия
15.5.1 В случае наличия на поверхности труб с наружным защитным покрытием непокрытых участков (защитным покрытием), участков с дефектами покрытия (вздутия, явно выраженные подтеки и другие дефекты) с размерами, допустимыми согласно техническим условиям предприятия-изготовителя, на этих участках наружное защитное покрытие подлежит восстановлению. Для восстановления наружного защитного покрытия на месте монтажа трубопровода или на складе (базе) следует использовать материалы, аналогичные основному материалу наружного защитного покрытия труб.
Наружное защитное покрытие после восстановления должно быть сухим, ровным, без сорности и посторонних включений.
15.5.2 Технологический процесс восстановления/нанесения наружного защитного покрытия состоит из следующих операций:
- для нанесения покрытия проводят подготовку поверхности трубы. Отслоения (вздутия), подтеки и другие дефекты покрытия должны быть удалены любым способом, обеспечивающим чистоту поверхности от загрязнения и остатков покрытия в соответствии с требованиями нормативных документов, технической документации и технических условий предприятия-изготовителя;
- исправление проводят нанесением слоя покрытия вручную кистью или краскопультом;
- слой покрытия наносят перекрывающимися параллельными полосами с перекрытием в 1/3 полосы. Для уменьшения разнотолщинности слой покрытия наносят полосами, расположенными перпендикулярно к полосам предыдущего слоя.
15.6 Ремонт дефектных участков трубопровода
15.6.1 Методы определения и виды допустимых поверхностных дефектов и дефектов, подлежащих исправлению или ремонту, определяют согласно требованиям ГОСТ Р 57430.
15.6.2 Демонтаж и ремонт участков трубопроводов предусматривается с помощью фланцевого патрубка и патрубков фланец-раструб, надвижной муфты, свертной муфты, двойного раструба и других элементов в соответствии с техническими условиями предприятия-изготовителя и требованиями ГОСТ Р 57430.
15.6.3 Технология выполнения демонтажа и ремонта участков трубопроводов представлена на рисунках 15.8 - 15.10.

Рисунок 15.8 - Ремонт участка трубопровода с помощью компенсационного двойного раструба

Рисунок 15.9 - Ремонт участка трубопровода с помощью надвижной муфты

1 - дефект
Рисунок 15.10 - Ремонт участка трубопровода с помощью свертной муфты
Демонтаж и ремонт участков трубопроводов с применением фланцевых соединений проводят с соблюдением правил безопасности, требования к которым приведены в [24].
15.6.4 Демонтаж и ремонт участков трубопроводов с помощью компенсационного двойного раструба состоит из следующих операций:
- вырезают дефектный участок трубы. Края трубы обрабатывают и наносят антикоррозионную защиту;
- ослабляют гайки на шпильках, снимая усилие на резиновые уплотнители, устанавливают ремонтные части на левый и правый конец ремонтируемого участка трубопровода;
- отрезают новую трубу необходимой длины и устанавливают ее соосно с ремонтируемой трубой;
- перемещают компенсационный двойной раструб так, чтобы стыки труб были посредине (между резиновыми уплотнителями) и затягивают гайки на шпильках.
Процесс ремонта участка трубопровода с помощью компенсационного двойного раструба приведен на рисунке 15.8.
15.6.5 Ремонт участков трубопроводов с помощью надвижной муфты состоит из следующих операций:
- вырезают дефектный участок трубы. Края трубы обрабатывают и наносят антикоррозионную защиту;
- извлекают из раструба оставшийся правый кусок трубы. Смазывают ее поверхность смазкой для лучшего перемещения муфты по поверхности и устанавливают на него надвижную муфту с уплотнительными кольцами;
- участок трубы с надвижной муфтой устанавливают в раструб трубы с правой стороны трубопровода. Надвижную муфту передвигают влево.
Процесс ремонта участка трубопровода с помощью надвижной муфты приведен на рисунке 15.9.
15.6.6 При ремонте участка трубопровода с помощью свертной муфты с двух противоположных сторон трубы на дефект устанавливают половинки корпуса муфты с уплотнителями и соединяют болтами таким образом, чтобы ремонтируемый дефект располагался по центру уплотнителя. Процесс ремонта участка трубопровода с помощью свертной муфты приведен на рисунке 15.10.
Установка свертной муфты на трубопровод допускается как временная мера для предотвращения растекания жидкости до начала основных ремонтных работ.
16.1 Для обеспечения требуемого качества монтажа трубопроводов из ВЧШГ проводят следующий контроль:
- проверку квалификации персонала;
- входной контроль качества труб, элементов трубопроводов, конструкций и материалов;
- технический осмотр строительных техники и оборудования (гидрофицированной установки, крана-трубоукладчика, трактора-буксировщика, строп, траверс и т.д.);
- систематический операционный контроль качества сборки и монтажа;
- 100%-ный визуальный контроль соединений, измерительный контроль геометрических параметров;
- испытания собранных стыков в составе трубопровода на прочность и герметичность.
16.2 Технология монтажа трубопроводов с соединениями типа RJ не предполагает использования сложного оборудования. Контроль качества монтажа осуществляется путем проверки положения резинового кольца и стопоров.
17.1 Технологические процессы соединения труб из ВЧШГ до использования на объекте капитального строительства должны пройти производственную аттестацию для каждого отдельного объекта.
Аттестацию необходимо повторять в случае инцидентов и аварий, связанных с разрушением труб и соединений, а также при выявлении течи при испытаниях.
По результатам производственной аттестации и испытаний смонтированного трубопровода допуски сопрягаемых поверхностей и технологические режимы должны быть скорректированы.
17.2 Производственную аттестацию проводит строительная организация, осуществляющая строительные работы на объекте.
17.3 Производственная аттестация должна подтвердить соответствие применяемых технологий, материалов, деталей, труб и оборудования требованиям проектной и технической документации и нормативных документов. Одновременно в процессе производственной аттестации технологического процесса проводят аттестацию операторов по монтажу трубопроводов из ВЧШГ и проверку квалификации сварщиков, выполняющих сварку по чугуну (для сварки соединительных деталей в заводских или базовых условиях, при ремонтных работах на трубопроводе из ВЧШГ).
17.4 Производственная аттестация проводится комиссией, председателем которой является:
- при использовании труб с соединением типа RJ - представитель строительной организации, ответственный за производство работ по монтажу труб;
- при использовании сварочной технологии по чугуну - представитель строительной организации, ответственный за производство сварных работ на трубопроводах из ВЧШГ.
Членами комиссий должны быть непосредственные производители работ (начальник участка, производственной базы, мастер).
17.5 Производственная аттестация может проводиться в заводских условиях предприятия - изготовителя труб с соединением типа RJ или на стационарных производственных базах.
Производственная аттестация проводится с использованием серийного оборудования и материалов, разрешенных к применению труб, соединительных деталей и узлов трубопроводов.
17.6 Производственную аттестацию соединения труб по технологии RJ проводят в следующем порядке:
- проводят входной контроль труб, соединительных деталей и узлов трубопроводов, стопоров, уплотняющих колец и других материалов;
- выполняют сборку плети, состоящей из нескольких труб и соединительных деталей. Количество стыков RJ в плети должно быть не менее трех. Концевые элементы плети должны быть заглушены и иметь штуцеры для подвода жидкости и контроля давления;
- проводят визуальный и измерительный контроль смонтированных соединений;
- подают в плеть воду, поднимают давление до значения испытательного давления по проекту, выдерживают 10 мин и снижают давление до нуля;
- повторяют последнюю операцию 10 раз (циклические испытания);
- осматривают соединения после испытаний.
17.7 Производственная аттестация считается положительной, если при испытании плети не появились течи, деформации и разрушения деталей и стыков.
В случае разрушения труб и соединений, выявления течи или деформаций при испытании проводятся повторные испытания с участием представителей предприятия - изготовителя труб и соединительных деталей.
17.8 Результаты производственной аттестации оформляются в виде протокола, в котором указывают:
- схему испытанной плети и типоразмеры труб и соединительных деталей;
- режим испытаний;
- результаты испытаний и осмотра.
17.9 К ремонту трубопровода и его элементов из ВЧШГ с использованием сварочной технологии допускаются сварщики, прошедшие соответствующие подготовку и аттестацию.
17.10 Требования к проведению аттестации сварщиков по группе свариваемых материалов М06 приведены в [21]. Аттестацию сварщиков проводят с заваркой КСС и по карте технологического процесса соответствующих конструкций и технологий выполняемых работ на производственном объекте.
18.1 Общие положения
18.1.1 Земляные работы должны выполняться в соответствии с требованиями СП 45.13330 и проекта производства работ, а также соответствовать проектной документации.
18.1.2 До начала выполнения основных земляных работ должны быть выполнены подготовительные работы по снятию и перемещению плодородного слоя почвы согласно проекту рекультивации земель.
18.1.3 Разработка котлованов, траншей, выемок, устройство насыпей и вскрытие подземных коммуникаций в пределах охранных зон допускаются после получения разрешения эксплуатирующей организации в соответствии с выданными техническими условиями и в присутствии ее представителя.
18.1.4 При производстве земляных работ на многолетнемерзлых грунтах проектом должны предусматриваться защитные мероприятия, обеспечивающие сохранность вечной мерзлоты.
18.1.5 Приемку земляных работ следует выполнять с составлением актов освидетельствования скрытых работ.
18.2 Разработка траншей
18.2.1 Разработка траншеи для укладки трубопроводов из ВЧШГ должна выполняться в соответствии с требованиями СП 284.1325800.2016 (раздел 20).
18.2.2 При монтаже трубопровода из ВЧШГ с использованием соединений типа RJ ширина траншеи по дну должна быть такой, чтобы расстояние между трубой и стенкой траншеи с каждой стороны было не менее 0,4 м.
При укладке нескольких труб в одной траншее такое же расстояние должно быть между параллельными трубопроводами.
18.2.3 На дне траншеи должны быть выполнены приямки на местах расположения раструбов через каждые 6 м глубиной не менее 100 мм, длиной не менее 200 мм на ширину, достаточную для выполнения монтажных работ, но не менее двух номинальных диаметров трубопровода.
18.2.4 Земляные работы следует проводить с операционным контролем всех технологических операций.
18.2.5 Перед разработкой траншеи следует воспроизвести разбивку ее оси, а на вертикальных кривых - разбивку глубины через каждые 2 м геодезическим инструментом.
18.2.6 Способ разработки траншеи выбирается в зависимости от категории грунта, структуры грунта, степени его промерзания:
- разработку траншей на участках со спокойным рельефом местности, на отлогих возвышенностях, на участках с плотными, нескальными и мерзлыми грунтами целесообразно вести экскаваторами непрерывного действия;
- разработку траншей на участках с выраженной холмистой местностью (или сильно пересеченной), прерывающейся естественными преградами, сложенных мягкими грунтами с включением валунов, повышенной влажности грунтов, обводненных грунтов, под многониточные трубопроводы целесообразно вести одноковшовыми экскаваторами.
18.2.7 Дно траншеи под укладку трубопровода должно быть тщательно спланировано, должны быть убраны твердые комья земли, камни, ветки деревьев, лед и прочие предметы, в скальных и каменистых грунтах необходима подсыпка из мягкого грунта.
Если проектом не предусмотрено применение изоляционного защитного наружного покрытия, то допускается укладка трубопровода в траншею без подготовки дна траншеи.
18.3 Засыпка трубопровода
18.3.1 При засыпке трубопроводов из ВЧШГ должны соблюдаться те же требования действующих нормативных документов и технической документации, что и при засыпке трубопроводов из стали с учетом технологии строительно-монтажных работ труб с соединением типа RJ.
18.3.2 Независимо от способа монтажа трубопровода из ВЧШГ засыпка осуществляется в два этапа - частичная засыпка до предварительного испытания участка и окончательная засыпка.
18.3.3 Частичную засыпку траншеи проводят в следующем порядке. Предварительно проводят подбивку пазух и засыпку труб грунтом на высоту 0,2 м над верхней образующей трубы. Во время частичной засыпки проводят равномерное послойное уплотнение грунта с обеих сторон трубы до необходимой плотности. Под каждым стыком оставляют приямок, позволяющий наблюдать за состоянием стыка при гидравлических испытаниях. Частичную засыпку трубопровода проводят для предотвращения перемещений труб под воздействием внутреннего давления в процессе гидравлических испытаний. Частичная засыпка трубопровода схематично показана на рисунке 18.1.

Рисунок 18.1 - Состояние трубопровода после частичной засыпки
18.3.4 Окончательную засыпку траншеи проводят после предварительного испытания трубопровода. При этом сначала присыпают приямки с тщательным уплотнением, затем проводят окончательную засыпку траншеи.
18.3.5 Перед началом частичной засыпки трубопровода необходимо:
- проверить проектное положение трубопровода и его плотное прилегание к дну траншеи;
- проверить качество и, при необходимости, отремонтировать защитное наружное покрытие;
- провести предусмотренные проектом работы по предохранению защитного наружного покрытия от механических повреждений;
- получить письменное разрешение на засыпку уложенного трубопровода;
- выдать наряд-задание на производство работ.
18.3.6 Засыпать траншею следует непосредственно после монтажных работ (в отдельных случаях после балластировки трубопровода или закрепления его анкерными устройствами).
18.3.7 Засыпку трубопровода проводят бульдозерами или экскаваторами. Технологию и способ ведения земляных работ по засыпке трубопровода, а также состав строительной техники определяют в проектной документации.
18.3.8 При ведении земляных работ по засыпке трубопровода необходимо обеспечить:
- сохранность труб и защитного наружного покрытия;
- плотное прилегание трубопровода ко дну траншеи;
- проектное положение трубопровода в горизонтальной плоскости.
18.3.9 При засыпке траншеи с несколькими трубопроводами необходимо обеспечить проектное расстояние между трубопроводами, исключить подвижки трубопроводов в поперечном направлении.
18.3.10 Для предохранения трубопровода от механических повреждений при засыпке его мерзлым, слежавшимся грунтом или каменистым грунтом над верхней образующей трубы необходимо выполнить присыпку толщиной не менее 0,2 м из мягкого вскрышного или привозного грунта. После присыпки трубопровода грунт в пазухах траншеи уплотняют. Трамбовать грунт непосредственно над трубопроводом запрещается.
18.3.11 При непрямолинейной горизонтальной прокладке трубопровода сначала засыпают криволинейный участок, а затем прилегающие участки трубопровода. Засыпку криволинейного участка начинают с его середины, двигаясь поочередно к концам участка.
18.3.12 На участках прохождения трубопровода в оврагах, балках, на холмах засыпку необходимо проводить сверху вниз.
18.3.13 При засыпке на нерекультивируемых землях над трубопроводом делают грунтовый валик с учетом его последующей осадки.
На рекультивируемых землях после засыпки трубопровода минеральным грунтом проводят его уплотнение, плодородный слой грунта над трубопроводом планируют, при этом грунтовый валик над трубопроводом не делают.
18.3.14 На крутых продольных уклонах свыше 15° для предотвращения эрозионных процессов необходимо предусматривать устройство перемычек в траншее.
18.3.15 При засыпке трубопровода мерзлым грунтом поверх него должен устраиваться валик грунта с учетом последующей его осадки при оттаивании.
18.3.16 Засыпку трубопровода в песчаных грунтах необходимо осуществлять непосредственно после гидравлических испытаний с наименьшими перерывами.
18.3.17 Все остальные требования к земляным работам аналогичны требованиям при укладке стальных трубопроводов и должны соответствовать требованиям СП 284.1325800.2016 (раздел 20).
18.4 Рекультивация земель
18.4.1 Рекультивация строительной полосы после засыпки трубопровода осуществляется в процессе строительства трубопровода в сроки, устанавливаемые органами, предоставляющими земельные участки в пользование, в соответствии с проектом.
18.4.2 Строительная полоса на лесных участках по окончании строительства трубопровода должна быть очищена от пней и других древесных остатков и спланирована.
18.4.3 В проекте рекультивации земель в соответствии с условиями предоставления земельных участков в пользование и с учетом местных природно-климатических особенностей должны быть определены:
- площадь проведения технической и биологической рекультивации;
- объем снимаемого плодородного слоя почвы;
- место расположения отвала плодородного слоя почвы;
- способы погрузки и вывозки лишнего грунта.
18.4.4 Распределение и планировка плодородного слоя почвы выполняется бульдозерами с перемещением его из отвала хранения.
18.4.5 Работы по снятию плодородного слоя почвы выполняются как в холодное, так и в теплое время года, а работы по его возвращению - только в теплое время года (безморозный период).
19.1 Укладка участков трубопровода
19.1.1 Трубопроводы из ВЧШГ, монтируемые по технологии RJ, в тех случаях, когда траншея не обводнена, не требуют дополнительных операций по укладке в траншею, поскольку монтаж трубопровода происходит в траншее в соответствии с требованиями раздела 15.
19.1.2 В случае, когда траншея затоплена водой, участок трубопровода собирают на сухом участке в створе перехода. Смонтированный участок заглушают на концах герметичными заглушками, испытывают на прочность и герметичность, затем укладывают в траншею одним из следующих методов: протаскивание по дну траншеи или сплав.
19.1.3 Если трубы имеют изоляционное наружное защитное покрытие, то для предохранения изоляционного покрытия от механических повреждений покрытия участок трубопровода необходимо снабжать футеровкой (деревянные рейки, полимерные профили, скальный лист) или предусматривать подсыпку и присыпку участка трубопровода мягким минеральным грунтом слоем не менее 20 см.
19.1.4 Для протаскивания участка трубопровода по дну обводненной траншеи или водоема трубопровод должен обладать отрицательной плавучестью, которая достигается установкой балластирующих устройств на участок трубопровода.
Возможен вариант, когда длинномерную плеть, оснащенную поплавками, сплавляют по обводненной траншее или водоему. Затем укладку сплавленной плети трубопровода проводят последовательной отстроповкой поплавков.
19.1.5 На участках трассы, где не обеспечивается устойчивость стенок траншеи на время производства монтажных работ, возможно применение "метода подкопа". При этом плеть предварительно протаскивают вдоль оси прокладки по поверхности болота, затем под трубопроводом отрывают траншею, куда плеть опускается под действием собственного веса. Для рытья траншеи применяют трубозаглубители.
19.1.6 При протаскивании плети и сплаве участка рекомендуется поддерживать в укладываемом участке трубопровода давление 0,1 - 0,2 МПа, что обеспечивает необходимую жесткость плети и сохранность уплотнительных колец.
19.1.7 Максимальная длина протаскиваемой плети определяется расчетом согласно приложению Б.
19.2 Балластировка участков трубопровода
19.2.1 Для балластировки трубопроводов, прокладываемых через водные преграды, на заболоченных и обводненных участках, должны предусматриваться утяжеляющие навесные или кольцевые одиночные грузы, балластирующие грузы с использованием грунта и анкерные устройства.
19.2.2 На обводненных и заболоченных участках допускается балластировка трубопроводов комбинированными методами с применением различных средств балластировки.
19.2.3 Выбор конструкций и способов балластировки и закрепления трубопроводов на проектных отметках определяется проектом с учетом:
- конкретных инженерно-геологических условий участков трассы;
- вида и характеристики грунтов;
- рельефа местности;
- метода прокладки трубопровода;
- сезона производства работ.
19.2.4 Анкерные устройства для закрепления трубопроводов на проектных отметках следует использовать, учитывая физико-механические свойства грунтов, в которые необходимо их устанавливать, поскольку от этого зависит удерживающая способность.
19.2.5 При укладке трубопроводов через водные преграды, глубокие болота (с мощностью торфа более глубины траншеи) и болота с мощностью торфа, не превышающей глубины траншеи, методом протаскивания следует применять сборные кольцевые чугунные или железобетонные утяжелители.
19.2.6 Установка кольцевых утяжелителей на трубопровод осуществляется на монтажной площадке у створа перехода непосредственно перед протаскиванием его через болото, водные преграды или заболоченные участки.
19.2.7 Для предотвращения повреждения изоляционного покрытия трубопровода при монтаже железобетонных и чугунных кольцевых утяжелителей необходимо применять средства для футеровки трубопроводов.
19.2.8 Размещение кольцевых утяжелителей на раструбном соединении не допускается.
19.2.9 Технологический процесс по балластировке утяжелителями кольцевого типа начинается с раскладки полуколец краном-трубоукладчиком на спусковой дорожке. Нижний ряд полуколец укладывается по оси спусковой дорожки, а верхний - вдоль нее.
Футеровку трубы выполняют в месте, где будет крепиться кольцевой утяжелитель.
Трубу кранами-трубоукладчиками перемещают к нижнему полукольцу, поднимают краном-трубоукладчиком верхнее полукольцо и укладывают его на трубу, закрепляют полукольца между собой с помощью болтовых соединений.
После закрепления кольцевых утяжелителей на трубе происходит монтаж трубопровода в плеть.
До закрепления установленных утяжелителей на трубе проверяют значение зазора между футеровочными рейками пояса крепления и полукольцами. В местах, где зазоры составляют более 5 мм, под внутреннюю поверхность полукольца устанавливаются дополнительные рейки соответствующих размеров.
Монтажные операции по установке кольцевых утяжелителей осуществляются с помощью кранов-трубоукладчиков, входящих в состав бригады, занятой подготовкой к протаскиванию и самим процессом протаскивания плети трубопровода.
19.2.10 При монтаже трубопроводов в траншеи на заболоченных и обводненных территориях, включая участки перспективного обводнения, применяют навесные железобетонные утяжелители охватывающего типа, анкерные устройства, заполняемые грунтом полимерные контейнеры.
19.2.11 Железобетонные утяжелители охватывающего типа устанавливаются на трубопроводе либо по одному через равные расстояния между ними, либо групповым методом. При групповом методе установки утяжелители укладываются отдельными участками вплотную друг к другу; при этом общее их количество и расстояния между группами должны соответствовать требованиям проекта.
Монтаж утяжелителей на уложенный в траншею трубопровод рекомендуется выполнять автомобильными кранами с длиной стрелы 10 м или кранами-трубоукладчиками. Для монтажа утяжелителей данного типа применяют траверсы.
19.2.12 Балластировка трубопроводов полимерными контейнерами, заполненными минеральным грунтом, может осуществляться на участках прогнозируемого обводнения, обводненных и заболоченных территориях.
19.2.13 Перед загрузкой грунтом дно емкостей утяжелителя должно быть выше земли на 30 - 50 см во избежание образования складок и неравномерной загрузки емкостей. Грунт заполняют экскаватором с промежуточным уплотнением ручными трамбовками. Загрузку проводят в две стадии:
- сначала заполняют емкости грунтом, при этом емкость бункерного устройства на 1/3 также должна быть заполнена грунтом;
- отсоединяют грузовые элементы, в результате емкости зависают на рукавах и оставшийся в емкости бункера грунт ссыпается в емкости утяжелителя;
- заполнение грунтом продолжают, сопровождая процесс трамбованием грунта, и заканчивают после заполнения грунтом рукавов;
- размыкают бандажные элементы, снимают рукава емкостей с насадок емкости бункера;
- бункер переставляют на свободное место, освобождая утяжелитель;
- грунт в емкостях распределяют вручную равномерно по площади сечения, рукава емкостей заправляют каждый внутрь между одной из стенок емкости и грунтом;
- загруженные контейнеры складируют на ровной площадке на поддоне или настиле.
19.2.14 Утяжелители заполняют грунтом в следующем порядке:
- рукава емкостей одевают на насадки бункера и закрепляют бандажными элементами;
- грузовые элементы контейнера привязывают к металлоконструкциям бункера обрезками упаковочного шнура (тесьмы) с возможностью развязывания узлов под нагрузкой.
19.2.15 В целях предохранения в зимнее время от смерзания грунта в емкостях и (или) их примерзания к земле заполнение грунтом следует проводить непосредственно перед монтажом утяжелителей на трубопровод.
19.2.16 Балластировку трубопроводов полимерными контейнерами, заполненными минеральным грунтом, навесными железобетонными утяжелителями охватывающего типа, анкерными устройствами проводят после укладки трубопровода на проектные отметки при условии отсутствия воды в траншее в процессе производства работ.
19.2.17 Использование для балластировки трубопроводов полимерных контейнеров с заполнением минеральным грунтом возможно при условиях:
- использования только минерального грунта без примесей торфа и снега;
- применения комбинированных методов балластировки с навесными железобетонными утяжелителями охватывающего типа или анкерными устройствами.
19.2.18 Анкерные устройства устанавливаются (замыкаются) на уложенном в проектное положение трубопроводе.
19.2.19 Винтовые анкеры погружаются в грунт в летнее время после укладки трубопровода в траншею. В зимний период установку анкеров осуществляют сразу же после разработки траншеи.
19.2.20 Погружение вмораживаемых анкеров в многолетнемерзлые грунты проводится буроопускным или опускным способом.
19.3 Изоляция участков трубопровода
19.3.1 Строительство трубопроводов, как правило, проводят из изолированных труб и соединительных деталей с заводским или базовым покрытием (трассовая изоляция допускается только при соответствующем обосновании).
19.3.2 Защитные покрытия должны наноситься в соответствии с требованиями технологии согласно нормативным документам и техническим условиям на эти покрытия.
19.3.3 Тип противокоррозионных покрытий выбирается в зависимости от конкретных условий прокладки и эксплуатации трубопроводов в проектной документации. Противокоррозионная защита зоны сварных монтажных стыков изолированных труб, монтажных и крановых узлов выполняется материалами, показатели свойств которых максимально приближены к свойствам основного защитного покрытия.
19.3.4 Технологические процессы применения и нанесения противокоррозионных защитных покрытий должны быть представлены в проекте производства работ.
19.3.5 Нанесение изоляции в трассовых условиях допускается только при соответствующем обосновании.
19.3.6 Защитные изоляционные покрытия должны наноситься механизированным способом, обеспечивающим проектную толщину изоляционного слоя и его сплошность.
19.3.7 Используемые изоляционные материалы должны проходить входной контроль и соответствовать требованиям нормативных документов, технической документации и технических условий.
19.3.8 При изоляции труб в заводских или базовых условиях используются современные технологии, материалы и оборудование для очистки, нагрева и изоляции труб; проводят пооперационный контроль и контроль качества готовой продукции, что обеспечивает высококачественное нанесение на трубы различных антикоррозионных покрытий, в том числе таких, которые невозможно нанести на трубопроводы в трассовых условиях.
19.3.9 Конструкция и толщина покрытий должны соответствовать проекту и требованиям нормативных документов, технической документации и техническим условиям на трубы с покрытием.
19.3.10 Ремонт изоляционных покрытий производится в стационарных условиях на заводах и базах перед отгрузкой изолированных труб, а также в трассовых условиях перед монтажом и укладкой трубопровода в траншею или монтажом на опорах.
19.3.11 Ремонт мест повреждений защитного покрытия рекомендуется выполнять с использованием ремонтных материалов, аналогичных материалам, применяемым для нанесения основного изоляционного защитного покрытия.
19.3.12 Нанесение ремонтных материалов на участки повреждений защитного покрытия осуществляется в соответствии с требованиями существующих нормативных документов, технической документации, требованиями настоящего свода правил, с учетом рекомендаций предприятий - поставщиков изоляционных защитных материалов.
19.3.13 После нанесения ремонтного покрытия проводят визуальный контроль и проверку.
19.3.14 Изоляция сварных кольцевых стыков труб в трассовых условиях должна осуществляться с использованием изоляционных материалов, аналогичных материалам, применяемым для заводской (базовой) изоляции труб (для труб с битумным покрытием используются битумные мастики, для труб с полимерным ленточным покрытием - липкие полимерные ленты, для труб с покрытием на основе экструдированного полиэтилена или термоусаживающихся лент - термоусаживающиеся полимерные ленты (манжеты)).
19.3.15 Контроль качества изоляционных защитных покрытий в заводских и трассовых условиях проводят в соответствии с требованиями существующих нормативных документов, технической документации и техническими условиями на трубы с покрытием.
19.3.16 При изоляции соединительных деталей и запорной арматуры следует использовать современные технологии, материалы и оборудование для очистки металлической поверхности и нанесения покрытия; пооперационный контроль и приемочный контроль качества покрытия должны обеспечивать получение покрытия, не уступающего по свойствам основному изоляционному покрытию трубы.
19.3.17 Трубопроводы при надземной прокладке должны защищаться от атмосферной коррозии лакокрасочными, металлизационными или другими атмосферостойкими защитными покрытиями.
19.3.18 Противокоррозионная защита опор и других металлических конструкций надземных трубопроводов должна выполняться в соответствии с требованиями СП 72.13330.
19.3.19 Технология нанесения изоляционных покрытий в заводских условиях и контроль качества должны отвечать требованиям существующих нормативных документов, технической документации и техническим условиям на трубы с покрытием.
Нанесение внутренней изоляции трубопроводов в трассовых условиях (кроме изоляции стыков) не допускается.
19.3.20 Теплоизоляцию в трассовых условиях наносят только при отсутствии возможности доставки на объект строительства труб с теплоизоляцией заводского изготовления и соответствующего обоснования.
19.3.21 Теплоизолированные трубы, узлы и детали, а также материалы для их изготовления должны отвечать требованиям действующих нормативных документов, технической документации и технических условий предприятия-изготовителя.
20.1 В районах распространения слабонесущих и многолетнемерзлых грунтов, а также на переходах через естественные и искусственные препятствия допускается надземная прокладка трубопроводов или их отдельных участков.
20.2 Монтаж надземных трубопроводов следует выполнять в соответствии с проектом производства работ.
20.3 При сооружении надземных трубопроводов в зависимости от их диаметра, назначения, типа изоляции (антикоррозионной и тепловой), высоты опор, а также общей и локальной протяженности надземных участков могут быть применены следующие способы монтажа и укладки:
- продольная надвижка заранее заготовленных плетей на опоры;
- подъем с поверхности строительной полосы на опоры отдельных труб или заранее заготовленных секций с последующим монтажом их между собой.
20.4 Работы по монтажу надземного трубопровода должны выполняться после приемки свайных опор, монтажа ригелей и опорных элементов, предусмотренных проектом и выполненных в последовательности в соответствии с проектом производства работ.
20.5 Сваи, поставляемые заводом, должны иметь паспорт, в котором указываются наименование предприятие-изготовителя, его адрес, номер и дата выдачи паспорта, обозначение ГОСТ или номер чертежа, по которому изготовлена свая, марка бетона (для железобетонных свай), дата изготовления.
На сваях должны быть написаны несмываемой краской марка и дата изготовления сваи.
20.6 Установка свайных опор надземных трубопроводов на многолетнемерзлых грунтах проводится в соответствии с СП 45.13330.
20.7 Параметры свай, глубина их установки, способ погружения определяются на основе данных геологических изысканий о несущей способности грунтов и склонности их к пучению.
20.8 Монтаж трубопровода должен осуществляться из труб или секций с заводским или базовым изоляционным покрытием, а теплоизолированного трубопровода - из одиночных труб с тепловой изоляцией, нанесенной в заводских или базовых условиях.
20.9 Монтаж ригелей и опорных элементов выполняется после оформления акта приемки свайных опор, которым подтверждается их соответствие проекту.
20.10 Монтаж надземных теплоизолированных участков трубопровода с попутным электроподогревом выполняется в строгом соответствии с проектом производства работ, разработанным с учетом типа и конфигурации системы электроподогрева трубопровода.
20.11 Испытания на прочность и герметичность участков трубопровода выполняют после выполнения всех работ по монтажу системы электроподогрева.
При монтаже кабеля путевого обогрева трубопровода необходимо исключить прямой контакт кабеля и раструбно-замкового соединения труб типа RJ и минимизировать прямое температурное воздействие на соединение типа RJ от системы электроподогрева.
20.12 Все остальные требования к монтажу трубопровода из ВЧШГ и требования к монтажу участков трубопроводов из стальных элементов на опорах должны соответствовать требованиям СП 284.1325800.2016 (раздел 23).
21.1 Общие требования
Подготовка трубопровода к приемке в эксплуатацию включает следующие работы:
- очистка полости и испытание трубопровода;
- монтаж и подключение средств ЭХЗ;
- приемка трубопровода в эксплуатацию.
21.2 Очистка полости и испытание трубопровода
21.2.1 Способы, параметры и схемы проведения очистки полости и испытания участков трубопроводов устанавливаются проектной документацией с учетом конструктивных особенностей каждого участка.
21.2.2 Очистку полости трубопроводов выполняют промывкой или протаскиванием очистных устройств по технологии, определенной в рабочей инструкции.
21.2.3 На трубопроводах DN 200 и более промывку следует выполнять с использованием очистных поршней.
21.2.4 Очистка полости трубопроводов в обязательном порядке должна включать мероприятия по защите полости труб от попадания снега, загрязнений и остатков строительных материалов на всех технологических переделах строительства.
21.2.5 На трубопроводах до DN 200 очистку полости следует проводить протаскиванием очистных устройств в процессе сборки трубопровода в нитку.
21.2.6 Рабочая инструкция на очистку полости трубопровода разрабатывается строительно-монтажной организацией и согласовывается с заказчиком и проектной организацией.
21.2.7 Закачку воды в трубопровод для промывки и испытания осуществляют через фильтры, исключающие попадание в полость трубопровода песка, ила, торфа или посторонних предметов из водоема.
21.2.8 Скорость перемещения очистного или разделительного устройства при промывке должна быть не менее 1 км/ч. Промывка считается законченной, когда очистное или разделительное устройство выйдет из трубопровода неповрежденным.
21.2.9 Скорость потока жидкости при промывке без пропуска очистных или разделительных устройств должна составлять не менее 5 км/ч. Промывка считается законченной, когда из сливного патрубка выходит струя незагрязненной жидкости.
21.2.10 Очистку полости трубопроводов, монтируемых на опорах, следует проводить продувкой с пропуском поршней-разделителей под давлением сжатого воздуха со скоростью не более 10 км/ч.
21.2.11 Очистные поршни пропускают по участкам трубопровода под давлением сжатого воздуха, поступающего из ресивера (баллона).
21.2.12 Для продувки с пропуском поршня давление воздуха в ресивере при соотношении объемов ресивера и продуваемого участка 1:1 определяют по таблице 21.1.
|  
           DN, мм  |   
           Давление в ресивере, МПа (кгс/см2), не менее  | |||||
|  
           для трубопроводов, очищенных протаскиванием очистных устройств  |   
           для трубопроводов, не очищенных протаскиванием очистных устройств  | |||||
|  
           До  |   
           250  |   
           включ.  |   
           1 (10)  |   
           2 (20)  | ||
|  
           От  |   
           300  |   
           "  |   
           400  |   
           0,6 (6)  |   
           1,2 (12)  | |
|  
           "  |   
           500  |   
           включ.  |   
           0,5 (5)  |   
           1 (10)  | ||
21.2.13 Продувку скоростным потоком воздуха без пропуска поршня осуществляют на трубопроводах до DN 200 (включительно) или при наличии крутоизогнутых вставок радиусом менее пяти диаметров трубопровода.
21.2.14 На участках трубопроводов более DN 200 с крутоизогнутыми вставками радиусом менее пяти диаметров допускается продувка без пропуска очистных поршней при условии предварительной очистки труб протаскиванием очистных устройств в процессе их сборки в нитку.
21.2.15 Перед началом продувки и испытаний трубопровода должны быть определены и обозначены предупредительными знаками опасные зоны, в которых запрещено находиться людям во время указанных работ.
Радиус опасных зон при очистке и испытании трубопроводов воздухом представлен в таблице 21.2.
|  
           DN, мм  |   
           Радиус опасной зоны в обе стороны от оси трубопровода при очистке полости, м  |   
           Радиус опасной зоны в направлении вылета ерша или поршня при очистке полости, м  |   
           Радиус опасной зоны в обе стороны от трубопровода при испытании, м  | 
|  
           До 300 включ.  |   
           40  |   
           600  |   
           100  | 
|  
           От 300 до 500 включ.  |   
           60  |   
           800  |   
           150  | 
21.2.16 Для наблюдения за состоянием трубопровода во время очистки полости или испытания должны выделяться обходчики, обеспеченные двусторонней связью с руководителем работ. Обходчики обязаны:
- вести наблюдение за закрепленными за ними участками трубопровода;
- не допускать нахождения людей и движения транспортных средств в опасной зоне и на дорогах, закрытых для движения при испытании трубопровода;
- немедленно оповещать руководителя работ обо всех обстоятельствах, препятствующих проведению продувки и испытания или создающих угрозу для людей, животных, сооружений и транспортных средств, находящихся вблизи трубопровода.
21.2.17 В качестве очистных устройств при протаскивании следует использовать специальные приспособления, оборудованные металлическими щетками или скребками. При наличии труб с внутренней изоляцией применяют эластичные очистные поршни.
21.2.18 Для продувки используют очистные поршни или поршни-разделители.
21.2.19 Продувка трубопровода с пропуском очистных устройств через линейную арматуру допускается только в случае, если это допускается паспортом арматуры.
21.2.20 После очистки полости трубопровода на концах очищенного участка устанавливаются временные заглушки, предотвращающие повторное загрязнение участка.
21.2.21 Очистка полости трубопроводов, смонтированных из труб ВЧШГ, должна проводиться в соответствии с проектом и с учетом требований настоящего свода правил, с использованием типовых технологических процессов и оборудования, аналогичных применяемым при очистке полости напорных трубопроводов из других материалов.
21.2.22 Трубопроводы необходимо испытывать на прочность и герметичность гидравлическим способом с учетом назначения участка трубопровода и в соответствии с таблицей 21.3.
|  
           Наименование участков трубопроводов. Этапы испытания на прочность  |   
           Параметры гидравлического испытания на прочность  | |
|  
           Давление, МПа  |   
           Продолжительность, ч  | |
|  
           Переходы через естественные и искусственные преграды, выполненные методом ГНБ  | ||
|  
           Первый этап - после сборки на площадке перехода целиком или отдельными плетями  |   
           1,5Pраб  |   
           6  | 
|  
           Второй этап - после укладки перехода  |   
           1,5Pраб  |   
           12  | 
|  
           Третий этап - одновременно с прилегающими участками трубопровода, после засыпки  |   
           1,25Pраб  |   
           12  | 
|  
           Переходы через естественные и искусственные преграды, выполненные методом протаскивания трубопровода по дну траншеи  | ||
|  
           Первый этап - после укладки в проектное положение и частичной присыпки или закрепления раструбных соединений  |   
           1,5Pраб  |   
           12  | 
|  
           Второй этап - одновременно с прилегающими участками трубопровода, после засыпки  |   
           1,25Pраб  |   
           12  | 
|  
           Трубопроводы на полках в горной местности  | ||
|  
           Первый этап - после укладки в проектное положение и частичной присыпки или закрепления раструбных соединений  |   
           1,5Pраб  |   
           12  | 
|  
           Второй этап - одновременно с прилегающими участками трубопровода, после засыпки  |   
           1,25Pраб  |   
           12  | 
|  
           Пересечения с подземными и надземными коммуникациями в пределах 100 м по обе стороны пересекаемой коммуникации  | ||
|  
           Первый этап - после укладки в проектное положение и частичной присыпки или закрепления раструбных соединений  |   
           1,5Pраб  |   
           12  | 
|  
           Второй этап - одновременно с прилегающими участками трубопровода, после засыпки  |   
           1,25Pраб  |   
           12  | 
|  
           Трубопроводы, прокладываемые параллельно рекам, каналам, озерам, другим водоемам и водотокам, имеющим рыбохозяйственное значение, а также выше населенных пунктов и промышленных предприятий на расстоянии от них до 300 м  | ||
|  
           Первый этап - после укладки в проектное положение и частичной присыпки или закрепления раструбных соединений  |   
           1,5Pраб  |   
           12  | 
|  
           Второй этап - одновременно с прилегающими участками трубопровода, после засыпки  |   
           1,25Pраб  |   
           12  | 
|  
           Трубопроводы на участках подхода к НС, НПС в пределах 250 м от ограждения  | ||
|  
           Первый этап - после укладки в проектное положение и частичной присыпки или закрепления раструбных соединений  |   
           1,5Pраб  |   
           12  | 
|  
           Второй этап - одновременно с прилегающими участками трубопровода, после засыпки  |   
           1,25Pраб  |   
           12  | 
|  
           Участки трубопроводов, примыкающие к площадкам скважин на расстоянии 150 м от ограждения  | ||
|  
           Первый этап - после укладки в проектное положение и частичной присыпки или закрепления раструбных соединений  |   
           1,5Pраб  |   
           12  | 
|  
           Второй этап - одновременно с прилегающими участками трубопровода, после засыпки  |   
           1,25Pраб  |   
           12  | 
|  
           Трубопроводы на длине 250 м от линейной запорной арматуры и гребенок подводных переходов  | ||
|  
           Первый этап - после укладки в проектное положение и частичной присыпки или закрепления раструбных соединений  |   
           1,5Pраб  |   
           12  | 
|  
           Второй этап - одновременно с прилегающими участками трубопровода, после засыпки  |   
           1,25Pраб  |   
           12  | 
|  
           Трубопроводы ввода-вывода, транзитные трубопроводы  | ||
|  
           Первый этап - после укладки в проектное положение и частичной присыпки или закрепления раструбных соединений  |   
           1,5Pраб  |   
           12  | 
|  
           Второй этап - одновременно с прилегающими участками трубопровода, после засыпки  |   
           1,25Pраб  |   
           12  | 
|  
           Трубопроводы обвязки куста скважин  | ||
|  
           Первый этап - после укладки в проектное положение и частичной присыпки или закрепления раструбных соединений  |   
           1,5Pраб  |   
           12  | 
|  
           Второй этап - одновременно с прилегающими участками трубопровода, после засыпки  |   
           1,25Pраб  |   
           12  | 
|  
           Трубопроводы, собранные на опорах  | ||
|  
           Первый этап - после крепления на опорах или закрепления раструбных соединений  |   
           1,5Pраб  |   
           12  | 
|  
           Второй этап - одновременно с прилегающими участками трубопровода, после полного монтажа трубопровода  |   
           1,25Pраб  |   
           12  | 
|  
           Трубопроводы, собранные в траншеи  | ||
|  
           В один этап одновременно со всем трубопроводом, после засыпки  |   
           1,25Pраб  |   
           12  | 
21.2.23 Технологию гидравлического испытания трубопровода предусматривают в рабочей инструкции, разрабатываемой генеральной строительно-монтажной организацией. Рабочая инструкция должна быть согласована с заказчиком и проектной организацией.
21.2.24 Перед началом гидравлических испытаний трубопровода должны быть определены и обозначены предупредительными знаками опасные зоны, в которых запрещено находиться людям во время указанных работ (таблица 21.4).
|  
           DN, мм  |   
           Давление испытания 8,25 МПа. Радиус опасной зоны, м  |   
           Давление испытания свыше 8,25 МПа. Радиус опасной зоны, м  | ||
|  
           в обе стороны от оси трубопровода  |   
           в направлении отрыва заглушки от торца трубопровода  |   
           в обе стороны от оси трубопровода  |   
           в направлении отрыва заглушки от торца трубопровода  | |
|  
           От 100 до 300 включ.  |   
           75  |   
           600  |   
           100  |   
           900  | 
|  
           Свыше 300 до 500 включ.  |   
           75  |   
           800  |   
           100  |   
           1200  | 
21.2.25 Проверку на герметичность участка или трубопровода в целом проводят после испытания на прочность и путем снижения испытательного давления до рабочего давления Pраб (принимаемого по проекту) и его выдержки в течение времени, необходимого для осмотра трассы, но не менее 12 ч.
21.2.26 При температуре окружающей среды трубопровода ниже 0 °C допускается (при наличии теплотехнического расчета, выполненного проектной организацией) проведение гидравлического испытания подогретой водой от теплообменников, водоподогревательных установок, коммуникаций горячего водоснабжения и т.п. или жидкостями с температурой замерзания ниже температуры окружающей среды.
21.2.27 Для гидравлического испытания могут быть использованы подземные воды из сеноманских или других геологических горизонтов, имеющие пониженную температуру замерзания, с добавлением, при необходимости, ингибиторов коррозии. Для трубопроводов до DN 200 мм при отрицательных температурах используются жидкости, имеющие пониженную температуру замерзания (антифризы). Использованный антифриз следует утилизировать.
21.2.28 В условиях отрицательных температур проведения гидравлических испытаний водой должна предусматриваться возможность быстрого удаления из трубопровода опрессовочной воды с помощью заранее установленных поршней-разделителей, перемещающихся под давлением воздуха.
21.2.29 Технологические узлы (узлы задвижек, узлы сбора и распределения нефти) подвергаются предварительному гидравлическому испытанию.
21.2.30 Испытание надземных трубопроводов на прочность и герметичность проводится гидравлическим способом и включает:
а) предварительные испытания участков трубопроводов (переходы через дороги, водотоки, реки и т.п.) и технологических узлов (узлы задвижек, узлы пуска и приема средств диагностики и т.п.);
б) испытание всего подготовленного к эксплуатации участка трубопровода.
21.2.31 Предварительное испытание переходов и узлов проводится сразу же после окончания работ на этих участках.
21.2.32 Предварительное испытание технологических узлов зимой осуществляется гидравлическим способом незамерзающей жидкостью. Предварительное испытание узлов помимо проверки на прочность должно включать проверку на герметичность импульсных и других трубок, резьбовых соединений.
21.2.33 При предварительном испытании узлов гидравлическим способом должны выполняться мероприятия по удалению и сбору испытательной жидкости без ее выброса в окружающую среду.
21.2.34 Гидравлическое испытание надземного трубопровода целесообразно осуществлять в период положительных температур воздуха. В противном случае должны быть предусмотрены мероприятия, позволяющие провести гидравлические испытания при отрицательных температурах, исключающие замерзание испытательной жидкости.
21.2.35 При многониточной прокладке трубопроводов допускается их одновременное испытание гидравлическим способом.
21.2.36 Испытание надземного трубопровода на прочность и проверку на герметичность следует проводить после полной готовности участка трубопровода:
- закрепления трубопровода на опорах;
- заделки стыков (противокоррозионная и теплоизоляция);
- установки арматуры и приборов;
- удаления персонала и вывоза техники из опасной зоны на расстояния, равные установленным от надземного трубопровода до строений;
- обеспечения постоянной или временной связи.
21.2.37 Гидравлические испытания трубопроводов с внутренним цементно-песчаным покрытием начинают после заполнения его водой и предварительной выдержки под давлением (приблизительно 0,2 МПа) в течение 1 сут (для пропитки пор цементного раствора и выравнивания температур).
21.2.38 Если при осмотре трассы или в процессе подъема давления будет обнаружена утечка, то подачу жидкости в трубопровод следует немедленно прекратить, после чего должны быть установлены возможность и целесообразность дальнейшего проведения испытаний.
21.2.39 Осмотр трассы при увеличении давления от 0,3Pисп до Pисп и в течение времени испытания на прочность запрещается.
21.2.40 После окончания испытания трубопровода на прочность давление необходимо снизить до проектного рабочего и только после этого выполнить контрольный осмотр трассы для проверки на герметичность.
21.2.41 При испытании трубопроводов на прочность и их проверке на герметичность места утечек необходимо определять следующими методами:
- визуальным;
- акустическим;
- по запаху;
- по падению давления на испытуемом участке.
21.2.42 Трубопровод считается выдержавшим испытания на прочность и проверку на герметичность, если за время испытания трубопровода на прочность он не разрушился, а при проверке на герметичность давление осталось неизменным и не было обнаружено утечек.
21.2.43 Удаление воды после испытаний предусматривается в обязательном порядке, способ удаления должен быть указан в проекте.
21.2.44 Контроль за движением по трубопроводу поршней-разделителей должен осуществляться по показаниям манометров, измеряющих давление в узлах их пуска-приема, или с помощью системы обнаружения внутритрубных устройств в соответствии с техническими условиями.
21.2.45 Испытания трубопроводов, смонтированных из ВЧШГ, следует проводить в соответствии с проектом и с учетом требований настоящего свода правил, с использованием типовых технологических процессов и испытательного оборудования, аналогичных применяемым при гидравлическом испытании напорных трубопроводов из других материалов.
21.2.46 Перед проведением испытаний трубопровода необходимо в местах поворотов, тупиках установить упоры, предотвращающие перемещения труб от воздействия давления воды.
21.2.47 В случае применения балластирующих устройств для закрепления трубопроводов в проектном положении на участке проведения гидравлических испытаний допускается в качестве упоров применять навесные железобетонные утяжелители охватывающего типа или заполняемые грунтом полимерные контейнеры для закрепления раструбно-замковых соединений.
21.2.48 Испытания выполняются до установки вантузов, предохранительных клапанов, вместо которых на время испытания устанавливают фланцевые заглушки.
21.2.49 Трубы должны выдерживать заводское испытательное гидравлическое давление не менее 1,5 рабочего давления трубопровода. Зависимость заводского испытательного гидравлического давления от DN приведена в таблице 21.5.
|  
           DN, мм  |   
           Максимальное допустимое рабочее давление трубопровода, МПа, не более  |   
           Заводское испытательное гидравлическое давление, МПа, не менее  | 
|  
           От 80 до 200 включ.  |   
           6,4  |   
           9,6  | 
|  
           250  |   
           5,6  |   
           8,4  | 
|  
           300  |   
           5,4  |   
           8,1  | 
|  
           350  |   
           5,0  |   
           7,5  | 
|  
           От 400 до 500 включ.  |   
           4,0  |   
           6,0  | 
21.2.50 Раструбно-замковое соединение труб должно выдерживать заводское испытательное гидравлическое давление не менее заводского испытательного гидравлического давления труб и соединительных деталей соответствующего диаметра.
21.2.51 Испытание трубопровода осуществляется в присутствии приемочной комиссии в составе представителей заказчика, строительно-монтажной и эксплуатационной организаций. По результатам испытания составляют акт, форма которого представлена в приложении Е.
21.3 Монтаж средств электрохимической защиты
21.3.1 Требования ГОСТ 9.602 не распространяются на чугунные трубопроводы, поэтому выбор способа защиты от почвенной коррозии в каждом конкретном случае определяется на стадии проектирования.
21.3.2 Требования к сооружению средств ЭХЗ трубопроводов, а также требования к монтажу отдельных видов оборудования приведены в ГОСТ Р 51164, технической документации предприятий-изготовителей и [17].
21.3.3 При монтаже средств ЭХЗ необходимо учитывать, что приварка токоподводящих пластин непосредственно к телу чугунной трубы в трассовых условиях затруднена.
Монтаж токоотвода от труб ВЧШГ необходимо выполнять в виде стальных хомутов из полосовой стали шириной 40 мм.
21.3.4 Для установки токоотводящего хомута выполняют следующие операции:
- поверхность чугунной трубы обрабатывают шлифовальной машинкой до металлического блеска по всей окружности на ширину от 50 до 60 мм;
- очищают до металлического блеска внутреннюю поверхность стального хомута;
- на очищенную поверхность трубы шпателем наносят универсальную высокоэлектропроводную смазку толщиной слоя от 2 до 3 мм и шириной от 60 до 70 мм;
- устанавливают хомут и затягивают его до контакта с поверхностью трубы. Допускается постукивать молотком для обеспечения плотного контакта;
- поверхность хомута и трубы по обе стороны от хомута на расстоянии не менее 50 мм защищают изоляцией усиленного типа по ГОСТ 9.602.
21.3.5 В случае если труба не имеет внутренней изоляции, возможна непосредственная приварка катодных пластин к телу трубы в заводских условиях или специально обученными сварщиками в базовых или трассовых условиях при условии выполнения требований приложения А.
21.3.6 Требования к монтажу средств ЭХЗ на трубопроводах из ВЧШГ с участками из стальных труб и стальных элементов и узлов трубопроводов приведены в ГОСТ 9.602, ГОСТ Р 51164, СП 284.1325800 и [17].
21.4 Приемка трубопроводов в эксплуатацию
21.4.1 Приемку в эксплуатацию законченных строительством трубопроводов проводят в соответствии с требованиями СП 68.13330.
21.4.2 Приемка в эксплуатацию трубопроводов запрещается, если не полностью (согласно проекту) закончены строительством сопутствующие объекты, обеспечивающие безопасность людей, защиту окружающей среды и пожарную безопасность.
21.4.3 Приемка трубопроводов проводится приемочной комиссией. В состав приемочной комиссии входят представители заказчика, строительно-монтажной и эксплуатирующей организаций.
21.4.4 На каждый законченный строительством трубопровод подрядчик предъявляет приемочной комиссии полный комплект исполнительной документации:
- комплект рабочих чертежей на строительство предъявляемого к приемке объекта с надписями, сделанными лицами, ответственными за производство строительно-монтажных работ, о соответствии выполненных работ этим чертежам или внесенным в них проектной организацией изменениям;
- документы о качестве предприятий-изготовителей (их копии, извлечения из них, заверенные лицом, ответственным за строительство объекта) на трубы, материалы и детали;
- акт разбивки и передачи трассы (площадки) для трубопроводов;
- протоколы проверки качества сварных стыков (для стальных участков и элементов трубопроводов);
- копии аттестационных документов исполнителей;
- журнал сварки с указанием температуры окружающего воздуха на момент производства сварочных работ (для стальных участков и элементов трубопроводов);
- акты освидетельствования скрытых работ (приложение Ж);
- акты испытаний трубопроводов на прочность и герметичность;
- журнал учета работ (по требованию заказчика);
- другие необходимые документы.
21.4.5 Приемочной комиссией могут быть приняты в эксплуатацию одновременно один или несколько трубопроводов.
Если приемочной комиссии предъявляются для приемки одновременно несколько трубопроводов, то техническая документация может быть оформлена, как для одного объекта, с оформлением актов освидетельствования скрытых работ для каждого трубопровода.
21.4.6 Приемка законченного строительством объекта оформляется актом по форме приложения И.
21.4.7 Перед вводом в эксплуатацию на трубопроводы из ВЧШГ составляется паспорт по форме, соответствующей приложению К, в котором указываются параметры трубопровода (время ввода в действие, диаметр, материал ВЧШГ, тип соединений, тип изоляции, наличие ЭХЗ), сведения об очистке полости, об испытаниях, о повреждениях и ремонтах, об изменениях режима работы.
К паспорту должна быть приложена исполнительная схема трубопровода.
22.1 Общие требования
Эксплуатация, техническое обслуживание трубопровода, ремонт в процессе его эксплуатации должны осуществляться в соответствии с требованиями, изложенными в ГОСТ 18322, СП 284.1325800, с учетом свойств и особенностей труб из ВЧШГ и соединений (технологии ремонта, ЭХЗ, повышенные требования к сварочным работам) с раструбно-замковым соединением типа RJ.
В соответствии с требованиями ГОСТ 18322 эксплуатация трубопровода включает следующие работы:
- техническое обслуживание - комплекс операций по поддержанию работоспособности или исправности трубопровода при использовании по назначению;
- ремонт - комплекс операций по восстановлению исправности или работоспособности трубопровода, восстановления ресурса трубопровода и (или) его составных частей;
- капитальный ремонт - ремонт, выполняемый для восстановления исправности, полного или близкого к полному восстановлению ресурса трубопровода заменой или восстановлением любых его частей, включая базовые;
- средний ремонт - ремонт, выполняемый для восстановления исправности и частичного восстановления ресурса трубопровода заменой или восстановлением составных частей ограниченной номенклатуры и контролем технического состояния составных частей, выполняемым в объеме, установленном нормативными документами и технической документацией;
- текущий ремонт - ремонт, выполняемый для обеспечения или восстановления работоспособности трубопровода и состоящий в замене и (или) восстановлении отдельных частей.
При эксплуатации трубопроводов применяют техническое обслуживание с периодическим контролем. Контроль технического состояния выполняется с периодичностью и в объемах, установленных в нормативных документах или технической документации, или эксплуатационной документации.
У персонала, обслуживающего трубопроводы из ВЧШГ, должны быть в наличии схемы трубопроводов с указанием материала и диаметра труб, расположения арматуры и соединений типа RJ, паспорт трубопроводов, а также настоящий свод правил.
22.2 Обозначение трасс промысловых трубопроводов на местности
22.2.1 Трасса трубопровода на местности обозначается опознавательно-предупредительными знаками (пикетами) в виде столбиков со щитами-указателями, расположенными на высоте от 1,5 до 2 м от поверхности земли. Данные знаки устанавливаются в пределах прямой видимости через каждые 1000 м, а также на углах поворотов и пересечениях трассы с подземными и надземными коммуникациями.
22.2.2 Отметку трассы в местах изменения направления (поворота) под радиусом естественного изгиба проводят тремя указателями: в начале, центре и конце кривой.
22.2.3 При прохождении трассы трубопровода по территориям сельскохозяйственного назначения количество знаков может быть уменьшено, если их установка препятствует проведению сельскохозяйственных работ. Знаки в этом случае следует устанавливать за пределами посевных площадей по краям полей.
22.2.4 На щите-указателе должна быть приведена следующая информация:
- наименование трубопровода с указанием знака "ВЧШГ";
- местоположение оси трубопровода от основания знака;
- привязка знака к трассе (км);
- размеры охранной зоны трубопровода;
- телефоны и адрес организации, эксплуатирующей данный участок трубопровода.
22.2.5 Трасса трубопровода в местах переходов через автомобильные дороги и водные препятствия, у линейной арматуры и на опасных участках должна быть четко обозначена на местности постоянными предупреждающими знаками.
22.2.6 Участки трубопровода обозначаются двумя знаками, по одному с каждой стороны от трубопровода, по створу трассы:
- на пересечениях с автомобильными дорогами категорий I, II, III;
- переходах через крупные овраги при ширине более 50 м;
- переходах через каналы;
- переходах через реки с шириной зеркала воды в межень более 10 м.
22.2.7 Площадки обслуживания арматуры должны иметь ограждения и надписи с номерами согласно технологической схеме трубопровода.
22.2.8 Требования к видам знаков на переходах через автомобильные и железные дороги, правила их установки приведены в [2], [27], [28], ГОСТ 12.4.026 и других действующих нормативных документах предприятия-изготовителя.
22.2.9 При проведении ремонтных и других видов работ на трассе трубопровода обходчики и машины линейной службы должны быть обеспечены переносными предупредительными знаками для обозначения на местности аварийно-опасных участков трубопровода.
22.2.10 Все надземные переходы балочного типа должны быть оборудованы ограждениями, исключающими возможность доступа посторонних лиц и механизмов к трубопроводу, иметь защитное покрытие и предупредительный знак "Проход и проезд запрещены".
22.3 Охранные зоны трубопроводов
22.3.1 На всем протяжении трассы трубопровода, для обеспечения нормальных условий эксплуатации и исключения возможности повреждения трубопроводов, устанавливаются охранные зоны.
22.3.2 Охранные зоны устанавливаются вдоль трасс трубопроводов в виде участка земли, ограниченного условными линиями, проходящими в 25 метрах от оси трубопровода с каждой стороны. Земельные участки, входящие в охранные зоны трубопроводов, используются с соблюдением требований, установленных в [25].
22.4 Уход за трассой трубопроводов
22.4.1 На всех участках трубопровода должна быть обеспечена возможность подъезда к любой точке трубопровода для выполнения профилактических, ремонтных и аварийных работ.
22.4.2 Полоса земли шириной не менее 3 м от оси с каждой стороны трубопровода и обслуживающих его ЛЭП и линий связи должна периодически расчищаться от древесной и кустарниковой поросли для обеспечения видимости трассы с воздуха, свободного передвижения техники и пожаробезопасности.
Выполнение данных видов работ проводится в установленном порядке в соответствии с требованиями действующих нормативных документов, технической документации и внутренних документов эксплуатирующей организации.
22.4.3 По всей трассе подземного трубопровода должна поддерживаться проектная глубина заложения трубопровода в грунт. При возникновении оголений, провисаний, размывов участков трубопровода они должны быть отремонтированы в соответствии с требованиями действующих нормативных документов и настоящего свода правил.
Фактическая глубина заложения трубопровода должна контролироваться:
- визуально (наличие оголений, размывов) - два раза в год (весной, осенью);
- трассоискателем или шурфованием - один раз в 5 лет.
22.4.4 Приборный контроль проводится в характерных точках (например, низины, овраги).
22.4.5 По окончании работ, связанных с шурфованием, оголенные участки трубопровода должны быть засыпаны в соответствии с требованиями действующих нормативных документов и настоящего свода правил.
22.4.6 Для трубопроводов, проложенных в земляных насыпях через балки, овраги и ручьи, необходимо устройство водопропусков, обеспечивающих пропуск расчетного расхода воды.
Для защиты от размыва траншеи и оголения трубопровода необходимо предусматривать водостоки, крепление размываемых берегов водных преград.
22.4.7 В местах пересечения трубопроводами крутых склонов, промоин, оросительных каналов, кюветов следует предусматривать глиняные (или из другого подобного материала) перемычки, предотвращающие распространение воды по траншее и ее проток вдоль трубопровода.
Растущие овраги и промоины, расположенные в охранной зоне, которые при своем развитии могут достичь трубопровода, должны укрепляться.
22.5 Техническое обслуживание трубопроводов
Виды работ, выполняемых при техническом обслуживании трубопровода, приведены в таблице 22.1.
|  
           Объект  |   
           Наименование работ  |   
           Сроки выполнения  | 
|  
           Охранная зона трубопровода  |   
           Патрулирование трассы  |   
           Согласно графику  | 
|  
           Отвод ливневых и паводковых вод в целях предупреждения размыва трассы трубопровода  |   
           По мере необходимости  | |
|  
           Расчистка трассы трубопровода от древесно-кустарниковой растительности и сорной травы  |   
           По мере необходимости  | |
|  
           Трубопровод  |   
           Диагностирование  |   
           Согласно графику  | 
|  
           Осмотр надземных участков трубопровода, узлов арматуры, манометров, камер пуска и приема и других сооружений  |   
           При патрулировании  | |
|  
           Устранение незначительных размывов, оголений трубопровода  |   
           В течение недели с момента обнаружения  | |
|  
           Узлы задвижек  |   
           Осмотр, устранение недостатков, очистка от грязи  |   
           При патрулировании  | 
|  
           Окраска, скос сорной растительности, уборка сухостоя  |   
           По мере необходимости  | |
|  
           Подтяжка и набивка сальников  |   
           При необходимости  | |
|  
           Камеры запуска и приема средств очистки и диагностики  |   
           Осмотр, устранение выявленных недостатков  |   
           Один раз в квартал, дополнительно перед проведением очистки  | 
|  
           Окраска, скос сорной растительности, уборка сухостоя  |   
           По мере необходимости  | |
|  
           Подводные переходы  |   
           Проверка состояния берегоукрепления и водоотводных сооружений, исправление незначительных дефектов; обследование подводного участка (кроме переходов, построенных методом ГНБ): наличие, величина и координаты оголений, провисов трубопроводов; состояние балластировки и изоляции на размытых участках трубопроводов  |   
           Один раз в год, дополнительно после аномальных паводков  | 
|  
           Переходы через железные и автомобильные дороги  |   
           Осмотр, выявление просадки грунта и проверка целостности дорожного полотна  |   
           Два или четыре раза в год в зависимости от категории дороги  | 
|  
           Воздушные переходы  |   
           Осмотр, исправление незначительных дефектов  |   
           При патрулировании  | 
|  
           Линейные колодцы, ограждения и фундаменты под запорную арматуру  |   
           Осмотр, очистка колодцев и ограждений от мусора, грязи, снега, растительности  |   
           При патрулировании  | 
|  
           Средства ЭХЗ  |   
           Осмотр элементов ЭХЗ, измерение защитного потенциала на контрольных выводах КИП  |   
           Один раз в месяц  | 
|  
           Опознавательные знаки  |   
           Осмотр и исправление повреждений  |   
           При патрулировании  | 
Сроки выполнения работ по техническому обслуживанию определяются графиком, составленным в соответствии с требованиями действующих нормативных документов, технической документации и внутренних документов эксплуатирующей организации и утвержденным техническим руководителем эксплуатирующей организации.
22.6 Диагностика трубопроводов
22.6.1 Для оценки состояния трубопровода и возможности его дальнейшей эксплуатации необходимо проводить периодическое диагностирование.
22.6.2 Сроки диагностирования трубопроводов из ВЧШГ устанавливаются с учетом опыта эксплуатации, аварийности, но не реже одного раза в восемь лет.
22.6.3 Состав работ по диагностированию трубопровода и периодичность обследований определяет служба технического надзора эксплуатирующей организации.
Первое диагностирование вновь введенных в эксплуатацию трубопроводов проводят через год после начала эксплуатации.
По результатам диагностирования определяются:
- техническое состояние трубопровода, в том числе дефектные участки, характер дефектов, их размеры, причины появления; динамика развития дефектов, состояние изоляционного покрытия, состояние системы ЭХЗ;
- возможность и условия дальнейшей эксплуатации трубопровода, в том числе допустимые параметры эксплуатации трубопровода; компенсирующие мероприятия по торможению развития дефектов и ликвидации опасных из них, восстановлению системы ЭХЗ;
- остаточный ресурс трубопровода.
22.6.4 Работы по диагностическому обследованию выполняются силами эксплуатирующей организации (при наличии аттестованных лабораторий и персонала) или профильными организациями.
22.6.5 Для выполнения диагностического обследования трубопровода используют методики и аппаратуру, регламентированные для этих целей действующими нормативными документами и технической документацией.
22.6.6 Диагностирование состояния защитного покрытия трубопровода проводится в соответствии с требованиями ГОСТ Р 51164.
22.6.7 Определение дефектов изоляционного покрытия проводят по методике, изложенной в Н.4.3.
22.6.8 Толщину защитного покрытия определяют с помощью толщиномеров.
22.6.9 Адгезию покрытия к металлу труб измеряют с помощью адгезиметров.
22.6.10 Для диагностирования состояния основного металла труб и их соединений могут быть использованы общие и локальные методы неразрушающего контроля.
22.6.11 Акустико-эмиссионный метод контроля при диагностировании трубопроводов из ВЧШГ не применяется.
22.6.12 Локальная дефектоскопия осуществляется на дефектных участках, выявленных в результате наружного осмотра, и на контрольных отрезках, где наиболее вероятны коррозионные процессы.
22.6.13 Толщинометрию стенки труб с помощью ультразвукового толщиномера следует проводить по окружности трубы и вдоль нижней образующей трубы, где интенсивность коррозионных процессов максимальна.
22.6.14 Одним из методов диагностирования трубопровода является его обследование с помощью ВИС, которые позволяют фиксировать при прохождении внутри трубопровода его геометрические параметры (овальность, сужение, углы поворотов), механические дефекты (вмятины, гофры, царапины), коррозионные повреждения внутренней и наружной поверхностей металла труб, внутренние дефекты стенок трубопровода (поры, неметаллические включения).
22.6.15 В процессе подготовки трубопровода к внутритрубной инспекции проводят следующие организационно-технические мероприятия:
- проверяется состояние подъездных дорог к камерам запуска и приема средств очистки и диагностики;
- проверяется исправность камер запуска и приема средств очистки и диагностики;
- проверяется отсутствие жидкости в дренажных емкостях;
- проверяется отсутствие утечек в трубопроводе-обвязке камер запуска и приема средств очистки и диагностики;
- проверяется работоспособность линейной арматуры, обеспечивается ее полное открытие во время движения ВИС;
- проверяется наличие устойчивой связи с диспетчерской службой;
- определяются действия при возникновении внештатных ситуаций.
22.6.16 Перед проведением диагностических работ проводят очистку трубопровода и пропуск снаряда-калибра с оформлением акта о результатах преддиагностической очистки и готовности трубопровода к проведению внутритрубной диагностики.
Трубопровод может быть подвергнут внутритрубной инспекции, если минимальное проходное сечение трубопровода по результатам пропуска снаряда-калибра соответствует техническим требованиям на ВИС (как правило, не менее 85%).
22.6.17 На период проведения диагностических работ оформляется наряд-допуск.
22.6.18 Инспектирующая организация допускается к проведению диагностического обследования трубопровода с помощью ВИС при наличии:
- свидетельства об аттестации лаборатории на проведение данного вида работ;
- документа о подтверждении соответствия применяемого ВИС стандартам безопасности или свидетельства о взрывозащищенности электрооборудования на применяемые приборы;
- разрешения Федеральной службы по экологическому, технологическому и атомному надзору на применение ВИС в нефтяной и газовой промышленности;
- паспорта ВИС;
- протокола сдачи экзаменов по работе с комплексом ВИС лицами, участвующими в обследовании.
22.6.19 После извлечения ВИС из приемной камеры представители эксплуатирующей организации, ответственные за проведение диагностических работ, и профильной организации, осуществляющей диагностирование, проводят внешний осмотр ВИС и оформляют акт по результатам приема и осмотра диагностического прибора.
22.6.20 После пропуска и оформления акта приема ВИС профильная организация представляет технический отчет в срок, установленный договором и зависящий от типа ВИС.
22.6.21 В местах обнаружения аномалий при приборном обследовании, а также в местах, где обнаружены значительные дефекты при внутритрубной диагностике, проводят открытие шурфов в целях визуального и инструментального контроля поверхности труб, соединений, изоляционного покрытия в соответствии с приложением Н.
22.6.22 Длина шурфа должна быть такой, чтобы была возможность осмотреть и обследовать дефектный участок. При шурфовании необходимо принимать все меры предосторожности, исключающие механические повреждения трубопровода.
22.6.23 После шурфовых обследований устанавливается степень опасности появившихся на трубопроводе дефектов, принимается решение о возможности его дальнейшей эксплуатации, планируются мероприятия по повышению надежности участка трубопровода, устанавливаются приемлемые технологические режимы работы трубопровода.
22.6.24 Результаты диагностирования оформляют в виде отчета, где приводят подробные сведения об использованных методах и приборах, обнаруженные особенности и дефекты, оценку их опасности, выводы и рекомендации по дальнейшей эксплуатации трубопровода. В паспорте трубопровода делают отметку о выполненной диагностике с указанием участка, исполнителя, данных об отчете, содержащем результаты.
22.6.25 Накопленные данные о выявленных повреждениях труб являются важной информацией для анализа работы системы, определения численных показателей надежности трубопроводов, прогнозирования остаточного ресурса трубопровода.
22.7 Периодическая и преддиагностическая очистка трубопроводов
22.7.1 Очистка полости трубопровода проводится в целях поддержания его пропускной способности, удаления скоплений воды и внутренних отложений, а также в целях подготовки трубопровода к внутритрубной диагностике.
22.7.2 Периодичность и методы очистки трубопровода определяются (уточняются) по результатам предшествующих очисток в зависимости от количества и вида отложений, вынесенных из трубопровода.
22.7.3 Для очистки трубопроводов используются механические, химические, термические и комбинированные способы очистки.
Механические способы очистки:
- повышение скорости движения перекачиваемой жидкости;
- гидропневматический;
- пропуск гелевых скребков;
- пропуск механических очистных устройств.
22.7.4 Повышением скорости перекачки и гидропневматическим способом проводится очистка трубопровода от механических примесей. При гидропневматическом способе через трубопровод пропускается смесь воды и воздуха в соотношении 1:6 (на 1 м воды подается 6 м воздуха).
22.7.5 Гелевые скребки представляют собой пробки из вязкоупругих полимерных жидкостей. Для очистки трубопровода с помощью гелевого скребка наличие камер запуска и приема не требуется.
22.7.6 При наличии камеры запуска и приема средств очистки и диагностики трубопроводы могут очищаться также с помощью механических очистных устройств.
22.7.7 При механической очистке используются устройства, не нарушающие целостности внутреннего покрытия.
Применение металлических щеток при наличии внутреннего покрытия не допускается.
22.7.8 Очистка полости трубопровода с помощью механических устройств выполняется подготовленным персоналом согласно инструкции, которая предусматривает:
- организацию работ по пропуску очистных устройств;
- технологию пуска и приема очистных устройств;
- методы и средства контроля за прохождением очистных устройств;
- действия при возможных остановках очистных устройств;
- требования безопасности и противопожарные мероприятия;
- способы утилизации вынесенных при очистке загрязнений.
22.7.9 Используемые очистные устройства должны иметь полный комплект разрешительной и эксплуатационной документации, в том числе:
- документ, подтверждающий соответствие нормативным документам на очистные устройства;
- разрешение Федеральной службы по экологическому, технологическому и атомному надзору на применение;
- заключение о взрывобезопасности;
- паспорт;
- руководство по эксплуатации.
22.7.10 Проведение работ по очистке разрешается только при наличии наряда-допуска на проведение данного вида работ и под руководством ответственного работника эксплуатирующей организации.
22.7.11 Перед проведением очистки должны быть выполнены подготовительные работы, в том числе проверка:
- состояния подъездных дорог к камерам запуска и приема;
- исправности и готовности камер запуска и приема;
- отсутствия жидкости в дренажных емкостях;
- исправности линейных задвижек (обеспечивается их полное открытие во время движения очистного устройства);
- исправности манометров на линейной части трубопровода;
- нахождения сигнализаторов в рабочем положении;
- состояния очистного устройства и наличия документов к нему.
Лупинги, резервные нитки и перемычки между параллельными трубопроводами должны быть отключены от очищаемого трубопровода.
22.7.12 После проведения всех подготовительных работ составляется акт о готовности трубопровода к пропуску очистных устройств.
22.7.13 Очистку трубопровода разрешается проводить при наличии устойчивой связи между узлами пуска и приема очистного устройства и диспетчерской службой управления.
22.7.14 При проведении контрольной (первой) очистки трубопровода перед запуском основного очистного устройства рекомендуется провести предварительный пропуск мягкого поролонового поршня.
После извлечения поролонового поршня из камеры приема проводится анализ его состояния, по результатам которого принимается решение о возможности пропуска основного очистного устройства.
22.7.15 Пропуск очистного устройства проводится путем его прокачки транспортируемым продуктом.
Пропуск очистных устройств проводится при скоростях потока не ниже 0,3 м/с (более 1 км/ч).
Переключение технологических линий при запуске, пропуске и приеме очистных устройств выполняется персоналом только по указанию руководителя работ.
22.7.16 Во время очистных работ запрещается:
- проведение любых ремонтно-строительных работ в охранной зоне трубопровода;
- присутствие на площадках запуска и приема очистных устройств, задвижек трубопровода лиц, не участвующих в проведении очистных работ;
- переезд трассы трубопровода транспортом и механизмами.
22.7.17 Для удаления из трубопровода отложений парафина допускается применять химический, термический и комбинированный методы очистки.
22.7.18 При химическом методе проводится закачка в трубопровод химических реагентов, которые или снижают скорость отложений парафина (ингибиторы), или удаляют уже отложившийся парафин (растворители, диспергенты).
22.7.19 При термическом методе очистку трубопроводов от парафина проводят путем подачи пара от передвижных паровых установок через паровпускные стояки либо закачкой в трубопровод горячего теплоносителя с помощью агрегатов для депарафинизации.
В качестве теплоносителя применяют нефть, воду или водный раствор химических реагентов (при комбинированном методе).
22.7.20 После проведения очистки составляется акт по форме, соответствующей приложению Д или Л, и делают соответствующие записи в паспортах трубопровода и очистного устройства.
22.8 Испытания трубопроводов в процессе эксплуатации
22.8.1 Испытания на прочность и герметичность в процессе эксплуатации проводятся:
- после капитального ремонта с применением новых труб;
- после реконструкции;
- в случаях, когда трубопроводы не могут быть подвергнуты другим видам диагностических обследований.
22.8.2 Периодические испытания проводят под руководством лица, назначенного приказом в эксплуатирующей организации. На производство работ по испытанию трубопровода оформляется наряд-допуск.
22.8.3 При испытаниях устанавливают опасные зоны согласно требованиям раздела 21.
22.8.4 Испытания на прочность всех трубопроводов со сроком службы менее 20 лет проводятся давлением, равным 1,25 рабочего давления. При сроке службы свыше 20 лет снижение испытательного давления на каждый год составляет 3%.
Выкидные линии скважин и водоводы высокого давления испытывают в течение 6 ч.
Нефтесборные коллекторы, внутрипромысловые напорные нефтепроводы, нефтепроводы товарной нефти, водоводы низкого давления испытывают в течение 12 ч.
22.8.5 Для небольших месторождений, оснащенных однониточными трубопроводами, при невозможности длительных остановок трубопровода продолжительность испытаний на прочность и плотность может быть сокращена с соответствующим обоснованием и применением компенсирующих мероприятий.
22.8.6 После испытания на прочность проводят испытания на герметичность давлением, равным рабочему давлению, в течение 24 ч.
22.8.7 Результаты испытания оформляются актом (приложение Е) и вносят в паспорт трубопровода.
22.9 Защита трубопроводов от коррозии. Коррозионный мониторинг
22.9.1 Комплекс мероприятий по защите трубопроводов от коррозии разрабатывается проектной организацией и в общем случае включает применение:
- технологических методов;
- химических методов;
- ЭХЗ;
- защитных покрытий.
22.9.2 К технологическим методам защиты от коррозии относятся:
- поддержание в системе нефтесборных трубопроводов гидродинамического режима движения продукции скважин, препятствующего выпадению свободной воды из нефтяного потока, путем подбора оптимальных диаметров нефтесборных коллекторов;
- сброс избыточного количества свободной воды на кустах скважин для ее утилизации путем закачки в пласт;
- очистка трубопроводов от механических примесей (в том числе продуктов коррозии).
22.9.3 Для ограничения коррозионной агрессивности среды рекомендуется по возможности не допускать:
- совместный сбор продукции скважин, содержащей и не содержащей сероводород (если не проводится нейтрализация сероводорода);
- смешивание пластовой воды, содержащей сероводород, с водой, содержащей ионы железа (если не проводится нейтрализация сероводорода), кроме тех случаев, когда их совместная подготовка предусмотрена проектом;
- смешивание пластовых вод, содержащих сероводород, и сточных вод, содержащих кислород.
22.9.4 На месторождениях, в продукции которых отсутствует реликтовый сероводород, для предупреждения заражения продуктивных горизонтов СВБ и появления сероводорода биогенного происхождения при заводнении следует использовать источники водоснабжения, не содержащие СВБ. При отсутствии таковых должно проводиться обеззараживание воды бактерицидами.
22.9.5 В качестве химических методов защиты используют специальные химические реагенты: ингибиторы коррозии, бактерициды, поглотители кислорода, нейтрализаторы сероводорода.
22.9.6 Ингибиторной защите от внутренней коррозии подлежат трубопроводы, транспортирующие средне- и сильноагрессивные продукты по отношению к металлу труб ВЧШГ.
22.9.7 Ингибиторы коррозии подаются в трубопровод или систему трубопроводов с помощью установок дозирования реагентов в соответствии с технологическим регламентом.
22.9.8 Наружные изоляционные покрытия для защиты трубопроводов от внешней коррозии рассмотрены в 6.9.
22.9.9 Коррозионный мониторинг проводится в целях оценки текущего состояния трубопровода, своевременного обнаружения и классификации его повреждений, предупреждения и устранения негативных процессов, вызывающих ухудшение состояния трубопровода.
22.9.10 Основными задачами коррозионного мониторинга являются:
- контроль состава и степени агрессивности транспортируемой среды, изучение причин и механизмов коррозии;
- обоснование методов защиты трубопроводов от коррозии;
- контроль эффективности проводимых мероприятий по защите от коррозии.
22.9.11 Определение состава и агрессивности транспортируемой среды, подбор ингибиторов коррозии следует проводить на отобранных пробах транспортируемой продукции в профильных лабораториях.
22.9.12 Комплекс методов по определению скорости и механизмов коррозии необходимо подбирать в зависимости от особенностей технологического процесса и характера перекачиваемой по трубопроводу продукции.
22.9.13 Контроль скорости коррозии проводится с помощью устанавливаемых в трубопровод образцов-свидетелей (датчиков) следующими методами:
- гравиметрическим;
- электросопротивления;
- линейной поляризации.
22.9.14 Установку образцов-свидетелей (датчиков) проводят на коррозионно-опасных участках, определяемых по результатам расчетов, опыта эксплуатации, результатам диагностики и рекомендациям научно-исследовательских структур.
Кроме того, в трубопровод устанавливаются наземные и подземные вставки (контрольные катушки) не менее 1 шт. на один трубопровод с интервалом не более 5 км. При извлечении контрольной катушки определяют:
- наличие отложений на стенке вставки;
- наличие эрозионного и коррозионного износов на внутренней поверхности трубы.
22.9.15 Оценку эффективности используемого ингибитора коррозии проводят путем сравнения скоростей коррозии до и после подачи в систему ингибитора.
По результатам сравнения скоростей коррозии проводят корректировку дозировки ингибитора.
22.9.16 Скорость коррозии определяют по результатам внутритрубной диагностики, шурфовых обследований с применением методов неразрушающего контроля (ультразвуковая толщинометрия).
22.9.17 Накопленная и обработанная информация по коррозионному мониторингу служит для разработки и осуществления мероприятий, направленных на устранение или уменьшение воздействия негативных факторов, влияющих на состояние трубопровода.
23.1 Общие требования
Для своевременного ремонта трубопроводов эксплуатирующая организация должна иметь определенный запас труб и изделий (аварийный запас). Аварийный запас включает:
- трубы в количестве 1% протяженности трубопроводов, но не менее двух труб;
- отводы, тройники, концевые элементы - не менее 10% их количества, установленного в трубопроводах, но не менее одного фитинга каждого вида или конструкции;
- свертная муфта, изготовленная согласно ГОСТ Р 57430, - 1 шт. на 1 км трубопровода;
- компенсационный двойной раструб, изготовленный согласно ГОСТ Р 57430, - 1 шт. на 1 км трубопровода;
- патрубок фланец - раструб, изготовленный согласно ГОСТ Р 57430, - 2 шт. на 1 км трубопровода;
- надвижная муфта, изготовленная согласно ГОСТ Р 57430, - 2 шт. на 1 км трубопровода;
- патрубок раструб - гладкий конец с переходом на сталь, изготовленный согласно ГОСТ Р 57430, - 2 шт. на 1 км трубопровода;
- электроды для сварки чугуна на никелевой или железоникелевой основе.
Аварийный запас постоянно обновляется из новых поступлений, а хранившиеся трубы и изделия передаются на монтаж трубопровода.
Ремонт участков трубопроводов по характеру выполняемых работ подразделяется на текущий, капитальный и аварийный.
Текущий ремонт осуществляется в процессе эксплуатации трубопровода и заключается в своевременно проводимых работах по предупреждению преждевременного износа линейной части и сооружений трубопровода, по устранению мелких повреждений и неисправностей.
Капитальный ремонт проводится при достижении предельных значений износа линейной части и сооружений трубопровода и связан с полной разборкой, восстановлением или заменой изношенных, неисправных элементов трубопровода.
Аварийный ремонт проводят в целях ликвидации отказов, вызванных нарушением герметичности трубопровода, его закупоркой либо неисправностью запорно-регулирующей арматуры.
Объемы ремонтных работ на трубопроводах и сроки их выполнения определяются по результатам осмотров, диагностических обследований, по прогнозируемым режимам транспортировки, установленным рабочим давлениям в соответствии с местными условиями и требованиями безопасности.
Руководитель ремонтных работ несет ответственность за организацию работ и обеспечение необходимым оборудованием, механизмами, инструментом, приспособлениями, КИПиА, материалами, транспортными средствами, двусторонней связью, средствами индивидуальной и коллективной защиты, противопожарными и спасательными средствами, знаками безопасности и плакатами, а также средствами оказания доврачебной помощи.
Работы, связанные с возможным выделением взрывоопасных веществ в количестве, способном создать взрывоопасную концентрацию, необходимо выполнять с применением специального оборудования, инструмента, КИПиА во взрывозащищенном исполнении, соответствующем категории и группе взрывоопасной смеси, а также инструмента и приспособлений, не дающих искр.
На используемые для выполнения ремонтных работ материалы и изделия должны быть документы (паспорта, документы, подтверждающие соответствие нормативным документам), удостоверяющие их качество и соответствие условиям применения.
23.2 Текущий ремонт
23.2.1 Текущий ремонт линейной части трубопровода выполняется, как правило, совместно с техническим обслуживанием трубопровода по утвержденному графику.
23.2.2 Текущий ремонт линейной части и сооружений трубопровода выполняется силами и средствами аварийно-восстановительных бригад с привлечением, при необходимости, профильных подразделений и служб.
23.2.3 Текущий ремонт подразделяется:
- на профилактический, объем и сроки выполнения которого планируются заранее;
- непредвиденный, направленный на устранение выявленных в процессе эксплуатации неисправностей и выполняемый в срочном порядке.
23.2.4 Основные виды работ при текущем ремонте приведены в таблице 23.1.
|  
           Объект  |   
           Наименование работ  | 
|  
           На всех объектах  |   
           Все виды работ по техническому обслуживанию (см. 22.5)  | 
|  
           Охранная зона трубопровода  |   
           Очистка от древесной и кустарниковой поросли. Устройство и очистка водоотводных канав. Ликвидация мелких повреждений земляного покрова над трубопроводом  | 
|  
           Линейная часть трубопровода  |   
           Замена дефектных участков трубопровода. Исправление противокоррозионной изоляции в местах выхода трубопровода из земли. Ремонт изоляции после шурфовых обследований. Устранение размывов, оголений трубопровода. Проверка фланцевых соединений, крепежа, уплотнительных колец. Очистка внутренней полости трубопровода от АСПО, механических примесей, водных скоплений. Окраска надземных участков трубопроводов  | 
|  
           Узлы задвижек  |   
           Устранение мелких повреждений, набивка сальников, смазка, покраска  | 
|  
           Камеры запуска и приема средств очистки и диагностики  |   
           Замена уплотняющего элемента концевого затвора, опорожнение дренажной емкости, покраска  | 
|  
           Средства ЭХЗ  |   
           Текущий ремонт согласно внутреннему документу, принятому в эксплуатирующей организации  | 
|  
           Подводные переходы  |   
           Засыпка оголенных участков, ремонт берегоукрепления, ремонт указательных знаков  | 
|  
           Переходы через железные и автомобильные дороги  |   
           Ремонт полотна дороги, уплотнений на концах защитного кожуха  | 
|  
           Воздушные переходы  |   
           Ремонт водоотводных сооружений, ликвидация размывов. Нивелировка трубопровода, проверка опор, траверс. Окраска трубопроводов  | 
|  
           Линейные колодцы, ограждения и фундаменты запорной арматуры  |   
           Ремонт колодцев, ограждений и фундаментов запорной арматуры  | 
|  
           Опознавательные знаки  |   
           Ремонт или замена столбиков и указателей, покраска и восстановление надписей  | 
23.3 Капитальный ремонт
23.3.1 Капитальный ремонт трубопроводов выполняется с привлечением сторонних профильных организаций.
23.3.2 Виды работ, выполняемых при капитальном ремонте трубопровода, приведены в таблице 23.2.
|  
           Объект  |   
           Наименование работ  | 
|  
           На всех объектах  |   
           Все виды работы по текущему ремонту  | 
|  
           Линейная часть трубопровода  |   
           Вскрытие траншей подземных трубопроводов, осмотр и частичная замена изоляции. Ремонт или замена дефектных участков. Замена фланцевых соединений, кронштейнов, опор и хомутов с последующим креплением к ним трубопроводов. Продувка или промывка, испытание трубопровода на прочность и герметичность  | 
|  
           Узлы задвижек  |   
           Замена дефектных деталей и испытание. Электрификация задвижек  | 
|  
           Подводные переходы  |   
           Берегоукрепительные и дноукрепительные работы  | 
|  
           Переходы через железные и автомобильные дороги  |   
           Замена защитных кожухов  | 
|  
           Линейные колодцы, ограждения и фундаменты узлов запорной арматуры  |   
           Ремонт колодцев, ограждений и фундаментов запорной арматуры  | 
|  
           Средства ЭХЗ  |   
           Требования к выполнению объемов работ по капитальному ремонту приведены в [22] или другой документации, принятой в организации  | 
23.3.3 Перед проведением ремонтных работ трубопровод должен быть опорожнен.
Участок трубопровода, подлежащий ремонту, должен быть отсечен задвижками и заглушками от других участков трубопровода, перемычек и лупингов, аппаратов и оборудования.
23.3.4 При производстве капитального ремонта линейной части трубопроводов выполняются следующие виды работ:
- подготовительные;
- погрузочно-разгрузочные;
- транспортные;
- земляные;
- сборочно-монтажные (на участках из ВЧШГ) и сварочно-монтажные (на стальных элементах трубопровода);
- изоляционные и укладочные;
- контроль качества выполненных работ.
23.3.5 При проведении подготовительных работ необходимо:
- определить положение трубопровода с помощью трассоискателя;
- результаты измерения глубины нанести на вешки, которые следует забить по оси трубопровода через каждые 50 м на прямолинейных участках, а на участках с малой глубиной залегания или сильно пересеченным микрорельефом - через 25 м;
- провести планировку полосы ремонтируемого трубопровода бульдозером.
23.3.6 Особое внимание и повышенные требования необходимо предъявлять к ремонту на параллельных нитках и пересечениях трубопроводов с подземными и надземными коммуникациями.
При проведении вскрышных работ ось параллельного трубопровода должна быть отмечена вешками, а при подходе к пересечению трубопроводов механизированная выемка грунта должна быть прекращена на расстоянии не менее 1 м до оси пересекаемого трубопровода. Ремонтные работы должны выполняться в присутствии представителя эксплуатирующей организации параллельной или пересекаемой коммуникации.
24.1 Переходы через дороги участков трубопроводов
24.1.1 Способы и сроки производства работ по сооружению переходов под автомобильными и железными дорогами должны быть согласованы эксплуатирующими организациями.
В зависимости от интенсивности движения, категории дорог, параметров трубопровода, грунтовых условий и требований технических условий эксплуатирующих организаций укладка участков трубопроводов может осуществляться следующими способами:
- открытым (траншейным), при котором защитный футляр укладывается в траншею, устроенную в насыпи дороги, с временным перекрытием движения транспорта или без перекрытия движения с устройством объезда; затем рабочая трубная плеть протаскивается через защитный футляр, укладка защитного футляра может проводиться совместно с трубной плетью с бермы траншеи;
- закрытым, без перекрытия движения транспорта; при этом для укладки защитного футляра через дороги применяются методы бестраншейной проходки.
24.1.2 Открытый способ может быть использован там, где имеется возможность временно прекратить движение транспорта или устроить временные объезды, то есть на дорогах с низкой интенсивностью движения.
24.1.3 При строительстве переходов через автомобильные дороги открытым способом необходимо оградить место производства работ и установить соответствующие предупреждающие, указательные и дорожные знаки.
24.1.4 Ширина полосы вскрытия покрытия автомобильной дороги должна быть больше ширины траншеи по верху 0,3 - 0,4 м.
При наличии неустойчивых грунтов необходимо по мере разработки траншеи ее стенки крепить досками или инвентарными щитами.
24.1.5 Закрытый способ (бестраншейная проходка) может применяться без ограничений, то есть независимо от категории дорог, интенсивности движения транспорта, категории грунтов и параметров трубопровода.
24.1.6 При закрытом способе прокладки кожухов (футляров) применяют три способа проходки: прокол, горизонтальное бурение и продавливание.
24.1.7 Прокол применяется в мягких грунтах. Этот метод не рекомендуется применять при неглубоком заложении (менее 2 м) защитного футляра во избежание образования вертикального выпора грунта и нарушения полотна дороги.
24.1.8 Горизонтальное бурение применяется в грунтах категорий I - IV. Этот метод не рекомендуется применять на слабых (водонасыщенных и сыпучих) грунтах во избежание просадки дорожного полотна.
24.1.9 Продавливание является наиболее универсальным способом прокладки кожухов и наилучшим образом обеспечивает сохранность дорожных насыпи и полотна.
24.1.10 Размеры рабочего котлована при закрытом способе прокладки выбираются в зависимости от параметров трубопровода, глубины его заложения, вида применяемого оборудования и длины перехода через дорогу. Ширина котлована должна обеспечивать безопасное размещение людей, обслуживающих проходческое оборудование; в котловане устанавливают лестницу для подъема и спуска людей. При неустойчивых грунтах необходимо укрепить стенки котлована; при наличии воды - устроить водосборный приямок, откуда по мере накопления удаляют воду.
24.1.11 Сборку и сварку защитных футляров необходимо проводить с помощью центраторов. Торцы свариваемых труб должны быть перпендикулярны к их осям; искривление оси защитного футляра не допускается. Кольцевые стыки должны быть проварены на полную толщину стенки труб сплошным швом. При прокладке защитного футляра под дорогами необходимо контролировать глубину заложения футляра и его положение в горизонтальной плоскости с учетом допускаемых отклонений. Отклонение оси защитного футляра от проектного положения по вертикали и по горизонтали не должно превышать 1% его длины.
24.1.12 При протаскивании рабочей плети в защитный футляр наружная поверхность трубы (изоляционное покрытие) должна быть защищена от повреждений путем закрепления на ней опорно-центрирующих устройств из полимерных (диэлектрических) материалов.
24.1.13 Если проектом предусмотрена прокладка кабеля связи внутри защитного футляра, то трубы для этого кабеля прикрепляются к трубной плети и протаскиваются сквозь защитный футляр совместно с ней.
24.1.14 Перед началом работ необходимо уточнить фактическое положение подземных коммуникаций, проложенных вдоль дороги, и принять меры к защите их в период производства работ.
24.1.15 При наличии высоких грунтовых вод во избежание осадки земляного полотна или выноса грунта подземными водами необходимо до начала земляных работ осушить участок перехода методом открытого водоотлива или закрытого водопонижения.
24.1.16 В случае задержки протаскивания трубной плети по каким-либо причинам более чем на 2 сут, концы кожуха необходимо герметизировать приваркой заглушек.
24.1.17 Торцевые полости между защитным футляром и трубопроводом должны быть закрыты концевыми эластичными манжетами. Концевые манжеты должны быть защищены от механических повреждений грунтом засыпки с помощью защитных конструкций.
24.1.18 Герметичность межтрубного пространства следует проверять после установки концевых манжет сжатым воздухом давлением 0,01 МПа в течение 6 ч. Потеря давления в результате изменения температуры воздуха не должна превышать 1%.
24.2 Подводные переходы участков трубопроводов
24.2.1 Строительство переходов трубопроводов через водные преграды должно выполняться профильными строительными организациями.
24.2.2 Строительство участков трубопроводов через водные преграды может осуществляться:
- открытым способом - с укладкой участков трубопроводов в подводные и береговые траншеи;
- закрытым способом - с протаскиванием трубопроводов в наклонные скважины, выполненные методом ГНБ.
24.2.3 При применении способа строительства переходов с использованием метода ГНБ скважин должны проводиться дополнительные гидрогеологические изыскания.
24.2.4 До начала строительства подводных переходов должны быть выполнены следующие работы:
- передача-приемка створов подводных переходов;
- установка и сохранение опорной геодезической сети на весь период строительства переходов;
- установка временных водомерных постов;
- строительство временных сооружений производственного, бытового и хозяйственного назначения;
- строительство подъездных путей и причальных сооружений к переходам с созданием служб по их поддержанию в рабочем состоянии;
- промеры глубин водоема и определение соответствия фактического профиля дна проектному;
- обследование дна реки (водоема) в границах проектной ширины подводной траншеи (поверху) для выявления случайных препятствий, удаление их в случае обнаружения.
24.2.5 Перед началом подводных земляных работ строительная организация должна оповестить о начале этих работ все заинтересованные местные организации, обеспечивающие эксплуатацию водных путей и различных речных сооружений, органы охраны водной среды и другие службы контроля.
24.2.6 Разработка, транспортирование грунта и складирование его в подводные и береговые отвалы баржами и путем рефулирования земснарядами, засыпка подводных траншей должны выполняться в соответствии с проектом производства работ.
Разработка и засыпка траншей на береговых участках должна выполняться сухопутной землеройной строительной техникой в соответствии с предварительной разбивкой и обозначением вешками границ срезки грунта и расположения отвалов в строгом соответствии с проектом производства работ.
24.2.7 Перед укладкой трубопровода в предварительно подготовленную подводную траншею строительной организацией при участии представителя технического надзора заказчика должна быть проведена проверка отметок продольного профиля траншеи на соответствие проектным. Недоборы грунта по глубине и ширине траншеи не допускаются. Переборы грунта в основании траншеи должны соответствовать требованиям СП 45.13330.
24.2.8 Разработка, транспортирование грунта и складирование его в подводные и береговые отвалы баржами и путем рефулирования земснарядами не должны мешать судоходству, нарушать установившийся режим потока, вызывать его сильное загрязнение и нарушать экологическую ситуацию в районе перехода.
24.2.9 Укладка подводного кабеля связи в общей траншее с подводным трубопроводом проводится на уровне нижней образующей трубопровода после его укладки. Кабель укладывается на расстоянии не менее 0,5 м от боковой стенки трубопровода (ниже по течению реки), если другие требования не оговорены проектом.
24.2.10 Балластировка подводных переходов осуществляется одиночными кольцевыми пригрузами (чугунными, железобетонными) или установкой сплошного покрытия из сборных кольцевых железобетонных утяжелителей по всей длине укладываемого участка трубопровода, за исключением участков раструбов на трубах.
Установка кольцевых балластирующих грузов на раструбно-замковое соединение типа RJ не допускается.
24.2.11 Укладка подводных трубопроводов не допускается во время паводков, весеннего ледохода и осеннего ледостава.
24.2.12 Перед испытанием уложенного подводного трубопровода необходима проверка его положения на дне подводной траншеи. Имеющие место провисания участков трубопровода должны быть устранены до испытания путем намыва или отсыпки грунта.
24.2.13 Берегоукрепительные работы выше и ниже уровня воды с применением различных конструктивных элементов следует выполнять в меженный период до начала ледостава.
24.2.14 До начала строительно-монтажных работ строительный подрядчик должен разработать и согласовать с заказчиком проект производства буровых работ как отдельный проект производства работ на специальные виды работ.
24.3 Переходы участков трубопроводов методом горизонтального направленного бурения
24.3.1 Сущность метода состоит в использовании специальных буровых станков (буров, штанг), которые осуществляют предварительное (пилотное) бурение по заранее рассчитанной траектории с последующим расширением скважины и протаскиванием трубопровода в образовавшуюся полость. При проведении работ следует руководствоваться требованиями СП 66.13330 и СП 341.1325800.
24.3.2 Прокладка трубопровода по технологии ГНБ осуществляется в три этапа:
- бурение пилотной скважины по заданной проектом траектории;
- последовательное расширение скважины;
- протаскивание участка трубопровода.
24.3.3 Для бестраншейной прокладки участков трубопроводов методом ГНБ разрабатывается отдельный проект производства работ. Следует учитывать инженерно-геологические условия участка и параметры трубопровода.
Трасса проектируемого участка трубопровода бестраншейной прокладки методом ГНБ может быть криволинейного очертания как в плане, так и в профиле в пределах допустимого радиуса изгиба буровых штанг.
Минимальная глубина заложения труб из ВЧШГ из условия прочности трубопровода ограничена минимальным расстоянием от поверхности земли до шелыги прокладываемого трубопровода в устойчивых грунтах не менее двух диаметров трубопровода, в неустойчивых грунтах - не менее трех диаметров трубопровода, но в любом случае должна быть не менее глубины промерзания грунтов и соответствовать требованиям действующих нормативных документов и технической документации. Максимальная глубина заложения трубопровода, уложенного методом ГНБ, должна быть не более 20 м в нижней точки.
Радиусы кривизны трассы (скважины) должны быть не менее значений, указанных в таблице 24.1 (с учетом данных таблицы 6.4).
|  
           DN, мм  |   
           Максимально допустимый угол поворота оси труб в соединении, градус  |   
           Максимальное тяговое усилие, кН  |   
           Минимально допустимый радиус закругления трубопровода при длине труб 6 м, м  | 
|  
           80  |   
           5  |   
           70  |   
           69  | 
|  
           100  |   
           5  |   
           87  |   
           69  | 
|  
           125  |   
           5  |   
           100  |   
           69  | 
|  
           150  |   
           5  |   
           136  |   
           69  | 
|  
           200  |   
           4  |   
           201  |   
           86  | 
|  
           250  |   
           4  |   
           270  |   
           86  | 
|  
           300  |   
           4  |   
           340  |   
           86  | 
|  
           350  |   
           3  |   
           430  |   
           115  | 
|  
           400  |   
           3  |   
           510  |   
           115  | 
|  
           500  |   
           3  |   
           670  |   
           115  | 
24.3.4 На трубопроводы, проложенные методом ГНБ, действуют следующие нагрузки:
- внешние нагрузки от действия грунта, собственный вес трубы с продуктом перекачки;
- внутреннее давление жидкой среды;
- осевые нагрузки при протаскивании участка трубопровода в скважину.
24.3.5 Воздействие грунта складывается из двух частей:
1) среднее давление грунта, которое определяется по формуле
σср=γгрhср, (24.1)
где hср - глубина трубопровода по оси, м;
γгр - удельный вес грунта в естественном состоянии, Н/м3;
2) поперечное давление грунта сверху qгр, которое определяется с учетом возможного образования свода обрушения в следующем порядке:
- определяют глубину трубопровода по оси hср и внутренний угол трения грунта φтр;
- вычисляют величину поперечного давления грунта сверху по формуле
qгр(2)=γгрDhср; (24.2)
- выполняют расчеты:
; (24.3)
d=D[1+tg2(β)]; (24.4)
; (24.5)
qгр(4)=γгрDb4; (24.6)
- определяют поперечное давление грунта как меньшее из двух величин:
qгр = min{qгр(2)qгр(4)}. (24.7)
24.3.6 Расчет допустимой осевой нагрузки для трубопровода с соединениями типа RJ проводят по схеме среза приварного валика на гладком конце трубы при продольном перемещении стопоров. Величину расчетного сопротивления срезу σср для труб от DN 80 до DN 500 принимают 240 МПа.
Допустимые осевые нагрузки трубопроводов с соединениями типа RJ при осевом нагружении Qсо приведены в таблице 24.2.
|  
           DN, мм  |   
           80  |   
           100  |   
           125  |   
           150  |   
           200  |   
           250  |   
           300  |   
           350  |   
           400  |   
           500  | 
|  
           Qсо, кН  |   
           240  |   
           260  |   
           300  |   
           380  |   
           580  |   
           720  |   
           860  |   
           940  |   
           1020  |   
           1180  | 
При этом коэффициенты запаса прочности, равные отношению Qсо/Qм, находятся в пределах 2,0 - 3,5 (Qм - усилие протаскивания, развиваемое машинами ГНБ).
24.3.7 При бестраншейной прокладке трубопроводов из ВЧШГ должен соблюдаться технологический регламент, включающий подготовительные, вспомогательные и основные работы, состав и очередность которых должны увязываться с конкретными условиями производства работ.
24.3.8 До начала процесса бурения выполняются следующие операции:
- проводится контроль исправности и работоспособности локационной системы;
- датчики бурильной головки выбираются в соответствии с проектной глубиной бурения и необходимой точностью прокладки трубопровода;
- подготовляются место стоянки буровой установки с укладкой матов заземления и место приема выхода бурильной головки в заданной проектом точке на поверхности с устройством соответствующих приямков;
- разрабатываются проекты производства работ, технологические карты и инструкции по применению комплекта бурового оборудования;
- после завершения работ по прокладке трубопровода строительная площадка освобождается от временных сооружений и благоустраивается в соответствии с проектом.
24.3.9 Перед началом монтажных работ внутренняя поверхность труб (особенно кольцевой паз для уплотнительного кольца) и наружная поверхность гладкого конца труб должны быть очищены от посторонних предметов и возможных загрязнений.
24.3.10 При производстве работ методом ГНБ необходимо располагать достаточно большой площадью, чтобы можно было расположить трубы и предварительно монтировать трубопровод в непосредственной близости от направляющей скважины.
Сборку труб с раструбными соединениями типа RJ проводят в соответствии с требованиями раздела 15.
24.3.11 Диаметры расширенных пилотных скважин DM, через которые протягиваются трубы с раструбами типа RJ, должны быть не менее указанных в таблице 24.3.
|  
           DN, мм  |   
           80  |   
           100  |   
           125  |   
           150  |   
           200  |   
           250  |   
           300  |   
           400  |   
           500  | 
|  
           DM, мм  |   
           210  |   
           230  |   
           270  |   
           300  |   
           380  |   
           450  |   
           520  |   
           670  |   
           800  | 
24.3.12 Технология бестраншейной прокладки и тип механизированной управляемой установки выбираются на стадии технико-экономического обоснования проекта.
24.3.13 Для технологии ГНБ требуется устройство стартовых и приемных котлованов расчетной вместимости для своевременного отбора отработанной буровой суспензии насосами для перекачки ила и транспортирования ее на регенерацию.
Расстояние между стартовым и приемным котлованами составляет от 300 до 400 м.
24.3.14 Стартовые и приемные котлованы рекомендуется размещать в местах, свободных от застройки, от зеленых насаждений и подземных коммуникаций. Стартовый котлован оборудуется грузоподъемными устройствами для доставки элементов трубопровода и монтажа плети.
24.3.15 Размеры в плане и конструктивно-технологические решения стартовых и приемных котлованов принимаются в зависимости от грунтовых условий, глубины заложения и параметров трубопровода, длины участка ГНБ.
В зависимости от расчетного диаметра и длины участка бестраншейной прокладки выбирают модель установки ГНБ и ее рабочие характеристики.
24.3.16 Бурение пилотной скважины осуществляется с помощью породоразрушающего инструмента - буровой головки со скосом в передней части и встроенным передатчиком сигнала местонахождения буровой головки.
24.3.17 Контроль местоположения буровой головки осуществляется с помощью приемного устройства - локатора, который принимает и обрабатывает сигналы встроенного в корпус буровой головки передатчика.
24.3.18 Проход пилотной скважины завершается выходом буровой головки в проектной точке.
24.3.19 Расширение скважины осуществляется после завершения пилотного бурения. При этом буровая головка отсоединяется от буровых штанг и вместо нее присоединяется риммер - расширитель обратного действия. Приложением тягового усилия с одновременным вращением риммер протаскивается через створ скважины в направлении буровой установки, расширяя пилотную скважину до необходимого для протаскивания трубопровода диаметра. Для обеспечения беспрепятственного протаскивания трубопровода через расширенную скважину ее диаметр должен на 25% - 30% превышать диаметр трубопровода.
24.3.20 На противоположной от буровой установки стороне скважины располагается готовая к протаскиванию плеть трубопровода.
К переднему концу плети (гладкому концу первой трубы) крепится приспособление для протаскивания труб с воспринимающим тяговое усилие вертлюгом и риммером. Вертлюг вращается с буровой нитью и риммером и в то же время не передает вращательное движение на трубопровод. Таким образом, буровая установка затягивает в скважину плеть протягиваемого трубопровода по проектной траектории.
Допустимые тяговые усилия протяжки плети труб указаны в таблице 24.1 в зависимости от диаметра труб.
24.3.21 Рекомендуемое приспособление для протаскивания труб с соединением типа RJ показано на рисунке 24.1, изготовляется из трубы с соединением типа RJ с тягой для присоединения к вертлюгу.

Рисунок 24.1 - Приспособление для протаскивания трубопровода в скважину
24.3.22 При прокладке трубопровода методом ГНБ особое значение имеет сохранения прохода скважины в незакупоренном состоянии до завершения протаскивания трубопровода. Для этого должно быть максимально сокращено время от проходки скважины до протаскивания в нее трубопровода.
24.3.23 В качестве бурового раствора может применяться вода, однако в большинстве случаев используются растворы на основе бентонита или полимеров. Бентонит - минерал природного происхождения, который при смешивании с водой создает глиняную массу. Нормальный буровой раствор представляет собой суспензию из воды и бентонита (высококачественной глины), а также, при случае необходимости, натуральных присадок, улучшающих технологические свойства.
24.3.24 Функции бурового раствора, используемого при укладке трубопровода методом ГНБ:
- смазка образующейся скважины для уменьшения трения между буровой головкой и стенкой скважины;
- укрепление скважины в рыхлой или мягкой почве за счет создания фильтра с низкой водопроницаемостью и положительного гидравлического давления на стенки скважины, предотвращение обвалов;
- предотвращение образования пластовых жидкостей (например, грунтовых вод) и попадания их в скважину;
- удаление отходов бурения;
- увлажнение режущей головки во время бурения;
- охлаждение инструмента бурения скважин.
24.3.25 По завершении буровых работ оставшийся буровой раствор может быть использован на других объектах ГНБ для улучшения структуры почв (например, песчаных) или утилизирован.
24.3.26 Этапы и параметры гидравлического испытания участка трубопровода, прокладываемого методом ГНБ, назначаются в соответствии с разделом 21.
24.3.27 Перед предварительными испытаниями для предотвращения смещения труб в плетях от ударного воздействия внутреннего давления (в случае разрыва) необходимо устанавливать в районах расположения раструбов прижимные хомуты, бетонные или грунтозаполняемые пригрузы. Прижимные хомуты крепятся к парным ввертываемым в землю металлическим сваям, устанавливаемым на расстоянии 12 - 18 м друг от друга.
24.3.28 Величину испытательного гидравлического давления Pисп при гидравлических испытаниях устанавливают проектом с учетом рабочего давления.
24.3.29 Испытания трубопроводов с внутренним цементно-песчаным покрытием следует начинать после заполнения его водой и предварительной выдержки под давлением (приблизительно 0,2 МПа) в течение 1 сут (для пропитки пор цементного раствора).
24.3.30 Требования к гидравлическим испытаниям участка трубопровода приведены в СП 284.1325800 (пункт 21.2).
24.3.31 Участки трубопроводов считаются выдержавшими гидравлическое испытание, если не произойдет разрыва и деформации труб, нарушения стыковых соединений, при осмотре трубопровода не будет обнаружено утечек воды, приборы не зафиксируют снижения испытательного давления.
25.1 Консервация трубопроводов заключается в их переводе на временное сохранение в неработающем состоянии (до принятия решения о дальнейшем использовании) с применением мер по защите от наружной и внутренней коррозии. Меры по защите от наружной и внутренней коррозии приведены в [22].
25.2 На выполнение работ по консервации трубопровода разрабатывают проектную документацию и проект производства работ.
25.3 Проектная документация должна соответствовать требованиям постановления [9] и получить положительное заключение экспертизы промышленной безопасности.
25.4 Проект производства работ на консервацию трубопроводов должен включать:
- технологическую схему трубопровода;
- данные о диаметрах и толщинах стенок;
- продольный профиль трассы;
- данные об аварийности из-за внутренней коррозии;
- планируемый срок консервации;
- оценку необходимой защитной способности химических реагентов;
- результаты выбора эффективных химических реагентов на основании лабораторных испытаний с указанием основных физико-химических свойств этих реагентов, нормативных документов или технических условий на них;
- расчет необходимого количества реагентов и технологию их применения;
- инструкцию по техническому обслуживанию законсервированных трубопроводов;
- порядок расконсервации и ввода в эксплуатацию;
- раздел по технике безопасности и охране окружающей среды при выполнении работ по консервации.
25.5 При консервации с опорожнением полости участков трубопроводов необходимо выбрать места приема жидкой среды и загрязнений, размещения дополнительной запорно-регулирующей арматуры, заглушек, вспомогательных трубопроводов, емкостей для консервантов (ингибированной жидкости) и другого оборудования.
25.6 Планируемый срок консервации трубопровода не должен превышать остаточный ресурс работы трубопровода.
25.7 Перед проведением консервации следует провести диагностирование трубопровода и всех узлов и элементов на данном участке.
25.8 У консервируемых на срок более пяти лет подземных трубопроводов, не имеющих средств ЭХЗ, необходимо обследовать наружное коррозионное состояние трубопроводов и, в случае неблагоприятных результатов, спроектировать и установить средства ЭХЗ.
25.9 По результатам обследования трубопровода составляется и прилагается к его паспорту акт с заключением о готовности трубопровода к консервации или с рекомендациями по устранению выявленных дефектов.
25.10 При консервации участка трубопровода полость трубопровода опорожняют от рабочей жидкой среды и замещают ее ингибированной жидкостью или товарной нефтью.
25.11 Опорожнение трубопровода проводят свободным сливом либо откачкой в другие трубопроводы через пониженные места трассы.
25.12 При консервации трубопроводов ингибированной жидкостью используют ингибиторы коррозии и биоциды.
25.13 Трубопроводы и их отдельные участки, законсервированные разными методами, перекрывают (отсекают) арматурой или заглушками.
Для предотвращения утечек консерванта трубопровод должен быть отсечен от остальной системы трубопроводов концевыми заглушками. Часть консерванта, определяемая расчетом, должна быть удалена из трубопровода перед установкой концевых заглушек для предотвращения разрушения его частей за счет термического расширения консерванта при изменении его температуры. Арматура, установленная на трубопроводе, должна быть приоткрыта на 1/4 - 1/2 оборота штурвала для обеспечения выравнивания давления в различных частях трубопровода путем перетока жидкости при ее неравномерном нагревании в трубопроводе.
25.14 В первые 10 сут после консервации необходимо ежедневно проводить осмотр состояния установленного оборудования и следить за отсутствием пропусков консерванта, в дальнейшем осмотр проводится в зависимости от состояния трубопровода, но не реже одного раза в 3 мес.
25.15 Ввод расконсервируемого трубопровода в эксплуатацию по прежнему назначению осуществляют после испытания трубопровода на прочность и герметичность.
При изменении назначения и режима эксплуатации трубопровода определяют новые условия его испытания и приемки в эксплуатацию.
26.1 Трубы и детали трубопроводов подлежат отбраковке в случае, если результат диагностирования показывает, что под действием коррозии или эрозии толщина стенки трубопровода уменьшилась и достигла величины, определяемой формулой
, (26.1) 
где δотб - толщина стенки трубы (или детали трубопровода), при которой она должна быть изъята из эксплуатации, м;
n - коэффициент перегрузки по рабочему давлению, равный 1,2;
P - рабочее давление транспортируемой жидкой среды в трубопроводе, МПа;
α - коэффициент несущей способности; α=1 для труб, конических переходов, эллиптических заглушек; α=1,3 для гладких и сварных отводов при отношении радиуса изгиба трубы ρ к наружному диаметру Dн, равном 1; α=1,15 при ρ/Dн=1,5; α=1,0 при ρ/Dн=2,0 и более;
Dн - наружный диаметр трубы или детали трубопровода, м;
R1 - расчетное сопротивление материала труб и деталей, МПа, определяемое по формуле
R1=R1нm1m2k1; (26.2)
здесь R1н - нормативное сопротивление, равное наименьшему значению временного сопротивления разрыву материала труб, принимаемое по стандартам или техническим условиям на соответствующие виды труб, МПа (для труб из ВЧШГ R1н = 420 МПа);
m1 - коэффициент условий работы материала труб при разрыве, равный 0,8;
m2 - коэффициент условий работы трубопровода, который принимают в зависимости от транспортируемой среды: для токсичных, горючих, взрывоопасных и сжиженных газов - 0,6; для инертных газов (азот, воздух и т.п.) или токсичных, взрывоопасных и горючих жидкостей - 0,75; для инертных жидкостей - 0,9;
k1 - коэффициент однородности материала труб, для труб из ВЧШГ принимают k1 = 0,6.
Рассчитанная толщина стенки не может быть меньше указанной в таблице 26.1.
|  
           DN, мм  |   
           80  |   
           100  |   
           125  |   
           200  |   
           250  |   
           300  |   
           350  |   
           400  |   
           500  | 
|  
           Наименьшая допустимая толщина стенки трубопровода, мм  |   
           2,0  |   
           2,0  |   
           2,5  |   
           2,5  |   
           3,0  |   
           3,0  |   
           3,5  |   
           4,0  |   
           4,0  | 
26.2 Трубы и соединительные детали отбраковывают также в случае, если:
- в результате коррозии или эрозии за время работы трубопровода до очередной ревизии произойдет его разгерметизация (свищ, трещина);
- во время ревизии обнаружены дефекты в стенке трубопровода, наличие которых по условиям прочности требует замены элемента трубопровода;
- механические свойства материала изменились и не удовлетворяют требованиям проекта;
- на соединениях труб и деталей обнаружены неисправимые дефекты.
26.3 Литые изношенные корпуса задвижек, вентили, клапаны и литые детали трубопроводов отбраковывают, если:
- уплотнительные элементы арматуры износились настолько, что не обеспечивают ведения технологического процесса, и отремонтировать или заменить их невозможно;
- толщина стенки корпуса арматуры достигла значений, равных или меньших, чем указаны в таблице 26.2.
|  
           DN, мм  |   
           80  |   
           100 - 200  |   
           250 - 400  |   
           500  | 
|  
           Наименьшая допустимая толщина стенки, мм (при Pраб ≤ 10 МПа)  |   
           3  |   
           4,5  |   
           6  |   
           7  | 
26.4 Отбраковка участков трубопроводов на основании проведенных исследований и расчетов осуществляется комиссией, назначенной руководителем эксплуатирующей организации.
26.5 Все работы, связанные с отбраковкой трубопроводов, должны выполняться с соблюдением требований по охране труда, промышленной и пожарной безопасности.
26.6 После проведения обследования и отбраковки трубопроводов должен быть составлен акт обследования и отбраковки по форме приложения М.
26.7 После технико-экономического обоснования целесообразности замены или прекращения эксплуатации трубопровод подлежит демонтажу.
26.8 Способы и схемы демонтажа устанавливаются проектом с учетом требований действующих нормативных документов.
26.9 В проектной документации на демонтаж трубопровода должны быть предусмотрены:
- мероприятия по освобождению выведенных из эксплуатации участков трубопровода от нефти и нефтесодержащих компонентов, жидких перекачиваемых сред;
- порядок и методы производства демонтажа линейной части трубопровода по отдельным видам работ;
- транспортная схема и схема расположения площадок складирования труб;
- работы по рекультивации;
- мероприятия по охране труда, технике безопасности, пожарной безопасности;
- природоохранные мероприятия.
26.10 К демонтажу трубопровода организация, проводящая работы, имеет право приступить только после приемки опорожненного трубопровода или его участка по акту и получения всей необходимой технической документации от заказчика.
26.11 Перед тем как приступить к демонтажу, необходимо:
- обследовать трассу и определить на местности условия производства работ и места подъезда к трассе;
- уточнить разбивку трасс демонтируемого трубопровода, ЛЭП, линий связи и мест расположения подземных и наземных сооружений и коммуникаций, пересекаемых трассой демонтируемого трубопровода;
- убедиться, что демонтируемый участок трубопровода отсечен от остальной трубопроводной сети;
- восстановить и закрепить указатели оси трубопровода;
- расчистить полосу над демонтируемым трубопроводом;
- подготовить временные приобъектные площадки под складирование и погрузку извлеченного, порезанного на секции трубопровода.
26.12 При разбивке следует:
- установить на поверхности земли знаки на пересечениях трубопровода с существующими подземными и надземными коммуникациями;
- обозначить углы поворота трассы вешками или привязать ее к постоянным объектам на местности.
Вешки устанавливаются на прямолинейных участках трубопроводов на расстоянии 50 м друг от друга строго по оси трубопровода, а на участках с малой глубиной залегания или сильно пересеченным микрорельефом - через 25 м.
26.13 Положение трубопровода определяют трассоискателем.
После демонтажа трубопроводов запрещается оставлять выступающие над поверхностью земли трубы, незасыпанные выемки грунта.
В случае вынужденно оставленных торчащих труб и незасыпанных выемок грунта должны быть установлены предупредительные знаки (сигнальные фонари и т.д.).
26.14 После окончания демонтажа трубопроводов должны быть проведены рекультивация всей территории производства работ, уборка мусора, захоронение строительных отходов.
27.1 По достижении линейной частью, конструкциями и сооружениями трубопроводов установленного проектной документацией срока эксплуатации дальнейшая их эксплуатация без проведения работ по продлению срока безопасной эксплуатации не допускается. По результатам оценки остаточного ресурса принимается одно из решений:
- продолжение эксплуатации с установленными параметрами;
- продолжение эксплуатации с ограничением эксплуатационных параметров;
- ремонт или реконструкция;
- использование трубопровода по иному назначению;
- вывод из эксплуатации.
27.2 Методика определения остаточного ресурса участков трубопроводов и продления сроков их безопасной эксплуатации определяется заказчиком или организацией, эксплуатирующей объект.
27.3 В зависимости от технического состояния и с учетом требований нормативных документов продление эксплуатации участков трубопроводов осуществляется на срок до прогнозируемого наступления предельного состояния (остаточный ресурс) или на определенный период (поэтапное продление срока эксплуатации) в пределах остаточного ресурса.
27.4 Определение остаточного ресурса действующих трубопроводов проводят на основании комплексного технического диагностирования с учетом следующих возможных механизмов износа и выхода из строя трубопроводов из ВЧШГ:
- коррозия металла труб на наружной и внутренней поверхности, общее и локальное утонение стенки;
- старение герметизирующих элементов (резиновых колец, состава герметика);
- старение металла труб и соединительных деталей;
- повышение местных напряжений по разным причинам (появление и развитие дефектов, появление концентраторов напряжений при ремонтных работах, грунтовые изменения, гидроудары, термические воздействия);
- зарождение и развитие трещин (усталость, малоцикловое разрушение, стресс-коррозия);
- снижение пропускной способности трубопровода из-за накопления твердых отложений;
- общее повышение аварийности по комплексу причин.
27.5 Для проведения комплексного технического диагностирования на основании технического задания заказчика должна разрабатываться индивидуальная программа диагностирования, обеспечивающая получение и обработку необходимой и достаточной информации о техническом состоянии и функциональных возможностях объекта.
27.6 Методы диагностирования контролируемых параметров определяются нормативными документами исходя из вероятных механизмов износа.
Объем работ по диагностированию каждого конкретного трубопровода определяют специалисты и должностные лица заказчика, при необходимости - с привлечением лаборатории, допущенной к проведению данного вида работ в порядке, установленном действующим законодательством Российской Федерации.
27.7 При оценке остаточного ресурса трубопроводов необходимо задать критические величины, которые определяют наступление предельного состояния:
- минимальная допустимая остаточная толщина стенки с учетом коррозии;
- максимальная допустимая вероятность разгерметизации соединений;
- предельные характеристики металла труб и соединительных деталей;
- допустимое максимальное местное напряжение;
- предельные размеры трещин с учетом рабочих нагрузок;
- допустимое снижение пропускной способности участка трубопровода;
- допустимый уровень аварийности (количество отказов за год).
27.8 На основе анализа результатов обследования проводят экспертную оценку фактического состояния трубопровода по совокупности диагностируемых параметров, составляют заключение установленной формы о соответствии объекта требованиям промышленной безопасности. В заключении должны содержаться рекомендации о возможности и условиях дальнейшей безопасной эксплуатации, сроках и объемах последующих обследований, необходимости проведения ремонта или вывода трубопровода из эксплуатации.
27.9 Экспертную оценку выполняет и оформляет в виде заключения в установленном порядке профильная экспертная организация, допущенная к проведению данных работ Федеральной службой по экологическому, технологическому и атомному надзору в порядке, установленном действующим законодательством.
Требования промышленной безопасности при эксплуатации промысловых трубопроводов из ВЧШГ аналогичны требованиям к стальным промысловым трубопроводам и определяются положениями [3].
29.1 Требования к соблюдению правил техники безопасности и охраны труда приведены в [10], ГОСТ 12.3.003, ГОСТ 12.3.009.
29.2 Администрация строительной организации в зависимости от местных условий может предусмотреть дополнительные меры, повышающие требования к охране труда и технике безопасности при выполнении работ, приведенных в [11], [12] и [23].
30.1 Для предприятия, эксплуатирующего трубопроводы, деятельность по охране окружающей природной среды на участках трубопроводов регламентируется [4] - [8] и другими законодательными актами Российской Федерации и ее субъектов, а также нормативными документами, принятыми в установленном порядке.
30.2 На этапе проектирования должны быть соблюдены требования по охране окружающей среды, изложенные в СП 284.1325800.
На этапе эксплуатации трубопровода в эксплуатирующей организации должны назначаться лица, ответственные за природоохранную деятельность и, при необходимости, создаваться соответствующие профильные подразделения.
30.3 Ответственные за природоохранную деятельность обязаны:
- знать экологическую опасность объектов трубопроводов с учетом транспортируемых продуктов и особенностей трубопроводов;
- организовывать экологический контроль соблюдения законодательства по охране окружающей среды на объектах трубопроводов;
- организовывать разработку проектов: предельно допустимых выбросов в атмосферу загрязняющих веществ; нормативов образования отходов и лимитов размещения; предельно допустимых сбросов в водные среды;
- не допускать сверхлимитных выбросов, сбросов и образования отходов производства;
- регулярно проверять исправность технических средств экологического контроля;
- принимать меры по укомплектованию техническими средствами и материалами для ликвидации нефтяных загрязнений;
- принимать незамедлительные меры к устранению обнаруженных нарушений природоохранного законодательства.
30.4 На предприятии должны ежегодно разрабатываться и согласовываться с местными экологическими организациями органов исполнительной власти мероприятия по охране окружающей среды, предусматривающие сокращение выбросов в атмосферу, сбросов сточных вод, образования отходов производства, рекультивацию нарушенных и загрязненных земель.
30.5 Документы, лимитирующие загрязнение воздушной среды (разрешение на выброс загрязняющих веществ в атмосферу) и водной среды (разрешение на сброс загрязняющих веществ на рельеф местности), на водопользование, разрешение на размещение отходов должны оформляться и переоформляться в порядке, установленном действующим законодательством Российской Федерации и ее субъектов.
30.6 В соответствии с [4] в организациях, эксплуатирующих трубопроводы, должен быть организован производственный экологический контроль состояния окружающей природной среды.
30.7 Сельскохозяйственные земли, лесные угодья, нарушенные или загрязненные нефтью в процессе эксплуатации, ремонта трубопроводных объектов или аварийных разливов нефти, должны быть приведены в пригодное (по назначению) состояние.
30.8 Подрядчики, работающие на трубопроводах, должны иметь соответствующие разрешительные документы на выполняемые ими виды работ и соблюдать требования по охране окружающей среды.
30.9 Для обеспечения надежности и безопасности эксплуатации трубопроводов необходимо осуществлять следующие организационные мероприятия:
- своевременно проводить работы по диагностике трубопроводов;
- организовывать плановый текущий и капитальный ремонт в целях предупреждения возможных аварий.
30.10 Мероприятия по ликвидации последствий возможных аварий включают:
- разработку и согласование с местными природоохранными и другими заинтересованными органами мероприятий по ликвидации последствий аварии;
- организацию сбора разлитой нефти;
- организацию производственного экологического контроля состояния нарушенных компонентов окружающей природной среды;
- определение компенсационных выплат за ущерб, нанесенный окружающей природной среде вследствие аварии;
- организацию работ по восстановлению (рекультивации) земельных угодий.
30.11 При строительстве, реконструкции и эксплуатации участков трубопроводов должны быть рекультивированы трассы трубопроводов, притрассовые карьеры, резервы и кавальеры.
30.12 Перед началом строительства трубопроводов необходимо снимать плодородный слой почвы, хранить во временном отвале, расположенном вдоль строительной полосы, и использовать для рекультивации после окончания строительных и планировочных работ.
30.13 Рекультивация земель при строительстве трубопровода включает следующие работы:
- уборка строительного мусора, удаление из пределов строительной полосы всех временных устройств;
- засыпка траншеи трубопровода грунтом с отсыпкой валика, обеспечивающего создание ровной поверхности после уплотнения грунта;
- распределение оставшегося грунта по рекультивируемой площади равномерным слоем или транспортирование его в специально отведенные места, указанные в проекте;
- оформление откосов кавальеров, насыпей, выемок, засыпка или выравнивание рытвин и ям;
- мероприятия по предотвращению эрозионных процессов;
- покрытие рекультивируемой площади плодородным слоем почвы.
30.14 При строительстве трубопровода на землях, занятых лесными угодьями, рекультивация заключается в засыпке траншеи и ям, общей планировке полосы отвода, уборке строительного мусора, задернении поверхности посевом трав.
30.15 Рекультивированные земли, расположенные над подземными трубопроводами в охранных зонах, должны использоваться землепользователями с предварительным уведомлением предприятий (организаций), эксплуатирующих трубопроводы, и с соблюдением мер, обеспечивающих сохранность трубопроводов.
30.16 При вырубке леса в полосе отвода в составе подготовительных работ следует обеспечить захоронение порубочных остатков или их утилизацию в соответствии с проектом.
30.17 Не разрешается использовать для строительных целей гравий и песок со дна рек, ручьев, озер в местах, не предусмотренных проектом или не согласованных в установленном порядке.
Не разрешается использование плодородного слоя грунта на подсыпки, присыпки и другие цели, отличные от рекультивации земель.
30.18 На многолетнемерзлых грунтах трассовые строительно-монтажные работы следует выполнять в зимний строительный сезон при промерзании деятельного слоя на глубину, обеспечивающую устойчивую работу строительной техники.
При производстве работ следует сохранять температурный и влажностный режим многолетнемерзлых грунтов, в грунтах с высокой льдистостью не допускается ведение земляных работ методами, использующими термическое воздействие на грунты.
30.19 На строительной полосе в целях предохранения мохорастительного покрова от нарушения перемещающимися строительными машинами необходимо поддерживать в исправном состоянии снеголедяное покрытие (технологические проезды) в течение всего срока эксплуатации.
30.20 Время производства взрывных и земляных работ при устройстве траншей на подводных переходах на каждом отдельном переходе необходимо согласовывать с местными органами рыбоохраны и органами охраны окружающей среды.
Запрещается производство взрывных и земляных работ при устройстве подводных траншей на переходах трубопровода через реки в период нереста и нагула рыбы.
31.1 При эксплуатации участков трубопроводов работники предприятия в своей деятельности должны руководствоваться:
- проектной, рабочей и исполнительной документацией;
- национальными стандартами, сводами правил, нормативными документами по безопасности труда, нормами и правилами пожарной безопасности, нормами и правилами по охране труда, технической документацией, техническими условиями и другими документами, принятыми в установленном порядке;
- внутренними регламентами организации на эксплуатацию трубопроводов;
- оперативной документацией.
31.2 Проектная, рабочая и исполнительная документация должна храниться в производственном подразделении организации, эксплуатирующем трубопроводы. Условия хранения документации на строительство, ремонт и реконструкцию трубопроводов должны обеспечивать ее сохранность в течение всего срока эксплуатации объекта.
31.3 Нормативные документы и техническая документация должны храниться в технической библиотеке или производственных подразделениях (службах) по принадлежности.
31.4 Регламенты на эксплуатацию составляются проектными или эксплуатирующими трубопроводы организациями, а утверждаются эксплуатирующими организациями.
Регламент на систему трубопроводов, транспортирующих жидкие среды, должен включать следующие обязательные разделы:
- техническая характеристика транспортируемой продукции, вспомогательных материалов;
- техническая характеристика отходов и выбросов;
- технология транспорта продукции;
- физико-химические и теплофизические свойства транспортируемых веществ;
- условия технической эксплуатации трубопроводов (контроль основных параметров работы и надежности трубопроводов, поддержание и регулирование параметров; предупреждение и ликвидация осложнений - замораживание, отложения парафина, песка, окислов железа, коррозия; сроки проведения ремонтов; ликвидация аварий);
- пуск, остановка трубопроводов;
- обеспечение промышленной безопасности (в объеме требований норм в области промышленной безопасности).
31.5 Оперативная документация должна пересматриваться не реже одного раза в три года и находиться на рабочих местах.
31.6 Паспорт трубопровода составляется на систему трубопроводов одного назначения. Разбивка трубопроводов по паспортам проводится по усмотрению руководства эксплуатирующей организации. К паспорту прилагаются:
- схема трубопровода с указанием вида труб (стальные, чугунные), диаметра и толщины стенки (или класса по толщине стенки), проектной и отбраковочной толщины элементов трубопровода, мест установки арматуры, фланцев, заглушек и других деталей, установленных на трубопроводе, мест спускных, продувочных и дренажных устройств, сварных стыков;
- акты периодических наружных осмотров;
- акты испытаний трубопроводов на прочность и герметичность;
- акты проведения диагностики трубопроводов;
- акты на ремонт и испытания арматуры;
- другие акты (при необходимости).
Паспорта ведутся на трубопроводы, находящиеся на балансе организации, включая находящиеся в консервации и выведенные из эксплуатации участки трубопроводов.
Паспорта должны содержать сведения о фактическом техническом состоянии объектов, техническом обслуживании, ремонтах, диагностических обследованиях, испытаниях, ликвидациях отказов.
В рамках паспорта также ведется журнал установки-снятия заглушек.
31.7 Результаты диагностических обследований оформляются и хранятся в виде отдельных технических отчетов (в бумажном и электронном виде); при этом в паспорте отмечаются общие данные отчетов (наименование отчета, исполнитель, год, адрес в электронной базе данных).
31.8 Все изменения и дополнения в технологических схемах и конструкциях, сведения по техническому обслуживанию, испытаниям, очисткам, ревизионным работам, ремонтам должны оперативно вноситься в паспорта трубопроводов.
31.9 Паспорта на трубопроводы составляются специалистами эксплуатирующей организации и хранятся в производственном подразделении организации.
31.10 Службы, проводящие ремонт трубопроводов, должны дополнительно иметь следующую техническую документацию:
- копии актов отвода земельных участков под трассы трубопроводов и другие сооружения;
- планы, профили трасс обслуживаемых трубопроводов;
- схемы обслуживаемых участков трубопроводов с ситуационными планами местности (переходы через реки и овраги, вдольтрассовые дороги и надземные коммуникации, автомобильные и железные дороги, места хранения аварийного запаса труб, места расположения объектов и средств ЭХЗ, коммуникации технического коридора, рядом расположенные населенные пункты).
31.11 Для повышения оперативности работ рекомендуется все документы переводить в электронный вид и хранить в электронном архиве.
32.1 Пусконаладочные работы выполняются для обеспечения пропуска по трубопроводу транспортируемой среды, предусмотренной проектом. К пусконаладочным работам относятся индивидуальные испытания и опробования отдельных узлов и оборудования.
32.2 Индивидуальные испытания проводятся для подготовки отдельных элементов трубопровода к комплексному опробованию согласно требованиям внутренних регламентов и технических условий предприятий-изготовителей.
32.3 Комплексное опробование осуществляется эксплуатационным персоналом заказчика с участием представителей исполнителя работ по строительству (подрядчика), проектных и монтажных организаций.
Приложение А
А.1 Общие положения
Настоящее приложение определяет требования к ремонтной технологии сварки трубопроводов, транспортирующих продукты нефтяных месторождений при давлении до 6,4 МПа, с применением труб из ВЧШГ.
Настоящее приложение регламентирует требования технологии сварочных работ, предназначено для электросварщиков ручной дуговой сварки, руководителей сварочных работ и инженеров по сварке и содержит указания по выбору оборудования, сварочных материалов и способов резки, а также по подготовке и сборке изделий под сварку, технологии сварки и контролю.
Приложение разработано в соответствии с положениями ГОСТ 16037 и ГОСТ ISO 2531, рекомендуется использовать [15] и [18].
А.2 Материалы
Ремонту с применением сварочной технологии подлежат трубы из ВЧШГ, обладающие следующими механическими свойствами:
- предел прочности σв ≥ 420 МПа;
- предел текучести σт ≥ 300 МПа;
- относительное удлинение δ ≥ 10%
и имеющие следующую структуру металла:
- основа - феррит;
- перлитная составляющая - не более 20%;
- количество структурно свободного цементита - не более 5%;
- наличие графита пластинчатой формы - не более 5%.
Сварные швы должны обладать следующими механическими свойствами, определяемыми при испытании образцов:
- временное сопротивление σв, МПа (кгс/мм2), не менее - 400 (40);
- твердость в околошовной зоне, HB, не более - 230;
- угол загиба α - не менее 18°.
Для ремонтной сварки следует применять электроды на железоникелевой или никелевой основе.
А.3 Требования к квалификации сварщиков
К сварке трубопроводов из ВЧШГ допускаются сварщики, получившие подготовку по сварке ВЧШГ.
Независимо от наличия соответствующего удостоверения сварщики должны перед началом работы заварить одно КСС в условиях, соответствующих выполнению основной ремонтной работы. Качество КСС проверяется визуальным контролем и исследованием макрошлифов.
Из КСС должны быть вырезаны и исследованы не менее двух макрошлифов.
Результаты визуального контроля должны удовлетворять требованиям, изложенным в А.9. Результаты исследований макрошлифов считаются удовлетворительными, если обнаруженные дефекты не превышают размеров, указанных в таблице А.4.
А.4 Сварочное оборудование
Для ручной дуговой сварки труб из ВЧШГ рекомендуется применять источники постоянного тока с крутопадающей характеристикой. В трассовых условиях рекомендуется применение инверторных сварочных источников питания, обеспечивающих сварочный ток не менее 160 А.
Для подогрева и термической обработки сварных соединений на монтаже рекомендуется применять воздушно-пропановые кольцевые горелки (рисунок А.1) или источники индукционного нагрева, обеспечивающие требуемые режимы термообработки. В случае выполнения локальных ремонтных работ на трубах из ВЧШГ для подогрева под сварку и для термообработки допускается применение кислородно-пропановых горелок при соблюдении тщательного температурного контроля режима термического цикла.

1 - корпус горелки; 2 - центратор; 3 - замок; 4 - сопло; 5 - свариваемая труба; 6 - инжекторный узел
Рисунок А.1 - Устройство воздушно-пропановой кольцевой горелки
А.5 Подготовка и сборка деталей под сварку
Резка труб, зачистка под сварку и снятие фасок должны проводиться механическим способом шлифовальной машинкой с абразивным армированным кругом.
Кромки стыкуемых деталей и прилегающие к ним поверхности (снаружи и внутри) перед сваркой должны зачищаться до металлического блеска для удаления грязи, масла и ржавчины на ширине не менее 10 мм от предполагаемой зоны сплавления сварного шва с основным металлом.
Прихватки, в случае необходимости их выполнения, должны свариваться на тех же режимах и по той же технологии, что и основной шов. При сварке основного шва прихватки должны быть полностью переплавлены. Если требуется сварить кольцевой шов, то размеры и расстояния между прихватками должны соответствовать значениям, приведенным на рисунке А.2. При подготовке свариваемых кромок и сборке не допускаются зазоры более 1,5 мм.

Рисунок А.2 - Порядок выполнения прихваток при DN > 100
Для сварки стыкового соединения выполняется V-образная разделка кромок (60°).
А.6 Сварка
Сварку труб из ВЧШГ допускается проводить только в условиях надежной защиты от ветра и попадания на стык атмосферных осадков и грязи.
Перед сваркой необходимо просушить электроды согласно рекомендациям предприятия-изготовителя.
Сварка осуществляется на постоянном токе обратной полярности.
Режим сварки устанавливается в зависимости от пространственного положения и диаметра электрода в соответствии с таблицей А.1.
|  
           Диаметр электрода, мм  |   
           Iсв, А, при положении  | ||
|  
           нижнем  |   
           вертикальном  |   
           потолочном  | |
|  
           2,4 (2,5)  |   
           80  |   
           70  |   
           60  | 
|  
           3,5 (3,25)  |   
           120  |   
           100  |   
           80  | 
|  
           4,0  |   
           140  |   
           120  |   
           110  | 
Сварку труб DN 100 и DN 150 допускается осуществлять без предварительного подогрева, при сварке труб от DN 200 до DN 300 необходим предварительный подогрев до значения от 150 °C до 250 °C. Предварительный подогрев необходимо осуществлять кольцевыми газовыми горелками (см. рисунок А.1).
При температуре окружающего воздуха ниже 8 °C необходим предварительный подогрев до значения от 150 °C до 250 °C независимо от диаметра трубы.
Сварные швы накладываются не менее чем в два прохода. Цель выполнения первого прохода - обеспечение проплавления корневой части сварного шва, последующих проходов - заполнение разделки для стыковых швов или наложение требуемого катета - для угловых.
Порядок наложения слоев при сварке кольцевых швов, как стыковых, так и угловых, показан на рисунке А.3.

1 - первый шов; 2 - второй шов; 3 - третий шов; 4 - четвертый шов; K, K1 - катеты шва; S - толщина металла
Рисунок А.3 - Порядок наложения слоев при сварке кольцевых швов (стыковых и угловых) для труб диаметром до 219 мм (а) и более 219 мм (б)
После сварки первого прохода необходимо полностью удалить шлаковую корку металлической щеткой.
Сварка должна осуществляться короткой дугой с минимальными колебаниями и отрывами электрода.
Вертикальные неповоротные стыки свариваются в направлении "снизу вверх". Наплавку слоя в потолочной части стыка следует начинать, отступая от 10 до 30 мм от нижней точки.
После окончания сварки для устранения структур отбела и закалки в околошовной зоне необходимо провести отжиг сварного шва и околошовной зоны в следующем режиме: нагрев до значения от 920 °C до 950 °C за время от 5 до 7 мин, выдержка при этой температуре от 1 до 2 мин, замедленное охлаждение под слоем теплоизоляционного материала. Температуру подогрева необходимо контролировать оптическим пирометром с диапазоном измеряемых температур от 50 °C до 1100 °C и с точностью ± 5 °C.
Все сварные соединения должны быть заклеймены сварщиками, выполнявшими сварку. Клеймо рекомендуется наносить несмываемой краской на расстоянии от 30 до 40 мм от сваренного стыка.
А.7 Ремонт дефекта
Непосредственная заварка дефекта на трубе из ВЧШГ, бывшей в эксплуатации, не допускается.
Локальный дефект на трубе из ВЧШГ может быть устранен методом приварки накладки на дефектный участок. Накладка вырезается из трубы ВЧШГ соответствующего диаметра. Толщина накладки должна быть больше толщины ремонтируемого участка трубы не менее чем на 1 мм. Размер дефекта, устраняемого методом приварки накладки, должен перекрываться накладкой на 10 мм с каждой стороны. При этом размер накладки не должен превышать:
- по окружности - 1/3 длины окружности трубы;
- по ширине - 100 мм по оси трубы.
Форма и размеры приварной накладки приведены на рисунке А.4.

1 - труба из ВЧШГ; 2 - приварная накладка
Рисунок А.4 - Форма и размеры приварной накладки
В случае ремонта трещины ее концы должны быть засверлены на всю глубину. Накладка должна плотно прилегать к поверхности трубы. Зазоры между ремонтируемой трубой и накладкой недопустимы.
Приварка накладки выполняется в строгом соответствии с требованиями разделов настоящего приложения к сварочным материалам, оборудованию, подготовке поверхности, сварке и термообработке. Приварку накладки допускается выполнять без предварительного подогрева и без термообработки в случае, если длина сварного шва по периметру накладки не превышает 200 мм. Катет сварного шва должен быть равен толщине накладки (рисунок А.5).

1 - дефект в трубе; 2 - приварная накладка; K, K1 – катеты шва; S - толщина металла трубы; S1 - толщина металла приварной накладки
Рисунок А.5 - Конструкция нахлесточного сварного соединения при ремонте методом приварной накладки
А.8 Приварка к трубе и соединительным деталям из высокопрочного чугуна с шаровидным графитом конструктивных деталей из стали
Стальные конструктивные детали или трубные отростки привариваются к трубопроводу из ВЧШГ в строгом соответствии с требованиями настоящей инструкции по сварочным материалам, подготовке поверхности, по сварке и термообработке. В качестве конструктивных элементов, привариваемых к трубопроводу из ВЧШГ, могут быть использованы низколегированные, низкоуглеродистые стали (Сталь 20, 09Г2С). Недопустима приварка в трассовых условиях к чугунной трубе углеродистых, высокоуглеродистых, хромистых и хромоникелевых сталей (нержавеющих сталей). В случае необходимости приварки к чугунной трубе патрубка или фланца из нержавеющей стали эта работа может быть выполнена на предприятии - изготовителе соединительных деталей. В трассовых условиях допускается приварка к трубе из ВЧШГ стального патрубка с номинальным диаметром не более 80 мм. Если требуется врезка большего диаметра, сварочные работы следует проводить на предприятии - изготовителе соединительных деталей. Требования к катету и протяженности сварного шва в случае приварки конструктивных элементов, воспринимающих значительные нагрузки (неподвижные опоры, упоры различного назначения), должны быть расчетными.
А.9 Контроль качества сварки
Сварные соединения труб из ВЧШГ должны подвергаться систематическому контролю, который должен состоять из предварительного, пооперационного и окончательного.
К предварительному контролю относятся:
- проверка квалификации сварщиков;
- контроль качества сварочного материала;
- проверка оборудования для сварки.
В пооперационный контроль должна входить проверка:
- точности сборки под сварку;
- чистоты основного и присадочного материала;
- качества и количества прихваток;
- соблюдения требований данной технологии и режимов сварки.
Окончательный контроль качества сварных соединений включает:
- заварку КСС с последующей вырезкой и исследованиями макрошлифов;
- визуальный и измерительный контроль;
- гидравлическое испытание давлением 1,25 рабочего.
Визуальному контролю подвергаются 100% сварных соединений. Визуальный осмотр следует проводить с применением лупы от 3 до 10-кратного увеличения.
Сварные соединения признаются неудовлетворительными, если будут выявлены следующие дефекты:
- трещины всех видов и направлений, расположенные в металле шва или околошовной зоне;
- несплавления, расположенные на поверхности сварного соединения;
- свищи, бугристость поверхности, незаваренные кратеры, прожоги;
- отклонения от требуемого значения катета;
- размеры и количество объемных включений и западаний между валиками превышают значения, приведенные в таблице А.2;
- размеры непровара, вогнутости и превышение проплава в корне шва стыковых соединений, выполненных без остающегося подкладного кольца, превышают значения, приведенные в таблице А.3;
- дефекты, выявленные на макрошлифах, вырезанных из КСС, превышают значения, приведенные в таблице А.4.
|  
           Дефект  |   
           Максимально допустимый линейный размер дефекта, мм  |   
           Максимально допустимое число дефектов на любые 100 мм длины шва  | |||
|  
           Объемное включение округлой или удлиненной формы при номинальной толщине стенки свариваемых труб в стыковых соединениях или меньшем катете шва в угловых соединениях, мм:  |  |||||
|  
           до  |   
           5,0  |   
           0,8  |   
           2  | ||
|  
           св.  |   
           5,0  |   
           "  |   
           7,5  |   
           0,8  |   
           3  | 
|  
           "  |   
           7,5  |   
           "  |   
           10,0  |   
           1,0  |   
           4  | 
|  
           "  |   
           10,0  |   
           1,2  |   
           4  | ||
|  
           Западание (углубление) между валиками и чешуйчатое строение поверхности шва при номинальной толщине стенки свариваемых труб в стыковых соединениях или при меньшем катете шва в угловых соединениях, мм:  |  |||||
|  
           до 15,0  |   
           1,5  |   
           Не ограничивается  | |||
|  
           св. 15,0  |   
           2,0  |   
           То же  | |||
|  
           Дефект  |   
           Максимально допустимая высота (глубина), % номинальной толщины стенки  |   
           Максимально допустимая суммарная длина по периметру стыка  | 
|  
           Вогнутость и непровар в корне шва  |   
           10%, но не более 2 мм  |   
           20% периметра  | 
|  
           Превышение проплава  |   
           20%, но не более 2 мм  |   
           То же  | 
|  
           Номинальная толщина стенки трубы, мм  |   
           Предельно допустимые размеры пор и включений, мм  |   
           Суммарная длина пор и включений на любые 100 мм шва, мм  | ||||||||
|  
           отдельных  |   
           скоплений  |   
           цепочек  | ||||||||
|  
           Ширина (диаметр)  |   
           Длина  |   
           Ширина (диаметр)  |   
           Длина  |   
           Ширина (диаметр)  |   
           Длина  | |||||
|  
           До  |   
           2,0  |   
           0,5  |   
           2,0  |   
           0,8  |   
           2,0  |   
           0,5  |   
           3,0  |   
           4,0  | ||
|  
           Св.  |   
           2,0  |   
           "  |   
           3,0  |   
           0,6  |   
           2,5  |   
           1,0  |   
           2,5  |   
           0,6  |   
           4,0  |   
           6,0  | 
|  
           "  |   
           3,0  |   
           "  |   
           5,0  |   
           0,8  |   
           3,5  |   
           1,2  |   
           3,5  |   
           0,8  |   
           5,0  |   
           10,0  | 
|  
           "  |   
           5,0  |   
           "  |   
           8,0  |   
           1,2  |   
           4,0  |   
           2,0  |   
           4,0  |   
           1,2  |   
           6,0  |   
           15,0  | 
|  
           "  |   
           8,0  |   
           "  |   
           11,0  |   
           1,5  |   
           5,0  |   
           2,5  |   
           5,0  |   
           1,5  |   
           8,0  |   
           20,0  | 
|  
           "  |   
           11,0  |   
           "  |   
           14,0  |   
           2,0  |   
           5,0  |   
           3,0  |   
           5,0  |   
           2,0  |   
           8,0  |   
           20,0  | 
|  
           "  |   
           14,0  |   
           "  |   
           20,0  |   
           2,5  |   
           6,0  |   
           4,0  |   
           6,0  |   
           2,5  |   
           9,0  |   
           25,0  | 
Стыки, не удовлетворяющие перечисленным требованиям, подлежат исправлению или удалению.
Рентгеновский контроль сварных соединений производят по технологическим картам предприятия-изготовителя.
А.10 Техника безопасности
Требования к технике безопасности при производстве строительно-монтажных работ приведены в [29], [11] и [12].
Приложение Б
Б.1 Все расчеты проводятся в Международной системе единиц (СИ), если нет указаний на размерность отдельных параметров в ряде формул.
В настоящем приложении применены следующие индексы обозначений:
"н", "в", "ж", "см" - нефть, вода, жидкость (нефть + вода), смесь (нефть + вода + газ) соответственно;
"вх", "нх" - восходящие и нисходящие участки;
"τ", "z" - потери давления на гидравлические сопротивления и статические (гравитационные) потери давления;
p̅ - рабочие условия (среднее давление);
0 - нормальные условия.
Остальные обозначения см. в тексте настоящего приложения.
Б.2 Исходные данные
Основные исходные данные для выполнения гидравлического расчета:
- план трассы трубопровода;
- профиль трассы трубопровода;
- внутренний диаметр трубопровода d;
- вязкостно-температурная кривая нефти и жидкости (нефть + вода);
- изотерма растворимости газа в нефти;
- расход жидкости qж;
- обводненность жидкости w;
- плотности фаз ρ;
- динамические вязкости фаз μ;
- средняя температура трубопровода T.
Б.3 Обработка исходных данных
Б.3.1 По профилю трассы трубопровода подсчитывают суммарные высоты и длины восходящих и нисходящих участков.
Принимают следующие обозначения:
Lвх, Lнх - суммарные длины всех восходящих и нисходящих участков соответственно;
Hвх, Hнх - суммарные высоты восходящих и нисходящих участков соответственно.
Б.3.2 Плотность жидкой фазы определяют по формуле
ρж=ρн(1-w)+ρвw. (Б.1)
Б.3.3 При отсутствии вязкостно-температурной кривой динамическую вязкость нефти 
 при температуре T можно определить по эмпирической формуле
, (Б.2)
где 
 - вязкость нефти, МПа·с, при известной температуре T1, °C;
; (Б.3)
- при 10 ≤ μн ≤ 1000 МПа·с C = 100 (МПа·с)-1, a = 1,44·10-3 °C-1;
- при μн > 1000 МПа·с C = 10 (МПа·с)-1, a = 2,52·10-3 °C-1;
- при μн < 10 МПа·с C = 1000 (МПа·с)-1, a = 0,76·10-3 °C-1.
Б.3.4 При отсутствии вязкостно-температурной кривой динамическую вязкость жидкой фазы можно оценить по формулам:
- обратная эмульсия
; (Б.4)
- прямая эмульсия
. (Б.5)
Б.3.5 Средняя температура трубопровода принимается как среднеарифметическая начальной T1 и конечной T2 температур:
. (Б.6)
Б.3.6 Кинематическую вязкость жидкой фазы определяют по формуле
. (Б.7)
Б.3.7 Задаются средним давлением в трубопроводе
, (Б.8)
где p1 и p2 - давления в начале и конце трубопровода соответственно.
Б.3.8 При отсутствии кривой растворимости газа в нефти объем свободного газа в трубопроводе, приведенный к стандартным условиям, можно оценить по формуле
Гсв=Гф[2,615-1,615p̅0,075]+0,0025T̅Гф, (Б.9)
где Гф - газовый фактор нефти, м3/м3;
p - давление, кгс/см2;
T̅ - температура, °C.
Б.3.9 Расход газовой фазы при рабочих условиях определяют по формуле
, (Б.10)
где p0, T0 - давление и температура при нормальных условиях (p0 = 101325 Па; T0 = 273 К).
Б.3.10 Расход смеси в рабочих условиях определяют по формуле
. (Б.11)
Б.3.11 Объемное расходное газосодержание определяют по формуле
. (Б.12)
Б.3.12 Скорость смеси определяют по формуле
, (Б.13)
Б.3.13 Число Фруда для смеси определяют по формуле
. (Б.14)
Б.3.14 Плотность газовой фазы при рабочих условиях определяют по формуле
. (Б.15)
Б.4 Расчет восходящих участков
Б.4.1 Истинное газосодержание определяют по формулам:
- при Frсм≤4 и μж≤10-3 Па·с 
; (Б.16)
- при Frсм≤4 и μж>10-3 Па·с 
, (Б.17)
где μж измеряется в МПа·с.
Б.4.2 Истинную плотность смеси определяют по формуле
. (Б.18)
Б.4.3 Статический перепад давления определяют по формуле
. (Б.19)
Б.4.4 Истинную скорость газовой фазы определяют по формуле
. (Б.20)
Б.4.5 Истинную скорость жидкой фазы определяют по формуле
. (Б.21)
Б.4.6 Приведенный коэффициент гидравлического сопротивления определяют по формуле
. (Б.22)
Б.4.7 Скорость жидкой фазы определяют по формуле
. (Б.23)
Б.4.8 Число Рейнольдса для жидкой фазы определяют по формуле
. (Б.24)
Б.4.9 Коэффициент гидравлического сопротивления определяют по формулам:
- при Reж ≤ 2320
; (Б.25)
- при Reж ≤ 105
. (Б.26)
Б.4.10 Потери давления на гидравлические сопротивления при движении жидкой фазы определяют по формуле
. (Б.27)
Б.4.11 Перепад давления на гидравлические сопротивления определяют по формуле
. (Б.28)
Б.4.12 Суммарный перепад давления определяют по формуле
. (Б.29)
Б.5 Расчет нисходящего участка
Б.5.1 В зависимости от полученных значений vсм и β по таблице Б.1 определяют структуру потока.
|  
           vсм, м/с  |   
           Значение β для структурной формы ГЖС  | |
|  
           расслоенной  |   
           пробковой  | |
|  
           ≤ 0,678  |   
           0 - 1  |   
           -  | 
|  
           0,786  |   
           0,08 - 1  |   
           0 - 0,08  | 
|  
           0,857  |   
           0,22 - 1  |   
           0 - 0,22  | 
|  
           1,000  |   
           0,28 - 1  |   
           0 - 0,28  | 
|  
           1,143  |   
           0,37 - 1  |   
           0 - 0,37  | 
|  
           1,286  |   
           0,43 - 1  |   
           0 - 0,43  | 
|  
           1,428  |   
           0,52 - 1  |   
           0,12 - 0,52  | 
|  
           1,714  |   
           0,58 - 1  |   
           0,15 - 0,58  | 
|  
           1,857  |   
           0,63 - 1  |   
           0,21 - 0,63  | 
|  
           2,000  |   
           0,65 - 1  |   
           0,23 - 0,65  | 
При расслоенной структуре потока перепады практически можно не учитывать, то есть Δpсм≈0.
При пробковой структуре потока расчет проводится по параметрам смеси по таблице Б.1.
Б.5.2 Коэффициент, учитывающий устойчивость газовых включений в смеси, определяют по формуле
, (Б.30) 
где σжг=26·10-3 н/м - поверхностное натяжение на границе "нефть-газ".
Б.5.3 Относительную скорость газа при нисходящем пробковом течении определяют по формуле
. (Б.31)
Б.5.4 Истинное объемное газосодержание определяют по формуле
. (Б.32)
Б.5.5 Истинную плотность смеси определяют по формуле
. (Б.33)
Б.5.6 Статические потери давления определяют по формуле
. (Б.34)
Б.5.7 Расходную плотность смеси определяют по формуле
. (Б.35)
Б.5.8 Приведенный коэффициент гидравлического сопротивления определяют по формуле
. (Б.36)
Б.5.9 Число Рейнольдса смеси при β<0,9 определяют по формуле
. (Б.37)
Б.5.10 Коэффициент гидравлического сопротивления смеси определяют по формулам:
- при Reсм ≤ 2320
; (Б.38)
- при Reсм > 2320
. (Б.39)
Б.5.11 Потери давления на гидравлические сопротивления определяют по формуле
. (Б.40)
Б.5.12 Суммарный перепад давления на нисходящем участке определяют по формуле
. (Б.41)
Б.6 Общий перепад давления
При одинаковых диаметрах и пробковых структурах потока на восходящем и нисходящем участках общий перепад давления будет равен
. (Б.42)
Б.7 Погрешность расчета
Полученное в результате расчета среднее давление в трубопроводе составит:
. (Б.43)
Погрешность расчета определяют по формуле
. (Б.44)
Если условие δ≤7% не соблюдается, проводят пересчет Δpсм для других исходных значений p̅.
Приложение В
В.1 Расчет трубопроводов на прочность и устойчивость включает определение толщины стенок труб и соединительных деталей, оценку прочности и устойчивости трубопровода и его элементов, оценку устойчивости положения (против всплытия), оценку усилия протаскивания при укладке трубопровода.
Прочность и устойчивость трубопровода должна быть обеспечена на стадиях сооружения, испытания и эксплуатации.
В расчетах приняты наиболее жесткие условия нагрузок на трубы, как для сооружений с равномерно распределенной массой и постоянной жесткостью.
В.2 Нагрузки и воздействия
В.2.1 Расчетные нагрузки, воздействия и их возможные сочетания должны соответствовать требованиям СП 20.13330.
В.2.2 Нагрузки и воздействия, действующие на трубопроводы, различаются следующим образом:
- силовые - внутреннее давление среды, собственный вес трубопровода, обустройств и транспортируемой среды, давление (вес) грунта, гидростатическое давление воды; снеговая, ветровая и гололедная нагрузки; нагрузки, возникающие при испытании и пропуске очистных устройств;
- деформационные - температурные воздействия, воздействия неравномерных деформаций грунта (морозное растрескивание, селевые потоки и оползни, деформации земной поверхности в районах горных выработок и карстовых районах, просадки, пучение, термокарстовые процессы), сейсмические воздействия.
По длительности действия выделяют нагрузки: постоянные, временные длительные, кратковременные и особые. Методика расчета на каждую нагрузку приведена в СП 66.13330.
В.2.3 Коэффициенты надежности по нагрузке γf следует принимать по таблице 8.1.
В.2.4 Нормативные нагрузки от собственного веса трубопровода, арматуры, обустройств, изоляции, от веса и давления грунта следует принимать в соответствии с требованиями СП 20.13330.
В.2.5 Нормативное значение давления транспортируемой среды устанавливается проектом исходя из гидравлических расчетов.
В.2.6 Нормативную нагрузку от веса транспортируемой среды на единицу длины трубопровода qпр, Н/м, определяют по формуле
qпр=0,25gρпрπd2, (В.1)
где d - внутренний диаметр трубы, м;
ρпр - плотность жидкого продукта, кг/м3;
g - ускорение свободного падения, g = 9,8 м/с2.
В.2.7 Нормативную снеговую нагрузку на единицу длины горизонтальной проекции надземного трубопровода qсн, Н/м, определяют по формуле
qсн = 0,4sсн(D + 2tиз), (В.2)
где D - наружный диаметр трубы, м;
tиз - толщина изоляционного покрытия (или теплоизоляции), м;
sсн - нормативная снеговая нагрузка, Н/м2, определяемая по СП 20.13330.
В.2.8 Нормативную нагрузку от обледенения на единицу длины надземного трубопровода qлд, Н/м, определяют по формуле
qлд=1,9tлдgρлд(D + 2tиз), (В.3)
где D - наружный диаметр трубы, м;
tлд - толщина слоя льда, м;
ρлд - плотность гололеда, кг/м3, определяется по СП 20.13330.
В.2.9 Нормативную ветровую нагрузку на единицу длины надземного трубопровода qвет, Н/м, действующая перпендикулярно к его осевой вертикальной плоскости, определяют по формуле
qw = (wст + wдн)(D + 2tиз), (В.4)
где статическая wст, Н/м2, и динамическая wдн, Н/м2, составляющие ветровой нагрузки определяются по СП 20.13330, при этом значение wдн необходимо определять, как для сооружения с равномерно распределенной массой и постоянной жесткостью.
В.2.10 Нормативные значения нагрузок и воздействий, возникающих при транспортировании отдельных секций, при сооружении трубопровода, проведении испытаний и пропуске очистных устройств устанавливаются проектом в зависимости от способов производства работ и методов проведения испытаний.
В.2.11 Сейсмические воздействия на надземные трубопроводы принимаются согласно СП 14.13330.
В.2.12 Нагрузки и воздействия, вызываемые резким нарушением процесса эксплуатации, временной неисправностью и поломкой оборудования, устанавливаются проектом в зависимости от особенностей режима эксплуатации.
В.2.13 Нагрузки и воздействия от неравномерной деформации грунта (осадок, пучения, селевых потоков, оползней, воздействий горных выработок, карстов, замачивания просадочных грунтов, оттаивания многолетнемерзлых грунтов и т.д.) определяются на основании анализа грунтовых условий и их возможного изменения в процессе эксплуатации трубопровода.
В.2.14 Нормативные нагрузки и коэффициенты надежности по нагрузке от подвижного состава железных и автомобильных дорог определяются по СП 35.13330.
В.3 Определение толщин стенок труб и соединительных деталей
В.3.1 Расчетная толщина стенки δ труб и соединительных деталей определяется по формуле
, (В.5)
где γf - коэффициент надежности по нагрузке;
η - коэффициент несущей способности труб и соединительных деталей;
pn - рабочее (нормативное) давление транспортируемой среды, Па;
D - наружный диаметр трубы, м;
R - величина, зависящая от механических свойств металла трубы следующим образом:
- для трубопроводов, транспортирующих продукты, не содержащие сероводород:
; (В.6)
- для трубопроводов, транспортирующих сероводородсодержащие продукты (с парциальным давлением менее 1 МПа):
, (В.7)
здесь Rв - нормативное значение временного сопротивления (для ВЧШГ Rв = 420 МПа);
Rт - нормативное значение предела текучести (для ВЧШГ Rт = 300 МПа);
γn - коэффициент надежности по назначению (для ВЧШГ γn=1,00);
γm - коэффициент надежности по материалу (для ВЧШГ γm=1,55);
γc - коэффициент надежности по условиям работы (для ВЧШГ γc=0,60);
γs - коэффициент условий работы трубопроводов, транспортирующих сероводородсодержащие продукты.
В.3.2 Значения коэффициентов условий работы трубопроводов, транспортирующих сероводородсодержащие продукты, γs принимаются по таблице В.1.
|  
           Категория трубопровода и его участка  |   
           Содержание сероводорода  | |
|  
           Среднее  |   
           Низкое  | |
|  
           I  |   
           0,4  |   
           0,5  | 
|  
           II  |   
           0,5  |   
           0,6  | 
|  
           III  |   
           0,6  |   
           0,65  | 
|  
           Примечание - Среднее и низкое содержание сероводорода - см. [19].  | ||
В.3.3 Значения коэффициентов несущей способности труб и соединительных деталей η следует принимать:
- для труб, заглушек и переходов - 1;
- для тройниковых соединений и отводов - aξ+b,
где
 - для тройниковых соединений;
 - для отводов,
здесь de1, de2 - наружные диаметры труб и соединительных деталей соответственно;
r - радиус кривизны отвода.
Значения коэффициентов a и b следует принимать: для тройниковых соединений - по таблице В.2, для отводов - по таблице В.3.
|  
           ξ  |   
           Сварные без усиливающих элементов  |   
           Бесшовные и штампосварные  | |||||
|  
           а  |   
           b  |   
           а  |   
           b  | ||||
|  
           От  |   
           0,00  |   
           до  |   
           0,15  |   
           0,00  |   
           1,00  |   
           0,22  |   
           1,00  | 
|  
           "  |   
           0,15  |   
           "  |   
           0,50  |   
           1,60  |   
           0,76  |   
           0,62  |   
           0,94  | 
|  
           "  |   
           0,50  |   
           "  |   
           1,00  |   
           0,10  |   
           1,51  |   
           0,40  |   
           1,05  | 
|  
           ξ  |   
           a  |   
           b  | 
|  
           От 1,0 до 2,0  |   
           -0,3  |   
           1,6  | 
|  
           Более 2,0  |   
           0,0  |   
           1,0  | 
В.3.4 При назначении номинальной толщины стенки труб и соединительных деталей следует учитывать не только постоянные, но и временные факторы (возможность коррозионных, сейсмических и других воздействий).
В.3.5 Для обеспечения условий поперечной (местной) устойчивости толщину стенки труб принимают не менее D/140, но не менее 6,0 мм.
В.3.6 Для подземных трубопроводов, имеющих отношение δ/D<0,01, или укладываемых на глубину более 3 м или менее 0,8 м, требуется соблюдение условия
, (В.8)
где q1 - расчетное усилие в продольном сечении трубы единичной длины, Н/м;
M1 - изгибающий момент в продольном сечении трубы единичной длины, Н·м.
В.3.7 Значения q1 и M1 определяются в соответствии с правилами строительной механики с учетом отпора грунта от совместного воздействия давления грунта, нагрузок над трубой от подвижного состава железнодорожного и автомобильного транспорта, возможного вакуума и гидростатического давления грунтовых вод.
В.4 Проверка напряженного состояния и устойчивости подземных и наземных (в насыпи) трубопроводов
В.4.1 Поверочный расчет трубопровода на прочность проводится после выбора его основных размеров с учетом всех расчетных нагрузок и воздействий для всех расчетных случаев, возникающих при сооружении, испытании и эксплуатации.
Расчетная схема трубопровода должна отражать действительные условия его работы, а метод расчета - учитывать возможность использования расчетных программ.
В качестве расчетной схемы трубопровода рассматриваются статически неопределимые стержневые системы переменной жесткости с учетом взаимодействия трубопровода с окружающей средой. При этом коэффициенты гибкости отводов и тройниковых соединений определяются по В.4.2 и В.4.3.
В.4.2 Коэффициент гибкости гнутых отводов kp определяется по таблице В.4.
|  
           Центральный угол отвода φ  |   
           Коэффициент гибкости отвода kp  | 
|  
           От 0° до 45°  |   
           
  | 
|  
           От 45° до 90°  |   
           kp*  | 
|  
           Примечание - kp* см. на рисунке В.1.  | |

Рисунок В.1 - График для определения значений коэффициента kp*
Величину kp* принимают по рисунку В.1 в зависимости от параметров отвода λb и ωb, определяемых по формулам:
, (В.9)
, (В.10)
где r - радиус кривизны отвода, м;
E - модуль упругости материала отвода (для стали E = 206·109 Па, для ВЧШГ E = 150·109 Па).
В.4.3 Коэффициент гибкости тройниковых соединений принимают равным единице.
В.4.4 Арматура, расположенная на трубопроводе (краны, задвижки, обратные клапаны и т.д.), рассматривается в расчетной схеме как твердое недеформируемое тело.
В.4.5 В каждом поперечном сечении трубопровода для номинальной толщины стенки трубы и соединительных деталей должны выполняться условия:
- при сжимающих фибровых продольных напряжениях σпр от расчетных нагрузок:
; (В.11)
- в точках поперечного сечения, где σпр - растягивающее напряжение:
σпр + pnγf≤R̅, (В.12)
где σпр и σкц - продольные и кольцевые напряжения в сечении соответственно, Па.
В.4.6 Значения R̅ принимаются:
- при действии всех силовых нагрузок
R̅=1,2R; (В.13)
- при совместном действии всех силовых и деформационных нагрузок (кроме сейсмических, пучения и морозобойного растрескивания):
; (В.14)
- при совместном действии всех силовых и деформационных нагрузок, включая сейсмические воздействия, пучение и морозобойное растрескивание:
R̅=1,5R. (В.15)
При оценке прочности соединительных деталей следует учитывать местные мембранные и изгибные напряжения, определенные от всех силовых и деформационных нагрузок. В этом случае принимают R̅=Rв.
Для трубопроводов, транспортирующих сероводородсодержащие продукты, принимается R̅=R, где R - то же, что в формуле (В.7).
В.4.7 Коэффициент концентрации продольных напряжений принимается:
- для прямой трубы - 1;
- для отводов - ms*;
- для магистральной части тройникового соединения
; (В.16)
- для ответвления тройникового соединения ms=ms*.
Здесь D1 и D2 - наружные диаметры магистральной части и ответвления тройникового узла.
Значение ms* для отводов принимают по рисунку В.2 в зависимости от параметров λb и ωb, определяемых по формулам (В.9) и (В.10).

Рисунок В.2 - График для определения значений коэффициента ms*
Значения ms* для магистральной части и ответвления тройникового соединения принимаются по рисунку В.2 в зависимости от параметров тройникового соединения, определяемых по формулам:
, (В.17)
. (В.18)
Примечание - При вычислении параметров λ1 и ω1 для магистральной части тройникового соединения используются первые индексы, параметров λ2 и ω2 для ответвления тройникового соединения - вторые индексы.
В.4.8 Проверку общей устойчивости трубопроводов в продольном направлении проводят по условию
S≤γcNcr, (В.19)
где S - эквивалентное продольное осевое усилие, определяемое от расчетных нагрузок и воздействий с учетом продольных и поперечных перемещений трубопровода;
Ncr - продольное критическое усилие, определяемое с учетом принятого конструктивного решения трубопровода.
В.5 Проверка напряженного состояния и устойчивости надземных трубопроводов
В.5.1 Надземные трубопроводы проверяются на прочность, продольную устойчивость и выносливость при колебаниях в ветровом потоке. Методика расчета для надземных трубопроводов, учитывающая раструб и гибкость соединений приведена в СП 66.13330.
В.5.2 Продольные усилия и изгибающие моменты в надземных трубопроводах определяются в соответствии с общими правилами строительной механики. При этом трубопровод рассматривается как статически неопределимая стержневая система переменной жесткости. Величины расчетных значений несущей способности труб при осевом нагружении приведены в таблице 7.5 СП 66.13330.2011. Коэффициенты гибкости отводов и тройниковых соединений определяются согласно В.4.2 и В.4.3.
Расчетная схема при определении продольных усилий и изгибающих моментов в надземных трубопроводах должна учитывать метод монтажа трубопровода.
В.5.3 Балочные системы надземных трубопроводов рассчитывают с учетом трения на опорах, при этом применяется меньшее или большее из возможных значений коэффициента трения в зависимости от того, что опаснее для данного расчетного случая.
В.5.4 В каждом поперечном сечении надземного трубопровода для номинальной толщины стенки трубы и соединительных деталей должны выполняться условия (В.11) и (В.12).
В.5.5 Значения коэффициентов концентрации напряжений для отводов и тройниковых соединений принимаются согласно В.4.7.
В.5.6 При скоростях ветра, вызывающих колебание трубопровода с частотой, равной частоте собственных колебаний, проводят поверочный расчет трубопроводов на резонанс.
В.5.7 Расчетные усилия и перемещения трубопровода при резонансе определяются как геометрическая сумма резонансных усилий и перемещений, а также усилий и перемещений от других видов нагрузок и воздействий, включая расчетную ветровую нагрузку, соответствующую критическому скоростному напору.
В.5.8 Методика расчета прочности трубопровода, не имеющего жесткого соединения от динамического воздействия ветра с учетом принятой конструкции, расстояние между опорами 6 м (каждая труба крепится у раструба к опоре), принята как жесткая конструкция и приведена в СП 16.13330.
В.5.9 Расчет оснований фундаментов и самих опор проводят по потере несущей способности (прочности и устойчивости положения) или непригодности к нормальной эксплуатации, связанной с разрушением их элементов или недопустимо большими деформациями опор, опорных частей, элементов пролетных строений или трубопровода.
В.5.10 Опоры (включая основания и фундаменты) и опорные части рассчитываются на передаваемые трубопроводом и вспомогательными конструкциями вертикальные и горизонтальные (продольные и поперечные) усилия и изгибающие моменты, определяемые от расчетных нагрузок и воздействий в наиболее невыгодных их сочетаниях с учетом возможных смещений опор и опорных частей в процессе эксплуатации.
В.5.11 При расчете опор учитывается глубина промерзания или оттаивания грунта, деформаций грунта (пучение и просадка), а также возможные изменения свойств грунта (в пределах восприятия нагрузок) в зависимости от времени года, температурного режима, осушения или обводнения участков, прилегающих к трассе, и других условий.
В.5.12 Нагрузки на опоры, возникающие от воздействия ветра и от изменений длины трубопроводов под влиянием внутреннего давления, определяются в зависимости от принятой системы прокладки трубопровода на опорах.
В.6 Проверка прочности трубопроводов при сейсмических воздействиях
В.6.1 Напряжения от сейсмических воздействий в подземных трубопроводах и трубопроводах, прокладываемых в насыпи, определяются как результат воздействия сейсмической волны, направленной вдоль продольной оси трубопровода, по формуле
, (В.20)
где m0 - коэффициент защемления трубопровода в грунте;
kо - коэффициент степени ответственности трубопровода;
kп - коэффициент повторяемости землетрясений;
aс - сейсмическое ускорение, м/с2;
E - модуль упругости материала трубопровода, Па;
T0 - преобладающий период сейсмических колебаний грунтового массива, с;
cр - скорость распространения сейсмической волны, м/с.
Значения коэффициентов m0, kо и kп принимаются по таблицам В.5 - В.7.
|  
           Грунты  |   
           Коэффициент защемления трубопровода в грунте m0  |   
           Скорость распространения продольной сейсмической волны cр, м/с  | 
|  
           Насыпные, рыхлые пески, супеси, суглинки, кроме водонасыщенных  |   
           0,50  |   
           120  | 
|  
           Песчаные маловлажные  |   
           0,50  |   
           150  | 
|  
           Песчаные средней влажности  |   
           0,45  |   
           250  | 
|  
           Песчаные водонасыщенные  |   
           0,45  |   
           350  | 
|  
           Супеси и суглинки  |   
           0,60  |   
           300  | 
|  
           Глинистые влажные, пластичные  |   
           0,35  |   
           500  | 
|  
           Глинистые, полутвердые и твердые  |   
           0,70  |   
           2000  | 
|  
           Лесс и лессовидные  |   
           0,50  |   
           400  | 
|  
           Торф  |   
           0,20  |   
           100  | 
|  
           Низкотемпературные мерзлые (песчаные, глинистые, насыпные)  |   
           1,00  |   
           2200  | 
|  
           Высокотемпературные мерзлые (песчаные, глинистые, насыпные)  |   
           1,00  |   
           1500  | 
|  
           Гравий, щебень и галечник  |   
           См. примечание 2  |   
           1100  | 
|  
           Известняки, сланцы, песчаники (слабовыветренные и сильновыветренные)  |   
           См. примечание 2  |   
           1500  | 
|  
           Скальные породы (монолиты)  |   
           См. примечание 2  |   
           2200  | 
|  
           Примечания 1 В настоящей таблице приведены наименьшие значения cр, которые следует уточнять при изысканиях. 2 Значения коэффициентов защемления трубопровода принимают по грунту засыпки.  | ||
|  
           Характеристика трубопровода  |   
           kо  | 
|  
           Нефтепродуктопроводы класса I  |   
           1,5  | 
|  
           Нефтепродуктопроводы класса II  |   
           1,2  | 
|  
           Нефтепродуктопроводы класса III  |   
           1,0  | 
|  
           Примечание - При сейсмичности 9 баллов и выше коэффициент kо умножается дополнительно на коэффициент 1,5.  | |
|  
           Повторяемость землетрясений один раз  |   
           В 100 лет  |   
           В 1 000 лет  |   
           В 10 000 лет  | 
|  
           Коэффициент повторяемости kп  |   
           1,15  |   
           1,0  |   
           0,9  | 
Значения величин сейсмического ускорения aс и скорости распространения продольной сейсмической волны cр принимаются по таблицам В.8 и В.5.
|  
           Сила землетрясения, баллы  |   
           7  |   
           8  |   
           9  |   
           10  | 
|  
           Сейсмическое ускорение, м/с2  |   
           1,0  |   
           2,0  |   
           4,0  |   
           8,0  | 
Значение величины преобладающего периода сейсмических колебаний грунтового массива T0 определяется при изысканиях.
Расчет для трубопроводов, не имеющих жесткого соединения, проводится в соответствии с ГОСТ 30546.1 и [13].
В.6.2 При совместном действии всех нагрузок силового и деформационного нагружения, включая сейсмическое воздействие, напряжение от которого определяется по формуле (В.18), величина R̅ в условиях (В.11), (В.12) должна удовлетворять условию R̅≤1,5R.
В.6.3 Расчет надземных трубопроводов на сейсмические воздействия проводят согласно требованиям СП 14.13330, с оценкой прочности по условиям (В.11), (В.12).
В.7 Устойчивость положения трубопровода
В.7.1 Устойчивость положения (против всплытия) трубопроводов, прокладываемых на обводненных участках трассы, следует проверять для отдельных (в зависимости от условий строительства) участков по условию
, (В.21) 
где Qакт - суммарная расчетная нагрузка на трубопровод, действующая вверх, включая упругий отпор при прокладке свободным изгибом, Н;
Qпас - суммарная расчетная нагрузка, действующая вниз (включая собственный вес), Н;
kН.В - коэффициент надежности устойчивости положения трубопровода против всплытия, принимаемый равным для участков перехода:
- через болота, поймы, водоемы при отсутствии течения, обводненные и заливаемые участки в пределах ГВВ 1%-ной обеспеченности - 1,05;
- русловых, через реки шириной до 200 м по среднему меженному уровню, включая прибрежные участки в границах производства подводно-технических работ, - 1,10;
- через реки и водохранилища шириной свыше 200 м, а также горные реки - 1,15;
- нефтепроводов и нефтепродуктопроводов, для которых возможно их опорожнение и замещение продукта воздухом, - 1,03.
В.7.2 Интенсивность балластировки (вес на воздухе qнбал, Н/м) при обеспечении устойчивости положения, в частном случае - при укладке трубопровода свободным изгибом при равномерной балластировке по длине, определяется по формуле
, (В.22)
где nб - коэффициент надежности по нагрузке, принимаемый равным:
0,9 - для железобетонных грузов;
1,0 - для чугунных грузов;
kН.В _ то же, что в формуле (В.21);
qВ - расчетная выталкивающая сила воды, действующая на трубопровод, Н/м;
qизг - расчетная интенсивность нагрузки от упругого отпора при свободном изгибе трубопровода, Н/м, определяемая по формулам:
- для выпуклых кривых
; (В.23)
- для вогнутых кривых
; (В.24)
qтр - расчетная нагрузка от массы трубы, Н/м;
qдоп - расчетная нагрузка от веса продукта, Н/м, которая учитывается при расчете трубопроводов, если в процессе их эксплуатации невозможны опорожнение и замещение продукта воздухом;
γб - нормативная объемная масса материала пригрузки, кг/м3;
γВ - плотность воды, принимаемая по данным изыскания, кг/м3.
В формулах (В.23), (В.24):
E0 - модуль упругости, Па;
I - момент инерции сечения трубопровода на рассматриваемом участке, м4;
β - угол поворота оси трубопровода, рад;
ρ - минимальный радиус упругого изгиба оси трубопровода, м.
В.7.3 Для трубопроводов, выполненных из труб с раструбным соединением типа RJ, расчетная интенсивность нагрузки от упругого отпора при свободном изгибе трубопровода при расчете интенсивности балластировки не учитывается. Соединение типа RJ не является жестким и позволяет отклоняться соединенным трубам на угол от 3° до 5°, в зависимости от диаметра труб, при сохранении полной герметичности стыка. Таким образом, трубопровод в траншее принимает проектное положение без возникновения упругого изгиба.
В.7.4 Вес грунта засыпки при расчете балластировки трубопроводов на русловых участках переходов через реки и водохранилища не учитывается. При проверке общей устойчивости трубопровода как сжатого стержня допускается учитывать вес грунта засыпки толщиной 1 м при обязательном соблюдении требований в части заглубления трубопровода в дно не менее 1 м.
В.7.5 Расчетную несущую способность анкерного устройства Банк, Н, определяют по формуле
Банк = zmанкPанк, (В.25)
где z - количество анкеров в одном анкерном устройстве;
mанк - коэффициент условий работы анкерного устройства:
- при z = 1 или при z ≥ 2 и Dн/Dанк ≥ 3 принимаемый равным 1,0;
- при z ≥ 2 и 1 ≤ Dн/Dанк ≤ 3 определяется по формуле
, (В.26)
Pанк - расчетная несущая способность анкера, Н, из условия несущей способности грунта основания, определяемая по формуле
, (В.27)
здесь Фанк - несущая способность анкера, Н, определяемая расчетом или по результатам полевых испытаний;
kн - коэффициент надежности анкера, принимаемый равным 1,4 (если несущая способность анкера определена расчетом) или 1,25 (если несущая способность анкера определена в ходе полевых испытаний статической нагрузкой);
Dн - наружный диаметр трубопровода;
Dанк - максимальный линейный размер габарита проекции одного анкера на горизонтальную плоскость, см.
В.8 Определение несущей способности плети трубопровода при протаскивании
Расчет допустимой осевой нагрузки для трубопровода с соединениями типа RJ проводят по схеме среза приварного валика на гладком конце трубы при продольном перемещении стопоров. Величина расчетного сопротивления срезу σср для труб от DN 80 до DN 500 принимается 240 МПа.
Допустимые осевые нагрузки трубопроводов с соединениями типа RJ при осевом нагружении Qсо приведены в таблице В.9.
|  
           DN, мм  |   
           80  |   
           100  |   
           125  |   
           150  |   
           200  |   
           250  |   
           300  |   
           350  |   
           400  |   
           500  | 
|  
           Qсо, кН  |   
           240  |   
           260  |   
           300  |   
           380  |   
           580  |   
           720  |   
           860  |   
           940  |   
           1020  |   
           1180  | 
Коэффициенты запаса прочности, равные отношению Qсо/Qм, находятся в пределах 2,0 - 3,5 (Qм - усилие протяжки, развиваемое машинами ГНБ или другими механизмами протяжки).
Сила протаскивания с учетом коэффициента запаса прочности зависит от диаметра трубопровода и приведена в таблице 10.4 СП 66.13330.2011.
Приложение Г
|  
           Дата поступления  |   
           Наименование, марка, тип продукции, обозначение документа на ее поставку  |   
           Предприятие-поставщик  |   
           Номер партии, дата изготовления и номер сопроводительного документа  |   
           Количество продукции в партии  |   
           Количество проверенной продукции  |   
           Количество забракованной продукции  |   
           Количество некомплектной продукции  |   
           Вид испытания и дата сдачи образцов на испытание  |   
           Номер и дата протокола испытаний  |   
           Испытание, при котором выявлен брак  |   
           Номер и дата составления рекламации  |   
           Причина рекламации (пункт стандарта, технических условий)  |   
           Меры по удовлетворению рекламации и принятию штрафных санкций  |   
           Мероприятия предприятия-поставщика по закрытию рекламации  | 
Приложение Д
АКТ
очистки полости трубопровода
г. ______________ "___" ____________ 20___ г.
Составлен комиссией, назначенной приказом _____________________________
___________________________________________________________________________
(наименование организации)
от "___" __________ 20___ г. в составе:
Председатель комиссии: ________________________________________________
(должность, фамилия, инициалы)
Члены комиссии: _______________________________________________________
_______________________________________________________
_______________________________________________________
_______________________________________________________
Произведена ____________ кратная очистка полости ______________________
трубопровода, диаметром _____ мм на участке от км _____ ПК _____ до км ____
ПК _____ общей протяженностью ________________ м.
Очистка выполнена в соответствии с требованиями свода правил, проекта,
инструкции _______________________________, согласованной и утвержденной
"_____" ___________________ 20_____ г. в установленном порядке способом
___________________________________________________________________________
(промывки, продувки,
___________________________________________________________________________
вытеснения загрязнения в потоке жидкости, вид рабочей среды -
___________________________________________________________________________
вода, воздух, газ и т.п.)
Очистка внутренней полости трубопровода производилась до _____________
___________________________________________________________________________
Заключение комиссии: __________________________________________________
(указать результаты приемки очистки
___________________________________________________________________________
полости трубопровода, какие последующие работы разрешается
___________________________________________________________________________
производить)
___________________________________________________________________________
Председатель комиссии ___________________ _________ _______________
(фамилия, инициалы) (подпись) (дата)
Члены комиссии: ___________________ _________ _______________
(фамилия, инициалы) (подпись) (дата)
___________________ _________ _______________
(фамилия, инициалы) (подпись) (дата)
___________________ _________ _______________
(фамилия, инициалы) (подпись) (дата)
___________________ _________ _______________
(фамилия, инициалы) (подпись) (дата)
Приложение Е
АКТ
испытания трубопровода
г. ______________ "___" ____________ 20___ г.
Проведено _____________________________________ испытание на прочность,
(метод испытания)
проверка на герметичность трубопровода ____________________________________
Составлен комиссией, назначенной приказом _____________________________
(наименование организации)
от "_____" ______________ 20___ г. в составе:
Председатель __________________________________________________________
(должность, фамилия, инициалы)
Члены комиссии: _______________________________________________________
_______________________________________________________
"___" ____________ 20___ г. проведено _____________________________________
(метод испытания)
испытание на прочность трубопровода на участке от км _________ ПК _________
до км ________ ПК________ общей протяженностью __________ м, в соответствии
с требованиями свода правил _______________, проекта _____________________,
специальной инструкции ______________________, согласованной и утвержденной
"___" ____________ 20___ г. в установленном порядке.
Испытание на прочность выполнено при давлении в нижней точке _________ МПа,
в верхней точке _________ МПа.
Время выдержки под испытательным давлением составило _________ ч. В течение
испытания давление измерялось техническими манометрами N ______________ или
дистанционными приборами N __________________, или самопишущими манометрами
N ___________, опломбированными, имеющими паспорта, класс точности приборов
_____________ со шкалой деления ______________, проверенными госповерителем
"___" ____________ 20___ г.
Заключение комиссии: __________________________________________________
(указать результат испытания)
После завершения испытания на прочность проведена проверка на
герметичность давлением Рраб.макс _______ МПа в течение ______ ч на участке
от км ________ ПК ________ до км _________ ПК ________ общей протяженностью
___________ м, площадке _______________ в соответствии с требованиями свода
правил ______________________, проекта _______________________, специальной
инструкции __________________________________, согласованной и утвержденной
"____" ___________ 20___ г. в установленном порядке.
В ходе проверки на герметичность давление измерялось техническими
манометрами N _______________ или дистанционными приборами N _____________,
или самопишущими манометрами N ________________, опломбированными, имеющими
паспорта, класс точности приборов _______________________ со шкалой деления
__________________, проверенными госповерителем "____" ___________ 20___ г.
Заключение комиссии: __________________________________________________
(указать результат проверки на герметичность)
Удаление воды после испытания трубопровода на участке км/ПК ___________
до км/ПК ___________ общей протяженностью __________ м, площадке __________
проведено в соответствии с требованиями свода правил _____________________,
проекта _____________________, специальной инструкции ____________________,
согласованной и утвержденной "____" ______________ 20___ г. в установленном
порядке.
Удаление воды проводилось до __________________________________________
(выхода чистого воздуха, газа,
прекращения выхода воды)
Заключение комиссии: __________________________________________________
(какие последующие работы разрешается производить)
Председатель комиссии ___________________ _________ _______________
(фамилия, инициалы) (подпись) (дата)
Члены комиссии: ___________________ _________ _______________
(фамилия, инициалы) (подпись) (дата)
___________________ _________ _______________
(фамилия, инициалы) (подпись) (дата)
___________________ _________ _______________
(фамилия, инициалы) (подпись) (дата)
Приложение Ж
АКТ
освидетельствования скрытых работ
Мы, нижеподписавшиеся:
представитель заказчика ___________________________________________________
производитель изоляционных работ __________________________________________
производитель укладочных работ ____________________________________________
производитель работ по балластировке ______________________________________
производитель работ по монтажу КИП ________________________________________
представитель службы контроля качества ____________________________________
составили настоящий акт о том, что на участке от км _____ ПК до км _____ ПК
_____ трубопровода _______ общей протяженностью _______ м выполнен комплекс
работ по изоляции, укладке, балластировке (закреплению на проектных
отметках) и монтажу соединительных проводов КИП. Изоляционное покрытие
выполнено в соответствии с требованиями проекта и представляет собой
____________________________________________________ типа изоляции толщиной
______ мм.
Проверка качества очистки и праймирования проводилась _____________________
(визуально, прибором)
Адгезия изоляционного покрытия проверена __________________________________
(метод, прибор)
и соответствует требованиям ГОСТ Р 51164.
Проверка сплошности изоляционного покрытия проводилась искровым
дефектоскопом в местах, вызывавших сомнение.
Изолированный участок трубопровода уложен в подготовленную траншею на
проектные отметки, что подтверждено геодезической съемкой, нанесенной на
рабочие чертежи N __________. Укладка проведена без провисов и недопустимых
отклонений от оси.
Имевшиеся в процессе работы замечания по качеству работ занесены в журнал
производства изоляционно-укладочных работ и устранены.
После укладки трубопровода от км ______ ПК ______ до км ______ ПК _________
установлено _____ утяжелителей марки _______________ с шагом ___________ м,
установлено _____ анкерных устройств типа ____________ с шагом _________ м.
На участке общей протяженностью _____ м от км _____ ПК _____ до км _____ ПК
_______ проведена балластировка нетканым синтетическим материалом типа
__________________ с засыпкой _____________ грунтом. Полотнища из нетканых
синтетических материалов сварены между собой.
Для предохранения изоляционного покрытия от повреждений в соответствии
с проектом под ____________________ установлены ___________________________
(утяжелители, анкеры)
___________________________________________ размером _______ в ______ слоя.
(защитные коврики, деревянные маты и др.)
Повреждения изоляционного покрытия после установки средств балластировки
ликвидированы, о чем сделаны записи в журнале производства работ.
Соединительные провода КИП выполнены из провода сечением __________________
и присоединены к __________ проводу на ПК _________ способом ______________
Места присоединения КИП к _________________ проводу изолированы. На участке
проведено контрольное выдергивание анкерных устройств в объеме _______ шт.,
что соответствует требованиям проекта.
Критическая нагрузка замерялась динамометром марки ____________, поверенным
__________ и составила _______ т, что ___________________________ проектное
(соответствует, превышает)
значение, составляющее ________ т.
На участке от ПК ___________ до ПК ___________ протяженностью ___________ м
трубопровода выполнена футеровка рейкой размером ______ мм, обеспечивающая
защиту изоляционного покрытия от повреждений. Футеровка выполнена
в соответствии с требованиями проекта и рабочих чертежей N ________________
На участке от ПК _____________ до ПК ______________ выполнена теплоизоляция
___________________________________
(указать конструкцию)
Работы выполнены в соответствии с требованиями нормативных документов
и проекта, рабочие чертежи N ______________________________________________
На основании изложенного указанные в акте работы считаются принятыми,
разрешается засыпка участков от км ______ ПК ______ до км ______ ПК _______
общей протяженностью ______ м.
Подписи
Приложение И
АКТ
приемки трубопровода
___________________________________________________________________________
(наименование и адрес объекта)
г. _________________ "___" ____________ 20___ г.
Приемочная комиссия в составе: председателя комиссии - представителя
заказчика _________________________________________________________________
(фамилия, имя, отчество, должность)
членов комиссии - представителей:
генерального подрядчика ______________________________________________,
(фамилия, имя, отчество, должность)
эксплуатационной организации _________________________________________,
(фамилия, имя, отчество, должность)
органов технадзора ____________________________________________________
(фамилия, имя, отчество, должность)
УСТАНОВИЛА:
1 Генеральным подрядчиком _________________________________________________
(наименование организации)
предъявлен к приемке законченный строительством _________________________
(наименование объекта)
2 Субподрядными организациями _____________________________________________
(наименование организации)
выполнены _______________________________________________________________
(виды работ)
3 Проект N ____ разработан ________________________________________________
(наименование организации)
4 Строительство осуществлялось в сроки:
начало работ _____________________, окончание работ _____________________
(месяц, год) (месяц, год)
Приемочная комиссия рассмотрела представленную документацию, провела
внешний осмотр объекта, определила соответствие выполненных
строительно-монтажных работ проекту, провела дополнительные испытания
(кроме зафиксированных в исполнительной документации)
___________________________________________________________________________
(виды испытаний)
Решение приемочной комиссии:
1 Строительно-монтажные работы выполнены в полном объеме в соответствии
с проектом, требованиями нормативных документов и технической документации.
2 Предъявленный к приемке трубопровод считать принятым заказчиком
вместе с прилагаемой исполнительной документацией с "___" ________ 20___ г.
Председатель комиссии ____________________________
Представитель генерального подрядчика ____________________________
Представитель эксплуатационной организации ____________________________
Представитель органов технадзора ____________________________
Приложение К
Наименование предприятия __________________________________________________
Подразделение _____________________________________________________________
Назначение трубопровода ___________________________________________________
Год ввода в эксплуатацию __________________________________________________
Общая протяженность трубопровода, км ______________________________________
Рабочая среда _____________________________________________________________
Рабочие параметры: диапазон давлений ______________________________________
диапазон температур ____________________________________
|  
         N п/п  |   
         Наименование участка или его обозначение на схеме  |   
         Наружный диаметр и толщина стенки трубы, мм  |   
         Протяженность участка, м  | 
Перечень схем, чертежей и других документов, предъявляемых при сдаче
трубопроводов в эксплуатацию, предусмотренных нормативными документами и
технической документацией _________________________________________________
___________________________________________________________________________
___________________________________________________________________________
(с указанием места хранения документов или с приложением их копий)
___________________________________________________________________________
___________________________________________________________________________
ДАННЫЕ О МОНТАЖЕ
(заполняется для вновь вводимых трубопроводов)
Трубопровод смонтирован ___________________________________________________
(наименование монтажной организации)
в полном соответствии с проектом, разработанным ___________________________
___________________________________________________________________________
(наименование проектной организации)
по рабочим чертежам _______________________________________________________
(номера чертежей)
Вид соединений трубопровода _______________________________________________
___________________________________________________________________________
___________________________________________________________________________
Температура окружающего воздуха при монтаже _______________________________
Данные о материалах, из которых изготовлен трубопровод:
Сведения о трубах и деталях
|  
         N п/п  |   
         Наименование элементов, их расположение на схеме  |   
         Размеры  |   
         Тип  |   
         Стандарт или ТУ  | 
Фланцы и крепежные детали
|  
         N п/п  |   
         Наименование элементов, их расположение на схеме  |   
         Размеры, условное давление  |   
         Марка  |   
         Стандарт или ТУ  | 
Арматура и соединительные детали (фитинги)
|  
         N п/п  |   
         Наименование элементов, их расположение на схеме  |   
         Размеры, условное давление  |   
         Марка  |   
         Стандарт или ТУ  | 
РЕЗУЛЬТАТЫ ИСПЫТАНИЯ
(заносятся данные последних испытаний)
Трубопровод испытан на прочность гидравлическим давлением _________________
___________________________________________________________________________
При давлении ______________________________________________________________
трубопровод был осмотрен; обнаружено ______________________________________
___________________________________________________________________________
___________________________________________________________________________
___________________________________________________________________________
При испытании на плотность давлением ______________________________________
___________________________________________________________________________
трубопровод выдержал при этом давлении __________________________________ ч
Падение давления за время испытания, отнесенное к 1 ч, составило __________
_____________________________________________________________________% в ч.
ЗАКЛЮЧЕНИЕ
Трубопровод изготовлен и смонтирован в соответствии с действующими
правилами и нормами и признан годным к работе
___________________________________________________________________________
___________________________________________________________________________
___________________________________________________________________________
Подпись ответственного за эксплуатацию трубопровода _______________________
(должность, Ф.И.О.)
Подпись представителя монтажной
организации (обязательна только
для вновь вводимых трубопроводов) _______________________
(должность, Ф.И.О.)
Лицо, ответственное за безопасную эксплуатацию трубопровода
|  
         Номер и дата приказа о назначении  |   
         Фамилия, имя, отчество, должность  |   
         Подпись ответственного лица  | 
Запись о ремонте или переустройстве трубопровода
|  
         Дата  |   
         Основание  |   
         Характер произведенных работ  | 
Запись результатов диагностики трубопровода
|  
         Дата  |   
         Результаты диагностики и оценки технического состояния  |   
         Срок следующего обследования и оценки  |   
         Подписи ответственных лиц, проводивших диагностику и оценку  | 
Формуляр мониторинга коррозии
|  
         Номера точек по схеме  |   
         Первоначальный диаметр и толщина, мм  |   
         Отбраковочный размер, мм  |   
         Толщина по промеру, мм  |   
         Метод замера  |   
         Подпись  |   
         Примечание  | 
Сведения об очистке полости трубопровода
|  
         Дата  |   
         Участок, подлежащий очистке  |   
         Метод очистки  |   
         Подпись ответственного лица  | 
СХЕМА ТРУБОПРОВОДА
(вносится схема конкретного объекта)
РЕГИСТРАЦИЯ ТРУБОПРОВОДА
Трубопровод зарегистрирован за N __________________________________________
в производственно-техническом отделе ______________________________________
В паспорте пронумеровано ______ страниц и прошнуровано всего ______ листов.
________________________________________ ________________________
(должность, Ф.И.О. регистрирующего лица) (подпись)
"____" ____________________ 20_____ г.
Приложение Л
АКТ
очистки полости трубопровода с помощью очистных устройств
г. ____________________ "____" ______________ 20___ г.
Составлен комиссией, назначенной приказом _____________________________
___________________________________________________________________________
(наименование организации)
от "____" _____________ 20___ г. в составе:
Председатель комиссии: ________________________________________________
(должность, фамилия, инициалы)
Члены комиссии: _______________________________________________________
_______________________________________________________
_______________________________________________________
Произведена ___________________________________________________________
(периодическая, преддиагностическая)
очистка полости трубопровода ______________________________________________
протяженностью ______________________ м, диаметром ____________________ мм.
Очистка выполнена в соответствии с требованиями инструкции ____________
_______________, утвержденной _____________________ "__" __________ 20__ г.
Результаты очистки полости трубопровода
|  
         Тип очистного средства  |   
         Дата и время  |   
         Повреждения очистного средства  |   
         Проходное сечение <*>, %  |   
         Количество вынесенных отложений, дм3  |   
         Продолжительность прокачки, ч  |   
         Средняя скорость потока, м/с  | |
|  
         запуска  |   
         приема  | ||||||
|  
         <*> Указываются результаты пропуска скребка-калибра.  | |||||||
Заключение комиссии: __________________________________________________
(указать результаты приемки очистки
___________________________________________________________________________
полости трубопровода, какие последующие работы разрешается
___________________________________________________________________________
производить)
Председатель комиссии ___________________ ___________ _____________
(фамилия, инициалы) (подпись) (дата)
Члены комиссии: ___________________ ___________ _____________
(фамилия, инициалы) (подпись) (дата)
___________________ ___________ _____________
(фамилия, инициалы) (подпись) (дата)
___________________ ___________ _____________
(фамилия, инициалы) (подпись) (дата)
Приложение М
АКТ
обследования и отбраковки трубопровода
Утверждаю
_________________________
(начальник подразделения)
г. ________________ "___" ____________ 20___ г.
___________________________________________________________________________
(наименование организации)
В период с _______________ по _____________ 20 г. произведено обследование
трубопровода ____________________________________ протяженностью _______ м,
диаметром ________мм.
Обследование выполнялось исполнителями в составе: _________________________
(должность, Ф.И.О.)
_________________________
(должность, Ф.И.О.)
В ходе обследования были выполнены следующие методы:
|  
         Метод обследования или диагностики  |   
         Прилагаемые к акту материалы по результатам обследования или диагностики  | 
Результаты обследования трубопровода
|  
         Метод обнаружения дефекта  |   
         Подробное описание выявленного дефекта, место его расположения  |   
         Способ устранения дефекта <*>  |   
         Срок устранения дефекта  |   
         Ответственный исполнитель  | 
|  
         <*> При установлении необходимости замены участка трубопровода к акту следует приложить квалифицированно составленные эскизы по каждому дефектному участку трубопровода для передачи его исполнителю с указанием на нем: а) наименования трубопровода и параметров его работы; б) точного расположения дефектного участка, подлежащего замене; в) вида трубы, ее материала и размеров; г) типов и материалов фланцев, шпилек, прокладок, опор; д) размеров и материалов фитингов и деталей врезок (ответвлений); е) марок сварочных материалов.  | ||||
Исполнители: _______________________________ ___________ ______________
(фамилия, инициалы) (подпись) (дата)
_______________________________ ___________ ______________
(фамилия, инициалы) (подпись) (дата)
Приложение Н
Н.1 Общие положения
В процессе эксплуатации подземных трубопроводов следует периодически проводить диагностические обследования разными методами в целях оценки состояния труб, соединений, изоляционного покрытия и динамики почвенной коррозии.
Вид и объем диагностических обследований участков трубопроводов определяет техническая служба НГДУ в зависимости от аварийности и результатов комплекса предыдущих обследований.
Обследования участков трубопроводов проводит служба контроля, структурно выделенная в лабораторию дефектоскопии, участок, группу или отдел технического контроля при базе производственного обслуживания. Также допускается привлекать стороннюю организацию, имеющую соответствующие разрешительные документы.
Периодичность диагностических обследований устанавливается в зависимости от местных условий, сложности рельефа и условий пролегания трассы, но она не должна быть реже:
- одного раза в год для трубопроводов категории I;
- одного раза в два года - категории II;
- одного раза в четыре года - категории III;
- одного раза в восемь лет - категории IV.
Срок последующего обследования может уточняться в зависимости от результатов предыдущего обследования.
Н.2 Методы неразрушающего контроля подземных трубопроводов
Оценка состояния контролируемого участка трубопровода может осуществляться одним или несколькими методами неразрушающего контроля, классифицированными по ГОСТ 20911, с учетом конкретных условий, ответственности контролируемого участка и требуемых полноты и надежности контроля. Основными методами контроля участков трубопроводов являются:
- ультразвуковой (ГОСТ Р 55724);
- радиографический (ГОСТ 7512);
- акустический (ГОСТ Р 55724).
В качестве вспомогательного метода контроля допускается использовать магнитопорошковый метод.
Оптимальные сочетания, выбор и порядок применения методов неразрушающего контроля должны определяться в каждом конкретном случае с учетом технологичности средств технической диагностики, разрешающей способности, выявляемости дефектов и производительности контроля.
Работы по диагностированию участков трубопроводов выполняются с применением портативных приборов неразрушающего контроля, передвижных лабораторий дефектоскопии и стационарных лабораторий с необходимым приборным обеспечением.
При определении коррозионного износа трубопроводов используют ультразвуковой, визуальный и визуально-оптический методы контроля.
При проведении диагностических обследований состояния внутренней поверхности трубопроводов методом ультразвуковой толщинометрии следует руководствоваться указаниями раздела 22.
Оценка максимальной глубины коррозионного разрушения и наработки трубопровода до отказа (свища) осуществляется путем периодического измерения толщины стенки на контрольных участках обследуемого трубопровода и статистической обработки результатов измерений. Работы выполняются в такой последовательности:
- на обследуемом трубопроводе выделяются однородные по условиям коррозии участки;
- на каждом выделенном участке определяются места расположения контрольных отрезков длиной от 3,5 до 4,0 м, исходя из условий доступности и равномерности расположения. В среднем один контрольный отрезок должен приходиться на 500 м контролируемого участка трубопровода;
- на каждом контрольном отрезке проводятся подготовительные работы, включая вскрытие подземного трубопровода и удаление изоляции на длине контрольного отрезка;
- проводятся соответствующие измерения и обработка результатов;
- выполняются восстановление изоляции и засыпка шурфа.
На трубопроводах наземной и надземной прокладки и незаглубленных участках подземных трубопроводов рекомендуется обустроить контрольные отрезки для периодического измерения толщин стенок.
При обнаружении изменений структуры и свойств металла элементов трубопровода следует использовать электромагнитные структуроскопы.
При определении местоположения утечек в трубопроводах следует использовать акустический метод контроля.
Радиографический контроль допускается проводить только в случае, если контролируемый трубопровод освобожден от перекачиваемого продукта.
При неразрушающем контроле необходимо пользоваться контрольными и эталонными образцами, изготовленными в соответствии с рекомендациями по применению методов контроля.
Контроль качества наружных изоляционных покрытий подземных трубопроводов проводится в соответствии с требованиями ГОСТ 9.602. Шурфованию подлежат участки, на которых наиболее высока вероятность коррозии, оцениваемая по разным признакам.
При определении коррозионного поражения по нижней образующей трубы измерение следует проводить по дуге в 30° в нижней части трубы с шагом 7 - 10 мм.
При аварии с выходом нефти следует провести обследование трубопровода по обе стороны от места утечки на расстоянии не менее 1 м с использованием средств толщинометрии и ультразвуковой дефектоскопии. Количество измерений должно быть достаточным для обнаружения канавочной коррозии при выходе продукта в нижней части трубы и язвенной коррозии - в случае выхода продукта в другом месте.
При обнаружении коррозионного поражения в контролируемой зоне контроль следует продолжать до момента, когда на расстоянии 1 м не будет обнаружено дефектов.
Сварные соединения на участках трубопроводов с толщиной стенок труб от 6 до 30 мм, выполненные автоматической, полуавтоматической и ручной электродуговой сваркой плавлением, следует контролировать радиографическим и ультразвуковым методами. Эти же методы используются при определении внутренних скрытых дефектов тела трубы (расслоения, закаты).
Контроль сварных соединений радиографическим или ультразвуковым методом осуществляется после визуального и инструментального контроля, сварные соединения могут подвергаться также дополнительной проверке магнитопорошковым или цветным методом, контролю подвергается поверхность шва и прилегающие к нему зоны шириной по 20 мм в обе стороны от шва.
Для проведения визуального контроля сварного соединения следует применять оптические приборы с увеличением до 108.
При магнитопорошковом контроле используют дефектоскопы, а при магнитолюминесцентном дополнительно применяют ультрафиолетовый облучатель.
Для проведения рентгено- и гаммаграфирования применяют рентгеновские аппараты и гамма-дефектоскопы. Для контроля сварных соединений трубопроводов наиболее распространены рентгеновские аппараты импульсного типа.
Для проведения неразрушающего контроля сварных соединений ультразвуковым методом используют эхоимпульсные ультразвуковые дефектоскопы.
Для настройки аппаратуры при ультразвуковом контроле должны изготовляться стандартные образцы. Диаметр и толщина стандартных образцов должны соответствовать диаметру и толщине труб и соединительных деталей.
Для контроля твердости околошовной зоны и твердости основного металла труб используют электромагнитный метод.
Контроль трубопроводов осуществляется специально подготовленными дефектоскопистами, которые должны иметь соответствующие удостоверения и проходить периодическую аттестацию. Приборы и испытательные образцы для неразрушающего контроля должны проходить периодическую проверку.
Результаты контроля должны быть зафиксированы в журналах и заключениях. Журнал - первичный документ, где регистрируются результаты контроля. Сведения в журнал заносит оператор. Заключение - конечный документ (оформляется при сдаче). Форма журнала и заключения устанавливается технической службой эксплуатирующей организации.
В журнале и заключении фиксируются следующие сведения:
- наименование трубопровода;
- координаты контролируемого участка;
- диаметр, толщина стенки трубопровода, материал трубы;
- год ввода в эксплуатацию;
- тип изоляционного покрытия;
- наличие ЭХЗ;
- режим работы трубопровода;
- тип и заводской номер прибора;
- вид документации, по которой проводился контроль;
- параметры контроля;
- тип стандартного образца для настройки прибора;
- координаты и характеристики обнаруженных дефектов;
- оценка качества контролируемого объекта;
- даты проведения контроля и выдачи заключения;
- фамилия и подпись дефектоскописта;
- фамилия и подпись руководителя контрольной службы.
Отбраковка труб осуществляется комиссией, назначенной и утвержденной в установленном порядке.
Фланцы отбраковывают:
- при неудовлетворительном состоянии привалочных поверхностей;
- наличии раковин, трещин и других дефектов;
- уменьшении толщины стенки воротника фланца до отбраковочных размеров трубы.
Литые изношенные корпуса задвижек, вентили, клапаны и литые детали трубопроводов отбраковывают:
- если уплотнительные элементы износились настолько, что не обеспечивают ведения технологического процесса, и отремонтировать или заменить их невозможно;
- если толщина стенки достигла значений, равных или меньших соответствующих отбраковочных значений.
Н.3 Приборное обследование подземных трубопроводов
В процессе диагностирования трубопровод с наружной изоляцией должен проходить приборное обследование. При приборном обследовании проводится проверка состояния изоляционного покрытия, отсутствия утечек, состояния стенок трубы, состояния и наличия средств ЭХЗ, глубины и местонахождения трубы. Определение оси трубопровода и глубины заложения можно проводить в любое время года. Для того чтобы найти место утечки или место повреждения, необходимо, чтобы земля была не мерзлой. Поэтому приборное обследование проводят после оттаивания грунта ниже глубины заложения трубы.
Для приборного обследования трубопроводов из ВЧШГ применяют те же приборы, что и для обследования стальных трубопроводов: установка контроля изоляции подземных трубопроводов и кабелей, аппаратура нахождения повреждений изоляции.
До начала приборного обследования проводят анализ проектной и исполнительной документации. При приборном обследовании проводят обход трассы трубопровода и по показаниям прибора намечают места шурфования. После вскрытия трубопровода проводят шурфовое обследование трубопровода и устанавливают причину индикации прибором - наличие течи, поперечные коммуникации, повреждения изоляции.
Приборное обследование основано на том, что на трубопровод подается напряжение с высокой частотой от высокочастотного генератора. Повреждение изоляции, утечка жидкости, поперечные коммуникации вызывают искажения электромагнитного поля вокруг трубы, а также возникновение разности потенциалов на поверхности земли над трубопроводом.
Данное искажение или разность потенциалов обнаруживают высокочувствительные приемники при прохождении над трассой.
Н.4 Приборное обследование
Н.4.1 Подготовка аппаратуры
При приборном обследовании трубопровода от скважины (выкидной линии) или трубопровода к автоматической групповой замерной установке или к другому сооружению конец трубопровода следует отключить от сооружения, для того чтобы сигнал от высокочастотного генератора не растекался по другим коммуникациям.
Трубопровод с соединением типа RJ следует заполнить продукцией (жидкость с содержанием хлористого натрия не менее 3%). Трубопроводы с соединениями, обеспечивающими электрический контакт труб между собой, не требуют заполнения жидкостью.
Первый выход генератора подключают к трубопроводу, второй заземляют. Если трубопровод с соединением типа RJ имеет внутреннее изоляционное покрытие, то соединение с выходом генератора следует осуществлять через металлический пруток, погруженный в жидкость. Остальные этапы подготовки аппаратуры проводят в соответствии с инструкцией к аппаратуре.
Н.4.2 Определение оси трассы трубопровода
Н.4.2.1 Метод максимального сигнала
При использовании данного метода магнитная антенна располагается в горизонтальном положении, направление ее оси и направление перемещения выбирают перпендикулярными к оси трубопровода. Над центром трассы трубопровода будет иметь место максимальная интенсивность звука в головных телефонах и максимальные показания индикатора приемника. Если в этом положении антенну развернуть на 90°, то ось антенны совместится с осью трассы, а сигнал антенны примет минимальное значение.
Процесс поиска по максимуму сигнала приведен на рисунке Н.1.

1 - уровень сигнала; 2 - антенна; 3 - грунт; 4 - труба; 5 - магнитное поле
Рисунок Н.1 - Поиск по максимуму сигнала
Н.4.2.2 Метод минимального сигнала
При использовании данного метода ось стержня магнитной антенны фиксируется в вертикальном положении. Перемещение антенны осуществляют, как и в первом случае, перпендикулярно к оси трассы. При расположении антенны на поверхности земли над осью трубопровода наблюдается резко выраженный минимум сигнала, поэтому этот метод определения оси трассы считается более точным, однако предварительное определение расположения трассы удобнее делать по методу максимального сигнала. Следует учитывать, что при искаженной форме магнитного поля подземного объекта точки максимума и минимума сигналов могут не совпадать. Искажения формы поля могут быть вызваны или непрямолинейным расположением самого исследуемого объекта (например, вблизи изгибов трассы), или магнитным полем от близкорасположенных токопроводящих конструкций.
Процесс поиска по минимуму сигнала приведен на рисунке Н.2.

1 - уровень сигнала
Рисунок Н.2 - Поиск по минимуму сигнала
Н.4.3 Определение глубины залегания трубопровода
Глубина залегания - это расстояние от поверхности земли до оси трубопровода.
Для определения глубины залегания трубопровода сначала следует определить его расположение и направление методами, описанными выше. Корпус магнитной антенны фиксируют в положение, чтобы его ось составляла с вертикалью угол 45° ("метод 45" - рисунок Н.3) и перемещают перпендикулярно к оси трассы. Правильным положением магнитной антенны является такое, когда нижний конец стержня направлен к оси трассы.

1 - уровень сигнала; 2 - глубина залегания; 3 - расстояние от оси трубопровода до точки минимума
Рисунок Н.3 - Определение глубины трубопровода "методом 45"
Необходимо определить точку, в которой сигнал проходит через минимум (линии магнитного поля располагаются перпендикулярно к антенне). Расстояние от оси трассы до точки минимума будет равно расстоянию от поверхности земли до оси подземного проводника. Если магнитное поле искажено, точки минимума по обе стороны трассы могут располагаться несимметрично и точное определение глубины залегания будет невозможно. Еще одной причиной неточности метода, как видно из рисунка Н.3, является положение магнитной антенны над землей. Ее следует держать как можно ниже к поверхности земли.
Н.4.4 Определение мест повреждения изоляции и мест утечек жидкости
При этом обследовании для измерения потенциала используют два электрода у двух операторов, движущихся на расстоянии от 3 до 5 м друг от друга над трубопроводом. Электроды операторов соединяются экранированным сигнальным проводом из комплекта установки (рисунок Н.4). Чтобы не держать провода в руках, предусмотрены два пояса с контактными зажимами. При этом возможны три различных варианта измерения потенциала.

1 - дефект изоляции; 2 - уровень сигнала
Рисунок Н.4 - Расположение операторов во время приборного обследования
В первом случае операторы используют контактные электроды, закрепленные на ногах. Это удобно при обследовании протяженных участков трасс. Первый оператор может использовать один из приемников с подключенной магнитной антенной для уточнения расположения трассы. На обуви оператора закрепляют электроды, которые подключены экранированным проводом к приемнику второго оператора. К приемнику подключены и электроды второго оператора. Приемник измеряет потенциал на поверхности земли.
Во втором варианте обследования участка измерение потенциала проводится штырями, которые операторы при движении втыкают в землю на 2 см. Способ с ручными штырями может быть полезен при быстром обследовании локальных участков.
В третьем варианте для измерения потенциала используется собственная емкость операторов относительно земли. Этот вариант можно использовать, если сопротивление грунта достаточно высокое (сухой песчаник, асфальтовое или бетонное покрытие). В качестве датчиков потенциалов на поверхности грунта служит собственная емкость операторов относительно земли. Стержни при этом не втыкают, а просто держат руками.
Методика обследования изоляции и мест утечек одинакова для всех трех способов подключения датчиков. Сначала на объект подают напряжение сигнальной частоты от генератора установки. Обследование изоляции и мест утечки осуществляется двумя операторами. Каждый из операторов подключает токосъемники и приемники в соответствии с инструкцией к прибору и вариантом обследования.
Первый оператор, используя магнитную антенну, движется вдоль оси трассы. Второй оператор идет вслед за первым и с помощью приемника непрерывно следит за изменением сигнала потенциала относительно фонового значения.
Положение аттенюатора приемника второго оператора подбирается так, чтобы стрелка микроамперметра находилась в первой трети шкалы.
По мере приближения операторов к дефекту изоляции или месту утечки наблюдается постепенное нарастание сигнала. Максимальный сигнал второго приемника будет иметь место тогда, когда первый оператор будет находиться точно над местом утечки тока через повреждение в изоляции или утечку жидкости. При дальнейшем движении вдоль трассы сигнал уменьшается, и в момент, когда оба оператора находятся на одинаковом расстоянии от дефекта, сигнал будет наименьшим. В этом случае оба оператора находятся в точках на поверхности земли, имеющих одинаковый потенциал. При дальнейшем движении операторов показания прибора у второго оператора опять возрастают и достигают максимума, когда второй оператор находится над дефектом. Таким образом, при движении второго оператора вслед за первым один и тот же дефект дважды проявляется в виде повышения детектируемого вторым прибором сигнала относительно фонового значения.
При близкорасположенных нескольких местах утечки их выделение друг от друга может быть затруднительно. В таких случаях для более точной локации применяют метод поперечного относительно трассы расположения электродов. В этом случае первый оператор перемещается по оси трубопровода. Второй оператор перемещается параллельно оси трассы на расстоянии длины сигнального провода.
Место утечки или повреждения изоляции определяют по максимальному сигналу второго селективного индикатора. Максимальный сигнал появляется, когда первый оператор находится точно над местом утечки или повреждения изоляции.
В том случае, если состояние изоляционного покрытия трубопровода таково, что на всем протяжении трубопровода индицируются аномалии, то при обходе трассы для установления мест утечек применяются течеискатели.
Н.5 Обследование состояния трубопровода в шурфах
Места аномалий, установленные при приборном обследовании, отмечают на трубопроводе колышками и в этих местах проводят вскрытие трубопровода в целях проведения шурфовых обследований.
В состав работ по оценке технического состояния трубопровода в шурфах входят:
- проверка герметичности;
- определение состояния изоляционного покрытия;
- определение состояния поверхности металла и контроль геометрических размеров трубы;
- определение физико-механических свойств металла трубы (при необходимости);
- измерение защитного потенциала;
- определение блуждающих токов.
Результаты обследования заносят в протокол осмотра шурфа.
По результатам диагностирования выносят заключение о техническом состоянии трубопровода, определяют условия и срок дальнейшей эксплуатации трубопровода.
Приборы и аппаратура, рекомендуемые для выполнения технического диагностирования трубопроводов:
- газоанализаторы;
- течеискатели;
- трассоискатели;
- аппаратура для поиска дефектов изоляционного покрытия;
- приборы для контроля состояния изоляционного покрытия;
- приборы для контроля параметров ЭХЗ;
- приборы для определения физических и физико-механических свойств трубы.
Библиография
|  
         [1]  |   
         Федеральный закон от 29 декабря 2004 г. N 190-ФЗ "Градостроительный кодекс Российской Федерации"  | |
|  
         [2]  |   
         Федеральный закон от 8 ноября 2007 г. N 257-ФЗ "Об автомобильных дорогах и о дорожной деятельности в Российской Федерации и о внесении изменений в отдельные законодательные акты Российской Федерации"  | |
|  
         [3]  |   
         Федеральный закон от 21 июля 1997 г. N 116-ФЗ "О промышленной безопасности опасных производственных объектов"  | |
|  
         [4]  |   
         Федеральный закон от 10 января 2002 г. N 7-ФЗ "Об охране окружающей среды"  | |
|  
         [5]  |   
         Федеральный закон от 4 декабря 2006 г. N 200-ФЗ "Лесной кодекс Российской Федерации"  | |
|  
         [6]  |   
         Федеральный закон от 3 июня 2006 г. N 74-ФЗ "Водный кодекс Российской Федерации"  | |
|  
         [7]  |   
         Федеральный закон от 25 октября 2001 г. N 136-ФЗ "Земельный кодекс Российской Федерации"  | |
|  
         [8]  |   
         Закон Российской Федерации от 21 февраля 1992 г. N 2395-1 "О недрах"  | |
|  
         [9]  |   
         Постановление Правительства Российской Федерации от 16 февраля 2008 г. N 87 "О составе разделов проектной документации и требованиях к их содержанию"  | |
|  
         [10]  |   
         Правила перевозок грузов автомобильным транспортом (утверждены постановлением Правительства Российской Федерации от 15 апреля 2011 г. N 272)  | |
|  
         [11]  |   
         Строительные нормы и правила СНиП 12-03-2001  |   
         Безопасность труда в строительстве. Часть 1. Общие требования  | 
|  
         [12]  |   
         Строительные нормы и правила СНиП 12-04-2002  |   
         Безопасность труда в строительстве. Часть 2. Строительное производство  | 
|  
         [13]  |   
         Федеральные нормы и правила в области использования атомной энергии НП-031-01  |   
         Нормы проектирования сейсмостойких атомных станций  | 
|  
         [14]  |   
         Ведомственные нормы технологического проектирования ВНТП 3-85  |   
         Нормы технологического проектирования объектов сбора, транспорта, подготовки нефти, газа и воды нефтяных месторождений  | 
|  
         [15]  |   
         Ведомственные строительные нормы ВСН 005-88  |   
         Строительство промысловых стальных трубопроводов. Технология и организация  | 
|  
         [16]  |   
         Ведомственные строительные нормы ВСН 011-88  |   
         Строительство магистральных и промысловых трубопроводов. Очистка полости и испытание  | 
|  
         [17]  |   
         Ведомственные строительные нормы ВСН 009-88  |   
         Строительство магистральных и промысловых трубопроводов. Средства и установки электрохимзащиты  | 
|  
         [18]  |   
         Ведомственные строительные нормы ВСН 012-88  |   
         Строительство магистральных и промысловых трубопроводов. Контроль качества и приемка работ. Часть I  | 
|  
         [19]  |   
         Ведомственные строительные нормы ВСН 51.3-85  |   
         Проектирование промысловых стальных трубопроводов  | 
|  
         [20]  |   
         Руководящий документ РД 39-0147103-362-86  |   
         Руководство по применению антикоррозионных мероприятий при составлении проектов обустройства и реконструкции объектов нефтяных месторождений  | 
|  
         [21]  |   
         Руководящий документ РД 03-495-02  |   
         Технологический регламент проведения аттестации сварщиков и специалистов сварочного производства  | 
|  
         [22]  |   
         Руководящий документ РД 07-291-99  |   
         Инструкция о порядке ведения работ по ликвидации и консервации опасных производственных объектов, связанных с пользованием недрами  | 
|  
         [23]  |   
         Руководящий документ РД 102-011-89  |   
         Охрана труда. Организационно-методические документы  | 
|  
         [24]  |   
         Федеральные нормы и правила в области промышленной безопасности "Правила безопасности в нефтяной и газовой промышленности" (утверждены приказом Федеральной службы по экологическому, технологическому и атомному надзору от 12 марта 2013 г. N 101)  | |
|  
         [25]  |   
         Правила охраны магистральных трубопроводов (утверждены Постановлением Госгортехнадзора России от 22 апреля 1992 г. N 9, Министерством топлива и энергетики Российской Федерации 29 апреля 1992 г.)  | |
|  
         [26]  |   
         Правила плавания судов по внутренним водным путям (утверждены приказом Министерства транспорта Российской Федерации от 19 января 2018 г. N 19)  | |
|  
         [27]  |   
         Правила эксплуатации и обслуживания железнодорожных путей необщего пользования (утверждены приказом Министерства путей сообщения Российской Федерации от 18 июня 2003 г. N 26)  | |
|  
         [28]  |   
         Правила технической эксплуатации железных дорог Российской Федерации (утверждены приказом Министерства транспорта от 21 декабря 2010 г. N 286)  | |
|  
         [29]  |   
         Правила по охране труда при выполнении электросварочных и газосварочных работ (утверждены приказом Министерства труда и социальной защиты Российской Федерации от 23 декабря 2014 г. N 1101н)  | |


