СП 465.1325800.2019 (27.12.2022) ЗДАНИЯ И СООРУЖЕНИЯ. ЗАЩИТА ОТ ВИБРАЦИИ МЕТРОПОЛИТЕНА. ПРАВИЛА ПРОЕКТИРОВАНИЯ
Утв. Приказом Министерства строительства и жилищно-коммунального хозяйства РФ от 2 декабря 2019 г. N 756/пр
Свод правил СП-465.1325800.2019
"ЗДАНИЯ И СООРУЖЕНИЯ. ЗАЩИТА ОТ ВИБРАЦИИ МЕТРОПОЛИТЕНА. ПРАВИЛА ПРОЕКТИРОВАНИЯ"
Buildings and structures. Protection against vibration of underground lines. Design rules
С изменениями:
(27 декабря 2022 г.)
Дата введения - 3 июня 2020 года
Введен впервые
Предисловие
Сведения о своде правил
1 ИСПОЛНИТЕЛЬ - Федеральное государственное бюджетное учреждение "Научно-исследовательский институт строительной физики Российской академии архитектуры и строительных наук" (НИИСФ РААСН)
2 ВНЕСЕН Техническим комитетом по стандартизации ТК 465 "Строительство"
3 ПОДГОТОВЛЕН к утверждению Департаментом градостроительной деятельности и архитектуры Министерства строительства и жилищно-коммунального хозяйства Российской Федерации (Минстрой России)
4 УТВЕРЖДЕН приказом Министерства строительства и жилищно-коммунального хозяйства Российской Федерации от 2 декабря 2019 г. N 756/пр и введен в действие с 3 июня 2020 г.
5 ЗАРЕГИСТРИРОВАН Федеральным агентством по техническому регулированию и метрологии (Росстандарт)
6 ВВЕДЕН ВПЕРВЫЕ
В случае пересмотра (замены) или отмены настоящего свода правил соответствующее уведомление будет опубликовано в установленном порядке. Соответствующая информация, уведомление и тексты размещаются также в информационной системе общего пользования - на официальном сайте разработчика (Минстрой России) в сети Интернет
Введение
Свод правил разработан в целях обеспечения требований Федерального закона от 30 декабря 2009 г. N 384-ФЗ "Технический регламент о безопасности зданий и сооружений".
Кроме того, применение настоящего свода правил обеспечивает соблюдение федеральных законов от 30 марта 1999 г. N 52-ФЗ "О санитарно-эпидемиологическом благополучии населения", от 27 декабря 2002 г. N 184-ФЗ "О техническом регулировании".
Свод правил разработан в развитие СП 120.13330.2012 "СНиП 32-02-2003 Метрополитены" и содержит требования к расчету и проектированию защиты от вибрации и структурного шума, создаваемых подвижным составом метрополитена в помещениях жилых и общественных зданий, расположенных в зоне влияния линий метрополитена.
Свод правил разработан авторским коллективом НИИСФ РААСН (д-р техн. наук И.Л. Шубин, д-р техн. наук И.Е. Цукерншов, канд. техн. наук В.А. Смирнов, А.С. Лебедев, М.Ю. Смоляков, Д.А. Черкасова) при участии НИУ МГСУ (д-р техн. наук Ю.Т. Чернов), АО "Моспромпроект" (Д.А. Цюпа, Л.В. Грошев), ФБУЗ "Центр гигиены и эпидемиологии по г. Москве" (Е.А. Руднева).
Изменение N 1 к настоящему своду правил разработано авторским коллективом НИИСФ РААСН (руководители разработки - д-р техн. наук И.Л. Шубин, канд. техн. наук В.А. Смирнов; исполнители - М.Ю. Смоляков, Д.Д. Малов, Е.С. Улесикова) при участии АО "Моспромпроект" (Д.А. Цюпа, Л.В. Грошев), ФБУЗ "Центр гигиены и эпидемиологии по г. Москве" (Е.А. Руднева).
Настоящий свод правил распространяется на защиту от вибрации и структурного шума, создаваемых подвижным составом линий метрополитена в помещениях жилых, общественных и производственных зданий и сооружений, расположенных в зоне влияния перегонных тоннелей, тупиков, камер съезда и станций метрополитена.
В настоящем своде правил использованы нормативные ссылки на следующие документы:
ГОСТ 12248.3-2020 Грунты. Определение характеристик прочности и деформируемости методом трехосного сжатия
ГОСТ 12248.9-2020 Грунты. Определение характеристик прочности и деформируемости мерзлых грунтов методом одноосного сжатия
ГОСТ 12248.10-2020 Грунты. Определение характеристик деформируемости мерзлых грунтов методом компрессионного сжатия
ГОСТ 23961-80 Метрополитены. Габариты приближения строений, оборудования и подвижного состава
ГОСТ 24346-80 Вибрация. Термины и определения
ГОСТ 25100-2020 Грунты. Классификация
ГОСТ 27751-2014 Надежность строительных конструкций и оснований. Основные положения
ГОСТ 31185-2002 (ИСО 10815:1996) Вибрация. Измерения вибрации внутри железнодорожных туннелей при прохождении поездов
ГОСТ 31191.1-2004 (ИСО 2631-1:1997) Вибрация и удар. Измерение общей вибрации и оценка ее воздействия на человека. Часть 1. Общие требования
ГОСТ 31191.2-2004 (ИСО 2631-2:2003) Вибрация и удар. Измерение общей вибрации и оценка ее воздействия на человека. Часть 2. Вибрация внутри зданий
ГОСТ 32192-2013 Надежность в железнодорожной технике. Основные понятия. Термины и определения
ГОСТ 34056-2017 Транспорт железнодорожный. Состав подвижной. Термины и определения
ГОСТ 34530-2019 Транспорт железнодорожный. Основные понятия. Термины и определения
ГОСТ Р ИСО/ТС 10811-1-2007 Вибрация и удар. Вибрация в помещениях с установленным оборудованием. Часть 1. Измерения и оценка
ГОСТ Р 51685-2013 Рельсы железнодорожные. Общие технические условия
ГОСТ Р 52892-2007 Вибрация и удар. Вибрация зданий. Измерение вибрации и оценка ее воздействия на конструкцию
ГОСТ Р 53964-2010 Вибрация. Измерения вибрации сооружений. Руководство по проведению измерений
ГОСТ Р 56353-2022 Грунты. Методы лабораторного определения динамических свойств дисперсных грунтов
ГОСТ Р ИСО 2017-1-2011 Вибрация и удар. Упругие системы крепления. Часть 1. Технические данные для применения систем виброизоляции
ГОСТ Р ИСО 2017-2-2011 Вибрация и удар. Упругие системы крепления. Часть 2. Технические данные для применения систем виброизоляции для железнодорожного транспорта
ГОСТ Р ИСО 2017-3-2016 Вибрация и удар. Упругие системы крепления. Часть 3. Технические данные для применения систем виброизоляции при строительстве новых зданий
ГОСТ Р ИСО 2041-2012 Вибрация, удар и контроль технического состояния. Термины и определения
ГОСТ Р ИСО 10137-2016 Основы расчета строительных конструкций. Эксплуатационная надежность зданий в условиях воздействия вибрации
ГОСТ Р ИСО 14837-1-2007 Вибрация. Шум и вибрация, создаваемые движением рельсового транспорта. Часть 1. Общее руководство
ГОСТ Р 59940-2021 Системы виброизоляции зданий и сооружений. Методы испытаний вибродемпфирующих материалов
СП 16.13330.2017 "СНиП II-23-81* Стальные конструкции" (с изменениями N 1, N 2, N 3, N 4)
СП 22.13330.2016 "СНиП 2.02.01-83* Основания зданий и сооружений" (с изменениями N 1, N 2, N 3, N 4)
СП 26.13330.2012 "СНиП 2.02.05-87 Фундаменты машин с динамическими нагрузками" (с изменением N 1)
СП 35.13330.2011 "СНиП 2.05.03-84* Мосты и трубы" (с изменениями N 1, N 2, N 3)
СП 51.13330.2011 "СНиП 23-03-2003 Защита от шума" (с изменениями N 1, N 2, N 3)
СП 63.13330.2018 "СНиП 52-01-2003 Бетонные и железобетонные конструкции. Основные положения" (с изменениями N 1, N 2)
СП 64.13330.2017 "СНиП II-25-80 Деревянные конструкции" (с изменениями N 1, N 2, N 3)
СП 119.13330.2017 "СНиП 32-01-95 Железные дороги колеи 1520 мм" (с изменением N 1)
СП 120.13330.2012 "СНиП 32-02-2003 Метрополитены" (с изменениями N 1, N 2, N 3, N 4)
СП 122.13330.2012 "СНиП 32-04-97 Тоннели железнодорожные и автодорожные" (с изменениями N 1, N 2)
СП 297.1325800.2017 Конструкции фибробетонные с неметаллической фиброй. Правила проектирования (с изменением N 1)
СП 323.1325800.2017 Территории селитебные. Правила проектирования наружного освещения
СП 413.1325800.2018 Здания и сооружения, подверженные динамическим воздействиям. Правила проектирования (с изменением N 1)
СП 441.1325800.2019 Защита зданий от вибрации, создаваемой железнодорожным транспортом. Правила проектирования (с изменением N 1)
СанПиН 1.2.3685-21 Гигиенические нормативы и требования к обеспечению безопасности и (или) безвредности для человека факторов среды обитания
Примечание - При пользовании настоящим сводом правил целесообразно проверить действие ссылочных документов в информационной системе общего пользования - на официальном сайте федерального органа исполнительной власти в сфере стандартизации в сети Интернет или по ежегодному информационному указателю "Национальные стандарты", который опубликован по состоянию на 1 января текущего года, и по выпускам ежемесячного информационного указателя "Национальные стандарты" за текущий год. Если заменен ссылочный документ, на который дана недатированная ссылка, то рекомендуется использовать действующую версию этого документа с учетом всех внесенных в данную версию изменений. Если заменен ссылочный документ, на который дана датированная ссылка, то рекомендуется использовать версию этого документа с указанным выше годом утверждения (принятия). Если после утверждения настоящего свода правил в ссылочный документ, на который дана датированная ссылка, внесено изменение, затрагивающее положение, на которое дана ссылка, то это положение рекомендуется применять без учета данного изменения. Если ссылочный документ отменен без замены, то положение, в котором дана ссылка на него, рекомендуется применять в части, не затрагивающей эту ссылку. Сведения о действии сводов правил целесообразно проверить в Федеральном информационном фонде стандартов.
В настоящем своде правил применены термины по [1], СП 51.13330, СП 119.13330, СП 122.13330, СП 323.1325800, СП 441.1325800, ГОСТ Р ИСО 2041, ГОСТ 24346, ГОСТ Р ИСО 14837-1, ГОСТ 34056, ГОСТ 34530, ГОСТ 32192, ГОСТ Р 52892, СанПиН 1.2.3685, а также следующий термин с соответствующим определением:
3.1 зона влияния линии метрополитена: Зона, за пределами которой вибрация от метрополитена не выделяется над уровнем фоновой вибрации.
Настоящий свод правил устанавливает требования к прогнозированию, оценке и разработке мероприятий по снижению динамического воздействия, вызванного движением поездов метрополитена, на несущую способность зданий и сооружений, включая тоннельную обделку и элементы конструкций станционных комплексов и транспортно-пересадочных узлов метрополитена, технологическое оборудование, помещения с постоянным пребыванием людей и рабочие места. Положения настоящего свода правил следует использовать при выполнении расчетов по оценке степени вибрационного и шумового дискомфорта и при разработке мероприятий для обеспечения допустимых параметров вибрации и уровней структурного шума, регламентируемых СанПиН 1.2.3685-21.
Примечание - Допускаемые параметры вибрации и уровней структурного шума приведены в разделах 4.1, 4.2 и 4.3.
Требования к проведению натурных измерений вибрации грунта при прохождении поездов приведены в приложении А; пример ориентировочных значений виброскорости, измеренных на лотке и обделке некоторых конструкций пути, - в приложении Б; конструктивные решения верхнего строения пути - в приложении В; методика подбора параметров грунта - в приложении Г.
Положения настоящего свода правил не учитывают совместного воздействия структурного шума, вызванного движением подвижного состава метрополитена, и воздушного шума, передаваемого через наружные ограждающие конструкции (для наземных линий метро).
Настоящий свод правил основан на приведенных ниже допущениях и предусматривает, что:
- исходные данные для проектирования должны собираться в необходимом объеме в соответствии с требованиями действующей нормативной документации, регистрироваться и интерпретироваться специалистами, обладающими квалификацией и опытом, достаточными для подобного вида работ;
- проектирование должно выполняться специалистами, обладающими квалификацией и опытом, достаточными для подобного вида работ;
- должны быть обеспечены координация и связь между специалистами по инженерным изысканиям, проектированию и строительству;
- должен быть обеспечен соответствующий контроль качества при устройстве системы виброизоляции, изготовлении виброизоляторов и выполнении работ на строительной площадке;
- строительные работы, установка и наладка систем виброизоляции должны выполняться квалифицированным и опытным персоналом, способным обеспечивать требования нормативных документов, а также настоящего свода правил;
- используемые материалы и изделия должны удовлетворять требованиям проектной документации и разделов 7 и 8;
- техническое обслуживание систем виброизоляции должно обеспечивать их безопасность и рабочее состояние на весь заявленный срок эксплуатации;
- системы виброизоляции должны использоваться по их назначению в соответствии с проектной документацией.
4.1.1 Выбор нормируемых параметров вибрации и уровней шума в помещениях жилых и общественных зданий и их допустимых значений осуществляют с учетом временного характера нормируемого фактора.
4.1.2 Требования к нормированию параметров вибрации и уровней шума для рабочих мест (для рабочей смены с учетом времени воздействия нормируемого фактора) установлены в СанПиН 1.2.3685.
4.1.3 Параметры вибрации и уровней шума оцениваются для производственных помещений с постоянными рабочими местами и с временным пребыванием людей, бытовых помещений и пассажирских помещений станций (за исключением открытых наземных платформ и переходов). Нормируемые значения приведены в СанПиН 1.2.3685, [7].
4.1.4 Вибрация, создаваемая в помещениях зданий от движения поездов метрополитена, является общей вибрацией (по способу передачи на человека) и действующей вдоль осей ортогональной системы координат X, Y, Z, соответствующей базицентрической системе координат для тела человека по ГОСТ 31191.1. Оценку вибрации, воздействующей на человека внутри здания, выполняют по ГОСТ 31191.2 посредством измерения в трех указанных взаимно перпендикулярных направлениях. Систему координат привязывают к конструкции здания так, чтобы оси координат лежали преимущественно в плоскостях, параллельных плоскостям основных несущих элементов, а направления осей совпадали с направлениями соответствующих осей для стоящего человека по ГОСТ 31191.1, т.е. X (от спины к груди) и Y (от правого плеча к левому) - горизонтальные оси, направленные параллельно опорным поверхностям; Z - вертикальная ось, перпендикулярная к полу.
4.1.5 Вибрация, создаваемая в помещениях зданий от движения поездов метрополитена, и порождаемый ею структурный шум имеют непостоянный прерывистый характер с выраженным преобладанием сигнала вибрации в октавной полосе частот 4 - 63 Гц и повторяются с интервалом, определяемым графиком движения поездов.
Примечание - Согласно ГОСТ Р ИСО 14837-1 вибрация и структурный шум на объекте воздействия в основном наблюдаются в диапазоне частот от 1 до 250 Гц. Однако для некоторых видов грунта (например, скальной породы) и при наличии жесткой связи между зданием и туннелем, особенно в случае, когда здание расположено на небольшом расстоянии от туннеля и фундамент здания и скальную породу разделяет только тонкий слой грунта, вибрация на более высоких частотах может оказаться существенной.
4.1.6 С нормативными значениями следует сравнивать оценочные значения нормируемых параметров вибрации и структурного шума, определенные для жилых помещений и помещений общественных зданий за время оценки, равное 16 ч дневного времени и 8 ч ночного времени, а для рабочих мест - за восьмичасовую смену, с учетом графика движения поездов.
4.1.7 При наличии в проектируемом здании или сооружении собственных источников вибрации требования к параметрам вибрации и уровням структурного шума для них и линий метрополитена следует устанавливать из условия обеспечения нормативных параметров для суммарных значений вибрации и структурного шума.
4.1.8 Нормирование и критерии оценки вибрации в помещениях жилых и общественных зданий производят в соответствии с положениями подраздела 4.2 СП 441.1325800.2019.
4.1.9 Нормирование и критерии оценки структурного шума, создаваемого поездами метрополитена в помещениях жилых и общественных зданий и на рабочих местах, производят в соответствии с положениями подраздела 4.3 СП 441.1325800.2019.
4.2.1 Вибрация, передаваемая по грунту или непосредственно по несущим конструкциям здания или сооружения (например, при расположении пути или станции метрополитена в составе здания, на мосту или эстакаде), не должна оказывать негативного влияния на механическую безопасность несущих и ограждающих конструкций здания в течение его жизненного цикла.
4.2.2 Пешеходные переходы, галереи и мостки в зданиях и сооружениях должны быть спроектированы таким образом, чтобы амплитуды вибрации при движении подвижного состава метрополитена не вызывали чувство тревоги у потенциальных пользователей (пешеходы, посетители магазинов и т.д.).
В качестве критерия оценки допускаемых значений вибрации таких элементов конструкций зданий и сооружений следует использовать предельные значения, указанные в приложении C ГОСТ Р ИСО 10137-2016.
4.2.3 Оценку воздействия вибрации на несущие конструкции здания осуществляют в соответствии с ГОСТ Р 52892 и ГОСТ Р ИСО 10137.
4.2.4 Оцениваемой величиной, в соответствии с ГОСТ Р 52892, является пиковое значение виброскорости колебаний. В качестве дополнительного показателя оценивают частоту доминирующей составляющей спектра колебаний здания.
4.2.5 Пиковое значение виброскорости колебаний в третьоктавных полосах частот, выделяемых при движении подвижного состава метрополитена, оценивают в направлении трех взаимно перпендикулярных осей X, Y и Z - vpeak,x, vpeak,y и vpeak,z соответственно. Направление осей задается в соответствии с ГОСТ Р 52892.
4.2.6 Для оценки вибрации определяют vpeak,max - наибольшее из пиковых значений, полученных для каждого направления измерений, по формуле
vpeak,max = max(vpeak,x, vpeak,y, vpeak,z). (4.1)
Оцениваемой величиной, помимо скорости, может быть ускорение с последующим выполнением операции интегрирования.
4.2.7 Вибрацию элементов зданий, таких как стены и междуэтажные перекрытия, оценивают по создаваемым в них механическим напряжениям.
Механические напряжения в балках и пластинах, возникающие при их колебаниях на частоте, близкой к резонансной, оценивают по результатам прогнозирования скорости и частоты при условии, что данные результатов прогноза берутся в точках, где значения скорости максимальные.
Для нагруженных балок и бетонных плит, армированных в одном направлении, прямоугольного сечения равномерной жесткости, максимальное значение изгибающего напряжения σmax определяется по формуле
, (4.2)
где vmax - максимальное значение скорости по всей длине балки, м/с;
Edyn - приведенный динамический модуль упругости материала балки, МПа, определяется по пункту 4.3 СП 413.1325800.2018;
ρ - приведенная плотность материала балки, кг/м3;
- безразмерный коэффициент, равный отношению суммарного воздействия Gtot = Gbeam + Goverloads внешней нагрузки и собственного веса к собственному весу балки Gbeam;
kn - безразмерный модальный коэффициент, имеющий значение в диапазоне от 1 до 1,33 и зависящий от условий закрепления элемента и номера моды колебаний.
Примечание - Для бетонных плит с перекрестной арматурой полученное значение напряжения можно рассматривать как оценку сверху.
4.2.8 Для конструкций, длительное время подвергающихся динамическим воздействиям от метрополитена, а также для зданий повышенного уровня ответственности или представляющих историко-культурную ценность, прочностные и деформационные характеристики материалов, используемые для оценки уровня воздействия на конструкцию, снижают в соответствии с числом циклов воздействия динамической нагрузки (расчет на выносливость) в соответствии с требованиями СП 35.13330, СП 16.13330.
4.2.9 Полученные максимальные напряжения по формуле (4.2) оценивают в соответствии с типом и материалом конструкции по СП 16.13330, СП 35.13330, СП 63.13330, СП 64.13330 с учетом 4.2.8.
4.2.10 Вибрация, создаваемая при движении поездов метрополитена, характеризуется как широкополосная, длительная по ГОСТ Р 52892.
4.2.11 Для оценки влияния вибрации на здание его относят к одной из трех категорий, представленных в таблице 4.1.
|
Категория здания/сооружения |
Назначение |
|
1 |
Здания делового назначения, производственные здания и сооружения аналогичной конструкции |
|
2 |
Жилые здания и здания аналогичной конструкции или назначения |
|
3 |
Сооружения, не относящиеся к категории 1 или 2, имеющие высокую социальную важность (например, охраняемые памятники архитектуры, образовательные организации, научно-исследовательские институты, медицинские организации стационарного типа, культовые сооружения) |
|
Примечание - К факторам, влияющим на риск повреждения конструкций зданий и сооружений, относят: тип фундамента, тип и состояние грунта в основании; особенности несущей схемы конструкции; расстояние до источника вибрации, расчетные характеристики источника. | |
4.2.12 Предельные значения пиковой виброскорости колебаний vpeak,max, м/с, представлены на рисунке 4.1 в третьоктавных полосах частот 1 - 100 Гц. Цифрами на графике обозначены категории зданий по таблице 4.1.

Рисунок 4.1 - Пиковые значения виброскорости колебаний
4.2.13 При проектировании зданий с числом этажей более пяти следует оценивать виброскорость колебаний в горизонтальном направлении (оси X и Y) для верхнего эксплуатируемого перекрытия здания vhigh,floor, мм/с. Предельные значения этой характеристики приведены в таблице 4.2.
|
Категория сооружения |
vhigh,floor, мм/с |
|
1 |
10 |
|
2 |
5 |
|
3 |
2,5 |
|
Примечание - Приведенные значения могут быть применены как к промежуточным перекрытиям здания, так и к его стенам. | |
4.2.14 Проектирование оснований зданий и сооружений, попадающих в зону влияния линий метрополитена, проводят с учетом положений подраздела 6.14 СП 22.13330.2016. Скорость колебаний поверхности грунта и скорость колебаний фундамента определяют на основании расчета по разделу 5. Предельные значения скоростей колебаний фундамента - по 4.2.12 и, в отдельных случаях, выходящих за рамки 4.2.11 - по подразделу 6.14 СП 22.13330.2016.
4.3.1 Уровни вибрации в месте установки оборудования, чувствительного к вибрации, не должны превышать требований 4.3.2 для обеспечения заданных изготовителем оборудования параметров работы чувствительных контрольно-измерительных приборов или высокоточных производственных процессов.
Примечание - Примерами высокоточного оборудования являются микровесы, электронные, туннельные, атомно-силовые, оптические и другие микроскопы, фотографические проекционные системы интегральных схем, оборудование для выращивания кристаллов, средства лазерной интерферометрии, приборы и оборудование для записи голографических дифракционных решеток, профилометры, делительные машины, фотоповторители, установки совмещения и экспонирования, установки для прецизионной литографии, компараторы, эталонные установки, оптические скамьи, нанотехнологическое оборудование, высокоточные многокоординатные обрабатывающие центры, координатно-расточные станки, высокоточные измерительные и сканирующие системы и т.д.
4.3.2 Оцениваемой величиной является среднеквадратическое значение (СКЗ) виброскорости колебаний основания, м/с, в направлении трех взаимно перпендикулярных осей X, Y и Z - vrms,x, vrms,y и vrms,z соответственно, для третьоктавных полос в диапазоне 1 - 100 Гц, в месте установки оборудования.
Примечание - Для детального анализа распространения колебательных волн в грунте и их взаимодействия с несущими конструкциями здания допускается оценивание проводить в более узких полосах, в том числе в 1/12-октавных полосах и в непропорциональном спектре.
Допустимые параметры вибрации в месте установки определяет изготовитель оборудования. При их отсутствии следует пользоваться VC-кривыми, приведенными в таблице 4.3.
|
VC-кривая |
Среднеквадратическое значение скорости, мкм/с |
Пиковое значение скорости для синусоидальной волны, мм/с |
Пиковое значение скорости для случайной вибрации (10 мин), мм/с | |
|
8 Гц |
100 Гц | |||
|
A |
50 |
0,071 |
0,22 |
0,25 |
|
B |
25 |
0,035 |
0,11 |
0,12 |
|
C |
12,5 |
0,018 |
0,056 |
0,062 |
|
D |
6 |
0,0085 |
0,027 |
0,030 |
|
E |
3 |
0,0042 |
0,013 |
0,015 |
|
F |
1,56 |
0,0021 |
0,0068 |
0,0075 |
|
G |
0,78 |
0,0011 |
0,0033 |
0,0038 |
|
Примечание - Изготовителем также могут быть установлены требования к уровню воздушного и (или) структурного шума в месте размещения оборудования, а также требования к асимптотической жесткости и (или) динамической податливости основания под установку оборудования. | ||||
4.3.3 Оценку воздействия вибрации на технологическое оборудование проводят для времени оценки, составляющего не менее 30 мин в каждой точке для каждого направления.
Для повышения точности измерений рекомендуется увеличивать время проведения измерений и оценивания до 4 ч, если иное не оговорено в техническом задании (или в задании на проектирование).
Примечание - При проведении измерений для оценки вибрационного фона в месте установки высокоточного оборудования следует учитывать возможно большее число факторов, влияющих на него, в том числе: режимы работы другого оборудования, установленного в здании, где планируется размещение высокоточного оборудования, или в других зданиях, смежных с ним, режим работы метрополитена и иные факторы, указанные в ГОСТ Р ИСО ТС 10811-1.
4.3.4 Натурные измерения проводят по ГОСТ Р ИСО ТС 10811-1. В зависимости от условий измерений коэффициент преобразования датчиков должен быть не менее 100 мВ/(м/с2) для акселерометров и 25 мВ/(мм/с) для датчиков скорости.
4.3.5 Значения оцениваемых параметров по 4.3.2 следует определять посредством измерений с помощью интегрирующих цифровых приборов с использованием записи истории процесса.
Результаты измерений для каждой точки и каждого направления должны содержать оценку среднего значения СКЗ виброскорости колебаний основания, м/с, максимальное и минимальное значения СКЗ виброскорости колебаний основания, м/с, а также среднее значение ± среднеквадратическое отклонение СКЗ виброскорости колебаний основания, м/с.
Примечание - Для производств, на которых предъявляются особые требования к точности измерений, а также при проектировании производств на перспективу развития рекомендуется при измерениях также определять среднее значение СКЗ виброскорости колебаний основания ± удвоенное значение среднеквадратического отклонения СКЗ виброскорости колебаний основания, м/с.
4.3.6 Выполнение оценки по результатам измерений следует проводить на основании сопоставления измеренных величин по 4.3.5 с требованиями, установленными 4.3.2.
Для проектируемых производств выполнение оценки на соответствие критериям 4.3.2 проводят для прогнозируемых уровней вибрации, полученных по результатам расчета по разделу 5.
5.1.1 Расчет динамического воздействия, вызванного движением поездов метрополитена, проводят при прогнозировании ожидаемых значений вибрации в зданиях и сооружениях, расположенных в зоне влияния существующих или проектируемых линий метрополитена, в целях проверки их на соответствие санитарным требованиям, требованиям безопасности и надежности функционирования высокоточного оборудования, а также при разработке конкретных технических решений по виброзащите зданий, сооружений и верхнего строения пути (ВСП) метрополитена.
5.1.2 Требования по проектированию и реализации защиты от динамического воздействия линий метрополитена устанавливают для нового строительства в случае:
а) проектирования и (или) строительства зданий и сооружений в зоне влияния действующих линий метрополитена;
б) проектирования и (или) строительства зданий и сооружений в зоне влияния проектируемых или строящихся линий метрополитена;
в) проектирования и (или) строительства тоннельных и притоннельных сооружений, мостов и эстакад, станционных комплексов и транспортно-пересадочных узлов, входящих в состав действующих, проектируемых или строящихся линий метрополитена.
Примечание - К перечню сооружений, указанных в перечислениях а) - в), также относят электродепо, метромосты и эстакады, подстанции и другие объекты метрополитенов.
5.1.3 Требования по оценке степени вибрационного и шумового дискомфорта, воздействия вибрации на несущие конструкции зданий и сооружений и технологические процессы, располагаемые в них, устанавливают для существующих зданий и сооружений при:
а) оценке воздействия действующей линии метрополитена на здания, сооружения, станционные комплексы и транспортно-пересадочные узлы;
б) оценке воздействия действующей линии метрополитена в случае изменения интенсивности обращения по ней подвижного состава на здания, сооружения, станционные комплексы и транспортно-пересадочные узлы;
в) оценке воздействия проектируемой линии метрополитена на здания, сооружения, станционные комплексы и транспортно-пересадочные узлы.
Примечание - К перечню сооружений, указанных в перечислениях а) - в), также относят электродепо, метромосты и эстакады, подстанции и другие объекты метрополитенов.
5.1.4 Ориентировочное значение ширины зоны (полосы) влияния, считая от оси крайнего (внешнего) пути, составляет не более 40 м в плане или 45 м по наикратчайшему расстоянию от источника.
В отдельных случаях, при наличии сложных инженерно-геологических условий, в том числе на обводненных территориях, подземных протяженных коммуникаций и иных условий, изменяющих динамические свойства грунтов основания (в сторону увеличения скорости прохождения волн), ширина зоны (полосы) влияния может быть увеличена на значение, обоснованное расчетом.
Если уровень вибрации в моменты прохождения поездов метрополитена превышает уровень фоновой вибрации более, чем на 3 дБ, ширину зоны (полосы) влияния необходимо увеличивать.
Примечание - При размещении высокоточных производств и иного оборудования, чувствительного к вибрации и переизлучаемому структурному шуму, ширина зоны (полосы) влияния может быть увеличена не более чем на 150 м.
5.1.5 Оценку динамического воздействия от движения поездов метрополитена в помещениях жилых, административных и общественных зданий и сооружений, медицинских, образовательных и дошкольных образовательных организаций необходимо проводить в соответствии с 4.1.8.
Оценку динамического воздействия от движения поездов метрополитена в пассажирских, производственных и бытовых помещениях станций и сооружений метрополитена необходимо проводить в соответствии с 4.1.3.
Оценку динамического воздействия от движения поездов метрополитена на несущую способность зданий и сооружений необходимо проводить в соответствии с 4.2.
Оценку динамического воздействия от движения поездов метрополитена на размещаемое технологическое оборудование и производственные процессы необходимо проводить в соответствии с подразделом 4.3.
5.1.6 Определяемыми параметрами вибрации в соответствии с настоящим сводом правил являются:
- оценочные эквивалентные и максимальные значения виброскорости veq и vmax, м/с, соответственно, и оценочные эквивалентные значения виброускорения a8h, м/с2, на рабочих местах в октавных полосах со среднегеометрическими частотами 1 - 63 Гц.
Примечание - Для проектирования систем виброизоляции определяемые параметры вибрации следует определять не только в октавных, но и в третьоктавных полосах частот;
- оценочные среднеквадратические и пиковые значения виброскорости, vrms и vpeak, м/с, соответственно в третьоктавных полосах со среднегеометрическими частотами 1 - 100 Гц;
- оценочные эквивалентные и максимальные корректированные значения виброскорости vw,eq и vw,max, м/с, и оценочные эквивалентные корректированные значения виброускорения aw,8h, м/с2, на рабочих местах.
В качестве дополнительного параметра вибрации допускается использовать уровни виброскорости Lv и виброускорения La, дБ, определяемые по формуле
Lu = 20lg(u/u0), (5.1)
где u - вышеперечисленные в настоящем пункте параметры;
u0 - пороговое значение, равное 5·10-8 м/с для виброскорости и 10-6 м/с2 для виброускорения.
Эквивалентные значения виброускорения a, м/с2, в октавных полосах частот рассчитывают из эквивалентных значений виброскорости v, м/с, в октавных полосах частот по формуле
a = 2πfс.г.ν, (5.2)
где fс.г. - среднегеометрическая частота октавной полосы, Гц.
Определение корректированных значений виброскорости и виброускорения следует выполнять посредством измерений или расчетом по формулам (4.1) - (4.4) СП 441.1325800.2019, принимая функции частотной коррекции для вертикального и горизонтального направлений по таблице 4.4 СП 441.1325800.2019.
Переход от абсолютных значений вибрации в третьоктавных полосах частот к абсолютным значениям в октавных полосах осуществляют посредством энергетического суммирования по формуле
, (5.3)
где u1/1 - значение параметра вибрации (виброскорость, виброускорение) в октавной полосе частот, (м/с, м/с2);
u1/3 - значение соответствующего параметра вибрации в третьоктавной полосе частот, входящей в рассматриваемую октавную полосу, (м/с, м/с2).
5.1.7 Проектирование и строительство линий метрополитена на селитебной территории, а также проектирование и строительство зданий и сооружений, попадающих в зону влияния линии метрополитена, допускается при выполнении условий:
νw,eq ≤ νw,eq,доп, νw,max ≤ νw,max,доп, aw,eq ≤ aw,eq,доп;
Lνw,eq ≤ Lνw,eq,доп, Lνw,max ≤ Lνw,max,доп, Law,eq ≤ Law,eq,доп, (5.4)
где vw,eq, vw,max и Lνw,eq, Lνw,max - прогнозируемые оценочные величины виброскорости, м/с, и ее уровня, дБ, в рассматриваемом здании или сооружении, определяемые в соответствии с настоящим разделом;
aw,eq и Law,eq - прогнозируемые оценочные величины виброускорения, м/с2, и его уровня, дБ, в рассматриваемом здании или сооружении;
vw,eq,доп, vw,max,доп и Lνw,eq,доп, Lνw,max,доп - допустимые величины виброскорости, м/с, и ее уровня, дБ, принимаемые в соответствии с разделом 4;
aw,eq,доп и Law,eq,доп - допустимые величины виброускорения, м/с2, и его уровня, дБ, принимаемые в соответствии с разделом 4;
vpeak,max ≤ vpeak,max,доп, vrms ≤ vrms,доп, (5.5)
где vpeak,max, vrms - прогнозируемые оценочные величины пиковой виброскорости, м/с, определяемой по настоящему разделу и ее среднеквадратического значения;
vpeak,max,доп, vrms,доп - допустимые величины пиковой виброскорости, м/с, и ее среднеквадратического значения, принимаемые в соответствии с разделом 4.
Примечание - Формулы (5.4) и (5.5) допускают расчет как в форме абсолютных значений параметров вибрации, так и их уровней.
5.1.8 При проверке условий (5.4) - (5.5) в качестве ожидаемых значений вибрации в оцениваемом здании не допускается в первом приближении принимать значения, рассчитанные (измеренные) на поверхности грунта в месте расположения фундамента проектируемого здания или сооружения с учетом динамических характеристик здания или сооружения.
5.1.9 В случае, когда прогнозируемые значения вибрации превышают допустимые значения, т.е. имеет место нарушение условий (5.4) и (5.5), следует предусматривать специальные виброзащитные мероприятия и устройства в соответствии с разделами 7 и 8.
Выбор средств защиты от вибрации проводят с учетом их эффективности и экономичности.
Примечания
1 Перечисленные мероприятия следует предусматривать в случае превышения соответствующих требований по структурному шуму.
2 При выборе виброзащитных мероприятий приоритетным фактором является эффективность снижения вибрации. При возможности применить различные равноэффективные решения окончательное решение определяется на основании их экономической целесообразности с учетом организации компенсационных маршрутов, изменения эксплуатационных расходов и т.д
5.1.10 Расчет динамического воздействия в зданиях и сооружениях, попадающих в зону влияния линий метрополитена, осуществляют в два этапа:
5.1.10.1 При оценке динамического воздействия, создаваемого подвижным составом метрополитена, на здания и сооружения, располагаемые в зоне влияния линии метрополитена, на этапе разработки проектной документации (или в случае обоснования инвестиций) следует выполнять условия 5.2.
В этом случае определяют уровни вибрации в помещениях зданий и сооружений и проводят их оценку на соответствие требованиям раздела 4.
5.1.10.2 В случае наличия незначительных (до 1 дБ в низкочастотной области (ниже октавной полосы со среднегеометрической частотой 31,5 Гц) нормируемого диапазона), существенных (свыше 20 дБ в октавной полосе со среднегеометрической частотой 16 Гц) превышений уровней вибрации, полученных по результатам расчета по методике 5.2, а также для более детального проектирования систем виброизоляции по разделам 7 и 8 следует руководствоваться положениями 5.8.
Примечание - Расчет по 5.1.10.2 выполняется после выполнения расчета по 5.1.10.1, если иное не указано в техническом задании (или в задании на проектирование) или в задании на проведение оценки виброакустического воздействия.
5.1.11 Исходными данными для выполнения расчетов в соответствии с настоящим сводом правил являются:
1) результаты инженерно-геологических изысканий с определением динамических характеристик грунтов;
2) продольный план и профиль трассы метрополитена, требования лица, осуществляющего эксплуатацию объектов метрополитена, проектная документация по конструкции верхнего строения пути на рассматриваемых участках;
3) инженерно-топографический план (геоподоснова) с нанесенными зданиями, трассой метрополитена и инженерными коммуникациями;
4) архитектурные и конструктивные решения исследуемого (проектируемого) здания или сооружения;
5) график движения поездов по рассматриваемому участку линии;
6) иные необходимые исходные данные по разделу 10 ГОСТ Р ИСО 2017-2-2011.
В случае, когда основного перечня исходных данных недостаточно, необходимо проводить дополнительные исследования.
5.1.12 Прогнозирование значений виброскорости в зданиях и сооружениях и подбор виброзащитных мероприятий проводят в такой последовательности:
а) определяют вероятностные характеристики значений вибрации обделок тоннелей и лотковой части пути линии метрополитена в соответствии с 5.2, с учетом текущего состояния конструкции пути и скорости обращения подвижного состава (точки 1, 2 на рисунке 5.1);
б) задают или определяют исходное для расчета геологическое строение верхней части грунта: число и толщины слагающих слоев верхней части грунта общей толщиной H ≥ h + 15 м, где h - расстояние от поверхности грунта до уровня лотка;
в) определяют вероятностные характеристики массовых, динамических упругих и диссипативных параметров слагающих грунтов: плотность, скорости продольных и поперечных волн и коэффициент потерь в каждом слое по 6.2;
г) определяют ожидаемые значения виброскорости на поверхности грунта в соответствии с 5.4 с учетом их вероятностного разброса (точка 3 на рисунке 5.1);
д) определяют ожидаемые значения виброскорости фундамента здания в соответствии с 5.5 (точка 4 на рисунке 5.1);
е) определяют ожидаемые значения виброскорости несущих элементов здания (перекрытий и стен) в соответствии с 5.6, 5.7 (точки 5, 6 на рисунке 5.1);
ж) выполняют проверку условий 5.1.7;
з) в случае нарушения условий 5.1.7 осуществляют подбор и проектирование виброзащитных мероприятий в соответствии с разделом 7 или 8;
и) оценивают эффективность спроектированных виброзащитных мероприятий, повторно выполняя расчет по перечислениям г) - ж) настоящего пункта и проверку соответствия 5.1.7.
5.1.13 Вычисление виброскорости v, м/с, несущих и (или) ограждающих конструкций зданий и сооружений проводят по формуле
v = vu(p)·ktrains·kspeed·krail·kedge·ksoil·kfund·krez·kh, (5.6)
где vu(p) - измеренный (рассчитанный) третьоктавный (октавный) спектр вертикальной и горизонтальных составляющих скорости колебаний в одной из возможных точек измерения на рисунке 5.1, м/с;
ktrains - поправочный коэффициент, учитывающий возможность одновременного движения по нескольким путям на рассматриваемом участке, определяют по подпункту 5.2.2.3 СП 441.1325800.2019;
kspeed - поправочный коэффициент, учитывающий скорость движения поездов метрополитена, определяют по таблице 5.2 СП 441.1325800.2019;
krail - поправочный коэффициент, учитывающий износ пути, колесных пар, наличие стрелочных переводов, перекрестных съездов и прочих особых элементов пути, приводящих к существенному изменению динамической нагрузки на верхнее строение пути, определяют по таблице 5.1 СП 441.1325800.2019;
kedge - частотно-зависимая функция, учитывающая наличие системы виброизоляции (в конструкции ВСП, здания или на пути распространения волны в грунте). В случае ее отсутствия принимают равной единице в заданном частотном диапазоне;
ksoil - частотно-зависимая функция, характеризующая распространение колебательной энергии от тоннельной обделки до поверхности грунта, определяют по 5.4;
kfund - частотно-зависимая функция, характеризующая передачу вибрации с грунта на фундамент здания, определяют по 5.5;
krez - частотно-зависимая функция, соответствующая резонансному увеличению колебаний ограждающими поверхностями помещений, определяют по 5.7;
kh - частотно-зависимая функция, учитывающая изменение колебаний по высоте здания, определяют по 5.6.

точка 1 - на конструкции ВСП (в случае ее присутствия); точка 2 - в лотковой части тоннеля; точка 3 - на поверхности грунта на абрисе фундамента здания или сооружения; точка 4 - на фундаменте здания или сооружения; точка 5 - на этаже у ограждающей конструкции здания или сооружения; точка 6 - в центре перекрытия на этаже здания или сооружения
Рисунок 5.1 - Схема расположения характерных расчетных точек
При расчетах по формуле (5.6) применяемые коэффициенты (частотно-зависимые функции) следует вычислять в соответствии с настоящим разделом и в зависимости от точки, в которой были измерены (рассчитаны) третьоктавные (октавные) спектры составляющих скорости колебаний.
Указанные коэффициенты и частотно-зависимые функции допускается определять как путем расчета, так и на основании статистических данных натурных измерений. При применении результатов натурных измерений следует учитывать требования 5.8.
Формулу (5.6) применяют при вычислении нормируемых разделом 4 параметров как для вертикальной, так и для горизонтальной составляющих колебаний с учетом замены соответствующих частотно-зависимых функций в зависимости от направления воздействия.
5.1.14 В случае если измерения вибрации проводят в точках на абрисе фундамента для всех режимов движения поездов метрополитена, обращающихся по выбранному участку линии с установленными скоростями, коэффициенты ktrains, kspeed и krail принимают равными единице.
Примечание - При проведении измерений вибрации в точках на абрисе фундамента (точка 3 на рисунке 5.1) расчет выполняют от данной точки, т.е. начиная с перечисления г) 5.1.12.
5.1.15 Для мелких и пылеватых водонасыщенных песков и глинистых грунтов текучей консистенции в пределах зон, указанных в пункте 6.14.3 СП 22.13330.2016, необходимо проводить расчет длительных осадок от совместного действия статических и динамических (вибрационных) нагрузок. Расчет выполняется в соответствии с положениями подраздела 6.14 СП 22.13330.2016.
Для определения осадок виброползучести допускается использовать лабораторные и полевые испытания грунтов с учетом положений СП 22.13330 и 6.1.7 настоящего свода правил.
5.1.16 По результатам прогноза динамического воздействия выполняют для рассматриваемого здания или сооружения расчет структурного шума в нормируемых (в соответствии с положениями раздела 4) помещениях. Расчет выполняют в соответствии с требованиями раздела 6 СП 441.1325800.2019.
Примечание - Число и тип помещений для расчета могут быть увеличены по требованию генерального проектировщика.
5.2.1 На основании анализа проектной документации на выбранном участке линии метрополитена выделяют участки с однотипной конструкцией ВСП.
5.2.2 Исходными расчетными параметрами колебаний обделок тоннелей метрополитена являются величины вертикальной и горизонтальной составляющих виброскорости ее лотковой части, определяемые для выбранной конструкции ВСП в третьоктавных полосах частот, сигнал в которых выделяется за уровнем фоновой вибрации при измерениях на поверхности грунта.
Примечание - В качестве исходных уровней динамической нагрузки от подвижного состава метрополитена допускается использовать результаты натурных измерений уровней вертикальной и боковой динамической нагрузки, приходящихся от колеса на рельс.
Исходными расчетными параметрами для расчета колебаний открытых участков путей метрополитена, а также конструкции ВСП, проложенного по мостам и эстакадам, являются величины вертикальной и горизонтальной составляющих виброскорости шпал.
Примечание - В случае отсутствия указанных данных в первом приближении допускается применять результаты измерений динамических характеристик потока подвижных составов метрополитена на расстоянии 8 м от оси пути. При измерениях допускается руководствоваться положениями СП 441.1325800.2019 (приложение Б).
5.2.3 Значения виброскорости на лотковой части тоннельной обделки произвольного сечения с заданными грунтовыми условиями получают путем перерасчета величин виброскорости на обделке кругового сечения или на иной обделке, на которой известны параметры по 5.2.2 с учетом требований 5.2.5.
Величины вертикальной и горизонтальной составляющих виброскорости лотковой части тоннеля в третьоктавных полосах частот i определяют по формуле
. (5.7)
Величина p в формуле (5.7) представляет собой коэффициент пересчета между обделками разных типов и вычисляется по формуле
. (5.8)
Параметры формулы (5.8) аналогичны параметрам формулы (5.7), но приняты для тоннеля, с известными по 5.2.2 параметрами.
В формулах (5.7) и (5.8):
ω = 2πf - круговая частота колебаний, где f частота, Гц;
l2 - ширина тоннеля, м;
E - динамический модуль упругости тоннельной обделки, МПа;
J - момент инерции поперечного сечения тоннеля, м4;
k = 0,7 м-1;
m - погонная масса обделки тоннеля, кг/м;
Ky, Kc - коэффициенты, определяемые по формулам:
, Kc = -ρcll2,
где ρг, λг, μг - плотность, кг/м3, и коэффициенты Ламе прилегающего грунта;
cl - скорость распространения продольных упругих волн в грунте, м/с.
5.2.4 Динамические характеристики материалов тоннельной обделки назначают в соответствии с положениями СП 63.13330, СП 120.13330 и СП 413.1325800 или по результатам лабораторных испытаний материалов.
Массово-инерционные характеристики тоннельных обделок назначают на основании расчетов по имеющейся проектной (конструкторской) документации на конструкцию тоннельной обделки. Момент инерции поперечного сечения тоннеля определяют с учетом наличия жесткого основания и путевого бетона (при наличии) для каждой из центральных осей.
5.2.5 На стадии разработки проектной документации на линию (или сооружение) метрополитена величины виброскорости на лотковой части обделки допускается оценивать на основе результатов натурных измерений, проведенных на эксплуатируемых участках линий метрополитена, имеющих аналогичную конструкцию обделки и верхнего строения пути, а также находящихся в аналогичных, как и проектируемый участок инженерно-геологических условиях. При этом различие свойств грунта и скорости движения поездов не должно превышать 10% - 15%. Измерения следует проводить в соответствии с разделом 6 по методике приложения А.
5.3.1 Исходным расчетным параметром колебаний элементов конструкции станций, тупиков, камер съезда и переходных камер метрополитена является значение динамической силы, действующей на лотковую часть тоннеля.
5.3.2 Допускается в качестве исходных расчетных параметров принимать ускорения колебаний элементов верхнего строения пути и путевого бетона, измеренные в местах, соответствующих наибольшим значениям динамической нагрузки (например, в месте расположения изолирующего стыка при въезде на станцию) на объекте-аналоге.
Требования к выбору объекта-аналога для проведения измерений представлены в 5.3.6.
5.3.3 Величина динамической силы, действующей на лотковую часть тоннеля, определяется в третьоктавных полосах частот, сигнал в которых выделяется над уровнем фоновой вибрации при измерениях на поверхности грунта, но не менее третьоктавного диапазона 4 - 63 Гц.
Примечание - Величина динамической силы, действующей на лотковую часть тоннеля, в октавных полосах со среднегеометрическими частотами 16, 31,5 и 63 Гц для конструкции обделки, имеющей прямоугольное сечение и выполненной из сборного железобетона, конструкции верхнего строения пути типа "шпала в бетоне" и заданной структуры непосредственно прилегающего к лотковой части грунта приведены в таблице Б.3.
5.3.4 Для расчета величин виброскорости элементов конструкции станций, тупиков, камер съезда метрополитена применяют пространственные расчетные схемы конструкций, лежащих на упругом основании. Расчет выполняют с учетом положений пункта 6.14.5 СП 22.13330.2016.
5.3.5 Производят перерасчет величин виброскорости на лотковой части обделки прямоугольного сечения в значения виброскорости на лотковой части рассматриваемого сооружения (станции, тупика, камеры съезда) с заданными грунтовыми условиями.
В качестве исходных стандартизованных величин вертикальной и горизонтальной составляющих виброскорости используются вычисленные величины, полученные из заданных параметров лотковой части конструкции и непосредственно прилегающего грунта.
5.3.6 На стадии разработки проектной документации подземных сооружений метрополитена (станций, тупиков и камер съезда) величины виброскорости лотковой части допускается оценивать на основе результатов натурных измерений, проведенных на действующих сооружениях метрополитена, имеющих аналогичную конструкцию помещения и верхнего строения пути, а также находящихся в аналогичных, как и проектируемый объект инженерно-геологических условиях. При этом различие свойств грунта и скорости движения поездов должно быть не более 10% - 15%.
5.4.1 Вертикальную и горизонтальную составляющие виброскорости на поверхности грунта в третьоктавных (октавных) полосах частот i определяют по формуле
. (5.9)
Виброскорость vR(i) в третьоктавной (октавной) полосе частот i, м/с, вызванная волной Релея, определяется по формуле
. (5.10)
Виброскорость vl(i) в третьоктавной (октавной) полосе частот i, м/с, вызванная продольной волной, определяется по формуле
. (5.11)
В формулах (5.10) и (5.11):
- характерный размер, где D - ширина тоннеля;
H0 - глубина, на которой находится лотковая часть обделки тоннеля, м;
vmax(i) - максимальная из вертикальной и горизонтальной составляющих виброскорости в третьоктавной (октавной) полосе частот i на лотковой части тоннеля, принимаемых в соответствии с 5.2;
x - удаление от продольной оси тоннеля, м;
β - коэффициент затухания в грунте;
- волновое число волны Рэлея, где ct - скорость распространения поперечных волн;
- волновое число продольной волны в грунте.
Примечание - Динамические параметры грунтов определяют по результатам натурных и (или) лабораторных испытаний с учетом вероятностных характеристик их распределения. Коэффициент затухания определяют на среднегеометрических частотах, участвующих в расчете.
5.4.2 Передаточную функцию ksoil вычисляют по формуле (5.12) или получают экспериментально в соответствии с разделом 6.
. (5.12)
5.4.3 Эквивалентное корректированное значение виброскорости вычисляют по формуле
, (5.13)
где Tr - время оценки вибрационного воздействия;
Tej - частичное время воздействия вибрации, соответствующее реализации j-го режима движения поездов;
vw,max,j - максимальное корректированное значение виброскорости, характеризующее интенсивность вибрации за время Tej.
Значения величин времени воздействия вибрации определяются согласно графику движения поездов рассматриваемой линии метрополитена.
5.4.4 Допускается расчет по формулам (5.9) - (5.11), (5.13) проводить в предположении вероятностного разброса характеристик грунтов между тоннелем метрополитена и фундаментом здания.
В таком случае в качестве вертикальной и горизонтальной составляющих виброскорости на поверхности грунта в третьоктавных (октавных) полосах частот принимаются наиболее вероятные значения виброскорости по формуле (5.9), определяемые с учетом измеренной плотности распределения либо перцентиля.
Примечание - Для зданий нормального уровня ответственности в качестве наиболее вероятного значения выбирается уровень не менее 95%, для зданий повышенного уровня ответственности - не менее 99%.
5.5.1 Расчет скоростей колебаний фундамента здания с ленточным или плитным фундаментом производят в первом приближении как жесткой конструкции на упругом основании. Динамические характеристики грунтов определяют в соответствии с разделом 6. При этом характеристики материалов фундамента следует рассматривать в первом приближении в пределах их упругой работы.
Примечание - При выполнении детального прогноза по 5.1.10.2 допускается в первом приближении расчет выполнять в предположении, что основание обладает линейно-упругими свойствами, а для уточнения расчетов пользоваться соответствующими апробированными (верифицированными) моделями грунтов.
5.5.2 При расчетах по 5.1.3 допускается определять колебания фундаментов существующих зданий при наличии соответствующих экспериментальных данных.
5.5.3 Скорость колебаний фундамента здания и передаточную функцию kfund определяют в каждой третьоктавной (октавной) полосе в соответствии с пунктом 5.2.4 СП 441.1325800.2019.
Расчет скоростей колебаний фундамента и передаточной функции kfund в третьоктавной полосе частот осуществляют по аналогии с пунктом 5.2.4 СП 441.1325800.2019 при замене слагаемых, вычисляемых в октавных полосах частот, на слагаемые, вычисляемые в третьоктавных полосах частот.
5.5.4 Для уточнения скоростей колебаний фундаментов зданий необходимо проводить расчеты в сертифицированных программных комплексах. При этом расчетная модель должна учитывать действительные условия работы здания или сооружения, соответствующие рассматриваемой расчетной ситуации.
При этом должны быть учтены:
1) факторы, определяющие напряженно-деформированное состояние;
2) особенности взаимодействия элементов строительных конструкций между собой и с основанием;
3) пространственная работа строительных конструкций;
4) геометрическая и физическая нелинейности;
5) пластические и реологические свойства материалов и грунтов;
6) возможность образования трещин (и их влияние на динамические характеристики конструкций здания или сооружения);
7) возможные отклонения геометрических параметров от их номинальных значений.
5.5.5 Допускается скорость колебаний фундаментов зданий определять вероятностными методами строительной механики с учетом СП 26.13330.
5.6.1 Расчет распространения колебаний по несущим конструкциям зданий и сооружений, этажностью не превышающих 10 - 15 этажей, или характерным размером конструкции, не превышающим 30 - 45 м, для надземных сооружений проводят в предположении рассеяния энергии колебаний при распространении по несущему каркасу здания или сооружения с учетом потерь на внутреннее трение в материале.
5.6.2 Расчет распространения колебаний по несущим конструкциям заглубленных зданий и сооружений проводят с учетом 5.6.1, а также с учетом рассеяния энергии в прилегающем массиве грунта.
5.6.3 Способность материала конструкций поглощать энергию колебаний вследствие внутреннего трения, обусловливающая затухание свободных колебаний, характеризуют коэффициентом поглощения ψ, определяемым по СП 413.1325800.
5.6.4 В первом приближении расчет распространения колебаний по несущим конструкциям зданий и сооружений допускается не учитывать "в запас" расчетной модели, принимая передаточную функцию kh = 1 в исследуемой полосе частот нормируемого диапазона в соответствии с разделом 4.
5.6.5 Для уточнения распространения колебаний по несущим конструкциям зданий и сооружений необходимо проводить расчеты в сертифицированных программных комплексах или использовать апробированные методики расчета, результаты которых подтверждены результатами натурных измерений на объектах-аналогах. При этом расчетная модель должна учитывать действительные условия работы здания или сооружения, соответствующие рассматриваемой расчетной ситуации, в том числе факторы, указанные в 5.5.4.
5.7.1 Расчет значений резонансного увеличения амплитуд колебаний конструкций проводят для изгибаемых элементов зданий и сооружений (перекрытий, покрытий и т.д.).
Расчетная схема изгибаемых элементов определяется с учетом условий их закрепления в несущих конструкциях.
5.7.2 Для выбранных групп изгибаемых элементов определяют плотность форм их колебаний и передаточные функции krez в третьоктавных полосах частот, в которых сигнал от поездов метрополитена выделяется над уровнем фоновой вибрации.
Расчетная схема для перекрытий зданий должна учитывать наличие (влияние) внутренних перегородок, а также отражать реальные физико-механические и массово-геометрические параметры элемента, в том числе изменение поперечного сечения изгибаемого элемента.
Расчет допускается проводить в рамках численного моделирования в апробированных программных комплексах, в том числе построенных на основе метода конечных элементов (МКЭ). Для простых перекрытий в плане (квадратные, круглые, прямоугольные) при шарнирном, жестком или упругом закреплении торцов или их комбинации допускается использовать расчетные формулы строительной механики и теории упругости.
Примечание - Для зданий и сооружений, находящихся в эксплуатации, по результатам обследований определяют физико-механические характеристики несущих и (или) ограждающих конструкций, которые учитывают при выполнении указанного динамического расчета. При этом для новых зданий и сооружений допускается использовать нормативные параметры материалов конструкций.
5.7.3 Основываясь на полученных значениях частот и форм колебаний ограждающих конструкций по 5.7.2, определяют их передаточную функцию по пункту 5.2.5 СП 441.1325800.2019.
5.7.4 Жесткость изгибаемых элементов железобетонных конструкций, при определении динамических перемещений и напряжений допускается определять по формуле
D = Eb1·Ired, (5.14)
где Eb1 - модуль деформации сжатого бетона, определяемый в зависимости от продолжительности действия нагрузки и с учетом наличия или отсутствия трещин по СП 63.13330;
Ired - момент инерции приведенного поперечного сечения относительно его центра тяжести, определяемый с учетом наличия или отсутствия трещин по СП 63.13330.
5.7.5 Жесткость изгибаемых элементов железобетонных конструкций при наличии соответствующих экспериментальных данных допускается определять с учетом раскрытия трещин в растянутой зоне бетона.
5.7.6 Для уточнения значений резонансного увеличения амплитуд колебаний конструкций выполняют их расчет в соответствии с положениями данного раздела как для нормативных параметров материалов (например, начального модуля упругости бетона), так и для параметров материалов с учетом времени нагружения (т.е. с учетом старения).
Примечание - Данный расчет проводят для этапа по 5.1.10.2. Для этапа по 5.1.10.1 его проводят при соответствующем задании генерального проектировщика.
5.8.1 Общие положения
5.8.1.1 Для детального расчета динамического воздействия линий метрополитена на здания и сооружения следует разрабатывать детальные расчетные математические модели, например, используя МКЭ, метод граничных элементов (МГЭ), метод конечных разностей или другие апробированные методы строительной механики. Допускается совмещение указанных методов в рамках единой расчетной модели.
5.8.1.2 При разработке модели необходимо учитывать основные характеристики источника вибрации, пути распространения и объекта воздействия по ГОСТ Р ИСО 14837-1-2007 (приложение A), учитывая специфику линий метрополитена.
5.8.1.3 Прогноз допускается выполнять по формуле (5.6), в которой необходимые передаточные функции kedge, kfund, krez, kh определяют по результатам расчетов на моделях, построенных с учетом требований 5.8.
5.8.1.4 Допускается использование в расчетах вероятностных методов и методов теории надежности, учитывающих статистический разброс жесткости оснований и случайную природу динамических нагрузок.
5.8.2 Общие требования к расчетной модели
5.8.2.1 Расчетная модель должна удовлетворять ГОСТ Р ИСО 14837-1-2007 (пункты 8.2.2.3 - 8.2.2.4) и учитывать физические особенности взаимодействия подвижного состава с конструкцией верхнего строения пути, взаимодействия конструкции верхнего строения пути и тоннельной обделки, распространения и видоизменения колебательной энергии при распространении волнового фронта от тоннельной обделки по грунту до фундамента здания или сооружения, перехода в здание и распространения по несущим и ограждающим конструкциям здания в соответствии с ГОСТ Р ИСО 14837-1-2007 (приложение A).
5.8.2.2 Расчетные сопротивления и деформационные характеристики материалов строительных конструкций принимают с учетом их старения расчетный срок службы сооружения. Расчетный срок службы сооружения должно определять лицо, осуществляющее разработку проектной документации, по согласованию с техническим заказчиком. Рекомендуемые сроки службы зданий и сооружений приведены в таблице 1 ГОСТ 27751-2014.
5.8.2.3 При расчетах используют физико-механические и динамические параметры грунтов, полученные с учетом 6.1.6.
5.8.2.4 Расчеты по численным моделям МКЭ и МГЭ допускается проводить при использовании гармонического сигнала на каждой среднегеометрической частоте исследуемого диапазона третьоктавных полос.
Представление результатов в октавной полосе частот нормируемого диапазона осуществляется с помощью энергетического суммирования по формуле (5.2).
5.8.2.5 В расчетной модели, по возможности, следует учитывать наличие иных инженерных коммуникаций, расположенных между исследуемым зданием или сооружением и линией метрополитена.
5.8.3 Верификация расчетной модели
5.8.3.1 Перед применением в целях прогноза расчетная модель должна быть верифицирована с результатами натурных испытаний, т.е. должна быть построена модель линии метрополитена и здания с учетом 5.8.3.2.
Примечание - Расчетная динамическая модель здания (РДМ) должна быть согласована с расчетными статическими моделями конструкций, учитывающими особенности распределения нагрузок, масс и жесткостей зданий и сооружений в плане и по высоте, а также пространственный характер деформирования конструкций при воздействии колебательных волн в основании.
Расчет зданий и сооружений, имеющих сложное конструктивно-планировочное решение, следует определять с применением пространственных РДМ зданий и с учетом пространственного характера распределения колебательных волн в основании.
В пространственной РДМ следует учитывать динамическое взаимодействие сооружения с основанием. Динамические нагрузки, передаваемые сооружением на основание, следует принимать пропорциональными перемещениям самого сооружения. Коэффициенты пропорциональности (коэффициенты упругой жесткости основания) следует определять на основе упругих параметров грунтов, вычисляемых по данным о скоростях упругих волн в грунте или на основе корреляционных связей этих параметров с физико-механическими свойствами грунтов (раздел 6 настоящего свода правил).
5.8.3.2 Для целей верификации должен быть выбран участок линии метрополитена, для которого известны:
а) конструкция верхнего строения пути и тип тоннельной обделки (продольный, поперечный профили);
б) скорость и тип подвижного состава;
в) результаты инженерно-геологических изысканий с динамическими характеристиками грунтов по 5.1.12;
г) инженерно-топографический план (геоподоснова) с указанием оси линии метрополитена исследуемого здания или сооружения;
д) конструктивные и архитектурные чертежи здания или сооружения;
е) результаты измерений вибрации лотка и тоннельной обделки, грунта вблизи фундамента, на фундаменте и в помещениях здания, выполненных в соответствии с приложением Б.
5.8.3.3 Расчетная модель должна учитывать 5.8.3.2. По результатам расчетов должно быть показано соответствие результатов вычислений и результатов натурных измерений для:
1) определения соответствия уровней вибрации поверхности грунта измеренным значениям;
2) определения затухания (видоизменения) спектра колебаний при переходе с грунта на фундамент сооружения;
3) определения видоизменения колебаний при распространении по конструкциям здания.
5.8.3.4 Расчетная модель считается верифицированной в случае, если расхождение между результатами расчета и результатами натурных измерений не превышает 3 дБ по уровню виброскорости. В противном случае расчетную модель для целей прогноза использовать нельзя и требуется ее переработка.
Результаты верификации следует оформлять отдельным отчетом и прикладывать к результатам прогноза.
5.9.1 Расчет уровней структурного шума выполняют для помещений жилых и общественных зданий, указанных в подразделе 4.3 СП 441.1325800.2019 в соответствии с разделом 6 СП 441.1325800.2019.
5.9.2 Расчет уровней переизлучаемого структурного шума в производственных, пассажирских и бытовых помещениях станций метрополитена, а также на рабочих местах выполняется в соответствии с разделом 6 СП 441.1325800.2019 применительно к указанным помещениям.
6.1.1 При анализе распространения вибрации в грунте от тоннелей метрополитена расчеты следует проводить в нормируемых третьоктавных диапазонах со среднегеометрическими частотами 1 - 80 Гц, сигнал в которых выделяется за уровнем фоновой вибрации при измерениях на поверхности грунта.
6.1.2 При использовании положений раздела 5 в расчетах амплитуд виброскорости на поверхности грунта требуется задание следующих параметров грунтовых условий в заданном районе:
- типа стратификации - число слоев и толщину каждого слоя (далее принимается общее число слоев 1 ≤ Nс ≤ 3 с существенно отличающимися свойствами);
- плотности грунта в каждом слое ρ, кг/м3;
- скоростей продольных и поперечных упругих волн cl и ct в каждом слое, м/с;
- коэффициента затухания β в каждом слое.
6.1.3 В случае, если свойства грунта меняются вдоль оси тоннеля метрополитена, допускается использование настоящего свода правил, если горизонтальный пространственный масштаб изменений параметров превышает 40 м. При этом необходимо независимое проведение измерений на поперечных разрезах с шагом вдоль линии метрополитена равным данному пространственному масштабу изменений.
6.1.4 В случае, если изменения основных определяющих параметров грунта в поперечном направлении превышают 50% допускается использование настоящего свода правил с определением и дальнейшим использованием при расчетах усредненных вдоль этого направления характеристик.
6.1.5 Нормативные динамические характеристики грунтов, необходимые для расчета величин вибрации в зданиях, определяют в процессе геологических изысканий или на основе лабораторных динамических испытаний по ГОСТ 12248.3, ГОСТ 12248.9, ГОСТ 12248.10, ГОСТ Р 56353 или прямых измерений на месте (по методике подраздела 6.3) равными их математическим ожиданиям, полученным на основании обработки результатов испытаний, если не оговорены иные условия, определяющие их значения.
К динамическим параметрам грунтов относят:
а) динамический модуль упругости на частотах 16, 31.5 и 63 Гц, Edyn16 (Edyn31.5, Edyn63), Н/мм2;
б) динамический модуль сдвига на частотах 16, 31.5 и 63 Гц, Gdyn16 (Gdyn31.5, Gdyn63), Н/мм2;
в) коэффициент потерь η;
г) коэффициент Пуассона ϑ;
д) скорость распространения продольных волн cl, м/с;
е) скорость распространения поперечных волн ct, м/с.
В рамках технического задания может быть внесено требование о предоставлении графика деградации модуля сдвига и коэффициента демпфирования.
Испытания для определения параметров а) - г) следует вести параллельно на приборе трехосного сжатия (диаметр образцов не менее 70 мм) и резонансной колонке (диаметр образцов не менее 50 мм) по ГОСТ Р 56353 с учетом требований пункта 5.1.10 СП 441.1325800.2019, предъявляемых к используемому оборудованию и организации, выполняющей указанные испытания.
Ориентировочные значения параметров различных типов грунтов приведены в СП 441.1325800.2019 (приложение А).
Примечания
1 Расчетные значения характеристик грунта должны быть определены с двусторонней доверительной вероятностью, а в качестве расчетных приняты значения, повышающие надежность проектного решения.
2 В рамках технического задания может быть внесено требование о предоставлении параметров динамического модуля упругости и модуля сдвига на других частотах из ряда 1, 2, 5, 10, 15, 20, 25, 30, 40, 50, 100 Гц, в случае если доминирующие частоты динамического воздействия для данной категории подвижного состава и типа ВСП выделяются для более низких частот. При этом динамические параметры грунтов должны быть определены для минимум двух частот из указанного ряда.
6.1.6 При выполнении расчетов следует учитывать, что динамические характеристики грунтов (скорости распространения продольных и поперечных волн, коэффициент потерь) являются зависимыми от вида напряженно-деформированного состояния, уровня напряжений, скорости нагружения и других факторов, а, следовательно, и от способа испытаний.
В расчетах следует применять характерные значения динамических характеристик грунтов и скальных массивов, полученные в полевых или лабораторных условиях методом, наиболее соответствующим применяемой расчетной модели.
Примечание - Характерные расчетные значения механических характеристик грунтов допускается корректировать на основании сопоставимого опыта.
6.1.7 Лабораторные испытания грунтов следует проводить с воспроизведением статических и динамических напряжений, соответствующих глубине залегания испытуемого грунта, с последующим суммированием полученных относительных линейных деформаций виброползучести εd по СП 22.13330.
6.2.1 Если динамические и диссипативные свойства двух соседних слоев отличаются соответственно менее чем в 1,5 и 2 раза, эти слои объединяются в один с общей суммарной толщиной h = h1 + h2 и средними скоростями распространения упругих волн и коэффициента затухания по формулам:
; (6.1)
,
где 1, 2 - номер слоя, индексы l и t соответствуют продольным и поперечным волнам, соответственно.
При проведении оценки необходимо рассматривать лишь верхнюю часть грунта до глубины
H = hобд + dобд, м (6.2)
где hобд - расстояние от поверхности грунта до основания обделки тоннеля, м;
dобд - внешний диаметр тоннельной обделки, м.
6.2.2 При определении структуры верхней части грунта на предварительном этапе анализа геологической ситуации необходимо руководствоваться имеющейся геологической информацией: продольным профилем трассы и т.п. Используя значения, представленные в СП 441.1325800.2019 (приложение А) и правило объединения слоев с близкими свойствами из 6.2.1, строят начальную одно-, двух- или трехслойную модель грунта. При этом толщины слоев задаются окончательно, а их динамические и диссипативные параметры требуют дальнейшего уточнения.
6.2.3 Если предварительная информация о геологическом строении грунта отсутствует, необходимо решать полную обратную задачу с неизвестным числом слоев, их толщинами, динамическими и диссипативными свойствами.
Примечание - Задачу решают итерационно до достижения необходимой точности.
6.2.4 Чтобы учесть зависимость определяемых параметров от частоты, а также, принимая во внимание 6.1.4, расчеты следует проводить в третьоктавных диапазонах со среднегеометрическими частотами 1 - 63 Гц, если иная ширина частотного диапазона не обоснована расчетом или непосредственными измерениями на месте.
6.2.5 Методика подбора параметров грунта приведена в приложении Г и подразумевает подстановку конкретных величин в расчетную схему, изложенную в разделе 5, и сравнение рассчитанных значений с набором измеренных величин на разных расстояниях от источника вибрации.
6.3.1 Общая методика получения экспериментальной информации должна включать следующие компоненты:
- описание аппаратуры, используемой в процессе измерений;
- описание процедуры измерений;
- описание способа представления полученных результатов;
- описание процедуры обработки результатов.
6.3.2 При выполнении оценки по 5.1.3 и при отсутствии тоннеля метрополитена на участке вблизи исследуемого здания проводят прямые измерения для экспериментального определения передаточной функции ksoil по 6.3.3 и 6.3.5. В случае наличия тоннеля измерения допускается проводить как в отсутствие уложенного ВСП, так и при смонтированной конструкции ВСП с учетом требований СП 120.13330 по 6.3.4 - 6.3.5.
Передаточная функция ksoil определяется как спектральное отношение динамической нагрузки в источнике к измеренному динамическому отклику (виброскорость или виброускорение) на фундаменте здания (или поверхности грунта на абрисе фундамента).
6.3.3 Стандартизованный источник вибрации должен удовлетворять следующим требованиям:
- в качестве источника допускается использовать инерционный дебалансный вибратор, электрогидравлический или пневматический вибровозбудитель, динамический ударный молоток или аналоги (далее - источник);
- источник помещается в скважине на отметку (глубину), соответствующую отметке уровня головки рельса тоннеля метрополитена;
- в месте расположения источника скважина не должна иметь чугунной или железобетонной обсадной трубы;
- в случае, если проведение измерения без обсадной трубы невозможно, допускается использовать ее, предварительно определив акустический коэффициент передачи (снижение амплитуды вибрации на внешней поверхности трубы, контактирующей с грунтом);
- в плане место установки источника должно быть удалено не более чем на 10 м от оси тоннеля.
Примечание - В качестве стандартизированного источника допускается использовать стандартный взрывной пакет мощностью 50 - 100 г тротилового эквивалента, при соблюдении соответствующих правил обращения со взрывчатыми веществами.
6.3.4 Стандартизованный источник вибрации в тоннеле метрополитена должен удовлетворять следующим требованиям:
- в качестве источника допускается использовать инерционный дебалансный вибратор, электродинамический или сервогидравлический вибровозбудитель, реализующий динамическую нагрузку, сопоставимую с динамической нагрузкой от движущегося поезда, динамический ударный молоток или аналоги (далее - источник);
- источник устанавливается по оси пути тоннеля метрополитена и крепится к обделке в случае отсутствия уложенного ВСП и на конструкцию ВСП при ее наличии. Схема крепления выбирается отдельно для каждого типа источника и должна реализовывать механизм силового воздействия тележки (оси) подвижного состава метрополитена.
Примечание - Расчетное значение динамической нагрузки от подвижного состава метрополитена и схему ее приложения назначают по СП 120.13330 и СП 35.13330.
6.3.5 Натурные измерения величин виброскорости должны удовлетворять следующим требованиям:
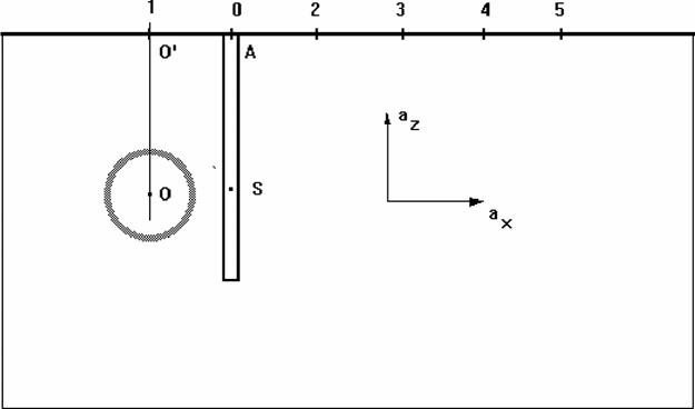
- измеряемыми величинами являются абсолютные эквивалентные, максимальные и пиковые значения вертикальных и горизонтальных компонент виброскорости в третьоктавных полосах частот;
- измерение величин вертикальных и горизонтальных компонент виброскорости производится на поверхности грунта в пяти точках (рисунок 6.1) с шагом 10 м, удаленных от источника на расстояния от 0 до 40 м (по поверхности грунта) в перпендикулярном к линии метрополитена направлении в сторону имеющейся жилой или административной застройки, при этом первую точку необходимо располагать над осью тоннеля по одну сторону от скважины, а остальные - по другую на расстояниях 10, 20, 30, 40 м от оси скважины. Обязательно проведение измерений на фундаменте здания или сооружения (при его наличии);
- измерения проводятся в третьоктавной полосе со среднегеометрическими частотами 1 - 100 Гц, если иная ширина частотного диапазона не обоснована расчетом или непосредственными измерениями на месте.

О - ось тоннеля (действующего или строящегося); AS - скважина, в которую помещается источник S; 1, ..., 5 - точки измерений; vz, vx – измеряемые величины виброскорости
Рисунок 6.1 - Схема проведения измерений (разрез)
6.3.6 Длительность (число) испытаний назначают сопоставимой с реализацией не менее 10 событий проезда поездов с учетом интенсивности движения, установленной для выбранной линии метрополитена, и требований 6.3.9.
6.3.7 Скорости распространения продольных и поперечных волн допускается определять геофизическими методами. Технические требования к производству геофизических работ установлены в соответствующих строительных нормах [2].
6.3.8 Результаты измерений подвергают статистической обработке с вычислением средних значений виброскорости vср в третьоктавных полосах частот по формуле
.
При этом среднеквадратические отклонения виброскорости в третьоктавных полосах частот вычисляются по формуле
.
6.3.9 Достаточность числа проведенных измерений n проверяется исходя из условия обеспечения относительного доверительного интервала e = ± 0,4vср в октавных полосах частот при доверительной вероятности 0,95.
Доверительный интервал вычисляется по формуле
,
где n - число измерений;
σ - значения среднеквадратических отклонений виброскорости в октавных полосах частот;
tn - коэффициент Стьюдента.
6.3.10 Для определения параметров грунта, после получения экспериментального массива данных (состоящего из наборов абсолютных эквивалентных величин вертикальных и горизонтальных проекций виброскорости в пяти точках на поверхности грунта) применяется методика приложения Г. В результате ее выполнения корректируется предварительная модель строения верхней части грунта или, в случае ее отсутствия, строится новая.
7.1.1 Наиболее эффективным способом снижения динамической нагрузки на здания и сооружения, расположенные в зоне влияния линии метрополитена, является виброизоляция "в источнике", т.е. виброизоляция верхнего строения пути метрополитена.
При этом смещается собственная частота колебаний обделки в сторону более низких частот и уменьшается амплитуда вибрации во всем диапазоне частот, за исключением новой собственной частоты.
Примечание - Однако, чтобы получить требуемый эффект, необходим тщательный учет механических параметров при моделировании вибрации в получаемой механической системе. При некорректном применении виброзащитных мероприятий можно не получить необходимого снижения уровней или получить отрицательный эффект.
7.1.2 Снижение динамической нагрузки, создаваемой подвижным составом линии метрополитена и передаваемой от верхнего строения пути на обделку и далее по грунту на здание или сооружение, достигается за счет снижения жесткости пути.
7.1.3 Необходимость разработки виброзащитной конструкции верхнего строения пути устанавливается в результате выполнения следующей предварительной процедуры:
а) оценивают значения вибрации в помещениях здания и на его фундаменте (или этажах), а также оценивают уровни динамического воздействия на несущие конструкции здания или сооружения в соответствии с разделом 5;
б) проверяют условия (5.3). В случае их невыполнения сопоставляют эквивалентные и (или) максимальные значения виброскорости (эквивалентные значения виброускорения) в октавных (третьоктавных) полосах частот с fс.г. от 1 до 63 Гц с выделяющимися над фоном значениями виброскорости с предельными значениями виброскорости (виброускорения), равными нормативным значениям по СанПиН 1.2.3685-21 (таблицы 5.4, 5.36, 5.37), соответствующим допустимым эквивалентным и максимальным корректированным значениям виброскорости по СП 441.1325800.2019 (таблица 4.2) (предельно допустимым эквивалентным корректированным значениям виброускорения по СП 441.1325800.2019 (таблица 4.3), допускаемым среднеквадратическим значениям виброскорости или пиковым значениям виброскорости по 4.2 и 4.3), и вычисляют превышения в октавных (третьоктавных) полосах нормируемого диапазона;
в) подбирают виброзащитные мероприятия в конструкции верхнего строения пути с учетом прогнозируемых превышений в октавных (третьоктавных) полосах нормируемого диапазона в соответствии с настоящим разделом.
7.1.4 Динамические характеристики грунтов, необходимые для расчета уровней вибрации и подбора параметров виброзащитной конструкции, определяют по разделу 6.
7.1.5 Виброзащитная конструкция верхнего строения пути должна соответствовать СП 120.13330, ГОСТ 23961, обеспечивать равномерное распределение на тоннельную обделку нагрузки от подвижного состава метрополитена, стабильность геометрических параметров рельсовой колеи, прочность и надежность всех составных элементов, а также устойчивость рельсошпальной решетки от сдвига в горизонтальной и вертикальной плоскостях под воздействием внешних и внутренних сил.
Указанные характеристики виброзащитной конструкции верхнего строения пути должны быть обоснованы расчетом в соответствующих разделах проектной документации.
7.1.6 Участки (длина, расположение на трассе и т.д.), на которых требуется устройство виброзащитной конструкции верхнего строения пути, а также требуемая эффективность виброизоляции конструкции, назначаются по результатам прогноза уровней вибрации от движения поездов метрополитена с учетом положений раздела 5.
7.1.7 Контроль качества при устройстве виброзащитной конструкции верхнего строения пути должен производиться на всех этапах выполнения строительно-монтажных работ.
7.1.8 Контроль эффективности виброизоляции виброзащитной конструкции ВСП проводится перед сдачей пути (участка линии) в эксплуатацию на основании сопоставления измеренной эффективности виброизоляции конструкции ВСП с проектной.
Контроль эффективности выполняется по разделу 13 ГОСТ Р ИСО 2017-2-2011 с учетом соответствующих положений 6.3.
7.1.9 В случае недостижения виброзащитной конструкцией ВСП проектных параметров по эффективности виброизоляции необходимо проведение натурных ее испытаний для оценки возможных отклонений на всех этапах проведения строительно-монтажных работ от требований проектной (рабочей) документации и проведение научно-исследовательских работ с целью разработки технических решений или комбинации таких технических решений, позволивших бы повысить эффективность виброизоляции.
7.2.1 Все элементы ВСП должны обеспечивать свои эксплуатационные показатели в диапазоне температур соответствующем диапазону температур в тоннеле метрополитена (с учетом наличия приточных вентиляционных киосков и иных притоннельных сооружений) в течение срока службы конструкции пути, если иное не указано в задании на проектирование.
Все элементы ВСП должны соответствовать требованиям пункта 5.15.2.23 СП 120.13330.2012.
7.2.2 Вибродемпфирующие упругие элементы виброзащитной конструкции ВСП должны иметь расчетную статическую и динамическую жесткости (на частоте, соответствующей собственной частоте колебаний виброзащитной системы, а также на доминирующих частотах спектра входного воздействия подвижного состава метрополитена) в течение срока службы конструкции верхнего строения пути, если иное не указано в задании на проектирование.
7.2.3 Динамические характеристики упругих элементов виброзащитной конструкции ВСП должны быть подтверждены соответствующими испытаниями в соответствии с методикой ГОСТ Р 59940 в условиях, максимально приближенных к условиям эксплуатации в тоннеле метрополитена.
Протоколы испытаний должны содержать данные о статических и динамических характеристиках применяемых материалов в зависимости от температурно-влажностного режима эксплуатации, диапазона нагрузок, числа циклов нагружения, сведения об изменении этих показателей в течение жизненного цикла изделия, устанавливаемого в задании на проектирование.
7.2.4 Заявляемые технические характеристики упругих элементов, применяемых в виброзащитной конструкции верхнего строения пути по 7.4.2, должны быть подтверждены результатами испытаний, выполненных в соответствии с положениями действующих нормативных документов по определению механических характеристик упругих элементов с учетом 7.2.3.
7.2.5 Перечень заявляемых технических характеристик упругих элементов виброзащитной конструкции верхнего строения пути должен соответствовать ГОСТ Р ИСО 2017-2.
7.2.6 Материалы, применяемые при строительстве, должны соответствовать требованиям пункта 5.16.1.2 СП 120.13330.2012.
7.3.1 Основной характеристикой упругих свойств пути является модуль упругости пути, определяемый по пункту 7.3.1 СП 441.1325800.2019. Жесткость подрельсового основания определяют по формуле (7.2) СП 441.1325800.2019.
7.3.2 Модуль упругости безбалластного пути при известной жесткости узла скрепления для эпюры подрельсовых опор 1840 шт./км, 1680 шт./км и 1600 шт./км приведен в таблицах 7.1 - 7.3, соответственно.
|
Ждоп, кН/мм |
Модуль упругости пути, МПа, при жесткости узла рельсового скрепления, Жскр, кН/мм | |||||||
|
20 |
30 |
50 |
70 |
90 |
100 |
125 |
150 | |
|
100 |
30,7 |
42,5 |
61,3 |
75,8 |
87,2 |
92,0 |
102,2 |
110,4 |
|
90 |
30,1 |
41,4 |
59,1 |
72,5 |
82,8 |
87,2 |
96,3 |
103,5 |
|
80 |
29,4 |
40,1 |
56,6 |
68,7 |
77,9 |
81,8 |
89,8 |
96,0 |
|
70 |
28,6 |
38,6 |
53,7 |
64,4 |
72,5 |
75,8 |
82,6 |
87,8 |
|
60 |
27,6 |
36,8 |
50,2 |
59,4 |
66,2 |
69,0 |
74,6 |
78,9 |
|
50 |
26,3 |
34,5 |
46,0 |
53,7 |
59,1 |
61,3 |
65,7 |
69,0 |
|
40 |
24,5 |
31,5 |
40,9 |
46,8 |
51,0 |
52,6 |
55,8 |
58,1 |
|
30 |
22,1 |
27,6 |
34,5 |
38,6 |
41,4 |
42,5 |
44,5 |
46,0 |
|
20 |
18,4 |
22,1 |
26,3 |
28,6 |
30,1 |
30,7 |
31,7 |
32,5 |
|
Ждоп, кН/мм |
Модуль упругости пути, МПа, при жесткости узла рельсового скрепления, Жскр, кН/мм | |||||||
|
20 |
30 |
50 |
70 |
90 |
100 |
125 |
150 | |
|
100 |
28,0 |
38,8 |
56,0 |
69,2 |
79,6 |
84,0 |
93,3 |
100,8 |
|
90 |
27,5 |
37,8 |
54,0 |
66,2 |
75,6 |
79,6 |
87,9 |
94,5 |
|
80 |
26,9 |
36,7 |
51,7 |
62,7 |
71,2 |
74,7 |
82,0 |
87,7 |
|
70 |
26,1 |
35,3 |
49,0 |
58,8 |
66,2 |
69,2 |
75,4 |
80,2 |
|
60 |
25,2 |
33,6 |
45,8 |
54,3 |
60,5 |
63,0 |
68,1 |
72,0 |
|
50 |
24,0 |
31,5 |
42,0 |
49,0 |
54,0 |
56,0 |
60,0 |
63,0 |
|
40 |
22,4 |
28,8 |
37,3 |
42,8 |
46,5 |
48,0 |
50,9 |
53,1 |
|
30 |
20,2 |
25,2 |
31,5 |
35,3 |
37,8 |
38,8 |
40,6 |
42,0 |
|
20 |
16,8 |
20,2 |
24,0 |
26,1 |
27,5 |
28,0 |
29,0 |
29,6 |
|
Ждоп, кН/мм |
Модуль упругости пути, МПа, при жесткости узла рельсового скрепления, Жскр, кН/мм | |||||||
|
20 |
30 |
50 |
70 |
90 |
100 |
125 |
150 | |
|
100 |
26,7 |
36,9 |
53,3 |
65,9 |
75,8 |
80,0 |
88,9 |
96,0 |
|
90 |
26,2 |
36,0 |
51,4 |
63,0 |
72,0 |
75,8 |
83,7 |
90,0 |
|
80 |
25,6 |
34,9 |
49,2 |
59,7 |
67,8 |
71,1 |
78,0 |
83,5 |
|
70 |
24,9 |
33,6 |
46,7 |
56,0 |
63,0 |
65,9 |
71,8 |
76,4 |
|
60 |
24,0 |
32,0 |
43,6 |
51,7 |
57,6 |
60,0 |
64,9 |
68,6 |
|
50 |
22,9 |
30,0 |
40,0 |
46,7 |
51,4 |
53,3 |
57,1 |
60,0 |
|
40 |
21,3 |
27,4 |
35,6 |
40,7 |
44,3 |
45,7 |
48,5 |
50,5 |
|
30 |
19,2 |
24,0 |
30,0 |
33,6 |
36,0 |
36,9 |
38,7 |
40,0 |
|
20 |
16,0 |
19,2 |
22,9 |
24,9 |
26,2 |
26,7 |
27,6 |
28,2 |
Примечание - При пользовании таблицами 7.1 - 7.3 для соответствующего значения жесткости узла рельсового скрепления Жскр, находим значение требуемого модуля упругости пути. Значение в левой графе таблиц показывает требуемую дополнительную жесткость Ждоп упругого слоя (подшпальной прокладки, подбалластного мата, системы "масса-пружина" и т.д.). В случае, если требуемое значение находится между приведенными в настоящих таблицах, применяют линейную интерполяцию.
7.3.3 Собственная частота, Гц, виброзащитной системы определяется расчетом по апробированной методике в сертифицированном программном комплексе.
Для приближенной оценки допускается использовать формулу
, (7.3)
где Ж - динамическая жесткость подрельсового основания, кН/мм;
munsp - колеблющаяся масса, кг, представляющая собой сумму необрессоренных масс тележки подвижного состава, а также конструкции ВСП (рельса, промежуточного скрепления, шпалы или полушпалы, бетона путевой плиты, балласта и т.д.), приходящуюся на одну подрельсовую опору.
7.3.4 Статические и динамические (на частоте, соответствующей собственной частоте колебаний виброзащитной системы, а также на доминирующих частотах спектра входного воздействия подвижного состава метрополитена) характеристики материалов, применяемых в виброзащитных конструкциях верхнего строения пути, назначаются с учетом 7.2.3 и 7.3.3.
Оценка эффективности виброизоляции производится с учетом изменения динамических характеристик упругих элементов виброзащитной конструкции ВСП в течение всего жизненного цикла изделия.
7.3.5 Не допускается применение виброзащитных конструкций верхнего строения пути при совпадении их частот собственных колебаний с доминирующими частотами спектра воздействия подвижного состава метрополитена. В противном случае должен быть предоставлен расчет, обосновывающий возможность указанного явления с учетом выполнения требований 5.1.5 и 5.1.7.
7.3.6 Суммарная жесткость упругих элементов виброзащитной конструкции ВСП должна обеспечивать удовлетворение требований на вертикальный прогиб пути и боковое смещение. Максимально допустимые вертикальные и горизонтальные перемещения пути должны составлять от 4 до 6 мм [3], [4].
7.3.7 Требования к статическому расчету конструкции пути приведены в СП 35.13330, СП 120.13330, [5], [6].
7.4.1 Решение о применении конкретного типа виброзащитной конструкции ВСП принимают на основании обоснования с учетом 5.1.9.
Конструкция пути должна обеспечивать длительный срок службы и ремонтопригодность.
7.4.2 В качестве виброзащитной конструкции верхнего строения пути применяют конструкции по ГОСТ Р ИСО 14837-1-2007 (рисунок B.1) и приложению В.
Примечание - Комбинация технических решений, используемых для снижения передаваемой вибрации и/или переизлучаемого структурного шума в разных конструкциях пути, не позволяет, как правило, повысить эффективность виброзащитной конструкции пути из-за возможного внутреннего резонанса системы виброизоляции. Например, если применение подшпальных прокладок позволяет понизить уровень передаваемой вибрации (переизлучаемого шума) на 10 дБ, а плавающая плита (балластное корыто) - на 20 дБ, то применение подшпальных прокладок в конструкции плавающей плиты (балластного корыта) не даст снижения в 30 дБ. В действительности, сочетание этих двух решений может дать значение ослабления вибрации даже меньшее, чем при применении одной только плавающей плиты.
7.4.3 При выборе типа виброзащитной конструкции верхнего строения пути следует руководствоваться ориентировочными (максимальными) значениями эффективности виброизоляции ВСП, приведенными в таблице 7.4.
|
Описание конструкции ВСП <1> |
Снижение уровня вибраций, дБ (раз) |
Схема <2> |
|
1 Рельсовые скрепления с упругими подрельсовыми прокладками |
2 - 3 дБ (1,3 - 1,4) в октавной полосе со среднегеометрической частотой 63 Гц |
В.2 |
|
2 Рельсовые скрепления с упругими подрельсовыми прокладками и упругими нашпальными прокладками |
6 - 8 дБ (2 - 2,5) в октавной полосе со среднегеометрической частотой 63 Гц |
В.3, В.4 |
|
3 Специальные виброгасящие рельсовые скрепления |
До 10 (3,2) дБ в октавной полосе со среднегеометрической частотой 31,5 Гц |
В.5 |
|
4 Шпалы с упругими подшпальными прокладками (шпалы-коротыши с упругой подшпальной прокладкой) |
До 10 (3,2) дБ в октавной полосе со среднегеометрической частотой 31,5 Гц |
В.6 |
|
5 Подбалластные маты |
До 17 (7,1) дБ в октавной полосе со среднегеометрической частотой 31,5 Гц |
В.7 |
|
6 Система "масса-пружина" |
До 30 (31,6) дБ в октавной полосе со среднегеометрической частотой 31,5 Гц |
В.8 |
|
<1> Основной виброгасящий элемент конструкции ВСП, т.е. основной элемент или группа элементов, снижающих жесткость пути. <2> Конструктивное исполнение по приложению В. | ||
7.4.4 При проектировании виброзащитной конструкции верхнего строения пути следует учитывать соответствующие требования СП 119.13330, СП 120.13330, а также пунктов 7.4.3 - 7.4.5 и 7.4.7 СП 441.1325800.2019.
7.4.5 При выборе типа ВСП требования по безопасности движения и эффективности виброгашения являются приоритетными над эксплуатационными параметрами (ремонтопригодность, удобство обслуживания и т.д.).
7.4.6 Для безбалластной виброзащитной конструкции ВСП допускается применение материалов, удовлетворяющих требованиям СП 63.13330, СП 297.1325800 в части требований к путевому бетону и бетонному основанию. В части демпфирующих и упругих материалов и устройств должны соблюдаться требования соответствующих нормативных документов.
7.4.7 Возможно применение конструкции ВСП, не указанной в настоящем своде правил. При этом необходимо соблюдать требования действующих нормативных документов.
8.1.1 Порядок оценки вибрации от движения поездов метрополитена необходимо проводить в соответствии с разделом 5.
При оценке эффективности разрабатываемого мероприятия по снижению избыточных значений динамических нагрузок необходимо учитывать нормируемые третьоктавные диапазоны частот 1 - 63 Гц, при контроле структурного шума - диапазон 63 - 250 Гц, при контроле воздействия вибрации на несущую способность зданий и сооружений, а также на технологическое оборудование - третьоктавный диапазон со среднегеометрическими частотами 1 - 100 Гц.
8.1.2 При проектировании виброзащитных мероприятий в зданиях, расположенных в пределах селитебной территории, следует выполнять условия (5.3).
Виброизолированные фундаменты зданий и сооружений должны проектироваться на основе и с учетом:
а) результатов инженерных изысканий для строительства;
б) результатов прогноза динамического воздействия со стороны линии метрополитена по 8.1.3;
в) постоянных и временных нагрузок, действующих на фундаменты рассматриваемого здания или сооружения;
г) окружающей застройки, притоннельных сооружений метрополитена и влияния на нее вновь строящихся или реконструируемых фундаментов зданий и сооружений;
д) экологических и санитарно-эпидемиологических требований.
8.1.3 Необходимость разработки системы виброизоляции здания устанавливают по результатам выполнения следующей предварительной процедуры:
а) оценивают значения вибрации в помещениях здания в соответствии с разделом 5;
б) проверяют условия (5.4). В случае их невыполнения сопоставляют эквивалентные и (или) максимальные значения виброскорости (эквивалентные значения виброускорения) в октавных (третьоктавных) полосах частот с fс.г. от 1 до 63 Гц с выделяющимися над фоном значениями виброскорости с предельными значениями виброскорости (виброускорения), равными нормативным значениям по СанПиН 1.2.3685-21 (таблицы 5.4, 5.36, 5.37), соответствующим допустимым эквивалентным и максимальным корректированным значениям виброскорости по СП 441.1325800.2019 (таблица 4.2) (предельно допустимым эквивалентным корректированным значениям виброускорения по СП 441.1325800.2019 (таблица 4.3), допускаемым среднеквадратическим значениям виброскорости или пиковым значениям виброскорости по 4.2 и 4.3), и вычисляют превышения в октавных (третьоктавных) полосах нормируемого диапазона;
в) подбирают виброзащитные мероприятия для зданий и сооружений с учетом прогнозируемых превышений в октавных полосах нормируемого диапазона в соответствии с настоящим разделом.
8.1.4 Динамические характеристики грунтов, необходимые для расчета уровней вибрации и подбора параметров виброзащитной конструкции здания или сооружения, определяются по разделу 6.
8.1.5 Защита зданий от вибрации, создаваемой подвижным составом линий метрополитена, осуществляется по одной из двух принципиальных схем пункта 8.1.5 СП 441.1325800.2019.
8.1.6 Защита от структурного шума происходит вследствие отсечения (отделения) системой виброизоляции элементов здания (надземной части или всего здания в зависимости от выбранной схемы по пункту 8.1.5 СП 441.1325800.2019) от виброактивных поверхностей (фундамента, конструкций подземной части или грунта под зданием и вокруг здания), при этом эффективность виброизоляции оказывается тем большей, чем выше частота. Поэтому, при правильном подборе материалов, рассматриваемые варианты виброизоляции здания позволяют не только эффективно снижать вибрацию, но и возбуждаемые ею уровни структурного шума.
8.1.7 При проектировании систем виброизоляции зданий должны быть предусмотрены решения, обеспечивающие надежность, долговечность и экономичность на всех стадиях строительства и эксплуатации здания, оборудуемого виброизоляторами. Необходимо проводить сравнение возможных вариантов проектных решений для выбора наиболее экономичного и надежного проектного решения, обеспечивающего наиболее полное использование прочностных и деформационных характеристик грунтов и физико-механических свойств материалов фундаментов и других конструкций.
При разработке проектов производства работ и организации строительства должны выполняться требования по обеспечению надежности конструкций здания на всех стадиях их возведения.
8.1.8 Работы по проектированию следует проводить в соответствии с техническим заданием на проектирование и необходимыми исходными данными (см. 8.1.2 и 5.1.11).
8.1.9 При проектировании систем виброизоляции следует учитывать уровень ответственности зданий и сооружений.
8.1.10 Инженерные изыскания для строительства должны проводиться в соответствии с СП 47.13330 и другими нормативными документами по инженерным изысканиям и исследованиям грунтов для строительства, а также требованиями 8.1.11 и 5.1.11.
Наименование грунтов оснований в отчетной документации по результатам инженерных изысканий и в проектной документации следует принимать по ГОСТ 25100.
8.1.11 Результаты инженерных изысканий должны содержать данные, необходимые для выбора конструктивных решений систем виброизоляции зданий и проведения их расчетов по предельным состояниям с учетом прогноза возможных изменений (в процессе строительства и эксплуатации) инженерно-геологических условий площадки строительства и свойств грунтов, а также вида и объема инженерных мероприятий, необходимых для ее освоения.
8.1.12 При планировании и проведении геотехнического мониторинга вновь возводимых или реконструируемых систем виброизоляции зданий необходимо учитывать особенности мониторинга указанных систем.
Программа мониторинга систем виброизоляции зданий должна включать измерение эффективности виброизоляции здания, а в необходимых случаях - грунта и источника вибрационного воздействия (тоннеля метро). Измерения должны обеспечивать возможность проверки всех требований задания на проектирование к колебаниям, включая требования стандартов безопасности труда в части допустимых уровней вибраций и требования к обеспечению нормальной работы машин, оборудования и приборов, расположенных на фундаменте или вблизи него, конструкций и оснований зданий и сооружений. В программе измерения колебаний необходимо указывать:
- периодичность измерений (однократно до ввода в эксплуатацию, после ввода в эксплуатацию, с периодом в 1, 2, 5 лет и т.д.);
- контролируемые параметры колебаний фундаментов и перекрытий виброизолированных зданий и сооружений, грунта вблизи зданий и их расчетные значения;
- требуемая точность и применяемая методика измерений;
- схемы установки датчиков.
При обнаружении нарушения требований по ограничению колебаний должно быть проведено детальное обследование с выявлением причин и разработкой рекомендаций по ремонту систем виброизоляции зданий, усилению их фундаментов или разработкой других мероприятий. При необходимости следует предусматривать обследование колебаний при их искусственном возбуждении.
8.1.13 Замена предусмотренных проектной документацией материалов, изделий и конструкций допускается в порядке, установленном [2].
8.1.14 Контроль качества при устройстве системы виброизоляции здания или сооружения должен производиться на всех этапах выполнения строительно-монтажных работ.
8.1.15 Контроль эффективности готовой системы виброизоляции здания или сооружения проводится перед сдачей объекта в эксплуатацию на основании сопоставления измеренной в построечных условиях эффективности виброизоляции с проектной. Контроль эффективности выполняется по разделу 11 ГОСТ Р ИСО 2017-3-2011 с учетом соответствующих положений раздела 6.3.
При этом должно быть учтено возможное изменение динамической жесткости системы виброизоляции вследствие недогружения здания полезной нагрузкой.
8.2.1 Вибродемпфирующие материалы и виброизоляторы, применяемые в системах виброизоляции зданий и сооружений должны учитывать требования ГОСТ Р ИСО 2017-1 и ГОСТ Р ИСО 2017-3, а также пунктов 8.2.2 - 8.2.7 СП 441.1325800.2019.
8.2.2 При выборе и обосновании систем виброизоляции и применяемых в ней материалов и изделий, предпочтительно использовать вибродемпфирующие материалы, имеющие опыт практического внедрения в конструкциях виброзащитных систем, эксплуатирующихся на протяжении не менее 25 лет.
8.2.3 Динамические характеристики вибродемпфирующих материалов должны быть подтверждены соответствующими испытаниями в соответствии с методикой ГОСТ Р 59940.
8.3.1 Расчетное обоснование динамических характеристик системы виброизоляции здания или сооружения производится по пунктам 8.3.1 - 8.3.5 СП 441.1325800.2019.
8.3.2 После подбора системы виброизоляции следует проверять ее эффективность с учетом спектра входного воздействия от подвижного состава метрополитена по формулам раздела 5.
8.3.3 Проектирование системы виброизоляции здания или сооружения выполняется с учетом требований раздела 8.4 СП 441.1325800.2019.
Приложение А
А.1 Общие положения
А.1.1 Измеряемые параметры вибрации в соответствии с настоящим сводом правил:
для выполнения оценки на соответствие 4.2 и 4.3:
- эквивалентное vw,экв, максимальное vw,макс корректированные среднеквадратические значения виброскорости, м/с;
- эквивалентные vэкв,i, максимальное vмакс,i среднеквадратические значения виброскорости, м/с, в третьоктавных полосах со среднегеометрическими частотами 1 - 250 Гц;
для выполнения оценки на соответствие 4.5 и 4.6:
- среднеквадратическое vскз и пиковое vпик значение виброскорости, м/с, в третьоктавных полосах со среднегеометрическими частотами 1 - 100 Гц.
Функции частотной коррекции для вертикального и горизонтального направлений принимают по таблице 4.4 СП 441.1325800.2019.
А.1.2 Контролю вибрации от движения поездов метрополитена должно предшествовать определение фоновой вибрации. Если сигнал, регистрируемый при прохождении поезда, не выделяется над уровнем фона, оценку вибрации от движения поездов в соответствии с настоящим сводом правилом выполнять не следует.
А.1.3 Измерения проводят с учетом требований Б.1.3 - Б.1.7 СП 441.1325800.2019.
А.1.4 Измерения выполняются в рамках проведения поисковых научно-исследовательских работ с регистрацией, анализом и изучением кратковременных и нестабильных процессов (частота дискретизации измерительной системы при этом должна быть более 4 кГц).
А.2 Расположение датчиков относительно оси пути
А.2.1 В зависимости от длины здания или сооружения выбирают створы измерений вдоль оси пути линии метрополитена.
При длине сооружения (длине фасадной части, выходящей на путь, или проекции габаритов здания на ось пути) до 50 м включительно выбирается два створа для измерений - в начале и в конце здания.
При длине сооружения свыше 50 м - выбирается целое число створов измерений, по одному в начале и в конце здания и далее через каждые (25 ± 5) м между крайними створами.
Если напротив сооружения расположен стык рельса, стрелочный перевод, перекрестный съезд или иной характерный участок пути (в том числе протяженное притоннельное сооружение), то один из створов следует сместить в место расположения этого характерного участка.
А.2.2 Измерения проводят на абрисе фундамента проектируемого здания. Рекомендуется проводить измерения в характерных местах сооружения (углы, выступающие элементы и т.д.).
Примечание - Измерения в створе желательно проводить на достаточном удалении от массивных тел, которые могут исказить результаты измерений. В соответствии с ГОСТ Р 53964, рекомендуется, чтобы расстояние от точки измерений до массивного тела более чем в полтора раза превышало его максимальный габаритный размер. Если массивное тело или слой грунта со значительно отличающимися динамическими свойствами находится на пути распространения вибрации к точке измерений, то возможные эффекты дифракции и отражения колебательных волн в грунте могут привести к понижению вибрации в этой точке. И, наоборот, в точку измерений может прийти колебательная волна, отразившаяся от находящихся в стороне фундаментов зданий или канализационных колодцев, что приведет к повышению вибрации в этой точке.
А.2.3 Требования к проведению измерений приведены в пунктах Б.2.4 - Б.2.7 СП 441.1325800.2019.
А.2.4 Вибрации верхнего строения пути тоннеля метрополитена следует измерять в соответствии с ГОСТ 31185 и разделом 6.
А.2.5 Для уменьшения кабельного эффекта присоединяемый к вибропреобразователю кабель должен быть эластично прикреплен к неподвижным точкам через промежутки не более 1,5 м.
А.2.6 При проведении измерений на приборе должна быть установлена временная характеристика "медленно" (τ = 1 с).
А.2.7 Оценку вибрации от движения поездов в метрополитенах в помещениях жилых зданий необходимо проводить для ночного времени. Определяющим в этом случае является максимальное значение виброскорости. Измерения вибрации допускается проводить в дневное время с учетом требований А.1.2.
Для дневного времени вибрация оценивается только в помещениях общественных зданий, в жилых зданиях - в случае особой необходимости. При этом измерения вибрации проводятся, как правило, в периоды наиболее интенсивного движения поездов.
А.3 Методика проведения измерений
А.3.1 Перед началом измерений необходимо получить проектную информацию по конструкции ВСП на рассматриваемом участке линии метрополитена, а также типам и скоростям подвижного состава, предусмотренным для оборота на этом участке линии.
А.3.2 При проведении измерений необходимо фиксировать следующие параметры подвижного состава:
- тип состава;
- ходовые качества подвижного состава;
- скорость подвижного состава;
- значение необрессоренных масс подвижного состава (тип тележки).
А.3.3 В протокол измерений необходимо также включать следующие параметры ВСП:
- шероховатость поверхности катания рельса (посредством визуального контроля или, при наличии технической возможности, инструментально);
- тип рельсового пути со следующими данными: профиль рельса (по ГОСТ Р 51685), геометрия пути, например, подуклонка, радиус кривой, уклон пути, ширина колеи, колея, маркировка стрелочного перевода и т.д.;
- конструкция ВСП, поперечник ВСП, характеристика используемых в конструкции ВСП материалов;
- при наличии систем виброизоляции ВСП - тип, производитель, поперечник и динамические характеристики виброзащитных элементов ВСП.
А.3.4 Измерения следует выполнять в периоды времени, характеризующиеся одним режимом движения поездов.
Примечание - Режим движения поездов, в котором проводят измерения, обозначают далее через 1. Это обозначение используют в качестве верхнего индекса для соответствующих этому режиму величин виброскорости.
Допускается проведение измерений в периоды времени, соответствующие различным режимам движения поездов и, при необходимости, - во всех предписываемых графиком режимах движения поездов в дневное или ночное время.
А.3.5 Время измерения Tm должно быть достаточным для регистрации непрерывной выборки, включающей не менее 10 событий прохождения поезда. Время измерения разбивается на целое число N элементарных интервалов (тактов) продолжительностью 30 с (Tm = 30 x N с = 0,5N мин).
За каждый 30-секундный такт регистрируется максимальное измеренное корректированное значение виброскорости ν̃li, i = 1, 2, ..., N и, при необходимости, максимальные измеренные значения виброскорости в третьоктавных полосах частот νlki, i = 1, 2, ..., N; k = 1 - 24.
А.3.6 Если используемое средство измерений не позволяет регистрировать корректированные параметры вибрации, измеряют спектральные значения и значения корректированных параметров определяют по формулам пункта 4.2.4 СП 441.1325800.2019.
А.3.7 Перед проведением измерений и после необходимо выполнять калибровку средств измерений в соответствии с инструкциями по их эксплуатации. Если результаты калибровки различаются более, чем в 1,4 раза (3 дБ), измерения вибрации следует повторить.
А.4 Обработка результатов измерений
А.4.1 По результатам измерений определяют наибольшее максимальное корректированное значение виброскорости ν̃lmax за время измерения по формуле
ν̃lmax = max(ν̃li), i = 1, 2, ..., N, (А.1)
где ν̃li - максимальное измеренное корректированное значение виброскорости, м/с, для i-го такта;
N - число 30-секундных тактов за время измерения, шт.
А.4.2 Значение ν̃lmax принимают в качестве максимального корректированного значения виброскорости за время оценки вибрационного воздействия для выполнения сравнения по 5.1.7.
А.4.3 Рассчитывают среднеквадратическое корректированное значение виброскорости
за время измерения по формуле
, (А.2)
где ν̃li и N - см. формулу (А.1).
А.4.4 Рассчитывают среднеквадратическое корректированное значение виброскорости фона
, соответствующее времени отсутствия поездов за время измерения, по формуле
, (А.3)
где ν̃li и N - см. формулу (А.1);
n - число событий прохождения поезда за время измерения Tm; штрих у знака суммы означает, что учитываются лишь те значения ν̃li, которые были зарегистрированы в интервалы, когда прохождение поезда отсутствовало.
А.4.5 Рассчитывают эквивалентное корректированное значение виброскорости ν̃eq за время оценки (16 ч днем, 8 ч ночью) по формуле
, (А.4)
где Bl = 1,0 для дневного времени оценки, Bl = 0,8 для ночного времени оценки; значение постоянной Cl определяется в зависимости от графика движения поездов и режима движения l, в котором проводятся измерения.
Допускается вычисление эквивалентного корректированного значения по формуле (А.2) при условии определения среднеквадратических корректированных значений виброскорости за время измерения
по А.4.3 для всех предписанных графиком режимов движения поездов в дневное и ночное время суток.
А.4.6 При необходимости выполнения спектрального анализа обработку результатов измерений проводят по А.4.1 - А.4.5 с заменой корректированных величин ν̃li, ν̃lmax,
,
, ν̃eq на величины ν̃lik, νlmaxk,
,
, νeqk обозначающие соответствующие значения виброскорости в третьоктавных полосах со среднегеометрическими частотами 1 - 250 Гц, если иное не обосновано.
А.4.7 Значения постоянной Cl, связывающей эквивалентное корректированное (спектральное) значение виброскорости за время оценки со среднеквадратическим корректированным (спектральным) значением виброскорости за время измерения, определенным для режима, в котором выполнены измерения, вычисляют по формуле
, (А.5)
где Tr - время оценки вибрационного воздействия: 16 ч днем, 8 ч ночью;
Tj - частичное время воздействия вибрации, ч, соответствующее реализации j-го режима движения поездов;
τj и τl - интервалы движения поездов в j-м режиме и режиме l, в котором выполнены измерения, мин.
А.5 Представление результатов измерений
А.5.1 Результаты измерений оформляют протоколом, который должен содержать следующие сведения:
- наименование организации, проводившей измерения;
- наименование линии метрополитена, поезда которой являются источниками оцениваемой вибрации;
- схему и описание места проведения измерений;
- дату и время проведения измерений;
- средства измерений (прибор, тип, заводской номер, сведения о государственной поверке);
- результаты измерений корректированных виброскоростей (осциллограмма, если снималась, время измерения Tm, N - число 30-секундных тактов за время измерения, таблица максимальных измеренных корректированных значений виброскорости vi, номер точки и направление, в котором зарегистрирована наибольшая вибрация);
- время оценки (день, ночь);
- результаты обработки максимальных измеренных корректированных значений виброскорости (ν̃lmax,
,
, ν̃eq) и спектральных значений виброскорости;
- подписи лиц, проводивших измерения и оценку вибрационного воздействия.
Приложение Б
Б.1 Значения вертикальной и горизонтальной составляющих виброскорости колебаний, м/с, лотковой части обделки с конструкцией верхнего строения пути типа "шпала в бетоне" приведены в таблице Б.1 в октавных полосах со среднегеометрическими частотами 16, 31,5 и 63 Гц. Приведенные значения получены в ходе прямых измерений на действующих линиях метрополитена.
|
Параметр виброскорости |
Среднегеометрическая частота октавной полосы, Гц | ||
|
16 |
31,5 |
63 | |
|
Максимальная величина горизонтальной компоненты виброскорости |
0,00011 |
0,00096 |
0,00083 |
|
Максимальная величина вертикальной компоненты виброскорости |
0,00011 |
0,00096 |
0,00083 |
|
Эквивалентная величина горизонтальной компоненты виброскорости |
0,00006 |
0,00055 |
0,00048 |
|
Эквивалентная величина вертикальной компоненты виброскорости |
0,00006 |
0,00055 |
0,00048 |
|
Примечание - Данные в настоящей таблице получены для обделки со следующими характеристиками: - скорость продольных волн в грунте - 600 м/с; - скорость поперечных волн в грунте - 200 м/с; - плотность грунта - 1800 кг/м3; - толщина обделки - 0,2 м; - радиус обделки - 2,6 м. | |||
Б.2 Значения вертикальной и горизонтальной составляющих виброскорости колебаний, м/с, лотковой части обделки с конструкцией ВСП типа LVT-M (по схеме рисунка В.6, с полушпалой массой 105 кг и подшпальной прокладкой жесткостью 12 кН/мм) приведены в таблице Б.2.
|
Параметр виброскорости |
Среднегеометрическая частота октавной полосы, Гц | ||
|
16 |
31,5 |
63 | |
|
Максимальная величина горизонтальной компоненты виброскорости |
0,00011 |
0,00096 |
0,00083 |
|
Максимальная величина вертикальной компоненты виброскорости |
0,000108 |
0,00040 |
0,00054 |
|
Эквивалентная величина горизонтальной компоненты виброскорости |
0,00006 |
0,00055 |
0,00048 |
|
Эквивалентная величина вертикальной компоненты виброскорости |
0,0000586 |
0,000229 |
0,000314 |
Б.3 Величина динамической силы, действующей на лотковую часть тоннеля в октавных полосах со среднегеометрическими частотами 16, 31,5 и 63 Гц, для обделки, имеющей прямоугольное сечение и выполненной из сборного железобетона, конструкции верхнего строения пути типа "шпала в бетоне" и заданной структуры непосредственно прилегающего к лотковой части грунта приведена в таблице Б.3.
|
Параметр виброскорости |
Среднегеометрическая частота октавной полосы, Гц | ||
|
16 |
31,5 |
63 | |
|
Приведенная динамическая сила |
1 |
0,25 |
2 |
|
Примечание - Данные в настоящей таблице получены для обделки со следующими характеристиками: - модуль деформации грунта - 18 МПа; - коэффициент Пуассона грунта - 0,3; - плотность грунта - 1700 кг/м3; - толщина лотковой части тоннеля - 0,5 м; - ширина лотковой части тоннеля - 19 м; - модуль деформации лотковой части конструкции - 30000 МПа; - коэффициент Пуассона лотковой части конструкции - 0,2; - плотность лотковой части конструкции - 2300 кг/м3. | |||
Приложение В
В.1 Принципиальные конструктивные схемы виброзащитных конструкций верхнего строения пути приведены на рисунках В.1 - В.8.
В.2 В виброзащитной конструкции рельсового скрепления по рисунку В.1, вибродемпфирующим элементом является подрельсовая прокладка, выполненная из упругого эластомерного материала, статические и динамические характеристики которой соответствуют расчетным значениям по 7.3.

1 - эластичная подрельсовая прокладка
Рисунок В.1 - Рельсовое скрепление с эластичной упругой подрельсовой прокладкой
В.3 В виброзащитной конструкции рельсового скрепления по рисунку В.2, вибродемпфирующими элементами являются подрельсовая прокладка и нашпальная прокладка, выполненные из упругого эластомерного материала, статические и динамические характеристики которых соответствуют расчетным значениям по 7.3 с массивной (например, металлической) распределительной плитой (подкладкой) между ними.

1 - эластичная подрельсовая прокладка; 2 – распределительная плита; 3 - эластичная нашпальная прокладка
Рисунок В.2 - Рельсовое скрепление с эластичной упругой подрельсовой прокладкой и эластичной упругой нашпальной прокладкой
В.4 В виброзащитной конструкции рельсового скрепления по рисунку В.3, вибродемпфирующим элементом является нашпальная прокладка, выполненная из упругого эластомерного материала, статические и динамические характеристики которой соответствуют расчетным значениям по 7.3, выполненная едино с массивной (например, металлической) опорной плитой (подкладки).

1 - опорная плита со связанным вулканизированным эластомерным слоем; 2 - крепление с эластомерным слоем; 3 - основание
Рисунок В.3 - Рельсовое скрепление с вулканизированным эластомерным слоем
В.5 В виброзащитной конструкции рельсового скрепления по рисункам В.4 - В.5, рельс через подрельсовую прокладку опирается на рычаг, имеющий с одной стороны плоский шарнир, а с другой опирающийся на цилиндрическую пружину, выполненную из упругого эластомерного материала, статические и динамические характеристики которой соответствуют расчетным значениям по 7.3.

1 - упругая подкладка
Рисунок В.4 - Специальное виброзащитное рельсовое скрепление типа ВГС5-65

1 - железобетонная обделка тоннеля; 2 - жесткое основание; 3 - вибродемпфирующие конструкции; 4 - путевая плита; 5 - рельсовое скрепление типа ВГС5-65
Рисунок В.5 - Поперечный профиль пути со шпалами-коротышами и виброгасящими рельсовыми скреплениями типа ВГС5-65
В.6 В виброзащитной конструкции рельсового скрепления по рисунку В.6, вибродемпфирующими элементами являются подрельсовая и подшпальная (уложенная по подошве шпалы или полушпалы) прокладка, выполненные из упругого эластомерного материала, статические и динамические характеристики которых соответствуют расчетным значениям по 7.3, с учетом массивного железобетонного блока (шпалы или полушпалы) между ними.

1 - железобетонная обделка тоннеля; 2 - жесткое основание; 3 - эластичная подшпальная прокладка; 4 - чехол резиновый; 5 - полушпала железобетонная; 6 - рельсовое скрепление
Рисунок В.6 - Поперечный профиль пути на железобетонных полушпалах с упругими подшпальными прокладками
В.7 Виброзащитные конструкции, используемые в основании пути на балласте, состоят из рельсошпальной решетки, уложенной в балласт, передающего нагрузку от подвижного состава на поверхность тоннельной обделки через упругие вибродемпфирующие подбалластные маты, как показано на рисунке В.7, статические и динамические характеристики которых соответствуют расчетным значениям по 7.3.

1 - железобетонная обделка тоннеля; 2 - жесткое основание; 3 - подбалластные маты; 4 - балластный слой (щебень); 5 - деревянная шпала; 6 - рельс
Рисунок В.7 - Поперечный профиль пути с подбалластными матами
В.8 Виброзащитные конструкции, используемые в основании безбалластного пути, состоят из рельсошпальной решетки, объединенной с путевой плитой, передающего нагрузку от подвижного состава на поверхность тоннельной обделки через упругие вибродемпфирующие конструкции, как показано на рисунке В.8, статические и динамические характеристики которых соответствуют расчетным значениям по 7.3.

1 - железобетонная обделка тоннеля: 2 - жесткое основание; 3 - вибродемпфирующие упругие конструкции; 4 – путевая плита; 5 - промежуточное рельсовое скрепление
Рисунок В.8 - Поперечный профиль пути виброзащитной конструкции системы "масса-пружина"
Приложение Г
Г.1 Подбор параметров грунта осуществляется путем подстановки конкретных величин в расчетную схему, изложенную в разделе 5, и сравнением рассчитанных значений с набором измеренных величин на разных расстояниях от источника вибрации.
Г.2 В качестве начального приближения используют нижние значения скорости продольных волн и минимальные величины коэффициента затухания по СП 441.1325800.2019 (приложение А) для соответствующего типа грунта.
Г.3 Задают максимальные значения скорости продольных волн и максимальные величины коэффициента затухания по СП 441.1325800.2019 (приложение А) для грунта. С учетом принятого постоянного значения коэффициента Пуассона, скорость поперечных волн в грунте находится по формуле
. (Г.1)
Г.4 Подставляют значения для скоростей продольных и поперечных волн и коэффициента затухания в каждом слое в расчетную схему, описанную в подразделе 3.4 СП 441.1325800.2019, и вычисляют величины виброскорости в точках, соответствующих точкам натурных измерений.
Г.5 Если получаемая невязка не превосходит точности измерений (в пределах 2 - 3 дБ), тогда задача оценки параметров считается решенной.
Если при первой прогонке требуемой точности достичь не удается, необходимо варьировать начальные значения для определяющих параметров. Вначале следует изменять коэффициент затухания, на каждом следующем шаге итерации определяя его по формуле
β=βmin+iΔβ, i = 1, 2, 3 (Г.2)
с шагом
Δβ = (βmax - βmin)/3. (Г.3)
Здесь βmax и βmin - соответственно максимальное и минимальное значения коэффициентов затухания для данного типа грунта в соответствии с СП 441.1325800.2019 (приложение А).
Г.6 Если при некотором значении коэффициента затухания удается достичь удовлетворительного соответствия экспериментальным данным, то задача считается решенной. В противном случае варьируют скорость продольных волн для каждого слоя грунта. При этом каждое следующее i-е значение скорости выбирается следующим образом
ci = cmindi, i = 1, 2, 3, ... . (Г.4)
Коэффициент d выбирается в зависимости от величины отношения cmax/cmin из таблицы Г.1.
|
cmax/cmin |
d |
|
≤ 3 |
|
|
≤ 6 |
|
|
> 6 |
|
|
Примечание - В настоящей таблице принято cmin и cmax - минимальная и максимальная скорости продольных волн для данного типа грунта (см. СП 441.1325800.2019 (приложение А)). | |
Г.7 В зависимости от значения cmin/cmax проводят 3, 4 или 5 итераций по скорости продольных волн. Скорость поперечных волн при каждой итерации вычисляется по формуле (Г.1) с постоянным коэффициентом Пуассона. При необходимости на каждой итерации варьируется коэффициент затухания.
Если на некотором шаге достигается требуемая точность, задача оценки параметров считается решенной.
Библиография
[1] Федеральный закон от 29 декабря 2004 г. N 190-ФЗ "Градостроительный кодекс Российской Федерации"
[2] РСН 66-87 Инженерные изыскания для строительства. Технические требования к производству геофизических работ. Сейсморазведка
[3] Приказ Министерства транспорта Российской Федерации от 21 декабря 2018 г. N 468 "Об утверждении Типовых правил технической эксплуатации метрополитена"
[4] Инструкция по текущему содержанию пути и контактного рельса метрополитенов. - Москва, 2005. - 159 с.: илл.
[5] Распоряжение Открытого акционерного общества "Российские железные дороги" от 18 декабря 2012 г. N 2607р "Об утверждении и введении в действие "Инструкции по применению конструкции верхнего строения пути в тоннелях"
[6] Распоряжение Открытого акционерного общества "Российские железные дороги" от 22 декабря 2017 г. N 2706р "Об утверждении Методики оценки воздействия подвижного состава на путь по условиям обеспечения надежности"
[7] СП 2.5.3650-20 Санитарно-эпидемиологические требования к отдельным видам транспорта и объектам транспортной инфраструктуры


