СП 344.1325800.2017 СИСТЕМЫ ВОДОСНАБЖЕНИЯ И ОТОПЛЕНИЯ ЗДАНИЙ ВНУТРЕННИЕ С ИСПОЛЬЗОВАНИЕМ ТРУБ ИЗ "СШИТОГО" ПОЛИЭТИЛЕНА. ПРАВИЛА ПРОЕКТИРОВАНИЯ И МОНТАЖА
The water supply and heating interior buildings systems cross-linked polyethylene pipes. The rules of design and installation
Введение
Настоящий свод правил разработан в соответствии с требованиями федеральных законов от 30 декабря 2009 г. N 384-ФЗ "Технический регламент о безопасности зданий и сооружений" [1], от 23 ноября 2009 г. N 261-ФЗ "Об энергосбережении и о повышении энергетической эффективности и о внесении изменений в отдельные законодательные акты Российской Федерации" [2], от 27 декабря 2002 г. N 184-ФЗ "О техническом регулировании" [3], от 22 июля 2008 г. N 123-ФЗ "Технический регламент о требованиях пожарной безопасности" [4].
В настоящем своде правил рассмотрены специфика (согласование) трассировки внутренних водопроводных сетей и трубопроводов водяного отопления из гибких труб из "сшитых" полиэтиленов ПЭ-С с учетом оптимальной расстановки креплений на стояках и подводках. Отмечены особенности монтажа трубопроводов водяного отопления из гибких труб из "сшитых" полиэтиленов ПЭ-С и выбор оптимальных мест креплений на горизонтальных и вертикальных участках трубопроводов.
Свод правил выполнен авторским коллективом: ООО "СанТехПроект" (канд. техн. наук А.Я. Шарипов), ОАО "НИИМосстрой" (канд. техн. наук А.А. Отставнов, инж. Н.В. Митрофанова).
1.1 Настоящий свод правил устанавливает нормы проектирования и монтажа холодных и горячих (с температурой до 75°С) водопроводов и трубопроводов водяного отопления (с температурой до 95°С), в том числе напольного (с температурой до 55°С) с использованием труб из "сшитого" полиэтилена (ПЭ-С) во вновь возводимых, реконструируемых или капитально ремонтируемых зданиях и сооружениях.
1.2 Настоящий свод правил не распространяется на системы водоснабжения и отопления: защитных сооружений гражданской обороны; сооружений, предназначенных для работ с радиоактивными веществами, источниками ионизирующих излучений; объектов подземных горных работ и помещений, в которых производят, хранят или применяют взрывчатые вещества; зданий, строительство которых в соответствии с законодательством о градостроительной деятельности может осуществляться без разрешения на строительство.
В настоящем своде правил использованы нормативные ссылки на следующие документы:
ГОСТ 12.1.004-91 Система стандартов безопасности труда. Пожарная безопасность. Общие требования
ГОСТ ИСО 4065-2005 Трубы из термопластов. Таблица универсальных толщин стенок
ГОСТ 8032-84 Предпочтительные числа и ряды предпочтительных чисел
ГОСТ ИСО 12162-2006 Материалы термопластичные для напорных труб и соединительных деталей. Классификация и обозначение. Коэффициент запаса прочности
ГОСТ 15150-69 Машины, приборы и другие технические изделия. Исполнения для различных климатических районов. Категории, условия эксплуатации, хранения и транспортирования в части воздействия климатических факторов внешней среды
ГОСТ 19185-73 Гидротехника. Основные понятия. Термины и определения
ГОСТ 24054-80 Изделия машиностроения и приборостроения. Методы испытаний на герметичность. Общие требования
ГОСТ 25136-82 Соединение трубопроводов. Методы испытания на герметичность
ГОСТ 25151-82 Водоснабжение. Термины и определения
ГОСТ 32415-2013 Трубы напорные из термопластов и соединительные детали к ним для систем водоснабжения и отопления. Общие технические условия
ГОСТ Р 51232-98 Вода питьевая. Общие требования к организации и методам контроля качества
ГОСТ Р 53630-2015 Трубы напорные многослойные для систем водоснабжения и отопления. Общие технические условия
ГОСТ Р 54468-2011 Трубы гибкие с тепловой изоляцией для систем теплоснабжения, горячего и холодного водоснабжения. Общие технические условия
ГОСТ Р 56730-2015 Трубы полимерные гибкие с тепловой изоляцией для систем теплоснабжения. Общие технические условия
СП 30.13330.2016 "СНиП 2.04.01-85* Внутренний водопровод и канализация зданий"
СП 48.13330.2011 "СНиП 12-01-2004 Организация строительства" (с изменением N 1)
СП 51.13330.2011 "СНиП 23-03-2003 Защита от шума"
СП 60.13330.2016 "СНиП 41-01-2003 Отопление, вентиляция и кондиционирование воздуха"
СП 61.13330.2012 "СНиП 41-03-2003 Тепловая изоляция оборудования и трубопроводов" (с изменением N 1)
СП 68.13330.2017 "СНиП 3.01.04-87 Приемка в эксплуатацию законченных строительством объектов. Основные положения"
СП 73.13330.2016 "СНиП 3.05.01-85 Внутренние санитарно-технические системы зданий"
СанПиН 2.1.4.1074-01 Питьевая вода. Гигиенические требования к качеству воды централизованных систем питьевого водоснабжения. Контроль качества. Гигиенические требования к обеспечению безопасности систем горячего водоснабжения
СанПиН 2.2.1/2.1.1.1200-03 Санитарно-защитные зоны и санитарная классификация предприятий, сооружений и иных объектов
Примечание - При пользовании настоящим сводом правил целесообразно проверить действие ссылочных документов в информационной системе общего пользования - на официальном сайте федерального органа исполнительной власти в сфере стандартизации в сети Интернет или по ежегодному информационному указателю "Национальные стандарты", который опубликован по состоянию на 1 января текущего года, и по выпускам ежемесячного информационного указателя "Национальные стандарты" за текущий год. Если заменен ссылочный документ, на который дана недатированная ссылка, то рекомендуется использовать действующую версию этого документа с учетом всех внесенных в данную версию изменений. Если заменен ссылочный документ, на который дана датированная ссылка, то рекомендуется использовать версию этого документа с указанным выше годом утверждения (принятия). Если после утверждения настоящего свода правил в ссылочный документ, на который дана датированная ссылка, внесено изменение, затрагивающее положение, на которое дана ссылка, то это положение рекомендуется применять без учета данного изменения. Если ссылочный документ отменен без замены, то положение, в котором дана ссылка на него, рекомендуется применять в части, не затрагивающей эту ссылку. Сведения о действии сводов правил целесообразно проверить в Федеральном информационном фонде стандартов.
В настоящем своде правил применены термины в соответствии с ГОСТ 19185, ГОСТ 25151, ГОСТ 32415, СП 30.13330, СП 60.13330, СП 73.13330, а также следующие термины с соответствующими определениями:
3.1 "сшитый" полиэтилен; ПЭ-С: Термопластичный материал (термопласт), который при нагревании выше температуры плавления сохраняет способность перехода в вязкотекучее состояние.
3.2 распределительный коллектор: Фитинг, к которому присоединяются два или большее количество водоразборных точек.
3.3 гибкая труба: Труба, в которой прочность и поперечное сечение при изгибе не изменяются.
4.1 Трубы из ПЭ-С с латунными фитингами следует применять при устройстве внутренних напорных систем:
- хозяйственно-питьевого водоснабжения с температурой воды до 20°С и рабочим давлением: серии S6, 3 (SDR 13, 6) - до 1, 0 МПа; серии S5 (SDR 11) - до 1, 25 МПа; серии S4 (SDR 9) - до 1, 6 МПа, при сроке службы не менее 50 лет;
- хозяйственно-питьевого водоснабжения с температурой воды до 75°С и рабочим давлением: серии S5 (SDR 11) - до 0, 6 МПа; серий S3, 2 (SDR 7, 4) и S2, 5 (SDR 6) - до 1, 0 МПа, при сроке службы не менее 30 лет;
- водяного отопления с температурой воды до 95°С и рабочим давлением серий S3, 2 (SDR 7, 4) и S2, 5 (SDR 6) - до 1, 0 МПа, при сроке службы не менее 30 лет;
- напольного отопления (с температурой теплоносителя не выше 55°С) в комбинации с нагревательными приборами (радиаторами, конвекторами) или с системой кондиционирования воздуха, при сроке службы не менее 30 лет.
Примечания
1 Допускается использовать трубы из ПЭ-С при устройстве холодных и горячих водопроводов и трубопроводов водяного отопления с любыми другими параметрами, при условии их обоснования согласно требованиям ГОСТ 32415.
2 В горячих системах с целью поддержания указанных значений параметров следует предусматривать приборы автоматического регулирования (температуры и давления) воды (теплоносителя).
3 Для устройства трубопроводов водяного отопления следует использовать трубы из ПЭ-С с барьерным слоем, предотвращающим проникновение в отопительную систему кислорода.
4.2 Трубы из ПЭ-С, металлические, пластиковые фитинги и арматура, применяемые при устройстве внутренних систем холодного и горячего водоснабжения и отопления, должны соответствовать требованиям настоящего свода правил, ГОСТ 32415, ГОСТ Р 54468, ГОСТ Р 56730.
4.3 Трубы из ПЭ-С, фитинги и арматура, применяемые в системах внутреннего водоснабжения и отопления, должны иметь протокол по результатам санитарно-гигиенических исследований, экспертное заключение по результатам санитарно-эпидемиологической экспертизы и свидетельство о государственной регистрации продукции территориального Управления Роспотребнадзора.
4.4 В зданиях и сооружениях с холодными и горячими водопроводами и трубопроводами водяного отопления из труб из ПЭ-С предусмотрены технические решения, обеспечивающие: взрывопожаробезопасность, нормируемые уровни шума и вибраций согласно СП 51.13330 и минимальный расход материалов и снижение трудозатрат.
4.5 При проектировании и монтаже холодных и горячих водопроводов и трубопроводов водяного отопления из труб из ПЭ-С следует руководствоваться требованиями настоящего свода правил и учитывать основные положения СП 48.13330, СП 60.13330, СП 73.13330, [5], [6], национальных стандартов.
4.6 Монтаж холодных и горячих водопроводов и трубопроводов водяного отопления из труб из ПЭ-С необходимо выполнять, как правило, из узлов полной заводской готовности.
4.7 Следует строго отслеживать, чтобы до начала монтажа холодных и горячих водопроводов и трубопроводов водяного отопления из труб из ПЭ-С генеральным подрядчиком были проведены: монтаж междуэтажных перекрытий, стен и перегородок, на которые будет устанавливаться санитарно-техническое оборудование; устройство полов (или соответствующей подготовки) в местах установки отопительных приборов на подставках; установка опор под трубопроводы, прокладываемые в подпольных каналах и технических подпольях; подготовка отверстий, борозд, ниш и гнезд в фундаментах, стенах, перегородках, перекрытиях и покрытиях, необходимых для прокладки трубопроводов; оштукатуривание (или облицовка) поверхностей стен и ниш в местах установки санитарных и отопительных приборов, прокладки водопроводов и трубопроводов из труб из ПЭ-С, а также оштукатуривание поверхности борозд для скрытой прокладки в стенах; замоноличивание в соответствии с рабочей документацией закладных деталей в строительные конструкции для крепления холодных и горячих водопроводов и трубопроводов отопления из труб из ПЭ-С; обеспечение возможности подключения электроинструментов, а также электросварочных аппаратов на расстоянии не более 50 м один от другого; остекление оконных проемов в наружных ограждениях, утепление входов и заделка отверстий.
4.8 С целью защиты от механических воздействий, прокладывать трубопроводы водоснабжения и отопления следует в плинтусах, штробах, шахтах или каналах при замоноличивании. Размеры отверстий и борозд для прокладки трубопроводов в перекрытиях, стенах и перегородках зданий и сооружений принимают в соответствии с СП 73.13330.2016 (приложение А), если другие размеры не предусмотрены проектом. Допускается открытая прокладка подводок/разводок труб из ПЭ-С к санитарно-техническим и отопительным приборам.
Примечания
1 Открытая прокладка внутренних водопроводов из труб из ПЭ-С допускается в производственных и складских помещениях, а также в технических этажах, чердаках и подвалах только в местах, где исключаются их механическое повреждение и воздействие на них ультрафиолетового излучения.
2 Применять трубопроводы из труб из ПЭ-С в раздельных сетях противопожарных водопроводах не допускается.
4.9 Поэтажные подводки от стояков к водоразборной арматуре следует присоединять с использованием распределительных коллекторов. Распределительные коллекторы устанавливают после запорных устройств, фильтров, водомеров и квартирных регуляторов давления (КРД).
4.10 Холодные и горячие водопроводы и трубопроводы водяного отопления не должны примыкать вплотную к поверхностям строительных конструкций - рекомендуемое расстояние в свету между ними ≈20 мм.
4.11 Тепловую изоляцию на холодных и горячих водопроводах и трубопроводах водяного отопления из труб из ПЭ-С следует предусматривать для: предупреждения ожогов; обеспечения потерь теплоты менее допустимых; исключения конденсации влаги; исключения замерзания воды (теплоносителя) в трубопроводах, прокладываемых в неотапливаемых помещениях или в искусственно охлаждаемых помещениях; обеспечения взрывопожаробезопасности. Температура поверхности тепловой изоляции не должна превышать 40°С. Теплоизоляционные конструкции следует предусматривать согласно СП 61.13330. Подводки/разводки к санитарно-техническим и отопительным приборам допускается не изолировать.
5.1 Материалами для производства труб являются полиэтилены-термопласты, которым путем сшивки приданы свойства реактопластов, в частности повышена их термостойкость. Сшивку полиэтиленов проводят тремя различными методами:
- пероксидным ПЭ-Сa (PE-Xa);
- силанольным ПЭ-Сb (PE-Xb);
- радиационным ПЭ-Сc (PE-Xс).
5.2 При сшивке пероксидным методом экструзия происходит при температурах ниже 160°С - 170°C, чтобы пероксиды, смешанные с полиэтиленом, не стали разлагаться и не начали преждевременное сшивание, что приводит к низкой скорости производства и очень высокому давлению плавления. Сшивание всегда происходит на линии, но после этапа калибровки трубы, пропуская экструдированное изделие через камеры с температурой 220°С - 230°C, при этих температурах начинается химический процесс сшивания.
5.3 Сшивание силанольным методом происходит при создании химических связей из-за присутствия силанов. Данный процесс выполняют частично на этапе экструзии, но в основном на второй стадии, которая заключается в расположении труб в виде стержней или рулонов в резервуаре с водой температурой от 70°C до 95°C. Процесс сшивания приводят в действие влажностью и высокой температурой и ускоряют путем добавления к сшитому полиэтилену соответствующего катализатора.
5.4 Радиационный метод - это процесс сшивания физического типа, являющийся результатом присутствия источников, которые излучают электромагнитные волны, радиации γ ("ядерный" процесс), или жестких электронов, радиации β (процесс облучения электронами).
5.5 Трубы из ПЭ-С, подвергнутые разным способам сшивки, должны иметь минимальную длительную прочность MRS не менее 8 МПа.
5.6 При изготовлении труб из ПЭ-С для получения барьерного слоя, предотвращающего проникновение газов, в частности, кислорода О2, сквозь их стенки, используют алюминий или смолу, называемую EVOH (этиленвиниловый спирт) - сополимер этилена и винилового спирта.
Материал для труб из РЕ-Х, должен отвечать требованиям, приведенным в таблице 5.1.
Таблица 5.1
|
Наименование показателя |
Значение |
Единица измерения |
|
Объемная масса при 23°C |
955 |
кг/м3 |
|
Относительное удлинение при текучести (23°C, 50 мм/мин) |
10 |
% |
|
Напряжение при текучести (23°C, 50 мм/мин) |
26 |
МПа |
|
Модуль при растяжении (23°C, 1 мм/мин) |
1100 |
МПа |
|
Твердость по Шору (Шор D, 3 с) |
62 |
ед. Шора |
|
Удельная теплоемкость при 23°C |
1, 92 |
КДж/кг·К |
|
Тепловая проводимость |
0, 38 |
Вт/(м·К) |
|
Коэффициент линейного расширения |
1, 9·10-4 |
К-1 |
Трубы с барьерным слоем EVOH, должны отвечать требованиям, приведенным в таблице 5.2.
Таблица 5.2
|
Наименование показателя |
Значение |
Единица измерения |
|
Объемная масса |
1190 |
кг/м3 |
|
Прочность при растяжении при текучести (50 мм/мин, 23°C) |
87 |
МПа |
|
Модуль упругости при растяжении (50 мм/мин, 23°C) |
1690 |
МПа |
|
Относительное удлинение при разрыве (50 мм/мин, 23°C) |
430 |
% |
Примечание - Трубы с барьерным слоем из алюминия относят к металлополимерным и на них распространяются требования ГОСТ Р 53630.
6.1 Трубы для использования в системах водоснабжения и отопления изготавливают со стенками:
- однослойными (из ПЭ-С);
- трехслойными (внутренний слой - из ПЭ-С, внешний - из EVOH и промежуточный - клеевой);
- пятислойными (внутренний и внешний слои - из ПЭ-С, средний - из EVOH и промежуточные - клеевые);
- армированными (нитями из арамида, кевлара и т.п.).
В таблице 6.1 приведены геометрические размеры труб.
Таблица 6.1 - Размеры труб из ПЭ-С (см. ГОСТ 32415)
В миллиметрах
|
dn |
Предельное отклонение, (+) |
Овальность, ≤ |
en * для S (SDR) | ||||
|
3, 2 (7, 4) |
4 (9) |
5 (11) |
6, 3 (13, 6) |
8 (17) | |||
|
10 |
0, 3 |
1, 1 |
1, 4 |
1, 3 |
1, 3 |
1, 3 |
1, 3 |
|
12 |
0, 3 |
1, 1 |
1, 7 |
1, 4 |
1, 3 |
1, 3 |
1, 3 |
|
16 |
0, 3 |
1, 2 |
2, 2 |
1, 8 |
1, 5 |
1, 3 |
1, 3 |
|
20 |
0, 3 |
1, 2 |
2, 8 |
2, 3 |
1, 9 |
1, 5 |
1, 3 |
|
25 |
0, 3 |
1, 2 |
3, 5 |
2, 8 |
2, 3 |
1, 9 |
1, 5 |
|
32 |
0, 3 |
1/3 |
4, 4 |
3, 6 |
2, 9 |
2, 4 |
1, 9 |
|
40 |
0, 3 |
1, 4 |
5, 5 |
4, 5 |
3, 7 |
3 |
2, 4 |
|
50 |
0, 3 |
1, 4 |
6, 9 |
5, 6 |
4, 6 |
3, 7 |
3 |
|
63 |
0, 4 |
1, 6 |
8, 6 |
7, 1 |
5, 8 |
4, 7 |
3, 8 |
|
75 |
0, 5 |
1, 6 |
10, 3 |
8, 4 |
6, 8 |
5, 6 |
4, 5 |
|
90 |
0, 6 |
1, 8 |
12, 3 |
10, 1 |
8, 2 |
6, 7 |
5, 4 |
|
110 |
0, 7 |
2, 2 |
15, 1 |
12, 3 |
10 |
8, 1 |
6, 6 |
|
* Предельное отклонение δ определяют по формуле с округлением результатов до 0, 1 мм: δ=(0, 1en+0, 1), мм. | |||||||
Примечание - На трубы из сшитого полиэтилена с армировкой нитями распространяются требования ГОСТ Р 54468.
6.2 Трубы из ПЭ-С, не предусмотренные ГОСТ ИСО 4065 и используемые, как правило, в системах отопления, диаметрами dn=12, 14, 16, 17, 18 и 20 мм всех серий S2, 5; 3; 3, 2; 3, 5; 4 и 4, 5 имеют толщину стенки en=2 мм.
6.3 Трубы из ПЭ-С выпускают в виде прямых отрезков, в бухтах или на катушках, как установлено в технической документации изготовителя. Длина труб должна быть установлена в технической документации изготовителя или по согласованию с потребителем. Предельное отклонение труб длиной до 12 м должно составлять ±10 мм.
6.4 Ориентировочное значение массы M, кг, труб из ПЭ-С вычисляют по формуле
M≈3000en(dn-en)L, (1)
где L - длина труб, м.
6.5 Трубы из ПЭ-С должны иметь ровную и гладкую наружную и внутреннюю поверхности. На поверхности труб допускаются незначительные продольные полосы и волнистость. На поверхности труб не допускаются пузыри, трещины, раковины и посторонние включения. Цвет труб указывают в технической документации на изделия.
6.6 Стойкость труб из ПЭ-С должна соответствовать режимам испытаний, приведенным в таблице 6.2.
Таблица 6.2 - Режимы испытаний труб из ПЭ-С на стойкость к внутреннему давлению (см. ГОСТ 32415)
|
Температура испытаний, °C |
Время испытаний, ч, не менее |
Гидростатическое (кольцевое) напряжение, МПа |
|
20 |
1 |
12 |
|
95 |
1 |
4, 8 |
|
22 |
4, 7 | |
|
165 |
4, 6 | |
|
1000 |
4, 4 |
6.7 Термическую стабильность труб из Э-С следует определять испытаниями при действии внутреннего давления, создающего гидростатическое (кольцевое) напряжение 2, 5 МПа, при температуре 110°C в течение 8760 ч.
6.8 Овальность определяют как разность между максимальным и минимальным значениями наружного диаметра в одном и том же поперечном сечении трубы, ее значения не должны выходить за указанные в таблице 6.1 пределы.
6.9 Для определения толщины стенки труб и трубных концов фитингов выбирают средства измерений или устройства таким образом, чтобы погрешность результата измерений соответствовала ГОСТ 32415-2013 (таблица 43). Измерение минимальной и максимальной толщины стенки проводят в одном выбранном поперечном сечении, на расстоянии от торца не менее 25 мм, перемещая средство измерений до нахождения максимального и минимального значений. Среднюю толщину стенки определяют как среднее значение не менее шести измерений в одном выбранном поперечном сечении, ее значения не должны выходить за указанные в таблице 6.1 пределы.
6.10 В комплект поставки должны входить трубы и (или) фитинги, сортамент которых определяет заказчик, а также документ, удостоверяющий качество изделий в соответствии с ГОСТ 32415-2013 (подраздел 7.2).
7.1 Для устройства трубопроводов из труб из ПЭ-С следует применять фитинги под соединения механического типа:
- компрессионные - соединение осуществляется обжатием кольца по наружной поверхности трубы;
- прессовые (обжимные) - соединение осуществляется обжатием фитинга или отдельного кольца по наружной поверхности трубы с помощью специального инструмента;
- резьбовые разъемные - состоят из двух элементов, соединяемых накидной гайкой с эластичным уплотнением;
- фитинги быстрого соединения "пуш-фит", соединяемые усилием нажатия без применения нагрева или инструмента;
- фланцевые.
7.2 Конструкция и размеры латунных фитингов, представленные в приложении Б: муфты (таблица Б.1), угольники (таблица Б.2), тройники (таблица Б.3), распределительные коллекторы (таблица Б.4) и специальная запорная арматура (таблица Б.5), фитинги из полисульфона (таблица Б.6), должны соответствовать нормативным и техническим документам на изделия и рассчитаны на номинальное давление не менее 1, 5 МПа.
7.3 Для перехода с трубопроводов из труб из ПЭ-С на стальные, а также присоединения запорно-регулирующей арматуры, получения разъемного соединения следует использовать специальные соединительные детали (пресс-фитинги) из модифицированного полисульфона с трубной резьбой (приложение Б, таблица Б.7).
7.4 Виды и марки металлов и покрытий, применяемые для изготовления фитингов и закладных элементов комбинированных деталей, должны быть указаны в нормативных и технических документах на изделия. Конструкция и размеры фитингов из термопластов и металлов должны соответствовать нормативным и техническим документам на изделия.
8.1 Для сборки труб из ПЭ-С между собой, с фитингами и арматурой следует использовать механические соединения:
- компрессионные, собираемые обжатием кольца по наружной поверхности трубы (рисунок 8.1);

- прессовые (обжимные, опрессовываемые), собираемые обжатием фитинга или отдельного кольца по наружной поверхности трубы с помощью специального инструмента (рисунок 8.2);

- надвижные, собираемые надвижкой кольца на насаженный на штуцер конец трубы (рисунок 8.3);

- стяжные, собираемые стягиванием болтом разрезной муфты вокруг конца трубы, насаженного на штуцер фитинга (рисунок 8.4);

- "пуш-фит", усилием нажатия без применения нагрева или инструмента (рисунок 8.5);

- резьбовые разъемные, состоящие из двух элементов, собираемых накидной гайкой с эластичным уплотнением;
- фланцевые, собираемые на болтах и шпильках.
8.2 Механические соединения труб из ПЭ-С между собой и с фитингами должны удовлетворять требованиям ГОСТ 32415-2013 (пункты 5.3.2-5.3.7 соответственно) по: стойкости к внутреннему давлению, при переменной температуре, при переменном давлении и к действию растягивающей нагрузки, а также герметичности при действии внутреннего давления и изгибе и при пониженном давлении.
8.3 Соединения труб из ПЭ-С и фитингов должны быть стойкими к действию растягивающей нагрузки при режимах испытаний, указанных в ГОСТ 32415-2013 (таблица 24).
8.4 Соединения труб из ПЭ-С и фитингов должны быть герметичными при изгибе трубы и действии внутреннего давления, указанного в ГОСТ 32415-2013 (таблица Ж.1), при температуре 20°C в течение не менее 1 ч.
8.5 При создании внутри соединений труб из ПЭ-С и фитингов пониженного давления минус 0, 08 МПа его изменение в течение 1 ч должно составлять не более 0, 005 МПа по ГОСТ 32415.
8.6 Соединения труб из ПЭ-С и фитингов должны быть стойкими в течение 5000 циклов переменной циркуляции холодной и горячей воды при действии внутреннего давления по ГОСТ 32415. Продолжительность каждого цикла составляет (30±2) мин и включает в себя время воздействия холодной воды с наименьшей температурой 20°C в течение 15 мин и время воздействия горячей воды с наибольшей температурой (Тмакс+10)°С, но не более 95°C (Тмакс - максимальная температура по ГОСТ 32415-2013 (таблица 5)), также в течение 15 мин. Испытательное внутреннее давление должно соответствовать рабочему давлению Рмакс, равному 0, 4; 0, 6; 0, 8 или 1, 0 МПа.
8.7 Соединения труб из ПЭ-С и фитингов должны быть стойкими в течение 10000 циклов воздействия переменного внутреннего давления с минимальным и максимальным значениями, указанными в ГОСТ 32415-2013 (таблица 23).
8.8 Эластичные уплотнительные кольца для сборки труб из ПЭ-С между собой и с фитингами должны быть изготовлены из резины в соответствии с нормативно-техническими документами и обеспечивать герметичность соединений в течение всего установленного срока эксплуатации трубопровода.
9.1 Для крепления горизонтальных и вертикальных участков трубопроводов из труб из ПЭ-С к строительным конструкциям зданий (стенам, колоннам, панелям перекрытия и др.) с помощью закладных деталей, консолей, кронштейнов следует использовать крепеж (приложение В) в виде хомутов (таблицы В.1 и В.2), зажимов (таблица В.3) и опор (рисунок В.1) как одиночных, так и групповых (рисунок В.2).
9.2 Крепеж для крепления трубопроводов из труб из ПЭ-С должен удовлетворять требованиям, обусловленным возможностью их многократного применения с обязательным сохранением высокого качества изделий; применением для крепления труб в различных условиях строительства трубопроводов, в том числе под средние и тяжелые нагрузки; универсальностью и унифицированностью; высокой механической прочностью; обязательной коррозионноустойчивостью к окружающей среде; легкостью и простотой монтажа.
9.3 При выборе крепежа для крепления трубопроводов следует учитывать специфику физико-механических свойств труб из ПЭ-С:
- значительный, по сравнению с металлами, коэффициент линейного расширения (на прямолинейных участках трубопроводов следует применять компенсаторы со специальной конструкцией фиксирующих хомутов, а опорные конструкции должны обеспечивать свободное перемещение трубопровода);
- существенную чувствительность к надрезам и механическим повреждениям (хомуты креплений должны быть плоскими и иметь прокладку или закругленные края и гладкую внутреннюю поверхность, соприкасающиеся с трубами конструкции, например, сплошная постель должна иметь гладкую поверхность без заусенцев и острых кромок);
- низкие твердость, прочность и теплостойкость (не допускается использовать трубопроводы в качестве несущих конструкций).
9.4 Металлический крепеж необходимо комплектовать прокладками (лентой из полиэтилена с буртиками по краям или из обычной резины толщиной 1, 5-2, 0 мм) для размещения их при монтаже между трубами из ПЭ-С и стальными элементами.
10.1 Для снижения уровня температурных продольных напряжений в стенках труб из ПЭ-С компенсацию температурных удлинений трубопроводов следует осуществлять главным образом за счет самокомпенсации отдельных участков или предусматривать на них компенсирующие устройства.
10.2 Выбор компенсаторов, согнутых из труб из ПЭ-С, следует осуществлять с учетом расположения и возможных осевых температурных деформаций внутренних трубопроводов в пространстве (рисунок 10.1).

10.3 Расчетные продольные усилия, воздействующие на трубопровод при изменении температуры NT, Н, без учета компенсации температурных деформаций, в продольном направлении определяют по формуле
NT=αEF∆T, (2)
где α - коэффициент линейного температурного расширения, К-1;
∆T - максимальная разность между температурами стенок трубопроводов в процессе эксплуатации и окружающей среды, при которой осуществляется монтаж замыкающих стыков трубопроводов, °С;
Е - модуль упругости ПЭ-С, Па;
F - площадь поперечного сечения трубы, м2.
10.4 Температурное изменение длины трубопровода ∆l, м, вычисляют по формуле
∆l=α∆Tl, (3)
где l - первоначальная длина трубопровода, м.
10.5 Максимально допустимое продольное перемещение трубопровода от действия температуры, компенсируемое гнутым отводом под углом 90° (рисунок 10.2), вычисляют по формуле
, (4)
где R - расчетное сопротивление материала труб, Па;
l1 - длина прилегающего к отводу прямого участка трубопровода, воспринимающего перемещение ∆l, м;
r - радиус изгиба отвода, м.

Максимально допустимое расстояние от конца отвода до места неподвижного закрепления l, м, следует определять по формуле (3).
10.6 Компенсирующую способность П-образного компенсатора (рисунок 10.3) вычисляют по формуле
, (5)
где h - полный вылет компенсатора, м;
r - радиус изгиба компенсатора, м;
а - длина прямого участка компенсатора, м.

Максимально допустимые расстояния от компенсатора до места неподвижного закрепления трубопровода l, м, следует определять по формуле (3) и затем уменьшать в 2 раза.
10.7 Для компенсации температурных деформаций прямолинейных участков трубопроводов длиной до 12 м размеры лирообразного компенсатора (рисунок 10.4) следует определять, исходя из следующих соотношений: r1=5dn; r2=3, 5dn; b=3dn; h=15dn.

10.8 Расстояние от осей тройников (ответвлений) или от концов отводов до мест неподвижного закрепления трубопровода l, м, вычисляют по формуле
l=6(∆l·dn)0, 5. (6)
11.1 Выбор труб из ПЭ-С по пропускной способности (с точностью на уровне современных знаний) для устройства водопроводов и трубопроводов водяного отопления следует осуществлять путем проведения гидравлических расчетов с использованием методик, учитывающих:
- возможность использования для расчета как водопроводов (холодных и горячих), так и трубопроводов водяного отопления;
возможность использования для расчета полимерных, композитных и металлических трубопроводов, что необходимо при вариантном проектировании с целью выбора оптимальных из аналогичных между собой труб;
- надежность методики, проверенная практикой проведения гидравлических расчетов как водопроводов (холодных и горячих), так и трубопроводов водяного отопления.
Пропускную способность труб из ПЭ-С вычисляют по формуле
, (7)
где λ - коэффициент гидравлического трения по длине трубопровода;
Re - число Рейнольдса;
Kэ - коэффициент шероховатости материала труб, м;
d - расчетный (внутренний) диаметр труб, м.
Коэффициент трения по длине трубопровода λ определяется по формуле
, (8)
где b - число подобия режимов течения воды (при b > 2 принимают b = 2), вычисляемое по формуле
, (9)
где Reф и Reкв - фактическое и квадратичное числа Рейнольдса, вычисляемые соответственно по формулам:
; (10)
, (11)
где V - средняя скорость течения, м/с;
v - коэффициент кинематической вязкости воды, м2/с;
Kэ - коэффициент абсолютной шероховатости: для труб из ПЭ-С <= 0, 00001 м;
d - расчетный диаметр, м, вычисляемый по формуле
d=0, 5(2dn+∆dn-4e-2∆e), (12)
где ∆n, ∆e - допуски на диаметр и толщину стенки, м;
е - толщина стенки, м.
11.2 Целью определения гидравлических показателей водопроводов и трубопроводов водяного отопления должна являться минимизация значений d, ∆Р и iT при условии пропуска по ним расчетных расходов (G - для отопления и q - для водоснабжения).
Примечание - Здесь падение давления ∆Р, Па/м, при пропуске теплоносителя (горячей воды) с расходом G, кг/ч (распространяется на системы с температурой теплоносителя не более 90°С и рабочим давлением до 1, 0 МПа) - для водяного отопления, а также удельные потери напора на единицу длины iT, м/м, при пропуске расчетного расхода холодной (горячей) воды q, м3/с - для холодного (горячего) водоснабжения являются основными гидравлическими показателями.
11.3 При гидравлическом расчете трубопроводов систем водяного отопления необходимо таким образом подобрать диаметры труб, чтобы по ним проходил расчетный расход теплоносителя при соответствующем общем падении давления ∆Р, Па.
11.3.1 Расход теплоносителя (массу) G, кг/ч, вычисляют по формуле
G=Qρ, (13)
где Q - расход (объем), м3/с;
ρ- плотность воды (теплоносителя) при соответствующей температуре, кг/м3.
При расчетных температурах 10°С, 60°С и 80°С ρ=999, 73; 983, 24 и 971, 83 кг/м3 соответственно.
11.3.2 Внутренний диаметр труб d, мм, определяют по формуле
, (14)
где V - средняя по сечению трубы скорость движения воды (теплоносителя), рекомендуемая в пределах до 1, 5 м/с.
11.3.3 Общее падение давления складывается из падения давления на трение по длине трубопровода ∆РДТ и падения давления на местных сопротивлениях ∆РМС.
11.3.4 Падение давления на трение по длине трубопровода ∆РДТ вычисляют по формуле
∆РДТ=lR, (15)
где l - длина трубопровода, м;
R - падение давления вследствие трения теплоносителя (воды) о стенки трубы, Па/м, вычисляемое по формуле
, (16)
где λ - коэффициент гидравлического трения, определяемый по формулам (12) либо (13).
11.3.5 Потери напора на единицу длины трубопровода iT, м/м, без учета гидравлического сопротивления стыковых соединений, вычисляют по формуле
, (17)
где g - ускорение свободного падения, равное 9, 81 м/с2.
Допускается осуществлять переход от формулы (16) к формуле (17) и наоборот, используя формулу
R=iTρg. (18)
Примечание - Для оценочных расчетов допускается использование номограмм на выровненных точках (приложение А, рисунок А.1) и сетчатых (рисунок А.2), позволяющих считывать с них значения с точностью до 20%.
11.3.6 Требуемый для подачи воды потребителю напор HTP, м, определяют по формуле
HTP=∑iTl+∑hMC+hгеом+hсв, (19)
где iT - удельные потери напора при температуре воды Т, °С (потери напора на единицу длины трубопровода), м/м;
l - длина участка трубопровода, м;
hMC - потери напора в стыковых соединениях и местных сопротивлениях, м;
hгеом - геометрическая высота (отметка самой высокой точки расчетного участка трубопровода), м;
hсв - свободный напор на изливе из водопровода, м (для санитарно-технических приборов принимают по СП 30.13330).
11.3.7 Допускается принимать потери напора в стыковых соединениях труб и местных сопротивлениях от потерь напора на трение по длине при трассировке водопроводов: традиционной - 20% - 30%, коллекторной - 5% - 10%.
11.3.8 Гидравлические потери напора iMC (в водопроводах) и падение давления RMC (в трубопроводах отопления) на местных сопротивлениях определяют по формулам
, (20)
, (21)
где ζ - коэффициент местного гидравлического сопротивления соединения, фитинга, гнутья, коллектора.
Примечание - Гидравлическое местное сопротивление в основном зависит от внезапных расширений и сужений сечения, плавности перехода от одного сечения к другому (конусность и округления), а также выступов, создающих в трубопроводе диафрагмы. Если гидравлические сопротивления получаются в процессе монтажа, указать значения коэффициентов для них возможно только в определенных пределах.
Значения гидравлических местных сопротивлений следует указывать в сопроводительной документации производителями изделий.
Приблизительные значения местных гидравлических сопротивлений приведены в приложении Г (таблица Г.1).
12.1 Выбор труб из "сшитых" полиэтиленов по располагаемому напору необходимо связывать с внутренним давлением Р, которое будет создавать растягивающие напряжения в их стенках.
12.2 Для трубопроводов холодного водоснабжения внутреннее давление следует принимать равным номинальному давлению PN, вычисляемому по формуле
PN=10σs/S=10MRS/S·C. (22)
Примечание - Номинальное давление должно соответствовать установленным значениям по ГОСТ 32415-2013 (приложение Д), а минимальные значения коэффициента запаса прочности С трубопроводов из ПЭ-С при температуре 20°C в течение 50 лет - ГОСТ ИСО 12162.
12.3 Следует учитывать, что трубы из ПЭ-С (таблица 6.1) могут применяться в системах холодного, горячего водоснабжения и водяного отопления с температурными режимами, указанными в ГОСТ 32415-2013 (таблица 5).
12.4 Согласно ГОСТ 32415 максимальный срок службы трубопровода для каждого класса эксплуатации определяется суммарным временем работы трубопровода при температурах Траб, Тмакс и Тавар и составляет 50 лет. При сроке службы менее 50 лет все временные характеристики, кроме Тавар, следует пропорционально уменьшить.
12.5 Для классов эксплуатации 1, 2, 4 и (или) 5 рабочее давление Рмакс следует выбирать из ряда 0, 4; 0, 6; 0, 8 и до 1, 0 МПа по ГОСТ 32415.
12.6 Трубы для классов эксплуатации 1, 2, 4 и (или) 5 должны быть пригодными для транспортирования холодной воды в течение 50 лет при температуре 20°C и рабочем давлении 1, 0 МПа.
12.7 Для заданного класса эксплуатации и рабочего давления Рмакс должна быть выбрана номинальная серия труб S (таблица 6.1), значением не более расчетной серии S'макс. В качестве расчетной серии S'макс принимают меньшее из значений, полученных по формулам (23) и (24):
, (23)
где σD - расчетное напряжение, МПа, определяемое по правилу Майнера по ГОСТ 32415-2013 (приложение Б) на основании уравнений длительной прочности материала трубопровода по ГОСТ 32415-2013 (приложение В).
Расчетную серию для класса эксплуатации холодного водоснабжения S'XB вычисляют по формуле
, (24)
где σXB - расчетное напряжение при температуре 20°C в течение 50 лет;
Рмакс - рабочее давление 1, 0 МПа.
Примечания
1 Значения расчетных напряжений и расчетных серий указаны в ГОСТ 31415-2013 (приложение Г).
2 Для труб с барьерным слоем выбор серий труб на основе Sмакс осуществляется, исходя из значений наружного диаметра и толщины стенки основной трубы без учета толщины наружного барьерного слоя.
12.8 Для труб из ПЭ-С, транспортирующих холодную воду при температуре 20°C, предусмотрено Рмакс=1, 0 МПа.
13.1 Трубы из ПЭ-С и фитинги допускается транспортировать любым видом транспорта в соответствии с правилами перевозки грузов и техническими условиями погрузки и крепления грузов, действующими на данном виде транспорта.
13.2 Транспортирование следует проводить методом, исключающим повреждение поверхности труб из ПЭ-С (вследствие царапин и порезов) и нарушение целостности упаковки фитингов, оберегать от ударов и механических повреждений (сбрасывать с транспортных средств трубы и в прямых отрезках, и в бухтах, а также соединительные детали не допускается).
13.3 Трубы из ПЭ-С и фитинги следует хранить в условиях, исключающих вероятность их механических повреждений, в неотапливаемых или отапливаемых (не ближе одного метра от отопительных приборов) складских помещениях или под навесами. Трубы и полимерные фитинги при хранении следует защищать от воздействия прямых солнечных лучей. Условия хранения труб и полимерных фитингов 1 (Л), 2 (С) или 5 (ОЖ4) по ГОСТ 15150-69 (раздел 10). Допускается хранение труб при условиях 8 (ОЖ3) не более 6 мес.
13.4 Трубы в прямых отрезках необходимо укладывать всей длиной на ровную поверхность платформы транспортных средств, а при хранении - на деревянные профилированные прокладки (бруски).
13.5 Для хранения в штабелях высота укладки труб из ПЭ-С не должна превышать в прямых отрезках - 1, 5 м, бухтах - не более 2 м; а упаковок фитингов - не более 1 м.
13.6 Трубы из ПЭ-С и фитинги целесообразно хранить рассортированными по типоразмерам.
13.7 В условиях строительной площадки допускается временное хранение труб из ПЭ-С и фитингов под навесом, с исключением попадания на них прямых солнечных лучей и прямого контакта с горюче-смазочными материалами.
14.1.1 Устройство водопроводов из труб из ПЭ-С по СП 48.13330 в помещениях зданий с температурой воздуха ниже 2°С не допускается.
14.1.2 Монтаж водопроводов и трубопроводов отопления из труб из ПЭ-С допускается проводить при температуре выше минус 15°С.
14.1.3 Внутренние напорные трубопроводы (водоснабжения и водяного отопления) следует монтировать из труб из ПЭ-С, как правило, с использованием типовой технологической схемы (ТТС), обычно включающей следующее:
- трассировку трубопроводов (разметку мест установки сантех- и отопительных приборов, прохождения стояков с указанием отверстий в перекрытиях, расположения коллекторов);
- установку элементов креплений на строительных конструкциях;
- разноску труб, трубных заготовок, а также сантех- и отопительных приборов;
- прокладку магистральных трубопроводов (сборку и крепление);
- прокладку стояков по всей высоте здания (сборку и крепление);
- сборку стояков с магистралями, включая запорную арматуру;
- установку водоразборной арматуры, включая сантех- и отопительные приборы;
- прокладку подводок к водоразборной арматуре (разводок к отопительным приборам);
- подсоединение подводок (разводок) к стоякам;
- проведение гидравлических испытаний трубопроводной системы (промывку водопроводов);
- сдачу-приемку в эксплуатацию, включая пробный пуск отопительных систем.
14.2.1 При трассировке - выборе места прокладки водопроводов и трубопроводов водяного отопления из труб из ПЭ-С и расположения их отдельных элементов в объеме здания необходимо руководствоваться следующими основными требованиями: экономичности, т.е. сеть должна быть наиболее короткой и иметь наименьшие диаметры труб; удобства монтажа и эксплуатации; возможности применения элементов и узлов заводского изготовления; эстетичности, т.е. трубопроводы и другие элементы внутренних сетей не должны отрицательно влиять на интерьер помещения.
14.2.2 Использование для устройства водопроводов и трубопроводов водяного отопления труб из ПЭ-С позволяет проводить трассировку сетей с использованием традиционных схем (рисунок 14.1а) и 14.2а)) и коллекторных схем (рисунок 14.1б) и 14.2б)) или их комбинацию.



14.2.3 Выбор схемы следует связывать с объемно-планировочными решениями всех помещений в зданиях, в том числе санузлов, а также предполагаемых (подтвержденных гидравлическими, теплотехническими и экономическими расчетами при вариантном проектировании различных систем горячего водоснабжения и водяного отопления, если нет особых требований заказчика на применение конкретных систем и трубных изделий) к использованию труб по материалу и фитингов, в том числе, коллекторов.
14.3.1 Магистральные трубопроводы из труб из ПЭ-С следует прокладывать по стенам, полу или под потолком подвалов в технических подпольях, подпольных каналах прямолинейно, без переломов в соединениях, прочно закрепленными на всех опорах, с уклоном. Холодные водопроводы следует располагать ниже трубопроводов горячих водопроводов и трубопроводов отопления. Трубопроводы диаметром до 40 мм следует закреплять разъемными хомутами, а диаметром более 40 мм - с помощью кронштейнов и подвесок. Крепления не следует располагать в местах соединений на трубопроводах. При необходимости на трубопроводах следует предусматривать разъемные соединения для их разборки. В пониженных местах трубопровода следует устанавливать спускные тройники.
14.3.2 Водопроводные стояки следует прокладывать совместно со стояками внутренней канализации. При расположении водопроводных стояков в бороздах в местах установки арматуры и сгонов следует оставлять люки. Располагать соединения водопроводов и трубопроводов отопления в местах, где они пересекают строительные конструкции, не допускается; провод трубопроводов сквозь строительные конструкции следует проводить с использованием гильз. Зазоры между гильзами и трубами (≈15-20 мм) следует уплотнять негорючими материалами. У оснований стояков и не реже чем через этаж, а также на ответвлениях от стояка следует устанавливать разъемные соединения; при врезке стояков в магистрали на них следует устанавливать вентили (на водопроводе) и пробковые/шаровые краны (на отоплении). Стояки следует крепить крючками или хомутами на высоте, равной половине высоты этажа.
14.3.3 Подводки/разводки из труб из ПЭ-С при традиционной трассировке следует прокладывать с уклоном 0, 002-0, 01 м в сторону стояка для опорожнения системы при ремонте и выхода воздуха из приборов отопления. Подводки к водоразборной арматуре (разводки к отопительным приборам) допускается прокладывать как скрыто (в плинтусах/бороздах), так и открыто.
14.3.4 Горячие водопроводы следует прокладывать с расположением стояков справа от стояков холодных водопроводов, а горизонтальные участки - выше, с тем чтобы уменьшить нагрев воды в холодных водопроводах. Горячие водопроводы, прокладываемые в каналах и шахтах совместно с холодными из труб из ПЭ-С, необходимо покрывать теплоизоляцией.
14.3.5 При пересечении водопроводов из труб из ПЭ-С со стальными трубопроводами отопления скобы и утки следует устраивать на стальных трубах, а расстояние между стенками пересекающихся труб принимать не менее 50 мм; при параллельном расположении водопроводы из труб из ПЭ-С должны быть ниже трубопроводов отопления на 100 мм.
14.3.6 При сборке пресс-соединений c использованием пресс-инструментов концы труб должны быть чистыми, не должны иметь царапин и бороздок по всей длине.
Примечание - Техническое обслуживание пресс-инструментов следует проводить не реже одного раза в год. При невыполнении этого требования данным пресс-инструментом пользоваться не допускается.
14.3.7 Запорная и водоразборная арматура должна быть жестко закреплена отдельно от труб, с тем чтобы усилия, возникающие при использовании, не передавались на трубы из ПЭ-С.
14.3.8 При монтаже водопроводов и трубопроводов водяного отопления с использованием труб из ПЭ-С следует руководствоваться требованиями СП 60.13330 и своевременно проводить следующий контроль качества:
- входной контроль качества (ВКК): всех используемых при монтаже изделий сравнением с нормативной документацией на них;
- операционный контроль качества (ОКК): всех технологических процессов с составлением актов на скрытые работы;
- приемочный контроль качества (ПКК): проверку соответствия диаметров трубопроводов проекту, взаимного расположения труб разных систем (водопроводы, канализация, отопление), уклонов, расстановку и прочности креплений труб (коллекторов, сантех- и отопительных приборов и арматуры), обеспечения компенсирующей способности трубопроводов, расстояний между осями стояков, их прямолинейности и вертикальности, исправности и функционирования водоразборной арматуры.
14.4.1 В крепежные работы следует включать следующие технологические процессы, которые должны учитывать диаметры, длину участков, вид соединений и их пространственное расположение (рисунок 14.3):
- тщательную разметку места установки крепежа;
- подготовку места установки крепежа;
- ВКК всех элементов крепежа (дюбелей, шурупов, хомутов, полухомутов, прокладок, винтов, болтов, гаек и др.);
- прочную фиксацию несущих элементов крепежа (кронштейнов, подвесок и др.) к строительным конструкциям (пристрелку, закрепление с помощью шурупов или шпилек и т.п.) с проведением ОКК;
- расположение трубопровода и элементов крепежа на нем в строго проектном положении;
- сопряжение элементов крепежа и труб с прочностью, достаточной для удержания трубопровода в проектном положении в течение всего срока эксплуатации, но без создания чрезмерных контактных давлений на стенки труб из ПЭ-С, которые могут привести к их преждевременному разрушению, с проведением ОКК;
- обязательный контроль качества выполнения всех вышеперечисленных технологических процессов и окончательного монтажа крепления с выполнением ПКК.

14.4.2 Крепление труб из ПЭ-С диаметром ≥25 мм к конструкциям зданий следует проводить металлическими хомутами, которые не должны иметь острых кромок и заусенцев, между наружной поверхностью труб и внутренней поверхностью хомутов необходимо обязательно размещать эластичные резиновые или пластмассовые прокладки с небольшим выходом за кромки хомута.
14.4.3 В штробе трубы из ПЭ-С следует крепить по высоте здания с использованием стальных скоб с установленными на них хомутами (рисунок 14.4).

14.4.4 Крепление труб из ПЭ-С диаметром <25 мм к конструкциям зданий целесообразно проводить с использованием полимерного крепежа.
14.4.5 Расставлять крепеж на трубопроводах из труб из ПЭ-С следует на расстояниях, указанных в проекте, и обязательно с учетом проектного расположения компенсаторов температурных деформаций (рисунок 14.5).

14.4.5.1 При отсутствии проектных данных допускается использовать рекомендации для соответствующих диаметров труб из ПЭ-С (таблица 14.1) по максимальным расстояниям Lмакс между двумя подвижными опорами или между неподвижной и подвижной опорами.
Таблица 14.1 - Максимальные расстояния Lмакс между двумя опорами для труб из ПЭ-С
|
dn, мм |
16 |
20 |
25 |
32 |
40 |
50 |
63 |
75 |
90 |
110 | |
|
Lмакс, м, для воды |
холодной |
0, 55 |
0, 6 |
0, 65 |
1 |
1, 1 |
1, 25 |
1, 4 |
1, 5 |
1, 65 |
1, 9 |
|
горячей |
- |
0, 5 |
0, 6 |
0, 65 |
0, 8 |
1 |
1, 2 |
1, 3 |
1, 45 |
1, 6 | |
14.4.5.2 При креплении трубопроводов следует учитывать характер креплений - "подвижные" и "мертвые" опоры. В опорах первого типа трубы свободно перемещаются вдоль своей оси, поэтому между поверхностями труб и хомутов должен быть обеспечен зазор 1-2 мм. В опорах второго типа трубы перемещаться не должны. Между такими "мертвыми точками" участок трубопровода не может свободно удлиняться или укорачиваться в зависимости от изменения эксплуатационной температуры. В этих местах трубопроводы следует закреплять неподвижно (не допускается чрезмерно стягивать оболочку труб хомутами, так как это приведет к завышенным растягивающим напряжениям в материале и трубы могут преждевременно разрушиться).
14.4.6 В нижней части стояки (вертикальные трубы) следует обязательно фиксировать неподвижными опорами.
14.4.7 Водозапорную арматуру на строительных конструкциях следует закреплять самостоятельно.
14.4.8 Присоединение к трубопроводам водоразборных кранов умывальников и раковин следует проводить с использованием специальной фасонной части, имеющей фланец с отверстиями для шурупов, с помощью которых она закрепляется на стене.
14.4.9 При установке креплений следует использовать средства малой механизации - ручные, механизированные, гидравлические и электрифицированные натяжные приспособления.
В качестве инструмента следует использовать дрели и перфораторы.
15.1 По завершении монтажных работ, до начала отделки (скрытые прокладки испытывают перед заделкой в строительные конструкции), монтажными организациями должны быть проведены испытания систем холодного и горячего водоснабжения, отопления.
15.2 Системы водоснабжения должны быть испытаны гидростатическим или манометрическим методом до установки водоразборной арматуры с соблюдением настоящего свода правил с учетом требований ГОСТ 24054 и ГОСТ 25136, СП 73.13330.2016 (пункты 7.1, 7.2).
15.3 Испытание водяных систем отопления следует выполнять при отключенных теплогенераторах и расширительных сосудах гидростатическим методом с учетом требований СП 73.13330.2016 (пункт 7.3).
16.1 Системы отопления, внутреннего холодного и горячего водоснабжения по окончании их монтажа должны быть промыты водой в соответствии с требованиями СП 73.13330.2016 (пункт 6.1.13) до выхода ее без механических взвесей.
16.2 Хозяйственно-питьевые водопроводы из труб из ПЭ-С зданий и сооружений, завершенные строительством, при их вводе в эксплуатацию в соответствии с СП 68.13330, следует подвергать санитарной обработке - промывке и дезинфекции.
16.3 Санитарная обработка считается законченной при удовлетворительных результатах анализов сбрасываемой во внутреннюю канализацию воды в соответствии с требованиями СанПиН 2.1.4.1074 и ГОСТ Р 51232. Результаты анализов отражают в акте, составленным в пяти экземплярах с участием представителей строительной и эксплуатирующей организаций, территориального Управления Роспотребнадзора.
17.1 Сдачу-приемку законченных строительством систем холодного и горячего водоснабжения и водяного отопления с трубопроводами из труб из ПЭ-С в эксплуатацию следует проводить с учетом положений настоящего свода правил и требований СП 68.13330, СП 73.13330.2016 (приложение В).
17.2 При сдаче-приемке систем в эксплуатацию проводят их осмотр для сверки с проектом. Отступления от проекта и от других требований, указанных в контракте на выполнение работ, оформляют соответствующими актами и протоколами.
17.3 При сдаче-приемке в эксплуатацию холодных и горячих водопроводов из труб из ПЭ-С проверяют их водонепроницаемость при установленной водоразборной арматуре и включенных насосных установках, контролируя создаваемое ими давление. Проверяют поступление воды на верхние этажи зданий.
18.1.1 Рабочему персоналу, занятому на монтаже водопроводов и трубопроводов водяного отопления из труб из ПЭ-С, необходимо соблюдать требования техники безопасности в соответствии с [5], [6], включая изменения, касающиеся погрузочно-разгрузочных работ.
18.1.2 Рабочему персоналу, занятому на монтаже водопроводов и трубопроводов водяного отопления из труб из ПЭ-С, необходимо соблюдать требования безопасности труда, обеспечивающие защиту от воздействия опасных и вредных производственных факторов, связанных с расположением рабочих мест на значительной высоте, передвигающимися конструкциями, падением вышерасположенных материалов, инструмента, правилами пользования электрифицированным инструментом и оборудованием.
18.1.3 Работнику, занятому на монтаже водопроводов и трубопроводов водяного отопления из труб из ПЭ-С, необходимо приступать к выполнению работ только в спецодежде, защищающей его от механических воздействий.
18.1.4 Находиться на стройплощадке, проводить монтаж водопроводов и трубопроводов водяного отопления из труб из ПЭ-С допускается только в защитных касках.
18.1.5 На участках работ и рабочих местах, на территории строительного объекта, в складских и бытовых помещениях необходимо выполнять требования внутреннего распорядка данной организации.
18.1.6 Необходимо использовать в работе электрифицированный инструмент только в исправном состоянии и строго по назначению, в соответствии с инструкциями предприятий-изготовителей.
Примечание - Пригодность инструмента, приспособлений, средств малой механизации (СММ) и т.п. следует проверять в установленном порядке с указанием сроков, установленных в техпаспортах.
18.1.7 Работник обязан немедленно извещать своего непосредственного или вышестоящего руководителя работ о любой ситуации, угрожающей жизни и здоровью людей, о каждом несчастном случае, происшедшем на стройке, или об ухудшении своего здоровья.
18.1.8 Работнику следует после получения задания подготовить необходимые средства индивидуальной защиты, проверить их исправность, проверить рабочее место и подходы к нему на соответствие требованиям безопасности. Следует подобрать технологическую оснастку, инструмент, СММ и др. оборудование, необходимые для качественного и эффективного производства работы, проверить соответствие их требованиям безопасности труда, осмотреть место работы, изделия и др. материалы, предназначенные для монтажа водопроводов и трубопроводов водяного отопления из труб из ПЭ-С, и убедиться в отсутствии у них дефектов.
18.1.9 Работнику не следует приступать к выполнению работы при нарушении требований безопасности.
Примечание - Не допускается устранять обнаруженные нарушения требований безопасности собственными силами. Работники обязаны сообщить о них бригадиру, прорабу, инженеру по технике безопасности или руководителю работ.
18.1.10 Работнику необходимо приостановить работы и сообщить об этом бригадиру, прорабу или руководителю в случаях обнаружения неисправностей в электропроводках, электроинструменте, переносной электролампе или трансформаторе, а также в другом электрифицированном оборудовании.
18.1.11 Работникам необходимо проводить работы на высоте (свыше 1, 3 м) только с приставных лестниц, установленных с учетом необходимости свободного перемещения людей, занятых на строительстве объекта.
18.1.12 Работникам необходимо незамедлительно приостановить работу при обнаружении неустойчивого положения монтируемой части трубопровода, нарушения целостности креплений, установленных на стенах или подвешенных к перекрытиям, а также вырезанной электросваркой рабочей арматуры в отверстиях в перекрытиях для пропуска через них трубных стояков, и поставить об этом в известность руководителя работ и бригадира.
18.1.13 Проводить испытание необходимо только после предупреждения окружающих лиц и получения разрешения руководителя испытаний.
18.1.14 Работникам необходимо немедленно приостановить испытания в случае обнаружения разрыва или повреждения трубы, соединения, фитинга на водопроводе и (или) на трубопроводе водяного отопления, снять давление и возобновить испытания только после устранения неисправностей.
18.2.1 Рабочему персоналу, занятому на монтаже водопроводов и трубопроводов водяного отопления из труб из ПЭ-С, необходимо соблюдать правила противопожарной безопасности по ГОСТ 12.1.004.
18.2.2 Монтаж следует проводить только после окончания сварочных работ на др. элементах зданий, находящихся вблизи водопроводов и трубопроводов водяного отопления из труб из ПЭ-С.
18.2.3 Рабочему персоналу других специальностей запрещается разводить огонь и проводить огневые работы в непосредственной близости (не ближе 2 м) от водопроводов и трубопроводов отопления из труб из ПЭ-С.
18.2.4 При пожаре следует использовать обычные средства пожаротушения.
18.3.1 Рабочему персоналу следует соблюдать правила личной гигиены и производственной санитарии: принимать пищу, курить, отдыхать только в специально отведенных для этого помещениях и местах; пить воду только из специально предназначенных для этого установок. Перед тем как приступить к работе следует получить спецодежду и индивидуальные защитные средства в соответствии с установленными нормами.
Примечание - Бытовые помещения: гардеробные, умывальные, душевые, а также помещения для сушки рабочей одежды и обогрева работников должны соответствовать СанПиН 2.2.1/2.1.1.1200. Бытовые помещения должны быть размещены отдельно и, только в виде исключения, в строящихся зданиях. Количество мест для хранения спецодежды в гардеробных определяется числом работающих во всех сменах. Для просушки одежды и обуви при гардеробных помещениях надлежит устраивать особые комнаты-сушилки или специальные шкафы, оборудованные устройствами для подачи в шкафы подогретого и вытяжки влажного воздуха. Санитарно-бытовые помещения ежедневно и после каждой смены должны убираться и регулярно проветриваться, не реже одного раза в месяц они должны подвергаться дезинфекции. Для обогрева рабочего персонала должны быть отведены специальные помещения. Для предотвращения ожогов все обогревательные устройства должны быть закрыты решетками. На объектах должны быть умывальные с душевыми для рабочих. Умывальные должны размещаться в отдельных помещениях, смежных с гардеробными, или в помещениях гардеробных. Уборные на объектах должны находиться в свободном доступе для рабочего персонала. Места работы и отдыха должны быть обеспечены питьевой кипяченой водой (в бачках с крышками на замке, кранами или фонтанчиками). При бачках должны быть кружки. Бачки и кружки необходимо содержать в чистоте и ежедневно промывать. Участки строительства должны быть оборудованы специальными помещениями для отдыха, принятия пищи и обогрева в зимнее время рабочих. Для обогрева рабочих следует использовать перерывы продолжительностью 10 мин при температуре от минус 20°С до минус 30°С и полное прекращение работ при температуре ниже минус 30°С.
18.3.2 Рабочему персоналу необходимо знать правила по оказанию первой помощи лицам, непосредственно пострадавшим на объекте строительства водопроводов и трубопроводов отопления из труб из ПЭ-С.
18.4.1 Рабочему персоналу, занятому на строительстве водопроводов и трубопроводов отопления из труб из ПЭ-С, рекомендуется ознакомиться с эргономическими правилами и соблюдать инструкции по охране здоровья, полноценно питаться и в процессе работы правильно использовать перерывы для отдыха и обеда, предусмотренные трудовым распорядком.
18.5.1 Работнику необходимо соблюдать требования по охране окружающей среды, предъявляемые к используемым трубным материалам и технологиям производства строительно-монтажных работ по устройству водопроводов и трубопроводов отопления из труб из ПЭ-С, с учетом конкретных местных условий, о чем он должен быть своевременно проинформирован соответствующими службами.
18.5.2 Рабочему персоналу, занятому на монтаже водопроводов и трубопроводов отопления из труб из ПЭ-С, необходимо соблюдать требования по охране окружающей среды при проведении монтажных работ, установленные в проекте организации строительства (ПОС), а также требования действующего законодательства, стандартов и документов директивных органов, регламентирующих рациональное использование и охрану природных ресурсов.
18.5.3 Рабочему персоналу необходимо следить за используемым оборудованием с тем, чтобы оно не являлось источником выделения вредных веществ в атмосферный воздух и повышенных уровней шумов и вибраций.
18.5.4 Слив воды после проведения испытаний водопроводов и трубопроводов отопления из труб из ПЭ-С, а также промывку водопроводов следует проводить только в местах, предусмотренных проектом производства работ (ППР) либо согласованных с местными органами власти.
18.5.5 Отходы труб из ПЭ-С следует аккуратно собирать в одном месте, не смешивая их со строительным мусором, и затем вывозить на заводы для вторичной переработки или на захоронение в места, установленные территориальным Управлением Роспотребнадзора.
Приложение А






Приложение Б
Таблица Б.1 - Штуцерные муфты для соединения труб из ПЭ-С
|
Наименование |
Схема | ||
|
Равнопроходная | ![]() | ||
|
Переходная | ![]() | ||
|
С резьбой |
внутренней | ![]() | |
|
наружной | ![]() | ||
|
Примечание - А - длина изделия, мм; Е, F - внутренние диаметры обжимной муфты, мм; G - резьба, дюйм. | |||
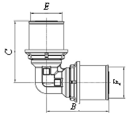
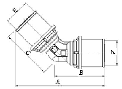
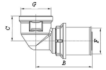
Таблица Б.2 - Угольники для устройства трубопроводов из труб из ПЭ-С
|
Наименование |
Схема |
|
Штуцерный с углом 90° | ![]() |
|
Штуцерный с углом 45° | ![]() |
|
Штуцерный с резьбой внутренней | ![]() |
|
Штуцерный с резьбой наружной | ![]() |
|
Штуцерно-резьбовой с отбором воды на тупиковом участке | ![]() |
|
Штуцерно-резьбовой с отбором воды на транзитном участке | ![]() |
|
Примечание - А, В, С - геометрические размеры изделия, мм; Е, F - внутренние диаметры пресс-втулок (гильз), мм; G - резьба, дюйм. | |
Таблица Б.3 - Тройники для устройства трубопроводов из труб из ПЭ-С
|
Наименование |
Схема |
|
Штуцерный равнопроходной прямой | ![]() |
|
Штуцерный переходной прямой | ![]() |
|
Штуцерный с внутренней резьбой прямой | ![]() |
|
Штуцерный с наружной резьбой прямой | ![]() |
|
Примечание - А, В, С, D - геометрические параметры изделия, мм; Е, F, Н - внутренние диаметры пресс-втулок (гильз), мм; G - резьба, дюйм. | |
Таблица Б.4 - Распределительные коллекторы для устройства трубопроводов из труб из ПЭ-С
|
Наименование |
Схема | ||
|
Проточный резьбовой с позициями для присоединения |
двумя | ![]() | |
|
тремя | |||
|
четырьмя | |||
|
Проточный резьбовой с запорными позициями для присоединения |
двумя | ![]() | ![]() |
|
тремя | |||
|
Примечание - А, В - резьба, дюйм; С, D, Е, F, G - геометрические параметры изделия, мм. | |||
Таблица Б.5 - Штуцерный клапан для установки на трубопроводах из труб из ПЭ-С
|
Схема |
![]() |
|
Примечание - А, В, С, D, F - геометрические параметры изделия, мм; Е, Н - внутренние диаметры пресс-втулок (гильз), мм. |
Таблица Б.6 - Штуцерные фитинги из полисульфона для труб из ПЭ-С
|
Наименование детали |
Размер, мм |
|
Соединитель |
16x16, 20x20, 25x25, 32x32 |
|
Переходник |
20x16, 25x16, 25x20, 32x20, 32x25, 40x32 |
|
Угольник |
16x16, 20x20, 25x25, 32x32, 40x40 |
|
Тройник прямой равнопроходной |
16x16x16, 20x20x20, 25x25x25, 32x32x32, 40x40x40 |
|
Тройник прямой переходной |
16x20x16, 20x16x16, 20x16x20, 20x20x16, 20x25x20, 25x16x16, 25x16x20, 25x16x25, 25x20x16, 25x20x20, 25x20x25, 32x20x25, 32x25x25, 32x25x32, 32x40x32, 40x32x32, 40x32x40 |
Таблица Б.7 - Пресс-фитинги из модифицированного полисульфона с пресс-втулкой (гильзой) из тонкой нержавеющей стали для использования на трубопроводах из труб из ПЭ-С
|
Наименование |
Размер, мм | |
|
Пресс-муфта |
штуцерная |
16x16, 20x20 |
|
с резьбой |
16x1/2", 20х3/4", 25x1", 26x1" | |
|
Пресс-угольник |
штуцерная |
25x25, 26x26 |
|
с резьбой |
16x1/2" | |
|
Пресс-тройник |
штуцерная |
16x16x16, 20x20x20 |
Приложение В
Таблица В.1 - Винтовой крепеж с двумя полухомутами
|
Номинальный диаметр трубы, мм |
Размер хомута, мм |
Резьба |
|
25 |
25-28 |
М8 |
|
32 |
32-35 |
М8 |
|
40 |
38-42 |
М8 |
|
50 |
47-51 |
М8 |
|
63 |
59-64 |
М8 |
|
75 |
74-80 |
М10 |
|
90 |
87-92 |
М10 |
|
110 |
113-118 |
М10 |
Таблица В.2 - Крепеж - одновинтовой хомут
|
Диаметр, дюйм |
Размер хомута, мм |
|
1/2 |
20-23 |
|
3/4 |
25-30 |
|
1 |
31-38 |
|
5 |
40-46 |
|
1, 5 |
48-53 |
Таблица В.3 - Полимерные крепежи-зажимы
|
Наименование |
Общий вид |
Диаметр трубы, мм |
|
Одинарный | ![]() |
16-25 |
|
Двойной | ![]() |
2x16 2x20 2x25 |
|
С лентой | ![]() |
32-110 |


Приложение Г
Таблица Г.1 - Приблизительные значения коэффициента местных сопротивлений трубных изделий
|
Наименование изделия | ζ |
Схема | |||
|
Муфта с уменьшением диаметра на число калибров |
0 |
0, 25 | ![]() | ||
|
1 |
0, 4 | ||||
|
2 |
0, 5 | ||||
|
3 |
0, 6 | ||||
|
4 |
0, 7 | ||||
|
Расширение |
1 | ![]() | |||
|
Угольник, град. |
90 |
1, 2 | ![]() | ||
|
45 |
0, 5 | ![]() | |||
|
Тройник |
разделение потока |
1, 2 | ![]() | ||
|
слияние потока |
0, 8 | ![]() | |||
|
Крестовина |
соединение потока |
2, 1 | ![]() | ||
|
разделение потока |
3, 7 | ![]() | |||
|
Муфта комбинированная с резьбой |
внутренней |
0, 5 | ![]() | ||
|
наружной |
0, 7 | ![]() | |||
|
Угольник комбинированный с резьбой |
внутренней |
1, 4 | ![]() | ||
|
наружной |
1, 6 | ![]() | |||
|
Тройник комбинированный с резьбой |
наружной |
1, 4-1, 8 | ![]() | ||
|
Клапан диаметром, мм |
20 |
9, 5 | ![]() | ||
|
25 |
8, 5 | ||||
|
32 |
7, 6 | ||||
|
40 |
5, 7 | ||||
|
Кран шаровой полнопроходной |
0, 1 | ![]() | |||
|
Гнутье из труб |
отступ (уток) |
0, 5 | |||
|
обход (скоба) |
1 | ![]() | |||
|
калач |
0, 7 | ![]() | |||
|
компенсаторы |
П-образный |
2, 3-3 |
- | ||
|
лирообразный |
2-2, 6 | ||||
|
отводы с R=m*dn |
m = 5 |
0, 2 | |||
|
m = 4 |
0, 3 | ||||
|
m = 3 |
0, 5 | ||||
|
m = 2 |
0, 7 | ||||
|
m = 1 |
1 | ||||
|
* m - коэффициент, учитывающий радиус изгиба. | |||||
Библиография
[1] Федеральный закон от 30 декабря 2009 г. N 384-ФЗ "Технический регламент о безопасности зданий и сооружений"
[2] Федеральный закон от 23 ноября 2009 г. N 261-ФЗ "Об энергосбережении и о повышении энергетической эффективности и о внесении изменений в отдельные законодательные акты Российской Федерации"
[3] Федеральный закон от 27 декабря 2002 г. N 184-ФЗ "О техническом регулировании"
[4] Федеральный закон от 22 июля 2008 г. N 123-ФЗ "Технический регламент о требованиях пожарной безопасности"
[5] СНиП 12-03-2001 Безопасность труда в строительстве. Часть 1. Общие требования
[6] СНиП 12-04-2002 Безопасность труда в строительстве. Часть 2. Строительное производство








































