СП 363.1325800.2017 (28.12.2021) ПОКРЫТИЯ СВЕТОПРОЗРАЧНЫЕ И ФОНАРИ ЗДАНИЙ И СООРУЖЕНИЙ. ПРАВИЛА ПРОЕКТИРОВАНИЯ
Утв. Приказом Министерства строительства и жилищно-коммунального хозяйства РФ от 22 декабря 2017 г. N 1704/пр
Свод правил СП-363.1325800.2017
"ПОКРЫТИЯ СВЕТОПРОЗРАЧНЫЕ И ФОНАРИ ЗДАНИЙ И СООРУЖЕНИЙ. ПРАВИЛА ПРОЕКТИРОВАНИЯ"
Translucent coating and lights of buildings and structures. Design rules
Дата введения - 23 июня 2018 г.
Введен впервые
Предисловие
Сведения о своде правил
1 ИСПОЛНИТЕЛЬ - Акционерное общество "Центральный научно-исследовательский и проектно-экспериментальный институт промышленных зданий и сооружений" (АО "ЦНИИпромзданий")
2 ВНЕСЕН Техническим комитетом по стандартизации ТК 465 "Строительство"
3 ПОДГОТОВЛЕН к утверждению Департаментом градостроительной деятельности и архитектуры Министерства строительства и жилищно-коммунального хозяйства Российской Федерации (Минстрой России)
4 УТВЕРЖДЕН приказом Министерства строительства и жилищно-коммунального хозяйства Российской Федерации от 22 декабря 2017 г. N 1704/пр и введен в действие с 23 июня 2018 г.
5 ЗАРЕГИСТРИРОВАН Федеральным агентством по техническому регулированию и метрологии (Росстандарт)
6 ВВЕДЕН ВПЕРВЫЕ
В случае пересмотра (замены) или отмены настоящего свода правил соответствующее уведомление будет опубликовано в установленном порядке. Соответствующая информация, уведомление и тексты размещаются также в информационной системе общего пользования - на официальном сайте разработчика (Минстрой России) в сети Интернет
Введение
Настоящий свод правил разработан в соответствии с требованиями федеральных законов от 27 декабря 2002 г. N 184-ФЗ "О техническом регулировании", от 29 июня 2015 г. N 162-ФЗ "О стандартизации в Российской Федерации", от 30 декабря 2009 г. N 384-ФЗ "Технический регламент о безопасности зданий и сооружений", от 22 июля 2008 г. N 123-ФЗ "Технический регламент о требованиях пожарной безопасности", от 23 ноября 2009 г. N 261-ФЗ "Об энергосбережении и о повышении энергетической эффективности и о внесении изменений в отдельные законодательные акты Российской Федерации".
Настоящий свод правил разработан в развитие СП 17.13330.2011 "СНиП II-26-76 Кровли".
Настоящий свод правил разработан авторским коллективом АО "ЦНИИпромзданий" (руководитель разработки - канд. архитектуры Д.К. Лейкина, ответственный исполнитель - Г.В. Океанов, канд. техн. наук А.В. Мороз, В.А. Козлов, канд. техн. наук Т.Е. Стороженко).
Изменение N 1 к настоящему своду правил выполнено авторским коллективом АО "ЦНИИПромзданий" (канд. техн. наук Н.Г. Келасьев, К.В. Авдеев, Г.В. Океанов, Н.М. Баева).
1.1 Настоящий свод правил распространяется на проектирование новых, реконструкцию и капитальный ремонт существующих светопрозрачных покрытий с монтажной профильной системой из алюминиевых, стальных, деревянных и полимерных элементов (профилей, переплетов) с заполнением из листового многослойного профилированного стекла; стеклопакетов; полимерных панелей монолитных и многослойных, в том числе профилированных и формованных; однослойных и многослойных полимерных мембран из этилен-тетрафторэтилена (далее - ЭТФЭ); световых и светоаэрационных фонарей из перечисленных выше материалов, применяемых в зданиях различного назначения во всех климатических зонах Российской Федерации.
В настоящем своде правил использованы нормативные ссылки на следующие документы:
ГОСТ 12.1.005-88 Система стандартов безопасности труда. Общие санитарно-гигиенические требования к воздуху рабочей зоны
ГОСТ 12.3.005-75 Система стандартов безопасности труда. Работы окрасочные. Общие требования безопасности
ГОСТ 111-2014 Стекло листовое бесцветное. Технические условия
ГОСТ 13015-2012 Изделия бетонные и железобетонные для строительства. Общие технические требования. Правила приемки, маркировки, транспортирования и хранения
ГОСТ 19177-81 Прокладки резиновые пористые уплотняющие. Технические условия
ГОСТ 22233-2018 Профили прессованные из алюминиевых сплавов для ограждающих конструкций. Технические условия
ГОСТ 23118-2019 Конструкции стальные строительные. Общие технические условия
ГОСТ 24866-2014 Стеклопакеты клееные. Технические условия
ГОСТ 25621-83 Материалы и изделия полимерные строительные герметизирующие и уплотняющие. Классификация и общие технические требования
ГОСТ 26602.1-99 Блоки оконные и дверные. Методы определения сопротивления теплопередаче
ГОСТ 26602.2-99 Блоки оконные и дверные. Методы определения воздухо- и водопроницаемости
ГОСТ 26602.3-2016 Блоки оконные и дверные. Метод определения звукоизоляции
ГОСТ 27751-2014 Надежность строительных конструкций и оснований. Основные положения
ГОСТ 30244-94 Материалы строительные. Методы испытаний на горючесть
ГОСТ 30402-96 Материалы строительные. Метод испытания на воспламеняемость
ГОСТ 30698-2014 Стекло закаленное. Технические условия
ГОСТ 30733-2014 Стекло с низкоэмиссионным твердым покрытием. Технические условия
ГОСТ 30778-2001 Прокладки уплотняющие из эластомерных материалов для оконных и дверных блоков. Технические условия
ГОСТ 30826-2014 Стекло многослойное. Технические условия
ГОСТ 31364-2014 Стекло с низкоэмиссионным мягким покрытием. Технические условия
ГОСТ 31937-2011 Здания и сооружения. Правила обследования и мониторинга технического состояния
ГОСТ 32997-2014 Стекло листовое, окрашенное в массе. Общие технические условия
ГОСТ 33017-2014 Стекло с солнцезащитным или декоративным твердым покрытием. Технические условия
ГОСТ 33086-2014 Стекло с солнцезащитным или декоративным мягким покрытием. Технические условия
ГОСТ 33087-2014 Стекло термоупрочненное. Технические условия
ГОСТ EN 410-2014 Стекло и изделия из него. Методы определения оптических характеристик. Определение световых и солнечных характеристик
ГОСТ Р 12.3.052-2020 Система стандартов безопасности труда. Строительство. Работы антикоррозионные. Требования безопасности
ГОСТ Р 51032-97 Материалы строительные. Метод испытания на распространение пламени
ГОСТ Р 53301-2019 Клапаны противопожарные вентиляционных систем. Метод испытания на огнестойкость
ГОСТ Р 56712-2015 Панели многослойные из поликарбоната. Технические условия
СП 2.13130.2020 Системы противопожарной защиты. Обеспечение огнестойкости объектов защиты
СП 4.13130.2013 Системы противопожарной защиты. Ограничение распространения пожара на объектах защиты. Требования к объемно-планировочным и конструктивным решениям (с изменением N 1)
СП 7.13130.2013 Отопление, вентиляция и кондиционирование. Требования пожарной безопасности (с изменениями N 1, N 2)
СП 14.13330.2018 "СНиП II-7-81* Строительство в сейсмических районах"
СП 16.13330.2017 "СНиП II-23-81* Стальные конструкции" (с изменениями N 1, N 2)
СП 17.13330.2017 "СНиП II-26-76 Кровли" (с изменениями N 1, N 2)
СП 20.13330.2016 "СНиП 2.01.07-85* Нагрузки и воздействия" (с изменениями N 1, N 2, N 3)
СП 28.13330.2017 "СНиП 2.03.11-85 Защита строительных конструкций от коррозии" (с изменениями N 1, N 2)
СП 48.13330.2019 "СНиП 12-01-2004 Организация строительства"
СП 50.13330.2012 "СНиП 23-02-2003 Тепловая защита зданий" (с изменением N 1)
СП 51.13330.2011 "СНиП 23-03-2003 Защита от шума" (с изменением N 1)
СП 52.13330.2016 "СНиП 23-05-95* Естественное и искусственное освещение" (с изменением N 1)
СП 54.13330.2016 "СНиП 31-01-2003 Здания жилые многоквартирные" (с изменениями N 1, N 2, N 3)
СП 60.13330.2020 "СНиП 41-01-2003 Отопление, вентиляция и кондиционирование воздуха"
СП 63.13330.2018 "СНиП 52-01-2003 Бетонные и железобетонные конструкции. Основные положения" (с изменениями N 1)
СП 64.13330.2017 "СНиП II-25-80 Деревянные конструкции" (с изменениями N 1, N 2)
СП 70.13330.2012 "СНиП 3.03.01-87 Несущие и ограждающие конструкции" (с изменениями N 1, N 3, N 4)
СП 118.13330.2012 "СНиП 31-06-2009 Общественные здания и сооружения" (с изменениями N 1, N 2, N 3, N 4)
СП 128.13330.2016 "СНиП 2.03.06-85 Алюминиевые конструкции"
СП 131.13330.2020 "СНиП 23-01-99* Строительная климатология"
СП 255.1325800.2016 Здания и сооружения. Правила эксплуатации. Основные положения (с изменениями N 1, N 2)
СП 370.1325800.2017 Устройства солнцезащитные зданий. Правила проектирования
СП 384.1325800.2018 Конструкции строительные тентовые. Правила проектирования
СП 386.1325800.2018 Конструкции светопрозрачные из поликарбоната. Правила проектирования
СП 426.1325800.2020 Конструкции ограждающие светопрозрачные зданий и сооружений. Правила проектирования
Примечание - При пользовании настоящим сводом правил целесообразно проверить действие ссылочных документов в информационной системе общего пользования - на официальном сайте федерального органа исполнительной власти в сфере стандартизации в сети Интернет или по ежегодному информационному указателю "Национальные стандарты", который опубликован по состоянию на 1 января текущего года, и по выпускам ежемесячного информационного указателя "Национальные стандарты" за текущий год. Если заменен ссылочный документ, на который дана недатированная ссылка, то рекомендуется использовать действующую версию этого документа с учетом всех внесенных в данную версию изменений. Если заменен ссылочный документ, на который дана датированная ссылка, то рекомендуется использовать версию этого документа с указанным выше годом утверждения (принятия). Если после утверждения настоящего свода правил в ссылочный документ, на который дана датированная ссылка, внесено изменение, затрагивающее положение, на которое дана ссылка, то это положение рекомендуется применять без учета данного изменения. Если ссылочный документ отменен без замены, то положение, в котором дана ссылка на него, рекомендуется применять в части, не затрагивающей эту ссылку. Сведения о действии сводов правил целесообразно проверить в Федеральном информационном фонде стандартов.
В настоящем своде правил применены термины по СП 17.13330, СП 50.13330, СП 54.13330, СП 118.13330, СП 128.13330, СП 426.1325800, а также следующие термины с соответствующими определениями:
3.1 заполнение светопрозрачное: Светопрозрачные элементы, плоские или объемные, установленные в проемы монтажной профильной системы (переплета) светопрозрачного покрытия или фонаря из листового стекла, стеклопакетов, светопропускающих полимерных панелей или светопрозрачных мембран.
3.2
|
канал: Полость панели, образованная его горизонтальными слоями и вертикальными или наклонными ребрами жесткости. Стороны каналов располагаются параллельно вдоль панели. [ГОСТ Р 56712-2015, пункт 3.7] |
3.3 монтажная профильная система (переплет): Плоская или пространственная система профилей различного сечения, из различных материалов, предназначенная для крепления светопрозрачных элементов системы и передачи нагрузок и воздействий на несущие конструкции здания или сооружения.
3.4 несущий каркас светопрозрачных покрытий или фонарей: Конструкция, воспринимающая усилия от светопрозрачного заполнения и монтажной профильной системы и передающая их на несущую конструкцию здания.
3.5 основание фонаря: Нижняя часть конструкции фонаря, рама из оцинкованной стали или других конструкционных материалов, устанавливаемая на периметр проема покрытия и служащая опорой для светопрозрачной конструкции фонаря.
3.6 полимерные монолитные панели: Светопрозрачные изделия из поликарбоната или других пластиков, плоские или профилированные, не имеющие внутренних пустот.
3.7 полимерные многослойные панели: Светопрозрачные изделия из поликарбоната или других пластиков, состоящие из двух или более параллельных слоев и перемычек между ними (ребер жесткости), образующих каналы, как минимум, с двумя параллельными сторонами.
3.8
|
ребра: Вертикальные или наклонные внутренние стенки многослойной панели, образующие вместе с горизонтальными слоями (или без них) продольные каналы. [ГОСТ Р 56712-2015] |
3.9 светопрозрачная мембрана: Гибкое светопрозрачное заполнение покрытия или фонаря, состоящее из одного или нескольких слоев полимерного материала, закрепленных по контуру, в составе тентовых оболочек или пневматических панелей.
3.10 светопрозрачная ограждающая конструкция: Ограждающая конструкция, предназначенная для освещения естественным светом помещений зданий и обеспечивающая возможность визуального контакта с окружающей средой, а также защиту помещений от неблагоприятных факторов внешней среды.
3.11 светопрозрачное покрытие (светопрозрачная крыша): Верхняя, пропускающая свет ограждающая конструкция, предназначенная для естественного освещения помещений, обеспечивающая их защиту от внешних климатических факторов и воздействий.
Примечание - Светопрозрачное покрытие состоит из монтажной профильной системы (переплета) и светопрозрачного заполнения. Основанием светопрозрачного покрытия служат несущие конструкции здания или сооружения. Светопрозрачное покрытие или фонарь могут быть самонесущими либо иметь собственный несущий каркас.
3.12 система отвода конденсата: Система водоотвода, позволяющая осуществлять отвод внутренней сконденсировавшейся влаги за пределы конструкции.
3.13 термоизоляционная вставка (термовставка): Профиль из материала с пониженным коэффициентом теплопроводности, который устанавливается между профилями монтажной системы для снижения тепловых потерь ограждающей конструкции и исключает образование "мостиков холода".
3.14 фонарь: Фрагмент светопропускающего покрытия, установленный над проемом в кровле на возвышающемся основании, и служащий для освещения помещений естественным светом.
Примечание - Может использоваться для аэрации, в том числе для вытяжной противодымной вентиляции.
3.15 ЭТФЭ-мембрана: Элемент заполнения светопрозрачного покрытия или фонаря из однослойной мембраны, выполненный из пленки этилен-тетрафторэтилена (ЭТФЭ).
3.16 ЭТФЭ-подушка: Элемент заполнения светопрозрачного покрытия или фонаря, выполненный из пленки этилен-тетрафторэтилена (ЭТФЭ) в виде многослойной мембранной воздухонаполненной системы.
3.17 этилен-тетрафторэтилен (ЭТФЭ): Сополимер этилена и тетрафторэтилена, используемый для производства пленок строительного назначения.
4.1 Настоящий свод правил устанавливает требования, предъявляемые к светопрозрачным покрытиям и фонарям зданий и сооружений, обеспечивающие рациональное решение архитектурно-строительных задач, их безопасную эксплуатацию.
4.2 Светопрозрачные покрытия предназначаются для обеспечения естественного освещения помещений в зданиях и сооружениях и защиты помещений от неблагоприятных факторов внешней среды.
4.3 Светопрозрачные покрытия следует проектировать в виде системы плоских или объемных криволинейных поверхностей, в том числе пересекающихся между собой с образованием ребер и ендов.
4.4 Материалы, применяемые для светопрозрачных покрытий и фонарей, должны соответствовать требованиям ГОСТ 22233, ГОСТ 24866, ГОСТ 30698, ГОСТ 30826, ГОСТ 33087, а также требованиям по безопасности для светопрозрачных конструкций (далее - СПК) согласно СП 426.1325800.
4.5 Последовательность при проектировании светопрозрачных покрытий и фонарей приведена в приложении А.
4.6 Расчет конструкций светопрозрачных покрытий и фонарей следует выполнять согласно СП 426.1325800, СП 384.1325800 и СП 386.1325800 в зависимости от типа светопрозрачного заполнения.
4.7 Нагрузки и воздействия, включая климатические, на светопрозрачные покрытия и фонари следует определять в соответствии с СП 20.13330.
Примечание - Прогибы и перемещения элементов конструкций светопрозрачных покрытий и фонарей и несущих конструкций должны быть взаимно согласованы, с учетом особенностей применяемых материалов и технологий, для исключения повреждений под влиянием внешних воздействий, в пределах допустимых значений деформаций, элементами конструкции или иными предметами.
4.8 Несущий каркас и монтажную профильную систему (переплет) светопрозрачных покрытий и фонарей в зависимости от материалов следует проектировать в соответствии с конструктивными требованиями и требованиями к обеспечению несущей способности и допустимым перемещениям СПК в соответствии с СП 426.1325800.
4.9 При конструировании опорных узлов расчеты следует выполнять с учетом диаграммы работы элементов опорной конструкции и максимальных расчетных перемещений опор несущих элементов покрытия для основных и особых сочетаний нагрузок.
4.10 Необходимо предусмотреть возможность компенсации деформаций конструкции при изменении температуры.
4.11 Значение компенсационного зазора между элементами конструкции необходимо устанавливать с учетом коэффициентов линейного температурного расширения материалов.
4.12 В расчетных схемах светопрозрачных покрытий и фонарей должны учитываться допуски на отклонение от проектных размеров несущих конструкций и, при необходимости, светопрозрачного заполнения.
4.13 В соответствии с требованиями ГОСТ 27751, при проектировании светопрозрачных покрытий и фонарей следует предусматривать аварийную расчетную ситуацию, в том числе при отключении теплоснабжения в зимний период и при особых воздействиях. В сценарии для аварийной ситуации необходимо исключать из работы элемент несущего каркаса или монтажной профильной системы.
4.14 Монтажная профильная система должна учитывать деформации светопрозрачного заполнения под воздействием нагрузок в период эксплуатации, нарушения герметичности и увеличения инфильтрации воздуха.
4.15 Для светопрозрачных покрытий и фонарей с заполнением из стекла площадь элемента заполнения должна быть не более 2,5 м2. Увеличение площади элемента заполнения требует расчетного обоснования в проекте с учетом требований 4.8 и 5.2.
4.16 Для обеспечения уплотнения и герметизации монтажных швов и узлов примыкания светопрозрачных покрытий и фонарей следует применять полимерные профилированные и плоские пористые прокладки по ГОСТ 19177, ГОСТ 25621, ГОСТ 30778, силиконовые или тиоколовые герметики, нетвердеющие самоклеящиеся ленты и другие подобные материалы по соответствующей нормативной документации. Уплотнители, прокладки, герметики и другие полимерные материалы, применяемые в конструкциях, должны быть защищены от прямого солнечного облучения нащельниками или фартуками. Дополнительные требования к герметикам приведены в СП 426.1325800.
4.17 Общие требования к тепловой защите светопрозрачных покрытий и фонарей, включая воздухонепроницаемость, приведены в СП 50.13330.
4.18 Сопротивление теплопередаче Rпр, м2·°C/Вт, для светопрозрачного покрытия или фонаря в целом следует рассчитывать для каждого их элемента, который влияет на тепловые потери через фрагмент.
4.19 Сопротивление теплопередаче элементов светопрозрачного покрытия определяется производителем на основании результатов испытаний в аккредитованной лаборатории или оценивается по методике, приведенной в СП 50.13330.
4.20 Общее количество солнечной энергии, поступающее в помещение через светопрозрачные покрытия и фонари и определяемое на основании коэффициента общего пропускания солнечной энергии g (солнечный фактор) по ГОСТ EN 410, а также теплопотери в зимний период, необходимо учитывать при расчете параметров микроклимата в помещении и принимать во внимание при проектировании.
4.21 Для уменьшения теплопотерь через элементы монтажной профильной системы следует применять теплоизоляционные вставки.
4.22 Требования к воздухопроницаемости светопрозрачных покрытий и фонарей следует принимать по СП 50.13330 с учетом нормируемого сопротивления воздухопроницанию Rтрu, (м2·ч·Па)/кг.
4.23 Определение воздухо- и водопроницаемости светопрозрачных покрытий и фонарей - по ГОСТ 26602.2. Водопроницаемость следует определять с помощью образца в соответствии с проектом или технической документацией предприятия-изготовителя (приложение Д).
4.24 Конструкция светопрозрачных покрытий и фонарей должна обеспечивать беспрепятственное удаление воды с внешней поверхности и конденсатной влаги из подкровельного пространства за счет применения профилей с вентилируемыми дренажными каналами, фальцами и уплотнениями.
4.25 Расчет естественного освещения помещения со светопрозрачным покрытием и фонарями приведен в [4]. Расчет следует проводить с учетом требований СП 52.13330. Конструктивные решения светопрозрачных покрытий и фонарей, в составе светопрозрачных конструкций здания или сооружения, следует принимать с учетом нормируемого значения коэффициента естественного освещения (КЕО).
4.26 Расчет звукоизоляции светопрозрачных покрытий и фонарей следует проводить по СП 51.13330. Окончательная оценка звукоизоляции таких конструкций должна проводиться на основании испытаний по ГОСТ 26602.3.
4.27 Для обеспечения безопасного доступа при обслуживании светопрозрачных покрытий и фонарей необходимо предусмотреть в проекте соответствующие устройства и оборудование, в том числе ограждения, крюки для навешивания лестниц и трапов, элементы для крепления страховочных тросов, ступени, подножки, стационарные лестницы и ходовые трапы, эвакуационные платформы и др., а также элементы молниезащиты зданий.
4.28 Нагрузки от дополнительных устройств или оборудования, устанавливаемого на светопрозрачные покрытия, должны передаваться на несущий каркас светопрозрачных покрытий и фонарей или непосредственно на несущие конструкции здания.
Не допускается передача статических и динамических нагрузок от дополнительного оборудования на светопрозрачное заполнение и элементы монтажной профильной системы, обеспечивающие герметичность покрытия.
4.29 При проектировании светопрозрачных покрытий и фонарей следует предусмотреть открывающиеся створки или иные устройства для естественной вентиляции (аэрации) помещений и/или естественной противодымной вентиляции помещений при пожаре (дымовые люки) согласно СП 60.13330, СП 7.13130 и в соответствии с требованиями проекта.
Примечание - Дымовые люки подлежат обязательному подтверждению соответствия требованиям пожарной безопасности по ГОСТ Р 53301 и [1].
4.30 Светопрозрачные покрытия следует защищать от коррозии в соответствии с СП 28.13330.
Примечание - Особое внимание следует обратить на предотвращение образования гальванической коррозии в местах контакта монтажной профильной системы из алюминиевых сплавов с элементами несущего каркаса из стали.
4.31 Молниезащиту зданий и сооружений со светопрозрачными покрытиями и фонарями следует проектировать в соответствии с 4.28. Требования к проектированию молниезащиты приведены в [2] и [3].
4.32 При проектировании светопрозрачных покрытий и фонарей с заполнением из поликарбоната и светопрозрачных мембран, помимо требований настоящего свода правил, необходимо руководствоваться СП 386.1325800 и СП 384.1325800 соответственно.
4.33 Проектирование светопрозрачных покрытий и фонарей в районах с нормативной сейсмичностью 7, 8 и 9 баллов следует выполнять с учетом требований СП 14.13330.
5.1 Фонари
5.1.1 Фонари следует проектировать как фрагмент светопрозрачного покрытия, установленного на основание. Основание фонарей должно возвышаться над поверхностью кровли не менее чем на 300 мм.
5.1.2 Основание фонарей следует проектировать в виде пространственной рамы, сборной или неразъемной. Конструктивное решение фонарей должно обеспечивать независимость их статической работы от несущей конструкции покрытия.
5.1.3 Основание фонаря должно опираться по периметру проема покрытия или на стержневые элементы несущей конструкции здания или сооружения, чтобы исключить концентрацию нагрузок.
5.1.4 Основание фонарей должно быть защищено от коррозии в соответствии с требованиями СП 28.13330.
5.1.6 Общая площадь световых проемов, с учетом светопрозрачного покрытия и фонарей, должна составлять не более 15% площади всего покрытия, а в общественных зданиях - не более 20%. Увеличение площади световых проемов следует обосновать в проекте.
Конфигурация и размещение фонарей на кровле зданий и сооружений приведены в [4].
5.1.7 Расчет естественной вентиляции помещений следует проводить в соответствии с СП 60.13330. При предварительном расчете геометрическая площадь открываемых для естественной вентиляции проемов должна составлять не менее 2% площади помещения.
5.1.8 Для устройства верхнего естественного освещения помещений с подвесными потолками следует применять зенитные фонари со светопроводными шахтами. Внутренние поверхности оснований фонарей и светопроводных шахт следует окрашивать или облицовывать материалами, имеющими коэффициент отражения не менее 0,85.
Установка остекления в плоскости подвесного потолка не требуется.
5.1.9 Для защиты от избыточной солнечной радиации и слепящего действия прямого солнечного света необходимо применять солнцезащитные устройства согласно требованиям СП 370.1325800 и [4].
5.2 Светопрозрачные заполнения из стекла, стеклопакеты
5.2.1 В качестве заполнения (остекления) светопрозрачного покрытия и фонарей следует применять:
- стекло листовое бесцветное по ГОСТ 111;
- стекло листовое окрашенное в массе по ГОСТ 32997;
- стекло закаленное по ГОСТ 30698;
- стекло многослойное по ГОСТ 30826;
- стеклопакеты по ГОСТ 24866.
В составе стеклопакетов следует применять стекло:
- с низкоэмиссионным твердым покрытием по ГОСТ 30733;
- низкоэмиссионным мягким покрытием по ГОСТ 31364;
- солнцезащитным или декоративным твердым покрытием по ГОСТ 33017;
- солнцезащитным или декоративным мягким покрытием по ГОСТ 33086;
- мультифункциональным (солнцезащитным и энергосберегающим) покрытием по нормативно-технической документации.
Допускается применять стекла с учетом требований безопасности к светопрозрачному заполнению СПК согласно СП 426.1325800.
5.2.2 Расчет стекла и стеклопакетов выполняется согласно требованиям к прочности и перемещениям для светопрозрачного заполнения по СП 426.1325800. Помимо численных методов расчета, допускается применять упрощенные методики приведенные в [6] и приложении С.
5.2.3 В конструкции стеклопакетов в качестве наружного стекла для обеспечения безопасного характера разрушения следует использовать закаленное стекло толщиной не менее 6 мм.
5.2.4 В качестве внутреннего стекла стеклопакета следует использовать защитное многослойное стекло, или предусмотреть в проекте технические решения, предотвращающие в случае разрушения стекла падение крупных осколков, например, установку защитных сеток.
5.2.5 Толщина внутреннего многослойного стекла должна составлять не менее 8 мм. Стеклопакеты рекомендуется принимать размерами с соотношением сторон - 1 ≤ a/b ≤ 2.
5.2.6 При проектировании стеклопакетов следует учитывать температурные напряжения, возникающие при эксплуатации, а также влияние отрицательных температур и перепадов давления на отклонение от плоскостности (линзообразование), в том числе связанных с высотой расположения объекта относительно уровня моря.
5.2.7 Механическую прочность стеклопакетов, соответствие их теплотехническим и другим физико-техническим характеристикам следует подтверждать протоколами сертификационных испытаний либо расчетами, выполненными с использованием соответствующих программных комплексов.
5.3 Светопрозрачные заполнения из полимерных панелей
5.3.1 Для заполнения проемов монтажной профильной системы светопрозрачных покрытий и фонарей могут применяться полимерные панели - монолитные или многослойные из поликарбоната (ПК), полиметилметакрилата (ПММА), поливинилхлорида (ПВХ) и стеклопластика, других полимерных материалов, плоские, профилированные (волнистые) или с особыми ребрами по длинной стороне, предназначенными для их специфического крепления в составе конструктивной системы.
5.3.2 Расчет монтажной профильной системы светопрозрачных покрытий и фонарей с заполнением полимерными панелями производится без учета работы панелей.
Для расчетов полимерного заполнения следует принимать данные производителя, предоставленные на основании официальных отчетов об испытаниях по определению допустимых деформаций при статическом изгибе.
Для контроля работоспособности поликарбонатных панелей заполнения следует соблюдать следующие значения допустимых параметров:
- максимально допустимый прогиб - 50 мм;
- максимально допустимый прогиб не должен превышать 5% длины короткой стороны панели;
- максимальное допустимое напряжение в слоях поликарбонатной панели - 15 Н/мм2.
5.3.3 Работоспособность полимерного заполнения светопрозрачного покрытия или фонаря следует подтверждать испытанием натурного фрагмента конструкции согласно приложению Г или выборочным расчетом наиболее нагруженных панелей.
5.3.4 Конструкция монтажной профильной системы должна обеспечивать равномерное регулируемое давление прижимного профиля на полимерную панель для обеспечения герметичности и надежного удержания под воздействием нагрузок, исключать их фиксацию для компенсации теплового расширения и возникновение остаточных деформаций.
5.3.5 Глубина защемления кромок панелей должна учитывать уменьшение их габарита в результате прогиба и теплового расширения.
5.3.6 Для расчета глубины защемления ширину многослойной полимерной панели следует принимать по крайним целым ребрам. При минимальной глубине защемления 20 мм в заделке должно находиться по крайней мере одно целое ребро. Зазор на тепловое расширение должен быть согласно расчету, но не менее 3 мм (приложение Ж).
Для компенсации теплового расширения отверстия под крепеж должны быть увеличенного диаметра, из расчета 3 мм/м длины панели. При большой длине панелей целесообразно сверлить овальные отверстия. Минимальное расстояние до края панели - 50 мм.
Для светопрозрачного заполнения из монолитных полимерных панелей расстояние от центра отверстия до кромки панели должно быть не менее 6 мм и минимум в 2 раза больше его диаметра.
5.3.7 Многослойные полимерные панели следует ориентировать каналами в направлении стока воды (линии наибольшего ската).
Минимальный уклон поверхности светопрозрачной кровли с заполнением полимерными панелями должен составлять 5°.
Горизонтальные элементы монтажной системы на внешней поверхности светопрозрачного покрытия не должны препятствовать стоку воды. При использовании горизонтальных элементов, а также для кровель со светопрозрачным заполнением из монолитных полимерных панелей минимальный уклон кровли составляет 15°.
Примечания
1 Допускается изгиб панели холодным способом только в направлении ребер. Минимальные радиусы изгиба определяются производителем для каждого типа панели.
2 Как минимум, одна сторона панели должна иметь покрытие, защищающее от ультрафиолетового излучения. Панели устанавливаются защитным покрытием наружу.
5.3.8 Открытые каналы многослойных полимерных панелей следует защищать от попадания внутрь влаги и загрязнений, при этом надлежит обеспечить возможность вентиляции каналов. Следует предусмотреть механическую защиту кромок от повреждений и удаление конденсата из каналов панели по нижнему краю.
Применяемые в конструкциях светопрозрачных покрытий и фонарей с заполнением полимерными панелями материалы и компоненты должны быть химически совместимыми с материалом панелей.
5.3.9 Световые проемы в неутепленных покрытиях с кровлей из профилированных асбестоцементных или стальных листов следует заполнять вставками из светопрозрачных профилированных полимерных панелей, форма поперечного сечения которых соответствует форме листов основной кровли.
5.3.10 Элементы монтажной профильной системы, имеющие непосредственный контакт с панелями заполнения и подверженные прямому воздействию света, должны быть окрашены в светлые тона или защищены другим способом от локального перегрева.
5.4 Светопрозрачные мембраны
5.4.1 Для заполнения проемов светопрозрачных покрытий и фонарей применяются тентовые оболочки или пневматические панели из технических тканей с защитным покрытием или полимерных пленок (ЭТФЭ).
5.4.2 Двояковыпуклая поверхность пневматических панелей формируется из двух или нескольких слоев светопрозрачной мембраны на жестком пространственном контуре монтажной профильной системы, посредством избыточного давления воздуха во внутренних полостях, поддерживаемого компрессорной станцией постоянного действия (приложения К, Л, Н, Р).
5.4.3 В качестве внутриконтурной опоры пневмопанелей, допускается использовать тросовые системы.
5.4.4 Устойчивая форма поверхности отрицательной Гауссовой кривизны тентовой оболочки обеспечивается предварительным натяжением по периметру жесткого пространственного контура монтажной профильной системы, и, при необходимости, внутриконтурными опорами или оттяжками, в соответствии с требованиями СП 384.1325800 и приложением Р.
6.1 При проектировании светопрозрачных покрытий и фонарей следует учитывать требования пожарной безопасности, предъявляемые к помещениям, материалам и конструкциям, в соответствии с [1], СП 2.13130, СП 4.13130. Проектирование светопрозрачных покрытий и фонарей, применяемых в качестве систем пожаротушения и дымовых люков, - в соответствии с требованиями СП 7.13130.
6.2 Пределы огнестойкости и классы пожарной опасности заполнений проемов в ограждающих конструкциях зданий, в том числе фонарей и других светопрозрачных участков покрытий должны соответствовать 5.4.4 СП 2.13130.
6.3 Остекление, выполняемое из листового стекла в покрытиях, а также вдоль внутренней стороны остекления прямоугольных светоаэрационных фонарей следует выполнять с применением стекла многослойного и/или стекла с армированием отдельно или во внутреннем слое стеклопакета.
6.4 При примыкании частей зданий разной высоты, разделенных противопожарной стеной, светопрозрачные участки покрытия с ненормируемыми пределами огнестойкости следует размещать на расстоянии не менее 4 м по горизонтали и 8 м по вертикали от проемов в противопожарной стене.
6.5 Требования по пожарной безопасности к зенитным фонарям со светопропускающими элементами приведены в СП 4.13130.
6.6 При использовании покрытия в качестве пожаробезопасной зоны светопрозрачные конструкции покрытий следует проектировать класса пожарной опасности К0 с пределом огнестойкости не менее REI 45.
6.7 Однослойные системы (ЭТФЭ-мембраны) и многослойные системы (ЭТФЭ-подушки), выполненные из пленки этилен-тетрафторэтилена (ЭТФЭ), должны соответствовать требованиям [1], нормативных документов по пожарной безопасности и иметь характеристики не ниже:
- класс пожарной опасности - КМ1;
- группа горючести - Г1 (по ГОСТ 30244);
- группа воспламеняемости - В1 (по ГОСТ 30402);
- группа распространения пламени - РП1 (по ГОСТ 51032).
7.1 Надежность светопрозрачных покрытий и фонарей следует обеспечивать на стадии проектирования за счет выбора рациональных конструктивных решений, применения материалов и компонентов, имеющих гарантированные характеристики физико-механических свойств, а также своевременного технического обслуживания и текущего ремонта.
7.2 Работоспособность светопрозрачных покрытий и фонарей должна быть обеспечена на протяжении всего срока эксплуатации.
7.3 Специальные требования к эксплуатации светопрозрачных покрытий должны включать методику контроля технического состояния, технического обслуживания и систему планово-предупредительных и восстановительных ремонтов.
Общие требования по эксплуатации ограждающих конструкций приведены в СП 255.1325800.
7.4 Контроль (мониторинг) технического состояния светопрозрачных покрытий следует осуществлять по ГОСТ 31937.
7.5 При плановых осмотрах (мониторинге) следует оценивать показатели технического состояния светопрозрачных покрытий в целом и отдельных ответственных элементов конструкции и сравнивать их с показателями предыдущего осмотра, выявляя отклонения, возникшие в результате воздействия в условиях эксплуатации. Плановый осмотр и планово-предупредительный ремонт следует проводить не реже двух раз в год (осенью и весной).
7.6 При внеплановых осмотрах следует оценивать состояние свтопрозрачных покрытий после экстремальных воздействий стихийного характера и аварий с целью установления фактов разрушения и деформации конструкций, появления протечек, нарушения защитных покрытий, изменений свойств материалов, отклонения условий эксплуатации от предусмотренных проектом и т.д.
Ремонтно-восстановительные работы проводят по результатам осмотра.
7.7 Техническое обслуживание и планово-предупредительные ремонты фонарей с интегрированными устройствами противодымной вентиляции должны обеспечить их работоспособность, исправное состояние в течение всего срока эксплуатации, срабатывание при возникновении пожара.
7.8 Необходимо предусмотреть возможность замены деталей и элементов кровли при ремонте, в случае их износа или повреждений.
7.9 Не допускается нахождение и перемещение людей по поверхности светопрозрачных покрытий, в том числе по элементам монтажной профильной системы, если это не предусмотрено проектом. При монтаже и обслуживании необходимо использовать трапы или другие конструкции, распределяющие нагрузку и не допускающие повреждений на поверхности.
7.10 В процессе эксплуатации светопрозрачных покрытий и фонарей с заполнением светопрозрачными мембранами, наполненными воздухом (ЭТФЭ-подушками), следует обеспечить регулируемое заполнение их воздухом.
Давление воздуха внутри системы должно изменяться в зависимости от погодных условий (снеговых и ветровых нагрузок), и тем самым регулировать степень восприятия внешних воздействий светопрозрачной оболочкой системы.
7.11 Службы эксплуатации должны проводить периодический контроль (выборочный и сквозной) светопрозрачных покрытий и фонарей через определенные интервалы времени, указанные в паспорте производителя систем, но не реже двух раз в год (осенью и весной) с целью оценки стабильности процессов и выявления отклонений от проектных решений.
7.12 Результаты периодического контроля следует оформлять в виде актов и учитывать при назначении сроков плановых, а при необходимости, и внеплановых ремонтов конструкций.
7.13 Долговечность и ремонтопригодность светопрозрачных покрытий и фонарей должны соответствовать требованиям, изложенным в технических и эксплуатационных документах.
8.1 Для обеспечения работоспособности, надежности и долговечности светопрозрачные ограждающие конструкции, покрытия и фонари [5] должны изготавливаться в заводских условиях в соответствии с ГОСТ 23118 и техническими условиями.
8.2 Монтаж светопрозрачных покрытий и фонарей следует выполнять в соответствии с СП 70.13330, рабочими чертежами и проектом производства работ.
Монтаж светопрозрачных ограждающих конструкций и фонарей следует проводить после окончания работ по монтажу несущих конструкций стен и покрытий.
Перед монтажом светопрозрачных покрытий должна быть проведена техническая приемка их отдельных элементов и выполнены подготовительные работы.
Техническая приемка включает проверку соответствия действительных размеров конструкций проектным, прямолинейности и плоскостности переплетов и поверхностей опорных элементов, комплектности конструкций, качества защитных покрытий.
8.3 В процессе монтажа на всех его этапах должна обеспечиваться устойчивость конструкций.
Сборка конструкций светопрозрачных покрытий и фонарей, поставляемых на строительную площадку отдельными элементами, должна проводиться на специально оборудованной площадке, расположенной в зоне действия монтажных механизмов.
8.4 Материалы для сварки должны соответствовать применяемым маркам сталей в соответствии с СП 16.13330.2011 (приложение Г).
8.5 При производстве работ по окрашиванию конструкций светопрозрачных покрытий и фонарей следует руководствоваться требованиями СП 28.13330, ГОСТ 12.3.005, ГОСТ Р 12.3.052.
8.6 Требования техники безопасности при монтаже светопрозрачных покрытий и фонарей - в соответствии с СП 48.13330.
8.7 Транспортирование и хранение конструкций и материалов светопрозрачных заполнений должно проводиться в соответствии с требованиями ГОСТ 13015 и инструкциями изготовителя.
8.8 Светопрозрачные покрытия, фонари и их элементы следует хранить в сухих закрытых помещениях на стеллажах, в ящиках или упаковке изготовителя.
При транспортировании и проведении монтажных и других работ нельзя допускать резкого охлаждения светопрозрачных ограждающих конструкций. Перепад температур при перемещении светопрозрачных покрытий, фонарей и их элементов из теплого помещения в условия с отрицательной температурой воздуха не должен превышать 30 °C.
8.9 Фонари полной заводской готовности следует транспортировать в контейнерах, на поддонах или других устройствах, обеспечивающих геометрическую неизменяемость конструкций, защиту от повреждений и механизацию погрузочно-разгрузочных работ.
8.10 В процессе монтажа светопрозрачных покрытий и фонарей необходимо соблюдать правила техники безопасности при выполнении работ на высоте в соответствии с [7], [8].
Приложение А
Последовательность операций при проектировании светопрозрачных покрытий и фонарей представлена в таблице А.1.
Таблица А.1
Этапы проектирования
|
Стадия проектирования |
Факторы, определяющие выбор параметров |
Определяемые параметры |
Разделы проектной документации | |
|
Проектная документация |
Архитектурные решения на основе функциональных и планировочных решений |
Количество и форма фонарей, светопрозрачных покрытий, их сопряжение с фасадами |
Раздел "Архитектурные решения" | |
|
Архитектурные решения ограждающих конструкций объекта |
Материал и цвет светопрозрачных покрытий и фонарей | |||
|
Требования стандартов, сводов правил, санитарно-эпидемиологических норм и правил |
Продолжительность инсоляции и уровень естественного освещения помещений, оценка коэффициента общего пропускания солнечной энергии (предварительный расчет) строящегося объекта с учетом расположенных вокруг объекта существующих и проектируемых зданий | |||
|
Требуемые величины сопротивления теплопередаче, воздухопроницаемости, водонепроницаемости, звукоизоляции (расчеты), прочности, устойчивости и деформативности согласно сводам правил и выбор конструкций по сертификатам или табличным значениям с классификацией по соответствующим характеристикам |
Расчет конструкций по прочности, устойчивости и деформативности. Подбор материалов покрытия, передача данных для расчетной модели объекта |
Раздел "Конструктивные и объемно-планировочные решения" | ||
|
Объемные и планировочные параметры поверхности покрытия объекта, представленные в разделе проектной документации "Архитектурные решения" |
Составление энергетического паспорта здания с учетом расчетных характеристик светопрозрачного покрытия |
Раздел "Мероприятия по обеспечению соблюдения требований энергетической эффективности и требований оснащенности зданий, строений и сооружений приборами учета используемых энергетических ресурсов" | ||
|
Рабочая документация |
Конструктивные решения, представленные в разделе проектной документации "Конструктивные и объемно-планировочные решения" |
Разработка конструкций узлов сопряжений с фасадными ограждающими конструкциями и конструкциями покрытий |
Рабочие чертежи | |
|
Техническое задание заводу-изготовителю для разработки чертежей |
Разработка рабочих чертежей на основе документации предприятия-изготовителя выбранных конструкций |
Приложение Б
Б.1 Светопрозрачные покрытия
Светопрозрачные покрытия классифицируют по следующим параметрам:
По форме
- одно и двухскатные;
- вальмовые;
- пирамидальные;
- арочные (своды);
- купола;
- сложной формы.
По материалам монтажной профильной системы (переплета)
- алюминиевые;
- стальные;
- полимерные;
- комбинированные;
- деревянные;
- беспереплетные.
По материалам заполнения
- покрытия из стекла листового;
- стеклопакетов;
- многослойного стекла;
- профилированного стекла;
- полимерных монолитных панелей;
- полимерных многослойных панелей;
- модульных полимерных систем;
- полимерных профилированных (монолитных и многослойных) панелей;
- ЭТФЭ-мембран;
- ЭТФЭ-подушек.
По типу крепления заполнения к переплету
- профилем, по периметру;
- точечное, наружное или внутреннее;
- точечное, спайдерами;
- точечное, зажимами по краю заполнения;
- прижимами, наружными или внутренними, по периметру;
- прижимами, наружными или внутренними, по сторонам;
- клеевое;
- комбинированное.
Б.2 Фонари
По назначению
- световые;
- светоаэрационные;
- аэрационные (в т.ч. дымовые люки).
По форме
- зенитные фонари, точечные и секционные (ленточные):
|
а) односкатный фонарь |
|
|
б) двухскатный фонарь |
|
|
в) арочный фонарь |
|
|
г) купольный фонарь |
|
- фонари с боковым остеклением:
|
а) п-образный фонарь |
|
|
б) м-образный фонарь |
|
|
в) трапециевидный фонарь |
|
|
г) шедовый фонарь |
|
Приложение В
В.1 Метод, схема и программа проведения испытания (в соответствии с СП 70.13330) должны быть приведены в проекте, а порядок проведения - в проекте производства работ или разделе этого проекта и согласованы в установленном порядке.
В.2 При испытании используется фрагмент светопрозрачного покрытия или фонаря, выполненный в соответствии с проектом или спецификацией производителя. При малых размерах светопрозрачного покрытия или фонаря испытанию подвергается конструкция целиком.
В.3 Для испытания отбирают образец, не подвергавшийся ранее каким-либо воздействиям при температуре (23 ± 4) °C.
В.4 Светопрозрачное покрытие или фонарь должны быть закреплены на несущую конструкцию в соответствии с проектом.
В.5 Соединения между временной опорной конструкцией, основанием фонаря, элементами монтажной профильной системы и другими деталями следует выполнять в строгом соответствии с проектом и требованиями производителя.
В.6 Вентиляционные устройства, при их наличии, должны находиться в закрытом положении во время проведения испытаний.
В.7 Для имитации положительной или отрицательной нагрузки следует применять оборудование, использующее давление сжатого или разреженного воздуха, или грузы, обеспечивающие равномерное распределение веса по поверхности.
В.8 Если используется пневматическое оборудование, для предотвращения утечки воздуха испытуемый образец должен быть укрыт пленкой, уплотненной по краям, со стороны избыточного давления. Средняя скорость увеличения нагрузки должна составлять 100 Па/мин ± 20%; допускается временное прекращение увеличения нагрузки для осмотра и регистрации данных.
В.9 Может быть использован другой равноценный метод имитации нагрузки с использованием грузов вместо давления воздуха.
В.10 Требуемая нагрузка должна поддерживаться на достигнутом уровне в течение 6 мин.
В.11 При использовании пневматического оборудования давление воздуха следует определять как функцию от времени и регистрировать в виде графика.
В.12 Для создания асимметричной нагрузки следует использовать дополнительные грузы, например, мешки с песком или отдельные небольшие грузы.
Примечание - При испытании на вакуумном или компрессионном оборудовании воздействие будет направлено по нормали к поверхности покрытия, тогда как при эксплуатации эти силы будут ориентированы вертикально. Разницу следует считать незначительной и принимать во внимание только при определении коэффициента надежности.
В.13 Схемы приложения нагрузки P для испытания светопрозрачных покрытий и фонарей под воздействием разнонаправленных (положительных и отрицательных) нагрузок приведены на рисунке В.1.
|
а) Схема воздействия положительной нагрузки на плоское скатное покрытие |
|
|
б) Схема воздействия отрицательной нагрузки на плоское скатное покрытие |
|
|
в) Схема воздействия положительной нагрузки на объемное криволинейное покрытие |
|
|
г) Схема воздействия отрицательной нагрузки на объемное криволинейное покрытие |
|
|
д) Схема приложения асимметричной нагрузки к образцу покрытия |
|
|
е) Схема плана фрагмента светопрозрачного покрытия |
|
|
ж) Схема воздействия положительной нагрузки на самонесущее объемное криволинейное покрытие |
|
|
и) Схема воздействия отрицательной нагрузки на самонесущее объемное криволинейное покрытие |
|
|
к) Схема плана самонесущего светопрозрачного покрытия |
|
Рисунок В.1 - Схемы приложения нагрузки для испытания светопрозрачных покрытий и фонарей
Критерием оценки работоспособности являются признаки полного или частичного разрушения и возникновения остаточных деформаций.
Приложение Г
Г.1 Определение влияния ударных воздействий на светопрозрачные покрытия и фонари методом определения механической прочности
Испытание проводится по методу, описанному в ГОСТ 30698, и позволяет оценить минимальную устойчивость светопрозрачных покрытий и фонарей к воздействию эксплуатационных нагрузок.
Метод, схема и программа проведения испытания должны быть приведены в проекте, а порядок его проведения - в проекте производства работ или разделе этого проекта и согласованы в установленном порядке.
Испытания проводят на образце светопрозрачной конструкции или фонаря размером не менее 1100 x 900 мм, сохраняющем характерные особенности конструкции.
Образец светопрозрачного покрытия или фонарь должен быть закреплен на основании, имитирующем несущую конструкцию, в соответствии с проектом. Соединения между дополнительной опорной конструкцией, основанием, элементами монтажной профильной системы и другими деталями следует выполнять в строгом соответствии с проектом и требованиями производителя.
Вентиляционные устройства, при их наличии, должны находиться в закрытом положении.
Образец подвергают воздействию ударов стального шара массой 227 г, падающего с высоты 1 м, в трех точках: в центре, в углу или на кромке и на самом уязвимом месте светопрозрачного покрытия.
Образец считают выдержавшим испытание, если он не разрушился и не деформировался.
Г.2 Воздействие удара мешка с песком, имитирующего падение человека, в соответствии с методом определения класса защиты
Светопрозрачные покрытия и фонари должны выдерживать без разрушения удар мягкого тела массой 45 кг, падающего с высоты 1200 мм.
Воздействие имитирует падение тела человека на поверхность покрытия или фонарь.
Метод, схема и программа проведения испытания должны быть приведены в проекте, а порядок его проведения - в проекте производства работ или разделе этого проекта и согласованы в установленном порядке.
Испытания проводят на образце светопрозрачной конструкции или фонаря размером не менее 1100 x 900 мм, сохраняющем характерные особенности конструкции. Образец должен содержать как минимум один фрагмент заполнения наибольшего размера, определенного проектом, одно вертикальное и одно горизонтальное соединение.
Воздействие осуществляется посредством удара мягким мешком грушевидной формы, закрепленном на подвесе, согласно методу испытаний на определение класса защиты по ГОСТ 30698.
Образец закрепляют на основание, имитирующее несущую конструкцию в соответствии с проектом, и располагают таким образом, чтобы ударное воздействие имитировало наиболее вероятное направление падения человека на покрытие.
Удар проводят в наиболее уязвимое место светопрозрачного покрытия или фонаря, обычно определяемое на элементе заполнения на расстоянии 1 м от внешнего края.
Образец считают выдержавшим испытание, если после воздействия и разрушения не обнаружено его сквозного пробития.
Приложение Д
Д.1 Метод определения водопроницаемости (по ГОСТ 26602.2) заключается в установлении предела водонепроницаемости испытуемого образца в условиях имитации дождевого воздействия на него определенным количеством воды при заданных стационарных перепадах давления.
Д.2 Метод, схема и программа проведения испытания должны быть приведены в проекте, а порядок его проведения - в проекте производства работ или разделе этого проекта и согласованы в установленном порядке.
Д.3 Дождевальное устройство устанавливается в горизонтальное положение.
Д.4 Образец должен быть закреплен в соответствии с проектом или технической документацией предприятия-изготовителя.
Д.5 Образец должен содержать характерные особенности конструкции, иметь как минимум одно горизонтальное и одно вертикальное соединения заполнения и быть выполнен согласно проекту или спецификации производителя.
Д.6 Для установления эксплуатационной пригодности светопрозрачных покрытий и фонарей, находящихся в рабочем положении, допускается проведение испытаний на водопроницаемость конструкций без учета перепада давления в соответствии с СП 70.13330. В этом случае продолжительность дождевания составляет 60 мин. Расход воды - 2 л/мин/м2.
Д.7 Для фонарей заводского изготовления, поставляемых производителем в комплекте, рекомендуется испытывать конструкцию целиком.
Д.8 Вентиляционные устройства, при их наличии, должны быть закрыты в течение всего времени испытания.
Д.9 Схема испытаний приведена на рисунке Д.1.

Рисунок Д.1 - Схема испытаний по определению водопроницаемости светопрозрачных покрытий и фонарей
Приложение Е
Указанные типовые узлы приведены на рисунке Е.1.

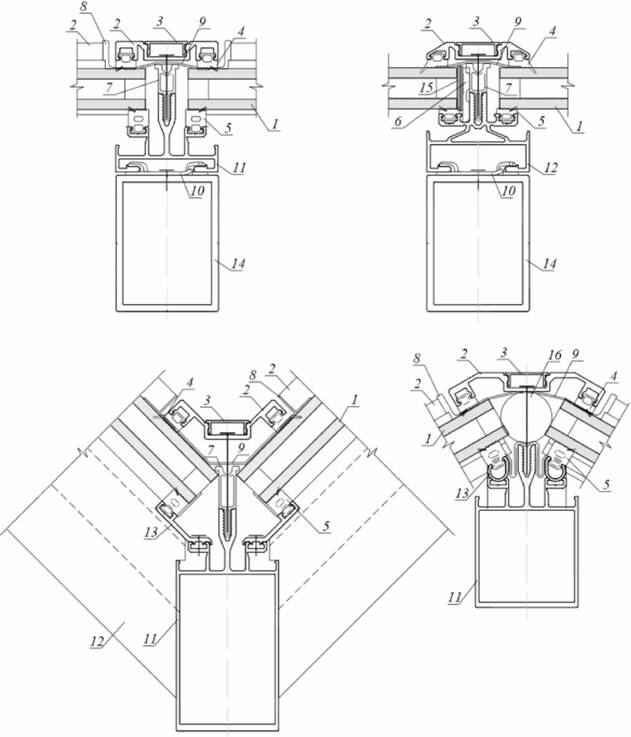
1 - стеклопакет; 2 - прижим; 3 - крышка; 4 – уплотнитель верхний; 5 - уплотнитель нижний; 6 – подставка под стеклопакет; 7 - термовставка; 8 - заглушка прижима; 9 - лента бутиловая; 10 - скоба; 11 - стойка; 12 - ригель; 13 - адаптер; 14 - прогон каркаса; 15 - пластина; 16 - вспененный полиэтилен
Рисунок Е.1 - Типовые узлы светопрозрачных покрытий с заполнением стеклопакетами
Приложение Ж
Указанные типовые узлы приведены на рисунке Ж.1.

1 - поликарбонатная панель; 2 - стойка; 3 - прижим; 4 - уплотнитель; 5 - прогон каркаса; 6 - торцевой профиль; 7 - фиксатор торцевого профиля; 8 - уплотнитель; 9 - фасонный металлический элемент; 10 – профиль с уплотнителем; 11 - дренажный желоб; 12 - ригель; 13 - термовставка
Рисунок Ж.1 - Типовые узлы беспереплетного светопрозрачного покрытия с заполнением полимерными панелями
Приложение И
Указанные типовые узлы приведены на рисунке И.1.

1 - модульная поликарбонатная панель; 2 – поликарбонатный коннектор; 3 - закладная деталь; 4 - прогон каркаса; 5 - заглушка коннектора; 6 - торцевой профиль алюминиевый упорный; 7 - торцевой профиль алюминиевый с капельником; 8 - торцевой профиль алюминиевый; 9 - уплотнитель; 10 - фасонный металлический элемент; 11 - дренажный желоб; 12 - уплотнитель
Рисунок И.1 - Типовые узлы светопрозрачного покрытия с модульными полимерными панелями
Приложение К
Указанные типовые узлы приведены на рисунке К.1.

1 - поликарбонатная панель; 2 - прижимная рейка; 3 - база шарнирного элемента; 4 - шарнирный элемент; 5 - уплотнитель; 6 - кронштейн; 7 - опорный профиль; 8 - алюминиевый опорный профиль; 9 - алюминиевый прижимной профиль; 10 - фиксатор; 11 - уголок; 12 - нащельник; 13 - лента бутиловая; 14 - паронит; 15 - капельник; 16 - минераловатный уплотнитель; 17 - сэндвич-панель; 18 - лоток; 19 - пароизоляция; 20 - гидроизоляция; 21 - стеклопакет; 22 - прижим; 23 - крышка; 24 - ригель; 25 - стойка; 26 - термовставка; 27 - подставка под стеклопакет
Рисунок К.1 - Типовые узлы опирания фонаря на основание
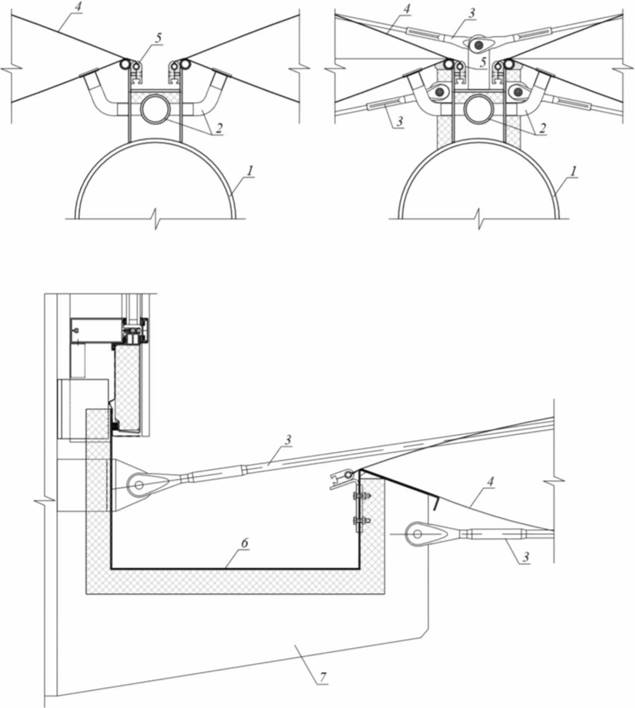
Приложение Л
Указанная схема приведена на рисунке Л.1.

1 - ЭТФЭ-мембрана 100 мкм; 2 - ЭТФЭ-мембрана 250 мкм; 3 - фитинг подключения; 4 - клапан избыточного давления; 5 - фитинг прохода внешнего слоя; 6 – труба гофрированная ПВХ; 7 - труба воздухопровода ПВХ 63 x 3
Рисунок Л.1 - Схема подачи и распределения осушенного воздуха в ЭТФЭ-подушку
Приложение М
Указанные типовые узлы приведены на рисунке М.1.

1 - несущий каркас; 2 - система подачи воздуха; 3 - система тросов; 4 - ЭТФЭ-подушка; 5 – алюминиевый профиль крепления подушки; 6 - лоток; 7 - ребро жесткости
Рисунок М.1 - Типовые узлы светопрозрачного покрытия с заполнением ЭТФЭ-элементами
Приложение Н
При определении количества слоев ЭТФЭ-пленки в ЭТФЭ-подушке для обеспечения необходимых теплотехнических характеристик, проектировщикам следует пользоваться данными, которые приведены в таблице Н.1.
Таблица Н.1
|
Количество слоев ЭТФЭ-пленки |
Метод испытаний |
Значение сопротивления теплопередаче, м2·°C /Вт |
|
2 ряда пленки толщиной 247 ... 255 мкм |
ГОСТ 26602.1 |
0,508 |
|
3 ряда пленки толщиной 247 ... 255 мкм |
ГОСТ 26602.1 |
0,587 |
|
4 ряда пленки толщиной 247 ... 255 мкм |
ГОСТ 26602.1 |
0,666 |
Приложение П
П.1 Подсос ветра тянет верхний слой ЭТФЭ-подушки наружу и имеет тенденцию увеличивать объем. Так как пневматическая система обеспечения не успевает закачать воздух внутрь так же быстро, внутреннее давление (относительная величина) уменьшается до нуля. Верхний слой все более устремляется вверх под действием подсоса ветра, а нижний слой полностью провисает (рисунок П.1).

pi - внутреннее давление; Ws - отрицательное ветровое давление
Рисунок П.1 - Двухслойная ЭТФЭ-подушка при подсосе ветра
П.2 Давление ветра заставляет верхний слой ЭТФЭ-подушки прогибаться внутрь до тех пор, пока не будет достигнуто равновесие давления ветра и внутреннего давления. Как только предварительное натяжение верхнего слоя будет компенсировано, внутреннее давление становится равным давлению ветра. Далее нижний слой испытывает на себе давление ветра и прогибается, а верхний слой полностью провисает (рисунок П.2).

pi - внутреннее давление; Wd - положительное ветровое давление
Рисунок П.2 - Двухслойная ЭТФЭ-подушка под давлением ветра
П.3 При снеговой нагрузке ее увеличение происходит очень медленно, и воздух может выходить из подушки. В этом случае внутреннее давление необходимо отрегулировать так, чтобы оно было на одно значение выше значения снеговой нагрузки. Эта ситуация приведена на рисунке П.3. Определить величину регулируемого внутреннего давления должен инженер в зависимости от условий проектов.

pi - внутреннее давление; S - снеговая нагрузка
Рисунок П.3 - Двухслойная подушка под снеговой нагрузкой
Приложение Р
Поскольку ЭТФЭ-мембрана может нагреваться под действием солнечной радиации необходимо (для предотвращения выхода ее из строя) использовать соответствующее опорное значение с учетом нагрузки и возможной повышенной температуры. Химические и физические свойства ЭТФЭ-мембраны не позволяют ей нагреваться выше 50 °C.
При строительстве и эксплуатации объекта в условиях высоких температур окружающей среды расчетное напряжение не должно превышать значений, указанных в таблице Р.1.
Таблица Р.1
|
Температура окружающей среды, °C |
Расчетное значение допустимого поверхностного напряжения, кН/м | ||||
|
при толщине ЭТФЭ-мембраны, мкм | |||||
|
100 |
150 |
200 |
250 |
300 | |
|
23 |
1,2 |
1,8 |
2,4 |
3,0 |
3,6 |
|
50 |
1,0 |
1,5 |
2,0 |
2,5 |
3,05 |
Приложение С
С.1 Расчет стеклопакетов на прочность следует производить на суммарную нагрузку, действующую на наружное стекло при максимальных эксплуатационных нагрузках, составляющими которой являются нагрузки от действия ветра, снега, понижения температуры воздушной прослойки и увеличения атмосферного давления.
С.2 Расчетную суммарную нагрузку на наружное стекло стеклопакета, Па, определяют по формуле
qp = [(q + p)kn + qt + qат]nc + g, (С.1)
где q и p - расчетные ветровая и снеговая нагрузки, определяемые согласно СП 20.13330;
kn - коэффициент, учитывающий перераспределение внешней нагрузки на наружное стекло, принимаемый равным 0,55 для двухслойных (однокамерных), 0,36 - для трехслойных (двухкамерных) стеклопакетов со стеклами равной толщины;
qt - расчетная нагрузка от изменения температуры окружающего воздуха;
qат - расчетная нагрузка от изменения атмосферного давления;
nс - коэффициент сочетаний нагрузок, принимаемый равным 0,9;
g - расчетная нагрузка от собственной массы наружного стекла.
Нагрузки от действия снега p и собственной массы стекла g учитываются только при расчете стеклопакетов, применяемых в зенитных фонарях и при угле наклона заполнения менее 75° к горизонтали.
При определении расчетной снеговой нагрузки на остекление зенитных фонарей допускается применять коэффициент 0,7, учитывающий таяние снега и сдувание его с поверхностей фонаря. Для зенитных фонарей, защищенных от прямого воздействия ветра соседними домами, удаленными менее чем на 10H (H - превышение высоты здания над зенитными фонарями), а также перепадами высот и парапетами, величина снижающего коэффициента принимается равной 0,8.
При расчете стеклопакетов площадью F ≥ 5 м2, нагрузки qt и qат могут не учитываться.
С.3 Для определения расчетных значений qt, qат и g задаются толщиной стекла, приближенное значение которой, мм, вычисляют по формуле
, (С.2)
где βn - коэффициент, принимаемый равным 0,75 для двухслойных и 0,6 для трехслойных стеклопакетов;
b - наибольший размер стороны стеклопакета, м;
- соотношение размеров сторон стеклопакета;
Rи - расчетное сопротивление на растяжение при изгибе, принимаемое для стекла, как правило, равным 15 МПа или в зависимости от вида стекла по СП 426.1325800;
βF - коэффициент, приближенно учитывающий воздействие нагрузок, вызванных изменением температуры и атмосферного давления, который принимается в зависимости от площади стеклопакета по таблице С.1.
Таблица С.1
|
F, м2 |
βF |
|
Менее 0,8 |
1,2 |
|
От 0,8 до 2 |
1,15 |
|
От 2 до 4 |
1,1 |
|
От 4 до 5 |
1,05 |
|
Более 5 |
1 |
Определенную толщину стекла δ корректируют с учетом требований 5.2.
С.4 Нагрузка qt, образующаяся от изменения температуры, для двухслойного стеклопакета с воздушной прослойкой толщиной hв.п = 15 мм определяется по номограмме, приведенной на рисунке С.1, в зависимости от размеров стеклопакета F, λ, толщины стекла δ и температуры воздуха в прослойке tв.п.
Для других толщин воздушных прослоек (hв.п /= 15 мм) и трехслойных пакетов нагрузку от изменения температуры окружающего воздуха следует определять по формуле
qt = qtном∑hв.п/15, (С.3)
где qtном - нагрузка, определенная по номограмме, приведенной на рисунке С.1;
∑hв.п - сумма толщин воздушных прослоек, мм.
Средняя температура воздушной прослойки двухслойного стеклопакета и условная температура воздуха в трехслойном стеклопакете определяются по формуле
tв.п = 0,39tв + 0,61tн1дн, (С.4)
где tв - расчетная температура воздуха внутри помещения, принимаемая по ГОСТ 12.1.005 или нормативным документам для соответствующих зданий и сооружений; tн1дн - температура наиболее холодных суток в районе строительства здания, определяемая по СП 131.13330.

Рисунок С.1 - Номограмма для определения нагрузки qt на стеклопакет
С.5 Нагрузка qат, образующаяся от изменения атмосферного давления, для двухслойного стеклопакета с толщиной воздушной прослойки hв.п = 15 мм определяется по номограмме, приведенной на рисунке С.2, в зависимости от размеров стеклопакета F, λ, толщины стекла δ и расчетной разности атмосферного давления при изготовлении и эксплуатации стеклопакета Δрат.
Для других толщин воздушных прослоек (hв.п /= 15 мм) и трехслойных стеклопакетов нагрузку от изменения атмосферного давления следует определять по формуле
qат = qатном∑hв.п/15, (С.5)
где qатном - нагрузка, определенная по номограмме, приведенной на рисунке С.2.

Рисунок С.2 - Номограмма для определения нагрузки qат на стеклопакет
Расчетная разность атмосферного давления определяется из выражения
Δрат = р1 – р0, (С.6)
где p0 и p1 - соответственно минимальное среднемесячное атмосферное давление при изготовлении стеклопакета на заводе и среднемесячное атмосферное давление самого холодного месяца в районе проектируемого объекта, определяемые по данным изготовителя и/или СП 131.13330.
Расчетные значения атмосферного давления p0, p1 и температур наружного воздуха tн1дн и tн5дн для городов, в которых изготавливаются стеклопакеты, определяют по СП 131.13330.
С.6 Максимальный прогиб стекла f и отношение прогиба стекла к толщине
определяются по формуле
, (С.7)
графическое решение которого дано на рисунке С.3.

Рисунок С.3 - График равномерно распределенной нагрузки q*
Безразмерный параметр интенсивности равномерно распределенной нагрузки q* вычисляется по формуле
, (С.8)
где E = 6,5·104 МПа - модуль упругости стекла.
С.7 Прочность стеклопакета проверяется по напряжениям, возникающим в центре наружного стекла, МПа, по формуле
. (С.9)
С.8 Рекомендуемые толщины стекол в стеклопакетах, предназначенных для унифицированных конструкций зенитных фонарей, приведены в таблице С.2.
Таблица С.2
|
Тип и размеры стеклопакета, мм |
∑hв.п, мм |
Толщина δ оконного или витринного стекла, мм, при применении в снеговом районе по СП 20.13330 | ||
|
II |
III |
IV | ||
|
Двухслойный | ||||
|
1420 x 870 |
15 |
5 |
5 |
6,5 |
|
1460 x 920 |
15 |
5 |
5 |
6,5 |
|
1520 x 940 |
15 |
5 |
5 |
6,5 |
|
1560 x 980 |
15 |
5 |
5 |
6,5 |
|
1560 x 1450 |
15 |
5 |
6 |
8 |
|
1640 x 1530 |
15 |
5 |
6 |
8 |
|
Трехслойные | ||||
|
1640 x 920 |
12 + 12 |
5 |
5 |
6 |
|
1560 x 980 |
12 + 12 |
5 |
5 |
6 |
|
1640 x 1530 |
12 + 12 |
5 |
5 |
6 |
С.9 Максимальные относительные прогибы переплетов фонарей, в которых устанавливаются стеклопакеты, а также опорных стаканов зенитных фонарей не должны превышать значений, указанных в таблице С.3.
Таблица С.3
|
Конструкции |
Максимальный относительный прогиб элементов | |
|
Из плоскости остекления |
В плоскости остекления | |
|
Заполнения фонарей |
1/200 |
1/200 |
|
Зенитные фонари |
1/500 |
1/200 |
С.4 Абсолютные значения прогибов горизонтальных элементов створок и фрамуг в плоскости остекления не должны превышать 2,5 мм.
Библиография
[1] Федеральный закон от 22 июля 2008 г. N 123-ФЗ "Технический регламент о требованиях пожарной безопасности"
[2] СО 153-34.21.122-2003 Инструкция по устройству молниезащиты зданий, сооружений и промышленных коммуникаций
[3] РД 34.21.122-87 "Инструкция по устройству молниезащиты зданий и сооружений"
[4] СП 23-102-2003 Естественное освещение жилых и общественных зданий
[5] СП 53-101-98 Изготовление и контроль качества стальных строительных конструкций
[6] СН 481-75 Инструкция по проектированию, монтажу и эксплуатации стеклопакетов
[7] СНиП 12-03-2001 Безопасность труда в строительстве. Часть 1. Общие требования
[8] СНиП 12-04-2002 Безопасность труда в строительстве. Часть 2. Строительное производство



















