СП 349.1325800.2017 (28.11.2023) КОНСТРУКЦИИ БЕТОННЫЕ И ЖЕЛЕЗОБЕТОННЫЕ. ПРАВИЛА РЕМОНТА И УСИЛЕНИЯ
Утв. Приказом Министерства строительства и жилищно-коммунального хозяйства РФ от 12 декабря 2017 г. N 1647/пр
Свод правил СП-349.1325800.2017
"КОНСТРУКЦИИ БЕТОННЫЕ И ЖЕЛЕЗОБЕТОННЫЕ. ПРАВИЛА РЕМОНТА И УСИЛЕНИЯ"
Concrete and reinforced concrete structures. Rules of structural reinforcement and repair
С изменениями:
(28 ноября 2023 г.)
Дата введения - 13 июня 2018 г.
Введен впервые
Предисловие
Сведения о своде правил
1 ИСПОЛНИТЕЛИ - АО "НИЦ "Строительство" - НИИЖБ им. А.А. Гвоздева, Закрытое акционерное общество "Триада-Холдинг" (ЗАО "Триада-Холдинг")
2 ВНЕСЕН Техническим комитетом по стандартизации ТК 465 "Строительство"
3 ПОДГОТОВЛЕН к утверждению Департаментом градостроительной деятельности и архитектуры Министерства строительства и жилищно-коммунального хозяйства Российской Федерации (Минстрой России)
4 УТВЕРЖДЕН приказом Министерства строительства и жилищно-коммунального хозяйства Российской Федерации от 12 декабря 2017 г. N 1647/пр и введен в действие с 13 июня 2018 г.
5 ЗАРЕГИСТРИРОВАН Федеральным агентством по техническому регулированию и метрологии (Росстандарт)
6 ВВЕДЕН ВПЕРВЫЕ
В случае пересмотра (замены) или отмены настоящего свода правил соответствующее уведомление будет опубликовано в установленном порядке. Соответствующая информация, уведомление и тексты размещаются также в информационной системе общего пользования - на официальном сайте разработчика (Минстрой России) в сети Интернет
Введение
Настоящий свод правил разработан в целях обеспечения требований Федерального закона от 30 декабря 2009 г. N 384-ФЗ "Технический регламент о безопасности зданий и сооружений", с учетом требований Федерального закона от 27 декабря 2002 г. N 184-ФЗ "О техническом регулировании.
Свод правил разработан авторским коллективом АО "НИЦ "Строительство" - НИИЖБ им. А.А. Гвоздева (руководитель работы - канд. техн. наук А.Н. Болгов; д-р техн. наук В.Ф. Степанова, Н.К. Розенталь, канд. техн. наук Д.В. Кузеванов, С.И. Иванов, ст. науч. сотр. С.Е. Соколова), ЗАО "Триада-Холдинг" (руководитель работы - д-р техн. наук А.А. Шилин, канд. техн. наук А.М. Кириленко, М.В. Зайцев, Д.В. Картузов, ст. инж. А.Б. Щукина, ст. инж. Д.В. Боган).
Изменение N 1 выполнено авторским коллективом ФАУ "ФЦС" (канд. техн. наук А.Ю. Неклюдов, канд. техн. наук О.А. Король, С.Н. Фролов) при участии АО "НИЦ "Строительство" (д-р техн. наук А.И. Звездов, канд. техн. наук Д.В. Кузеванов), ООО "СПС" (д-р техн. наук А.А. Шилин, А.Б. Щукина, канд. техн. наук С.А. Немков, канд. техн. наук А.М. Викулин, канд. техн. наук А.М. Кириленко, канд. техн. наук Д.В. Картузов).
1.1 Настоящий свод правил распространяется на ремонт и усиление бетонных и железобетонных конструкций зданий и сооружений различного назначения, эксплуатируемых в климатических условиях Российской Федерации (при систематическом воздействии температур не выше плюс 50 °C и не ниже минус 70 °C), и устанавливает требования к проектированию работ по ремонту, капитальному ремонту и реконструкции.
1.2 Требования настоящего свода правил распространяются на проектирование и расчет бетонных и железобетонных конструкций, усиливаемых стальным прокатом, композитными материалами, а также на ремонт бетонных и железобетонных конструкций, изготовленных из тяжелого мелкозернистого и конструкционного легкого бетона.
1.3 При проектировании ремонта и усиления бетонных и железобетонных конструкций, предназначенных для работы в особых условиях эксплуатации (при сейсмических воздействиях, в условиях повышенной влажности, после пожара), должны соблюдаться дополнительные требования, предъявляемые к усилениям таких конструкций.
1.4 Требования настоящего свода правил не распространяются на разработку проектной документации по усилению бетонных и железобетонных конструкций гидротехнических сооружений.
В настоящем своде правил использованы нормативные ссылки на следующие нормативные документы:
ГОСТ 9.072-2017 Единая система защиты от коррозии и старения. Покрытия лакокрасочные. Термины и определения
ГОСТ 9.407-2015 Единая система защиты от коррозии и старения. Покрытия лакокрасочные. Метод оценки внешнего вида
ГОСТ 12.3.002-2014 Система стандартов безопасности труда. Процессы производственные. Общие требования безопасности
ГОСТ 112-78 Термометры метеорологические стеклянные. Технические условия
ГОСТ 263-75 (СТ СЭВ 1138-78) Резина. Метод определения твердости по Шору A
ГОСТ 2789-73 Шероховатость поверхности. Параметры и характеристики
ГОСТ 5382-2019 Цементы и материалы цементного производства. Методы химического анализа
ГОСТ 10181-2014 Смеси бетонные. Методы испытаний
ГОСТ 12020-2018 (ISO 175:2010) Пластмассы. Методы определения стойкости к действию химических сред
ГОСТ 12730.1-2020 Бетоны. Методы определения плотности
ГОСТ 12730.2-2020 Бетоны. Метод определения влажности
ГОСТ 14098-2014 Соединения сварные арматуры и закладных изделий железобетонных конструкций. Типы, конструкции и размеры
ГОСТ 15140-78 Материалы лакокрасочные. Методы определения адгезии
ГОСТ 16976-71 Покрытия лакокрасочные. Метод определения степени меления
ГОСТ 17623-87 Бетоны. Радиоизотопный метод определения средней плотности
ГОСТ 17624-2021 Бетоны. Ультразвуковой метод определения прочности
ГОСТ 17625-83 Конструкции и изделия железобетонные. Радиационный метод определения толщины защитного слоя бетона, размеров и расположения арматуры
ГОСТ 18105-2018 Бетоны. Правила контроля и оценки прочности
ГОСТ 21718-84 Материалы строительные. Диэлькометрический метод измерения влажности
ГОСТ 22690-2015 Бетоны. Определение прочности механическими методами неразрушающего контроля
ГОСТ 22904-93 Конструкции железобетонные. Магнитный метод определения толщины защитного слоя бетона и расположения арматуры
ГОСТ 26633-2015 Бетоны тяжелые и мелкозернистые. Технические условия
ГОСТ 27751-2014 Надежность строительных конструкций и оснований. Основные положения
ГОСТ 28570-2019 Бетоны. Методы определения прочности по образцам, отобранным из конструкций
ГОСТ 28574-2014 Защита от коррозии в строительстве. Конструкции бетонные и железобетонные. Методы испытаний адгезии защитных покрытий
ГОСТ 31383-2008 Защита бетонных и железобетонных конструкций от коррозии. Методы испытаний
ГОСТ 31384-2017 Защита бетонных и железобетонных конструкций от коррозии. Общие технические требования
ГОСТ 31937-2011 Здания и сооружения. Правила обследования и мониторинга технического состояния
ГОСТ 31993-2013 (ISO 2808:2007) Материалы лакокрасочные. Определение толщины покрытия
ГОСТ 32016-2012 Материалы и системы для защиты и ремонта бетонных конструкций. Общие требования
ГОСТ 32017-2012 Материалы и системы для защиты и ремонта бетонных конструкций. Требования к системам защиты бетона при ремонте
ГОСТ 32943-2014 Материалы и системы для защиты и ремонта бетонных конструкций. Требования к клеевым соединениям элементов усиления конструкций
ГОСТ 33762-2016 Материалы и системы для защиты и ремонта бетонных конструкций. Требования к инъекционно-уплотняющим составам и уплотнениям трещин, полостей и расщелин
ГОСТ Р 56378-2015 Материалы и системы для защиты и ремонта бетонных конструкций. Требования к ремонтным смесям и адгезионным соединениям контактной зоны при восстановлении конструкций
ГОСТ 34669-2020 Смеси сухие строительные гидроизоляционные проникающие на цементном вяжущем. Технические условия
ГОСТ Р 52804-2007 Защита бетонных и железобетонных конструкций от коррозии. Методы испытаний
ГОСТ Р 52892-2007 Вибрация и удар. Вибрация зданий. Измерение вибрации и оценка ее воздействия на конструкцию
ГОСТ Р 56731-2023 Анкеры механические для крепления в бетоне. Методы испытаний
ГОСТ Р 57208-2016 Тоннели и метрополитены. Правила обследования и устранения дефектов и повреждений при эксплуатации
ГОСТ Р 59202-2021 Дороги автомобильные общего пользования. Тоннели. Технические правила капитального ремонта, ремонта и содержания
ГОСТ Р 59402-2021 Дороги автомобильные общего пользования. Мостовые сооружения. Проектирование усиления конструкций для пропуска тяжеловесных транспортных средств
ГОСТ Р 59618-2021 Дороги автомобильные общего пользования. Мостовые сооружения. Правила обследований и методы испытаний
ГОСТ ISO 4097-2017 Каучук этилен-пропилен-диеновый (EPDM). Методы оценки
СП 16.13330.2017 "СНиП II-23-81* Стальные конструкции" (с изменениями N 1, N 2, N 3, N 4)
СП 20.13330.2016 "СНиП 2.01.07-85* Нагрузки и воздействия" (с изменениями N 1, N 2, N 3, N 4)
СП 28.13330.2017 "СНиП 2.03.11-85 Защита строительных конструкций от коррозии" (с изменениями N 1, N 2, N 3)
СП 34.13330.2021 "СНиП 2.05.02-85* Автомобильные дороги"
СП 35.13330.2011 "СНиП 2.05.03-84* Мосты и трубы" (с изменениями N 1, N 2, N 3)
СП 46.13330.2012 "СНиП 3.06.04-91 Мосты и трубы" (с изменениями N 1, N 2, N 3, N 4)
СП 48.13330.2019 "СНиП 12-01-2004 Организация строительства" (с изменением N 1)
СП 63.13330.2018 "СНиП 52-01-2003 Бетонные и железобетонные конструкции. Основные положения" (с изменениями N 1, N 2)
СП 70.13330.2012 "СНиП 3.03.01-87 Несущие и ограждающие конструкции" (с изменениями N 1, N 3, N 4)
СП 120.13330.2022 "СНиП 32-02-2003 Метрополитены"
СП 121.13330.2019 "СНиП 32-03-96 Аэродромы" (с изменением N 1)
СП 122.13330.2023 "СНиП 32-04-97 Тоннели железнодорожные и автодорожные"
СП 164.1325800.2014 Усиление железобетонных конструкций композитными материалами. Правила проектирования (с изменением N 1)
СП 248.1325800.2016 Сооружения подземные. Правила проектирования"
СП 329.1325800.2017 Здания и сооружения. Правила обследования после пожара"
СП 1.1.1058-01 Организация и проведение производственного контроля за соблюдением санитарных правил и выполнением санитарно-противоэпидемических (профилактических) мероприятий
СанПиН 1.2.3685-21 Гигиенические нормативы и требования к обеспечению безопасности и (или) безвредности для человека факторов среды обитания
СанПиН 2.1.3684-21 Санитарно-эпидемиологические требования к содержанию территорий городских и сельских поселений, к водным объектам, питьевой воде и питьевому водоснабжению, атмосферному воздуху, почвам, жилым помещениям, эксплуатации производственных, общественных помещений, организации и проведению санитарно-противоэпидемических (профилактических) мероприятий
Примечание - При пользовании настоящим сводом правил целесообразно проверить действие ссылочных документов в информационной системе общего пользования - на официальном сайте федерального органа исполнительной власти в сфере стандартизации в сети Интернет или по ежегодному информационному указателю "Национальные стандарты", который опубликован по состоянию на 1 января текущего года, и по выпускам ежемесячного информационного указателя "Национальные стандарты" за текущий год. Если заменен ссылочный документ, на который дана недатированная ссылка, то рекомендуется использовать действующую версию этого документа с учетом всех внесенных в данную версию изменений. Если заменен ссылочный документ, на который дана датированная ссылка, то рекомендуется использовать версию этого документа с указанным выше годом утверждения (принятия). Если после утверждения настоящего свода правил в ссылочный документ, на который дана датированная ссылка, внесено изменение, затрагивающее положение, на которое дана ссылка, то это положение рекомендуется применять без учета данного изменения. Если ссылочный документ отменен без замены, то положение, в котором дана ссылка на него, рекомендуется применять в части, не затрагивающей эту ссылку. Сведения о действии сводов правил целесообразно проверить в Федеральном информационном фонде стандартов.
В настоящем своде правил применены термины по СП 63.13330, СП 164.1325800, ГОСТ 32016, ГОСТ 32017, ГОСТ 33762, ГОСТ Р 52804, а также следующие термины с соответствующими определениями:
3.1 адгезия: Способность сцепления контактирующих разнородных твердых тел, обусловленное физическими и (или) химическими силами.
3.2 активная углепластиковая сетка: Сетка, смоченная в полимерном составе перед ее укладкой в минеральную матрицу.
3.3 бандаж (пластырь) трещин, швов: Слой определенных толщины и ширины ремонтного материала, обеспечивающего герметизацию.
3.4 бетонное основание: Часть ремонтируемой или усиливаемой конструкции, на которую наносятся ремонтные и защитные материалы или к которой крепятся конструкции усиления.
3.5 дефект: Отдельное несоответствие участка конструкции какому-либо параметру, установленному нормативным документом, проектной и технологической документацией.
3.6 мембрана: Упругое гибкое покрытие конструкции, выполняющее защитную и изоляционную функцию.
3.7 отрицательное давление воды и водяного пара: Давление воды или ее паров, создающее усилие, направленное на отрывание покрытия от основания.
3.8 пакер (инъектор) (клеевой, разжимной, винтовой игольчатый, забивной): Приспособление, обеспечивающее подачу инъекционного состава.
3.9 повреждение: Неисправность, полученная конструкцией при изготовлении, транспортировании и выполнении строительно-монтажных работ на площадке, а также в процессе эксплуатации, включая коррозионные повреждения.
3.10 положительное давление воды и водяного пара: Давление воды или ее паров, позитивно действующее на прижатие покрытия или мембраны к основанию.
3.11 полимерцементные составы или бетоны: Растворы и бетоны, модифицированные введением добавок полимеров, которые используются в количествах, достаточных для придания им особых свойств.
3.12 покрытие: Нанесенный на поверхность бетона материал из устойчивых к определенным воздействиям материалов и систем.
3.13 полости и пустоты: Нарушение сплошности бетона в виде неполного заполнения строительным или ремонтным материалом требуемого (проектного) объема или сечения конструкции.
3.14 праймерный состав: Материал, применяемый для предварительной подготовки поверхности перед нанесением какого-либо покрытия, (грунтовочный материал) для улучшения адгезии с ремонтными материалами и обеспечения ее долговечности.
3.15 пропитка: Обработка поверхности бетона специальными составами, проникающими в структуру бетона и изменяющими его свойства на глубину проникновения (уменьшение поверхностной пористости и упрочнения поверхности).
3.16 ремонт железобетонной конструкции: Комплекс технологических мероприятий, направленных на восстановление исправного технического состояния строительных конструкций без изменения их проектной несущей способности и конструктивной схемы.
3.17 отклонение: Превышающее допуски отклонение фактического значения показателя качества продукции от номинального значения, установленного проектной и технологической документацией или нормативным документом.
3.18 система: Два или более материала, выполняющие определенные функции и наносимые последовательно.
3.19 усиление конструкции: Комплекс конструктивных мероприятий и технологических работ, выполняемых в процессе ремонта, направленных на сохранение или повышение несущей способности и эксплуатационных свойств строительной конструкции.
3.20 электрохимическая защита металла в бетоне: Защита, основанная на зависимости коррозии от электродного потенциала металла, - с изменением потенциала металла изменяется скорость коррозии.
3.21 эксплуатационные качества: Показатели качества конструкции, обеспечивающие возможность ее использования по назначению без ограничений в течение расчетного срока службы.
4.1 Общие положения
4.1.1 Необходимость ремонта и (или) усиления бетонных и железобетонных конструкций следует устанавливать на основе результатов проведения технического обследования согласно ГОСТ 31937, ГОСТ Р 57208, ГОСТ Р 59202, ГОСТ Р 59618, СП 28.13330 с учетом выбранной стратегии эксплуатации. Требования к проведению технического обследования приведены в [4].
4.1.1а Проектирование ремонта и усиления бетонных и железобетонных конструкций мостов, транспортных тоннелей, метрополитенов, труб под насыпями, покрытий автомобильных дорог и аэродромов следует осуществлять с учетом СП 16.13330, СП 20.13330, СП 34.13330, СП 35.13330, СП 46.13330, СП 63.13330, СП 120.13330, СП 121.13330, СП 122.13330, СП 164.1325800, СП 248.1325800, СП 329.1325800, ГОСТ Р 59402, ГОСТ Р 57208.
4.1.2 Стратегия управления эксплуатацией должна рассматривать железобетонную конструкцию, обладающую заданными на этапе проектирования показателями эксплуатационных качеств, в рамках жизненного цикла сооружения как часть системы, функционирующей под влиянием внешней среды и подвергающейся воздействиям различных видов ремонта (профилактического, текущего, капитального).
4.1.3 Ремонт и усиление конструкций в рамках стратегии управления эксплуатацией должны обеспечить частичное или полное восстановление эксплуатационных качеств с требуемым уровнем надежности.
4.1.4 Выбор вариантов и реализация стратегии управления эксплуатацией конструкций в сооружении должны осуществляться:
- в пределах жизненного цикла с учетом технических, экономических, эксплуатационных, экологических и других требований, обеспечивающих безопасное состояние объекта;
- путем пошагового принятия решений, основанных на последовательном выборе вариантов управления, принципов и методов защиты, ремонта и усиления конструкций, технологии производства работ, планирования эксплуатационного обслуживания в постремонтный период.
4.1.5 Выбор принципа ремонта следует проводить согласно разделу 6, в соответствии с выявленными в результате обследования дефектами, причинами или сочетанием причин их возникновения, объемами повреждений и скоростью их увеличения, оценкой состояния конструкции.
4.1.6 Ремонт конструкций следует выполнять по разработанному проекту ремонта, с указанием порядка проведения ремонта, технологии, применяемых материалов, а также вида и типа оборудования.
4.1.7 Проект ремонта должен учитывать химическую, электрохимическую и физико-механическую совместимость выбранных материалов с основанием. Необходимо принимать во внимание технологию нанесения материалов, условия производства работ, условия эксплуатации конструкций и нагружение ремонтной системы.
4.1.8 Усиление конструкций следует предусматривать лишь в случаях, когда существующие конструкции не удовлетворяют условиям прочности или требованиям нормальной эксплуатации. Не следует усиливать существующие конструкции, если их фактические прогибы превышают предельно допустимые в соответствии с СП 20.13330, но не препятствуют нормальной эксплуатации конструкции и не изменяют их расчетную схему.
4.1.9 Необходимость усиления следует определять на основании результатов обследования и поверочных расчетов, выполняемых по действующим, на момент проведения обследования, нормативным документам.
4.1.10 Принципиальная схема усиления принимается в зависимости от установленного в ходе обследования дефицита несущей способности и остаточного срока службы конструкции, на основе вариантного проектирования и оценки прямых и приведенных эксплуатационных затрат, себестоимости, продолжительности и трудоемкости работ по усилению, а также с учетом прогнозируемого срока службы усиления и возможности выполнения работ без остановки эксплуатации конструкции.
4.1.11 Расчет и конструирование усиливаемых конструкций необходимо проводить на основе проектных материалов, данных по изготовлению и возведению этих конструкций и их натурных обследований.
4.2 Выбор вариантов стратегии эксплуатации необходимо производить в следующем порядке:
- определение необходимости проведения ремонта и усиления конструкций с учетом требований регламентов по эксплуатации сооружения и остаточного срока службы, основанного на причинах, последствиях и степени развития дефектов, влияющих на надежность и целостность объекта, выявленных в результате обследования, которое является основополагающим в принятии решений;
- проведение предварительного (визуального и инструментального) обследования, выполненного в соответствии с существующими нормами, для оценки типов и объемов видимых дефектов, степени их влияния на несущую способность, определение необходимости осуществления противоаварийных мероприятий (см. ниже);
- выполнение (по необходимости) срочных противоаварийных мероприятий, обеспечивающих возможность ремонта и усиления конструкций;
- определение цели ремонта и усиления, которые максимально устраняют причины разрушений и обеспечивают эксплуатационные требования к конструкции или сооружению;
- определение ресурсов и ограничений (технологических, материальных, финансовых, социальных и др.) к реализации проекта ремонта и усиления с учетом экономических, технических, эстетических, природных и других факторов, оказывающих влияние на состояние железобетонной конструкции или сооружения, а также пожеланий владельца;
- выявление ограничений организационного и административного характера, которые могут возникнуть при проведении работ и дальнейшей эксплуатации конструкции или сооружения;
- сбор и изучение информации по истории сооружения на этапах проектирования, строительства и эксплуатации, изучение документации об особенностях эксплуатации конструкции, ранее проведенных обследованиях, техническом обслуживании, ремонтах и усилении;
- разработка предварительного технико-экономического обоснования по выполнению ремонта и усилению, а также дальнейшей эксплуатации сооружения с целью выбора вариантов стратегии эксплуатации.
4.3 Варианты стратегии эксплуатации
4.3.1 Вариантами стратегии эксплуатации могут быть:
- непринятие каких-либо мер в течение определенного периода времени, а лишь осуществление контроля и профилактического ремонта;
- текущий ремонт с возможным снижением действующей нагрузки;
- капитальный ремонт с целью предотвращения или снижения дальнейшего разрушения;
- капитальный ремонт и/или усиление всей конструкции или ее части;
- реконструкция или замена всей конструкции или ее части;
- разборка (демонтаж) и утилизация всей конструкции или ее части.
4.4 Выбор принципов ремонта, защиты и усиления
4.4.1 Принципы ремонта, защиты и усиления включают:
- принципы ремонта, защиты и усиления при повреждениях бетона, вызванных различными воздействиями (механическими, физико-химическими, эксплуатационными и др.);
- принципы ремонта, защиты и усиления при повреждениях бетона и арматуры, вызванных ее коррозией.
4.4.2 Выбор принципа ремонта, защиты и усиления следует проводить в соответствии с выявленными в результате обследования дефектами, причинами или сочетанием причин их возникновения, объемами повреждений и скоростью их увеличения, оценкой состояния конструкции и расчетом остаточного срока службы (таблица 3).
4.4.3 Детальное обследование конструкции для определения и уточнения объема дефектов и выявления или уточнения причин их возникновения, а также для выбора принципов и методов ремонта проводят в соответствии с ГОСТ 31937, ГОСТ Р 57208, ГОСТ Р 59202, ГОСТ Р 59618, СП 28.13330.
4.4.4 Исключен с 29.12.2023. - Изменение N 1
4.4.5 Оценка технического состояния железобетонных конструкций в зависимости от характера и степени повреждений - в соответствии с ГОСТ 31937, ГОСТ Р 57208, ГОСТ Р 59202, ГОСТ Р 59618, СП 28.13330 с распределением по категориям технического состояния. Требования к оценке технического состояния железобетонных конструкций приведены в [4].
4.4.6 Оценка/расчет остаточного срока службы конструкции до отказа - по одному из выбранных критериев с привлечением различных методов, включая математическое моделирование.
4.4.7 Выбор и адаптация принципа ремонта, защиты и усиления конструкций сооружения с учетом условий эксплуатации после выполнения ремонта и усиления.
4.5 Методы защиты, ремонта и усиления
4.5.1 Методы защиты, ремонта и усиления конструкций следует назначать в зависимости от принятого принципа ремонта, определяющего требования к материалам и системам (таблица 3).
4.5.2 Требования к материалам и системам, излагаемые в разработанной проектной документации, следует принимать в соответствии с ГОСТ 27751, СП 20.13330, СП 63.13330, ГОСТ 31384, ГОСТ 32016, ГОСТ Р 56378, [1] - [3], санитарными правилами и нормами.
4.5.3 Помимо представленных в таблице 3, в отдельных случаях в условиях конкретного объекта могут быть использованы иные методы ремонта, защиты и усиления.
4.6 Технология производства ремонтных работ
4.6.1 Выбор технологии производства работ должен осуществляться с учетом условий эксплуатации, материально-технических условий производства работ и параметров участка ремонта.
4.6.2 При анализе условий эксплуатации следует рассматривать:
- общие условия (макроклимат), характеризуемые, например, средними значениями температур зимой и летом, числом циклов перехода через ноль характерными для этого региона и т.д.;
- конкретные условия, связанные с местоположением и ориентацией в пространстве рассматриваемой постройки (мезоклимат), в значительной степени определяемые особенностями земной поверхности в данном районе, ее топографией, розой ветров, растительным покровом, наличием прилегающей городской застройки и т.п.;
- локальные условия (микроклимат), такие как намокание отдельных поверхностей, воздействие фильтрационного потока и водяного пара, агрессивных веществ, регулярного увлажнения, замораживания-оттаивания и пр. В эти условия входят и те, которые возникают из-за взаимодействия между сооружениями и окружающей средой, например, устройство дренажа или застаивание воды в результате отсутствия уклонов и водоудаления с горизонтальных поверхностей, отсутствие теплоизоляции и недостаточный уровень проветривания и т.д.
4.6.3 Материально-технические условия производства работ определяются спецификой условий (пространственных, временных, технологических, эксплуатационных, экологических, санитарно-гигиенических и т.п.), устанавливающих различного рода ограничения на технологию производства работ и требующих разработки специальных подходов при подборе материалов и выборе технологии ремонта:
- доступности участка производства работ, определяемой его пространственным расположением (потолочные участки сооружений и т.п.) или определенным временным интервалом (время отключения электроэнергии и т.п.);
- необходимости использования специального оборудования и приспособлений (применение легкомонтируемых подмостей, специальных приспособлений и оборудования для выполнения ремонтных, инъекционных и других работ);
- надобности применения специальных материалов и технологий ремонта (ремонтные составы, обладающие хорошей текучестью, температурной стойкостью, быстротвердеющие, облегченные, высокоплотные и т.д.).
4.6.4 Параметры участка ремонта определяют возникновение деформаций и напряжений как в ремонтном материале, так и на контакте ремонтного материала с бетоном в зависимости:
- от геометрической формы и размеров участка. Определяют эксплуатационные качества ремонта, которые зависят от деформационной способности ремонтного материала - для малых площадей ремонта; деформационной способности ремонтного материала и его способности выдерживать различные напряжения в течение всего срока службы - на участках большой площади; концентрации напряжений, обычно сосредоточенной по краям участка ремонта и в местах изменения поперечного сечения, что приводит в определенных условиях к растрескиванию и отслоению как на границе сцепления, так и внутри самого ремонтного материала;
- наличия арматурного каркаса, который способствует уменьшению напряжения сдвига вдоль границы раздела между ремонтным материалом и основанием, а также растягивающих напряжений в основании. Наличие арматуры способно также обеспечить прочное механическое крепление ремонтного материала и устранить зоны концентрации напряжений вблизи границы раздела. Наличие на месте работ арматурных стержней может приводить к ограничению свободы деформации и увеличению растягивающих напряжений в конструкции в случае продолжения коррозии металла;
- влияния жесткости профиля ремонтируемой конструкции. В ремонтном составе могут создаваться дополнительные усадочные напряжения, возникающие вследствие ограничения свободы деформаций участка, где проводят работы. Кроме того, различия в жесткости профиля вдоль отремонтированных статически неопределимых конструкций становятся причиной перераспределения момента, который создается усилием усадки в ремонтном материале и приводит к большей деформации по сравнению с той, которая обнаруживается в статически определимых конструкциях.
4.6.5 Технология ремонтных работ должна учитывать:
- технические требования к свойствам материалов, выбранным в соответствии с принципами и методами ремонта, защиты и усиления;
- требования к показателям систем (защита поверхности бетона, защита стальной арматуры в бетоне, соединений элементов усиления, уплотнение трещин, полостей или расщелин в бетоне), образуемых этими материалами;
- параметры и методы контроля качества при производстве и приемке работ по ремонту, защите и усилению;
- систему мероприятий по охране здоровья и технике безопасности, защите окружающей среды и правила пожарной безопасности.
4.7 Эксплуатационное обслуживание после выполнения ремонта и усиления конструкций
Проектной организацией, разработчиком проекта ремонта и (или) усиления должны быть разработаны технические требования по обслуживанию отремонтированных и усиленных конструкций и сооружений, включая мониторинг за состоянием конструкций, инструкции по дальнейшим обследованиям и эксплуатационному уходу на остаточный расчетный срок службы.
4.8 Требования к обследованию бетонных и железобетонных конструкций в сооружениях
4.8.1 Общие положения
4.8.1.1 Обследование железобетонных конструкций следует проводить при возникновении аварийных ситуаций. Требования к обследованию железобетонных конструкций приведены в [4].
4.8.1.2 Задачи обследования, а также объем выполнения работ следует определять в соответствии с поставленной целью, достаточной для принятия решений о необходимости ремонта и усиления, а также времени и объемов работ.
4.8.1.3 Работы по обследованию следует проводить в соответствии с ГОСТ 31937. Требования к работам по обследованию приведены в [4]. При оценке состояния конструкций, эксплуатируемых в агрессивных средах, следует руководствоваться положениями, изложенными в ГОСТ 31384.
4.8.1.4 На основании натурных обследований должны быть установлены геометрические размеры конструкций и их сечения, армирование конструкции, прочность бетона и вид арматуры, прогибы конструкции и ширина раскрытия трещин, дефекты и повреждения, их параметры и временные изменения, нагрузки, статическая схема конструкций, оценены воздействия на конструкции.
4.8.1.5 В результате обследования должны быть установлены:
- причины появления повреждений и дефектов;
- степень поврежденности конструкций и скорость накопления повреждений;
- влияние дефектов и повреждений на несущую способность и долговечность конструкций;
- участки, требующие ремонта, усиления или замены.
4.8.1.6 Причины возникновения повреждений и дефектов в бетоне конструкций следует разделять:
- на физическое воздействие;
- химическое воздействие (растворение, расширение и пр.);
- биологическое воздействие.
Причины возникновения повреждений и дефектов в обычной и напрягаемой арматуре конструкций следует разделять:
- на электрохимическую коррозию, вызванную карбонизацией бетона;
- электрохимическую коррозию, вызванную хлоридами;
- коррозию, вызванную повреждениями защитного слоя, в том числе образованием трещин в бетоне (от нагрузок и воздействий, превышающих проектные всех видов коррозии бетона);
- коррозию, вызванную блуждающими токами;
- повреждения от пожара.
4.9 Диагностика состояния бетона и железобетона и выявление причин повреждения конструкций
4.9.1 Оценка состояния бетона производится путем установления его прочности, однородности, водопоглощения, остаточной морозостойкости.
4.9.1.1 Дефекты в бетоне, выявленные в ходе визуального осмотра, подлежат обязательной фиксации. Скрытые дефекты и повреждения определяются методами неразрушающего контроля, основанными на измерении параметров распространения акустических и электромагнитных волн, контроле температурных полей и др.
4.9.1.2 Измерения проводят с использованием ультразвукового, виброакустического, сейсмоакустического, георадиолокационного, термографического, магнитного и других методов. Результаты неразрушающего контроля дефектов в обязательном порядке подтверждаются контрольными испытаниями с применением разрушающих методов.
4.9.1.3 Фактический класс бетона следует определять по ГОСТ 18105 с применением неразрушающих методов по ГОСТ 22690, ГОСТ 17624, а также разрушающих методов по ГОСТ 28570.
4.9.2 Определение глубины карбонизации бетона и наличия содержания агрессивных компонентов по отношению к арматуре и бетону.
4.9.2.1 Глубину карбонизации бетона определяют одним из следующих способов:
- индикаторный тест с фенолфталеином (колориметрический метод);
- рентгеновский дифракционный анализ;
- инфракрасная спектроскопия;
- дифференциальная сканирующая калориметрия;
- химический анализ.
4.9.2.2 По возможности следует применять наиболее простой колориметрический метод, заключающийся в следующем: сколы бетона на конструкции или образцы-керны раскалывают и поверхность скола смачивают 0,1%-ным спиртовым раствором фенолфталеина. О глубине карбонизации судят по границе изменения окрашивания.
4.9.3 Наличие и количественное содержание хлоридов в бетоне определяют методом аргентометрии. Наличие хлоридов устанавливают на сколе бетона, который смачивают 1%-ным раствором нитрата серебра (AgNO3). О наличии хлоридов судят по выпадению белого осадка. Количественное содержание определяют по результату титрования водной вытяжки измельченного образца бетона с пересчетом на массу цемента. Содержание хлоридов более 0,4% от массы цемента указывает на потенциальную опасность коррозии арматуры.
4.9.4 Для выяснения возможности протекания процесса взаимодействия щелочи бетона с реакционно-способным заполнителем необходимо выполнить комплекс работ, включающий:
- петрографические исследования;
- химический тест на продукты щелочной коррозии (идентификация геля жидкого стекла).
4.9.5 Определение параметров трещин в бетоне
4.9.5.1 При обследовании следует фиксировать следующие параметры трещин: зону расположения и их ориентацию относительно геометрии конструкции, глубину, ширину, характер и динамику раскрытия трещин (переменная либо постоянная по длине и т.п.).
4.9.5.2 Определение глубины трещин (в элементах конструкции с односторонним доступом) следует осуществлять либо разрушающими (например, зондирование путем сверления), либо неразрушающими методами (например, ультразвуковые измерения).
4.9.5.3 Глубину трещины рекомендуется также определять путем инъектирования в нее полимерной смолы с низкой вязкостью и измерения глубины трещины после затвердевания смолы и высверливания цилиндрического образца непосредственно в плоскости трещины.
4.9.5.4 Определение динамики раскрытия трещин следует проводить путем установки маяков, реперов, трещиномеров различной конструкции и т.п. Измерения проводят перпендикулярно к плоскости трещины в местах максимального раскрытия, как правило, на уровне арматуры.
4.9.5.5 Динамику раскрытия трещин оценивают с использованием деформометров (для периодического фиксирования параметров трещины) или датчиков линейных перемещений, обеспечивающих непрерывную регистрацию изменений параметров трещины.
4.9.5.6 Состояние конструкций после пожара и при воздействии нагрузок, превышающих проектные, рекомендуется определять в соответствии с существующими нормативами по оценке прочностных, структурных и упруго-пластичных характеристик арматуры и бетона. В случае активного и длительного температурного воздействия на бетон (свыше 500 °C) необходимо учитывать появление микротрещиноватости в конструкции после тушения пожара водой, которая может оказать негативное воздействие на долговечность ремонтных работ. При длительном воздействии температуры свыше 600 °C - 650 °C бетон становится непригодным в конструктивном отношении.
4.9.5.7 Определение параметров деформационных швов с наличием дефектов следует проводить с учетом возможности уплотнения зазора эластичными шнурами (этилен-пропилен-диеновый каучук по ГОСТ ISO 4097) или иного упругого материала с замкнутыми порами, обеспечивающего постоянное давление на контакте с бетонной поверхностью и способного воспринимать необходимое давление при последующем нагнетании составов и реализации уплотнений групп АГ или КГ по ГОСТ 33762.
4.9.5.8 При выборе средств ремонта или замены заполнения зазора температурно-осадочных и деформационных швов по ГОСТ 33762 следует учитывать действительную ширину зазора, диапазоны изменения ширины и интенсивность протечек воды через шов.
4.10 Диагностика состояния арматуры в бетоне
4.10.1 Наличие и характер коррозионных повреждений арматуры может определяться различными методами как разрушающего, так и неразрушающего контроля.
4.10.2 Оценку степени коррозии арматуры следует выполнять по остаточному диаметру, измеряемому с точностью 0,1 мм. Для этого на вскрытом участке следует удалить продукты коррозии механическим способом, например с помощью мягкой стальной щетки. При язвенной коррозии измеряют глубину язвы и потерю сечения.
4.10.3 При отсутствии визуальных признаков коррозии арматуры состояние арматуры в бетоне можно определять путем измерения потенциала стали в бетоне и электрического сопротивления бетона с использованием 4-электродного омметра.
4.10.4 Электрохимический потенциал измеряется на поверхности бетона при помощи высокоомного вольтметра по сравнению с контрольным электродом. Положительный вывод вольтметра подключается к арматуре, что требует локального вскрытия защитного слоя бетона и удаления продуктов коррозии с оголенной арматуры. В противном случае электрическое соединение между вольтметром и арматурой может оказаться ненадежным. Соединение с арматурой следует выполнять при помощи зажима.
Данные по коррозионному состоянию арматуры, полученные измерением электрохимического потенциала следует корректировать в выборочных точках с помощью вскрытия арматурного каркаса.
4.11 Оценка остаточной несущей способности железобетонной конструкции
4.11.1 Оценку остаточной несущей способности конструкций следует устанавливать на основании поверочных расчетов, с учетом имеющихся дефектов и повреждений, а также фактических размеров конструкции и характеристик бетона и арматуры, в соответствии с общими правилами по СП 63.13330.
5.1 В настоящем разделе приведены общие сведения и типы материалов для ремонта и защиты бетонных конструкций. В большинстве случаев в качестве первой операции при производстве ремонтных работ требуется подготовка бетонной поверхности.
5.2 Для обеспечения надлежащего и долговечного сцепления ремонтных материалов с бетонным основанием следует выполнять подготовку поверхности и контролировать ее состояние. При выборе технологии подготовки поверхности следует руководствоваться данными, приведенными в таблице 1, в которой приведено краткое описание наиболее распространенных методов подготовки поверхности.
5.3 Замена поврежденного бетона
5.3.1 В зависимости от состояния конструкции, требующей восстановления и имеющей различные повреждения, поверхностный слой бетона, а часто и слой вокруг арматурных стержней, удаляют во время ремонта. Такие удаленные участки подлежат восстановлению путем замены подходящим материалом. В основном для ремонта бетона следует использовать следующие материалы:
- торкретируемые цементные растворы или бетон;
- цементные растворы или бетон;
- полимермодифицированные цементные растворы или бетон;
- полимерные растворы.
5.3.2 Все материалы, используемые для ремонта, должны быть максимально совместимы с основанием по физико-механическим, химическим, электрохимическим и размерным свойствам.
5.3.3 Для нанесения раствора или бетона методом торкретирования (торкретбетон/раствор) или набрызга (набрызг-бетон) при выборе материала следует руководствоваться ГОСТ 26633 и другими нормативными документами. Обычно для нанесения этих составов мокрым или сухим способом в условиях локального ремонта или ремонта по всей площади рекомендуется использовать мелкощебенистые составы с крупностью щебня ≤ 8 (10) мм (при высоком коэффициенте армирования) и щебнем ≤ 16 (20) мм при нормальном коэффициенте армирования. Крупность песка при использовании его в растворах, наносимых методом набрызга, не должна превышать 4 мм. Толщину нанесения следует принимать: для торкретрастворов - 20 - 40 мм, для набрызг-бетонных слоев - 50 - 70 мм.
5.3.4 Для цементных растворов максимальный размер зерен следует принимать не более 4 мм, а наносимые слои следует принимать толщиной от 20 до 40 мм. Составы цементных растворов подбираются в соответствии с нормативами и должны соответствовать требованиям, обусловленным внешними факторами воздействия, а также несущими характеристиками конструкции. Цементные растворы следует использовать для создания более тонких слоев по сравнению со слоями бетона. Нанесение бетона или раствора следует осуществлять вручную, а также путем заливки в опалубку или торкретированием. При нанесении цементных растворов или бетонов торкретированием в смесь добавляют полимеры, и такие материалы называются полимермодифицированными торкретируемыми цементными растворами/бетоном.
5.3.5 Основу полимермодифицированных растворов должен составлять цементный раствор, содержащий дополнительные полимеры. Растворы следует наносить вручную, укладывать в опалубку (полимерцементный раствор или бетон) или торкретированием (торкретируемый полимерцементный раствор или бетон). Метод нанесения следует принимать с учетом расположения рабочей поверхности и условий производства работ.
5.3.6 При использовании полимерных растворов не допускается применение цемента в качестве вяжущего вещества, при этом допускается использование инертного заполнителя. Нанесение полимерных растворов, как правило, выполняется вручную с помощью шпателя, полутерка, заливкой в опалубку и пр.
5.3.7 Для повышения сцепления ремонтного материала с основанием рекомендуется нанесение грунтовочного мелкозернистого покрытия на бетонную поверхность и арматуру. Максимальная крупность заполнителя грунтовочного покрытия, как правило, не должна превышать 1 мм. Нанесение покрытия следует выполнять кистью, валиком и т.д.
5.3.8 Для защиты арматуры от коррозии, перед нанесением ремонтного материала, рекомендуется нанесение на арматуру противокоррозионных покрытий, на основе эпоксидных смол или цементных материалов.
Защитные покрытия на цементной основе допускается использовать как отдельно, так и в сочетании с грунтовочным мелкозернистым покрытием, обеспечивающим активную защиту стали за счет собственной щелочности.
5.3.9 При нанесении материалов в системе все материалы на цементной или полимерцементной основах следует наносить "свежее" по "свежему", то есть до формирования "холодного" шва.
5.4 Заполнение трещин
5.4.1 Для заполнения трещин, стыков бетонирования, расщелин (по ГОСТ 33762) и (или) зазоров швов следует использовать проникающие или инъекционно-уплотняющие составы на цементной или полимерной основе. В соответствии с ГОСТ 33762 заполнение трещин осуществляют одним из методов:
- под принудительным давлением;
- под действием гравитации и капиллярного впитывания.
5.4.2 В результате нагнетания в трещине, стыке бетонирования, расщелине (по ГОСТ 33762) и (или) зазоре шва образуются уплотнения следующих видов:
- конструкционное уплотнение с адгезионно-силовым замыканием (группа АС по ГОСТ 33762);
неконструкционное уплотнение с адгезионно-герметизирующим замыканием (группа АГ по ГОСТ 33762);
- неконструкционное уплотнение с компрессионно-герметизирующим замыканием (группа КГ по ГОСТ 33762).
5.4.3 Раскрытие трещины в пределах 0,01 - 0,015 мм вследствие воздействия транспортной нагрузки не влияет на адгезию составов на полимерной основе.
5.4.4 Уплотнения группы КГ не следует применять при раскрытии трещин в течение суток, за исключением случаев, когда уплотнение имеет некоторый излишек материала уплотнения, выходящий за пределы внешней границы конструкции. Данную группу уплотнений следует применять для трещин, находящихся в следующих состояниях: влажном, мокром и с активной протечкой.
|
Тип |
Методика |
Используется для а |
Типовые области применения |
Требование |
Требуемая последующая обработка | |||||
|
Инструменты |
1 |
2 |
3 |
4 |
5 | |||||
|
Механическое ударное воздействие |
Бучарда, молоток |
Вручную |
X |
X |
X |
Небольшие площади б |
Следует избегать повреждения арматуры, особенно напряженной |
Песко- и дробеструйная обработка, обеспыливание, очистка водой под давлением | ||
|
Долото |
С помощью электрических или пневматических о/м |
Любые площади |
Следует избегать повреждения арматуры, особенно напряженной |
Обработка водой под давлением, обеспыливание | ||||||
|
Игольчатый молоток с электро-, пневмоприводом |
X |
X |
(X) |
Угловые соединения в бетоне и металлических закладных |
Не обеспечивает высокую производительность при очистке |
Очистка пылесосом, очистка водой, сушка | ||||
|
Зачистка щеткой |
Вращающаяся стальная щетка с электро-, пневмоприводом |
X |
X |
(X) |
В зависимости от типа инструмента от малых до больших площадей |
Может заполировывать поверхность |
Очистка. Очистка водой под средним давлением | |||
|
Фрезеровка |
Фрезеровочная машина |
X |
X |
X |
Большие площади снятия на горизонтальных поверхностях |
Как правило, снятие ≤ 5 мм в ходе каждой операции; для больших площадей требуются самоустанавливающиеся уровни, избегать повреждения арматуры |
Дробеструйная обработка, продувка сжатым воздухом | |||
|
Химическая очистка |
Кисть, нанесение кистью, валиком, распылением |
X |
X |
X |
Большие по площади вертикальные поверхности, горизонтальные и наклонные поверхности |
Следует использовать разные концентрации кислот, следить за ровностью обрабатываемой поверхности |
Обязательная промывка водой под давлением | |||
|
Огневая очистка в |
Оборудование для огневой очистки г |
X |
X |
Вертикальные и горизонтальные поверхности |
Следить за равномерной обработкой поверхности |
Очистка, пылесосом, водой, сушка | ||||
|
Беспылевая дробеструйная обработка |
Дробеструйная обработка с дополнительным отсосом пыли или орошением водой |
X |
X |
(X) |
X |
Вертикальные и горизонтальные поверхности - в зависимости от используемого оборудования |
Угловые соединения следует обрабатывать другим способом |
Обеспыливание и сушка | ||
|
Дробеструйная/пескоструйная обработка |
Дробеструйная обработка с использованием сжатого воздуха |
X |
X |
(X) |
X |
Вертикальные и горизонтальные поверхности |
Защита от пыли; сжатый воздух не должен содержать масел |
Влажная очистка или обеспыливание | ||
|
Дробеструйная/пескоструйная обработка с водой |
Дробеструйная обработка с использованием влажного абразива |
X |
X |
(X) |
(X) д |
Горизонтальные, реже вертикальные поверхности |
Защита от пыли не требуется; сжатый воздух не должен содержать масел |
Сушка, очистка | ||
|
Воздействие водой |
Гидроструйная очистка высокого давления |
X |
X |
(X) г |
(X) д |
Значительные площади бетона и арматуры |
Обращать внимание на равномерность удаления бетона |
Удаление лишней воды, сушка (влажная) | ||
|
Очистка |
Сжатый воздух |
X |
Вертикальные, наклонные, потолочные поверхности б |
Защита от пыли не требуется; сжатый воздух не должен содержать масел |
Очистка | |||||
|
Очистка |
Пылесос |
X |
Горизонтальные и вертикальные поверхности |
Контролировать площадь обработки |
Влажная очистка | |||||
|
Очистка |
Гидроструйная очистка под средним давлением |
(X) |
X |
Удаление растительности, грязи, пыли |
Следует избегать переувлажнения бетона |
Сушка, дезинфекция | ||||
|
а Используется для: 1 - удаление пропиток, покрытий; 2 - удаление цементного молока; 3 - удаление непрочного бетона и оголение арматурных стержней; 4 - удаление пыли; 5 - очистка бетонной поверхности. б Риск повреждения качественного бетона. в Требуется удаление термически разрушенного бетона. г Возможно не полное удаление покрытий. д Может потребоваться дробеструйная обработка. (X) - в зависимости от условий. | ||||||||||
5.4.5 Уплотнения группы АС из составов на цементной основе следует применять при раскрытии трещин в течение суток, если имеется подтверждение, что их адгезионная связь с бетоном конструкции составляет более 2 Н/мм2 и не будет нарушена в течение 10 ч при наименьшей допустимой температуре использования, определенной производителем состава.
5.4.6 Вне зависимости от вида уплотнения трещины для выбора подходящего инъекционно-уплотняющего состава необходимо учитывать состояние конструкции. На выбор материала влияют следующие показатели:
- минимальная ширина трещины;
- влажностное состояние трещины;
- подвижность трещины.
5.4.7 Для восстановления сплошности бетона основания и замыкания трещин с шириной раскрытия свыше 0,1 мм следует применять эпоксидные смолы.
Они представляют собой двухкомпонентные материалы, которые не содержат растворителей и имеют достаточно низкую вязкость в диапазоне примерно от 150 до 400 мПа·с. При нагнетании в трещины со значительным раскрытием (расщелины) более 0,8 мм эпоксидные составы имеют бóльшую вязкость и могут нагнетаться в виде паст. Эпоксидные смолы должны обеспечивать адгезию к бетону (более 2 Н/мм2). Тип эпоксидной смолы варьируется в зависимости от минимальной ширины трещин, а также максимальной рабочей температуры. Состав на основе эпоксидной смолы может обеспечивать стойкость к растягивающим напряжениям в зависимости от своих упругих характеристик и величины перемещения трещин. В зависимости от состояния конструкции, уровня влажности и обводненности трещины проводят выбор инъекционного оборудования. В трещинах, через которые течет вода, рекомендуется использовать полиуретановые смолы.
5.4.8 Для ремонта влажных трещин, а также трещин с постоянной фильтрацией воды следует применять полиуретановые смолы, представляющие собой реактивные полимеры, используемые для жесткого или эластичного заполнения трещин.
В зависимости от типа полиуретановой смолы для инъектирования требуется один или два компонента. Однокомпонентные полиуретановые смолы образуют пену при смешивании с водой; двухкомпонентные полиуретановые смолы (изоцианаты и полиолы) после смешивания двух компонентов друг с другом образуют стабильный и непроницаемый гель. Полиуретановые составы в полной мере выполняют свои функции при работе конструкции в режиме сжатия. При работе отвержденных полиуретановых составов на растяжение они не обеспечивают высоких значений адгезии с бетоном трещин. Адгезия к влажному или обводненному бетону - менее 2 Н/мм2.
5.4.9 Для ремонта трещин в неармированных конструкциях, находящихся при постоянном воздействии воды и влаги, с целью снижения переноса воды в тонких трещинах и порах, следует применять акриловые гели.
Данные составы имеют низкую вязкость, эквивалентную воде. Хорошо разводятся водой. Без воды дают значительную усадку. Адгезия отвержденных составов к водонасыщенному бетону - не более 0,2 Н/мм2. Если предполагается использование акриловых гелей в контакте со сталью, должен быть представлен сертификат, подтверждающий эффективную и долговечную защиту стали от коррозии.
5.4.10 Для уплотнения зазоров деформационных швов эластичными шнурами (этилен-пропилен-диеновый каучук по ГОСТ ISO 4097) или иным упругим материалом с замкнутыми порами, обеспечивающего постоянное давление на контакте с бетонной поверхностью и способного воспринимать необходимое давление при последующем нагнетании составов, следует использовать при влажных условиях акрилатные составы. При сухих условиях нагнетание проводят двухкомпонентным эластичным полиуретаном.
5.5 Выбор системы защиты для восстановления поверхности бетонных и железобетонных конструкций
5.5.1 Системы защиты поверхности являются главным элементом ремонта и восстановления бетонных конструкций. В ГОСТ 32017 рассматриваются следующие типы систем защиты поверхности: гидрофобизирующая пропитка, пропитка, покрытие.
В таблице 2 представлены схематичное изображение воздействия на конструкцию и краткое описание трех различных типов систем защиты поверхности вместе с кратким описанием.
В 5.5.2 - 5.5.6 приведено краткое описание основных характеристик указанных типов систем защиты поверхности, а также наиболее распространенных типов материалов, применяемых для каждой системы защиты поверхности.
|
Наименование метода |
Описание метода |
|
Гидрофобизирующая пропитка |
Визуальные признаки пропитки: - поверхность не смачивается водой; - внешние поры обработаны; - отсутствие пленки на поверхности; - возможны небольшие изменения внешнего вида |
|
Пропитка |
Визуальные признаки пропитки: - наличие несплошной тонкой пленки на поверхности; - поверхность может не смачиваться водой; - частичное или полное заполнение поверхностных пор; - наличие пленки, которая может изменять внешний вид |
|
Покрытие |
Визуальные признаки пропитки: - поверхность может отталкивать воду; - внешние поры полностью закрыты; - поверхность может не пропускать пары воды; - изменение внешнего вида или отсутствие изменений |
5.5.2 Для снижения уровня водопоглощения и сохранения паропроницаемости бетона конструкций рекомендуется применять гидрофобизирующие пропитки.
В качестве средств пропитки следует использовать силаны, силоксаны и другие подобные вещества, разбавляемые водой или спиртом. Данные материалы поставляют в виде готовых к применению продуктов жидкой или пастообразной консистенции, при этом нанесение на месте осуществляется распылителем или кистью в зависимости от вязкости материала. Вязкость варьируется от водянистой до кремообразной консистенции. Высыхание всех материалов после нанесения происходит путем впитывания в бетонное основание и испарения жидкой фазы. Жидкие системы обеспечивают достаточно быстрое высыхание. Расход гидрофобизирующих пропиток водянистой консистенции можно контролировать по распространению подтеков. Расход гидрофобизирующих пропиток кремообразной консистенции контролируется по толщине наносимого слоя. Это обычно приводит к повышенной глубине проникания, что равнозначно более высокой эффективности, следовательно, лучшей и более эффективной защите основания.
Гидрофобизирующая пропитка покрывает стенки пор. Вследствие повышенного краевого угла смачивания пор вода не способна проникнуть в основание. Тем не менее водяные пары или вода под давлением проникают в основание. Гидрофобизирующие пропитки желательно использовать на вертикальных и наклонных поверхностях бетона при отсутствии фильтрации воды. На горизонтальных поверхностях гидрофобизирующие пропитки недолговечны, а в случае возможного воздействия даже временного давления воды - неэффективны.
Преимущество гидрофобизирующих пропиток состоит в обеспечении водоотталкивающей поверхности практически без изменения внешнего вида и сохранении паропроницаемости основания. В случае применения гидрофобизирующих пропиток в сочетании с покрытиями основная их функция заключается в повышении прочности адгезии покрытия к поверхности основания в долгосрочной перспективе.
При нанесении гидрофобизирующих пропиток необходимо избегать высоких или низких температур основания и окружающей среды, высокой влажности воздуха и конструкции.
5.5.3 Для снижения пористости поверхности в целях уменьшения проникания паров или жидкостей и повышения механической прочности рекомендуется применять пропитки.
В отличие от гидрофобизирующих пропиток поры основания герметизируются частично или полностью, а на поверхности основания образуется несплошная тонкая пленка. Кроме того, нанесение пропитки приводит к изменению внешнего вида поверхности. Пропитка не приводит к образованию дополнительного слоя с явно выраженной толщиной.
Пропитки изготавливают на основе органических полимеров, например, эпоксидных, полиуретановых смол или акриловых дисперсий, не содержащих заполнителя или пигментов. Широко используются пропитки на основе битума. Нанесение в основном осуществляется кистью, валиком, а при больших объемах работ - напылением. Если пропитка используется в составе системы защиты поверхности, ее можно присыпать песком для обеспечения надежного сцепления между последующими слоями. Пропитки могут использоваться как при позитивном, так и негативном давлении паров воды.
5.5.4 Системы покрытий на основе полимеров
Покрытия образуют сплошной защитный слой на поверхности бетона с определенной заданной толщиной. Они наносятся для исключения проникания вредных веществ, повышения механической стойкости бетона и перекрытия трещин - как подвижных, так и неподвижных. Стандартная толщина покрытий варьируется в диапазоне от 0,1 до 5,0 мм и увеличивается в зависимости от величины нагрузок и характера воздействий. Могут использоваться при позитивном давлении воды и ее паров. Адгезия к бетону на горизонтальной поверхности - не менее 2 Н/мм2.
В зависимости от предполагаемого назначения покрытия могут изготавливаться, например, на основе эпоксидных или полиуретановых смол, акрилатов и т.п. Они могут содержать мелкозернистый заполнитель, в качестве которого обычно используют кварцевый песок, диабазовая мука и пр. Данные системы защиты поверхности подходят для защиты и герметизации конструкций, работающих в условиях активного химического и физического воздействия, могут быть использованы для защиты от движения низкоскоростного транспорта, например на подземных парковках или в аналогичных условиях. При использовании системы защиты поверхности на основе полимеров для движения высокоскоростного или большегрузного транспорта, например грузового, необходимы материалы с более высокой механической стойкостью.
5.5.5 При позитивном давлении воды и ее паров как в качестве праймерных для устройства рулонных битумно-полимерных гидроизоляционных мембран или в качестве армированных слоев в транспортном строительстве рекомендуется применять системы покрытий на основе битумов.
Для данных областей применения используются в основном асфальтовые мастики. Если для защиты от проникания предполагается использовать асфальтовую мастику, ее необходимо комбинировать с другими материалами, поскольку асфальтовая мастика не обеспечивает достаточной герметизации и защиты.
5.5.6 Для защиты бетона и железобетона, имеющего высокую влажность и испытывающего воздействие воды и ее паров как при позитивном, так и негативном давлении, рекомендуется применять покрытия на цементной основе.
Покрытия образуют сплошной ковер заданной толщины на поверхности бетона и железобетона и наносятся для исключения проникания воды и вредных веществ. Покрытия имеют возможность перекрывать трещины с шириной раскрытия не более нормативных значений для бетонного основания.
Адгезия покрытия к бетону должна быть не менее 1,5 Н/мм2 на горизонтальной, 1 Н/мм2 на вертикальной, 0,75 Н/мм2 на потолочной поверхностях.
Покрытия на основе цемента могут обладать пенетрирующими свойствами и проникать на определенную глубину в бетон, взаимодействуя со свободной окисью кальция. Также покрытия наносятся на чистую поверхность бетона с открытой структурой пор. После взаимодействия с основанием могут быть удалены. Существуют также бесцементные, водные растворы солей, взаимодействующие с окисью кальция в бетоне, уплотняющие поверхностную структуру бетона (ГОСТ 34669).
Стандартная толщина покрытий на основе цемента - 1,5 - 3 мм, возможно использовать в виде штукатурных слоев большей толщины.
6.1 При определении принципов защиты и ремонта бетонных конструкций и выборе методов, реализующих эти принципы по ГОСТ 32016, следует руководствоваться данными, приведенными в таблице 3.
|
Принцип |
Методы, реализующие принцип |
|
1 Защита от проникания в конструкцию агрессивных веществ |
1.1 Гидрофобизирующая пропитка * 1.2 Пропитка * 1.3 Покрытие * 1.4 Бандаж устья трещин * 1.5 Заполнение трещин, стыков, полостей, деформационных швов 1.5а Уплотнение деформационных швов 1.6 Преобразование трещин в швы 1.7 Установка наружной облицовки * 1.8 Устройство мембран * |
|
2 Регулирование влагосодержания |
2.1 Гидрофобизирующая пропитка 2.2 Пропитка 2.3 Покрытие 2.4 Установка наружной облицовки 2.5 Электрохимическая обработка |
|
3 Восстановление бетона конструкций |
3.1 Нанесение вручную растворной смеси 3.2 Укладка (заливка) бетонной смеси 3.3 Набрызг-бетонной или растворной смеси 3.4 Замена элементов |
|
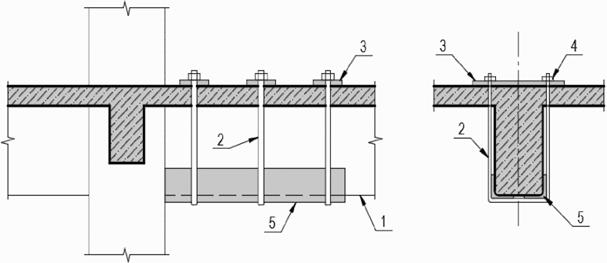
4 Усиление (упрочнение) конструкций |
4.1 Добавление или замена замоноличенных или наружных арматурных стержней 4.2 Добавление арматуры, закрепляемой в заранее сформированных или пробуренных каналах 4.3 Внешнее армирование приклеиванием полос, холстов, сеток 4.4 Добавление бетона или раствора 4.5 Инъектирование в трещины, пустоты или полости 4.6 Заполнение трещин, пустот или полостей 4.7 Установка предварительно напряженной арматуры 4.8 Усиление жесткими или упругими опорами 4.9 Устройство обойм из стального проката 4.10 Усиление заменяющими конструкциями |
|
5 Повышение физической стойкости |
5.1 Покрытие 5.2 Пропитка 5.3 Добавление раствора или бетона |
|
6 Повышение химической стойкости |
6.1 Покрытие 6.2 Пропитка 6.3 Добавление раствора или бетона |
|
7 Сохранение или восстановление пассивного состояния арматуры в бетоне |
7.1 Увеличение защитного слоя за счет дополнительного раствора или бетона 7.2 Замена загрязненного или карбонизированного бетона 7.3 Электрохимическое восстановление щелочности карбонизированного бетона 7.4 Диффузионное восстановление щелочности карбонизированного бетона 7.5 Электрохимическое извлечение хлоридов |
|
8 Повышение электрического сопротивления бетона |
8.1 Гидрофобизирующая пропитка 8.2 Пропитка 8.3 Покрытие |
|
9 Контроль анодных участков |
9.1 Покрытие арматуры слоем активного (пассивирующего) типа 9.2 Покрытие арматуры слоем барьерного (защитного) типа 9.3 Введение в бетон или нанесение на бетон ингибиторов коррозии |
|
* Эти методы могут быть применимы и к другим принципам. | |
6.2 В рамках принципа 1 - защита от проникания в конструкцию агрессивных веществ - следует использовать подход, заключающийся согласно ГОСТ 32016 в снижении или исключении проникания нежелательных реагентов, например воды, других жидкостей, паров, газов, химических или биологических веществ в бетон, которые могут способствовать его разрушению. Типичными неблагоприятными реагентами среды эксплуатации следует считать углекислый газ, хлориды, сульфаты, которые переносятся самостоятельно или в качестве водных растворов.
При выборе метода, реализующего принцип 1 по таблице 3, следует руководствоваться приложением А.
Примечание - Принцип 1 не связывают с химическими веществами, воздействующими на бетон непосредственно у поверхности, например кислотами. Вопросы повышения стойкости к химическим веществам рассматривают в рамках принципа 6.
6.3 В рамках принципа 2 - регулирование влагосодержания в бетоне конструкции - следует использовать подход, заключающийся согласно ГОСТ 32016 в регулировании и поддержании содержания влаги в бетоне в заданном диапазоне значений в целях контроля нежелательных реакций (высыхая, бетон обеспечивает требуемый уровень защиты или замедляет процесс протекания реакции). Данный принцип следует использовать для контроля реакции щелочей с кремнеземом, воздействия хлоридов и сульфатов или повреждений в результате циклов замораживания-оттаивания.
Системы защиты, наносимые на вертикальные и горизонтальные поверхности перекрытий, должны быть проницаемыми для водяных паров и обеспечивать возможность выхода влаги из бетона (на верхние поверхности горизонтальных бетонных элементов, например плит перекрытия автостоянок, могут наноситься непроницаемые системы защиты при наличии хорошей вентиляции нижних поверхностей). Для бетона с аномально высоким содержанием и перемещением влаги нанесение систем защиты, ограничивающих это перемещение, недопустимо.
При выборе метода, реализующего принцип 2 по таблице 3, следует, руководствоваться приложением Б.
Примечание - При контроле коррозии учитывают, что эффект высыхания бетона требует определенного периода времени. Особенно, если бетон имеет высокое содержание влаги, для достаточного снижения скорости коррозии в целях исключения повреждений может пройти несколько месяцев или даже лет. Во время планирования ремонтных мероприятий следует учесть, что в течение некоторого периода времени коррозия продолжится. При распространении коррозии за пределы защитного слоя бетона и наступлении предельных состояний конструкции принятие мер по контролю содержания влаги уже неэффективно, необходимо использовать альтернативные методы, обеспечивающие прекращение коррозии.
6.4 В рамках принципа 3 - восстановление бетона конструкции - следует использовать подход, заключающийся согласно ГОСТ 32016 в восстановлении целостности исходного бетона элемента конструкции до изначальной структуры формы. В определенных условиях допускается частичная или полная замена конструкции равноценной.
Восстановление бетона следует выполнять путем ручного локального ремонта, путем укладки в опалубку подвижной бетонной смеси или строительного раствора или нанесения бетона или строительного раствора методом набрызга (торкретирования), или инъектирования ремонтных составов. Восстановление бетона следует осуществлять для всей площади поверхности или ее части (так называемый локальный ремонт). При выполнении локального ремонта изношенный бетон следует удалить на необходимую глубину. Ремонтируемому участку необходимо придать простую форму, чаще всего, прямоугольную, с подрезкой "старого" бетона под прямым углом. Перед укладкой "нового" бетона требуется обработка подготовленной поверхности "старого" бетона праймерным составом на минеральной или органической основе, который улучшает адгезию контактной зоны.
При выборе метода, реализующего принцип 3 по таблице 3, следует руководствоваться приложением В.
6.5 В рамках принципа 4 - усиление и упрочнение конструкций - следует использовать подход, заключающийся согласно ГОСТ 32016 в увеличении или восстановлении несущей способности элемента бетонной или железобетонной конструкции, с изменением или без изменения расчетной схемы. При использовании принципа 4 необходимо учитывать фактическое техническое состояние конструкции и усилия от нагрузок, возникающих как при производстве работ, так и в процессе эксплуатации. Структуру элемента конструкции следует восстановить до его первоначального состояния перед растрескиванием бетона, например, после воздействия временной нагрузки.
При выборе метода, реализующего принцип 4 по таблице 3, следует руководствоваться приложением Г.
6.6 В рамках принципа 5 - повышение физической стойкости бетона конструкции - следует использовать подход, заключающийся согласно ГОСТ 32016 в повышении стойкости к физико-механическим воздействиям (в частности, абразивному износу и ударным нагрузкам).
При выборе метода, реализующего принцип 5 по таблице 3, следует руководствоваться приложением Д.
6.7 В рамках принципа 6 - повышение химической стойкости бетона конструкции - следует использовать подход, заключающийся согласно ГОСТ 32016 в повышении стойкости к физико-химическим воздействиям. Стойкость бетона к воздействиям окружающей среды следует определять по классам воздействия согласно ГОСТ 26633 и требованиям к конструкциям по ГОСТ 31383 и ГОСТ 12020 для параметра "стойкость к сильному химическому воздействию".
При выборе метода, реализующего принцип 6 по таблице 3, следует руководствоваться приложением Е.
6.8 В рамках принципа 7 - сохранение или восстановление пассивного состояния арматуры в бетоне - следует использовать подход, заключающийся согласно ГОСТ 32016 в создании электрохимических условий, при которых поверхность арматуры поддерживается или возвращается в пассивированное состояние. Принцип 7 следует применять в качестве превентивного метода защиты до начала коррозии или для ремонта уже разрушающейся арматуры.
При выборе метода, реализующего принцип 7 по таблице 3, следует руководствоваться приложением Ж.
6.9 В рамках принципа 8 - повышение электрического сопротивления бетона конструкции - следует использовать подход, заключающийся согласно ГОСТ 32016 в повышении удельного электрического сопротивления бетона до уровня, при котором скорость коррозии арматуры имеет минимальные значения.
При выборе метода, реализующего принцип 8 по таблице 3, следует руководствоваться приложением И.
6.10 В рамках принципа 9 - контроль анодных участков арматуры в бетоне - следует использовать подход, заключающийся согласно ГОСТ 32016 в создании на поверхности арматуры анодных участков с помощью покрытий по арматуре активного (пассивирующего) типа или барьерного (защитного) типа, а также во внесении в ремонтную смесь ингибиторов коррозии или нанесении ингибиторов коррозии на поверхность бетона конструкции с их последующей диффузией на глубину залегания арматуры.
При выборе метода, реализующего принцип 9 по таблице 3, следует руководствоваться приложением К.
7.1 Общие положения
7.1.1 Требования настоящего подраздела распространяются на проектирование и расчет железобетонных конструкций, усиливаемых стальным прокатом, бетоном и железобетоном, композитным материалом. Усиливаемые железобетонные конструкции следует проектировать в соответствии с требованиями СП 16.13330 (при усилении стальным прокатом) и настоящего свода правил.
7.1.2 Расчет усиливаемых конструкций следует производить для двух стадий работы:
а) до включения в работу усиления - на нагрузки, включающие нагрузку от элементов усиления (только для предельных состояний первой группы);
б) после включения в работу элементов усиления - на полные эксплуатационные нагрузки (по предельным состояниям первой и второй групп). Расчет по предельным состояниям второй группы может не производиться, если эксплуатационные нагрузки не увеличиваются, жесткость и трещиностойкость конструкций удовлетворяют требованиям эксплуатации, а усиление является следствием наличия дефектов и повреждений.
7.1.3 Для сильно поврежденных конструкций (при разрушении 50% и более сечения бетона или 50% и более площади сечения рабочей арматуры) элементы усиления следует рассчитывать на полную действующую нагрузку, при этом усиливаемая конструкция в расчете не учитывается.
7.1.4 Площадь поперечного сечения арматуры усиливаемой конструкции следует определять с учетом фактического уменьшения в результате коррозии. Арматура из высокопрочной проволоки в расчетах не учитывается при наличии язвенной или питтинговой (скрытой) коррозии, а также если коррозия вызвана хлоридами.
7.1.5 Нормативные и расчетные сопротивления стальных элементов усилений необходимо назначать в соответствии с СП 16.13330.
Нормативные и расчетные сопротивления бетона и арматуры усиливаемых железобетонных конструкций и элементов усилений следует назначать в соответствии с СП 63.13330 и требованиями настоящего свода правил.
7.1.6 При проектировании усиливаемых конструкций следует, как правило, предусматривать, чтобы нагрузка во время усиления не превышала 65% расчетного значения несущей способности. При сложности или невозможности достижения требуемой степени разгрузки допускается выполнять усиление под большей нагрузкой. В этом случае расчетные характеристики бетона и арматуры усиления следует умножать на коэффициенты условий работы бетона γbr1 = 0,9, арматуры γsr1 = 0,9.
В любом случае степень разгрузки конструкций следует выбирать из условия обеспечения безопасного ведения работ.
7.1.7 При наличии в конструкциях, усиливаемых бетоном или железобетоном, бетона и арматуры разных классов, расположенные в сечении бетон и арматура каждого класса вводятся в расчет по прочности со своим расчетным сопротивлением.
7.1.8 Расчет железобетонных элементов, усиливаемых бетоном, арматурой и железобетоном, следует производить по прочности для сечений, нормальных к продольной оси элемента, наклонных и пространственных (при действии крутящих моментов), а также на местное действие нагрузки (сжатие, продавливание, отрыв) в соответствии с требованиями раздела 7 и с учетом наличия в усиливаемом элементе бетона и арматуры разных классов.
7.1.9 Расчет железобетонных элементов, усиливаемых бетоном, арматурой или железобетоном, следует производить по образованию, раскрытию и закрытию трещин, по деформациям в соответствии с требованиями 7.3 и дополнительным требованиям, связанным с наличием в железобетонном элементе деформаций и напряжении до включения в работу усиления, а также с наличием в усиленном элементе бетона и арматуры разных классов.
7.1.10 Расчет железобетонных элементов, усиливаемых напрягаемой арматурой, не имеющей сцепления с бетоном, следует производить для предельных состояний первой и второй групп в соответствии с требованиями 7.2, 7.3 и дополнительными требованиями, связанными с отсутствием сцепления между арматурой и бетоном.
7.1.11 При расчете конструкций, усиливаемых предварительно напряженными элементами, следует учитывать влияние податливости соединений и обмятие бетона в местах сопряжения на величину потерь предварительного напряжения. Для сопряжений стали с бетоном податливость одного узла при отсутствии экспериментальной проверки может приниматься равной: упор на бетон с раствором - 3 - 4 мм/узел, "карман" с раствором - 1 - 3 мм/узел. При сопряжении стальных элементов с помощью болтов податливость рекомендуется принимать равной 1 мм/узел.
7.1.12 Расчеты железобетонных элементов, усиленных композитным материалом, которые выполняют по первой группе предельных состояний - по прочности сечений, нормальных к продольной оси элемента, по прочности сечений, наклонных к продольной оси элемента, по второй группе предельных состояний - по образованию трещин, по раскрытию трещин, включая проверку полученных результатов расчета по величине предельных расчетных деформаций, следует проводить согласно СП 164.1325800 и настоящему своду правил.
7.2 Расчет по предельным состояниям первой группы
7.2.1 Расчет элементов на действие изгибающего момента
7.2.1.1 Железобетонные изгибаемые элементы, усиливаемые железобетонными обоймами, рубашками и наращиванием, рассчитываются как монолитные с учетом имеющихся дефектов и повреждений.
7.2.1.2 Расчет прочности по нормальным сечениям элементов, состоящих из разного класса бетона, разного класса арматуры, расположенных в разных уровнях поперечного сечения, в общем случае следует выполнять с использованием нелинейной деформационной модели в соответствии с СП 63.13330, учитывая коэффициенты условия работы 7.1.6, а также начальное напряженное состояние конструкции до усиления.
7.2.1.3 Расчет изгибаемых конструкций, усиленных обоймами, рубашками и наращиванием, с двойным армированием в усиливаемой и усиливающей частях сечения, при действии изгибающего момента в плоскости оси симметрии допускается производить в зависимости от соотношения между значениями относительной высоты сжатой зоны бетона ξ, определяемой из соответствующих условий равновесия, и значением относительной высоты сжатой зоны ξR, определяемой по СП 63.13330.
7.2.1.4 Относительную величину сжатой зоны бетона ξ вычисляют по формуле
ξ = x/h0,red, (7.1)
где x - высота сжатой зоны бетона;
h0,red - расстояние от сжатой грани до общего центра тяжести растянутой арматуры усиливаемого элемента и растянутой арматуры усиления.
7.2.1.5 При наличии в сжатой зоне расположен усиливаемого и усиливающего бетон разного класса, при определении ξ и ξR в расчетах следует принимать расчетное сопротивление бетона Rb более низкого класса.
Расстояние от сжатой грани усиливаемого элемента до общего центра тяжести вычисляют по формуле
h0,red = h0 + ared, (7.2)
где h0 - расстояние от сжатой грани усиленного элемента до центра тяжести растянутой арматуры усиливаемого элемента;
ared - расстояние от центра тяжести растянутой арматуры усиливаемого элемента до общего центра тяжести растянутой арматуры усиливаемого элемента и дополнительной арматуры усиления.
7.2.1.6 При различных значениях расчетного сопротивления растянутой и сжатой арматуры усиливаемого элемента Rs и Rsc и арматуры усиления Rs,ad и Rsc,ad положение их от центра тяжести ared определяется с учетом приведенной площади растянутой As,red и сжатой арматуры A's,red:
ared = Rs,adAs,ad(h0,ad - h0)/(RsAs + Rs,adAs,ad); (7.3)
As,red = As + (Rs,ad/Rs)As,ad; (7.4)
A's,red = A'sc + (Rs,ad/Rsc)A'sc,ad, (7.5)
где As и A'sc - площадь растянутой и сжатой арматуры усиливаемого элемента;
As,ad и A'sc,ad - то же, усиливающего элемента;
Rs и Rs,ad - расчетное сопротивление растянутой арматуры усиливаемого и усиливающего элементов;
Rsc и Rsc,ad - то же, сжатой арматуры усиливаемого и усиливающего элементов;
h0,ad - расстояние от сжатой грани усиленного элемента до центра тяжести растянутой арматуры усиливающего элемента.
Относительную высоту сжатой зоны вычисляют по формуле
ξ = (RsAs,red - RscA's,red)/(Rbbh0,red). (7.6)
Расчет прочности изгибаемых элементов проверяют из условия:
M ≤ Mult, (7.7)
где M - изгибающий момент от внешней нагрузки;
Mult - предельный изгибающий момент, который может воспринимать сечение после усиления.
При выполнении условия ξ <ξR предельный момент вычисляют по формуле
Mult = Rb,redbx(h0,red - 0,5x) + RscA's,red(h0,red - a'). (7.8)
7.2.1.7 Приведенное расчетное сопротивление бетона сжатой зоны усиленного элемента Rb,red вычисляют по формуле
Rb,red = (RbAb + Rb,adAb,ad)/(Ab + Ab,ad). (7.9)
Если в результате расчета окажется, что высота сжатой зоны бетона находится только в бетоне усиления, то вместо Rb,red следует принять расчетное сопротивление бетона усиления Rb,ad и уточнить новую высоту сжатой зоны бетона.
Высоту сжатой зоны бетона вычисляют по формуле
x = (RsAs,red - RscA's,red)/(Rb,redb). (7.9а)
В случае когда ξ <ξR, высоту сжатой зоны вычисляют по формуле
x = (σs,adAs,ad + σsAs - RscA's,red)/(Rb,redb), (7.10)
где
; (7.11)
. (7.12)
7.2.1.8 Величину предварительного напряжения σsp и σ'sp в напрягаемой арматуре S и S' следует назначать в соответствии с требованиями СП 63.13330. При этом максимальная величина предварительного напряжения при контролируемом усилии натяжения арматуры не должна превышать: для стержней из мягких сталей - 0,9Rs,ser, для стержней из высокопрочных сталей - 0,7Rs,ser. Предварительное напряжение назначается не менее 0,4Rs,ser.
7.2.1.9 При определении усилий напряжения арматуры необходимо учитывать дополнительные усилия, которые могут возникать из-за разницы температурных условий эксплуатации до усилия и после.
7.2.1.10 Потери предварительного напряжения в затяжках следует определять в соответствии с СП 63.13330 как конструкций с натяжением арматуры на бетон.
Величину предварительного напряжения при усилении следует принимать с коэффициентами условий работы для горизонтальных и шпренгельных затяжек 0,8.
7.2.1.11 При натяжении затяжек путем стягивания парных ветвей величину предварительного напряжения вычисляют в зависимости от тангенса угла наклона ветвей i по формуле
. (7.13)
При этом следует исключать участки с малыми уклонами i <0,01.
7.2.1.12 Усилие в арматуре усиления в предельной стадии следует вычислять по формуле (7.14), но принимать не более расчетного сопротивления арматуры Rsp:
, (7.14)
где
, Eb - модуль упругости бетона усиливаемого элемента;
σsp,ad - величина предварительного напряжения в арматуре усиления с учетом потерь;
μ - коэффициент армирования с учетом существующей арматуры As и арматуры усиления Asp;
l - расстояние между упорами напрягаемой арматуры усиления;
δb - безразмерный коэффициент, вычисляемый по формуле
, (7.15)
где δa - коэффициент, принимаемый равным 820 МПа;
Es,ad - модуль упругости арматуры усиления;
Es,st - модуль упругости канатной арматуры, принимаемый в соответствии с СП 63.13330;
Asp,ad - площадь напрягаемой арматуры усиления;
δsl - коэффициент, учета наличия контакта арматуры, принимаемый равным: при наличии контакта равным 0, при отсутствии - 0,55;
Rs,ser,ad - значение сопротивления арматуры усиливающего элемента, принимаемое в соответствии с СП 63.13330.
7.2.1.13 При определении относительной граничной высоты сжатой зоны бетона ξR напряжение в растянутой арматуре следует принимать большим из значений в арматуре усиливаемого либо усиливающего элемента.
7.2.1.14 Напряжение в арматуре усиливаемого элемента следует принимать равным расчетному сопротивлению арматуры Rs.
7.2.1.15 Расчет прочности нормальных сечений изгибаемых железобетонных конструкций, усиленных композитными материалами, следует проводить из условия
M ≤ MS, (7.15а)
где M - изгибающий момент от внешней нагрузки;
Ms - предельная несущая способность сечения конструкции по изгибающему моменту с учетом композитного материала усиления.
.2.1.16 Высоту сжатой зоны сечения xo следует находить из условия, что статический момент приведенного сечения относительно нейтральной оси равен нулю
Sred = bxo2/2 + αA's(xo – a') - αAs(ho – xo) = 0, (7.15б)
где b - ширина сечения прямоугольного элемента, мм;
α = Es/Eb - отношение модулей упругости арматурной стали и бетона;
As' - площадь поперечного сечения сжатой арматуры, мм2;
As - площадь поперечного сечения растянутой арматуры, мм2;
a' - расстояние от оси, нормальной к плоскости изгиба и проходящей через центр тяжести сечения сжатой арматуры, до внешнего сжатого края сечения элемента, мм;
ho - рабочая (полезная) высота сечения, мм, ho = h - a; h - полная высота сечения, a - расстояние от оси, нормальной к плоскости изгиба и проходящей через центр тяжести сечения растянутой арматуры, до внешнего растянутого края сечения.
7.2.1.17 Момент инерции приведенного сечения Ired следует определять по формуле
Ired = bxo3/3 + αAs(ho – xo)2 + αA's(xo – a')2. (7.15в)
7.2.1.18 Максимальные деформации крайне растянутого волокна бетона следует вычислять по формуле
. (7.15г)
7.2.1.19 Положение нейтральной оси усиленной конструкции следует определять исходя из равенства проекции нормальных сил, действующих в сечении элемента сил, по формуле
Rb·b·x + A's·Es·ε's = As·Rs +Ac·Ec·εc. (7.15д)
7.2.1.20 Несущая способность сечения Ms должна быть больше или равна максимальному изгибающему моменту M, действующему в конструкции от всех внешних сил после приложения новой нагрузки Ms ≥ M, и определяется по формуле
Ms = Rb·b·x(ho – 0,5x) + Es·ε's·A's(ho - a') +Ac·Ec·εc·a, (7.15е)
где Ec - расчетный модуль упругости композитного материала, Н/мм2;
Ac - площадь сечения композитного материала, мм;
- деформация растяжения композиционного материала, здесь εbu - предельная деформация сжатия бетона, h - высота прямоугольного, таврового и двутаврового сечений, x - высота сжатой зоны бетона, εbto - максимальная деформация крайне растянутого волокна бетона;
a - расстояние от композитного материала до растянутой арматуры, мм.
7.2.2 Расчет сжатых элементов, усиленных обоймами
7.2.2.1 Центрально сжатые со случайным эксцентриситетом и внецентренно сжатые железобетонные элементы, усиленные обоймой (наращиванием), следует рассчитывать, как монолитные, при условии обеспечения надежной передачи усилия от вышележащих конструкций и плотного прилегания обоймы к верхнему и нижнему перекрытиям, а также при условии обеспечения требуемой анкеровки продольной арматуры в соответствии с СП 63.13330.
7.2.2.2 При расчете прочности следует учитывать влияние прогиба усиленного элемента, в общем случае, путем расчета элемента по деформированной схеме. Допускается расчет элемента выполнять по недеформированной схеме, путем умножения расчетного эксцентриситета на коэффициент η, вычисляемый согласно пункту 8.1.15 СП 63.13330.2018. При гибкости усиленного элемента l0/h <20 и эксцентриситете продольной силы e0/h <30 расчет прочности усиленных элементов допускается выполнять в соответствии с п. 8.1.16 СП 63.13330.
7.2.2.3 При определении расчетных сопротивлений бетона и арматуры усиливаемого и усиливающего элементов, кроме коэффициентов условий работы по СП 63.13330, следует учитывать следующие коэффициенты:
γbr0 = 1,0, γsr0 = 1,0 - при уровне нагрузки до усиления 65% от предельной несущей способности и менее;
γbr0 = 0,8, γsr0 = 0,8 - при уровне нагрузки до усиления свыше 65%.
7.2.2.4 Расчет по прочности прямоугольных сечений внецентренно сжатых элементов, усиленных обоймами, рубашками и двухсторонним наращиванием, следует проводить из условия
Ne ≤ Rb,redbx(h0,red - 0,5x) + RscA's,red(h0,red - a'), (7.16)
где N - продольная сила;
e - расстояние от точки приложения продольной силы N до оси, параллельной прямой, ограничивающей сжатую зону и проходящей через центр тяжести сечения растянутого стержня, наиболее удаленного от указанной прямой, а при отсутствии растянутой зоны - через центр тяжести наименее сжатого стержня;
x - высота сжатой зоны, вычисляемая по формулам:
при 
x = (N + RsAs,red - RscA's,red)/(Rb,redb); (7.17)
при ξ <ξR
. (7.18)
7.2.2.5 При гибкости усиленного элемента l0/h <20 и эксцентриситете продольной силы e0/h <30 расчет прочности усиленных элементов допускается выполнять в соответствии с 8.1.16 СП 63.13330.
7.2.2.6 Усиление внецентренно сжатых элементов, при эксцентриситете продольной силы e0/h <6, допускается выполнять на локальном участке, в пределах одного этажа либо в зоне конструкции.
При усилении рубашкой или обоймой на локальном участке конструкций высоту обоймы допускается выполнять с заведением за участок усиления не менее:
lan продольной арматуры рубашки;
5t, где t - толщина рубашки;
b - ширина грани или диаметра усиливаемого элемента;
500 мм.
7.2.2.7 Прочность монолитных обойм, работающих на раскалывание, следует вычислять по формуле
Nоб = 1,6AbRbt + 2nkAsRs, (7.19)
где Ab - наименьшая площадь вертикального сечения обоймы с расчетной длиной равной lef;
n - число стержней поперечной арматуры, расположенной в расчетной части обоймы усиления;
k - коэффициент, зависящий от типа поперечного армирования, принимаемый равным: 0,5 - для хомутов, 0,4 - для сеток из отдельных стержней;
As - площадь одного поперечного стержня обоймы усиления;
Rbt - расчетное сопротивление бетона на растяжение, принимаемое в соответствии с классом бетона обоймы по СП 63.13330. При применении бетона класса выше B30 расчетное сопротивление следует принимать как для бетона класса B30;
Rs - расчетное сопротивление поперечной арматуры обоймы принимаемое, в соответствии с классом арматуры по СП 63.13330, но не более 300 МПа.
7.2.2.8 Расчетную длину обоймы усиления рассчитывают по формуле
lef = lloc + 2lan, (7.20)
где lloc - длина локального участка колонны, требующая усиления, принимаемая не менее наибольшего размера стороны сечения колонны;
lan - длина заведения обоймы усиления, принимаемая согласно 7.2.2.6.
7.2.3 Расчет сжатых элементов усиленных стальными распорками
7.2.3.1 При проектировании внецентренно сжатых элементов, усиленных распорками, растянутые ветви не следует учитывать в расчете.
7.2.3.2 Расчет сжатых элементов, усиленных распорками из уголков, следует выполнять в соответствии с СП 16.13330, с учетом коэффициента условия работы γsr=0,9. При этом расчетную длину ветвей распорок следует принимать равной:
- расстоянию между точками упора в бетон - при отсутствии заполнения зазора раствором между усиливаемым элементом и распоркой;
- расстоянию между осями планок - при наличии заполнения зазора, а также натяжения поперечных планок, расстоянию между осями планок.
7.2.3.3 Сжатые элементы при действии до усиления полной нагрузки выполняют с применением предварительно напрягаемых распорок в качестве разгружающих элементов. Разгружающее усилие следует вычислять по формуле
Fν= σspAcb, (7.21)
где σsp - значение предварительного напряжения в распорках, с учетом потерь;
Acb - площадь сечения сжатых распорок.
7.2.4 Расчет на действие поперечных сил и продавливание
7.2.4.1 Расчет прочности железобетонных элементов, усиленных поперечным армированием с начальным предварительным напряжением, следует выполнять как для обычного армирования, без учета предварительного напряжения.
7.2.4.2 Расчет прочности железобетонных элементов, усиленных монолитными рубашками либо обоймами, следует выполнять как монолитных, согласно СП 63.13330.
7.2.4.3 Прочность плит на продавливание, усиленных сквозными шпильками, следует рассчитывать по общим правилам в соответствии с требованиями СП 63.13330 и настоящего свода правил.
7.2.4.4 При усилении поперечным армированием действующее продавливающее усиление до усиления не должно превышать расчетной несущей способности плиты.
7.2.4.5 Количество поперечной арматуры, с учетом арматуры усиления, учитываемое в расчете прочности, следует принимать в диапазоне 0,5Fb,ult ≤ Fsw + Fsw,ad ≤ 0,9Fb,ult.
7.2.5 Расчет сжатых элементов, усиленных композитными материалами
7.2.5.1 Расчет прочности нормальных сечений сжатых элементов железобетонных конструкций, усиленных композитными материалами, следует проводить из условия
N ≤ Ny, (7.22)
где N - сжимающая сила от внешней нагрузки;
Ny - несущая способность сечения сжатой конструкции, усиленной композитным материалом.
7.2.5.2. Прочность на сжатие бетона конструкции Rbo, усиленной обоймой из композитного материала, следует определять по формулам:
Rbo = Rb + βefβfβlσr, (7.23)
Rbo = β1β2σr, (7.24)
где βef коэффициент эффективности охватывающего усиления, для круглой, прямоугольной и эллипсовидной форм колонн βef = 2;
βf - коэффициент, учитывающий форму колонны, для круглых колонн βf = 1, а для остальных форм определяют по формулам, которые будут приведены ниже.
Значения коэффициента βf, зависящего от формы колонны, определяют по следующим зависимостям:
- для прямоугольной колонны
; (7.25)
- для квадратной колонны
; (7.26)
- для эллиптической колонны
, (7.27)
где a - большая полуось эллипса;
βl - коэффициент, учитывающий сплошность усиления колонны по ее длине, для сплошного усиления колонны βl = 1;
β1 - повышающий коэффициент, учитывающий деформирование бетона при трехосном сжатии. Для его определения используют формулу
, (7.28)
здесь σr,max - максимальные радиальные напряжения в бетоне, вызванные обоймой из композитных материалов;
β2 - понижающий коэффициент, учитывающий изменение уровня радиальных напряжений в бетоне в зависимости от формы колонны. Его величину определяют по эмпирической формуле
, (7.29)
для круглых колонн σr,min = σr,min = σr.
7.2.5.3 Полную площадь сечения бетона, не охваченного усилением, следует определять по формуле
, (7.30)
где b' и h' - размеры частей колонн, не охваченных усилением.
7.2.5.4 Полную площадь сечения бетона, в которой достигается максимальная эффективность усиления, охваченного усилением, следует определять по формуле
Aef = Ag – As – Abu – (4 – π)r2. (7.31)
7.2.6 Расчет усиления железобетонных конструкций композитными материалами на действие поперечных сил
7.2.6.1 Расчет железобетонных элементов с поперечной арматурой на действие поперечной силы для обеспечения прочности по наклонной трещине следует выполнять по наиболее опасному наклонному сечению из условия
Q ≤ Qb + Qsw + χQc, (7.32)
где Q - поперечная сила в наклонном сечении с длиной проекции C на продольную ось элемента, определяемая от всех внешних сил, расположенных по одну сторону от рассматриваемого наклонного сечения; при этом учитывают наиболее опасное нагружение в пределах наклонного сечения;
Qb - поперечная сила, воспринимаемая бетоном в наклонном сечении, определяемая по СП 63.13330;
Qsw - поперечная сила, воспринимаемая стальной поперечной арматурой, установленной в наклонном сечении с шагом sw, определяемая по СП 63.13330;
Qc - поперечная сила, воспринимаемая поперечной арматурой из композитных материалов в наклонном сечении;
χ - коэффициент, зависящий от применяемой схемы усиления: при охватывающем по всем четырем сторонам усилении прямоугольной балки χ = 0,95, а при усилении таврового элемента по трем сторонам (U-образное усиление) χ = 0,85.
Поперечную силу, воспринимаемую композитным материалом, следует определять по формуле
, (7.33)
где Ac = 2ntcbc - площадь поперечного сечения композитного материала;
tc - толщина одного слоя композитного материала, определяемая теоретически как частное отношения плотности холста, г/м2, к его плотности, г/м3;
hco - рабочая высота сечения композитного материала, армированного фиброй, обычно равняется ho для прямоугольных элементов и (ho - h'f) для элементов таврового сечения;
s - расстояние между полосами композитного материала по осям по длине элемента;
θ - угол между наклонной трещиной и продольной осью элемента. В общем случае определяется как arctg(ho/c), где c - длина проекции наклонной трещины;
α - угол между главной ориентацией волокон в композитном материале и продольной осью элемента. При армировании вертикальными полосами (наиболее распространенный случай) α = 90º;
Rc = εcqEc - растягивающие напряжения в композитном материале, которые в предельном состоянии прямо пропорциональны расчетным деформациям растяжения εcq при действии поперечной силы и представляют собой расчетное сопротивление композиционного материала растяжению при усилении на действие поперечной силы.
7.3 Расчет конструкций по предельным состояниям второй группы
7.3.1 Расчет по трещиностойкости
7.3.1.1 Расчет усиленных железобетонных конструкций по трещиностойкости следует выполнять по общим правилам в соответствии с СП 63.13330 с учетом начального напряженно-деформированного состояния конструкции до усиления.
7.3.1.2 Расчет по образованию и раскрытию трещин в изгибаемых, внецентренно сжатых и внецентренно растянутых элементах, усиленных обоймами или рубашками из монолитного железобетона, следует выполнять в соответствии с СП 63.13330 для сечений после усиления. При этом, если перед усилением растянутой зоны установкой дополнительной арматуры с обетонированием в усиливаемой конструкции имелись нормальные трещины, момент сопротивления приведенного сечения для крайнего растянутого волокна определяется без учета площади сечения растянутой зоны бетона усиливаемой конструкции.
7.3.1.3 Расчет по образованию трещин, нормальных к продольной оси железобетонных конструкций, усиленных под нагрузкой, рекомендуется выполнять на основе деформационной модели. Внутренние усилия, соответствующие предельным деформациям растяжения крайнего волокна железобетонной конструкции, характеризуют образование нормальных трещин в сечении.
7.3.1.4 Значение предельной ширины раскрытия трещин усиленных элементов следует принимать в зависимости от условий эксплуатации согласно СП 63.13330 и СП 28.13330.
7.3.2 Расчет по образованию и раскрытию трещин
7.3.2.1 Расчет усиленных железобетонных конструкций по прогибам следует выполнять по общим правилам в соответствии с СП 63.13330 с учетом начального деформированного состояния конструкции до усиления.
7.3.2.2 Расчет по деформациям в общем случае следует выполнять с использованием нелинейной деформационной модели, с учетом начальной кривизны железобетонного элемента до усиления на нагрузки, действующие в момент усиления, и кривизны усиленного элемента на дополнительные нагрузки.
7.3.2.3 Усилия в усиляемой конструкции от дополнительных нагрузок при конструкциях с упругими опорами, следует распределять пропорционально их жесткости с учетом возможного образования трещин в упруго-пластической зоне.
7.3.2.4 Деформации железобетонных конструкций, усиленных под нагрузкой с изменением расчетной схемы, определяют суммированием от нагрузки, действующей до усиления, при первоначальной расчетной схеме и от нагрузки, приложенной к конструкции после усиления, при измененной расчетной схеме.
7.3.2.5 Расчет по образованию трещин, усиленных композитными материалами изгибаемых железобетонных элементов, следует проводить из условия
M> Mcrc c, (7.34)
где M - изгибающий момент от внешней нагрузки относительно оси, нормальной к плоскости действия момента и проходящей через центр тяжести приведенного поперечного сечения элемента;
Mcrc c - изгибающий момент, воспринимаемый нормальным сечением элемента в момент образования трещин с учетом композитного материала усиления.
7.3.2.6 Изгибающий момент, воспринимаемый нормальным сечением элемента в момент образования трещин с учетом композитного материала усиления, следует определять по формуле
Mcrc c = Rbt.ser-Wpl, (7.35)
где Rbt.ser - расчетное сопротивление бетона для предельных состояний второй группы;
Wpl - упругопластический момент сопротивления железобетонного сечения по растянутой зоне в предположении, что продольная сила отсутствует.
7.3.2.7 При усилении железобетонного элемента композитным материалом следует определять по формуле
, (7.36)
где Ibo, Iso, I'so, Ic - моменты инерции относительно нейтральной оси площадей сечения бетона сжатой зоны, арматуры обеих зон и композитного материала;
Sbo - статический момент относительно той же оси площади сечения бетона растянутой зоны;
(h - x) - расстояние от центральной оси до края растянутой зоны;
,
. (7.37)
7.3.2.8 Положение нейтральной оси усиленного элемента определяется из условия
, (7.38)
где S'so, S'bo, Sso, Sc - статические моменты относительно нейтральной оси площадей сечения бетона сжатой зоны, арматуры обеих зон и композитного материала;
Abt - площадь сечения бетона растянутой зоны.
7.3.2.9 Ширину раскрытия трещин при наличии композитного материала следует определять по формуле
, (7.39)
где M - максимальный изгибающий момент от эксплуатационных нагрузок, учитываемых при расчете железобетонных конструкций по образованию и раскрытию трещин;
- коэффициент части площади бетона, работающей на растяжение;
Abt - площадь части бетона, работающей на растяжение; принимают меньшее из двух значений Abt = 2,5(h - h0)b или (h - x)b/3;
- суммарный коэффициент армирования сечения железобетонного элемента стальной растянутой арматурой и композитным материалом;
us и uc - периметры стальной арматуры и композитного материала соответственно.
8.1 Общие положения
8.1.1 Контроль качества работ по ремонту и усилению следует проводить по общим правилам СП 48.13330, СП 70.13330 с учетом требований настоящего раздела.
8.1.2 При контроле выполнения работ по ремонту бетона и железобетона следует учитывать:
- размерную, химическую, электрохимическую и физико-механическую совместимость выбранных материалов с основанием;
- технологию нанесения материалов, условия производства работ, условия эксплуатации конструкций и нагружение ремонтной системы;
- обеспечение требуемого состояния основания с точки зрения его чистоты, шероховатости, наличия микротрещин, значительных трещин, прочности на растяжение и сжатие, наличия хлоридов или других загрязняющих веществ, их глубину проникания, глубину карбонизации, содержание влаги, температуру, степень и скорость коррозии арматуры;
- соблюдение заданных свойств поставляемых материалов и систем при нанесении и в отвержденном состоянии с точки зрения выполнения ими защиты и ремонта конструкции;
- наличие требуемых условий хранения и нанесения материалов, включая температуру окружающей среды, влажность и точку росы;
- защиту от ветра, солнца, мороза, атмосферных осадков;
- квалификационный уровень производителей работ;
- мероприятия приемочного контроля, производства работ.
8.2 Гидрофобизирующая обработка и пропитка
8.2.1 Чтобы обеспечить качество гидрофобизирующей обработки и использования пропиток до, во время и после нанесения, выполняются методы контроля, приведенные в таблицах 4 - 6.
8.2.2 В зависимости от предельных условий перед нанесением гидрофобизирующей пропитки требуется проведение исследований ширины трещин и их движения. Кроме того, рекомендуется высверлить цилиндрические образцы (керны) в зонах трещин для определения материалов, которые использовались в ходе предыдущего ремонта трещин. Во время нанесения также следует регулярно проверять внешний вид конструкции, подвергающейся гидрофобизирующей пропитке, для выявления отклонений при нанесении продукта и определения общего уровня расхода.
|
Свойство |
Метод контроля |
Стандарт |
Необходимость |
|
Состояние поверхности основания |
Простукивание молотком |
ГОСТ 28574 |
■ |
|
Чистота основания |
Визуальный осмотр, удаление пыли пылесосом, протиркой влажным материалом и т.д. |
- |
■ |
|
Поверхностная прочность основания |
Определение поверхностной прочности |
ГОСТ 22690 |
♦ |
|
Содержание влаги в поверхности основания |
Метод высушивания, диэлькометрический метод |
ГОСТ 12730.2, ГОСТ 21718 |
♦ |
|
Температура поверхности основания |
Инструментальный метод исследования (термометр, пирометр) |
- |
■ |
|
Глубина карбонизации |
Извлечение образцов бетона, тест на pH |
ГОСТ 31383 |
♦ |
|
Содержание хлоридов |
Извлечение образцов бетона. Химический анализ проб бетона |
ГОСТ 31383, ГОСТ 5382 |
♦ |
|
Свойство |
Метод контроля |
Стандарт |
Необходимость |
|
Температура |
Инструментальный метод исследования (термометр, пирометр) |
- |
■ |
|
Относительная влажность |
Инструментальный метод исследования (гигрометр) |
- |
■ |
|
Дождь |
Визуальный осмотр |
- |
■ |
|
Скорость ветра |
Инструментальный метод исследования (анемометр) |
- |
■ |
|
Точка росы |
Инструментальный метод исследования (термометр, пирометр, гигрометр) |
- |
♦ |
|
Свойство |
Метод контроля |
Стандарт |
Необходимость |
|
Глубина проникания пропиточного состава |
Извлечение образцов бетона и определение смачиваемости |
ГОСТ 31383, 11.3.4.5 и 11.3.4.6 |
♦ |
|
Водопроницаемость |
Бетон с пропиткой по методу "мокрого пятна", трубка Карстена |
ГОСТ 31383 |
■ |
Примечание к таблицам 4 - 6 - Методы контроля качества содержат следующие варианты:
■ - выполняют для всех испытаний;
♦ - осуществляют в зависимости от условий использования материала в соответствии с требованиями стандарта на его изготовление.
8.3 Параметры контроля качества до и после нанесения покрытия
8.3.1 Шероховатость
8.3.1.1 Определяемые параметры шероховатости устанавливают по ГОСТ 2789 при помощи приборов профильного метода [13].
8.3.1.2 Шероховатость поверхности также может определяться согласно нормативно-технической документации так называемым методом "песчаного пятна". Песок насыпается на бетонную поверхность, а затем при помощи деревянного штампа формируется равномерное пятно. После этого при помощи весов определяют расход и рассчитывают шероховатость поверхности.
8.3.2 Температура точки росы
8.3.2.1 Нанесение продукта для ремонта или защиты не допускается, если температура окружающей среды в сухих условиях превышает температуру точки росы менее чем на 3 °C. Температуру точки росы следует определять в зависимости от температуры окружающей среды в сухих условиях и относительной влажности по таблице 7.
8.3.2.2 Температура воздуха должна измеряться при помощи ртутного термометра, отвечающего требованиям ГОСТ 112, или пирометра. Термометр должен иметь требуемую точность ± 0,5 °C. Температура поверхности может измеряться при помощи пирометра с требуемой точностью ± 0,5 °C. Относительная влажность должна измеряться гигрометрами.
|
Температура окружающей среды в сухих условиях |
Температура точки росы (°C) для относительной влажности окружающей среды от 40% до 100% | ||||||
|
40% |
50% |
60% |
70% |
80% |
90% |
100% | |
|
35 |
19,4 |
23,0 |
26,1 |
28,7 |
31,0 |
33,1 |
35 |
|
30 |
15,0 |
18,5 |
21,4 |
23,9 |
26,2 |
28,2 |
30 |
|
25 |
10,5 |
13,9 |
16,7 |
19,6 |
20,1 |
23,2 |
25 |
|
20 |
6,0 |
9,3 |
12,0 |
14,4 |
16,5 |
18,3 |
20 |
|
15 |
1,5 |
4,2 |
7,3 |
9,6 |
11,6 |
13,4 |
15 |
|
10 |
-3,0 |
0,1 |
2,6 |
4,8 |
6,7 |
8,5 |
10 |
|
5 |
-7,0 |
-4,7 |
-2,0 |
0 |
1,9 |
3,5 |
5 |
8.3.3 Толщина свеженанесенного и затвердевшего покрытия
8.3.3.1 Толщину покрытия следует измерять до нанесения и после высыхания по ГОСТ 31993 с помощью микрометров или многооборотных индикаторов с круговой шкалой.
8.3.3.2 Суть метода состоит в том, что проводят измерения по покрытию, затем покрытие удаляют и измерения повторяют.
8.3.3.3 Толщину свеженанесенного покрытия следует измерять как во время, так и после нанесения согласно нормативно-технической документации.
8.3.3.4 В соответствии с ГОСТ 31993 толщину покрытия во время нанесения можно определить либо по общему расходу, либо для невысохшей пленки с использованием гребенчатого шаблона. Вместо гребенчатых шаблонов могут использоваться толщиномеры колесного типа.
8.3.3.5 Толщину затвердевшего покрытия можно измерить на месте путем устройства V-образного надреза и измерения длины видимой поверхности надреза при помощи увеличительного стекла или путем снятия покрытия. Если угол надреза известен, толщину можно вычислить по закону Пифагора. Также в покрытии может проделываться небольшое отверстие для измерения его толщины покрытия при помощи микроскопического нутромера.
8.3.3.6 Допускается снять покрытие на небольшом участке поверхности и измерить толщину микрометром. Кроме толщины покрытия, необходимо выполнить качественную оценку адгезии.
8.3.3.7 Альтернативным методом является высверливание из конструкции небольших цилиндрических образцов (кернов) и определение толщины покрытия в лаборатории с помощью штангенциркуля или микроскопа.
8.3.3.8 Применительно к гидрофобизирующим пропиткам высверливание кернов является единственным надежным методом определения глубины пропитки. Для этого образец раскалывают на две половины, и на поверхности разбрызгивается вода. Гидрофобные зоны останутся более светлыми, поскольку обладают водоотталкивающими свойствами, а негидрофобные зоны приобретут темный цвет в результате водонасыщения.
8.3.3.9 Если необходимо исследовать пленкообразующую систему защиты поверхности, ее толщину можно легко определить по поверхности надреза высверленного образца.
8.3.4 Внешний вид покрытия
8.3.4.1 Внешний вид пленкообразующего покрытия определяется согласно ГОСТ 9.407, в котором различаются следующие дефекты внешнего вида: степень пузырения, степень растрескивания, степень отслаивания, степень сморщивания.
8.3.4.2 Выводы относительно дефекта каждого типа делают на основе эталонных изображений, приведенных в ГОСТ 9.407. Данные изображения также могут использоваться в качестве эталонов при автоматизированном анализе изображений.
8.3.4.3 В рамках данной стандартизированной системы проводится различие между количеством дефектов, размером дефектов и относительными изменениями между двумя разными периодами наблюдений. В таблицах 8 - 10 представлен краткий обзор соответствующих нормированных значений.
|
Нормированное значение |
Количество дефектов |
|
0 |
Видимые дефекты отсутствуют |
|
1 |
Очень небольшое количество дефектов |
|
2 |
Небольшое, но заметное количество дефектов |
|
3 |
Умеренное количество дефектов |
|
4 |
Значительное количество дефектов |
|
5 |
Большое количество дефектов |
|
Нормированное значение |
Размер дефектов |
|
0 |
Невидимы при 10-кратном увеличении |
|
1 |
Видимы только при 10-кратном увеличении |
|
2 |
Едва видимы невооруженным глазом |
|
3 |
Четко видимы невооруженным глазом |
|
4 |
Размер в диапазоне от 0,5 до 5 мм |
|
5 |
Размер более 5 мм |
|
Нормированное значение |
Интенсивность изменений |
|
0 |
Видимые изменения внешнего вида отсутствуют |
|
1 |
Очень незначительные изменения, едва видимые |
|
2 |
Небольшие изменения, хорошо видимые |
|
3 |
Умеренные изменения, очень хорошо видимые |
|
4 |
Сильные и явно видимые изменения |
|
5 |
Очень сильные изменения |
8.3.4.4 В акте осмотра должны быть указаны тип дефекта и дополнительно - классификация согласно ранее указанной системе.
8.3.4.5 Для определения некоторых дефектов внешнего вида приняты:
- степень выветривания - в соответствии с ГОСТ 9.072;
- степень меления с применением фотобумаги - в соответствии с ГОСТ 16976.
8.3.5 Адгезия покрытия
8.3.5.1 Величину адгезии покрытия к основанию следует определять путем количественного анализа методом испытаний на одноосное растяжение или путем качественного анализа методом решетчатого надреза согласно ГОСТ 28574.
8.3.5.2 Контроль методом решетчатого надреза обеспечивает качественный анализ степени адгезии покрытия после выполнения надрезов в виде сетки из не менее шести перпендикулярных линий, обработки поверхности мягкой сухой кистью и последующей оценки адгезии в баллах по классификации, приведенной в таблице 11.
|
Балл |
Описание |
Внешний вид поверхности в зоне надрезов, где произошло отслаивание |
|
1 |
Края надрезов полностью гладкие, нет признаков отслаивания ни в одном квадрате решетки |
|
|
2 |
Незначительное отслаивание покрытия в виде мелких чешуек в местах пересечения линий решетки. Нарушение наблюдается не более чем на 5% поверхности решетки |
|
|
3 |
Частичное или полное отслаивание покрытия вдоль линий надрезов решетки или в местах их пересечения. Нарушение наблюдается не менее чем на 5% и не более чем на 35% поверхности решетки |
|
|
4 |
Полное отслаивание покрытия или частичное, превышающее 35% поверхности решетки |
- |
8.4 Нанесение покрытий
8.4.1 Контроль качества покрытий до, во время и после нанесения следует выполнять согласно требованиям, приведенным в таблицах 12 - 14.
8.4.2 В зависимости от предельных условий использования материалов требуется определение ширины раскрытия трещин. Кроме того, рекомендуется высверлить керны в зонах трещин для определения материалов, которые использовались в ходе предыдущего ремонта трещин. Во время нанесения также рекомендуется регулярно проверять внешний вид покрытия для выявления отклонений при нанесении и определении общего расхода.
|
Свойство |
Метод контроля |
Стандарт |
Необходимость |
|
Состояние поверхности основания |
Простукивание молотком |
ГОСТ 28574 |
■ |
|
Чистота основания |
Визуальный осмотр, удаление пыли пылесосом, протиркой влажным материалом и т.д. |
- |
■ |
|
Ровность поверхности |
Визуальный осмотр, рейка |
- |
■ |
|
Шероховатость |
Визуальный осмотр, измерение профильным методом |
ГОСТ 2789 |
♦ |
|
Поверхностная прочность |
Определение поверхностной прочности |
ГОСТ 22690 |
♦ |
|
Движение трещин |
Механические маяки, измерители или линейные регулируемые дифференциальные датчики-преобразователи |
Приведены в [7] |
□ |
|
Содержание влаги в зоне поверхности |
Метод высушивания, диэлькометрический метод |
ГОСТ 12730.2, ГОСТ 21718 |
♦ |
|
Температура поверхности |
Инструментальный метод исследования (термометр, пирометр) |
- |
■ |
|
Проникание вредных веществ (углекислого газа) |
Диффузионная проницаемость покрытия |
ГОСТ 31383 |
♦ |
|
Свойство |
Метод контроля |
Стандарт |
Необходимость |
|
Температура |
Инструментальный метод исследования (термометр, пирометр) |
- |
■ |
|
Относительная влажность |
Инструментальный метод исследования (гигрометр) |
- |
♦ |
|
Дождь |
Визуальный осмотр |
- |
■ |
|
Скорость ветра |
Инструментальный метод исследования (анемометр) |
- |
■ |
|
Точка росы |
Инструментальный метод исследования (термометр, пирометр, гигрометр) |
- |
♦ |
|
Толщина свеженанесенного покрытия |
Инструментальный метод исследования (измерительный гребень) |
- |
♦ |
|
Свойство |
Метод контроля |
Стандарт |
Необходимость |
|
Толщина затвердевшего покрытия |
Контроль микрометрами |
- |
■ |
|
Внешний вид покрытия |
Визуальный осмотр |
ГОСТ 9.407 |
■ |
|
Водопроницаемость |
Водонепроницаемость бетона с покрытием по мокрому пятну, трубка Карстена |
ГОСТ 31383 |
♦ |
|
Адгезия покрытия |
Метод определения адгезии по силе отрыва; по решетчатым надрезам |
ГОСТ 28574, ГОСТ 15140 |
■ |
Примечание к таблицам 12 - 14 - Методы контроля качества содержат следующие варианты:
■ - выполняют для всех испытаний;
♦ - осуществляют в зависимости от условий использования материала в соответствии с требованиями стандарта на его изготовление;
□ - проводят при наличии особого сочетания нагрузок, температурных воздействий, агрессивных воздействий окружающей среды и пр.
8.5 Заполнение трещин, стыков, пустот или расщелин
8.5.1 Для обеспечения качества при заполнении трещин, стыков, расщелин, пустот или полостей до, во время и после нанесения следует выполнять виды контроля, приведенные в таблицах 15 - 17.
8.5.2 Перед нанесением рекомендуется высверлить цилиндрические образцы (керны) в зонах трещин для определения материалов, которые использовались в ходе предыдущего ремонта трещин. Кроме того, во время нанесения рекомендуется регулярно проверять внешний вид покрытия для выявления отклонений при нанесении покрытия и определения общего уровня расхода.
|
Свойство |
Метод контроля |
Стандарт |
Необходимость |
|
Чистота |
Визуальный осмотр |
- |
♦ |
|
Ширина и глубина трещин |
Ультразвуковые измерения, извлечение кернов, визуальный осмотр |
- |
♦ |
|
Движения трещин |
Механические измерители или линейные регулируемые дифференциальные датчики-преобразователи |
Приведены в [7] |
♦ |
|
Содержание влаги в трещинах и окружающем бетоне |
Метод высушивания, диэлькометрический метод |
ГОСТ 12730.2, ГОСТ 21718 |
♦ |
|
Температура поверхности |
Инструментальный метод исследования (термометр, пирометр) |
- |
♦ |
|
Загрязнение трещин |
Извлечение кернов, химический анализ |
- |
♦ |
|
Свойство |
Метод контроля |
Стандарт |
Необходимость |
|
Температура |
Инструментальный метод исследования (термометр, пирометр) |
- |
■ |
|
Относительная влажность |
Инструментальный метод исследования (гигрометр) |
- |
♦ |
|
Дождь |
Визуальный осмотр |
- |
♦ |
|
Свойство |
Метод контроля |
Стандарт |
Необходимость |
|
Водопроницаемость |
По методу "мокрого пятна", трубка Карстена |
ГОСТ 31383 |
♦ |
|
Качество заполнения трещин |
Извлечение кернов, ультразвуковые измерения |
- |
♦ |
|
Адгезия заполняющего материала к поверхности |
Осмотр высверленных кернов и визуальный осмотр |
- |
□ |
Примечание к таблицам 15 - 17 - Методы контроля качества содержат следующие варианты:
■ - выполняют для всех испытаний;
♦ - осуществляют в зависимости от условий использования материала в соответствии с требованиями стандарта на его изготовление;
□ - проводят при наличии особого сочетания нагрузок, температурных воздействий, агрессивных воздействий окружающей среды и пр.
8.6 Нанесение строительного раствора или бетона
8.6.1 Для обеспечения качества при нанесении строительного раствора или бетона до, во время и после нанесения следует выполнять виды контроля, приведенные в таблицах 18 - 20.
8.6.2 В зависимости от предельных условий требуется определение уровня влаги в бетоне и ширины трещин, а также изучение возможных методов ремонта трещин до нанесения строительного раствора или бетона. После нанесения, кроме указанных выше свойств, необходимо также измерить толщину слоя.
|
Свойство |
Метод контроля |
Стандарт |
Необходимость |
|
Поверхностное нарушение сцепления |
Простукивание молотком |
ГОСТ 28574 |
■ |
|
Чистота |
Визуальный осмотр |
- |
■ |
|
Шероховатость |
Визуальный осмотр, измерение профильным методом |
ГОСТ 2789 |
♦ |
|
Поверхностная прочность |
Определение поверхностной прочности |
ГОСТ 22690 |
♦ |
|
Движения трещин |
Механические измерители или линейные регулируемые дифференциальные датчики-преобразователи |
Приведены в [7] |
□ |
|
Вибрации в конструкции |
Инструментальный метод исследования (акселерометр) |
ГОСТ Р 52892 |
□ |
|
Температура поверхности |
Инструментальный метод исследования (термометр, пирометр) |
- |
■ |
|
Глубина карбонизации |
Извлечение образцов бетона |
ГОСТ 31383 |
□ |
|
Содержание хлоридов |
Извлечение образцов бетона |
ГОСТ 31383, ГОСТ 5382 |
□ |
|
Проникновение вредных веществ |
Извлечение образцов бетона |
ГОСТ 31383 |
□ |
|
Электрическое сопротивление |
Метод Веннера |
- |
□ |
|
Прочность на сжатие |
Извлечение кернов, молоток Шмидта |
ГОСТ 28570, ГОСТ 22690 |
♦ |
|
Свойство |
Метод контроля |
Стандарт |
Необходимость |
|
Температура |
Инструментальный метод исследования (термометр, пирометр) |
- |
■ |
|
Дождь |
Визуальный осмотр |
- |
■ |
|
Консистенция бетонной смеси |
Испытание на осадку конуса, растекаемость |
ГОСТ 10181 |
■ |
|
Консистенция строительного раствора |
Испытание на осадку конуса, растекаемость |
ГОСТ 10181 |
■ |
|
Содержание воздуха |
Нагнетательный бак |
ГОСТ 10181 |
♦ |
|
Толщина бетона и толщина защитного слоя |
Магнитный или радиационный метод |
ГОСТ 22904, ГОСТ 17625 |
■ |
|
Прочность на сжатие |
Испытание образцов, склерометр |
ГОСТ 28570, ГОСТ 22690 |
■ |
|
Свойство |
Метод контроля |
Стандарт |
Необходимость |
|
Поверхностное нарушение сцепления |
Простукивание молотком |
ГОСТ 28574 |
■ |
|
Электрическое сопротивление |
Метод Веннера |
- |
□ |
|
Водопроницаемость |
Водонепроницаемость бетона с покрытием по мокрому пятну, трубка Карстена |
ГОСТ 31383 |
♦ |
|
Защитный слой бетона |
Извлечение кернов, визуальный осмотр, магнитные методы |
ГОСТ 22904, ГОСТ 17625 |
■ |
|
Адгезия основания материала к поверхности |
Осмотр кернов и визуальный осмотр |
- |
■ |
|
Прочность на сжатие |
Образцы-керны, склерометр |
ГОСТ 28570, ГОСТ 22690 |
■ |
|
Плотность |
Метод высушивания, радиоизотопный метод |
ГОСТ 12730.1, ГОСТ 17623 |
■ |
|
Трещины, обусловленные усадкой раствора |
Визуальный осмотр |
- |
■ |
|
Пустоты за материалами локального ремонта |
Ультразвуковые измерения, георадар (GPR), извлечение кернов |
- |
♦ |
|
Цвет и текстура поверхности |
Визуальный осмотр |
- |
♦ |
Примечание к таблицам 18 - 20 - Методы контроля качества содержат следующие варианты:
■ - выполняют для всех испытаний;
♦ - осуществляют в зависимости от условий использования материала в соответствии с требованиями стандарта на его изготовление;
□ - проводят при наличии особого сочетания нагрузок, температурных воздействий, агрессивных воздействий окружающей среды и пр.
8.7 Добавление или замена арматурных стержней
8.7.1 Для обеспечения качества при добавлении или замене арматурных стержней до, во время и после выполнения работ необходимо осуществить методы, приведенные в таблицах 21 - 23.
|
Свойство |
Метод контроля |
Стандарт |
Необходимость |
|
Чистота существующих арматурных стержней |
Визуальный осмотр |
- |
■ |
|
Размеры существующих арматурных стержней |
Визуальный осмотр |
- |
■ |
|
Состояние коррозии существующих арматурных стержней |
Потенциал полуэлемента, визуальный осмотр |
Приведены в [8] |
♦ |
|
Свойство |
Метод контроля |
Стандарт |
Необходимость |
|
Дождь |
Визуальный осмотр |
- |
■ |
|
Положение арматуры |
Визуальный осмотр, магнитные и радиационные методы |
ГОСТ 22904, ГОСТ 17625 |
■ |
|
Свойство |
Метод контроля |
Стандарт |
Необходимость |
|
Положение арматуры |
Визуальный осмотр, магнитные и радиационные методы |
ГОСТ 22904, ГОСТ 17625 |
■ |
|
Адгезия к бетону |
Испытания на выдергивающее усилие |
ГОСТ Р 56731 |
♦ |
Примечание к таблицам 21 - 23 - Методы контроля качества содержат следующие варианты:
■ - выполняют для всех испытаний;
♦ - осуществляют в зависимости от условий использования материала в соответствии с требованиями стандарта на его изготовление.
8.8 Добавление арматуры, заанкерованной в отверстия
8.8.1 Для обеспечения качества при добавлении арматуры, заанкерованной в отверстия, до, во время и после выполнения работ следует осуществить методы контроля, приведенные в таблицах 24 - 26.
|
Свойство |
Метод контроля |
Стандарт |
Необходимость |
|
Чистота |
Визуальный осмотр |
- |
■ |
|
Шероховатость |
Визуальный осмотр, измерение профильным методом |
ГОСТ 2789 |
♦ |
|
Содержание влаги в зоне поверхности |
Метод высушивания, диэлькометрический метод |
ГОСТ 12730.2, ГОСТ 21718 |
♦ |
|
Размеры существующих арматурных стержней |
Визуальный осмотр |
- |
■ |
|
Состояние коррозии существующих арматурных стержней |
Потенциал полуэлемента, визуальный осмотр |
Приведены в [8] |
♦ |
|
Чистота арматурных стержней |
Визуальный осмотр |
- |
■ |
|
Свойство |
Метод контроля |
Стандарт |
Необходимость |
|
Температура |
Инструментальный метод исследования (термометр, пирометр) |
- |
■ |
|
Относительная влажность |
Инструментальный метод исследования (гигрометр) |
- |
■ |
|
Дождь |
Визуальный осмотр |
- |
♦ |
|
Консистенция строительного раствора, используемого для анкеровки арматурных стержней |
Испытание на осадку конуса, растекаемость |
ГОСТ 10181 |
■ |
|
Положение арматуры |
Визуальный осмотр, магнитные и радиационные методы |
ГОСТ 22904, ГОСТ 17625 |
♦ |
|
Свойство |
Метод контроля |
Стандарт |
Необходимость |
|
Положение арматуры |
Визуальный осмотр, магнитные и радиационные методы |
ГОСТ 22904, ГОСТ 17625 |
■ |
|
Адгезия к бетону |
Испытания на выдергивающее усилие |
- |
♦ |
Примечание к таблицам 24 - 26 - Методы контроля качества содержат следующие варианты:
■ - выполняют для всех испытаний;
♦ - осуществляют в зависимости от условий использования материала в соответствии с требованиями стандарта на его изготовление.
8.9 Армирование приклеиваемыми пластинами (ламинатами)
8.9.1 Для обеспечения качества при армировании приклеиваемыми пластинами до, во время и после выполнения работ следует осуществить методы контроля, приведенные в таблицах 27 - 29.
|
Свойство |
Метод контроля |
Стандарт |
Необходимость |
|
Состояние поверхности основания |
Простукивание молотком |
ГОСТ 28574 |
- |
|
Чистота поверхности и приклеиваемых пластин |
Визуальный осмотр, удаление пыли пылесосом, протиркой влажным материалом и т.д. |
- |
- |
|
Ровность поверхности |
Визуальный осмотр, рейка |
- |
- |
|
Шероховатость основания |
Визуальный осмотр, измерение профильным методом |
ГОСТ 2789 |
- |
|
Поверхностная прочность основания |
Определение поверхностной прочности |
ГОСТ 22690 |
- |
|
Движения трещин |
Механические измерители или линейные регулируемые дифференциальные датчики-преобразователи |
Приведены в [7] |
♦ |
|
Вибрации в конструкции |
Инструментальный метод исследования (акселерометр) |
ГОСТ Р 52892 |
♦ |
|
Глубина карбонизации |
Извлечение образцов бетона |
ГОСТ 31383 |
♦ |
|
Содержание влаги в зоне поверхности |
Метод высушивания, диэлькометрический метод |
ГОСТ 12730.2, ГОСТ 21718 |
■ |
|
Температура поверхности |
Инструментальный метод исследования (термометр, пирометр) |
- |
■ |
|
Содержание хлоридов |
Извлечение образцов бетона |
ГОСТ 31383, ГОСТ 5382 |
♦ |
|
Состояние коррозии существующих арматурных стержней |
Потенциал полуэлемента, визуальный осмотр |
Приведены в [8] |
♦ |
|
Прочность на сжатие |
Извлечение кернов, склерометр |
ГОСТ 28570, ГОСТ 22690 |
♦ |
|
Свойство |
Метод контроля |
Стандарт |
Необходимость |
|
Температура |
Инструментальный метод исследования (термометр, пирометр) |
- |
■ |
|
Относительная влажность |
Инструментальный метод исследования (гигрометр) |
- |
■ |
|
Дождь |
Визуальный осмотр |
- |
■ |
|
Точка росы |
Термометр, пирометр, гигрометр |
- |
■ |
|
Свойство |
Метод контроля |
Стандарт |
Необходимость |
|
Толщина покрытия, нанесенного на приклеиваемые панели |
Контроль микрометрами, общий уровень расхода |
- |
♦ |
|
Пустоты между поверхностью и приклеиваемой пластиной |
Ударный эхо-метод, простукивание молотком, ультразвуковые измерения |
ГОСТ 28574 |
■ |
|
Несущая способность |
Испытания под нагрузкой |
- |
♦ |
Примечание к таблицам 27 - 29 - Методы контроля качества содержат следующие варианты:
■ - выполняют для всех испытаний;
♦ - осуществляют в зависимости от условий использования материала в соответствии с требованиями стандарта на его изготовление.
8.10 Нанесение покрытия на арматуру
8.10.1 Если на арматуру наносится покрытие, для обеспечения качества его нанесения до, во время и после выполнения работ следует осуществить методы контроля, приведенные в таблицах 30 - 32.
|
Свойство |
Метод контроля |
Стандарт |
Необходимость |
|
Чистота |
Визуальный осмотр, удаление пыли пылесосом, протиркой влажным материалом и т.д. |
- |
■ |
|
Вибрации в конструкции |
Инструментальный метод исследования (акселерометр) |
ГОСТ Р 52892 |
♦ |
|
Температура поверхности |
Инструментальный метод исследования (термометр, пирометр) |
- |
■ |
|
Свойство |
Метод контроля |
Стандарт |
Необходимость |
|
Температура |
Инструментальный метод исследования (термометр, пирометр) |
- |
■ |
|
Относительная влажность |
Инструментальный метод исследования (гигрометр) |
- |
■ |
|
Дождь |
Визуальный осмотр |
- |
■ |
|
Точка росы |
Инструментальный метод исследования (термометр, пирометр, гигрометр) |
- |
♦ |
|
Свойство |
Метод контроля |
Стандарт |
Необходимость |
|
Толщина затвердевшего покрытия |
Контроль микрометрами, общий уровень расхода |
- |
♦ |
|
Внешний вид покрытия |
Визуальный осмотр |
- |
■ |
Примечание к таблицам 30 - 32 - Методы контроля качества содержат следующие варианты:
■ - выполняют для всех испытаний;
♦ - осуществляют в зависимости от условий использования материала в соответствии с требованиями стандарта на его изготовление.
9.1 Для обеспечения техники безопасности при выполнении работ по ремонту и усилению в соответствии с требованиями ГОСТ 12.3.002, [5], [6], следует:
- осуществлять производственный контроль соблюдения норм и правил (санитарных, строительных и т.д.) при производстве ремонтных работ в соответствии с СП 1.1.1058;
- предусматривать на рабочих местах воздухообмен, обеспечивающий содержание вредных химических веществ в воздухе рабочей зоны в концентрациях, не превышающих предельно допустимых значений СанПиН 1.2.3685;
- выполнять все работы в специальной одежде и применять средства индивидуальной защиты рук, органов зрения, дыхания и слуха в соответствии с характером выполняемых ремонтных работ;
- применять ручной электро- и пневмоинструмент/оборудование, с параметрами производственного шума и вибрации, не превышающими предельно допустимые уровни СанПиН 1.2.3685; соблюдать режимы труда и отдыха работников при использовании виброопасного инструмента;
- приступать к работам по наряду-допуску;
- выполнять работы в условиях достаточной освещенности, при включенном рабочем и аварийном освещении;
- знать местонахождение ближайшего и других аварийных выходов;
- хранить на рабочем месте материалы в количестве сменной нормы, не загромождая при этом проходы;
- проводить ремонтные работы в строгом соответствии с требованиями, предусмотренными инструкциями по охране труда для рабочей специальности.
9.2 Исключен с 29.12.2023. - Изменение N 1
9.3 Сбор и утилизация отходов материалов при производстве работ по ремонту и усилению должны осуществляться с учетом класса опасности в соответствии с СанПиН 2.1.3684.
9.4 Исключен с 29.12.2023. - Изменение N
Приложение А
А.1 Метод 1.1 - Гидрофобизирующая пропитка
А.1.1 Гидрофобизирующую пропитку применяют для исключения проникания в бетон водных растворов вредных веществ. На рисунке А.1 схематично показан процесс нанесения гидрофобизирующего состава согласно данному методу.

Рисунок А.1 - Схематичное изображение метода 1.1 до и после применения
А.1.2 Метод 1.1 обеспечивает получение водоотталкивающей поверхности бетона с низким уровнем водопоглощения путем нанесения гидрофобизирующего состава.
А.1.3 Типичными областями применения метода 1.1 являются вертикальные поверхности, например наклонные фасады, не испытывающие длительного воздействия воды под давлением, поверхности, сохранение и поддержание декоративного вида бетона.
А.1.4 При проектировании ремонта по методу 1.1 учитывают возможное воздействие воды, ограниченное движение трещин, срок службы конструкции и т.д.
А.1.5 При выполнении работ обеспечивают тщательную подготовку поверхности бетона. Поверхность бетона должна быть достаточно сухой, чтобы обеспечить проникание в бетон гидрофобизирующего состава на глубину до 6 мм и контролировать гидрофобность основания.
А.1.6 При контроле долговечности системы защиты проводят регулярные осмотры и испытания на смачиваемость обработанной поверхности бетона.
А.1.7 Дополняющие методы: как правило, метод 1.5, а также методы 3.1 - 3.3.
А.1.8 Номенклатуру, значения и методы определения показателей свойств материалов и показателей эксплуатационных качеств образуемых систем методом 1.1 принимают по ГОСТ 32017.
А.2 Метод 1.2 - Пропитка
А.2.1 Для заполнения пор бетона в поверхностной зоне конструкции и исключения переноса жидкостей или газов через эту зону производят пропитку бетона. Кроме заполнения пор в бетоне, на поверхности дополнительно образуется тонкая, но не сплошная пленка из материала, использованного для пропитки. На рисунке А.2 схематично показан процесс нанесения пропиточного состава согласно данному методу.

Рисунок А.2 - Схематичное изображение метода 1.2 до и после применения
А.2.2 Пропитка обеспечивает уплотнение (блокирование) пор у поверхности бетона.
А.2.3 Типичными областями применения пропитки являются полы и горизонтальные поверхности.
А.2.4 При проектировании защиты учитывают характер раскрытия существующих трещин и возможность образования новых.
А.2.5 При выполнении работ необходимо:
- выполнять тщательную подготовку поверхности;
- осуществлять просушку поверхности;
- контролировать глубину проникания пропитывающего состава и толщину образуемой пленки на поверхности бетона.
А.2.6 Данный метод - в зависимости от интенсивности эксплуатационных воздействий - обладает долговечностью.
А.2.7 Дополняющие методы: если требуется, методы 1.5 и 3.1 или 3.2.
А.2.8 Номенклатуру, значения и методы определения показателей свойств материалов и показателей эксплуатационных качеств образуемых систем методом 1.2 принимают по ГОСТ 32017.
А.3 Метод 1.3 - Нанесение покрытия
А.3.1 Метод нанесения покрытия на бетон используют в основном для защиты и ремонта. В качестве покрытия возможно применение различных красок, полимерных и минеральных составов, отвечающих необходимым требованиям для перекрытия трещин. Метод 1.3 используют для защиты бетона от проникания вредных реагентов и повышения износостойкости основания. Долговечность покрытий зависит от свойств материалов, из которых они изготовлены. Без дополнительного армирования перекрывают трещины с раскрытием до 0,5 мм. На рисунке А.3 схематично показано применение данного метода.

Рисунок А.3 - Схематичное изображение метода 1.3 до и после применения
А.3.2 В результате применения метода 1.3 образуются покрытия, препятствующие прониканию в бетон вредных реагентов. Эти покрытия повышают физическую, химическую и биологическую стойкость основания.
А.3.3 Типичными областями применения метода 1.3 являются бетонные конструкции, не испытывающие негативного давления воды (паронепроницаемые покрытия).
А.3.4 При производстве работ с использованием указанного метода необходимо:
- осуществлять тщательную подготовку поверхности;
- контролировать требуемый уровень влажности поверхности и ее температуру;
- обеспечивать минимальную толщину покрытия;
- учитывать возможные температурные деформации.
А.3.5 При производстве работ контролируют следующие показатели эксплуатационных качеств: паропроницаемость, адгезию к бетону, толщину покрытия. Адгезия на горизонтальных плоскостях более 2 Н/мм2 для составов на полимерной основе и более 1,5 Н/мм2 для составов на цементной основе.
А.3.6 Качество выполнения работ определяют по результатам проведения осмотров и контролю адгезии контактной зоны покрытия с основанием.
А.3.7 Дополняющие методы: метод 1.5, а также методы 3.1 - 3.3.
А.3.8 Номенклатуру, значения и методы определения показателей свойств материалов и показателей эксплуатационных качеств образуемых систем методом 1.3 принимают по ГОСТ 32017.
А.4 Метод 1.4 - Бандаж устья трещин
А.4.1 Метод 1.4 применяют для предотвращения проникания агрессивных веществ в трещины в бетоне. На трещину накладывается жесткий или эластичный поверхностный бандаж, обеспечивающий ее перекрытие. Порядок создания бандажа согласно методу 1.4 схематично показан на рисунке А.4.

Рисунок А.4 - Схематичное изображение метода 1.4 до и после устройства бандажа
А.4.2 Адгезионные характеристики материала бандажа, его толщина и ширина определяются выбором материала с учетом ширины трещины, влажности, эксплуатационных требований и пр.
А.4.3 Типичными областями применения метода 1.4 являются одиночные трещины или трещины с небольшими перемещениями, в том числе подвергающиеся инъекционному заполнению с использованием как поверхностных инъекторов, так и глубинных пакеров.
А.4.4 При проектировании ремонта с учетом метода 1.4 на период постоянной эксплуатации необходимо указывать ожидаемые параметры движения трещин и т.д.
А.4.5 Требования к материалам и системам метода 1.4: способность длительно обеспечить перекрытие трещин 0,3 мм без дополнительного армирования; стойкость к механическим воздействиям и способность длительно обеспечить перекрытие трещин 0,5 мм с дополнительным армированием; при использовании пластырей для инъекционных работ - обеспечение герметизации и крепление поверхностных инъекторов.
А.4.6 При производстве работ необходимо:
- выполнять тщательную подготовку поверхности с учетом заданной очередности слоев, нанесения материала бандажа;
- контролировать следующие параметры: адгезию к бетону, толщину и ширину бандажа, значения перемещения трещин.
А.4.7 Для контроля качества и обеспечения долговечности необходимо осуществлять регулярное проведение осмотров и осуществление тестирующих мероприятий.
А.4.8 Дополняющие методы: метод 3.1 для локальных дефектов в бетоне.
А.5 Метод 1.5 - Заполнение трещин, полостей, деформационных швов
А.5.1 Метод 1.5 представляет собой альтернативу методам 1.4 и 1.6 и используется для исключения проникания вредных реагентов в трещины в бетоне. Трещины заполняются подходящим инъекционным материалом, который обеспечивает их герметичность и монолитность конструкции. Использование данного метода схематично показано на рисунке А.5.

Рисунок А.5 - Схематичное изображение метода 1.5 до и после заполнения трещины
А.5.2 Метод 1.5 реализуется заполнением трещин с помощью инъекции, под действием гравитации и капиллярного впитывания уплотняющего состава определенной вязкости. В отдельных случаях метод 1.5 может быть использован совместно с методом 1.4.
А.5.3 Типичными областями применения метода 1.5 являются все типы трещин в бетонных и железобетонных конструкциях.
А.5.4 При проектировании на постоянную эксплуатацию метод 1.5 используют только при ограниченном раскрытии трещин.
А.5.5 При производстве работ следует:
- максимально полно заполнять трещины;
- контролировать качество работ путем высверливания цилиндрических образцов для проверки степени заполнения трещины или с помощью щупа в отверстиях, пробуренных вкрест простирания трещины. Возможно использование специальных оптических систем, термографии, ультразвуковой томографии и т.п.
А.5.6 Для контроля качества обеспечения долговечности следует проводить регулярные осмотры, учитывая режим эксплуатации конструкции.
А.5.7 Дополняющие методы: используется в сочетании с методами 4.5 и 4.6.
А.5.8 Номенклатуру, значения и методы определения показателей свойств материалов и показателей эксплуатационных качеств образуемых систем методом 1.5 принимают по ГОСТ 33762.
А.5а Метод 1.5а - Метод уплотнения деформационных швов
А.5а.1 Представляет собой альтернативу методам 1.4, 1.5, 1.6 и используется для исключения проникновения вредных реагентов и воды в сооружение. Использование данного метода схематично показано на рисунке А.5а.

1 - уплотнительный самоклеящийся профиль из этилен-пропилен-диенового каучука по ГОСТ ISO 4097, D = 1,4h - 1,5h, твердостью по Шору A 35 - 40; 2 - деформационный шов; 3 - раствор для герметизации полости шва на акрилатной или полиуретановой основах; 4 – винтовой игольчатый инъектор для подачи раствора; 5 – отверстие для подачи раствора; 6 - бетон; D - диаметр уплотнительного профиля; h - расстояние между швами или размерами конструкций
Рисунок А.5а - Схематическое изображение метода А.5а, используемое для уплотнения по ГОСТ 33762 (АГ, КГ) зазора деформационного шва
А.5а.2 Долговечность получаемой конструкции зависит от упругих свойств материалов системы (шнуры, инъекционный раствор), качества работ, перепада температур и пр.
А.5а.3 Типичными областями применения метода 1.5а являются деформационные швы тоннельных сооружений, подпорных стен, гидротехнических сооружений и пр.
А.5а.4 Требования к материалам и системе: нормы, определяющие выбор и использование материалов для системы уплотнения деформационных швов, с учетом расчета их деформаций (расширение - сжатие).
А.5а.5 Уплотнительный профиль должен обеспечивать герметичность зазора шва при изменениях температур бетонных конструкций с учетом времени его установки и выполнения инъекционных работ.
А.5а.6 Диаметр уплотнительного профиля D должен быть не менее 1,4 - 1,5 ширины раскрытия дефекта шва h.
А.5а.7 При производстве работ по уплотнению шва следует руководствоваться значением зазора и расстоянием между швами или размерами конструкций.
А.5а.8 Для обеспечения долговечности шва требуются регулярные осмотры конструкций с учетом изменения времени и условий эксплуатации.
А.6 Метод 1.6 - Преобразование трещин в швы
А.6.1 Метод 1.6 применяется в дополнение к методам 1.4 и 1.5. Это третий альтернативный вариант уплотнения трещин в целях исключения проникания агрессивных веществ или воды. Трещину расширяют, например при помощи отрезной машинки, и заполняют уплотняющим составом с использованием распространенных методик герметизации швов. Данный метод схематично показан на рисунке А.6.

Рисунок А.6 - Схематичное изображение метода 1.6 после преобразования трещины в шов
А.6.2 Долговечность получаемой конструкции зависит от упругих свойств герметика, перепада температур, качества работ и пр.
А.6.3 Типичными областями применения метода 1.6 являются одиночные трещины или трещины со значительным раскрытием. Возможно использовать этот метод при ремонте конструкций, подверженных разрушению при взаимодействии щелочи в бетоне с кремнеземом заполнителя.
А.6.4 При проектировании данного метода следует оценить последствия для конструкции возможное расширение трещины.
А.6.5 Требования к материалам и системе: нормы, регулирующие выбор и использование материалов для системы уплотнения швов, с учетом расчета их деформаций (расширение - смыкание).
А.6.6 В процессе выполнения работ по заполнению шва герметиком контролируется заданная очередность слоев, толщина и адгезия герметика к обеим сторонам трещины в бетоне, учитывается время обустройства шва, которое связано с раскрытием и деформацией конструкций под воздействием действующих сил и температур. При других технических решениях - использование компрессионных уплотнений, эластичных лент и др., контролируются раскрытие шва и качество зоны контакта материалов с основанием.
А.6.7 Для обеспечения долговечности шва требуются регулярные осмотры и техническое обслуживание бетонной и железобетонной конструкции, с учетом изменения временных условий эксплуатации.
А.6.8 Дополняющие методы: метод 3.1 для ремонта локальных участков в бетоне.
А.7 Метод 1.7 - Установка наружной облицовки
А.7.1 Метод 1.7 представляет собой защиту от агрессивных веществ путем устройства внешних экранов. Данный метод возможно использовать для всех типов бетонных поверхностей, но наиболее предпочтителен - для вертикальных. Использование данного метода схематично показано на рисунке А.7.

Рисунок А.7 - Схематичное изображение метода 1.7 до и после установки наружной облицовки
А.7.2 Типичной областью применения метода 1.7 являются бетонные конструкции, контактирующие с агрессивными веществами.
А.7.3 При проектировании данного метода следует учесть дополнительные нагрузки и провести поверочные расчеты конструкции.
А.7.4 При выполнении работ необходимо контролировать герметичность и устойчивость созданной облицовки.
А.7.5 Для обеспечения долговечности метода 1.7 требуется проведение периодических осмотров на предмет затекания воды с агрессивными веществами за облицовку.
А.7.6 Дополняющие методы: метод 1.5, а также методы 3.1 - 3.3.
А.8 Метод 1.8 - Устройство мембран
А.8.1 Назначением метода 1.8 является защита бетона от проникания агрессивных веществ путем устройства мембран. В отличие от облицовки, предусмотренной в методе 1.7, мембраны не являются твердыми и жесткими, а обеспечивают эластичность и пластичность, аналогичную различным битумным и битумно-полимерным материалам. Установка мембран согласно методу 1.8 схематично показана на рисунке А.8.

Рисунок А.8 - Схематичное изображение метода 1.8 до и после устройства мембраны
А.8.2 Метод 1.8 заключается в установке на бетонную поверхность мембраны, исключающей проникание агрессивных веществ.
А.8.3 Типичной областью применения метода 1.8 являются все типы бетонных поверхностей, не испытывающие негативное давление воды и ее паров.
А.8.4 При проектировании данного метода требуется учитывать раскрытие трещин, технические решения для стыков, защитных слоев и т.д.
А.8.5 При производстве работ необходимо:
- осуществлять тщательную подготовку поверхности;
- оценивать уровень влажности поверхности бетона;
- обеспечить минимально необходимую толщину, мембраны и защитного слоя;
- контролировать адгезию мембраны к бетону, толщину мембраны, качество защитного слоя и т.п.
А.8.6 Долговечность мембраны необходимо обеспечивать с учетом интенсивности воздействия на нее окружающей среды.
А.8.7 Дополняющие методы: методы 3.1 - 3.3 для дефектов в бетоне; метод 1.5; для некоторых систем - метод 1.2 - пропитка, перед устройством мембраны.
Приложение Б
Б.1 Метод 2.1 - Гидрофобизирующая пропитка
Б.1.1 Контроль содержания влаги обеспечивают гидрофобизирующей пропиткой. Для использования данного метода важно исключить проникание воды и дать бетону просохнуть путем испарения через гидрофобный слой, как это схематично показано на рисунке Б.1.

Рисунок Б.1 - Схематичное изображение метода 2.1 до и после применения гидрофобизирующей пропитки
Б.1.2 Метод 2.1 обеспечивает снижение скорости коррозии в бетоне путем высушивания его структуры.
Б.1.3 Типичными областями применения метода 2.1 являются защита бетона от коррозии в результате реакции щелочей с кремнеземом, защита от воздействия сульфатов или защита от повреждений в результате циклов замораживание/оттаивание на раннем этапе.
Б.1.4 При проектировании ремонта по методу 2.1 учитывают время на высыхание бетона. Коррозия после гидрофобизирующей обработки продолжится и будет постепенно замедляться.
Б.1.5 В процессе производства работ следует:
- осуществлять тщательную подготовку поверхности;
- выполнить просушку поверхности бетона;
- обеспечить большую глубину проникания пропитки;
- контролировать глубину проникания пропитки, гидрофобность поверхности основания.
Б.1.6 При контроле долговечности системы защиты проводят регулярные осмотры и испытания на смачиваемость обработанной поверхности бетона.
Б.1.7 Дополняющие методы: как правило, метод 1.5, а также методы 3.1 - 3.3.
Б.1.8 Номенклатуру, значения и методы определения показателей свойств материалов и показателей эксплуатационных качеств образуемых систем методом 2.1 принимают по ГОСТ 32017.
Б.2 Метод 2.2 - Пропитка
Б.2.1 Контроль содержания влаги обеспечивают путем обработки бетона пропиткой, которая заполняет поры в зоне поверхности бетона. В качестве подготовки бетонной поверхности, если потребуется, необходимо выполнить восстановление бетона, как это показано на рисунке Б.2, а если есть трещины, то произвести их ремонт.

Рисунок Б.2 - Схематичное изображение метода 2.2 до и после применения пропитки
Б.2.2 Метод 2.2 обеспечивает уплотнение пор в поверхностном слое бетона для уменьшения проникания воды и скорости коррозии бетона.
Б.2.3 Типичными областями применения метода 2.2 являются полы и другие горизонтальные поверхности.
Б.2.4 При проектировании ремонта по методу 2.2 учитывают отсутствие защиты при раскрытии существующих трещин или образовании новых. По мере просушки бетона скорость коррозии будет постепенно снижаться.
Б.2.5 В процессе производства работ следует:
- осуществлять тщательную подготовку поверхности;
- обеспечивать просушку поверхности бетона;
- контролировать глубину проникания пропитки, толщину полученной пленки.
Б.2.6 Метод обеспечивает высокую степень долговечности в зависимости от интенсивности эксплуатационного воздействия на конструкцию.
Б.2.7 Дополняющие методы: если потребуется, методы 1.5 и 3.1 или 3.2.
Б.2.8 Номенклатуру, значения и методы определения показателей свойств материалов и показателей эксплуатационных качеств образуемых систем методом 2.2 принимают по ГОСТ 32017.
Б.3 Метод 2.3 - Покрытие
Б.3.1 Системы покрытий следует использовать для контроля содержания влаги. На рисунке Б.3 схематично показано применение данного метода. При необходимости выполняется подготовка бетонной поверхности, восстановление бетона и заполнение трещин. По сравнению с методами 2.1 и 2.2 преимущество заключается в наличии покрытий, способных обеспечить перекрытие трещин. Для контроля содержания влаги покрытия должны быть непроницаемы для воды снаружи и открыты для испарения водяных паров из бетона.
![]()

Рисунок Б.3 - Схематичное изображение метода 2.3 до и после устройства покрытия
Б.3.2 Типичными областями применения является коррозия в бетоне в результате реакции щелочей с кремнеземом, воздействия сульфатов или повреждений в результате циклов замораживание/оттаивание на раннем этапе.
Б.3.3 В процессе производства работ следует:
- осуществлять тщательную подготовку поверхности;
- обеспечивать требуемый уровень влажности поверхности бетона;
- выдерживать минимально возможную толщину покрытия;
- контролировать адгезию к бетону, толщину покрытия, усадку.
Б.3.4 Для обеспечения долговечности необходимо проведение осмотров конструкции с учетом режима эксплуатации.
Б.3.5 Дополняющие методы: метод 1.5, а также методы с 3.1 по 3.3.
Б.3.6 Номенклатуру, значения и методы определения показателей свойств материалов и показателей эксплуатационных качеств образуемых систем методом 2.3 принимают по ГОСТ 32017.
Б.4 Метод 2.4 - Установка наружной облицовки
Б.4.1 Наружная облицовка из панелей, устанавливаемая перед бетонной поверхностью, применяется для снижения содержания воды в бетоне. Состав конструкции наружной облицовки подобен методу 1.7, однако применительно к методу 2.4 дополнительным важным условием является обеспечение возможности испарения воды из бетона через зазор между панелями и конструкцией и швы между панелями, как схематично показано на рисунке Б.4.
![]()

Рисунок Б.4 - Схематичное изображение метода 2.4 до и после установки наружной облицовки
Б.4.2 Типичными областями применения метода 2.4 является защита бетона от коррозии в результате реакции щелочей с кремнеземом, воздействия сульфатов или повреждений в результате циклов замораживание/оттаивание на раннем этапе, метод предпочтителен для вертикальных и наклонных поверхностей.
Б.4.3 При проектировании ремонта по методу 2.4 следует учитывать дополнительные нагрузки и технические решения для крепления панелей.
Б.4.4 В процессе производства работ следует:
- руководствоваться составом конструкторской документации согласно утвержденным спецификациям;
- контролировать качество защиты от внешнего воздействия агрессивных веществ и возможность испарения влаги из конструкции.
Б.4.5 Для обеспечения долговечности нужно проведение осмотров для исключения затекания воды и наличие проветривания зазора между облицовкой и конструкцией.
Б.4.6 В том случае, если со стороны конструкции поступает большое количество воды и влаги, зазор между облицовкой и конструкцией может быть заполнен с помощью инъекции минеральными или органическими составами (цементными растворами, полиуретанами, гель-акрилами и пр.).
Б.4.7 Дополняющие методы: метод 1.5, а также методы 3.1 - 3.3.
Приложение В
В.1 Метод 3.1 - Нанесение вручную растворной смеси
В.1.1 Восстановление бетона при помощи нанесения раствора вручную следует применять для ремонта относительно небольших участков, используя жесткие ремонтные смеси на цементной или полимерной основе. Для участков большей площади более обоснованным с технической и экономической точек зрения способом ремонта является повторная отливка согласно методу 3.2 или использование торкретраствора или набрызг-бетона согласно методу 3.3. Целью данного метода является замена бетона плохого качества новым строительным раствором или бетоном, без усиления конструкции.
В.1.2 Метод 3.1 необходимо применять для замены дефектного бетона ремонтным составом или бетоном вручную (рисунок В.1).

1 - утрамбованный слоями ремонтный раствор; 2 – деревянная трамбовка; 3 - опалубка; 4 - анкерное крепление; 5 - направление формирования конструкции
Рисунок В.1 - Укладка ремонтного состава в опалубку вручную с помощью трамбовки
В.1.3 Типичными областями применения метода 3.1 являются все типы бетонных поверхностей, в том числе имеющих сложную форму.
В.1.4 При проектировании ремонта по методу 3.1 следует учитывать требования к внешнему виду восстанавливаемой конструкции.
В.1.5 В процессе производства работ следует:
- выполнять подготовку поверхности бетона и арматуры;
- контролировать консистенцию ремонтного состава;
- обеспечивать полное удаление дефектного бетона;
- осуществлять визуальный контроль восстанавливаемой поверхности.
В.1.6 Дополняющие методы: метод 3.1 часто необходимо применять перед использованием других методов.
В.1.7 Номенклатуру, значения и методы определения показателей свойств материалов и показателей эксплуатационных качеств образуемых систем методом 3.1 принимают по ГОСТ Р 56378.
В.2 Метод 3.2 - укладка (заливка) бетонной смеси
В.2.1 Укладку (заливку) бетонной смеси в зонах дефектных участков при помощи бетона или ремонтного состава следует использовать как альтернативу нанесению бетона или раствора вручную или набрызгом (торкретированием). Для метода 3.2 предъявляются требования как для новой бетонной конструкции. При выполнении работ необходимо учитывать совместимость существующего бетона и возможность передачи усилий через контактную зону между "старым" и "новым" бетоном. Укладку "нового" бетона можно осуществлять по свежеуложенному праймерному составу (рисунок В.2).

Рисунок В.2 - Укладка (заливка) бетонной смеси дефектных участков
В.2.2 Укладка (заливка) бетонной смеси по методу 3.2 применяется для замены дефектного бетона.
В.2.3 Типичными областями применения являются все типы бетонных поверхностей, за исключением нижних поверхностей плит перекрытия, когда невозможна подача бетона или растворной смеси через плиту сверху с подпрессовкой.
В.2.4 В процессе производства работ следует:
- осуществлять подготовку поверхности бетона и арматуры;
- выполнять полное удаление дефектного бетона;
- осуществлять визуальный контроль укладки и контроль адгезии.
В.2.5 Дополняющие методы: метод 1.8 (горизонтальная поверхность) или метод 1.3; метод 8.3 (вертикальная поверхность) или другие, например методы 1.1, 5.1, 6.1 и 8.1.
В.2.6 Номенклатуру, значения и методы определения показателей свойств материалов и показателей эксплуатационных качеств образуемых систем методом 3.2 принимают по ГОСТ Р 56378.
В.3 Метод 3.3 - Набрызг (торкретирование) бетонной или растворной смеси
В.3.1 Нанесение бетона или раствора набрызгом (торкретированием) является эффективным методом для вертикальных поверхностей или нижних поверхностей плит перекрытий. Перед нанесением необходимо соблюдать условие, чтобы бетонное основание имело поверхностную прочность на растяжение - минимальное значение 1,0 Н/мм2 и минимальное среднее значение 1,5 Н/мм2 на глубину 0,6 см от вскрытой поверхности (рисунок В.3). Возможно применение как мокрого, так и сухого способа нанесения раствора или бетона. Нанесение ремонтных материалов можно осуществлять по праймерному составу, нанесенному на поверхность ремонтируемого бетона.

1 - старый бетон; 2 - усадочные трещины; 3 - слой торкрета/набрызг-бетона; 4 - толщина слоев торкрета/набрызг-бетона от 2 до 7 см; 5 - арматурный каркас (по необходимости)
Рисунок В.3 - Нанесение ремонтного состава торкретированием на нижние и вертикальные поверхности бетонной конструкции
В.3.2 Метод 3.3 применяют для замены дефектного бетона строительным раствором или бетоном на всей площади или на локальных участках нанесением набрызгом (торкретированием).
В.3.3 Типичными областями применения метода 3.3 являются вертикальные поверхности и нижние поверхности плит перекрытия или настилов.
В.3.4 При проектировании ремонта по методу 3.3 необходимо обеспечивать передачу усилий от "старого" бетона к "новому". Возможно использование дополнительного армирования слоев с анкеровкой к существующей конструкции.
В.3.5 В процессе производства работ следует:
- обеспечивать удаление дефектного бетона;
- выполнять подготовку поверхности и арматурного каркаса;
- осуществлять визуальный и инструментальный контроль качественных показателей материалов и технологии производства работ.
В.3.6 Дополняющие методы: методы 1.3, 8.3 или другие, например 1.1, 5.1, 6.1, 8.1.
В.4 Метод 3.4 - Замена элементов
В.4.1 При ремонте бетонных и железобетонных конструкций для решения определенных задач требуется замена элементов, как правило, на эквивалентные по своим характеристикам, которые могут быть из различных строительных материалов, что определяется конкретным проектом.
Приложение Г
Г.1 Метод 4.1 - Добавление или замена замоноличенных или наружных арматурных стержней.
Г.1.1 Метод 4.1 распространяется на конструкции с недостаточной несущей способностью или нарушенными эксплуатационными свойствами, усиление которых достигается за счет увеличения основного армирования конструкций, учитываемого в расчетах.
Г.1.2 При усилении по методу 4.1 арматурные стержни могут быть добавлены в отверстия, снаружи существующей конструкции (внешнее армирование) или в составе нового внешнего слоя бетона, как дополнение к методу 4.4.
Г.1.3 Внешнее армирование может осуществляться установкой дополнительной стальной арматуры или наклейкой композитных материалов.
Г.1.4 При усилении конструкций процесс коррозии существующей арматуры в бетоне должен быть приостановлен. В зависимости от условий эксплуатации может потребоваться устройство антикоррозионных и противопожарных покрытий и панелей или принятия иных мер, которые затрудняют доступ к конструкции и увеличивают ее габариты.
Г.1.5 При необходимости усиления только растянутой зоны элемента рекомендуется усиление путем приварки дополнительной арматуры (рисунок Г.1).
Г.1.6 Обнажение существующей арматуры выполняется локально, с шагом 200 - 1000 мм.
Г.1.7 Усиление путем приварки не допускается для конструкций со значительным коррозионным повреждением, а также без частичного разгружения при высоких напряжениях в арматуре.
Г.1.8 Сварка арматуры усиления должна соответствовать требованиям ГОСТ 14098 и настоящего свода правил.

1 - усиливаемая конструкция; 2 - существующая арматура; 3 - дополнительная арматура; 4 - планки или коротыши из арматурной стали
Рисунок Г.1 - Схема усиления приваркой дополнительной арматуры
Г.1.9 Усиление изгибаемых элементов на действие поперечных сил рекомендуется выполнять путем установки дополнительной поперечной арматуры (рисунок Г.2).

1 - усиливаемая балка; 2 - накладные хомуты из арматурной стали; 3 - подкладка; 4 - гайка; 5 - нижние прокладки из уголков
Рисунок Г.2 - Схема усиления балок на восприятие поперечных сил вертикальными хомутами
Г.1.10 Усиление плитных конструкций, имеющих надежную анкеровку по концам, рекомендуется выполнять поперечным армированием, устанавливаемым в сквозные отверстия. Также, при наличии опытного обоснования допускается применение вклеенной поперечной арматуры, устанавливаемой под углом 45° к плоскости плиты (рисунок Г.3).

1 - усиливаемая плита; 2 - резьбовые шпильки; 3 - шайба; 4 - гайка
Рисунок Г.3 - Схема усиления плоских плит на восприятие поперечных сил дополнительной поперечной арматурой
Г.1.11 В случае недостаточной несущей способности при усилении поперечным армированием следует применять усиление рубашками, подведением новых опор и др. В этих случаях особое внимание следует уделять обеспечению совместной работы нового и старого бетона, а также достаточной прочности и жесткости новых опор.
Г.1.12 Для эффективного включения дополнительной арматуры в работу рекомендуется предусматривать ее предварительно напряженной по методу 4.7.
Г.1.13 При необходимости установки новых арматурных выпусков в существующие конструкции, вклейку арматуры усиления следует производить с использованием составов на эпоксидной основе, имеющих Техническое свидетельство, выданное в установленном порядке.
Г.1.14 Для обеспечения надлежащей анкеровки (нахлестки) выпусков особое внимание при их проектировании следует уделять конструктивным требованиям по размещению: минимальному шагу арматуры, расстоянию до края и др.
Г.1.15 Работы по вклейке арматуры должны выполняться в соответствии с инструкцией производителя, персоналом, имеющим опыт в выполнении данных работ.
Г.1.16 Согласно методу 4.1 арматурные стержни следует добавлять в отверстия или углубления в бетоне или снаружи существующей конструкции в составе нового внешнего слоя (см. рисунок Г.4).

Рисунок Г.4 - Схематичное изображение метода 4.1 после добавления (замены) арматурных стержней
Г.1.17 Дополняющий метод: методы 4.2, 4.7.
Г.2 Метод 4.2 - Добавление арматуры, закрепляемой в заранее сформированных или пробуренных каналах.
Г.2.1 Метод добавления арматуры, закрепляемой в заранее сформированных или пробуренных каналах осуществляется с целью усиления конструкций путем добавления арматуры, заанкерованной в подготовленные каналы или просверленные отверстия для соединения новых армированных слоев бетона или элементов с существующей конструкцией (рисунок Г.5).

Рисунок Г.5 - Схематичное изображение метода 4.2 после применения
Г.2.2 Основными этапами выполнения работ являются подготовка отверстия бурением, выдалбливанием или гидроструйной обработкой, установка арматурного стержня и замоноличивание специальным составом на минеральной или полимерной основе.
Г.2.3 Основными областями применения метода 4.2 является устройство соединений между "новыми" и "старыми" бетонными элементами.
Г.2.4 Применение указанного метода требует проведения расчета прочности конструкции.
Г.2.5 При выполнении работ по анкеровке арматурных стержней требуется тщательная подготовка отверстия и максимальная степень заполнения его раствором на минеральной или полимерной основе.
Г.2.6 Данный метод применяется совместно с методом 4.1 или 4.4.
Г.2.7 Контроль качества выполнения работ должен осуществляться путем испытания на выдергивающее усилие арматуры по ГОСТ Р 56731.
Г.3 Метод 4.3 - Внешнее армирование приклеиванием полос, холстов, сеток
Г.3.1 Внешнее армирование приклеиванием полос, холстов, сеток заключается в установке соответствующих элементов системы внешнего армирования на бетонные поверхности с целью сохранения или увеличения несущей способности (рисунок Г.6).


Рисунок Г.6 - Схематичное изображение метода 4.3 до и после применения
Г.3.2 Приклеивание полос и холстов следует производить при помощи материалов на основе эпоксидных смол, руководствуясь ГОСТ 32943. Присоединение активных сеток следует осуществлять при использовании полимерцементной матрицы и растворов полимеров. При выполнении работ необходимо руководствоваться СП 164.1325800.
Г.3.3 Область применения метода 4.3 распространяется на конструкции с недостаточной несущей способностью, например, по причине коррозии арматурного каркаса, а также в случае увеличения нагрузок. При усилении конструкций процесс коррозии арматуры в бетоне должен быть приостановлен. В конструкциях, испытывающих воздействие паров воды, необходимо оставлять не менее 50% свободной площади поверхности, которая обеспечит перемещение влаги.
Г.3.4 При реализации данного метода требуется расчет прочности конструкции.
Г.3.5 Для защиты приклеенных полимерных полос (ламинатов) и холстов необходимо выполнение противопожарных мероприятий.
Г.3.6 Для реализации данного метода должен производиться ремонт участков с некачественным бетоном с заполнением трещин. Поверхность бетона должна обладать достаточной прочностью на растяжение до глубины не более 6 мм от поверхности, защитным слоем бетона и ровностью в соответствии с допусками для конкретной системы. Особое внимание следует уделить защите от температурного воздействия, исходя из свойств клеевого состава. В зависимости от условий эксплуатации может потребоваться устройство противопожарных покрытий и панелей или принятия иных мер, которые затрудняют доступ к конструкции и увеличивают ее габариты.
Г.3.7 Метод 4.3 дополняется методами 3.1 и 1.5 или 4.5, или 4.6.
Г.3.8 Номенклатуру, значения и методы определения показателей свойств материалов и показателей эксплуатационных качеств образуемых систем методом 4.3 принимают по ГОСТ 32943.
Г.4 Метод 4.4 - Добавление бетона или раствора
Г.4.1 Метод 4.4 заключается в добавлении строительного раствора или бетона в существующую бетонную конструкцию. Сущность данного метода состоит в нанесении нового бетона поверх старого, совместимого с ним по своим свойствам. Увеличение сечения бетонной или железобетонной конструкции или устройство дополнительных элементов, работающих совместно с усиляемыми конструкциями, повышают их несущую способность при сохранении основной расчетной схемы. Укладку бетона или раствора можно осуществлять по праймерному слою. Данный метод схематично показан на рисунке Г.7.

Рисунок Г.7 - Схематичное изображение метода 4.4 до и после применения
Г.4.2 Типичные области применения метода 4.4 распространяются на все типы бетонных и железобетонных конструкций.
Г.4.3 Метод 4.4 может быть реализован путем:
- устройства набетонки - увеличения сечения конструкции с одной стороны путем выполнения дополнительного, как правило, армированного бетонного слоя сечения, работающего совместно с усиляемой конструкцией;
- устройства железобетонных обойм - то же, с увеличением сечения по всему периметру конструкции с устройством замкнутого контура;
- устройства железобетонных рубашек - то же, с увеличением сечения с двух или более сторон без образования замкнутого контура.
Г.4.4 При реализации метода 4.4 с выполнением бетонных или железобетонных элементов усиления требуется:
- контроль соответствия свойств нового бетона с основанием;
- тщательная подготовка поверхности;
- контроль адгезии между слоями бетона.
Г.4.5 Дополняющие методы: метод 1.5, 4.4, 4.5 или 4.6.
Г.4.6 Номенклатуру, значения и методы определения показателей свойств материалов и показателей эксплуатационных качеств, образуемых систем методом 4.4, принимают по ГОСТ 32943 и ГОСТ Р 56378.
Г.4.7 Усиление набетонкой рекомендуется выполнять в случае ограничения доступа с нижней стороны элемента, а также при отсутствии необходимости усиления вертикальных конструкций и фундаментов (рисунок Г.8).
Г.4.8 Для обеспечения совместной работы усиливаемой конструкции с набетонкой необходимо устройство поперечных связей в виде поперечной арматуры либо шпонок. При соответствующем расчетном обосновании и обеспечении адгезии допускается выполнять связь путем насечки и нанесения подготовительного состава.

1 - усиливаемая конструкция; 2 - набетонка; 3 - поперечные связи
Рисунок Г.8 - Схема усиления набетонкой
Г.4.9 Не рекомендуется применение усиления набетонкой переармированных конструкций при ξ> ξR и уровне нагрузки более 80% от расчетного значения.
Г.4.10 Толщину набетонки следует принимать не менее 60 мм исходя из обеспечения величины защитного слоя бетона согласно СП 63.13330 для армированных набетонок.
Г.4.11 Для усиления сжатых элементов (колонн, стен и др.) применяют усиление в виде рубашек и обойм.
Г.4.12 Обоймы из железобетона выполняют в пределах одного или нескольких этажей, с доведением в верхнем сечении до уровня вышележащего перекрытия, а в нижнем - до верхнего обреза фундамента. При усилении обоймой на локальном участке конструкции допускается высоту обоймы выполнять с заведением за участок усиления не менее чем на 2b, где b - наибольший размер сечения элемента.
Г.4.13 Для внецентренно сжатых стержневых элементов с квадратным либо круглым поперечным сечением и малым эксцентриситетом продольной силы рекомендуется применять железобетонные обоймы со спиральным поперечным армированием.
Г.4.14 При конструировании обойм со спиральным армированием следует выполнять следующие требования:
- диаметр поперечной арматуры следует принимать не менее 6 мм;
- спирали в плане должны быть круглыми;
- расстояние между витками спирали в осях должны быть не менее 40 мм и не менее 1/5 диаметра сечения ядра обоймы, охваченного спиралью и не более 100 мм;
- у опор обоймы и в местах концентрации усилий шаг спирали не должен превышать 50 мм;
- спирали должны охватывать всю продольную рабочую арматуру.
Г.4.15 Армирование обойм принимается согласно расчету, при этом диаметр продольной рабочей арматуры принимают не менее 16 мм, поперечной вязаной арматуры не менее 6 мм, сварной - не менее 8 мм.
Г.4.16 Усиление рубашками следует выполнять только в случае, если по каким-либо причинам невозможно выполнение замкнутой обоймы.
Г.4.17 При учете совместной работы рубашки и усиляемой конструкции поперечная арматура рубашки должна быть заанкерена путем приварки к существующей арматуре элемента. В противном случае усиление следует проектировать на восприятие всей нагрузки.
Г.4.18 Армирование рубашек принимается согласно расчету, при этом диаметр продольной рабочей арматуры принимают не менее 8 мм, поперечной вязаной арматуры не менее 6 мм, сварной - не менее 8 мм.
Г.5 Метод 4.5 - Инъектирование в трещины, пустоты или полости
Г.5.1 Стандартным методом восстановления бетона в зоне трещин и пустот является его инъектирование заполняющими материалами, способными обеспечить передачу нагрузок, например полимерными и цементными составами, которые могут поступать в конструкцию самотеком (заливкой) или под определенным давлением с использованием как поверхностных, так и пакеров, устанавливаемых в пробуренные отверстия. Метод 4.5 схематично показан на рисунке Г.9.

Рисунок Г.9 - Схематичное изображение метода 3.4 до и после применения
Г.5.2 Метод 4.5 реализуется путем максимального заполнения участков с дефектом путем инъектирования затвердевающего материала для обеспечения несущей способности на уровне качественного бетона.
Г.5.3 Типичными областями применения метода 4.5 являются трещины или пустоты в конструкциях, к которым имеются высокие требования по несущей способности, герметичности и долговечности.
Г.5.4 При проектировании метода 4.5 следует предусматривать контроль уровня влаги в трещине, раскрытие и движение трещин, консистенцию, давление инъекционного раствора, его сроки схватывания, адгезию между составом и основанием.
Г.5.5 В процессе выполнения работы контролируется степень заполнения бетонной конструкции инъекционными составами.
Г.5.6 Дополняющие методы: метод 3.1 или покрытие для улучшения внешнего вида.
Г.5.7 Номенклатуру, значения и методы определения показателей свойств материалов и показателей эксплуатационных качеств образуемых систем методом 4.5 принимают по ГОСТ 33762.
Г.6 Метод 4.6 - Заполнение трещин, пустот или полостей
Г.6.1 Метод 4.6 предусматривает усиление конструкций путем заполнения участка с дефектом без использования давления посредством заливки, поэтому необходимо обеспечить максимально возможную степень заполнения участков с дефектом (рисунок Г.10).

Рисунок Г.10 - Схематичное изображение метода 4.6 до и после применения
Г.6.2 Метод 4.6 реализуется при максимально возможном заполнении участков с дефектом путем заливки затвердевающего материала для обеспечения несущей способности на уровне качественного бетона.
Г.6.3 Типичной областью применения метода 4.6 являются бетонные и железобетонные конструкции с не насыщенными водой трещинами с раскрытием более 0,8 мм.
Г.6.4 При проектировании метода 4.6 необходимо пробное выполнение работ для проверки возможной степени заполнения; альтернатива - метод 4.5 (нагнетание вместо заливки) и т.д.
Г.6.5 При выполнении работ следует контролировать степень заполнения трещин конструкции, консистенцию раствора.
Г.6.6 Дополняющие методы: метод 3.1 или покрытие для улучшения внешнего вида.
Г.6.7 Номенклатуру, значения и методы определения показателей свойств материалов и показателей эксплуатационных качеств образуемых систем методом 4.6 принимают по ГОСТ 33762.
Г.7 Метод 4.7 - Установка предварительно напряженной арматуры
Г.7.1 Метод 4.7 распространяется на конструкции с недостаточной несущей способностью или нарушенными эксплуатационными свойствами, усиление которых достигается за счет эффективно включаемого в работу дополнительного армирования конструкций или за счет преднапряжения и обжатия усиляемых конструкций.
Г.7.2 Метод 4.7 является дополняющим к методу 4.1.
Г.7.3 Усиление по методу 4.7 рекомендуется выполнять предварительно напряженными затяжками и шпренгелями для конструкций, для которых по условиям эксплуатации невозможно либо затруднено частичное разгружение.
Г.7.4 Предварительное натяжение выполняется механическим, электротермическим или комбинированным способом.
Г.7.5 В качестве предварительно напряженной арматуры усиления рекомендуется применять арматуру класса не ниже А500С, диаметром 16 - 40 мм. Для сильно нагруженных и массивных конструкций следует применять затяжки из стального проката.
Г.8 Метод 4.8 - Усиление жесткими или упругими опорами
Г.8.1 Область применения метода 4.8 распространяется на конструкции с недостаточной несущей способностью, усиление которых достигается за счет изменения расчетной схемы конструкции введением дополнительных опор и уменьшением пролетов.
Г.8.2 Усиление упругими опорами выполняется путем подведения под усиляемую конструкцию балочных и ферменных элементов из стального проката, с последующим включением их в работу путем подклинки (рисунки Г.11, Г.12).

1 - усиливаемая балка; 2 - усиливающая балка; 3 - металлическая обойма колонны; 4 - кронштейны; 5 - клиновидные прокладки
Рисунок Г.11 - Схема усиления дополнительной упругой опорой (металлической балкой) на кронштейнах

1 - усиливаемый ригель; 2 - предварительно напряженный тяж; 3 - металлическая обойма; 4 - натяжная гайка; 5 - сварные швы; 6 - отверстия, заделываемые податливым материалом; 7 - натяжная муфта
Рисунок Г.12 - Схема усиления дополнительной упругой опорой (предварительно напряженными тяжами)
Г.8.3 Жесткие опоры выполняют из железобетонных или стальных стоек, устанавливаемых на существующие либо новые фундаменты. Для снижения податливости опор следует отдавать предпочтение опиранию на существующие фундаменты, даже в случае необходимости их усиления.
Г.8.4 Для обеспечения включения в работу жестких опор необходимо обеспечение частичного разгружения усиляемых конструкций путем снятия временной нагрузки либо временного подъема (рисунки Г.13 - Г.15).

1 - усиливаемая конструкция; 2 - отдельный фундамент под дополнительную опору; 3 - металлическая стойка; 4 - элементы крепления
Рисунок Г.13 - Схема усиления дополнительной жесткой опорой - подведением стойки

1 - усиливаемая конструкция; 2 - металлическая портальная рама; 3 - охватывающий металлический хомут; 4 - прокладки
Рисунок Г.14 - Схема усиления дополнительной жесткой опорой - подведением рамы

1 - усиливаемый ригель; 2 - металлические подкосы; 3 - затяжка на уровне пола; 4 - клиновидные прокладки; 5 - опорный уголок; 6 - фиксирующие болты
Рисунок Г.15 - Схема усиления дополнительной жесткой опорой - подведением металлических подкосов
Г.9 Метод 4.9 - Устройство обойм из стального проката
Г.9.1 Метод 4.9 заключается в устройстве дополнительных элементов, работающих совместно с усиляемыми конструкциями и повышающих их несущую способность при сохранении основной расчетной схемы.
Г.9.2 Метод 4.9 может быть реализован путем устройства обойм из стального проката - устройство замкнутой металлической конструкции вокруг усиляемой и повышающей ее несущую способность за счет включения в совместную работу.
Г.9.3 Обоймы из стального проката рекомендуются для сжатых элементов с малыми эксцентриситетами продольной силы. С целью снижения расчетной длины ветвей сжатых элементов обойм необходимо обеспечить их плотное прилегание к бетону усиляемой колонны путем устранения неровностей, зачеканки зазоров между элементами усиления и бетоном колонны, а также натяжения поперечных планок.
Г.9.4 При необходимости усиления сжатых элементов с большими эксцентриситетами, а также при двузначной эпюре моментов рекомендуется применять обоймы с вертикальными элементами из предварительно напряженных распорок. В зависимости от действующих усилий распорки могут быть как односторонними, так и двухсторонними (рисунок Г.16). Величину напряжения распорок рекомендуется принимать 40 - 70 МПа.

а - в период монтажа; б - в напряженном состоянии; 1 - усиливаемая колонна; 2 - уголки распорок; 3 - соединительные планки; 4 - упорные уголки; 5 - планки-упоры; 6 - крепежный монтажный болт; 7 - натяжной монтажный болт; 8 - планки для натяжения болтов в месте перегиба
Рисунок Г.16 - Схема усиления колонны предварительно напряженными двухсторонними металлическими распорками
Г.10 Метод 4.10 - Усиление заменяющими конструкциями
Г.10.1 Область применения метода 3.4 распространяется на конструкции с недостаточной несущей способностью. При устройстве заменяющих конструкций выполняются новые конструктивные элементы, полностью воспринимающие проектные усилия.
Г.10.2 Усиление несущих конструкций перекрытий, покрытий, балок на действие изгибающих моментов с применением заменяющего метода может выполняться как отдельными конструктивными элементами (балками, плитами, фермами), так и взаимосвязанными системами из железобетонных либо стальных элементов.
Г.10.3 Метод 4.10 рекомендуется применять для усиления локальных участков или при значительном дефиците несущей способности, а также для конструкций, находящихся в аварийном техническом состоянии.
Г.10.4 При замене конструкций на существующие, необходимо организовывать зазор для обеспечения свободного прогиба заменяющей конструкции.
Г.10.5 При выполнении заменяющей конструкции, расположенной под конструкцией усиления, рекомендуется устраивать сквозные отверстия в существующей конструкции для пропуска стоек усиления.
Г.10.6 Несущая способность сохраняемых и разгружаемых конструкций и элементов должна быть обеспечена с учетом изменения расчетной схемы и действующих усилий (рисунки Г.17, Г.18).

1 - существующее перекрытие; 2 - конструкция усиления; 3 - зазор
Рисунок Г.17 - Схема устройства разгружающей железобетонной конструкции сверху

1 - существующее перекрытия; 2 - оборудование (нагрузка); 3 - опорные стойки; 4 - балки разгружающей рамы; 5 - отверстия в плите
Рисунок Г.18 - Схема устройства разгружающей конструкции снизу
Приложение Д
Д.1 Метод 5.1 - Покрытие
Д.1.1 Метод 5.1 предусматривает нанесение покрытия на бетонную поверхность для повышения ее стойкости к физическим воздействиям, например к абразивному износу или ударным нагрузкам. Данный метод схематично показан на рисунке Д.1. В качестве подготовки поверхности необходимо произвести замену бетона на участках с неудовлетворительным качеством, а также уплотнить трещины.

Рисунок Д.1 - Схематичное изображение метода 5.1 до и после применения
Д.1.2 Метод 5.1 применяется для повышения стойкости к физическим воздействиям бетонных и железобетонных конструкций при отсутствии негативного давления воды и ее паров.
Д.1.3 Типичной областью применения метода 5.1 являются полы, поверхности, подвергающиеся абразивному износу или ударным нагрузкам.
Д.1.4 При проектировании ремонта по методу 5.1 следует учитывать раскрытие старых или появление новых трещин, а также величины физических воздействий.
Д.1.5 В процессе производства работ следует:
- осуществлять тщательную подготовку поверхности;
- следить за температурой, влажностью и паропроницаемостью основания;
- контролировать толщину слоя покрытия;
- выполнять контроль адгезии слоя покрытия к основанию.
Д.1.6 Для обеспечения долговечности рекомендуется проведение осмотров в зависимости от режима эксплуатации.
Д.1.7 Дополняющие методы: методы 3.1 - 3.3, 1.5, 4.5 или 4.6.
Д.1.8 Номенклатуру, значения и методы определения показателей свойств материалов и показателей эксплуатационных качеств образуемых систем методом 5.1 принимают по ГОСТ 32017.
Д.2 Метод 5.2 - Пропитка
Д.2.1 В качестве альтернативы нанесению покрытий для повышения стойкости бетона к физико-механическим воздействиям используют пропитку бетона. Метод 5.2 схематично показан на рисунке Д.2.

Рисунок Д.2 - Схематичное изображение метода 5.2 до и после применения
Д.2.2 Типичными областями применения метода 5.2 являются полы и другие конструкции, подвергающиеся абразивному износу или ударным нагрузкам.
Д.2.3 При проектировании ремонта по методу 5.2 следует учитывать раскрытие старых или появление новых трещин, виды и значения величин физического воздействия.
Д.2.4 При выполнении работ необходимо:
- осуществлять тщательную подготовку поверхности;
- контролировать адгезионную прочность поверхности, температуру, влажность и паропроницаемость бетона.
Д.2.5 Для обеспечения долговечности необходимо проведение осмотров в зависимости от режима использования.
Д.2.6 Дополняющие методы: методы 3.1 - 3.3, 1.5, 4.5 или 4.6.
Д.2.7 Номенклатуру, значения и методы определения показателей свойств материалов и показателей эксплуатационных качеств образуемых систем методом 5.2 принимают по ГОСТ 32017.
Д.3 Метод 5.3 - Добавление раствора или бетона
Д.3.1 Повышение стойкости конструкции к физическим воздействиям обеспечивается путем добавления в ремонтируемую конструкцию строительного раствора или бетона. Метод 5.3 схематично показан на рисунке Д.3.

Рисунок Д.3 - Схематичное изображение метода 5.3 до и после применения
Д.3.2 Добавление слоя строительного раствора или бетона по методу 5.3 обеспечивает повышение стойкости существующей бетонной поверхности к физическим воздействиям.
Д.3.3 Типичными областями применения метода 5.3 являются полы и поверхности, подвергающиеся абразивному износу или ударным нагрузкам.
Д.3.4 При проектировании ремонта по методу 5.3 следует учитывать движение трещин или новые трещины, величины физического воздействия, возможность изменения отметок уровней поверхности.
Д.3.5 В процессе выполнения работ необходимо:
- осуществлять тщательную подготовку поверхности;
- контролировать адгезию, толщину слоя, температуру и влажность бетона.
Д.3.6 Для обеспечения долговечности следует проводить осмотры в зависимости от режима эксплуатации.
Д.3.7 Дополняющие методы: методы 3.1 - 3.3, 1.5, 4.5, 4.6 или 5.2.
Приложение Е
Е.1 Метод 6.1 - Покрытие
Е.1.1 Метод 6.1 представляет собой нанесение покрытия на поверхность бетона для повышения стойкости к воздействию химических веществ и схематично показан на рисунке Е.1.

Рисунок Е.1 - Схематичное изображение метода 6.1 до и после применения
Е.1.2 Типичными областями применения метода 6.1 являются поверхности, подверженные сильному химическому воздействию, чаще всего при отсутствии негативного давления воды и ее паров.
Е.1.3 При проектировании ремонта по методу 6.1 учитывают раскрытие трещин или появление новых трещин.
Е.1.4 В процессе производства работ следует:
- осуществлять тщательную подготовку поверхности;
- контролировать адгезию, толщину слоя покрытия, влажность бетона, его температуру и т.д.
Е.1.5 Для обеспечения долговечности необходимо проведение осмотров в зависимости от режима эксплуатации.
Е.1.6 Дополняющие методы: методы 3.1 - 3.3, 1.5.
Е.1.7 Номенклатуру, значения и методы определения показателей свойств материалов и показателей эксплуатационных качеств образуемых систем методом 6.1 принимают по ГОСТ 32017.
Е.2 Метод 6.2 - Пропитка
Е.2.1 Повышение химической стойкости конструкции осуществляется путем пропитки бетона по методу 6.2, как показано на рисунке Е.2.

Рисунок Е.2 - Схематичное изображение метода 6.2 до и после применения
Е.2.2 Типичными областями применения метода 6.2 являются поверхности, подверженные сильному химическому воздействию, предпочтительно, в зонах уплотненных трещин и отсутствия негативного воздействия воды и ее паров.
Е.2.3 При проектировании ремонта по методу 6.2 следует учитывать раскрытие трещин или появление новых трещин.
Е.2.4 В процессе производства работ следует:
- осуществлять тщательную подготовку поверхности;
- контролировать адгезионную прочность бетона.
Е.2.5 Для обеспечения долговечности необходимо проведение осмотров в зависимости от режима эксплуатации конструкции.
Е.2.6 Дополняющие методы: методы 3.1 - 3.3, 1.5.
Е.2.7 Номенклатуру, значения и методы определения показателей свойств материалов и показателей эксплуатационных качеств образуемых систем методом 6.2 принимают по ГОСТ 32017.
Е.3 Метод 6.3 - Добавление раствора или бетона
Е.3.1 Метод 6.3 предусматривает добавление строительного раствора или бетона для повышения химической стойкости конструкции. Химическая стойкость конструкции обеспечивается при добавлении раствора или бетона, имеющих большую химическую стойкость, чем существующий бетон. На рисунке Е.3 представлено схематичное изображение данного метода.

Рисунок Е.3 - Схематичное изображение метода 6.3 до и после применения
Е.3.2 Типичными областями применения метода 6.3 являются поверхности, подверженные сильному химическому воздействию, предпочтительно, в зонах уплотненных трещин. Возможно применять метод при наличии негативного воздействия воды и ее паров.
Е.3.3 При проектировании ремонта по методу 6.3 следует учитывать раскрытие существующих трещин или появление новых трещин.
Е.3.4 В процессе производства работ следует:
- осуществлять тщательную подготовку поверхности;
- контролировать величину адгезии бетона или раствора, толщину слоя бетона или раствора, температуру и влажность конструкции и т.д.
Е.3.5 Для обеспечения долговечности необходимо проведение осмотров в зависимости от режима эксплуатации.
Е.3.6 Дополняющие методы: методы 3.1 - 3.3, 1.5.
Приложение Ж
Ж.1 Метод 7.1 - Увеличение защитного слоя за счет дополнительного раствора или бетона
Ж.1.1 Метод 7.1 способствует продлению оставшегося срока службы конструкции за счет увеличения периода эксплуатации конструкции до начала коррозии (рисунок Ж.1). Если карбонизация и загрязнение бетона хлоридами отсутствуют, метод 7.1 следует применять до тех пор, пока фронт карбонизации не достиг арматуры, т.е. при наличии определенной толщины некарбонизированного бетона над арматурой. Если бетон находится под воздействием хлоридов, метод 7.1 следует применять только при наличии определенного расстояния между глубиной с критическим уровнем содержания хлоридов и арматурой.

C1, C2 - защитный слой бетона;
X - глубина с критическим уровнем содержания хлоридов или глубина карбонизации;
П - пассивированный участок поверхности без коррозии;
А - В - участки с коррозией арматуры вследствие:
А - недостаточного защитного слоя бетона;
Б - недостаточного качества бетона;
В - наличия трещин

Рисунок Ж.1 - Схематичное изображение метода 7.1 для коррозии, вызванной воздействием хлоридов
Ж.1.2 Метод 7.1 применяется в целях увеличения толщины защитного слоя и создания барьера, исключающего дальнейшую карбонизацию или проникание хлоридов к арматуре.
Ж.1.3 Типичными областями применения метода 7.1 являются конструкции с недостаточным защитным слоем бетона на этапе, когда арматура еще сохранила пассивное состояние.
Ж.1.4 При проектировании ремонта по методу 7.1 следует учитывать перераспределение хлоридов.
Ж.1.5 В процессе осуществления работ следует:
- обеспечивать тщательную подготовку поверхности;
- контролировать адгезию (прочность сцепления) строительного раствора или бетона;
- контролировать pH дополнительного слоя раствора и бетона, а также pH карбонизированного бетона;
- контролировать количество хлоридов в бетоне основания.
Ж.1.6 Дополняющие методы: метод 1.5.
Ж.1.7 Номенклатуру, значения и методы определения показателей свойств материалов и показателей эксплуатационных качеств образуемых систем методом 7.1 принимают по ГОСТ Р 56378.
Ж.2 Метод 7.2 - Замена загрязненного или карбонизированного бетона
Ж.2.1 Согласно методу 7.2 весь карбонизированный бетон или бетон с критическим уровнем содержания хлоридов удаляется, выполняется очистка арматуры, а затем подготовленный участок заполняется бетоном (см. рисунок Ж.2).

C1, C2 - защитный слой бетона;
X - глубина с критическим уровнем содержания хлоридов или глубина карбонизации;
П - пассивированный участок поверхности без коррозии;
А - В - участки с коррозией арматуры вследствие:
А - недостаточного защитного слоя бетона;
Б - недостаточного качества бетона;
В - наличия трещин

Рисунок Ж.2 - Схематичное изображение метода 7.2 до и после применения
Ж.2.2 Для реализации метода 7.2 удаляют весь карбонизированный или загрязненный хлоридами бетон, а затем осуществляют укладку нового бетона или раствора, обеспечивающего увеличение щелочи в старом бетоне.
Ж.2.3 Типичной областью применения метода 7.2 являются бетонные и железобетонные конструкции всех типов, подверженные карбонизации и воздействию хлоридов.
Ж.2.4 При проектировании ремонта по методу 7.2 следует производить расчет прочности конструкции для обеспечения безопасности работ по созданию новой системы материалов.
Ж.2.5 В процессе осуществления работ следует:
- осуществлять тщательную подготовку поверхности бетона и арматуры;
- контролировать адгезию и прочность бетона;
- контролировать pH и количество хлоридов в бетоне основания.
Ж.2.6 Дополняющие методы: методы 4.1, 1.3 в качестве системы защиты поверхности обеспечивают долговечность ремонтных работ, особенно при локальном ремонте.
Ж.2.7 Номенклатуру, значения и методы определения показателей свойств материалов и показателей эксплуатационных качеств образуемых систем методом 7.1 принимают по ГОСТ Р 56378.
Ж.3 Метод 7.3 - Электрохимическое восстановление щелочности карбонизированного бетона
Ж.3.1 В условиях карбонизации защитного слоя бетона дополнительная защита от коррозии арматурного каркаса может обеспечиваться повторным электрохимическим подщелачиванием, которое позволяет повысить щелочность карбонизированного бетона и, таким образом, перевести арматуру в пассивное состояние. Использование данного метода схематично показано на рисунке Ж.3.

C1, C2 - защитный слой бетона;
X - глубина с критическим уровнем содержания хлоридов или глубина карбонизации;
П - пассивированный участок поверхности без коррозии;
А - В - участки с коррозией арматуры вследствие:
А - недостаточного защитного слоя бетона;
Б - недостаточного качества бетона;
В - наличия трещин

Рисунок Ж.3 - Схематичное изображение метода 7.3 до и после применения
Ж.3.2 Метод 7.3, реализующий принцип 7 по сохранению или восстановлению пассивного состояния арматуры, осуществляется путем принудительной подачи тока на арматуру в целях повышения значения pH в бетоне вокруг стали.
Ж.3.3 Типичные области применения метода 7.3 ограничены. Он требует сплошности арматурного каркаса, наличие однородного защитного слоя над арматурой и пр. Неприменим в конструкциях с предварительно напряженной арматурой.
Ж.3.4 При проектировании ремонта по методу 7.3 следует учитывать состояние поверхности основания, величину pH бетона, состояние арматуры, значение подаваемого тока, время обработки и пр.
Ж.3.5 В процессе производства работ следует:
- соблюдать требования нормативно-технической документации;
- осуществлять контроль качества выполнения работ.
Ж.3.6 Для обеспечения долговечности основания после обработки необходим контроль карбонизации.
Ж.3.7 Дополняющие методы: нанесение покрытия по методу 1.3.
Ж.4 Метод 7.4 - Диффузионное восстановление щелочности карбонизированного бетона
Ж.4.1 Метод 7.4 заключается в нанесении нового дополнительного бетона или строительного раствора на поверхность карбонизированного бетона для повторного подщелачивания, которое осуществляется путем диффузии щелочи. Данный подход предусматривает выдерживание бетона во влажных условиях для обеспечения эффективной диффузии щелочи до глубины арматурных стержней в течение периода обработки, который может занимать несколько месяцев. В определенных условиях, на начальной стадии протекания активной карбонизации бетона, возможно осуществлять периодическое подщелачивание специальными щелочными растворами. Использование данного метода схематично показано на рисунке Ж.4.

C1, C2 - защитный слой бетона;
X - глубина с критическим уровнем содержания хлоридов или глубина
карбонизации;
П - пассивированный участок поверхности без коррозии;
А - В - участки с коррозией арматуры вследствие:
А - недостаточного защитного слоя бетона;
Б - недостаточного качества бетона;
В - наличия трещин

Рисунок Ж.4 - Схематичное изображение метода 7.4 до и после применения
Ж.4.2 Согласно методу 7.4 повторное подщелачивание карбонизированного бетона путем диффузии проводится нанесением щелочного раствора или бетона на поверхность конструкции для повышения значения pH в зоне карбонизации за счет диффузии OH.
Ж.4.3 Типичной областью применения метода 7.4 являются все типы карбонизированных бетонных и железобетонных конструкций.
Ж.4.4 При проектировании ремонта по методу 7.4 следует учитывать достаточную толщину слоя раствора/бетона, размеры зоны карбонизации, pH бетона.
Ж.4.5 Требования к материалам и системам по методу 7.4 заключаются в необходимости применять высокощелочные растворы и составы на основе цемента с высоким значением pH.
Ж.4.6 В процессе выполнения работ необходимо:
- обеспечивать достаточное сцепление с существующим бетоном;
- контролировать толщину и адгезию бетона или строительного раствора, pH бетона.
Ж.4.7 Дополняющие методы: не требуются.
Ж.5 Метод 7.5 - Электрохимическое извлечение хлоридов
Ж.5.1 В случаях, когда арматура находится в загрязненном хлоридами бетоне, дополнительная защита от коррозии обеспечивается путем электрохимического извлечения хлоридов. Это приводит к снижению концентрации ионов хлоридов в бетоне, окружающем арматуру, и обеспечивает пассивацию при условии достаточного удаления хлоридов. Использование данного метода схематично показано на рисунке Ж.5.

C1, C2 - защитный слой бетона;
X - глубина с критическим уровнем содержания хлоридов или глубина карбонизации;
П - пассивированный участок поверхности без коррозии;
А - В - участки с коррозией арматуры вследствие:
А - недостаточного защитного слоя бетона;
Б - недостаточного качества бетона;
В - наличия трещин

Рисунок Ж.5 - Схематичное изображение метода 7.5 до и после применения
Ж.5.2 Сохранение или восстановление пассивного состояния арматуры в бетоне конструкции (метод 7.5) осуществляется путем временного воздействия электрического тока, вызывающего принудительное перемещение хлоридов из бетона, при помощи анодной сетки, расположенной в электролите, и катода, в роли которого выступает арматурный каркас.
Ж.5.3 Типичными областями применения метода 7.5 являются конструкции, в которых невозможен демонтаж бетона или постоянная подача электропитания, при наличии сплошного арматурного каркаса с нормальным коэффициентом армирования. Неприменим в конструкциях с напряженной арматурой. Малоэффективен при высоком коэффициенте армирования и значительном загрязнении (более 1%) бетона хлоридами.
Ж.5.4 Требования к материалам и системам необходимо учитывать в соответствии с нормативно-технической документацией и состоянием конструкции.
Ж.5.5 Контроль качества выполнения работ следует проводить в соответствии с нормативно-технической документацией. К основным мерам относится измерение потенциала, оценка pH и количества хлоридов в бетоне.
Ж.5.6 Для обеспечения долговечности нужно измерение остаточного содержания хлоридов после обработки поверхности. В случае, если уровни хлоридов слишком высоки, рекомендуется обеспечить мониторинг коррозии.
Ж.5.7 Дополняющие методы: нанесение покрытия (метод 1.3).
Ж.5.8 При проектировании ремонта по методу 7.5 следует руководствоваться нормативно-технической документацией и ГОСТ Р 52804. Если остаточные уровни содержания хлоридов слишком высоки, то требуется использование дополнительных методов.
Приложение И
И.1 Метод 8.1 - Гидрофобизирующая пропитка
И.1.1 Метод гидрофобизирующей пропитки применяется для различных принципов ремонта бетонных и железобетонных конструкций. Контроль уровня влаги применительно к коррозии бетона выполняется методом 2.1, а применительно к коррозии арматуры - методом 8.1. Для использования обоих методов необходимо исключить проникание воды в конструкцию и дать бетону просохнуть путем испарения влаги через гидрофобный слой, как это показано на рисунке И.1.

C1, C2 - защитный слой бетона;
X - глубина с критическим уровнем содержания хлоридов или глубина карбонизации;
П - пассивированный участок поверхности без коррозии;
А - В - участки с коррозией арматуры вследствие:
А - недостаточного защитного слоя бетона;
Б - недостаточного качества бетона;
В - наличия трещин

Рисунок И.1 - Схематичное изображение метода 8.1 после применения
И.1.2 Гидрофобизирующая пропитка (метод 8.1) обеспечивает уменьшение скорости коррозии арматуры путем просушивания бетона и последующего повышения удельного электрического сопротивления.
И.1.3 Типичной областью применения метода 8.1 является защита от коррозии арматуры бетонных и железобетонных конструкций на раннем этапе карбонизации.
И.1.4 При проектировании ремонта по методу 8.1 следует учитывать, что по мере высыхания конструкции после гидрофобизирующей пропитки коррозия сначала продолжается, а затем постепенно замедляется.
И.1.5 В процессе осуществления работ следует:
- выполнять тщательную подготовку поверхности;
- обеспечивать минимальную влажность поверхности бетона;
- выявлять большую глубину проникания пропитки;
- контролировать гидрофобность поверхности конструкции.
И.1.6 Для обеспечения долговечности нужно проведение регулярных осмотров и выполнение испытаний на смачивание.
И.1.7 Дополняющие методы: метод 1.5, а также методы с 3.1 по 3.3.
И.1.8 Номенклатуру, значения и методы определения показателей свойств материалов и показателей эксплуатационных качеств образуемых систем методом 8.1 принимают по ГОСТ 32017.
И.2 Метод 8.2 - Пропитка
И.2.1 Аналогично контролю уровня влаги применительно к коррозии бетона (метод 2.2) метод пропитки применяется для повышения удельного сопротивления бетона и снижения скорости коррозии арматуры до безопасного уровня. Для достижения высокой степени заполнения пор пропиточным материалом следует провести подготовку поверхности бетона, как показано на рисунке И.2. На участках с разрушенным бетоном выполняется его восстановление и уплотнение трещин.

C1, C2 - защитный слой бетона;
X - глубина с критическим уровнем содержания хлоридов или глубина карбонизации;
П - пассивированный участок поверхности без коррозии;
А - В - участки с коррозией арматуры вследствие:
А - недостаточного защитного слоя бетона;
Б - недостаточного качества бетона;
В - наличия трещин

Рисунок И.2 - Схематичное изображение метода 8.2 после применения
И.2.2 Пропитка (метод 8.2) обеспечивает заполнение пор в поверхностном слое бетона для снижения содержания воды, повышение удельного сопротивления бетона и снижение скорости коррозии арматуры.
И.2.3 Типичными областями применения метода 8.2 являются полы и другие горизонтальные поверхности.
И.2.4 При проектировании ремонта по методу 8.2 следует учитывать:
- отсутствие защиты при раскрытии существующих трещин или образовании новых;
- уменьшение скорости коррозии по мере просушки поверхности бетона.
И.2.5 В процессе выполнения работ следует:
- осуществлять тщательную подготовку поверхности;
- обеспечивать минимальную влажность поверхность бетона;
- контролировать глубину проникания пропиточного состава и толщину образуемой пленки.
И.2.6 Метод 8.2 обладает высокой степенью долговечности, зависящей от интенсивности эксплуатации.
И.2.7 Дополняющие методы: методы 1.5 и 3.1 - 3.3.
И.2.8 Номенклатуру, значения и методы определения показателей свойств материалов и показателей эксплуатационных качеств образуемых систем методом 8.2 принимают по ГОСТ 32017.
И.3 Метод 8.3 - Покрытие
И.3.1 Системы покрытий используются в больших объемах, поскольку их характеристики адаптируются практически к любым фактическим условиям применения. Для обеспечения повышенного удельного сопротивления бетона путем его просушки системы покрытия должны быть непроницаемыми для воды и, по возможности, максимально открытыми для испарения водяных паров из бетона. Использование данного метода схематично показано на рисунке И.3.

C1, C2 - защитный слой бетона;
X - глубина с критическим уровнем содержания хлоридов или глубина карбонизации;
П - пассивированный участок поверхности без коррозии;
А - В - участки с коррозией арматуры вследствие:
А - недостаточного защитного слоя бетона;
Б - недостаточного качества бетона;
В - наличия трещин

Рисунок И.3 - Схематичное изображение метода 8.3 до и после применения
И.3.2 Нанесение системы покрытия по методу 8.3, предотвращающего проникание воды и обеспечивающего возможность испарения воды из бетона, применяется в целях повышения удельного сопротивления бетона и ограничения скорости коррозии арматуры.
И.3.3 Типичными областями применения метода 8.3 являются:
- предотвращение коррозии вследствие карбонизации;
- замедление коррозии, обусловленной воздействием хлоридов (данный метод применим на раннем этапе при низком уровне содержания хлоридов).
И.3.4 В процессе выполнения работ следует:
- осуществлять тщательную подготовку поверхности;
- контролировать требуемый уровень влажности и температуру бетона;
- обеспечивать минимальную толщину покрытия;
- определять значение адгезии покрытия к бетону, толщина покрытия, сопротивление бетона, pH и количество хлоридов.
И.3.5 Для обеспечения долговечности рекомендуется проведение осмотров в зависимости от режима эксплуатации, осуществление контролирующих мероприятий.
И.3.6 Дополняющие методы: метод 1.5, а также методы 3.1 - 3.3.
И.3.7 Номенклатуру, значения и методы определения показателей свойств материалов и показателей эксплуатационных качеств образуемых систем методом 8.3 принимают по ГОСТ 32017.
Приложение К
К.1 Метод 9.1 - Покрытие арматуры активного (пассивирующего) типа
К.1.1 Нанесение на арматуру активного (пассивирующего) покрытия по всей площади поверхности предусматривает обнажение арматуры в глубину на 20 мм для обеспечения пространства вокруг арматурных стержней, достаточного для производства работ. Перед нанесением покрытия следует тщательно очистить поверхность арматуры от продуктов коррозии. Метод 9.1 схематично показан на рисунке К.1.

C1, C2 - защитный слой бетона;
X - глубина с критическим уровнем содержания хлоридов или глубина карбонизации;
П - пассивированный участок поверхности без коррозии;
А - В - участки с коррозией арматуры вследствие:
А - недостаточного защитного слоя бетона;
Б - недостаточного качества бетона;
В - наличия трещин

Рисунок К.1 - Схематичное изображение метода 9.1 после применения
К.1.2 Типичными областями применения метода 9.1 являются конструкции при отсутствии достаточного защитного слоя бетона или невозможности его обеспечения, а также временная защита вскрытой арматуры.
К.1.3 В процессе производства работ следует:
- осуществлять тщательную очистку арматуры;
- контролировать нанесение покрытия;
- следить за толщиной и равномерностью слоя активного покрытия;
- проводить контроль состояния арматурного каркаса в бетоне.
К.1.4 Для обеспечения долговечности нужно проведение регулярных осмотров арматурного каркаса перед ремонтом и выполнение контроля коррозионного состояния арматуры в бетоне.
К.1.5 Дополняющие методы: рекомендуется метод 1.3.
К.2 Метод 9.2 - Покрытие арматуры барьерного (защитного) типа
К.2.1 Покрытия барьерного (защитного) типа обеспечивают электрическую изоляцию и предотвращают анодное растворение железа, а также катодную реакцию (восстановление кислорода). Указанные свойства достигаются, например, при использовании покрытий на основе эпоксидных смол. На рисунке К.2 схематично показано применение данного метода. Аналогично методу 9.1 арматуру следует очистить от бетона на глубину более 20 мм, от продуктов коррозии и нанести на нее покрытие. После этого конструкция восстанавливается подходящим строительным раствором или бетоном.

C1, C2 - защитный слой бетона;
X - глубина с критическим уровнем содержания хлоридов или глубина карбонизации;
П - пассивированный участок поверхности без коррозии;
А - В - участки с коррозией арматуры вследствие:
А - недостаточного защитного слоя бетона;
Б - недостаточного качества бетона;
В - наличия трещин

Рисунок К.2 - Схематичное изображение метода 9.2 после применения
К.2.2 Типичными областями применения метода 9.2 являются конструкции с отсутствием достаточного защитного слоя бетона или невозможности его обеспечения, а также временная защита арматуры, остававшейся незащищенной в течение длительного периода времени.
К.2.3 При проектировании ремонта по методу 9.2 следует учитывать риск возникновения коррозии под покрытием в случае недостаточного качества и наличия в покрытии трещин и т.д.
К.2.4 В процессе производства работ следует:
- осуществлять тщательную очистку арматуры;
- обеспечивать равномерное нанесение покрытия;
- контролировать толщину и сплошность наносимого покрытия, значения адгезии к арматуре и т.д.;
- улучшить сцепление покрытия арматуры с ремонтным составом;
- следить за состоянием арматурного каркаса в бетоне.
К.2.5 Для обеспечения долговечности необходимо проведение регулярных осмотров и выполнение контроля коррозионного состояния арматуры в бетоне.
К.2.6 Дополняющие методы: метод 9.1 и 1.3.
К.3 Метод 9.3 - Введение в бетон или нанесение на бетон ингибиторов коррозии
К.3.1 Метод 9.3 предусматривает два способа использования ингибиторов коррозии при ремонте железобетонных конструкций (рисунки К.3 и К.4). Ингибиторы наносят на поверхность бетона (метод 9.3-1) или смешивают с ремонтными растворами (метод 9.3-2).

C1, C2 - защитный слой бетона;
X - глубина с критическим уровнем содержания хлоридов или глубина карбонизации;
П - пассивированный участок поверхности без коррозии;
А - В - участки с коррозией арматуры вследствие:
А - недостаточного защитного слоя бетона;
Б - недостаточного качества бетона;
В - наличия трещин

Рисунок К.3 - Схематичное изображение метода 9.3-1 после применения

C1, C2 - защитный слой бетона;
X - глубина с критическим уровнем содержания хлоридов или глубина карбонизации;
П - пассивированный участок поверхности без коррозии;
А - В - участки с коррозией арматуры вследствие:
А - недостаточного защитного слоя бетона;
Б - недостаточного качества бетона;
В - наличия трещин

Рисунок К.4 - Схематичное изображение метода 9.3-2 после применения
К.3.2 Типичной областью применения метода 9.3 является защита арматуры конструкций от коррозии в дополнение к другим методам на раннем этапе коррозии.
К.3.3 Для проектирования ремонта по методам 9.3-1 и 9.3-2 проводят испытания участков конструкции с целью определения эффективности и оценки долговечности работ в конкретных условиях (контролируются состояние бетона и арматурного каркаса, условия окружающей среды и пр.).
К.3.4 В процессе осуществления работ следует применять ингибиторы по технологии, указанной в спецификациях на материалы.
К.3.5 Контроль качества работ и отработку технологии необходимо осуществлять на пробных участках конструкций.
К.3.6 Для обеспечения долговечности конструкций нужно проведение регулярных осмотров и выполнение контроля коррозионного состояния арматуры в бетоне.
К.3.7 Дополняющие методы: метод 1.3 (нанесение покрытий).
Библиография
[1] Федеральный закон от 30 декабря 2009 г. N 384-ФЗ "Технический регламент о безопасности зданий и сооружений"
[2] Федеральный закон от 22 июля 2008 г. N 123-ФЗ "Технический регламент о требованиях пожарной безопасности"
[3] Федеральный закон от 27 декабря 2002 г. N 184-ФЗ "О техническом регулировании"
[4] СП 13-102-2003 Правила обследования несущих строительных конструкций зданий и сооружений
[5] СНиП 12-03-2001 Безопасность труда в строительстве. Часть 1. Общие требования
[6] СНиП 12-04-2002 Безопасность труда в строительстве. Часть 2. Строительное производство
[7] П 85-2001 Рекомендации по анализу данных и проведению натурных наблюдений за напряженно-деформированным состоянием, раскрытием швов и трещин в бетонных и железобетонных сооружениях
[8] ОДМ 218.3.001-2010 Рекомендации по диагностике активной коррозии арматуры в железобетонных конструкциях мостовых сооружений на автомобильных дорогах методом потенциалов полуэлемента
[9] - [12] Исключены с 29.12.2023. - Изменение N 1
[13] МИ 41-88 Методические указания. Государственная система обеспечения единства измерений. Методика выполнения измерений параметров шероховатости поверхности по ГОСТ 2789-73 при помощи приборов профильного метода








