СП 348.1325800.2017 (22.12.2023) ИНДУСТРИАЛЬНЫЕ ПАРКИ И ПРОМЫШЛЕННЫЕ КЛАСТЕРЫ. ПРАВИЛА ПРОЕКТИРОВАНИЯ
Утв. и введен в действие Приказом Министерства строительства и жилищно-коммунального хозяйства РФ от 21 сентября 2017 г. N 1240/пр
Industrial parks and indastrial clusters. Desing rules
Дата введения - 22 марта 2018 года
Предисловие
Сведения о своде правил
1 ИСПОЛНИТЕЛЬ - Акционерное общество "Центральный научно-исследовательский и проектно-экспериментальный институт промышленных зданий и сооружений"
2 ВНЕСЕН Техническим комитетом по стандартизации ТК 465 "Строительство"
3 ПОДГОТОВЛЕН К УТВЕРЖДЕНИЮ Департаментом градостроительной деятельности и архитектуры Министерства строительства и жилищно-коммунального хозяйства Российской Федерации (Минстрой России)
4 УТВЕРЖДЕН приказом Министерства строительства и жилищно-коммунального хозяйства Российской Федерации (Минстрой России) от 21 сентября 2017 г. N 1240/пр и введен в действие с 22 марта 2018 г.
5 ЗАРЕГИСТРИРОВАН Федеральным агентством по техническому регулированию и метрологии (Росстандарт)
6 ВВЕДЕН ВПЕРВЫЕ
В случае пересмотра (замены) или отмены настоящего свода правил соответствующее уведомление будет опубликовано в установленном порядке. Соответствующая информация, уведомление и тексты размещаются также в информационной системе общего пользования - на официальном сайте разработчика (Минстрой России) в сети Интернет
Введение
Настоящий свод правил разработан в соответствии с требованиями Федеральных законов от 31 декабря 2014 г. N 488-ФЗ "О промышленной политике в Российской Федерации" [1], от 28 июня 2014 г. N 172-ФЗ "О стратегическом планировании в Российской Федерации" [2], от 30 декабря 2009 г. N 384-ФЗ "Технический регламент о безопасности зданий и сооружений" [3], от 23 ноября 2009 г. N 261-ФЗ "Об энергосбережении, повышении энергетической эффективности и о внесении изменений в отдельные законодательные акты Российской Федерации" [4], от 27 декабря 2002 г. N 184-ФЗ "О техническом регулировании" [5], СП 42.13330.
Настоящий свод правил разработан авторским коллективом АО "ЦНИИпромзданий" (руководитель работы - д-р техн. наук В.В. Гранев, ответственный исполнитель - канд. архитектуры Д.К. Лейкина; исполнители: канд. техн. наук Т.Е. Стороженко, архитектор Ю.В. Моторина.
Изменение N 1 к настоящему своду правил разработано АО "ЦНИИПромзданий" (д-р техн. наук В.В. Гранев, канд. архитектуры Д.К. Лейкина).
Изменение N 2 к настоящему своду правил разработано АО "ЦНИИПромзданий" (канд. техн. наук Н.Г. Келасьев, канд. архитектуры Д.К. Лейкина, Ю.В. Моторина, Н.В. Дорошенко) при участии канд. техн. наук Е.М. Озеровой, М.Р. Анисимовой.
1.1 Настоящий свод правил распространяется на проектирование новых и реконструкцию существующих индустриальных парков и промышленных кластеров, расположенных на территории городских и сельских поселений и устанавливает правила к их планировке и застройке.
1.2 Настоящий свод правил не распространяется на проектирование и реконструкцию индустриальных парков и промышленных кластеров оборонно-промышленного комплекса [1].
В настоящем своде правил использованы нормативные ссылки на следующие документы:
ГОСТ 12.3.002-2014 Система стандартов безопасности труда. Процессы производственные. Общие требования безопасности
ГОСТ Р 53247-2009 Техника пожарная. Пожарные автомобили. Классификация, типы и обозначения
ГОСТ Р 54531-2011 Нетрадиционные технологии. Возобновляемые и альтернативные источники энергии. Термины и определения
ГОСТ Р 55100-2012 Ресурсосбережение. Наилучшие доступные технологии обращения с отходами в горнодобывающей промышленности. Аспекты эффективного применения
ГОСТ Р 56301-2014 Индустриальные парки. Требования
ГОСТ Р 56425-2021 Технопарки. Требования
СП 1.13130.2020 Системы противопожарной защиты. Эвакуационные пути и выходы (с изменением N 1)
СП 2.13130.2020 Системы противопожарной защиты. Обеспечение огнестойкости объектов защиты (с изменением N 1)
СП 4.13130.2013 Системы противопожарной защиты. Ограничение распространения пожара на объектах защиты. Требования к объемно-планировочным и конструктивным решениям (с изменениями N 1, N 2, N 3, N 4)
СП 10.13130.2020 Системы противопожарной защиты. Внутренний противопожарный водопровод. Нормы и правила проектирования
СП 11.13130.2009 Места дислокации подразделений пожарной охраны. Порядок и методика определения (с изменением N 1)
СП 12.13130.2009 Определение категорий помещений, зданий и наружных установок по взрывопожарной и пожарной опасности (с изменением N 1)
СП 14.13330.2018 "СНиП II-7-81* Строительство в сейсмических районах" (с изменениями N 2, N 3)
СП 18.13330.2019 Производственные объекты. Планировочная организация земельного участка (СНиП II-89-80* Генеральные планы промышленных предприятий) (с изменениями N 1, N 2)
СП 19.13330.2019 Сельскохозяйственные предприятия. Планировочная организация земельного участка (СНиП II-97-76 "Генеральные планы сельскохозяйственных предприятий") (с изменением N 1)
СП 25.13330.2020 "СНиП 2.02.04-88 Основания и фундаменты на вечномерзлых грунтах" (с изменением N 1)
СП 31.13330.2021 "СНиП 2.04.02-84* Водоснабжение. Наружные сети и сооружения"
СП 32.13330.2018 "СНиП 2.04.03-85 Канализация. Наружные сети и сооружения" (с изменениями N 1, N 2)
СП 34.13330.2021 "СНиП 2.05.02-85* Автомобильные дороги"
СП 37.13330.2012 "СНиП 2.05.07-91* Промышленный транспорт" (с изменениями N 1, N 2, N 3, N 4, N 5, N 6, N 7)
СП 42.13330.2016 "СНиП 2.07.01-89* Градостроительство. Планировка и застройка городских и сельских поселений" (с изменениями N 1, N 2, N 3, N 4)
СП 44.13330.2011 "СНиП 2.09.04-87 Административные и бытовые здания" (с изменениями N 1, N 2, N 3, N 4)
СП 51.13330.2011 "СНиП 23-03-2003 Защита от шума" (с изменениями N 1, N 2, N 3, N 4)
СП 52.13330.2016 "СНиП 23-05-95* Естественное и искусственное освещение" (с изменениями N 1, N 2)
СП 56.13330.2021 "СНиП 31-03-2001 Производственные здания"
СП 58.13330.2019 "СНиП 33-01-2003 Гидротехнические сооружения. Основные положения" (с изменениями N 1, N 2)
СП 59.13330.2020 "СНиП 35-01-2001 Доступность зданий и сооружений для маломобильных групп населения" (с изменениями N 1, N 2)
СП 78.13330.2012 "СНиП 3.06.03-85 Автомобильные дороги" (с изменениями N 1, N 2)
СП 82.13330.2016 "СНиП III-10-75 Благоустройство территорий" (с изменениями N 1, N 2)
СП 91.13330.2012 "СНиП II-94-80 Подземные горные выработки" (с изменением N 1)
СП 104.13330.2016 "СНиП 2.06.15-85 "Инженерная защита территории от затопления и подтопления" (с изменением N 1)
СП 113.13330.2023 "СНиП 21-02-99* Стоянки автомобилей"
СП 115.13330.2016 "СНиП 22-01-95 Геофизика опасных природных воздействий"
СП 116.13330.2012 "СНиП 22-02-2003 Инженерная защита территорий, зданий и сооружений от опасных геологических процессов. Основные положения" (с изменениями N 1, N 2)
СП 118.13330.2022 "СНиП 31-06-2009 Общественные здания и сооружения" (с изменениями N 1, N 2, N 3)
СП 121.13330.2019 "СНиП 32-03-96 Аэродромы" (с изменением N 1)
СП 127.13330.2023 Объекты размещения отходов производства. Основные положения по проектированию (СНиП 2.01.28-85 Полигоны по обезвреживанию и захоронению токсичных промышленных отходов. Основные положения по проектированию)
СП 132.13330.2011 Обеспечение антитеррористической защищенности зданий и сооружений. Общие требования проектирования
СП 134.13330.2022 Системы электросвязи зданий и сооружений. Основные положения проектирования
СП 136.13330.2012 Здания и сооружения. Общие положения проектирования с учетом доступности для маломобильных групп населения" (с изменением N 1, N 2)
СП 139.13330.2012 Здания и помещения с местами для труда инвалидов. Правила проектирования (с изменением N 1)
СП 140.13330.2012 Городская среда. Правила проектирования для маломобильных групп населения (с изменением N 1)
СП 160.1325800.2014 Здания и комплексы многофункциональные. Правила проектирования (с изменениями N 1, N 2)
СП 248.1325800.2016 Сооружения подземные. Правила проектирования
СП 250.1325800.2016 Здания и сооружения. Защита от подземных вод (с изменением N 1)
СП 254.1325800.2016 Здания и территории. Правила проектирования защиты от производственного шума
СП 256.1325800.2016 Электроустановки жилых и общественных зданий. Правила проектирования и монтажа (с изменениями N 1, N 2 N 3, N 4, N 5)
СП 320.1325800.2017 Полигоны для твердых коммунальных отходов. Проектирование, эксплуатация и рекультивация (с изменением N 1)
СП 403.1325800.2018 Территории производственного назначения. Правила проектирования благоустройства (с изменением N 1)
СП 431.1325800.2019 Дороги промышленные автомобильные. Правила проектирования и строительства в Арктической зоне
СП 447.1325800.2019 Железные дороги в районах вечной мерзлоты. Основные положения проектирования (с изменением N 1)
СанПиН 2.2.1/2.1.1.1200-03 Санитарно-защитные зоны и санитарная классификация предприятий, сооружений и иных объектов
СанПиН 1.2.3685-21 Гигиенические нормативы и требования к обеспечению безопасности и (или) безвредности для человека факторов среды обитания
СанПиН 2.1.3684-21 Санитарно-эпидемиологические требования к содержанию территорий городских и сельских поселений, к водным объектам, питьевой воде и питьевому водоснабжению, атмосферному воздуху, почвам, жилым помещениям, эксплуатации производственных, общественных помещений, организации и проведению санитарно-противоэпидемических (профилактических) мероприятий
Примечание - При пользовании настоящим сводом правил целесообразно проверить действие ссылочных документов в информационной системе общего пользования - на официальном сайте федерального органа исполнительной власти в сфере стандартизации в сети Интернет, на официальном сайте федерального органа исполнительной власти, разработавшего и утвердившего настоящий свод правил, или по ежегодному информационному указателю "Национальные стандарты", который опубликован по состоянию на 1 января текущего года, и по выпускам ежемесячного информационного указателя "Национальные стандарты" за текущий год. Если заменен ссылочный документ, на который дана недатированная ссылка, то рекомендуется использовать действующую версию этого документа с учетом всех внесенных в данную версию изменений. Если заменен ссылочный документ, на который дана датированная ссылка, то рекомендуется использовать версию этого документа с указанным выше годом утверждения (принятия). Если после утверждения настоящего свода правил в ссылочный документ, на который дана датированная ссылка, внесено изменение, затрагивающее положение, на которое дана ссылка, то это положение рекомендуется применять без учета данного изменения. Если ссылочный документ отменен без замены, то положение, в котором дана ссылка на него, рекомендуется применять в части, не затрагивающей эту ссылку. Сведения о действии сводов правил целесообразно проверить в Федеральном информационном фонде стандартов.
В настоящем своде правил применяются термины по ГОСТ Р 56301, СП 18.13330, СП 42.13330, СП 59.13330 и [1], а также следующие термины с соответствующими определениями:
3.1 Исключен с 23.05.2020. - Изменение N 1
3.1а вертикальное функциональное зонирование: Пространственно-функциональная организация объектов, расположенных в кварталах территориального промышленного кластера или индустриального парка, сформированная по уровням (этажам) на основе функциональных и технологических взаимосвязей и объединенная между собой вертикальными коммуникациями (лестницы, лифты, эскалаторы и др.).
3.1б горизонтальное функциональное зонирование: Пространственно-функциональное деление территории территориального промышленного кластера или индустриального парка на зоны, исходя из общности их функционального назначения и внутренних технологических взаимосвязей и объединенные горизонтальными коммуникациями (транспортной и пешеходной инфраструктурами).
3.2 исключен с 23.01.2024. - Изменение N 2
3.3 исключен с 23.01.2024. - Изменение N 2
3.4
|
индустриальный (промышленный) парк: Управляемый управляющей компанией комплекс объектов недвижимого имущества, состоящий из земельного участка (участков) с производственными, административными, складскими и иными зданиями, строениями и сооружениями, обеспеченный инженерной и транспортной инфраструктурой, необходимой для создания нового промышленного производства, а также обладающий необходимым правовым режимом для осуществления производственной деятельности. [ГОСТ Р 56301-2014, пункт 3.1] |
3.5 инженерная инфраструктура: Система инженерных коммуникаций и сооружений водоснабжения, водоотведения, тепло-, электро- и газоснабжения, связи, необходимая для жизнеобеспечения производственных, научно-исследовательских, образовательных и иных объектов индустриального парка и территориального промышленного кластера.
3.6 квартал: Планировочная единица застройки индустриального парка и территориального промышленного кластера, ограниченная магистральными улицами и дорогами, предназначенная для размещения производственных, научно-исследовательских, образовательных, жилых и иных объектов.
3.7 кластерный подход: Комплексное развитие производственных территорий городских и сельских поселений на основе кооперации производственных, научно-исследовательских, образовательных и жилых образований для продвижения взаимоувязанных технологий в целях создания конечного промышленного продукта.
3.8 кластерная система: Система, обеспечивающая благоприятные условия для инновационного развития различных отраслей промышленности на основе создания промышленных кластеров.
3.9 красная линия (здесь): Граница застройки земельных участков кварталов индустриальных парков и территориальных промышленных кластеров.
3.10 Исключен с 23.05.2020. - Изменение N 1
3.10а производственно-жилой квартал: Планировочная единица застройки территориального промышленного кластера или индустриального парка, сформированная по типу многофункциональной общественно-деловой зоны, в котором исходя из санитарных требований допускается размещать жилую застройку, обеспеченную объектами повседневного обслуживания и предназначенную для проживания основной доли работающих.
3.11 промышленная инфраструктура: Совокупность транспортной и инженерной инфраструктур, необходимая для инновационной деятельности объектов в границах индустриального парка и территориального промышленного кластера, размещенная вне границ кварталов.
3.12
|
промышленный кластер: Совокупность субъектов деятельности в сфере промышленности, связанных отношениями в указанной сфере вследствие территориальной близости и функциональной зависимости и размещенных на территории одного субъекта Российской Федерации или на территориях нескольких субъектов Российской Федерации. [1, статья 3, пункт 13] |
3.13 территориальный промышленный кластер: Территориальная единица промышленного кластера с функционально-технологической организацией земельного участка, обеспечивающая инновационное развитие производственных, научно-исследовательских и образовательных объектов в границах отведенной территории и технологически связанная с субъектами деятельности промышленного кластера в целом.
3.13а технологическая инфраструктура (здесь): Здания и сооружения административного, инжиниринго-производственного и других видов обслуживания для осуществления научно-технической или инновационной деятельности производственных, научно-исследовательских, образовательных объектов, размещенные в кварталах территориального промышленного кластера.
3.13б территория индустриального парка, территориального промышленного кластера: Производственная функциональная зона, с границами территории и функциональным назначением, определенными документами территориального планирования, предназначенная для размещения земельных участков кварталов с производственными, научно-исследовательскими, образовательными и иными объектами, объединенной транспортной, пешеходной и инженерной инфраструктурами, необходимыми для создания инновационного промышленного продукта.
3.14 транспортная инфраструктура (здесь): Система транспортных коммуникаций и сооружений в границах территорий общего пользования, объединяющей кварталы индустриального парка и территориального промышленного кластера, предназначенная для обеспечения движения и хранения транспортных средств, в том числе автомобильные дороги, железнодорожные пути, тоннели, эстакады, мосты, переезды, путепроводы.
3.15 функционально-планировочная организация индустриального парка и территориального промышленного кластера: Система кварталов индустриального парка, территориального промышленного кластера, связанная в единую архитектурно-планировочную систему транспортными коммуникациями.
3.16 функционально-технологическое зонирование индустриального парка и территориального промышленного кластера: Зонирование территории с учетом взаимных технологических связей производственных, научно-исследовательских и образовательных объектов и промышленной инфраструктуры.
3.17
|
экопромышленный парк: Индустриальный (промышленный) парк, объекты промышленной инфраструктуры которого используются для создания промышленного производства или модернизации промышленного производства, в том числе осуществления деятельности по утилизации отходов, и (или) обработке, и (или) обезвреживанию отходов, и (или) вовлечению отходов в хозяйственный оборот в качестве вторичного сырья при производстве промышленной продукции и выполнении работ. [19, пункт 1] |
Сокращения
В настоящем своде правил применены следующие сокращения:
ДВП - древесноволокнистая плита;
ДСП - древесно-стружечная плита;
ЛПК - лесопромышленный комплекс;
МДФ - волокнистая плита средней плотности;
ОС - окружающая среда;
ТКО - твердые коммунальные отходы;
ЦБП - целлюлозно-бумажное производство;
ЦСП - цементно-стружечная плита.
4.1 Формирование безопасной и комфортной производственной среды на территории индустриальных парков и промышленных кластеров следует выполнять на основе комплексных градостроительных, архитектурно-планировочных и инженерных решений с учетом требований [2], [6], СП 42.13330, СанПиН 2.2.1/2.1.1.1200.
4.2 Проектирование новых производственных объектов, их реконструкцию и техническое перевооружение следует осуществлять в составе индустриальных парков и промышленных кластеров в случаях, когда это экономически эффективно, не противоречит градостроительным, экологическим и санитарно-гигиеническим требованиям, и связано с необходимостью их организационного и производственного объединения.
4.3 Создание новых, реконструкцию и развитие существующих индустриальных парков и промышленных кластеров на территории Российской Федерации следует осуществлять в соответствии с [2] и на основе документов территориального планирования [6, глава 3].
4.4 Индустриальные парки и промышленные кластеры следует проектировать как производственные зоны городских и сельских поселений Российской Федерации в соответствии с [6, глава 4] и СП 42.13330, а также исходя из совокупности социальных, экономических, экологических и иных факторов в целях обеспечения занятости населения [1], [6].
4.5 Исключен с 23.05.2020. - Изменение N 1
4.6 В зависимости от географического расположения и территориальной близости размещения субъектов, формирующих промышленный кластер, проектируется три основных типа промышленных кластеров:
- муниципальный;
- региональный;
- национальный.
Характеристики типов промышленных кластеров приведены в приложении А.
4.7 Проектирование индустриальных парков и промышленных кластеров следует осуществлять комплексно на основе единой объемно-пространственной организации функционально-планировочной структуры городских и сельских поселений в соответствии с СП 42.13330.
При этом следует учитывать перспективы развития близлежащих городских и сельских поселений, рациональное использование природных ресурсов и охрану окружающей среды.
4.8 Расчетный срок строительства индустриальных парков и промышленных кластеров для осуществления различных совместных проектов (инфраструктурных, научных, социальных, маркетинговых), следует принимать в соответствии со сроками территориального планирования и градостроительного прогноза по СП 42.13330.
4.9 Индустриальные парки и промышленные кластеры следует проектировать до начала разработки проектной документации производственных и иных объектов, входящих в их состав, в последовательности, приведенной в приложении Б.
4.10 Функционально-планировочная организация индустриальных парков и промышленных кластеров является основой для разработки проектной документации на строительство производственных и иных объектов, входящих в их состав.
4.11 Индустриальные парки и промышленные кластеры проектируют на основе проектов планировки территории с учетом схем территориального планирования и генеральных планов соответствующих муниципальных образований [3, статьи 18, 28]. Производственные и иные объекты, входящие в состав индустриальных парков и промышленных кластеров [6, главы 3 и 5], содержат:
- инфраструктурное и ресурсное обеспечение территории и оценку объемов капитальных затрат на создание объектов промышленной инфраструктуры в зависимости от классификации промышленного кластера;
- состав и основные технико-экономические показатели производственных объектов, транспортной и инженерной инфраструктур индустриального парка;
- характеристику по числу, составу и технико-экономическим показателям каждого из кварталов, очередность освоения;
- прогнозируемые показатели потребления энергетических и других видов ресурсов.
4.12 Территории индустриальных парков и промышленных кластеров следует размещать на землях несельскохозяйственного назначения или непригодных для сельского хозяйства с учетом требований [7], СП 18.13330, СП 19.13330.
При отсутствии таких земель допускается использовать участки на землях сельскохозяйственного назначения с учетом требований [8] на основании [12].
В состав территории экопромышленного парка допускается включать земельные участки с видом разрешенного использования "специальная деятельность" согласно [19].
4.13 Размещение индустриальных парков и промышленных кластеров на землях государственного лесного фонда следует принимать в соответствии с СП 18.13330, [9], [20].
Размещение экопромышленных парков на землях государственного лесного фонда не допускается [21].
4.14 Производственные и иные объекты, входящие в состав индустриальных парков и промышленных кластеров следует размещать компактно, исходя из общего функционально-технологического зонирования, расчета возможного отрицательного воздействия вредных производств на технологические процессы, сырье или продукцию другого производства, а также на санитарно-гигиенические условия в местах приложения труда.
Производственные и иные объекты, входящие в состав экопромышленных парков, проектируют с учетом обеспечения переработки производственных отходов и мусора, эффективной очистки от вредных примесей отработанной воды и получения на этой основе энергии, возобновляемых или полностью новых материалов для дальнейшего использования в различных областях промышленности, оптимального, наиболее рационального и сбалансированного использования всех видов природных ресурсов: энергии, водных ресурсов и пр. [22].
4.15 При размещении объектов индустриальных парков и промышленных кластеров следует учитывать существующие установленные границы санитарно-защитных зон объектов, находящихся вблизи планируемых границ индустриальных парков и промышленных кластеров.
В существующих установленных границах санитарно-защитных зон запрещается размещение объектов для производства и хранения лекарственных средств, объектов пищевых отраслей промышленности, оптовых складов продовольственного сырья и пищевой продукции, комплексов водопроводных сооружений для подготовки и хранения питьевой воды, использования земельных участков в целях производства, хранения и переработки сельскохозяйственной продукции, предназначенной для дальнейшего использования в качестве пищевой продукции, если химическое, физическое и (или) биологическое воздействие объекта, в отношении которого установлена санитарно-защитная зона, приведет к нарушению качества и безопасности таких средств, сырья, воды и продукции в соответствии с установленными к ним требованиями [21].
В санитарно-защитной зоне объектов пищевых отраслей промышленности, оптовых складов продовольственного сырья и пищевой продукции, производства лекарственных веществ, лекарственных средств и (или) лекарственных форм, складов сырья и полупродуктов для фармацевтических предприятий допускается размещение новых профильных, однотипных объектов, при исключении взаимного негативного воздействия на продукцию, среду обитания и здоровье человека согласно СанПиН 2.2.1/2.1.1.1200.
При планировании размещения резидентов на территории индустриальных парков и промышленных кластеров также учитывают классификацию промышленных объектов и производств по СанПиН 2.2.1/2.1.1.1200, в том числе учитывают требования схем территориального планирования и правил землепользования и застройки.
Для действующих индустриальных парков и промышленных кластеров устанавливается единая санитарно-защитная зона с учетом суммарных выбросов в атмосферный воздух и физического воздействия источников промышленных объектов и производств, входящих в единую зону согласно СанПиН 2.2.1/2.1.1.1200.
4.16 Производственные объекты с источниками внешнего шума не следует размещать на границах индустриальных парков и промышленных кластеров по отношению к жилым и общественным зданиям, а также предусматривать шумозащитные мероприятия в соответствии с СП 51.13330.
4.17 Размещение индустриальных парков и промышленных кластеров в климатических зонах с наличием многолетнемерзлых грунтов следует принимать в соответствии с СП 18.13330, СП 25.13330.
4.18 Размещение индустриальных парков и промышленных кластеров в сейсмических районах следует предусматривать в соответствии с СП 14.13330.
4.19 Размещение индустриальных парков и промышленных кластеров в водоохранных и прибрежных зонах водоемов допускается только при технологической необходимости непосредственного примыкания территории производственных объектов к водоемам (объекты портовой и иной инфраструктуры, которые не могут располагаться иначе) с соблюдением требований и ограничений [9] с обеспечением технических решений систем защиты подземных сооружений различного назначения от подземных вод по СП 250.1325800. Число и протяженность примыканий земельных участков объектов к водоемам должны быть минимальными в соответствии с [9].
При размещении индустриальных парков и промышленных кластеров в зонах подтопления обеспечивают защиту территории и объектов от негативного воздействия вод инженерными сооружениями и (или) методами инженерной защиты в соответствии с СП 104.13330 и [9].
При создании (развитии) портовой инфраструктуры по хранению и перевалке минеральных удобрений, включая аммиачную селитру, в составе индустриального парка и (или) промышленного кластера зоны санитарной охраны районов водопользования устанавливают по расчету с учетом применяемой технологии хранения и перевалки минеральных удобрений и требований СанПиН 2.1.3684, СП 18.13330.
4.20 При размещении индустриальных парков и промышленных кластеров на прибрежных защитных полосах рек и других водоемов планировочные отметки территории принимают в соответствии с СП 18.13330, СП 58.13330.
Размещение индустриальных парков и промышленных кластеров не допускается:
а) в первом поясе зоны санитарной охраны подземных и наземных источников водоснабжения в соответствии с СанПиН 2.1.3684;
б) в первой зоне округа санитарной охраны курортов [21], если проектируемые объекты не связаны непосредственно с эксплуатацией природных лечебных средств курорта;
в) в зеленых зонах городских и сельских поселений;
г) на землях особо охраняемых природных территорий, в т.ч. заповедниках и их охранных зонах;
д) в зонах охраны памятников истории и культуры, в опасных зонах отвалов породы угольных и сланцевых шахт или обогатительных фабрик;
ж) в районах развития опасных геологических и инженерно-геологических процессов, оползней, оседания или обрушения поверхности под влиянием горных разработок, селевых потоков и снежных лавин в соответствии с СП 115.13330, СП 116.13330;
и) на участках, загрязненных органическими и радиоактивными отбросами в соответствии с СП 18.13330, до истечения сроков, устанавливаемых органами санитарно-эпидемиологической службы по [23];
к) в зонах возможного катастрофического затопления в результате разрушения плотин с учетом требований СП 18.13330, СП 58.13330.
Объекты, предельно допустимые выбросы загрязняющих веществ которых не превышают требования раздела II СанПиН 1.2.3685-21, размещают в границах территории индустриальных и экопромышленных парков, территориальных промышленных кластеров с санитарно-защитной зоной шириной менее 500 м.
Объекты с источниками внешнего шума с уровнями звука 50 дБA и более следует размещать по отношению к жилым и общественным зданиям в соответствии с СП 51.13330, СП 254.1325800, а также предусматривать шумозащитные мероприятия по СП 18.13330.
4.21 Индустриальные парки и промышленные кластеры с производственными объектами, требующими устройства грузовых причалов, пристаней или других портовых сооружений, следует размещать по течению реки ниже жилых и общественно-деловых зон.
4.22 Индустриальные парки и промышленные кластеры с производственными объектами, которые угрожают безопасности полетов воздушных судов или создают помехи для работы радиотехнических средств аэродромов, размещают в соответствии с СП 121.13330, [10].
4.23 В случае размещения индустриальных парков и промышленных кластеров в районе расположения радиостанций, сооружений специального назначения, складов сильнодействующих ядовитых веществ расстояние от указанных сооружений до проектируемых объектов следует принимать согласно [11].
4.24 В индустриальных парках (за исключением экопромышленных парков) и промышленных кластерах устройство отвалов, шлаконакопителей, хвостохранилищ, отходов и отбросов предприятий при невозможности их утилизации допускается с учетом требований ГОСТ Р 55100, СП 91.13330, СП 127.13330, СП 320.1325800. При этом для индустриальных парков и территориальных промышленных кластеров предусматривают централизованные (групповые) отвалы в соответствии с требованиями СП 18.13330.
В составе экопромышленных парков устройство объектов размещения отходов не допускается.
4.25 Индустриальные парки и промышленные кластеры размещают:
- на вновь отведенных земельных участках производственных зон городских и сельских поселений, обеспеченных частично или в полном объеме промышленной инфраструктурой;
- на вновь отведенных земельных участках производственных зон городских и сельских поселений, не обеспеченных промышленной инфраструктурой;
- на землях ранее существующих производственных зон городских и сельских поселений, в отношении которых проводится реконструкция или капитальный ремонт.
4.26 При проектировании объектов различного функционального назначения на территории индустриальных парков и промышленных кластеров следует максимально использовать подземное пространство:
- при соответствии подземного размещения требованиям технологии производства - предприятия по изготовлению светочувствительных материалов, холодильники, охлаждаемые хранилища; производства, не допускающие вибрацию;
- при отсутствии необходимости в естественном освещении для функционирования производств и небольшом по времени (периодическом) пребывании обслуживающего персонала - склады сырья, готовой продукции, комплектующих изделий и материалов; архивы; помещения инженерно-технического обслуживания; трансформаторные подстанции (с сухими трансформаторами), электрораспределительные устройства, пункты теплогазоснабжения, очистные сооружения, насосные, гаражи; полностью автоматизированные производства;
- при размещении помещений общественного назначения в подземных этажах без естественного освещения - в соответствии с СП 52.13330 и СП 118.13330;
- при размещении подземных сооружений - в соответствии с СП 248.1325800.
4.27 Планировку и застройку кварталов с производственными объектами на территории индустриальных парков и промышленных кластеров следует проектировать в соответствии с СП 18.13330 и СП 56.13330.
Планировку и застройку кварталов с научно-исследовательскими, образовательными объектами следует проектировать в соответствии с СП 42.13330 и СП 118.13330.
Проектирование кварталов с жилой и общественно-деловой застройкой в границах индустриальных парков и промышленных кластеров допускается при размещении в них предприятий классов опасности I - III в соответствии с СанПиН 2.2.1/2.1.1.1200 при условии соблюдения требований в области санитарно-эпидемиологического благополучия населения по [23].
4.28 При проектировании индустриальных парков и промышленных кластеров для обеспечения безопасных условий передвижения МГН к местам приложения труда следует руководствоваться СП 59.13330, СП 136.13330, СП 139.13330, СП 140.13330.
4.29 При проектировании пешеходных путей вдоль направлений движения транспортной инфраструктуры индустриальных парков и промышленных кластеров следует обеспечивать:
- уклоны тротуаров в соответствии с СП 136.13330;
- минимальное число их пересечений с путями движения транспорта;
- оборудованные светофорами со звуковым сигналом места пересечения с путями движения транспорта, места приближения тротуаров к препятствиям согласно СП 140.13330.
4.30 Подземные пешеходные переходы через магистрали следует оборудовать пандусами и поручнями в соответствии с СП 59.13330.
4.31 Число мест для инвалидов на открытых стоянках автомобилей и их размещение относительно зданий и сооружений различного функционального назначения следует принимать согласноСП 59.13330.
Места для стоянки личных транспортных средств (автомобилей) инвалидов должны быть выделены разметкой и обозначены специальными символами. Ширину стоянки для автомобиля инвалида следует принимать согласно СП 59.13330 и СП 113.13330.
4.32 При проектировании индустриальных парков и промышленных кластеров в их планировочной структуре следует учитывать благоприятные естественно-природные факторы (рельеф местности, лес, водоемы, направления господствующих ветров и т.д.). Территории, обладающие оптимальными по гигиеническим и ландшафтно-эстетическим характеристикам качествами, следует отводить для жилой зоны, а производственные зоны размещать на менее удобных с точки зрения освоения территории землях, приближать их к подъездным путям железнодорожного транспорта согласно СП 37.13330 и автомобильным дорогам категорий I - III согласно СП 34.13330.
Индустриальные парки
5.1 Индустриальные парки следует проектировать с учетом обеспечения пространственной взаимосвязи с функциональными зонами городских и сельских поселений в соответствии с СП 42.13330.
5.2 Размещение кварталов с производственными объектами различных отраслей промышленности, административной и иной застройкой должно формироваться на основе единой функционально-планировочной структуры индустриального парка, обеспеченной инженерной и транспортной инфраструктурами.
5.3 При проектировании индустриальных парков их функционально-планировочная структура, транспортная и инженерная инфраструктуры должны обеспечивать:
- возможность кооперации объектов инженерного обеспечения: хозяйственно-питьевого водоснабжения, хозяйственно-бытовой канализации, электроснабжения, теплоснабжения, газоснабжения, связи и т.п.;
- объединение системы социально-бытового обслуживания;
- единство с транспортной системой городских и сельских поселений;
- разделение грузового и пассажирского движения, создание системы пешеходных и велосипедных дорог; размещение остановок общественного транспорта, исходя из рационального обслуживания работающих и в соответствии с СП 42.13330;
- рациональную организацию пешеходных и транспортных потоков к местам приложения труда, минимизацию расстояний от точек подключения систем жизнеобеспечения до потребителей;
- формирование архитектурного облика зданий и сооружений, исходя из общего объемно-пространственного решения застройки индустриального парка в целом.
Состав, мощность и условия размещения учреждений всех видов следует принимать с учетом существующих видов обслуживания на предприятиях.
5.4 В целях повышения эффективности использования территории индустриальных парков, допускается размещать объекты или их части в подземных этажах при следующих условиях:
- при соответствии подземного размещения требованиям технологии производства - предприятия по изготовлению светочувствительных материалов, холодильники, охлаждаемые хранилища; производства, не допускающие вибрацию;
- при отсутствии необходимости в естественном освещении для функционирования производств и небольшом по времени (периодическом) пребывании обслуживающего персонала - склады сырья, готовой продукции, комплектующих изделий и материалов; архивы; помещения инженерно-технического обслуживания; трансформаторные подстанции (с сухими трансформаторами), электрораспределительные устройства, пункты теплогазоснабжения, очистные сооружения, насосные, гаражи; полностью автоматизированные производства;
- при размещении помещений общественного назначения в подземных этажах без естественного освещения в соответствии с требованиями СП 52.13330 и СП 118.13330.
5.5 Индустриальные парки следует разделять на монопрофильные (специализированные), состоящие из производственных объектов одной отрасли или близких по производственным признакам отраслей промышленности, и многопрофильные (приложение В).
Экопромышленные парки разделяют на: коммунальные, состоящие из предприятий обращения с твердыми коммунальными отходами (ТКО) и (или) вторичным сырьем, полученным при обращении с ТКО; производственные, состоящие из предприятий обращения с промышленными (в том числе строительными) отходами и (или) вторичным сырьем; комбинированные, состоящие из предприятий обращения с промышленными (в том числе строительными) отходами и (или) вторичным сырьем, полученным при обращении с промышленными (в том числе строительными) отходами и обращения с ТКО и (или) вторичным сырьем, полученным при обращении с ТКО.
5.6 При формировании многопрофильных индустриальных парков включение в их состав разноотраслевых предприятий следует выполнять на основе требований [12].
5.7 Исходя из условий размещения и планировочной структуры индустриального парка, следует определять радиус пешеходной доступности обслуживающих учреждений, который не должен превышать 1500 м.
5.8 Оценку эффективного использования территории индустриального парка следует принимать с помощью коэффициента занятости территории по СП 42.13330 (далее - коэффициента использования территории), приведенного в приложении Г.
Плотность застройки кварталов, занимаемых предприятиями и иными объектами, следует принимать в соответствии с 8.4 СП 42.13330.2016 и СП 18.13330.
5.8а В случае если планируемый к размещению в индустриальном парке, в том числе экопромышленном парке и (или) промышленном кластере, объект является объектом I категории, оказывающим негативное воздействие на окружающую среду в соответствии с установленными критериями [24], относится к областям применения наилучших доступных технологий [25], проектирование должно осуществляться с учетом технологических показателей наилучших доступных технологий [26] при обеспечении приемлемого риска для здоровья населения, а также с учетом необходимости создания системы автоматического контроля выбросов загрязняющих веществ и (или) сбросов загрязняющих веществ в соответствии с установленным перечнем [22].
5.8б При проектировании коммунальных экопромышленных парков и планировании размещения резидентов следует соблюдать приоритетность технологических решений в такой последовательности:
- обработка ТКО в целях выделения из их состава твердых видов отходов, пригодных для дальнейшей утилизации;
- утилизация видов отходов, выделенных из состава ТКО при их обработке с использованием их потенциала материального ресурса;
- утилизация видов отходов, выделенных из состава ТКО при их обработке с использованием их потенциала энергетического ресурса;
- обезвреживание ТКО [27].
Материалы, используемые при строительстве объектов обработки, утилизации, обезвреживания ТКО, должны обеспечивать их долговечность и экологическую безопасность.
5.8в Выбор места расположения коммунального экопромышленного парка должен осуществляться с учетом схемы потоков ТКО в соответствии с территориальной схемой обращения с отходами в целях обеспечения максимальной экономической эффективности их функционирования.
5.8г На территории экопромышленного парка должны осуществляться меры по обеспечению контроля доступа посторонних лиц на территорию и объекты. Территория должна быть огорожена. Для предотвращения несанкционированного доступа на территорию экопромышленного парка предусматривают пропускной пункт, оборудованный инженерно-техническими средствами охраны.
5.8д Объекты коммунального экопромышленного парка, а также комбинированного экопромышленного парка, осуществляющие обращение с ТКО, должны быть оборудованы системой весового контроля, автоматизированной системой учета и передачи в государственную информационную систему учета ТКО информации о количестве поступающих на объект отходов, количестве образуемых на объектах отходов, количестве получаемой из ТКО продукции.
5.8е При проектировании коммунального и комбинированного экопромышленных парков следует предусмотреть участок радиационного контроля за отходами, включая: рамку или портативный детектор радиационного автоматизированного контроля; место углубленного радиационного обследования; площадку для отстоя техники с фоном, превышающим требования норм радиационной безопасности, в соответствии с [28].
5.8ж В составе инженерной инфраструктуры коммунального и комбинированного экопромышленных парков должны быть предусмотрены системы фотосъемки и (или) видеосъемки для фиксации движения транспортных средств, доставляющих ТКО на такие объекты, в целях учета и передачи сведений в государственную информационную систему учета ТКО.
5.8и При проектировании инженерной инфраструктуры экопромышленного парка, предназначенного в том числе для размещения объектов обработки ТКО, необходимо предусматривать соблюдение следующих условий:
- установления третьей категории надежности электроснабжения в качестве минимальных требований к надежности электроснабжения объекта обработки ТКО при условии наличия резервных источников энергоснабжения;
- обеспечения объектов обработки ТКО автоматическими системами аварийной остановки производственных линий;
- обустройства мест (площадок) накопления ТКО, подлежащих последующему направлению на обработку;
- объекты обработки ТКО должны обеспечивать возможность извлечения из них видов отходов, пригодных для дальнейшей утилизации. Эффективность обработки должна обеспечивать исполнение показателей по утилизации (за исключением энергетической утилизации), установленных инвестиционными программами по строительству, реконструкции таких объектов, а также территориальной схемой обращения с отходами, в том числе с ТКО, субъекта Российской Федерации.
5.8к Требования к классификации отходов производства по степени негативного воздействия и приоритетных направлений использования в соответствии с [29], [30] в части применения вторичных ресурсов и вторичного сырья из отходов представлены в приложении К.
Территориальные промышленные кластеры
5.9 Территориальные промышленные кластеры следует проектировать исходя из экономической целесообразности размещения в них интегрированных между собой производственных, научно-исследовательских, образовательных, а при условии соблюдения требований СП 42.13330, жилых объектов, в соответствии с приложением Д.
5.10 Территориальные промышленные кластеры следует размещать с учетом возможности их обеспечения прогнозируемыми потребностями в инжиниринго-производственных и социально-бытовых услугах, электроэнергии, тепло-, газо-, водоснабжения, сетях связи, железных и автомобильных дорогах, складах и других видах вспомогательных производств и хозяйств, необходимых для создания инновационной промышленной продукции.
Территорию территориальных промышленных кластеров следует разделять на две планировочные зоны:
- научно-производственную зону, включающую производственные, научно-исследовательские, образовательные, а также в отдельных случаях производственно-жилые образования, и зону технологической инфраструктуры;
- зону промышленной инфраструктуры.
В состав научно-производственной зоны с производственно-жилыми образованиями следует включать кварталы с предприятиями классов опасности III - V по СанПиН 2.2.1/2.1.1.1200 при условии соблюдения режима санитарно-защитной зоны.
В составе научно-производственной зоны с предприятиями классов опасности I и II по СанПиН 2.2.1/2.1.1.1200 размещение производственно-жилых образований не допускается.
Зона технологической инфраструктуры включает кварталы с размещением зданий и сооружений, необходимых для административной, инжинирингово-производственной помощи в выпуске высокотехнологичных товаров и услуг.
Зона промышленной инфраструктуры включает территории, в которых размещены:
- инженерные, транспортные и пешеходные коммуникации, обеспечивающие функционально-планировочную взаимосвязь кварталов научно-производственной зоны;
- санитарно-защитные разрывы, территории благоустройства и т.п.
5.11 Кварталы, в которых размещаются производственные и иные объекты, должны составлять не менее 60% всей территории территориального промышленного кластера в соответствии с СП 42.13330.
Для нового строительства размеры кварталов следует принимать исходя из модульного принципа разбивки территории на основе функционально-технологического зонирования, в соответствии с заданием на проектирование.
Примечания
1 Занятость территории по СП 42.13330 (далее - коэффициент использования территории) не должен превышать значений, приведенных в приложении Е.
2 В условиях реконструкции размеры кварталов следует принимать по заданию на проектирование.
5.12 Функционально-планировочную структуру территориальных промышленных кластеров следует формировать в виде кварталов, в пределах которых размещаются производственные, научно-исследовательские, образовательные, производственно-жилые объекты, технологическая инфраструктура, объединенных между собой промышленной инфраструктурой. Примеры функционально-планировочных решений приведены в приложении Ж.
5.13 При проектировании территориальных промышленных кластеров следует ограничивать применение железнодорожного транспорта за счет использования автомобильного, трубопроводного, пневматического и других видов транспорта, созданием рациональной транспортной схемы движения, с минимальным пересечением людских и грузовых потоков и устройствами пересечений в разных уровнях.
5.14 Территориальные промышленные кластеры следует проектировать на основе:
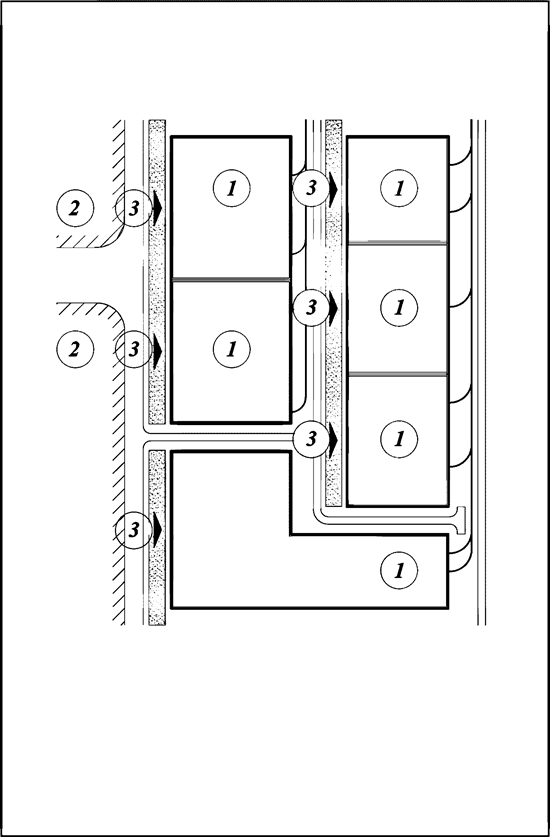
- функционально-технологического зонирования территории, обеспечивающего кратчайшую транспортную и пешеходную взаимосвязь кварталов научно-производственной зоны с учетом выбора наиболее рационального варианта горизонтального (вертикального) функционального зонирования зданий и сооружений, формирующих застройку кварталов;
- функционально-планировочной организации территории, при которой система кварталов объединена транспортными и пешеходными коммуникациями (при горизонтальном функциональном зонировании);
- объемно-пространственной организации кварталов, в которых производственные, научные, образовательные, жилые и другие функции размещены в многофункциональных зданиях и сооружениях (на основе вертикального функционального зонирования), с учетом требований СП 160.1325800.
5.15 При разработке функционально-технологического зонирования кварталы следует группировать с учетом их типологических характеристик и разделять:
- на научные - для размещения научно-исследовательских учреждений, исследовательских центров и конструкторских бюро по разработке инновационных проектов;
- образовательные - для размещения учебных центров, связанных с подготовкой специалистов для разработки и реализации инновационных проектов;
- производственные - для размещения производственных объектов, осуществляющих выпуск и поиски (исследования) приоритетных направлений инновационных проектов и обеспечивающих их инновационное развитие;
- производственно-жилые - для размещения жилой застройки временного и постоянного проживания работающих в территориальном промышленном кластере, сформированной по типу зоны смешанной застройки с учетом требований СП 42.13330;
- многофункциональные - для размещения производственных, научных, образовательных, жилых, социально-бытовых объектов (при вертикальном функциональном зонировании) с учетом требований СП 160.1325800, СП 56.13330 и 5.10 настоящего свода правил;
- технологической инфраструктуры - для размещения зданий и сооружений административного, социального, коммунального и других видов обслуживания.
5.16 Территориальные промышленные кластеры содержат полный набор этих кварталов или часть их в зависимости от функциональных и санитарно-гигиенических приоритетов, а также формироваться на основе интегрированных зон в соответствии с классификацией, приведенной в приложении Е.
5.17 При размещении в территориальном промышленном кластере кварталов с производственно-жилыми образованиями по заданию на проектирование в состав таких кварталов дополнительно следует включать такие объекты технологической инфраструктуры, как:
- культурно-массовое (клубные учреждения с библиотеками, спортивные сооружения и площадки);
- медицинское (поликлиники, здравпункты предприятий, станции скорой помощи, аптеки и др.);
- общественное питание (заготовочные предприятия, рестораны, кафе, закусочные, столовые и буфеты);
- торговое и сервисное обслуживание (магазины, комбинаты бытового обслуживания и их приемные пункты, ателье по пошиву одежды, прачечные и химические чистки, мастерские по ремонту одежды и обуви, отделения связи и сберегательные кассы и др.).
5.18 Функционально-планировочная структура территориального промышленного кластера должна обеспечивать:
- не более 25 - 30 мин в одну сторону времени, затрачиваемого не менее 60% работающих на передвижение от кварталов с производственно-жилыми образованиями к местам приложения труда;
- пешеходную доступность мест приложения труда не менее 30% всего количества работающих территориального промышленного кластера;
- радиус доступности до объектов технологической инфраструктуры не более 700 м для 60% работающих территориального промышленного кластера и рациональное размещение объектов социально-бытового обслуживания внутри кварталов с производственно-жилыми образованиями.
5.19 При размещении в территориальных промышленных кластерах многофункциональных и производственно-жилых кварталов следует обеспечивать кратчайшие (вертикальные или горизонтальные) взаимосвязи между жильем, производством, научными и образовательными объектами, минимизировать протяженность подъездных железнодорожных путей, автомобильных дорог, инженерных коммуникаций.
5.20 Производственно-жилые кварталы располагают в пределах радиуса пешеходной доступности производственной зоны, не превышающего 1700 - 2000 м.
5.21 В производственно-жилых кварталах проектируют развитую по пропускной способности разветвленную систему пешеходных коммуникаций площадей, аллей, тротуаров, кратковременных площадок отдыха, объединяющую кварталы с производственно-жилыми образованиями в единую пространственно-пешеходную структуру.
5.22 Между производственными и производственно-жилыми кварталами следует предусматривать санитарно-защитную зону, обеспечивающую изоляцию производственно-жилых кварталов от неблагоприятного влияния промышленности.
5.23 На территории санитарно-защитной зоны размещают озеленение, здания, транспортные сооружения, инженерные коммуникации и другие элементы промышленной и технологической инфраструктур.
При использовании территории санитарно-защитной зоны обеспечивается следующий ориентировочный баланс ее территории:
30% - 40% - озеленение древесно-кустарниковыми породами общей шириной не менее 20 м при величине санитарно-защитной зоны до 100 м, в других случаях не менее 50 м;
10% - 30% - автомобильные дороги (улицы) местного значения, тротуары, велосипедные дорожки;
40% - 50% - застройка административно-техническими и коммунально-бытовыми объектами, транзитные пути сообщения, прокладка инженерных коммуникаций.
Транспортная инфраструктура
6.1 Транспортную инфраструктуру индустриальных парков следует проектировать как единую систему, представляющую собой комплекс сооружений и устройств для различных видов транспорта, совместно осуществляющего грузовые и пассажирские перевозки внутри их территорий.
В транспортную инфраструктуру следует включать транспортные коммуникации, объединяющие и обслуживающие кварталы индустриальных парков.
6.2 Транспортную доступность территории индустриальных парков следует обеспечивать от границы индустриального парка до ближайших населенных пунктов с помощью автомобильных дорог класса не ниже IV категории согласно ГОСТ Р 52398, примыкающих к дорогам федерального, регионального или местного значения.
6.3 Протяженность железнодорожных путей и автомобильных дорог следует определять от их примыкания к магистралям до границ площадки индустриальных парков, протяженность инженерных коммуникаций - от источников снабжения до границы квартала.
6.4 Автомобильные и железные дороги индустриальных парков и промышленных кластеров следует проектировать согласно СП 34.13330, СП 37.13330, СП 78.13330 и СП 119.13330.
Примечание - При проектировании автомобильных и железных дорог в районах с многолетнемерзлыми грунтами следует учитывать требования СП 431.1325800 и СП 447.1325800.
6.5 В составе транспортной инфраструктуры индустриальных парков следует предусматривать индивидуальные автомобильные стоянки и гаражи для специальных автомобилей аварийной техпомощи, спасательной и пожарной служб и т.п.
6.6 Гаражи и стоянки автомобилей, для работающих на объектах индустриальных парков, следует проектировать в соответствии с СП 113.13330 и размещать вне границ кварталов.
При размещении парковочных мест следует предусматривать места для хранения (стоянки) электромобилей, оборудованные зарядными устройствами, в соответствии с требованиями СП 113.13330. Расчетную потребность парковочных мест, оборудованных зарядными устройствами, следует устанавливать в соответствии с заданием на проектирование, но не менее установленных СП 42.13330.
Инженерная инфраструктура
6.7 Инженерная инфраструктура индустриальных парков должна обеспечивать:
- наличие на территории точек присоединения к электрическим сетям или наличие технических условий на технологическое присоединение;
- наличие существующего подключения или технических условий на подключение к сетям газоснабжения и/или наличие существующего подключения или технических условий на подключение к сетям теплоснабжения;
- наличие существующего подключения или технических условий на подключение к системе водоснабжения и водоотведения.
6.8 Длину внешних магистральных инженерных сетей следует определять от их примыкания к городским коммуникациям или источникам снабжения до площадки индустриального парка. Суммарную протяженность инженерных сетей внутри индустриального парка следует определять от их границы до границ кварталов. Прокладку инженерных коммуникаций вне границ красных линий кварталов следует проектировать подземной.
6.9 При проектировании индустриальных парков в качестве источников жизнеобеспечения промышленных объектов при технологическом и экономическом обосновании используют возобновляемые источники энергии (ГОСТ Р 54531), к которым относятся:
- энергия солнца;
- энергия ветра;
- энергия вод (в том числе энергия сточных вод);
- энергия приливов;
- геотермальная энергия с применением природных подземных геотермальных вод, пара;
- низкопотенциальная тепловая энергия земли, воздуха, воды;
- отходы производства и потребления, за исключением отходов, полученных в процессе применения углеводородного сырья и топлива;
- биогаз;
- газ, выделяемый отходами производства и потребления на полигонах таких отходов.
6.10 В качестве источников водоснабжения индустриальных парков возможно использование поверхностных и подземных вод в соответствии с СП 31.13330.
6.11 В систему водоснабжения инженерной инфраструктуры индустриального парка следует включать водозабор, водоводы, насосные, водоочистные сооружения, резервуары, башни сети и т.д.
6.12 В систему водоотведения инженерной инфраструктуры индустриального парка следует включать коллекторы, насосные станции, очистные сооружения, сети и т.д.
6.13 Тепловые нагрузки, необходимые для выбора основного оборудования источников теплоснабжения в индустриальном парке следует рассчитывать с учетом полного развития всех потребителей индустриального парка.
Размещение сооружения источника тепла индустриального парка следует проектировать с учетом обеспечения минимизации длины коммуникаций до всех потребителей индустриального парка.
6.14 Для индустриальных парков следует принимать тупиковую схему тепловых сетей. На вводе тепловых сетей для объектов индустриального парка следует предусматривать тепловые пункты.
Для предприятий, в которых не допускаются перерывы в подаче тепла, следует предусматривать дублированные или кольцевые схемы тепловых сетей.
6.15 Инженерные сети теплоснабжения внутри кварталов в индустриальном парке следует проектировать наземными, надземными или подземными (в непроходных каналах, тоннелях и бесканальных). Систему прокладки инженерных сетей теплоснабжения необходимо максимально кооперировать с другими сетями индустриального парка.
6.16 При разработке схемы электроснабжения индустриального парка следует учитывать потребность в электроэнергии всех потребителей, выбор напряжения схемы питания и распределения электрической энергии, а также выбор числа, мощности и месторасположения подстанций должен решаться комплексно.
6.17 Выбор места размещения подстанции определяется с учетом оптимальной схемы построения распределительной сети, наличия площадок и коридоров сетей высокого напряжения. Оптимальная мощность и радиус действия подстанции определяются плотностью нагрузок в районе ее размещения и схемой распределительной сети. При большой плотности нагрузок и разветвленной распределительной сети целесообразно рассматривать разукрупнение подстанций.
7.1 Для обеспечения производственной деятельности территориального промышленного кластера следует формировать промышленную и технологическую инфраструктуру.
7.2 Промышленную инфраструктуру следует проектировать с учетом опережающего (по сравнению с производственными и иными объектами) строительства в составе и объемах, необходимых для обеспечения ввода в действие отдельных объектов территориального промышленного кластера.
7.3 Промышленную инфраструктуру территориального промышленного кластера следует разделять на:
- транспортную;
- инженерную;
- социально-бытовую.
Транспортную и инженерную инфраструктуры следует проектировать по 6.1 - 6.17.
7.3а Промышленная инфраструктура должна обеспечивать:
- включение мощностей, необходимых для жизнеобеспечения производственно-жилых образований в общие мощности объектов инженерного обеспечения территориального промышленного кластера: хозяйственно-питьевого водоснабжения, хозяйственно-бытовой канализации, электроснабжения, теплоснабжения, газоснабжения, связи и т.п.;
- минимизацию расстояний от точек подключения систем жизнеобеспечения до потребителей;
- формирование архитектурного облика зданий и сооружений промышленной инфраструктуры исходя из общего объемно-пространственного решения застройки территориального промышленного кластера в целом.
7.3б В случае размещения в территориальном промышленном кластере кварталов с производственно-жилыми образованиями следует разделять потоки грузового и общественного транспорта, создавать обособленную систему пешеходных и велосипедных дорог; размещение остановок общественного транспорта следует выбирать с учетом рационального обслуживания производственных и жилых кварталов в соответствии с СП 42.13330.
Технологическая инфраструктура
7.4 Технологическую инфраструктуру территориальных промышленных кластеров следует проектировать как единую интегрированную систему зданий и сооружений общественного назначения, необходимую для административной, инжиниринго-производственной помощи в выпуске высокотехнологичных товаров и услуг каждого субъекта деятельности и территориального промышленного кластера в целом.
Состав, мощность и размещение объектов технологической инфраструктуры для кварталов с производственно-жилыми образованиями следует формировать с учетом существующих видов обслуживания научно-производственной зоны.
7.5 Технологическая инфраструктура должна обеспечивать:
- организацию обслуживания на основе максимального блокирования;
- доступность объектов обслуживания с учетом минимальных затрат времени работающих.
7.6 Состав и номенклатуру технологической инфраструктуры следует разрабатывать на основе ее ступенчатого построения:
- 1 ступень - цеховое обслуживание (обслуживание вблизи рабочих мест внутри зданий и сооружений);
- 2 ступень - общеобъектное обслуживание (обслуживание в пределах кварталов объектов);
- 3 ступень - групповое обслуживание (обслуживание территориального промышленного кластера в целом).
7.7 Работающих в научно-производственной зоне территориального промышленного кластера следует обеспечивать двумя видами обслуживания:
- повседневное (общественное питание, административно-управленческое, торговое и сервисное);
- периодическое (медицинское, культурно-массовое, учебное).
7.8 Максимальную удаленность зданий и сооружений, обслуживающих кварталы, объекты территориального промышленного кластера от входных групп объектов, расположенных в границах кварталов следует принимать:
- 1000 - 1500 м - для объектов повседневного пользования;
- 1500 - 2000 м - для объектов периодического пользования;
- 2000 - 3000 м - для объектов эпизодического пользования.
7.9 В целях кооперирования подсобно-вспомогательных производств в сеть технологической инфраструктуры следует включать социально-бытовую структуру субъектов деятельности территориального промышленного кластера.
Благоустройство и озеленение территории следует проектировать с учетом санитарных и эксплуатационных требований производственных объектов, размещенных в территориальном промышленном кластере в соответствии с СП 82.13330 и СП 403.1325800.
7.10 Для обеспечения оптимальных санитарно-гигиенических условий и создания благоприятной среды территориального промышленного кластера средствами благоустройства следует предусматривать следующие мероприятия:
- устройство дорог, тротуаров и площадок с твердым покрытием;
- посадку деревьев и кустарников;
- устройство газонов и цветников;
- оформление пешеходных зон малыми архитектурными формами (скамьи, урны, цветочницы).
Основные виды озеленения:
- газоны, кустарники, групповые посадки деревьев на земельных участках кварталов;
- газоны с линейной посадкой деревьев и кустарников, обладающих шумо- и пылезащитными качествами вдоль транспортных магистралей с учетом прокладки инженерных коммуникаций.
7.11 Площадь озеленения территории промышленной инфраструктуры следует принимать не менее 5% площади.
7.12 Удельный вес площади кварталов с объектами технологической инфраструктуры принимается не более 15% общей площади территориального промышленного кластера.
7.13 Кварталы территориального промышленного кластера с композиционно и функционально значимыми объектами технологической инфраструктуры размещают на границе с территориями городских поселений.
7.14 При размещении кварталов с объектами технологической инфраструктуры следует зонировать эту территорию на кварталы административных, управленческих, финансовых и других обслуживающих учреждений.
7.15 При определении состава застройки технологической инфраструктуры следует исходить из ориентировочного перечня основных групп учреждений и объектов:
- административно-деловой комплекс управления - генеральная дирекция (совет директоров предприятий, входящих в производственную зону), заводоуправления, блок центральных проходных и т.д.;
- общественный центр социально-бытового обслуживания - столовые, кафе, торговые учреждения, учреждения коммунально-бытового обслуживания и т.д.;
- медицинский центр - поликлиническое отделение медико-санитарной части, профилакторий и т.д.
8.1 Выбор систем инженерного оборудования зданий и сооружений производственных объектов, входящих в состав индустриальных парков и промышленных кластеров следует проводить с учетом имеющихся в индустриальном парке и территориальном промышленном кластере источников энерго- и водоснабжения, их размещения, а также прохождения всех систем инженерного обеспечения в границах территории.
8.2 Инженерное оборудование зданий и сооружений, входящих в состав индустриальных парков и территориальных промышленных кластеров, следует проектировать в соответствии с СП 31.13330, СП 32.13330, СП 44.13330, СП 56.13330, СП 118.13330, СП 134.13330, СП 256.1325800.
9.1 В случае размещения в территориальном промышленном кластере безотходных (малоотходных) производственных объектов их функциональные и планировочные решения формируются на основе единой технологической цепочки (обработка отходов и получение готовой товарной продукции) при условии исключения ухудшения экологического состояния окружающей среды с учетом [9], [11], [14].
9.2 Для создания безотходных (малоотходных) территориальных промышленных кластеров в их состав следует включать производственные объекты, в которых отходы одних производств служат сырьем для выпуска продукции на других производствах.
9.3 Территориальные промышленные кластеры, сформированные на принципах безотходного (малоотходного) производства, должны включать промышленные объекты с замкнутой структурой переработки отходов.
Примерный перечень отраслей промышленности, применяющих безотходную (малоотходную) технологию производства, приведен в приложении И.
Требования к новым типам объектов экономически замкнутого цикла с утилизацией и обработкой отходов производства в составе индустриальных парков, в том числе экопромышленных парков и промышленных кластеров, приведены в приложении Л в соответствии с [27].
10.1 Безопасность на территории индустриальных парков и промышленных кластеров обеспечивается согласно СП 132.13330 в течение всего жизненного цикла объектов индустриальных парков и промышленных кластеров.
Приоритетными должны быть меры предупреждения, направленные на своевременное выявление тенденций и предпосылок, способствующих развитию угроз, на основе анализа которых вырабатываются соответствующие профилактические меры по недопущению их возникновения.
10.1а Обеспечение безопасности индустриальных парков и промышленных кластеров следует осуществлять с использованием систем инженерно-технических средств охраны круглосуточно:
- в дневном режиме охрана осуществляется соответствующей организацией доступа на объект и охраняемые зоны и помещения, а также наблюдением с использованием системы охранного телевидения, выставлением постов охраны;
- неэксплуатируемые в ночном режиме объекты сдаются под охрану, периодическое патрулирование территории объекта;
- состав, структура инженерно-технических средств охраны объекта определяются задачами обеспечения безопасности, стоящими перед службой безопасности объекта, и указываются в задании на проектирование.
10.2 Комплексная система безопасности объектов индустриальных парков и промышленных кластеров должна учитывать:
- функциональное назначение размещаемых производственных и других объектов, технологические особенности которых влияют на их безопасность, а также классификаторами в соответствии с [12];
- возможность опасных природных процессов и явлений и техногенных воздействий на территории индустриальных парков и промышленных кластеров в соответствии с районированием территории Российской Федерации по уровню опасности природных процессов и явлений [11], утвержденным уполномоченным федеральным органом исполнительной власти, данными многолетних наблюдений за природными процессами и явлениями, проводимых в соответствии с законодательством Российской Федерации, а также результатами инженерных изысканий на территории, на которой будут осуществляться строительство, реконструкция и эксплуатация зданий и сооружений;
- принадлежность к опасным производственным объектам в соответствии с законодательством Российской Федерации в области промышленной безопасности [11];
- антитеррористическую защищенность в соответствии с СП 132.13330;
- пожарную и взрывопожарную опасность в соответствии с законодательством Российской Федерации в области пожарной безопасности [13].
10.3 Для обеспечения стабильного функционирования индустриальных парков и промышленных кластеров в систему комплексной безопасности следует включать: экономическую, техногенную и экологическую и пожарную.
10.4 В системе комплексной безопасности следует предусматривать применение:
- технических средств наблюдения, контроля, идентификации (охранно-пожарных систем, видео-радиоаппаратуры, средств обнаружения взрывных устройств, заграждения и т.д.);
- интеллектуальных средств для внедрения новых систем безопасности.
10.5 Управление инфраструктурными комплексами безопасности следует осуществлять из единого диспетчерского центра с применением баз данных:
- локальных систем автоматики и диспетчеризации зданий и сооружений;
- локальных систем безопасности зданий и сооружений;
- аварийных систем, контролирующих производственные процессы;
- систем мониторинга окружающей среды;
- геоинформационных систем;
- телефонных диспетчерских центров;
- локальных и глобальных средств связи и телевещания;
- информационных, расчетных, учетных и аналитических программных продуктов.
10.6 Работа единого диспетчерского центра должна обеспечивать оперативное адекватное реагирование на события, влияющие на функционирование промышленных объектов, их групп и прилегающей территории. При возникновении чрезвычайных ситуаций оборудование единого диспетчерского центра должно:
- контролировать работу аварийных объектовых систем;
- сосредоточить необходимые средства в нужном месте;
- организовывать оперативное взаимодействие объектовых и городских служб, привлеченных к ликвидации ЧС;
- осуществлять управление системами оповещения и эвакуации.
10.7 Обеспечение безопасной эксплуатации опасных производственных объектов в составе индустриальных парков и промышленных кластеров следует осуществлять в соответствии с [11] в целях обеспечения предупреждений, локализации и ликвидации последствий аварий в процессе эксплуатации.
10.8 Требования безопасности к производственным процессам должны выполняться согласно ГОСТ 12.3.002 с учетом анализа данных производственного травматизма и профессиональной заболеваемости, опасных происшествий, аварийных ситуаций, аварий и инцидентов, а также прогнозирования и предупреждения возникновения вредных и (или) опасных производственных факторов во вновь разрабатываемых или модернизируемых процессах.
10.9 Декларация промышленной безопасности опасных производственных объектов должна разрабатываться в соответствии с [11, статья 4].
10.10 Пожарная охрана в индустриальных парках и промышленных кластерах должна создаваться в соответствии с [13, статья 97].
10.11 Пожарная охрана должна обеспечивать организацию и осуществление тушения пожаров, а также организацию и осуществление профилактики пожаров в соответствии с требованиями СП 11.13130 и СП 232.1311500.
Число и места дислокации подразделений пожарной охраны на территории определяются на основании расчетного определения максимально допустимого расстояния от объекта предполагаемого пожара до ближайшего пожарного депо, определения пространственных зон размещения пожарного депо для каждого объекта предполагаемого пожара и областей пересечения указанных пространственных зон для всей совокупности объектов предполагаемого пожара.
10.12 Места дислокации подразделений пожарной охраны производственных объектов должны соответствовать требованиями СП 11.13130.
10.13 Численность и техническая оснащенность пожарной охраны для организации и осуществления тушения пожаров должна определяться с учетом находящегося на территории индустриального парка или промышленного кластера наиболее пожароопасного объекта, характеризующегося наибольшей возможной площадью пожара и наиболее высокой скоростью распространения пламени, схемы развития пожара в соответствии с пожарной нагрузкой, характерной для выбранного объекта, а также скорости следования пожарных автомобилей к месту предполагаемого пожара.
10.14 Для предотвращения риска, связанного с причинением вреда жизни или здоровью граждан, имуществу физических или юридических лиц, недвижимому имуществу, окружающей среде, кварталы, в которых размещены субъекты деятельности индустриальных парков и промышленных кластеров, следует ограждать и оборудовать системами охранного телевидения, устраивать контрольно-пропускные пункты.
Входные зоны на территорию кварталов, в которых размещены субъекты деятельности индустриальных парков и промышленных кластеров, оборудуются системами охранного телевидения и контроля и управления доступом, устраивается пост охраны.
10.15 Степень огнестойкости, класс конструктивной пожарной опасности, высоту зданий и площадь этажа в пределах пожарного отсека для зданий, входящих в состав индустриальных парков или промышленных кластеров, следует принимать в соответствии с требованиями СП 2.13130, [13].
10.16 Безопасность людей на путях эвакуации должна быть обеспечена комплексом объемно-планировочных, эргономических, конструктивных, инженерно-технических и организационных решений. Размеры эвакуационных путей и выходов (ширина и высота), а также геометрические характеристики конструктивных элементов путей эвакуации (высота и ширина ступеней и т.п.) необходимо принимать в соответствии с требованиями [13], СП 1.13130.
10.17 Необходимость использования внутреннего противопожарного водопровода устанавливается согласно [13] и СП 10.13130.
10.18 Объемно-планировочные и конструктивные решения, направленные на обеспечение нераспространения пожара при проектировании индустриальных парков или промышленных кластеров, необходимо принимать в соответствии с требованиями [13], СП 4.13130.
10.19 Категории помещений, зданий и наружных установок по взрывопожарной и пожарной опасности индустриальных парков или промышленных кластеров необходимо определять исходя из вида горючих веществ и материалов, их количества и пожароопасных свойств, а также исходя из объемно-планировочных решений помещений и характеристик проводимых в них технологических процессов в соответствии с требованиями [13], СП 12.13130.
11.1 При проектировании индустриальных парков и промышленных кластеров следует учитывать их влияние на охрану атмосферы, водных и земельных ресурсов, [9], [10], [11], [14], [15], [16].
Планировку и застройку новых и реконструируемых индустриальных парков и промышленных кластеров следует разрабатывать с учетом максимального сохранения существующего ландшафта.
11.2 Режим санитарно-защитных зон индустриальных парков и промышленных кластеров следует формировать в соответствии с СанПиН 2.2.1/2.1.1.1200. Территория санитарно-защитных зон не должна использоваться для рекреационных целей и производства сельскохозяйственной продукции в соответствии с СП 42.13330.
11.3 Размеры санитарно-защитных зон следует устанавливать в соответствии с СанПиН 2.2.1/2.1.1.1200. Достаточность ширины санитарно-защитной зоны следует подтверждать расчетами рассеивания в атмосферном воздухе вредных веществ, содержащихся в выбросах промышленных предприятий с учетом требований СП 42.13330.
11.4 При проектировании индустриальных парков и промышленных кластеров следует предусматривать следующие мероприятия, сохраняющие экологическое равновесие в процессе строительства и эксплуатации:
- экологически рациональное размещение производственных объектов, промышленной инфраструктуры;
- разработка экологичных ресурсоэффективных объемно-планировочных и конструктивных решений зданий и сооружений;
- применение экологически безопасных строительных материалов;
- применение малоотходных и безотходных технологических процессов и производств;
- применение очистных и обезвреживающих сооружений и устройств.
11.5 При проектировании индустриальных парков и промышленных кластеров следует определять шумовое воздействие на близлежащие жилые и общественно-деловые территории и территории промышленной инфраструктуры в соответствии с СП 51.13330.
Расчет прогнозируемого шума следует проводить в соответствии с СП 51.13330, [17].
11.6 В целях предотвращения загрязнения окружающей среды, проектной документацией следует обеспечивать:
- гидроизоляцию заглубленных частей фундаментов зданий и сооружений во избежание агрессивного воздействия на них подземных вод;
- устройство водонепроницаемых покрытий на технологических площадках, проездах и стоянках для машин;
- устройство дождевой канализации с применением дождеприемных колодцев для сбора поверхностных сточных вод с последующей подачей на очистные сооружения; при отсутствии систем централизованного водоотведения дождевых вод предусматривают сбор, очистку до нормативных значений и последующее отведение дождевых сточных вод в водные объекты;
- сбор и отведение хозяйственно-бытовых сточных вод в коммунальные сети канализации с последующей очисткой на городских очистных сооружениях; при отсутствии систем централизованного водоотведения следует предусматривать сбор, очистку до нормативных значений и последующее отведение хозяйственно-бытовых сточных вод в водные объекты;
- сбор и отведение промышленных сточных вод в централизованную систему водоотведения; при отсутствии систем централизованного водоотведения следует предусматривать сбор, очистку до нормативных значений и последующее отведение промышленных сточных вод в водные объекты;
- водоотведение на "рельеф" без устройства организованного выпуска в водные объекты не допускается;
- применение современного технологического оборудования, соответствующего экологическим требованиям;
- организацию системы обращения с отходами классов опасности I - V;
- организацию мест временного накопления отходов с соблюдением экологических, санитарных, противопожарных требований;
- благоустройство и озеленение территории;
- регулярный контроль за работой систем дождевой и хозяйственно-бытовой канализации и принятие своевременных и эффективных мер, исключающих застаивание сточных вод в подземных водонесущих коммуникациях.
Для контроля за осадками следует предусматривать геотехнический мониторинг.
Приложение А
Таблица А.1
|
Тип промышленного кластера |
Границы размещения |
Экономическая основа формирования промышленного кластера |
Экономические требования |
Экономические задачи, решаемые промышленными кластерами |
|
Муниципальный |
Муниципальная граница района совпадает с границей промышленного кластера |
Отраслевая специализация формирования промышленных кластеров. Создание кластера на базе основного лидирующего предприятия |
Промышленные кластеры, обеспечивающие конкурентоспособность региона и ориентированные на внутренний рынок |
1 Структурирование существующей промышленности (повышение производительности, конкурентоспособности, качества, соблюдение международных стандартов и т.п.) 2 Разработка инновационных проектов, технологий |
|
Региональный |
Административная граница региона совпадает с границей промышленного кластера |
Интеграция нескольких лидирующих отраслей для формирования промышленных кластеров. Создание стратегически важного для региона промышленного конгломерата | ||
|
Национальный |
Структурные (территориальные) единицы, составляющие промышленный кластер в целом, размещение которых не зависит от административных границ |
Наиболее крупные интегрированные организационные структуры относящиеся к разряду крупных национальных экономических проектов, созданных на базе отраслеобразующих предприятий |
Промышленные кластеры, обеспечивающие конкурентоспособность страны и ориентированные на мировой рынок |
Приложение Б
Для обеспечения безопасного строительства и эксплуатации объектов индустриального парка и промышленного кластера процесс проектирования следует выполнять поэтапно, с учетом ГОСТ Р 56301 и ГОСТ Р 56425.
Б.1 Индустриальный парк:
1-й этап - Предпроектные проработки:
- Концепция;
- Мастер-план.
2-й этап - Проектная документация - выполняется для входящих в состав индустриального парка:
- линейных объектов транспортной и инженерной инфраструктур [18, раздел III];
- зданий и сооружений транспортной и инженерной инфраструктур [18, раздел II].
3-й этап - Рабочая документация - выполняется для субъектов деятельности индустриального парка, транспортной и инженерной инфраструктур в объеме, необходимом для строительства.
Б.2 Территориальный промышленный кластер:
1-й этап - Предпроектные проработки:
- Концепция;
- Бизнес-план;
- Мастер-план.
2-й этап - Проектная документация - выполняется для объектов промышленной инфраструктуры:
- на линейные объекты промышленной инфраструктуры (транспортные и инженерные коммуникации) [18, раздел III];
- на здания и сооружения промышленной инфраструктуры [18, раздел III];
- на здания и сооружения технологической инфраструктуры [18, раздел II];
- на промышленные предприятия и иные объекты, размещенные в границах кварталов территориального промышленного кластера [18, раздел II].
3-й этап - Рабочая документация - выполняется для субъектов деятельности территориального промышленного кластера, объектов промышленной и технологической инфраструктур в объеме, необходимом для строительства и эксплуатации в течение всего жизненного цикла.
Приложение В
В.1 Монопрофильный (специализированный) индустриальный парк - группа производственных объектов, размещенных на отведенных земельных участках кварталов, в границах индустриального парка с выделением следующих функциональных зон:
- территории транспортной и инженерной инфраструктур;
- кварталы с размещением производственных объектов, относящихся к одному виду разрешенного использования [12];
- кварталы с размещением объектов административного и социально-бытового обслуживания;
- кварталы с размещением общих для индустриального парка инженерных и транспортных сооружений;
- кварталы с размещением в них общих вспомогательных хозяйств и производств.
В.2 Многопрофильный индустриальный парк - группа производственных объектов, размещенных на отведенных земельных участках кварталов, в границах индустриального парка, с выделением следующих функциональных зон:
- территории транспортной и инженерной инфраструктур;
- кварталы с размещением производственных объектов, относящихся к разным видам разрешенного использования [12];
- кварталы с размещением объектов административного и социально-бытового обслуживания;
- кварталы с размещением общих для индустриального парка инженерных и транспортных сооружений.
Экопромышленный парк
В.3 Коммунальный экопромышленный парк - экопромышленный парк, более 70% площади территории которого предназначено для размещения резидентов и (или) потенциальных резидентов, целью деятельности которых является обращение с ТКО и (или) вторичным сырьем, полученным при обращении с ТКО.
В.4 Производственный экопромышленный парк - экопромышленный парк, более 70% площади территории которого предназначено для размещения резидентов и (или) потенциальных резидентов, целью деятельности которых является обращение с промышленными (в том числе строительными) отходами и (или) вторичным сырьем, полученным при обращении с промышленными (в том числе строительными) отходами
В.5 Комбинированный экопромышленный парк - экопромышленный парк, более 60% площади которого которого предназначено для размещения резидентов и (или) потенциальных резидентов, целью деятельности которых является обращение с промышленными (в том числе строительными) отходами и (или) вторичным сырьем, полученным при обращении с промышленными (в том числе строительными) отходами, и обращение с ТКО и (или) вторичным сырьем, полученным при обращении с ТКО.
Приложение Г
Количественная оценка архитектурно-планировочных решений индустриального парка определяется занятостью территории (далее - коэффициент использования территории).
Коэффициент использования территории, %, определяется как отношение площади застройки к общей территории индустриального парка.
Основные составляющие коэффициента использования территории:
- общая территория индустриального парка - площадь земельного участка в границах отведенной территории для формирования объектов индустриального парка;
- площадь застройки - определяется как сумма площадей кварталов с размещением в них объектов:
- производственного назначения с учетом их расширения, если оно предусмотрено в мастер-плане индустриального парка (по ГОСТ Р 56301);
- административного и социально-бытового обслуживания;
- инженерных и транспортных сооружений;
- вспомогательных хозяйств и производств.
Таблица Г.1
|
Тип индустриального парка |
Значение коэффициента использования территории, %, не менее |
|
Монопрофильный (специализированный) индустриальный парк |
70 |
|
Многопрофильный индустриальный парк |
60 |
|
Коммунальный экопромышленный парк |
70 |
|
Производственный экопромышленный парк |
70 |
|
Комбинированный экопромышленный парк |
60 |
|
Примечания 1 При реконструкции коэффициент использования территории допускается уменьшать, но не более чем на 15% при соблюдении санитарно-гигиенических и противопожарных норм. 2 Плотность застройки кварталов производственных объектов следует принимать согласно СП 18.13330, для жилых территорий - согласно СП 42.13330. 3 Границы кварталов - красные линии. 4 В региональных и местных нормативах градостроительного проектирования и правилах землепользования и застройки муниципальных образований устанавливают дополнительные показатели, учитывающие местные градостроительные особенности (историческая среда, ландшафт и пр.). | |
Приложение Д
Д.1 Территориальные промышленные кластеры с производственно-жилыми образованиями - совокупность производственных, научно-исследовательских, образовательных и жилых объектов, сформированных по типу зоны смешанной застройки, участвующих в совместной реализации инновационных проектов.
Д.2 Отраслевые территориальные промышленные кластеры (промышленный технопарк) - совокупность производственных, научно-исследовательских, образовательных объектов, выпускающих продукцию одной или нескольких отраслей промышленности [12], в том числе связанных между собой принципами малоотходности.
Приложение Е
Е.1 Количественная оценка архитектурно-планировочных решений территориального промышленного кластера определяется занятостью территории по СП 42.13330 (далее - коэффициент использования территории).
Коэффициент использования территории, %, определяется как отношение площади застройки к общей территории территориального промышленного кластера.
Основные составляющие коэффициента использования территории:
- общая территория территориального промышленного кластера - включает площадь земельных участков кварталов для размещения субъектов деятельности территориального промышленного кластера, кварталов для размещения зданий и сооружений технологической инфраструктуры и земельный участок для размещения промышленной инфраструктуры;
- площадь застройки - определяется как сумма площадей кварталов, в которых размещаются субъекты деятельности территориального промышленного кластера (производственные, научно-исследовательские, образовательные, жилые объекты) с учетом их расширения, если оно предусмотрено в схеме территориального планирования промышленного кластера, и кварталы для размещения зданий и сооружений технологической инфраструктуры.
В площадь застройки территориального промышленного кластера не включаются земельные участки, занятые промышленной инфраструктурой.
Таблица Е.1
|
Тип территориального промышленного кластера |
Значение коэффициента использования территории, %, не менее |
|
Территориальный промышленный кластер с производственно-жилыми образованиями |
60 |
|
Территориальный промышленный кластер |
70 |
|
Примечания 1 Границы кварталов - красные линии. 2 В региональных и местных нормативах градостроительного проектирования и правилах землепользования и застройки муниципальных образований устанавливают дополнительные показатели, учитывающие местные градостроительные особенности (историческая среда, ландшафт и пр.). | |
Приложение Ж

1 - кварталы, в границах которых размещаются производственные объекты; 2 - жилые территории; 3 - входные зоны
Рисунок 1 - Линейное функционально-технологическое зонирование

1 - кварталы, в границах которых размещаются производственные объекты; 2 - жилые территории; 3 - входные зоны
Рисунок 2 - Пространственное функционально-технологическое зонирование

1 - кварталы, в границах которых размещаются производственные объекты; 2 - жилые территории; 3 - входные зоны
Рисунок 3 - Пространственно-линейное функционально-технологическое зонирование
Приложение И
|
Отрасль промышленности |
Основные направления безотходных технологий |
|
Энергетика |
1 Инновационные решения сжигания топлива (в кипящем слое и др.), способствующие снижению содержания загрязняющих веществ в отходящих газах. 2 Инновационные решения по очистке газовых выбросов от оксидов серы и азота. 3 Инновационное пылеочистное оборудование с максимально возможным КПД и использование образованной золы в качестве сырья при производстве строительных материалов и в других производствах |
|
Горная промышленность |
1 Инновационные технологии по полной утилизации отходов, как при открытом, так и при подземном способах добычи полезных ископаемых. 2 Инновационные геотехнологические методы разработки месторождений полезных ископаемых, стремление, при этом, к извлечению на земную поверхность только целевых компонентов. 3 Безотходные методы обогащения и переработки природного сырья на месте его добычи. 4 Применение гидрометаллургических методов переработки руд |
|
Металлургия |
1 Вовлечение в переработку газообразных, жидких и твердых отходов производства, снижение выбросов и сбросов вредных веществ с отходящими газами и сточными водами. 2 При добыче и переработке руд черных и цветных металлов широкое внедрение использования многотоннажных отвальных твердых отходов горного и обогатительного производств в качестве строительных материалов, закладки выработанного пространства шахт, дорожных покрытий, стеновых блоков и т.д. вместо специально добываемых минеральных ресурсов. 3 Переработка, в полном объеме, всех доменных и ферросплавных шлаков, а также существенное увеличение масштабов переработки сталеплавильных шлаков и шлаков цветной металлургии. 4 Сокращение расходов свежей воды и уменьшение сточных вод путем дальнейшего развития и внедрения безводных технологических процессов и бессточных систем водоснабжения. 5 Повышение эффективности существующих и вновь создаваемых процессов улавливания побочных компонентов из отходящих газов и сточных вод. 6 Внедрение сухих способов очистки газов от пыли для всех видов металлургических производств и изыскание более совершенных способов очистки отходящих газов. 7 Утилизация слабых (менее 3,5% серы) серосодержащих газов переменного состава путем внедрения на предприятиях цветной металлургии эффективного способа - окисления сернистого ангидрида в нестационарном режиме двойного контактирования. 8 Ускорение внедрения ресурсосберегающих автогенных процессов и в том числе плавки в жидкой ванне, что позволит не только интенсифицировать процесс переработки сырья, уменьшить расход энергоресурсов, но и значительно оздоровить воздушный бассейн в районе действия предприятий за счет резкого сокращения объема отходящих газов и получить высококонцентрированные серосодержащие газы, используемые в производстве серной кислоты и элементарной серы. 9 Разработка и широкое внедрение на металлургических предприятиях высокоэффективного очистного оборудования, а также аппаратов контроля разных параметров загрязненности окружающей среды. 10 Разработка и внедрение новых прогрессивных малоотходных и безотходных процессов, имея в виду бездоменный и бескоксовый процессы получения стали, порошковую металлургию, автогенные процессы в цветной металлургии и другие перспективные технологические процессы, направленные на уменьшение выбросов в окружающую среду. 11 Расширение применения микроэлектроники, АСУ, АСУ ТП в металлургии в целях экономии энергии и материалов, а также контроля образования отходов и их сокращения |
|
Химическая и нефтехимическая промышленность |
1 Использование в технологических процессах электрохимических методов окисления и восстановления с применением кислорода, азота и воздуха. 2 Мембранная технология разделения газовых и жидкостных смесей. 3 Биотехнология, включая производство биогаза из остатков органических продуктов, а также методы радиационной, ультрафиолетовой, электроимпульсной и плазменной интенсификации химических реакций |
|
Машиностроение |
1 В гальваническом производстве максимальное использование инновационных технологий водоочистки, замкнутых процессов рециркуляции воды и извлечения металлов из сточных вод. 2 Внедрение инновационных технологий получения машиностроительных деталей из пресс-порошков |
|
Бумажная промышленность |
1 Внедрение разработок по сокращению расхода свежей воды на единицу продукции, с замкнутыми и бессточными системами промышленного водоснабжения. 2 Максимальное использование экстрагирующих соединений, содержащихся в древесном сырье, для получения целевых продуктов. 3 Совершенствование процессов по отбеливанию целлюлозы с помощью кислорода и озона. 4 Переработка отходов лесозаготовок биотехнологическими методами в целевые продукты. 5 Создание мощностей по переработке бумажных отходов, в том числе макулатуры |
Приложение К
Таблица К.1
|
Группа однородных отходов |
Код и наименование по [31] |
Специальные требования к проектированию объектов |
Степень утилизации |
Требования к выбору технологии утилизации |
|
Отходы аккумуляторов и аккумуляторных батарей транспортных средств |
9 20 110 00 00 0 "Отходы аккумуляторов свинцово-кислотных"; 9 20 120 00 00 0 "Отходы аккумуляторов никель-кадмиевых"; 9 20 130 00 00 0 "Отходы аккумуляторов никель-железных" |
Накопление, хранение отходов аккумуляторов транспортных средств осуществляются в помещениях, обеспеченных приточно-вытяжной вентиляцией, в которые исключен доступ посторонних лиц. Накопление и хранение отходов аккумуляторов транспортных средств, заполненных кислотными и щелочными электролитами, должны осуществляться раздельно |
При утилизации отходов аккумуляторов транспортных средств, содержащих свинец, доля общей массы отходов, поступивших на утилизацию, фактически использованная для получения продукции, должна составлять не менее 50% |
Выбор технологии утилизации отходов аккумуляторов транспортных средств осуществляется с соблюдением норм законодательства Российской Федерации и в соответствии с [32] и [33, пункт 25] |
|
Помещение, предназначенное для накопления или хранения отходов аккумуляторов транспортных средств, содержащих электролиты, должно быть оборудовано средствами для ликвидации возможного пролива электролитов, обеспечивающими их нейтрализацию |
При утилизации отходов аккумуляторов транспортных средств, содержащих никель, кадмий, доля общей массы отходов, поступивших на утилизацию, фактически использованная для получения продукции, должна составлять не менее 75% | |||
|
Батареи и аккумуляторы, утратившие потребительские свойства, кроме аккумуляторов для транспортных средств |
4 82 200 00 00 0 "Батареи и аккумуляторы, утратившие потребительские свойства, кроме аккумуляторов для транспортных средств, вошедших в Блок 9" |
Отходы батарей и аккумуляторов подлежат накоплению отдельно от других отходов. Смешивать отходы батарей и аккумуляторов с иными отходами производства и потребления, в том числе с ТКО, не допускается |
При утилизации отходов батарей и аккумуляторов, содержащих никель, кадмий, доля общей массы отходов, поступивших на утилизацию, фактически использованная для получения продукции, должна составлять не менее 75% |
Выбор технологии утилизации отходов батарей и аккумуляторов осуществляется с соблюдением норм законодательства Российской Федерации и в соответствии с [32] и [33, пункт 25] |
|
Накопление неповрежденных отходов батарей и аккумуляторов осуществляется раздельно от поврежденных отходов батарей и аккумуляторов, имеющих признаки течи, нарушения герметичности или целостности корпуса аккумулятора, батарей и аккумуляторов | ||||
|
Накопление, хранение отходов батарей и аккумуляторов осуществляются в помещениях, обеспеченных приточно-вытяжной вентиляцией, в которые исключен доступ посторонних лиц |
При утилизации отходов батарей и аккумуляторов, содержащих свинец, доля общей массы отходов, поступивших на утилизацию, фактически использованная для получения продукции, должна составлять не менее 50% | |||
|
Минеральные и синтетические масла, утратившие потребительские свойства |
4 06 100 00 00 0 "Отходы минеральных масел, не содержащих галогены"; 4 06 320 00 00 0 "Смеси масел минеральных отработанных"; 4 13 000 00 00 0 "Отходы синтетических и полусинтетических масел и гидравлических жидкостей" |
При накоплении отходов масел в целях их дальнейшей обработки и (или) утилизации накопление отходов масел ведется раздельно по видам отходов или группам видов отходов [31] с учетом последующего способа утилизации. Смешивать отходы масел с маслами и иными аналогичными продуктами, содержащими галогенированные органические вещества, с пластичными смазками, органическими растворителями, жирами, лаками, красками и иными химическими продуктами, наличие которых исключает возможность утилизации отходов масел, не допускается |
Не установлена |
Приоритетность способов утилизации отходов масел соответствует следующему порядку: - полное или частичное восстановление показателей качества масел в целях их повторного использования по прямому назначению; - утилизация отходов масел с получением новой продукции без применения термических методов; - утилизация отходов масел с получением новой продукции термическими методами |
|
Накопление и хранение отходов масел должны осуществляться с соблюдением мер пожарной безопасности. Накопление отходов масел осуществляется в закрытых емкостях. Нестационарные емкости размещаются на поддонах, исключающих утечку отходов масел. Запрещается размещать емкости для накопления и хранения отходов масел вблизи нагреваемых поверхностей | ||||
|
Накопление и хранение отходов масел осуществляются в соответствии с [34, статья 3, пункт 3.8, подпункт 3.8.1] |
Выбор методов утилизации отходов масел осуществляется с соблюдением норм законодательства Российской Федерации и в соответствии с [32] и [33, пункт 25] | |||
|
Оборудование компьютерное, электронное, оптическое, утратившее потребительские свойства |
4 81 000 00 00 0 "Оборудование компьютерное, электронное, оптическое, утратившее потребительские свойства" |
Накопление, хранение отходов электронного оборудования осуществляются в местах (площадках) накопления, на специализированных объектах хранения, представляющих собой помещения, оснащенные воздухообменной вентиляцией и средствами пожаротушения, исключающие доступ к таким отходам посторонних лиц |
Не установлена |
Запрещается обезвреживать и утилизировать отходы электронного оборудования путем их сжигания, за исключением случаев применения пирометаллургического или гидрометаллургического методов, позволяющих извлекать полезные компоненты из печатных плат (с последующей обязательной нейтрализацией всех отходящих газов и элементов) |
|
Запрещается в местах (площадках) накопления отходов электронного оборудования, на специализированных объектах хранения отходов электронного оборудования накопление, хранение отходов, обладающих пожароопасными свойствами |
Обработка отходов электронного оборудования перед их утилизацией является обязательной в случае, если они содержат драгоценные металлы, химические источники тока, детали, содержащие ртуть, свинец | |||
|
При накоплении, хранении и транспортировании отходов электронного оборудования запрещается подвергать отходы электронного оборудования механическому воздействию, приводящему к нарушению их целостности |
Выбор технологии утилизации отходов электронного оборудования осуществляется с соблюдением норм законодательства Российской Федерации и в соответствии с [32] и [33, пункт 25] | |||
|
Отходы шин, покрышек, камер |
9 21 100 00 00 0 "Отходы шин, покрышек, камер автомобильных"; 9 23 111 11 52 4 "Шины и покрышки пневматические для использования в авиации отработанные", включенный в группу видов отходов с кодом 9 23 000 00 00 0 "Прочие отходы обслуживания и ремонта авиатранспорта" |
Отходы шин подлежат накоплению отдельно от других отходов. Смешивать отходы шин с иными отходами производства и потребления, в том числе с ТКО, не допускается. Осуществлять сброс отходов шин в водные объекты, на водосборные площади, на почву не допускается |
При утилизации отходов шин доля общей массы отходов, поступивших на утилизацию, фактически использованная для получения продукции, должна составлять не менее 90% |
Запрещается обезвреживать отходы шин путем их сжигания на установках, не предназначенных для сжигания шин |
|
Накопление, хранение отходов шин осуществляются соответственно в местах (площадках) накопления отходов, на специализированных объектах хранения, представляющих собой помещения или крытые площадки, имеющие ограждение, оснащенные средствами пожаротушения, в которые исключен доступ посторонних лиц. Допускается хранение отходов шин на открытых площадках при условии их укрытия влагостойкими материалами |
Приоритетность способов утилизации отходов шин соответствует следующему порядку: - утилизация отходов шин в качестве вторичного материального ресурса без применения термических методов; - утилизация отходов шин с применением термических методов с получением продукции | |||
|
Запрещаются в местах (площадках) накопления отходов шин и на специализированных объектах хранения отходов шин накопление, хранение горючих и смазочных материалов, а также химических веществ (кислоты, щелочи и другие вещества), взаимодействие которых с материалом шин может создать пожароопасную ситуацию |
Выбор технологии утилизации отходов шин осуществляется с соблюдением норм законодательства Российской Федерации и в соответствии с [32] и [33, пункт 25] | |||
|
Отходы электролитов аккумуляторов и аккумуляторных батарей |
9 20 200 00 00 0 "Отходы электролитов аккумуляторов и аккумуляторных батарей" |
Осуществлять слив отходов электролитов в систему централизованной канализации, сброс отходов электролитов на почву, в водные объекты, на водосборные площади не допускается |
Не установлена |
Выбор методов утилизации и обезвреживания отходов электролитов осуществляется с соблюдением норм законодательства Российской Федерации и в соответствии с [32] и [33, пункт 25] |
|
Отходы электролитов подлежат накоплению и хранению раздельно по видам отходов в соответствии с [31]. Накопление и хранение отходов электролитов на открытых площадках проводят в стационарных закрытых специально обустроенных емкостях. Накопление и хранение отходов электролитов в помещениях осуществляются в закрытых, химически стойких емкостях при наличии приточно-вытяжной вентиляции | ||||
|
В местах (площадках) накопления или на специализированных объектах хранения отходов электролитов должны быть предусмотрены средства для ликвидации возможного пролива отходов электролитов, обеспечивающие их нейтрализацию | ||||
|
Доступ посторонних лиц к местам (площадкам) накопления и объектам хранения отходов электролитов запрещен. Объекты утилизации и (или) обезвреживания отходов электролитов должны быть оборудованы устройствами для удаления (смыва) и сбора проливов электролита |
Приложение Л
|
Подгруппы |
Наименование (перечень) позиций отходов |
Приоритетные направления использования (продукты переработки/утилизации) |
Класс опасности для ОС [31] |
|
Древесные отходы |
Древесные материалы и конструкции, теплоизоляционные материалы на древесной основе, ДСП, фанера, ДВП, МДФ, столярные изделия, деревянная тара, ЦСП и т.д. |
Древесные пластики, в том числе сложнопрофильные, влагостойкие и т.д.; арболит; теплоизоляционные, звукоизоляционные плиты |
4, 5 |
|
Бумажные и картонные отходы |
Бумажные обои, упаковочная бумага, картонная тара |
Теплоизоляционные смеси, кровельные материалы (ондулин); эковата |
5 |
|
Отходы на основе естественного камня |
Бой облицовочных плит |
Брекчевидные плиты, мозаичные облицовочные плитки |
5 |
|
Шламовые отходы камнеобработки |
Шпатлевка, штукатурка, искусственный камень, декоративные фасадные покрытия |
4, 5 | |
|
Бой бортовых камней, брусчатки, булыжных камней и прочие отходы на основе естественного камня |
Щебень |
4, 5 | |
|
Отходы на основе бетона и строительных растворов |
Отходы железобетона, тяжелого бетона | ||
|
Отходы легкого бетона |
Порошковые наполнители для производства стеновых блоков и смесей для монолитного литья |
4, 5 | |
|
Отходы ячеистого бетона | |||
|
Отходы фибролитовых, арболитовых плит и ЦСП | |||
|
Сухие отходы штукатурных смесей | |||
|
Отходы на основе минеральных вяжущих веществ |
Отходы материалов на гипсовой основе (панели и плиты для перегородок, гипсокартонные листы, вентблоки) |
Порошковые наполнители для производства стеновых блоков и смесей для монолитного литья |
4, 5 |
|
Отходы силикатных материалов (кирпич, ячеистые изделия) |
5 | ||
|
Отходы материалов на основе извести (известково-песчаные, известково-шлаковые и известково-зольные материалы) |
4, 5 | ||
|
Асбесто-цементные отходы |
Кровельные листы, облицовочные панели, трубы, венткороба, электротехнические доски |
Наполнители для производства огнестойких стеновых блоков |
4 |
|
Отходы на основе стекла и приравненные к ним |
Стеклобой |
Порошковое сырье для безавтоклавного производства пенобетонных блоков или применения в монолитном строительстве |
5 |
|
Отходы пеностекла |
5 | ||
|
Отходы минеральной ваты, стекловаты |
4, 5 | ||
|
Отходы перлитовых, вермикулитовых изделий |
4, 5 | ||
|
Отходы на керамической основе |
Кирпичный бой, бой сантехкерамики, бой фаянсовой и керамической плитки |
Пресс-порошки, смеси для шликерного литья, добавки для огнестойких штукатурок, сырье для производства пигментов |
4, 5 |
|
Отходы асфальтовых, дегтевых бетонов |
- |
Восстановленный (вторичный) асфальтобетон |
4, 5 |
|
Отходы рулонных кровельных и гидроизоляционных материалов |
Битумные, дегтевые, дегтебитумные, битумополимерные, резино-дегтевые и битумные безосновные материалы (изол) и материалы на основе картона (рубероид, пергамин, толь), стеклооснове (стеклорубероид), асбестовой бумаге (гидроизол) |
Тонкодисперсионные порошки для производства добавок в асфальтобетонные смеси |
3, 4 |
|
Отходы пластмасс и полимеров |
Отходы линолеумов, полимерных плиток |
Добавки для производства древесных пластиков |
4 |
|
Отходы полимерных кровельных материалов |
4 | ||
|
Отходы пенопластов и поропластов (полистирольных, полиуретановых) |
Наполнители для производства стеновых блоков |
5 | |
|
Пластмассовые трубы водоснабжения, канализации и электропроводки |
Тонкодисперсионные порошки для производства добавок в асфальтобетонные смеси |
4 | |
|
Поручни перил и лестничных маршей | |||
|
Отходы погонажных изделий на основе полимеров | |||
|
Золошлаки |
Продукты сжигания на тепловых электростанциях (ТЭС) твердого топлива: угля, торфа, горючих сланцев и других материалов |
Материалы для всех конструктивных слоев дорожной одежды, земляного полотна, насыпей |
4, 5 |
|
Отходы шин покрышек, автомобильных камер |
Полимерная составляющая изношенных шин, покрышек и камер |
Модификаторы асфальтобетона, модификаторы битумного вяжущего |
4 |
|
Вид отходов |
Наименование (перечень) позиций вторичных ресурсов |
Приоритетные направления использования (вторичное сырье) |
Продукция |
Класс опасности для ОС [31] |
|
Шлаки черной металлургии |
Доменные шлаки |
Гранулированный шлак - шлаковая пемза - щебень, песок |
Цемент, заполнитель легких бетонов, известковое удобрение, дорожное строительство, производство бетонов, шлакоминеральных активных смесей, использование для обратных засыпок в строительстве |
4 |
|
Конвертерные шлаки |
Дробленый шлак - щебень и песок |
Выплавки чугуна, дорожное строительство, известковые и фосфорные удобрения |
4 | |
|
Электросталеплавильные шлаки |
Щебень и песок |
Дорожное строительство, известковое удобрение |
4 | |
|
Шлаки цветной металлургии |
Шлаковый щебень, шлаковый песок - лом черных и цветных металлов |
Металлопродукт из шлаков, получение редкоземельных металлов, шлаковая пемза, шлаковая вата, шлаковое литье |
Металлопродукт из шлаков, получение редкоземельных металлов, шлаковая пемза, шлаковая вата, шлаковое литье |
3 - 5 |
|
Область хозяйственной деятельности |
Наименование (перечень) позиций вторичных ресурсов |
Приоритетные направления использования (вторичное сырье) |
Продукция |
Класс опасности для ОС [31] |
|
Добыча природных фосфатов |
Отходы (хвосты) обогащения апатит-нефелиновых руд |
Получение искусственного камня посредством каменного литья |
Искусственный камень |
Не установлен |
|
Комплексная переработка |
Глинозем, цемент, кальцинированная сода, поташ | |||
|
Производство стекла |
Коагулянт, керамическая плитка, стекло | |||
|
Добыча и обогащение калийных солей |
Галитовые отходы |
Переработка по галургической схеме |
Кальцинированная сода, техническая сода, поваренная соль |
5 |
|
Глинисто-солевые шламы |
Приготовление буровых растворов |
Удобряющие и структурообразующие добавки к торфяной и песчаной почвам, получение аглопорита и керамики, в том числе кирпича |
4, 5 | |
|
Производство экстракционной фосфорной кислоты |
Отходы разложения природных фосфатов серной кислотой (фосфогипс), нейтрализованные при производстве фосфорной кислоты |
Использование в качестве мелиоранта для солонцовых почв. Производство/извлечение редкоземельных элементов |
Серная кислота и известь/цемент. Производство сульфата аммония и карбоната кальция |
5 |
|
Производство гипсовых вяжущих и изделий из них. Производство цемента |
Гипсовые вяжущие и изделия из них, цемент | |||
|
Производство кальцинированной соды |
Отходы производства карбоната натрия (кальцинированной соды) |
Получение мелиоранта для кислых почв |
Строительные вяжущие материалы |
4, 5 |
|
Производство удобрений на основе азотнокислотной переработки фосфатного сырья |
Отходы карбоната кальция при производстве нитроаммофоски на основе апатитового концентрата |
Получение мелиоранта для кислых почв |
Мелиорант |
5 |
|
Получение строительных материалов |
Строительные материалы | |||
|
Использование в качестве наполнителя при производстве красок, бумаги, пластмасс |
Наполнитель при производстве красок, бумаги, пластмасс | |||
|
Производство резиновых изделий из вулканизованной резины |
Обрезки вулканизованной резины |
Регенерат, используемый при изготовлении резиновых смесей |
- |
4,5 |
|
Область хозяйственной деятельности |
Наименование (перечень) позиций вторичных ресурсов |
Приоритетные направления использования (вторичное сырье) |
Класс опасности для ОС [31] | |
|
Производство пиломатериалов |
Щепа |
Топливо, щепа технологическая для ДСП, ДВП |
5 | |
|
Горбыль |
5 | |||
|
Опилки |
Промышленность строительных материалов (в производстве бетонов, железобетонных изделий, кирпича, керамических изделий) |
4, 5 | ||
|
ЛПК в производстве древесных плит и картона, бумаги, низкокачественной целлюлозы | ||||
|
Топливо | ||||
|
Пыль |
4, 5 | |||
|
Древесное волокно |
3, 4 | |||
|
Производство фанеры, ДВП, ДСП, ОСП |
Опилки |
Промышленность строительных материалов (в производстве бетонов, железобетонных изделий, кирпича, керамических изделий) |
4, 5 | |
|
ЛПК в производстве древесных плит и картона, бумаги, низкокачественной целлюлозы | ||||
|
Топливо | ||||
|
Пыль |
4, 5 | |||
|
Древесное волокно |
3, 4 | |||
|
Целлюлозно-бумажное производство |
Щепа |
Топливо, технологическая щепа для ДСП, ДВП |
5 | |
|
Опилки |
Промышленность строительных материалов (в производстве бетонов, железобетонных изделий, кирпича, керамических изделий) |
4, 5 | ||
|
ЛПК в производстве древесных плит и картона, бумаги, низкокачественной целлюлозы | ||||
|
Топливо | ||||
|
Использование продукции целлюлозно-бумажного производства |
Макулатура |
Производство картона, бумаги, низкокачественной целлюлозы |
3 - 5 |
|
Область хозяйственной деятельности |
Наименование (перечень) позиций вторичных ресурсов |
Приоритетные направления использования (вторичное сырье) |
Продукция |
Класс опасности для ОС [31] |
|
Производство бетона, железобетона, железобетонных конструкций и изделий |
Шлам и остаточный бетон |
Производство стройматериалов |
Стройматериалы |
4, 5 |
|
Щебень, цемент, бетонная смесь, бетон в кусковой форме, бой железобетонных изделий |
Возврат в производство |
- |
4, 5 | |
|
Брак от производства изделий с трещинами, сколами; технологические отходы; бетонная пыль; засохший и жидкий растворы |
Производство вторичного щебня для изготовления бетонных смесей, бетонных стеновых камней, фундаментных плит, оснований для дорожных покрытий, площадок, подстилающих слоев при строительстве тротуаров; использование в ландшафтной архитектуре, для засыпки вместо недостающего грунта при выполнении строительных работ; применение в качестве активной органоминеральной добавки. Дробленые отходы ячеистого бетона применяют в качестве заполнителей строительных растворов, удобрений, добавляют в корм на птицефабриках |
Строительные материалы, добавки |
4, 5 | |
|
Добыча каменных горных пород и производство |
Отходы в виде отсевов |
Производство минерального наполнителя для цемента или компонента сырьевой шихты |
Наполнитель для цемента |
5 |
|
Производство щебня |
Отходы дробления щебня |
Производство геополимерных материалов |
Геополимерные материалы |
5 |
|
Добыча и обогащение руд |
Грубозернистые и мелкозернистые фракции каменных вскрышных пород |
Использование в качестве заполнителя для бетона |
Заполнитель для бетона |
5 |
|
Тонкодисперсные фракции каменных вскрышных пород |
Использование в качестве кремнеземистого компонента в силикатных тяжелых и ячеистых бетонах |
Кремнеземистый компонент в силикатных тяжелых и ячеистых бетонах |
4, 5 | |
|
Горнообогатительные комбинаты |
Отходы обогащения железистых кварцитов |
Использование в производстве заполнителя для бетонов и строительных растворов, а также в качестве активного кремнеземистого компонента бесклинкерных и малоклинкерных вяжущих автоклавного твердения |
Заполнитель для бетона, активный кремнеземистый компонент бесклинкерных и малоклинкерных вяжущих автоклавного твердения |
4, 5 |
|
Производство цементного клинкера |
Пыль |
Возврат в производство, использование для раскисления почв и в производстве вяжущих веществ |
- |
3 |
|
Производство пиломатериалов |
Кусковые отходы |
Использование для выработки цельных, клееных заготовок и мелкой пилопродукции, технологической щепы для производства целлюлозы и другой продукции с измельчением древесины, в лесохимическом производстве, в качестве топлива |
Мелкая пилопродукция, технологическая щепа, топливо |
5 |
|
Опилки |
Производство спирта, кормовых дрожжей, целлюлозы, древесной муки и строительных материалов, использование в лесохимическом производстве, для хозяйственно-бытовых нужд, в сельском хозяйстве, для технологических целей |
Продукция лесохимии, строительные материалы, целлюлоза |
4, 5 | |
|
Стружка |
Изготовление плит и строительных блоков; применение в лесохимическом производстве |
Плиты, строительные блоки |
5 | |
|
Кора |
Получение дубителей в лесохимическом производстве, для изготовления удобрений |
Дубители, удобрения |
5 | |
|
Производство стекла |
Стеклобой |
Применение в качестве самостоятельного вида сырья; частичная замена шихты стекольным боем; использование в производстве стеклотары, стекла и строительных материалов (пеностекло, пенобетон, перлитокремнезит, стеклопенокремнезит и др.); жидкое стекло; интерьерная плитка |
Стеклотара, стекло и строительные материалы (пеностекло, пенобетон, перлитокремнезит, стеклопенокремнезит и др.); жидкое стекло; интерьерная плитка |
5 |
|
Обогащение каолина |
Песок, полученный в процессе обогащения каолина, и измельченный стеклобой |
Использование в производстве силикатного кирпича |
- |
4, 5 |
|
Отходы обогащения и добычи полезных ископаемых |
Использование при производстве пористых заполнителей для керамических изделий, силикатного кирпича, штукатурных и кладочных растворов |
Пористые заполнители |
4, 5 | |
|
Производство деревянных строительных конструкций |
Древесные отходы |
Применение в качестве топлива; производство арболита; производство тары; технологическая щепа в производстве ДВП, ДСП, ЦСП, ЦБП; в гидролизном производстве, лесохимической промышленности; производство изделий производственного потребления и для продажи населению |
Топливо, арболит, тара, технологическая щепа |
4, 5 |
|
Производство песка |
Обсидиан |
Применение в производстве различных типов легких бетонов: теплоизоляционных, конструкционных, конструкционно-теплоизоляционных |
Строительные материалы |
4 |
|
Производство доломита |
Отходы доломитов |
Применение в производстве вяжущих веществ |
Компонент вяжущих веществ |
5 |
|
Добыча и использование сланцев |
Сланцевое масло (остаток атмосферной перегонки смолы) |
Замещение сернистых и высокосернистых мазутов, применение в качестве добавки к нефтяным продуктам при переработке |
Добавка к нефтепродуктам |
Не установлено |
|
Дистиллятные фракции смолы |
Использование в составе растворителей и разбавителей при отсутствии требований у продукта по содержанию серы, а газойли - в качестве технологического топлива, теплоносителей или смесевого сырья для гидроочистки |
Компонент для растворителей и разбавителей | ||
|
Производство керамзитового гравия |
Пыль с электрофильтров |
Использование в качестве добавки к сырой глине и возврат в производство; производство геополимеров |
Геополимеры |
4 |
|
Пыль с сортировки |
Производство материалов для дорожного строительства (тротуарная плитка, бортовые камни, укрепление оснований дорог); материалов гражданского строительства (стеновые материалы, монолитный бетон, кладочные растворы, высокопрочный бетон); материалов автоклавного твердения, наполнителей, пигментов |
Материалы для дорожного строительства |
4 | |
|
Разработка месторождения мягкого мела |
Мел, в том числе накопленный в отвалах меловых пород |
Использование в производстве качественных стеновых материалов |
Стеновые материалы |
5 |
|
Производство бетона, железобетона |
Брак от производства изделий с трещинами, сколами; технологические отходы; бетонная пыль; засохший и жидкий растворы |
Производство вторичного щебня для изготовления бетонных смесей, бетонных стеновых камней, фундаментных плит, оснований для дорожных покрытий, площадок, подстилающих слоев при строительстве тротуаров; использование в ландшафтной архитектуре, для засыпки вместо недостающего грунта при выполнении строительных работ. Мелкую фракцию в виде отсева размером до 5 мм применяют в качестве активной органоминеральной добавки. Пылевидный наполнитель используют как заполнитель при изготовлении строительного раствора. Дробленые отходы ячеистого бетона применяют в качестве заполнителей строительных растворов, удобрений, добавляют в корм на птицефабриках |
Строительные материалы |
4, 5 |
|
Производство сухих строительных смесей |
Отсев песка (глинистые включения) |
Возврат поставщику песка |
- |
5 |
|
Отходы моторного масла от автопогрузчиков |
Использование в качестве антикоррозионной смазки наружных поверхностей металлических конструкций |
Антикоррозионная смазка наружных поверхностей металлических конструкций |
3 | |
|
Хризотилцементные производства |
Хризотилцементные отходы |
Использование в качестве сырья для изготовления строительных материалов и изделий, для изготовления безобжигового заполнителя пористой структуры, в производстве газобетонов и изделий автоклавного твердения, теплоизоляционной скорлупы |
Строительные материалы |
3, 4 |
|
Производство строительных металлических конструкций и изделий |
Высечка |
Использование в строительстве как армирующее средство для усиления кирпичной кладки, при закладке фундамента, возведении стен, в качестве материала заграждений |
Армирующее средство |
5 |
|
Шлаки |
Использование в производстве портландцемента и шлакоблоков, для заполнения пустот в бетоне |
Шлакоблоки |
4, 5 | |
|
Шлаковая пемза |
Использование в качестве компонента шлакобетона для ограждений и несущих конструкций |
Шлакобетон |
4 | |
|
Красный бокситный шлам |
Использование в производстве цементов, шлакового щебня, дорожных покрытий |
- |
5 | |
|
Производство теплоизоляционных материалов на основе минеральной ваты |
Каменная вата/стекловолокно |
Использование в качестве тепло- и звукоизоляционного материала стен, крыш, перекрытий, пола, дверей, труб |
Тепло- и звукоизоляционные материалы |
4 |
|
Производство теплоизоляционных изделий |
Отходы производства высокотемпературного оксидного волокна |
Изготовление термостойких изделий |
Термостойкие изделия |
4 |
|
Минеральная вата |
Использование в качестве тепло- и звукоизоляционного материала стен, перекрытий по задувной технологии |
Тепло- и звукоизоляционные материалы |
4 | |
|
Производство строительного гипса и изделий из гипса |
Гипсосодержащие отходы |
Использование в качестве сырья для производства гипсовых вяжущих |
Гипсовые вяжущие материалы |
4, 5 |
|
Производство мелкоштучных стеновых материалов |
Бой кирпича |
Использование для засыпания котлованов, мест под стоянки автомобилей и асфальтированные площадки; болотистых и слабых почв перед возведением домов и закладкой коммуникационных сетей; в качестве материала для строительства временных дорог или подъездных путей с небольшой загрузкой; в качестве компонента сырьевой шихты строительных композитов; в декоративных целях для оформления ландшафта и создания композиций; в качестве теплоизоляционного материала |
Материал для строительства временных дорог, компонент сырьевой шихты строительных композитов |
5 |
|
Разработка известняка-ракушечника для получения стенового штучного камня |
Отходы камнепиления |
Изготовление ракушечно-бетонных блоков |
Ракушечно-бетонные блоки |
5 |
|
Вид отходов - вторичных ресурсов |
Наименование (перечень) позиций отходов - вторичных ресурсов |
Приоритетные направления использования (продукты переработки в качестве вторичного сырья) |
Класс опасности для ОС [31] |
|
Отходы хлопчатобумажного производства |
Отходы хлопкопрядения: пух циклонный, орешек и пух трепальный, подметь, низкосортные отходы |
Производство технической ваты, ватина, мебельной ваты, нетканых материалов, регенерированного волокна |
5 |
|
Отходы ткацкого производства - путанка, концы пряжи |
Производство технической ваты, нетканых материалов, рубероида |
5 | |
|
Весовой лоскут |
Производство изделий для продажи населению |
5 | |
|
Отходы производства шерстяных тканей |
Шерстяные и полушерстяные тряпье и обрезки |
Производство восстановленной шерсти |
5 |
|
Ветошь, лоскут |
Промышленные отходы тканей, трикотажа, нетканых полотен |
Производство обтирочной ленты, обтирочной ветоши, пакли из вторичного сырья, нетканых материалов |
4, 5 |
|
Текстильные отходы |
Низкосортные и трудноперерабатываемые отходы |
Производство плит строительного назначения, геотекстильные материалы |
4, 5 |
|
Отходы кожевенно-обувной промышленности |
Краевые участки шкуры, стружка сырьевая, мездра |
Получение желатина, мездрового клея. Производство щетины, наполнителя для кожи |
4, 5 |
|
Хромовая стружка, обрезь и вырубка |
Производство искусственной кожи, целлюлозно-кожевенного прокладочного материала (кожкартона), замазки, наполнителей, пластификаторов |
4 | |
|
Лоскут кож |
Крой лыжных креплений, ремешков, стельки для обуви и пр. |
4 | |
|
Кожевенная вырубка |
Производство кожаных набоек, стелек, задников для обуви, технических шайб и пр. |
4 |
Библиография
[1] Федеральный закон от 31 декабря 2014 г. N 488-ФЗ "О промышленной политике в Российской Федерации"
[2] Федеральный закон от 28 июня 2014 г. N 172-ФЗ "О стратегическом планировании в Российской Федерации"
[3] Федеральный закон от 30 декабря 2009 г. N 384-ФЗ "Технический регламент о безопасности зданий и сооружений"
[4] Федеральный закон от 23 ноября 2009 г. N 261-ФЗ "Об энергосбережении, повышении энергетической эффективности и о внесении изменений в отдельные законодательные акты Российской Федерации"
[5] Федеральный закон от 27 декабря 2002 г. N 184-ФЗ "О техническом регулировании"
[6] Федеральный закон от 29 декабря 2004 г. N 190-ФЗ "Градостроительный кодекс Российской Федерации"
[7] Федеральный закон от 24 июля 2002 г. N 101-ФЗ "Об обороте земель сельскохозяйственного назначения"
[8] Федеральный закон от 21 декабря 2004 г. N ФЗ-172 "О переводе земель или земельных участков из одной категории в другую"
[9] Федеральный закон от 3 июня 2006 г. N 74-ФЗ "Водный кодекс Российской Федерации"
[10] Федеральный закон от 19 марта 1997 г. N 60-ФЗ "Воздушный кодекс Российской Федерации"
[11] Федеральный закон от 21 июля 1997 г. N 116-ФЗ "О промышленной безопасности опасных производственных объектов"
[12] Приказ Минэкономразвития России от 1 сентября 2014 г. N 540 "Об утверждении классификатора видов разрешенного использования земельных участков" (зарегистрирован в Министерстве юстиции Российской Федерации 8 сентября 2014 г. N 33995)
[5] Федеральный закон от 22 июля 2008 г. N 123-ФЗ "Технический регламент о требованиях пожарной безопасности"
[14] Федеральный закон от 4 мая 1999 г. N 96-ФЗ "Об охране атмосферного воздуха"
[15] СП 2.2.1.1312-03 Гигиенические требования к проектированию вновь строящихся и реконструируемых промышленных предприятий (зарегистрированы в Министерстве юстиции Российской Федерации 19 мая 2003 г. N 45)
[16] Постановление Правительства Российской Федерации от 30 апреля 2013 г. N 384 Правила согласования Росрыболовством строительства и реконструкции объектов строительства
[17] СН 2.2.4/2.1.8.562-96 Шум на рабочих местах, в помещениях жилых, общественных зданий и на территории жилой застройки
[18] Постановление Правительства Российской Федерации от 16 февраля 2008 г. N 87 "О составе разделов проектной документации и требованиях к их содержанию"
[19] Постановление Правительства Российской Федерации от 7 июля 2022 г. N 1216 "О внесении изменений в постановление Правительства Российской Федерации от 4 августа 2015 г. N 794 и признании утратившим силу отдельного положения акта Правительства Российской Федерации"
[20] Федеральный закон от 4 декабря 2006 г. N 200-ФЗ "Лесной кодекс Российской Федерации"
[21] Постановление Правительства Российской Федерации от 3 марта 2018 г. N 222 "Об утверждении Правил установления санитарно-защитных зон и использования земельных участков, расположенных в границах санитарно-защитных зон"
[22] Распоряжение Правительства Российской Федерации от 13 марта 2019 г. N 428-р "Об утверждении видов технических устройств, оборудования или их совокупности (установок) на объектах I категории, стационарные источники выбросов загрязняющих веществ, сбросов загрязняющих веществ которых подлежат оснащению автоматическими средствами измерения и учета показателей выбросов загрязняющих веществ и (или) сбросов загрязняющих веществ, а также техническими средствами фиксации и передачи информации о показателях выбросов загрязняющих веществ и (или) сбросов загрязняющих веществ в государственный реестр объектов, оказывающих негативное воздействие на окружающую среду"
[23] Федеральный закон от 30 марта 1999 г. N 52-ФЗ "О санитарно-эпидемиологическом благополучии населения"
[24] Постановление Правительства Российской Федерации от 31 декабря 2020 г. N 2398 "Об утверждении критериев отнесения объектов, оказывающих негативное воздействие на окружающую среду, к объектам I, II, III и IV категорий"
[25] Распоряжение Правительства Российской Федерации от 24 декабря 2014 г. N 2674-р "Об утверждении Перечня областей применения наилучших доступных технологий"
[26] Федеральный закон от 10 января 2002 г. N 7-ФЗ "Об охране окружающей среды"
[27] Постановление Правительства Российской Федерации от 12 октября 2020 г. N 1657 "О Единых требованиях к объектам обработки, утилизации, обезвреживания, размещения твердых коммунальных отходов"
[28] СанПиН 2.6.1.2523-09 Нормы радиационной безопасности (НРБ-99/2009)
[29] Паспорт отраслевой программы "Применение вторичных ресурсов и вторичного сырья из отходов в промышленном производстве" (утвержден Правительством Российской Федерации 17 ноября 2022 г. N 13493п-П11)
[30] Отраслевая программа "Применение вторичных ресурсов, вторичного сырья из отходов в сфере строительства и жилищно-коммунального хозяйства на 2022 - 2030 годы" (утверждена Правительством Российской Федерации 10 октября 2022 г. N 11795п-П11)
[31] Приказ Федеральной службы по надзору в сфере природопользования от 22 мая 2017 г. N 242 "Об утверждении Федерального классификационного каталога отходов"
[32] Приказ Федерального агентства по техническому регулированию и метрологии от 22 декабря 2021 г. N 2964 "Об утверждении информационно-технического справочника по наилучшим доступным технологиям "Утилизация и обезвреживание отходов (кроме термических способов)"
[33] Приказ Министерства природных ресурсов и экологии Российской Федерации от 30 сентября 2011 г. N 792 "Об утверждении Порядка ведения государственного кадастра отходов"
[34] Технический регламент Таможенного союза "О требованиях к смазочным материалам, маслам и специальным жидкостям" (ТР ТС 030/2012) (принят решением Совета Евразийской экономической комиссии от 20 июля 2012 г. N 59).


