СП 298.1325800.2017 (17.05.2019) СИСТЕМЫ ВЕНТИЛЯЦИИ ТОННЕЛЕЙ АВТОДОРОЖНЫХ. ПРАВИЛА ПРОЕКТИРОВАНИЯ
С изменениями:
(17 мая 2019 г.)
Ventilation systems of highway tunnels. Design rules
Введение
Настоящий свод правил разработан с учетом требований федеральных законов от 29 декабря 2014 г. N 190-ФЗ "Градостроительный кодекс Российской Федерации", от 27 декабря 2002 г. N 184-ФЗ "О техническом регулировании", от 22 июля 2008 г. N 123-ФЗ "Технический регламент о требованиях пожарной безопасности", от 30 декабря 2009 г. N 384-ФЗ "Технический регламент о безопасности зданий и сооружений", приказа Министерства регионального развития Российской Федерации от 30 декабря 2009 г. N 624 "Об утверждении Перечня видов работ по инженерным изысканиям, по подготовке проектной документации, по строительству, реконструкции, капитальному ремонту объектов капитального строительства, которые оказывают влияние на безопасность объектов капитального строительства".
В своде правил изложены общие требования и правила проектирования систем вентиляции автодорожных тоннелей для обеспечения их безопасной эксплуатации при различных транспортных ситуациях, а также при возникновении в тоннелях пожара.
Настоящий свод правил разработан впервые с учетом европейского и передового отечественного опыта проектирования и последующей эксплуатации автодорожных тоннелей.
Авторский коллектив: ООО "СанТехПроект" (канд. техн. наук А.Я. Шарипов), АС "СЗ Центр АВОК" (д-р техн. наук, проф. A.M. Гримитлин), Санкт-Петербургский горный университет (д-р техн. наук, проф. С.Г. Гендлер), ОАО НИПИИ "Ленметрогипротранс" (главный технолог В.А. Соколов).
Авторы разработки изменения N 1 - ООО "СанТехПроект" (канд. техн. наук А.Я. Шарипов), АС "СЗ центр АВОК" (д-р техн. наук A.M. Гримитлин), Санкт-Петербургский горный университет (д-р техн. наук С.Г. Гендлер), ОАО НИПИИ "Ленметрогипротранс" (В.А. Соколов).
1.1 Настоящий свод правил распространяется на проектирование систем вентиляции автодорожных тоннелей всех типов, в том числе использующих струйные вентиляторы или их комбинацию с тоннельными вентиляторами.
В настоящем своде правил использованы нормативные ссылки на следующие документы:
ГОСТ ISO 5802-2012 Вентиляторы промышленные. Испытания в условиях эксплуатации
ГОСТ Р 56521-2015 Тоннели автомобильные. Требования безопасности
СП 7.13130.2013 Отопление, вентиляция и кондиционирование. Требования пожарной безопасности
СП 48.13330.2011 "СНиП 12-01-2004 Организация строительства" (с изменением N 1)
СП 51.13330.2011 "СНиП 23-03-2003 Защита от шума" (с изменением N 1)
СП 60.13330.2016 СНиП 41-01-2003 Отопление, вентиляция и кондиционирование воздуха
СП 122.13330.2012 "СНиП 32-04-97 Тоннели железнодорожные и автодорожные" (с изменением N 1)
ГН 2.2.5.3532-18 Предельно допустимые концентрации (ПДК) вредных веществ в воздухе рабочей зоны
Примечание - При пользовании настоящим сводом правил целесообразно проверить действие ссылочных документов в информационной системе общего пользования - на официальном сайте федерального органа исполнительной власти в сфере стандартизации в сети Интернет или по ежегодному информационному указателю "Национальные стандарты", который опубликован по состоянию на 1 января текущего года, и по выпускам ежемесячного информационного указателя "Национальные стандарты" за текущий год. Если заменен ссылочный документ, на который дана недатированная ссылка, то рекомендуется использовать действующую версию этого документа с учетом всех внесенных в данную версию изменений. Если заменен ссылочный документ, на который дана датированная ссылка, то рекомендуется использовать версию этого документа с указанным выше годом утверждения (принятия). Если после утверждения настоящего свода правил в ссылочный документ, на который дана датированная ссылка, внесено изменение, затрагивающее положение, на которое дана ссылка, то это положение рекомендуется применять без учета данного изменения. Если ссылочный документ отменен без замены, то положение, в котором дана ссылка на него, рекомендуется применять в части, не затрагивающей эту ссылку. Сведения о действии сводов правил целесообразно проверить в Федеральном информационном фонде технических регламентов и стандартов.
В настоящем своде правил применены следующие термины с соответствующими определениями:
3.1 аварийная ситуация в тоннеле: Опасное техногенное происшествие (пожар, прорыв воды, разрушение крепи, выброс ядовитых и взрывоопасных веществ и т.п.), создающее в тоннеле и прилегающей к нему территории угрозу жизни и здоровью людей, приводящее к разрушению конструкций тоннеля, нарушению движения транспорта, а также к нанесению ущерба окружающей природной среде.
3.2 автодорожный тоннель: Подземное (или подводное) инженерное сооружение, предназначенное для пропуска (проезда) автотранспортных средств в целях преодоления высотных или контурных препятствий.
3.3 вентилятор вытяжной системы противодымной вентиляции: Вентилятор высоконапорный, сохраняющий работоспособность при температуре перемещаемого воздуха 400 °C - 600 °C в течение 2 ч и предназначенный для удаления дымовых и пожарных газов из очага пожара.
3.4 взвешенные частицы невыхлопного происхождения: Частицы пыли, как правило, диаметром 2,5 мм, образующиеся в результате разрушения дорожного полотна, тормозных колодок и т.п.
3.5 видимость, м: Отношение светового потока, прошедшего в воздухе без изменения направления путь, равный 1 м, к световому потоку, вошедшему в воздух в виде параллельного пучка.
3.6 выбросы загрязняющих веществ, г/ч (м2/ч): Количество загрязняющих веществ различной химической и физической природы, выделяющихся в единицу времени при движении транспортных средств по тоннелю.
3.7 габарит приближения строений и оборудования автодорожных тоннелей (габарит приближения): Предельное поперечное (перпендикулярное оси проезжей части) очертание, внутрь которого не должны заходить никакие части сооружений и строительных конструкций, всех видов оборудования и устройств (устройства вентиляции, электроснабжения, освещения, сигнализации, связи, направляющие, дренажные, водоотводные, противопожарные и др.) с учетом нормируемых допусков на их изготовление и монтаж.
3.8 дефлекторы: Пластины, устанавливаемые на выходе воздушного потока из струйного вентилятора и отклоняющие воздушный поток на заданный угол от линии, параллельной оси тоннеля.
3.9 дорожный уклон тоннеля, %: Отношение разности высот начала и конца рассматриваемого участка тоннеля к проекции длины этого участка на горизонтальную плоскость.
3.10 естественная тяга, Па: Перепад давлений (депрессия), создаваемый вследствие разности средней температуры воздуха в тоннеле и температуры атмосферного воздуха у портала с меньшей высотной отметкой относительно уровня моря; разности средних температур столбов атмосферного воздуха, имеющих высоту, соответствующую высоте приземного слоя атмосферы у порталов тоннеля; ветрового напора.
3.11 импульс струйного вентилятора, Н: Реактивная сила, равная произведению массового расхода воздуха, подаваемого вентилятором, на среднюю скорость воздуха в его входном сечении.
3.12 интенсивность движения транспортных средств: Количество транспортных средств различного типа, проходящих через тоннель в единицу времени (с, ч, сут).
3.13 коэффициент ослабления, м-1: Потери интенсивности светового потока относительно начальной интенсивности светового потока у источника после прохождения им единичного расстояния через воздушную среду в тоннеле.
3.14 количество движения (импульс), кг·м/с: Векторная физическая величина, равная произведению массы точки на ее скорость.
Примечание - Количество движения является мерой механического движения.
3.15 критическая скорость воздуха, м/с: Скорость воздушного потока, при которой в случае пожара исключается распространение дыма от очага пожара в сторону, противоположную направлению движения воздуха.
3.16 механический КПД вентилятора: Отношение полезной мощности вентилятора Nf, т.е. мощности воздушного потока, выходящего из вентилятора, к механической мощности N на валу вентилятора.
3.17 полный КПД вентилятора с электроприводом: Отношение полезной мощности вентилятора Nf (т.е. мощности воздушного потока, выходящего из вентилятора) к мощности Nэ, потребляемой электродвигателем.
3.18 нереверсивный вентилятор: Вентилятор, сконструированный с возможностью подачи воздушной струи только в одном направлении.
3.19 ниша: Выемка (или специально выгороженное пространство) в боковой части или своде автодорожного тоннеля, имеющая заданные размеры и форму и предназначенная для размещения струйных вентиляторов.
3.20 подшивной потолок: Вентиляционный канал, по которому дымовые и пожарные газы удаляются из очага пожара.
Примечание - Сооружают в сводовой части тоннеля путем установки продольной перегородки из негорючего материала, отделяющей подсводовое пространство от остальной части автодорожного тоннеля.
3.21 пожар: Неконтролируемое горение, причиняющее материальный ущерб, вред жизни и здоровью людей, интересам общества и государства.
3.22 пожарный отсек: Часть сооружения, отделенная от других его частей противопожарными преградами.
3.23 полоса движения: Часть проезжей части автодорожного тоннеля, имеющая ширину, достаточную для движения транспортных средств в один ряд.
3.24 полуограниченная струя (настилающаяся струя): Воздушная струя, развивающаяся вдоль твердой поверхности.
3.25 портал тоннеля: Архитектурно оформленный въезд или выезд из тоннеля.
3.26 поршневой эффект транспортных средств, Па: Разность давлений (депрессия), возникающая в тоннеле вследствие движения по нему транспортных средств со скоростью, превышающей скорость перемещения воздушного потока.
3.27 приведенная интенсивность движения транспортных средств при их нормальной или замедленной скоростях, усл. лег. авт./ч: Интенсивность движения транспортных средств различного типа (легковые и грузовые автомобили и автобусы), приведенная к интенсивности движения только легковых автомобилей.
3.28 приведенное количество транспортных средств при полной остановке движения, усл. лег. авт./км.пол: Количество транспортных средств всех типов, находящихся в тоннеле на каждой полосе движения при полной остановке движения, приведенное к количеству только легковых автомобилей.
3.29 притоннельное сооружение: Подземное или наземное сооружение, предназначенное для расположения технологических или эксплуатационных обустройств, обеспечивающих жизнедеятельность и обслуживание тоннеля.
3.30 проезжая часть тоннеля: Элемент автодорожного тоннеля, предназначенный для движения транспортных средств.
3.31 сервисный тоннель: Выработка, пройденная параллельно основному тоннелю и предназначенная для его обслуживания.
3.31а система противодымной вентиляции тоннеля (аварийная вентиляция): Комплекс устройств, обеспечивающий при возникновении пожара удаление продуктов горения из его очага и прилегающих к нему участков тоннеля, который может включать вентиляционное оборудование, используемое для общеобменной вентиляции и функционирующее в специальных режимах, которое, в случае необходимости, дополняется каналами и вентиляторами вытяжной системы противодымной вентиляции, или содержать самостоятельную систему каналов и вентиляторов вытяжной системы противодымной вентиляции.
3.32 струйный вентилятор: Вентилятор, реализующий принцип работы, основанный на передаче энергии от полуограниченной струи, исходящей из выходного отверстия вентилятора, к окружающему воздуху.
3.33 струйный вентилятор реверсивный: Струйный вентилятор, сконструированный с возможностью подачи воздушной струи в противоположных направлениях при равных значениях импульса.
3.34 схема вентиляции тоннеля: Схема движения по тоннельным выработкам (транспортным и сервисным) и расположенным в них вентиляционным каналам поступающих (свежих) и исходящих (загрязненных) воздушных потоков с указанием направлений их перемещения и расходов воздуха. Схемы вентиляции тоннелей подразделяют на продольную, поперечную и продольно-поперечную.
3.34.1 продольная схема вентиляции: Схема проветривания тоннелей, предполагающая использование в качестве вентиляционного канала для движения поступающих и исходящих воздушных струй собственно транспортную выработку при условии, что направления их перемещения по всей длине этой выработки параллельны ее продольной оси.
3.34.2 поперечная схема вентиляции: Схема проветривания тоннелей, основанная на поступлении свежего воздуха в транспортную выработку по одному вентиляционному каналу или выработке и удалении из нее исходящей струи через клапаны или сбойки по другому вентиляционному каналу или выработке, причем направления движения поступающей и исходящей струй перпендикулярны продольной оси транспортной выработки.
3.34.3 продольно-поперечная схема вентиляции: Схема проветривания тоннелей, предполагающая поступление свежего воздуха в транспортную выработку по одним вентиляционным каналам или выработкам и удаление из нее исходящей воздушной струи по другим вентиляционным каналам или выработкам, причем направления движения поступающей и исходящей струй по длине транспортной выработки могут быть как параллельны, так и перпендикулярны ее продольной оси.
Примечание - Разновидностями продольно-поперечной схемы вентиляции автодорожных тоннелей являются:
- схема вентиляции с полной или частичной заменой воздуха через выработки, пройденные перпендикулярно оси транспортной выработки;
- схема вентиляции, основанная на подаче свежего воздуха или в вентиляционные каналы, расположенные по длине транспортной выработки, или в сервисную выработку, пройденную параллельно ей, поступлении воздуха в транспортную выработку через клапаны в вентиляционных каналах или сбойки между сервисной и транспортной выработками, удалении исходящей воздушной струи из транспортной выработки через порталы тоннеля;
- блоковая схема вентиляции, предполагающая разделение тоннеля на обособленные участки, на каждом из которых воздух подается через порталы (стволы, штольни) или в вентиляционные каналы, расположенные по длине участка транспортной выработки, или в сервисную выработку, пройденную параллельно ей, поступление воздуха в транспортную выработку через клапаны в вентиляционных каналах или сбойки между сервисной и транспортной выработками и его удаление из транспортной выработки через вентиляционные стволы, штольни или порталы.
3.35 транспортная выработка: Основная часть объема тоннеля или часть комплексного подземного сооружения с расположенными в ней дорожным полотном, другими элементами строительных конструкций, а также с эксплуатационным оборудованием, необходимым для использования тоннеля в качестве транспортного сооружения.
3.36 эвакуационная штольня (штольня безопасности): Штольня, предназначенная для эвакуации людей из эксплуатируемых подземных сооружений в случае пожара или другой чрезвычайной ситуации.
3.37 эжекция: Увлечение потоком с более высоким давлением, движущимся с большой скоростью, среды с низким давлением.
3.38 эффективность работы вентилятора: Отношение импульса силы вентилятора к механической мощности Nf, потребляемой вентилятором, Н/кВт.
4.1 В настоящем своде правил применены следующие обозначения:
А - интенсивность движения легковых автомобилей, л/ч;
Б - интенсивность движения легких грузовых автомобилей, л.гр/ч;
В - интенсивность движения тяжелых грузовых автомобилей, т.гр/ч;
C - концентрация, мг/м3;
Cл - коэффициент лобового сопротивления автомобиля;
Fт - площадь поперечного сечения тоннеля, м2;
Dт - гидравлический диаметр тоннеля, м;
fh - поправочный коэффициент, учитывающий изменение значений выбросов загрязняющих веществ в зависимости от высоты расположения тоннеля над уровнем моря;
fm - поправочный коэффициент, учитывающий изменение значений выбросов загрязняющих веществ в зависимости от массы транспортных средств;
fτ - поправочный коэффициент, учитывающий изменение значений выбросов загрязняющих веществ в период 2010 - 2030 гг. относительно 2010 г.;
fст - поправочный коэффициент, учитывающий изменение значения выбросов загрязняющих веществ для технологических показателей Э2 и Э3 относительно показателя Э1;
G - объемный расход воздуха, м3/с;
i - дорожный уклон, %;
k1, k2, k3, k4, k5 - поправочные коэффициенты к значению импульса силы, развиваемой струйным вентилятором;
L - длина, м;
nf - количество вентиляторов;
nл - количество легковых автомобилей в тоннеле;
nл.гр - количество легких грузовых автомобилей в тоннеле;
nгр - количество тяжелых грузовых транспортных средств и автобусов в тоннеле;
nпол - количество дорожных полос в тоннеле;
Q - выбросы загрязняющих веществ, м3/с (м3/ч);
Qп - расчетная мощность пожара, кВт;
qбаз - выделение загрязнений одним автомобилем, г/(ч·тр.ср), м2/(ч. ср);
Sм - площадь лобового сопротивления автомобиля, м2;
T - абсолютная температура, К;
V - скорость, м/с (км/ч);
δH - разница высот между порталами тоннеля, м;
λтр - коэффициент сопротивления трения о стены;
ξ - коэффициент местного сопротивления;
ρ - плотность, кг/м3, г/м3, г/см3.
4.2 В настоящем своде правил применены следующие обозначения индексов:
л - легковой автомобиль;
л.б - легковой автомобиль с бензиновым двигателем;
л.д - легковой автомобиль с дизельным двигателем;
л.гр - легкий грузовой автомобиль;
л.гр.б - легкий грузовой автомобиль с бензиновым двигателем;
л.гр.д - легкий грузовой автомобиль с дизельным двигателем;
л.эл - легковые и легкие грузовые автомобили с электрическим двигателем;
л.гр.эл - легкие грузовые автомобили с электрическим двигателем;
авт.эл - автобусы с электрическим двигателем;
гр - тяжелый грузовой автотранспорт (с дизельным двигателем);
гр1 - тяжелые грузовые автомобили массой до 15 т и автобусы;
гр2 - тяжелые грузовые автомобили с прицепом и полуприцепом массой до 32 т.
5.1 Автодорожные тоннели по особенностям организации вентиляции подразделяют в зависимости от места расположения - на городские и находящиеся вне города; от количества полос движения - на однополосные, двухполосные, трехполосные, четырехполосные; от направления движения транспортных средств - с односторонним, двухсторонним движением транспорта.
5.2 Система вентиляции автодорожных тоннелей представляет собой комплекс объемно-планировочных и инженерно-технических решений, направленных на обеспечение:
- нормативных параметров воздушной среды (концентрация загрязняющих веществ, температура, относительная влажность) при любых режимах эксплуатации тоннелей: движение транспорта с установленной скоростью, в том числе в час пик (режим "А"); ежедневное замедленное движение транспорта со скоростью менее 20 км/ч (режим "Б"); исключительное замедленное движение транспорта (прерывистое движение) со скоростью менее 10 км/ч (режим "В"), транспортная пробка (режим "Г"), проведение в тоннеле плановых ремонтных работ;
- безопасной эвакуации людей в случае возникновения пожара по выработкам, свободным от пожарных и дымовых газов, с одновременным удалением по другим выработкам продуктов горения;
- благоприятных условий для тушения пожара.
5.3 Для проветривания тоннеля могут использоваться: естественная тяга, поршневой эффект транспортных средств, а также принудительная (механическая) вентиляция на основе вентиляторов различного типа и конструкций: струйные вентиляторы, высоконапорные осевые или центробежные вентиляторы.
5.4 Использование естественной вентиляции допускается в тоннелях с длиной, не превышающей 350 м при однонаправленном движении транспортных средств. В случае движения транспорта в противоположных направлениях положительное решение вопроса об использовании естественной вентиляции следует применять после дополнительного обоснования, выполненного на основе анализа данных натурных измерений.
5.5 Для механической вентиляции допускается использовать нагнетательный, всасывающий или нагнетательно-всасывающий способы, реализуемые с помощью продольной, поперечной или продольно-поперечной схем проветривания.
Вентиляцию площадок для остановки аварийного транспорта следует осуществлять воздухом, обеспечиваемым принятой схемой проветривания тоннеля.
5.6 Продольную схему вентиляции с подачей или вытяжкой воздуха только через порталы рекомендуется использовать в тоннелях длиной до 0,5 (1,0) км; поперечную схему вентиляции, использующую только вентиляционные каналы (например, подшивной потолок), - до 2,0 (3,0) км.
Примечание - Значения, приведенные в скобках, относятся к тоннелям с однонаправленным движением транспорта.
5.7 Для механического проветривания тоннелей длиной более 2 - 3 км необходимо дополнительное устройство вентиляционных стволов или штолен для подачи свежего и удаления загрязненного воздуха (поперечная или продольно-поперечная система вентиляции).
Примечание - Выбор наиболее эффективной системы вентиляции следует выполнять на основании технико-экономического сравнения вариантов, предполагающих использование разных систем вентиляции, а в наиболее сложных случаях и на базе специальных исследований.
5.8 Для проветривания одного и того же тоннеля при эксплуатационных режимах допускается использовать продольную схему вентиляции, а в случае возникновения пожара - продольную схему с массовой вытяжкой пожарных газов и дыма или реверсивную продольно-поперечную схему.
5.9 Аэродинамические параметры вентиляторов (производительность, депрессия, реактивный импульс) для проветривания тоннеля следует выбирать с возможностью обеспечения в тоннеле для всех режимов эксплуатации нормативных параметров воздушной среды, эффективного удаления из тоннеля пожарных газов и дыма в случае пожара, а также отсутствия дыма на путях эвакуации.
5.10 Расход воздуха, подаваемый вентиляторами, в эксплуатационных режимах "А", "Б", "В", "Г" рассчитывают из условия разбавления выделяемых при движении автотранспорта оксида углерода (CO) и оксидов азота (в пересчете на NO2) до средних значений по сечению тоннеля, определяемых предельно допустимыми концентрациями (ПДК), а также обеспечения предельного значения коэффициента ослабления светового потока в соответствии с СП 122.13330. При специальном обосновании для вычисления расхода воздуха допускается применять другие технологические требования.
5.11 Предельно допустимые концентрации оксида углерода и коэффициент ослабления светового потока kосл следует принимать по таблице 5.1 и по СП 122.13330.
|
Эксплуатационный режим |
Характеристика транспортной ситуации |
Концентрация оксида углерода, мг/м3 |
Коэффициент ослабления (затухания) kосл |
|
"А" |
Движение с установленной скоростью 50 - 100 км/ч, в т.ч. в час пик |
≈80 |
0,005 |
|
"Б" |
Ежедневное замедленное движение транспорта со скоростью менее 20 км/ч |
≈80 |
0,007 |
|
"В", "Г" |
Исключительное замедленное движение транспорта (прерывистое движение) со скоростью менее 10 км/ч, транспортная пробка |
≈115 |
0,009 |
|
- |
Проведение в тоннеле плановых ремонтных работ |
20 |
0,003 |
|
- |
Закрытие тоннеля |
200 |
0,012 |
Среднее значение ПДК азота оксидов (в пересчете на азота окислы) для всех транспортных ситуаций не должно превышать 5 мг/м3 в соответствии с ГН 2.2.5.3532.
Длительность каждого из режимов "Б", "В", "Г" или их суммарное время при указанных значениях ПДК не должно превышать 15 мин по СП 122.13330.
Примечание - В случае более длительного действия режимов "Б", "В", "Г" или превышения пороговых значений ПДК должны быть предусмотрены организационно-технические мероприятия по выключению двигателей транспортных средств, находящихся в тоннелях, гарантированному предотвращению въезда автомобилей в тоннель и контролю выполнения соответствующих команд.
Гарантированное предотвращение въезда в тоннель должно обеспечиваться автоматическим включением при превышении среднего значения ПДК CO (NO2) или снижению скорости движения в тоннеле, красного сигнала светофора, закрытием шлагбаума, подъемом автоматических барьеров с задержкой времени на 30 с для оценки диспетчером ситуации и выдачи разрешения на выполнение команды.
5.12 Вычисление необходимого расхода воздуха в эксплуатационных режимах "А", "Б", "В", "Г" следует осуществлять с учетом расположения тоннеля (город или за чертой города); геометрических характеристик, профиля трассы тоннеля, определяющего дорожные уклоны различных участков тоннеля; интенсивности и скорости движения транспортных средств, показателей Э1, Э2 и Э3, зависящих от характеристики парка автомобилей в каждом регионе, где осуществляется сооружение тоннеля, использующих топливо с экологическими стандартами выбросов загрязняющих веществ К2, К3, К4, К5 (см. приложения А - Д), фонового уровня загрязнения атмосферного воздуха (методика расчета необходимого количества воздуха приведена в приложении Е).
Для эксплуатационного режима "А" количество воздуха рассчитывается по выбросам CO и взвешенных частиц; для режимов "Б" и "В" - по выбросам CO, NO2, сажи и взвешенных частиц; для режима "Г" - по выбросам CO, NO2, сажи.
Для дальнейших вычислений принимают большее из вычисленных значений расхода воздуха.
5.13 Производительность вентиляторов вытяжной системы противодымной вентиляции следует определять с учетом нормативного времени эвакуации людей и стратиграфии воздушного потока на путях эвакуации, гарантирующей высоту незадымленного пространства тоннеля не менее 2,5 м и зависящую от конвективной мощности пожара (см. таблицу 5.2).
|
Тип транспортного средства |
Максимальная мощность пожара, МВт |
Время достижения максимальной мощности пожара, мин |
|
Легковой автомобиль |
5 |
10 |
|
Несколько легковых автомобилей |
15 |
20 |
|
Автобус |
30 |
15 |
|
Тяжелый грузовой автомобиль |
150 |
15 |
|
Автомобиль-цистерна |
300 <1> |
- |
|
Автомобили с электрическим приводом |
- <2> |
- |
|
Легковой автомобиль с газобаллонным оборудованием |
6 |
- |
|
Автобус с газобаллонным оборудованием |
25 |
- |
|
<1> Не допускается въезд в тоннели автомобилей, перевозящих легко воспламеняющиеся вещества с максимальной мощностью пожара, превышающей 100 МВт; <2> Максимальная мощность пожара от автомобилей на электрической тяге должна определяться на основании натурных испытаний. | ||
Двигатели вентиляторов вытяжной системы противодымной вентиляции для удаления газовоздушной смеси с температурой 400 °C - 600 °C должны быть рассчитаны на безаварийную и эффективную работу в течение 2 ч в соответствии с ГОСТ ISO 5802.
5.14 Производительность вентиляции тоннелей необходимо проверять на возможность обеспечения расчетной средней температуры воздуха по длине тоннелей, которая при температуре наружного воздуха, равной средней температуре самого жаркого месяца, не должна превышать 35 °C. Минимальная температура воздуха в тоннеле не регламентируется.
5.15 Установки тоннельной вентиляции должны иметь необходимый резерв производительности вентиляционных систем по разбавлению вредных веществ не менее 50%.
5.16 Максимальную допустимую скорость движения воздуха следует принимать:
- 6 м/с без учета движения транспортных средств (при специальном обосновании - 10 м/с) - в транспортной зоне тоннеля;
- 20 м/с (при обосновании - 25 м/с) - в продольных вентиляционных каналах;
- 10 м/с - в поперечных вентиляционных каналах.
5.17 Минимальную скорость воздуха следует определять из расчета трехкратного часового объема проветривания транспортной зоны или обеспечения средней скорости воздуха не менее 1,5 м/с.
5.18 Депрессию вентиляторов (реактивный импульс) для обеспечения подачи в тоннель необходимого количества воздуха следует определять с учетом аэродинамических характеристик вентиляторов и потерь давления при движении воздуха по вентиляционной сети (собственно транспортная выработка, сервисный тоннель, сбойки, вентиляционные каналы и т.п.). При этом необходимо принимать во внимание геометрические и аэродинамические параметры тоннеля и выработок вентиляционной сети, характеристику транспортного потока, аэродинамические параметры транспортных средств, термодинамические параметры атмосферного воздуха у порталов и внутри тоннеля, орографическую характеристику района расположения тоннеля. Методика расчета потерь давления приведена в приложении Ж.
5.19 При продольной схеме вентиляции струйные вентиляторы следует размещать непосредственно в тоннеле, но не более чем на расстоянии 50 м от порталов, а вентиляционные установки при поперечной и продольно-поперечной схемах проветривания - или в отдельных помещениях непосредственно у порталов, или в местах расположения эксплуатационно-технических блоков, или у вентиляционных стволов, или в подземных камерах в зависимости от местных градостроительных условий и объемно-планировочных решений. Воздухозаборные вентиляционные киоски следует располагать в местах наименьшего загрязнения атмосферного воздуха. Приточные жалюзи устанавливают на высоте не менее 2 м от поверхности земли (низ решетки).
5.20 Для предотвращения рециркуляции воздуха между параллельными тоннелями при различном направлении движения транспортных средств следует разносить рядом расположенные входной и выходной порталы по длине трассы либо сооружать на въездах у порталов разделительную стену между полосами движения встречного направления высотой, равной максимальной высоте поперечного сечения тоннеля, на длину, равную половине дальнобойности воздушной струи выездного портала по СП 122.13330.
5.21 В каналах, со стороны всасывающих и вытяжных вентиляционных устройств, а при обосновании расчетом и со стороны тоннелей, необходимо предусматривать установку глушителей шума, обеспечивающих снижение шума от работы вентиляторов на прилегающих селитебных территориях до значений, указанных в таблице 5.3 и в соответствии с СП 122.13330.
|
Среднегеометрические частоты октавных полос, Гц |
63 |
125 |
250 |
500 |
1000 |
2000 |
4000 |
8000 |
|
Уровни звукового давления, дБ |
97 |
88 |
83 |
76 |
72 |
62 |
54 |
47 |
Необходимость звукоизоляции наружных ограждений вентиляционных камер следует определять расчетом согласно СП 51.13330.
5.22 Система управления установками тоннельной вентиляции должна включать комплекс средств, обеспечивающих постоянный контроль физических и химических параметров воздушной среды в транспортной зоне, включая припортальные участки и автоматическое регулирование расхода воздуха в зависимости от показаний датчиков контроля.
Замерные станции следует устанавливать с шагом, обеспечивающим контроль воздушной среды на всем протяжении тоннеля с учетом профиля тоннеля и наличия кривых по трассе.
5.23 При проектировании тоннельной вентиляции должна быть проверена возможность выброса воздуха из тоннеля без очистки. При необходимости очистки выбрасываемого из тоннелей воздуха ее вид следует определять по технико-экономическим расчетам. В случае применения мокрой очистки следует предусматривать места временного хранения, средства транспортирования и утилизации шлама.
При выбросах без очистки допускается использовать рассредоточение выбросов или высокие выбросы через вертикальные вентиляционные трубы. Высота труб должна определяться расчетом и составлять не менее высоты ближайшего наиболее высокого здания в радиусе 20 м.
5.24 В помещениях вентиляционных камер должны быть предусмотрены грузоподъемные и транспортные механизмы для монтажа и демонтажа вентиляционного оборудования при его обслуживании и ремонте.
5.25 Коллекторы кабельных коммуникаций и помещения вытяжных вентиляционных камер должны иметь самостоятельные системы местной вентиляции.
В технических помещениях с оборудованием, выделяющим в процессе работы вредные компоненты, следует предусматривать, при необходимости, местные отсосы.
Воздуховоды систем вентиляции должны предусматривать их очистку и мойку без демонтажа.
5.26 Помещения эксплуатационно-технического блока должны быть оборудованы самостоятельными системами вентиляции. Для этих систем вентиляции необходимо предусматривать шумоглушение в соответствии с СП 51.13330.
5.27 На всех приточных системах вентиляции служебно-технических помещений в холодный период года должен быть обеспечен подогрев подаваемого воздуха до температуры, определяемой назначением помещения, но не ниже 5 °C. Приточные системы следует оснащать системой автоматики для поддержания заданной температуры воздуха.
5.28 Для контроля за газовой средой в помещениях водоотливных установок в вытяжных камерах следует предусматривать установку газоанализаторов, реагирующих на повышение концентрации вредных веществ, а также на образование взрывоопасной газопаровоздушной среды.
5.29 Обеспечение воздухообмена в притоннельных сооружениях следует осуществлять с забором и выбросом воздуха в транспортную зону тоннеля.
5.30 Для защиты от дыма путей эвакуации (эвакуационных сбоек и сервисного тоннеля) следует использовать вентиляционные установки подпора воздуха, размещаемые в тамбур-шлюзах (сбойках).
5.31 Вентиляционная установка, подающая воздух в объем сбойки, должна обеспечивать подпор воздуха не менее 20 Па (при закрытых дверях эвакуационных выходов). Значение подпора воздуха не должно превышать 150 Па. При открытой в тоннель двери скорость воздуха в проеме должна быть не менее 1,3 м/с-1.
5.32 Включение подпорных вентиляторов должно проводиться по сигналам автоматической пожарной сигнализации (АПС) и дистанционно дежурным персоналом из помещения диспетчерской.
5.33 Режимы работы вытяжных вентиляторов систем противодымной защиты тоннелей следует устанавливать по температуре удаляемых продуктов горения в зоне вентиляционной камеры, рассчитываемой в зависимости от мощности и места расположения очага пожара с учетом нестационарного теплообмена продуктов горения со строительными конструкциями тоннеля.
5.34 Тип системы противодымной вентиляции следует выбирать в зависимости от схемы проветривания автодорожного тоннеля.
5.34.1 Противодымная вентиляция при продольной схеме проветривания осуществляется за счет подачи воздуха в один портал тоннеля и вытеснении продуктов горения через другой портал.
5.34.2 Противодымная вентиляция при поперечной схеме проветривания реализуется с помощью приточно-вытяжной схемы путем подачи воздуха к очагу пожара в транспортном отсеке через клапаны или сбойки по одним выработкам (каналам) и удалении (вытяжки) продуктов горения через огнезащитные клапаны (сбойки), соединяющие транспортный отсек с параллельными выработками (каналами).
5.34.3 Противодымная вентиляция при продольно-поперечной схеме проветривания основана на использовании приточно-вытяжной системы, предполагающей подачу воздуха к очагу пожара в транспортном отсеке по одним выработкам и удалении продуктов горения по другим выработкам, которые могут быть как параллельны, так и перпендикулярны выработкам с поступающей вентиляционной струей.
5.35 Определение параметров противодымной вентиляции или совмещенных с ними систем общеобменной вентиляции автодорожного тоннеля должно выполняться с учетом требований СП 7.13130.
6.1 Для реализации продольной схемы вентиляции автодорожных тоннелей допускается использовать систему портальной эжекторной вентиляции, систему "Сакардо" и струйные вентиляторы, размещенные определенным образом по длине тоннеля. Использование продольной вентиляции определяют возможностями обеспечения нормативных параметров воздушной среды при эксплуатационных режимах "А", "Б", "В" и "Г" при условии ограничения скорости воздуха в тоннеле, установленной предельно допустимым значением 6 м/с.
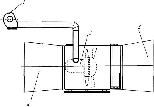
6.2 Область применения портальной системы "Сакардо" ограничена автодорожными тоннелями с однонаправленным движением транспортных средств и отсутствием влияния на движение воздуха по тоннелю естественной тяги. Система "Сакардо" предполагает размещение на портале тоннеля, в который входят транспортные средства, установок эжекторного типа, создающих в тоннеле скоростное давление, достаточное для подачи в тоннель необходимого количества воздуха. Эжекторная установка, представляющая собой высоконапорный вентилятор осевого или центробежного типа, должна размещаться или в специальном канале, сопрягающемся с тоннелем (см. рисунок 6.1), или в вентиляционном здании, связанном с тоннелем кольцеобразным каналом. В последнем случае систему "Сакардо" вследствие ограниченной возможности подачи в тоннель значительного количества воздуха следует применять для тоннелей с невысокими интенсивностями движения транспортного потока.

1 - вентилятор; 2 - вентиляционный канал; 3 - тоннель
Рисунок 6.1 - Продольная схема вентиляции, использующая портальные эжекторные установки
Вентилятор, подающий через вентиляционный канал сечением Sk в тоннель с сечением Sт атмосферный воздух плотностью ρа с расходом Qj при направлении выпуска воздуха к оси тоннеля под углом β, должен развивать давление δРв, вычисляемое по формуле
. (6.1)
6.3 В автодорожных тоннелях с однонаправленным транспортным потоком для осуществления продольной вентиляции наиболее целесообразно использовать струйные вентиляторы (см. рисунок 6.2), обеспечивающие поступление в тоннель необходимого количества воздуха за счет эжекционного эффекта воздушной струи, исходящей из вентилятора со скоростью 15 - 30 м/с.
Возможность использования струйных вентиляторов в тоннелях с движением транспортных средств в противоположных направлениях должна оцениваться дополнительно.

1 - тоннель; 2 - автомобили; 3 - струйные вентиляторы
Рисунок 6.2 - Продольная схема вентиляции, использующая струйные вентиляторы
6.4 Конструктивные и аэродинамические параметры струйных вентиляторов (рисунок 6.3) следует выбирать по ГОСТ ISO 5802 с учетом обеспечения возможности:
- перемещения по тоннелю большого количества воздуха при небольших статических давлениях;
- 100%-ного реверсирования воздушного потока при неизменном коэффициенте полезного действия;
- совместной работы двух и более вентиляторов;
- минимальных массовых и габаритных характеристик;
- минимальных уровней шума и вибрации;
- простоты и минимальной трудоемкости технического обслуживания;
- высокой коррозионной устойчивости;
- надежности, долговечности и продолжительности службы.

1 - двигатель; 2 - лопатки; 3 - глушители шума; L1 - длина вентилятора с двигателем и крыльчаткой; L2 - длина глушителя шума; L - общая дина струйного вентилятора; Df - диаметр выходного отверстия
Рисунок 6.3 - Конструктивная схема реверсивного струйного вентилятора
6.5 Выбор мест размещения струйных вентиляторов в автодорожных тоннелях определяют сечением тоннеля и его формой, габаритом приближения, зависящим от категории дороги, диаметром струйного вентилятора, протяженностью участков, занятых вентиляционными сооружениями, предназначенных для использования при авариях, возможностью сооружения специальных ниш в своде или боковой части тоннеля (рисунок 6.4) в соответствии с СП 122.13330.

а) Размещение вентиляторов у свода тоннеля

б) Размещение вентиляторов на стенах тоннеля

в) Размещение вентиляторов в потолочных нишах
Рисунок 6.4 - Типичные варианты расположения струйных вентиляторов в тоннеле
6.6 Струйные вентиляторы допускается устанавливать как параллельно оси тоннеля, так и под углом к горизонтальной оси, не превышающим 15°. В последнем случае струйные вентиляторы являются нереверсивными и их использование предполагает подачу воздуха только в одном направлении.
6.7 При размещении струйных вентиляторов у свода тоннеля должны выполняться следующие условия:
- расстояние между центрами струйных вентиляторов, размещаемых в сечении тоннеля lвент, не должно быть менее двух внутренних диаметров вентилятора Df, т.е. lвент ≥ Df (рисунок 6.5);
- расстояние z, отсчитываемое от центров струйных вентиляторов до поверхности свода тоннеля, должно быть максимальным в пределах габарита приближения тоннеля;
- расстояние между группами струйных вентиляторов по длине тоннеля lпрод при их расположении параллельно оси тоннеля и отсутствия дефлекторов не должно быть менее десяти гидравлических диаметров тоннеля Dт, т.е. lпрод ≥ 10Dт;
- при использовании дефлекторов, отклоняющих воздушную струю, выходящую из вентилятора на 5° - 10°, минимальное значение lпрод может быть уменьшено до 6 - 8 гидравлических диаметров тоннеля Dт;
- минимальное расстояние от сечения, где установлены струйные вентиляторы, до портала тоннеля с исходящей воздушной струей не должно быть менее десяти гидравлических диаметров тоннеля. Сокращение этого расстояния приводит к снижению импульса силы струйных вентиляторов.

lвент - расстояние между центрами вентиляторов в сечении тоннеля; z - расстояние от центра вентилятора до поверхности свода тоннеля; 1 - габарит приближения
Рисунок 6.5 - Размещение струйных вентиляторов в нишах у свода тоннеля
6.8 При размещении струйных вентиляторов в нишах у свода тоннеля ниша должна иметь форму, минимизирующую потери давления на местные сопротивления (рисунок 6.6). Геометрические параметры ниши определяют длиной вентилятора с учетом глушителей шума и значением диаметра выходного отверстия. Отклонение геометрических параметров ниши от параметров, указанных на рисунке 6.6, приводит к снижению импульса силы струйного вентилятора.

1 - струйный вентилятор
Рисунок 6.6 - Размещение струйных вентиляторов в нишах у свода тоннеля
6.9 При размещении струйных вентиляторов в нише, выполненной в стенке тоннеля, учитывают следующее:
- конструкция ниши соответствует конструкции ниши у свода тоннеля;
- струйные вентиляторы размещают по высоте ниши (рисунок 6.7), при этом расстояние между центрами вентиляторов должно составлять не менее двух диаметров выходного отверстия.

1 - габарит приближения
Рисунок 6.7 - Размещение вентиляторов в боковой нише
6.10 При размещении струйных вентиляторов в нише, выполненной у свода тоннеля или в его стенке (см. рисунки 6.6, 6.7), результирующий коэффициент, учитывающий потери на трение из-за взаимодействия воздушного потока с поверхностью обделки в нише kрез = k2k3, определяют по данным таблицы 6.1, характеризующей значения корректирующих коэффициентов для одиночного вентилятора.
|
kрез |
Угол между направлением выпуска воздушной струи и осью тоннеля, град |
|
0,82 |
0 |
|
0,88 |
5 |
|
0,93 |
10 |
|
0,90 |
15 |
При размещении в нише двух и более вентиляторов значения, приведенные в таблице 6.1, следует уменьшать на 15%. Установка дефлекторных пластин на выходе из вентилятора позволяет избежать прямого столкновения воздушного потока с поверхностями ниши. Вследствие этого значение kрез при расположении вентиляторов параллельно оси тоннеля повышается на 0,1 - 0,15 относительно значения, приведенного в таблице 6.1 при нулевом угле между направлением выпуска воздушной струи и осью тоннеля.
6.11 Расчет количества струйных вентиляторов
6.11.1 Общий импульс Nобщ, Н, струйных вентиляторов, обеспечивающий подачу в тоннель необходимого количества воздуха G, вычисляют по формуле
Nобщ=δРобщFт, (6.2)
где δРобщ - рассчитывается по формуле (Ж.1);
Fт - площадь поперечного сечения тоннеля, м2.
6.11.2 Фактическое значение импульса, развиваемое одним струйным вентилятором Nвент, вычисляют по формуле
Nвент = Nномk1k2k3k4k5, (6.3)
где Nном - номинальный импульс, измеренный во время стендовых испытаний;
k1 - коэффициент, учитывающий снижение номинального импульса силы струйного вентилятора вследствие отличия средней скорости воздушного потока Vв в тоннеле от нулевого значения, вычисляемый по формуле
k1 = (V0 - Vв)/V0, (6.4)
здесь V0 - скорость воздушного потока на выходе из струйного вентилятора, м/с;
k2 - коэффициент, учитывающий снижение номинального импульса силы струйного вентилятора вследствие эффекта трения воздушного потока, выходящего из вентилятора, о поверхности обделки в своде или боковых стенах тоннеля при различном расположении вентилятора в сечении тоннеля. Значения k2 при размещении струйного вентилятора у свода (кривая 1) и на сопряжении свода и боковой поверхности тоннеля (кривая 2) приведены на рисунке 6.8;
k3 - коэффициент, учитывающий изменение номинального импульса силы струйного вентилятора вследствие снижения потерь на трение при отклонении выходящей воздушной струи от поверхности обделки тоннеля (рисунок 6.9);
k4 - коэффициент, учитывающий снижение номинального импульса силы струйного вентилятора при уменьшении продольного расстояния между группами струйных вентиляторов, размещенных по длине тоннеля ниже величины 10Dт в случае установки вентиляторов параллельно оси тоннеля и ниже величины 6 - 8Dт при использовании дефлекторов, отклоняющих воздушную струю, выходящую из вентилятора на 5° - 10°. k4 принимают равным 1, когда lпрод ≥ 10 Dт или lпрод ≥ 6 - 8 Dт;
k5 - коэффициент, учитывающий изменение номинального импульса силы струйного вентилятора в зависимости от расстояния lпорт между порталом с исходящей вентиляционной струей и местом установки ближайшего к этому порталу струйного вентилятора (рисунок 6.10).

1 - размещение вентилятора у свода тоннеля; 2 - размещение вентилятора на сопряжении свода и боковой поверхности тоннеля ("в углу")
Рисунок 6.8 - Значение k2 в зависимости от параметра p = 2z/(Dт - Df)

1 - параметр p = 0,46; 2 - параметр p = 0,26; 3 - параметр p = 0,06; 4 - параметр p = 0,16
Рисунок 6.9 - Значение коэффициента k3 в зависимости от угла отклонения воздушного потока относительно оси тоннеля для различных значений параметра p = 2z/(Dт - Df)

Рисунок 6.10 - Значение коэффициента k5 в функции относительного расстояния от места установки ближайших к порталу с исходящей воздушной струей струйных вентиляторов до этого портала lпорт/Dт
6.11.3 Количество струйных вентиляторов nf, обеспечивающих подачу в тоннель необходимого количества воздуха G, вычисляют по формуле
. (6.5)
Выбор типоразмера струйного вентилятора следует осуществлять с учетом габарита приближения тоннеля, возможности размещения в одном сечении не менее двух струйных вентиляторов, выполнения условия, определяющего значение продольного расстояния между местами установки вентиляторов lпрод ≥ 10Dт, и резервирования необходимого количества вентиляторов для обеспечения работоспособности системы вентиляции в случае выхода из строя части из них.
6.11.4 Пример расчета продольной схемы вентиляции автодорожного тоннеля приведен в приложении И.
6.12 Определение расхода воздуха при возникновении пожара в тоннеле при продольной схеме вентиляции
При возникновении пожара в автодорожных тоннелях должна быть обеспечена скорость движения воздушного потока, превышающая некоторое критическое значение, при котором гарантируется отсутствие движения дыма и газов в направлении, противоположном направлению вентиляционного потока (рисунок 6.11).

а) Распространение пожарных газов в условиях естественной вентиляции для тоннеля с горизонтальным профилем

б) Вентиляция не обеспечивает предотвращение движения пожарных газов в направлении, обратном воздушному потоку

в) Вентиляция предотвращает движения пожарных газов в направлении, обратном воздушному потоку
- направление движения воздуха;
- направление движения пожарных и дымовых газов
Рисунок 6.11 - Закономерности формирования обратного вентиляционному потоку движения дыма или горячих газов при возникновении пожара в автодорожном тоннеле в зависимости от скорости воздуха
Критическую скорость Vкр, м/с, вычисляют по формуле
Vкр = Sкр{[Rкр(1 + (1 - 2/Rкр)1/2) - 1]1/3 + [Rкр(1 - (1 - 2/Rкр)1/2) - 1]1/3 - 1}, (6.6)
где Sкр и Rкр - параметры, вычисляемые по формулам:
Sкр=Qп/3ρвСрFтT0, (6.7)
; (6.8)
здесь Hт - высота тоннеля в месте возникновения пожара, м;
Fт - площадь сечения тоннеля, м2;
Qп - конвективная мощность пожара, кВт;
kg - коэффициент, учитывающий профиль тоннеля (при положительном уклоне kg = 1, при отрицательном уклоне с градиентом от 0% до 6% kg возрастает от 1 до 1,15);
k1 = 0,606;
Cр - теплоемкость воздуха, равная = 1,005 кДж/(кг·К);
ρв - плотность воздуха в тоннеле при температуре T0;
T0 - абсолютная температура набегающего воздушного потока, К.
Результаты вычисления Vкр представлены на рисунке 6.12.

1 - значение уклона тоннеля i = 0; 2 - значение уклона тоннеля i = -2%; 3 - значение уклона тоннеля i = -4%; 4 - значение уклона тоннеля i = -6%
Рисунок 6.12 - Зависимость критической скорости воздушного потока от конвективной мощности пожара и уклона тоннеля i
Расход воздуха, рассчитанный по критической скорости движения воздуха, сравнивают с значениями расходов, вычисленными из условия обеспечения нормативных параметров воздушной среды в тоннеле по CO, NO2, сажи, а также сочетания сажи и взвешенных частиц невыхлопного происхождения PM2,5, определяющих нормативное значение коэффициентов ослабления kосл. Для дальнейших расчетов выбирают наибольшую из сравниваемых величин, т.е. G = max (GCO,
, Gсажи,
).
6.13 Использование продольной схемы для противодымной вентиляции ограничено длиной тоннеля 300 м. При расчетном обосновании допускается применение продольной схемы проветривания для противодымной вентиляции в случае однонаправленного движения транспортных средств при длине тоннелей, достигающей 1000 м.
Вытеснение продуктов горения из транспортного отсека осуществляется с помощью вентиляционного оборудования, расположенного в тоннеле за пределами зоны влияния очага пожара.
Следует предусмотреть резервирование вентиляторов в случае попадания части из них в очаг пожара.
7.1 Целесообразность применения поперечной схемы вентиляции (рисунок 7.1) определяют принятыми при проектировании горнотехническими параметрами автодорожного тоннеля (протяженность, сечение, профиль трассы и т.п.), его аэродинамическими характеристиками (коэффициенты трения и местного сопротивления), метеорологической характеристикой района расположения тоннеля, а также характеристикой транспортного потока.

1 - подающий канал; 2 - отводящий канал; 3 – нагнетательный вентилятор; 4 - всасывающий вентилятор;
- свежий воздух;
- загрязненный воздух
Рисунок 7.1 - Поперечная система вентиляции - принципиальная схема
7.2 Вентиляционные каналы, устанавливаемые для осуществления поперечной схемы вентиляции, должны обеспечивать равномерное распределение по длине тоннеля подаваемого свежего воздуха и удаление загрязненного воздуха. Это должно достигаться выбором соответствующих размеров выпускных и вытяжных отверстий, в качестве которых могут использоваться клапаны различной конструкции и местными сопротивлениями их входа и выхода.
7.3 Для подачи свежего воздуха в тоннель и удаления загрязненного следует использовать различные конструкции вентиляционных каналов и их расположение относительно друг друга, обеспечивающие равномерные выпуск и вытяжку воздуха. В зависимости от площади сечения тоннеля и интенсивности движения транспорта допускается применять металлические вентиляционные короба, смонтированные у свода тоннеля вблизи противоположных стен тоннеля (рисунок 7.2), а также вентиляционные каналы, находящиеся внутри строительных конструкций (рисунок 7.3). Вентиляционные каналы должны иметь пределы огнестойкости, соответствующие EI 60 - для городских и негородских тоннелей и EI 12 - для подводных тоннелей.

1 - габарит приближения;
- свежий воздух;
- загрязненный воздух
Рисунок 7.2 - Поперечная система вентиляции, использующая металлические вентиляционные короба

а), б) - проходка тоннеля горным способом соответственно для двух и трех полос движения автотранспорта; в), г), д) - проходка тоннеля механизированным щитом соответственно для двух и трех полос движения
I - канал для подачи свежего воздуха; II - канал для удаления загрязненного воздуха; 1 - габарит приближения; 2 - подшивной потолок; 3 - дорожная плита;
- свежий воздух;
- загрязненный воздух
Рисунок 7.3 - Конструкции вентиляционных каналов для автодорожных тоннелей различного сечения и количества полос для движения транспорта
7.4 В вентиляционных каналах по длине тоннелей должны быть выполнены проемы для установки двух типов клапанов. Через первые осуществляется подача свежего воздуха и отбор загрязненного воздуха в эксплуатационных режимах, через вторые - удаление продуктов горения. Клапаны, используемые в эксплуатационных режимах вентиляции, должны иметь площадь сечения не более 1,5 - 2,5 м2 и устанавливаться на расстояниях 10 - 40 м друг от друга.
Площадь сечения клапанов для удаления продуктов горения может достигать 10 - 15 м2 с увеличением расстояния между ними до 100 м. Уточненный выбор размеров клапанов для удаления продуктов горения и расстояния между ними следует осуществлять на основании математического моделирования процесса распространения продуктов горения, зависящего от расчетной мощности пожара, температуры окружающей среды и горнотехнических параметров тоннеля. Все клапаны должны быть снабжены механизмами для их автоматического закрытия (открытия) и иметь пределы огнестойкости, соответствующие EI 120 (вытяжная противодымная вентиляция) и EI 90 (приточная противодымная вентиляция).
Внешний вид типового клапана показан на рисунке 7.3а.

Рисунок 7.3а - Внешний вид конструкции противопожарного клапана
7.5 В качестве вентиляционных каналов для организации поперечной схемы вентиляции могут быть использованы сервисные тоннели, пройденные параллельно основному тоннелю (рисунок 7.4). Нагнетание в тоннель свежего воздуха и вытяжка загрязненного воздуха при этом осуществляется через сбойки, связывающие основной и сервисные тоннели.

1 - транспортный тоннель; 2 - сервисный тоннель; 3 - вентиляционный тоннель; 4 - сбойки; 5 - клапаны;
- свежий воздух;
- загрязненный воздух
Рисунок 7.4 - Поперечная схема вентиляции, использующая в качестве вентиляционных каналов горные выработки
7.6 Допускается использование одних и тех же вентиляторов для проветривания тоннеля в эксплуатационных режимах и для организации дымоудаления. В этом случае вентиляторы должны быть снабжены системами охлаждения двигателя, например, с помощью обдува воздухом, подаваемым специальным вентилятором (рисунок 7.5).

1 - вентилятор; 2 - электродвигатель; 3 - конфузор; 4 - диффузор
Рисунок 7.5 - Конструкция вентилятора для проветривания тоннеля в эксплуатационных режимах и организации удаления газовоздушной смеси
7.7 При удалении дыма с помощью вентиляторов, используемых в эксплуатационных режимах для общеобменной вентиляции, необходимо осуществлять оценку их работоспособности при изменении температуры газовоздушной среды в течение всего периода эвакуации людей и тушения пожара. При этом аэродинамические характеристики вентиляторов должны быть скорректированы с учетом температуры воздушной среды.
7.7а Тоннели между собой и от эвакуационной штольни следует отделять противопожарной преградой, выполненной в сбойках в виде тамбур-шлюза с подпором воздуха при пожаре.
7.8 При проектировании мест сопряжения подающих и отводящих воздух горных выработок друг с другом и с вентиляционными каналами следует обеспечивать максимальную плавность поворотов для обеспечения снижения местного сопротивления. Для снижения значения местного сопротивления рекомендуется выбирать вид поверхности сопряжения подобный поверхности струи воздушного потока, формирующейся при переходе из одной выработки (вентиляционного канала) в другую (вентиляционный канал), которая может быть установлена на основании математического моделирования.
7.9 Максимальную протяженность тоннелей Lпред, для которых целесообразно применять поперечную схему вентиляции, следует устанавливать, принимая во внимание с одной стороны возможности современных вентиляционных установок (депрессию Hв, производительность Qв), а с другой стороны потери давления в вентиляционных каналах и выработках δР для подачи свежего воздуха и удаления загрязненного воздуха или пожарных и дымовых газов. Значение Lпред следует определять из неравенства Нв≥δР.
8.1 Продольно-поперечные схемы вентиляции сочетают в себе элементы продольной и поперечной схем вентиляции, использование которых возможно как в различные периоды времени, так и одновременно.
8.2 В период эксплуатации при длине автодорожных тоннелей 1000 - 2000 м, а в случае движения транспорта в противоположных направлениях при длине 600 - 1000 м, а также при возникновении пожара может быть использована приточно-вытяжная система (противодымная вентиляция) с массовой вытяжкой загрязненного воздуха или продуктов горения (рисунок 8.1).

1 - вентилятор вытяжной системы противодымной вентиляции; 2 - канал вытяжной системы противодымной вентиляции; 3 - струйные вентиляторы; 4 - очаг пожара
|
- направление движения воздуха при нормальном режиме вентиляции; | |
|
- направление движения воздуха при аварийных режимах вентиляции; | |
|
- направление движения пожарных и дымовых газов при аварийных режимах вентиляции |
Рисунок 8.1 - Приточно-вытяжная схема вентиляции автодорожного тоннеля с массовой вытяжкой загрязненного воздуха или продуктов горения
8.3 В тоннелях длиной, превышающей 1000 - 2000 м, и при однонаправленном движении транспорта при наличии выработок, связывающих центральную часть тоннеля с поверхностью, и возможности размещения в этих выработках нагнетательных и всасывающих вентиляторов допускается применять схему вентиляции, основанную на полной или частичной замене воздуха по длине тоннеля (рисунок 8.2). Для предотвращения циркуляции воздуха расстояние между местом сопряжения с тоннелем выработки, по которой свежий воздух нагнетается в тоннель, и местом сопряжения с тоннелем выработки, по которым загрязненный воздух удаляется в атмосферу, должно превышать 30 - 50 м.

1 - всасывающий вентилятор; 2 - нагнетательный вентилятор
|
- свежий воздух; |
- загрязненный воздух |
Рисунок 8.2 - Схема вентиляции при полной или частичной замене воздуха по длине тоннеля
8.4 Противодымная вентиляция в случае возникновения пожара в тоннеле для схемы, представленной на рисунке 8.2, осуществляется по одной из выработок, связывающей тоннель с атмосферой. Для этого используется приточно-вытяжная система с массовой вытяжкой продуктов горения. Струйные вентиляторы, расположенные справа и слева от ствола, выполняют вспомогательные функции, блокируя распространение дыма к порталам тоннеля (рисунок 8.3).

1 - ствол; 2 - струйные вентиляторы; 3 - очаг пожара; 4 - вентилятор вытяжной системы противодымной вентиляции
|
- направление движения тоннельного воздуха; | |
|
- направление движения газовоздушной смеси; | |
|
- направление подачи воздуха струйными вентиляторами |
Рисунок 8.3 - Приточно-вытяжная схема вентиляции автодорожного тоннеля с массовой вытяжкой газовоздушной смеси
8.5 Для удаления продуктов горения из транспортного отсека при наличии сервисного тоннеля, проходящего параллельно основному тоннелю и соединенного с ним сбойками, следует использовать вентиляторы, расположенные на порталах сервисного тоннеля (рисунок 8.4). Струйные вентиляторы, как и для схемы, приведенной на рисунке 8.3, выполняют вспомогательные функции.
При эксплуатационных режимах вентиляции в случае невысоких значений интенсивности движения транспортных средств вентиляцию тоннеля следует осуществлять по продольной схеме. При высокой интенсивности движения транспорта схема вентиляции, изображенная на рисунке 8.4, легко перестраивается в продольно-поперечную схему, приведенную на рисунке 8.5, при которой свежий воздух подается вентиляторами, расположенными на портале в сервисный тоннель, а из него через сбойки поступает в тоннель с возможностью движения по нему в противоположных направлениях.

|
- направления подачи воздуха струйными вентиляторами и движения воздуха при удалении газовоздушной смеси; | |
|
- направление движения газовоздушной смеси при аварийных режимах вентиляции |
Рисунок 8.4 - Приточно-вытяжная схема вентиляции автодорожного тоннеля с рассредоточенной вытяжкой

|
- направление движения свежего воздуха; | |
|
- направление движения загрязненного воздуха |
Рисунок 8.5 - Продольно-поперечная схема вентиляции автодорожного тоннеля при эксплуатационных режимах проветривания
8.6 Максимальная протяженность тоннеля, при которой целесообразно применение продольно-поперечной схемы вентиляции, использующей выполненный в пределах сечения тоннеля вентиляционный канал, устанавливается аналогично поперечной схеме (см. 7.8) и, как правило, не превышает 5 км. Область применения продольно-поперечной схемы вентиляции (максимальная протяженность тоннеля) может быть расширена за счет использования струйных вентиляторов, способствующих обеспечению необходимого распределения воздушных потоков по крыльям тоннеля или увеличивающих расход воздуха, поступающего в тоннель (рисунок 8.6).

1 - тоннель; 2 - подающий канал; 3 - ствол; 4 - нагнетательный вентилятор; 5 - струйные вентиляторы
|
- направление движения свежего воздуха; | |
|
- направление движения загрязненного воздуха |
Рисунок 8.6 - Продольно-поперечная схема вентиляции с использованием струйных вентиляторов
8.7 Проветривание тоннелей с длиной, превышающей 5 км, рекомендуется осуществлять на основе блоковой схемы вентиляции, предполагающей разделение тоннеля на обособленные участки, на каждом из которых может использоваться один из вариантов продольно-поперечной схемы вентиляции (см. 3.34.3).
Для этого могут быть использованы выработки, имеющие аэродинамическую связь с поверхностью (стволы, штольни и т.п.), и система прилегающих к этим выработкам вентиляционных каналов (выполненных в подшивном потолке, находящихся под проезжей частью и т.п.).
До начала проектирования систем вентиляции автодорожных тоннелей должны быть получены от технического заказчика или собраны следующие данные.
9.1 Район размещения тоннеля: город или за городом.
9.2 Геометрические характеристики тоннеля:
- длина тоннеля;
- сечение (периметр);
- профиль трассы тоннеля, определяющий уклоны различных участков;
- тип обделки, определяющий шероховатость поверхности и аэродинамические коэффициенты трения;
- количество уширений (сужений) сечения по трассе тоннеля. При установке в тоннеле подшивного потолка его общая протяженность и сечение.
9.3 Аэродинамические характеристики тоннеля:
- аэродинамический коэффициент трения λтр в зависимости от шероховатости поверхности обделки тоннеля, принимая среднее значение 0,024, изменяется в интервале 0,015 - 0,06. Меньшее значение относится к сплошной обделке с гладкой поверхностью, большее - к поверхности с грубой шероховатостью, например, тюбинговой крепи;
- коэффициент местного сопротивления портала с исходящей вентиляционной струей ξвых принимается равным 1. Коэффициент местного сопротивления портала с входящей вентиляционной струей зависит от формы портала. Для портала с раструбом величина ξвх составляет 0,1. Для обычной формы сечения портала ξвх=0,5;
- коэффициент обтекания портала C0 при воздействии ветровой нагрузки принимается равным 0,7;
- коэффициенты местных сопротивлений расширений ξр и сужений ξс рассчитывают в зависимости от соотношения сечений в "узких" и "широких" местах по трассе тоннеля.
9.4 Характеристика транспортного потока:
- число полос движения;
- направление движения транспортных средств по полосам движения (однонаправленное или двунаправленное);
- установленная скорость движения по каждой полосе;
- средние интенсивности транспортного потока в условных легковых (приведенных) автомобилях для часа пик Dпр.ч.пик.уст при установленной скорости движения и скорости при замедленном движении Dпр.ч.пик.зам. В зависимости от района размещения тоннеля (городской или за чертой города) и направлений движения транспортных средств (однонаправленном или двунаправленном) значения соотношений между интенсивностями замедленного движения и движения с установленной скоростью δ=Dпр.ч.пик.зам/Dпр.ч.пик.уст приведены в таблице 9.1.
Примечание - В режиме "пробка" количество условных легковых (приведенных) автомобилей за 1 ч для городских и загородных тоннелей соответственно составляет 165 условных легковых автомобилей и 150 условных легковых автомобилей в 1 ч на 1 км полосы движения;
- структура транспортного потока (интенсивность движения транспортных средств различного типа):
легковой автомобиль Ал (с бензиновыми Ал.б, электрическим Ал.эл, дизельным Ал.д двигателями);
легкий грузовой транспорт Бл.гр (с бензиновым Бл.гр.б, электрическим Бл.гр.эл, дизельным Бл.гр.д двигателями) массой до 3,5 т;
тяжелый грузовой транспорт (с дизельным двигателем) Вгр:
- массой до 15 т - Вгр1 (грузовые автомобили и автобусы с электрическим двигателем Вгр1.эл);
- массой до 32 т (грузовые автомобили с прицепом и полуприцепом) - Вгр2.
|
Вид тоннеля |
Городские тоннели |
Тоннели за городом | ||
|
Однонаправленное движение |
Двунаправленное движение |
Однонаправленное движение |
Двунаправленное движение | |
|
Соотношение δ |
0,5 |
0,57 |
0,39 - 0,47 |
0,43 |
При отсутствии данных о структуре транспортного потока допускается принимать следующее:
- интенсивность движения тяжелого грузового транспорта Вгр составляет ψ, % от общей интенсивности движения Cч.пик.уст;
- интенсивность движения легкого грузового транспорта Бл.гр составляет χ, % от интенсивности движения легковых автомобилей Ал;
- интенсивность движения легковых автомобилей с дизельным двигателем Ал.д составляет ω, % от общей интенсивности движения легковых автомобилей Ал;
- интенсивность движения легких грузовых автомобилей с дизельным двигателем Бл.гр.д составляет σ, % от общей интенсивности движения легких грузовых автомобилей Бл.гр;
- интенсивность движения тяжелого грузового транспорта массой до 15 т Вгр1 составляет β, % от общей интенсивности движения тяжелого грузового транспорта Вгр.
Ориентировочные значения величин ψ, χ, ω, σ, β для усредненного транспортного потока приведены в таблице 9.2.
|
Коэффициент, % |
ψ |
χ |
ω |
σ |
β |
|
Значение коэффициента |
20 |
10 - 25 |
20 - 30 |
4 - 50 |
58 - 83 |
9.5 Определение выбросов загрязняющих веществ от автомобильного транспорта
Выбросы загрязняющих веществ рассчитывают для единичных транспортных средств в соответствии с эмиссионными стандартами К2, К3, К4, К5, установленными в Российской Федерации (см. приложения А - Д).
В качестве базового уровня используют показатель Э1, определенный для условий 2010 года и характеризующий относительное количество транспортных средств в автомобильном парке каждого региона, где осуществляется сооружение тоннеля, использующих топливо с различными экологическими стандартами выбросов загрязняющих веществ (таблица 9.3). Показатель Э1 учитывает долю транспортных средств в автомобильном парке каждого региона с учетом действующих ранее эмиссионных стандартов К0 и К1.
|
Тип транспортного средства |
Значение показателя Э1, %, относительно эмиссионных стандартов | |||||
|
К0 |
К1 |
К2 |
К3 |
К4 |
К5 | |
|
Легковые с бензиновым двигателем |
14,87 |
3,95 |
12,40 |
20,87 |
43,64 |
4,27 |
|
Легковые с дизельным двигателем |
2,34 |
1,75 |
8,11 |
32,7 |
49,25 |
5,85 |
|
Легкие грузовые с бензиновым двигателем |
36,20 |
14,31 |
20,93 |
22,68 |
5,87 |
0,00 |
|
Легкие грузовые с дизельным двигателем |
4,36 |
1,97 |
8,26 |
37,80 |
47,60 |
0,00 |
|
Тяжелые грузовые с дизельным двигателем |
4,07 |
5,11 |
16,08 |
28,45 |
12,07 |
34,22 |
Помимо показателя Э1 могут быть применены показатели Э2 и Э3, которые характеризуют автомобильный парк с более высоким процентным значением автотранспорта с экологическими стандартами ниже, чем К1 (таблица 9.4).
|
Тип транспортного средства |
Процент автомобилей с экологическим стандартом ниже стандарта К1 | ||
|
Э1 |
Э2 |
Э3 | |
|
Легковые с бензиновым двигателем |
<20% |
20% - 30% |
> 30% |
|
Легковые с дизельным двигателем |
<5% |
5% - 30% |
> 30% |
|
Легкие грузовые с бензиновым двигателем |
<40% |
40% - 60% |
> 60% |
|
Легкие грузовые с дизельным двигателем |
<5% |
5% - 25% |
> 25% |
|
Тяжелые грузовые с дизельным двигателем |
<5% |
5% - 40% |
> 40% |
9.6 Аэродинамические характеристики транспортных средств
Миделево сечение Sм и коэффициент лобового сопротивления Cл транспортных средств принимают по данным таблицы 9.5.
|
Наименование показателя |
Значения показателя для типа транспортного средства | |||||
|
Легковые автомобили |
Легкие грузовые автомобили |
Тяжелый грузовой транспорт (дизельный) | ||||
|
с бензиновым двигателем |
с дизельным двигателем |
с бензиновым двигателем |
с дизельным двигателем |
массой до 15 т и автобусы |
с прицепом и полуприцепом массой до 32 т | |
|
Sм, м2 |
2 |
2 |
3 |
3 |
5 |
7 |
|
Cл |
0,35 |
0,35 |
0,35 |
0,35 |
0,8 |
0,8 |
|
C*л |
0,4 |
0,4 |
0,4 |
0,4 |
1,0 |
1,0 |
|
Примечание - C*л - коэффициент лобового сопротивления стоящего автомобиля. | ||||||
9.7 Метеорологические параметры атмосферного воздуха у порталов тоннеля, орографическая характеристика местности, фоновый уровень загрязнений атмосферного воздуха:
- температура наружного воздуха tат;
- относительная влажность наружного воздуха φат;
- атмосферное давление Pа;
- для автодорожных тоннелей в гористой местности дополнительно учитывают высоты порталов тоннеля над уровнем моря, максимальную высоту горы, через которую проходит тоннель, Hг, температуру атмосферного воздуха tг и давление воздуха на этой высоте Pг;
- характеристика розы ветров у каждого из порталов, по которой устанавливается сочетание направления ветра относительно оси тоннеля и его скорость, приводящее к максимальному значению ветрового влияния.
Процесс проектирования тоннельной вентиляции включает следующие этапы:
- получение и анализ исходных данных;
- поиск технической информации по эксплуатируемому тоннелю со сходными техническими характеристиками;
- предварительный укрупненный расчет вентиляционного воздухообмена для наиболее тяжелого, часто повторяющегося эксплуатационного режима;
- анализ требований по противодымной защите;
- выбор системы вентиляции на основании анализа возможных схем с учетом оптимизации капитальных затрат на сооружение и размещение вентиляционных узлов (зданий), вентиляционных каналов (тоннелей), вентиляционных шахт или штолен (с обязательной оценкой возможности использования временных выработок, предусматриваемых по технологии горнопроходческих работ);
- анализ вероятного воздействия вентиляционного вытяжного воздуха на окружающую среду;
- полный расчет необходимого вентиляционного воздухообмена для различных режимов движения транспорта;
- расчет естественного воздухообмена под влиянием наружной атмосферы и движения автотранспорта (поршневой эффект);
- предварительное согласование со специалистами других технологических специальностей, участвующих в проектировании объекта, возможности размещения и принципиальных объемно-планировочных решений вентиляционных сооружений;
- аэродинамические расчеты элементов системы. Определение необходимых технических параметров тоннельных вентиляторов. Подготовка и передача задания на электроснабжение основных вентиляторов.
Примечание - При выполнении проекта особо сложного тоннеля целесообразно выполнить математическое моделирование вентиляционных режимов;
- проектирование вспомогательной вентиляции - тоннельных служебных (технических) помещений;
- выбор вентиляционного оборудования;
- детальная конструкторская разработка вентиляционных камер, венттоннелей и каналов, зданий на порталах и вентиляционных шахтах;
- конструкторская разработка заданий смежным специалистом, включая электроснабжение и управление тоннельной вентиляцией в различных технологических режимах;
- разработка алгоритмов управления вентиляцией в различных технологических режимах (при наличии соответствующего требования в задании на проектирование раздела автоматизации);
- разработка комплекта графических материалов (чертежей);
- составление пояснительной записки;
- разработка инструкции по эксплуатации тоннельной вентиляции (при наличии соответствующего требования в задании на проектирование раздела).
11.1 Перед началом монтажа системы вентиляции осуществляют подготовительные работы.
11.1.1 Подготовительные работы включают следующие этапы:
- приемка технической документации;
- приемка выработок тоннеля, предназначенных для установки вентиляторов;
- приемка вентиляторов;
- разметка мест установки вентиляторов (фундаментов для вентиляторов, установленных в выработках, в т.ч. вентиляторов вытяжной системы противодымной вентиляции и крепления струйных вентиляторов).
11.1.2 Лицо, осуществляющее строительство, в соответствии с СП 48.13330.2011 (пункт 5.4) принимает от технического заказчика рабочую документацию на систему вентиляции и документы от поставщиков вентиляционного оборудования, подтверждающих качество поставляемой продукции и ее соответствие требованиям проекта.
11.1.3 Технический заказчик передает лицу, осуществляющему строительство тоннеля, геодезическую разбивочную основу.
11.1.4 Осуществляют входной контроль вентиляторов, подтверждающий соответствие их технических характеристик проектным характеристикам.
11.1.5 В местах установки вентиляторов размечают проектные точки заливки фундаментов или крепления струйных вентиляторов. Разметку осуществляют геодезически, при помощи тахеометра с погрешностью измерения линейных размеров не более ± 3,5 мм на дистанции 300 м. Отклонение положения точек крепления от проектных координат должно составлять не более ± 5 мм или соответствовать требованиям проектной документации.
Примечание - В качестве проектных точек крепления струйных вентиляторов целесообразно использовать центры отверстий под анкерные болты, с помощью которых осуществляется монтаж струйных вентиляторов на кровле перекрытий.
11.1.6 Результаты подготовительных работ оформляют актом.
11.2 Монтаж вентиляторов
11.2.1 Монтаж вентиляторов следует выполнять в следующем порядке:
а) подготавливают бетонный фундамент под платформу вентилятора;
б) устанавливают раму вентилятора на фундамент и придвигают каждый из вентиляторов к поперечной перегородке венткамеры в соответствии с ее установочным планом;
в) с помощью регулируемых виброопор выставляют раму вентилятора в горизонтальное положение. Закрепляют виброопоры к основанию анкерными болтами;
г) уплотняют зазор между вентилятором и отверстием перегородки с помощью резиновых лепестков;
д) если вентилятор поставляют в собранном и готовом для эксплуатации виде, то его монтаж осуществляют сразу после доставки к месту установки.
При стесненных условиях его доставки к месту монтажа или для удобства монтажа на месте его плановой установки предварительно он может быть разобран на следующие составные части:
1) входной конус,
2) корпус вентилятора и рабочего колеса,
3) диффузор вентилятора,
4) рама с виброизоляторами,
5) воздушный клапан типа "бабочка";
е) монтируют аппаратуру контроля состояния температуры подшипников и вибрации.
11.2.2 Монтаж струйных вентиляторов
11.2.2.1 Монтаж струйных вентиляторов следует осуществлять в соответствии с требованиями безопасности и инструкцией предприятия - изготовителя вентиляторов.
11.2.2.2 Монтаж струйных вентиляторов осуществляют у свода тоннеля (нише, боковой поверхности) в следующей последовательности:
- проверка готовности струйных вентиляторов к монтажу;
- установка струйных вентиляторов в проектное положение;
- инструментальная проверка положения струйных вентиляторов.
11.2.2.3 К монтажу допускаются вентиляторы, прошедшие входной контроль.
11.2.2.4 Струйные вентиляторы устанавливают в проектное положение в соответствии с размеченными точками крепления и инструкцией предприятия-изготовителя.
11.2.2.5 Инструментальную проверку правильности положения струйных вентиляторов осуществляют при помощи геодезического тахеометра по координатам контрольных точек, предусмотренных в проекте. Допустимые отклонения результатов измерений от проектных координат контрольных точек составляют не более ± 20 мм в плоскости горизонта и ± 15 мм по высоте или принимаются в соответствии с требованиями проектной документации.
11.2.2.6 Электрический монтаж струйных вентиляторов осуществляется в соответствии с инструкцией предприятия-изготовителя.
11.2.2.7 Передача смонтированной системы вентиляции тоннеля под пусконаладочные работы оформляется актом, к которому прилагается следующая исполнительная документация:
- рабочая документация с внесенными в нее изменениями, оформленными разрешением от проектной организации;
- документы от поставщиков вентиляционного оборудования.
12.1 Пусконаладочные работы следует выполнять сразу после монтажа с целью сдачи системы струйной вентиляции техническому заказчику по программе и графику, разработанным генеральным подрядчиком или по его поручению наладочной организацией.
12.2 Пусконаладочные работы системы вентиляции тоннеля включают следующее:
- индивидуальные испытания и пусконаладочные работы каждого из вентиляторов, установленных или в выработках тоннеля, или в самом тоннеле (на своде в нише, боковой поверхности) на потолочных перекрытиях;
- комплексные испытания и пусконаладочные работы системы вентиляции.
12.3 Индивидуальные испытания и пусконаладочные работы каждого из вентиляторов включают следующее:
- проверку электропитания;
- пробный пуск.
12.4 Перед пробным пуском вентилятора необходимо подтвердить, что электропитание полностью соответствует требованиям двигателя, приведенным на заводской табличке с паспортными данными двигателя. Для измерения параметров электропитания рекомендуется использовать прибор со шкалой по напряжению электропитания 0 - 1000 В и по току 0 - 50 А.
12.5 При пробном пуске необходимо подтвердить, что потребляемый ток находится в пределах максимально допустимой нагрузки, указанной на заводской табличке с паспортными данными двигателя.
12.6 При пробном пуске, по направлению воздушного потока, необходимо проверить, что вентилятор вращается в требуемом направлении. Если вентилятор вращается в неправильном направлении, необходимо поменять фазы электропитания в клеммной колодке двигателя в соответствии с рекомендациями по обнаружению технических неисправностей.
12.7 Комплексные испытания и пусконаладочные работы системы вентиляции осуществляют в следующих режимах:
- штатный режим работы;
- режим удаления продуктов горения.
12.8 Комплексные испытания и пусконаладочные работы системы вентиляции в штатном режиме работы осуществляют с целью контроля скорости воздушного потока в тоннеле и ее соответствия проектным значениям.
После включения вентиляционного оборудования необходимо не менее 5 мин для стабилизации воздушного потока.
12.9 Выполняют измерения средней скорости воздушного потока в точках тоннеля, определенных проектом, на высоте 2,0 м от пола.
12.10 Скорость воздушного потока следует измерять при помощи механического крыльчатого анемометра с диапазоном измерения 0,1 - 5,0 м/с.
12.11 Комплексные испытания и пусконаладочные работы системы вентиляции в режиме противодымной вентиляции осуществляют с целью контроля критической скорости воздушного потока в тоннеле при следующих условиях:
- все вентиляторы работают на максимальной производительности;
- включена система противодымной вентиляции;
- выключена приточно-вытяжная система вентиляции.
После включения вентиляционного оборудования необходимо не менее 5 мин для стабилизации воздушного потока.
12.12 Измеренное среднее значение скорости воздушного потока должно быть не менее критической скорости Vкр.
12.13 Результаты работ, выполненных при испытаниях и пусконаладочных работах, следует оформлять актом приемки.
13.1 Контроль выполнения работ при устройстве системы струйной вентиляции автостоянки в соответствии с СП 48.13330 следует подразделять на следующие этапы:
- входной контроль;
- операционный контроль.
13.2 Перед началом монтажа системы вентиляции осуществляют входной контроль технической документации и оборудования:
- контроль наличия документов от поставщиков вентиляторов, подтверждающих качество поставляемой продукции и ее соответствие требованиям проекта;
- входной контроль качества поставляемых вентиляторов.
13.3 Контроль документов от поставщиков вентиляторов, подтверждающих качество поставляемой продукции и ее соответствие требованиям проекта, заключается в проверке наличия следующего:
- инструкции предприятия - изготовителя вентиляторов;
- технического паспорта на вентиляторы;
- сертификатов пожарной безопасности на вентиляторы.
13.4 Инструкция предприятия - изготовителя вентиляторов должна содержать следующие положения по монтажу, эксплуатации и техническому обслуживанию:
- техника безопасности;
- хранение;
- механический монтаж;
- электрический монтаж;
- техническое обслуживание;
- обнаружение технических неисправностей;
- электрические схемы соединений;
- утилизация.
13.5 Проверяют соответствие технических характеристик вентилятора и его размеров принятым в проекте и техническом паспорте.
13.6 Сертификат пожарной безопасности на струйные вентиляторы должен подтверждать возможность работы при температуре 400 °C в течение 2 ч.
13.7 Входной контроль качества поставляемых вентиляторов осуществляется с целью подтверждения соответствия их характеристик требованиям технических документов поставщика и включает следующие этапы:
- контроль с целью выявления внешних дефектов;
- контроль технических характеристик вентиляторов до монтажа.
13.8 После распаковки вентиляторов проводят входной контроль с целью выявления внешних дефектов, возникших при транспортировании и хранении:
- наличие деформаций и контроль толщины трещин и царапин на корпусе вентилятора;
- проверка вращения крыльчатки вентилятора;
- проверка содержания заводских табличек на корпусе вентилятора.
13.9 Деформации корпуса и узлов крепления вентилятора, трещины, царапины толщиной более 0,2 мм, масляные пятна и ржавчина не допускаются. Допускается наличие царапин не более 0,2 мм. Контроль толщины трещин и царапин осуществляют при помощи набора щупов N 2 (0,002 - 0,5). Трещины на корпусе не допускаются.
13.10 Следует убедиться в том, что крыльчатка вентилятора вращается свободно, без задевания корпуса. Проверка осуществляется вручную.
13.11 Следует убедиться в правильности данных на заводской табличке на корпусе вентилятора, свидетельствующих о возможности работы струйного вентилятора в аварийной ситуации.
13.12 После проверки внешних дефектов, до выполнения монтажа, осуществляют входной контроль технических характеристик вентиляторов:
- проверку основных геометрических размеров вентиляторов;
- проверку сопротивления изоляции обмоток электродвигателя.
13.13 Проверяют основные геометрические размеры вентиляторов. Измерения осуществляют при помощи рулетки с ценой деления 1 мм. Допуски на линейные размеры - в соответствии с технической документацией на вентилятор.
13.14 Проверяют сопротивление изоляции обмоток электродвигателя при помощи мегаомметра в соответствии с требованиями инструкции предприятия-изготовителя. В случае если сопротивление изоляции менее допустимого значения, вентилятор к эксплуатации не допускается.
13.15 Сведения о проведении входного контроля поставляемых струйных вентиляторов должны быть документированы в журналах работ.
13.16 Операционный контроль осуществляется на всех этапах монтажа струйных вентиляторов:
- при проведении подготовительных работ;
- монтаже вентиляторов.
13.17 После проведения подготовительных работ необходимо проверить положение мест установки вентиляторов на соответствие их проектным координатам. Проверку осуществляют при помощи тахеометра с погрешностью измерения линейных размеров не более ± 3,5 мм на дистанции 300 м. Отклонение положения точек крепления от проектных координат должно составлять не более ± 5 мм или соответствовать требованиям проектной документации.
13.18 После окончания монтажа проверяют результаты инструментальной проверки установки вентиляторов. Проверку осуществляют при помощи тахеометра по координатам контрольных точек, предусмотренных в проекте. Допустимые отклонения результатов измерений от проектных координат контрольных точек составляют не более ± 20 мм в плоскости горизонта и ± 15 мм по высоте или их принимают в соответствии с требованиями проектной документации.
13.19 Результаты инструментального контроля оформляют соответствующим актом.
13.20 Сведения о проведении операционного контроля выполнения работ должны быть внесены в журналы работ.
14.1 Согласно СП 48.13330 совместно с заказчиком должна быть проведена оценка соответствия выполненных работ требованиям проектной документации.
14.2 Оценку соответствия выполненных монтажных и пусконаладочных работ требованиям проектной документации выполняют проведением документарной проверки исполнительной документации на полноту и достоверность сведений в представленных материалах, в том числе:
- рабочих чертежах с подписями лиц, ответственных за проведение строительно-монтажных работ о соответствии выполненных в натуре работ проекту системы вентиляции тоннеля и внесенным в него изменениям или исполнительным чертежам;
- документации, подтверждающей осуществление входного контроля качества применяемых вентиляторов;
- документации, подтверждающей осуществление монтажа системы вентиляции тоннеля;
- документации, подтверждающей осуществление операционного контроля монтажа системы вентиляции тоннеля;
- документации, подтверждающей осуществление пусконаладочных работ системы вентиляции тоннеля.
14.3 Результаты оценки соответствия требованиям проектной документации следует оформлять в соответствии с СП 48.13330.
Безотказную работу систем вентиляции автодорожных тоннелей гарантирует штатное техническое обслуживание вентиляционных установок, которое заключается в эксплуатационном уходе и устранении неисправностей вентиляционных установок и требует следующее:
- составление графика, в котором следует учитывать периодичность проведения работ, определяемую износом конструктивных элементов вентиляторов;
- регистрации в журнале эксплуатации и технического обслуживания вентиляторов случаев отключения вентиляторов из-за неисправностей, а также перечня работ, необходимых для их технического обслуживания;
- постоянного контроля:
1) наличия контргаек и ограждений вращающих деталей и механизмов, надежность крепления вентиляторов к основанию фундаментов или поверхности тоннеля,
2) плавности и бесшумности хода,
3) смазки подшипников вентиляторов и электродвигателя,
4) температуры подшипников,
5) комплектности и натяжения приводных ремней,
6) состояния защитного покрытия, изоляции, мягких вставок, виброоснований,
7) наличия заземления и металлической перемычки на мягких вставках;
- остановку вентиляторов в случае обнаружения в их работе стука, вибрации или превышения допустимой температуры подшипников при одновременном информировании об обнаруженных неисправностях лиц, ответственных за эксплуатацию системы вентиляции тоннелей;
- обязательной проверки не реже 1 раза в 3 мес систем блокировки электроприемников вентиляционных установок, которые предусмотрены для следующего:
1) включения резервных вентиляторов при выходе из строя основных вентиляторов,
2) включения при пожаре систем противодымной вентиляции, а также системы сигнализации о работе вентиляционных установок и срабатывания автоматических средств газового анализа (газоанализаторов, сигнализаторов),
3) отключения струйных вентиляторов на участке с высокими температурами воздуха, обусловленными возникновением пожара;
- регламентируемый порядок пуска и остановки вентиляционного оборудования, определяемый соблюдением необходимой последовательности выполнения операций, обеспечивающих нормальную эксплуатацию оборудования.
Приложение А
|
Vтр.ср, км/ч |
Базовые значения выбросов CO легковых автомобилей с бензиновым двигателем, г/ч, при дорожном уклоне i, % | ||||||
|
-6 |
-4 |
-2 |
0 |
2 |
4 |
6 | |
|
0 |
20,5 |
20,5 |
20,5 |
20,5 |
20,5 |
20,5 |
20,5 |
|
10 |
24,4 |
25,9 |
27,8 |
29,5 |
32,0 |
35,5 |
42,9 |
|
20 |
28,3 |
31,4 |
35,2 |
38,6 |
43,6 |
50,5 |
65,4 |
|
30 |
28,2 |
32,9 |
38,9 |
46,0 |
54,6 |
64,6 |
87,4 |
|
40 |
28,0 |
34,5 |
43,5 |
56,2 |
71,7 |
93,2 |
120,4 |
|
50 |
27,4 |
35,5 |
46,9 |
63,0 |
85,4 |
118,0 |
163,2 |
|
60 |
27,1 |
36,0 |
49,4 |
68,2 |
97,5 |
140,2 |
221,6 |
|
70 |
26,9 |
36,3 |
51,7 |
75,0 |
113,2 |
169,4 |
290,2 |
|
80 |
26,7 |
37,1 |
54,9 |
85,5 |
136,6 |
217,7 |
369,1 |
|
90 |
27,8 |
39,4 |
60,1 |
99,6 |
170,3 |
297,4 |
483,3 |
|
100 |
32,5 |
45,2 |
69,2 |
117,2 |
218,1 |
422,2 |
643,6 |
|
110 |
44,2 |
58,0 |
86,2 |
143,0 |
291,6 |
612,1 |
1007,4 |
|
120 |
67,2 |
83,8 |
119,4 |
192,7 |
419,4 |
889,8 |
1615,2 |
|
130 |
106,4 |
132,0 |
183,5 |
303,1 |
660,7 |
1333,0 |
2462,1 |
|
Vтр.ср, км/ч |
Базовые значения выбросов CO легковых автомобилей с дизельным двигателем, г/ч, при дорожном уклоне i, % | ||||||
|
-6 |
-4 |
-2 |
0 |
2 |
4 |
6 | |
|
0 |
1,0 |
1,0 |
1,0 |
1,0 |
1,0 |
1,0 |
1,0 |
|
10 |
2,2 |
2,2 |
2,2 |
3,6 |
5,1 |
6,7 |
8,4 |
|
20 |
2,2 |
2,2 |
2,4 |
5,4 |
8,2 |
4,1 |
3,2 |
|
30 |
2,2 |
2,2 |
3,0 |
7,2 |
4,0 |
3,3 |
3,2 |
|
40 |
2,2 |
2,2 |
3,2 |
8,6 |
3,1 |
3,3 |
2,8 |
|
50 |
2,2 |
2,2 |
2,9 |
6,3 |
3,3 |
2,9 |
2,6 |
|
60 |
2,2 |
2,2 |
3,4 |
4,0 |
3,3 |
2,7 |
2,6 |
|
70 |
2,2 |
2,2 |
4,6 |
3,2 |
2,9 |
2,4 |
3,1 |
|
80 |
2,2 |
2,2 |
6,6 |
3,4 |
2,7 |
2,8 |
3,6 |
|
90 |
2,2 |
2,2 |
7,8 |
3,2 |
2,5 |
3,2 |
4,2 |
|
100 |
2,2 |
2,2 |
3,2 |
2,8 |
2,8 |
3,8 |
4,8 |
|
110 |
2,2 |
2,6 |
3,4 |
2,5 |
3,3 |
4,4 |
5,5 |
|
120 |
2,2 |
6,9 |
3,1 |
2,7 |
3,8 |
5,0 |
6,2 |
|
130 |
2,2 |
3,5 |
2,7 |
3,2 |
4,5 |
5,7 |
7,0 |
|
Vтр.ср, км/ч |
Базовые значения выбросов CO легких грузовых автомобилей с бензиновым и дизельным двигателями, г/ч, при дорожном уклоне i, % | ||||||
|
-6 |
-4 |
-2 |
0 |
2 |
4 |
6 | |
|
0 |
2,3 |
2,3 |
2,3 |
2,3 |
2,3 |
2,3 |
2,3 |
|
10 |
8,1 |
8,1 |
8,7 |
13,4 |
16,5 |
19,3 |
16,0 |
|
20 |
8,1 |
8,1 |
10,8 |
17,4 |
16,1 |
10,7 |
11,2 |
|
30 |
8,1 |
8,1 |
13,0 |
18,3 |
10,3 |
12,7 |
18,7 |
|
40 |
8,1 |
8,1 |
14,8 |
13,1 |
11,6 |
17,8 |
29,6 |
|
50 |
8,1 |
8,1 |
15,6 |
10,8 |
15,2 |
26,6 |
43,1 |
|
60 |
8,1 |
8,1 |
18,2 |
10,6 |
21,6 |
39,3 |
57,1 |
|
70 |
8,1 |
8,1 |
16,3 |
15,0 |
31,7 |
53,3 |
74,0 |
|
80 |
8,1 |
8,1 |
10,5 |
21,8 |
45,9 |
68,3 |
94,3 |
|
90 |
8,1 |
13,7 |
12,2 |
32,1 |
58,8 |
86,3 |
118,0 |
|
100 |
8,1 |
17,0 |
19,4 |
47,8 |
76,2 |
109,7 |
147,8 |
|
110 |
8,1 |
17,1 |
31,8 |
63,6 |
98,1 |
138,2 |
183,5 |
|
120 |
14,9 |
17,2 |
49,5 |
83,9 |
125,2 |
172,7 |
196,4 |
|
130 |
11,2 |
31,2 |
68,1 |
109,5 |
158,4 |
180,5 |
212,4 |
|
Vтр.ср, км/ч |
Базовые значения выбросов CO тяжелых грузовых автомобилей с дизельным двигателем в расчете на массу 23 т, г/ч, при дорожном уклоне i, % | ||||||
|
-6 |
-4 |
-2 |
0 |
2 |
4 |
6 | |
|
0 |
12,5 |
12,5 |
12,5 |
12,5 |
12,5 |
12,5 |
12,5 |
|
10 |
17,5 |
20,3 |
32,8 |
42,5 |
44,5 |
44,3 |
46,8 |
|
20 |
13,5 |
17,9 |
30,6 |
44,8 |
44,3 |
51,8 |
59,0 |
|
30 |
12,4 |
18,1 |
38,8 |
44,9 |
49,0 |
60,9 |
68,9 |
|
40 |
11,2 |
16,7 |
40,3 |
44,6 |
55,5 |
68,1 |
77,7 |
|
50 |
11,2 |
15,6 |
38,6 |
44,8 |
61,9 |
74,4 |
87,6 |
|
60 |
11,2 |
13,9 |
35,4 |
46,3 |
67,2 |
81,3 |
98,6 |
|
70 |
9,8 |
11,8 |
31,6 |
49,9 |
71,9 |
88,9 |
110,3 |
|
80 |
11,2 |
12,2 |
35,9 |
55,7 |
77,1 |
98,3 |
124,4 |
|
90 |
11,2 |
13,0 |
38,1 |
61,7 |
83,1 |
108,3 |
138,6 |
|
100 |
11,2 |
14,7 |
43,1 |
67,4 |
89,8 |
118,8 |
152,8 |
|
110 |
11,2 |
17,4 |
46,2 |
72,8 |
96,7 |
129,3 |
166,9 |
|
120 |
11,2 |
23,7 |
50,8 |
77,0 |
103,7 |
139,6 |
180,9 |
|
130 |
12,3 |
28,2 |
57,7 |
80,5 |
110,7 |
149,8 |
195,1 |
Приложение Б
|
Vтр.ср, км/ч |
Базовые значения выбросов NO2 легковых автомобилей с бензиновым двигателем, г/ч, при дорожном уклоне i, % | ||||||
|
-6 |
-4 |
-2 |
0 |
2 |
4 |
6 | |
|
0 |
1,6 |
1,6 |
1,6 |
1,6 |
1,6 |
1,6 |
1,6 |
|
10 |
3,3 |
3,3 |
3,3 |
4,4 |
5,1 |
5,7 |
6,3 |
|
20 |
3,3 |
3,3 |
3,4 |
5,3 |
6,2 |
8,9 |
12,4 |
|
30 |
3,3 |
3,3 |
4,0 |
6,0 |
9,1 |
13,2 |
15,3 |
|
40 |
3,3 |
3,3 |
4,3 |
6,7 |
12,1 |
15,3 |
17,6 |
|
50 |
3,3 |
3,3 |
4,4 |
8,1 |
13,9 |
17,0 |
19,5 |
|
60 |
3,3 |
3,3 |
4,9 |
10,3 |
15,7 |
18,8 |
23,8 |
|
70 |
3,3 |
3,3 |
5,6 |
13,3 |
17,5 |
21,7 |
29,7 |
|
80 |
3,3 |
3,3 |
6,7 |
15,1 |
19,3 |
27,0 |
36,4 |
|
90 |
3,3 |
3,3 |
9,9 |
17,0 |
22,7 |
32,9 |
43,8 |
|
100 |
3,3 |
4,3 |
13,7 |
19,0 |
28,4 |
40,1 |
52,4 |
|
110 |
3,3 |
6,2 |
16,1 |
22,8 |
35,1 |
48,3 |
62,2 |
|
120 |
3,3 |
10,9 |
18,5 |
29,1 |
43,0 |
57,8 |
73,3 |
|
130 |
3,7 |
15,0 |
22,4 |
36,8 |
52,2 |
68,6 |
85,7 |
|
Vтр.ср, км/ч |
Базовые значения выбросов NO2 легковых автомобилей с дизельным двигателем, г/ч, при дорожном уклоне i, % | ||||||
|
-6 |
-4 |
-2 |
0 |
2 |
4 |
6 | |
|
0 |
6,3 |
6,3 |
6,3 |
6,3 |
6,3 |
6,3 |
6,3 |
|
10 |
6,3 |
6,3 |
6,3 |
11,5 |
15,8 |
19,6 |
23,6 |
|
20 |
6,3 |
6,3 |
7,2 |
16,5 |
23,0 |
28,3 |
36,6 |
|
30 |
6,3 |
6,3 |
9,3 |
20,9 |
28,6 |
38,7 |
51,7 |
|
40 |
6,3 |
6,3 |
10,0 |
24,0 |
34,6 |
49,9 |
68,2 |
|
50 |
6,3 |
6,3 |
9,0 |
25,7 |
40,7 |
61,6 |
83,7 |
|
60 |
6,3 |
6,3 |
10,7 |
28,6 |
50,3 |
76,3 |
103,9 |
|
70 |
6,3 |
6,3 |
14,2 |
34,7 |
62,5 |
92,9 |
127,9 |
|
80 |
6,3 |
6,3 |
19,4 |
43,1 |
76,4 |
113,1 |
154,1 |
|
90 |
6,3 |
6,3 |
24,7 |
54,0 |
91,9 |
135,9 |
182,6 |
|
100 |
6,3 |
6,3 |
31,3 |
68,4 |
112,5 |
162,7 |
215,2 |
|
110 |
6,3 |
7,9 |
41,7 |
85,6 |
137,2 |
193,1 |
251,6 |
|
120 |
6,3 |
20,0 |
56,8 |
107,2 |
165,8 |
227,7 |
292,2 |
|
130 |
6,3 |
30,1 |
76,3 |
134,4 |
199,0 |
266,9 |
337,6 |
|
Vтр.ср, км/ч |
Базовые значения выбросов NO2 легких грузовых автомобилей с бензиновым и дизельным двигателями, г/ч, при дорожном уклоне i, % | ||||||
|
-6 |
-4 |
-2 |
0 |
2 |
4 |
6 | |
|
0 |
9,1 |
9,1 |
9,1 |
9,1 |
9,1 |
9,1 |
9,1 |
|
10 |
9,8 |
9,8 |
10,4 |
15,2 |
18,3 |
20,9 |
21,8 |
|
20 |
9,8 |
9,8 |
12,6 |
19,1 |
21,8 |
22,5 |
28,1 |
|
30 |
9,8 |
9,8 |
14,8 |
21,7 |
22,6 |
31,8 |
44,6 |
|
40 |
9,8 |
9,8 |
16,6 |
22,1 |
28,9 |
36,7 |
62,6 |
|
50 |
9,8 |
9,8 |
17,4 |
22,5 |
37,6 |
58,2 |
80,0 |
|
60 |
9,8 |
9,8 |
19,8 |
26,3 |
50,0 |
75,5 |
108,9 |
|
70 |
9,8 |
9,8 |
21,8 |
37,0 |
65,5 |
100,5 |
145,4 |
|
80 |
9,8 |
9,8 |
22,6 |
50,3 |
84,5 |
133,1 |
188,7 |
|
90 |
9,8 |
15,6 |
30,5 |
66,1 |
112,4 |
171,8 |
239,1 |
|
100 |
9,8 |
21,8 |
46,0 |
88,6 |
150,0 |
221,4 |
301,8 |
|
110 |
9,8 |
24,5 |
65,7 |
122,8 |
196,7 |
281,6 |
376,3 |
|
120 |
16,7 |
41,8 |
92,4 |
166,5 |
254,2 |
353,8 |
402,9 |
|
130 |
22,4 |
64,8 |
132,5 |
221,1 |
323,9 |
370,1 |
435,8 |
|
Vтр.ср, км/ч |
Базовые значения выбросов NO2 тяжелых грузовых автомобилей с дизельным двигателем в расчете на массу 23 т, г/ч, при дорожном уклоне i, % | ||||||
|
-6 |
-4 |
-2 |
0 |
2 |
4 |
6 | |
|
0 |
12,5 |
12,5 |
12,5 |
12,5 |
12,5 |
12,5 |
12,5 |
|
10 |
38,1 |
55,5 |
115,9 |
163,5 |
192,8 |
219,5 |
251,0 |
|
20 |
25,1 |
40,0 |
130,0 |
182,4 |
223,8 |
294,9 |
367,0 |
|
30 |
22,4 |
41,3 |
147,6 |
202,1 |
271,2 |
387,4 |
494,5 |
|
40 |
19,2 |
36,8 |
148,0 |
218,0 |
329,2 |
482,9 |
617,9 |
|
50 |
19,2 |
32,2 |
148,1 |
229,7 |
397,0 |
574,7 |
747,4 |
|
60 |
19,2 |
25,8 |
150,0 |
247,4 |
467,8 |
670,1 |
881,3 |
|
70 |
16,8 |
20,5 |
151,0 |
278,8 |
535,9 |
773,9 |
1,017,9 |
|
80 |
19,2 |
21,4 |
152,0 |
327,9 |
614,7 |
883,0 |
1,159,0 |
|
90 |
19,2 |
23,7 |
153,8 |
390,1 |
697,7 |
990,1 |
1,298,8 |
|
100 |
19,2 |
29,3 |
190,9 |
465,8 |
779,5 |
1,094,3 |
1,437,6 |
|
110 |
19,2 |
43,8 |
231,6 |
547,9 |
856,7 |
1,197,2 |
1,575,5 |
|
120 |
19,4 |
74,6 |
280,5 |
613,8 |
926,6 |
1,299,2 |
1,712,6 |
|
130 |
23,5 |
105,1 |
348,4 |
660,2 |
997,1 |
1,400,3 |
1,849,7 |
Приложение В
|
Vтр.ср, км/ч |
Базовые значения выбросов сажи легковых автомобилей с дизельным двигателем, г/ч, при дорожном уклоне i, % | ||||||
|
-6 |
-4 |
-2 |
0 |
2 |
4 |
6 | |
|
0 |
1,4 |
1,4 |
1,4 |
1,4 |
1,4 |
1,4 |
1,4 |
|
10 |
1,4 |
1,4 |
1,4 |
2,9 |
4,1 |
5,3 |
6,6 |
|
20 |
1,4 |
1,4 |
1,7 |
4,4 |
6,4 |
8,4 |
10,7 |
|
30 |
1,4 |
1,4 |
2,2 |
5,7 |
8,5 |
11,3 |
14,7 |
|
40 |
1,4 |
1,4 |
2,4 |
6,7 |
10,2 |
14,3 |
19,0 |
|
50 |
1,4 |
1,4 |
2,2 |
7,4 |
11,8 |
17,3 |
22,9 |
|
60 |
1,4 |
1,4 |
2,6 |
8,5 |
14,4 |
21,1 |
27,3 |
|
70 |
1,4 |
1,4 |
3,7 |
10,2 |
17,5 |
25,2 |
31,4 |
|
80 |
1,4 |
1,4 |
5,3 |
12,4 |
21,1 |
29,0 |
35,7 |
|
90 |
1,4 |
1,4 |
7,0 |
15,3 |
24,9 |
32,8 |
40,0 |
|
100 |
1,4 |
1,4 |
9,3 |
19,1 |
28,9 |
37,0 |
44,7 |
|
110 |
1,4 |
1,8 |
12,1 |
23,4 |
33,0 |
41,5 |
49,7 |
|
120 |
1,4 |
5,5 |
16,1 |
27,9 |
37,5 |
46,4 |
54,9 |
|
130 |
1,4 |
8,9 |
21,1 |
32,5 |
42,4 |
51,7 |
60,6 |
|
Vтр.ср, км/ч |
Базовые значения выбросов сажи легких грузовых автомобилей с дизельным двигателем, г/ч, при дорожном уклоне i, % | ||||||
|
-6 |
-4 |
-2 |
0 |
2 |
4 |
6 | |
|
0 |
6,4 |
6,4 |
6,4 |
6,4 |
6,4 |
6,4 |
6,4 |
|
10 |
1,1 |
1,1 |
1,3 |
2,8 |
4,1 |
5,3 |
6,6 |
|
20 |
1,1 |
1,1 |
1,9 |
4,5 |
6,6 |
8,7 |
10,9 |
|
30 |
1,1 |
1,1 |
2,7 |
6,1 |
8,9 |
12,0 |
15,7 |
|
40 |
1,1 |
1,1 |
3,4 |
7,5 |
11,2 |
13,8 |
20,4 |
|
50 |
1,1 |
1,1 |
3,7 |
8,6 |
13,7 |
19,3 |
24,3 |
|
60 |
1,1 |
1,1 |
4,8 |
10,5 |
17,1 |
23,4 |
28,9 |
|
70 |
1,1 |
1,1 |
6,5 |
13,5 |
21,1 |
27,7 |
33,9 |
|
80 |
1,1 |
1,1 |
8,8 |
17,2 |
25,2 |
32,3 |
39,1 |
|
90 |
1,1 |
3,0 |
11,7 |
21,3 |
29,4 |
37,2 |
44,6 |
|
100 |
1,1 |
6,4 |
16,0 |
25,8 |
34,5 |
42,7 |
50,6 |
|
110 |
1,1 |
10,0 |
21,2 |
30,9 |
40,0 |
48,7 |
57,2 |
|
120 |
3,4 |
14,9 |
26,4 |
36,5 |
46,1 |
55,3 |
60,3 |
|
130 |
8,4 |
21,0 |
32,2 |
42,7 |
52,6 |
56,7 |
64,6 |
|
Vтр.ср, км/ч |
Базовые значения выбросов сажи тяжелых грузовых автомобилей с дизельным двигателем в расчете на массу 23 т, г/ч, при дорожном уклоне i, % | ||||||
|
-6 |
-4 |
-2 |
0 |
2 |
4 |
6 | |
|
0 |
11,0 |
11,0 |
11,0 |
11,0 |
11,0 |
11,0 |
11,0 |
|
10 |
13,6 |
13,4 |
15,5 |
18,2 |
21,4 |
25,1 |
28,2 |
|
20 |
11,9 |
13,8 |
15,0 |
19,9 |
25,7 |
31,5 |
36,5 |
|
30 |
11,4 |
13,8 |
17,3 |
22,5 |
29,7 |
38,0 |
45,3 |
|
40 |
10,8 |
13,3 |
17,8 |
24,9 |
33,9 |
44,6 |
53,6 |
|
50 |
10,8 |
13,0 |
17,6 |
26,3 |
38,7 |
50,6 |
62,5 |
|
60 |
9,5 |
12,4 |
17,5 |
28,0 |
43,6 |
57,1 |
71,9 |
|
70 |
10,8 |
11,2 |
16,5 |
30,4 |
48,2 |
64,0 |
81,7 |
|
80 |
10,8 |
11,4 |
17,4 |
33,9 |
53,3 |
71,8 |
92,5 |
|
90 |
10,8 |
11,9 |
19,6 |
38,5 |
58,9 |
79,8 |
103,3 |
|
100 |
10,8 |
12,9 |
21,9 |
43,7 |
64,6 |
87,8 |
114,2 |
|
110 |
10,8 |
13,2 |
25,5 |
49,0 |
70,1 |
95,8 |
124,9 |
|
120 |
10,9 |
15,1 |
29,6 |
53,1 |
75,5 |
103,7 |
135,5 |
|
130 |
11,4 |
18,0 |
34,6 |
56,3 |
80,9 |
111,5 |
146,3 |
Приложение Г
|
Год |
Коэффициент fτ | ||||
|
CO |
NO2 |
Взвешенные частицы | |||
|
Бензин |
ДТ |
Бензин |
ДТ |
ДТ | |
|
2010 |
1,0 |
1,0 |
1,0 |
1,0 |
1,0 |
|
2015 |
0,75 |
0,74 |
0,65 |
0,76 |
0,55 |
|
2020 |
0,58 |
0,65 |
0,44 |
0,52 |
0,29 |
|
2025 |
0,46 |
0,60 |
0,30 |
0,40 |
0,17 |
|
2030 |
0,40 |
0,57 |
0,22 |
0,35 |
0,13 |
|
Год |
Коэффициент fh | ||||
|
CO |
NO2 |
Взвешенные частицы | |||
|
Бензин |
ДТ |
Бензин |
ДТ |
ДТ | |
|
2010 |
2,6 |
1,0 |
1,0 |
1,0 |
1,0 |
|
2015 |
2,0 |
1,0 |
1,0 |
1,0 |
1,0 |
|
2020 |
1,6 |
1,0 |
1,0 |
1,0 |
1,0 |
|
2025 |
1,0 |
1,0 |
1,0 |
1,0 |
1,0 |
|
2030 |
1,0 |
1,0 |
1,0 |
1,0 |
1,0 |
|
Примечание - Значения коэффициента fh соответствуют высоте 2000 м. Для высоты над уровнем моря 1000 м fh принимают равным 1. Значения fh между 1000 и 2000 м допускается устанавливать на основе линейной интерполяции. | |||||
|
Год |
Коэффициент fτ | ||
|
CO |
NO2 |
Сажа | |
|
2010 |
1,00 |
1,00 |
1,00 |
|
2015 |
0,72 |
0,76 |
0,54 |
|
2020 |
0,47 |
0,49 |
0,30 |
|
2025 |
0,39 |
0,36 |
0,20 |
|
2030 |
0,35 |
0,30 |
0,15 |
|
Год |
Коэффициент fτ | ||
|
CO |
NO2 |
Сажа | |
|
2010 |
1,00 |
1,00 |
1,00 |
|
2015 |
0,58 |
0,61 |
0,59 |
|
2020 |
0,34 |
0.35 |
0,33 |
|
2025 |
0,25 |
0,23 |
0,21 |
|
2030 |
0,21 |
0,18 |
0,16 |
|
Тип тяжелого грузового автомобиля |
Коэффициент fm | ||
|
CO |
NO2 |
Взвешенные частицы | |
|
Тяжелые грузовые массой до 15 т, включая автобусы |
0,7 |
0,7 |
0,7 |
|
Тяжелые грузовые массой 23 т, характеризующей среднюю массу тяжелого грузового автотранспорта (58% массой до 15 т и 42% массой до 32 т) |
1,0 |
1,0 |
1,0 |
|
Тяжелые грузовые с прицепом (полуприцепом) массой до 32 т |
1,9 |
1,9 |
1,9 |
|
Тип транспортного средства |
Коэффициент fст | ||
|
CO |
NO2 |
Взвешенные частицы (PM) | |
|
Легковые (среднее значение для автомобилей с дизельным и бензиновым двигателями) |
1,5/2,0 |
1,8/1,1 |
-/1,4 |
|
Легкие грузовые (среднее значение для автомобилей с дизельным и бензиновым двигателями) |
2,7 |
1,4 |
2,2 |
|
Тяжелые грузовые (дизельный двигатель) |
1,9 |
1,6 |
2,5 |
|
Тип транспортного средства |
Коэффициент fст | ||
|
CO |
NO2 |
Взвешенные частицы (PM) | |
|
Легковые (среднее значение для автомобилей с дизельным и бензиновым двигателями) |
2,9/4,0 |
2,8/1,2 |
-/2,0 |
|
Легкие грузовые (среднее значение для автомобилей с дизельным и бензиновым двигателями) |
3,5 |
1,5 |
2,6 |
|
Тяжелые грузовые (дизельный двигатель) |
2,3 |
1,8 |
2,8 |
|
Высота, м |
Коэффициент fстh | ||||
|
CO |
NO2 |
Сажа | |||
|
Бензин |
ДТ |
Бензин |
ДТ |
ДТ | |
|
0 |
1,0 |
1,0 |
1,0 |
1,0 |
1,0 |
|
1000 |
2,2 |
1,2 |
1,0 |
1,0 |
1,0 |
|
2000 |
3,0 |
1,5 |
1,0 |
1,0 |
1,25 |
|
3000 |
4,0 |
1,5 |
1,0 |
1,0 |
1,5 |
|
Примечание - Для показателя Э3 выбросы для CO следует увеличить на 30% относительно значений, приведенных в таблице Г.8. При этом значение выбросов для NO2 и сажи принимают по данным настоящей таблицы. | |||||
Приложение Д
|
Скорость, км/ч |
Легковые и легкие грузовые автомобили |
Тяжелые грузовые автомобили | ||
|
г/ч |
м2/ч |
г/ч |
м2/ч | |
|
0 |
0 |
0 |
0 |
0 |
|
10 |
0,28 |
1,3 |
1,04 |
4,9 |
|
20 |
0,56 |
2,6 |
2,08 |
9,8 |
|
30 |
0,84 |
3,9 |
3,12 |
14,7 |
|
40 |
1,12 |
5,3 |
4,16 |
19,6 |
|
50 |
1,4 |
6,6 |
5,2 |
24,4 |
|
60 |
1,68 |
7,9 |
6,24 |
29,3 |
|
70 |
1,96 |
9,2 |
7,28 |
34,2 |
|
80 |
2,24 |
10,5 |
8,32 |
39,1 |
|
90 |
2,52 |
11,8 |
9,36 |
44,0 |
|
100 |
2,8 |
13,2 |
10,4 |
48,9 |
|
110 |
3,08 |
14,5 |
- |
- |
|
120 |
3,36 |
15,8 |
- |
- |
|
130 |
3,64 |
17,1 |
- |
- |
|
Примечание - Для автотранспорта с электрическими двигателями значения, приведенные в настоящей таблице, следует увеличить на 13,5%. | ||||
Приложение Е
Е.1 Определение количества транспортных средств каждого вида, находящихся в тоннеле для условий часа пик и полного прекращения движения
Е.1.1 При известных значениях интенсивности движения транспортных средств различного типа в час пик по всем полосам: легковые автомобили Ал (с бензиновым Ал.б, электрическим Ал.эл и дизельным Ал.д двигателями); легкий грузовой транспорт массой до 3,5 т Бл.гр (с бензиновым Бл.гр.б, электрическим Бл.гр.эл и дизельным Бл.гр.д двигателями); тяжелый грузовой транспорт (с дизельным и электрическим двигателями) Вгр: массой до 15 т - Вгр1 (грузовые автомобили и автобусы с электрическим двигателем); массой до 32 т - Вгр2 (грузовые автомобили с прицепом и полуприцепом) - количество автомобилей различного типа n, одновременно находящихся в тоннеле длиной Lт, при скоростях движения легковых автомобилей Vл, легкого грузового Vл.гр и тяжелого грузового автотранспорта, включая автобусы, Vгр вычисляют по формулам:
nл.б = Ал.бLт/Vл, nл.эл = Ал.элLт/Vл, (Е.1)
nл.д = Ал.дLт/Vл; (Е.2)
nл.гр.б = Бл.гр.бLт/Vл.гр,
nл.гр.эл = Бл.гр.элLт/Vл.гр; (Е.3)
nл.гр.д = Бл.гр.дLт/Vл.гр; (Е.4)
nгр1 = Вгр1Lт/Vгр, nгр1.эл = Вгр1.элLт/Vгр.эл; (Е.5)
nгр2 = Вгр2Lт/Vгр. (Е.6)
Скорости движения транспортных средств задают только для режима движения "А". Для замедленного режима движения скорость транспортных средств принимают равной, например, 10 км/ч. Для этого значения скорости и определяют количество транспортных средств различного типа, находящихся в тоннеле.
Е.1.2 При отсутствии данных об интенсивности движения транспортных средств различного типа для их вычисления может быть использована следующая процедура:
a) устанавливают (или принимают) процент тяжелого грузового транспорта в общей интенсивности транспортного потока ψ;
b) по заданной интенсивности движения приведенных автомобилей в час пик Dпр.ч.пик и величине ψ рассчитывают общую интенсивность движения транспорта для часа пик Cч.пик.уст. Для этого используют предположение о том, что автобус или грузовой автомобиль занимает место, эквивалентное двум-трем легковым автомобилям.
; (Е.7)
c) интенсивность движения типов транспортных средств вычисляют по формулам:
, (Е.8)
, (Е.9)
, (Е.10)
, (Е.11)
Вгр1=0,0001ψβСч.пик.уст, (Е.12)
Вгр2=0,01ψ(1-0,01β)Сч.пик.уст. (Е.13).
Примечания
1 При замедленном режиме движения для расчета интенсивностей используют приведенную интенсивность для замедленного движения Dпр.ч.пик.зам. При этом в формулах (Е.8) - (Е.13) Cч.пик.уст заменяют на Cч.пик.зам.
2 Количество автомобилей, одновременно находящихся в тоннеле, устанавливают по зависимостям при скорости движения, соответствующей режиму движения "А" или "Б".
Е.1.3 Общее количество приведенных автомобилей ∑Dпр.проб, одновременно находящихся в тоннеле при полной остановке движения (режим пробки), вычисляют при принятом значении приведенных транспортных средств на 1 км полосы движения Dпр.проб, длине тоннеля и числе полос движения nпол по формуле
∑Dпр.проб=Dпр.пробLтnпол. (Е.14)
Е.1.4 Для преобразования приведенного значения легковых автомобилей в общее количество транспортных средств (с учетом автобусов и грузовых автомобилей) используют предположение, что в транспортной пробке автобус или грузовой автомобиль занимает место, эквивалентное трем-четырем легковым автомобилям. При известном относительном количестве ψ грузовых транспортных средств и автобусов в общем транспортном потоке, общее количество транспортных средств nтр.ср.проб, находящихся в тоннеле, вычисляют по формуле
. (Е.15)
Для вычисления количеств легковых автомобилей с бензиновым и дизельным двигателями, легкого грузового транспорта с бензиновым и дизельным двигателями, а также тяжелых грузовых автомобилей и автобусов следует использовать формулы (Е.1) - (Е.6).
Е.2 Расчет выбросов загрязняющих веществ от транспортных средств, находящихся в тоннеле
Е.2.1 Расчет выбросов осуществляется по величине, принятой для 2010 г., технологического показателя Э1 с учетом следующих корректирующих коэффициентов: на технологические показатели Э2 и Э3 fст, на фактор времени fτ, характеризующий обновление автомобильного парка и введение в действие более строгих экологических стандартов, на фактор высоты fh, определяющий изменения объема выбросов загрязняющих веществ с увеличением высоты расположения тоннелей над уровнем моря; на фактор массы fm, информирующий об изменении объемов выбросов у тяжелого грузового транспорта с изменением их массы относительно среднего значения 23 т.
Е.2.2 Выбросы Q загрязняющих веществ CO, NOx (в пересчете на NO2), г/ч, и сажи, м2/ч, для легковых автомобилей и легкого грузового транспорта с бензиновым и дизельным двигателями вычисляют по формуле
Q=qбазfhfτfст+qвв, (Е.16)
где qбаз - базовое значение выбросов CO, NO2 и сажи для легковых автомобилей и легкого грузового транспорта с бензиновыми и дизельными двигателями, зависящие от средней скорости движения Vст и дорожного уклона тоннеля i, г/ч или м2/ч (см. приложения А - В);
qвв - выбросы взвешенных частиц, образующихся в результате разрушения дорожного полотна, тормозных колодок, м2/ч (см. приложение Д).
Корректирующие коэффициенты fτ, fh, fст определяют по данным приложения Г.
Е.2.3 Выбросы загрязняющих веществ для тяжелого грузового транспорта, работающего на дизельном топливе, вычисляют аналогично выбросам легковых автомобилей и легкого грузового транспорта, за исключением дополнительного учета массы транспортных средств, который осуществляется путем введения в формулу (Е.16) корректирующего коэффициента fm (см. приложение Г, таблица Г.5).
Q=qбазfhfτfстfm+qвв, (Е.17)
где qбаз - базовое значение выбросов CO, NO2 и сажи для тяжелого грузового транспорта, зависящие от средней скорости движения и дорожного уклона тоннеля, г/ч или м2/ч (см. приложения А - В).
Примечание - Q рассчитывают только для автомобилей с дизельными двигателями. Для пересчета от размерности м2/ч к размерности г/ч используют коэффициент 4,7, т.е. 1 г = 4,7 м2.
Е.3 Расчет необходимого количества воздуха при эксплуатационных режимах
Е.3.1 Объемный расход воздуха G, м3/с, необходимый для обеспечения ПДК CO, NOx (в пересчете на NO2), г/ч, сажи, вычисляют по формуле
G = 0,28[nл.бQл.б + nл.дQл.д + (nл.гр.б + nл.гр.д)Qmix + nгр1Qгр1 + nгр2Qгр2]/(CПДК - Cвх), (Е.18)
где Qл.б, Qл.д, Qmix, Qгр1, Qгр2 - выбросы загрязняющих веществ (CO, NO2, сажи) соответственно от легковых автомобилей с бензиновым и дизельным двигателями, от легких грузовых автомобилей в расчете на комбинацию бензинового и дизельного двигателей, тяжелых грузовых автомобилей массой до 15 и до 32 т.
Объемный расход воздуха G, обеспечивающий нормативное значение видимости, вычисляют по формуле
G = 0,28[nл.бQл.б + nл.дQл.д + (nл.гр.б + nл.гр.д)Qmix + nгр1Qгр1 + nгр2Qгр2]/kосл, (Е.19)
где Qл.б, Qл.д, Qmix, Qгр1, Qгр2 - выбросы, м2/ч, вычисляемые как сумма выбросов сажи и взвешенных частиц невыхлопного происхождения;
kосл - коэффициент ослабления светового потока (см. таблицу 5.1).
Е.3.2 Расчеты G следует выполнять для эксплуатационного режима "А" с учетом выбросов CO и взвешенных частиц; режима "Б" с учетом выбросов CO, NO2, сажи и взвешенных частиц и режима "В" с учетом выбросов CO, NO2, сажи.
Для дальнейших вычислений принимают большее из вычисленных значений расхода воздуха Gmax.
Приложение Ж
Ж.1 Общие потери давления δРобщ при движении воздуха складываются из потерь давлений:
на входе воздуха в тоннель δРвх и выходе из него δРвых;
на трение воздуха о стенки тоннеля δРтр;
на преодоление местных сопротивлений расширения (сужения) воздушного потока δРсуж(расш);
связанных с действием гравитационной δРгр, барометрической δРб и ветровой δРветр составляющей естественной тяги;
на преодоление аэродинамического сопротивления движущихся (или стоящих) транспортных средств δРпорш.
δРобщ=δРвх+δРвых+δРтр+δРсуж(расш)+δРгр+δРб+δРветр+δРпорш. (Ж.1)
Ж.2 Потери давления на входном портале тоннеля δРвх, Па, вычисляют по формуле
, (Ж.2)
где G - расчетный расход воздуха в тоннеле, м3/с;
ρа - плотность воздуха при температуре воздуха у портала с поступающей вентиляционной струей, кг/м3, вычисляемая по формуле
, (Ж.3)
где Pа - атмосферное давление, мм рт. ст.;
Tа - температура наружного воздуха, К.
Ж.3 Потери давления на портале тоннеля с исходящей вентиляционной струей δРвых, Па, вычисляют по формуле
, (Ж.4)
где ρвых - плотность воздуха при температуре воздуха на выходе из тоннеля.
Ж.4 Потери давления от трения воздуха о стены тоннеля δРтр, Па, вычисляют по формуле
, (Ж.5)
где λтр - коэффициент трения;
Uт - периметр тоннеля;
ρв - плотность воздуха, рассчитанная по средней температуре воздуха в тоннеле.
Ж.5 Потери давления на преодоление сопротивлений при сужении (расширении) воздушного потока δРсуж(расш), Па, вычисляют по формуле
, (Ж.6)
где Sуз.с - сечение тоннеля в "узком" месте;
ξр и ξс - коэффициенты местных сопротивлений соответственно внезапного расширения и внезапного сужения потока для тоннеля, имеющего коэффициент сопротивления трения λтр, вычисляемые по формулам:
ξр=ξр.гл(1+12,5ρвλтр); (Ж.7)
ξс=ξс.гл(1+9,62ρвλтр), (Ж.8)
где ξр.гл, ξс.гл - коэффициенты местных сопротивлений на расширение - сужение потока без учета вида поверхности тоннеля (без шероховатости), установленные на рисунке Ж.1.

1 - ξр.гл; 2 - ξс.гл; Sуз.с/Sш.с – соответственно сечения тоннеля в "узком" и "широком" местах
Рисунок Ж.1 - Значения коэффициентов местного сопротивления при внезапном расширении ξр.гл и внезапном сужении ξс.гл для "гладкого" тоннеля (без учета шероховатости)
Ж.6 Потери давления, связанные с действием ветровой составляющей естественной тяги (ветровой напор)
Ветровой напор (нагрузку) δРа вычисляют по формуле
, (Ж.9)
где c0 - коэффициент обтекания портала тоннеля (c0 = 0,7);
ρа - плотность наружного воздуха;
V - скорость ветра;
ψветр - угол между направлением ветра и горизонтальной осью тоннеля.
Ж.7 Потери давления, связанные с действием гравитационной составляющей естественной тяги
Гравитационную (тепловую) составляющую естественной тяги δРгр, Па, вычисляют по формуле
, (Ж.10)
где g - ускорение свободного падения (g = 9,81 м/с2);
PA, PB - соответственно атмосферные давление у порталов с большей и меньшей высотными отметками, мм рт. ст.;
tср, tB - соответственно среднее значение температуры воздуха в тоннеле и температура атмосферного воздуха у портала с меньшей высотной отметкой, °C;
δН - разность высотных отметок порталов с большей А и меньшей В высотными отметками, м.
Ж.8 Потери давления, связанные с действием барометрической составляющей естественной тяги
Барометрическую составляющую естественной тяги δРб, Па, называемую также "орографической добавкой" к гравитационному напору, обусловленную температурной неоднородностью воздушной среды у различно ориентированных горных склонов, определяют как разницу атмосферных давлений у порталов тоннеля, приведенных к одному уровню. При отсутствии точных данных о значениях атмосферных давлений δРб вычисляют по формуле
, (Ж.11)
где tA - температура атмосферного воздуха у портала с большей высотной отметкой, °C;
Pг - атмосферное давление на высоте наивысшей точки горы, через которую проходит тоннель, мм рт. ст.;
Hг - высота горы, отсчитываемая от портала с большей высотной отметкой, м.
Ж.9 Потери давления на преодоление аэродинамического сопротивления движущихся (или стоящих) транспортных средств
Потери давления на преодоление аэродинамического сопротивления транспортных средств δРпорш, находящихся в тоннеле, определяют относительными скоростями движения воздуха и транспортных средств, соотношением миделева сечения Sм транспортных средств и сечения тоннеля и коэффициентами лобового сопротивления транспортных средств. Для вычисления δРпорш при движении типов транспортных средств по полосам движения в противоположных направлениях применяют формулу
(Ж.12)
Формула (Ж.12) предполагает, что транспортные средства nл, nл.гр, nгр1, nгр2 движутся в направлении перемещения воздушного потока, а транспортные средства
,
,
,
в противоположном направлении.
При движении транспортных средств в одном направлении в формуле (Ж.12) второй член в квадратных скобках принимают равным нулю.
При полной остановке транспорта (пробка) скорости движения транспортных средств принимают равными нулю.
В этом случае потери давления определяют появлением дополнительного аэродинамического сопротивления, связанного с нахождением в тоннеле транспортных средств и вычисляют по формуле:
(Ж.13)
При возникновении пожара часть транспортных средств по обе стороны от очага пожара по направлению их движения покинет тоннель. При вычислении δРпорш следует учитывать только те транспортные средства, которые остались в тоннеле перед очагом пожара.
Ж.10 Потери давления при входе в вентиляционный канал через клапан вычисляют по формуле
, (Ж.14)
где δРкл - потеря давления на входе в клапан канала вытяжной системы противодымной вентиляции, Па;
ξкл - коэффициент местного сопротивления на входе в клапан канала вытяжной системы противодымной вентиляции через клапан. ξкл учитывает все местные сопротивления начального участка вентиляционного канала: сужение потока газа при входе в сеть; изменение направления потока; сужение и аэродинамика потока внутри клапана; расширение потока в воздуховоде; поворот потока на 90° при боковом входе потока. Значения коэффициентов местного сопротивления ξкл определяются по данным завода-изготовителя. Для ориентировочной оценки они могут быть приняты составляющими 1,7 - 2,25;
ρгв - плотность воздушного потока, поступающего в вентиляционный канал, кг/м3;
Gгв - расход воздушного потока, поступающего в вентиляционный канал, м3/с;
- площадь сечения вентиляционного канала, м2.
Приложение И
И.1 Исходные данные
Осуществляют выбор параметров продольной струйной системы вентиляции для городского автодорожного тоннеля, имеющего следующие характеристики:
- год, на который запланирован пуск тоннеля - 2015;
- длина тоннеля - 1200 м;
- сечение тоннеля - 75 м2;
- периметр тоннеля - 31 м;
- количество полос движения - 2;
- направление движения по каждой полосе - в противоположные стороны;
- высота горы Hг, через которую проходит тоннель - 300 м;
- высотная отметка портала A - 100 м;
- высотная отметка портала B - 76 м;
- разница высот между порталами тоннеля - 24 м;
- уклон тоннеля - 2%;
- скорость ветра у портала B - 5 м/с;
- угол между направлением ветра и осью тоннеля - 60°;
- скорость ветра у портала A - 0 м/с;
- температура атмосферного воздуха у портала A, имеющего большую высотную отметку tA = 15 °C;
- атмосферное давление у портала с большей высотной отметкой PA = 755 мм рт. ст.;
- температура атмосферного воздуха у портала В с меньшей высотной отметкой - 16 °C;
- атмосферное давлении у портала с меньшей высотной отметкой PB = 757,5 мм рт. ст.;
- атмосферное давлении на высотной отметке горы, через которую проходит тоннель Pг = 734 мм рт. ст.;
- средняя температура воздуха в тоннеле - 20 °C;
- интенсивность движения транспортных средств в час пик - 1800 пр.авт./ч;
- установленная скорость движения всех категорий автотранспорта - 60 км/ч;
- скорость движения автотранспорта при замедленном движении - 10 км/ч;
- интенсивность движения при замедленном движении в час пик - 57% интенсивности движения при движении с установленной скоростью;
- относительное количество в транспортном потоке автомобилей различного типа составляют: ψ=20%, χ=10%, ω=20%, σ=49%, β=70%;
- технологический показатель, определяющий выбросы загрязняющих веществ, - Э3;
- предельно допустимые концентрации CO для режимов движения "А", "Б" - 80 мг/м3, для режима движения "В" - 115 мг/м3;
- предельно допустимые концентрации NO2 для режимов движения "Б" и "В" - 5 мг/м3;
- предельно допустимые концентрации сажи (взвешенных частиц выхлопного происхождения) для режимов движения "Б" и "В" - 4 мг/м3;
- коэффициент ослабления (затухания): для режима движения "А" - 0,005 м-1, для режима движения "Б" - 0,007 м-1; для режима движения "В" - 0,009 м-1;
- коэффициент трения воздуха о стенки тоннеля - 0,031;
- сечение тоннеля на участке, предназначенном для аварийной остановки транспорта, - 90 м2;
- протяженность участка аварийной остановки - 30 м;
- проектная мощность пожара - 100 МВт.
И.2 Расчет необходимого количества воздуха для проветривания тоннеля
И.2.1 Расчет количества транспортных средств каждого вида, находящихся в тоннеле для условий часа пик и полного прекращения движения
При отсутствии данных о прогнозных интенсивностях движения транспортных средств расчет выполняют по заданной величине приведенных автомобилей с использованием формул (Е.1) - (Е.13) приложения Е.
Для режима движения "А" интенсивность движения транспортного потока находят по формуле (Е.7) приложения Е при интенсивности движения приведенных автомобилей 1800 пр.авт./ч
тр.ср./ч.
Интенсивности движения легковых автомобилей с бензиновыми и дизельными двигателями, легкого грузового транспорта, тяжелого грузового транспорта массой до 15 т и автобусов, тяжелого грузового транспорта массой до 32 т вычисляют по формулам (Е.8) - (Е.13) приложения Е.
Ал.б = 1500·(1 - 0,8)(1 - 0,8)/(1 + 0,1) = 873 авт./ч;
Ал.д = 1500·(1 - 0,8)0,8/(1 + 0,1) = 218 авт./ч;
Бл.гр = (Бл.гр.б + Бл.гр.д) = 1500(1 - 0,8)(1 + 0,1) = 109 авт./ч;
Вгр1 = 0,2·0,7·1500 = 210 авт./ч;
Вгр2 = 0,2(1 - 0,3)1500 = 90 авт./ч.
Количество транспортных средств различного типа, находящихся одновременно в тоннеле, устанавливают по формулам (Е.1) - (Е.6) приложения Е.
nл.б = 873·1,2/60 = 18;
nл.д = 218·1,2/60 = 4;
nл.гр =109·1,2/60 = 2;
nгр1 = 210·1,2/60 = 4;
nгр2 = 90·1,2/60 = 2.
Для замедленного режима движения "Б" и режима остановки движения (пробка) "В" расчеты интенсивностей движения транспортных средств различного типа и количества автомобилей, находящихся в тоннеле, определяют аналогичным образом соответственно при интенсивности движения приведенных автомобилей в час пик, составляющей 57% интенсивности движения при установленной скорости, и числе транспортных средств, находящихся в тоннеле, из расчета 165 тр.ср./км на одной полосе движения. Результаты вычислений приведены в таблице И.1.
|
Режим движения |
Значение показателя для типа транспортного средства | |||||||||
|
Ал.б |
nл.б |
Ал.д |
nл.д |
Бл.гр |
nл.гр |
Вгр1 |
nгр1 |
Вгр2 |
nгр2 | |
|
Режим "А" |
873 |
18 |
218 |
4 |
109 |
2 |
210 |
4 |
90 |
2 |
|
Режим "Б" |
497 |
60 |
124 |
15 |
62 |
7 |
120 |
14 |
51 |
6 |
|
Режим "В" |
- |
165 |
- |
41 |
- |
21 |
- |
40 |
- |
16 |
И.2.2 Определение выбросов загрязняющих веществ от транспортных средств, находящихся в тоннеле
Базовые значения выбросов загрязняющих веществ (CO, NO2, сажи, взвешенных частиц невыхлопного происхождения), устанавливают для технологического показателя Э1 в зависимости от типа транспортного средства, скорости его движения (режимы движения "А", "Б", "В") и уклона тоннеля по данным приложений А - В и приложения Д (таблица Д.1).
Значения базовых выбросов загрязняющих веществ приведены в таблице И.2.
Значения выбросов загрязняющих веществ для технологического показателя Э3, планируемого года пуска тоннеля, высоты над уровнем моря, массы тяжелых грузовых автомобилей, установлены с учетом поправочных коэффициентов, принятых по данным приложения Г. Значения этих коэффициентов, а также значения суммарного поправочного коэффициента приведены в таблице И.3.
Данные таблиц И.2, И.3 использованы для вычисления выбросов загрязняющих веществ от транспортных средств различного типа (таблица И.4).
Например, значение выброса NOx (в пересчете на NO2) у тяжелых грузовых автомобилей массой до 32 т для режима движения "Б" рассчитывается как: q = 192,8·0,61·1,90·1,80·1,0 = 403,0 г/ч.
|
Тип транспортного средства |
Легковые автомобили с бензиновым двигателем |
Легковые автомобили с дизельным двигателем |
Легкие грузовые автомобили в комбинации бензинового и дизельного двигателя |
Тяжелые грузовые автомобили <*> массой 23 т | ||||||||||||||||||||
|
Уклон, % |
2 |
-2 |
2 |
-2 |
2 |
-2 |
2 |
-2 | ||||||||||||||||
|
Режим движения |
А |
Б |
В |
А |
Б |
В |
А |
Б |
В |
А |
Б |
В |
А |
Б |
В |
А |
Б |
В |
А |
Б |
В |
А |
Б |
В |
|
Базовые выбросы загрязняющих веществ, г/ч (м2/ч) | ||||||||||||||||||||||||
|
CO |
97,5 |
32 |
20,5 |
49,4 |
27,8 |
20,5 |
3,3 |
5,1 |
1,0 |
3,4 |
2,2 |
1,0 |
21,6 |
21,6 |
2,3 |
18,2 |
8,7 |
2,3 |
12,5 |
67,2 |
44,5 |
32,8 |
35,4 |
12,5 |
|
NO2 |
15,7 |
5,1 |
1,6 |
4,9 |
3,3 |
1,6 |
50,3 |
15,8 |
6,3 |
10,7 |
6,3 |
6,3 |
50,0 |
18,3 |
9,1 |
10,4 |
19,8 |
9,1 |
467,8 |
192,8 |
12,5 |
150,0 |
115,9 |
12,5 |
|
Сажа (взвешенные частицы выхлопного происхождения) |
- |
- |
- |
- |
- |
- |
14,4 |
4,1 |
1,4 |
2,6 |
1,4 |
1,4 |
10,5 |
4,1 |
6,4 |
4,8 |
1,3 |
6,4 |
43,6 |
21,4 |
11,0 |
17,5 |
15,5 |
11,0 |
|
Взвешенные частицы невыхлопного происхождения, м2/ч |
9,2 |
1,4 |
0 |
9,2 |
1,4 |
0 |
9,2 |
1,4 |
0 |
9,2 |
1,4 |
0 |
9,2 |
1,4 |
0 |
9,2 |
1,4 |
0 |
29,3 |
4,9 |
0 |
29,3 |
4,9 |
0 |
|
<*> Только в расчете на дизельный двигатель. | ||||||||||||||||||||||||
|
Коэффициент |
Значения поправочных коэффициентов на значения выбросов для типов транспортных средств | ||||||||||||||
|
Легковые автомобили с бензиновым двигателем |
Легковые автомобили с дизельным двигателем |
Легкие грузовые автомобили в комбинации бензинового и дизельного двигателя |
Тяжелые грузовые автомобили <*> массой до 15 т |
Тяжелые грузовые автомобили <*> массой до 32 т | |||||||||||
|
CO |
NO2 |
сажа |
CO |
NO2 |
сажа |
CO |
NO2 |
сажа |
CO |
NO2 |
сажа |
CO |
NO2 |
сажа | |
|
fτ |
0,75 |
0,65 |
- |
0,74 |
0,76 |
0,55 |
0,72 |
0,76 |
0,54 |
0,58 |
0,61 |
0,59 |
0,58 |
0,61 |
0,59 |
|
fh |
1,0 |
1,0 |
- |
1,0 |
1,0 |
1,0 |
- |
- |
- |
- |
- |
- |
- |
- |
- |
|
fm |
- |
- |
- |
- |
- |
- |
- |
- |
- |
0,70 |
0,70 |
0,70 |
1,90 |
1,90 |
1,90 |
|
fст |
2,90 |
2,80 |
- |
4,0 |
1,20 |
2,0 |
3,50 |
1,50 |
2,60 |
2,30 |
1,80 |
2,80 |
2,30 |
1,80 |
2,80 |
|
fhст |
2,24 |
1 |
- |
1,40 |
1,0 |
1,0 |
1,82 |
1,0 |
1,0 |
1,40 |
1,0 |
1,0 |
1,40 |
1,0 |
1,0 |
|
fобщ=fτfhfmfстfhст |
4,87 |
1,82 |
- |
4,14 |
0,91 |
1,10 |
4,59 |
1,14 |
1,40 |
1,31 |
0,77 |
1,16 |
3,55 |
2,09 |
3,14 |
|
<*> Только в расчете на дизельный двигатель. | |||||||||||||||
|
Тип транспортного средства |
Легковые автомобили с бензиновым двигателем |
Легковые автомобили с дизельным двигателем |
Легкие грузовые автомобили в комбинации бензинового и дизельного двигателей |
Тяжелые грузовые автомобили <*> массой до 15 т |
Тяжелые грузовые автомобили <*> массой до 32 т | |||||||||||||||||||||||||
|
Уклон, % |
2 |
-2 |
2 |
-2 |
2 |
-2 |
2 |
-2 |
2 |
-2 | ||||||||||||||||||||
|
Режим движения |
А |
Б |
В |
А |
Б |
В |
А |
Б |
В |
А |
Б |
В |
А |
Б |
В |
А |
Б |
В |
А |
Б |
В |
А |
Б |
В |
А |
Б |
В |
А |
Б |
В |
|
Выбросы загрязняющих веществ с учетом корректирующих коэффициентов, г/ч (м2/ч) | ||||||||||||||||||||||||||||||
|
CO |
474,8 |
155,8 |
99,8 |
240,6 |
135,4 |
99,8 |
13,7 |
21,1 |
4,14 |
14,1 |
9,1 |
4,14 |
99,1 |
75,7 |
10,6 |
83,5 |
39,9 |
10,6 |
88,0 |
58,3 |
16,3 |
46,4 |
43,0 |
16,3 |
238,6 |
158,0 |
44,4 |
125,7 |
116,4 |
44,4 |
|
NO2 |
28,6 |
9,3 |
2,9 |
8,9 |
6,0 |
2,9 |
45,8 |
14,3 |
5,7 |
9,7 |
5,7 |
5,7 |
57,0 |
20,9 |
10,4 |
11,9 |
22,6 |
10,4 |
313,4 |
148,5 |
9,7 |
115,5 |
89,2 |
9,7 |
977,7 |
403,0 |
26,1 |
313,5 |
240,3 |
26,1 |
|
Сажа <*> (взвешенные частицы выхлопного происхождения), м2/ч |
- |
- |
- |
- |
- |
- |
15,8 |
4,5 |
1,5 |
2,9 |
1,5 |
1,5 |
23,9 |
5,74 |
9,00 |
6,72 |
1,82 |
9,0 |
50,6 |
24,8 |
12,8 |
17,5 |
15,5 |
11,0 |
136,9 |
67,2 |
34,5 |
54,9 |
48,7 |
34,5 |
|
Взвешенные частицы невыхлопного происхождения, м2/ч |
9,2 |
1,4 |
0 |
9,2 |
1,4 |
0 |
9,2 |
1,4 |
0 |
9,2 |
1,4 |
0 |
9,2 |
1,4 |
0 |
9,2 |
1,4 |
0 |
29,3 |
4,9 |
0 |
29,3 |
4,9 |
0 |
29,3 |
4,9 |
0 |
29,3 |
4,9 |
0 |
|
<*> Только в расчете на дизельный двигатель. | ||||||||||||||||||||||||||||||
Суммарные выбросы загрязняющих веществ транспортных средств различного типа, находящихся в тоннеле, рассчитывают по их количеству (таблица И.1) и значению выбросов (таблица И.4). При этом принято, что количество автомобилей, движущихся по уклону тоннеля вверх (к порталу A) и вниз (к порталу В), равны между собой.
Например, для режима движения с замедленной скоростью (режим "Б") значение выброса NOx (в пересчете на NO2) у тяжелых грузовых автомобилей массой до 32 т составляет:
Qвыб = 3(403,0 + 240,3) = 1929,9 г/ч.
Результаты вычислений выбросов загрязняющих веществ типов транспортных средств при различных режимах движения представлены в таблице И.5.
|
Выбросы загрязняющих веществ при режиме движения |
Значение показателя для типа транспортного средства | ||||||
|
Легковые с бензиновым двигателем |
Легковые с дизельным двигателем |
Легкие грузовые в комбинации бензинового и дизельного двигателей |
Тяжелые грузовые массой до 15 т |
Тяжелые грузовые массой до 32 т |
Всего | ||
|
Режим "А" |
CO |
6438,6 |
55,6 |
182,6 |
268,8 |
364,3 |
7309,9 |
|
Сажа, м2/ч |
- |
37,4 |
30,6 |
68,1 |
191,8 |
327,9 | |
|
Взвешенные частицы, м2/ч |
165,6 |
36,8 |
18,4 |
36,8 |
18,4 |
276 | |
|
Режим "Б" |
CO |
8736 |
226,5 |
404,6 |
713,3 |
832,2 |
10903,6 |
|
NO2 |
459 |
150 |
152,3 |
1663,9 |
1929,9 |
4355,1 | |
|
Сажа, м2/ч |
- |
45 |
26,5 |
282,1 |
347,7 |
701,3 | |
|
Взвешенные частицы, м2/ч |
84 |
21 |
9,8 |
19,6 |
8,4 |
142,8 | |
|
Режим "В" |
CO |
16467 |
169,7 |
222,6 |
652 |
710,4 |
18221,7 |
|
NO2 |
478,5 |
233,7 |
218,4 |
388 |
417,6 |
1736,2 | |
|
Сажа, м2/ч |
- |
123 |
378 |
1024 |
1104 |
2629 | |
|
Взвешенные частицы, м2/ч |
- |
- |
- |
- |
- |
- | |
Объемный расход воздуха G для обеспечения ПДК CO, NOx (в пересчете на NO2) г/ч, сажи вычисляют по формуле (Е.18) приложения Е.
Принимая ПДК NO2 для режима "Б" равным 5 мг/м3, а значения выбросов NO2 для транспортных средств различных типов - в соответствии с данными таблицы И.5, расход воздуха будет составлять:
м3/с.
Объемный расход воздуха G, обеспечивающий нормативную видимость в тоннеле, рассчитывают по формуле (Е.19) приложения Е.
При принятом значении kосл для режима движения "Б" равным 0,007 м-1 и суммарном выбросе сажи и взвешенных частиц невыхлопного происхождения, определяемом данными таблицы И.4, расход воздуха будет составлять:
G = 0,00028[60·84 + 15·(45 + 21) + 7·(26,5 + 9,8) +
+ 14(281,2 + 19,6) + 6·(347,7 + 142,8)]/0,007 = 33,5 м3/с.
Результаты расчетов расходов воздуха по остальным факторам приведены в таблице И.6.
|
Режим движения |
"А" |
"Б" |
"В" | |
|
Расход воздуха, м3/с |
CO |
25,4 |
37,9 |
44,0 |
|
NO2 |
- |
242,0 |
96,5 | |
|
Сажа |
- |
49,1 |
184,0 | |
|
Видимость <*> |
33,6 |
33,5 |
81,0 | |
|
<*> См. формулу (Е.19). | ||||
Расход воздуха при аварийном режиме проветривания (возникновение пожара) определяют по критической скорости потока Vкр. Ее значение вычисляют по формуле (6.6) с учетом формул (6.7), (6.8) при kg = 1,055, что соответствует отрицательному углу уклона тоннеля - 2%.
Vкр = 1,264{[20,4·(1 + (1 - 2/20,4)1/2) - 1]1/3 +
+ [20,4·(1 - (1 - 2/20,4)1/2) - 1]1/3 - 1} = 3,4 м/с,
где Sкр = 100·103/3·1,2·1,005·75·(273 + 20) = 1,264;
Rкр = 1,5·9,8·8,5·0,6063·1,0553/1,2642 = 20,4.
Расход воздуха, соответствующий этой скорости воздуха, равен:
Gкр.ск = 3,4·75 = 255 м3/с.
Сравнивая данные таблицы И.5 и значение расхода воздуха, необходимого для обеспечения критической скорости воздушного потока при пожаре, выбирают для дальнейших расчетов наибольшее из этих значений, т.е. Gmax = Gкр.ск = 255 м3/с.
И.3 Расчет потерь давления при движении воздуха по тоннелю
И.3.1 Потери давления на порталах тоннеля с входящей и исходящей воздушной струей вычисляют по формулам (Ж.2), (Ж.4) приложения Ж. Плотность воздуха, вычисленная по формуле (Ж.3) приложения Ж, равна 1,23 кг/м3.
Па;
Па.
И.3.2 Потери давления от трения воздуха о стены тоннеля [см. формулу (Ж.5)].
Па.
Потери давления на преодоление сопротивлений при расширении (сужении) воздушного потока на участке, предназначенном для аварийной остановки транспорта, рассчитывают по формулам (Ж.6) - (Ж.9) приложения Ж.
С учетом данных рисунка Ж.1 приложения Ж при Sуз.с/Sш.с = 0,83; ξр.гл=0,045; ξс.гл=0,09. Тогда:
ξр=0,045(1+12,5·1,2·0,031)=0,066;
ξс=0,09(1+9,62·1,2·0,031)=0,122;
δРрасш=0,5·2552·0,066·1,2/752=0,45 Па;
δРсуж=0,5·2552·0,122·1,2/752=0,85 Па.
Потери давления на трения на этом участке составляют:
Па.
Общие потери напора на участке остановки транспорта составляют:
δРтр.уч.ост=1,72 Па.
И.4 Расчет гравитационной составляющей естественной тяги
Гравитационную (тепловую) составляющую естественной тяги δРгр вычисляют по формуле (Ж.10) приложения Ж
Па.
Направление действия гравитационной составляющей естественной тяги - от портала A к порталу B.
Барометрическую составляющую естественной тяги δРб вычисляют по формуле (Ж.11) приложения Ж
Па.
Ветровую составляющую естественной тяги определяют по формуле (Ж.9) приложения Ж
δРветр=0,5·0,7·1,22·52·cos260°=2,7 Па.
Направление действия ветровой составляющей естественной тяги - от портала B к порталу A.
Суммарное значение естественной тяги составляет:
δРест=3,9-4,06+2,7=2,54 Па.
Таким образом, суммарное значение естественной тяги составляет 2,54 Па при направлении действия от нижнего портала B к верхнему порталу A.
И.5 Расчет потерь давления на преодоление аэродинамического сопротивления стоящих в тоннеле транспортных средств
При возникновении пожара часть транспортных средств по обе стороны от очага пожара по направлению их движения покинет тоннель. Принимают, что в случае расположения очага пожара в центральной части тоннеля на каждой из полос движения может находиться половина транспортных средств от их количества, характеризующего режим транспортной пробки. Тогда значение δРпорш вычисляют по формуле (Ж.13) приложения Ж при количестве транспортных средств и их типах, соответствующих данным таблицы И.1.
δРпорш=0,5·1,22·3,42/75[103·2·0,4+11·5·1,0+28·7·1,0]=31,3 Па.
И.6 Расчет общих потерь давления δРобщ
Общие потери давления в тоннеле при аварийном режиме вентиляции в случае пожара и подаче воздуха в направлении портала B, вычисленные по формуле (Ж.1) приложения Ж, составляют:
δРобщ=14,2+26,7+1,72+2,54+31,3=76,5 Па.
И.7 Определение числа струйных вентиляторов и мест их расположения
Общий импульс Nобщ струйных вентиляторов, обеспечивающий подачу в тоннель необходимого количества воздуха G, вычисленный по формуле (6.2), составляет:
Nобщ = 76,5·75 = 5738 Н.
При условии расположения струйных вентиляторов попарно у свода тоннеля на расстоянии, равном диаметру выходного отверстия от поверхности тоннеля, параллельно оси тоннеля на расстояниях между группами вентиляторов, превышающем 100 м, и удаленных от порталов тоннеля также на 100 м, корректирующие коэффициенты к номинальному импульсу силы вентилятора будут составлять:
k1 = (27,1 - 3,54)/27,1 = 0,87, где 30,6 м/с - значение скорости воздуха на выходе из струйного вентилятора;
k2 = 0,935 при 2z/(Dт - Df) = 0,29 (см. рисунок 6.8) (диаметр выходного отверстия Df = 1,2 м);
k3 = 1,0;
k4 = 1,0;
k5 = 1,0.
Суммарная величина корректирующего коэффициента составляет:
kобщ = 0,87·0,935·1,0·1,0·1,0 = 0,813.
При установке в тоннеле восьми вентиляторов (по два в каждом сечении) номинальный импульс силы, который должен развивать каждый вентилятор, составляет:
Nном = 5738/8·0,826 = 882 Н.
Учитывая сформулированный выше принцип резервирования вентиляторов на случай выхода из строя одной группы, состоящей из двух вентиляторов, при их попадании в зону очага пожара, общее количество струйных вентиляторов, которые необходимо установить в рассматриваемом тоннеле будет составлять 10 шт. (пять групп по два вентилятора в каждой группе).
Расстояние между каждой из групп вентиляторов может быть выбрано, равным 200 м. При этом расстояние от каждого из порталов до первой группы вентиляторов будет равно 100 м.
Подача в тоннель наружного воздуха (направление работы струйных вентиляторов осуществляется в направлении портала тоннеля В - нижний портал) приведена на рисунке И.1.

Рисунок И.1 - Аварийный режим проветривания автодорожного тоннеля


