СП 287.1325800.2016 СООРУЖЕНИЯ МОРСКИЕ ПРИЧАЛЬНЫЕ. ПРАВИЛА ПРОЕКТИРОВАНИЯ И СТРОИТЕЛЬСТВА
Marine berthing facilities. Rules of design and construction
Дата введения - 17 июня 2017 г.
Введен впервые
Введение
В настоящем своде правил приведены требования, соответствующие целям: федеральных законов от 29 декабря 2004 г. N 190-ФЗ "Градостроительный кодекс Российской Федерации" [1], от 3 июня 2006 г. N 74-ФЗ "Водный кодекс Российской Федерации" [2], от 31 июля 1998 г. N 155-ФЗ "О внутренних морских водах, территориальном море и прилегающей зоне Российской Федерации" [3], от 8 ноября 2007 г. N 261-ФЗ "О морских портах в Российской Федерации и о внесении изменений в отдельные законодательные акты Российской Федерации" [4], от 10 января 2002 г. N 7-ФЗ "Об охране окружающей среды" [5], от 27 декабря 2002 г. N 184-ФЗ "О техническом регулировании" [6], от 30 декабря 2009 г. N 384-ФЗ "Технический регламент о безопасности зданий и сооружений" [7]; постановлений Правительства Российской Федерации от 2 ноября 2013 г. N 986 "О классификации гидротехнических сооружений" [8], от 12 августа 2010 г. N 620 "Технический регламент о безопасности объектов морского транспорта" [9].
Настоящий свод правил разработан впервые, отражает современный уровень исследований, опыт проектирования и строительства морских причальных сооружений в различных природно-климатических и гидрогеологических условиях и содержит требования по проектированию и строительству морских причальных сооружений, направленные на обеспечение безопасных условий для швартовки, стоянки и обработки судов, сохранности и повышения долговечности морских причальных сооружений при взаимодействии с судами, работе перегрузочного оборудования и портовых транспортных средств, складировании грузов.
Настоящий свод правил разработан авторскими коллективами ОАО "Союзморниипроект" (руководитель - канд. техн. наук, доц. В.П. Гришин, исполнители - канд. техн. наук доц. Н.Г. Заритовский, канд. техн. наук В.П. Мордвинцев, канд. техн. наук В.М. Мезенов, д-р техн. наук, проф. С.Л. Эсаулов, М.М. Дулепин) и АО ЦНИИС (руководитель - д-р техн. наук, проф. А.А. Цернант, исполнители - канд. техн. наук И.А. Бегун, канд. техн. наук, Н.А. Ефремов, В.А. Хитрых).
1.1 Настоящий свод правил распространяется на проектирование новых, реконструируемых и капитальный ремонт морских причальных гидротехнических сооружений (далее - причальные сооружения).
1.2 Свод правил устанавливает общие требования к проектированию и строительству стационарных причальных сооружений и частные требования к проектированию и возведению гравитационных сооружений уголкового профиля и из массивовой кладки, причалов типа больверк, эстакад, палов, причальных сооружений для особых условий.
В настоящем своде правил использованы нормативные ссылки на следующие документы:
ГОСТ 380-2005 Сталь углеродистая обыкновенного качества. Марки
ГОСТ 535-2005 Прокат сортовой и фасонный из стали углеродистой обыкновенного качества. Общие технические условия
ГОСТ 977-88 Отливки стальные. Общие технические условия
ГОСТ 1412-85 Чугун с пластинчатым графитом для отливок. Марки
ГОСТ 2590-2006 Прокат сортовой стальной горячекатаный круглый. Сортамент
ГОСТ 4781-85 Профили стальные горячекатаные для шпунтовых свай. Технические условия
ГОСТ 5264-80 Ручная дуговая сварка. Соединения сварные. Основные типы, конструктивные элементы и размеры
ГОСТ 5686-2012 Грунты. Методы полевых испытаний сваями
ГОСТ 6713-91 Прокат низколегированный конструкционный для мостостроения. Технические условия
ГОСТ 7566-94 Металлопродукция. Приемка, маркировка, упаковка, транспортирование и хранение
ГОСТ 8267-93 Щебень и гравий из плотных горных пород для строительных работ. Технические условия
ГОСТ 8486-86 Пиломатериалы хвойных пород. Технические условия
ГОСТ 9238-2013 Габариты железнодорожного подвижного состава и приближения строений
ГОСТ 9463-88 Лесоматериалы круглые хвойных пород. Технические условия
ГОСТ 10060-2012 Бетоны. Методы определения морозостойкости
ГОСТ 10178-85 Портландцемент и шлакопортландцемент. Технические условия
ГОСТ 10181-2014 Смеси бетонные. Методы испытаний
ГОСТ 10704-91 Трубы стальные электросварные прямошовные. Сортамент
ГОСТ 10705-80 Трубы стальные электросварные. Технические условия
ГОСТ 10706-76 Трубы стальные электросварные прямошовные. Технические требования
ГОСТ 10922-2012 Арматурные и закладные изделия, их сварные, вязаные и механические соединения для железобетонных конструкций. Общие технические условия
ГОСТ 12248-2010 Грунты. Методы лабораторного определения характеристик прочности и деформируемости
ГОСТ 12730.5-84 Бетоны. Методы определения водонепроницаемости
ГОСТ 13015-2012 Изделия бетонные и железобетонные для строительства. Общие технические требования. Правила приемки, маркировки, транспортирования и хранения
ГОСТ 14098-2014 Соединения сварные арматуры и закладных изделий железобетонных конструкций. Типы, конструкции и размеры
ГОСТ 17424-72 Тумбы швартовные морские. Технические условия
ГОСТ 19185-73 Гидротехника. Основные понятия. Термины и определения
ГОСТ 19281-2014 Прокат повышенной прочности. Общие технические условия
ГОСТ 19804-2012 Сваи железобетонные заводского изготовления. Общие технические условия
ГОСТ 20295-85 Трубы стальные сварные для магистральных газонефтепроводов. Технические условия
ГОСТ 20522-2012 Грунты. Методы статистической обработки результатов испытаний
ГОСТ 22266-2013 Цементы сульфатостойкие. Технические условия
ГОСТ 23732-2011 Вода для бетонов и строительных растворов. Технические условия
ГОСТ 24211-2008 Добавки для бетонов и строительных растворов. Общие технические условия
ГОСТ 26633-2015 Бетоны тяжелые и мелкозернистые. Технические условия
ГОСТ 27751-2014 Надежность строительных конструкций и оснований. Основные положения
ГОСТ 31384-2008 Защита бетонных и железобетонных конструкций от коррозии. Общие технические требования
ГОСТ 31447-2012 Трубы стальные сварные для магистральных газопроводов, нефтепроводов и нефтепродуктопроводов. Технические условия
ГОСТ 32569-2013 Трубопроводы технологические стальные. Требования к устройству и эксплуатации на взрывопожароопасных и химически опасных производствах
ГОСТ Р 52085-2003 Опалубка. Общие технические условия
ГОСТ Р 52086-2003 Опалубка. Термины и определения
ГОСТ Р 52544-2006 Прокат арматурный свариваемый периодического профиля классов А500С и В500С для армирования железобетонных конструкций. Технические условия
ГОСТ Р 52664-2010 Шпунт трубчатый сварной. Технические условия
ГОСТ Р 54523-2011 Портовые гидротехнические сооружения. Правила обследования и мониторинга технического состояния
ГОСТ Р 54918-2012 (ISO/TR 10400:2007) Трубы обсадные насосно-компрессорные, бурильные и трубы для трубопроводов нефтяной и газовой промышленности. Формулы и расчет свойств
ГОСТ Р 55561-2013 Внутренний водный транспорт. Портовые гидротехнические сооружения. Требования безопасности
ГОСТ Р 56727-2015 Цементы напрягающие. Технические условия
СП 14.13330.2014 "СНиП II-7-81* Строительство в сейсмических районах" (с изменением N 1)
СП 16.13330.2011 "СНиП II-23-81* Стальные конструкции" (с изменением N 1)
СП 20.13330.2011 "СНиП 2.01.07-85* Нагрузки и воздействия"
СП 22.13330.2011 "СНиП 2.02.01-83* Основания зданий и сооружений"
СП 23.13330.2011 "СНиП 2.02.02-85 Основания гидротехнических сооружений"
СП 24.13330.2011 "СНиП 2.02.03-85 Свайные фундаменты"
СП 25.13330.2012 "СНиП 2.02.04-88 Основания и фундаменты на вечномерзлых грунтах"
СП 27.13330.2011 "СНиП 2.03.04-84 Бетонные и железобетонные конструкции, предназначенные для работы в условиях воздействия повышенных и высоких температур"
СП 28.13330.2012 "СНиП 2.03.11-85 Защита строительных конструкций от коррозии" (с изменением N 1)
СП 35.13330.2011 "СНиП 2.05.03-84* Мосты и трубы"
СП 38.13330.2012 "СНиП 2.06.04-82* Нагрузки и воздействия на гидротехнические сооружения (волновые, ледовые и от судов)"
СП 41.13330.2012 "СНиП 2.06.08-87 Бетонные и железобетонные конструкции гидротехнических сооружений"
СП 45.13330.2012 "СНиП 3.02.01-87 Земляные сооружения, основания и фундаменты"
СП 47.13330.2012 "СНиП 11-02-96 Инженерные изыскания для строительства. Основные положения"
СП 58.13330.2012 "СНиП 33-01-2003 Гидротехнические сооружения. Основные положения"
СП 63.13330.2012 "СНиП 52-01-2003 Бетонные и железобетонные конструкции. Основные положения" (с изменениями N 1, N 2)
СП 64.13330.2011 "СНиП II-25-80 Деревянные конструкции"
СП 70.13330.2012 "СНиП 3.03.01-87 Несущие и ограждающие конструкции"
СП 101.13330.2012 "СНиП 2.06.07-87 Подпорные стены, судоходные шлюзы, рыбопропускные и рыбозащитные сооружения"
СП 131.13330.2012 "СНиП 23-01-99* Строительная климатология" (с изменением N 2)
Примечание - При пользовании настоящим сводом правил целесообразно проверить действие ссылочных документов в информационной системе общего пользования - на официальном сайте федерального органа исполнительной власти в сфере стандартизации в сети Интернет или по ежегодному информационному указателю "Национальные стандарты", который опубликован по состоянию на 1 января текущего года, и по выпускам ежемесячного информационного указателя "Национальные стандарты" за текущий год. Если заменен ссылочный документ, на который дана недатированная ссылка, то рекомендуется использовать действующую версию этого документа с учетом всех внесенных в данную версию изменений. Если заменен ссылочный документ, на который дана датированная ссылка, то рекомендуется использовать версию этого документа с указанным выше годом утверждения (принятия). Если после утверждения настоящего свода правил в ссылочный документ, на который дана датированная ссылка, внесено изменение, затрагивающее положение, на которое дана ссылка, то это положение рекомендуется применять без учета данного изменения. Если ссылочный документ отменен без замены, то положение, в котором дана ссылка на него, рекомендуется применять в части, не затрагивающей эту ссылку. Сведения о действии сводов правил целесообразно проверить в Федеральном информационном фонде стандартов.
В настоящем своде правил применены термины по ГОСТ 19185, ГОСТ Р 54523, ГОСТ Р 55561, а также следующие термины с соответствующими определениями:
3.1 кордон: Линия пересечения верхней горизонтальной плоскости причального сооружения и его лицевой (морской) грани.
3.2 массивовая кладка: Конструкция в виде кладки из бетонных блоков массой до 100 т и более.
3.3 сооружение эстакадного типа: Причальные сооружения, представляющие собой сквозные конструкции из отдельно стоящих опор в виде свай, погруженных в грунт на определенную глубину и соединенных между собой верхним строением.
3.4
|
средний многолетний уровень моря: Величина, полученная в результате осреднения наблюденных значений уровня за многолетний интервал времени или полученная путем осреднения данных гидродинамического моделирования колебаний суммарного уровня и течений для данной акватории, выполненного для достаточно продолжительного периода времени (не менее 40 лет). [ГОСТ Р 55615.3-2013, статья 3.66] |
4.1 Проектирование причальных сооружений, возводимых в сейсмических районах, зонах распространения просадочных, набухающих, торфяных грунтов, на подрабатываемых и подверженных оползням и карстам территориях и в других особых условиях, следует осуществлять с учетом требований нормативных документов.
4.2 В случае отсутствия указанных требований соответствие проектных значений и характеристик сооружений требованиям безопасности, а также проектируемые мероприятия по обеспечению их безопасности должны быть обоснованы специально проводимыми исследованиями согласно требованиям [7, статья 15, пункт 6].
4.3 При разработке проектов причальных сооружений следует иметь исходные данные, определяемые в соответствии с генеральным планом и технологической частью проекта, с учетом создания необходимой ширины территории и площади акватории порта, удобных водных, железнодорожных и автодорожных подходов, минимизации объемов земляных работ по созданию территории и акватории портов, оптимального баланса объемов выемки и насыпи, перспективы развития порта (причального фронта).
4.4 В технологической части проекта определяются следующие исходные данные для проектирования [14], [15], [22]:
- длина причалов;
- отметка дна у причала;
- отметка кордона причала;
- категория эксплуатационных нагрузок;
- типы и размерения расчетных судов;
- специальные требования к причалу;
- состав и размещение инженерных сетей и перегрузочного оборудования.
4.5 Исходными данными являются также следующие сведения о естественных условиях и застройке участка строительства:
а) топографические (план участка строительства с горизонталями и привязкой существующих зданий и сооружений);
б) гидрографические (план промеров глубин акватории с построением изобат, сведения о морских свалках грунта и "кладбищах кораблей");
в) гидро- и метеорологические (режимные характеристики ветра, волнения, течения и уровней воды, сведения о ледовом режиме, заносимости или размыве в районе расположения проектируемого сооружения и примыкающих водных бассейнов, степень агрессивности среды, климатические данные);
г) биологические, характеризующие отсутствие или наличие древоточцев различных видов, степень интенсивности их деятельности, сохранность и гниение древесины на различных уровнях, наличие биологических объектов, подлежащих охране;
д) геологические и гидрогеологические (геологические профили, физико-механические характеристики грунтов основания и засыпки, сведения о грунтовых водах и их агрессивности);
е) данные о сейсмичности (с учетом сейсмического микрорайонирования), а также карстовых, оползневых и просадочных явлениях на участке строительства.
4.6 В технологическую документацию по производству работ следует включать:
- производственные возможности строительной организации (производственные базы, их расположение и характеристика, краны и иное строительное оборудование, трудовые ресурсы);
- размещение предприятий, изготовляющих элементы конструкции, их производственная мощность, степень загрузки, технологические возможности;
- транспортные связи района строительства с базами, предприятиями-поставщиками, пунктами заготовки местных строительных материалов;
- сведения о местных строительных материалах (номенклатура, количественная и качественная характеристики, условия разработки и транспортирования).
4.7 Причальные сооружения в соответствии с СП 58.13330, подразделяются на постоянные (основные и второстепенные) и временные.
Постоянные сооружения предназначены для длительной эксплуатации.
К временным относятся сооружения со сроком службы не более пяти лет: причалы для сезонных и временных погрузо-разгрузочных операций, временные убежища для стоянки судов, а также сооружения, используемые в период строительства или ремонта постоянных сооружений.
4.8 Причальные сооружения подразделяются также в зависимости:
а) от расположения по отношению к берегу - на набережные (прямолинейные, ступенчатые), причалы со съездами, оторочки, пирсы (узкие и широкие), рейдовые (островные);
б) возможности перемещения - на стационарные и плавучие;
в) конструктивных особенностей и принципа работы - на гравитационные, тонкие стенки типа больверк, эстакады, мостового типа, смешанного типа;
г) применяемых строительных материалов - на бетонные, железобетонные, стальные, композитные, деревянные и комбинированные (смешанные);
д) восприятия бокового давления грунта - на распорные и безраспорные;
е) назначения (специализации):
- грузовые,
- пассажирские,
- паромные переправы,
- судоремонтные,
- отстойные,
- портофлота.
4.9 Класс причальных сооружений следует назначать в соответствии с СП 58.13330.2012.
4.10 В составе комплексного объекта строительства могут устанавливаться разные классы для отдельных сооружений.
4.11 Для строительства причальных сооружений применяют следующие конструкционные материалы: бетон, железобетон, сталь, камень и дерево, а при соответствующем обосновании - полимерные материалы, с учетом требований действующих нормативных документов.
4.12 Для бетонных и железобетонных конструкций причальных сооружений и покрытий территорий следует применять тяжелый бетон согласно ГОСТ 26633 и СП 63.13330. Требования к бетону, которые должны быть приведены в проекте, в зависимости от конструкции сооружения и условий службы бетона назначаются в соответствии с [10], настоящим сводом правил и характеризуются классами по прочности на сжатие (В), марками по водонепроницаемости (W), морозостойкости (F), средней плотности (D), по самонапряжению напрягающего бетона (Sp).
Допускается также применение легких бетонов в соответствии с требованиями СП 41.13330.
4.13 Для основных несущих бетонных и железобетонных конструкций морских причальных сооружений, эксплуатируемых в условиях агрессивного воздействия внешней среды, следует применять тяжелые бетоны повышенной плотности (W16-W20) с прочностью на сжатие, установленной СП 28.13330, до класса В45.
4.14 Класс бетона по прочности следует задавать заданием на проектирование сооружения с учетом требований долговечности.
В зависимости от конструктивных особенностей и условий работы в сооружении для бетонных и железобетонных конструкций следует назначать бетон классов, приведенных в таблице 4.1.
Таблица 4.1 - Рекомендуемые классы бетона по прочности на сжатие в зависимости от конструктивных особенностей и условий работы сооружений
|
Конструкция или элемент |
Рекомендуемый класс бетона по прочности на сжатии |
|
1 Сваи и сваи-оболочки, сборные элементы верхнего строения, плиты уголковых стенок из предварительно напряженных железобетонных конструкций |
В22, 5-В45 |
|
2 То же, из обычных железобетонных конструкций (без предварительного напряжения) |
В15-В30 |
|
3 Бетонные и железобетонные элементы и конструкции, подверженные истиранию (дорожные покрытия, защитные пояса, оболочки, козырьки и т.д.) |
В22, 5-В45 |
|
4 Бетонные массивы, бетонные и армированные элементы надводных строений (подпорные стенки, оголовки) |
В10-В22, 5 |
|
5 Бетон для заполнения анкерных стаканов арматурных пучков, железобетонных анкеров, торцевых прокладок, распределительных поясов |
В30-В45 |
|
6 Бетон омоноличивания рабочих стыков и узлов |
Следует принимать равным классу бетона омоноличиваемых элементов |
|
Примечание - По требованиям расчета прочности и трещиностойкости, а также водонепроницаемости и морозостойкости в части показателей 2 и 4 допускается принимать классы бетона выше приведенных в настоящей таблице. | |
4.15 Выбор класса бетона для конструктивных элементов следует проводить на основании технико-экономического сопоставления вариантов сечений, отличающихся классом бетона и габаритами.
4.16 В зависимости от района строительства причального сооружения требования к бетону по долговечности следует устанавливать согласно [10].
Особенности работы железобетонных конструкций в холодном климате и на вечномерзлых грунтах с учетом температурно-влажностного режима приведены в [11].
4.17 Материалы, применяемые для изготовления гидротехнического бетона (цементы, добавки, песок, щебень, гравий, вода для затворения бетона и промывки заполнителей), следует принимать по ГОСТ 22266, ГОСТ 23732, ГОСТ 24211, а также в зависимости от района строительства, агрессивности среды и зоны расположения конструкций согласно СП 28.13330, [10].
В случае применения напрягающего цемента его характеристики следует принимать согласно ГОСТ Р 56727.
4.18 Характеристики арматуры для железобетонных конструкций в причальных сооружениях следует принимать согласно требованиям СП 41.13330, СП 63.13330, СП 28.13330 и настоящего свода правил.
4.19 Для железобетонных конструкций причальных сооружений без предварительного напряжения арматуры в качестве устанавливаемой по расчету арматуры следует преимущественно применять арматуру периодического профиля классов А-III (А400), A-IV (А600) и A-V (А800), а также холоднотянутую проволоку обыкновенную периодического профиля класса Вр-I (Вр500) в сварных сетках и каркасах. При обосновании экономической целесообразности допускается применять арматуру более высоких классов.
Для поперечного, косвенного и конструктивного армирования следует преимущественно применять гладкую арматуру класса A-I (А240) из стали марок Ст3сп и Ст3пс (с категориями нормируемых показателей не ниже 2 по ГОСТ 535), а также арматуру периодического профиля классов А-III (А400), A-IV (А600), проволочную арматурную сталь класса Вр-I (Вр500).
4.20 Для предварительно напряженных железобетонных конструкций следует предусматривать:
- в качестве напрягаемой арматуры:
- горячекатаную и термомеханически упрочненную периодического профиля классов А-IIIв (упрочненная вытяжкой), A-IV (А600), A-V (А800);
- в качестве ненапрягаемой арматуры:
- горячекатаную гладкую класса A-I (А240),
- горячекатаную, термомеханически упрочненную и холоднодеформированную периодического профиля классов А-III (А400), А500, A-IV (А600), A-V (А800), проволочную арматурную сталь класса Вр-I (Вр500).
4.21 При выборе вида и марок сталей для арматуры, устанавливаемой по расчету, а также прокатных сталей для закладных деталей следует учитывать температурные условия эксплуатации конструкций и характер их нагружения согласно требованиям СП 27.13330 и СП 35.13330.
Влияние низких температур на свойства сталей, используемых для армирования железобетонных конструкций, показано в [11].
В конструкциях, эксплуатируемых при статической (и квазистатической) нагрузке на открытом воздухе при расчетной температуре минус 40°С и ниже, может быть применена арматура всех указанных выше классов, за исключением арматуры класса А-III (А400) из стали марки 35ГС, класса A-I (А240) из стали марки Ст3кп, применяемых при расчетной температуре минус 30°С и ниже.
При расчетной температуре ниже 55°С рекомендуется использовать арматуру класса A-V (А800) из стали марки 20Г2СФБА.
Для железобетонных конструкций, эксплуатируемых в агрессивной среде, следует применять арматуру класса A-IV (А600) марки Ст20ХГ2Ц.
При надлежащем обосновании для железобетонных конструкций портовых сооружений допускается применять стержневую и проволочную арматуру других классов, их нормативные и расчетные характеристики следует принимать по действующим нормативным документам.
При проектировании зоны передачи предварительного напряжения, анкеровки арматуры в бетоне и соединений арматуры внахлестку (без сварки) следует учитывать характер поверхности арматуры (ГОСТ Р 52544).
При проектировании сварных соединений арматуры следует учитывать способ изготовления арматуры (ГОСТ 14098).
4.22 Для закладных деталей и соединительных накладок следует применять, как правило, прокатную углеродистую сталь с учетом характера нагрузок на закладную деталь и температурных воздействий согласно СП 41.13330.
4.23 Для монтажных (подъемных) петель элементов железобетонных и бетонных конструкций следует применять горячекатаную арматурную сталь класса A-I (А240) марок Ст3сп и Ст3пс (с категориями нормируемых показателей не ниже 2 по ГОСТ 535).
В случае монтажа конструкций при расчетной зимней температуре ниже минус 40°С для монтажных петель не допускается применять сталь марки Ст3пс.
4.24 Сталь, применяемая для металлических конструкций причальных сооружений, должна удовлетворять требованиям СП 16.13330 и настоящего свода правил.
4.25 Для несущих стальных конструкций причальных сооружений следует применять прокатную сталь марок Ст3Гсп, Ст3сп и Ст3пс по ГОСТ 380 и марки 16Д по ГОСТ 6713.
В особо тяжелых условиях службы, в районах с температурой ниже минус 40°С, следует применять низколегированную сталь по ГОСТ 19281 с ударной вязкостью не менее 29 Дж/см2.
4.26 Для изготовления анкерных тяг и деталей их соединений следует применять сталь марок Ст3сп и Ст3Гпс для сварных конструкций по ГОСТ 380, марки 09Г2С по ГОСТ 19281, а также по ГОСТ 2590.
Допускается для изготовления анкерных тяг применение стали Ст3пс при условии их транспортирования и монтажа при температуре не ниже минус 20°С, а также сталей других марок с характеристиками на холодный изгиб, относительное удлинение и свариваемость не ниже, чем для сталей, указанных в настоящем пункте.
4.27 Для металлических стенок больверков следует применять шпунт из углеродистой стали марки Ст3сп для сварных конструкций по ГОСТ 380, низколегированной стали марки 15ХСНД по ГОСТ 19281.
Допускается применение шпунтов прокатанных, трубчатых и электросварных профилей (приложение А), других профилей и из других видов сталей с обеспечением требуемых механических характеристик и химического состава при соответствующем технико-экономическом обосновании.
4.28 Для металлических свай и свайных оболочек при соответствующем обосновании допускается применять бесшовные и стальные электросварные прямошовные и спиральношовные трубы согласно требованиям нормативных документов, приведенных в приложении Б. При соответствующих обосновании и технологии погружения допускается применять новые спиральношовные трубы.
Стальные трубы, бывшие в употреблении (эксплуатации), применять не допускается
4.29 Технология изготовления оболочек большого диаметра изложена в [12], [25], [29].
4.30 Для верхних строений конструкций мостового типа следует применять углеродистую и низколегированную сталь согласно ГОСТ 6713.
4.31 Для болтов крепления связных балок и швартовных тумб следует применять сталь марки Ст3сп согласно требованиям ГОСТ 2590 и ГОСТ 380.
4.32 Для конструктивных элементов, не подлежащих расчету, следует применять сталь марки Ст3кп по ГОСТ 380.
4.33 Отливки для стальных конструкций следует проектировать из углеродистой стали согласно требованиям ГОСТ 977 и серого чугуна, удовлетворяющего требованиям ГОСТ 1412.
4.34 Сварные соединения стальных конструкций следует выполнять из сварочных материалов согласно настоящему своду правил.
4.35 Для устройства разгрузочных призм, постелей под причальными сооружениями и образования подпричальных откосов применяют природный камень, виды и свойства которого приведены в [13].
4.36 Щебень и гравий для устройства обратных фильтров, укрепления дна перед стенкой и т.п. следует принимать согласно ГОСТ 8267, а также по условию неразмокаемости согласно требованиям соответствующих нормативных документов.
4.37 Для обратной засыпки пазух причальных стенок следует применять скальный или природный песчаный грунт, содержащий по массе более 90% фракций крупнее 0, 1 мм, в том числе не ниже 50% фракций крупностью 0, 25 мм и более.
Допускается применять другие песчаные грунты, включая пылеватые пески, если содержание глинистых частиц с размером фракций менее 0, 1 мм не превышает 5%.
Не допускается применять для засыпки грунты, содержащие растворимые в воде сернокислые соли и органические частицы в количестве более 5% сухой минеральной части грунта.
Возможность применения для засыпки глинистых грунтов или доменных шлаков следует обосновывать опытом эксплуатации в местных условиях или специальными исследованиями.
4.38 Для изготовления деревянных конструкций причальных сооружений (отбойных рам, свай, кранцев, палов и др.) применяются пиломатериалы и круглый лес хвойных пород, преимущественно сосновых, отвечающие требованиям ГОСТ 9463 и ГОСТ 8486. Кроме указанных материалов допускается использовать также клееную древесину.
Для несущих конструкций и отбойных устройств следует применять лес 1-го и 2-го сортов, для нерасчетных и неответственных элементов - 2-го и 3-го сортов.
Проектировщик в случае технико-экономического обоснования предлагаемых конструктивных решений может применять другие швартовные устройства.
4.39 В проектах необходимо предусматривать мероприятия, обеспечивающие долговечность конструкций причальных сооружений, их ремонтопригодность и стойкость при следующих агрессивных воздействиях:
а) многократное попеременное замораживание и оттаивание, а также увлажнение и высыхание, вызывающих разрушение бетона в зоне переменного уровня воды;
б) химическое действие морской воды и других агрессивных минерализованных или пресных вод, атмосферы, насыщенных влагой химических грузов и блуждающих токов, вызывающих коррозию бетона и стали;
в) истирание и механическое повреждение конструкций в результате воздействия швартующихся судов, волн, движущихся наносов, льда и иных плавающих предметов;
г) разрушение лесоматериалов в результате гниения или действия древоточцев.
4.40 Для защиты конструкций причальных сооружений от неблагоприятного воздействия внешней среды следует руководствоваться требованиями СП 28.13330 и ГОСТ 31384.
Рекомендации по антикоррозионной защите морских причальных сооружений приведены также в [16]-[18], [31].
4.41 Долговечность конструкций при различных сочетаниях неблагоприятных воздействий, перечисленных в 4.39, следует обеспечивать путем:
- выбора рационального конструктивного решения;
- зонального распределения строительных материалов в составе конструкции (например, дерево в подводной зоне и железобетон в зоне переменного уровня воды и выше);
- выбора строительных материалов применительно к специфике агрессивных воздействий, характерных для района строительства;
- выбора материалов, обеспечивающих получение параметров бетона, соответствующих условиям его службы;
- изготовления железобетонных элементов конструкций с применением специальных способов повышения качества бетона (вибропрессования, вибропроката, центрифугирования и т.д.), а также выдерживания бетона в благоприятных условиях твердения;
- применения специальных мер защиты - облицовки, покрытий, пропитки, катодной или протекторной защиты металла.
4.42 Причальные сооружения следует оборудовать отбойными и швартовными устройствами, которые гарантированно обеспечивают безаварийную эксплуатацию судов, причальных сооружений и их устройств. Если нагрузки от крупнотоннажных судов нецелесообразно передавать на причальные сооружения, отбойные и швартовные приспособления следует располагать на отдельно стоящих палах.
4.43 При проектировании причальных сооружений следует использовать действующие нормативные документы по производству и приемке строительных и монтажных работ. В случае необходимости следует разрабатывать дополнительные указания, учитывающие специфические особенности строительства конструкций, а для конструкций, по которым нормативные документы на производство и приемку работ еще не разработаны, допускается приводить основные требования к изготовлению элементов и монтажу конструкций, а также допуски отклонений от проекта в размерах и положении отдельных элементов сооружения.
5.1 Выбор типа конструкции причального сооружения следует проводить с учетом естественных условий района строительства, технологических требований к причалам, размеров территории и акватории порта, возможных способов производства работ, геологических условий, требований по охране окружающей среды и др.
5.2 Конструкцию причального сооружения следует выбирать исходя из технико-экономической целесообразности ее применения в конкретных условиях строительства на основе сопоставления вариантов.
5.3 При выборе варианта конструкций следует учитывать:
- расход основных строительных материалов (металла, цемента, лесоматериалов);
- наличие местных строительных материалов;
- трудоемкость производства работ;
- технологическое оборудование и механизмы, необходимые для строительства;
- наличие трудовых ресурсов;
- требования к долговечности сооружений;
- технико-эксплуатационные показатели.
5.4 Конструкции причальных сооружений и основные условия их применения приведены в таблице 5.1.
Таблица 5.1 - Конструкции причальных сооружений и основные условия их применения
|
Тип сооружения |
Основные условия применения |
|
Причальные сооружения гравитационного типа |
Наличие в основании скальных, плотных или средней плотности грунтов, а также на слабых грунтах с мероприятиями, предотвращающими неравномерную осадку сооружения |
|
1 Причальные сооружения: | |
|
а) из обыкновенных бетонных массивов (рисунок 5.1, а) б) из пустотелых бетонных массивов (рисунок 5.1, б) |
Высота причальной стенки до 18, 0 м, для любых климатических условий, в районах с сейсмичностью до 7 баллов |
|
в) из массивов-гигантов |
Высота причальной стенки до 18, 0 м, для любых климатических условий, в районах с сейсмичностью до 7 баллов |
|
2 Уголковые набережные (рисунок 5.1, в, г) |
Высота причальной стенки до 18, 0 м, в районах с сейсмичностью до 7 баллов, для любых условий, кроме акваторий с толщиной льда более 0, 6 м |
|
3 Из железобетонных оболочек большого диаметра (рисунок 5.1, д) |
Высота причальной стенки до 25, 0 м, для любых климатических условий, а также в сейсмических районах |
|
4 Причальные сооружения ячеистой конструкции из металлического шпунта |
Высота причальной стенки до 20, 0 м, для любых климатических условий, а также в районах с сейсмичностью до 7 баллов |
|
Причальные сооружения типа больверк: |
Грунты основания, допускающие погружение шпунта и свай, для любых климатических условий, а также в районах с сейсмичностью до 7 баллов |
|
1 Незаанкеренный больверк (рисунок 5.1, е) |
Высота причальной стенки до 5, 0-8, 0 м в зависимости от конструкций стенки |
|
2 Заанкеренный больверк (рисунок 5.1, ж, и) |
Высота причальной стенки до 18, 0 м |
|
3 Экранированный больверк (рисунок. 5.1, к) Причальные сооружения эстакадного типа; |
Высота причальной стенки до 25 м Грунты основания, допускающие погружение свай |
|
1 Набережные и пирсы эстакадного типа: | |
|
а) на призматических железобетонных сваях (рисунок 5.2, а, в, г, е, рисунок 5.3, в), |
Высота сооружения до 15, 0 м, для любых климатических условий в районах с сейсмичностью до 7 баллов, кроме акваторий с толщиной льда более 0, 25 м |
|
б) на трубчатых железобетонных сваях (рисунок 5.2, б, д) |
Высота сооружения до 18, 0 м, для любых климатических условий в районах с сейсмичностью до 7 баллов, кроме акваторий с толщиной льда более 0, 4 м |
|
в) на трубчатых металлических сваях (рисунок 5.2, б) |
Высота сооружения до 30, 0 м, для любых климатических условий, а также в районах с сейсмичностью до 7 баллов |
|
2 Пирсы мостового типа с опорами: | |
|
а) гравитационного типа (рисунок 5.3, в), в том числе: |
Наличие в основании скальных, плотных или средней плотности грунтов |
|
- из кладки массивов |
Высота причальной стенки до 18, 0 м, для любых климатических условий, в районах с сейсмичностью до 7 баллов |
|
- из железобетонных оболочек большого диаметра (рисунок 5.3, в), |
Высота причальной стенки до 25, 0 м, для любых климатических условий, а также в районах с сейсмичностью до 7 баллов |
|
б) из трубчатых металлических свай (рисунок 5.3, б) |
Высота сооружения до 30, 0 м, для любых грунтов, допускающих погружение свай, а также в районах с сейсмичностью до 7 баллов |
|
Палы: | |
|
1 Швартовные | |
|
а) на железобетонных сваях-оболочках (рисунок 5.4, б) |
Высота сооружения до 18, 0 м для любых климатических условий, кроме районов с сейсмичностью выше 8 баллов |
|
б) на металлических сваях (рисунок 5.4, в) 2 Отбойные (рисунок 5.4, б) |
Высота сооружения до 30, 0 м для любых климатических условий, кроме сейсмических районов |
5.5 При выборе конструкций причальных сооружений необходимо учитывать следующие дополнительные требования:
- в акваториях с неблагоприятным волновым режимом при отсутствии ледовых воздействий следует рассматривать в первую очередь конструкции эстакадного типа с подпричальным откосом и, при необходимости, с волногасящими устройствами;
- в условиях придонных течений, размывающих дно, следует проектировать свайные конструкции причальных сооружений (больверк, эстакады). При этом необходимо либо выполнять расчет прогнозируемого значения размыва дна в целях учета этого явления при проектировании, либо укреплять дно для предотвращения его размыва у причального сооружения;
- при неблагоприятных ледовых условиях и истирающих воздействиях ледовых полей следует применять сооружения распорного типа в виде больверков или гравитационных конструкций. Для узких пирсов, предназначенных для приема крупнотоннажных судов, следует применять эстакадные и мостовые конструкции на трубчатых стальных сваях;
- следует отдавать предпочтение конструкциям, предусматривающим наименьший объем трудоемких подводно-технических работ.
5.6 При проектировании причальных сооружений следует использовать типовые либо применявшиеся ранее проектные решения с высокими технико-экономическими показателями. При разработке принципиально новых конструкций следует ориентироваться на передовые технологии производства строительных и монтажных работ.
5.7 Рекомендуется предусматривать установку на причале контрольно-измерительной аппаратуры





6.1 Длина причалов, причальных частей пирсов, глубина у причальных сооружений и возвышение отметки кордона приведены в [15].
6.2 Конструкцию причальных сооружений (подводную часть, надстройку или верхнее строение) следует разделять по длине на отдельные секции вертикальными осадочными и температурными швами. Длину секций причальных сооружений следует принимать в зависимости от действующих нагрузок и температурных воздействий, свойств грунтов основания и типа конструкции, но, как правило, не более 50 м.
Расстояния между температурно-усадочными швами (длина секции) следует устанавливать расчетом.
6.3 Расположение вдоль причального фронта швартовных тумб и нагрузки на них следует определять с учетом СП 38.13330.
Швартовные тумбы следует размещать по осям секции причального сооружения, нормальным к линии кордона, или симметрично этим осям. Конструкцию швартовных тумб следует принимать по ГОСТ 17424. Тыловые швартовные устройства, не связанные с конструкцией причального сооружения, допускается принимать специальной конструкции, не предусмотренной ГОСТ 17424.
В причальных сооружениях мостового типа швартовные тумбы следует располагать на опорах.
По эксплуатационным соображениям в крайних секциях причальных сооружений рекомендуется устанавливать дополнительные швартовные тумбы, по возможности, ближе к оконечности причального сооружения.
Тумбовые массивы следует бетонировать на месте. Допускается закрепление тумб на сборных элементах верхнего строения. Для заанкеренных шпунтовых и уголковых стенок следует проектировать тумбовые узлы с усиленной или дополнительной анкеровкой.
6.4 Причальные сооружения следует оборудовать отбойными устройствами, амортизирующими ударные воздействия от судов. Вынос отбойных устройств относительно лицевой грани верхнего строения должен обеспечивать нормальную стоянку судна у причала при минимальном зазоре в пределах 5% - 15% высоты недеформированного отбойного устройства между подводной частью корпуса судна и выступающими частями сооружения или подпричального откоса с учетом возможности обжатия отбойных устройств и крена судна, допускаемого указаниями [15].
6.5 Анкерные тяги следует крепить к лицевым панелям или стенкам выше строительного уровня воды для проведения монтажных работ насухо. Понижение отметки крепления тяг допускается при специальном обосновании в каждом конкретном случае.
Примечание - В качестве расчетного строительного уровня воды следует принимать средний многолетний приливной уровень моря по 3.4.
6.6 Анкерные тяги тумбовых массивов во всех случаях, когда это допустимо по условию прочности или трещиностойкости конструкции лицевой стенки, рекомендуется закреплять на одном уровне с рядовой анкеровкой. При этом диаметр тумбовых тяг следует принимать равным диаметру рядовых анкерных тяг, допуская уменьшение шага анкеров в местах расположения тумбовых массивов.
Допускается закреплять анкерные тяги в тумбовом массиве выше уровня крепления рядовых тяг.
Допускается в местах тумбовых массивов вместо постановки дополнительных тумбовых тяг увеличивать диаметр тяг по сравнению с диаметром рядовых анкерных тяг.
6.7 Анкерные тяги следует выполнять, как правило, из стали круглого сечения, составляя их из звеньев. Звенья между собой следует соединять одним из следующих способов:
а) контактной сваркой в заводских условиях;
б) ванной сваркой;
в) сваркой с накладками цилиндрической формы;
г) муфтами.
Нарезные концы звеньев (шпильки) под гаечное крепление или на муфтах следует выполнять из круглой стали большего диаметра, чем диаметр основных звеньев, и приваривать их к последним одним из указанных выше способов.
При определении диаметра шпильки следует исходить из того, что диаметр внутренней резьбы шпильки должен быть не менее диаметра основного ствола тяги.
Допускается применять анкерные тяги из тросов с диаметром проволоки не менее 5 мм при условии их предварительного напряжения до 50% расчетного усилия в анкерной тяге и соответствующей гидроизоляции.
6.8 В конструкциях с тягами, закрепленными за анкерные опоры, следует предусматривать конструктивные мероприятия, исключающие провисание анкерных тяг.
6.9 Для предотвращения размыва дна перед сооружением от действия волнения, течений и движителей судов следует предусматривать на полосе вдоль сооружения защиту основания. Конструктивно решение защиты основания определяется расчетом согласно требованиям СП 38.13330.
6.10 Конструкция неомоноличенных швов между элементами лицевой стенки причального сооружения должна обеспечивать грунтонепроницаемость и не должна создавать подпора грунтовых вод.
В тех случаях, когда конструкция сооружения создает препятствие для движения грунтовых вод в сторону акватории, следует устраивать дренажи по всей длине причального фронта, сходящиеся к водопропускным отверстиям в лицевых стенках, приведенные в приложении В.
6.11 Обратные фильтры следует устраивать для разгрузочных каменных призм, грунтопроницаемых швов уплотнения, дренажей, каменных постелей, креплений подпричальных откосов и при отсыпке песчаного грунта поверх засыпки из крупнообломочного материала:
- из щебня, гравия и песка - многослойные или однослойные из смесей с подбором фракций и толщины слоя. При этом следует учитывать механический состав грунта засыпки, волновой режим акватории, наличие приливо-отливных колебаний, их амплитуду;
- из нетканых синтетических материалов (фильтрующих полотнищ).
Примечания
1 При наличии в основании постели крупнозернистых грунтов обратные фильтры можно не устраивать, за исключением случаев, когда из-за волновых воздействий возможен вымыв грунта из-под постели.
2 Обратные фильтры из нетканых материалов под каменными постелями допускается применять при условии обеспечения заданного расчетом коэффициента трения между полотнищем и грунтом основания.
6.12 При обратной засыпке пазух причальных сооружений в пределах глубины заложения подземных коммуникаций следует применять грунты согласно 4.37.
При наличии в составе конструкции причала анкерных тяг указанные требования к материалам, за исключением камня, распространяются на верхний слой обратной засыпки, начиная с отметки заложения тяг.
6.13 В случае применения конструкций с замкнутыми полостями в зоне возможного льдообразования последние следует заполнять бетоном, асфальтобетоном, водоотталкивающим или другим материалом, эффективность применения которого проверена опытом эксплуатации.
Примечания
1 Требования настоящего пункта не распространяются на ячеистые конструкции из стального шпунта.
2 В необходимых случаях следует предусматривать теплогидроизоляционную защиту бетона-наполнителя, как указано в [10].
6.14 Толщину железобетонных элементов конструкций сооружения следует определять расчетом. В целях обеспечения долговечности для основных конструктивных элементов она должна быть не менее значений, указанных в таблице 6.1.
Таблица 6.1 - Толщина железобетонных элементов конструкций сооружения
|
Элемент конструкции |
Минимальная толщина, мм |
|
1 Железобетонные предварительно напряженные элементы верхнего строения эстакад, лицевые панели уголковых стенок, шпунтовые плоские сваи |
150 |
|
2 То же, без предварительного напряжения и напряженные в особых условиях (воздействие агрессивных сред или ледовых нагрузок) |
200 |
|
3 Сваи-оболочки диаметром 1000 мм и более из предварительно напряженного железобетона |
120 |
|
4 То же, без предварительного напряжения и напряженные в особых условиях (воздействие агрессивных сред или ледовых нагрузок) |
150 |
6.15 Толщину защитного слоя бетона в железобетонных элементах следует принимать.
- для рабочей стержневой арматуры - не менее 60 мм;
- для распределительной арматуры и хомутов - не менее 40 мм.
Для рабочей стержневой арматуры, расположенной у поверхностей железобетонных элементов, соприкасающихся с грунтовой засыпкой, а также для рабочей стержневой арматуры центрифугированных железобетонных элементов наименьшая толщина защитного слоя может быть снижена до 40 мм.
6.16 Для повышения долговечности бетонных и железобетонных конструкций и их элементов следует применять:
а) преимущественно предварительно напряженные конструкции;
б) в особых условиях эксплуатации - напряженно армированные конструкции с обжатием бетона, не допускающим возникновения в нем растягивающих напряжений при воздействии постоянных и длительно действующих временных нагрузок;
в) бетонные и железобетонные конструкции с ограниченными сжимающими напряжениями в бетоне в соответствии с указаниями [10].
г) конструктивные элементы с наименьшим отношением поверхности, подвергающейся агрессивным воздействиям, к объему;
д) стационарные или съемные защитные пояса или обоймы из материалов повышенной коррозионной стойкости и/или устойчивых против истирания;
е) защитные козырьки - для эстакадных конструкций, ледозащитные пояса - для ячеек,
6.17 Элементы сборных железобетонных конструкций следует укрупнять исходя из условий технико-экономической целесообразности в пределах, допускаемых условиями изготовления, транспортирования и монтажа.
При транспортировании элементов конструкций по железной дороге габариты элемента должны соответствовать требованиям ГОСТ 9238.
В проекте следует рассматривать возможность перевозки сборных железобетонных элементов в вертикальном положении с использованием специальных кассет.
В случаях, когда это допускается условиями подъема и транспортирования, следует предусматривать укрупнение элементов, изготовляемых заводским способом, путем предварительной сборки и омоноличивания на припостроечных площадках до установки в сооружение.
6.18 Габаритные размеры сборных железобетонных элементов следует назначать из условия сокращения их типоразмеров, определяемых технико-экономическими расчетами и сопоставлениями, с учетом требований унификации как непосредственно элементов, так и оборудования для их изготовления.
6.19 В сборных железобетонных элементах в соответствии с конструктивно-компоновочной и монтажной схемами сооружения следует предусматривать установку закладных деталей или арматурных выпусков, обеспечивающих надежное крепление:
а) стационарного технологического оборудования, подкрановых рельсов и т.п.;
б) элементов между собой при монтаже и эксплуатации;
в) металлических анкерных тяг;
г) отбойных и швартовных устройств, стремянок;
д) конструкций перекрытия стыков, не связанных между собой элементов вертикальной стенки;
е) вибропогружателя;
ж) захватных устройств для подъема элементов при транспортировании и монтаже.
Для устройства в сборных элементах монтажных отверстий для пропуска болтов, рымов, анкерных тяг и т.п. необходимо предусматривать установку закладных деталей в виде трубок и коробок.
6.20 Для подъема сборных элементов конструкций в них следует предусматривать захватные устройства в виде стационарных петель из арматурных стержней (см. 4.23), а также отверстий и закладных частей для ключей.
Схему расположения захватных устройств следует назначать таким образом, чтобы усилия в сечениях рабочих элементов в процессе транспортирования и монтажа были меньше, чем при эксплуатации.
6.21 Омоноличивание стыков железобетонных элементов сборных конструкций следует выполнять в соответствии с указаниями СП 70.13330.
6.22 Петлевые стыки рекомендуется выполнять из гладких круглых стальных стержней арматуры класса A-I (А240) с диаметром петель не менее 5ds (ds - диаметр стержня). В пределах стыка поперек петлевых стержней следует укладывать не менее шести стержней. В петлевых стыках, работающих на изгиб, в пределах ядра на петле должен быть прямой участок длиной, равной диаметру закругления.
Допускается изготовлять петлевые стыки из арматуры периодического профиля с диаметром перегиба стержней не менее 8d.
Диаметр оправки для арматуры допускается устанавливать в соответствии с техническими условиями на конкретный вид арматуры.
6.23 При соединении арматуры с использованием сварки выбор типов сварного соединения и способов сварки следует проводить с учетом условий эксплуатации конструкций, свариваемости стали и требований по технологии изготовления в соответствии с ГОСТ 14098 и СП 63.13330.
В проектах следует указывать, что технология сварки элементов должна соответствовать СП 70.13330, а качество сварных арматурных изделий и соединений - ГОСТ 10922.
6.24 При изготовлении предварительно напряженных свай-оболочек с применением арматуры, упрочненной вытяжкой, класса А-IIIв звенья свай-оболочек следует армировать цельными стержнями с приваренными по концам контактной сваркой наконечниками большего диаметра. В проекте необходимо указать, что арматуру следует упрочнять вытяжкой до натяжения после приварки наконечников и что длина и диаметр наконечников, а также режим сварки при креплении в натянутом состоянии арматуры (наконечников) к обечайке свай-оболочек должны исключать перегрев стали, снимающий в теле основного стержня упрочнения вытяжкой.
6.25 Для предотвращения повреждения верхнего торца свай при вибропогружении или забивке следует предусматривать косвенное армирование поперечными сварными арматурными сетками, установленными с шагом не менее 50 мм от торца элемента и друг от друга. Число сеток определяется расчетом и должно быть не менее пяти.
Поперечное армирование на концевых участках длиной 1, 0 м железобетонных свай следует выполнять в соответствии с требованиями СП 63.13330 к элементам с косвенным армированием, работающим на внецентренное сжатие. В средней части свай шаг поперечной арматуры принимать из расчета по прочности или конструктивно, но не более 200 мм.
6.26 Основание крановых и железнодорожных путей, располагаемых на причальном сооружении, принимается в зависимости от конструкции последнего.
Крановые и железнодорожные рельсы при размещении на верхнем строении причальных сооружений эстакадного безбалластного типа следует крепить к верхнему строению ростверка.
Крановые пути, размещаемые на засыпке, следует, как правило, устраивать на свайном основании во всех случаях, когда это практически возможно, а железнодорожные - на шпальном основании.
Рекомендуется конструкция кранового пути, при которой рельс с закрепленными шпалами (балочного или плиточного типа) устанавливается в железобетонное корыто на слой щебня мелких фракций из изверженных пород с высокой маркой по прочности, что позволяет проводить в короткое время рихтовку пути за счет подсыпки и выравнивания балластного щебня в корыте под секцией рельса, поднятой портальным краном.
6.27 Возвышение головки рельсов над поверхностью территории приведено в [15].
Укладка рельсов крановых путей приведена в [19].
6.28 При устройстве крановых путей на железобетонных балках следует предусматривать меры по предупреждению смещения балок в период эксплуатации.
На слабых грунтовых основаниях допускается предусматривать жесткие поперечные связи между балками крановых путей.
6.29 Прикордонная полоса территории должна иметь цементобетонное, асфальтобетонное или железобетонное покрытие. При устройстве покрытия на насыпи следует до стабилизации осадки грунта засыпки применять временные типы покрытий.
6.30 Причальные сооружения следует оборудовать вдоль кордона охранными съемными или стационарными колесоотбойными брусьями высотой не менее 250 мм. Последние необходимо выделять, оклеивая цветной пленкой или окрашивая.
6.31 Стремянки на причальных сооружениях выполняют из стального проката - уголков и стержней круглого сечения. Ширину стремянки принимают не менее 400 мм, расстояние между ступенями - 250-300 мм, расстояние от стенки - не менее 150 мм. Стремянки устанавливают в углублениях заподлицо с лицевой поверхностью стенки.
6.32 Методы обеспечения безопасности при строительстве и реконструкции причальных сооружений приведены в [20] и [21].
7.1 Причальные сооружения в зависимости от их высоты и типа грунтов основания, социально-экономической ответственности и условий эксплуатации подразделяются на классы согласно 4.9.
7.2 Обеспечение надежности системы "сооружение - основание" должно обосновываться результатами расчетов по методу предельных состояний их прочности, устойчивости, деформаций и смещений.
Расчеты морских причальных сооружений, а также их конструктивных элементов и оснований следует выполнять в соответствии с требованиями ГОСТ 27751 по двум группам предельных состояний:
- первая группа - потеря несущей способности и/или полная непригодность к эксплуатации конструкций или оснований;
- вторая группа - непригодность к нормальной эксплуатации.
Примечание - Под нормальной эксплуатацией подразумевается эксплуатация (без ограничений) в соответствии с предусмотренными в нормативных документах или задании на проектирование технологическими или иными условиями.
7.3 При проектировании морских причальных сооружений необходимо выполнять следующие расчеты.
По первой группе предельных состояний (по несущей способности) проводятся расчеты прочности и устойчивости:
а) общая устойчивость сооружений и подпричальных откосов в соответствии с СП 23.13330 и разделом 9;
б) устойчивость по схеме плоского сдвига;
в) устойчивость на опрокидывание (поворот) вокруг ребра вращения для причальных сооружений гравитационного типа - в соответствии с СП 23.13330.
В случаях, когда по основанию гравитационной стенки или по швам массивовой кладки обеспечено приложение равнодействующей нагрузок в пределах ядра сечения, расчет на опрокидывание вокруг ребра вращения не проводят;
г) устойчивость на поворот лицевой стенки больверков относительно точки крепления анкера при свободном опирании низа стенки или частичном ее защемлении - в соответствии с указаниями раздела 11;
д) устойчивость массива грунта, находящегося перед анкерными стенками или анкерными плитами и обеспечивающего анкерное крепление конструкции, - в соответствии с требованиями раздела 11;
е) несущая способность (прочность) конструктивных элементов причальных сооружений и их оснований - в соответствии с требованиями настоящего свода правил, а также с указаниями СП 16.13330, СП 22.13330, СП 23.13330, СП 41.13330, СП 63.13330 и СП 64.13330;
ж) устойчивость формы конструкции;
и) несущая способность свай и свай-оболочек на воздействие вертикальных и горизонтальных нагрузок - в соответствии с требованиями СП 24.13330 и настоящего свода правил;
к) конструкции на температурные и влажностные воздействия (на влияние внешней среды) - в соответствии с СП 41.13330.
По второй группе предельных состояний (по деформациям и трещиностойкости) рассчитываются:
л) вертикальные осадки, горизонтальные перемещения и углы поворота - в соответствии с СП 23.13330; допускаемые прогибы пролетных строений железобетонных конструкций - в соответствии с СП 41.13330, а стальных конструкций - по СП 16.13330 и СП 35.13330;
м) железобетонные конструкции по образованию трещин - в соответствии с СП 63.13330;
н) железобетонные конструкции по раскрытию и закрытию (зажатию) нормальных и наклонных трещин - в соответствии с СП 63.13330 и СП 41.13330.
Примечание - Кроме указанных расчетов в необходимых случаях следует выполнить гидравлические, фильтрационные, термические и температурные расчеты, предусмотренные соответствующими нормативными документами на проектирование конструкций и сооружений.
Расчеты конструкций причальных сооружений и их оснований по второй группе предельных состояний (по деформациям, перемещениям) допускается не проводить в тех случаях, когда практикой длительной эксплуатации сооружений в сходных условиях установлено, что возникающие деформации не являются опасными для условий нормальной эксплуатации сооружений (например, расчет гравитационных причальных сооружений по осадкам допускается не выполнять, но требуется проверка положения равнодействующей нагрузок относительно ядра сечения основания).
7.4 Расчет несущих конструкций причальных сооружений следует проводить на нагрузки, действующие в период строительства, эксплуатации и ремонта сооружений.
При расчетах гидротехнических сооружений, их конструкций и оснований в соответствии с требованиями СП 58.13330 необходимо соблюдать следующее условие, обеспечивающее недопущение наступления предельных состояний:
, (7.1)
где γlc- коэффициент сочетания нагрузок,
F - расчетное значение обобщенного силового воздействия (сила, момент, напряжение), деформации или другого параметра, по которому проводится оценка предельного состояния, определенное с учетом коэффициента надежности по нагрузке γf;
γc - коэффициент условий работы, учитывающий тип сооружения, конструкции или основания, вид материала;
γn - коэффициент надежности по ответственности сооружения в зависимости от его класса;
R - расчетное значение обобщенной несущей способности, деформации или другого параметра (при расчетах по первой группе предельных состояний - расчетное значение, при расчетах по второй группе предельных состояний - нормативное значение), устанавливаемого нормативными документами на проектирование отдельных видов гидротехнических сооружений, определенное с учетом коэффициентов надежности по материалу γm или грунту γg и условий работы γc.
Коэффициенты сочетаний нагрузок, надежности и условий работы принимают по таблице 7.1
Таблица 7.1 - Коэффициенты сочетания нагрузок, надежности и условий работы
|
Наименование коэффициента |
Первая группа предельных состояний во времени |
Вторая группа предельных состояний во времени | ||||
|
строительства и ремонта |
эксплуатации при сочетании нагрузок и воздействий |
строительства и ремонта |
эксплуатации при сочетании нагрузок и воздействий | |||
|
основном |
особом |
основном |
особом | |||
|
Коэффициент сочетания нагрузок γlc |
0, 95 |
1, 00 |
0, 95*(1) 0, 90*(2) 0, 85*(3) |
1, 00 | ||
|
Коэффициент надежности по ответственности сооружения, принимаемый для класса сооружений, γn: |
1, 00*(4) | |||||
|
I |
1, 25 | |||||
|
II |
1, 20 | |||||
|
III |
1, 15 | |||||
|
IV |
1, 10 | |||||
|
Коэффициент надежности по нагрузке γf |
СП 58.13330 и СП 20.13330 |
1, 00*(5) | ||||
|
Коэффициент надежности по материалу γm |
Устанавливаются нормативными документами на проектирование отдельных конструкций и оснований |
1, 00*(5) | ||||
|
Коэффициент надежности по грунту γg | ||||||
|
Коэффициент условий работы γc |
- Для причальных и берегоукрепительных сооружений - 1, 15; - для анкерных тяг - 1, 00; - для откосов - 1, 00 | |||||
|
*(1) При особой нагрузке, в том числе сейсмической на уровне проектного землетрясения (ПЗ) годовой вероятностью 0, 01 и менее. Учет сейсмических воздействий следует выполнять по СП 14.13330. *(2) При особой нагрузке, кроме сейсмической, годовой вероятностью 0, 001 и менее. *(3) При сейсмической нагрузке уровня максимального расчетного землетрясения. *(4) При расчете устойчивости естественных склонов значение коэффициента следует принимать как для сооружения, которое может прийти в непригодное для эксплуатации состояние в случае разрушения склона, а в остальных случаях - 1, 00. *(5) За исключением случаев, которые установлены нормативными документами на проектирование отдельных видов причальных сооружений, конструкций и оснований. | ||||||
7.5 При расчете причальных сооружений следует принимать расчетные значения действующих эксплуатационных нагрузок, которые определяются умножением нормативного значения нагрузки на соответствующий коэффициент надежности по нагрузке γf.
Значения нагрузок следует определять в соответствии с указаниями СП 58.13330, СП 38.13330, СП 20.13330, раздела 8 и как указано в [15].
7.6 Расчеты причальных сооружений, их конструкций и оснований по предельным состояниям второй группы следует проводить с коэффициентом надежности по нагрузке γf, а также с коэффициентами надежности по материалам γm и грунта γg, равными 1, 0.
7.7 При расчете причальных сооружений в соответствии с указаниями СП 23.13330 следует принимать расчетные значения характеристик грунтов φ и c:
- по первой группе предельных состояний - φI и cI;
- по второй группе предельных состояний - φII и cII (φ- угол внутреннего трения грунта; с - сцепление).
Указанные характеристики следует принимать по материалам инженерно-геологических изысканий и исследований грунтов, выполненных в соответствии с требованиями СП 23.13330 и ГОСТ 20522.
8.1 Нагрузки и воздействия на причальные сооружения подразделяются на постоянные, временные (длительные, кратковременные) и особые.
Перечень нагрузок и воздействий на гидротехнические сооружения приведен в СП 58.13330.
При расчетах причальных сооружений необходимо учитывать следующие нагрузки и воздействия:
а) постоянные нагрузки и воздействия:
- собственный вес элементов сооружения;
- вес постоянного технологического оборудования (складов, эстакад и др.), месторасположение которого на сооружении не меняется в процессе эксплуатации;
- вес грунта;
- боковое давление грунта с учетом постоянных нагрузок, расположенных на его поверхности;
- нагрузки от предварительного напряжения конструкций;
б) временные длительные нагрузки и воздействия:
- нагрузки от перегрузочных и транспортных средств и складируемых грузов, а также другие нагрузки, связанные с эксплуатацией сооружения;
- боковое давление грунта от временных нагрузок на территории причала;
- фильтрационное давление воды (в том числе гидростатическое) при нормальной работе дренажных устройств;
- воздействия неравномерных деформаций основания, не сопровождающихся изменением структуры грунта;
- воздействия усадки и ползучести материалов и грунтов основания;
- ветровые и снеговые нагрузки;
в) кратковременные нагрузки и воздействия:
- нагрузки от воздействия волн и течений;
- нагрузки от воздействия льда (ледяного покрова, торосов и т.п.);
- нагрузки от судов (вес, навал, швартовные и ударные);
- нагрузки, действующие в строительный период;
- температурно-климатические воздействия;
г) особые нагрузки и воздействия:
- дополнительное фильтрационное давление воды при нарушении нормальной работы противофильтрационных и дренажных устройств;
- сейсмические нагрузки;
- динамические нагрузки от взрывов;
- воздействия неравномерных деформаций основания, сопровождающихся изменением структуры и свойств грунта;
- гидродинамическое и взвешивающее воздействия, обусловленные цунами и тайфунами.
Нагрузки и воздействия, подлежащие учету при расчетах отдельных видов причальных сооружений, их конструкций и оснований, следует принимать по СП 20.13330, СП 38.13330 и настоящему своду правил.
8.2 Причальные сооружения следует рассчитывать на основные и особые сочетания нагрузок:
- основное сочетание включает в себя постоянные, временные длительные нагрузки и воздействия и возможные кратковременные нагрузки;
- особое сочетание включает в себя постоянные, временные длительные нагрузки и воздействия, возможные кратковременные и одну из возможных особых нагрузок.
Для основных сочетаний необходимо использовать значения коэффициентов сочетаний кратковременных нагрузок в соответствии с СП 20.13330.
Нагрузки и воздействия следует принимать в наиболее неблагоприятных, но реальных для рассматриваемого случая сочетаниях отдельно для строительного и эксплуатационного периодов и расчетного ремонтного случая.
Любая временная нагрузка не вводится в расчетное сочетание, если она улучшает работу сооружения.
Сочетания нагрузок в период строительства и ремонта следует назначать с учетом принятой технологии производства работ (состава, последовательности и режимов выполнения технологических операций).
При расчете конструкций причальных сооружений и их оснований на особое сочетание сейсмических нагрузок следует учитывать требования СП 14.13330.
8.3 Вес элементов сооружения определяется их геометрическими размерами и удельным весом материалов с учетом влажности (влагосодержания).
8.4 Вес грунта определяется толщиной слоя и удельным весом грунта с учетом влажности.
Удельный вес грунта в зависимости от зоны его расположения и влажности определяется:
- выше расчетного уровня воды для состояния естественной влажности по данным инженерно-геологических изысканий;
- под водой с учетом полного взвешивания по формуле
, (8.1)
где γs - удельный вес частиц грунта, кН/м3;
γw - удельный вес воды, кН/м3;
е - коэффициент пористости в естественном состоянии.
При наличии обоснованных данных допускается вводить частичное взвешивание в зоне ниже уровня дна для глинистых грунтов ограниченной влажности при отсутствии в них фильтрующих прослоек и линз.
Вес грунта засыпки пазух, каменной, щебеночной или гравийной постели определяется в зависимости от заданной плотности и влажности.
8.5 Давление грунта принимается действующим на расчетную плоскость.
Рекомендации по определению положения расчетной плоскости приведены в разделах 10-14.
8.6 Усилие (нагрузки) предварительного обжатия и эксцентриситет его приложения относительно центра тяжести приведенного сечения следует определять в соответствии с СП 41.13330.
8.7 Нагрузки на территории причала от перегрузочных и транспортных средств, а также от складируемых грузов определяются проектом технологии производства погрузочно-разгрузочных работ с учетом [15].
Нагрузки от кранов и железнодорожных составов следует принимать равномерно распределенными как вдоль пути, так и по ширине подкрановых балок или длине шпал.
Для распорных конструкций сосредоточенную нагрузку Fк от кранов допускается заменять эквивалентной равномерно распределенной нагрузкой qэ (рисунок 8.1, а).
При этом следует учитывать нагрузку только от прикордонной опоры крана, принимая нагрузку от тыловой опоры равной равномерно распределенной от складирования грузов в этой зоне.
Эквивалентную равномерно распределенную нагрузку qэ по ширине подкрановых балок или длине шпалы допускается определять по формуле
, (8.2)
где Fк - максимальная нагрузка от группы сосредоточенных сил при эксплуатации одиночных или сближенных кранов, возможная по технологическим условиям их работы, кН; Fк=∑Fкi;
b - ширина подкрановой балки или длина шпалы, м;
l - длина полосы распределения нагрузки Fк вдоль линии кордона причала, м, определяемая в соответствии со схемами, приведенными на рисунке 8.1, б, в.
Для одиночной опоры крана (рисунок 8.1, б)
l=lк+2htgφ+1, (8.3)
где lк - база тележки, м;
φ- угол внутреннего трения грунта засыпки, град;
h - зона распределения нагрузки Fк, м;
h=a ctg(45°-0, 5φ), (8.4)
здесь а - расстояние от линии кордона до оси подкранового пути, м.

Для сближенных опор кранов (рисунок 8.1, в), когда aк<2h tgφ+1,
l=lк1+lк2+2h tgφ+aк+1, (8.5)
где aк - расстояние между тележками, м.
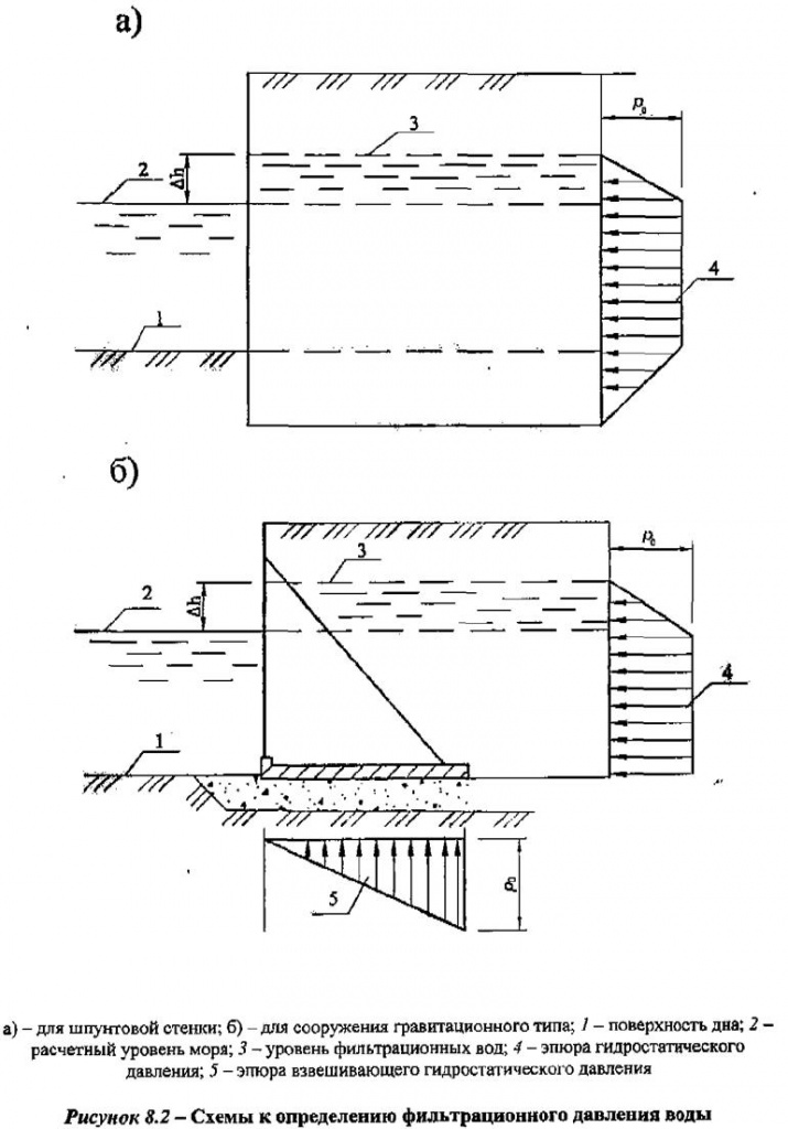
8.8 Эпюра нагрузок от фильтрационного давления воды определяется построением в зависимости от типа сооружения (рисунок 8.2 а, б).
Максимальная ордината рф эпюры нагрузок определяется по формуле
рф=γwΔh, (8.6)
где Δh - разность уровней за и перед сооружением, м.
Нулевая ордината р0 эпюры нагрузок принимается для шпунтовых стенок на уровне подошвы стенки, для сплошного свайного ряда - на уровне подошвы уплотняющих (омоноличивающих) швы устройств.
Фильтрационное давление воды не учитывается при устройстве дренажных систем, исключающих образование подпора, или в сооружениях, имеющих в основании каменную или щебеночную постель.
При значительном и интенсивном понижении уровня воды в акватории и малой проницаемости основания при определении веса грунта в зоне понижения следует принимать удельный вес грунта, как для грунта с учетом заполнения пор водой.
8.9 Влияние воздействия неравномерных деформаций следует учитывать при выборе расчетных схем причальных сооружений.
8.10 Волновые нагрузки следует определять в соответствии с требованиями СП 38.13330.
Нагрузку от волнового воздействия допускается не учитывать при высоте исходной волны у сооружения менее 1 м.
При этом интенсивность волнового давления (интерферированной, скользящей, косоподходящей волны) при подходе ложбины волны к стенке, учитывая скорость колебания уровня за сооружением, допускается определять с коэффициентом уменьшения 0, 5.
8.11 При расчете причальных сооружений необходимо учитывать следующие ледовые нагрузки:
- от ледяных полей;
- сплошного ледяного покрова при его температурном расширении;
- торосов, заторов, зажоров;
- примерзшего к сооружению ледяного покрова при изменении уровня воды.
Ледовые нагрузки следует определять с учетом требований СП 38.13330.
Нагрузки от примерзшего к сооружению ледяного покрова при изменении уровня воды допускается учитывать при расчете сооружений только в особо суровых природно-климатических условиях при специальном обосновании.
8.12 Нагрузки от судов следует определять в соответствии с требованиями СП 38.13330.
При этом следует учитывать:
- нагрузки от навала судна при подходе к сооружению;
- нагрузки от навала пришвартованного судна;
- нагрузки от натяжения швартовов.
8.13 Нагрузки, действующие в строительный период, следует определять в каждом конкретном случае отдельно в зависимости от методов, технологий и последовательности производства работ, типов подъемно-транспортного оборудования и т.д.
8.14 Нагрузки, вызванные изменением температуры, следует учитывать при расчете отдельных элементов конструкций причальных сооружений, возводимых в особо суровых природно-климатических условиях.
Изменение средних температур и перепады в теплое и холодное времена года для элементов конструкций следует определять на основе теплотехнических расчетов.
8.15 Усадку и ползучесть бетона следует учитывать в соответствии с требованиями СП 41.13330.
8.16 Сейсмические нагрузки следует определять в соответствии с требованиями СП 14.13330 и раздела 16.

8.17 Собственный вес элементов бетонных и железобетонных конструкций при определений усилий, возникающих при их подъеме, транспортировании и монтаже, следует умножать на коэффициент динамичности, определяемый по СП 63.13330, СП 24.13330, принимая при этом коэффициент надежности по нагрузке γf=1, 0.
8.18 Нагрузки от бокового давления грунта следует определять в соответствии с требованиями СП 101.13330.
8.19 При определении реактивного давления грунта, вызванного смещением сооружения, грунт рассматривается как линейно деформируемое основание, характеризуемое модулем деформации En и коэффициентом поперечной деформации грунта v или коэффициентом постели cz.
8.20 Модуль деформации грунта En следует принимать на основании данных лабораторных или полевых исследований в соответствии с требованиями СП 23.13330 и приложением Г.
Коэффициент постели cz принимается линейно возрастающим с глубиной
cz=kz, (8.7)
где k - коэффициент пропорциональности упругих свойств грунта, кН/м4, принимаемый по таблице 8.1;
z - текущая координата по высоте стенки (глубина расположения сечения сваи в грунте), для которой определяется коэффициент постели, по отношению к поверхности грунта, м.
Таблица 8.1 - Коэффициенты пропорциональности упругих свойств грунта
|
Наименование, вид грунта и его характеристика |
k, кН/м4 |
|
Текучепластичные глины и суглинки (0, 75<IL≤1, 00) |
500-2000 |
|
Мягкопластичные глины и суглинки (0, 50<IL≤0, 75), пластичные супеси (0<IL≤1, 00), пылеватые пески (0, 60 < e < 0, 80) |
2000-4000 |
|
Тугопластичные и полутвердые глины и суглинки (0<IL≤0, 50), твердые супеси (IL<0) и мелкие пески (0, 60<e≤0, 75) и средней крупности (0, 55<e≤0, 70) |
4000-6000 |
|
Твердые глины и суглинки (IL<0), крупные пески (0, 55<e≤0, 70) |
6000-10000 |
|
Гравелистые пески (0, 55<e≤0, 70), гравий и галька с песчаным заполнением |
10000-20000 |
|
Примечания 1 Меньшие значения коэффициента k соответствуют более высоким значениям показателя текучести IL глинистых и коэффициентов пористости песчаных грунтов, указанных в скобках, а большие значения коэффициента k - более низким значениям IL и е соответственно. Для грунта с промежуточными значениями характеристик IL и е значения коэффициента k определяются интерполяцией. 2 Коэффициенты k для плотных песков (e≤0, 55) принимают на 30% выше, чем наибольшие значения, указанные для данного вида грунта. 3 Коэффициенты k для насыпных грунтов принимают на 30% ниже, чем указанные в настоящей таблице значения для данного вида грунта. | |
8.21 При расчетах прочности, устойчивости, деформации интенсивность реактивного давления грунта не должна превышать интенсивности пассивного давления грунта.
9.1.1 Расчеты устойчивости системы "сооружение-основание" следует проводить методами, учитывающими все условия равновесия в предельном состоянии. Допускается применять и другие методы расчета, результаты которых проверены опытом проектирования, строительства и эксплуатации сооружений.
9.1.2 Критерием обеспечения устойчивости (несущей способности) системы "сооружение-основание" по СП 23.13330 является выполнение условия
, (9.1)
где γlc, γc, γn - то же, что в 7.4;
F и R - расчетные значения соответственно обобщенных сдвигающих сил и сил предельного сопротивления или моментов сил, стремящихся сдвинуть (повернуть) и удержать систему "сооружение-основание".
9.1.3 При проектировании причальных сооружений следует выполнять расчеты общей устойчивости:
- на плоский сдвиг по каменной постели или вместе с постелью;
- на опрокидывание вокруг переднего ребра;
- на поворот лицевой стенки больверка вокруг точки крепления анкера;
- на сдвиг грунта засыпки ячеистых сооружений по вертикальной плоскости;
- на анкерующую способность массива грунта перед анкерными плитами или стенками;
- по схеме глубинного или смешанного сдвига по профилю поверхности скольжения, ограничивающему область предельного состояния грунта основания, либо по круглоцилиндрическим или ломаным (фиксированным) поверхностям скольжения.
9.1.4 Расчеты общей устойчивости причальных сооружений следует проводить с учетом конкретных характеристик конструкции, грунтов основания и эксплуатационных нагрузок для условий плоской или пространственной задачи.
В условиях плоской задачи расчеты проводят на 1 м длины сооружения, в условиях пространственной задачи - на всю длину сооружения или ограниченного участка.
9.1.5 Расчеты общей устойчивости в условиях пространственной задачи следует выполнять в случаях, когда длина сдвигаемого участка сооружения l меньше 5h (h - высота сооружения от дна до верха стенки).
При решении пространственной задачи к удерживающим силам необходимо добавить силы трения и сцепления, реализованные по торцевым сечениям сдвигаемого объема грунта основания. Значения равнодействующих сил трения при этом допускается определять как произведение равнодействующих горизонтальных составляющих активного давления грунта по указанным сечениям на коэффициент трения tgφ, а сил сцепления - как произведение удельного сцепления на соответствующие площади участков торцевого сечения.
9.1.6 Расчеты устойчивости причальных сооружений на плоский сдвиг, опрокидывание, поворот лицевой стенки больверка вокруг точки крепления анкера, анкерующую способность массива грунта перед анкерными опорами следует выполнять в соответствии с требованиями СП 23.13330 и раздела 13.
Расчеты устойчивости грунта засыпки ячеистых сооружений на сдвиг по вертикальной плоскости выполняются по указаниям раздела 14.
9.1.7 Расчеты устойчивости сооружений на однородных основаниях по схеме глубинного или смешанного сдвига следует проводить методами теории предельного равновесия по СП 23.13330, а на неоднородных основаниях - методами, оперирующими расчлененной на элементы призмой обрушения, сдвигаемой по ломаным фиксированным или круглоцилиндрическим поверхностям сдвига.
9.1.8 Расчеты общей устойчивости на глубинный сдвиг по круглоцилиндрическим или ломаным (фиксированным) поверхностям скольжения, а также по схеме смешанного сдвига, следует выполнять по формуле
, (9.2)
где Mt - сумма моментов сил, вызывающих сдвиг сооружения относительно выбранного центра круглоцилиндрической поверхности, кН·м;
Mr - сумма моментов сил, удерживающих сооружение от сдвига относительно выбранного центра круглоцилиндрической поверхности, кН·м;
γdc - дополнительный коэффициент условий работы, независимый от класса сооружения и работы, принимаемый:
- для причальных сооружений γdc=1, 05 (что соответствует запасу устойчивости 0, 95 по методу Крея-Терцаги для сооружений класса III);
- для откосов γdc=1, 1 (что соответствует запасу устойчивости 1, 05 по методу Крея-Терцаги для сооружений класса III).
9.1.9 При выполнении расчетов на глубинный сдвиг по круглоцилиндрическим и ломаным (фиксированным) поверхностям необходимо учитывать следующее:
- если поверхность скольжения проходит по контакту двух слоев грунта, в расчете следует принять характеристики более слабого слоя;
- в случае расположения в основании рассчитываемого вертикального элемента разнородных грунтов расчет следует выполнять с учетом средневзвешенных характеристик;
- при расположении в пределах сдвигаемой части основания временных нагрузок в виде штабеля навалочного груза поверхность скольжения выше отметки территории причала следует принять по плоскости обрушения штабеля.
9.1.10 При выполнении расчета устойчивости по круглоцилиндрическим поверхностям скольжения графоаналитическим способом ширину вертикальных элементов следует принимать не более 0, 01r (r - радиус поверхности скольжения).
9.2.1 При расчете общей устойчивости на глубинный сдвиг по круглоцилиндрическим поверхностям необходимо рассматривать следующие поверхности скольжения:
- для сооружений типа больверк - проходящие через нижнюю точку лицевой стенки шпунта (рисунок 9.1, а);
- для гравитационных сооружений - проходящие через тыловую грань подошвы стенки или через точку пересечения подошвы постели с линией, проведенной из тыловой грани подошвы стенки под углом 45° от вертикали в сторону берега;
- для сооружений эстакадного типа на оболочках большого диаметра при однородном основании - проходящие по подошве оболочек или в зависимости от конструкции элемента сопряжения эстакады с берегом при гравитационной стенке - через тыловую грань стенки, при заднем шпунте - через нижнюю точку шпунта, при уголковой стенке - через нижнюю тыловую грань стенки или по подошве оболочек, для сооружений с высоким свайным ростверком - проходящие по нижним точкам заднего или переднего шпунтов, а в отдельных случаях - по точке скопления наибольшего числа свай.
9.2.2 При расчете устойчивости сооружений по круглоцилиндрическим поверхностям скольжения временная равномерно распределенная нагрузка на территории причала принимается отодвинутой от линии кордона на расстояние aq (см. рисунок 9.1, а):
aq=rsinφ-a, (9.3)
где r - радиус поверхности скольжения, м;
φ- угол внутреннего трения грунта по поверхности скольжения под прикордонным участком, град;
а - расстояние от вертикали, проведенной от центра поверхности скольжения, до лицевой стенки причала, м.
В случае расположения в основании причалов слабого грунта временная нагрузка на территории причала учитывается полностью, то есть aq=0.
9.2.3 При пересечении поверхностью скольжения элементов конструкции сооружения (свайных или других жестких связей) следует учитывать в расчете силу сопротивления разрушению этих элементов.
9.2.4 Расчет устойчивости причальных сооружений по ломаным (фиксированным) поверхностям скольжения следует выполнять при наличии в основании слабых прослоек грунта.
9.2.5 Необходимо рассмотреть следующие поверхности скольжения:
- в случае расположения в нижней части основания больверка и свайных сооружений слабых грунтов - поверхности АБК, АБВГ, АБДВГ (рисунок 9.1, в); в этом случае необходима также проверка по поверхностям АБСВГ или АБСДВГ (рисунок 9, 1, в);
- для сооружений гравитационного типа в зависимости от расположения слабой прослойки у подошвы стенки - проходящие через точки А, Б, В, Д, Е с выходом к территории причала по слабому слою (рисунок 9.1, г) и А, Б, В, Г, включающие в себя призму обрушения КВГ;
- для опор гравитационного типа и ячеистых палов - проходящие через точки А, Б, В, Г (рисунок 9, 1, д).

9.2.6 При построении ломаных поверхностей скольжения необходимо принимать следующие углы наклона плоскостей;
- перед сооружением типа подпорных стенок - под углом отпора грунта (рисунок 9.1, б, в, г);
- в тыловой части со стороны берега - под углом распора грунта (рисунок 9.1, б, в, г);
- для опор гравитационного типа и ячеистых палов в сторону приложения горизонтальной сосредоточенной нагрузки - под углом отпора грунта, а в противоположную сторону - под углом распора грунта (рисунок 9.1, б, д).
Углы наклона остальных плоскостей, расположенные между призмами отпора и распора, определяются по отметкам нижних точек лицевой стенки больверка и анкерных опор, а в случае гравитационных стенок - по наклону слабых прослоек.
9.2.7 При расчетах устойчивости по ломаным поверхностям скольжения временную равномерно распределенную нагрузку на территории причалов следует принимать от линии кордона.
В случае если угол наклона участка ломаной поверхности скольжения меньше угла внутреннего трения грунта, временная равномерно распределенная нагрузка на этом участке принимается равной нулю.
9.2.8 Сдвигаемый объем грунта, ограниченный возможными поверхностями скольжения, расчленяется на отдельные вертикальные элементы (блоки) таким образом, чтобы в основании каждого элемента был однородный грунт.
Если в основании одного элемента располагаются грунты с различными характеристиками, следует принимать средневзвешенное значение характеристик в основании таких элементов.


