СП 309.1325800.2017 (28.12.2023) ЗДАНИЯ ТЕАТРАЛЬНО-ЗРЕЛИЩНЫЕ. ПРАВИЛА ПРОЕКТИРОВАНИЯ
Утв. и введен в действие Приказом Министерства строительства и жилищно-коммунального хозяйства РФ от 29 августа 2017 г. N 1179/пр
Buildings of theaters and entertainment. Regulations of design
Дата введения - 2 марта 2018 года
Введен впервые
Предисловие
Сведения о своде правил
1 ИСПОЛНИТЕЛЬ - Акционерное общество "ЦНИИЭП жилища - институт комплексного проектирования жилых и общественных зданий (АО "ЦНИИЭП жилища")"
2 ВНЕСЕН Техническим комитетом по стандартизации ТК 465 "Строительство"
3 ПОДГОТОВЛЕН к утверждению Департаментом градостроительной деятельности и архитектуры Министерства строительства и жилищно-коммунального хозяйства Российской Федерации (Минстрой России)
4 УТВЕРЖДЕН приказом Министерства строительства и жилищно-коммунального хозяйства Российской Федерации от 29 августа 2017 г. N 1179/пр и введен в действие со 2 марта 2018 г.
5 ЗАРЕГИСТРИРОВАН Федеральным агентством по техническому регулированию и метрологии (Росстандарт)
6 ВВЕДЕН ВПЕРВЫЕ
В случае пересмотра (замены) или отмены настоящего свода правил соответствующее уведомление будет опубликовано в установленном порядке. Соответствующая информация, уведомление и тексты размещаются также в информационной системе общего пользования - на официальном сайте разработчика (Минстрой России) в сети Интернет
Введение
Настоящий свод правил разработан в развитие СП 118.13330 в соответствии с Федеральным законом от 30 декабря 2009 г. N 384-ФЗ "Технический регламент о безопасности зданий и сооружений", Федеральным законом от 23 ноября 2009 г. N 261-ФЗ "Об энергосбережении и о повышении энергетической эффективности и о внесении изменений в отдельные законодательные акты Российской Федерации", Федеральным законом от 22 июля 2008 г. N 123-ФЗ "Технический регламент о требованиях пожарной безопасности".
Свод правил выполнен АО "ЦНИИПромзданий" (руководитель работы - д-р техн. наук, проф. В.В. Гранев, канд. архитектуры Д.К. Лейкина), АО "ЦНИИЭП жилища - институт комплексного проектирования жилых и общественных зданий" (руководитель разработки - д-р техн. наук, проф. С.В. Николаев, научный руководитель работы - канд. архитектуры, проф. А.А. Магай, ответственный исполнитель - канд. архитектуры, доц. Н.В. Дубынин, исполнители - Ю.Л. Кашулина, канд. архитектуры А.О. Родимов, канд. техн. наук Д.Г. Пронин, Д.М. Шурыгин, О.А. Шурыгин, Е.В. Андреева, Е.Е. Макарова, А.А. Архипова), НИИТИАГ РААСН (чл.-кор. РААСН, гл. науч. сотр. НИИТИАГ, проф. ВГИК д-р архитектуры А.А. Анисимов), ООО "Главный конструктор" (С.А. Тимонин), ООО "Товарищество театральных архитекторов" (чл.-кор. РААСН, канд. архитектуры М.М. Гаврилова).
1.1 Настоящий свод правил распространяется на проектирование новых и реконструируемых театрально-зрелищных зданий высотой до 50 м и имеющих заглубление подземной части до 15 м, а также требования к организации участков этих объектов.
1.2 Настоящий свод правил распространяется на проектирование и строительство зданий театров, кинотеатров, концертных залов по перечню, приведенному в приложении В СП 118.13330.
1.3 Настоящий свод правил не распространяется на проектирование, реконструкцию и капитальный ремонт театрально-зрелищных зданий являющихся некапитальными (временные, мобильные, сборно-разборные и аналогичные), а также объектами культурного наследия.
В настоящем своде правил использованы нормативные ссылки на следующие документы:
ГОСТ 27751-2014 Надежность строительных конструкций и оснований. Основные положения
ГОСТ 28574-2014 Защита от коррозии в строительстве. Конструкции бетонные и железобетонные. Методы испытаний адгезии защитных покрытий
ГОСТ 28575-2014 Защита от коррозии в строительстве. Конструкции бетонные и железобетонные. Испытания паропроницаемости защитных покрытий
ГОСТ 25772-83 Ограждения лестниц, балконов и крыш стальные
ГОСТ 30494-2011 Здания жилые и общественные. Параметры микроклимата в помещениях
ГОСТ 32670-2014 Услуги бытовые. Услуги бань и душевых. Общие технические условия
ГОСТ Р 53292-2009 Огнезащитные составы и вещества для древесины и материалов на ее основе. Общие требования. Методы испытаний
ГОСТ Р 53770-2010 Лифты пассажирские. Основные параметры и размеры
ГОСТ Р 55321-2012 Услуги населению. СПА-услуги. Общие требования
ГОСТ Р 55966-2014 Лифты. Специальные требования безопасности к лифтам, используемым для эвакуации инвалидов и других маломобильных групп населения
СП 2.13130.2012 Системы противопожарной защиты. Обеспечение огнестойкости объектов защиты (с изменением N 1)
СП 4.13130.2013 Системы противопожарной защиты. Ограничение распространения пожара на объектах защиты. Требования к объемно-планировочным и конструктивным решениям
СП 7.13130.2013 Отопление, вентиляция и кондиционирование. Требования пожарной безопасности
СП 8.13130.2009 Системы противопожарной защиты. Источники наружного противопожарного водоснабжения. Требования пожарной безопасности (с изменением N 1)
СП 10.13130.2009 Системы противопожарной защиты. Внутренний противопожарный водопровод. Требования пожарной безопасности (с изменением N 1)
СП 12.13130.2009 Определение категорий помещений, зданий и наружных установок по взрывопожарной и пожарной опасности (с изменением N 1)
СП 20.13330.2016 "СНиП 2.01.07-85* Нагрузки и воздействия"
СП 28.13330.2012 "СНиП 2.03.11-85 Защита строительных конструкций от коррозии" (с изменениями N 1, N 2)
СП 29.13330.2011 "СНиП 2.03.13-88 Полы"
СП 30.13330.2016 "СНиП 2.04.01-85* Внутренний водопровод и канализация зданий"
СП 31.13330.2012 "СНиП 2.04.02-84 Водоснабжение. Наружные сети и сооружения" (с изменениями N 1, N 2)
СП 42.13330.2016 "СНиП 2.07.01-89* Градостроительство. Планировка и застройка городских и сельских поселений"
СП 50.13330.2012 "СНиП 23-02-2003 Тепловая защита зданий"
СП 51.13330.2011 "СНиП 23-03-2003 Защита от шума"
СП 52.13330.2016 "СНиП 23-05-95* Естественное и искусственное освещение"
СП 59.13330.2016 "СНиП 35-01-2001 Доступность зданий и сооружений для маломобильных групп населения"
СП 60.13330.2016 "СНиП 41-01-2003 Отопление, вентиляция и кондиционирование воздуха"
СП 113.13330.2016 "СНиП 21-02-99* Стоянки автомобилей"
СП 118.13330.2012 "СНиП 31-06-2009 Общественные здания и сооружения" (с изменениями N 1, N 2)
СП 132.13330.2011 Обеспечение антитеррористической защищенности зданий и сооружений. Общие требования проектирования
СП 134.13330.2012 Системы электросвязи зданий и сооружений. Основные положения проектирования
СП 138.13330.2012 Общественные здания и сооружения, доступные маломобильным группам населения. Правила проектирования (с изменением N 1)
СП 140.13330.2012 Городская среда. Правила проектирования для маломобильных групп населения (с изменением N 1)
СП 158.13330.2014 Здания и помещения медицинских организаций. Правила проектирования
СП 160.1325800.2014 Здания и комплексы многофункциональные. Правила проектирования
СанПиН 2.1.3.2630-10 Санитарно-эпидемиологические требования к организациям, осуществляющим медицинскую деятельность
СанПиН 2.2.1/2.1.1.1076-01 Гигиенические требования к инсоляции и солнцезащите помещений жилых и общественных зданий и территорий
СанПиН 2.2.1/2.1.1.1278-03 Гигиенические требования к естественному, искусственному и совмещенному освещению жилых и общественных зданий
СанПиН 2.2.4.548-96 Гигиенические требования к микроклимату производственных помещений
Примечание - При пользовании настоящим сводом правил целесообразно проверить действие ссылочных документов в информационной системе общего пользования - на официальном сайте федерального органа исполнительной власти в сфере стандартизации в сети Интернет или по ежегодному информационному указателю "Национальные стандарты", который опубликован по состоянию на 1 января текущего года, и по выпускам ежемесячного информационного указателя "Национальные стандарты" за текущий год. Если заменен ссылочный документ, на который дана недатированная ссылка, то рекомендуется использовать действующую версию этого документа с учетом всех внесенных в данную версию изменений. Если заменен ссылочный документ, на который дана датированная ссылка, то рекомендуется использовать версию этого документа с указанным выше годом утверждения (принятия). Если после утверждения настоящего свода правил в ссылочный документ, на который дана датированная ссылка, внесено изменение, затрагивающее положение, на которое дана ссылка, то это положение рекомендуется применять без учета данного изменения. Если ссылочный документ отменен без замены, то положение, в котором дана ссылка на него, рекомендуется применять в части, не затрагивающей эту ссылку. Сведения о действии сводов правил целесообразно проверить в Федеральном информационном фонде стандартов.
В настоящем своде правил применены следующие термины с соответствующими определениями:
3.1 авансцена (просцениум): Часть сцены, выдвинутая в зрительный зал не менее, чем на 1,5 м, равная по ширине портальной арке, от красной линии сцены до рампы.
3.2 амфитеатр: Зона зрительного зала, в которой зрительские места размещаются на повышающихся к периферии ступенях.
Примечание - Как правило, размещается за партером, но может быть устроена сбоку от него или, в залах без партера, начинаться сразу от сцены или оркестровой ямы, а также на балконах.
3.3 аппаратная: Помещение, предназначенное для размещения устройств управления постановочным освещением, связи, электроакустических и кинотехнологических устройств, электроустановок питания и управления электроприводами механизмов сцены (эстрады), для размещения части осветительных и проекционных приборов.
3.4 арьерсцена: Пространство позади основной игровой сценической площадки, не отгороженное от нее капитальными стенами.
3.5 балкон (здесь): Зона зрительного зала, расположенная над амфитеатром напротив сцены и по боковым сторонам зрительного зала в несколько вертикальных рядов (ярусов).
3.6 вестибюль входной: Помещение, расположенное при входе перед распределительным вестибюлем, предназначенное для приема потоков зрителей.
3.7 вестибюль кассовый: Помещение, предназначенное для кассовых операций и размещения афиш.
3.8 вестибюль распределительный: Помещение, расположенное за входным вестибюлем, предназначенное для разделения встречных и пересекающихся потоков входящей публики.
3.9 галереи рабочие: Галереи, расположенные по правой и левой боковым, а также задней стенам сцены, предназначенные для рабочих сцены, поднимающих и опускающих декорации, осветителей, сценических механизмов, пультов управления и т.п.
3.10 карманы сценические: Пространства сбоку от видимой части сцены на уровне планшета за пределами боковых стен сценической коробки, расположенные с одной или двух сторон сцены и предназначенные для динамичной смены декораций, а также накопления артистов.
3.11 кинопроекционная: Помещение, предназначенное для размещения стационарных кинопроекторов.
3.12 колосники сцены: Решетчатый настил над сценой, предназначенный для прохождения тросов от штанкетов к штанкетной площадке, оборудованной блочными устройствами; вся система обеспечивает подъем и спуск декораций, осветительной арматуры и подъемных занавесов.
3.13 коробка сценическая: Многоуровневый объем, отделенный от зрительного зала стеной с портальным проемом, включает колосники и рабочие галереи, планшет сцены, а также трюм, арьерсцену, боковые карманы сцены при их наличии.
3.14 костюмерная: Помещение для подготовки (мелкий ремонт, глажка) костюмов к выступлению артистов.
3.15 кулуар: Промежуточное пространство, прилегающее к зрительному залу, обеспечивающее доступ в различные части зала и лож из фойе, буфета или вестибюля.
3.16 линия сцены красная: Линия, отделяющая сцену от авансцены в плоскости внутренней поверхности (со стороны сцены) портальной стены, как правило соответствующая передней плоскости противопожарного занавеса.
3.17 ложи: Обособленные зоны зрительного зала, расположенные по сторонам партера, сзади него и на ярусах.
3.18 мегаплекс: Кинотеатр с шестью и более кинозалами.
3.19 мультиплекс: Кинотеатр с числом кинозалов от трех до пяти.
3.20 планшет сцены: Специальный пол игровой площадки основной части сцены, служащий местом для игры актеров и установки декорационного оформления и имеющий различную конструкцию, в том числе и состоящую из отдельных съемных щитов и люков-провалов.
3.21 портал: Архитектурный (строительный) портал - проем в стене, отделяющей сцену от зрительного зала и образующий портальное отверстие (зеркало сцены).
3.22 игровой портал: Часть строительного портала, уменьшенная за счет передних боковых кулис.
3.23 рампа: Система осветительных приборов, установленная на планшете по переднему краю авансцены, защищенная от зрителей, имеющая съемную, поворотную, либо опускаемую под уровень планшета авансцены конструкцию, может включать в себя конструкцию светового занавеса.
3.24 партер: Основная зона зрительного зала, расположенная на плоском или слегка наклонном полу.
3.25 площадка основная игровая: Часть сцены от красной линии до арьерсцены.
3.26 рирпроекционная: Расположенное за сценой или арьерсценой помещение для размещения осветительного оборудования, осуществляющего проекцию декораций на просвет.
3.27 светоаппаратная: Помещение, в котором размещается пульт и аппаратура для автоматического управления светом на сцене.
3.28 светопроекционная: Помещение для размещения прожекторов и проекционных аппаратов.
3.29 сейф скатанных декораций: Склад скатанных мягких декораций, предназначенный для хранения фоновых декораций, располагаемый под сценой или арьерсценой.
3.30 сцена верхняя: Часть сценической коробки, находящаяся выше зеркала сцены и ограниченная сверху колосниковой решеткой, оборудованная рабочими галереями и переходными мостиками, служащая для размещения навесных декораций, приборов верхнего освещения, различных сценических механизмов.
3.31 сцена глубинная колосниковая: Основной тип традиционной сцены, обеспечивающий установку объемных и подвеску живописных и других декораций и осветительных приборов, состоящий из собственно сцены, авансцены, сценической коробки и возможной арьерсцены.
3.32 трюм сцены (нижняя сцена): Помещение под сценой, предназначенное для размещения нижнего механооборудования сцены, подъемно-опускных устройств, приспособлений для сценических эффектов.
Примечание - Может состоять из нескольких этажей - верхнего первого трюма, расположенного непосредственно под ним, второго трюма и т.д.
3.33 уборная артистическая: Помещение, предназначенное для переодевания, гримирования и подготовки артистов к выступлению, а также для их отдыха в антрактах и паузах.
3.34 фойе: Помещение, предназначенное для пребывания зрителей в ожидании сеанса, спектакля, концерта, а также для отдыха во время антракта.
3.35 фойе оркестра: Помещение, предназначенное для оркестрантов при ожидании и проходе к месту выступления
3.36 эстрада: Сценическое пространство для концертов, не имеющее, портала, кулис, не предусматривающее быстрой смены попланных подвесных декораций.
Примечание - Может иметь занавес и малую сценическую коробку.
3.37 яма оркестровая: Открытое сверху углубленное помещение перед авансценой, предназначенное для размещения оркестра и дирижера, сопровождающего спектакль.
Примечание - Как правило, в оперных театрах располагается на подъемно-опускной площадке.
4.1 Типы и вместимость театрально-зрелищных зданий приведены в приложении А.
4.2 Театры, кинотеатры, концертные залы допускается проектировать как отдельные театрально-зрелищные здания, так и в составе многофункционального здания или комплекса, требования к проектированию которых изложены в СП 160.1325800.
4.3 Допускается проектировать кинотеатры и концертные залы с универсальными зрительными залами, предназначенными для демонстрации кинофильмов, проведения концертов и общественных мероприятий (собрания, лекции, конференции, симпозиумы и т.п.).
Необходимость включения в состав театрально-зрелищного здания дополнительных функций (например, учитывающих возможность проведения в них общественных мероприятий) определяется заданием на проектирование.
4.4 Театрально-зрелищные здания допускается блокировать с кинотеатрами, театрами и концертными залами сезонного действия.
4.5 В состав театрально-зрелищных зданий входят следующие группы помещений:
- комплекс помещений, обслуживающих зрителей;
- зрительные залы различной вместимости и назначения;
- сцены, эстрады и помещения их обслуживающие;
- комплекс помещений технологического обеспечения;
- комплекс помещений для артистов;
- репетиционные помещения;
- складские помещения;
- мастерские;
- служебно-административные помещения;
- санитарно-гигиенические помещения;
- помещения медицинско-оздоровительного назначения;
- технические помещения для общеинженерных служб.
4.6 Театрально-зрелищные здания по уровню комфорта разделяют на три группы: 1 - высокий, 2 - средний, 3 - нормальный, в соответствии с которыми назначаются требования к размерам помещений и их оборудованию.
4.7 В составе комплекса помещений, обслуживающих зрителей и комплекса помещений для артистов следует предусматривать комнаты для курения площадью не менее 8 м2, оборудованные системами вентиляции и обозначенные специальными знаками в соответствии с [1], искусственным освещением, огнетушителем, а также имеющая изолированную дверь или аналогичное устройство, препятствующее проникновение загрязненного воздуха в смежные помещения.
4.8 В театрально-зрелищных зданиях должны быть предусмотрены мероприятия гражданской обороны и по антитеррористической защищенности по СП 118.13330 и СП 132.13330.
4.9 При проектировании новых и реконструкции существующих театрально-зрелищных зданий должна быть обеспечена доступность для маломобильных групп населения всех помещений для посетителей в соответствии с СП 59.13330, СП 138.13330.
4.10 Входы театрально-зрелищного здания необходимо оборудовать устройствами для защиты от атмосферных осадков (навесами и козырьками).
4.11 Правила устройства крыш приведены в СП 160.1325800.
5.1 Размеры участка и размещение на нем театрально-зрелищных зданий определяются заданием на проектирование в соответствии с требованиями [2], СП 42.13330, генеральным планом и проектами планировки функциональных территорий городов, населенных пунктов.
5.2 Кинотеатры, концертные залы и театры сезонного действия рекомендуется размещать в парках и зеленых зонах городов.
На земельном участке театра должны быть предусмотрены:
- площадки перед входами и выходами из расчета на одно место в зрительном зале (залах) не менее 0,3 м2;
- место для рекламы и афиш;
- внутренние проезды, пешеходные зоны;
- площадки для стоянок автомобилей;
- хозяйственная зона (может выполняться в виде хозяйственного двора) включающая зону погрузки-разгрузки декораций и необходимые хозяйственные постройки и сооружения.
5.4 На земельном участке по заданию на проектирование могут быть предусмотрены зеленые насаждения, рекреационные зоны, площадки для сезонных досуговых мероприятий.
5.5 Допускается размещать стоянку индивидуального транспорта вне границ земельного участка, при условии, что расстояние от нее до здания должно быть не более 300 м.
5.6 Подземные и наземные стоянки автомобилей следует проектировать в соответствии с СП 113.13330. Площадь стоянки автомобилей определяется с учетом требуемого числа машино-мест и их габаритов, принимаемых по СП 113.13330.
Требуемое минимальное число машино-мест следует принимать из расчета 1 машино-место на 7 зрительских мест для объектов 1 уровня комфорта; на 10 зрительских мест - 2 уровня комфорта и на 12 зрительских мест объектов 3 уровня комфорта.
Стоянки для легковых автомобилей работников и служащих театрально-зрелищного учреждения следует предусматривать из расчета одно машино-место на 10 сотрудников.
При реконструкции требуемое число машино-мест принимается по заданию на проектирование.
При размещении парковочных мест на стоянках автомобилей следует предусматривать места для хранения (стоянки) электромобилей, оборудованные зарядными устройствами, в соответствии с требованиями СП 113.13330. Расчетную потребность парковочных мест, оборудованных зарядными устройствами, следует устанавливать в соответствии с заданием на проектирование, но не менее установленных СП 118.13330.
5.7 На стоянке автомобилей проектируемых и реконструируемых театрально-зрелищных зданий должны быть предусмотрены места для МГН согласно СП 140.13330.
5.8 В условиях стесненной городской застройки возможно сокращение размеров земельного участка за счет уменьшения площадок перед входами на 15% - 20% и сокращения состава зон участка за счет хозяйственной зоны, в том числе при ее размещении на подземном уровне.
5.9 Хозяйственную зону следует проектировать изолированной от зоны посетителей. Ее площадь принимается по заданию на проектирование, но не менее 400 м2.
Въезды в хозяйственную зону следует устраивать шириной не менее 4 м и высотой не менее 4,3 м. Хозяйственную зону с одним въездом следует предусматривать с габаритами, позволяющими вписать круг диаметром не менее 20 м для разворота автомашин.
При реконструкции наличие, состав хозяйственной зоны и ее площадь определяются заданием на проектирование.
5.10 Вокруг здания театра должны быть устроены проезды для пожарных машин шириной не менее 4 м, в конце тупиковых проездов должна быть предусмотрена площадка для разворота согласно СП 4.13130.
5.11 К местам загрузки складов декораций организуются подъезды, а вблизи них устраиваются разгрузочные площадки шириной не менее 4,5 м, длиной - не менее 8 м. При соответствующих объемно-планировочных решениях здания разгрузочные площадки могут быть размещены под стилобатом или внутри здания.
5.12 Сквозные проезды и проходы в зданиях и сооружениях на уровне земли или первого этажа следует проектировать в соответствии с СП 118.13330.
5.13 На участке театрально-зрелищного здания должны быть предусмотрены специально оборудованные места для курения на открытом воздухе, площадь которых назначают по заданию на проектирование.
5.14 Расстояние между театрально-зрелищным зданием и существующими, а также проектируемыми жилыми и общественными зданиями определяется на основе СП 42.13330, а также расчетов для обеспечения в помещениях прилегающей застройки нормативных значений инсоляции согласно СанПиН 2.2.1/2.1.1.1076 и естественной освещенности согласно СП 52.13330 и СанПиН 2.2.1/2.1.1.1278.
5.15 Участок театрально-зрелищного здания должен быть благоустроен в соответствии с СП 42.13330 и СП 140.13330.
Следует предусматривать наружное освещение здания и прилегающей территории в темное время суток (СП 52.13330).
5.16 Загрузку предприятий общественного питания и других встроенных учреждений обслуживания следует предусматривать со стороны хозяйственной зоны.
Загрузочные и хозяйственные зоны должны быть с визуальной и шумовой изоляцией от окружающей застройки.
Функционально-технологическая схема разгрузочных мест решается с учетом типа автомобилей, доставляющих продукты.
6.1.1.1 К комплексу помещений, обслуживающих зрителей относятся: входная группа и рекреационные помещения.
6.1.1.2 Площади помещений входной группы в зависимости от уровня комфорта учреждения (4.6) следует принимать по таблице 1.
Таблица 1
|
Наименование помещения |
Площадь помещения, м2, на 1 место в зрительном зале при уровне комфорта |
Примечание | ||
|
1 |
2 |
3 | ||
|
Кассовый вестибюль |
0,06 |
0,05 |
0,05 |
Допускается размещать отдельно от комплекса помещений, обслуживающих зрителей |
|
Входной вестибюль |
0,15 |
0,10 |
0,10 |
Допускается объединять с кассовым и/или распределительным вестибюлями |
|
Распределительный вестибюль |
0,35 |
0,30 |
0,25 | |
|
Гардеробная |
0,12 |
0,10 |
0,10 |
Для театров и концертных залов. Площади хранения даны без учета возможности хранения в несколько ярусов. Размещается рядом с гардеробной. При вместимости театров и концертных залов более 500 человек площадь камеры хранения может быть уменьшена на 20% |
|
Камера хранения сумок и портфелей |
0,06 |
0,05 |
0,04 | |
|
Бюро обслуживания |
0,03 |
0,03 |
- |
Рекомендуется размещать рядом с входными или распределительными вестибюлями |
|
Санитарные узлы |
0,20 |
0,15 |
0,10 | |
6.1.1.3 Глубина гардеробной от барьера до стены рекомендуется не более 4 м; ширина прохода для зрителей перед барьером не - менее 3 м; длина фронта гардеробной стойки - не менее 1 пог./м на 30 чел.
6.1.1.4 Кассовые кабины размещаются в кассовом вестибюле. Площадь кабины кассира определяется из расчета не менее 5 м2 на одного кассира. Число кассовых кабин следует принимать из расчета одна кабина - на 400 зрителей в концертных залах и кинотеатрах и на 500 зрителей - в театрах.
Кассовый вестибюль может проектироваться в виде обособленного помещения с самостоятельным входом или в виде проходного помещения.
6.1.1.5 При расположении распределительного вестибюля смежно и в одном уровне с фойе и кулуарами возможно перераспределение площади этих помещений, при этом не рекомендуется уменьшать площадь распределительного вестибюля более, чем на 30%. В распределительном вестибюле желательно предусматривать банкетки и кресла из расчета на одновременное пользование 7% - 10% зрителей.
6.1.1.6 Состав и площади рекреационных помещений в зависимости от уровня комфорта учреждения следует принимать по таблице 2.
Таблица 2
|
Наименование помещения |
Площадь помещения на 1 место в зрительном зале, м2, при уровне комфорта |
Примечание | ||
|
1 |
2 |
3 | ||
|
Фойе, кулуары, гостиные 1 |
1,50 |
1,00 |
0,80 |
Ширина кулуаров - не менее 2,4 м; уклон пола - не более 1:12 |
|
Курительные |
0,10 |
0,08 |
0,06 | |
|
Кладовая при фойе |
0,03 |
0,03 |
0,03 |
Следует предусматривать в случае предполагаемого многоцелевого использования фойе |
|
Буфет |
0,50 |
0,40 |
0,30 | |
|
1 Кулуары и гостиные в театрах вместимостью до 300 зрителей, а также в кинотеатрах допускается не предусматривать. | ||||
6.1.1.7 По заданию на проектирование кроме буфета допускается предусматривать другие предприятия общественного питания.
6.1.1.8 Проектирование предприятий общественного питания, расположенных в театрально-зрелищных зданиях, следует выполнять в соответствии с [6].
6.1.1.9 Для предприятий общественного питания рекомендуется предусматривать хозяйственный подъезд, разгрузочную площадку и мусоросборник.
6.1.1.10 При числе посадочных мест от 20 и более, рекомендуется предусматривать помещение загрузочной (при необходимости с дебаркадером).
6.1.1.11 При ограниченных размерах дворовых территорий допускается устройство встроенных мусоросборников, рассчитанных на размещение не более двух контейнеров, отвечающих требованиям, приведенным в [4].
6.1.1.12 По заданию на проектирование в зоне фойе возможно размещение торговых киосков и магазинов.
6.1.1.13 Фойе возможно объединять с распределительным вестибюлем. Для отдыха зрителей рекомендуется предусматривать при залах 1 и 2 уровней комфорта зимний сад или дворик-фойе площадью не менее 30 м2.
6.1.1.14 По заданию на проектирование в распределительном вестибюле может быть предусмотрен кабинет для оказания первой медицинской помощи зрителям до приезда скорой помощи.
6.1.2.1 Зрительные залы по вместимости подразделяют на группы в соответствии с таблицей Б.1 (приложение Б).
При определении вместимости залов следует суммировать стационарные и временные места для зрителей, предусмотренные проектом трансформации зала.
6.1.2.2 Вместимость кинозалов для различных форм кинообслуживания приведена в таблице Б.2 (приложение Б).
6.1.2.3 В зрительном зале по заданию на проектирование могут быть выделены партер, амфитеатр, балкон (в том числе бельэтаж), ложи.
6.1.2.4 Места для оркестра могут быть расположены:
- в зале с ограждением, без заглубления пола;
- в стационарной оркестровой яме с полом ниже уровня зрительного зала.
Допускаются иные места размещения оркестра: в ложах, на сцене, над сценой, сбоку в зале и т.д.
По заданию на проектирование предусматривается возможность перекрытия проема оркестровой ямы, трансформации ее барьера и пола.
6.1.2.5 Место размещения оркестра следует обеспечивать удобными и короткими функциональными связями с фойе оркестра, местом хранения инструментов, помещением настройки инструментов, комнатой дирижера, комнатой инспектора оркестра или заведующего оркестром, комнатой отдыха оркестрантов. При размещении хранилища нот на другом этаже необходим лифт или подъемник.
6.1.2.6 Схема и расчетные параметры зрительного зала с традиционной глубинной колосниковой сценой, в том числе зоны видимости, приведены в приложении Б.
6.1.2.7 Размеры помещения оркестра (оркестровой ямы) в залах с колосниковой сценой следует принимать по приложению Б таблицы Б.6. Площадь на одного музыканта следует принимать не менее 1,2 м2.
6.1.2.8 Площадь зала на одно место, в зависимости от уровня комфорта, следует принимать по таблице 3.
Таблица 3
|
Уровень комфорта |
Театральные залы, м2 |
Кинозалы, м2 |
Концертные залы, м2 | |
|
камерные и малые |
прочие | |||
|
1 |
1,0 |
0,7 |
1,2 |
0,8 |
|
2 |
0,9 |
0,6 |
1,0 |
0,6 |
|
3 |
0,8 |
0,6 |
1,0 |
0,6 |
6.1.2.9 В зрительных залах и других зрелищных объектах со стационарными местами должны быть предусмотрены места для маломобильных групп населения в соответствии с 7.1.7 СП 59.13330.2016 и СП 138.13330.
Число мест для людей на креслах-колясках определяется из расчета не менее 1% общего числа зрителей, но не менее 2 мест в залах до 200 мест. Места для инвалидов на колясках следует предусматривать в первом или последнем ряду партера, или в ложе и размещать на плоском участке пола.
6.1.2.10 Для соблюдения акустических условий в залах следует руководствоваться приложением В.
6.2.1.1 Рекомендуемый состав помещений для обслуживания сцены приведен в таблице Г.1 (приложение Г).
6.2.1.2 Расчетные параметры колосниковых сцен и эстрад приведены в таблице Г.2 (приложение Г).
6.2.1.3 Рабочие галереи могут иметь несколько ярусов и должны сообщаться между собой и со сценической площадкой лестницами, лифтами и переходными мостиками.
6.2.1.4 Расстояние между ярусами рабочих галерей от пола до пола следует принимать от 2,5 до 3,0 м. Ширину боковых рабочих галерей следует принимать:
- 2,8 м - при установке электроприводов подъемов на галереях;
- 1,5 - 1,8 м - при установке электроприводов за пределами сценической коробки, а также при ручном приводе подъемов и на осветительных галереях, включая место для противовесов. Ширину переходных мостков на задней стене сцены следует принимать не менее 0,8 м.
6.2.1.5 Высоту над колосниковым настилом до низа выступающих конструкций следует принимать по таблице 4.
Колосниковый настил следует располагать перпендикулярно к порталу сцены с зазорами между колосниками 0,05 м.
Таблица 4
|
Тип сцены (по таблице Г.2) |
Высота над колосниковым настилом до низа выступающих конструкций при | |
|
горизонтальном перекрытии сцены, м, не менее |
наклонном перекрытии в низкой части сцены, м, не менее | |
|
С-1 - С-3, С-5 (А) |
2,0 |
1,5 |
|
С-4, С-6 - С-9 (Б) |
2,4 |
1,8 |
|
Арьерсцена |
1,6 |
1,5 |
6.2.1.6 Рабочие галереи следует располагать по боковой и задней стенам сцены. Нижнюю галерею следует располагать на 0,7 м выше строительного портала, и на 0,5 м выше арьерсцены и кармана сцены.
6.2.1.7 Для обслуживания рабочих галерей верхней части сцен группы Б (см. 6.2.1.5) должны быть предусмотрены две колосниковые лестничные клетки от уровня пола трюма до уровня колосникового настила. При вместимости зала менее 800 мест допускается предусматривать одну из лестничных клеток не от уровня пола трюма, а от уровня пола нижней галереи. Для сцен С-1, С-2, С-3, С-5 (см. таблицу Г.2 приложение Г) допускаются открытые внутренние лестницы от уровня планшета сцены или пола нижней галереи с обеспечением проходов на общие лестницы или открытые пожарные лестницы.
6.2.1.8 Планшет сцены, авансцены, арьерсцены и пол карманов следует проектировать в одном уровне. В крупных оперно-балетных театрах планшет сцены может быть с небольшим, до 3%, наклоном в сторону зрительного зала.
6.2.1.9 Высота уровня планшета сцены (авансцены, эстрады) над уровнем пола первого ряда зрительских мест в залах с горизонтальным полом должна быть не более 1,1 м. В залах малой вместимости (до 300 мест) высота планшета должна быть не более 0,8 м.
Допускается устройство подвижных (наклоняемых) и подъемно-опускных планшетов. Для балетных театров следует проектировать упругую конструкцию планшета сцены.
6.2.1.10 Под планшетом сцен группы Б (6.2.1.5) следует, а сцен группы А допускается предусматривать трюм размерами в плане, равными размерам этих сцен. Высоту помещения трюма до низа выступающих конструкций следует принимать не менее 2,2 м. В трюме допускается размещать: сейф скатанных декораций, щитовую сцены, суфлерскую будку.
6.2.1.11 Помещения, предназначенные для управления постановочным освещением, и их расположение представлены в таблице 5.
Таблица 5
|
Наименование помещения |
Размещение |
|
Осветительные боковые ложи 1 |
У боковых стен зала или на специальных конструкциях |
|
Помещение выносного софита 1 |
Над залом |
|
Светопроекционная |
За задней стеной зала или у задней стены со стороны зала |
|
Светорегуляторная |
По заданию на проектирование |
|
Помещение фронтального освещения |
По заданию на проектирование |
|
Рирпроекционная |
За задней стеной сцены (арьерсцены) |
|
1 Схема размещения помещений постановочного освещения сцены приведена на рисунке Г.2 (приложение Г). | |
6.2.1.12 Число осветительных лож в зависимости от типа сцены (эстрады) и вместимости зала следует принимать по таблице 6. Расстояние от уровня пола нижней осветительной ложи до уровня планшета сцены (эстрады) следует принимать не менее 2,5 м. Расстояние между уровнями полов лож, расположенных одна над другой, следует принимать не менее 2,5 м. Глубина лож, с учетом расположения технологического оборудования, должна обеспечивать ширину минимального прохода 0,8 м.
Таблица 6
|
Тип эстрады и сцены |
Вместимость зала, мест |
Число осветительных лож |
|
С-6 - С-9 |
800 и более |
Не менее двух боковых лож |
|
С-4 и С-6 |
Менее 800 |
Не менее одной боковой ложи |
|
С-2 - С-5 |
600 и более |
Не менее одной боковой ложи |
|
С-1 - С-3 |
Менее 600 |
Допустимо размещение осветительной аппаратуры непосредственно на боковых стенах зрительного зала |
|
Эстрады |
Любой вместимости |
6.2.1.13 Светопроекционную рекомендуется размещать так, чтобы угол отклонения оптической оси проектора от нормали в геометрическом центре строительного портала по красной линии сцены не превышал:
- 9° - в горизонтальной плоскости;
в вертикальной плоскости при проекции:
- 9° - сверху вниз;
- 3° - снизу вверх.
Размещение светопроекционной или кинопроекционной, в указанных пределах, определяется заданием на проектирование.
Длина помещения светопроекционной принимается по проекту и ориентировочно составляет для сцен:
С-4 и С-5 - 5 м;
С-2 и С-3 - 4 м;
С-1 - 3 м.
Уровень пола светопроекционной проектируется выше уровня пола примыкающей к ней части зрительного зала не менее чем на 0,9 м.
6.2.1.14 Светорегуляторную следует размещать в пределах проекции строительного портала на плоскость задней стены зала.
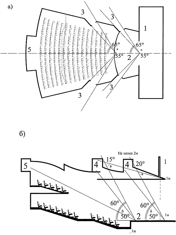
Горизонтальные углы к продольной оси зала, ограничивающие зону размещения боковых осветительных лож должны быть в пределах 55° - 65°.
Вертикальные углы, ограниченные оптическими осями выносных софитов к горизонтальной плоскости планшета сцены должны быть в пределах 50° - 60°.
Углы, ограниченные лучами света от осветительных приборов к горизонтальной плоскости на уровне верха портала должны быть в пределах 15° - 20°.
6.2.1.15 Фронтальную осветительную ложу следует размещать так, чтобы ось помещения находилась в пределах ширины игрового портала или размещать в двух помещениях размером по фронту не менее 4 м каждое. Уровень пола должен быть не выше верха игрового портала.
6.2.1.16 Уровень пола рирпроекционной следует предусматривать на высоте от уровня пола арьерсцены, равной половине высоты строительного портала.
6.2.1.17 Для лобового горизонтального освещения сцены следует предусматривать размещение осветительной аппаратуры за задней стеной зала (или на стене зала, или на передней стенке барьера балкона, яруса в сторону сцены) в пределах проекции игрового портала на эту стену.
6.2.2.1 Помещения механооборудования сцены включают в себя:
- помещения оборудования планшета и трюма;
- помещения верхового оборудования.
6.2.2.2 Для оборудования планшета и трюма предусматривают следующие отдельные помещения:
- электролебедок для привода поворотных кругов, которое размещается в помещении со звукоизоляцией на площади трюма;
- для отвода накатных площадок (карман сцены);
- для электропривода противопожарного занавеса;
- щитовая сцены.
Состав перечисленных помещений определяется с учетом предусмотренного по заданию на проектирование оборудования планшета сцены, которое может включать: кулисные машины (двигающихся в пазах планшета сцены по рельсам, находящимся в трюме), поворотные круги (врезного, барабанного, накладного, вращающихся колец), подъемно-опускные и накатные площадки.
6.2.2.3 Для верхового оборудования предусматривают следующие отдельные помещения:
- помещения лебедок для управления тросами подъемов (помещения должны быть звукоизолированы и размещаться на галереях или за галереями);
- помещение колосникового настила; выше настила на 2 м размещаются верхние блоки подъемов, тросы которых проходят сквозь щели в колосниковом настиле.
Состав перечисленных помещений определяется с учетом предусмотренного по заданию на проектирование верхового оборудования сцены, которое может включать: штанкетные, индивидуальные и софитные подъемы, полетные устройства.
Для работы этого оборудования могут быть предусмотрены шахты у боковых стен сцены для обеспечения движения противовесов на всю высоту коробки от трюма до колосников.
6.2.2.4 Следует предусматривать зону размещения антрактного занавеса по обе стороны или сверху от портального проема, в зависимости от типа занавеса (раздвижного, подъемно-опускного, подъемно-раздвижного).
Следует предусматривать зону установки прожекторов светового занавеса под планшетом сцены и направленных в зал под углом около 30°, с шагом 40 - 50 см.
Следует предусматривать вертикальные ряды прожекторов по обе стороны портала или прожекторную поворачивающуюся рампу на авансцене для обеспечения светоэффектов.
6.2.2.2 Оборудование планшета сцены по заданию на проектирование может включать кулисные машины (двигающиеся в пазах планшета сцены по рельсам, находящимся в трюме), поворотные круги (врезного, барабанного, накладного, вращающихся колец), подъемно-опускные и накатные площадки. Для размещения и управления работой оборудования требуются отдельные помещения для:
- электролебедок для привода отвода накатных площадок (карман сцены);
- электропривода противопожарного занавеса;
- щитовой сцены.
6.2.2.3 Верховое оборудование сцены состоит из штанкетных, индивидуальных и софитных подъемов, полетных устройств. Для работы этого оборудования могут быть предусмотрены шахты у боковых стен сцены для обеспечения движения противовесов на всю высоту коробки от трюма до колосников.
Для работы верхнего оборудования сцены требуются помещения:
- лебедок - для управления тросами подъемов (помещения должны быть звукоизолированы и размещаться на галереях или за галереями);
- колосникового настила - выше настила на 2 м размещаются верхние блоки подъемов, тросы которых проходят сквозь щели в колосниковом настиле.
6.2.2.4 Следует предусматривать занавесы, относящиеся к разряду основного стационарного оборудования: антрактные и световой.
Световой занавес образуется под планшетом сцены с помощью горизонтально установленных и направленных в зал под углом около 30° прожекторов, шаг между ними 40 - 50 см в зависимости от их типа.
Для обеспечения светоэффектов на занавесах прочих видов предусматриваются вертикальные ряды прожекторов по обе стороны портала или прожекторная поворачивающаяся рампа на авансцене.
6.2.2.5 Помещения звукового обеспечения зала и сцены: звукоаппаратную, ложу звукооператора (звукорежиссера), кабину диктора и кабину переводчиков следует размещать с обеспечением прямой видимости сцены. Помещение звукоаппаратной допускается размещать без обеспечения прямой видимости сцены. Ложу звукооператора и кабину диктора следует размещать в смежных помещениях.
6.2.2.6 Помещения студии и аппаратной звукозаписи следует располагать смежно, со смотровым окном между ними.
6.2.2.7 Телевизионный полустационар - два аппаратных помещения площадью не менее 8 м2 каждый - следует располагать в цокольном или первом этаже с отдельным входом и окном для подачи кабелей. Перед входом должна быть выделена площадка для размещения передвижной телестанции не менее, чем на пять автомашин. На крыше здания должна быть устроена площадка для антенны площадью не менее 5 м2. Расстояние от полустационара до места съемки не должно превышать 250 м.
6.2.2.8 Состав и рекомендуемые площади помещений кинопроекционной группы приведены таблице Г.3 (приложение Г).
6.2.2.9 В проекционной каждого зала кинотеатров:
- с широкоформатной проекцией,
- вместимостью 200 мест и более,
- сезонного действия, клубах,
- залах с эпизодическим кинопоказом,
- залах для динамической проекции для постановочных целей
следует предусматривать не менее одного места для установки кинопроектора (цифрового или пленочного с устройством проекционного и смотрового окон.
Необходимость выделения места для установки резервного проектора определяется заданием на проектирование.
При необходимости использования при просмотре фильмов специальных очков необходимо предусматривать места их выдачи при входе в кинозал, сбора - при выходе, хранения и чистки в подсобных помещениях.
6.2.2.10 Во всех кинотеатрах, оборудованных кинопроекторами для 35-мм пленок, следует предусматривать место для установки экрана обеспечивающего показ широкоэкранного, кашетированного и обычного фильмов (ширина и высота определяется заданием на проектирование) с учетом СП 118.13330.
6.2.2.11 Для повышения качества звукового сопровождения кинофильмов в кинотеатрах с залами от 50 мест и более следует предусматривать места установки компонентов системы звукоусиления, в том числе для 3 заэкранных каналов (лево, центр, право), окружение лево, окружение право, окружение заднее лево, окружение право заднее и сабвуфера. Размеры компонентов системы и каналов для прокладки кабелей определяются заданием на проектирование, с учетом технических характеристик производителя.
6.2.2.12 Планировка и размеры помещения кинопроекционной приведены в таблице Г.4 (приложение Г).
При отметке пола кинопроекционной выше 3 м относительно уровня планировочной отметки тротуара следует предусматривать подъемник.
6.2.2.13 При проектировании многозальных кинотеатров допускается объединять однородные помещения технологического обеспечения кинопоказа. Площади комнаты киномеханика, радиоузла, мастерской киномеханика и санитарного узла следует определять из расчета на один зал.
6.2.3.1 В комплекс помещений для артистов входят артистические уборные, помещения для музыкантов и помещения, обслуживающие артистов. Рекомендуемый состав помещений для артистов и их площади приведены в приложении Д.
6.2.3.2 Помещения, обслуживающие артистов, включают в себя: помещения ожидания выхода артистов на сцену, дежурные гримерно-парикмахерскую и костюмерную, комнату отдыха и курительную.
6.2.3.3 Помещения ожидания выхода артистов на сцену следует размещать на отметке планшета сцены, с двух ее сторон и с непосредственным выходом на нее. При данных помещениях следует предусматривать санузлы.
6.2.3.4 Помещения дежурных мужских и женских гримерно-парикмахерских и костюмерных следует располагать вблизи артистических уборных.
Площадь каждого помещения определяется заданием на проектирование из расчета единовременного числа артистов в каждом помещении, по 2 м2 на одного артиста.
Значения площадей этих помещений в театрах с колосниковой сценой в зависимости от уровня комфорта приведены в таблице Д.4 (приложение Д).
6.2.3.5 Площадь общей комнаты отдыха для артистов следует определять заданием на проектирование из расчета единовременного числа человек, находящихся в ней - по 4 м2 на каждого, но не менее 20 м2.
6.2.4.1 К репетиционным помещениям различных театральных трупп (драматической, музыкальной, балетной) относятся репетиционные залы и помещения индивидуальных занятий.
6.2.4.2 Размещать репетиционные залы для различных театральных трупп следует вблизи помещений для артистов. Число, назначение и площадь репетиционных залов и помещений индивидуальных занятий для различных театральных трупп, а также состав и площади вспомогательных помещений при них определяются заданием на проектирование с учетом возможных гастрольных трупп.
Рекомендуемые размеры и назначение репетиционных залов приведены в приложении Е.
6.2.4.3 При проектировании драматического и музыкально-драматического театров допускается предусматривать по заданию на проектирование репетиционно-физкультурный зал.
6.2.4.4 Над большими репетиционными залами и сценой следует предусматривать рабочие мостики.
6.2.4.5 При больших репетиционных залах рекомендуется предусматривать не менее двух групповых артистических уборных, помещение ожидания выхода на сцену (в зал), склады декораций, бутафории, мебели и реквизита, осветительной аппаратуры текущего репертуара, а также свето- и звукоаппаратные, светопроекционные. Площади помещений определяются заданием на проектирование.
При малых репетиционных залах следует предусматривать лишь помещение инвентарной.
6.2.4.6 Рекомендуемые состав и площади помещений для индивидуальных занятий артистов с педагогами в драматических театрах - не более двух комнат площадью 12 - 15 м2 каждая, в музыкальных - 3 - 4 комнаты площадью 16 - 20 м2 каждая, оперных - 5 - 6 комнат по 20 - 25 м2.
6.2.5.1 Дежурные склады декораций, сценической электро-звукотехнической аппаратуры, дежурный склад мебели, бутафории и реквизита следует размещать в непосредственной близости к сцене.
Резервные склады следует размещать, как правило, в отдельном корпусе, на участке вблизи здания театра. В отдельных случаях допускается их размещение в здании театра.
6.2.5.2 Дежурные склады декораций наиболее целесообразно проектировать шириной 9 м при двухрядном хранении и шириной 6 м при однорядном хранении.
Дежурные склады декораций оборудуются разделительными вертикальными конструкциями-пряслами шириной 2,5 м и высотой, равной высоте склада, с шагом 3 м. Ширина проходов между штабелями декораций 2,5 - 3 м.
6.2.5.3 Рекомендуемые показатели площадей помещений складов, обслуживающих колосниковые сцены приведены в приложении Ж.
6.2.5.4 Дежурные склады объемных и станковых декораций должны примыкать к сцене и карманам. Их высоту и размеры проемов, соединяющих склады со сценой и карманами, следует принимать по приложению Ж.
6.2.5.5 Сейф мягких скатанных декораций должен иметь ширину не менее 2,5 м если полки-консоли расположены в два ряда и не менее 1,8 м - при их расположении в один ряд. Длина помещения сейфа должна быть равной 1,5 ширины игрового портала сцены. Размеры кассетного сейфа определяются заданием на проектирование; ширина такого сейфа зависит от ширины полок.
6.2.5.6 Параметры дежурных складов бутафории, реквизита, мебели зависят от размера стеллажей и системы хранения: при однорядном хранении ширина помещения должна быть не менее 3,7 м, при двухрядном - не менее 4 м.
6.2.5.7 Параметры помещений складов бутафории, мебели, реквизита см. приведены в приложении Ж.
6.2.5.8 Помещения складов сценической аппаратуры - электроаппаратуры, электрореквизита, звукотехнической аппаратуры - должны быть высотой в свету не менее 3,6 м; дверные проемы - шириной не менее 1,0 м, высотой не менее 2,4 м. Площадь кладовой электроаппаратуры, обслуживающей сцену, 15 - 20 м2.
6.2.6.1 Помещения мастерских разделяются на три группы:
- объемных декораций - столярная с сушильной и слесарная мастерские, монтажная, бутафорская;
- мягких декораций - мастерские: живописно-декорационная, росписи тканей, обойно-драпировочная; при них - макетная, красильная, помещение для приготовления красок с мойкой и сушкой;
- костюмов, обуви, париков - мастерские: пошивочная с примерочной и закройной, головных уборов и обувная, помещения постирочной с сушильной, пропиточная, красильная, трикотажная, пастижерская.
При каждой группе мастерских предусматриваются помещения персонала и кладовые для хранения материалов.
6.2.6.2 Размеры помещений для монтажа объемных и станковых декораций, а также живописно-декорационных мастерских следует принимать по приложению И.
6.2.6.3 Монтажная мастерская должна быть непосредственно связана со сценой через тамбур со звукоизоляцией, а также напрямую - с мастерскими, обеспечивающими монтаж декораций.
6.2.6.4 Высоты помещений следует принимать не менее:
- 5,6 м - живописно-декорационной мастерской, на высоте 3,6 м от пола следует устраивать смотровые мостики;
- 3,6 м - столярной, слесарной, росписи тканей, бутафорской;
- 5,6 м - скульптурного участка бутафорской мастерской (20% площади помещения).
Высота помещения для монтажа объемных и станковых декораций должна быть равна высоте кармана сцены.
Высота помещений прочих мастерских - не менее 3,3 м.
6.2.7.1 Состав и площади помещений художественного руководства артистическими труппами и технического персонала, обслуживающего сцену при музыкальной и драматической труппах приведены в таблице К.1 (приложение К).
6.2.7.2 Состав и площадь помещений административно-хозяйственного персонала приведены в таблице К.2 (приложение К).
6.2.8.1 Помещения медицинско-оздоровительного назначения для артистов и персонала предусматривают в зданиях театров и концертных залов по заданию на проектирование. Их состав и площади приведены в приложении Л.
6.2.8.2 Расчетным показателем помещений медицинско-оздоровительного назначения следует принимать число посетителей, которое устанавливается заданием на проектирование в соответствии с численностью типовых штатов культурно-зрелищного учреждения.
6.2.8.3 Помещения медицинско-оздоровительного назначения допускается размещать в изолированном блоке или отдельно стоящем здании.
6.2.8.4 Сауны следует проектировать согласно СП 118.13330, ГОСТ 32670 и ГОСТ Р 55321.
6.2.8.5 Помещения медицинско-оздоровительного назначения следует планировать изолированными от других групп помещений культурно-зрелищного учреждения, обеспечивая при этом удобную связь помещений медицинско-оздоровительного назначения со служебно-бытовыми помещениями учреждения.
Помещения медицинского обслуживания, а также помещения оздоровления и профилактики заболеваний не допускается проектировать проходными.
6.2.8.6 Помещения медицинско-оздоровительного назначения должны быть непосредственно связаны с вестибюлем служебного входа культурно-зрелищного учреждения, а в культурно-зрелищных учреждениях первого уровня комфорта для группы помещений медицинско-оздоровительного назначения допускается предусматривать отдельный служебный вход или служебный вход с вестибюлем.
6.2.8.7 Не допускается размещать группу помещений медицинского обслуживания смежно, над и под зрительным залом, с помещениями общественного питания, ремонтными мастерскими и другими помещениями и устройствами, работа которых сопровождается шумом, вибрацией, неприятными запахами и т.п.
6.2.8.8 В группе помещений медицинского обслуживания, при использовании коридоров в качестве ожидальных, их ширину следует принимать не менее 2,8 м при одностороннем расположении кабинетов или не менее 3,2 м - при двустороннем.
Ширину коридоров, не используемых в качестве ожидальных, следует принимать не менее 2 м.
Технические помещения театрально-зрелищных зданий принимаются в соответствии с СП 118.13330.
6.3.1 Санитарно-гигиенические помещения для посетителей и персонала размещаются раздельно. Их площади и оборудование рассчитываются в соответствии с приложением М с учетом вместимости зрительных залов и СП 118.13330.
6.3.2 Число санузлов при зрительском комплексе определяется, исходя из условного соотношения мужчин и женщин в зрительском зале 1:2.
6.4.1 Сохранение прочности и устойчивости несущих конструкций театрально-зрелищных зданий следует обеспечивать в соответствии с СП 118.13330.2012 (раздел 9).
6.4.2 Нормативные значения нагрузок для расчета конструкций культурно-зрелищных зданий следует принимать по СП 20.13330 с учетом нагрузок от технологического оборудования, устанавливаемого по заданию на проектирование.
6.4.3 При расчете конструкций должны быть рассмотрены аварийные ситуации, возникающие в связи с взрывом, столкновением, пожаром, которые могут привести к отказу или ослаблению какого-либо элемента конструкции и служить причиной прогрессирующего обрушения в соответствии с ГОСТ 27751.
6.4.4 Элементы, детали, оборудование со сроками службы меньшими, чем предполагаемый срок службы здания, должны быть заменяемыми в соответствии с установленными в проекте межремонтными периодами.
6.4.5 Конструкции и детали должны быть выполнены из материалов, обладающих стойкостью к возможным воздействиям влаги, низких температур, агрессивной среды, биологических и других неблагоприятных факторов, или защищены от их влияния в соответствии с СП 28.13330, ГОСТ 28574 и ГОСТ 28575.
7.1 В настоящем разделе приведены противопожарные требования к зданиям театров, кинотеатров, концертных залов с расчетным числом посадочных мест для посетителей в закрытых помещениях. Класс функциональной пожарной опасности - Ф 2.1 [3].
7.2 Основные принципы обеспечения и требования пожарной безопасности к театрально-зрелищным зданиям следует принимать в соответствии с [5], СП 118.13330.
7.3 Требования к обеспечению подъезда пожарных автомобилей приведены в СП 4.13130. Во внутренних замкнутых и полузамкнутых дворах площадью менее 250 м2 не требуется проезд пожарных машин.
7.4 Расчеты категорий встроенных складских и производственных помещений по взрывопожарной и пожарной опасности приведены в СП 12.13130.
7.5 Размеры зданий и пожарных отсеков следует выбирать в зависимости от степени их огнестойкости, класса конструктивной и пожарной опасности происходящих в них технологических процессов и вместимости. Правила их определения приведены в СП 2.13130.
7.6 В залах театрально-зрелищных зданий при превышении их площади по отношению к установленной, следует предусматривать противопожарные стены между зальными и другими помещениями. В помещениях вестибюлей и фойе при превышении их площади по отношению к установленной, вместо противопожарных стен допускается предусматривать противопожарные перегородки 2-го типа, в том числе светопрозрачные.
7.7 При устройстве многосветных вестибюлей и фойе, следует предусматривать их противодымную защиту из расчета обеспечения удаления всего образующегося дыма.
В зданиях с многосветными помещениями, предназначенными для размещения открытых лестниц, эскалаторов, атриумов и др., площадь этажа в пределах пожарного отсека определяется суммированием площади нижнего этажа многосветного помещения и площадей галерей, переходов и помещений всех вышележащих этажей, расположенных в пределах объема многосветного пространства, ограниченного противопожарными перегородками 1-го типа. При отсутствии противопожарных перегородок 1-го типа, отделяющих многосветное пространство (помещение) от примыкающих к нему помещений и коридоров, площадь этажа в пределах пожарного отсека определяется суммированием площадей соответствующих этажей.
Вместо противопожарных перегородок 1-го типа для выделения многосветных пространств допускается применение светопрозрачных конструкций из закаленного стекла толщиной не менее 6 мм, орошаемых от спринклерных оросителей интенсивностью по 2-й группе.
При устройстве по периметру открытых проемов в перекрытиях противодымных экранов (штор) с пределом огнестойкости не менее Е15, обеспечивающих нераспространение продуктов горения между этажами, площадь этажей допускается не суммировать. Высота дымовых штор должна определяться расчетом дымового слоя.
7.8 Для одноэтажных зданий I и II степени огнестойкости допускается применение несущих конструкций покрытий залов с пределом огнестойкости не менее R 60. Указанные конструкции допускается выполнять из древесины, подвергнутой обработке огнезащитными составами I группы огнезащитной эффективности по ГОСТ Р 53292. При этом вместимость зала может быть не более 800 мест, а остальные конструкции должны соответствовать требованиям, предъявляемым для зданий класса С0.
7.9 Пределы огнестойкости и классы пожарной опасности фонарей верхнего света, в том числе зенитных, и других светопрозрачных участков настилов покрытий не нормируются, за исключением специально оговоренных случаев и при нормировании пределов огнестойкости заполнения проемов в противопожарных преградах.
7.10 Конструкции заполнения светопрозрачных проемов в покрытиях зданий классов конструктивной пожарной опасности С0 и С1 следует выполнять из негорючих материалов.
7.11 Для зрительных залов должно предусматриваться применение материалов, обладающих необходимыми акустическими свойствами с показателями пожарной опасности не выше:
РП2, В2, Д3, Т2, Г2 - для пола;
Г1, В1, Д1, Т1 - для материалов, используемых в акустических панелях для стен и потолков;
РП1, Г1, Д1, Т1, В1 - для стеклоткани для стен;
Г1, В1, Д1, Т1 - для гипсокартонных листов для стен и потолков.
7.12 С каждого этажа необходимо предусматривать не менее двух эвакуационных выходов, кроме специально оговоренных случаев, указанных в нормативных документах.
7.13 При размещении в цокольном или подвальном этаже фойе, гардеробных, курительных и уборных допускается предусматривать отдельные открытые эвакуационные лестницы из подвального или цокольного этажа до первого этажа.
7.14 Требования к эвакуации следует принимать в соответствии с СП 118.13330. Требования к эвакуационным путям и выходам приведены в СП 1.13130.
Допускается уменьшать ширину проступи криволинейных парадных лестниц в узкой части до 22 см.
7.15 В качестве второго, третьего и последующих эвакуационных выходов в зданиях всех степеней огнестойкости во всех климатических зонах допускается предусматривать наружные открытые лестницы (лестницы 3-го типа) с уклоном не более 2:1.
7.16 В зданиях I и II степеней огнестойкости класса С0 допускается предусматривать лестницы 2-го типа из вестибюля до второго этажа, при этом вестибюль должен быть отделен от коридоров и смежных помещений противопожарными перегородками 1-го типа.
7.17 В зданиях высотой не более 28 м I и II степеней огнестойкости и конструктивной пожарной опасности С0 допускается применять лестницы 2-го типа, соединяющие более двух этажей, при наличии эвакуационных лестничных клеток, требуемых нормами, и при соблюдении требований: помещение, в котором расположена лестница 2-го типа, должно отделяться от примыкающих к нему коридоров и других помещений противопожарными перегородками 1-го типа. Допускается не отделять противопожарными перегородками помещение, в котором расположена лестница 2-го типа:
- при устройстве автоматического пожаротушения во всем здании;
- в зданиях высотой не более 9 м, площадью этажа не более 300 м2.
7.18 В комплексе помещений, обслуживающих зрителей допускается предусматривать не более двух открытых лестниц (2-го типа), при этом остальные лестницы (не менее двух) должны быть в закрытых лестничных клетках. На последующих этажах из помещений следует устраивать изолированные эвакуационные проходы, ведущие к закрытым лестничным клеткам.
7.19 Допускается размещать гардеробные без отделения от вестибюлей (фойе) при условии устройства в гардеробных дымоудаления, обеспечивающего безопасную эвакуацию людей, и систем автоматического пожаротушения.
7.20 В зданиях театров в комплексе помещений обслуживания сцены следует предусматривать не менее двух лестниц в закрытых лестничных клетках с естественным освещением, с выходами на чердак и кровлю, и две колосниковые лестницы, сообщающиеся с рабочими галереями и колосниками. Незадымляемые лестничные клетки могут быть без естественного освещения.
7.21 Наибольшее число людей, одновременно пребывающих на этаже, при расчете путей эвакуации необходимо определять исходя из расчетной вместимости помещений на данном этаже, в которых могут находиться посетители.
7.22 Расстояние от дверей наиболее удаленных помещений театрально-зрелищных зданий следует принимать в соответствии с СП 118.13330.
7.23 Ширину эвакуационного выхода из помещений и коридоров на лестничную клетку, а также ширину маршей лестниц, следует принимать в соответствии с СП 118.13330.
Ширина эвакуационных дверей помещений, в том числе выходов с балконов и лож - в соответствии с СП 118.13330.
7.24 Выход зрителей с балкона не должен осуществляться через зрительный зал.
7.25 Стационарные места в зрительных залах (кроме балконов и лож вместимостью до 12 мест) должны быть с устройствами для крепления к полу. При проектировании залов с трансформируемыми местами для зрителей следует предусматривать установку временных мест (сидений или звеньев из них) с обеспечением устройств, предотвращающих их опрокидывание или сдвижку при эксплуатации.
7.26 Допускается предусматривать один эвакуационный выход из помещений, рассчитанных на единовременное пребывание не более 50 человек, амфитеатров или балконов зрительных залов, при расстоянии вдоль прохода до эвакуационного выхода (двери) от наиболее удаленного места не более 25 м. При вместимости указанных помещений более 50 человек следует предусматривать не менее двух эвакуационных выходов.
7.27 Со сцены (эстрады), рабочих галерей и колосникового настила, из трюма, оркестровой ямы и сейфа скатанных декораций следует предусматривать не менее двух эвакуационных выходов.
7.28 Не допускается предусматривать пути эвакуации из зрительного зала, через помещения, которые по заданию на проектирование рассчитаны на единовременное (постоянное) пребывание более 50 человек.
7.29 Эвакуационный выход из кинопроекционной, в которой используются пленочные проекторы, следует предусматривать непосредственно на улицу, проход в здание - через тамбур с самозакрывающимися дверями.
7.30 На крыше зданий высотой более 10 м от проезда пожарного автомобиля до карниза следует предусматривать ограждение в соответствии с ГОСТ 25772.
7.31 Прием и регистрация сигналов о пожаре предусматривается на аппаратуру, размещаемую в помещении охраны.
8.1.1 Санитарно-гигиенические требования следует принимать для общественных помещений - в соответствии с СП 118.13330, для общественного питания - в соответствии с [6].
8.1.2 Материалы, применяемые в строительстве театрально-зрелищных зданий, должны соответствовать санитарно-гигиеническим и экологическим требованиям.
8.2.1 Допустимые условия микроклимата и воздушной среды в производственных помещениях (помещениях с технологическими процессами) принимаются в соответствии с СанПиН 2.2.4.548.
8.2.2 Расчетную температуру воздуха и кратность воздухообмена в помещениях отапливаемых стоянок автомобилей следует принимать в соответствии с СП 113.13330.
8.2.3 Для помещений театрально-зрелищных зданий необходимо предусматривать системы принудительной вентиляции, обеспечивающей циркуляцию воздуха, исключающую проникновение посторонних запахов в общественные и жилые помещения.
8.2.4 Окисляемость воздуха помещений должна быть не более 6 мг O2/м3.
Концентрация окиси углерода в помещениях не должна превышать значений ПДК (0,002 мг/л), двуокиси углерода - 0,1%, аммиака - 0,2 мг/м3, бензопропилена - 0,005 мг/м3.
Допускается озонирование воздуха помещений и очистка их от двуокиси углерода.
8.3.1 Защита от внутренних источников шума (инженерное оборудование, автостоянки, встраиваемые автономные источники теплоснабжения, системы кондиционирования и т.п.) должна обеспечивать нормативные уровни шума в соответствии с СП 51.13330, допустимые уровни шума приведены также в [8].
8.3.2 Допустимые значения вибрации от внешних и внутренних источников для помещений театрально-зрелищного здания приведены в [9].
8.4.1 Административные помещения с постоянным пребыванием людей должны быть с естественным освещением в соответствии с СП 52.13330, с учетом требований СанПиН 2.2.1/2.1.1.1278, нормы освещенности приведены также в [7].
Без естественного освещения могут быть вспомогательные помещения различного функционального назначения (коридоры, вестибюли, холлы, кулуары; буфетные, тренажерные залы а также другие помещения в соответствии с СП 118.13330).
8.4.2 Минимальную освещенность помещений источниками искусственного света следует принимать в соответствии с приложением Н.
9.1 В театрально-зрелищных зданиях следует предусматривать хозяйственно-питьевое, противопожарное и горячее водоснабжение, канализацию и водостоки, в соответствии с СП 8.13130, СП 10.13130, СП 30.13330, СП 31.13330, СП 118.13330.
Отопление, вентиляцию, противодымную защиту, кондиционирование воздуха следует проектировать в соответствии с СП 7.13130, СП 60.13330, СП 118.13330, ГОСТ 30494.
9.2 В кинотеатрах сезонного действия устройство санитарных узлов выполняется по заданию на проектирование.
9.3 Инженерные системы стоянок автомобилей следует предусматривать в соответствии с заданием на проектирование, с учетом требований СП 113.13330.
Для встроенных стоянок автомобилей следует предусматривать отдельные сети водоснабжения.
9.4 Крыльца, помещения с мокрой уборкой твердых покрытий пола или мокрыми процессами, санузлы и т.п., по заданию на проектирование, должны быть с устройствами для отведения воды. Для защиты от травматизма покрытия пола в этих помещениях должны соответствовать требованиям по скользкости СП 29.13330.
9.5 Открытая прокладка канализационных стояков не допускается.
9.6 Прокладка транзитных коммуникаций водопровода и канализации через помещения киноаппаратного комплекса и по стене, разделяющей зрительный зал и проекционную, не допускается.
9.7 Кондиционирование артистических уборных и административных помещений должно быть с устройствами местного регулирования или программирования тепловлажностных параметров.
9.8 В холодное время года температура воздуха в комнате для курения должна быть не менее 16 °C.
9.9 Электроснабжение и электрооборудование зданий следует проектировать в соответствии с требованиями [8].
9.10 Бани в составе помещений медицинско-оздоровительного назначения должны быть оборудованы агрегатами заводского изготовления.
9.11 В театрально-зрелищных зданиях с числом электрических светильников 300 и более следует предусматривать технические помещения для их чистки, мойки и временного складирования в контейнерах отработавших люминесцентных ламп типов ЛВ, ЛД и т.п. - из расчета 6 м2 на каждые 300 светильников.
9.12 Электроосвещение помещений театрально-зрелищных зданий в соответствии с требованиями [8], следует обеспечивать по следующим группам:
- общественные, административные помещения, пути эвакуации;
- вспомогательные помещения;
- технические помещения;
- наружное освещение.
9.13 Проектировать системы электросвязи инженерно-технического обеспечения театрально-зрелищных зданий следует в соответствии с требованиями СП 134.13330.
9.14 На участках театрально-зрелищных зданий следует предусматривать систему световых или освещенных указателей входа, направлений движения, мест парковки, наименований залов, предприятий питания и др. (СП 42.13330 и СП 140.13330), а также указателей пожарных гидрантов, путей эвакуации, адреса на фасаде и пр.
9.15 Аварийное освещение на путях эвакуации следует обеспечивать в соответствии с СП 52.13330, [5] и [8] в части, не противоречащей требованиям [5].
Для центрального диспетчерского пункта, узла связи, электрощитовых, постов охраны противопожарных служб следует предусматривать аварийное эвакуационное освещение, обеспечивающее минимальную освещенность не менее 5% нормируемой освещенности для общего рабочего освещения, но не менее 10 лк.
9.16 В театрально-зрелищных зданиях вместимостью 300 и более мест необходимо, а для меньшей вместимости - рекомендуется, предусматривать диспетчеризацию систем инженерного оборудования с созданием центральных диспетчерских пунктов (ЦДП).
9.17 Система диспетчеризации инженерного оборудования должна обеспечивать постоянный контроль и дистанционное управление (ДУ) вентиляцией и кондиционированием, теплоснабжением и водоснабжением (включая горячее, пожарное и хозяйственно-питьевое), канализацией, холодоснабжением, противопожарной защитой, электроосвещением и др.
9.18 Средства вертикального транспорта (лифты, эскалаторы, подъемные платформы) следует проектировать в соответствии с СП 118.13330.
9.19 Значения грузоподъемностей пассажирских лифтов, скорость их движения, размеры кабин и дверных проемов (в том числе доступных для инвалидов на колясках), а также шахт, машинных отделений следует принимать по ГОСТ Р 53770, ГОСТ Р 55966.
10.1 Проектирование архитектурных, функционально-технологических, конструктивных и инженерно-технических решений театрально-зрелищных зданий должно выполняться в соответствии с [9], [10] и СП 50.13330.
10.2 Требования к энергетической эффективности и правила для проектирования тепловой защиты приведены в [11] и [12].
10.3 Классы энергетической эффективности театрально-зрелищных зданий следует определять в соответствии с СП 50.13330.
10.4 Проектирование театрально-зрелищных зданий классов энергосбережения D и E не допускается. Классы A, B, C устанавливают для вновь возводимых и реконструируемых театрально-зрелищных зданий на стадии разработки проектной документации. Впоследствии, при эксплуатации класс энергосбережения здания должен быть уточнен в ходе энергетического обследования. Если он оказывается менее класса C, должны быть разработаны мероприятия по его повышению.
10.5 Присвоение театрально-зрелищному зданию классов энергосбережения B и A проводят только при условии включения в проект следующих обязательных энергосберегающих мероприятий:
- устройство индивидуальных тепловых пунктов [13], снижающих затраты энергии на циркуляцию в системах горячего водоснабжения и оснащенных автоматизированными системами управления и учета потребления энергоресурсов, горячей и холодной воды;
- применение энергосберегающих систем освещения общедомовых помещений, оснащенных датчиками движения и освещенности;
- применение устройств компенсации реактивной мощности двигателей лифтового хозяйства, насосного и вентиляционного оборудования.
10.6 При наличии в театрально-зрелищных зданиях атриумов, зимних садов и остекленных веранд теплотехнические расчеты для них проводят на основе уравнений теплового и воздушного баланса [12].
10.7 Водоподогреватели горячего водоснабжения помещений общественного, производственного и хозяйственного назначения должны проектироваться с устройствами, автоматически перекрывающими поток теплоносителя в часы нерабочего времени.
11.1 Инструкция, которая должна содержать данные, необходимые арендаторам (владельцам) помещений, а также эксплуатирующим организациям для обеспечения безопасности в процессе эксплуатации здания, разрабатывается проектировщиком, заказчиком или иной организацией по поручению заказчика. Порядок разработки инструкции и ее состав приведен в [16].
11.2 Эксплуатация театрально-зрелищных зданий осуществляется на основании инструкции по эксплуатации (см. п. 1.11) и выданного межведомственной комиссией разрешения на право эксплуатации (порядок выдачи приведен в [15]).
11.3 В процессе эксплуатации следует учитывать режим функционирования помещений, выявлять неиспользующиеся помещения, перераспределять функциональные нагрузки, оптимизировать число и площади помещений.
11.4 Для увеличения периода морального износа по заданию на проектирование в театрально-зрелищном здании возможно применение планировочных и пространственных трансформаций, а также их различных сочетаний.
11.5 Планировочная трансформация допускается в виде:
- трансформации зоны планшета сцены, авансцены и оркестровой ямы;
- трансформации зоны партера;
- трансформации зоны портала.
Необходимым условием планировочной трансформации является корректировка акустических условий над зоной авансцены с помощью подвижного акустического козырька, а в зале - с помощью изменения числа, положения и звукопоглощения поворотных панелей (на потолке и стенах) с акустической отделкой поверхностей.
11.6 Пространственная трансформация допускается в виде:
- выгородки из пространства зала его части, необходимой для проводимого вида мероприятий;
- деления пространства зала на несколько меньших, с одновременной эксплуатацией;
- объединения пространства одного зала с другими залами в одно целое;
- объединения пространства зала с другими помещениями в одно целое;
- объединения пространства зала с экстерьерным пространством (ландшафт и дополнительные зрительские места, расположенные под открытым небом).
Необходимым условием пространственной трансформации является требование решения задач архитектурной акустики и сохранение функционально-композиционного единства на всех стадиях изменения формы и объема пространства зала (залов).
11.7 Для проведения кинопоказа рекомендуется применять подвижные экраны, которые по способу подвижности подразделяются на сворачивающиеся, подъемно-опускные, складные, выжимные.
11.8 Нормативные нагрузки на конструкции сцены и технологического оборудования, а также коэффициенты перегрузки при эксплуатации приведены в [17].
11.9 Система технического обслуживания, ремонта и реконструкции должна обеспечивать нормальное функционирование театрально-зрелищных зданий в течение всего периода их использования по назначению. Сроки проведения ремонта зданий или их элементов должны определяться на основе оценки их технического состояния.
Техническое обслуживание должно проводиться постоянно в течение всего периода эксплуатации зданий. Перечень работ по техническому обслуживанию зданий, периодичность проведения плановых осмотров и ремонтно-строительных работ, состав основных работ по текущему ремонту приведены в [18].
12.1 Правила подсчета площади этажа, общей площади, полезной площади, расчетной площади, торговой площади (при наличии), строительного объема, площади застройки принимаются в соответствии с СП 118.13330.
12.2 Подсчеты этажности, высоты и заглубления зданий приведены в СП 160.1325800.
Приложение А
|
Тип театрально-зрелищного здания |
|
Театры: |
|
драматический |
|
музыкально-драматический |
|
музыкальной комедии |
|
оперы и балета |
|
детский |
|
кукольный |
|
другие (многожанровые; гастрольные, студийные, экспериментальные, молодежные; пантомимы; эстрады; летние и иные) |
|
Концертные залы: |
|
филармонические для симфонических и гала-концертов, органных концертов и т.п. |
|
эстрадные |
|
народной вокально-инструментальной музыки и танцев |
|
музыкально-речевые |
|
концертно-театральные |
|
универсальные концертные (киноконцертные, спортивно-концертные и др.) |
|
зрелищно-досуговые (банкеты, танцы, выставки) |
|
Кинотеатры: |
|
однозальные |
|
многозальные |
Приложение Б
|
Залы |
Вместимость зала, мест |
|
Камерные |
До 80 |
|
Малые |
От 81 до 300 |
|
Средние |
От 301 до 800 |
|
Большие |
От 801 до 1200 |
|
Крупные |
От 1201 |
|
Вместимость зала, мест |
Форма кинообслуживания |
Вид кинопроекции |
Уровень комфорта |
Область применения |
|
1200 - 800 (универсальный) |
Кинопремьеры, кинофестивали, кинонедели, концерты, собрания |
Широкоформатная, широкая |
1 |
В составе киноцентров (фестивальных, премьерных кинотеатров) |
|
800 - 600 (универсальный) |
Кинопремьеры, обычный кинопоказ, концерты, собрания |
Широкая |
1 - 2 |
В составе общерайонного кинотеатра, обслуживающего жителей планировочного района |
|
600 - 400 (универсальный) |
Обычный кинопоказ, концерты, собрания |
Широкая, обычная |
1 - 2 |
В составе районного кинотеатра или в составе многозального комплекса (многопрограммного кинотеатра) |
|
500 - 200 (универсальный) |
Демонстрация детских фильмов |
Широкая, обычная |
2 - 3 |
В составе детского кинотеатра или в составе районного кинотеатра |
|
400 - 200 (универсальный) |
Демонстрация фильмов прошлых лет, кинолекторий, дискуссионный клуб |
Широкая, обычная |
1 - 2 |
В составе "студийного" кинотеатра, кинокомплекса |
|
300 - 100 |
Обычный кинопоказ |
Обычная |
2 - 3 |
Кинозал для обслуживания жителей микрорайона в составе общественного центра, встроенный (пристроенный) в жилое здание, гостиницу или в составе кинокомплекса |
|
200 - 100 |
Непрерывный кинопоказ |
Обычная |
3 |
Кинотеатр "экспресс" в местах интенсивного пешеходного потока, в транспортных узлах на вокзалах, в аэропортах |
|
Примечание - Вместимость кинозалов может быть уменьшена по заданию на проектирование. | ||||

а - план, б - разрез;
1 - сцена, 2 - авансцена, 3 - оркестровая яма, 4 - партер, 5 - ложи, 6 - амфитеатр, 7 - балконы; а - длина зала, б - превышение луча зрения зрителя над головой впереди сидящего - см. таблицу Б.1 (приложение Б); в - вертикальный угол размещения зрительских мест; г - горизонтальный угол размещения зрительских мест - см. таблицу Б.2 (приложение Б)
Рисунок Б.1 - Схема зрительного зала с колосниковой глубинной портальной сценой
|
Наименование параметра |
Расчетное значение, м, в зависимости от уровня комфорта |
Примечание (Длина измеряется по оси зала до спинки сидений последнего ряда) | ||
|
1 |
2 |
3 | ||
|
Длина зрительного зала, не более: | ||||
|
- в речевых залах |
15 |
20 |
25 |
От красной линии сцены 1 |
|
- в музыкальных залах с естественной акустикой |
20 2 |
30 |
32 |
От красной линии сцены 1 |
|
- в концертных залах со звукоусилением |
40 |
40 |
50 |
От красной линии сцены 1 |
|
- в кинозалах круглогодичного использования |
45 |
45 |
45 |
От экрана |
|
- в кинозалах сезонного использования |
60 |
60 |
60 |
От экрана |
|
Превышение луча зрения зрителя над головой впереди сидящего, не менее 3: |
Лучи зрения направляются по кратчайшему расстоянию на красную линию сцены 1 | |||
|
- в передних рядах (20% общего числа рядов) |
0,10 |
0,08 |
0,06 | |
|
- в средних рядах (основной массив) |
0,12 |
0,12 |
0,12 | |
|
- в задних рядах (20% общего числа рядов) |
0,15 |
0,14 |
0,12 | |
|
- над барьером балкона |
0,12 4 |
0,12 4 |
0,12 4 | |
|
1 Требование распространяется только на традиционную глубинную портальную сцену и не распространяется на трехстороннюю, сцену-арену и другие нетрадиционные типы сцен. 2 Показатель может быть увеличен до 27 по заданию на проектирование. 3 В условиях реконструкции значения могут быть изменены в зависимости от конкретных условий. 4 Показатель может быть уменьшен до 0,10 по заданию на проектирование. | ||||
|
Наименование параметра |
Расчетные величины, градусы |
Примечания |
|
Горизонтальный ограничительный угол размещения зрительских мест (не более) |
Образуется лучами, проведенными из: | |
|
театры |
30 * |
- точки, лежащей на оси сцены, через боковые грани строительного портала |
|
эстрады |
60 | |
|
кинотеатры |
45 |
- центра экрана |
|
Вертикальный ограничительный угол размещения зрительских мест (не более) |
Образуется лучом зрения, проведенным от глаза зрителя ** через середину красной линии сцены | |
|
для театров и концертных залов | ||
|
- для мест по оси зала |
26 | |
|
- для ближайших к сцене боковых мест |
40 | |
|
кинотеатры |
Образуется лучами выше и ниже от нормали в центре экрана | |
|
- для обычных |
30 | |
|
- для широкоформатного |
22 | |
|
- для широкоэкранного |
20 | |
|
Примечание: * Допускается увеличение до 35% ** Высота глаза зрителя над уровнем пола принимается: 1,15 м - в театрах; 1,2 м - в кинотеатрах. | ||
|
Уровень комфорта |
Расстояние между границей сцены (барьером оркестровой ямы) и спинками кресел первого ряда, м, при вместимости зала |
Ширина проходов в зале, м | |
|
до 300 мест |
301 и более мест | ||
|
1 |
2,0 |
2,5 |
1,5 |
|
2 |
1,5 |
2,0 |
1,35 |
|
3 |
Не менее 1,2 |
Не менее 1,5 |
Не менее 1,0 |
Б.1 Высоту от уровня пола зрительного зала до выступающих конструкций вышерасположенных балконов или ярусов с числом рядов до трех следует принимать не менее 2,1 м, при большем числе рядов - не менее 3,0 м. Высота барьера балкона или яруса должна быть не менее 0,8 м. Барьер, при ширине менее 30 см, должен быть оборудован защитной сеткой для предотвращения падения предметов (биноклей, сумочек и пр.).
Б.2 Уклон пола (пандусов) в зрительном зале допускается не более 1:7. При устройстве в проходах ступеней высоту подступенков следует принимать не более 0,2 м.
|
Наименование показателя |
Размер помещения, м, в зависимости от типа оркестра | ||
|
оперно-балетный |
музыкально-драматический |
прочие | |
|
Ширина помещения по оси зала, не менее |
4,5 - 6,0 |
3,0 - 5,0 |
2,5 |
|
Ширина проема не менее |
4,5 |
2,0 - 3,5 |
1,7 |
|
Высота помещения от пола до уровня планшета сцены (просцениума, авансцены) |
2,4 - 2,8 |
2,1 - 2,4 |
1,9 |
Б.3 В помещении оркестра для 50 чел. и более должно быть не менее двух эвакуационных выходов. Высота и ширина дверных проемов в свету на путях эвакуации из помещения оркестра должны быть не менее 1,9 и 1,2 м соответственно.
|
Уровень комфорта |
Размер кресел по оси подлокотников, м, не менее |
Расстояние между спинками сидений, м, не менее |
Ширина, м, не менее |
Число мест в ряду, установленных непрерывно, не более | ||
|
прохода в ряду |
мест в осях подлокотников |
при одностороннем выходе |
при двустороннем выходе | |||
|
1 |
0,58 |
1,1 |
0,55 |
от 0,58 |
6 |
12 |
|
2 |
0,54 |
1,0 |
0,50 |
0,56 |
16 |
30 |
|
3 |
0,50 |
0,9 1 |
0,45 |
0,52 |
26 |
50 |
|
1 Значение для скамей - меньше на 0,05 м. | ||||||
Приложение В
|
Назначение зала |
Объем зала, м3, на 1 место 1 |
|
Речевой (драмтеатр) |
4 - 5 |
|
Кинозал |
4 - 6 |
|
Музыкальный (музыкально-драматический театр) |
5 - 7 |
|
Оперно-балетный, концертный |
6 - 8 |
|
1 Допускается увеличение или уменьшение показателя на 20%. | |
В.1 Форма зрительного зала, его размеры, звукоотражающие поверхности должны обеспечивать равномерное распределение прямой и отраженной звуковой энергии на всех зрительских местах, исключать возможность возникновения эха, концентрации звуковых отражений (особенно поздних).
Зрительские места, расположенные на расстоянии более 8 м от источника звука (на сцене или эстраде) необходимо обеспечивать ранними интенсивными отражениями. Запаздывание наиболее раннего из этих отражений, а также промежутки времени между приходами последующих отражений (время реверберации) не должны превышать 30 миллисекунд (для театральных залов оперных и балетных - 35 мс).
В.2 Рекомендуемое время реверберации, необходимое для расчетов при выборе отделки зала, помещений хора, оркестра следует определять по графику, приведенному на рисунке В.1. На частоте 125 Гц допускается, а в зрительных залах театров оперы и балета целесообразно, увеличение времени реверберации до 20%.

1 - оперно-балетные театры; 2 - музыкально-драматические театры, кинозалы; 3 - драматические театры и аудитории
Рисунок В.1 - Рекомендуемое время реверберации на частотах 500 - 2000 Гц для залов различного назначения в зависимости от их объема
В.3 Мероприятия по звукоизоляции помещений следует предусматривать в соответствии с СП 51.13330.
В.4 В залах, оборудованных киноустановками, при расположении динамиков за киноэкраном, следует предусматривать для стены за экраном звукопоглощающую отделку с коэффициентом звукопоглощения не менее 0,6 в диапазоне частот 100 - 4000 Гц. Звукопоглощающую отделку следует предусматривать также в кинопроекционных и звукоаппаратных.
Приложение Г
|
Наименование помещения для обслуживания сцены |
Состав помещений при уровне комфорта | ||
|
1 |
2 |
3 | |
|
Помещения постановочного освещения: | |||
|
- осветительные боковые ложи |
+ |
+ |
+ |
|
- светопроекционная |
+ |
+ |
+ |
|
- помещение выносного софита |
+ |
+ |
+ |
|
- светорегуляторная |
+ |
+ |
+ |
|
- помещение фронтального освещения |
+ |
+ |
+ |
|
- рирпроекционная |
± |
± |
± |
|
- тиристорная (существуют новые системы без тиристорной) |
+ |
+ |
+ |
|
Помещения механооборудования: | |||
|
- помещение главного механика |
+ |
+ |
+ |
|
- склад главного механика |
+ |
+ |
+ |
|
- электрощитовая |
+ |
+ |
+ |
|
- помещение лебедок для управления тросами подъемов |
+ |
+ |
+ |
|
- помещение лебедок для привода поворотных кругов |
При наличии встроенного круга | ||
|
- помещение для электропривода противопожарного занавеса |
+ |
+ |
+ |
|
Помещения слаботочного оборудования зала и сцены: | |||
|
- диспетчерская компьютерного управления |
+ |
+ |
- |
|
- звукоаппаратная |
+ |
+ |
+ |
|
- кабина звукооператора (звукорежиссера) |
+ |
+ |
- |
|
- кабина диктора |
+ |
+ |
- |
|
- кабина переводчика |
+ |
± |
- |
|
- студия звукозаписи |
+ |
+ |
- |
|
- помещение телевизионного полустационара |
+ |
- |
- |
|
- аппаратная технологической связи |
+ |
+ |
+ |
|
- помещение местной АТС |
+ |
± |
± |
|
- помещение электрочасового узла |
+ |
+ |
- |
|
- помещение местного радиоузла |
+ |
- |
- |
|
Складские помещения: | |||
|
- крупногабаритных, мягких скатанных декораций, бутафории, реквизита, сценической аппаратуры |
+ |
+ |
+ |
|
Мастерские: | |||
|
- монтировочный зал (монтаж декораций) |
+ |
+ |
+ |
|
- живописно-декоративная мастерская |
+ |
+ |
- |
|
- макетная |
+ |
+ |
+ |
|
- бутафорская |
+ |
+ |
- |
|
- столярная |
+ |
+ |
+ |
|
- слесарная |
+ |
+ |
+ |
|
- пошивочная костюмов, обуви, головных уборов с закройной и примерочной |
+ |
± |
- |
|
- пропиточная, постирочная, красильная, сушильная |
+ |
± |
- |
|
Помещения художественного руководства и технического персонала: | |||
|
Помещения художественного руководства: | |||
|
- комната главного режиссера |
+ |
+ |
+ |
|
- комната главных дирижера, хормейстера, балетмейстера |
В оперных и музыкальных театрах | ||
|
- комната главного художника |
+ |
+ |
+ |
|
- помощника главного режиссера |
+ |
+ |
+ |
|
- ассистента режиссера |
+ |
+ |
+ |
|
- ассистентов дирижера, хормейстера, балетмейстера |
В оперных и музыкальных театрах | ||
|
- инспектора сцены |
+ |
+ |
+ |
|
- инспекторов хора, балета, оркестра |
В оперных и музыкальных театрах | ||
|
- заведующих труппой и репертуаром, музыкальной и литературной частью |
+ |
+ |
+ |
|
- заведующего постановочной частью |
+ |
+ |
+ |
|
- помещение постановочной части |
+ |
+ |
+ |
|
- концертмейстеров и репетиторов |
+ |
- |
- |
|
Помещения технического персонала, обслуживающего сцену: | |||
|
- машиниста сцены с кладовой |
+ |
+ |
+ |
|
- заведующих освещением сцены, монтировочной частью, слаботочным комплексом |
+ |
+ |
+ |
|
- отдыха рабочих сцены |
+ |
+ |
+ |
|
- заведующего телевизионным комплексом |
+ |
- |
- |
|
Обозначения: "+" - наличие помещения необходимо; "-" - помещение не предусматривается; "±" - наличие/отсутствие помещения определяется заданием на проектирование. | |||

а - план, б - разрез;
1 - сцена, 2 - арьерсцена, 3 - карманы сценические, 4 - авансцена, 5 - оркестровая яма; 6 – арка портальная, 7 - галереи рабочие, 8 - колосники сцены, 9 - портальное отверстие, 10 - верхняя сцена, 11 - трюм сцены (нижняя сцена); Вп - высота портала; Гс - глубина сцены; Гав – глубина авансцены; Гар - глубина арьерсцены; Гк – глубина сценического кармана; Шс - ширина сцены; Шар – ширина арьерсцены; Шк - ширина кармана; Шп – ширина портала - см. таблицу Г.2 (приложение Г)
Рисунок Г.1 - Схема колосниковой глубинной портальной сцены
|
Тип сцены |
Ширина, м |
Глубина, м |
Высота, м |
Строительный портал (игровой портал) |
Глубина авансцены, м, не менее |
Арьерсцена |
Карман |
Число рабочих галерей | |||||
|
Ширина, м |
Высота, м |
Ширина, м |
Глубина, м |
Высота, м |
Ширина, м |
Глубина, м |
Высота, м | ||||||
|
Э-1 |
9 |
6 |
5,5 |
- |
- |
- |
- |
- |
- |
- |
- |
- |
- |
|
Э-2 |
12 |
7,5 |
6 |
8,5 * |
5 * |
1,5 * |
- |
- |
- |
- |
- |
- |
- |
|
Э-3 |
15 |
9 |
7,5 |
10,5 * |
5,5 * |
1,5 * |
- |
- |
- |
- |
- |
- |
- |
|
Э-4 |
18 |
12 |
9 |
12 * |
6,5 * |
1,5 * |
- |
- |
- |
- |
- |
- |
- |
|
Э-5 |
21 |
12 |
9 |
14 * |
7,5 * |
1,5 * |
- |
- |
- |
- |
- |
- |
- |
|
Э-6 |
24 |
15 |
11 |
16 * |
9 * |
1,5 * |
- |
- |
- |
- |
- |
- |
- |
|
С-1 |
12 |
7,5 |
10,5 |
8,5 (6) |
5 (4,5) |
1,5 |
- |
- |
- |
- |
- |
- |
- |
|
С-2 |
15 |
7,5 |
11,5 |
10,5 (6) |
5,5 (4,5) |
1,5 |
- |
- |
- |
- |
- |
- |
- |
|
С-3 |
18 |
9 |
12,5 |
13 (6) |
6,5 (4,5) |
1,5 |
- |
- |
- |
- |
- |
- |
- |
|
С-4 |
18 |
12 |
18 |
8 (7) |
5,5 (5) |
1,8 |
12 |
3 |
8,5 |
6 |
12 |
6,5 |
2 - 3 |
|
С-5 |
21 |
12 |
16 |
14 (8) |
7,5 (5,5) |
1,5 |
- |
- |
- |
- |
- |
- |
2 - 3 |
|
С-6 |
21 |
15 |
20 |
10 (8) |
6,5 (5,5) |
1,8 |
15 |
6 |
11 |
7,5 |
12 |
7,5 |
3 - 4 |
|
С-7 |
24 |
18 |
22 |
12 (10) |
7,5 (6,5) |
1,8 |
18 |
6 |
12 |
9 |
15 |
8,5 |
3 - 4 |
|
С-8 |
27 |
21 |
24 |
14 (12) |
8,5 (7,5) |
1,8 |
21 |
6 |
13,5 |
12 |
18 |
9,5 |
4 - 5 |
|
С-9 |
30 |
21 |
26 |
16 (14) |
9,5 (8,5) |
1,8 |
24 |
9 |
15 |
12 |
21 |
10,5 |
4 - 5 |
|
Примечания 1 Ширину строительного портала для сцен С-4, С-6 - С-9 допускается увеличивать на 1,5 м; высоту - на 0,5 - 2,5 м, определяя промежуточные значения допусков в зависимости от размера сцены. 2 При увеличении глубины авансцены допускается соответственно уменьшать глубину сцены, но не более чем на 25%. 3 При проектировании откатного круга глубина арьерсцены и размеры кармана определяются проектом. 4 Размеры (в плане) эстрад, сцен, арьерсцен и карманов указаны в осях строительных конструкций, авансцены - от внутреннего края проема оркестровой ямы или передней кромки авансцены до красной линии сцены (эстрады). 5 Высоту эстрады следует принимать от уровня планшета до потолка (технологического оборудования). Высоту сцен следует принимать от уровня планшета до верха колосникового настила, высоту карманов - от пола до пола вышележащего этажа, высоту арьерсцены - от уровня планшета до перекрытия. Указанная высота арьерсцены принимается при наличии над ней колосникового настила. -------------------------------- * - значение рекомендуемое. | |||||||||||||

а - план; б - разрез;
1 - портальная арка, 2 - авансцена, 3 – боковые осветители ложи, 4 - помещения выносных софитов, 5 - фронтальная осветительная ложа
Рисунок Г.2 - Схема размещения помещений постановочного освещения сцены
|
Наименование помещения |
Площадь, м2, не менее при числе кинопроекторов | |||||
|
4 |
2 |
3 |
2 |
2 |
1 | |
|
для 70/35-мм фильмов |
для 35-мм фильмов |
для 35-мм фильмов с лампами накаливания |
для 16-мм фильмов | |||
|
Проекционная |
50 |
30 |
24 |
18 |
10 |
6 1 |
|
Перемоточная |
10 |
7 |
6 |
6 2 |
- |
- |
|
Агрегатная охлаждения кинопроекторов |
26 |
15 |
10 3 |
10 3 |
- |
- |
|
Комната киномеханика |
10 |
10 |
10 |
10 |
- |
- |
|
Радиоузел |
+ |
+ |
+ |
- |
- |
- |
|
Мастерская киномеханика |
10 |
- |
+ |
- |
- |
- |
|
Санитарный узел |
2 |
2 |
2 |
2 |
- |
- |
|
1 При использовании для кинопоказа передвижной 16-мм киноустановки допускается предусматривать в зале огороженное барьером место площадью 4 м2. 2 При установке двух и более кинопроекторов, в многозальных кинотеатрах помещение перемоточной для каждого зала допускается не предусматривать. При этом площадь проекционной должна быть увеличена на половину площади перемоточной. 3 Только при установке кинопроекторов с ксеноновой лампой 5 кВт и более, с водяным охлаждением электродов. | ||||||

а - план; б - разрез;
Значения размеров а - к приведены в таблице Г.4
Рисунок Г.3 - Схема планировки кинопроекционной
|
Обозначение параметра |
Наименование параметра |
Размеры, м, при применении кинопроекторов | |||
|
цифровая кинопроекция |
для 70/35-мм фильмов |
для 35-мм фильмов |
для 35-мм фильмов с лампами накал. и 16-мм фильмов | ||
|
а |
Расстояние: | ||||
|
- при необходимости доступа к оборудованию с задней стороны |
1,0 |
0,8 |
0,8 |
- | |
|
- при отсутствии необходимости доступа к оборудованию с задней стороны |
0,1 |
0,1 |
0,1 |
0,1 | |
|
б |
Расстояние от оптической оси крайнего левого проектора до левой стены или оборудования |
1,2 |
1,5 |
1,2 |
1,0 |
|
в |
Расстояние между оптическими осями смежных кинопроекторов и от оптической оси крайнего правого проектора до правой стены оборудования |
1,5 |
1,8 |
1,5 |
1,2 |
|
г |
Расстояние от передней стены до выступающей части кинопроектора |
0,2 (без системы трехмерного изображения, устанавливаемой перед объективом проектора) |
0,5 |
0,35 |
0,35 |
|
д |
Расстояние от кинопроектора до оборудования или задней стены |
1,2 |
1,2 |
1,2 |
1,2 |
|
е |
Расстояние между центрами проекционного и смотрового окон |
0,5 |
- |
0,5 |
0,5 |
|
и |
Расстояние от центра проекционных и смотровых окон до отметки чистого пола (при горизонтальном положении оси кинопроектора) |
1,25 рекомендуемая |
1,25 |
1,25 |
1,25 |
|
к |
Высота кинопроекционной от пола до потолка в чистоте |
2,6 |
2,9 |
2,6 |
2,6 |
Приложение Д
|
Наименование помещения |
Состав помещений при уровне комфорта | ||
|
1 |
2 |
3 | |
|
Помещения для артистов, музыкантов: | |||
|
- артистические уборные |
+ |
+ |
+ |
|
- комната отдыха музыкантов |
В оперных и музыкальных театрах | ||
|
- комната дирижера | |||
|
- помещение для занятий музыкантов | |||
|
- помещение настройки инструментов | |||
|
- комната хранения музыкальных инструментов | |||
|
Помещения, обслуживающие артистов: | |||
|
- помещение ожидания выхода на сцену |
+ |
+ |
+ |
|
- дежурные гримерно-парикмахерские (мужские и женские) |
+ |
+ |
+ |
|
- общая комната отдыха артистов и музыкантов |
+ |
+ |
+ |
|
- курительные |
+ |
+ |
+ |
|
- дежурные костюмерные (мужские и женские) |
+ |
+ |
+ |
Д.1 Число артистов в одной артистической уборной принимается по заданию на проектирование. Площадь артистических уборных приведена в таблице Д.2.
|
Число артистов в помещении 1 |
Площадь, м2, при уровне комфорта |
Примечание | ||
|
1 |
2 |
3 | ||
|
1 |
25 |
12 - 15 |
9 - 11 |
На две артистические уборные 3 уровня комфорта предусматривается один санитарный узел (один унитаз и один душ) 2 |
|
2 |
9 |
8 |
6 - 7,5 | |
|
3 |
7 |
6 |
4,5 - 5,5 | |
|
4 |
6 |
5 |
3,5 - 4,5 | |
|
5 |
- |
4 |
3 - 3,5 | |
|
1 Артистические уборные на большее число человек предусматриваются для артистов хора, кардебалета, а также для детских трупп. При каждой артистической уборной 1 и 2 уровня комфорта (или на две комнаты) следует предусматривать санитарный узел (умывальник, душ, биде) из расчета один прибор на 4 чел. 2 При проектировании санитарного узла в составе каждой артистической уборной ее площадь следует увеличивать на 10%. | ||||
Д.2 По заданию на проектирование предусматриваются и артистические уборные типа "люкс" - с дополнительными помещениями, с расширенным санузлом. Для солистов оперы и дирижеров, ведущих оперно-балетных театров, предусматривают установку в уборных рояля или пианино.
|
Наименование помещения |
Площадь, м2, на одного музыканта при уровне комфорта |
Примечание | ||
|
1 |
2 |
3 | ||
|
Комната дирижера |
25 |
15 |
10 | |
|
Комната отдыха музыкантов |
1,5 |
1,2 |
1,0 |
Не менее 15 м2 |
|
Помещение для занятий музыкантов |
0,8 |
0,6 |
0,5 |
Не менее 20 м2 |
|
Помещение для настройки инструментов |
0,8 |
0,6 |
0,5 |
Не менее 20 м2 |
|
Комната хранения музыкальных инструментов |
0,1 |
0,1 |
0,1 |
Не менее 10 м2 |
|
Наименование помещения |
Площадь 1, м2, при уровне комфорта | ||
|
1 |
2 |
3 | |
|
Дежурные костюмерные (мужская и женская) |
30 - 50 |
25 - 45 |
20 - 30 |
|
Дежурные гримерно-парикмахерские (мужская и женская) |
30 - 60 |
25 - 55 |
20 - 50 |
|
1 Меньшие значения относятся к зрительным залам драматических трупп; большие - музыкальных. | |||
Приложение Е
|
Наименование помещения |
Размеры, м, репетиционных помещений театров для сцен типов | ||||||
|
драматических и музыкально-драматических |
музыкальной комедии |
оперы и балета | |||||
|
С-4 |
С-6 |
С-7 |
С-7 |
С-8 |
С-8 |
С-9 | |
|
Репетиционные залы: | |||||||
|
- большой |
9 x 9 x 5 |
12 x 12 x 6 |
15 x 15 x 6 |
15 x 15 x 6 |
18 x 18 x 7,5 |
18 x 18 x 7,5 |
21 x 21 x 7,5 |
|
- малый |
9 x 6 x 3,6 |
9 x 9 x 3,6 |
12 x 12 x 5 |
12 x 12 x 5 |
15 x 12 x 6 |
15 x 12 x 6 |
15 x 15 x 6 |
|
Залы для репетиций: | |||||||
|
- балета |
- |
- |
15 x 9 x 4,5 |
15 x 9 x 4,5 |
18 x 12 x 4,5 |
18 x 12 x 4,5 |
18 x 15 x 4,5 |
|
18 x 15 x 4,5 | |||||||
|
- оркестра |
- |
- |
- |
9 x 6 x 4,2 |
12 x 9 x 5,1 |
15 x 9 x 5,7 |
15 x 12 x 6 |
|
- хора |
- |
- |
6 x 6 x 4,2 |
6 x 6 x 4,2 |
9 x 6 x 4,5 |
9 x 9 x 4,8 |
12 x 9 x 4,8 |
|
9 x 9 x 4,8 | |||||||
|
Репетиционно-физкультурный зал |
18 x 9 x 6 |
18 x 9 x 6 |
24 x 12 x 6 |
- |
- |
- |
- |
|
Универсальное репетиционное помещение |
5 x 6 |
5 x 6 |
5 x 6 |
5 x 6 |
6 x 6 |
6 x 6 |
6 x 6 |
|
Примечания 1 Размеры залов - длина x ширина x высота. 2 Размеры в плане указаны в осях строительных конструкций, высота - от пола до низа выступающих конструкций перекрытий. 3 При проектировании музыкально-драматического театра для двух трупп - драматической и музыкальной - предусматриваются залы для репетиций - балета, оркестра, хора. | |||||||
Приложение Ж
|
Тип сцены 1 |
Значение площади склада, м2 | ||||||||
|
объемных и станковых декораций |
скатанных декораций |
бутафории, мебели, реквизита |
костюмов (гардеробная) | ||||||
|
д |
р |
д |
р |
д |
тс |
р |
тс |
р | |
|
С-1 по С-6 |
150 |
150 |
40 |
40 |
35 |
40 |
50 |
70 |
50 |
|
С-7 |
200 |
200 |
45 |
45 |
45 - 50 2 |
50 - 60 2 |
60 |
95 - 105 2 |
80 |
|
С-8 |
220 - 260 3 |
260 |
55 |
55 |
50 - 60 3 |
60 - 80 3 |
80 |
105 - 150 3 |
100 |
|
С-9 |
260 - 350 4 |
350 |
60 |
60 |
75 |
100 |
100 |
180 |
120 |
|
Обозначения: "д" - дежурный склад, "тс" - текущего сезона, "р" - резервный склад. 1 Типы сцен приведены в таблице Г.2 (приложение Г). 2 Меньшее число относится к драматическим театрам, большее - к музыкально-драматическим. 3 Меньшее число относится к драматическим театрам, большее - к музыкально-драматическим и оперно-балетным. 4 Меньшее число относится к музыкально-драматическим театрам, большее - к оперно-балетным. | |||||||||
|
Тип сцены |
Высота помещения склада декораций |
Размеры проемов, м, соединяющих склады со сценой и карманами | |
|
Ширина |
Высота | ||
|
С-1 - С-3, С-5 |
Равна высоте строительного портала |
2,0 |
Равна высоте строительного портала минус 0,5 м |
|
С-6 - С-9, С-4 |
равна высоте карманов |
2,5 |
Равна высоте карманов |
|
Наименование показателя |
Расстояние между полками |
Глубина стеллажа |
Проход между стеллажами, не менее |
|
Размеры стеллажа, м | |||
|
- для мебели |
1,0 |
1,0 |
1,7 |
|
- для бутафории и реквизита |
- |
0,6 |
0,8 |
Приложение И
|
Тип сцены |
Размеры помещений, м | |||
|
для монтажа объемных и станковых декораций |
живописно-декорационной мастерской 1 | |||
|
Длина |
Ширина |
Длина |
Ширина | |
|
С-4 |
11 |
7,5 |
23 17 |
9 12 |
|
С-6 |
12 |
8 |
27 19 |
10 14 |
|
С-7 |
14 |
9 |
31 23 |
12 16 |
|
С-8 |
16 |
10 |
37 25 |
13 19 |
|
С-9 |
18 |
11 |
41 27 |
14 21 |
|
1 Размеры мастерской даны в двух вариантах в зависимости от взаимного расположения на полу двух задников (горизонтально или вертикально) плюс проходы. | ||||
Приложение К
|
Наименование помещения |
Значение площади помещения, м2, при уровне комфорта |
Примечание | ||
|
1 |
2 |
3 | ||
|
Помещения художественного руководства: | ||||
|
- главного режиссера |
30 |
25 |
20 |
+ |
|
- главного дирижера |
30 |
20 |
15 |
В оперных и музыкальных театрах |
|
- главного хормейстера |
20 |
15 |
10 | |
|
- главного балетмейстера |
30 |
15 |
10 | |
|
- главного художника |
20 |
15 |
10 |
Размещается при живописно-декорационной мастерской |
|
- помощника главного режиссера |
15 |
10 |
8 | |
|
- ассистента режиссера |
15 |
12 |
- | |
|
- ассистентов дирижера, хормейстера, балетмейстера |
15 |
12 |
- |
В оперных и музыкальных театрах |
|
- инспектора сцены |
15 |
12 |
10 | |
|
- инспекторов хора, балета, оркестра |
15 |
12 |
10 |
В оперных и музыкальных театрах |
|
- инспектора оркестра |
15 |
10 |
8 | |
|
- заведующих труппой и репертуаром, музыкальной и литературной частью |
15 |
12 |
12 | |
|
- заведующего литературной частью |
20 |
15 |
12 | |
|
- заведующего постановочной частью |
20 |
15 |
10 | |
|
- помещение постановочной части |
20 |
15 |
10 | |
|
- концертмейстеров и репетиторов |
25 |
20 |
15 | |
|
- режиссерского управления |
20 |
15 |
10 | |
|
Помещения технического персонала, обслуживающего сцену: | ||||
|
- машиниста сцены |
8 |
6 |
6 | |
|
- заведующего освещением сцены |
8 |
6 |
6 | |
|
- заведующего монтировочной части |
10 |
8 |
8 | |
|
- кладовая машиниста сцены |
30 - 40 |
30 - 40 |
30 - 40 |
Меньшая цифра относится к сценам драматических трупп, большая - музыкальных |
|
- отдыха рабочих сцены |
30 - 50 |
25 - 45 |
20 - 40 | |
|
- заведующего слаботочным комплексом |
8 |
6 |
6 | |
|
- заведующего телевизионным комплексом |
10 |
8 |
8 | |
|
Наименование площади помещения, м2, (в скобках приведены минимальные и рекомендуемые максимальные значения размеров) |
Состав помещений, м2, при уровне комфорта | ||
|
1 |
2 |
3 | |
|
Административно-хозяйственные помещения: | |||
|
Кабинет директора (15 - 25) |
+ |
+ |
+ |
|
Приемная с местом секретаря (10 - 20) |
+ |
+ |
+ |
|
Кабинет заместителя директора (10 - 15) |
+ |
+ |
- |
|
Технический отдел (15 - 30) |
+ |
+ |
+ |
|
Кабинет заместителя директора по строительству или реконструкции (10 - 15) |
По заданию на проектирование | ||
|
Комнаты инженеров по эксплуатации (10 - 20) |
+ |
+ |
- |
|
Кабинет главного инженера (10 - 15) |
+ |
+ |
- |
|
Кабинет заведующего хозяйством (8 - 12) |
+ |
+ |
+ |
|
Комната коменданта (8 - 12) |
+ |
- |
- |
|
Пожарный пост (15 - 20) |
+ |
+ |
+ |
|
Насосная пожарного водоснабжения |
+ |
+ |
+ |
|
Бухгалтерия (10 - 25) |
+ |
+ |
- |
|
Кабинет главного администратора (отдельный от дежурного администратора) (10 - 15) |
+ |
+ |
- |
|
Служебный вестибюль (отдельный от артистического) (20 - 60) |
+ |
+ |
- |
|
Комната главного механика (8 - 15) |
+ |
+ |
- |
|
Кладовая главного механика |
+ |
+ |
+ |
|
Буфет работников театра (15 - 40) |
+ |
+ |
+ |
|
Обозначения: "+" - наличие помещения необходимо; "-" - помещение не предусматривается. | |||
Приложение Л
|
Наименование помещения |
Состав помещений при уровне комфорта | ||
|
1 |
2 |
3 | |
|
Помещения медицинского обслуживания: | |||
|
- кабинет дежурного врача |
+ |
+ |
+ |
|
- кабинет стоматолога |
+ |
+ |
- |
|
- кабинет врача |
+ |
- |
- |
|
- кабинет медицинской сестры |
+ |
+ |
+ |
|
- процедурная |
+ |
+ |
+ |
|
- ожидальная комната |
+ |
+ |
± |
|
- кабинет физиотерапии |
+ |
± |
- |
|
- кабинет ингаляционной терапии |
+ |
+ |
- |
|
- санитарные узлы |
+ |
+ |
+ |
|
- помещение хранения предметов уборки |
+ |
+ |
+ |
|
- помещение временного хранения медицинских отходов |
+ |
+ |
+ |
|
Помещения оздоровления и профилактики заболеваний: | |||
|
- комната психологической разгрузки (или зимний сад) с фитобаром |
+ |
+ |
+ |
|
- помещение для физкультурно-оздоровительных занятий и занятий на тренажерах |
+ |
+ |
+ |
|
- подсобная |
+ |
+ |
+ |
|
- помещение для игр в настольный теннис (на два стола) |
+ |
± |
- |
|
- комната инструктора |
+ |
+ |
+ |
|
- баня (русская или сауна): | |||
|
помещение парильной или камеры сухого жара; |
+ |
+ |
+ |
|
шлюз при входе в парильную или камеру сухого жара; |
+ |
+ |
+ |
|
комната отдыха; |
+ |
± |
- |
|
помещение бара |
+ |
- |
- |
|
помещение с ванной бассейна; |
+ |
± |
- |
|
раздевальная; |
+ |
± |
- |
|
моечная; |
+ |
± |
- |
|
санитарный узел |
+ |
± |
- |
|
- раздевальные |
+ |
+ |
+ |
|
- душевые |
+ |
+ |
+ |
|
- санитарные узлы |
+ |
+ |
+ |
|
- помещения хранения предметов уборки |
+ |
+ |
+ |
|
Служебно-хозяйственные помещения: | |||
|
- кабинет заведующего |
+ |
+ |
± |
|
- комната персонала (с душевой) |
+ |
+ |
+ |
|
- медицинский архив |
+ |
+ |
- |
|
- кладовые материалов и оборудования |
+ |
+ |
+ |
|
- санитарные узлы для персонала |
+ |
+ |
+ |
|
- помещения хранения предметов уборки |
+ |
+ |
+ |
|
Вестибюльные помещения: | |||
|
- вестибюль |
± |
± |
- |
|
- гардероб |
± |
± |
- |
|
- помещение охраны |
± |
± |
- |
|
Обозначения: "+" - наличие помещения необходимо; "-" - помещение не предусматривается; "±" - наличие/отсутствие помещения определяется заданием на проектирование. | |||
|
Наименование помещений |
Показатели площади, м2 |
|
Помещения медицинского обслуживания | |
|
- кабинет дежурного врача |
10 1 - 12 2 |
|
- кабинет стоматолога |
14 2 |
|
- кабинет врача (массаж, мануальная терапия, ортопед, остеопат) 3 |
10 1 - 14 2 |
|
- кабинет врача (оториноларинголог, фониатр) 3 |
18 2 |
|
- кабинет медицинской сестры |
10 2 |
|
- процедурная 3 |
12 2 |
|
- ожидальная комната |
10 1 |
|
- кабинет физиотерапии |
6 на одно место, но не менее 12 2 |
|
- кабинет ингаляционной терапии |
4 на 1 место, но не менее 12 1 |
|
- | |
|
3 на 1 место, но не менее 10 2 | |
|
- санитарные узлы с умывальником в шлюзе |
из расчета 2 унитаза для женщин, 1 унитаз и 1 писсуар для мужчин |
|
- помещение хранения предметов уборки |
3 1- 4 2 |
|
- помещение временного хранения медицинских отходов |
3 1 - 4 2 |
|
Помещения оздоровления и профилактики | |
|
- комната психологической разгрузки (или зимний сад) с фитобаром |
6 на одно место, но не менее 18 1 |
|
- помещение для физкультурно-оздоровительных занятий и занятий на тренажерах 4 |
5 на каждый вид оборудования (на одно место), но не менее 20 1, 2 |
|
- подсобная |
8 1 |
|
- помещение для игр в настольный теннис (на 2 стола) |
24 (6 м x 4 м) |
|
- комната инструктора |
8 1 |
|
- баня (русская или сауна): | |
|
помещение парильной или камеры сухого жара |
2 на одно место в парильной или камере сухого жара, но не менее 10 |
|
шлюз при входе в парильную или камера сухого жара |
2 |
|
комната отдыха |
2 на одно место в парильной или камере сухого жара, но не менее 12 |
|
помещения бара |
3 на одно место в парильной или камере сухого жара, но не менее 15 |
|
помещение с ванной бассейна |
зеркало воды - 3,5 на одно место 5 |
|
раздевальная |
1,5 на одно место в парильной или камере сухого жара, но не менее 12 |
|
моечная |
душевая сетка 1 на 5 мест в парильной или камере сухого жара, но не менее 1 душевой сетки |
|
санитарный узел |
3 (унитаз, умывальник в шлюзе) |
|
- раздевальные |
1,5 на одно место, из расчета 100% мест |
|
- душевые |
1 душевая сетка на 5 мест в раздевальной |
|
- санитарные узлы (с умывальником в шлюзе) |
из расчета 2 унитаза для женщин, 1 унитаз и 1 писсуар для мужчин на каждые 30 мест |
|
- помещение хранения предметов уборки |
4 2 |
|
Служебно-хозяйственные помещения | |
|
- кабинет заведующего |
12 1 |
|
- комната персонала |
9 1 |
|
- медицинский архив |
12 1 |
|
- кладовые материалов и оборудования |
9 |
|
- санитарные узлы персонала (с умывальником в шлюзе) |
3 1 |
|
- помещение хранения предметов уборки |
4 1 |
|
Вестибюльные помещения 6 | |
|
- вестибюль |
3 на каждый кабинет, но не менее 18 1 |
|
- гардероб |
0,5 на каждый кабинет |
|
- помещение охраны |
10 1 |
|
1 Значение площади принято в соответствии с СП 158.13330.2014. 2 Значение площади принято в соответствии с СанПиН 2.1.3.2630-10. 3 Ширину кабинета врача-консультанта и процедурной, следует принимать не менее 3,2 м, глубину не менее 4; если кабинет врача-консультанта планируется использовать для приема врача-офтальмолога, глубину помещения следует принимать не менее 6 м. 4 Ширину помещения и зала для физкультурно-оздоровительных занятий и занятий на тренажерах следует принимать не менее 3 м. 5 Значение площади принято в соответствии с ГОСТ 32670-2014. 6 Вестибюльные помещения следует предусматривать при соответствующем обосновании. | |
|
Наименование помещений |
Показатели площади, м2 |
|
Помещения медицинского обслуживания | |
|
- кабинет дежурного врача |
12 1 |
|
- кабинет стоматолога |
14 1 |
|
- кабинет врача (массаж, мануальная терапия, ортопед, остеопат) 2 |
14 1 |
|
- кабинет врача (оториноларинголог, фониатр) 2 |
18 1 |
|
- кабинет медицинской сестры |
10 1 |
|
- процедурная 2 |
12 1 |
|
- ожидальная комната |
9 |
|
- кабинет физиотерапии |
6 на одно процедурное место, но не менее 12 1 |
|
- кабинет ингаляционной терапии |
3 на 1 место, но не менее 10 1 |
|
- санитарные узлы с умывальником в шлюзе |
из расчета 2 унитаза для женщин, 1 унитаз и 1 писсуар для мужчин |
|
- помещение хранения предметов уборки |
4 1 |
|
- помещение временного хранения медицинских отходов |
4 1 |
|
Помещения оздоровления и профилактики | |
|
- комната психологической разгрузки (или зимний сад) с фитобаром |
6 на одно место, но не менее 18 1 |
|
- помещение для физкультурно-оздоровительных занятий и занятий на тренажерах 3 |
5 на каждый вид оборудования, но не менее 20 1 |
|
- подсобная |
8 |
|
- помещение для игр в настольный теннис (на 2 стола) |
24 (6 x 4 м) |
|
- комната инструктора |
9 |
|
- баня (русская или сауна): | |
|
помещение парильной или камеры сухого жара |
2 на одно место в парильной или камере сухого жара, но не менее 10 |
|
шлюз при входе в парильную или камера сухого жара |
2 |
|
комната отдыха |
2 на одно место в парильной или камере сухого жара, но не менее 12 |
|
помещения бара |
3 на одно место в парильной или камере сухого жара, но не менее 15 |
|
помещение с ванной бассейна |
зеркало воды - 3,5 на одно место 4 |
|
раздевальная |
1,5 на одно место в парильной или камере сухого жара, но не менее 12 |
|
моечная |
душевая сетка 1 на 5 мест в парильной или камере сухого жара, но не менее 1 душевой сетки |
|
санитарный узел |
3 (унитаз, умывальник в шлюзе) |
|
- раздевальные |
1,5 на одно место |
|
- душевые |
1 душевая сетка на 5 мест в раздевальной |
|
- санитарные узлы (с умывальником в шлюзе) |
из расчета 2 унитаза для женщин, 1 унитаз и 1 писсуар для мужчин на каждые 30 мест |
|
- помещение хранения предметов уборки |
4 1 |
|
Служебно-хозяйственные помещения | |
|
- кабинет заведующего |
12 |
|
- комната персонала (с душевой) |
12 |
|
- медицинский архив |
16 |
|
- кладовые материалов и оборудования |
9 |
|
- санитарные узлы персонала (с умывальником в шлюзе) |
3 |
|
- помещение хранения предметов уборки |
4 |
|
Вестибюльные помещения 5 | |
|
- вестибюль |
0,2 - 0,3 на одного посетителя |
|
- гардероб |
0,1 на одного посетителя |
|
- помещение охраны |
8 |
|
1 Значение площади принято в соответствии с СанПиН 2.1.3.2630-10. 2 Ширину кабинета врача-консультанта и процедурной, следует принимать не менее 3,2 м, глубину не менее 4 м; если кабинет врача-консультанта планируется использовать для приема врача-офтальмолога, глубину помещения следует принимать не менее 6 м. 3 Ширину помещения и зала для физкультурно-оздоровительных занятий и занятий на тренажерах следует принимать не менее 3 м. 4 Значение площади принято в соответствии с ГОСТ 32670-2014. 5 Вестибюльные помещения следует предусматривать при соответствующем обосновании. | |
Приложение М
|
Наименование прибора |
На число посетителей |
Для персонала | ||
|
зрительского комплекса при уровне комфорта | ||||
|
1 |
2 |
3 | ||
|
Умывальник (но не менее 1 на уборную) |
на 4 унитаза для мужчин на 2 унитаза для женщин | |||
|
Душевая сетка на: |
- |
- |
- |
8 |
|
Для мужчин: | ||||
|
- 1 унитаз |
50 |
55 |
60 |
20 |
|
- 1 писсуар |
60 |
70 |
80 |
25 |
|
Для женщин: | ||||
|
- 1 унитаз |
25 |
28 |
30 |
15 |
|
- 1 гигиенический душ 1 |
- |
- |
- |
25 |
|
1 Размещается в комнате личной гигиены женщин, рядом с женской уборной со входом из умывальной; размер кабины - 2,4 x 1,2 м. Примечание - Доля универсальных кабин для инвалидов в уборных и их габариты принимаются по СП 59.13330. | ||||
Приложение Н
|
Наименование помещений |
Плоскость, для которой нормируется освещенность и ее высота от пола, м |
Минимальная горизонтальная и вертикальная освещенность, лк, при лампах |
Минимальная цилиндрическая освещенность, лк |
Коэффициент запаса при лампах | |||
|
люминесцентных |
накаливания |
люминесцентных |
накаливания | ||||
|
Помещения для зрителей | |||||||
|
1 |
Зрительные залы |
Г-0,8 |
(300) |
150 |
100 |
1,5 |
1,3 |
|
2 |
Фойе, кулуары, холлы и парадные лестницы |
Г-0 |
200 |
100 |
100 |
1,5 |
1,3 |
|
3 |
Буфеты: | ||||||
|
- на прилавках и столах |
Г-0,8 |
200 |
100 |
75 |
1,5 |
1,3 | |
|
- в проходах |
Г-0,8 |
100 |
50 |
- |
1,5 |
1,3 | |
|
4 |
Вестибюли и гардеробы |
Г-0 |
150 |
75 |
75 |
1,5 |
1,3 |
|
5 |
Курительные и санитарные узлы в зданиях с залом 600 мест и более |
Г-0 |
100 |
50 |
- |
1,5 |
1,3 |
|
Производственные и служебные помещения | |||||||
|
6 |
Служебные кабинеты |
Г-0,8 |
300 |
(150) |
- |
1,5 |
1,3 |
|
7 |
Комнаты персонала, кабинеты врачей |
Г-0,8 |
200 |
(100) |
- |
1,5 |
1,3 |
|
8 |
Кассы |
Г-0,8 |
200 |
(100) |
- |
1,5 |
1,3 |
|
9 |
Артистические гримерные: | ||||||
|
- на лице у зеркала |
В-1,0 |
- |
100 |
- |
- |
- | |
|
- общее освещение |
1,0 |
(150) |
75 |
- |
1,5 |
1,3 | |
|
10 |
Комната ожидания выхода на сцену |
Г-0 |
- |
75 |
- |
- |
1,3 |
|
11 |
Сцена, арьерсцена, карманы (рабочее освещение) |
Г-0 |
- |
30 |
- |
- |
1,5 |
|
12 |
Трюм |
Г-0 |
- |
20 |
- |
- |
1,5 |
|
13 |
Рабочие галереи и колосниковый настил |
Г-0 |
- |
10 |
- |
- |
1,5 |
|
14 |
Репетиционные залы |
Г-0,8 |
(200) |
100 |
- |
1,5 |
1,3 |
|
15 |
Живописно-декорационные залы |
Г-0 |
- |
200 |
- |
1,5 |
1,3 |
|
16 |
Клееварка |
Г-0,8 |
100 |
50 |
- |
1,8 |
1,5 |
|
17 |
Помещения приготовления красок |
Г-0,8 |
200 |
(150) |
- |
1,8 |
1,5 |
|
Мастерские: | |||||||
|
18 |
трафаретных работ |
Г-0,8 |
- |
150 |
- |
1,8 |
1,5 |
|
19 |
слесарные и столярные |
Г-0,8 |
300 |
(200) |
- |
1,5 |
1,3 |
|
20 |
монтажа объемных деталей |
Г-0 |
150 |
(100) |
- |
1,5 |
1,3 |
|
21 |
пошивочные, обувные, обойно-драпировочные |
Г-0,8 |
300 |
(200) |
- |
1,5 |
1,3 |
|
22 |
пастижерские |
Г-0,8 |
400 |
(300) |
- |
1,5 |
1,3 |
|
23 |
бутафорские |
Г-0 |
200 |
150 |
- |
1,5 |
1,3 |
|
24 |
электроремонтные |
Г-0,8 |
300 |
(200) |
- |
1,5 |
1,3 |
|
25 |
постирочные |
Г-0 |
150 |
75 |
- |
1,5 |
1,3 |
|
26 |
красильные |
Г-0,8 |
200 |
(150) |
- |
1,8 |
1,5 |
|
27 |
пропиточные |
Г-0,8 |
100 |
50 |
- |
1,5 |
1,3 |
|
28 |
сушильные |
Г-0,8 |
- |
20 |
- |
- |
1,3 |
|
29 |
гладильные и костюмерные |
Г-0,8 |
300 |
(200) |
- |
1,5 |
1,3 |
|
30 |
Помещения главного распределительного щита |
Г-0,8 |
150 |
(100) |
- |
1,5 |
1,3 |
|
31 |
Главные распределительные щиты, щитовые, тиристорные, дроссельные, регуляторные, диспетчерские |
В-1,5 (на фасадах щитов) |
200 |
(150) |
- |
1,5 |
1,3 |
|
32 |
Кинопроекционные, светопроекционные, рирпроекционные |
Г-0,8 |
(150) |
75 |
- |
1,5 |
1,3 |
|
33 |
Осветительные ложи |
Г-0,8 |
- |
50 |
- |
- |
1,3 |
|
34 |
Машинные залы |
Г-0,8 |
200 |
(150) |
- |
1,5 |
1,3 |
|
35 |
Помещения лебедок |
Г-0 |
- |
50 |
- |
- |
1,3 |
|
36 |
Звукоаппаратные, дикторские, речевые |
Г-0,8 |
- |
100 |
- |
1,5 |
1,3 |
|
37 |
Помещения телеполустационара |
Г-0,8 |
150 |
(75) |
- |
1,5 |
1,3 |
|
38 |
АТС, электрочасовые |
Г-0,8 |
200 |
(150) |
- |
1,5 |
1,3 |
|
39 |
Электросиловые |
Г-0,8 |
150 |
(100) |
- |
1,5 |
1,3 |
|
40 |
Комнаты эхо (акустические) |
Г-0 |
- |
50 |
- |
1,5 |
1,3 |
|
41 |
Помещения пожарного поста |
Г-0,8 |
150 |
(100) |
- |
1,5 |
1,3 |
|
42 |
Насосные тепловые узлы |
Г-0,8 |
75 |
30 |
- |
1,5 |
1,3 |
|
43 |
Камеры кондиционирования |
Г-0,8 |
75 |
30 |
- |
1,5 |
1,3 |
|
44 |
Склад скатных декораций, мебели, реквизита |
В-1-0 |
- |
30 |
- |
- |
1,3 |
|
45 |
Кладовые, техэтаж |
Г-0 |
- |
20 |
- |
- |
1,5 |
|
46 |
Техподполье |
Г-0 |
- |
10 |
- |
- |
1,5 |
|
47 |
Лестничные клетки, коридоры, проходы и тамбуры |
Г-0 |
75 |
30 |
- |
1,5 |
1,3 |
|
48 |
Душевые |
Г-0 |
- |
20 |
- |
1,5 |
1,3 |
|
49 |
Санузлы |
Г-0 |
75 |
30 |
- |
1,5 |
1,3 |
|
Обозначения: "Г" - горизонтальная плоскость, "В" - вертикальная плоскость. Примечания 1 В скобках указано значение освещенности от того типа источника света, который для данных помещений желателен. Отсутствие значения освещенности указывает на нежелательность применение данного источника света. 2 Цилиндрическая освещенность нормируется в тех случаях, когда по условиям архитектурного оформления необходимо обеспечивать впечатление насыщенности помещения светом. Она определяется у торцевой стены по центральной продольной оси на уровне 1,5 м от пола. | |||||||
Библиография
|
[1] |
Федеральный закон от 23 февраля 2013 г. N 15-ФЗ "Об охране здоровья граждан от воздействия окружающего табачного дыма и последствий потребления табака" |
|
[2] |
Федеральный закон от 29 декабря 2004 г. N 190-ФЗ "Градостроительный кодекс Российской Федерации" |
|
[3] |
Федеральный закон от 22 июля 2008 г. N 123-ФЗ "Технический регламент о требованиях пожарной безопасности" |
|
[4] |
Федеральный закон от 23 ноября 2009 г. N 261-ФЗ "Об энергосбережении и о повышении энергетической эффективности и о внесении изменений в отдельные законодательные акты Российской Федерации" |
|
[5] |
Справочное пособие к СНиП 2.08.02-89 "Проектирование предприятий общественного питания" |
|
[6] |
СП 2.3.6.1079-01 Санитарно-эпидемиологические требования к организациям общественного питания, изготовлению и оборотоспособности в них пищевых продуктов и продовольственного сырья |
|
[7] |
СП 31-108-2002 Мусоропроводы жилых и общественных зданий и сооружений |
|
[8] |
СН 2.2.4/2.1.8.562-96 Шум на рабочих местах, в помещениях жилых, общественных зданий и на территории жилой застройки |
|
[9] |
СН 2.2.4/2.1.8.566-96 Производственная вибрация, вибрация в помещениях жилых и общественных зданий |
|
[10] |
СП 23-102-2003 Естественное освещение жилых и общественных зданий |
|
[11] |
Правила устройства электроустановок (ПУЭ) Издание 6 и 7 |
|
[12] |
Постановление Правительства Российской Федерации от 25 января 2011 г. N 18 "Об утверждении Правил установления требований энергетической эффективности для зданий, строений, сооружений и требований к правилам определения класса энергетической эффективности многоквартирных домов" |
|
[13] |
СТО 01922789-002-2011 Энергоэффективность и теплозащита зданий |
|
[14] |
СП 23-101-2004 Проектирование тепловой защиты зданий |
|
[15] |
СП 41-101-95 Проектирование тепловых пунктов |
|
[16] |
Приказ Министерства регионального развития Российской Федерации от 1 июня 2007 г. N 45 "Об утверждении Положения о разработке, передаче, пользовании и хранении инструкции по эксплуатации многоквартирного дома" |
|
[17] |
ПОТ РО 059-01-98 Правила охраны труда в театрах и концертных залах |
|
[18] |
ВСН 58-88 (р) Положение об организации и проведении реконструкции, ремонта и технического обслуживания зданий, объектов коммунального и социально-культурного назначения |


