СП 300.1325800.2017 (06.05.2019) СИСТЕМЫ СТРУЙНОЙ ВЕНТИЛЯЦИИ И ДЫМОУДАЛЕНИЯ ПОДЗЕМНЫХ И КРЫТЫХ АВТОСТОЯНОК. ПРАВИЛА ПРОЕКТИРОВАНИЯ
С изменениями:
(6 мая 2019 г.)
Systems of jet ventilation of underground and covered parkings. Rules of design
Введение
Настоящий свод правил разработан с учетом требований федеральных законов от 29 декабря 2004 г. N 190-ФЗ "Градостроительный кодекс Российской Федерации", от 27 декабря 2002 г. N 184-ФЗ "О техническом регулировании", от 30 декабря 2009 г. N 384-ФЗ "Технический регламент о безопасности зданий и сооружений".
В своде правил изложены общие требования к системам струйной вентиляции (штатный режим), удалению продуктов горения и отведению теплоизбытков от очага пожара (аварийный режим) в подземных и крытых автостоянках и правила проектирования таких систем.
Настоящий свод правил разработан впервые, с учетом изучения и анализа европейского опыта проектирования подземных и крытых автостоянок, оснащенных системой струйной вентиляции.
Авторский коллектив: ООО "СанТехПроект" (канд. техн. наук А.Я. Шарипов), АС "СЗ Центр АВОК" (д-р техн. наук, проф. A.M. Гримитлин), НП "СЗ Центр АВОК" (канд. техн. наук А.П. Волков), ООО "Флект Индастриал & Билдинг Системз" (А.В. Свердлов).
Авторы разработки изменения N 1 к СП 300.1325800.2017 - ООО "СанТехПроект" (канд. техн. наук А.Я. Шарипов), АС "СЗ Центр АВОК" (д-р техн. наук, проф. A.M. Гримитлин, канд. техн. наук А.П. Волков), ООО "ФлектГруп Рус" (А.В. Свердлов).
Настоящий свод правил распространяется на проектирование систем струйной вентиляции и удаления продуктов горения и отведения теплоизбытков (далее - дымоудаление) подземных и крытых автостоянок (далее - автостоянки), обеспечивающих разбавление и удаление вредных примесей выхлопных газов при эксплуатации в штатном режиме и дымоудаление в аварийном режиме.
В настоящем своде правил использованы нормативные ссылки на следующие документы:
ГОСТ 12.1.005-88 Система стандартов безопасности труда. Общие санитарно-гигиенические требования к воздуху рабочей зоны
ГОСТ Р ИСО/МЭК 12119-2000 Информационная технология. Пакеты программ. Требования к качеству и тестирование
ГОСТ Р МЭК 62620-2016 Аккумуляторы и аккумуляторные батареи, содержащие щелочной или другие некислотные электролиты. Аккумуляторы и батареи литиевые для промышленных применений
(ссылка введена Изменением N 1, утв. Приказом Минстроя России от 06.05.2019 N 258/пр)
СП 2.13130.2012 Системы противопожарной защиты. Обеспечение огнестойкости объектов защиты (с изменением N 1)
СП 4.13130.2013 Системы противопожарной защиты. Ограничение распространения пожара на объектах защиты. Требования к объемно-планировочным и конструктивным решениям
СП 5.13130.2009 Системы противопожарной защиты. Установка пожарной сигнализации и пожаротушения автоматические. Нормы и правила проектирования (с изменением N 1)
СП 7.13130.2013 Отопление, вентиляция и кондиционирование. Требования пожарной безопасности
СП 60.13330.2016 "СНиП 41-01-2003 Отопление, вентиляция и кондиционирование воздуха"
(ссылка введена Изменением N 1, утв. Приказом Минстроя России от 06.05.2019 N 258/пр)
СП 113.13330.2016 "СНиП 21-02-99* Стоянки автомобилей"
СП 154.13130.2013 "Встроенные подземные автостоянки. Требования пожарной безопасности"
Примечание - При пользовании настоящим сводом правил целесообразно проверить действие ссылочных документов в информационной системе общего пользования - на официальном сайте федерального органа исполнительной власти в сфере стандартизации в сети Интернет или по ежегодному информационному указателю "Национальные стандарты", который опубликован по состоянию на 1 января текущего года, и по выпускам ежемесячного информационного указателя "Национальные стандарты" за текущий год. Если заменен ссылочный документ, на который дана недатированная ссылка, то рекомендуется использовать действующую версию этого документа с учетом всех внесенных в данную версию изменений. Если заменен ссылочный документ, на который дана датированная ссылка, то рекомендуется использовать версию этого документа с указанным выше годом утверждения (принятия). Если после утверждения настоящего свода правил в ссылочный документ, на который дана датированная ссылка, внесено изменение, затрагивающее положение, на которое дана ссылка, то это положение рекомендуется применять без учета данного изменения. Если ссылочный документ отменен без замены, то положение, в котором дана ссылка на него, рекомендуется применять в части, не затрагивающей эту ссылку. Сведения о действии сводов правил целесообразно проверить в Федеральном информационном фонде стандартов.
3.1 В настоящем своде правил применены термины в соответствии с [1], а также следующие термины с соответствующими определениями:
3.1.1 настилающаяся (полуограниченная) струя: Воздушная струя, развивающаяся вдоль поверхности ограждения.
3.1.2 подпотолочное пространство: Пространство в помещении автостоянки выше расчетного среднего уровня нижней границы дыма при пожаре.
3.1.3 расчетный средний уровень нижней границы дыма при пожаре: Расстояние от пола до вероятной нижней границы стояния дыма при пожаре.
3.1.4 реактивная тяга (сила) вентилятора: Реактивная сила, равная произведению массового расхода воздуха, подаваемого вентилятором на среднюю скорость воздуха в его выходном сечении.
3.1.5 система струйной вентиляции: Вентиляционная система, состоящая из последовательно размещаемых струйных вентиляторов (или рядов струйных вентиляторов), которые обеспечивают требуемый воздушный поток.
3.1.6 струйный вентилятор: Вентилятор, реализующий принцип работы, основанный на передаче энергии струи, исходящей из выходного отверстия вентилятора, к окружающему воздуху.
3.1.7 струйная вентиляция: Обеспечение продольного перемещения воздуха в помещении за счет размещаемых на потолочных перекрытиях струйных вентиляторов.
3.1.8 частота транспортного трафика автостоянки: Величина, равная отношению количества паркующихся в течение одного часа автомобилей к количеству парковочных мест на автостоянке.
3.2 В настоящем своде правил применены следующие обозначения:
B - ширина зоны локализации задымления автостоянки, равная габаритному размеру автостоянки, перпендикулярному потоку дымовых газов, м;
b - расстояние между параллельно установленными вентиляторами, м;
ECO - эмиссия оксида углерода (CO) одним транспортным средством при маневрах в автостоянке, г;
GCO - эмиссия CO в помещении автостоянки, г/ч;
F - сила, Н;
Fр - реактивная тяга вентилятора расчетная (с учетом монтажных размеров), Н;
Fн - реактивная тяга вентилятора номинальная (по результатам заводских испытаний), Н;
Fr - число Фруда;
f - частота транспортного трафика автостоянки, 1/ч;
kG - коэффициент неравномерности вентиляции помещения автостоянки;
kм - монтажный параметр, характеризующий влияние ограждающих конструкций на потери от трения настилающейся воздушной струи;
k1 - коэффициент изменения скорости;
k2 - поправочный коэффициент, учитывающий влияние потолочных перекрытий;
k3 - поправочный коэффициент, учитывающий влияние направляющего аппарата;
Lп - продольное расстояние между последовательно установленными вентиляторами, м;
Nм - количество припаркованных в час автомобилей;
nэм - количество парковочных мест для электромобилей;
(введено Изменением N 1, утв. Приказом Минстроя России от 06.05.2019 N 258/пр)
SP - количество парковочных мест на автостоянке;
Va - требуемый воздушный поток внешнего воздуха для снижения концентрации CO в автостоянке, м3/ч;
Vex - объемная производительность противодымной вентиляции в режиме удаления продуктов горения, м3/ч;
t - температура, °C;
Uf - периметр очага пожара, м;
Y - расчетный средний уровень нижней границы дыма, м;
v - скорость, м/с (км/ч);
ρ - плотность, кг/м3.
4.1 Система струйной вентиляции функционирует в составе вентиляционной системы автостоянки.
4.2 Вентиляционная система автостоянки состоит:
- из систем приточно-вытяжной системы вентиляции (далее - приточно-вытяжная вентиляция);
- системы струйной вентиляции;
- систем противодымной приточно-вытяжной вентиляции (далее - противодымная вентиляция).
4.3 Приточно-вытяжную вентиляцию следует предусматривать в помещении автостоянки в соответствии с СП 113.13330.2016 (пункт 6.3.5) для обеспечения притока свежего воздуха для разбавления и удаления загрязненного воздуха (далее - воздухообмен) в штатном режиме работы.
Приточно-вытяжная вентиляция состоит из следующих систем:
- приточной вентиляции;
- вытяжной вентиляции.
4.4 Система струйной вентиляции должна обеспечивать организацию принудительного продольного перемещения воздуха в помещении автостоянки.
4.4.1 Система струйной вентиляции состоит из последовательно размещаемых струйных вентиляторов (или рядов струйных вентиляторов). Струйные вентиляторы должны обеспечивать равномерный воздухообмен всех зон автостоянки, а также предотвращать образования конденсата и плесени.
4.4.2 Струйные вентиляторы должны быть расположены в подпотолочном пространстве автостоянки.
4.4.3 Допускается применение реверсивных и однонаправленных струйных вентиляторов с техническими характеристиками, обеспечивающими работу в аварийном режиме в соответствии с 5.2.14 или только в штатном режиме.
4.5 Противодымную вентиляцию автостоянки в соответствии с СП 154.13130.2013 (пункт 6.3.3) следует предусматривать с механическим побуждением тяги следующих систем, входящих в ее состав:
- вытяжной системы противодымной вентиляции;
- приточной системы противодымной вентиляции.
4.5.1 Вентиляторы вытяжной системы противодымной вентиляции (реверсивные и однонаправленные) должны быть рассчитаны на безаварийную и эффективную работу в течение 2 ч при температуре удаляемых дымовых газов 400 °C.
4.5.2 Вентиляторы системы приточной противодымной вентиляции применяют в соответствии с СП 7.13130.2013 (пункт 7.14) для возмещения объемов удаляемых дымовых газов.
4.5.3 Определение параметров противодымной вентиляции автостоянки должно выполняться в соответствии с требованиями СП 60.13330 и СП 7.13130.
5.1 Выбор схемы и параметров системы струйной вентиляции
5.1.1 Выбор схемы и параметров системы струйной вентиляции автостоянок необходимо осуществлять на основе следующих принципов:
- обеспечение параметров воздушной среды, соответствующих 5.5.1, в штатном режиме работы вентиляционной системы автостоянки;
- обеспечение безопасной эвакуации людей при пожаре через выходы, свободные от дымовых газов.
5.1.2 Обеспечение безопасной эвакуации людей при пожаре и создание условий для обнаружения и ликвидации очага горения могут быть реализованы применением следующих схем работы противодымной вентиляции:
- поперечная схема противодымной вентиляции: при пожаре струйные вентиляторы отключаются, включается противодымная вентиляция, создается резервуар дыма в подпотолочном пространстве автостоянки, обеспечивается защищенное от дыма пространство на высоте не менее Y = 2 м от пола;
- продольная схема противодымной вентиляции: при пожаре включаются противодымная вентиляция и группа струйных вентиляторов, обеспечивается защищенное от дыма пространство по всей высоте автостоянки.
Пример продольной схемы противодымной вентиляции приведен на рисунке 5.1.

1 - система приточной противодымной вентиляции; 2 – система вытяжной противодымной вентиляции; 3 - выключенный струйный вентилятор; 4 - включенный струйный вентилятор; 5 – граница бездымной зоны; 6 - очаг пожара
Рисунок 5.1 - Схема работы однонаправленной системы струйной вентиляции при продольной противодымной вентиляции
5.1.3 В случае применения продольной схемы противодымной вентиляции выбирается однонаправленная (рисунок 5.1) или реверсивная (рисунок 5.2) продольная схема системы струйной вентиляции.

а) Очаг пожара в зоне 2

б) Очаг пожара в зоне 1
1 - система приточной противодымной вентиляции;
2 - система вытяжной противодымной вентиляции
Рисунок 5.2 - Схема работы реверсивной системы струйной вентиляции при продольной противодымной вентиляции
5.1.3.1 Однонаправленную схему системы струйной вентиляции, использующую нереверсивные струйные вентиляторы и нереверсивные вентиляторы вытяжной системы противодымной вентиляции (см. приложение А), следует применять для небольших автостоянок при условии
Aст ≤ 2500 м2, (5.1)
где Aст - вентилируемая площадь автостоянки, м2.
5.1.3.2 При выборе однонаправленной схемы системы струйной вентиляции площадь под пожарный отсек следует принимать в соответствии с СП 2.13130.2012 (пункты 6.3.1 и 6.3.2). При реверсивной схеме системы струйной вентиляции допускается увеличение площади под пожарный отсек до 10000 м2 при наличии автоматической системы пожаротушения и до 5000 м2 при ее отсутствии.
Примечание - Применяют реверсивные осевые и центробежные струйные вентиляторы - их производительность одинакова во всех направлениях.
5.1.3.3 Допускается применение струйных вентиляторов, обеспечивающих поворот вентиляционного потока на угол ≤ 360° (см. приложение Б).
5.1.4 Производительность вентилятора вытяжной системы противодымной вентиляции при поперечной схеме противодымной вентиляции выбирают исходя из расчетного расхода дымовых газов в соответствии с СП 7.13130.2013 (пункт 7.4).
5.1.5 Производительность вентилятора вытяжной системы противодымной вентиляции при продольной схеме противодымной вентиляции выбирают по результатам расчета воздухообмена автостоянки при пожаре (см. раздел 7).
5.1.6 В штатном режиме работы вентиляционной системы автостоянки воздухообмен следует обеспечивать приточно-вытяжной вентиляцией. Струйные вентиляторы должны обеспечивать продольное перемещение воздуха от приточных к вытяжным клапанам.
5.1.6.1 Допускается работа струйных вентиляторов на частичной нагрузке не менее 25% полной мощности (50% полной производительности) при условии их одновременного включения.
5.1.6.2 Включение системы струйной вентиляции следует проводить автоматически, по сигналу приборов для измерения концентрации CO, установленных в помещении автостоянки в соответствии с СП 113.13330.2016 (пункт 6.3.6), или вручную.
Пример схемы работы системы струйной вентиляции в штатном режиме приведен на рисунке 5.3:
- включены все струйные вентиляторы в режиме по 5.1.6.1;
- включена приточно-вытяжная вентиляция.

1 - система приточной вентиляции; 2 - система вытяжной вентиляции; 3 - струйный вентилятор
Рисунок 5.3 - Схема работы системы струйной вентиляции в штатном режиме
5.2 Выбор основных технических решений
5.2.1 Струйные вентиляторы в помещении автостоянки наиболее целесообразно размещать над дорожным полотном, исходя из условия минимальных аэродинамических потерь от трения воздушной струи об ограждающие конструкции (см. приложение В).
5.2.2 При установке струйного вентилятора в помещении, где на потолочном перекрытии имеются выступающие балки, расположенные перпендикулярно потоку воздуха, необходимо соблюдать правила монтажа, позволяющие уменьшить потери на трение настилающейся воздушной струи.
На рисунке 5.4 приведена схема установки струйного вентилятора на потолочном перекрытии, соответствующая 5.3.5.

1 - струйный вентилятор; 2 - анкерные болты; 3 - направляющий аппарат; 4 - потолочная балка; Dв - диаметр корпуса
Рисунок 5.4 - Схема установки струйного вентилятора
На выходном патрубке струйного вентилятора следует установить направляющий аппарат, отклоняющий воздушную струю от потолочного перекрытия на угол от 5° до 10° (см. приложение А).
5.2.3 Для обеспечения равномерного удаления загрязненного воздуха из всех зон автостоянки места расположения клапанов систем вытяжной и приточной вентиляции должны находиться на максимально возможном расстоянии друг от друга.
5.2.4 При наличии струйных вентиляторов в подпотолочном пространстве автостоянки не рекомендуется применение воздуховодов приточно-вытяжной и противодымной вентиляции.
Допускается применение воздуховодов системы приточно-вытяжной и противодымной вентиляции при сложных объемно-планировочных решениях, при неудачном расположении приточных и вытяжных клапанов (рисунок 5.5) и при использовании поперечной схемы противодымной вентиляции.
а)

б)

в)

1 - приточный клапан; 2 - вытяжной клапан
Рисунок 5.5 - Схемы сложных объемно-планировочных решений автостоянки с различными вариантами расположения приточного и вытяжного клапанов
а) удачное расположение;
б) приемлемое расположение;
в) неприемлемое расположение
Примечание - При выборе конфигурации автостоянки необходимо учитывать следующее:
- наиболее целесообразной является прямоугольная конфигурация автостоянки;
- не рекомендуется ломаный профиль ограждающих конструкций;
- не рекомендуются перепады высоты потолочных перекрытий;
- выступы потолочных балок следует уменьшать, наилучшее решение - плоский потолок;
- не рекомендуется размещение припаркованных автомобилей в отдельных боксах.
5.2.5 При использовании системы струйной вентиляции в соответствии с СП 60.13330 не требуется разделение системы вытяжной вентиляции в целях удаления загрязненного воздуха отдельно из нижней и верхней частей помещения автостоянки.
5.2.6 Автостоянки с транспортным трафиком f ≤ 0,6 1/ч (см. 5.4.1), допускается проветривать периодическим включением струйных вентиляторов в часы максимального транспортного трафика, по сигналу реле времени (например, 2 ч утром, 1 ч в полдень и 2 ч вечером). При этом информация о превышении концентрации CO должна отображаться при помощи сигнальных приборов, расположенных в соответствии с СП 113.13330.2013 (пункт 6.3.6) в помещении с круглосуточным дежурством персонала с целью обеспечения (в случае необходимости) ручного запуска. В соответствии с СП 4.13130.2013 (пункт 6.11.13) помещение с круглосуточным дежурством персонала (диспетчерскую) допускается располагать в здании автостоянки.
5.2.7 Управление включением противодымной вентиляции должно происходить автоматически или от кнопки или механических устройств ручного пуска в соответствии с СП 113.13330.2016 (пункт 6.3.12).
При продольной схеме противодымной вентиляции необходимо предусматривать включение группы следующих струйных вентиляторов (см. рисунок 5.1):
- в зоне пожара (в зоне срабатывания датчика пожарной сигнализации);
- формирующих поток дыма между очагом пожара и клапанами системы противодымной вентиляции;
- защищающих эвакуационные выходы из автостоянки.
5.2.8 При возникновении пожара струйные вентиляторы, не входящие в группу по 5.2.7, должны быть выключены (см. рисунок 5.1). Противодымная вентиляция должна быть включена.
5.2.9 Реверсивная схема системы струйной вентиляции по 5.1.3.2 предусматривает выбор направления включения струйных вентиляторов в сторону зоны, где возник очаг пожара (см. рисунок 5.2). Идентификация зоны очага пожара в соответствии с СП 5.13130.2009 (пункт 7.2.1) должна происходить по сигналу от автоматического зонного пожарного извещателя.
5.2.10 Чтобы обеспечить ограничение растекания дыма в подпотолочном пространстве в пределах 10 м от очага пожара (всех возможных очагов пожара) в направлении, противоположном возникшему воздушному потоку, расположение и типоразмер струйных вентиляторов должны соответствовать требованиям, изложенным в разделе 8.
5.2.11 Выбор параметров системы приточной противодымной вентиляции следует осуществлять в зависимости от принятой схемы системы струйной вентиляции:
- при реверсивной схеме системы струйной вентиляции допускается подача наружного воздуха на уровне не более 2 м от пола с расходом, обеспечивающим дисбаланс не более 30%, при средней скорости потока воздуха в нижней части помещения автостоянки, принятой в соответствии с 7.1 и 7.2, не более 1 м/с;
- при однонаправленной схеме системы струйной вентиляции допускается подача наружного воздуха при соблюдении требований СП 154.13130.2013 (пункт 6.3.2).
5.2.12 Для эвакуации людей, находящихся в помещении автостоянки, при возникновении пожара целесообразно введение задержки включения струйных вентиляторов. В исключительных случаях, подтвержденных расчетом или результатами численного моделирования, допускается производить включение системы струйной вентиляции одновременно с началом эвакуации.
5.2.13 Струйные вентиляторы, включенные при пожаре, должны работать на 100% мощности и при максимальном расходе воздуха. Защита электродвигателей автоматически отключается - струйный вентилятор должен работать до момента своего теплового или механического разрушения.
5.2.14 Струйные вентиляторы, используемые при продольной схеме противодымной вентиляции, должны работать не менее 2 ч при температуре 400 °C.
5.2.15 Необходимо обеспечить функционирование системы струйной вентиляции при аварийном отказе одного из струйных вентиляторов за счет их резервирования в соответствии с 8.2.8.
5.3 Выбор типоразмера струйного вентилятора
5.3.1 Струйные вентиляторы, применяемые в подземных и крытых автостоянках с высотой потолочных перекрытий не более 3 м, должны иметь номинальную реактивную тягу Fн не более 100 Н.
5.3.2 Выбор типоразмера струйного вентилятора осуществляют с учетом монтажных размеров:
H - высота потолочного перекрытия, мм;
Hм - высота под оборудование и автомобили, мм;
p - ширина балки, мм;
m - высота балки, мм;
Z - расстояние между осью струйного вентилятора и потолочным перекрытием, мм;
Dв - диаметр струйного вентилятора, мм;
Lп.б - длина пролета между балками, мм;
Lс - расстояние (в струе) от плоскости сопла струйного вентилятора до балки, мм.
Схема расположения струйного вентилятора на потолочном перекрытии приведена на рисунке 5.6.

1 - струйный вентилятор; 2 - потолочное перекрытие с балками
Рисунок 5.6 - Схема расположения струйного вентилятора на потолочном перекрытии
5.3.3 Исходя из максимальной высоты автомобиля Hа, выбираемой по приложению Г, следует определять минимальное значение Z и Hм (см. рисунок 5.6), обеспечивающее зазор между крышей автомобиля и струйным вентилятором не менее 200 мм в соответствии с СП 113.13330.2016 (пункт 5.1.20). Параметр Z позволяет подобрать типоразмер струйного вентилятора с максимальными характеристиками.
5.3.4 Типоразмер струйных вентиляторов со значениями Z и Dв должен удовлетворять следующему условию:
m ≤ Z ≤ H - (Hа + Dв/2 + 200). (5.2)
5.3.5 В случае если выбранное значение Z ≤ m + Dв/2, следует обеспечить условие Lс ≥ 4Dв.
5.4 Исходные данные, выбираемые на основе объемно-планировочных решений автостоянки
5.4.1 Проектирование системы струйной вентиляции необходимо выполнять на основе исходных данных, полученных из объемно-планировочных решений автостоянки, включающих следующее:
- общий поэтажный план автостоянки;
- схему расположения парковочных мест и маршруты движения транспорта;
- расположение рампы, пандусов, оконных проемов, шахт лифтов, пилонов;
- местоположение аварийных выходов;
- проектное количество парковочных мест SP, шт.;
- проектное количество парковочных мест для электромобилей nэм, шт.;
- максимальную частоту трафика f, 1/ч, вычисляемую по формуле
, (5.3)
где Nм - количество автомобилей, паркующихся в течение 1 ч, шт.;
- полную длину проезда в помещении автостоянки.
5.4.2 Частоту транспортного трафика выбирают по данным технического задания или обследования объекта. В случае отсутствия данных принимают усредненные значения:
f = 0,6 1/ч - для автостоянок жилых зданий;
f = от 0,8 до 1,5 1/ч - для автостоянок торговых и бизнес-центров и других объектов с высокой посещаемостью, при отсутствии данных принимают f = 1,0 1/ч.
5.4.3 Необходимы наличие и план расположения спринклерной системы пожаротушения при проектировании системы струйной вентиляции.
5.4.4 По данным поэтажного плана автостоянки определяют проветриваемую площадь автостоянки Aст.
5.5 Выбор исходных параметров для расчета воздухообмена при работе системы струйной вентиляции в штатном режиме
5.5.1 Воздухообмен автостоянок, оснащенных системой струйной вентиляции, должен обеспечивать требования по ПДК CO в соответствии с ГОСТ 12.1.005-88 (приложение 2). ПДК CO в помещении автостоянки рекомендуется выбирать равным 70 мг/м3, что не противоречит ГОСТ 12.1.005-88 (приложение 2).
5.5.2 В случае отсутствия точной информации по 5.5.1 расчет воздухообмена может осуществляться по усредненным удельным расходам воздуха:
- 6 м3/м2 ч - для автостоянок с низкой посещаемостью при частоте транспортного трафика f ≤ 0,6 1/ч (подземные и крытые автостоянки жилых домов);
- 12 м3/м2 ч - для автостоянок с высокой посещаемостью при f = 1,0 1/ч (подземные и крытые автостоянки торговых и бизнес-центров);
- 16 м3/м2 ч - для автостоянок с очень высокой посещаемостью при 1,0 1/ч ≤ f ≤ 1,5 1/ч (подземные и крытые автостоянки больших торговых центров, аэропортов и вокзалов).
5.6 Выбор исходных параметров для расчета воздухообмена системы струйной вентиляции в аварийном режиме
5.6.1 Воздухообмен в аварийном режиме рассчитывают по производительности вентиляторов вытяжной системы противодымной вентиляции.
5.6.2 Параметрами, необходимыми для расчета воздухообмена в аварийном режиме при пожаре, являются:
- проектная тепловая мощность очага горения Qп, МВт;
- температура приточного воздуха t0, °C;
- уровень нижней границы газовоздушной смеси при затекании в сторону притока не менее Y = 2 м;
- периметр очага пожара Uf, м.
5.6.3 Выбор значения тепловой мощности очага горения Qп осуществляется с учетом данных, приведенных в таблице 5.1, или задается в техническом задании.
|
Параметры очага горения |
Автоматическая система пожаротушения | |
|
есть |
нет | |
|
Габариты очага горения, м |
2 x 5 |
5 x 5 |
|
Uf, м |
14 |
20 |
|
Qп, МВт |
4,5 - 5 (1 автомобиль) (1 электромобиль) <*> |
9 - 10 (2 автомобиля) (2 электромобиля) <*> |
|
<*> Значение Qп при пожаре электромобиля уточняется по результатам натурных испытаний. | ||
6.1 Расчет воздухообмена подземных и крытых автостоянок осуществляется исходя из уровня содержания CO, обусловленного выхлопными газами от движущихся (паркующихся) автомобилей, в соответствии с исходными данными по 5.5.
6.2 Средний путь, проходимый автомобилем по автостоянке, Sср.по вычисляют по формуле
, (6.1)
где Sпо - полная длина проезда в автостоянке, м;
Sрамп - длина проезда по закрытому участку рампы, м.
6.3 Среднее значение эмиссии CO автомобилей, паркующихся с разогретым (горячим) двигателем, ECO гор, г, вычисляют по формуле
ECO гор = 0,008Sср.по. (6.2)
6.4 Среднее значение эмиссии CO автомобилей, выезжающих с автостоянки с неразогретым (холодным) двигателем, ECO хол, г, вычисляют по формулам:
ECO хол = 7,6, (6.3)
при Sср.по ≤ 50 м;
ECO хол = 0,89(Sср.по)0,49, (6.4)
при 50 м ≤ Sср.по ≤ 800 м.
Среднее значение эмиссии CO (г/ч) в помещении автостоянки GCO, г/ч, вычисляют по формуле
GCO = (SP - nэм)fECO, (6.5)
где ECO - в соответствии с формулами (6.2) - (6.4).
Примечание - nэм = 0 в случае, если количество электромобилей не определено или отсутствует точная информация.
6.5 При расчете эмиссии CO для парковок жилых зданий принимают допущение о максимуме эмиссии при утреннем холодном запуске двигателей (утреннее движение транспортного потока в деловой центр):
ECO = ECO хол. (6.6)
6.6 При расчете эмиссии CO для парковок с высокой посещаемостью допускается, что все парковочные места заняты, освободившееся место сразу занимается. В этом случае необходимо учитывать суммарную эмиссию от горячих и холодных двигателей по формуле
ECO = ECO хол + ECO гор. (6.7)
6.7 Требуемый воздухообмен для снижения концентрации CO в автостоянке Vа, м3/ч, вычисляют по формуле
, (6.8)
где COоб - максимально допустимая концентрация CO, равная 70 мг/м3 (по 5.5.1);
COоб пр.возд - значение объемной концентрации CO в приточном воздухе за пределами автостоянки, мг/м3.
Примечание - В жилых районах с малым движением транспорта это значение пренебрежимо мало и обычно принимается равным нулю; на сильно загруженных дорогах COоб пр.возд = 4 мг/м3;
kG - коэффициент, учитывающий неравномерность вентиляции помещения автостоянки.
Примечание - Обычно находится в диапазоне от 1,25 до 1,50, если данные отсутствуют - принимается значение 1,25.
Пример расчета приточно-вытяжной вентиляции автостоянки представлен в приложении Д.
Принятое расчетное значение Va должно обеспечивать воздухообмен в помещении автостоянки в соответствии с требованиями СП 60.13330.2016 (пункт 7.5.11), а именно:
- не менее однократного воздухообмена в 1 ч в помещениях высотой 6 м и менее;
- не менее 6 м3/ч·м2 - в помещениях высотой более 6 м.
6.8 Расчет воздухообмена допускается выполнять без учета влияния размещенных в помещении автостоянки зарядных устройств только для электромобилей, оснащенных литий-ионными (литиевыми) аккумуляторами, соответствующими требованиям ГОСТ Р МЭК 62620.
Примечания
1 Литий-ионные аккумуляторы не выделяют в процессе эксплуатации опасных и токсичных веществ и не создают пожароопасных ситуаций при зарядке.
2 Зарядка свинцово-кислотных аккумуляторов допускается только в специальных помещениях, отвечающих требованиям [2, глава 4.4], находящихся за пределами автостоянки.
7.1 При возникновении пожара системы струйной и противодымной вентиляции должны обеспечивать продольное перемещение воздушного потока и дымовых газов от эвакуационных выходов к противопожарным нормально закрытым клапанам, как это показано на рисунке 7.1. Механизм формирования потока дымовых газов предполагает возникновение двух однонаправленных разноплотностных потоков:
- подпотолочный поток горячих пожарных газов, обусловленный работой струйных вентиляторов;
- поток холодного воздуха от вентиляторов системы приточной противодымной вентиляции со средней скоростью v1, м/с, в нижней части автостоянки, ограниченный линией раздела потоков на высоте Y.

1 - вытяжка; 2 - условная граница раздела разноплотностных потоков воздуха; 3 - приток; 4 - расчетная граница дыма
Рисунок 7.1 - Механизм развития разноплотностных потоков воздуха и дымовых газов, обеспечивающий защиту эвакуационных выходов от задымления
7.2 Для выполнения условия по 5.2.10 необходимо обеспечить следующее условие:
v1 ≥ Vкр, (7.1)
где Vкр - минимальное допустимое значение скорости воздуха v1, м/с, вычисляемое по формуле
, (7.2)
где
; (7.3)
; (7.4)
; (7.5)
; (7.6)
t0 - температура приточного воздуха, °C;
ρв - плотность воздуха при температуре t0, кг/м3;
Cр - удельная теплоемкость воздуха, кДж/(кг·К); принимается равной 1,005 кДж/(кг·К);
B - ширина зоны локализации задымления автостоянки, м; может приниматься равной габаритному размеру автостоянки, перпендикулярному потоку дымовых газов (см. рисунок 5.1);
Y - по 5.6.2 (см. рисунок 7.1);
Qк - конвективная мощность пожара, кВт, вычисляемая по формуле
Qк=(1-φ)Qп, (7.7)
здесь φ - доля теплоты, отдаваемая очагом горения за счет излучения и теплопроводности; при отсутствии данных принимается равной 0,4;
Qп - см. 5.6.3;
Fr - число Фруда, равное:
- Fr ≤ 4,5 - при Qп = 9 - 10 МВт (см. таблицу 5.1);
- 4,5 ≤ Fr ≤ 6,0 - при Qп = 4,5 МВт;
- в остальных случаях и при отсутствии точных данных Fr = 4,5.
Зависимость значения критической скорости Vкр от габаритных размеров автостоянки B, при различных конвективных мощностях пожара Qк, приведена на рисунках Е.1 - Е.4 приложения Е при двух предельных значениях числа Fr.
7.3 Температура газовоздушной смеси tm за очагом горения перед вентилятором вытяжной системы противодымной вентиляции не должна превышать 400 °C. Температуру газовоздушной смеси tm, °C, вычисляют по формуле
. (7.8)
7.4 Производительность вентилятора вытяжной системы противодымной вентиляции Vex, м3/ч, вычисляют по формуле
. (7.9)
7.5 Производительность вентилятора вытяжной системы противодымной вентиляции Vex в зависимости от габаритного размера автостоянки B, при различных конвективных мощностях пожара Qк представлена на рисунках Е.1 - Е.4 приложения Е при двух предельных значениях числа Fr.
7.6 Пример расчета воздухообмена при работе противодымной вентиляции при пожаре в помещении автостоянки представлен в приложении Ж.
8.1 Правила расчета реактивной тяги струйного вентилятора с учетом влияния монтажных размеров, режима работы и особенностей конструкции струйного вентилятора
8.1.1 Реактивную тягу струйного вентилятора Fр, Н, установленного на потолочном перекрытии автостоянки, вычисляют по формуле
Fр = Fнk1k2k3, (8.1)
где Fн - номинальная реактивная тяга вентилятора, полученная при заводских стендовых испытаниях, Н;
k1 - коэффициент, учитывающий снижение реактивной тяги вентилятора от номинального значения, возникающее при передаче импульса от струи вследствие отличия средней скорости воздуха в помещении от нулевого значения, имевшего место при заводских испытаниях;
k2 - коэффициент, учитывающий снижение реактивной тяги вентилятора от номинального значения вследствие эффекта трения от настилающейся на потолочное перекрытие вентиляционной струи;
k3 - коэффициент, учитывающий изменения реактивной тяги вентилятора от номинального значения вследствие снижения потерь на трение при отклонении вентиляционной струи от ограждающих конструкций.
8.1.2 Коэффициент k1 вычисляют по формуле
, (8.2)
где v1 - в соответствии с 7.1; при отсутствии данных и при поперечной системе противодымной вентиляции принимается равной 0,8 м/с
v0 - средняя скорость воздуха в выходном сечении струйного вентилятора, определяемая по паспортным данным или протоколу результатов заводских испытаний, м/с.
8.1.3 Для расчета коэффициента k2 при помощи графика, изображенного на рисунке 8.1, при размещении вентилятора на потолочном перекрытии, удаленном от боковых стен, и на сопряжении потолочной панели и боковой стены (в углу) следует определять значение монтажного параметра kм, характеризующего влияние ограждающих конструкций на потери от трения настилающейся воздушной струи вентилятора по формуле
kм = 2Z/(H - Dв). (8.3)

Рисунок 8.1 - График зависимости поправочного коэффициента k2 от монтажного параметра kм
8.1.4 Если развитие настилающейся струи вентилятора затруднено выступающими балками (см. рисунок 5.6), необходима установка направляющего аппарата, отклоняющего воздушную струю от потолочного перекрытия на угол не более 10 град. Коэффициент k3 в зависимости от угла наклона струи относительно оси вентилятора при различных значениях монтажного параметра kм определяют при помощи графика на рисунке 8.2.

Рисунок 8.2 - График зависимости коэффициента k3 от угла наклона струи относительно оси струйного вентилятора
8.2 Правила расположения струйных вентиляторов в помещении автостоянки
8.2.1 Схема взаимного расположения струйных вентиляторов в помещении автостоянки, представлена на рисунке 8.3. Выбранные расстояния между вентиляторами должны обеспечивать:
- минимальное значение осевой скорости воздушной струи vxmin при помощи подбора продольного расстояния между вентиляторами Lп, обеспечивающего выполнение условия:
vxmin ≥ v1; (8.4)
- смыкание воздушных струй параллельных вентиляторов на расстоянии Lп для создания равномерного (без разрывов) подпотолочного потока воздуха за счет подбора расстояния b между параллельно установленными вентиляторами.

а) Соосная установка струйных вентиляторов

б) Параллельная установка струйных вентиляторов
Рисунок 8.3 - Схема взаимного расположения струйных вентиляторов в пожарном отсеке
8.2.2 Выбранное значение vxmin ≥ 0,8 м/с.
8.2.3 При отсутствии точных данных, расстановка струйных вентиляторов осуществляется из условия, что vxmin = 1 м/с.
8.2.4 Для автостоянок с поперечной схемой противодымной вентиляции (струйные вентиляторы работают только в штатном режиме) допускается увеличение площади проветриваемой одним вентилятором до значения, соответствующего vxmin = 0,8 м/с.
8.2.5 Выбранные расстояния между струйными вентиляторами не должны превышать значений Lп и b, представленных на рисунках И.1 - И.3 приложения И. Искомые значения представлены в виде зависимостей от значения расчетной реактивной тяги вентилятора Fр по формуле (8.1), при различных расчетных значениях vxmin, но не менее 0,5 м/с.
8.2.6 При отсутствии данных, необходимых для расчета значения Fр, допускается приближенная оценка параметров, определяющих взаимное расположение вентиляторов, по результатам заводских испытаний или численного моделирования.
8.2.7 Площадь, проветриваемую одним вентилятором с расчетной реактивной тягой Fр при различных значениях vxmin, определяют по следующей формуле или по приложению И в зависимости от расчетной реактивной тяги вентилятора Fр:
Sв1 = Lпb. (8.5)
8.2.8 Количество струйных вентиляторов nвр, необходимое для автостоянки с вентилируемой площадью Aст в соответствии с 5.4.4, вычисляют по формуле
, (8.6)
где kрез = 1,1 - коэффициент резервирования.
Результат вычисления nвр округляется до целого значения, в резерве должно быть не менее одного струйного вентилятора.
8.2.9 Допускается осуществлять проверку проектных решений по вентиляционной системе автостоянки с учетом результатов численного моделирования.
8.2.10 Программные продукты, используемые для численного моделирования работы систем струйной вентиляции, должны иметь сертификат, подтверждающий их соответствие требованиям ГОСТ Р ИСО/МЭК 12119.
8.2.11 Допускается корректировка параметров вентиляционной системы автостоянки с использованием данных, полученных при численном моделировании и заводских испытаниях струйных вентиляторов.
Пример расчета системы струйной вентиляции подземной автостоянки представлен в приложении Ж.
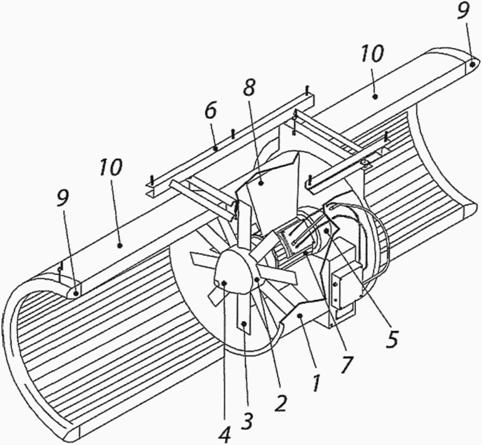
Приложение А

1 - корпус вентилятора; 2 - крыльчатка; 3 – лопасть крыльчатки; 4 - носовой обтекатель; 5 – хвостовой обтекатель; 6 - монтажная рама; 7 - электродвигатель; 8 - опора двигателя; 9 - наконечник; 10 - шумоглушитель
Рисунок А.1 - Конструкция однонаправленного осевого струйного вентилятора

L - общая длина струйного вентилятора; L1 - длина осевого реверсивного вентилятора с двигателем; L2 - длина глушителя; 1 - шумоглушитель; 2 - лопатки; 3 - двигатель
Рисунок А.2 - Конструкция реверсивного осевого струйного вентилятора
Приложение Б
Б.1 Реверсивный центробежный струйный вентилятор обеспечивает две пожарные зоны в помещении автостоянки и поворот вентиляционного потока на 180° (см. рисунок Б.1).

Рисунок Б.1 - Схема автостоянки, оснащенной системой струйной вентиляции на базе центробежных струйных вентиляторов
Б.2 Реверсивный центробежный вентилятор обеспечивает две пожарные зоны в помещении автостоянки и поворот вентиляционного потока на 90°.

Рисунок Б.2 - Схема автостоянки оснащенной системой струйной вентиляции на базе центробежных струйных вентиляторов
Б.3 Реверсивный центробежный вентилятор обеспечивает три пожарные зоны в помещении автостоянки и поворот вентиляционного потока на ± 90°.

Рисунок Б.3 - Схема автостоянки, оснащенной системой струйной вентиляции на базе центробежных струйных вентиляторов
Б.4 Реверсивный центробежный вентилятор, обеспечивающий поворот вентиляционного воздушного потока на 360° может в сочетании с другими вентиляторами являться решением для автостоянок очень большой площади.

Рисунок Б.4 - Схема автостоянки, оснащенной системой струйной вентиляции на базе центробежных струйных вентиляторов
Приложение В
Струйные вентиляторы могут быть расположены:
- над дорожным полотном, рядом с колоннами;
- осевой линией дорожного полотна;
- парковочными и между парковочными местами.
В.1 Схема расположения струйных вентиляторов над дорожным полотном, рядом с колоннами, приведена на рисунке В.1.

Рисунок В.1 - Расположение струйных вентиляторов над дорожным полотном, рядом с колоннами
Данную схему применяют при высоте потолочных перекрытий от 2,5 до 3,0 м.
В.2 Схему расположения вентиляторов над осевой линией дорожного полотна, приведенную на рисунке В.2, целесообразно применять для вентиляторов с реактивной тягой от 40 до 100 Н.
Данная схема позволяет существенно снизить потери на трение воздушной струи об ограждающие конструкции. В этом случае высота потолочных перекрытий H является ограничивающим фактором.

Рисунок В.2 - Расположение струйных вентиляторов над осевой линией дорожного полотна
В.3 Схема расположения вентиляторов над парковочными местами, приведенная на рисунках В.3 и В.4, применяется, когда другие варианты невозможны.

Рисунок В.3 - Расположение струйных вентиляторов над парковочными местами

Рисунок В.4 - Расположение струйных вентиляторов над парковочными местами
Приложение Г
|
Класс автомобиля |
Максимальные габариты, мм |
Объем двигателя, л |
Масса неснаряженного автомобиля, т | ||
|
Длина L |
Ширина B |
Высота H | |||
|
1 Малый |
3700 |
1600 |
1600 |
0,85 - 1,80 |
0,65 - 1,15 |
|
2 Средний |
4300 |
1700 |
1700 |
1,8 - 3,5 |
1,15 - 1,5 |
|
3 Большой |
5000 |
1900 |
2100 |
3,5 - 5,0 |
1,5 - 1,9 |
|
4 Микроавтобусы |
5500 |
1970 |
2300 |
4,5 - 6,0 |
1,9 - 2,4 |
Приложение Д
Необходимо осуществить расчет воздухообмена при работе приточно-вытяжной вентиляции подземной автостоянки, оснащенной системой реверсивной струйной вентиляции, представленной на рисунке Д.1.
Расчет выполняют в двух вариантах:
- для автостоянки жилого дома;
- автостоянки торгового центра.

1 - реверсивный струйный вентилятор; 2 - вытяжка (система вытяжной вентиляции); 3 - приток (система приточной вентиляции); 4 - въезд; 5 - выезд
Рисунок Д.1 - Схема подземной автостоянки
Пример Д.1 - автостоянка жилого дома
Исходные данные для расчета автостоянки в соответствии с 5.4.1, 5.4.2:
- SP = 232 шт.;
- Sпо = 162 м;
- Sрамп = 42 м;
- f = 0,6 1/ч;
- nэм = 0.
(перечисление введено Изменением N 1, утв. Приказом Минстроя России от 06.05.2019 N 258/пр)
В соответствии с 5.4.4 Aст = 4870 м2.
Транспорт выезжает утром, ни один автомобиль в это время в парк не въезжает.
В соответствии с формулой (6.1):
Sср.по = 162:2 + 42 + 10 = 133 м.
В соответствии с формулой (6.4):
ECO хол = 0,89·(133)0,49 = 9,774 г.
В соответствии с формулой (6.5):
GCO = 232·0,6·9,774 = 1360,5 г.
В соответствии с формулой (6.8):
м3/ч.
Пример Д.2 Автостоянка торгового центра
Исходные данные для расчета автостоянки в соответствии с 5.5:
f = 1,0 1/ч.
COоб пр.возд = 4 мг/м3 в соответствии с 6.7.
Как только освобождается парковочное место, оно занимается, поэтому эмиссия CO обусловлена работой горячих и холодных двигателей.
В соответствии с формулой (6.2):
ECO гор = 0,008·133 = 1,064 г.
В соответствии с формулой (6.5):
GCO = 232·1,0·(9,774 + 1,064) = 2514,4 г.
В соответствии с формулой (6.8):
м3/ч.
В таблице Д.1 представлены результаты расчета воздухообмена, выполненные выше, с использованием усредненных удельных расходов воздуха по 5.5.2.
Таблица Д.1
|
Тип автостоянки |
Расчет воздухообмена автостоянки, м3/ч | |
|
по удельным усредненным расходам воздуха по 5.5.2 |
по данным примеров, приведенных в Д.1, Д.2 | |
|
Автостоянка жилого дома |
29220 |
24295 |
|
Автостоянка торгового центра |
58440 |
47816 |
Приложение Е
Е.1 Расчет критической скорости Vкр в соответствии с формулой (7.2)

Рисунок Е.1 - График зависимости Vкр от ширины автостоянки B при различных значениях конвективной мощности пожара Qк, при числе Фруда Fr = 6,0

Рисунок Е.2 - График зависимости Vкр от ширины автостоянки B при различных значениях конвективной мощности пожара Qк, при числе Фруда Fr = 4,5
Е.2 Расчет производительности вентиляторов вытяжной системы противодымной вентиляции в соответствии с формулой (7.9)

Рисунок Е.3 - График зависимости производительности вентиляторов дымоудаления Vех от ширины автостоянки B при различных значениях конвективной мощности пожара Qк, при числе Фруда Fr = 6,0

Рисунок Е.4 - График зависимости производительности вентиляторов дымоудаления Vех от ширины автостоянки B при различных значениях конвективной мощности пожара Qк, при числе Фруда Fr = 4,5
Приложение Ж
Необходимо осуществить расчет реверсивной системы струйной вентиляции подземной автостоянки в аварийном режиме удаления газовоздушной смеси.
Расчет выполняют в двух вариантах:
- для автостоянки площадью Aст = 4870 м2;
- для автостоянки площадью Aст = 9970 м2.
Ж.1 Расчет системы струйной вентиляции для автостоянки площадью Aст = 4870 м2, представленной на рисунке Ж.1

1 - реверсивный струйный вентилятор; 2 - приток-вытяжка (системы приточной и вытяжной противодымных вентиляций соответственно); 3 - въезд; 4 - выезд
Рисунок Ж.1 - Реверсивная схема струйной вентиляции подземной автостоянки площадью Aст = 4870 м2
В соответствии с разделом 7 выполняют расчет воздухообмена в аварийном режиме удаления газовоздушной смеси, приняв проектную тепловую мощность очага горения.
а) В соответствии с формулой (7.2):
Qк = (1 - 0,4)·5 = 3 МВт (3000 кВт);
t0 = 15 °C;
B = 39,5 м;
ρв=1,226 кг/м3;
Cр = 1,09 кДж/(кг·К);
Y = 2 м;
Fr = 4,5;
;
;
;
;
По формуле (7.8) вычисляют температуру газовоздушной смеси:

.
В соответствии с формулой (7.1) допускают v1 = Vкр.
По формуле (7.9) вычисляют производительность вентиляторов вытяжной системы противодымной вентиляции:
м3/ч.
Выбирают четыре реверсивных вентилятора дымоудаления по 117000 м3/ч (два вентилятора на притоке и два на вытяжке).
б) Выбирают типоразмер реверсивного струйного вентилятора в соответствии с 5.3.
Основные размеры помещения автостоянки, влияющие на выбор типоразмера струйного вентилятора (см. рисунок 5.6):
H = 3500 мм;
p = 500 мм;
m = 900 мм;
Hм = 2100 мм для автомобилей большого класса в соответствии с приложением И.
Применяют реверсивный струйный вентилятор Dв = 400 мм с номинальной реактивной тягой Fн = 57 Н.
В соответствии с формулой (5.2):
900 ≤ Z ≤ 3500 - (2100 + 400/2 + 200);
900 ≤ Z ≤ 1000.
Выбирают значение Z = 1000 мм.
в) Расположение струйных вентиляторов в помещении автостоянки.
В соответствии 8.1.1 определяют расчетное значение реактивной тяги струйных вентиляторов с учетом монтажных размеров.
В соответствии с формулой (8.2):
.
В соответствии с формулой (8.3) определяют монтажный параметр вентилятора:
kм = 2·1000/(3500 - 400) = 0,645.
При помощи графика (рисунок 8.1) определяют, что
k2 = 0,98.
При помощи графика (рисунок 8.2) определяют, что
k3 = 1, при угле наклона лопаток направляющего аппарата 4°.
В соответствии с формулой (8.1):
Fр = 57·0,964·0,98·1,0 = 53,85 Н.
В соответствии с формулой (8.4) принимают минимальное значение осевой скорости воздушной струи vxmin = 0,9 м/с.
Максимально допустимое расстояние между струйными вентиляторами и максимально допустимую площадь, вентилируемую одним струйным вентилятором, определяют при помощи графиков на рисунках И.1 - И.3: Lп = 40 м; b = 14 м; Sв1 = 560 м2.
Таким образом, расчетное количество струйных вентиляторов определяют в соответствии с формулой (8.6):
.
С учетом резервирования в соответствии с 5.2.15 количество струйных вентиляторов принимают nв = 10 шт.
Ж.2 Расчет системы струйной вентиляции для автостоянки площадью Aст = 9970 м2
На рисунке Ж.2 представлена схема подземной автостоянки, оснащенная в соответствии с 5.1.3.2 реверсивной системой струйной вентиляции.

1 - реверсивный струйный вентилятор; 2 - приток-вытяжка; 3 - въезд; 4 - выезд
Рисунок Ж.2 - Реверсивная схема струйной вентиляции подземной автостоянки площадью Aст = 9970 м2
Основные расчетные параметры системы струйной вентиляции аналогичны Ж.1 и отличие состоит только в большей площади подземной автостоянки.
Таким образом, расчетное количество струйных вентиляторов определяют в соответствии с формулой (8.6):
.
С учетом резервирования в соответствии с 5.2.15 количество струйных вентиляторов принимают nв = 20 шт.
Приложение И

Рисунок И.1 - График зависимости расстояния Lп (в струе) от расчетной реактивной тяги Fр вентилятора при различных значениях vxmin

Рисунок И.2 - График зависимости межосевого расстояния b от расчетной реактивной тяги вентилятора Fр при различных значениях vxmin

Рисунок И.3 - График зависимости площади Sв1, проветриваемой одним вентилятором, от расчетной реактивной тяги вентилятора Fр при различных значениях vxmin [в соответствии с формулой (8.5)]
Библиография
[1] Федеральный закон от 29 декабря 2004 г. N 190-ФЗ "Градостроительный кодекс Российской Федерации"
[2] ПУЭ Правила устройства электроустановок (6-е изд.)


