СП 230.1325800.2015 (12.12.2022) КОНСТРУКЦИИ ОГРАЖДАЮЩИЕ ЗДАНИЙ. ХАРАКТЕРИСТИКИ ТЕПЛОТЕХНИЧЕСКИХ НЕОДНОРОДНОСТЕЙ
Утв. Приказом Министерства строительства и жилищно-коммунального хозяйства РФ от 8 апреля 2015 г. N 261/пр
Свод правил СП-230.1325800.2015
"КОНСТРУКЦИИ ОГРАЖДАЮЩИЕ ЗДАНИЙ. ХАРАКТЕРИСТИКИ ТЕПЛОТЕХНИЧЕСКИХ НЕОДНОРОДНОСТЕЙ"
С изменениями:
(27 сентября 2018 г., 12 декабря 2022 г.)
Construction enclosing of buildings characteristics of thermal conductive of inclusions
Дата введения - 30 апреля 2015 г.
Введен впервые
Предисловие
Сведения о своде правил
1 ИСПОЛНИТЕЛЬ - Научно-исследовательский институт строительной физики Российской академии архитектуры и строительных наук (НИИСФ РААСН)
2 ВНЕСЕН Техническим комитетом по стандартизации ТК 465 "Строительство"
3 ПОДГОТОВЛЕН к утверждению Департаментом градостроительной деятельности и архитектуры Министерства строительства и жилищно-коммунального хозяйства Российской Федерации (Минстрой России)
4 УТВЕРЖДЕН Приказом Министерства строительства и жилищно-коммунального хозяйства Российской Федерации от 8 апреля 2015 г. N 261/пр и введен в действие с 30 апреля 2015 г.
5 ЗАРЕГИСТРИРОВАН Федеральным агентством по техническому регулированию и метрологии (Росстандарт)
6 ВВЕДЕН ВПЕРВЫЕ
Информация об изменениях к настоящему своду правил, а также тексты изменений и поправок размещаются в информационной системе общего пользования - на официальном сайте Министерства по строительству и жилищно-коммунальному хозяйству Российской Федерации в сети Интернет.
Введение
Настоящий свод правил разработан в развитие раздела 5 и приложения К СП 50.13330 "СНиП 23-02-2003 Тепловая защита зданий", с целью повышения уровня проектирования тепловой защиты зданий, упрощения и упорядочивания работы специалистов, проектирующих тепловой контур здания. Основную часть свода правил составляют таблицы с расчетными характеристиками различных узлов конструкций, позволяющие частично или полностью исключить расчеты температурных полей в процессе проектирования или экспертной оценки конструкций.
Метод расчета приведенного сопротивления теплопередаче и табличные данные разработаны НИИСФ РААСН: канд. техн. наук В.В. Козлов (ответственный исполнитель), д-р техн. наук В.Г. Гагарин.
ОАО "ЦНИИПромзданий": заместитель генерального директора канд. техн. наук С.М. Гликин, руководитель отдела канд. техн. наук А.М. Воронин. Представлены варианты конструктивных решений узлов многослойных конструкций стен, получивших широкое применение в практике строительства.
Изменение N 1 к настоящему своду правил выполнено авторским коллективом НИИСФ РААСН (канд. техн. наук В.В. Козлов - ответственный исполнитель, д-р техн. наук В.Г. Гагарин).
Изменение N 2 к настоящему своду правил выполнено авторским коллективом НИИСФ РААСН (канд. техн. наук В.В. Козлов - ответственный исполнитель, д-р техн. наук В.Г. Гагарин, канд. техн. наук К.С. Андрейцева).
Настоящий свод правил распространяется на расчет приведенного сопротивления теплопередаче фрагментов ограждающих конструкций зданий, удельных потерь теплоты через теплозащитные элементы и коэффициента теплотехнической однородности, для строящихся или реконструируемых жилых, общественных, производственных, сельскохозяйственных и складских зданий, в которых необходимо поддерживать определенный температурно-влажностный режим.
В настоящем своде правил использованы ссылки на следующие нормативные документы:
ГОСТ 30494-2011 Здания жилые и общественные. Параметры микроклимата в помещениях
ГОСТ 33740-2016 Системы фасадные теплоизоляционные композиционные с наружными штукатурными слоями. Термины и определения
СП 50.13330.2012 "СНиП 23-02-2003 Тепловая защита зданий" (с изменениями N 1, N 2)
СП 131.13330.2020 "СНиП 23-01-99* Строительная климатология"
Примечание - При пользовании настоящим сводом правил целесообразно проверить действие ссылочных стандартов (сводов правил и/или классификаторов) в информационной системе общего пользования - на официальном сайте национального органа Российской Федерации по стандартизации в сети Интернет или по ежегодно издаваемому информационному указателю "Национальные стандарты", который опубликован по состоянию на 1 января текущего года, и по выпускам ежемесячно издаваемого информационного указателя "Национальные стандарты" за текущий год. Если заменен ссылочный стандарт (документ), на который дана недатированная ссылка, то рекомендуется использовать действующую версию этого стандарта (документа) с учетом всех внесенных в данную версию изменений. Если заменен ссылочный стандарт (документ), на который дана датированная ссылка, то рекомендуется использовать версию этого стандарта (документа) с указанным выше годом утверждения (принятия). Если после утверждения настоящего стандарта в ссылочный стандарт (документ), на который дана датированная ссылка, внесено изменение, затрагивающее положение, на которое дана ссылка, то это положение рекомендуется применять без учета данного изменения. Если ссылочный стандарт (документ) отменен без замены, то положение, в котором дана ссылка на него, рекомендуется применять в части, не затрагивающей эту ссылку. Сведения о действии сводов правил можно проверить в Федеральном информационном фонде технических регламентов и стандартов.
В настоящем своде правил применены термины по СП 50.13330, а также следующие термины с соответствующими определениями:
3.1 теплозащитный элемент: Отдельный участок конструкции, деталь (в основном прорезающая утеплитель), стык между различными конструкциями, влияющий на потери теплоты через конструкцию.
3.2 удельный геометрический показатель теплозащитного элемента: Средняя площадь, протяженность или количество теплозащитных элементов данного вида, приходящееся на 1 м2 ограждающей конструкции.
3.3 целевое сопротивление теплопередаче фрагмента ограждающей конструкции Rоц, м2·°C/Вт: Приведенное сопротивление теплопередаче, выбранное в качестве цели при проектировании конструкции.
3.4 максимальный относительный перепад температуры на внутренней поверхности ограждающей конструкции; θв: Локальный максимум отношения перепада температуры между внутренним воздухом и внутренней поверхностью ограждающей конструкции к перепаду температуры между внутренним воздухом и наружным воздухом; определяется для каждого узла в отдельности.
4.1 В соответствии с настоящим сводом правил выполняют и оформляют: расчет приведенного сопротивления теплопередаче ограждающих конструкций и их фрагментов, расчет коэффициента теплотехнической однородности и расчет удельных потерь теплоты через теплозащитные элементы.
4.2 Условия эксплуатации ограждающих конструкций для выбора теплотехнических показателей материалов принимают по СП 50.13330.
Внутренние и наружные температуры принимаются либо по проектному заданию, либо внутренняя температура - по ГОСТ 30494, наружная температура - по СП 131.13330.
4.3 Требования к приведенному сопротивлению теплопередаче и минимальной температуре внутренней поверхности ограждающих конструкций здания принимают по СП 50.13330.
5.1 Расчет основан на представлении фрагмента теплозащитной оболочки здания в виде набора независимых элементов, каждый из которых влияет на тепловые потери через фрагмент (далее - теплозащитных элементов).
В качестве теплозащитных элементов используют отдельные участки конструкции, детали (как правило, прорезающие утеплитель), стыки между различными конструкциями. Одна и та же конструкция может быть разбита на элементы различными способами. В приложении А приведены типовые разбивки на теплозащитные элементы основных видов стен.
При разбивке на элементы необходимо соблюдать следующие правила:
- совокупность выделенных элементов должна быть достаточной для составления рассматриваемой конструкции, т.е. содержать все узлы конструкции;
- при составлении конструкции элементы не пересекаются;
- элементы влияют на тепловые потери через конструкцию.
5.2 Расчет удельных потерь теплоты через элементы ограждающей конструкции должен содержать следующие части:
- схему или чертеж, позволяющие установить состав и устройство узла содержащего элемент;
- температурное поле узла;
- принятые в расчете температурного поля температуры наружного и внутреннего воздуха, а также геометрические размеры узла, включенного в расчетную область;
- минимальную температуру внутренней поверхности конструкции и поток теплоты через узел, полученные в результате расчетов;
- удельные потери теплоты через элемент, посчитанные по формулам (Е.8), (Е.9) или (Е.11), (Е.12) СП 50.13330.
|
5.3 Приведенное сопротивление теплопередаче фрагмента теплозащитной оболочки здания Rопр, м2·°C/Вт, следует определять по формуле (5.1). Оформлять расчет приведенного сопротивления теплопередаче следует в соответствии с Е.6 СП 50.13330
где lj, nk - геометрические характеристики элементов, определяемые для конкретного проекта, описание и правила нахождения приведены в разделе 6; Ψj, χk - удельные потери теплоты через элементы, описание и правила нахождения приведены в разделе 6; Rоусл - осредненное по площади условное сопротивление теплопередаче фрагмента теплозащитной оболочки здания либо выделенной ограждающей конструкции, м2·°C/Вт; Ui - коэффициент теплопередачи однородной i-й части фрагмента теплозащитной оболочки здания (удельные потери теплоты через плоский элемент i-го вида), Вт/(м2·°C)
ai - площадь плоского элемента конструкции i-го вида, приходящаяся на 1 м2 фрагмента теплозащитной оболочки здания или выделенной ограждающей конструкции, м2/м2
где Ai - площадь i-й части фрагмента, м2. | |||||||||||||||||||||||||||||||||||||||||||||||||||||||||
|
5.4 Осредненное по площади условное сопротивление теплопередаче фрагмента теплозащитной оболочки здания определяют по формуле
где
где αв, αн - коэффициенты теплоотдачи внутренней и наружной поверхности ограждающей конструкции соответственно, Вт/(м2·°C), принимают по таблицам 4 и 6 СП 50.13330; Rs - термическое сопротивление слоя однородной части фрагмента, м2·°C/Вт, определяемое для невентилируемых воздушных прослоек по таблице 1, для материальных слоев по формуле
δs - толщина слоя, м; λs - теплопроводность материала слоя, Вт/(м·°C), принимаемая по результатам испытаний в аккредитованной лаборатории; при отсутствии таких данных ее оценивают по приложению Т СП 50.13330. | |||||||||||||||||||||||||||||||||||||||||||||||||||||||||
|
5.5 Коэффициент теплотехнической однородности, r, вспомогательная величина, характеризующая эффективность утепления конструкции, определяют по формуле
Таблица 1
[СП 50.13330 приложение Е, пункты Е.1, Е.2, таблица Е.1 и приложение Т таблица Т.1] | |||||||||||||||||||||||||||||||||||||||||||||||||||||||||
6.1 Удельные потери теплоты, обусловленные каждым элементом, находят сравнением потока теплоты через узел, содержащий элемент, и через тот же узел, но без исследуемого элемента.
Как правило, узел без исследуемого элемента - это однородная конструкция (плоский элемент). На практике не редки случаи, когда узел без исследуемого элемента состоит из нескольких элементов и необязательно плоских. В этом случае, при расчете приведенного сопротивления теплопередаче важно соблюдать следующее правило: элементы конструкции, составлявшие базу при расчете удельных потерь теплоты, должны присутствовать в исследуемой конструкции и их удельные тепловые потери должны быть в полной мере учтены.
|
6.2 Удельные потери теплоты через линейную теплотехническую неоднородность определяют по результатам расчета двухмерного температурного поля узла конструкций при температуре внутреннего воздуха tв и температуре наружного воздуха tн
где ΔQjL - дополнительные потери теплоты через линейную теплотехническую неоднородность j-го вида, приходящиеся на 1 пог. м, Вт/м, определяемые по формуле ΔQjL = QjL – Qj,1 – Qj,2, (6.2) где QjL - потери теплоты через расчетную область с линейной теплотехнической неоднородностью j-го вида, приходящиеся на 1 пог. м стыка, являющиеся результатом расчета температурного поля, Вт/м; Qj,1, Qj,2 - потери теплоты через участки однородных частей фрагмента, вошедшие в расчетную область при расчете температурного поля области с линейной теплотехнической неоднородностью j-го вида, Вт/м, определяемые по формулам:
где Sj,1, Sj,2 - площади однородных частей конструкции, вошедшие в расчетную область при расчете температурного поля, м2. При этом значение Sj,1 + Sj,2 равно площади расчетной области при расчете температурного поля. Ψj - удельные линейные потери теплоты через линейную теплотехническую неоднородность j-го вида, Вт/(м·°C). 6.3 Удельная геометрическая характеристика линейного теплозащитного элемента, lj, м/м2, есть отношение суммарной протяженности j-го элемента в исследуемой конструкции, Lj, м, к общей площади конструкции A, м2. |
|
6.4 Удельные потери теплоты через точечную теплотехническую неоднородность k-го вида определяют по результатам расчета трехмерного температурного поля участка конструкции, содержащего точечную теплотехническую неоднородность, по формуле
где ΔQkK - дополнительные потери теплоты через точечную теплотехническую неоднородность k-го вида, Вт, определяемые по формуле ΔQkK = Qk – Q̃k, (6.5) где Qk - потери теплоты через узел, содержащий точечную теплотехническую неоднородность k-го вида, являющиеся результатом расчета температурного поля, Вт; Q̃k - потери теплоты через тот же узел, не содержащий точечную теплотехническую неоднородность k-го вида, являющиеся результатом расчета температурного поля, Вт. 6.5 Удельная геометрическая характеристика точечного теплозащитного элемента, nk, 1/м2, есть отношение суммарного количества k-х элементов в исследуемой конструкции, Nk, м, к общей площади конструкции A, м2. 6.6 Результатом расчета температурного поля узла конструкции является распределение температур в сечении узла, в том числе по внутренней и наружной поверхностям. Поток теплоты через внутреннюю поверхность узла определяют по формуле Qв = αвSв(tв – τвср). (6.6) Поток теплоты через наружную поверхность узла определяют по формуле Qн = αнSн(tн – τнср), (6.7) где tв, tн - расчетные температуры внутреннего и наружного воздуха соответственно, °C; τвср, τнср - осредненные по площади температуры внутренней и наружной поверхностей узла ограждающей конструкции соответственно, °C; αв, αн - коэффициенты теплоотдачи внутренней и наружной поверхностей узла конструкции соответственно, Вт/(м2·°C); Sв, Sн - площади внутренней и наружной поверхностей узла ограждающей конструкции, м2. [СП 50.13330 приложение Е пункты Е.3, Е.4] |
6.7 Методика определения минимальной температуры на внутренней поверхности ограждающей конструкции
Настоящая методика применима только для ограждающих конструкций, не содержащих источников тепла и не подверженных движению воздуха через них.
На исследуемой конструкции выделяют все теплотехнические неоднородности (см. приложение А). Для каждой теплотехнической неоднородности по таблицам максимальных относительных перепадов температуры на внутренней поверхности узлов, приведенным в приложении Г, находят соответствующие конструкции значения максимального относительного перепада температуры.
Минимальную температуру на внутренней поверхности каждого узла, °C, рассчитывают по формуле
tmin = tв – θв·(tв – tн), (6.8)
где θв - максимальный относительный перепад температуры на внутренней поверхности узла.
Наименьшая из полученных минимальных температур на внутренней поверхности узла - это минимальная температура на внутренней поверхности ограждающей конструкции.
Рассматривают два основных случая расчета приведенного сопротивления теплопередаче:
а) расчет приведенного сопротивления теплопередаче ограждающей конструкции;
б) подбор элементов проектируемой конструкции, для достижения целевого сопротивления теплопередаче.
7.1 Расчет приведенного сопротивления теплопередаче ограждающей конструкции проводят в нижеприведенной последовательности:
1 Выбирают типовую разбивку на элементы, которую корректируют с учетом особенностей ограждающей конструкции (для стен типовую разбивку следует принимать по приложению А).
2 Для каждого элемента находят удельный геометрический показатель.
3 Для каждого элемента находят удельные потери теплоты по расчетам температурных полей либо по справочным материалам <1>.
--------------------------------
<1> Справочными материалами могут служить таблицы приложения Г, данные технических свидетельств или альбомов типовых чертежей, другие официальные результаты расчетов.
4 Составляют таблицу Е.2 по приложению Е СП 50.13330.
5 Рассчитывают приведенное сопротивление теплопередаче по формуле (5.1).
7.2 В связи с встречающейся взаимозависимостью теплозащитных элементов, когда изменение свойств одного элемента может вести к изменению свойств другого, подбор элементов конструкции для достижения целевого сопротивления теплопередаче в общем случае проводят итерациями.
Подбор элементов проектируемой ограждающей конструкции, для достижения целевого сопротивления теплопередаче, проводят в нижеприведенной последовательности:
1 Определяют целевое сопротивление теплопередаче ограждающей конструкции здания. Оно должно быть не ниже требуемого СП 50.13330.
2 Выбирают вид ограждающей конструкции.
3 Выбирают типовую разбивку на элементы, которую корректируют с учетом особенностей ограждающей конструкции (для стен типовую разбивку следует принимать по приложению А).
4 Для каждого элемента находят удельный геометрический показатель.
5 Для каждого элемента определяют источник получения характеристик: расчет температурного поля или справочные материалы (см. сноску к 7.1).
6 Для плоских элементов выбирают толщину утеплителя. Для этого целевое сопротивление теплопередаче конструкции умножают на 1,5 и подбирают конструкцию со значением
.
Примечание - В случае, если про конструкцию известно, что она отличается высокой однородностью, можно значение коэффициента 1,5 заменить на значение 1,3. Наоборот, если про конструкцию известно, что она отличается низкой однородностью можно значение коэффициента 1,5 заменить на значение 1,8.
7 Для выбранной толщины утеплителя определяют удельные потери теплоты всех элементов ограждающей конструкции.
8 По таблице Е.2 приложения Е СП 50.13330 и формуле (5.1) проводят расчет приведенного сопротивления теплопередаче.
9 По результатам расчета проводят оценку достижения целевого сопротивления теплопередаче и, при необходимости, корректируют конструктивное решение ограждающей конструкции. Корректировка может заключаться, как в изменении толщины или типа утеплителя, так и в замене наиболее значимых теплозащитных элементов.
Примечание - Как правило, целевое сопротивление может считаться достигнутым, если полученное расчетом приведенное сопротивление теплопередаче не меньше целевого сопротивления теплопередаче и отличается от него не более чем:
на 10% - для Rоусл <3,5 м2·°С/Вт,
на 7% - для 3,5 ≤ Rоусл <5 м2·°С/Вт,
на 5% - для 5 ≤ Rоусл м2·°С/Вт.
10 В случае изменения характеристик некоторых элементов ограждающей конструкции (особенно толщины утеплителя) оценивают необходимость корректировки теплозащитных характеристик остальных элементов. При необходимости пересчитывают характеристики элементов.
11 Проводят окончательный расчет приведенного сопротивления теплопередаче. Для этого заполняют таблицу Е.2 приложения Е СП 50.13330 и применяют формулу (5.1).
Приложение А
А.1 Исключен с 28 марта 2019 года. - Изменение N 1
А.2 К наиболее распространенным можно отнести стеновые конструкции следующих видов:
- железобетонные трехслойные панели;
- кладки из блоков легкого, особо легкого и ячеистого бетонов, или крупноформатных камней;
- трехслойные стены с эффективным утеплителем и облицовкой из кирпичной кладки;
- системы фасадные теплоизоляционные, композиционные с наружными штукатурными слоями (далее - СФТК) по ГОСТ 33740;
- системы наружной теплоизоляции с вентилируемой воздушной прослойкой;
- тонкостенные панели (в том числе сэндвич-панели);
- стены с внутренним утеплителем.
А.3 Расчет приведенного сопротивления теплопередаче начинают с разделения ограждающей конструкции на теплозащитные элементы.
Для каждого из перечисленных видов стеновых конструкций формируют типовой набор элементов, руководствуясь А.3.1 - А.3.6. Если таблицы с удельными потерями теплоты элемента есть в приложении Г, то приводят ссылку на соответствующую таблицу.
А.3.1 Железобетонные трехслойные панели
1) гибкие связи или шпонки;
2) стыки панелей;
3) сопряжение с плитой перекрытия или балконной плитой;
4) стыки с оконными блоками;
5) примыкание к цокольному ограждению;
6) углы;
7) стыки с другими видами стеновых конструкций.
Примечание - Железобетонные панели имеют свои конструктивные особенности для каждого завода-изготовителя. Полноценно обобщить их свойства пока не представляется возможным, поэтому удельные теплозащитные характеристики должны рассчитывать параллельно с разработкой панелей и включать в документацию на панель.
А.3.2 Кладки из блоков легкого, особо легкого и ячеистого бетонов, или крупноформатных камней
1) швы кладки, включая армирование (таблицы Г.1 - Г.3);
2) сопряжение с плитой перекрытия или балконной плитой (таблицы Г.5 - Г.10);
3) стыки с оконными блоками (таблицы Г.29 - Г.31);
4) примыкание к цокольному ограждению (таблица Г.39);
5) углы (таблица Г.27);
6) стыки с другими видами стеновых конструкций (при наличии).
Примечание - Расчетный коэффициент теплопроводности материала обычно приводится для кладки с учетом швов. В этом случае учитывать среди теплозащитных элементов швы кладки не следует. Однако, в связи с широким распространением большой номенклатуры камней разной природы, разнообразием кладочных растворов и способов армирования все чаще приводятся характеристики камня. В этом случае следует учитывать швы кладки.
А.3.3 Трехслойные стены с эффективным утеплителем и облицовкой из кирпичной кладки
1) армирование или связи, проходящие через утеплитель;
2) крепеж утеплителя (при крепеже тарельчатыми анкерами (таблица Г.4);
3) сопряжение с плитой перекрытия или балконной плитой (таблицы Г.11 - Г.16);
4) стыки с оконными блоками (таблицы Г.32 - Г.33);
5) примыкание к цокольному ограждению (таблица Г.40);
6) углы (таблица Г.28);
7) стыки с другими видами стеновых конструкций (при наличии).
А.3.4 Системы фасадные теплоизоляционные, композиционные с наружными штукатурными слоями
1) крепеж утеплителя (тарельчатый анкер) (таблица Г.4);
2) сопряжение с балконной плитой (таблицы Г.17 - Г.21);
3) стыки с оконными блоками (таблицы Г.33 - Г.35);
4) примыкание к цокольному ограждению (таблица Г.40);
5) углы (таблица Г.28);
6) стыки с другими видами стеновых конструкций (при наличии).
А.3.5 Системы наружной теплоизоляции с вентилируемой воздушной прослойкой
1) крепеж утеплителя (тарельчатый анкер) (таблица Г.4);
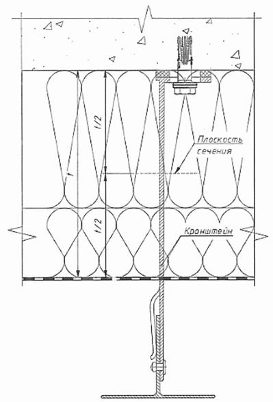
2) кронштейны (включая крепление к несущему основанию);
3) металлические противопожарные рассечки;
4) сопряжение с балконной плитой (таблицы Г.17 - Г.21);
5) стыки с оконными блоками;
6) примыкание к цокольному ограждению (таблица Г.40);
7) углы (таблица Г.28);
8) стыки с другими видами стеновых конструкций (при наличии).
Примечание - Большое значение для расчета приведенного сопротивления теплопередаче стен с облицовкой на относе имеют характеристики кронштейнов. Кронштейны часто уникальны для производителя фасадной системы и их характеристики пока не обобщены. Удельные потери теплоты через кронштейны должны определяться на стадии разработки фасадной системы и включать в документацию на фасадную систему, например, в технические свидетельства.
А.3.6 Тонкостенные панели (в том числе сэндвич-панели)
1) армирование или связи, проходящие через утеплитель;
2) крепеж утеплителя или панели в целом (таблица Г.4 в случае тарельчатого анкера);
3) сопряжение с плитой перекрытия или балконной плитой (таблицы Г.22 - Г.23);
4) стыки с оконными блоками (таблицы Г.36 - Г.37);
5) примыкание к цокольному ограждению;
6) стыки с другими видами стеновых конструкций (при наличии).
А.3.7 Стены с внутренним утеплением
1) крепеж утеплителя (таблица Г.4 в случае тарельчатого анкера);
2) сопряжение с плитой перекрытия или балконной плитой (таблицы Г.24 - Г.26);
3) стыки с оконными блоками (таблица Г.38);
4) стыки с другими видами стеновых конструкций (при наличии).
Все типовые разбивки стен сведены в таблицу А.1. В таблице каждый столбец соответствует конкретному виду ограждающей конструкции, а строка определенному теплозащитному элементу. Если данный теплозащитный элемент присутствует в конструкции, в ячейке на месте пересечения стоит знак "+". Если для данного элемента в приложении Г есть значения удельных потерь теплоты, под знаком приводят номера таблиц, в которых они представлены.
|
Наименование теплозащитного элемента |
Железобетонные трехслойные панели |
Кладки |
Трехслойные стены с эффективным утеплителем и облицовкой из кирпичной кладки |
СФТК |
Системы наружной теплоизоляции с вентилируемой воздушной прослойкой |
Тонкостенные панели (в том числе сэндвич-панели) |
Стены с внутренним утеплением |
|
Гибкие связи или шпонки |
+ |
+ | |||||
|
Тарельчатый анкер |
+ Г.4 |
+ Г.4 |
+ Г.4 |
+ Г.4 |
+ Г.4 | ||
|
Кронштейны |
+ | ||||||
|
Швы кладок |
+ Г.1 - Г.3 | ||||||
|
Сопряжение с перекрытиями и балконами |
+ |
+ Г.5 - Г.10 |
+ Г.11 - Г.16 |
+ Г.17 - Г.21 |
+ Г.17 - Г.21 |
+ Г.22 - Г.23 |
+ Г.24 - Г.26 |
|
Стыки панелей |
+ |
+ | |||||
|
Стыки с оконными блоками |
+ |
+ Г.29 - Г.31 |
+ Г.32 - Г.33 |
+ Г.33 - Г.35 |
+ |
+ Г.36 - Г.37 |
+ Г.38 |
|
Примыкание к цокольному ограждению |
+ |
+ Г.39 |
+ Г.40 |
+ Г.40 |
+ Г.40 |
+ | |
|
Металлические противопожарные рассечки |
+ |
+ | |||||
|
Углы |
+ |
+ Г.27 |
+ Г.28 |
+ Г.28 |
+ Г.28 |
А.4 Не все из перечисленных элементов имеют одинаковое значение. В общественных зданиях могут отсутствовать балконы и лоджии, а значит стыки с балконными плитами. Примыкания к фундаменту оказывают большое влияние только для малоэтажного строительства.
Наиболее распространенными элементами являются примыкания оконных блоков.
Наибольшие удельные потери теплоты имеют стыки с плитами перекрытий и балконными плитами, зоны примыкания колон к ограждающим конструкциям.
При разбивке ограждающих конструкций на элементы сопряжение стен с совмещенным кровельным покрытием (таблицы Г.41 - Г.52) рассматривают как теплозащитный элемент совмещенного кровельного покрытия.
А.5 К наиболее распространенным можно отнести покрытия и чердачные перекрытия следующих видов:
- совмещенные кровельные покрытия;
- утепленные скатные кровли;
- чердачные перекрытия холодных чердаков.
А.6 Для каждого из перечисленных видов покрытий и чердачных перекрытий формируют типовой набор элементов, руководствуясь А.6.1 - А.6.3. Если таблицы с удельными потерями теплоты элемента есть в приложении Г, то приводят ссылку на соответствующую таблицу.
А.6.1 Совмещенные кровельные покрытия:
1) крепеж утеплителя (тарельчатый анкер) (таблица Г.4);
2) сопряжение стены с совмещенным кровельным покрытием (таблицы Г.81 - Г.92);
3) примыкание кровли к фонарю (таблицы Г.93, Г.94);
4) деформационный шов (таблица Г.95);
5) узел установки аэратора (таблица Г.96);
6) пропуск электрического кабеля через совмещенное кровельное покрытие (таблица Г.97);
7) пропуск пучка труб через совмещенное кровельное покрытие (таблица Г.98);
8) прохождение колонны через совмещенное кровельное покрытие (таблицы Г.99 - Г.102).
А.6.2 Утепленные скатные кровли:
1) узел прохождения стропил через утеплитель (таблица Г.103);
2) сопряжение стены и скатной кровли;
3) примыкание кровли к фонарю;
4) конек (таблица Г.104);
5) ендова (таблица Г.104);
6) прохождение труб и колонн через скатную кровлю.
А.6.3 Чердачные перекрытия холодных чердаков:
1) элементы крепления утеплителя (таблица Г.4);
2) сопряжение стены и чердачного перекрытия;
3) прохождение внутренних стен через утеплитель чердачного перекрытия;
4) прохождение колонн через утеплитель чердачного перекрытия;
5) пропуск электрического кабеля через чердачное перекрытие;
6) пропуск пучка труб через чердачное перекрытие.
Все типовые разбивки сведены в таблицу А.2. В таблице каждая графа соответствует конкретному виду ограждающей конструкции, а строка - определенному теплозащитному элементу. Если данный теплозащитный элемент присутствует в конструкции, в ячейке на месте пересечения стоит знак "+". Если для данного элемента в приложении Г есть значения удельных потерь теплоты, под знаком приводят номера таблиц, в которых они представлены.
|
Наименование теплозащитного элемента |
Совмещенные кровельные покрытия |
Утепленные скатные кровли |
Чердачные перекрытия холодных чердаков |
|
Тарельчатый анкер |
+ Г.4 |
+ Г.4 | |
|
Прохождение стропил |
+ Г.104 | ||
|
Сопряжение со стеной |
+ Г.81 - Г.92 |
+ |
+ |
|
Узел установки фонаря |
+ Г.93, Г.94 |
+ | |
|
Деформационный шов |
+ Г.95 | ||
|
Узел установки аэратора |
+ Г.96 | ||
|
Пропуск электрического кабеля |
+ Г.97 |
+ Г.97 |
+ Г.97 |
|
Пропуск пучка труб |
+ Г.98 |
+ Г.98 |
+ Г.98 |
|
Прохождение колонны |
+ Г.99 - Г.102 |
+ |
+ |
|
Прохождение внутренней стены |
+ | ||
|
Конек |
+ Г.104 |
+ | |
|
Ендова |
+ Г.104 |
+ |
Приложение Б
--------------------------------
<1> В приложениях Б и В приведены примеры расчетов с использованием удельных потерь теплоты по таблицам приложения Г. Пример расчета с использованием температурных полей приведен в приложении Н СП 50.13330.
Б.1 Описание конструкции, выбранной для расчета
Стена с СФТК. Фасадную систему монтируют на стену здания, выполненного с каркасом из монолитного железобетона. Наружные стены выполняют из блоков ячеистого бетона толщиной 250 мм. Толщина теплоизоляционного слоя фасада из каменной ваты составляет 120 мм. Штукатурный слой и утеплитель крепят к основанию тарельчатыми анкерами со стальным распорным элементом, доходящим до штукатурного слоя. Высота этажа от пола до пола 3300 мм. Толщина железобетонного перекрытия 200 мм. Плиты балконов и лоджий перфорируют по длине в отношении 1/1 - утепленные пустоты/бетонные перемычки. Толщина оконной рамы 70 мм, рама выдвинута в плоскость утеплителя на 100 мм.
Состав стены (изнутри наружу) представлен в таблице Б.1
Таблица Б.1
|
Материал слоя |
δ, мм |
λ, Вт/(м·°C) |
|
Внутренняя штукатурка |
20 |
0,93 |
|
Кладка из блоков ячеистого бетона |
250 |
0,2 |
|
Минераловатные плиты |
120 |
0,04 |
|
Наружная штукатурка |
6 |
- |
Б.2 Перечисление элементов составляющих стеновую конструкцию
По приложению А для СФТК характерны следующие элементы:
- крепеж утеплителя (тарельчатый анкер);
- сопряжение с балконными плитами;
- стыки с оконными блоками;
- примыкание к цокольному ограждению;
- сопряжение с покрытием;
- стык с другими видами стеновых конструкций.
Плоский элемент - стена по глади.
Среди перечисленных элементов некоторые отсутствуют в стенах рассматриваемого здания или оказывают несущественное влияние. Примыкание к цокольному ограждению утеплено таким образом, что дополнительные тепловые потери не возникают. Здание включает восемь выпуклых углов и четыре вогнутых. В соответствии с таблицей Г.27 удельные потери теплоты углов практически полностью компенсируются. Суммарно на 1 м высоты здания приходятся удельные потери теплоты по углам равные 0,044 Вт/(м·°C). Так как удельный геометрический показатель углов мал (примерно 0,014 м/м2), влияние углов далее не принимают во внимание. Стыки с другими видами стеновых конструкций отсутствуют. Оставшиеся элементы подробно описаны ниже:
плоский элемент 1 - кладка из блоков ячеистого бетона, утепленная снаружи слоем минераловатных плит, с облицовкой тонким слоем штукатурки;
линейный элемент 1 - стык балконной плиты со стеной;
линейный элемент 2 - примыкание оконного блока к стене;
точечный элемент 1 - тарельчатый анкер.
Таким образом, в рассматриваемом фрагменте ограждающей конструкции один вид плоских, два вида линейных и один вид точечных элементов.
Б.3 Геометрические характеристики элементов
Весь фасад здания, включая светопроемы, имеет общую площадь 2740 м2. Фасад содержит следующие светопроемы: размером 2400 x 2200 мм (окно с балконной дверью) - 50 шт, 2400 x 1800 мм - 50 шт, 1200 x 1800 мм - 60 шт, 1200 x 1200 мм - 12 шт. Суммарная площадь светопроемов 597 м2.
Площадь поверхности фрагмента ограждающей конструкции для расчета Rопр составляет:
A = 2740 - 597 = 2143 м2.
Суммарная протяженность балконных плит на фасаде составляет 275 м. Удельная геометрическая характеристика равна:
м-1.
Общая длина оконных откосов определяется по экспликации оконных проемов и равна:
L2 = (2·2,4 + 2·2,2)·50 + (2·2,4 + 2·1,8)·50 + (2·1,2 + 2·1,8)·60 + (2·1,2 + 2·1,2)·12 = 1298 м.
Длина откосов, приходящаяся на 1 м2 площади фрагмента, равна:
м-1.
Среднее число тарельчатых анкеров - 10 шт на 1 м2 площади стены.
Б.4 Расчет удельных потерь теплоты, обусловленных элементами
Для плоского элемента теплозащитные характеристики определяют по формулам (5.5), (5.2):
м2·°С/Вт,
Вт/(м2·°С).
Удельные потери теплоты линейного элемента 1 принимают по таблице Г.18, Так как толщина плиты перекрытия не соответствует приведенным в таблице значениям, Ψ1 находят интерполяцией.
Для рассматриваемого элемента Rут = 3,0 м2·°C/Вт, λБ = 0,2 Вт/(м·°С). Соответствующие этим параметрам удельные потери теплоты:
толщина перекрытия 160 мм - Ψ160 = 0,346 Вт/(м·°С);
толщина перекрытия 210 мм - Ψ210 = 0,429 Вт/(м·°С).
Удельные потери теплоты теплозащитного элемента Ψ1 = 0,412 Вт/(м·°С).
Удельные потери теплоты линейного элемента 2 принимают по таблице Г.34.
Для рассматриваемого элемента Rут = 3,0 м2·°C/Вт, λо = 0,2 Вт/(м·°С), dн = 20 мм. Соответствующие этим параметрам удельные потери теплоты Ψ2 = 0,092 Вт/(м·°С).
Для точечного элемента 1 удельные потери теплоты принимают по таблице Г.4.
Рассматриваемому элементу соответствует первая строка таблицы, удельные потери теплоты χ1 = 0,006 Вт/°С.
Таким образом, определены все удельные потери теплоты, обусловленные всеми элементами в рассматриваемом фрагменте ограждающей конструкции.
Б.5 Расчет приведенного сопротивления теплопередаче стены
Данные расчетов сведены в таблицу Б.2 в соответствии с приложением Е СП 50.13330.
Таблица Б.2
|
Элемент конструкции |
Удельный геометрический показатель |
Удельные потери теплоты, Вт/(м2·°C) |
Удельный поток теплоты, обусловленный элементом, Вт/(м2·°C) |
Доля общего потока теплоты через фрагмент, % |
|
Плоский элемент 1 |
a = 1 м2/м2 |
U1 = 0,226 |
U1a1 = 0,226 |
57,2 |
|
Линейный элемент 1 |
l1 = 0,128 м/м2 |
Ψ1 = 0,412 |
Ψ1l1 = 0,053 |
13,4 |
|
Линейный элемент 2 |
l2 = 0,606 м/м2 |
Ψ2 = 0,092 |
Ψ2l2= 0,056 |
14,2 |
|
Точечный элемент 1 |
n1 = 10 1/м2 |
χ1 = 0,006 |
χ1l1 = 0,06 |
15,2 |
|
Итого |
1/Rпр = 0,395 |
100 |
Приведенное сопротивление теплопередаче фрагмента ограждающей конструкции рассчитывают по формуле (5.1)
м2·°С/Вт.
Коэффициент теплотехнической однородности, определенный по формуле (5.7), равен:
.
Как видно из таблицы Б.2 потери теплоты, связанные непосредственно с фасадной системой в приведенной конструкции, составляют 15%. Относительно низкая однородность стены связана с неоптимальным выбором узлов стыка балконной плиты со стеной, оконных откосов и тарельчатого анкера, на которые приходится 43% потерь теплоты через конструкцию.
Если задаться целью, повысить приведенное сопротивление теплопередаче стены за счет повышения ее теплотехнической однородности, то необходимо выбрать более эффективные решения узла стыка балконной плиты со стеной, оконного откоса или тарельчатого анкера.
Для улучшения теплозащитных характеристик стены перфорацию в узле стыка балконной плиты со стеной заменяют на закладные несущие теплоизоляционные элементы (НТЭ) типа, описанного в таблице Г.21. Также примыкание оконного блока к стене изменяется за счет сдвига оконного блока так, что он располагается сразу за утеплителем, характеристики узла принимают по таблице Г.33. Нахлест утеплителя остается равным 20 мм. Тарельчатый анкер заменяют на тарельчатый анкер с термоголовой более 70 мм, характеристики элемента принимают по таблице Г.4.
Данные расчетов сведены в таблицу Б.3 в соответствии с приложением Е СП 50.13330.
Таблица Б.3
|
Элемент конструкции |
Удельный геометрический показатель |
Удельные потери теплоты, Вт/(м2·°C) |
Удельный поток теплоты, обусловленный элементом, Вт/(м2·°C) |
Доля общего потока теплоты через фрагмент, % |
|
Плоский элемент 1 |
a = 1 м2/м2 |
U1 = 0,226 |
U1a1 = 0,226 |
81,6 |
|
Линейный элемент 1 |
l1 = 0,129 м/м2 |
Ψ1 = 0,164 |
Ψ1l1 = 0,021 |
7,6 |
|
Линейный элемент 2 |
l2 = 0,61 м/м2 |
Ψ2 = 0,033 |
Ψ2l2= 0,02 |
7,2 |
|
Точечный элемент 1 |
n1 = 10 1/м2 |
χ1 = 0,001 |
χ1l1 = 0,01 |
3,6 |
|
Итого |
1/Rпр = 0,277 |
100 |
Приведенное сопротивление теплопередаче фрагмента ограждающей конструкции рассчитывают по формуле (5.1)
м2·°С/Вт.
Коэффициент теплотехнической однородности, определенный по формуле (5.7), равен:
.
Принятое выше изменение узлов конструкции позволило в два с половиной раза снизить дополнительные тепловые потери. Причем, в конечной конструкции на потери теплоты, связанные непосредственно с фасадной системой, приходится лишь 3,6%.
Приложение В
В.1 Описание конструкции, выбранной для расчета
Стена - кладка из блоков полистиролбетона с наружной облицовкой кирпичом.
Состав стены (изнутри наружу) представлен в таблице В.1:
Таблица В.1
|
Материал слоя |
δ, мм |
λ, Вт/(м·°C) |
|
Внутренняя штукатурка |
20 |
0,93 |
|
Кладка из блоков полистиролбетона |
- |
0,14 |
|
Кладка из облицовочного кирпича |
120 |
0,64 |
Толщину кладки из блоков полистиролбетона определяют расчетом. Расчетная теплопроводность данной кладки взята по материалам производителя для принятых по конструктивным соображениям растворных швов и армирования.
Целевое сопротивление теплопередаче принято равным 2,5 (м2·°C)/Вт, что потребовалось для выполнения требования к удельной характеристике расхода тепловой энергии на отопление и вентиляцию в разделе "Энергоэффективность".
В.2 Перечисление элементов составляющих ограждающую конструкцию
По приложению А для кладки из блоков легкого, особо легкого и ячеистого бетона характерны следующие элементы:
- швы кладки, включая армированные;
- сопряжение с плитами перекрытий или балконными плитами;
- стыки с оконными блоками;
- примыкание к цокольному ограждению;
- сопряжение с покрытием;
- стык с другими видами стеновых конструкций.
Плоский элемент - стена по глади.
Среди перечисленных выше элементов некоторые отсутствуют в выбранной для расчетов конструкции. В этом случае швы кладки и армирование уже учтены в теплопроводности кладки. Балконные плиты отсутствуют, так как это общественное здание и по проекту балконы не предусмотрены. В узле примыкания стен к цокольному ограждению отсутствуют дополнительные теплопотери вследствие особенностей утепления узла. Стык с другими видами стен отсутствует. Остальные элементы описаны ниже:
плоский элемент - кладка из блоков полистиролбетона с наружной облицовкой кирпичом;
линейный элемент 1 - стык стены с плитой перекрытия (плита перекрытия толщиной 200 мм перфорирована в соотношении пустоты/бетонные перемычки 3/1);
линейный элемент 2 - стык стены с оконным блоком (рама толщиной 80 мм, кирпичная кладка установлена с зубом 60 мм).
В.3 Геометрические характеристики элементов
Весь фасад здания, включая светопроемы, имеет общую площадь 2740 м2. Фасад содержит следующие светопроемы: 2400 x 2000 мм - 80 шт, 1200 x 2000 мм - 80 шт, 1200 x 1200 мм - 24 шт. Суммарная площадь светопроемов - 611 м2.
Площадь поверхности фрагмента ограждающей конструкции для расчета Rопр составляет:
A = 2740 - 611 = 2129 м2.
Суммарная протяженность торцов перекрытий на фасаде составляет 822 м. Удельная геометрическая характеристика равна
м-1.
Общую длину проекции оконного откоса определяют по экспликации оконных проемов:
L2 = (2·2,4 + 2·2,0)·80 + (2·1,2 + 2·2,0)·80 + (2·1,2 + 2·1,2)·24 = 1331 м.
Длина проекции откосов, приходящаяся на 1 м2 площади фрагмента равна
м-1.
В.4 Удельные потери теплоты линейных элементов выбирают по приложению Г
Для плоского элемента подбирают толщину утеплителя (кладка из полистиролбетонных блоков), позволяющую получить условное сопротивление теплопередаче близкое к 1,5Rц.

Толщина кладки из блоков полистиролбетона может изменяться только ступенчато с округлением в большую сторону. В настоящем случае ближайшая возможная толщина кладки 500 мм. Условное сопротивление теплопередаче стены с кладкой толщиной 500 мм составляет 3,94 м2·°C/Вт.
В.5 Удельные потери теплоты через стык стены с плитой перекрытия не присутствуют в явном виде в таблицах приложения Г. Их находят интерполяцией по данным нескольких случаев, приведенных в таблице Г.7. Отличия заключаются в двух параметрах: теплопроводности кладки и толщине перекрытия. Для простоты и наглядности изложения интерполяцию проводят последовательно сначала по одному, а затем по второму параметру. Точки, между которыми проводят интерполяцию, сведены в таблицу В.2.
Таблица В.2
|
λо = 0,1 |
λо = 0,18 |
λо = 0,14 | |
|
dп = 160 мм |
0,195 |
0,175 |
0,185 |
|
dп = 210 мм |
0,247 |
0,221 |
0,234 |
По второму и третьему столбцу таблицы вычисляют значения четвертого столбца, соответствующие теплопроводности кладки, применяемой в проекте.
Интерполяцией значений из четвертого столбца находят искомые удельные тепловые потери стыка стены и плиты перекрытия, для толщины перекрытия 200 мм
Ψ1 = 0,224 Вт/(м·°С).
Удельные потери теплоты стыка стены с оконным блоком также находят интерполяцией, но по одному параметру - теплопроводности кладки. Значения удельных потерь теплоты берут из таблицы Г.30.
Ψ2 = 0,068 Вт/(м·°С).
В.6 Расчет приведенного сопротивления теплопередаче стены
Результаты расчетов, сведены в таблицу В.3 в соответствии с приложением Е СП 50.13330.
Таблица В.3
|
Элемент конструкции |
Удельный геометрический показатель, м2/м2 |
Удельные потери теплоты, Вт/(м2·°C) |
Удельный поток теплоты, обусловленный элементом, Вт/(м2·°C) |
Доля общего потока теплоты через фрагмент, % |
|
Плоский элемент |
a = 1 |
U = 0,254 |
U1a1 = 0,254 |
66,3 |
|
Линейный элемент 1 |
l1 = 0,386 |
Ψ1 = 0,224 |
Ψ1l1 = 0,0865 |
22,6 |
|
Линейный элемент 2 |
l2 = 0,625 |
Ψ2 = 0,068 |
Ψ2l2= 0,0425 |
11,1 |
|
Итого |
1/Rпр = 0,383 |
100 |
Приведенное сопротивление теплопередаче фрагмента ограждающей конструкции рассчитывают по формуле (5.1)
м2·°С/Вт.
Целевое сопротивление теплопередаче достигнуто с небольшим превышением целевой установки - доработка конструкции не требуется.
Приложение Г
В настоящем приложении собраны обработанные данные расчетов температурных полей ряда типовых решений узлов стыка различных ограждающих конструкций или распространенных теплопроводных включений.
Во всех таблицах представлены удельные потери теплоты Ψ, Вт/(м·°C), или χ, Вт/°C. Конкретный вид уточняется перед таблицей.
Как правило, плоские элементы представляют собой участки конструкции, характеристики которых рассчитывают по формулам (5.2), (5.5), (5.6).
Характеристики элементов, не вошедших в таблицы, должны быть известны производителю и поставщику изделий, удельные потери теплоты должны быть включены в технические свидетельства на продукцию или альбомы типовых узлов.
Расчет температурного поля конкретного узла обладает большей точностью, и результаты такого расчета предпочтительны по сравнению со справочными материалами.
Материал приложения упорядочен по типу узлов. В рамках каждого подраздела приведены характеристики одного и того же узла для различного выбора стен, с вариацией основных, влияющих на тепловые потери, параметров.
В приложении представлены следующие группы узлов:
- швы кладки из блоков особо легкого и ячеистого бетона (таблицы Г.1 - Г.3);
- тарельчатый анкер в СФТК и системах наружной теплоизоляции с вентилируемой воздушной прослойкой (таблица Г.4);
- сопряжения плит перекрытия со стенами (таблицы Г.5 - Г.26);
- углы стен (таблицы Г.27 и Г.28);
- примыкания оконных блоков к стене (таблицы Г.29 - Г.38);
- примыкание стен к фундаменту (таблицы Г.39 и Г.40);
- различные виды связей в трехслойных железобетонных панелях (таблицы Г.41 - Г.46);
- наружные каркасно-обшивные стены (таблицы Г.47 - Г.68);
- навесные фасадные системы (НФС) (таблицы Г.69 - Г.80);
- сопряжения стен с совмещенным кровельным покрытием (таблицы Г.81 - Г.92);
- узлы кровли (таблицы Г.93 - Г.104).
Каждый узел сопровождается описанием, перечислением основных, влияющих на тепловые потери, параметров и основных особенностей.
В случаях, когда характеристики узла зависят от величины утепления, в качестве варьируемого параметра выбирают термическое сопротивление утеплителя. Таким образом, при наличии в конструкции двух и более подряд идущих слоев утеплителя (с близкими теплопроводностями) можно применять значения, приведенные в таблицах приложения Г, используя суммарное термическое сопротивление слоев утеплителя. Это относится к фасадным утеплителям двойной плотности, послойному утеплению минераловатными плитами и пенополистиролом в фасадах и на кровлях, к внутреннему утеплению в несколько слоев с воздушной прослойкой.
Охватить точными расчетами все возможные варианты решений одного и того же узла не представляется возможным в силу разнообразия климатических районов и финансовых возможностей. В связи с этим при составлении укрупненных таблиц с расчетными характеристиками приходится выбирать между наиболее широким охватом и большей точностью результатов.
Охватить точными расчетами все возможные варианты решений одного и того же узла не представляется возможным в силу разнообразия климатических районов и финансовых возможностей. В связи с этим при составлении укрупненных таблиц с расчетными характеристиками приходится выбирать между наиболее широким охватом и большей точностью результатов.
В настоящем приложении принят умеренный компромисс между точностью и охватом вариантов. При использовании таблиц значения большинства характеристик конструкций попадают в промежутки между значениями, приведенными в таблице, и их находят интерполяцией. Ряд мелких деталей конструкций неизбежно не совпадают, что несущественно для целей настоящего свода правил. При дальнейшей реализации на стройке конструкция претерпит ряд искажений. Все эти факторы не позволяют рассчитывать на высокую точность применения, поэтому повышать точность в ущерб охвату узлов нецелесообразно.
Для компенсации погрешности расчетов в приводимые ниже данные внесен небольшой (несколько процентов) коэффициент запаса. Коэффициент запаса внесен не в конечный результат, а во входные данные для расчета температурных полей, из неопределенности которых в первую очередь и появлялась погрешность расчетов. В связи с этим коэффициент запаса неодинаков для различных узлов конструкции <1>.
--------------------------------
<1> Описанный подход к коэффициенту запаса позволяет добиться того, что приведенные ниже значения удельных потерь теплоты воспроизводят закономерности их зависимости от различных факторов. В связи с этим таблицы могут использоваться для научно-исследовательских целей, показывая направление для поиска наиболее существенных параметров, влияющих на тепловые потери, и возможности по совершенствованию узлов. Исключением являются узлы с удельными потерями теплоты, близкими к нулю (менее 0,02 Вт/(м·°C)), так как относительная погрешность для них сильно нарастает.
Приведенные ниже таблицы предназначены для помощи проектировщикам при расчете приведенного сопротивления теплопередаче ограждающих конструкций. Также приведенные таблицы могут быть использованы экспертами для оценки предоставляемых данных.
Г.1 Швы кладки из блоков легкого, особо легкого и ячеистого бетонов
Данный тип узлов следует учитывать для всех кладок, в которых кладка выполняет теплозащитные функции. Ниже приведены таблицы значений удельных потерь теплоты для кладочных швов в кладках из легкого, особо легкого и ячеистого бетонов. Табличные значения пригодны для любых однородных камней соответствующей теплопроводности. Для многопустотных или щелевых камней значения, приведенные в таблицах, не применимы из-за отличающегося характера теплопереноса.
Кладочные швы не промерзают.
Удельный геометрический показатель этого элемента весьма значителен и на практике колеблется в пределах от 2 до 10 м/м2. Поэтому, несмотря на малые значения удельных потерь теплоты, элемент обязателен для учета.
В случае армирования шва металлической сеткой или связями, проходящими сквозь кладку, при использовании таблиц Г.1 - Г.3 следует принимать эквивалентный коэффициент теплопроводности шва, определяемый по формуле
, (Г.1)
где λсв - теплопроводность материала связи, Вт/(м·°C);
λрас - теплопроводность раствора, Вт/(м·°C);
- средняя площадь сечения связей, приходящихся на 1 пог. м сечения шва (учитываются только связи, перпендикулярные к плоскости стены), м2/м;
dшва - толщина растворного шва, м.
В случае искривления (удлинения) шва за счет перевязки кладки или иных мероприятий значения удельных потерь теплоты принимают по таблицам Г.1 - Г.3 с заменой толщины кладки на эффективную длину шва.
На рисунке Г.1 показана схема узла расположения растворного шва.

Рисунок Г.1 - Схема узла прохождении растворного шва
Параметры, влияющие на потери теплоты через узел:
- толщина кладки dкл, мм;
- теплопроводность камня λкам, Вт/(м·°C);
- толщина растворного шва dшва, мм;
- теплопроводность раствора λрас, Вт/(м·°C).
Удельные потери теплоты в таблицах Г.1 - Г.3 могут использоваться для расчета приведенного сопротивления теплопередаче стен, состоящих из кладки, оштукатуренной с обеих сторон, и из кладки с облицовкой кирпичом.
|
λрас = 0,2 |
λрас = 0,7 |
λрас = 2,0 |
λрас = 0,2 |
λрас = 0,7 |
λрас = 2,0 | ||
|
dкл = 200 мм |
dкл = 300 мм | ||||||
|
λкам = 0,08 |
0,001 |
0,006 |
0,017 |
0,001 |
0,004 |
0,012 | |
|
λкам = 0,15 |
0 |
0,005 |
0,014 |
0 |
0,004 |
0,01 | |
|
λкам = 0,3 |
0 |
0,003 |
0,011 |
0 |
0,002 |
0,008 | |
|
dкл = 400 мм |
dкл = 600 мм | ||||||
|
λкам = 0,08 |
0,001 |
0,003 |
0,01 |
0,001 |
0,002 |
0,007 | |
|
λкам = 0,15 |
0 |
0,002 |
0,008 |
0 |
0,002 |
0,006 | |
|
λкам = 0,3 |
0 |
0,002 |
0,007 |
0 |
0,001 |
0,005 | |
|
λрас = 0,2 |
λрас = 0,7 |
λрас = 2,0 |
λрас = 0,2 |
λрас = 0,7 |
λрас = 2,0 | ||
|
dкл = 200 мм |
dкл = 300 мм | ||||||
|
λкам = 0,08 |
0,004 |
0,02 |
0,057 |
0,003 |
0,015 |
0,041 | |
|
λкам = 0,15 |
0,002 |
0,015 |
0,048 |
0,001 |
0,012 |
0,037 | |
|
λкам = 0,3 |
-0,002 |
0,008 |
0,037 |
-0,001 |
0,007 |
0,03 | |
|
dкл = 400 мм |
dкл = 600 мм | ||||||
|
λкам = 0,08 |
0,003 |
0,012 |
0,034 |
0,002 |
0,008 |
0,024 | |
|
λкам = 0,15 |
0,001 |
0,01 |
0,031 |
0,001 |
0,007 |
0,022 | |
|
λкам = 0,3 |
-0,001 |
0,006 |
0,026 |
-0,001 |
0,005 |
0,019 | |
|
λрас = 0,2 |
λрас = 0,7 |
λрас = 2,0 |
λрас = 0,2 |
λрас = 0,7 |
λрас = 2,0 | ||
|
dкл = 200 мм |
dкл = 300 мм | ||||||
|
λкам = 0,08 |
0,011 |
0,048 |
0,117 |
0,008 |
0,035 |
0,091 | |
|
λкам = 0,15 |
0,004 |
0,039 |
0,105 |
0,003 |
0,03 |
0,083 | |
|
λкам = 0,3 |
-0,005 |
0,024 |
0,081 |
-0,004 |
0,019 |
0,067 | |
|
dкл = 400 мм |
dкл = 600 мм | ||||||
|
λкам = 0,08 |
0,006 |
0,029 |
0,076 |
0,004 |
0,02 |
0,054 | |
|
λкам = 0,15 |
0,002 |
0,025 |
0,07 |
0,001 |
0,017 |
0,051 | |
|
λкам = 0,3 |
-0,003 |
0,017 |
0,059 |
-0,002 |
0,013 |
0,045 | |
Примечание - Как видно из таблиц Г.1 - Г.3, для всех вариантов кладки, кроме кладки на теплом клее, влияние швов очень существенно и при развитом армировании может стать определяющим в данной конструкции.
Г.2 Тарельчатый анкер в СФТК и системах наружной теплоизоляции с вентилируемой воздушной прослойкой
Данный тип узлов следует учитывать для СФТК и систем наружной теплоизоляции с вентилируемой воздушной прослойкой.
Удельный геометрический показатель данного элемента весьма велик и на практике колеблется в пределах от 5 до 12 шт/м2. Поэтому даже при малых значениях удельных потерь теплоты тарельчатый анкер обязателен для учета.
На рисунке Г.2 приведена схема узла, принятого для расчета.

Рисунок Г.2 - Схема тарельчатого анкера
Параметр, влияющий на потери теплоты через узел:
- расстояние от края стального распорного элемента до тарелки дюбеля L1, мм.
Значения удельных потерь теплоты, приведенные в таблице Г.4, применимы для тарельчатого анкера с металлическим распорным элементом диаметром не более 5 мм.
|
χ, Вт/°C | |
|
L1 ≤ 2 мм |
0,006 |
|
2 |
0,005 |
|
6 |
0,004 |
|
11 |
0,003 |
|
16 |
0,0025 |
|
24 |
0,002 |
|
40 |
0,0015 |
|
70 мм |
0,001 |
Г.3 Сопряжение плит перекрытия со стеной
Выбранный тип узлов следует учитывать при расчете приведенного сопротивления теплопередаче, только если плита перекрытия или связанные с ней несущие элементы пересекают утеплитель. В этом случае данный тип узлов является наиболее мощным "мостиком холода" для подавляющего большинства ограждающих конструкций.
Для снижения тепловых потерь через стыки плиты перекрытия перфорируют, применяют закладные несущие теплоизоляционные элементы (НТЭ) или проводят иные теплозащитные мероприятия. Для эффективности теплозащитных мероприятий важно, чтобы перфорация, НТЭ или их аналог по расположению совпадали с расположением слоя наиболее эффективного утеплителя в стене. В противном случае происходит огибание тепловым потоком перфорации, НТЭ или аналога по материалам стены.
В современных стеновых конструкциях узлы без перфорации плиты перекрытия, НТЭ или иных мероприятий по тепловой защите недопустимы к применению. Значения удельных потерь теплоты для таких узлов включены в таблицы.
Для сопряжений с плитой перекрытия минимальные температуры на внутренней поверхности стены зависят в первую очередь от толщины стены и наличия перфорации, НТЭ или иных теплозащитных мероприятий. Промерзание узлов данного вида практически не происходит, за исключением трех случаев:
а) отсутствует перфорация плиты перекрытия или НТЭ;
б) общая толщина стены менее 300 мм;
в) расположение перфорации, НТЭ или аналога не совпадает со слоем утеплителя в конструкции стены.
В вышеперечисленных случаях промерзание может происходить, хотя и редко. В связи с этим необходимо проводить отдельную проверку перечисленных узлов.
В настоящем разделе предполагается, что плита перекрытия перфорируется в соответствии со схемой, приведенной на рисунке Г.3. Важными параметрами, характеризующими перфорацию, являются: отношение длины термовкладышей к расстоянию между ними a/b, в соответствии с обозначениями на рисунке Г.3, и толщина перфорируемого слоя или термовкладыша dт. Далее отношение длины термовкладышей к расстоянию между ними приведено в безразмерном виде. Например, перфорация 3/1 обозначает, что a/b = 3/1.

Рисунок Г.3 - Схема перфорации плиты перекрытия
Рассмотрены также варианты применения закладных изделий заводского изготовления, схемы которых приведены на рисунках в таблицах Г.10, Г.15, Г.16, Г.21.
Удельный геометрический показатель сопряжения плиты перекрытия со стеной на практике колеблется в пределах от 0 до 0,6 м/м2. Для предварительной оценки эффективности различных решений узла далее будет использоваться наиболее распространенная удельная протяженность 0,4 м/м2 для кладок и трехслойных стен и 0,12 м/м2 для вентилируемых и штукатурных фасадов.
Кладка из блоков легкого, особо легкого и ячеистого бетонов или крупноформатных камней с облицовкой кирпичом
Параметры, влияющие на потери теплоты через узел:
- толщина кладки dкл, мм;
- теплопроводность камня λкам, Вт/(м·°C);
- перфорация плиты перекрытия или НТЭ;
- эффективная толщина плиты перекрытия dп, мм.
Толщина перфорации 160 мм.
|
|
dп = 160 мм | |||
|
λкам = 0,1 |
λкам = 0,18 |
λкам = 0,32 | ||
|
dкл = 200 |
0,567 |
0,508 |
0,431 | |
|
dкл = 300 |
0,488 |
0,442 |
0,381 | |
|
dкл = 500 |
0,376 |
0,350 |
0,304 | |
|
dп = 210 мм | ||||
|
dкл = 200 |
0,700 |
0,627 |
0,535 | |
|
dкл = 300 |
0,608 |
0,552 |
0,477 | |
|
dкл = 500 |
0,474 |
0,442 |
0,385 | |
|
Примечания 1 Плита перекрытия без перфорации или иного теплозащитного мероприятия приводит к низким температурам на внутренней поверхности стены и неэффективным потерям тепловой энергии. Среди приведенных в настоящей таблице вариантов узла половина промерзает в типовых условиях. 2 Для рассмотренных вариантов узла максимально достижимое целевое сопротивление теплопередаче 2,5 м2·°C/Вт. 3 В настоящей таблице приведен узел, который используют только в качестве базы интерполяции для расчета значений Ψ. | ||||
|
|
dп = 160 мм | |||
|
λкам = 0,1 |
λкам = 0,18 |
λкам = 0,32 | ||
|
dкл = 200 |
0,247 |
0,240 |
0,234 | |
|
dкл = 300 |
0,190 |
0,185 |
0,181 | |
|
dкл = 500 |
0,164 |
0,159 |
0,154 | |
|
dп = 210 мм | ||||
|
dкл = 200 |
0,269 |
0,261 |
0,254 | |
|
dкл = 300 |
0,231 |
0,224 |
0,214 | |
|
dкл = 500 |
0,169 |
0,164 |
0,159 | |
|
|
dп = 160 мм | |||
|
λкам = 0,1 |
λкам = 0,18 |
λкам = 0,32 | ||
|
dкл = 200 |
0,323 |
0,269 |
0,202 | |
|
dкл = 300 |
0,308 |
0,265 |
0,208 | |
|
dкл = 500 |
0,268 |
0,244 |
0,202 | |
|
dп = 210 мм | ||||
|
dкл = 200 |
0,408 |
0,342 |
0,258 | |
|
dкл = 300 |
0,39 |
0,335 |
0,267 | |
|
dкл = 500 |
0,341 |
0,31 |
0,258 | |
|
Примечания 1 Даже сравнительно небольшая перфорация плиты перекрытия, использованная в узлах, приводит к уменьшению удельных тепловых потерь через узел в среднем в 1,5 раза и практически исключает промерзание в стандартных условиях. Опасность промерзания сохраняется только для стен с толщиной кладки 200 мм и теплопроводностью камня 0,1 Вт/(м·°C). 2 Для рассмотренных вариантов узла максимально достижимое в разумных конструкциях целевое сопротивление теплопередаче 2,9 м2·°C/Вт. | ||||
|
|
dп = 160 мм | |||
|
λкам = 0,1 |
λкам = 0,18 |
λкам = 0,32 | ||
|
dкл = 200 |
0,180 |
0,178 |
0,124 | |
|
dкл = 300 |
0,160 |
0,158 |
0,123 | |
|
dкл = 500 |
0,124 |
0,123 |
0,124 | |
|
dп = 210 мм | ||||
|
dкл = 200 |
0,228 |
0,224 |
0,220 | |
|
dкл = 300 |
0,176 |
0,173 |
0,172 | |
|
dкл = 500 |
0,151 |
0,148 |
0,146 | |
|
|
dп = 160 мм | |||
|
λкам = 0,1 |
λкам = 0,18 |
λкам = 0,32 | ||
|
dкл = 200 |
0,188 |
0,138 |
0,077 | |
|
dкл = 300 |
0,198 |
0,158 |
0,111 | |
|
dкл = 500 |
0,195 |
0,175 |
0,14 | |
|
dп = 210 мм | ||||
|
dкл = 200 |
0,24 |
0,177 |
0,1 | |
|
dкл = 300 |
0,252 |
0,202 |
0,14 | |
|
dкл = 500 |
0,247 |
0,221 |
0,173 | |
|
Примечания 1 Соотношение пустоты/бетонные перемычки 3/1 - типовое для современного строительства. Оно эффективней, чем соотношение пустот 1/1, примерно в 1,5 раза и позволяет достигать минимально допустимых значений приведенного сопротивления теплопередаче в большинстве практически важных случаев. Опасность промерзания практически отсутствует. 2 Выбранный тип перфорации вполне эффективен для стен с целевым сопротивлением теплопередаче до 3,0 м2·°C/Вт. Максимально достижимое в разумных конструкциях целевое сопротивление теплопередаче 3,3 м2·°C/Вт. 3 Для перспективных энергоэффективных конструкций рассмотренное решение узла может оказаться недостаточным. Дальнейшие меры по снижению тепловых потерь через выбранный элемент могут заключаться в дальнейшем усилении перфорации или увеличении толщины перфорируемого слоя, или в переходе к принципиально иным теплозащитным мероприятиям, например НТЭ. В таблицах Г.8 - Г.10 приведены значения, позволяющие сравнивать эффективность различных изменений перфорации плиты перекрытия и применения НТЭ. | ||||
|
|
dп = 160 мм | |||
|
λкам = 0,1 |
λкам = 0,18 |
λкам = 0,32 | ||
|
dкл = 200 |
0,203 |
0,200 |
0,094 | |
|
dкл = 300 |
0,137 |
0,138 |
0,095 | |
|
dкл = 500 |
0,094 |
0,095 |
0,108 | |
|
dп = 210 мм | ||||
|
dкл = 200 |
0,218 |
0,211 |
0,209 | |
|
dкл = 300 |
0,148 |
0,148 |
0,150 | |
|
dкл = 500 |
0,116 |
0,118 |
0,122 | |
|
|
dп = 160 мм | |||
|
λкам = 0,1 |
λкам = 0,18 |
λкам = 0,32 | ||
|
dкл = 200 |
0,133 |
0,085 |
0,029 | |
|
dкл = 300 |
0,152 |
0,115 |
0,069 | |
|
dкл = 500 |
0,164 |
0,146 |
0,113 | |
|
dп = 210 мм | ||||
|
dкл = 200 |
0,173 |
0,110 |
0,037 | |
|
dкл = 300 |
0,194 |
0,146 |
0,085 | |
|
dкл = 500 |
0,205 |
0,181 |
0,138 | |
|
Примечания 1 Рассмотренный уровень перфорации (5/1) вполне достаточен для эффективного обеспечения целевых сопротивлений теплопередаче. 2 Максимально достижимое в разумных конструкциях целевое сопротивление теплопередаче 3,5 м2·°C/Вт. | ||||
|
|
dп = 160 мм | |||
|
λкам = 0,1 |
λкам = 0,18 |
λкам = 0,32 | ||
|
dкл = 200 |
0,203 |
0,199 |
0,088 | |
|
dкл = 300 |
0,135 |
0,136 |
0,096 | |
|
dкл = 500 |
0,088 |
0,096 |
0,104 | |
|
dп = 210 мм | ||||
|
dкл = 200 |
0,214 |
0,210 |
0,208 | |
|
dкл = 300 |
0,144 |
0,145 |
0,148 | |
|
dкл = 500 |
0,107 |
0,111 |
0,116 | |
|
|
dп = 160 мм | |||
|
λкам = 0,1 |
λкам = 0,18 |
λкам = 0,32 | ||
|
dкл = 200 |
0,169 |
0,119 |
0,058 | |
|
dкл = 300 |
0,171 |
0,131 |
0,081 | |
|
dкл = 500 |
0,174 |
0,154 |
0,117 | |
|
dп = 210 мм | ||||
|
dкл = 200 |
0,217 |
0,154 |
0,075 | |
|
dкл = 300 |
0,221 |
0,169 |
0,106 | |
|
dкл = 500 |
0,222 |
0,194 |
0,146 | |
|
Примечания 1 Увеличение толщины перфорируемого слоя оказывается менее эффективным, чем повышение уровня перфорации. 2 Максимально достижимое в разумных конструкциях целевое сопротивление теплопередаче 3,45 м2·°C/Вт. 3 Как можно увидеть из характеристик вариантов стыка плиты перекрытия с другими видами стен, кладка из блоков легкого, особо легкого и ячеистого бетонов или крупноформатных камней наиболее благоприятна для увеличения толщины слоя перфорации. Для других видов стен такое изменение узла менее эффективно, ввиду того, что перфорация не полностью совпадает с плоскостью утеплителя. Даже в этих условиях увеличение толщины утеплителя проигрывает по эффективности усилению перфорации до соотношения 5/1. | ||||
|
|
dп = 160 мм | |||
|
λкам = 0,1 |
λкам = 0,18 |
λкам = 0,32 | ||
|
dкл = 200 |
0,212 |
0,215 |
0,098 | |
|
dкл = 300 |
0,148 |
0,138 |
0,101 | |
|
dкл = 500 |
0,098 |
0,101 |
0,105 | |
|
dп = 210 мм | ||||
|
dкл = 200 |
0,246 |
0,240 |
0,235 | |
|
dкл = 300 |
0,156 |
0,155 |
0,156 | |
|
dкл = 500 |
0,109 |
0,111 |
0,115 | |
Ниже приведены значения удельных потерь теплоты для НТЭ, представляющего собой конструкцию из арматуры из нержавеющей стали в высокоэффективном утеплителе. Сопоставимость различных НТЭ между собой будет определяться суммарной площадью сечения арматуры, приходящейся на единицу длины элемента. Для приведенных в таблице Г.10 значений на 250 мм длины элемента приходится 360 мм2 суммарной площади сечения арматуры.
|
|
dп = 160 мм | |||
|
λкам = 0,1 |
λкам = 0,18 |
λкам = 0,32 | ||
|
dкл = 200 |
0,089 |
0,042 |
-0,01 | |
|
dкл = 300 |
0,123 |
0,091 |
0,047 | |
|
dкл = 500 |
0,15 |
0,136 |
0,108 | |
|
dп = 210 мм | ||||
|
dкл = 200 |
0,084 |
0,024 |
-0,04 | |
|
dкл = 300 |
0,127 |
0,086 |
0,028 | |
|
dкл = 500 |
0,164 |
0,146 |
0,108 | |
|
Примечания 1 Применение НТЭ оказывается значительно эффективней, чем увеличение толщины перфорируемого слоя или повышение уровня перфорации. 2 Максимально достижимое в разумных конструкциях целевое сопротивление теплопередаче 3,6 м2·°C/Вт. 3 Вариант применения НТЭ оказывается наиболее эффективным из рассмотренных и рекомендуется для энергоэффективных проектов. | ||||
Стена - трехслойная с облицовкой кирпичом
Параметры, влияющие на потери теплоты через узел:
- термическое сопротивление слоя утеплителя Rут, м2·°C/Вт;
- теплопроводность основания λо, Вт/(м·°C);
- перфорация плиты перекрытия;
- эффективная толщина плиты перекрытия dп, мм.
Во всех расчетах толщина основания принята равной 250 мм, а толщина перфорации - 160 мм.
|
|
dп = 160 мм | |||
|
λо = 0,2 |
λо = 0,6 |
λо = 1,8 | ||
|
Rут = 1,22 |
0,488 |
0,500 |
0,577 | |
|
Rут = 2,44 |
0,477 |
0,515 |
0,592 | |
|
Rут = 6,1 |
0,408 |
0,444 |
0,494 | |
|
dп = 210 мм | ||||
|
Rут = 1,22 |
0,606 |
0,617 |
0,698 | |
|
Rут = 2,44 |
0,594 |
0,633 |
0,719 | |
|
Rут = 6,1 |
0,512 |
0,552 |
0,610 | |
|
Примечания 1 Плита перекрытия без перфорации или иного теплозащитного мероприятия приводит к низким температурам на внутренней поверхности стены и неэффективным потерям тепловой энергии. Благодаря толщине стены промерзание практически не наблюдается. 2 Для рассмотренных вариантов узла максимально достижимое в разумных конструкциях целевое сопротивление теплопередаче 2,7 м2·°C/Вт. Однако, несмотря на техническую возможность выполнения такого узла, использовать его неэффективно и нецелесообразно. 3 В настоящей таблице приведен узел, который используют только в качестве базы интерполяции для расчета значений Ψ. | ||||
|
|
dп = 160 мм | |||
|
λо = 0,2 |
λо = 0,6 |
λо = 1,8 | ||
|
Rут = 1,22 |
0,161 |
0,138 |
0,148 | |
|
Rут = 2,44 |
0,154 |
0,130 |
0,123 | |
|
Rут = 6,1 |
0,148 |
0,123 |
0,106 | |
|
dп = 210 мм | ||||
|
Rут = 1,22 |
0,181 |
0,158 |
0,142 | |
|
Rут = 2,44 |
0,176 |
0,150 |
0,133 | |
|
Rут = 6,1 |
0,169 |
0,144 |
0,126 | |
|
|
dп = 160 мм | |||
|
λо = 0,2 |
λо = 0,6 |
λо = 1,8 | ||
|
Rут = 1,22 |
0,300 |
0,298 |
0,346 | |
|
Rут = 2,44 |
0,304 |
0,315 |
0,352 | |
|
Rут = 6,1 |
0,283 |
0,298 |
0,323 | |
|
dп = 210 мм | ||||
|
Rут = 1,22 |
0,379 |
0,373 |
0,421 | |
|
Rут = 2,44 |
0,385 |
0,396 |
0,435 | |
|
Rут = 6,1 |
0,360 |
0,377 |
0,406 | |
|
Примечания 1 Даже сравнительно небольшая перфорация плиты перекрытия, использованная в узлах настоящей таблицы, приводит к уменьшению удельных тепловых потерь через узел в среднем в 1,5 раза и практически исключает промерзание в стандартных условиях. 2 Выбранный тип перфорации вполне эффективен для стен с целевым сопротивлением теплопередаче до 3,0 м2·°C/Вт. Максимально достижимое в разумных конструкциях целевое сопротивление теплопередаче 3,4 м2·°C/Вт. | ||||
|
|
dп = 160 мм | |||
|
λо = 0,2 |
λо = 0,6 |
λо = 1,8 | ||
|
Rут = 1,22 |
0,130 |
0,110 |
0,112 | |
|
Rут = 2,44 |
0,120 |
0,100 |
0,092 | |
|
Rут = 6,1 |
0,112 |
0,092 |
0,078 | |
|
dп = 210 мм | ||||
|
Rут = 1,22 |
0,146 |
0,126 |
0,113 | |
|
Rут = 2,44 |
0,137 |
0,116 |
0,101 | |
|
Rут = 6,1 |
0,130 |
0,108 |
0,093 | |
|
|
dп = 160 мм | |||
|
λо = 0,2 |
λо = 0,6 |
λо = 1,8 | ||
|
Rут = 1,22 |
0,188 |
0,179 |
0,208 | |
|
Rут = 2,44 |
0,196 |
0,196 |
0,215 | |
|
Rут = 6,1 |
0,198 |
0,202 |
0,215 | |
|
dп = 210 мм | ||||
|
Rут = 1,22 |
0,238 |
0,225 |
0,252 | |
|
Rут = 2,44 |
0,252 |
0,250 |
0,269 | |
|
Rут = 6,1 |
0,252 |
0,259 |
0,273 | |
|
Примечания 1 Соотношение пустоты/бетонные перемычки 3/1 - типовое для современного строительства. Оно эффективней, чем соотношение пустот 1/1, примерно в 1,6 раза. 2 Выбранный тип перфорации вполне эффективен для стен с целевым сопротивлением теплопередаче до 3,6 м2·°C/Вт. Максимально достижимое в разумных конструкциях целевое сопротивление теплопередаче 4,0 м2·°C/Вт. 3 Для перспективных энергоэффективных конструкций рассмотренное решение узла недостаточно. Дальнейшие меры по снижению тепловых потерь через данный элемент могут заключаться в дальнейшем усилении перфорации или переходе к принципиально иным теплозащитным мероприятиям, например установке НТЭ. | ||||
|
|
dп = 160 мм | |||
|
λо = 0,2 |
λо = 0,6 |
λо = 1,8 | ||
|
Rут = 1,22 |
0,106 |
0,090 |
0,084 | |
|
Rут = 2,44 |
0,094 |
0,078 |
0,069 | |
|
Rут = 6,1 |
0,084 |
0,069 |
0,057 | |
|
dп = 210 мм | ||||
|
Rут = 1,22 |
0,111 |
0,100 |
0,090 | |
|
Rут = 2,44 |
0,105 |
0,088 |
0,077 | |
|
Rут = 6,1 |
0,095 |
0,079 |
0,067 | |
|
|
dп = 160 мм | |||
|
λо = 0,2 |
λо = 0,6 |
λо = 1,8 | ||
|
Rут = 1,22 |
0,142 |
0,131 |
0,152 | |
|
Rут = 2,44 |
0,152 |
0,148 |
0,160 | |
|
Rут = 6,1 |
0,160 |
0,161 |
0,169 | |
|
dп = 210 мм | ||||
|
Rут = 1,22 |
0,179 |
0,163 |
0,181 | |
|
Rут = 2,44 |
0,194 |
0,188 |
0,202 | |
|
Rут = 6,1 |
0,204 |
0,206 |
0,215 | |
|
Примечания 1 Рассмотренный уровень перфорации (5/1) вполне достаточен для эффективного обеспечения целевых сопротивлений теплопередаче. 2 Выбранный тип перфорации вполне эффективен для стен с целевым сопротивлением теплопередаче до 4,0 м2·°C/Вт. | ||||
|
|
dп = 160 мм | |||
|
λо = 0,2 |
λо = 0,6 |
λо = 1,8 | ||
|
Rут = 1,22 |
0,104 |
0,087 |
0,078 | |
|
Rут = 2,44 |
0,089 |
0,074 |
0,064 | |
|
Rут = 6,1 |
0,078 |
0,064 |
0,053 | |
|
dп = 210 мм | ||||
|
Rут = 1,22 |
0,109 |
0,095 |
0,086 | |
|
Rут = 2,44 |
0,098 |
0,083 |
0,072 | |
|
Rут = 6,1 |
0,088 |
0,074 |
0,062 | |
Ниже приведены значения удельных потерь теплоты для НТЭ, представляющего собой конструкцию арматуры из нержавеющей стали в высокоэффективном утеплителе. Сопоставимость различных НТЭ между собой будет определяться площадью сечения арматуры, приходящейся на единицу длины элемента. Для приведенных в таблице Г.15 значений на 250 мм длины элемента приходится 360 мм2 суммарной площади сечения арматуры.
|
|
dп = 160 мм | |||
|
λо = 0,2 |
λо = 0,6 |
λо = 1,8 | ||
|
Rут = 1,22 |
0,126 |
0,081 |
0,063 | |
|
Rут = 2,44 |
0,115 |
0,098 |
0,094 | |
|
Rут = 6,1 |
0,131 |
0,133 |
0,137 | |
|
dп = 210 мм | ||||
|
Rут = 1,22 |
0,126 |
0,072 |
0,047 | |
|
Rут = 2,44 |
0,12 |
0,098 |
0,093 | |
|
Rут = 6,1 |
0,144 |
0,144 |
0,147 | |
|
Примечания 1 Для данной конструкции наиболее эффективным оказывается применение НТЭ для стен с большим условным сопротивлением теплопередаче. 2 Выбранный тип установки НТЭ вполне эффективен для стен с целевым сопротивлением теплопередаче до 4,4 м2·°C/Вт. | ||||
|
|
dп = 160 мм | |||
|
λо = 0,2 |
λо = 0,6 |
λо = 1,8 | ||
|
Rут = 1,22 |
0,086 |
0,038 |
0,016 | |
|
Rут = 2,44 |
0,076 |
0,055 |
0,049 | |
|
Rут = 6,1 |
0,095 |
0,092 |
0,097 | |
|
dп = 210 мм | ||||
|
Rут = 1,22 |
0,086 |
0,028 |
0,001 | |
|
Rут = 2,44 |
0,076 |
0,055 |
0,05 | |
|
Rут = 6,1 |
0,106 |
0,098 |
0,103 | |
|
Примечания 1 Выбранный тип установки НТЭ вполне эффективен для стен с целевым сопротивлением теплопередаче до 4,8 м2·°C/Вт. 2 Вариант применения НТЭ оказывается наиболее эффективным из рассмотренных и рекомендуется для энергоэффективных проектов. | ||||
Стена - с наружным утеплением и тонкой облицовкой (СФТК или вентилируемый фасад)
При наружном утеплении выходы плиты перекрытия закрывают утеплителем, и они не являются "мостиками холода". Для выбранного вида стен следует учитывать только стыки с балконными плитами, так как в этих местах разрывается слой утеплителя.
Параметры, влияющие на потери теплоты через узел:
- термическое сопротивление слоя утеплителя Rут, м2·°C/Вт;
- теплопроводность основания λо, Вт/(м·°C);
- перфорация плиты перекрытия или применение НТЭ;
- эффективная толщина плиты перекрытия dп, мм.
Во всех расчетах толщина основания принята равной 250 мм, а толщина перфорации - 160 мм.
Влияние узла стыка стены с наружным утеплением с балконной плитой намного меньше по сравнению с узлом стыка стены с плитой перекрытия для кладок и трехслойных конструкций. Это связано со значительно меньшей удельной длиной балконных плит. Влияние выбранного узла не является определяющим для конструкции.
|
|
dп = 160 мм | |||
|
λо = 0,2 |
λо = 0,6 |
λо = 1,8 | ||
|
Rут = 1,5 |
0,583 |
0,660 |
0,838 | |
|
Rут = 3,0 |
0,550 |
0,638 |
0,781 | |
|
Rут = 6,0 |
0,472 |
0,536 |
0,626 | |
|
dп = 210 мм | ||||
|
Rут = 1,5 |
0,704 |
0,777 |
0,958 | |
|
Rут = 3,0 |
0,669 |
0,758 |
0,915 | |
|
Rут = 6,0 |
0,580 |
0,650 |
0,751 | |
|
Примечания 1 Плита перекрытия без перфорации или иного теплозащитного мероприятия приводит к низким температурам на внутренней поверхности стены и неэффективным потерям тепловой энергии. Промерзание возможно только для наиболее тонких и холодных стен. 2 В настоящей таблице приведен узел, который используется только в качестве базы интерполяции для расчета значений Ψ. | ||||
|
|
dп = 160 мм | |||
|
λо = 0,2 |
λо = 0,6 |
λо = 1,8 | ||
|
Rут = 1,5 |
0,176 |
0,161 |
0,166 | |
|
Rут = 3,0 |
0,170 |
0,153 |
0,148 | |
|
Rут = 6,0 |
0,166 |
0,148 |
0,134 | |
|
dп = 210 мм | ||||
|
Rут = 1,5 |
0,207 |
0,184 |
0,170 | |
|
Rут = 3,0 |
0,201 |
0,176 |
0,160 | |
|
Rут = 6,0 |
0,197 |
0,172 |
0,155 | |
|
|
dп = 160 мм | |||
|
λо = 0,2 |
λо = 0,6 |
λо = 1,8 | ||
|
Rут = 1,5 |
0,400 |
0,413 |
0,477 | |
|
Rут = 3,0 |
0,346 |
0,371 |
0,419 | |
|
Rут = 6,0 |
0,311 |
0,338 |
0,374 | |
|
dп = 210 мм | ||||
|
Rут = 1,5 |
0,483 |
0,492 |
0,556 | |
|
Rут = 3,0 |
0,429 |
0,456 |
0,510 | |
|
Rут = 6,0 |
0,393 |
0,421 |
0,466 | |
|
Примечание - Даже сравнительно небольшая перфорация плиты перекрытия, использованная в узлах, приводит к уменьшению удельных тепловых потерь через узел в среднем в 1,7 раза и практически исключает промерзание при температуре в помещениях 18 °C и выше. | ||||
|
|
dп = 160 мм | |||
|
λо = 0,2 |
λо = 0,6 |
λо = 1,8 | ||
|
Rут = 1,5 |
0,131 |
0,113 |
0,114 | |
|
Rут = 3,0 |
0,121 |
0,100 |
0,092 | |
|
Rут = 6,0 |
0,114 |
0,092 |
0,076 | |
|
dп = 210 мм | ||||
|
Rут = 1,5 |
0,152 |
0,128 |
0,109 | |
|
Rут = 3,0 |
0,142 |
0,116 |
0,095 | |
|
Rут = 6,0 |
0,136 |
0,108 |
0,086 | |
|
|
dп = 160 мм | |||
|
λо = 0,2 |
λо = 0,6 |
λо = 1,8 | ||
|
Rут = 1,5 |
0,279 |
0,265 |
0,285 | |
|
Rут = 3,0 |
0,225 |
0,227 |
0,244 | |
|
Rут = 6,0 |
0,209 |
0,219 |
0,237 | |
|
dп = 210 мм | ||||
|
Rут = 1,5 |
0,335 |
0,315 |
0,333 | |
|
Rут = 3,0 |
0,281 |
0,283 |
0,302 | |
|
Rут = 6,0 |
0,268 |
0,279 |
0,297 | |
|
Примечание - Соотношение пустоты/бетонные перемычки 3/1 - типовое для современного строительства. Оно эффективней, чем соотношение пустот 1/1, примерно в 1,6 раза и позволяет достигать целевые значения сопротивления теплопередаче в большинстве практически важных случаев. | ||||
|
|
dп = 160 мм | |||
|
λо = 0,2 |
λо = 0,6 |
λо = 1,8 | ||
|
Rут = 1,5 |
0,106 |
0,094 |
0,087 | |
|
Rут = 3,0 |
0,095 |
0,079 |
0,070 | |
|
Rут = 6,0 |
0,087 |
0,070 |
0,056 | |
|
dп = 210 мм | ||||
|
Rут = 1,5 |
0,120 |
0,103 |
0,089 | |
|
Rут = 3,0 |
0,109 |
0,089 |
0,073 | |
|
Rут = 6,0 |
0,101 |
0,081 |
0,064 | |
|
|
dп = 160 мм | |||
|
λо = 0,2 |
λо = 0,6 |
λо = 1,8 | ||
|
Rут = 1,5 |
0,227 |
0,202 |
0,210 | |
|
Rут = 3,0 |
0,173 |
0,171 |
0,179 | |
|
Rут = 6,0 |
0,168 |
0,171 |
0,183 | |
|
dп = 210 мм | ||||
|
Rут = 1,5 |
0,269 |
0,240 |
0,244 | |
|
Rут = 3,0 |
0,219 |
0,213 |
0,223 | |
|
Rут = 6,0 |
0,213 |
0,219 |
0,230 | |
|
Примечание - Рассмотренный уровень перфорации (5/1) вполне достаточен для эффективного обеспечения целевых сопротивлений теплопередаче, однако вызывает сомнение техническая осуществимость балкона с достаточной несущей способностью при такой перфорации. | ||||
|
|
dп = 160 мм | |||
|
λо = 0,2 |
λо = 0,6 |
λо = 1,8 | ||
|
Rут = 1,5 |
0,108 |
0,092 |
0,086 | |
|
Rут = 3,0 |
0,095 |
0,077 |
0,068 | |
|
Rут = 6,0 |
0,086 |
0,068 |
0,053 | |
|
dп = 210 мм | ||||
|
Rут = 1,5 |
0,115 |
0,099 |
0,085 | |
|
Rут = 3,0 |
0,103 |
0,085 |
0,069 | |
|
Rут = 6,0 |
0,095 |
0,076 |
0,060 | |
Ниже приведены значения удельных потерь теплоты для НТЭ, представляющего собой конструкцию арматуры из нержавеющей стали в высокоэффективном утеплителе. Сопоставимость различных НТЭ между собой будет определяться площадью сечения арматуры, приходящейся на единицу длины элемента. Для приведенных в таблице Г.21 значений на 1000 мм длины элемента приходится 536 мм2 суммарной площади сечения арматуры плюс 7000 мм2 суммарной площади сечения бетонных вставок.
|
|
dп = 160 мм | |||
|
λо = 0,2 |
λо = 0,6 |
λо = 1,8 | ||
|
Rут = 1,5 |
0,191 |
0,156 |
0,151 | |
|
Rут = 3,0 |
0,158 |
0,149 |
0,155 | |
|
Rут = 6,0 |
0,168 |
0,173 |
0,182 | |
|
dп = 210 мм | ||||
|
Rут = 1,5 |
0,192 |
0,147 |
0,134 | |
|
Rут = 3,0 |
0,166 |
0,152 |
0,156 | |
|
Rут = 6,0 |
0,182 |
0,184 |
0,193 | |
|
Примечание - Применение НТЭ позволяет добиться тех же теплозащитных характеристик узла, что и перфорация (5/1), при условии выполнения конструктивных требований по несущей способности. | ||||
Стена - тонкостенные панели (в том числе сэндвич-панели)
Параметры, влияющие на потери теплоты через узел:
- термическое сопротивление слоя утеплителя Rут, м2·°C/Вт;
- наличие облицовки;
- перфорация плиты перекрытия;
- эффективная толщина плиты перекрытия dп, мм.
Во всех расчетах толщина перфорации 160 мм.
Для панелей без облицовки маловероятна установка панелей в плоскости перфорации, поэтому их следует навешивать, снаружи закрывая панелью торец плиты перекрытия. Значения удельных потерь теплоты для различных вариантов перфорации даны для места выхода балконной плиты.
В качестве стенок панелей выбраны гипсоволокнистые листы (ГВЛ) толщиной 10 мм.
|
|
dп = 160 мм | |||
|
Rут = 2,0 |
Rут = 4,0 |
Rут = 7,0 | ||
|
Без перфорации |
0,975 |
0,802 |
0,623 | |
|
1/1 |
0,521 |
0,435 |
0,383 | |
|
3/1 |
0,302 |
0,256 |
0,248 | |
|
5/1 |
0,221 |
0,190 |
0,193 | |
|
dп = 210 мм | ||||
|
Без перфорации |
1,179 |
0,985 |
0,777 | |
|
1/1 |
0,640 |
0,550 |
0,487 | |
|
3/1 |
0,371 |
0,329 |
0,316 | |
|
5/1 |
0,271 |
0,244 |
0,248 | |
|
Примечания 1 Из настоящей таблицы видно, как сильно влияет перфорация на удельные тепловые потери через узел. В узлах без перфорации или с перфорацией в соотношении 1/1 происходит промерзание, и они не могут быть рекомендованы к применению. 2 В связи с тонкостью стены узел стыка с балконной плитой создает существенные удельные тепловые потери даже при усиленной перфорации. Однако если панели навешивают снаружи и тепловые потери происходят только по балконным плитам, то относительно малые удельные протяженности узла приводят к пониженному влиянию на приведенное сопротивление теплопередаче стены. 3 Важнейшим для узла стыка тонкостенных панелей с балконной плитой является совпадение плоскости утеплителя с перфорацией. Несовпадение перфорации с утеплителем недопустимо, так как приводит к промерзанию стены. | ||||
|
|
dп = 160 мм | |||
|
Rут = 2,0 |
Rут = 4,0 |
Rут = 7,0 | ||
|
Без перфорации |
0,273 |
0,273 |
0,201 | |
|
1/1 |
0,217 |
0,215 |
0,198 | |
|
3/1 |
0,201 |
0,198 |
0,197 | |
|
5/1 |
0,200 |
0,197 |
0,196 | |
|
dп = 210 мм | ||||
|
Без перфорации |
0,289 |
0,289 |
0,290 | |
|
1/1 |
0,230 |
0,229 |
0,228 | |
|
3/1 |
0,210 |
0,207 |
0,206 | |
|
5/1 |
0,208 |
0,206 |
0,205 | |
|
|
dп = 160 мм | |||
|
Rут = 2,0 |
Rут = 4,0 |
Rут = 7,0 | ||
|
Без перфорации |
0,779 |
0,675 |
0,548 | |
|
1/1 |
0,438 |
0,390 |
0,352 | |
|
3/1 |
0,258 |
0,238 |
0,233 | |
|
5/1 |
0,190 |
0,177 |
0,185 | |
|
dп = 210 мм | ||||
|
Без перфорации |
0,935 |
0,823 |
0,677 | |
|
1/1 |
0,535 |
0,490 |
0,444 | |
|
3/1 |
0,319 |
0,302 |
0,296 | |
|
5/1 |
0,235 |
0,227 |
0,235 | |
|
Примечания 1 Увеличение толщины стены за счет облицовки в полкирпича приводит к значительному снижению тепловых потерь и повышению минимальной температуры на внутренней поверхности стены. Несмотря на это, рекомендации для стены без облицовки кирпичом сохраняют свою актуальность. 2 Для узла без перфорации или узла с перфорацией в соотношении 1/1 происходит промерзание, и они не могут быть рекомендованы к применению. 3 Облицовка кирпичом только в малоэтажном строительстве не будет опираться на перекрытие, что позволит сократить протяженность узла до протяженности балконных плит. В многоэтажном строительстве влияние стыка стены с плитой перекрытия на приведенное сопротивление теплопередаче становится определяющим наравне со связями в панелях. 4 Важнейшим для узла стыка тонкостенных панелей с плитой перекрытия является совпадение плоскости утеплителя с перфорацией. Несовпадение перфорации с утеплителем недопустимо, так как приводит к промерзанию стены. | ||||
|
|
dп = 160 мм | |||
|
Rут = 2,0 |
Rут = 4,0 |
Rут = 7,0 | ||
|
Без перфорации |
0,225 |
0,228 |
0,171 | |
|
1/1 |
0,186 |
0,187 |
0,172 | |
|
3/1 |
0,171 |
0,172 |
0,174 | |
|
5/1 |
0,183 |
0,183 |
0,183 | |
|
dп = 210 мм | ||||
|
Без перфорации |
0,255 |
0,258 |
0,260 | |
|
1/1 |
0,210 |
0,211 |
0,212 | |
|
3/1 |
0,190 |
0,191 |
0,192 | |
|
5/1 |
0,192 |
0,192 |
0,192 | |
Стена с внутренним утеплением
При внутреннем утеплении необходимо обеспечивать надежную пароизоляцию изнутри помещения. Конструктивное решение узла и толщину слоя теплоизоляционного материала необходимо выбирать исходя из условия отсутствия конденсата в местах сопряжения элементов строительной конструкции.
Параметры, влияющие на потери теплоты через узел:
- термическое сопротивление слоя утеплителя Rут, м2·°C/Вт;
- теплопроводность основания λо, Вт/(м·°C);
- толщина основания dо, мм;
- перфорация плиты перекрытия;
- эффективная толщина плиты перекрытия dп, мм.
Во всех расчетах толщина перфорации 160 мм.
Особенность внутреннего утепления заключается в том, что "мостиками холода", аналогичными сопряжениям с плитами перекрытия, являются примыкания внутренних стен.
|
|
dп = 160 мм, dо = 200 мм | |||
|
λо = 0,2 |
λо = 0,6 |
λо = 1,8 | ||
|
Rут = 1,0 |
0,646 |
0,683 |
0,825 | |
|
Rут = 2,5 |
0,608 |
0,675 |
0,796 | |
|
dп = 160 мм, dо = 400 мм | ||||
|
Rут = 1,0 |
0,450 |
0,481 |
0,656 | |
|
Rут = 2,5 |
0,438 |
0,517 |
0,692 | |
|
dп = 210 мм, dо = 200 мм | ||||
|
Rут = 1,0 |
0,796 |
0,817 |
0,950 | |
|
Rут = 2,5 |
0,752 |
0,813 |
0,933 | |
|
dп = 210 мм, dо = 400 мм | ||||
|
Rут = 1,0 |
0,565 |
0,579 |
0,748 | |
|
Rут = 2,5 |
0,548 |
0,621 |
0,804 | |
|
Примечание - В таблице приведен узел, который используют только в качестве базы интерполяции для расчета значений Ψ. | ||||
|
|
dп = 160 мм, dо = 200 мм | |||
|
λо = 0,2 |
λо = 0,6 |
λо = 1,8 | ||
|
Rут = 1,0 |
0,247 |
0,280 |
0,328 | |
|
Rут = 2,5 |
0,265 |
0,299 |
0,348 | |
|
dп = 160 мм, dо = 400 мм | ||||
|
Rут = 1,0 |
0,178 |
0,193 |
0,253 | |
|
Rут= 2,5 |
0,157 |
0,192 |
0,310 | |
|
dп = 210 мм, dо = 200 мм | ||||
|
Rут = 1,0 |
0,268 |
0,297 |
0,341 | |
|
Rут = 2,5 |
0,286 |
0,316 |
0,360 | |
|
dп = 210 мм, dо = 400 мм | ||||
|
Rут = 1,0 |
0,174 |
0,205 |
0,205 | |
|
Rут = 2,5 |
0,170 |
0,201 |
0,252 | |
|
|
dп = 160 мм, dо = 200 мм | |||
|
λо = 0,2 |
λо = 0,6 |
λо = 1,8 | ||
|
Rут = 1,0 |
0,227 |
0,206 |
0,233 | |
|
Rут = 2,5 |
0,227 |
0,242 |
0,273 | |
|
dп = 160 мм, dо = 400 мм | ||||
|
Rут = 1,0 |
0,210 |
0,177 |
0,196 | |
|
Rут = 2,5 |
0,198 |
0,206 |
0,252 | |
|
dп = 210 мм, dо = 200 мм | ||||
|
Rут = 1,0 |
0,283 |
0,252 |
0,273 | |
|
Rут = 2,5 |
0,288 |
0,300 |
0,331 | |
|
dп = 210 мм, dо = 400 мм | ||||
|
Rут = 1,0 |
0,265 |
0,219 |
0,229 | |
|
Rут = 2,5 |
0,252 |
0,256 |
0,302 | |
|
|
dп = 160 мм, dо = 200 мм | |||
|
λо = 0,2 |
λо = 0,6 |
λо = 1,8 | ||
|
Rут = 1,0 |
0,226 |
0,251 |
0,289 | |
|
Rут = 2,5 |
0,243 |
0,268 |
0,304 | |
|
dп = 160 мм, dо = 400 мм | ||||
|
Rут = 1,0 |
0,164 |
0,189 |
0,234 | |
|
Rут = 2,5 |
0,163 |
0,188 |
0,227 | |
|
dп = 210 мм, dо = 200 мм | ||||
|
Rут = 1,0 |
0,240 |
0,261 |
0,294 | |
|
Rут = 2,5 |
0,254 |
0,276 |
0,308 | |
|
dп = 210 мм, dо = 400 мм | ||||
|
Rут = 1,0 |
0,176 |
0,197 |
0,238 | |
|
Rут = 2,5 |
0,172 |
0,194 |
0,229 | |
Для внутреннего утепления стен часто применяют тонкий рулонный утеплитель, обклеенный фольгой, с созданием воздушной прослойки с внутренней стороны. В случае применения такого утеплителя совместно с обычным утеплением в таблицах Г.24 и Г.25 вместо термического сопротивления утеплителя следует использовать суммарное термическое сопротивление всех слоев утепления, включая воздушную прослойку.
, (Г.2)
где Rs - термическое сопротивление слоя утеплителя, м2·°C/Вт, по формуле (5.6);
Rпр - термическое сопротивление воздушной прослойки, м2·°C/Вт, по таблице 1.
Также можно применять таблицу Г.26, специально рассчитанную для многослойного утепления с воздушной прослойкой, обклеенной по внутренней поверхности фольгой.
|
|
dп = 160 мм, dо = 200 мм | |||
|
λо = 0,2 |
λо = 0,6 |
λо = 1,8 | ||
|
Rут = 1,5 |
0,227 |
0,216 |
0,245 | |
|
Rут = 3,0 |
0,225 |
0,244 |
0,278 | |
|
dп = 160 мм, dо = 400 мм | ||||
|
Rут = 1,5 |
0,207 |
0,185 |
0,212 | |
|
Rут = 3,0 |
0,197 |
0,208 |
0,255 | |
|
dп = 210 мм, dо = 200 мм | ||||
|
Rут = 1,5 |
0,284 |
0,265 |
0,289 | |
|
Rут = 3,0 |
0,289 |
0,302 |
0,335 | |
|
dп = 210 мм, dо = 400 мм | ||||
|
Rут = 1,5 |
0,262 |
0,229 |
0,248 | |
|
Rут = 3,0 |
0,251 |
0,258 |
0,307 | |
|
|
dп = 160 мм, dо = 200 мм | |||
|
λо = 0,2 |
λо = 0,6 |
λо = 1,8 | ||
|
Rут = 1,5 |
0,100 |
0,083 |
0,081 | |
|
Rут = 3,0 |
0,107 |
0,100 |
0,101 | |
|
dп = 160 мм, dо = 400 мм | ||||
|
Rут = 1,5 |
0,109 |
0,079 |
0,074 | |
|
Rут = 3,0 |
0,105 |
0,092 |
0,095 | |
|
dп = 210 мм, dо = 200 мм | ||||
|
Rут = 1,5 |
0,107 |
0,090 |
0,088 | |
|
Rут = 3,0 |
0,114 |
0,107 |
0,108 | |
|
dп = 210 мм, dо = 400 мм | ||||
|
Rут = 1,5 |
0,116 |
0,086 |
0,081 | |
|
Rут = 3,0 |
0,112 |
0,099 |
0,102 | |
|
|
dп = 160 мм, dо = 200 мм | |||
|
λо = 0,2 |
λо = 0,6 |
λо = 1,8 | ||
|
Rут = 1,5 |
0,055 |
0,060 |
0,063 | |
|
Rут = 3,0 |
0,053 |
0,055 |
0,057 | |
|
dп = 160 мм, dо = 400 мм | ||||
|
Rут =1,5 |
0,048 |
0,054 |
0,060 | |
|
Rут = 3,0 |
0,047 |
0,051 |
0,055 | |
|
dп = 210 мм, dо = 200 мм | ||||
|
Rут = 1,5 |
0,054 |
0,059 |
0,062 | |
|
Rут = 3,0 |
0,052 |
0,054 |
0,056 | |
|
dп = 210 мм, dо = 400 мм | ||||
|
Rут = 1,5 |
0,047 |
0,053 |
0,059 | |
|
Rут = 3,0 |
0,046 |
0,050 |
0,054 | |
Г.4 Углы стен
В настоящем разделе теплозащитный элемент - угол стены подразумевается, как чисто геометрический, т.е. при его рассмотрении учитывают влияние на удельные потери теплоты только от искажения геометрии стены в зоне угла и при этом пренебрегают теплопотерями от дополнительных связей или конструктивных решений, также увеличивающих потери теплоты. Эти связи и решения должны рассматриваться как отдельные теплозащитные элементы. Такой подход позволяет значительно сократить число вариантов узлов, необходимых для расчета, и упорядочить понимание явлений теплопереноса в углах стен. Например, тарельчатые анкеры в СФТК рядом с углом устанавливают чаще, но их учитывают отдельно от угла вместе с остальными тарельчатыми анкерами.
Возможны два варианта исполнения угла: выпуклый и вогнутый. Геометрия этих вариантов практически противоположна, а значит и влияние на тепловые потери противоположно, так как угол рассматривают, как чисто геометрический элемент. В связи с этим удельные потери теплоты для выпуклого угла положительные, а для вогнутого угла отрицательные.
Наибольшее влияние на изменение теплопотерь оказывают углы стен в небольших зданиях, например коттеджах.
Для изрезанных и содержащих значительное число углов зданий влияние углов наоборот, снижено, что связано с частичной компенсацией выпуклых углов вогнутыми <1>.
--------------------------------
<1> Для зданий с прямыми углами выпуклых углов всегда будет на четыре больше, чем вогнутых. Из приведенных в таблицах Г.27, Г.28 значений видно, что выпуклые углы меньше влияют на потери теплоты, чем вогнутые, а значит, при большом количестве углов (для изрезанного фасада здания) их суммарное влияние на потери теплоты может стать отрицательным, т.е. приводить к сокращению потерь. Это противоречит бытовому представлению о том, что чем больше углов, тем больше потери теплоты. Но на самом деле оба эти утверждения верны, просто для здания с изрезанным фасадом увеличение потерь теплоты происходит не из-за наличия углов, а из-за увеличения площади поверхности, которое многократно превышает влияние углов.
Для тонкостенных панелей (в том числе сэндвич-панелей) и стен с внутренним утеплением учет угла как геометрического элемента при расчетах не требуется.
Кладка из блоков легкого, особо легкого и ячеистого бетонов или крупноформатных камней с облицовкой кирпичом
Параметры, влияющие на потери теплоты через узел:
- толщина кладки dкл, мм;
- теплопроводность камня λкам, Вт/(м·°C).
|
|
Выпуклый угол | |||
|
λкам = 0,1 |
λкам = 0,18 |
λкам = 0,32 | ||
|
dкл = 200 |
0,051 |
0,085 |
0,136 | |
|
dкл = 300 |
0,052 |
0,088 |
0,143 | |
|
dкл = 500 |
0,053 |
0,092 |
0,153 | |
|
Вогнутый угол | ||||
|
dкл = 200 |
-0,149 |
-0,26 |
-0,421 | |
|
dкл = 300 |
-0,146 |
-0,257 |
-0,427 | |
|
dкл = 500 |
-0,144 |
-0,256 |
-0,436 | |
|
Примечание - Как видно из настоящей таблицы, определяющее влияние на удельные потери теплоты через узел оказывает теплопроводность внутреннего слоя. Причем удельные потери теплоты зависят от теплопроводности внутреннего слоя почти прямопропорционально. На основании этого замечания можно понять, почему для стен с внутренним утеплением учет углов стен при расчетах приведенного сопротивления теплопередаче несущественен. | ||||
|
|
Выпуклый угол | |||
|
λкам = 0,1 |
λкам = 0,18 |
λкам = 0,32 | ||
|
dкл = 200 |
0,141 |
0,190 |
0,248 | |
|
dкл = 300 |
0,108 |
0,152 |
0,205 | |
|
dкл = 500 |
0,082 |
0,115 |
0,158 | |
|
Вогнутый угол | ||||
|
dкл = 200 |
- |
- |
- | |
|
dкл = 300 |
- |
- |
- | |
|
dкл = 500 |
- |
- |
- | |
На вогнутых углах температура на острие угла не минимальная на поверхности, а максимальная, поэтому значения для нее в таблицах не приводятся. То же замечание относится к таблице Г.28а.
Стена - с наружным утеплением и тонкой облицовкой (штукатурный или вентилируемый фасад)
В отсутствие других данных таблицу Г.28 можно применять и для трехслойных стен с эффективным утеплителем и облицовкой из кирпичной кладки.
Параметры, влияющие на потери теплоты через узел:
- термическое сопротивление слоя утеплителя Rут, м2·°C/Вт;
- теплопроводность основания λо, Вт/(м·°C)
|
|
Выпуклый угол | |||
|
λо = 0,2 |
λо = 0,6 |
λо = 1,8 | ||
|
Rут = 1,5 |
0,088 |
0,167 |
0,234 | |
|
Rут = 3,0 |
0,076 |
0,121 |
0,15 | |
|
Rут = 6,0 |
0,06 |
0,082 |
0,093 | |
|
Вогнутый угол | ||||
|
Rут = 1,5 |
-0,177 |
-0,263 |
-0,311 | |
|
Rут = 3,0 |
-0,141 |
-0,181 |
-0,199 | |
|
Rут = 6,0 |
-0,109 |
-0,126 |
-0,133 | |
|
|
Выпуклый угол | |||
|
λкам = 0,2 |
λкам = 0,6 |
λкам = 1,8 | ||
|
Rут = 1,5 |
0,134 |
0,133 |
0,129 | |
|
Rут = 3,0 |
0,085 |
0,084 |
0,074 | |
|
Rут = 6,0 |
0,056 |
0,049 |
0,040 | |
|
Вогнутый угол | ||||
|
Rут = 1,5 |
- |
- |
- | |
|
Rут = 3,0 |
- |
- |
- | |
|
Rут = 6,0 |
- |
- |
- | |
Г.5 Примыкание оконного блока к стене
Узел примыкания оконных и дверных блоков к стенам является наиболее распространенным элементом и встречается практически на каждом здании.
Ошибки при выполнении узла примыкания оконного блока к стене являются частой причиной промерзания ограждающих конструкций.
При составлении таблиц Г.29 - Г.38 предполагалось, что пространство между стеной и рамой окна запенивают. Толщина слоя пены 20 мм.
Удельные протяженности примыкания оконных и дверных блоков к стене на практике колеблются в пределах от 0,5 до 1,5 м/м2.
Кладка из блоков легкого, особо легкого и ячеистого бетонов или крупноформатных, камней с облицовкой кирпичом
Параметры, влияющие на потери теплоты через узел:
- толщина кладки dкл, мм;
- теплопроводность камня λкам, Вт/(м·°C);
- толщина рамы dр, мм;
- высота зуба при установке окна dз, мм.
|
|
dз = 0 мм | |||
|
λкам = 0,1 |
λкам = 0,18 |
λкам = 0,32 | ||
|
dкл = 200 |
0,017 |
0,040 |
0,071 | |
|
dкл = 300 |
0,038 |
0,067 |
0,106 | |
|
dкл = 500 |
0,063 |
0,110 |
0,169 | |
|
dз = 60 мм | ||||
|
dкл = 200 |
0,008 |
0,025 |
0,050 | |
|
dкл = 300 |
0,029 |
0,054 |
0,088 | |
|
dкл = 500 |
0,056 |
0,100 |
0,152 | |
|
Примечание - Для выбранного вида стен влияние толщины рамы на удельные потери теплоты очень велико. Толщина рамы в 60 мм и менее не позволяет достичь высоких приведенных сопротивлений теплопередаче стены, кроме того, малая толщина рамы повышает вероятность промерзания узла. Для жилых домов большинства климатических районов и подрайонов Российской Федерации установка окон с такой рамой без дополнительного утепления узла примыкания к стене недопустима. | ||||
|
|
dз = 0 мм | |||
|
λкам = 0,1 |
λкам = 0,18 |
λкам = 0,32 | ||
|
dкл = 200 |
0,010 |
0,027 |
0,054 | |
|
dкл = 300 |
0,029 |
0,054 |
0,087 | |
|
dкл = 500 |
0,054 |
0,096 |
0,150 | |
|
dз = 60 мм | ||||
|
dкл = 200 |
0,004 |
0,017 |
0,038 | |
|
dкл = 300 |
0,023 |
0,044 |
0,073 | |
|
dкл = 500 |
0,048 |
0,088 |
0,135 | |
|
|
dз = 0 мм | |||
|
λкам = 0,1 |
λкам = 0,18 |
λкам = 0,32 | ||
|
dкл = 200 |
0 |
0,010 |
0,031 | |
|
dкл = 300 |
0,017 |
0,033 |
0,058 | |
|
dкл = 500 |
0,042 |
0,075 |
0,117 | |
|
dз = 60 мм | ||||
|
dкл = 200 |
0 |
0,004 |
0,021 | |
|
dкл = 300 |
0,013 |
0,027 |
0,048 | |
|
dкл = 500 |
0,038 |
0,069 |
0,106 | |
Стена - трехслойная с облицовкой кирпичом
Параметры, влияющие на потери теплоты через узел:
- расположение окна;
- нахлест утеплителя;
- толщина рамы dр, мм;
- термическое сопротивление слоя утеплителя Rут, м2·°C/Вт;
- теплопроводность основания λо, Вт/(м·°C).
Толщина основания 250 мм.
Существует два принципиально разных варианта расположения окна - рама расположена сразу за облицовочным кирпичом (1) и рама расположена сразу за утеплителем (2). Во втором случае конструкция узла теплотехнически аналогична штукатурному фасаду и значения удельных потерь теплоты следует принимать по таблице Г.33, заменяя наружный штукатурный слой на облицовку кирпичом.
Так как оконный блок фактически располагается в утеплителе, должны быть предусмотрены элементы крепления. Существует большой выбор вариантов крепления оконного блока, большинство которых сильно влияют на удельные потери теплоты. При расчетах значений таблицы Г.32 предполагались точечные металлические крепления; в случае использования протяженных металлических креплений приведенные значения применять нельзя.
|
| ||||
|
dр = 60 |
dр = 80 |
dр = 120 | ||
|
Rут = 1,5 |
0,121 |
0,104 |
0,083 | |
|
Rут = 3,0 |
0,121 |
0,104 |
0,079 | |
|
Rут = 6,0 |
0,132 |
0,114 |
0,092 | |
|
Примечание - Применение элементов крепления (даже локальных) при расположении оконного блока в утеплителе делают такое решение малоэффективным. Только тщательная проработка узла и дополнительное утепление могут улучшить его характеристики. | ||||
Стена - системы фасадные теплоизоляционные композиционные с наружными штукатурными слоями
Параметры, влияющие на потери теплоты через узел:
- расположение окна;
- нахлест утеплителя dн мм;
- термическое сопротивление слоя утеплителя Rут, м2·°C/Вт;
- теплопроводность основания λо, Вт/(м·°C).
Толщина основания 250 мм.
Толщина рамы 70 мм.
|
|
dн = 0 мм | |||
|
λо = 0,2 |
λо = 0,6 |
λо = 1,8 | ||
|
Rут = 1,5 |
0,054 |
0,098 |
0,133 | |
|
Rут = 3,0 |
0,050 |
0,092 |
0,127 | |
|
Rут = 6,0 |
0,055 |
0,097 |
0,129 | |
|
dн = 20 мм | ||||
|
Rут = 1,5 |
0,042 |
0,067 |
0,083 | |
|
Rут = 3,0 |
0,033 |
0,054 |
0,069 | |
|
Rут = 6,0 |
0,034 |
0,056 |
0,068 | |
|
dн = 60 мм | ||||
|
λо = 0,2 |
λо = 0,6 |
λо = 1,8 | ||
|
Rут = 1,5 |
0,013 |
0,031 |
0,042 | |
|
Rут = 3,0 |
0 |
0,010 |
0,019 | |
|
Rут = 6,0 |
0 |
0,006 |
0,012 | |
|
|
dн = 0 мм | |||
|
λо = 0,2 |
λо = 0,6 |
λо = 1,8 | ||
|
Rут = 1,5 |
0,156 |
0,167 |
0,183 | |
|
Rут = 3,0 |
0,119 |
0,119 |
0,123 | |
|
Rут = 6,0 |
0,109 |
0,112 |
0,114 | |
|
dн = 20 мм | ||||
|
Rут = 1,5 |
- |
- |
- | |
|
Rут = 3,0 |
0,092 |
0,092 |
0,094 | |
|
Rут = 6,0 |
0,072 |
0,072 |
0,072 | |
|
dн = 60 мм | ||||
|
Rут = 1,5 |
- |
- |
- | |
|
Rут = 3,0 |
0,054 |
0,052 |
0,054 | |
|
Rут = 6,0 |
0,012 |
0,012 |
0,012 | |
|
Примечание - Так как оконный блок фактически располагают в утеплителе, должны быть предусмотрены элементы крепления. Существует большой выбор вариантов крепления оконного блока, большинство которых сильно влияют на удельные потери теплоты. При расчетах значений таблицы Г.34 предполагались точечные металлические крепления; в случае использования протяженных металлических креплений приведенные значения применять нельзя. | ||||
|
|
dн = 0 мм | |||
|
λо = 0,2 |
λо = 0,6 |
λо = 1,8 | ||
|
Rут = 1,5 |
0,106 |
0,319 |
0,696 | |
|
Rут = 3,0 |
0,121 |
0,346 |
0,738 | |
|
Rут = 6,0 |
0,134 |
0,366 |
0,764 | |
|
dн = 20 мм | ||||
|
Rут = 1,5 |
0,063 |
0,135 |
0,196 | |
|
Rут = 3,0 |
0,069 |
0,140 |
0,196 | |
|
Rут = 6,0 |
0,078 |
0,147 |
0,202 | |
|
dн = 60 мм | ||||
|
Rут = 1,5 |
0,017 |
0,054 |
0,081 | |
|
Rут = 3,0 |
0,015 |
0,046 |
0,067 | |
|
Rут = 6,0 |
0,018 |
0,047 |
0,064 | |
|
Примечание - Сдвиг рамы в середину основания для стен с наружным утеплением - худший вариант решения узла. Даже при дополнительном наружном утеплении основания, когда формально можно получить довольно низкие удельные потери теплоты, конструкция остается опасной и крайне отказонеустойчивой. | ||||
Стена - тонкостенные панели (в том числе сэндвич-панели)
Параметры, влияющие на потери теплоты через узел:
- термическое сопротивление слоя утеплителя Rут, м2·°C/Вт;
- наличие облицовки;
- толщина рамы dр, мм.
При установке оконного блока предполагают его крепление к несущим элементам панели, влияние на тепловые потери которых следует учитывать отдельно (в настоящем приложении не учитывается).
|
|
Без облицовки | |||
|
dр = 60 мм |
dр = 80 мм |
dр = 120 мм | ||
|
Rут = 2,0 |
0,004 |
0 |
- | |
|
Rут = 4,0 |
0,038 |
0,027 |
0,008 | |
|
Rут = 7,0 |
0,063 |
0,054 |
0,033 | |
|
|
С облицовкой кирпичом | |||
|
dр = 60 мм |
dр = 80 мм |
dр = 120 мм | ||
|
Rут = 2,0 |
0,008 |
0 |
- | |
|
Rут = 4,0 |
0,029 |
0,021 |
0,008 | |
|
Rут = 7,0 |
0,052 |
0,044 |
0,031 | |
Стена - внутреннее утепление
Параметры, влияющие на потери теплоты через узел:
- нахлест утеплителя dн, мм;
- термическое сопротивление слоя утеплителя Rут, м2·°C/Вт;
- теплопроводность основания λо, Вт/(м·°C).
Толщина основания 250 мм.
Толщина рамы 70 мм.
|
|
dн = 0 мм | |||
|
λо = 0,2 |
λо = 0,6 |
λо = 1,8 | ||
|
Rут = 1,0 |
0,038 |
0,125 |
0,238 | |
|
Rут = 2,5 |
0,054 |
0,156 |
0,275 | |
|
dн = 20 мм | ||||
|
Rут = 1,0 |
0,010 |
0,037 |
0,060 | |
|
Rут = 2,5 |
0,019 |
0,052 |
0,075 | |
|
dн = 60 мм | ||||
|
Rут = 1,0 |
0 |
0 |
0 | |
|
Rут = 2,5 |
0 |
0 |
0 | |
При внутреннем утеплении стен часто используют тонкий рулонный утеплитель, обклеенный фольгой, с созданием воздушной прослойки с внутренней стороны. В случае применения такого утеплителя совместно с обычным утеплением в таблице Г.38 вместо термического сопротивления утеплителя следует использовать значение суммарного термического сопротивления всех слоев утепления, включая воздушную прослойку, рассчитанное по формуле (Г.1).
Г.6 Примыкание стен к цокольному ограждению
Все варианты примыкания стен к цокольному ограждению разделяют на несколько качественно различных случаев: примыкания стен к цокольному ограждению при отапливаемом подвале, при неотапливаемом (проветриваемом) подвале и для полов по грунту. В настоящем разделе рассматривают только случай неотапливаемого (проветриваемого) подвала, когда температура воздуха под утепленным полом близка к температуре наружного воздуха. Этому случаю соответствуют наибольшие удельные потери теплоты. Для всех вариантов предполагают утепление плиты перекрытия сверху.
Наибольшее влияние на приведенное сопротивление теплопередаче оказывают примыкания стен к цокольному ограждению в малоэтажных зданиях.
Для стен с внутренним утеплением и тонкостенных панелей при правильной установке панелей учет примыкания к цокольному ограждению при расчетах не требуется.
Кладка из блоков легкого, особо легкого и ячеистого бетонов или крупноформатных камней с облицовкой кирпичом
Параметры, влияющие на потери теплоты через узел:
- толщина кладки dкл, мм;
- теплопроводность камня λкам, Вт/(м·°C);
- термическое сопротивление слоя утеплителя на плите перекрытия Rут, м2·°C/Вт.
|
|
Rут = 1,88 | |||
|
λкл = 0,1 |
λкл = 0,18 |
λкл = 0,32 | ||
|
dкл = 200 |
0,071 |
0,106 |
0,157 | |
|
dкл = 300 |
0,084 |
0,128 |
0,197 | |
|
dкл = 500 |
0,106 |
0,167 |
0,251 | |
|
Rут = 3,13 | ||||
|
dкл = 200 |
0,06 |
0,092 |
0,138 | |
|
dкл = 300 |
0,07 |
0,108 |
0,172 | |
|
dкл = 500 |
0,089 |
0,143 |
0,219 | |
|
Rут = 5,0 | ||||
|
dкл = 200 |
0,053 |
0,083 |
0,125 | |
|
dкл = 300 |
0,06 |
0,093 |
0,151 | |
|
dкл = 500 |
0,074 |
0,12 |
0,189 | |
|
Rут = 7,81 | ||||
|
dкл = 200 |
0,052 |
0,079 |
0,116 | |
|
dкл = 300 |
0,054 |
0,083 |
0,135 | |
|
dкл = 500 |
0,063 |
0,103 |
0,161 | |
|
Примечание - Выбранный вариант примыкания стены к цокольному ограждению оказывает серьезное влияние на тепловые потери через конструкцию и должен быть учтен как при расчете приведенного сопротивления теплопередаче стен, так и при расчете необходимой мощности приборов отопления в помещениях первого этажа. | ||||
Стена - с наружным утеплением и тонкой облицовкой (штукатурный или вентилируемый фасад) или трехслойная с облицовкой кирпичом
Параметры, влияющие на потери теплоты через узел:
- термическое сопротивление слоя утеплителя на стене Rут1, м2·°C/Вт;
- теплопроводность основания λо, Вт/(м·°C);
- термическое сопротивление слоя утеплителя на плите перекрытия Rут2, м2·°C/Вт.
|
|
Rут2 = 1,88 | |||
|
λо = 0,2 |
λо = 0,6 |
λо = 1,8 | ||
|
Rут1 = 1,5 |
0,156 |
0,364 |
0,663 | |
|
Rут1 = 3,0 |
0,175 |
0,4 |
0,71 | |
|
Rут1 = 6,0 |
0,194 |
0,424 |
0,735 | |
|
Rут2 = 3,13 | ||||
|
Rут1 = 1,5 |
0,135 |
0,333 |
0,635 | |
|
Rут1 = 3,0 |
0,152 |
0,363 |
0,679 | |
|
Rут1 = 6,0 |
0,168 |
0,385 |
0,703 | |
|
Rут2 = 5,0 | ||||
|
Rут1 = 1,5 |
0,115 |
0,293 |
0,593 | |
|
Rут1 = 3,0 |
0,128 |
0,319 |
0,629 | |
|
Rут1 = 6,0 |
0,141 |
0,337 |
0,65 | |
|
Rут2 = 7,81 | ||||
|
Rут1 = 1,5 |
0,099 |
0,251 |
0,538 | |
|
Rут1 = 3,0 |
0,107 |
0,271 |
0,566 | |
|
Rут1 = 6,0 |
0,116 |
0,284 |
0,581 | |
|
Примечание - Как видно из таблиц Г.39 и Г.40, значения удельных потерь теплоты через узел примыкания стены к цокольному ограждению в наибольшей степени зависят от теплопроводности внутреннего слоя. При теплопроводности основания, большей 0,3 Вт/(м·°C), выбранный узел оказывает серьезное влияние на тепловые потери через ограждающую конструкцию и должен быть учтен как при расчете приведенного сопротивления теплопередаче стен, так и при расчете необходимой мощности приборов отопления в помещениях первого этажа. | ||||
В ряде случаев для повышения характеристик узла кладку разрывают элементами НТЭ, расположенными на той же высоте, что и утепление перекрытия.
|
|
Rут2 = 1,88 | |||
|
λо = 0,6 |
λо = 1,8 | |||
|
Rут1 = 1,5 |
0,223 |
0,292 | ||
|
Rут1 = 3,0 |
0,268 |
0,330 | ||
|
Rут1 = 6,0 |
0,294 |
0,351 | ||
|
Rут2 = 3,13 | ||||
|
Rут1 = 1,5 |
0,207 |
0,288 | ||
|
Rут1 = 3,0 |
0,248 |
0,318 | ||
|
Rут1 = 6,0 |
0,272 |
0,335 | ||
|
Rут2 = 5,0 | ||||
|
Rут1 = 1,5 |
0,173 |
0,240 | ||
|
Rут1 = 3,0 |
0,206 |
0,261 | ||
|
Rут1 = 6,0 |
0,226 |
0,274 | ||
|
Rут2 = 7,81 | ||||
|
Rут1 = 1,5 |
0,147 |
0,204 | ||
|
Rут1 = 3,0 |
0,171 |
0,215 | ||
|
Rут1 = 6,0 |
0,184 |
0,220 | ||
|
Примечание - Приведены значения удельных потерь теплоты для НТЭ, со средней эффективной теплопроводностью в вертикальном направлении 0,28 Вт/(м·°C). Применение НТЭ для стен с основанием из материалов с теплопроводностью ниже теплопроводности НТЭ не имеет смысла. | ||||
|
|
Rут2 = 1,88 | |||
|
λо = 0,6 |
λо = 1,8 | |||
|
Rут1 = 1,5 |
0,323 |
0,298 | ||
|
Rут1 = 3,0 |
0,313 |
0,288 | ||
|
Rут1 = 6,0 |
0,306 |
0,281 | ||
|
Rут2 = 3,13 | ||||
|
Rут1 = 1,5 |
0,260 |
0,223 | ||
|
Rут1 = 3,0 |
0,248 |
0,208 | ||
|
Rут1 = 6,0 |
0,240 |
0,198 | ||
|
Rут2 = 5,0 | ||||
|
Rут1 = 1,5 |
0,215 |
0,179 | ||
|
Rут1 = 3,0 |
0,198 |
0,158 | ||
|
Rут1 = 6,0 |
0,188 |
0,146 | ||
|
Rут2 = 7,81 | ||||
|
Rут1 = 1,5 |
0,196 |
0,167 | ||
|
Rут1 = 3,0 |
0,173 |
0,138 | ||
|
Rут1 = 6,0 |
0,160 |
0,121 | ||
|
Примечание - Приведены значения удельных потерь теплоты для НТЭ, со средней эффективной теплопроводностью в вертикальном направлении 0,28 Вт/(м·°C). Применение НТЭ для стен с основанием из материалов с теплопроводностью ниже теплопроводности НТЭ не имеет смысла. | ||||
Г.7 Теплозащитные элементы, образуемые различными видами связей в трехслойных железобетонных панелях
Гибкие связи
Гибкие связи из стали могут изготовляться из коррозионно-стойкой или конструкционной углеродистой стали. Теплопроводность стали зависит от ее химического состава. Гибкие связи могут располагаться к плоскости стены под углом, отличным от прямого. Учет влияния теплопроводности стали и угла расположения арматуры связей к плоскости стены следует проводить по формуле пересчета (Г.3).
В таблице Г.41 показана зависимость удельных потерь теплоты от площади сечения арматуры. Данные приведены для арматуры теплопроводностью 58 Вт/(м·°C), расположенной перпендикулярно плоскости стены.
В случае, если теплопроводность арматуры отличается от 58 Вт/(м·°C), или она расположена не перпендикулярно плоскости стены, данные по таблице Г.41 следует принимать с поправкой, а именно: использовать эффективную площадь сечения арматуры, определяемую по формуле
, (Г.3)
где Sарм - реальная площадь сечения арматуры, мм2;
λарм - реальная теплопроводность арматуры, Вт/(м°C);
φ - угол между арматурой и перпендикуляром к плоскости стены.
|
S*арм, мм2 |
0,28 |
1,1 |
3,1 |
12,6 |
28,3 |
50,3 |
78,5 |
131 |
|
χарм, Вт/°C |
0,0001 |
0,0004 |
0,0011 |
0,004 |
0,008 |
0,014 |
0,021 |
0,031 |
Приведенные в таблице Г.41 значения площадей соответствуют арматуре круглого сечения диаметрами 0,6; 1,2; 2; 4; 6; 8; 13 мм.
В таблице Г.41 малые по величине удельные потери теплоты приведены с точностью до четвертого знака после запятой для возможности проведения корректной интерполяции значений. Для арматуры, расположенной с частотой менее 6 шт./м2 достаточно применять данные с точностью до третьего знака после запятой. Теплотехнические неоднородности, общее значение удельного потока теплоты которых меньше 0,001 Вт/(м2·°C), допускается не учитывать.
В случае, если эффективная площадь сечения арматуры, определяемая по формуле (Г.3), менее 0,28 мм2, ее можно не учитывать в расчетах, за исключением случаев расположения арматуры с частотой более 10 шт./м2.
Сетки
Связи в виде сеток применяются как в трехслойных железобетонных панелях, так и в других распространенных ограждающих конструкциях, например в трехслойных стенах с облицовкой кирпичом. В настоящем подразделе приведены данные в наиболее общем виде, которые могут быть приведены ко всем подобным конструкциям. Непосредственно к трехслойным железобетонным панелям относятся графы " λо = 1,8" в таблицах Г.42 - Г.44.
Параметры, влияющие на потери теплоты через узел:
- толщина слоя утеплителя dут, м;
- теплопроводность основания λо, Вт/(м·°C);
- удельное сечение металла на 1 пог. м сетки, см2/м.
Под последним параметром понимается суммарная площадь сечения всех стержней сетки расположенных поперек стены в 1 пог. м сетки.
Результаты расчета сведены в таблицы Г.42 - Г.44.
|
dут, мм |
λо = 0,2 |
λо = 0,6 |
λо = 1,8 |
|
50 |
0,005 |
0,008 |
0,011 |
|
80 |
0,005 |
0,007 |
0,009 |
|
100 |
0,004 |
0,007 |
0,008 |
|
150 |
0,004 |
0,005 |
0,006 |
|
dут, мм |
λо = 0,2 |
λо = 0,6 |
λо = 1,8 |
|
50 |
0,018 |
0,031 |
0,043 |
|
80 |
0,018 |
0,028 |
0,035 |
|
100 |
0,017 |
0,026 |
0,031 |
|
150 |
0,015 |
0,021 |
0,024 |
|
dут, мм |
λо = 0,2 |
λо = 0,6 |
λо = 1,8 |
|
50 |
0,041 |
0,071 |
0,101 |
|
80 |
0,042 |
0,068 |
0,088 |
|
100 |
0,042 |
0,064 |
0,08 |
|
150 |
0,039 |
0,054 |
0,064 |
Шпонки
В таблице Г.45 показана зависимость удельных потерь теплоты от площади сечения шпонки. Данные приведены для шпонок из железобетона.
|
Sшп, см2 |
24 |
40 |
71,5 |
135 |
262 |
516 |
1025 |
|
χшп, Вт/°C |
0,021 |
0,039 |
0,072 |
0,123 |
0,191 |
0,266 |
0,332 |
Ребра
В таблице Г.46 показана зависимость удельных потерь теплоты от толщины ребра. Данные приведены для ребер из железобетона.
|
dр, см |
3,5 |
7,1 |
14,2 |
28,2 |
|
Ψр, Вт/(м °C) |
0,255 |
0,394 |
0,544 |
0,671 |
Г.8 Узлы наружных каркасно-обшивных стен
Для проведения расчетов приведенного сопротивления теплопередаче наружных каркасно-обшивных стен (КОС) с применением каркаса из легких стальных тонкостенных конструкций (ЛСТК) приведены характеристики для следующих групп узлов:
1) Стойка (направляющая) каркаса из термопрофиля стены из ЛСТК.
2) Узлы сопряжения навесной стены из ЛСТК на кронштейнах и железобетонной плиты перекрытия (точечный элемент).
3) Узлы сопряжения стены из ЛСТК и железобетонной плиты перекрытия. Частичное опирание на плиту перекрытия (линейный элемент).
4) Узлы сопряжения стены из ЛСТК и диска перекрытия из ЛСТК (линейный элемент).
5) Узел сопряжения стены из ЛСТК с частичным опиранием на железобетонную плиту перекрытия (линейный элемент).
6) Узел сопряжения стены из ЛСТК с совмещенным кровельным покрытием из ЛСТК (линейный элемент).
7) Узел сопряжения стены из ЛСТК и скатной кровли из ЛСТК (точечный элемент).
8) Углы стен из ЛСТК (линейный элемент).
9) Примыкание стены из ЛСТК к цоколю. Железобетонная плита перекрытия (линейный элемент).
10) Примыкание стены из ЛСТК к цоколю. Диск перекрытия из ЛСТК (линейный элемент).
Характеристики элементов определяются расчетом температурных полей или по таблицам, приведенным ниже.
Приведенные ниже данные справедливы для узлов конструкций ЛСТК с теплопроводностью утеплителя от 0,037 до 0,045 Вт/(м·°C).
Для расчетов узлов с термопрофилем необходимо знать его характеристики, так как разнообразие термопрофилей довольно велико. Далее приведены характеристики для трех наиболее распространенных вариантов перфорации. Кроме того, при необходимости в конкретных узлах варьируется толщина профиля.
Для удобства расчетов в качестве характеристики термопрофиля принята теплопроводность перфорированной зоны, за которую принимается зона в 120 мм в центре термопрофиля, включающая в себя все термопросечки, пространство между ними и некоторую область вокруг них.
Ниже перечислены три варианта перфорации, которые используются далее. Для удобства они условно обозначены "А", "Б" и "В".
Термопрофиль А
Схема перфорации показана на рисунке Г.4.

Рисунок Г.4 - Схема перфорации А
Перфорация содержит шесть полос прорезей.
Эквивалентная теплопроводность зоны перфорации (120 мм) составляет 7 Вт/(м·°C).
Термопрофиль Б
Схема перфорации показана на рисунке Г.5.

Рисунок Г.5 - Схема перфорации Б
Перфорация содержит шесть полос прорезей.
Эквивалентная теплопроводность зоны перфорации (120 мм) составляет 6,3 Вт/(м·°C).
Термопрофиль В
Схема перфорации аналогична показанной на рисунке Г.5. Перфорация содержит восемь полос прорезей.
Эквивалентная теплопроводность зоны перфорации (120 мм) составляет 4,8 Вт/(м·°C).
Стойка (направляющая) каркаса из термопрофиля стены из ЛСТК
Термопрофиль проходит слой теплоизоляции насквозь.
Параметры, влияющие на потери теплоты через узел:
- толщина термопрофиля dпр, мм;
- вариант термопрофиля.
Толщина панели оказывает малое влияние на удельные потери теплоты через узел. Это объясняется тем, что дополнительные потери теплоты практически полностью проходят по профилю и, хотя с изменением толщины панели его ширина меняется, но термическое сопротивление остается практически неизменным, так как в основном определяется перфорированной зоной. Для неперфорированного профиля толщина панели будет оказывать существенное влияние. Соответственно в таблице Г.47 приведены удельные потери теплоты в зависимости от толщины термопрофиля и способа его перфорации. Данные таблицы распространяются на панели с толщиной утеплителя от 120 до 250 мм.
|
| ||||
|
А |
Б |
В | ||
|
dпр = 0,7 |
0,029 |
0,027 |
0,022 | |
|
dпр = 1,2 |
0,046 |
0,042 |
0,034 | |
|
dпр = 2,0 |
0,067 |
0,062 |
0,051 | |
При расчетах суммарных потерь тепла по стойкам и направляющим каркаса КОС следует подсчитывать погонную длину всех без исключения термопрофилей независимо от того, что часть из них показана в узлах других таблиц (таблицы Г.48 - Г.58).
При этом учитывать следует только термопрофили, пересекающие слой утеплителя и находящиеся на участках конструкций, прилегающих к отапливаемым помещениям. Например, не следует учитывать термопрофили в парапетах и иных частях конструкций, выходящих за отапливаемый контур здания.
Стойка (направляющая) каркаса из термопрофиля для конструкций из ЛСТК с дополнительным наружным утеплением
Конструкция состоит из панели с термопрофилем и наружного утепления по профилю, перфорированному для 100 мм толщины дополнительного утепления и неперфорированному для 50 мм дополнительного утепления. Профиль панели и профиль дополнительного утепления не совпадают по взаимному расположению. Профиль в дополнительном утеплении проходит с шагом 600 мм.
Общий вид конструкции представлен на рисунке Г.6.

Примечание - Здесь и далее в Г.8 знак "*" на рисунках в таблицах и в нижнем индексе у толщины профиля dпр* указывают на дополнительный профиль в отличие от основного.
Рисунок Г.6 - Расположение профиля в конструкциях с дополнительным утеплением
Параметры, влияющие на потери теплоты через узел:
- толщина утеплителя панели dут, мм;
- толщина дополнительного утеплителя dдоп, мм;
- толщина термопрофиля в панели dпр, мм;
- толщина профиля в дополнительном утеплении dпр*, мм.
Влияние толщины утеплителя панели на удельные потери теплоты через узел мало, так как перфорация профиля панели не зависит от толщины панели в широких пределах, а удельные потери теплоты определяются в первую очередь видом перфорации и толщиной металла профиля. В таблице Г.48 приведены удельные потери теплоты узла без указания толщины панели. Таблица может применяться для КОС с толщиной утеплителя от 120 до 200 мм. В таблице приведены линейные удельные потери теплоты, пересчитанные на 1 пог. м профиля в панели.
|
dпр = 0,7 мм |
dпр = 1,2 мм |
dпр = 2,0 мм | |
|
dдоп = 50 мм dпр* = 0,7 мм |
0,023 |
0,030 |
0,039 |
|
dдоп = 50 мм dпр* = 1,0 мм |
0,023 |
0,031 |
0,040 |
|
dдоп = 100 мм dпр* = 0,7 мм |
0,025 |
0,029 |
0,034 |
|
dдоп = 100 мм dпр* = 1,0 мм |
0,027 |
0,031 |
0,036 |
При расчетах суммарных потерь тепла по стойкам и направляющим каркаса КОС следует подсчитывать погонную длину всех без исключения термопрофилей в панелях независимо от того, что часть из них показана в других таблицах.
При этом учитывать следует только термопрофили, пересекающие слой утеплителя и находящиеся на участках конструкций, прилегающих к отапливаемым помещениям. Например, не следует учитывать термопрофили в парапетах и иных частях конструкций, выходящих за отапливаемый контур здания.
Таблицы Г.47 и Г.48 могут применяться для расчетов как стеновых, так и кровельных панелей при условии конструктивного совпадения.
Сопряжение навесной стены из ЛСТК на кронштейнах и железобетонной плиты перекрытия
Параметры, влияющие на потери теплоты через узел:
- толщина слоя утеплителя стены dут, мм;
- средняя площадь сечения кронштейна Sкр, мм2.
|
|
dут, мм |
Sкр, мм | ||
|
1200 |
1600 |
2000 | ||
|
125 |
0,108 |
0,114 |
0,118 | |
|
150 |
0,106 |
0,112 |
0,117 | |
|
200 |
0,100 |
0,108 |
0,114 | |
Крепление на кронштейнах навесной стены из ЛСТК с дополнительным наружным утеплением к железобетонной плите перекрытия
Параметры, влияющие на потери теплоты через узел:
- толщина утеплителя панели dут, мм;
- толщина дополнительного утеплителя dдоп, мм;
- толщина профиля в дополнительном утеплении dпр*, мм.
Влияние площади сечения кронштейна и вида профиля в панели мало, так как они закрыты наружным утеплителем.
В таблице Г.50 приведены удельные потери теплоты узла без указания площади сечения кронштейна. Таблица Г.50 может применяться для крепления КОС кронштейнами с площадью сечения кронштейна от 1200 до 2000 мм2.
|
|
dут, мм | |||
|
120 |
150 |
200 | ||
|
dдоп = 50 мм dпр* = 0,7 мм |
0,026 |
0,027 |
0,029 | |
|
dдоп = 50 мм dпр* = 1,0 мм |
0,026 |
0,027 |
0,029 | |
|
dдоп = 100 мм dпр* = 0,7 мм |
0,012 |
0,014 |
0,016 | |
|
dдоп = 100 мм dпр* = 1,0 мм |
0,014 |
0,015 |
0,017 | |
Сопряжение стены из ЛСТК и железобетонной плиты перекрытия. Частичное опирание на плиту перекрытия
Параметры, влияющие на потери теплоты через узел:
- толщина слоя утеплителя стены dут, мм;
- средняя толщина профиля dпр, мм.
В таблице Г.51 учтено, что между термопрофилями и железобетонной плитой перекрытия присутствуют прокладки по 10 мм из эффективного утеплителя.
|
|
dут, мм |
dпр, мм | ||
|
0,7 |
1,2 |
2 | ||
|
125 |
0,121 |
0,128 |
0,134 | |
|
150 |
0,142 |
0,149 |
0,157 | |
|
200 |
0,192 |
0,202 |
0,205 | |
Удельные потери теплоты узла даны без учета потерь теплоты по направляющим каркаса КОС (см. таблицу Г.47 и пояснения к ней). Таким образом, потери по направляющим (два термопрофиля) рассчитывают отдельно по таблице Г.47 в составе расчета всех термопрофилей каркаса КОС.
В этом узле удельные потери теплоты достаточно велики и с увеличением толщины утеплителя быстро возрастают. Таким образом, перфорация двух профилей все больше нивелируется.
Сопряжение стены из ЛСТК с дополнительным наружным утеплением и железобетонной плиты перекрытия. Полное опирание панели на плиту перекрытия
Параметры, влияющие на потери теплоты через узел:
- толщина утеплителя панели dут, мм;
- толщина дополнительного утеплителя dдоп, мм;
- толщина термопрофиля в панели dпр, мм;
- толщина профиля в дополнительном утеплении dпр*, мм.
|
|
dут, мм | |||
|
120 |
150 |
200 | ||
|
dдоп = 50 мм dпр* = 0,7 мм |
0,161 |
0,167 |
0,173 | |
|
dдоп = 50 мм dпр* = 1,0 мм |
0,163 |
0,169 |
0,174 | |
|
dдоп = 100 мм dпр* = 0,7 мм |
0,046 |
0,052 |
0,061 | |
|
dдоп = 100 мм dпр* = 1,0 мм |
0,048 |
0,054 |
0,062 | |
Удельные потери теплоты узла даны без учета потерь теплоты по направляющим каркаса КОС (см. таблицу Г.48). Таким образом, потери по направляющим (два термопрофиля) рассчитываются отдельно по таблице Г.48 в составе расчета всех термопрофилей каркаса КОС.
|
|
dут, мм | |||
|
120 |
150 |
200 | ||
|
dдоп = 50 мм dпр* = 0,7 мм |
0,150 |
0,156 |
0,161 | |
|
dдоп = 50 мм dпр* = 1,0 мм |
0,152 |
0,158 |
0,163 | |
|
dдоп = 100 мм dпр* = 0,7 мм |
0,039 |
0,046 |
0,054 | |
|
dдоп = 100 мм dпр* = 1,0 мм |
0,041 |
0,048 |
0,056 | |
Удельные потери теплоты узла даны без учета потерь теплоты по направляющим каркаса КОС (см. таблицу Г.48). Таким образом, потери по направляющим (два термопрофиля) рассчитывают отдельно по таблице Г.48 в составе расчета всех термопрофилей каркаса КОС.
|
|
dут, мм, мм | |||
|
120 |
150 |
200 | ||
|
dдоп = 50 мм dпр* = 0,7 мм |
0,137 |
0,143 |
0,148 | |
|
dдоп = 50 мм dпр* = 1,0 мм |
0,139 |
0,145 |
0,150 | |
|
dдоп = 100 мм dпр* = 0,7 мм |
0,031 |
0,038 |
0,047 | |
|
dдоп = 100 мм dпр* = 1,0 мм |
0,034 |
0,041 |
0,049 | |
Удельные потери теплоты узла даны без учета потерь теплоты по направляющим каркаса КОС (см. таблицу Г.48). Таким образом, потери по направляющим (два термопрофиля) рассчитывают отдельно по таблице Г.48 в составе расчета всех термопрофилей каркаса КОС.
Удельные потери теплоты в таблицах Г.52 - Г.54 с увеличением толщины термопрофиля панели уменьшаются. Это происходит, потому что удельные потери теплоты самого профиля учитывают отдельно, и в таблицах Г.52 - Г.54 приведены "очищенные" величины. Полные удельные потери теплоты узла немного увеличиваются с увеличением толщины термопрофиля.
Сопряжение стены из ЛСТК с дополнительным наружным утеплением и железобетонной плиты перекрытия. Частичное опирание панели на плиту перекрытия
Параметры, влияющие на потери теплоты через узел:
- толщина утеплителя панели dут, мм;
- толщина дополнительного утеплителя dдоп, мм;
- толщина термопрофиля в панели dпр, мм;
- толщина профиля в дополнительном утеплении dпр*, мм.
Панель сдвинута относительно торца плиты перекрытия на 50 мм.
|
|
dут, мм | |||
|
120 |
150 |
200 | ||
|
dдоп = 50 мм dпр* = 0,7 мм |
0,048 |
0,056 |
0,066 | |
|
dдоп = 50 мм dпр* = 1,0 мм |
0,049 |
0,056 |
0,066 | |
|
dдоп = 100 мм dпр* = 0,7 мм |
0,003 |
0,009 |
0,018 | |
|
dдоп = 100 мм dпр* = 1,0 мм |
0,003 |
0,009 |
0,017 | |
Удельные потери теплоты узла даны без учета потерь теплоты по направляющим каркаса КОС (см. таблицу Г.48). Таким образом, потери по направляющим (два термопрофиля) рассчитывают отдельно по таблице Г.48 в составе расчета всех термопрофилей каркаса КОС.
|
|
dут, мм | |||
|
120 |
150 |
200 | ||
|
dдоп = 50 мм dпр* = 0,7 мм |
0,045 |
0,053 |
0,063 | |
|
dдоп = 50 мм dпр* = 1,0 мм |
0,045 |
0,053 |
0,063 | |
|
dдоп = 100 мм dпр* = 0,7 мм |
0,000 |
0,007 |
0,016 | |
|
dдоп = 100 мм dпр* = 1,0 мм |
0,000 |
0,006 |
0,015 | |
Удельные потери теплоты узла даны без учета потерь теплоты по направляющим каркаса КОС (см. таблицу Г.48). Таким образом, потери по направляющим (два термопрофиля) рассчитывают отдельно по таблице Г.48 в составе расчета всех термопрофилей каркаса КОС.
|
|
dут, мм | |||
|
120 |
150 |
200 | ||
|
dдоп = 50 мм dпр* = 0,7 мм |
0,041 |
0,048 |
0,058 | |
|
dдоп = 50 мм dпр* = 1,0 мм |
0,041 |
0,049 |
0,058 | |
|
dдоп = 100 мм dпр* = 0,7 мм |
-0,003 |
0,003 |
0,012 | |
|
dдоп = 100 мм dпр* = 1,0 мм |
-0,003 |
0,004 |
0,012 | |
Удельные потери теплоты узла даны без учета потерь теплоты по направляющим каркаса КОС (см. таблицу Г.48). Таким образом, потери по направляющим (два термопрофиля) рассчитывают отдельно по таблице Г.48 в составе расчета всех термопрофилей каркаса КОС.
Удельные потери теплоты в таблицах Г.55 - Г.57 с увеличением толщины термопрофиля панели уменьшаются. Это происходит, потому что удельные потери теплоты самого профиля учитывают отдельно, и в таблицах Г.55 - Г.57 приведены "очищенные" величины. Полные удельные потери теплоты узла немного увеличиваются с увеличением толщины термопрофиля.
Сопряжение стены из ЛСТК и диска перекрытия из ЛСТК
Параметры, влияющие на потери теплоты через узел:
- средняя толщина профиля dпр, мм;
- толщина перекрытия dпер, мм.
Толщина утеплителя стены оказывает малое влияние на удельные потери теплоты через узел.
|
|
dпер, мм |
dпр, мм | ||
|
0,7 |
1,2 |
2 | ||
|
200 |
0,018 |
0,022 |
0,021 | |
|
250 |
0,014 |
0,018 |
0,017 | |
|
300 |
0,009 |
0,014 |
0,013 | |
Удельные потери теплоты узла даны без учета потерь теплоты по направляющим каркаса КОС (см. таблицу Г.47 и пояснения к ней). Таким образом, потери по направляющим (два термопрофиля) рассчитывают отдельно по таблице Г.47 в составе расчета всех термопрофилей каркаса КОС.
Сопряжение стены из ЛСТК с частичным опиранием на железобетонную плиту покрытия
Параметры, влияющие на потери теплоты через узел:
- толщина слоя утеплителя стены dут1, мм;
- средняя толщина профиля dпр, мм.
Зависимость удельных потерь теплоты от толщины слоя утеплителя покрытия крайне мала и здесь не учитывается.
|
|
dут1, мм |
dпр, мм | ||
|
0,7 |
1,2 |
2 | ||
|
125 |
0,221 |
0,233 |
0,243 | |
|
150 |
0,238 |
0,251 |
0,261 | |
|
200 |
0,300 |
0,316 |
0,320 | |
Удельные потери теплоты узла даны без учета потерь теплоты по направляющим каркаса КОС (см. таблицу Г.47 и пояснения к ней). Таким образом, потери по направляющим (два термопрофиля) рассчитывают отдельно по таблице Г.47 в составе расчета всех термопрофилей каркаса КОС.
Сопряжение стены из ЛСТК с совмещенным кровельным покрытием из ЛСТК
Параметры, влияющие на потери теплоты через узел:
- толщина слоя утеплителя стены dут1, мм;
- средняя толщина профиля dпр, мм.
Зависимость удельных потерь теплоты от толщины слоя утеплителя покрытия крайне мала и здесь не учитывается.
|
|
dут1, мм |
dпр, мм | ||
|
0,7 |
1,2 |
2 | ||
|
125 |
0,073 |
0,078 |
0,079 | |
|
150 |
0,052 |
0,054 |
0,056 | |
|
200 |
0,043 |
0,046 |
0,047 | |
Удельные потери теплоты узла даны без учета потерь теплоты по направляющим каркаса КОС (см. таблицу Г.47 и пояснения к ней). Таким образом, потери по направляющим (один термопрофиль) рассчитывают отдельно по таблице Г.47 в составе расчета всех термопрофилей каркаса КОС.
Сопряжение стены из ЛСТК и скатной кровли из ЛСТК
Параметры, влияющие на потери теплоты через узел:
- толщина слоя утеплителя стены dут1, мм;
- толщина утеплителя кровли 1 dут2, мм.
- толщина утеплителя кровли 2 dут3, мм.
- средняя толщина профиля dпр, мм.
Из-за большого числа варьируемых параметров удельные потери теплоты узла сведены в группу таблиц Г.61 - Г.63. Каждая таблица отличается от остальных толщиной слоя утеплителя кровли.
|
|
dут3 = 50 мм | |||
|
dут1, мм |
dпр = 0,7 |
dпр = 1,2 |
dпр = 2 | |
|
125 |
0,08 |
0,072 |
0,058 | |
|
150 |
0,076 |
0,068 |
0,056 | |
|
200 |
0,074 |
0,064 |
0,052 | |
|
dут3 = 100 мм | ||||
|
125 |
0,063 |
0,054 |
0,042 | |
|
150 |
0,059 |
0,051 |
0,039 | |
|
200 |
0,055 |
0,047 |
0,036 | |
|
|
dут3 = 50 мм | |||
|
dут1, мм |
dпр = 0,7 |
dпр = 1,2 |
dпр = 2 | |
|
125 |
0,085 |
0,077 |
0,062 | |
|
150 |
0,082 |
0,073 |
0,06 | |
|
200 |
0,08 |
0,069 |
0,057 | |
|
dут3 = 100 мм | ||||
|
125 |
0,069 |
0,061 |
0,049 | |
|
150 |
0,065 |
0,057 |
0,045 | |
|
200 |
0,061 |
0,053 |
0,041 | |
|
|
dут3 = 50 мм | |||
|
dут1, мм |
dпр = 0,7 |
dпр = 1,2 |
dпр = 2 | |
|
125 |
0,088 |
0,08 |
0,065 | |
|
150 |
0,085 |
0,076 |
0,063 | |
|
200 |
0,083 |
0,072 |
0,06 | |
|
dут3 = 100 мм | ||||
|
125 |
0,074 |
0,065 |
0,053 | |
|
150 |
0,069 |
0,061 |
0,049 | |
|
200 |
0,065 |
0,056 |
0,044 | |
Удельные потери теплоты узла даны без учета потерь теплоты по направляющим каркаса КОС (см. таблицу Г.47 и пояснения к ней). Таким образом, потери по направляющим (один термопрофиль) рассчитывают отдельно по таблице Г.47 в составе расчета всех термопрофилей каркаса КОС.
Углы стен из ЛСТК
Параметр, влияющий на потери теплоты через узел:
- толщина слоя утеплителя стены dут, мм.
|
|
Выпуклый угол | ||
|
dут = 125 мм |
dут = 150 мм |
dут = 200 мм | |
|
0,006 |
0,019 |
0,009 | |
|
Вогнутый угол | |||
|
-0,077 |
-0,064 |
-0,071 | |
Геометрия угла стены снижает влияние термопрофилей на дополнительные потери теплоты. Так как термопрофили учитывают отдельно, это приводит к эффективному снижению удельных потерь теплоты через узел.
Удельные потери теплоты узла даны без учета потерь теплоты по направляющим каркаса КОС (см. таблицу Г.47 и пояснения к ней). Таким образом, потери по направляющим (два термопрофиля) рассчитывают отдельно по таблице Г.47 в составе расчета всех термопрофилей каркаса КОС.
Углы стен из ЛСТК с дополнительным утеплением
Параметры, влияющие на потери теплоты через узел:
- толщина утеплителя панели dут, мм;
- толщина дополнительного утеплителя dдоп, мм;
- толщина профиля в дополнительном утеплении dпр*, мм.
Влияние толщины термопрофиля в панели мало.
|
|
dут, мм | |||
|
120 |
150 |
200 | ||
|
dдоп = 50 мм dпр* = 0,7 мм |
0,039 |
0,033 |
0,030 | |
|
dдоп = 50 мм dпр* = 1,0 мм |
0,039 |
0,033 |
0,030 | |
|
dдоп = 100 мм dпр* = 0,7 мм |
0,018 |
0,016 |
0,015 | |
|
dдоп = 100 мм dпр* = 1,0 мм |
0,019 |
0,016 |
0,015 | |
Геометрия угла стены снижает влияние термопрофилей на дополнительные потери теплоты. Так как термопрофили учитывают отдельно, это приводит к эффективному снижению удельных потерь теплоты через узел.
Следует обратить внимание, что в данном узле учитываются только два термопрофиля, так как третий расположен вдоль облицовки (не пересекает утеплитель).
Удельные потери теплоты узла даны без учета потерь теплоты по направляющим каркаса КОС (см. таблицу Г.48). Таким образом, потери по направляющим (два термопрофиля) рассчитывают отдельно по таблице Г.48 в составе расчета всех термопрофилей каркаса КОС.
|
|
dут, мм | |||
|
120 |
150 |
200 | ||
|
dдоп = 50 мм dпр* = 0,7 мм |
-0,078 |
-0,078 |
-0,080 | |
|
dдоп = 50 мм dпр* = 1,0 мм |
-0,078 |
-0,078 |
-0,080 | |
|
dдоп = 100 мм dпр* = 0,7 мм |
-0,084 |
-0,085 |
-0,087 | |
|
dдоп = 100 мм dпр* = 1,0 мм |
-0,084 |
-0,086 |
-0,088 | |
Следует обратить внимание, что в данном узле учитывают только два термопрофиля, так как третий расположен вдоль облицовки (не пересекает утеплитель).
Удельные потери теплоты узла даны без учета потерь теплоты по направляющим каркаса КОС (см. таблицу Г.48). Таким образом, потери по направляющим (два термопрофиля) рассчитывают отдельно по таблице Г.48 в составе расчета всех термопрофилей каркаса КОС.
Примыкание стены из ЛСТК к цоколю. Железобетонная плита перекрытия
Параметры, влияющие на потери теплоты через узел:
- толщина слоя утеплителя стены из ЛСТК dут, мм;
- средняя толщина профиля dпр, мм.
|
|
dут, мм |
dпр, мм | ||
|
0,7 |
1,2 |
2 | ||
|
125 |
0,044 |
0,054 |
0,067 | |
|
150 |
0,056 |
0,070 |
0,084 | |
|
200 |
0,104 |
0,124 |
0,136 | |
Удельные потери теплоты узла даны без учета потерь теплоты по направляющим каркаса КОС (см. таблицу Г.47 и пояснения к ней). Таким образом, потери по направляющим (один термопрофиль) рассчитывают отдельно по таблице Г.47 в составе расчета всех термопрофилей каркаса КОС.
Примыкание стены из ЛСТК к цоколю. Диск перекрытия из ЛСТК
Параметры, влияющие на потери теплоты через узел:
- толщина слоя утеплителя стены из ЛСТК dут, мм;
- средняя толщина профиля dпр, мм.
|
|
dут, мм |
dпр, мм | ||
|
0,7 |
1,2 |
2 | ||
|
125 |
0,026 |
0,033 |
0,040 | |
|
150 |
0,044 |
0,052 |
0,060 | |
|
200 |
0,089 |
0,101 |
0,108 | |
Удельные потери теплоты узла даны без учета потерь теплоты по направляющим каркаса КОС (см. таблицу Г.47 и пояснения к ней). Таким образом, потери по направляющим (один термопрофиль) рассчитывают отдельно по таблице Г.47 в составе расчета всех термопрофилей каркаса КОС.
Г.9 Узлы навесных фасадных систем
Системы с металлическим кронштейном и массивной подкладкой под кронштейн
Общий вид конструкции представлен на рисунке Г.7.

Рисунок Г.7 - Схема установки кронштейна
Основные параметры, влияющие на потери теплоты через узел:
- термическое сопротивление слоя утеплителя Rут, м2·°C/Вт;
- теплопроводность основания λо, Вт/(м·°C);
- материал кронштейна;
- средняя площадь сечения кронштейна в слое утеплителя плоскостью, параллельной стене, мм2.
При наличии утеплителя плоскость сечения кронштейна располагается по середине толщины слоя утеплителя. Для расчета принимается то значение площади сечения, которое располагается непосредственно на плоскости сечения (рисунок Г.7а).

Рисунок Г.7а - Назначение плоскости сечения кронштейна
В случае отсутствия слоя теплоизоляции в составе НФС влияние кронштейнов при расчете приведенного сопротивления теплопередаче стены не учитывают, так как в данном случае теплотехническая неоднородность не возникает.
Таблицы Г.64 - Г.104 применяют при толщине основания от 100 мм до 350 мм.
Кронштейны из коррозионно-стойкой стали площадью сечения 120 мм2
|
λо = 0,2 |
λо = 0,6 |
λо = 1,8 | |
|
Rут = 1,5 |
0,008 |
0,015 |
0,020 |
|
Rут = 3,0 |
0,008 |
0,012 |
0,014 |
|
Rут = 6,0 |
0,006 |
0,008 |
0,010 |
|
λо = 0,2 |
λо = 0,6 |
λо = 1,8 | |
|
Rут = 1,5 |
0,008 |
0,014 |
0,019 |
|
Rут = 3,0 |
0,008 |
0,011 |
0,014 |
|
Rут = 6,0 |
0,006 |
0,008 |
0,009 |
|
λо = 0,2 |
λо = 0,6 |
λо = 1,8 | |
|
Rут = 1,5 |
0,008 |
0,014 |
0,018 |
|
Rут = 3,0 |
0,008 |
0,011 |
0,014 |
|
Rут = 6,0 |
0,006 |
0,008 |
0,009 |
Кронштейны из коррозионно-стойкой стали площадью сечения 300 мм2
|
λо = 0,2 |
λо = 0,6 |
λо = 1,8 | |
|
Rут = 1,5 |
0,013 |
0,027 |
0,043 |
|
Rут = 3,0 |
0,015 |
0,022 |
0,032 |
|
Rут = 6,0 |
0,016 |
0,018 |
0,025 |
|
λо = 0,2 |
λо = 0,6 |
λо = 1,8 | |
|
Rут = 1,5 |
0,011 |
0,021 |
0,031 |
|
Rут = 3,0 |
0,014 |
0,019 |
0,026 |
|
Rут = 6,0 |
0,015 |
0,017 |
0,022 |
|
λо = 0,2 |
λо = 0,6 |
λо = 1,8 | |
|
Rут = 1,5 |
0,01 |
0,018 |
0,026 |
|
Rут = 3,0 |
0,013 |
0,017 |
0,023 |
|
Rут = 6,0 |
0,014 |
0,016 |
0,019 |
Кронштейны из коррозионно-стойкой стали площадью сечения 600 мм2
|
λо = 0,2 |
λо = 0,6 |
λо = 1,8 | |
|
Rут = 1,5 |
0,018 |
0,045 |
0,087 |
|
Rут = 3,0 |
0,024 |
0,044 |
0,069 |
|
Rут = 6,0 |
0,024 |
0,042 |
0,055 |
|
λо = 0,2 |
λо = 0,6 |
λо = 1,8 | |
|
Rут = 1,5 |
0,014 |
0,032 |
0,061 |
|
Rут = 3,0 |
0,019 |
0,035 |
0,047 |
|
Rут = 6,0 |
0,020 |
0,033 |
0,039 |
|
λо = 0,2 |
λо = 0,6 |
λо = 1,8 | |
|
Rут = 1,5 |
0,013 |
0,025 |
0,039 |
|
Rут = 3,0 |
0,018 |
0,03 |
0,037 |
|
Rут = 6,0 |
0,018 |
0,027 |
0,032 |
Кронштейны из коррозионно-стойкой стали площадью сечения 1000 мм2
|
λо = 0,2 |
λо = 0,6 |
λо = 1,8 | |
|
Rут = 1,5 |
0,026 |
0,069 |
0,116 |
|
Rут = 3,0 |
0,032 |
0,064 |
0,091 |
|
Rут = 6,0 |
0,031 |
0,049 |
0,061 |
|
λо = 0,2 |
λо = 0,6 |
λо = 1,8 | |
|
Rут = 1,5 |
0,022 |
0,051 |
0,077 |
|
Rут = 3,0 |
0,028 |
0,042 |
0,056 |
|
Rут = 6,0 |
0,025 |
0,037 |
0,045 |
|
λо = 0,2 |
λо = 0,6 |
λо = 1,8 | |
|
Rут = 1,5 |
0,020 |
0,041 |
0,060 |
|
Rут = 3,0 |
0,026 |
0,045 |
0,057 |
|
Rут = 6,0 |
0,027 |
0,039 |
0,046 |
Удельные потери теплоты всех кронштейнов из коррозионно-стойкой стали невелики и мало зависят от других влияющих параметров.
Кронштейны из оцинкованной стали площадью сечения 120 мм2
|
λо = 0,2 |
λо = 0,6 |
λо = 1,8 | |
|
Rут = 1,5 |
0,012 |
0,025 |
0,036 |
|
Rут = 3,0 |
0,013 |
0,023 |
0,030 |
|
Rут = 6,0 |
0,012 |
0,018 |
0,021 |
|
λо = 0,2 |
λо = 0,6 |
λо = 1,8 | |
|
Rут = 1,5 |
0,011 |
0,022 |
0,03 |
|
Rут = 3,0 |
0,012 |
0,021 |
0,027 |
|
Rут = 6,0 |
0,012 |
0,017 |
0,02 |
|
λо = 0,2 |
λо = 0,6 |
λо = 1,8 | |
|
Rут = 1,5 |
0,010 |
0,020 |
0,028 |
|
Rут = 3,0 |
0,012 |
0,020 |
0,025 |
|
Rут = 6,0 |
0,012 |
0,016 |
0,019 |
Кронштейны из оцинкованной стали площадью сечения 300 мм2
|
λо = 0,2 |
λо = 0,6 |
λо = 1,8 | |
|
Rут = 1,5 |
0,015 |
0,041 |
0,074 |
|
Rут = 3,0 |
0,020 |
0,042 |
0,063 |
|
Rут = 6,0 |
0,021 |
0,035 |
0,046 |
|
λо = 0,2 |
λо = 0,6 |
λо = 1,8 | |
|
Rут = 1,5 |
0,012 |
0,027 |
0,039 |
|
Rут = 3,0 |
0,017 |
0,030 |
0,039 |
|
Rут = 6,0 |
0,019 |
0,028 |
0,034 |
|
λо = 0,2 |
λо = 0,6 |
λо = 1,8 | |
|
Rут = 1,5 |
0,011 |
0,022 |
0,030 |
|
Rут = 3,0 |
0,015 |
0,025 |
0,032 |
|
Rут = 6,0 |
0,017 |
0,025 |
0,030 |
Кронштейны из оцинкованной стали площадью сечения 600 мм2
|
λо = 0,2 |
λо = 0,6 |
λо = 1,8 | |
|
Rут = 1,5 |
0,021 |
0,065 |
0,114 |
|
Rут = 3,0 |
0,027 |
0,069 |
0,111 |
|
Rут = 6,0 |
0,031 |
0,066 |
0,086 |
|
λо = 0,2 |
λо = 0,6 |
λо = 1,8 | |
|
Rут = 1,5 |
0,017 |
0,038 |
0,057 |
|
Rут = 3,0 |
0,023 |
0,044 |
0,060 |
|
Rут = 6,0 |
0,027 |
0,043 |
0,055 |
|
λо = 0,2 |
λо = 0,6 |
λо = 1,8 | |
|
Rут = 1,5 |
0,015 |
0,030 |
0,043 |
|
Rут = 3,0 |
0,021 |
0,037 |
0,048 |
|
Rут = 6,0 |
0,026 |
0,038 |
0,046 |
Кронштейны из оцинкованной стали площадью сечения 1000 мм2
|
λо = 0,2 |
λо = 0,6 |
λо = 1,8 | |
|
Rут = 1,5 |
0,03 |
0,081 |
0,128 |
|
Rут = 3,0 |
0,039 |
0,08 |
0,123 |
|
Rут = 6,0 |
0,046 |
0,078 |
0,115 |
|
λо = 0,2 |
λо = 0,6 |
λо = 1,8 | |
|
Rут = 1,5 |
0,026 |
0,065 |
0,104 |
|
Rут = 3,0 |
0,036 |
0,074 |
0,106 |
|
Rут = 6,0 |
0,044 |
0,078 |
0,107 |
|
λо = 0,2 |
λо = 0,6 |
λо = 1,8 | |
|
Rут = 1,5 |
0,023 |
0,051 |
0,077 |
|
Rут = 3,0 |
0,033 |
0,061 |
0,083 |
|
Rут = 6,0 |
0,042 |
0,067 |
0,086 |
Кронштейны из алюминия площадью сечения 120 мм2
|
λо = 0,2 |
λо = 0,6 |
λо = 1,8 | |
|
Rут = 1,5 |
0,013 |
0,03 |
0,056 |
|
Rут = 3,0 |
0,015 |
0,032 |
0,054 |
|
Rут = 6,0 |
0,018 |
0,032 |
0,047 |
|
λо = 0,2 |
λо = 0,6 |
λо = 1,8 | |
|
Rут = 1,5 |
0,012 |
0,026 |
0,044 |
|
Rут = 3,0 |
0,014 |
0,029 |
0,046 |
|
Rут = 6,0 |
0,016 |
0,03 |
0,044 |
|
λо = 0,2 |
λо = 0,6 |
λо = 1,8 | |
|
Rут = 1,5 |
0,011 |
0,023 |
0,032 |
|
Rут = 3,0 |
0,013 |
0,024 |
0,032 |
|
Rут = 6,0 |
0,014 |
0,022 |
0,029 |
Кронштейны из алюминия площадью сечения 300 мм2
|
λо = 0,2 |
λо = 0,6 |
λо = 1,8 | |
|
Rут = 1,5 |
0,017 |
0,044 |
0,096 |
|
Rут = 3,0 |
0,024 |
0,051 |
0,098 |
|
Rут = 6,0 |
0,031 |
0,053 |
0,087 |
|
λо = 0,2 |
λо = 0,6 |
λо = 1,8 | |
|
Rут = 1,5 |
0,014 |
0,032 |
0,048 |
|
Rут = 3,0 |
0,02 |
0,038 |
0,055 |
|
Rут = 6,0 |
0,026 |
0,042 |
0,057 |
|
λо = 0,2 |
λо = 0,6 |
λо = 1,8 | |
|
Rут = 1,5 |
0,012 |
0,025 |
0,036 |
|
Rут = 3,0 |
0,018 |
0,032 |
0,042 |
|
Rут = 6,0 |
0,024 |
0,036 |
0,046 |
Кронштейны из алюминия площадью сечения 600 мм2
|
λо = 0,2 |
λо = 0,6 |
λо = 1,8 | |
|
Rут = 1,5 |
0,023 |
0,075 |
0,177 |
|
Rут = 3,0 |
0,032 |
0,087 |
0,181 |
|
Rут = 6,0 |
0,041 |
0,091 |
0,164 |
|
λо = 0,2 |
λо = 0,6 |
λо = 1,8 | |
|
Rут = 1,5 |
0,018 |
0,043 |
0,067 |
|
Rут = 3,0 |
0,027 |
0,053 |
0,077 |
|
Rут = 6,0 |
0,035 |
0,060 |
0,080 |
|
λо = 0,2 |
λо = 0,6 |
λо = 1,8 | |
|
Rут = 1,5 |
0,016 |
0,034 |
0,050 |
|
Rут = 3,0 |
0,024 |
0,044 |
0,058 |
|
Rут = 6,0 |
0,032 |
0,051 |
0,065 |
Кронштейны из алюминия площадью сечения 1000 мм2
|
λо = 0,2 |
λо = 0,6 |
λо = 1,8 | |
|
Rут = 1,5 |
0,036 |
0,120 |
0,277 |
|
Rут = 3,0 |
0,050 |
0,139 |
0,283 |
|
Rут = 6,0 |
0,062 |
0,143 |
0,257 |
|
λо = 0,2 |
λо = 0,6 |
λо = 1,8 | |
|
Rут = 1,5 |
0,027 |
0,072 |
0,122 |
|
Rут = 3,0 |
0,041 |
0,091 |
0,140 |
|
Rут = 6,0 |
0,054 |
0,104 |
0,149 |
|
λо = 0,2 |
λо = 0,6 |
λо = 1,8 | |
|
Rут = 1,5 |
0,025 |
0,058 |
0,088 |
|
Rут = 3,0 |
0,037 |
0,073 |
0,103 |
|
Rут = 6,0 |
0,048 |
0,083 |
0,109 |
Система со стальным кронштейном и стальной направляющей, утопленной в утеплитель
Общий вид конструкции представлен на рисунках Г.8, Г.9.

Рисунок Г.8 - Разрез узла конструкции НФС с горизонтальной стальной направляющей

Примечания
1 Толщина стали 0,8 - 12 мм.
2 Длина профиля 3000 мм.
3 При отсутствии теплоизоляции или ее толщине до 75 мм вместо горизонтального профиля типа I применяют уголок размерами 40 x 60, 50 x 50 (горизонтальный профиль типа II).
Рисунок Г.9 - Конструкция горизонтальной направляющей
Отличительная особенность данной системы - кронштейны осуществляют только подвод тепла к направляющей, выполняя вспомогательную роль. Поэтому и при расчетах потерь теплоты их учитывают лишь как дополнительный фактор. Их роль учтена при расчетах температурных полей. В связи с этим число кронштейнов, приходящихся на 1 пог. м направляющей, становится дополнительным фактором варьирования при составлении таблиц удельных потерь теплоты через горизонтальную направляющую.
Основные параметры, влияющие на потери теплоты через узел:
- термическое сопротивление слоя утеплителя Rут, м2·°C/Вт;
- теплопроводность основания λо, Вт/(м·°C);
- среднее число кронштейнов, приходящихся на 1 пог. м горизонтальной направляющей, nкр, шт./м.
Удельные потери теплоты приведены в таблицах Г.105 - Г.108. Значения для промежуточных параметров варьирования следует получать интерполяцией из табличных значений.
|
λо = 0,2 |
λо = 0,6 |
λо = 1,8 | |
|
Rут = 1,5 |
0,046 |
0,094 |
0,140 |
|
Rут = 3,0 |
0,062 |
0,108 |
0,143 |
|
Rут = 6,0 |
0,069 |
0,102 |
0,123 |
|
λо = 0,2 |
λо = 0,6 |
λо = 1,8 | |
|
Rут = 1,5 |
0,049 |
0,101 |
0,152 |
|
Rут = 3,0 |
0,065 |
0,115 |
0,154 |
|
Rут = 6,0 |
0,072 |
0,107 |
0,131 |
|
λо = 0,2 |
λо = 0,6 |
λо = 1,8 | |
|
Rут = 1,5 |
0,050 |
0,106 |
0,160 |
|
Rут = 3,0 |
0,067 |
0,120 |
0,162 |
|
Rут = 6,0 |
0,074 |
0,112 |
0,138 |
|
λо = 0,2 |
λо = 0,6 |
λо = 1,8 | |
|
Rут = 1,5 |
0,054 |
0,117 |
0,182 |
|
Rут = 3,0 |
0,072 |
0,132 |
0,187 |
|
Rут = 6,0 |
0,081 |
0,128 |
0,162 |
Расчеты проведены для несущих кронштейнов для средней толщины металла направляющей 1 мм и средней толщины металла кронштейна 1,5 мм. Удельные потери теплоты для других толщин металла направляющей и кронштейна, а также кронштейна с уменьшенной высотой консоли можно получить по тем же таблицам за счет введения эффективного числа кронштейнов nэф.кр, по формулам (Г.4), (Г.5).
При расчете температурного поля учтена установка паронитовой прокладки толщиной 2 мм между кронштейном и основанием стены.
Эффективное число кронштейнов в случае несущего кронштейна определяют по формуле
nэф.кр = 0,667dкр·dнап·nкр, (Г.4)
где dкр - средняя толщина металла кронштейна, мм;
dнап - средняя толщина металла направляющей, мм.
Эффективное число кронштейнов в случае кронштейна с уменьшенной высотой консоли определяют по формуле
nэф.кр = 0,533dкр·dнап·nкр. (Г.5)
Стальная противопожарная рассечка в вентилируемых фасадах
Общий вид конструкции представлен на рисунке Г.10.

Рисунок Г.10 - Схема установки противопожарной рассечки
Основные параметры, влияющие на потери теплоты через узел:
- термическое сопротивление слоя утеплителя Rут, м2·°C/Вт;
- теплопроводность основания λо, Вт/(м·°C).
Толщина основания 200 мм.
Удельные потери теплоты приведены в таблице Г.109.
|
λо = 0,2 |
λо = 0,6 |
λо = 1,8 | |
|
Rут = 1,5 |
0,051 |
0,132 |
0,212 |
|
Rут = 3,0 |
0,062 |
0,119 |
0,162 |
|
Rут = 6,0 |
0,058 |
0,088 |
0,105 |
Г.10 Сопряжение стен с совмещенным кровельным покрытием
Узлы сопряжения стен с совмещенным кровельным покрытием учитывают при расчете приведенного сопротивления теплопередаче совмещенного кровельного покрытия.
В настоящем разделе рассматривают сопряжения трехслойной стены с облицовкой кирпичом, СФТК, вентилируемого фасада или тонкостенных панелей с совмещенным кровельным покрытием. При этом отдельно учитывают два варианта кровельного покрытия: с основанием из железобетона и из стального профилированного листа. Как показал анализ, в большинстве случаев выбор основания совмещенного кровельного покрытия мало влияет на удельные потери теплоты через рассматриваемый узел. Поэтому приведенные ниже данные могут быть распространены на оба варианта основания совмещенного кровельного покрытия.
Отличительная черта выбранной группы узлов - смешение влияния геометрической неоднородности наподобие выпуклого угла с влиянием разрыва утеплителя. Оба фактора увеличивают удельные потери теплоты.
Наибольшее влияние на приведенное сопротивление теплопередаче оказывают сопряжения стен с совмещенным кровельным покрытием в малоэтажных зданиях.
Для кладок из блоков легкого, особо легкого и ячеистого бетонов или крупноформатных камней сопряжение стены с совмещенным кровельным покрытием близко по характеристикам к аналогичному сопряжению плит перекрытия со стеной и соответствующие значения могут быть найдены по таблицам Г.5 - Г.10.
Стена - с наружным утеплением и тонкой облицовкой (штукатурный или вентилируемый фасад) или трехслойная с облицовкой кирпичом
Параметры, влияющие на потери теплоты через узел:
- термическое сопротивление слоя утеплителя на стене Rут1, м2·°C/Вт;
- теплопроводность основания λо, Вт/(м·°C);
- термическое сопротивление слоя утеплителя на плите перекрытия Rут2, м2·°C/Вт;
- высота дополнительного утепления парапета от верха кровли hут, мм.
Во всех расчетах толщина основания стены принята равной 250 мм.
Высота парапета, если она превышает 500 мм, оказывает малое влияние на значение удельных потерь теплоты через узел. Во всех расчетах ее принимают большей 500 мм и не учитывают.
Наружную сторону стены считают утепленной до уровня парапета, из соображений непрерывности наружной облицовки. Однако утепление наружной стороны неважно для теплопереноса через выбранный узел. Если наружная сторона стены утеплена не до уровня парапета, а до уровня утеплителя на парапете со стороны кровли теплоперенос через узел практически не изменится.
Схема узла представлена на рисунке Г.11.

Обозначение: "ц. п." - цементно-песчаная.
Рисунок Г.11 - Схема сопряжения СФТК с совмещенным кровельным покрытием
Удельные потери теплоты приведены в таблицах Г.110 - Г.120.
|
Rут2, м2·°C/Вт |
Rут1, м2·°C/Вт | ||
|
1,5 |
3,0 |
6,0 | |
|
1,88 |
0,301 |
0,252 |
- |
|
3,13 |
0,294 |
0,241 |
0,212 |
|
5,0 |
0,282 |
0,223 |
0,194 |
|
7,81 |
- |
0,207 |
0,169 |
|
Rут2, м2·°C/Вт |
Rут1, м2·°C/Вт | ||
|
1,5 |
3,0 |
6,0 | |
|
1,88 |
0,49 |
0,465 |
- |
|
3,13 |
0,471 |
0,44 |
0,424 |
|
5,0 |
0,441 |
0,403 |
0,383 |
|
7,81 |
- |
0,361 |
0,334 |
|
Rут2, м2·°C/Вт |
Rут1, м2·°C/Вт | ||
|
1,5 |
3,0 |
6,0 | |
|
1,88 |
0,837 |
0,842 |
- |
|
3,13 |
0,811 |
0,81 |
0,81 |
|
5,0 |
0,766 |
0,756 |
0,751 |
|
7,81 |
- |
0,686 |
0,675 |
|
Rут2, м2·°C/Вт |
Rут1, м2·°C/Вт | ||
|
1,5 |
3,0 |
6,0 | |
|
1,88 |
0,239 |
0,179 |
- |
|
3,13 |
0,25 |
0,187 |
0,15 |
|
5,0 |
0,254 |
0,188 |
0,151 |
|
7,81 |
- |
0,186 |
0,143 |
|
Rут2, м2·°C/Вт |
Rут1, м2·°C/Вт | ||
|
1,5 |
3,0 |
6,0 | |
|
1,88 |
0,363 |
0,318 |
- |
|
3,13 |
0,372 |
0,321 |
0,293 |
|
5,0 |
0,371 |
0,315 |
0,283 |
|
7,81 |
- |
0,301 |
0,265 |
|
Rут2, м2·°C/Вт |
Rут1, м2·°C/Вт | ||
|
1,5 |
3,0 |
6,0 | |
|
1,88 |
0,639 |
0,617 |
- |
|
3,13 |
0,640 |
0,613 |
0,598 |
|
5,0 |
0,627 |
0,594 |
0,575 |
|
7,81 |
- |
0,562 |
0,538 |
|
Rут2, м2·°C/Вт |
Rут1, м2·°C/Вт | ||
|
1,5 |
3,0 |
6,0 | |
|
1,88 |
0,233 |
0,171 |
- |
|
3,13 |
0,246 |
0,18 |
0,141 |
|
5,0 |
0,252 |
0,184 |
0,144 |
|
7,81 |
- |
0,184 |
0,139 |
|
Rут2, м2·°C/Вт |
Rут1, м2·°C/Вт | ||
|
1,5 |
3,0 |
6,0 | |
|
1,88 |
0,336 |
0,278 |
- |
|
3,13 |
0,348 |
0,287 |
0,25 |
|
5,0 |
0,352 |
0,287 |
0,248 |
|
7,81 |
- |
0,283 |
0,24 |
|
Rут2, м2·°C/Вт |
Rут1, м2·°C/Вт | ||
|
1,5 |
3,0 |
6,0 | |
|
1,88 |
0,553 |
0,51 |
- |
|
3,13 |
0,563 |
0,516 |
0,488 |
|
5,0 |
0,563 |
0,51 |
0,479 |
|
7,81 |
- |
0,495 |
0,459 |
|
Примечания 1 Сравнивая таблицы Г.110 - Г.118, можно отметить слабое влияние дополнительного утепления парапета на значения удельных потерь теплоты через узел. То есть для борьбы с высокими значениями удельных потерь теплоты через узел сопряжения стены с совмещенным кровельным покрытием (например, при выполнении основания стены из тяжелого бетона) утепление парапета со стороны покрытия не дает ощутимого результата. Это следует учитывать при выборе варианта доработки узла. 2 Для стен с наружным утеплением и трехслойных стен термическое сопротивление слоя утеплителя на стене практически не влияет на удельные потери теплоты через выбранный узел. | |||
|
Rут2, м2·°C/Вт |
Rут1, м2·°C/Вт | ||
|
1,5 |
3,0 |
6,0 | |
|
1,88 |
0,512 |
0,354 |
- |
|
3,13 |
0,620 |
0,461 |
0,369 |
|
5,0 |
0,686 |
0,526 |
0,434 |
|
7,81 |
- |
0,568 |
0,475 |
|
Rут2, м2·°C/Вт |
Rут1, м2·°C/Вт | ||
|
1,5 |
3,0 |
6,0 | |
|
1,88 |
0,211 |
0,199 |
- |
|
3,13 |
0,198 |
0,186 |
0,179 |
|
5,0 |
0,189 |
0,178 |
0,171 |
|
7,81 |
- |
0,172 |
0,154 |
|
Rут2, м2·°C/Вт |
Rут1, м2·°C/Вт | ||
|
1,5 |
3,0 |
6,0 | |
|
1,88 |
0,364 |
0,197 |
- |
|
3,13 |
0,471 |
0,303 |
0,207 |
|
5,0 |
0,535 |
0,367 |
0,271 |
|
7,81 |
- |
0,408 |
0,314 |
|
Rут2, м2·°C/Вт |
Rут1, м2·°C/Вт | ||
|
1,5 |
3,0 |
6,0 | |
|
1,88 |
0,107 |
0,100 |
- |
|
3,13 |
0,091 |
0,083 |
0,079 |
|
5,0 |
0,080 |
0,073 |
0,068 |
|
7,81 |
- |
0,066 |
0,062 |
В ряде случаев вместо утепления парапета со стороны кровли в несущей части парапета выполняют перфорацию или применяют НТЭ. Перфорация или НТЭ должны быть расположены на той же высоте, что и утепление кровли.
Стена - тонкостенные панели (в том числе сэндвич-панели)
Параметры, влияющие на потери теплоты через узел:
- термическое сопротивление панели Rут1, м2·°C/Вт;
- термическое сопротивление слоя утеплителя кровли Rут2, м2·°C/Вт;
- комплексный параметр, равный произведению толщины на теплопроводность облицовочного листа панели со стороны кровли dобλоб, Вт/°C.
Значения комплексного параметра приняты таким образом, чтобы охватывать как панели с облицовкой из различных гипсоволокнистых листов (ГВЛ), цементно-стружечных листов, так и сэндвич-панели со стальной облицовкой вплоть до толщины стального листа 2,2 мм.
Схема узла представлена на рисунке Г.12.

Рисунок Г.12 - Схема сопряжения тонкостенных панелей (в том числе сэндвич-панелей) с совмещенным кровельным покрытием
Удельные потери теплоты приведены в таблицах Г.121 - Г.123.
|
Rут2, м2·°C/Вт |
dобλоб, Вт/°C | |||
|
0,002 |
0,008 |
0,032 |
0,128 | |
|
1,88 |
0,031 |
0,106 |
0,25 |
0,56 |
|
3,13 |
0,036 |
0,099 |
0,221 |
0,507 |
|
5,0 |
0,04 |
0,095 |
0,191 |
0,441 |
|
7,81 |
0,045 |
0,094 |
0,171 |
0,375 |
|
Rут2, м2·°C/Вт |
dобλоб, Вт/°C | |||
|
0,002 |
0,008 |
0,032 |
0,128 | |
|
1,88 |
0,039 |
0,098 |
0,241 |
0,561 |
|
3,13 |
0,04 |
0,087 |
0,208 |
0,504 |
|
5,0 |
0,04 |
0,077 |
0,173 |
0,43 |
|
7,81 |
0,042 |
0,07 |
0,143 |
0,356 |
|
Rут2, м2·°C/Вт |
dобλоб, Вт/°C | |||
|
0,002 |
0,008 |
0,032 |
0,128 | |
|
1,88 |
0,04 |
0,096 |
0,24 |
0,564 |
|
3,13 |
0,04 |
0,083 |
0,204 |
0,505 |
|
5,0 |
0,037 |
0,07 |
0,166 |
0,428 |
|
7,81 |
0,036 |
0,061 |
0,133 |
0,349 |
Примечание - Как видно из таблиц Г.121 - Г.123, для выбранного вида узлов на удельные потери теплоты основное влияние оказывает комплексный параметр и в значительно меньшей степени - термическое сопротивление слоя утеплителя кровли.
Г.11 Узлы кровли
В настоящем разделе рассматривают узлы различных типовых теплотехнических неоднородностей кровли:
- примыкание кровли к фонарю, плита перекрытия из железобетона (таблица Г.124);
- примыкание кровли к фонарю, плита перекрытия из профилированного листа (таблица Г.125);
- деформационный шов (таблица Г.126);
- узел установки аэратора (таблица Г.127);
- пропуск электрического кабеля через совмещенное кровельное покрытие (таблица Г.128);
- пропуск пучка труб через совмещенное кровельное покрытие (таблица Г.129);
- прохождение колонны через совмещенное кровельное покрытие, вариант 1 (таблицы Г.130, Г.131);
- прохождение колонны через совмещенное кровельное покрытие, вариант 2 (таблицы Г.132 - Г.135);
- прохождение деревянных стропил в скатной кровле (таблица Г.136);
- прохождение деревянной балки в коньке или ендове скатной кровли (таблица Г.137);
- телескопический крепеж для механического крепления теплоизоляции и гидроизоляции на кровле (таблица Г.138).
В большинстве случаев выбор основания совмещенного кровельного покрытия (железобетонная плита или профилированный лист) мало влияет на значения удельных потерь теплоты через рассматриваемый узел. Поэтому приведенные ниже данные (за исключением оговоренных случаев) могут быть распространены на оба варианта основания совмещенного кровельного покрытия.
Примыкание кровли к фонарю, плита перекрытия из железобетона
В настоящем разделе рассматривают следующий вариант устройства фонаря. Светопрозрачную конструкцию устанавливают на возвышение над кровлей, формируемое из некоего аналога тонкостенных панелей (или сэндвич-панелей). Схема узла представлена на рисунке Г.13. При расчете удельных потерь теплоты место примыкания светопрозрачной конструкции к панелям не рассматривают, так как оно индивидуально для различных светопрозрачных конструкций. Приведенные ниже значения относятся только к месту стыка панелей и совмещенного кровельного покрытия.

Обозначение: "ц. п." - цементно-песчаная.
Рисунок Г.13 - Схема установки фонаря для совмещенного кровельного покрытия с основанием из железобетона
Отличительная черта выбранной группы узлов - смешение влияния геометрической неоднородности наподобие вогнутого угла с влиянием разрыва утеплителя. При этом наличие вогнутого угла уменьшает удельные потери теплоты, а разрыв утеплителя увеличивает. Возникающее противоречие приводит к большому разнообразию значений удельных потерь теплоты данного элемента в зависимости от соотношения варьируемых параметров.
Параметры, влияющие на потери теплоты через узел:
- термическое сопротивление слоя утеплителя на плите перекрытия Rут, м2·°C/Вт;
- комплексный параметр, равный произведению толщины на теплопроводность облицовочного листа панели со стороны кровли dобλоб, Вт/°C.
Значения комплексного параметра приняты таким образом, чтобы охватывать как панели с облицовкой из различных ГВЛ, цементно-стружечных листов, так и сэндвич-панели со стальной облицовкой вплоть до толщины стального листа 2,2 мм.
|
Rут, м2·°C/Вт |
dобλоб, Вт/°C | |||
|
0,002 |
0,008 |
0,032 |
0,128 | |
|
1,88 |
-0,109 |
-0,063 |
0,065 |
0,391 |
|
3,13 |
-0,107 |
-0,071 |
0,032 |
0,331 |
|
5,0 |
-0,115 |
-0,087 |
-0,011 |
0,248 |
|
7,81 |
-0,132 |
-0,112 |
-0,053 |
0,151 |
Примыкание кровли к фонарю, плита перекрытия из профилированного листа
Устройство фонаря в настоящем разделе принимают аналогичным вышеописанному. Схема узла представлена на рисунке Г.14. При расчете значений удельных потерь теплоты место примыкания светопрозрачной конструкции к панелям не рассматривают, так как оно индивидуально для различных светопрозрачных конструкций. Приведенные ниже значения относят только к месту стыка панелей и совмещенного кровельного покрытия.

Рисунок Г.14 - Схема установки фонаря для совмещенного кровельного покрытия с основанием из профилированного листа
Отличительная черта выбранной группы узлов - смешение влияния геометрической неоднородности наподобие вогнутого угла с влиянием разрыва утеплителя. При этом наличие вогнутого угла уменьшает удельные потери теплоты, а разрыв утеплителя увеличивает. Возникающее противоречие приводит к большому разнообразию значений удельных потерь теплоты данного элемента в зависимости от соотношения варьируемых параметров.
Параметры, влияющие на потери теплоты через узел:
- термическое сопротивление слоя утеплителя на плите перекрытия Rут, м2·°C/Вт;
- комплексный параметр, равный произведению толщины на теплопроводность облицовочного листа панели со стороны кровли dобλоб, Вт/°C.
Значения комплексного параметра приняты таким образом, чтобы охватывать как панели с облицовкой из различных листов ГВЛ, цементно-стружечных листов, так и сэндвич-панели со стальной облицовкой вплоть до толщины стального листа 2,2 мм.
|
Rут, м2·°C/Вт |
dобλоб, Вт/°C | |||
|
0,002 |
0,008 |
0,032 |
0,128 | |
|
1,88 |
-0,063 |
0,012 |
0,223 |
0,614 |
|
3,13 |
-0,066 |
-0,016 |
0,144 |
0,506 |
|
5,0 |
-0,075 |
-0,041 |
0,070 |
0,38 |
|
7,81 |
-0,094 |
-0,068 |
0,003 |
0,25 |
Деформационный шов на кровельном покрытии
Схема узла представлена на рисунке Г.15.

Обозначение: "ц. п." - цементно-песчаная.
Рисунок Г.15 - Схема деформационного шва для совмещенного кровельного покрытия
Параметры, влияющие на потери теплоты через узел:
- термическое сопротивление слоя утеплителя на плите перекрытия Rут, м2·°C/Вт;
- ширина полосы, утепляющей шов, d1, мм.
Основные дополнительные потери теплоты через деформационный шов на кровельном покрытии связаны с расположением кирпичной кладки на плите перекрытия с обеих сторон от шва. Эта кладка прорезает утеплитель и является массивным "мостиком холода". При расчете приведенных ниже значений предполагалось, что кладка выполнена из полнотелого кирпича, толщина кладки с каждой стороны шва 120 мм.
|
Rут, м2·°C/Вт |
d1/2, мм | |||
|
0 |
150 |
250 |
400 | |
|
1,88 |
0,692 |
0,424 |
0,262 |
0,11 |
|
3,13 |
0,644 |
0,436 |
0,307 |
0,19 |
|
5,0 |
0,559 |
0,413 |
0,317 |
0,229 |
|
7,81 |
0,454 |
0,36 |
0,294 |
0,23 |
Узел установки аэратора
Схема узла представлена на рисунке Г.16.

Обозначение: "ц. п." - цементно-песчаная.
Рисунок Г.16 - Схема устройства аэратора в совмещенном кровельном покрытии
Параметр, влияющий на потери теплоты через узел:
- термическое сопротивление слоя утеплителя на плите перекрытия Rут, м2·°C/Вт.
Для всех вариантов диаметр аэратора (в месте пересечения утеплителя) принят равным 90 - 100 мм.
|
Rут, м2·°C/Вт |
χ |
|
1,88 |
0,008 |
|
3,13 |
0,007 |
|
5,0 |
0,006 |
|
7,81 |
0,004 |
|
Примечание - Удельные потери теплоты для узла установки аэратора относительно невелики и при установке менее одного аэратора на 10 м2 кровли данный узел допускается не учитывать в расчетах приведенного сопротивления теплопередаче совмещенного кровельного покрытия. | |
Пропуск электрического кабеля через совмещенное кровельное покрытие
Схема узла представлена на рисунке Г.17.

Обозначения: "ц. п." - цементно-песчаная; "ЭПДМ-резина" - этиленпропиленовая резина.
Рисунок Г.17 - Схема пропуска электрического кабеля через совмещенное кровельное покрытие
Параметры, влияющие на потери теплоты через узел:
- термическое сопротивление слоя утеплителя на плите перекрытия Rут, м2·°C/Вт;
- диаметр внешней металлической трубы Dтрубы, мм.
Основным "мостиком холода" в выбранной конструкции служит стальная трубка, защищающая кабель. Во всех расчетах толщина металла трубки принята равной 0,8 мм.
Тепловые потери по металлу кабеля учитывают.
|
Rут, м2·°C/Вт |
Dтрубы, мм | |||
|
12 |
24 |
48 |
92 | |
|
1,88 |
0,014 |
0,035 |
0,084 |
0,188 |
|
3,13 |
0,012 |
0,032 |
0,077 |
0,179 |
|
5,0 |
0,009 |
0,026 |
0,067 |
0,163 |
|
7,81 |
0,007 |
0,02 |
0,055 |
0,141 |
Пропуск пучка труб через совмещенное кровельное покрытие
Схема узла представлена на рисунке Г.18.

Обозначение: "ц. п." - цементно-песчаная.
Рисунок Г.18 - Схема пропуска пучка труб через совмещенное кровельное покрытие
Параметры, влияющие на потери теплоты через узел:
- термическое сопротивление слоя утеплителя на плите перекрытия Rут, м2·°C/Вт;
- диаметр металлического стакана Dстак, мм.
Основным "мостиком холода" в выбранной конструкции служит стальной стакан, защищающий трубы. Во всех расчетах толщина металла стакана принята равной 0,8 мм.
Тепловые потери по металлу труб не учитывают. В настоящем случае предполагают, что трубы предназначены для передачи какого-либо вещества и функционируют. При этом, проходя по трубам, вещество их подогревает, что исключает промерзание, но делает невозможным учет тепловых потерь по металлу труб в расчетах приведенного сопротивления теплопередаче кровли. Пучок труб со всех сторон утеплен эффективным утеплителем и практически не влияет на работу остальных элементов узла, что делает возможным расчет значений удельных потерь через узел без учета материала труб.
|
Rут, м2·°C/Вт |
Dстак, мм | ||
|
80 |
140 |
260 | |
|
1,88 |
0,055 |
0,087 |
0,141 |
|
3,13 |
0,05 |
0,08 |
0,136 |
|
5,0 |
0,042 |
0,069 |
0,119 |
|
7,81 |
0,032 |
0,055 |
0,097 |
Прохождение колонны через совмещенное кровельное покрытие. Вариант 1
Схема узла представлена на рисунке Г.19.

Обозначение: "ц. п." - цементно-песчаная.
Рисунок Г.19 - Схема прохождения колонны через совмещенное кровельное покрытие. Вариант 1
Параметры, влияющие на потери теплоты через узел:
- термическое сопротивление слоя утеплителя на плите перекрытия Rут, м2·°C/Вт;
- площадь металла сечения колонны плоскостью, проходящей вдоль перекрытия на уровне утеплителя, Sк, мм2.
|
Rут, м2·°C/Вт |
Sк, мм2 | ||
|
600 |
1100 |
2200 | |
|
1,88 |
0,088 |
0,152 |
0,285 |
|
3,13 |
0,085 |
0,146 |
0,277 |
|
5,0 |
0,077 |
0,134 |
0,256 |
|
7,81 |
0,066 |
0,117 |
0,224 |
Для повышения теплозащитных характеристик узла применяется НТЭ в виде разрыва сплошной колонны и введением болтового соединения с утеплителем. Ниже приведены значения удельных потерь теплоты для НТЭ, содержащих четыре болтовых соединения с болтами из коррозионно-стойкой стали диаметром 22 мм (для колонны сечением 600 мм2 болты диаметром 16 мм).
|
Rут, м2·°C/Вт |
Sк, мм2 | ||
|
600 |
1100 |
2200 | |
|
1,88 |
0,066 |
0,114 |
0,158 |
|
3,13 |
0,063 |
0,111 |
0,159 |
|
5,0 |
0,060 |
0,104 |
0,156 |
|
7,81 |
0,053 |
0,093 |
0,146 |
Прохождение колонны через совмещенное кровельное покрытие. Вариант 2
Схема узла представлена на рисунке Г.20.

Обозначение: "ц. п." - цементно-песчаная.
Рисунок Г.20 - Схема прохождения колонны через совмещенное кровельное покрытие. Вариант 2
Параметры, влияющие на потери теплоты через узел:
- термическое сопротивление слоя утеплителя на плите перекрытия Rут, м2·°C/Вт;
- высота возвышения короба из оцинкованной стали над верхом кровли hкор, мм;
- площадь металла сечения колонны плоскостью, проходящей вдоль перекрытия на уровне утеплителя, Sк, мм2.
|
Rут, м2·°C/Вт |
Sк, мм2 | |||
|
2000 |
4000 |
7500 |
14000 | |
|
1,88 |
0,575 |
0,767 |
1,12 |
1,73 |
|
3,13 |
0,672 |
0,855 |
1,19 |
1,77 |
|
5,0 |
0,764 |
0,938 |
1,25 |
1,80 |
|
7,81 |
0,852 |
1,01 |
1,3 |
1,81 |
|
Rут, м2·°C/Вт |
Sк, мм2 | |||
|
2000 |
4000 |
7500 |
14000 | |
|
1,88 |
0,567 |
0,751 |
1,09 |
1,67 |
|
3,13 |
0,66 |
0,835 |
1,16 |
1,71 |
|
5,0 |
0,753 |
0,92 |
1,22 |
1,74 |
|
7,81 |
0,844 |
0,992 |
1,27 |
1,75 |
|
Rут, м2·°C/Вт |
Sк, мм2 | |||
|
2000 |
4000 |
7500 |
14000 | |
|
1,88 |
0,558 |
0,733 |
1,06 |
1,61 |
|
3,13 |
0,647 |
0,814 |
1,12 |
1,65 |
|
5,0 |
0,741 |
0,902 |
1,19 |
1,68 |
|
7,81 |
0,835 |
0,972 |
1,24 |
1,69 |
Для повышения теплозащитных характеристик узла применяется НТЭ в виде разрыва сплошной колонны и введением болтового соединения с утеплителем. Ниже приведены значения удельных потерь теплоты для узла с возвышением короба hкор = 300 мм и НТЭ, содержащих четыре болтовых соединения с болтами из коррозионно-стойкой стали диаметром 22 мм (для колонны сечением 14000 мм2 восемь болтов).
|
Rут, м2·°C/Вт |
Sк, мм2 | |||
|
2000 |
4000 |
7500 |
14000 | |
|
1,88 |
0,494 |
0,608 |
0,792 |
1,175 |
|
3,13 |
0,579 |
0,690 |
0,865 |
1,242 |
|
5,0 |
0,667 |
0,777 |
0,937 |
1,296 |
|
7,81 |
0,757 |
0,850 |
1,003 |
1,330 |
Узел прохождения деревянных стропил в скатной кровле
Общий вид конструкции представлен на рисунке Г.21.

Рисунок Г.21 - Расположение деревянного каркаса в скатной кровле
Параметры, влияющие на потери теплоты через узел:
- толщина утеплителя dут, мм;
- толщина дополнительного утеплителя dдоп, мм.
Толщина стропил принята равной 50 мм.
Удельные потери теплоты сведены в таблицу Г.136. Отсутствие дополнительного утепления рассматривается как случай с нулевым дополнительным утеплением.
|
dдоп, мм |
dут = 100 мм |
dут = 150 мм |
dут = 200 мм |
|
0 |
0,044 |
0,034 |
0,027 |
|
50 |
0,024 |
0,021 |
0,019 |
|
100 |
0,019 |
0,017 |
0,015 |
При расчетах суммарных потерь теплоты через стропила следует подсчитывать погонную длину всех без исключения стропил, при этом следует учитывать только стропила, пересекающие слой утеплителя и находящиеся на участках конструкций, прилегающих к отапливаемым помещениям.
Узел прохождения деревянной балки в коньке или ендове скатной кровли
Общий вид конструкции представлен на рисунке Г.22.

Рисунок Г.22 - Прохождение деревянной балки в коньке скатной кровли
Параметры, влияющие на потери теплоты через узел:
- толщина утеплителя dут, мм.
Толщина балки принята равной 100 мм.
Для случая толщины балки 50 мм следует использовать данные из таблицы Г.136. При промежуточных толщинах удельные потери теплоты находятся интерполяцией по таблицам Г.136 и Г.137.
|
dут = 100 мм |
dут = 150 мм |
dут = 200 мм |
|
0,084 |
0,065 |
0,053 |
Телескопический крепеж для механического крепления теплоизоляции и гидроизоляции на кровле
Этот тип узлов следует учитывать для кровельных покрытий.
Удельный геометрический показатель данного элемента весьма велик и на практике колеблется в пределах от 8 до 12 шт./м2. Поэтому даже при малых значениях удельных потерь теплоты телескопический крепеж обязателен для учета.
Разрез телескопического крепежа приведен на рисунке Г.23.

Рисунок Г.23 - Схема тарельчатого анкера
Параметр, влияющий на потери теплоты через узел:
- толщина утеплителя, мм.
|
Толщина утеплителя, мм |
χ, Вт/°C |
|
50 |
0,002 |
|
70 |
0,0012 |
|
90 |
0,0008 |
|
110 |
0,0006 |
|
130 |
0,0006 |
|
150 |
0,0006 |
|
170 |
0,0004 |
|
190 |
0,0004 |
|
210 |
0,0004 |
Г.12 Узлы перекрытий над неотапливаемыми подвалами и подпольями
Железобетонная колонна или стена
Схема узла представлена на рисунке Г.24.

1 - стена (колонна)
Рисунок Г.24 - Схема прохождения стены или железобетонной колонны через перекрытие над неотапливаемым подпольем
Параметры, влияющие на потери теплоты через узел:
- толщина стены или колонны dст, мм;
- термическое сопротивление слоя утеплителя Rут, м2·°C/Вт.
Удельные потери теплоты Ψст, Вт/(м·°C), находят по таблице Г.139 интерполяцией.
|
Rут, м2·°C/Вт |
dст, мм | ||
|
140 |
220 |
350 | |
|
1,5 |
0,844 |
1,056 |
1,304 |
|
3,0 |
0,763 |
0,992 |
1,271 |
|
6,0 |
0,59 |
0,804 |
1,081 |
Утепленный ригель
Схема узла представлена на рисунке Г.25.

1 - ригель
Рисунок Г.25 - Схема прохождения ригеля под перекрытием над неотапливаемым подпольем
Параметры, влияющие на потери теплоты через узел:
- высота ригеля dри, мм;
- термическое сопротивление слоя утеплителя Rут, м2·°C/Вт.
Ширина ригеля практически не имеет значения.
Удельные потери теплоты Ψри, Вт/(м·°C), находят по таблице Г.140 интерполяцией.
|
Rут, м2·°C/Вт |
Высота ригеля, мм | ||
|
200 |
400 |
800 | |
|
1,5 |
0,108 |
0,208 |
0,29 |
|
3,0 |
0,044 |
0,119 |
0,206 |
|
6,0 |
0,004 |
0,044 |
0,113 |
Узел прохождения металлической колонны через перекрытие
Металлическая колонна - это сильное теплопроводное включение, которое приводит к огромным дополнительным потерям теплоты и промерзанию узла, если колонну не утеплить снаружи. Для расчетов, приводимых ниже, принимают, что колонна утеплялась снаружи на всю высоту утеплителем толщиной, равной толщине утеплителя на перекрытии.
Параметры, влияющие на потери теплоты через узел:
- площадь металла сечения колонны плоскостью, проходящей вдоль перекрытия на уровне утеплителя, Sк, мм2;
- термическое сопротивление слоя утеплителя Rут, м2·°C/Вт.
Узел прохождения колонны показан на рисунке Г.26.

1 - колонна; 2 - утеплитель; 3 - клеевой слой
Рисунок Г.26 - Схема узла прохождения колонны через перекрытие
Удельные потери теплоты χк, Вт/°C, находят по таблице Г.141 интерполяцией.
|
Rут, м2·°C/Вт |
Площадь сечения колонны Sк, мм2 | |||
|
2000 |
4000 |
8500 |
20000 | |
|
1,5 |
0,121 |
0,206 |
0,367 |
0,663 |
|
3,0 |
0,098 |
0,167 |
0,302 |
0,554 |
|
6,0 |
0,075 |
0,131 |
0,242 |
0,465 |
Г.13 Узлы типовых ворот
Перечисленные в настоящем разделе узлы следует учитывать при расчете приведенного сопротивления теплопередаче ворот отапливаемых помещений.
Ворота отапливаемых помещений - это подвижные конструкции с существенным движением воздуха через различные щели, притворы и швы. Цель настоящего расчета - определить характеристики конструкции в закрытом виде без движения воздуха. При необходимости учета влияния движения воздуха на потери теплоты необходимо проводить отдельный расчет движения воздуха.
Ворота отапливаемых помещений примыкают к полу и стеновым конструкциям, при этом возникающие узлы создают дополнительные потери теплоты. В расчетах приведенного сопротивления теплопередаче ворот учитывают только дополнительные потери теплоты, зависящие от конструкции ворот. Разделение дополнительных потерь теплоты осуществляют расчетом, в котором за основу принимают потери теплоты через эталонный узел с "идеальным" примыканием абсолютно однородных ворот. При этом само "идеальное" примыкание должно совпадать по всем размерам с исследуемым примыканием.
Для проведения расчетов приведенного сопротивления теплопередаче ворота разделяют на шесть основных теплозащитных элементов:
1) ворота по глади (плоский элемент);
2) стык панелей (линейный элемент);
3) боковое примыкание ворот к стене (линейный элемент);
4) верхнее примыкание ворот к стене (линейный элемент);
5) нижнее примыкание ворот к полу (линейный элемент);
6) крепление петель (точечный элемент).
Характеристики элементов находят расчетом температурных полей или по таблицам, приведенным ниже.
Удельные потери теплоты приведены в таблицах Г.142 - Г.156.
Стык панелей
Общая схема панелей показана на рисунке Г.27. Соседние панели стыкуют между собой через подвижное соединение верхнего края одной панели и нижнего края другой панели, так что в закрытом состоянии панели плотно примыкают друг к другу.

Рисунок Г.27 - Схема панели ворот
Параметры, влияющие на потери теплоты через узел:
- толщина панели dпан, мм;
- средняя толщина терморазрыва dтр, мм.
Терморазрыв может быть разной толщины сверху и снизу панели. Терморазрыв находится между листами облицовки, которые в общем случае могут быть расположены в зоне разрыва под углом. Для расчетов dтр берут полусумму верхнего и нижнего терморазрывов, каждый из которых принят по среднему размеру.
|
dпан, мм |
dтр, мм | ||||
|
0 |
4 |
8 |
20 |
50 | |
|
40 |
0,329 |
0,147 |
0,095 |
0,037 |
- |
|
60 |
0,301 |
0,150 |
0,102 |
0,047 |
- |
|
80 |
0,274 |
0,148 |
0,105 |
0,053 |
0,015 |
Боковое примыкание ворот к стене
Параметры, влияющие на потери теплоты через узел:
- толщина панели dпан, мм;
- средняя толщина боковой крышки dкр, мм.
Боковая крышка выполнена из стали.
|
|
dпан, мм |
dкр, мм | |
|
0,5 |
1 | ||
|
40 |
0,308 |
0,365 | |
|
60 |
0,311 |
0,373 | |
|
80 |
0,311 |
0,375 | |
|
|
dпан, мм |
dкр, мм | |
|
0,5 |
1 | ||
|
40 |
0,267 |
0,325 | |
|
60 |
0,270 |
0,332 | |
|
80 |
0,270 |
0,335 | |
|
|
dпан, мм |
dкр, мм | |
|
0,5 |
1 | ||
|
40 |
0,211 |
0,255 | |
|
60 |
0,215 |
0,263 | |
|
80 |
0,216 |
0,266 | |
Верхнее примыкание ворот к стене
Параметры, влияющие на потери теплоты через узел:
- толщина панели dпан, мм;
- выбор верхнего профиля.
|
|
dпан, мм |
Ψ |
|
40 |
0,390 | |
|
60 |
0,420 | |
|
80 |
0,434 |
|
|
dпан, мм |
Ψ |
|
40 |
0,254 | |
|
60 |
0,263 | |
|
80 |
0,261 |
|
|
dпан, мм |
Ψ |
|
40 |
0,061 | |
|
60 |
0,062 | |
|
80 |
0,061 |
|
|
dпан, мм |
Ψ |
|
40 |
0,156 | |
|
60 |
0,182 | |
|
80 |
0,201 |
|
|
dпан, мм |
Ψ |
|
40 |
0,193 | |
|
60 |
0,246 | |
|
80 |
0,288 |
|
|
dпан, мм |
Ψ |
|
40 |
0,308 | |
|
60 |
0,311 | |
|
80 |
0,311 |
Нижнее примыкание ворот к полу
Параметры, влияющие на потери теплоты через узел:
- толщина панели dпан, мм;
- выбор нижнего профиля.
|
|
dпан, мм |
Ψ |
|
40 |
0,470 | |
|
60 |
0,469 | |
|
80 |
0,465 |
|
|
dпан, мм |
Ψ |
|
40 |
0,302 | |
|
60 |
0,271 | |
|
80 |
0,246 |
|
|
dпан, мм |
Ψ |
|
40 |
0,340 | |
|
60 |
0,317 | |
|
80 |
0,302 |
|
|
dпан, мм |
Ψ |
|
40 |
0,215 | |
|
60 |
0,194 | |
|
80 |
0,182 |
|
|
dпан, мм |
Ψ |
|
40 |
0,153 | |
|
60 |
0,135 | |
|
80 |
0,126 |
В отличие от верхнего профиля с терморазрывом нижний профиль с терморазрывом дает заметно больший эффект за счет иного примыкания к окружающим конструкциям. Для узла верхнего примыкания основной тепловой поток идет вдоль конструкции и терморазрыв практически не работает. Для нижнего узла примыкания тепловой поток идет поперек ворот, и терморазрыв оказывает существенное влияние.
Г.14 Узел сопряжения панорамного остекления с балконной консолью
Такой узел - разновидность узла сопряжения балконной плиты со стеной в месте, где остекление (например, двери лоджий) доходит до пола. Остекление имеет значительно меньшую толщину, чем основная стена, таким образом создают намного более опасное для промерзания место, которое требует выполнения мероприятий по сокращению теплопотерь и повышению температуры внутренней поверхности конструкции. Для сравнения приведены данные по удельным потерям теплоты и максимальному относительному перепаду температуры на внутренней поверхности для узла с применением НТЭ (приоритетный для такого узла вариант) и для случая перфорации 3/1.
Общий вид узла показан на рисунке Г.28.

Рисунок Г.28 - Схема узла сопряжения панорамного остекления с балконной консолью
Параметры, влияющие на потери теплоты через узел:
- термическое сопротивление слоя утеплителя на стене Rут, м2·°C/Вт;
- термическое сопротивление профильной системы Rпроф, м2·°C/Вт.
|
Rут, м2·°C/Вт |
Rпроф, м2·°C/Вт | ||
|
0,3 |
0,5 |
0,8 | |
|
1,5 |
0,137 |
0,135 |
0,135 |
|
3 |
0,211 |
0,210 |
0,209 |
|
6 |
0,268 |
0,267 |
0,267 |
|
Rут, м2·°C/Вт |
Rпроф, м2·°C/Вт | ||
|
0,3 |
0,5 |
0,8 | |
|
1,5 |
0,098 |
0,097 |
0,096 |
|
3 |
0,092 |
0,091 |
0,090 |
|
6 |
0,089 |
0,088 |
0,087 |
|
Rут, м2·°C/Вт |
Rпроф, м2·°C/Вт | ||
|
0,3 |
0,5 |
0,8 | |
|
1,5 |
0,371 |
0,369 |
0,369 |
|
3 |
0,454 |
0,453 |
0,453 |
|
6 |
0,493 |
0,493 |
0,493 |
|
Rут, м2·°C/Вт |
Rпроф, м2·°C/Вт | ||
|
0,3 |
0,5 |
0,8 | |
|
1,5 |
0,258 |
0,258 |
0,257 |
|
3 |
0,255 |
0,254 |
0,254 |
|
6 |
0,244 |
0,243 |
0,243 |
Узел с перфорацией 3/1 не обеспечивает выполнения требований к минимальной температуре на внутренней поверхности для большинства климатических зон Российской Федерации.
Г.15 Узлы ограждающих конструкций, контактирующих с грунтом
В настоящем разделе приведены удельные потери теплоты для трех разновидностей узлов ограждающих конструкций, контактирующих с грунтом:
а) стык стены вне грунта со стеной в грунте;
б) стык стены в грунте с полом в грунте;
в) стык стен в грунте под прямым углом. Классический угол стены в грунте.
Это не единственные теплотехнические неоднородности, которые могут возникнуть для ограждающих конструкций, контактирующих с грунтом, но наиболее распространенные теплотехнические неоднородности, характерные для каждой такой конструкции.
Первые две разновидности узла показаны на рисунке Г.29.

Рисунок Г.29 - Стык стены вне грунта со стеной в грунте (А) и стык стены в грунте с полом в грунте (Б)
Характерная особенность узлов ограждающих конструкций, контактирующих с грунтом то, что их удельные потери теплоты зависят от глубины расположения узла. Это основной влияющий параметр и именно на его варьировании построены все таблицы. Исключением является только узел стыка стены вне грунта со стеной в грунте, который всегда расположен на одной и той же глубине. Для него основным влияющим параметром является конструкция стены вне грунта, точнее характеристики и расположение слоя утеплителя. Для составления таблиц принято, что влияет только толщина слоя утеплителя.
|
Толщина слоя утеплителя стены вне грунта, мм |
Ψ, Вт/(м·°C) |
|
50 |
0,159 |
|
100 |
0,094 |
|
150 |
0,048 |
|
200 |
0 |
Удельные потери теплоты Ψ, Вт/(м·°C), стыка стены вне грунта со стеной в грунте при толщине слоя утеплителя стены вне грунта более 200 мм следует принимать равными 0 или рассчитывать численно (это будет отрицательная величина).
При использовании таблиц Г.160 и Г.161 и расчете приведенного сопротивления ограждающих конструкций в грунте полосами по приложению Е СП 50.13330 следует принимать среднюю глубину расположения пола.
|
Глубина расположения стыка, м |
Ψ, Вт/(м·°C) |
|
2 |
0,064 |
|
4 |
0,128 |
|
6 |
0,192 |
|
8 |
0,256 |
|
10 |
0,32 |
|
12 |
0,384 |
Зависимость от глубины практически линейная.
Значения удельных потерь теплоты в таблице Г.161 приведены для участков длиной по 2 м, что в целом соответствует методике расчета приведенного сопротивления теплопередаче стен полосами. Каждой полосе стены соответствуют свои удельные потери теплоты угла в грунте.
|
Глубина расположения угла, м |
Ψ, Вт/(м·°C) |
|
От 0 до 2 включ. |
0,282 |
|
От 2 до 4 включ. |
0,352 |
|
От 4 до 6 включ. |
0,374 |
|
От 6 до 8 включ. |
0,395 |
|
От 8 до 10 включ. |
0,418 |
|
От 10 до 12 включ. |
0,439 |
, (5.1)
, (5.2)
, (5.3)
, (5.4)
, (5.5)
, (5.6)
. (5.7)
, (6.1)
;
, (6.3)
, (6.4)































































































