СП 249.1325800.2016 (23.11.2020) КОММУНИКАЦИИ ПОДЗЕМНЫЕ. ПРОЕКТИРОВАНИЕ И СТРОИТЕЛЬСТВО ЗАКРЫТЫМ И ОТКРЫТЫМ СПОСОБАМИ
С изменениями:
(23 ноября 2020 г.)
Design and construction of underground utilities by closed and cut-and-cover methods
Дата введения 1 октября 2016 г.
Введен впервые
Введение
Настоящий свод правил разработан с учетом обязательных требований, установленных в Федеральном законе от 27 декабря 2002 г. N 184-ФЗ "О техническом регулировании", Федеральном законе от 29 декабря 2004 г. N 190-ФЗ "Градостроительный кодекс Российской Федерации", Федеральном законе от 30 декабря 2009 г. N 384-ФЗ "Технический регламент о безопасности зданий и сооружений" и содержит основные геотехнические требования, которые должны соблюдаться при проектировании и строительстве подземных коммуникаций, прокладываемых закрытым и открытым способами.
Свод правил выполнен авторским коллективом НИИОСП им. Н.М. Герсеванова - институтом АО "НИЦ "Строительство" (д-р техн. наук, проф. В.П. Петрухин, канд. техн. наук И.В. Колыбин - руководители темы; канд. техн. наук О.Н. Исаев - отв. исполнитель; д-р техн. наук, проф. В.И. Шейнин; канд. техн. наук: Д.Е. Разводовский, Р.Ф. Шарафутдинов, инженер А.Н. Пушилин) при участии НИЦ ОПП АО "Мосинжпроект" (д-р техн. наук, проф. В.Е. Меркин, канд. техн. наук: Д.С. Конюхов, Е.Н. Петрова, инженер Ю.Е. Соломатин), ОАО "НИИМосстрой" (канд. техн. наук Б.В. Ляпидевский), Филиал ОАО ЦНИИС "НИЦ "Тоннели и метрополитены" (канд. техн. наук Е.В. Щекудов, И.М. Малый), ООО "БТ СВАП" (канд. техн. наук Меликов С.В.).
Изменение N 1 к СП 249.1325800.2016 разработано АО "НИЦ "Строительство" - НИИОСП им. Н.М. Герсеванова (руководитель темы - канд. техн. наук О.Н. Исаев; отв. исполнитель - канд. техн. наук Р.Ф. Шарафутдинов); АО "ЦНИИПромзданий" (канд. техн. наук H.Г. Келасьев, инженер К.B. Авдеев).
Настоящий свод правил устанавливает основные геотехнические требования и распространяется на проектирование и строительство (прокладку) новых и реконструируемых подземных инженерных коммуникаций (далее - подземные коммуникации) закрытым и открытым способами.
В настоящем своде правил использованы нормативные ссылки на следующие документы:
ГОСТ 2284-79 Лента холоднокатаная из углеродистой конструкционной стали. Технические условия
ГОСТ 3262-75 Трубы стальные водогазопроводные. Технические условия
ГОСТ 3282-74 Проволока стальная низкоуглеродистая общего назначения. Технические условия
ГОСТ 4682-84 Концентрат баритовый. Технические условия
ГОСТ 5578-2019 Щебень и песок из шлаков черной и цветной металлургии для бетонов. Технические условия
ГОСТ 5781-82 Сталь горячекатаная для армирования железобетонных конструкций. Технические условия
ГОСТ 8267-93 Щебень и гравий из плотных горных пород для строительных работ. Технические требования
ГОСТ 8731-74 Трубы стальные бесшовные горячедеформируемые. Технические условия
ГОСТ 8732-78 Трубы стальные бесшовные горячедеформированные. Сортамент
ГОСТ 8736-2014 Песок для строительных работ. Технические условия
ГОСТ 10178-85 Портландцемент и шлакопортландцемент. Технические условия
ГОСТ 14098-2014 Соединения сварные арматуры и закладных изделий железобетонных конструкций. Типы, конструкции и размеры
ГОСТ 14918-2020 Прокат листовой горячеоцинкованный. Технические условия
ГОСТ 18599-2001 Трубы напорные из полиэтилена. Технические условия
ГОСТ 20295-85 Трубы стальные, сварные для магистральных газонефтепроводов. Технические условия
ГОСТ 23732-2011 Вода для бетонов и строительных растворов. Технические условия
ГОСТ 24846-2012 Грунты. Методы измерения деформаций оснований зданий и сооружений
ГОСТ 24950-2019 Отводы гнутые и вставки кривые на поворотах линейной части стальных трубопроводов. Технические условия
ГОСТ 25100-2011 Грунты. Классификация
ГОСТ 27751-2014 Надежность строительных конструкций и оснований. Основные положения
ГОСТ 30416-2012 Грунты. Лабораторные испытания. Общие положения
ГОСТ 30515-2013 Цементы. Общие технические условия
ГОСТ 30672-2012 Грунты. Полевые испытания. Общие положения
ГОСТ 31108-2016 Цементы общестроительные. Технические условия
ГОСТ Р 52939-2008 Руды железные товарные необогащенные. Общие технические условия
ГОСТ Р 58121.2-2018 (ИСО 4437-2:2014) Пластмассовые трубопроводы для транспортирования газообразного топлива. Полиэтилен (ПЭ). Часть 2. Трубы
СП 16.13330.2017 "СНиП II-23-81* Стальные конструкции" (с изменениями N 1, N 2)
СП 20.13330.2016 "СНиП 2.01.07-85* Нагрузки и воздействия" (с изменениями N 1, N 2)
СП 21.13330.2012 "СНиП 2.01.09-91 Здания и сооружения на подрабатываемых территориях и просадочных грунтах" (с изменением N 1)
СП 22.13330.2016 "СНиП 2.02.01-83* Основания зданий и сооружений" (с изменениями N 1, N 2, N 3)
СП 24.13330.2011 "СНиП 2.02.03-85 Свайные фундаменты" (с изменениями N 1, N 2, N 3)
СП 25.13330.2012 "СНиП 2.02.04-88 Основания и фундаменты на вечномерзлых грунтах" (с изменениями N 1, N 2, N 3, N 4)
СП 28.13330.2017 "СНиП 2.03.11-85 Защита строительных конструкций от коррозии" (с изменениями N 1, N 2)
СП 31.13330.2012 "СНиП 2.04.02-84* Водоснабжение. Наружные сети и сооружения" (с изменениями N 1, N 2, N 3, N 4, N 5)
СП 32.13330.2018 "СНиП 2.04.03-85 Канализация. Наружные сети и сооружения" (с изменением N 1)
СП 33.13330.2012 "СНиП 2.04.12-86 Расчет на прочность стальных трубопроводов" (с изменением N 1)
СП 35.13330.2011 "СНиП 2.05.03-84* Мосты и трубы" (с изменениями N 1, N 2)
СП 36.13330.2012 "СНиП 2.05.06-85* Магистральные трубопроводы" (с изменениями N 1, N 2)
СП 42.13330.2016 "СНиП 2.07.01-89* Градостроительство. Планировка и застройка городских и сельских поселений" (с изменениями N 1, N 2)
СП 45.13330.2017 "СНиП 3.02.01-87 Земляные сооружения, основания и фундаменты" (с изменениями N 1, N 2)
СП 46.13330.2012 "СНиП 3.06.04-91 Мосты и трубы" (с изменениями N 1, N 3, N 4)
СП 47.13330.2016 "СНиП 11-02-96 Инженерные изыскания для строительства. Основные положения"
СП 48.13330.2019 "СНиП 12-01-2004 Организация строительства"
СП 62.13330.2011 "СНиП 42-01-2002 Газораспределительные системы" (с изменениями N 1, N 2, N 3)
СП 63.13330.2018 "СНиП 52-01-2003 Бетонные и железобетонные конструкции. Основные положения" (с изменением N 1)
СП 66.13330.2011 Проектирование и строительство напорных сетей водоснабжения и водоотведения с применением высокопрочных труб из чугуна с шаровидным графитом (с изменениями N 1, N 2)
СП 68.13330.2017 "СНиП 3.01.04-87 Приемка в эксплуатацию законченных строительством объектов. Основные положения" (с изменением N 1)
СП 116.13330.2012 "СНиП 22-02-2003 Инженерная защита территорий, зданий и сооружений от опасных геологических процессов. Основные положения"
СП 246.1325800.2016 Положение об авторском надзоре за строительством зданий и сооружений
СП 248.1325800.2016 Сооружения подземные. Правила проектирования
СП 250.1325800.2016 Здания и сооружения. Защита от подземных вод
СП 265.1325800.2016 Коллекторы коммуникационные. Правила проектирования и строительства
СП 305.1325800.2017 Здания и сооружения. Правила проведения геотехнического мониторинга при строительстве
СП 341.1325800.2017 Подземные инженерные коммуникации. Прокладка горизонтальным направленным бурением
СП 361.1325800.2017 Здания и сооружения. Защитные мероприятия в зоне влияния строительства подземных объектов
СП 399.1325800.2018 Системы водоснабжения и канализации наружные из полимерных материалов. Правила проектирования и монтажа
СанПиН 2.1.7.1287-03 Санитарно-эпидемиологические требования к качеству почвы
Примечание - При пользовании настоящим сводом правил целесообразно проверить действие ссылочных документов в информационной системе общего пользования - на официальном сайте Федерального агентства по техническому регулированию и метрологии в сети Интернет или по ежегодному информационному указателю "Национальные стандарты", который опубликован по состоянию на 1 января текущего года, и по выпускам ежемесячного информационного указателя "Национальные стандарты" за текущий год. Если заменен ссылочный документ, на который дана недатированная ссылка, то рекомендуется использовать действующую версию этого документа с учетом всех внесенных в данную версию изменений. Если заменен ссылочный документ, на который дана датированная ссылка, то рекомендуется использовать версию этого документа с указанным выше годом утверждения (принятия). Если после утверждения настоящего свода правил в ссылочный документ, на который дана датированная ссылка, внесено изменение, затрагивающее положение, на которое дана ссылка, то это положение рекомендуется применять без учета данного изменения. Если ссылочный документ отменен без замены, то положение, в котором дана ссылка на него, рекомендуется применять в части, не затрагивающей эту ссылку. Сведения о действии сводов правил целесообразно проверить в Федеральном информационном фонде технических регламентов и стандартов.
В настоящем своде правил применены следующие термины с соответствующими определениями:
3.1 активный пригруз забоя: Регулируемое давление на всю площадь забоя, действующее постоянно в процессе проходки тоннеля и уравновешивающее горное давление грунта и гидростатическое давление грунтовых вод.
3.2 бентонитовый раствор: Суспензия, приготовленная на основе бентонитового глинопорошка, воды и специальных добавок (при необходимости), обладающая тиксотропными свойствами, применяемая при проходке выработок и для пригруза забоя.
3.3 бестраншейные непилотируемые технологии: Бестраншейные технологии, не требующие постоянного присутствия персонала внутри прокладываемой коммуникации.
3.4 бестраншейные неуправляемые технологии: Бестраншейные технологии, позволяющие выполнять прокладку коммуникаций по трассе только прямолинейно в плане и профиле.
3.5 бестраншейные пилотируемые технологии: Бестраншейные технологии, требующие постоянного присутствия персонала внутри прокладываемой коммуникации.
3.6 бестраншейные технологии: Технологии прокладки, замены и восстановления подземных коммуникаций закрытым способом (без вскрытия земной поверхности над ними).
3.7 бестраншейные управляемые технологии: Бестраншейные технологии, позволяющие выполнять прокладку коммуникаций по трассе криволинейного очертания в плане и профиле.
3.8 геотехническое проектирование: Проектирование оснований, фундаментов и конструкций подземных сооружений, взаимодействующих с грунтом.
3.9 гидравлический прокол (гидропрокол): Устройство скважины с применением кинетической энергии струи воды, выходящей под давлением из расположенной впереди трубы конической насадки.
3.10 гидропригруз (суспензионный пригруз) забоя: Активный пригруз забоя, создаваемый с помощью специального суспензионного глинистого (с улучшающими и (или) специальными добавками) или полимерного раствора.
3.11 горизонтальное (наклонное) направленное бурение; ГНБ: Многоэтапная технология бестраншейной прокладки подземных инженерных коммуникаций с помощью специализированных мобильных буровых установок, позволяющая вести управляемую проходку по криволинейной траектории, расширять скважину, протягивать трубопровод.
Примечание - Бурение ведется под контролем систем локации, с применением бентонитовых (полимерных) буровых растворов.
3.12
|
горная выработка: Полость в земной коре, образуемая в результате осуществления горных работ с целью разведки и добычи полезных ископаемых, проведения инженерно-геологических изысканий и строительства подземных сооружений. [СП 21.13330.2012, статья 3.1] |
3.13 горная закрытая выработка (закрытая выработка): Выработка, образуемая без вскрытия земной поверхности над ней.
3.14 горная открытая выработка (открытая выработка): Выработка, образуемая с вскрытием земной поверхности над ней.
3.15 грунтовый пригруз (грунтопригруз) забоя: Активный пригруз забоя, создаваемый с помощью грунта, измельченного породоразрушающим органом проходческого щита при разработке забоя, модифицированного, при необходимости, специальными добавками.
3.16 деформация основания расчетная (прогнозная): Деформация, определенная с применением расчетных методов и моделей.
3.17
|
забой: Место, где происходит разработка грунта открытым или закрытым (подземным) способом, перемещающееся в процессе производства работ. [СП 21.13330.2012, статья 3.10] |
3.18
|
закрытый способ строительства: Способ строительства подземных сооружений без вскрытия земной поверхности над ними. [СП 21.13330.2012, статья 3.11] |
3.19 канал: Закрытое подземное протяженное сооружение высотой менее 2 м до выступающих конструкций, предназначенное для прокладки коммуникаций (кабелей, трубопроводов и т.д.).
3.20 коммуникации с неравнопрочными стыками: Коммуникации, у которых прочность стыков ниже прочности стыкуемых секций и элементов или они податливы по стыкам.
3.21 коммуникации с равнопрочными стыками: Коммуникации, у которых прочность стыков не ниже прочности стыкуемых секций и элементов.
3.21а композитобетон: Бетон, армированный композитной полимерной арматурой периодического профиля.
3.22 микротоннелепроходческий комплекс; МТПК: Комплект оборудования, предназначенный для прокладки подземных коммуникаций из стыкуемых труб путем их продавливания с помощью домкратов и расположенной впереди трубопровода дистанционно-управляемой (в автоматическом режиме) проходческой машины, без присутствия людей в забое.
3.23 микротоннелирование: Технология прокладки труб закрытым способом работ с применением микротоннелепроходческого комплекса.
3.24
|
обделка: Постоянная конструкция, закрепляющая выработку и образующая ее внутреннюю поверхность. [СП 21.13330.2012, статья 3.19] |
3.25 общий (коммуникационный) коллектор: Подземное линейное сооружение для совместной прокладки (размещения) и обслуживания трубопроводов и кабелей различного назначения.
3.26 основание: Массив грунта, взаимодействующий со зданиями, сооружениями и подземными коммуникациями.
3.27 открытый способ строительства: Способ строительства подземных сооружений со вскрытием земной поверхности над ними.
3.28 пеногрунтовый пригруз: Активный пригруз забоя, создаваемый с помощью разработанного грунта с добавлением в него специальной пены.
3.29 перебор грунта: Расчетный параметр, задаваемый при моделировании деформаций грунтового массива в результате проходки закрытой выработки, равный отношению разности площадей выработки и прокладываемой коммуникации с учетом технологического заполнения грунтом кольцевого зазора между прокладываемой коммуникацией и контуром образуемой выработки, к площади поперечного сечения выработки.
3.30 пневматический пригруз (пневмопригруз, воздушный пригруз): Активный пригруз забоя, создаваемый с помощью сжатого воздуха.
Примечание - При воздухопроникающей структуре грунта в забое может уравновешивать только гидростатическое давление грунтовых вод, при специальной обработке поверхности забоя может дополнительно уравновешивать горное давление грунта.
3.31 подземные инженерные коммуникации: Подземные линейные сооружения с технологическими устройствами на них, предназначенные для транспортирования жидкостей, газов, передачи энергии и информации.
Примечание - Подземные инженерные коммуникации состоят из трубопроводов, кабельных линий и коллекторов.
3.32 приемный (демонтажный) котлован (шахтный ствол): Вертикальная подземная выработка для демонтажа проходческого оборудования в конечной точке трассы прокладываемой подземной коммуникации.
3.33 продавливание: Процесс строительства подземной коммуникации путем продавливания в грунте труб или тоннельных конструкций с открытым концом и, как правило, ножевым элементом, сопровождаемый разрушением грунта в забое и удалением его по мере их продвижения.
3.34 прокол: Процесс строительства подземной коммуникации путем статического, ударного или ударно-импульсного внедрения в грунт труб (штанг) с конусным (направляющим) наконечником, сопровождаемый уплотнением окружающего массива грунта.
3.35 прокол с пневмопробойником: Устройство скважины с применением самодвижущегося пневматического рабочего органа ударного действия, образующего скважину и уплотняющего окружающий массив грунта.
3.36 расчетная область: Область конечных размеров, включающая в себя подземное сооружение или его фрагмент и фрагмент основания, рассматриваемая в расчетной модели и подлежащая дискретизации конечными элементами.
3.37 реновация (восстановление) коммуникации (трубопровода): Бестраншейная технология восстановления (замены) коммуникации на всем ее протяжении, выполняемая без или с разрушением старой коммуникации.
3.38 специальный коллектор: Подземное линейное сооружение для прокладки (размещения) и обслуживания однотипных сетей (канализация, водосток, кабельные линии и др.).
3.39 стартовый (монтажный) котлован (шахтный ствол): Вертикальная подземная выработка для монтажа проходческого оборудования в начальной точке трассы прокладываемого трубопровода.
3.40 статический прокол: Устройство скважины путем вдавливания с помощью домкратов трубы (штанги) с конусным наконечником, сопровождаемое уплотнением окружающего массива грунта.
3.41 тампонажный раствор: Рационально составленная, перемешанная до однородного состояния смесь вяжущего вещества, заполнителя, воды и добавок.
3.42 тоннелепроходческий механизированный комплекс; ТПМК: Комплект механизмов и устройств для разработки грунта, крепления забоя, возведения обделки и нагнетания тампонажного раствора за обделку.
3.43
|
тоннель: Горизонтальное или наклонное протяженное подземное сооружение высотой 2 м и более до выступающих конструкций, предназначенное для прокладки железных и автомобильных дорог, пешеходных переходов, коммуникаций и т.д. [СП 21.13330.2012, статья 3.36] |
3.44 трасса: Положение оси линейного сооружения (трубопровода, кабеля и др.), отвечающее ее проектному положению на местности.
3.45 ударно-импульсный прокол (вибропрокол): Устройство скважины путем забивки с помощью ударно-вибрационно-вдавливающей установки (вибромолота) трубы с конусным наконечником, сопровождаемое уплотнением окружающего массива грунта.
4.1 При проектировании и строительстве подземных коммуникаций следует соблюдать требования настоящего свода правил, действующего законодательства Российской Федерации, а также нормативных документов на проектирование и строительство подземных коммуникаций соответствующего вида.
Выбор объемно-планировочных и конструктивных решений элементов сооружений инженерных сетей следует выполнять с учетом приложения П.
4.2 При применении настоящего свода правил необходимо обеспечивать выполнение следующих положений:
- исходные данные для проектирования должны собираться в необходимом и достаточном объеме, регистрироваться и интерпретироваться специалистами, обладающими надлежащей квалификацией и опытом;
- должны быть обеспечены координация и связь между специалистами по изысканиям, проектированию и строительству;
- должны быть обеспечены соответствующие надзор и контроль качества при изготовлении строительных изделий и выполнении работ на строительной площадке;
- проектные и строительные работы должны выполняться квалифицированным и опытным персоналом и удовлетворять требованиям стандартов, сводов правил и технических условий;
- применяемые материалы и изделия должны удовлетворять требованиям проекта, стандартов и технических условий;
- техническое обслуживание подземных коммуникаций и связанных с ними инженерных систем должно обеспечивать их безопасность и рабочее состояние на весь срок эксплуатации;
- подземные коммуникации должны применяться по их назначению в соответствии с проектом.
4.3 Подземные коммуникации подразделяются:
- по виду - трубопроводы, кабельные линии и коллекторы.
- по назначению - водопроводы, водоводы, газопроводы, канализация, кабели слабого тока, силовые кабели, общие коллекторы, специальные коллекторы, нефтепроводы, нефтепродуктопроводы, теплопроводы и др.;
- по принципу транспортирования жидкостей и газов - самотечные и напорные;
- по материалу - выполняемые из стали, железобетона, чугуна, полимера, керамики, хризотилцемента и др.;
- по типу стыков секций и элементов - с равнопрочными (трубы на сварке и др.) и неравнопрочными (трубы с раструбными соединениями и др.) стыками;
- по способу защиты - без защитных конструкций (прокладываемые в грунте) и с защитными конструкциями (в коллекторе, канале, футляре, с использованием специальных защитных покрытий и др.);
- по проходимости - проходные, полупроходные и непроходные.
4.4 Уровень ответственности подземных коммуникаций следует устанавливать в соответствии с [1], ГОСТ 27751, геотехническую категорию - по приложению Б.
4.5 Для прокладки подземных коммуникаций допускается применять изделия и трубы, выпускаемые по национальным стандартам, стандартам организаций и техническим условиям, утвержденным в установленном порядке, с учетом требований действующих сводов правил на проектирование подземных коммуникаций соответствующего вида.
Примечание - Технические требования к трубам с защитным бетонным покрытием в металлополимерной оболочке приведены в приложении В.
4.6 Прокладка подземных коммуникаций может осуществляться закрытым или открытым способом. Выбор способа и технологии прокладки должен осуществляться на основании технико-экономического сравнения вариантов с учетом:
- требований технических условий на прокладываемые подземные коммуникации;
- требований действующих нормативных документов на проектирование и строительство подземных коммуникаций соответствующего вида;
- размеров, материала, протяженности трассы, точности прокладки подземных коммуникаций;
- инженерно-геологических, гидрогеологических и градостроительных условий строительства;
- обеспечения надежности ранее возведенных зданий, сооружений и ранее проложенных подземных коммуникаций (далее - сооружения), расположенных в зоне влияния строительства;
- наличия строительного оборудования и материалов;
- экологических требований;
- рельефа местности.
4.7 Прокладку подземных коммуникаций закрытым способом следует выполнять с применением: щитовой проходки, микротоннелирования, горизонтального направленного бурения, прокола (7.3) и других бестраншейных технологий (приложение Г), которые подразделяются:
- по необходимости постоянного присутствия персонала внутри прокладываемой подземной коммуникации - на пилотируемые и непилотируемые;
- по способности выполнять прокладку подземных коммуникаций по трассе криволинейного очертания - на управляемые и неуправляемые;
- по наличию вдоль оси трассы ранее проложенной коммуникации (трубопровода) - прокладка новой коммуникации в условиях отсутствия ранее проложенной коммуникации, реновация существующей коммуникации с ее разрушением или без;
- по воздействию на массив грунта, окружающего прокладываемую подземную коммуникацию, - без деформаций грунта (реновация без разрушения старой коммуникации), с уплотнением грунта, с удалением (извлечением) грунта.
4.8 Прокладку подземных коммуникаций открытым способом следует выполнять в траншеях (котлованах), устраиваемых с откосами или с применением ограждающих и удерживающих конструкций.
В качестве ограждений траншей и котлованов при прокладке подземных коммуникаций открытым способом следует использовать:
- ограждения из отдельных элементов (металлических труб, двутавров, свай и др.);
- шпунтовые ограждения;
- ограждения типа "стена в грунте", устраиваемые траншейным способом, а также из буросекущихся или бурокасательных свай;
- ограждения, устраиваемые с применением струйной или иной технологии закрепления грунта;
- инвентарные щиты (крепь);
- ограждения комбинированного типа и др.
4.9 Прокладка подземных коммуникаций открытым способом может выполняться: без фундаментов (с размещением коммуникаций в защитных конструкциях либо в грунте без защитных конструкций) или с фундаментами (на свайных фундаментах либо ленточных фундаментах мелкого заложения).
Примечание - При соответствующем технико-экономическом обосновании допускается применять фундаменты других видов.
4.10 Подземные коммуникации должны проектироваться и строиться таким образом, чтобы негативное влияние от их строительства и эксплуатации на окружающую среду и застройку было минимальным и не превышало предельных значений. При выборе проектных решений и методов устройства должен оцениваться сопоставимый опыт строительства, в первую очередь в аналогичных грунтовых условиях.
4.11 При инженерно-геологических изысканиях, проектировании и строительстве оснований и фундаментов подземных коммуникаций с применением ранее не применявшихся (недостаточно апробированных) технологий строительства, конструктивных решений или методов проектирования, а также подземных коммуникаций 3-й геотехнической категории необходимо предусматривать научно-техническое сопровождение. Состав работ по научно-техническому сопровождению должен определяться генеральным проектировщиком и согласовываться заказчиком строительства. В состав работ научно-технического сопровождения следует включать работы, приведенные в пункте 4.18 СП 22.13330.2016.
4.12 Программа и результаты инженерных изысканий, проектная документация на основания, фундаменты и конструкции вновь устраиваемых (реконструируемых) подземных коммуникаций (включая ограждения траншей и котлованов), а также результаты оценки влияния строительства, проекты защитных мероприятий и программа геотехнического мониторинга должны проходить геотехническую экспертизу для подземных коммуникаций:
- с глубиной заложения более 5 м;
- 3-й геотехнической категории;
- в зоне влияния строительства которых расположены существующие сооружения;
- размещаемых на территориях с возможным развитием опасных инженерно-геологических процессов.
5.1 Инженерно-геологические и инженерно-геотехнические изыскания для подземных коммуникаций должны выполняться в соответствии с требованиями действующих нормативных документов на проведение изысканий - СП 47.13330, проектирование оснований и фундаментов - СП 21.13330, СП 22.13330, СП 24.13330, СП 25.13330, подземных коммуникаций - СП 31.13330, СП 32.13330, СП 35.13330, СП 36.13330 и др. на испытания грунтов - ГОСТ 30416, ГОСТ 30672 и др. и удовлетворять требованиям настоящего свода правил.
5.2 К составлению технического задания и согласованию программы инженерно-геологических и инженерно-геотехнических изысканий для проектирования подземных коммуникаций 2-й геотехнической категории рекомендуется, а 3-й геотехнической категории следует привлекать специалистов, ответственных за геотехнические разделы проекта.
5.3 Результаты инженерно-геологических изысканий должны содержать необходимые и достаточные данные:
- для технико-экономических расчетов по выбору оптимальных вариантов трассы и методов строительства подземных коммуникаций;
- проектирования линейных и локальных участков подземных коммуникаций;
- выполнения расчетов по предельным состояниям, геотехнического моделирования и расчетов с применением нелинейных моделей грунтов;
- прогнозирования геотехнических рисков, выполнения прогноза изменения инженерно-геологических и гидрогеологических условий территории;
- оценки влияния строительства, разработки мероприятий по обеспечению сохранности и безопасной эксплуатации окружающей застройки и подземных сооружений, расположенных в зоне влияния строительства;
- выбора наиболее эффективных способов, технологий и оборудования для строительных работ.
5.4 Размещение инженерно-геологических выработок по трассе подземных коммуникаций должно быть неравномерным и соответствовать задаче выявления особенностей подземной геологической среды, сгущаться на участках сопряжения различных форм рельефа, сложного геологического строения, развития опасных геологических и инженерно-геологических процессов, окружающей застройки.
Расстояние между инженерно-геологическими скважинами по трассе строительства подземных коммуникаций следует принимать не более 25 м, если в предварительно назначаемой зоне влияния строительства (6.4.6) подземных коммуникаций расположены сооружения.
Примечание - Расстояние между точками статического зондирования следует назначать не более чем для инженерно-геологических скважин.
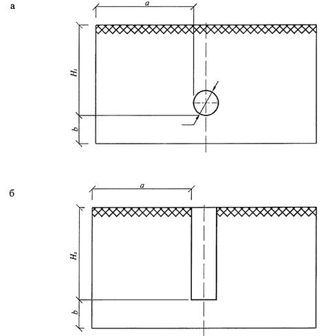
5.5 Глубина инженерно-геологических скважин и точек статического (динамического) зондирования по трассе строительства подземных коммуникаций должна быть на 2 м ниже активной зоны их взаимодействия с окружающим массивом грунта. Толщину активной зоны необходимо рассчитывать по СП 22.13330. При отсутствии данных об активной зоне глубину скважин следует устанавливать в соответствии с таблицей 5.1.
|
Способ строительства подземных коммуникаций |
Глубина скважины, м |
|
Открытый способ (строительство в траншеях и котлованах): а) устройство коммуникаций в грунте или на ленточных фундаментах: | |
|
- с применением ограждающих конструкций; |
1,5Hrs+5 м, но не менее 10 м и не менее Hs+2Dн, |
|
- без применения ограждающих конструкций |
1,5Hs+5 м, но не менее Hs+2Dн |
|
б) устройство коммуникаций на свайных фундаментах |
По пункту 5.11 СП 24.13330.2011 |
|
Закрытый способ (щитовая проходка, микротоннелирование, ГНБ и др.) |
Ht+2Dн, но не менее: Ht+2 м при Dн<1 м, Ht+5 м при Dн≥1 м |
|
Dн - наружный диаметр или поперечный размер подземной коммуникации; Hrs - глубина заложения подошвы ограждающей конструкции; Hs и Ht - глубины заложения низа открытой и закрытой соответственно выработок. | |
5.6 При наличии по трассе подземных коммуникаций специфических грунтов глубину скважин определяют с учетом необходимости их проходки на всю толщу слоя для установления глубины залегания подстилающих грунтов и определения их характеристик.
5.7 При изысканиях на участках развития геологических и инженерно-геологических процессов выработки следует проходить на 3-5 м ниже зоны их активного развития и учитывать требования СП 47.13330.
5.8 На участках вблизи существующих коммуникаций в инженерно-геологических скважинах следует дополнительно выполнять: измерения уровня воды, температуры воды и грунта; химический анализ проб воды и грунта с целью выявления утечек из водонесущих коммуникаций.
5.9 Инженерно-геологические изыскания следует выполнять также вне трассы строительства подземных коммуникаций в случаях:
- необходимости анализа возможности проявления на примыкающей к зоне трассы строительства подземных коммуникаций опасных инженерно-геологических процессов;
- выполнения оценки влияния строительства подземных коммуникаций на окружающую застройку (ориентировочные размеры зоны влияния строительства определяются согласно 6.4.6); в этом случае инженерно-геологические скважины и точки статического зондирования должны располагаться в непосредственной близости от существующих сооружений;
- решения вопроса о необходимости (разработки проекта) усиления грунтов основания и фундаментов существующего сооружения, расположенного в зоне влияния;
- необходимости получения данных для расчета изменения гидрогеологических условий на территории, примыкающей к трассе строительства подземной коммуникации.
5.10 При проектировании подземных коммуникаций, устраиваемых открытым способом, следует учитывать возможность залегания неслежавшихся техногенных, газогенерирующих и иных химически загрязненных техногенных грунтов. Пригодность грунтов для обратной засыпки должна определяться с учетом СанПиН 2.1.7.1287.
6.1.1 Проектирование подземных коммуникаций должно выполняться в соответствии с требованиями СП 16.13330, СП 20.13330, СП 21.13330, СП 22.13330, СП 24.13330, СП 25.13330, СП 28.13330, СП 31.13330, СП 32.13330, СП 33.13330, СП 35.13330, СП 36.13330, СП 42.13330, СП 46.13330, СП 62.13330, СП 63.13330, СП 66.13330, СП 248.1325800, СП 250.1325800, СП 265.1325800, СП 341.1325800, СП 361.1325800, СП 399.1325800 и др. и удовлетворять требованиям настоящего свода правил.
6.1.2 При проектировании подземных коммуникаций должны быть предусмотрены решения:
- обеспечивающие надежность, долговечность и экономичность на всех стадиях строительства и эксплуатации подземных коммуникаций;
- не допускающие сверхпредельных деформаций существующих сооружений окружающей застройки;
- не допускающие сверхпредельных вредных воздействий на экологическую ситуацию;
- допускающие перспективное применение подземного пространства.
6.1.3 Разработка проектов подземных коммуникаций должна выполняться в соответствии с требованиями:
- нормативных документов на проектирование и строительство подземных коммуникаций соответствующего вида;
- технических условий на прокладываемые подземные коммуникации, выданных эксплуатирующей организацией;
- технического задания на проектирование.
6.1.4 Проекты подземных коммуникаций должны разрабатываться с учетом:
- инженерно-геологических и гидрогеологических условий;
- уровня ответственности и геотехнической категории объекта;
- необходимости демонтажа старых строений, подземных сооружений и фундаментов на площадках строительства;
- возможности аварийных утечек и повреждений подземных коммуникаций;
- необходимости выноса и перекладки ранее проложенных подземных коммуникаций;
- необходимости проведения археологических изысканий;
- перспективных планов развития подземного пространства территории и строительства объектов жилищного, культурно-бытового и иного назначения.
6.1.5 Разработка проекта должна выполняться на основании исходной документации:
- отчетов об инженерных изысканиях (инженерно-геодезических, инженерно-геологических, инженерно-экологических);
- инженерной цифровой модели местности (плана) с отображением подземных и надземных сооружений;
- отчетов о техническом обследовании существующих сооружений окружающей застройки в зоне влияния строительства;
- отчетов о техническом обследовании реконструируемых сооружений (при необходимости);
- результатов стационарных наблюдений и мониторинга (при строительстве на территориях с проявлениями опасных инженерно-геологических процессов);
- технических условий, выданных эксплуатирующей организацией.
6.1.6 Исходные данные для разработки проекта должны применяться с учетом их допустимого срока давности. Результаты инженерных изысканий и инженерной цифровой модели местности допускается применять без актуализации при сроке давности их выполнения, не превышающем трех лет. Результаты технического обследования сооружений допускается применять при сроке давности выполнения обследования, не превышающем трех лет для сооружений категории технического состояния I (нормативное) или II (работоспособное), и не превышающем 1,5 года для сооружений категории III (ограниченно-работоспособное) или IV (предаварийное или аварийное).
Примечание - Категории технического состояния сооружений приведены в соответствии с СП 22.13330.
6.1.7 Проектирование подземных коммуникаций включает в себя обоснованные расчетом выбор и определение:
- положения в плане и глубины заложения трасс коммуникаций;
- материала, размеров и других параметров основных и защитных конструкций (при наличии) коммуникаций;
- способов и технологии проходки и устройства локальных и линейных участков коммуникаций;
- ограждающих и удерживающих конструкций (крепи) открытых и закрытых выработок;
- допустимости влияния строительства на окружающую застройку;
- мер защиты окружающей среды и застройки (при необходимости);
- методов и параметров контроля качества строительства;
- методов и параметров контроля при геотехническом мониторинге.
6.1.8 Выбор трасс подземных коммуникаций должен осуществляться с учетом:
- планов перспективного развития городов и других населенных пунктов;
- инженерно-геологических и гидрогеологических условий строительства (в том числе наличия специфических грунтов и опасных геологических процессов);
- неблагоприятных санитарных зон (кладбища, свалки, скотомогильники);
- необходимости сохранности окружающей среды и сооружений окружающей застройки;
- допустимости: прокладки коммуникаций по территории населенных пунктов, пересечения с существующими сооружениями (коммуникациями других видов), прокладки совместно с коммуникациями других видов, прокладки внутри объектов действующей инфраструктуры (тоннелей, переходов и др.);
- минимально допустимых расстояний по вертикали и горизонтали от оси (в свету) проектируемых коммуникаций до ранее возведенных сооружений;
- минимально допустимых радиусов поворота трассы проектируемых коммуникаций.
6.1.9 Расчеты конструкций, фундаментов и оснований подземных коммуникаций должны выполняться с применением расчетных значений характеристик материалов и грунтов.
6.1.10 При проектировании следует учитывать строительные работы и выработки, выполняемые как закрытым, так и открытым способом, а также специальные геотехнические работы.
6.1.11 При проектировании следует учитывать не только влияние строительства подземных коммуникаций на окружающую застройку, но также возможное влияние на них окружающей застройки и городской инфраструктуры.
6.1.12 При проектировании следует учитывать нагрузки и воздействия, возникающие при устройстве и эксплуатации подземных коммуникаций, а также при изготовлении, хранении и перевозке их отдельных элементов и конструкций.
Должны быть рассмотрены все расчетные ситуации и их сценарии как для стадии строительства, так и для стадии эксплуатации подземных коммуникаций. Для каждой расчетной ситуации необходимо проверять, чтобы не наступало ни одно из предельных состояний, в соответствии с ГОСТ 27751, СП 22.13330 и настоящим сводом правил.
6.1.13 Проектные решения должны обеспечивать прочность, устойчивость, пригодность к эксплуатации и долговечность конструктивных элементов коммуникаций, устойчивость и надежность оснований, безопасность выполнения строительных работ, нормальные условия эксплуатации окружающей застройки и отсутствие вредных воздействий на геологическую и гидрогеологическую среды.
6.1.14 При проектировании подземных коммуникаций и их оснований необходимо проверять следующие группы предельных состояний:
- первая группа предельных состояний - состояния, достижение которых ведет к потере несущей способности конструкций или оснований, к невозможности эксплуатации сооружения;
- вторая группа предельных состояний - состояния, при достижении которых нарушается нормальная эксплуатация подземных коммуникаций, исчерпывается ресурс их долговечности.
6.1.15 Для подземных коммуникаций и их оснований к первой группе предельных состояний следует относить:
- потерю устойчивости или равновесия (всплытие и др.) коммуникаций или оснований;
- разрушение любого характера (например, пластическое, хрупкое, усталостное) коммуникаций или их конструктивных элементов;
- явления, при которых возникает необходимость прекращения эксплуатации коммуникаций (разрушение или чрезмерные деформации оснований).
К первой группе предельных состояний относятся также аварийные предельные состояния - специфические предельные состояния, отнесенные ГОСТ 27751 к особым предельным состояниям.
6.1.16 Для подземных коммуникаций и их оснований ко второй группе предельных состояний следует относить:
- достижение предельных деформаций конструкций подземных коммуникаций или их оснований, устанавливаемых исходя из технологических, конструктивных или эстетико-психологических требований;
- достижение предельных уровней колебаний конструкций или оснований, вызывающих вредные для здоровья людей физиологические воздействия и негативные воздействия для оборудования, конструкций и оснований;
- образование трещин, не нарушающих нормальную эксплуатацию коммуникаций, или достижение предельной ширины раскрытия трещин;
- достижение предельных деформаций или предельных состояний сооружений окружающей застройки, расположенных в зоне влияния строительства;
- другие явления, при которых возникает необходимость ограничения во времени эксплуатации коммуникаций из-за неприемлемого снижения их эксплуатационных качеств или расчетного срока службы.
6.1.17 Расчет по предельным состояниям должен заключаться в проверке того, чтобы ни одно из предельных состояний, указанных в 6.1.15 и 6.1.16 не было достигнуто при всех проектных ситуациях и их сценариях.
6.1.18 Расчет конструкций и оснований подземных коммуникаций по предельным состояниям должен выполняться в соответствии с требованиями ГОСТ 27751, действующих норм и правил на проектирование подземных коммуникаций, оснований и фундаментов (6.1.1) соответствующего вида и удовлетворять требованиям настоящего свода правил.
6.1.19 Строительство подземных коммуникаций открытым способом должно выполняться, как правило, без фундаментов (с размещением коммуникаций в защитных конструкциях либо в грунте без защитных конструкций). При строительстве подземных коммуникаций в специфических грунтах или особых условиях, при соответствующем расчетном обосновании, допускается применять свайные или ленточные фундаменты. При строительстве в слабых водонасыщенных грунтах допускается выполнение полной или частичной замены слабого грунта в основании подземной коммуникации.
6.1.20 Для обеспечения требований по долговечности в проекте следует оценивать влияние условий окружающей среды на долговечность материалов и предусматривать защиту или подбор материалов с соответствующими свойствами. Обеспечение требований по долговечности следует выполнять в соответствии с СП 28.13330.
6.1.21 При проектировании следует рассматривать предельные состояния и расчетные ситуации, соответствующие первой и второй группам предельных состояний подземных коммуникаций и их оснований, как в период строительства, так и в период эксплуатации коммуникаций.
6.1.22 Проектные решения подземных коммуникаций в период их эксплуатации должны обеспечивать выполнение следующих требований:
- надежность и долговечность в период расчетного срока службы;
- защиту внутреннего объема подземных коммуникаций от поступления подземных вод;
- защиту конструкций подземных коммуникаций от агрессивного воздействия подземных вод и грунтов, а также от воздействий блуждающих токов;
- соблюдение термовлажностного режима в каналах, коллекторах и тоннелях в соответствии с эксплуатационными требованиями;
- долговечность и ремонтопригодность средств защиты от подземных вод в течение всего срока эксплуатации подземной коммуникации;
- минимальное негативное воздействие на окружающую застройку;
- соответствие требованиям пожарной безопасности;
- соответствие санитарным и экологическим нормам.
6.1.23 Для защиты подземных коммуникаций от подземных вод в период их эксплуатации допускается применять следующие способы защиты:
- гидроизоляционные покрытия и материалы;
- конструкции из водонепроницаемого бетона;
- дренажные устройства и мероприятия, позволяющие снижать уровень подземных вод на прилегающей территории или выполнять перехват подземных вод непосредственно на контуре подземной коммуникации.
Примечание - При необходимости допускается применять комбинацию указанных способов защиты.
6.1.24 При проектировании подземных коммуникаций, строящихся на специфических грунтах и в особых условиях, следует учитывать требования:
- СП 21.13330, СП 22.13330 - на подрабатываемых территориях;
- СП 22.13330 - на просадочных, набухающих, засоленных, органоминеральных и органических, элювиальных, насыпных, намывных, пучинистых, закрепленных грунтах, вблизи источников динамических воздействий;
- СП 25.13330 - на территории распространения вечномерзлых (многолетнемерзлых) грунтов.
6.2.1 Нагрузки и воздействия, их сочетания, учитываемые при проектировании подземных коммуникаций и их оснований, сооружаемых закрытым и открытым способами, должны устанавливаться расчетом, как правило, исходя из рассмотрения совместной работы проектируемой подземной коммуникации, сооружений окружающей застройки и основания с учетом возможного их изменения на различных стадиях возведения и эксплуатации сооружения.
Нагрузки на основание допускается определять без учета их перераспределения подземной коммуникацией (без учета жесткости подземной коммуникации):
- при проверке потери общей устойчивости массива грунта основания совместно с подземной коммуникацией;
- расчете оснований подземных коммуникаций 1-й геотехнической категории;
- расчете средних осадок оснований подземных коммуникаций;
- расчете оснований подземных коммуникаций, в результате которого проверяется условие самотечности коммуникаций;
- расчете оснований подземных коммуникаций, в результате которого проверяется герметичность неравнопрочных стыковых соединений между элементами сборных конструкций коммуникаций.
Все расчеты подземных коммуникаций должны проводиться на расчетные значения нагрузок, которые определяют умножением нормативных значений на соответствующий коэффициент надежности по нагрузке.
Нагрузки и воздействия на основание, подземную коммуникацию или ее отдельные конструктивные элементы, коэффициенты надежности по нагрузке, а также возможные сочетания нагрузок и коэффициенты сочетаний должны приниматься согласно требованиям СП 20.13330, а также нормативных документов на проектирование подземных коммуникаций, оснований и фундаментов соответствующих видов.
При расчете оснований подземных коммуникаций коэффициент надежности по нагрузке принимают:
- по первой группе предельных состояний - по СП 20.13330, а также норм и правил на проектирование подземных коммуникаций, оснований и фундаментов соответствующих видов;
- по второй группе предельных состояний - равным единице, если в нормативных документах на проектирование подземных коммуникаций соответствующих видов не установлены другие значения.
6.2.2 При определении нагрузок и воздействий на основание и подземные коммуникации к постоянным нагрузкам и воздействиям следует относить:
- вес конструкций подземных коммуникаций;
- вес грунта насыпей и засыпок;
- вес сооружений, находящихся в зоне их воздействия на подземную коммуникацию;
- давление грунта и напряжения в основании в долговременных ситуациях;
- давление подземных вод и фильтрационные силы при установившемся режиме;
- воздействие предварительного напряжения подземной коммуникации (упругий изгиб трубопровода и др.).
6.2.3 При определении нагрузок и воздействий на основание и подземные коммуникации к временным длительным нагрузкам и воздействиям следует относить:
- вес стационарного оборудования;
- давление грунта и напряжения в основании в кратковременных ситуациях;
- снятие нагрузки при выемке грунта;
- давление подземных вод и фильтрационные силы при неустановившемся режиме, избыточные поровые давления;
- давление жидкостей и газов внутри подземных коммуникаций;
- длительные вибрационные воздействия от оборудования и транспорта;
- нагрузки от складируемых на поверхности грунта материалов;
- температурные воздействия в период эксплуатации от транспортируемых по подземным коммуникациям жидкостей и газов;
- нагрузки и воздействия обусловленные влажностью, ползучестью и усадкой материалов;
- силы морозного пучения;
- деформации основания подземных коммуникаций, вызванные устройством открытых (траншей и котлованов) и закрытых (щитовой проходки, микротоннелирования и др.) выработок;
- изменения отметок поверхности земли (насыпей и др.) и уровня подземных вод;
- деформации основания подземных коммуникаций, вызванные ухудшением свойств грунта и не сопровождающиеся коренным изменением структуры грунта, а также оттаиванием вечномерзлых грунтов;
- негативное трение и др.
При определении нагрузок и воздействий на основание и подземные коммуникации к временным кратковременным нагрузкам и воздействиям следует относить:
- нагрузки от транспортных и подъемно-транспортных средств;
- нагрузки и воздействия, возникающие при испытании подземных коммуникаций (давление гидравлического удара и др.);
- технологические воздействия при выполнении строительных работ (давление щитовых домкратов, давление раствора при цементации, извлечение шпунта, пригруз забоя и др.);
- температурно-климатические воздействия в период строительства и др.
При определении нагрузок и воздействий на основание и подземные коммуникации к временным особым нагрузкам и воздействиям следует относить:
- нагрузки, обусловленные опасными геологическими процессами;
- воздействия, обусловленные деформациями основания подземных коммуникаций и сопровождающиеся коренным изменением структуры грунта;
- кратковременные вибрационные воздействия от оборудования и транспорта;
- взрывные воздействия;
- нагрузки, обусловленные пожаром;
- нагрузки, вызванные резким нарушением процесса транспортирования жидкостей и газов в подземных коммуникациях.
Примечание - В зависимости от рассматриваемого предельного состояния, а также проектной ситуации (долговременной или кратковременной) некоторые временные длительные нагрузки могут быть отнесены к кратковременным и наоборот.
6.3.1 Проектирование оснований подземных коммуникаций должно выполняться в соответствии с требованиями СП 20.13330, СП 21.13330, СП 22.13330, СП 24.13330, СП 25.13330, СП 31.13330, СП 32.13330, СП 33.13330, СП 35.13330, СП 36.13330, СП 62.13330, СП 248.1325800, СП 399.1325800 и удовлетворять требованиям настоящего свода правил.
Проектирование оснований подземных коммуникаций, строящихся на (в) специфических грунтах и в особых условиях, следует выполнять с учетом требований раздела 6 СП 22.13330.2016.
6.3.2 Проектирование оснований подземных коммуникаций включает в себя обоснованный расчетом выбор:
- типа основания (естественное или искусственное);
- типа, конструкции, материала, размеров и глубины заложения фундаментов (если подземная коммуникация строится на фундаментах);
- мероприятий, указанных в СП 22.13330, применяемых для снижения деформаций оснований проектируемых подземных коммуникаций (при необходимости);
- мероприятий, указанных в 6.5, применяемых для снижения деформаций оснований сооружений окружающей застройки (при необходимости).
6.3.3 Основания проектируемых подземных коммуникаций рассчитывают по несущей способности: в многолетнемерзлых (мерзлых) грунтах - в случаях, указанных в пункте 7.1.3 СП 25.13330.2012; в немерзлых грунтах - в случаях, указанных в пункте 5.1.9 СП 22.13330.2016.
Основания проектируемых подземных коммуникаций рассчитывают по деформациям: в многолетнемерзлых (мерзлых) грунтах - в случаях, указанных в пункте 7.1.3 СП 25.13330.2012; в немерзлых грунтах - во всех случаях, кроме указанных в 6.3.4-6.3.6.
6.3.4 Расчет по деформациям оснований подземных коммуникаций, строящихся в немерзлых грунтах открытым способом, устраиваемых в грунте или на ленточных фундаментах, допускается не выполнять в случае, если:
- основание подземных коммуникаций сложено скальными или слабодеформируемыми дисперсными грунтами (модуль деформации больше 50 МПа по классификации ГОСТ 25100);
- среднее давление под подземными коммуникациями (при устройстве в грунте) или их ленточными фундаментами не превышает расчетного сопротивления грунтов основания (подраздел 5.6 СП 22.13330.2016), отсутствуют специфические грунты в основании, особые нагрузки и воздействия, опасные геологические процессы, а также выполняется одно из следующих условий:
- степень изменчивости сжимаемости основания меньше предельной (пункт 5.6.49 СП 22.13330.2016), дополнительные нагрузки на земной поверхности отсутствуют,
- инженерно-геологические условия площадки строительства соответствуют области применения типового проекта,
- в основании подземных коммуникаций отсутствуют очень сильно и сильно деформируемые дисперсные грунты (модуль деформации менее 10 МПа согласно классификации ГОСТ 25100), при условии отсутствия нагрузок на поверхности земли (отсыпка грунта и др.).
6.3.5 Расчет по деформациям оснований подземных коммуникаций, строящихся в немерзлых грунтах открытым способом, устраиваемых на свайных фундаментах, допускается не выполнять, если в качестве свай применяются сваи-стойки.
6.3.6 Расчет по деформациям оснований подземных коммуникаций, строящихся в немерзлых грунтах закрытым способом, допускается не выполнять, за исключением случаев, когда их устройство выполняется в очень сильно и сильно деформируемых дисперсных грунтах (модуль деформации менее 10 МПа согласно классификации ГОСТ 25100), а также отсутствуют специфические грунты (СП 22.13330).
6.3.7 Расчет оснований подземных коммуникаций по деформациям заключается в проверке условия
s≤su, (6.1)
где s - совместная расчетная (прогнозная) деформация основания и подземной коммуникации;
su - предельное значение совместной деформации основания и подземной коммуникации, устанавливаемое в соответствии с 6.3.8.
Совместная деформация основания и подземной коммуникации может характеризоваться следующими показателями: абсолютными вертикальными (горизонтальными) перемещениями, относительной разностью вертикальных (горизонтальных) перемещений, радиусом кривизны (кривизной).
Примечания
1 Для определения совместной расчетной деформации основания и подземной коммуникации s могут применяться аналитические, численные и другие методы.
2 В необходимых случаях для определения совместной расчетной деформации с учетом длительности процессов и прогноза времени консолидации основания следует рассчитывать деформации основания во времени с учетом первичной и вторичной консолидаций.
3 При расчете основания по деформациям необходимо учитывать возможность изменения как расчетных, так и предельных значений деформаций основания за счет применения конструктивных или геотехнических мероприятий.
6.3.8 Предельные значения совместной деформации основания и подземной коммуникации должны устанавливаться исходя из необходимости соблюдения условия ненаступления ни одного из предельных состояний, указанных в 6.1.15 и 6.1.16 при всех проектных ситуациях и сценариях.
Предельные значения совместной деформации основания и подземной коммуникации следует принимать согласно действующим нормам на проектирование коммуникаций соответствующего вида и требованиям настоящего свода правил.
Для подземных коммуникаций, предельные значения совместных деформаций которых в нормах отсутствуют, проверку допустимости совместных деформаций необходимо выполнять путем расчетов подземных коммуникаций по предельным состояниям с учетом требований ГОСТ 27751, норм на проектирование коммуникаций соответствующего вида и настоящего свода правил.
6.3.9 Предельные состояния подземных коммуникаций, требующие поверочных расчетов, должны выбираться с учетом таблицы 6.1, назначения, принципа транспортирования, материала и характера стыковых соединений подземных коммуникаций.
|
Вид поверочного расчета |
Трубопроводы |
Коллекторы, каналы и другие защитные конструкции со стыками | ||||
|
Напорные, со стыками |
Самотечные, со стыками | |||||
|
равнопрочными |
неравнопрочными |
равнопрочными |
неравнопрочными |
равнопрочными |
неравнопрочными | |
|
Группа предельных состояний I
| ||||||
|
(I.1) Проверка прочности конструкций подземных трубопроводов на максимальные продольные напряжения |
+ |
- |
+ |
- |
+ |
- |
|
(I.2) Проверка прочности конструкций подземных трубопроводов на максимальные кольцевые напряжения |
+ | |||||
|
(I.3) Проверка потери устойчивости положения конструкций подземных коммуникаций в результате потери устойчивости вмещающего их массива грунта |
(1) | |||||
|
Группа предельных состояний II
| ||||||
|
(II.1) Проверка условия самотечности конструкций подземных коммуникаций |
(2) |
+ |
(2) | |||
|
(II.2) Проверка герметичности стыковых соединений сборных конструкций подземных коммуникаций |
- |
+ |
- |
+ |
- |
+ |
|
(II.3.а) Проверка образования продольных трещин в конструкциях подземных коммуникаций (II.4.а) Расчет ширины раскрытия продольных трещин в конструкциях подземных коммуникаций |
(3) | |||||
|
(II.3.б) Проверка образования поперечных трещин в конструкциях подземных коммуникаций (II.4.б) Расчет ширины раскрытия поперечных трещин в конструкциях подземных коммуникаций |
(3) |
- |
(3) |
- |
(3) |
- |
|
Обозначения: "-" - проверка не выполняется; "+" - проверка выполняется; (1) - на основание подземной коммуникации передаются значительные горизонтальные нагрузки, подземная коммуникация расположена на откосе или склоне; (2) - проверка выполняется, если в нормах на проектирование коммуникации указан минимально допустимый уклон; (3) - проверка выполняется для бетонных, железобетонных и фибробетонных конструкций. | ||||||
|
Примечание - При необходимости, а также в случае требований норм на проектирование подземных коммуникаций соответствующего вида следует также выполнять проверку коммуникаций на общую устойчивость в продольном направлении, всплытие и овализацию. | ||||||
6.4.1 При строительстве подземных коммуникаций закрытым и открытым способами должно быть оценено влияние строительства на окружающую застройку. Оценку влияния необходимо выполнять на стадии разработки проектной документации на основании технического задания и необходимых исходных данных. Результаты оценки влияния следует оформлять в виде отчета, включаемого в утверждаемую часть проектной документации.
6.4.2 В техническом задании на оценку влияния строительства должны быть указаны:
- заказчик и исполнитель работ по оценке влияния;
- наименование, расположение, уровень ответственности и геотехническая категория проектируемых подземных коммуникаций;
- наименования, адреса, уровни ответственности сооружений окружающей застройки;
- категория сложности инженерно-геологических условий;
- особые условия строительства;
- особые требования к оценке влияния;
- перечень передаваемых заказчиком исходных данных.
6.4.3 Исходные данные для выполнения оценки влияния строительства должны включать в себя:
- проектные решения прокладываемых подземных коммуникаций (в том числе проект организации строительства);
- результаты инженерно-геологических изысканий в зоне прокладки подземных коммуникаций;
- результаты гидрогеологического прогноза (при наличии);
- результаты обследования сооружений окружающей застройки;
- результаты сопоставительного опыта геотехнического мониторинга перемещений поверхности земли и массива грунта при проходке выбранных (аналогично выбранным) в проекте методов строительства и проходческого (при необходимости другого) оборудования в схожих инженерно-геологических условиях (при наличии);
- архивные материалы (при наличии).
Примечания
1 Гидрогеологический прогноз допускается выполнять в составе работ по оценке влияния.
2 Для подземных коммуникаций окружающей застройки обследование допускается не выполнять при наличии исходных данных, достаточных для выполнения расчетов в соответствии с приложением И.
6.4.4 Отчет об оценке влияния строительства должен содержать:
- краткую характеристику инженерно-геологических условий строительства;
- краткую характеристику проектируемых подземных коммуникаций;
- краткую характеристику сооружений окружающей застройки;
- описание методик прогнозных расчетов (моделирования) и оценки влияния;
- результаты прогнозных расчетов (моделирования) и оценки влияния;
- выводы о степени влияния и допустимости дополнительных деформаций сооружений окружающей застройки;
- рекомендации по обеспечению сохранности и перечень мер защиты сооружений окружающей застройки.
6.4.5 Достоверность прогноза должна оцениваться и контролироваться на основании геотехнического мониторинга (в первую очередь измерений осадок поверхности земли и оснований фундаментов сооружений окружающей застройки), проводимого в процессе производства работ по строительству подземных коммуникаций.
Если в процессе мониторинга зафиксированы опасные отклонения контролируемых параметров от их прогнозных значений, при необходимости, следует для еще не построенных участков коммуникаций повторно выполнить прогнозные расчеты и оценку влияния, а также принять или откорректировать по ним проектные решения. В этом случае откорректированные расчетные параметры уточненной модели следует принимать после ее верификации с результатами мониторинга на уже построенных участках.
Результаты мониторинга следует передавать представителям заказчика и авторского надзора, а также, при наличии разрешения заказчика, другим заинтересованным организациям, заносить в базы данных для накопления сопоставимого опыта.
6.4.6 Оценку влияния следует выполнять для сооружений окружающей застройки, расположенных в пределах предварительно назначаемой зоны влияния проектируемых подземных коммуникаций.
Примечания
1 Для предварительной оценки размер зоны влияния допускается принимать равным: 1,5Hto - при проходке закрытых выработок, где Hto - глубина заложения оси закрытой выработки; 2Hs и 3Hs - при проходке локальных открытых выработок (котлованов и шахтных стволов) с применением ограждений из железобетонных или стальных соответственно (а также выработок с откосами) конструкций, где Hs - глубина заложения низа открытой выработки; 3Hs и 4Hs - при проходке протяженных открытых выработок (траншей) с применением ограждений из железобетонных или стальных соответственно (деревянных конструкций, траншей с откосами) конструкций.
2 Размер зоны влияния строительства подземных коммуникаций допускается ограничивать расстоянием, при котором расчетное значение дополнительной осадки грунтового массива или основания существующего сооружения окружающей застройки не превышает 1 мм, за исключением расположения на границе зоны влияния сооружений окружающей застройки, категория технического состояния которых предаварийная или аварийная. Размер зоны влияния измеряется от границ проектируемой выработки.
Перед выполнением оценки влияния необходимо провести техническое обследование состояния конструкций сооружений окружающей застройки, расположенных в предварительно назначаемой зоне влияния нового строительства или реконструкции. По результатам технического обследования следует определить категорию технического состояния сооружений окружающей застройки согласно приложению Д СП 22.13330.2016.
Примечание - Обследование подземных коммуникаций, кроме коллекторов и тоннелей проходного типа 3-й геотехнической категории, допускается не выполнять в случае предоставления данных от эксплуатирующей организации в объеме, достаточном для выполнения проверки по предельным состояниям (приложение И).
6.4.7 Оценка влияния строительства состоит из расчетного и экспертно-аналитического блоков.
6.4.8 В результате работ расчетного блока следует определять:
- изменение напряженно-деформированного состояния грунтового массива в зоне строительства подземных коммуникаций;
- дополнительные деформации и (или) напряженно-деформированное состояние сооружений окружающей застройки.
6.4.9 Работы расчетного блока следует выполнять, как правило, в рамках расчетов по второй группе предельных состояний. Результаты расчетов должны позволять определять степень влияния и выполнять проверку допустимости дополнительных деформаций сооружений окружающей застройки или их оснований путем сравнения прогнозных и предельных значений деформаций.
Для сооружений окружающей застройки, по которым предельные значения дополнительных деформаций оснований и сооружений в нормативных документах отсутствуют, проверку допустимости дополнительных деформаций необходимо выполнять путем поверочных расчетов по предельным состояниям согласно требованиям ГОСТ 27751 с учетом действующих и дополнительных нагрузок и воздействий. При этом в результате прогноза должны быть определены значения параметров напряженно-деформированного состояния сооружений или их оснований, необходимые для выполнения поверочных расчетов по предельным состояниям.
Примечание - Выбор предельного состояния и определение допустимости дополнительных деформаций существующих подземных коммуникаций допускается осуществлять по приложению И.
6.4.10 Расчеты следует выполнять преимущественно методами математического (численного) моделирования с применением апробированного геотехнического программного обеспечения, с учетом:
- результатов инженерных изысканий для строительства;
- нелинейного механического поведения грунтов основания;
- результатов гидрогеологического прогноза;
- данных, характеризующих назначение, техническое состояние, конструктивные и технологические особенности сооружений окружающей застройки;
- параметров устраиваемых выработок и коммуникаций;
- очередности и стадийности строительных работ;
- технологии производства работ;
- взаимодействия конструкций подземных коммуникаций с примыкающим грунтовым массивом.
Примечание - Для предварительных прогнозных расчетов сооружений окружающей застройки, при геотехнических категориях 2-й и 3-й объекта строительства, а также для окончательных прогнозных расчетов объекта строительства 1-й геотехнической категории допускается применять эмпирические и аналитические методы.
6.4.11 Расчетный блок включает в себя следующие этапы:
- сбор информации об инженерно-геологических условиях участка; объектах окружающей застройки, расположенных в предварительно назначенной зоне влияния; проектируемых подземных коммуникациях;
- выявление основных (эксплуатационных) и дополнительных (вызванных строительными работами) нагрузок и воздействий на окружающую застройку;
- выбор нагрузок и воздействий, подлежащих моделированию;
- выбор предельных состояний сооружений окружающей застройки, требующих поверочных расчетов;
- принятие решения о включении сооружений окружающей застройки или их отдельных конструкций в модель;
- принятие решения о выполнении расчетов в плоской или пространственной постановке;
- выбор программного комплекса для численных расчетов;
- выбор конструктивных элементов сооружений окружающей застройки и проектируемой подземной коммуникации, подлежащих моделированию;
- выбор (определение) границ расчетной области;
- построение геометрической модели;
- составление общей модели объекта, охватывающей инженерно-геологические и конструктивные элементы;
- выбор вида и параметров модели грунта;
- выбор вида контактных элементов и назначение их параметров;
- ввод расчетных характеристик прочности и жесткости элементов;
- ввод граничных условий;
- построение сетки конечных элементов;
- выбор этапов строительства коммуникаций, разбивка этапов на расчетные шаги; составление пошаговых расчетных схем;
- выполнение расчетов;
- верификации расчетной модели в соответствии с СП 248.1325800;
- выбор (расчет) необходимых для проверки по предельным состояниям параметров напряженно-деформированного состояния (либо его изменения) оснований и конструкций сооружений окружающей застройки.
6.4.12 Решение о включении сооружений окружающей застройки или их отдельных конструкций в модель, а также выполнении расчетов в плоской или пространственной постановке следует принимать с учетом уровня ответственности, размеров и конструктивных особенностей существующих сооружений; предельных состояний, требующих проверки; взаимного расположения и относительной близости расположения проектируемой подземной коммуникации и существующих сооружений окружающей застройки.
6.4.13 Математическое моделирование следует выполнять с применением специализированных геотехнических программных комплексов для двухмерного или трехмерного нелинейного анализа систем, позволяющих моделировать, в том числе, стадийность и очередность строительных работ.
Следует применять сертифицированные и апробированные программные комплексы, для которых выполнялось сопоставление результатов прогнозных расчетов и геотехнического мониторинга по аналогичным объектам в схожих инженерно-геологических условиях.
6.4.14 Конструкции ранее возведенных сооружений окружающей застройки при моделировании допускается учитывать двумя способами:
- в одну стадию:
с применением геотехнического программного комплекса рассчитывается трехкомпонентная модель "проектируемая подземная коммуникация - грунтовый массив - ранее возведенные сооружения";
- в две (или более) стадии:
первая стадия - с применением геотехнического программного комплекса рассчитывается двухкомпонентная модель "проектируемая подземная коммуникация - грунтовый массив"; в результате ее решения определяются перемещения грунта, соответствующие положению ранее возведенных сооружений;
вторая стадия - с применением программного комплекса, предназначенного для анализа работы конструкций, рассчитываются конструкции ранее возведенных сооружений на заданные перемещения грунта, которые были определены на первой стадии расчетов.
6.4.15 Размеры расчетной области, модель грунта и параметры должны адекватно отражать поведение грунта под нагрузкой и воздействиями, учитывать взаимное расположение проектируемой подземной коммуникации и ранее возведенного сооружения. Их следует принимать на основе опыта сопоставления результатов прогнозных расчетов и результатов геотехнического мониторинга.
При выполнении расчетов необходимо выполнять верификацию расчетной модели в соответствии с СП 248.1325800.
Для предварительной оценки влияния строительства на ранее возведенные сооружения нормального и повышенного уровней ответственности, а также для окончательной оценки влияния на сооружения пониженного уровня ответственности допускается назначать размеры расчетной области и выбирать геомеханическую модель грунта согласно приложению Е.
6.4.16 При выполнении оценки влияния, расчетные значения прочностных характеристик на контакте "конструкция - грунтовый массив" для дисперсных грунтов следует назначать согласно пункту 9.16 СП 22.13330.2016. При закрытой проходке на контакте "обделка (труба) - грунтовый массив" следует моделировать прослойку грунта с удельным сцеплением, равным нулю (близким к нулю) и пониженным углом внутреннего трения (степень снижения следует назначать согласно пункту 9.16 СП 22.13330.2016). Взаимодействие на контакте "трубопровод-грунт" для существующих подземных коммуникаций, уложенных в траншее допускается определять по приложению И.
6.4.17 Перебор грунта при моделировании закрытой проходки следует назначать на основе опыта геотехнического мониторинга осадок поверхности земли при проходке выбранного (аналогичного выбранному) в проекте типа проходческого оборудования в схожих инженерно-геологических условиях, в соответствии с приложением Ж.
6.4.18 В результате работ экспертно-аналитического блока следует:
- уточнять границы предварительно назначенных зон влияния проходки открытых и закрытых выработок, а также перечень расположенных в зонах влияния ранее возведенных сооружений окружающей застройки;
- определять степень и допустимость влияния строительства на сооружения окружающей застройки;
- осуществлять выбор и назначать необходимый объем мер защиты сооружений окружающей застройки, если влияние строительства оказывается недопустимым.
6.4.19 В рамках работ экспертно-аналитического блока выполняется качественная оценка факторов, расчетная оценка которых невозможна или нецелесообразна:
- технологических воздействий при проходке открытых и закрытых выработок, не учтенных при моделировании;
- технологических воздействий при проведении работ по защите сооружений окружающей застройки, не учтенных при моделировании.
6.4.20 Экспертно-аналитическую оценку следует выполнять с учетом обобщения сопоставимого местного опыта подземного строительства.
6.4.21 Если по результатам оценки влияния эксплуатационная надежность и работоспособность сооружений окружающей застройки не обеспечена, необходимо предусматривать объектно-технологические, геотехнические и (или) конструктивные меры защиты согласно 6.5.
6.5.1 Для сооружений окружающей застройки могут применяться следующие меры защиты от негативного влияния строительства:
- объектно-технологические - выполняются в зоне строительства объекта, снижают негативные воздействия от проходческих и других строительных работ; реализуются применением особых технологий, технологических режимов, специальной проходческой (строительной) техники и конструктивно-технологических решений, которые применяются в процессе строительства;
- геотехнические - выполняются в грунтовом массиве (основании защищаемого сооружения), уменьшают или устраняют (компенсируют) дополнительные деформации оснований и фундаментов; реализуются применением геотехнических технологий;
- конструктивные - выполняются на защищаемых сооружениях, уменьшают чувствительность сооружений к деформациям их оснований или уменьшают (устраняют) деформации конструкций сооружений.
6.5.2 К объектно-технологическим мерам защиты относятся:
а) при закрытом способе работ:
- уменьшение сечений выработок или замена одной выработки на две с меньшей суммарной площадью поперечных сечений;
- изменение глубины заложения выработок;
- увеличение расстояний между выработками и фундаментами (конструкциями) сооружений окружающей застройки;
- предварительное усиление и закрепление грунтов в зоне забоя и (или) за контурами обделок выработок;
- применение проходческих комплексов с закрытым забоем и активным пригрузом забоя;
- увеличение давления пригруза;
- нагнетание тампонажных (твердеющих) растворов в заобделочное пространство одновременно с перемещением щита;
- повышение давления нагнетания и уменьшение сроков твердения растворов, нагнетаемых в заобделочное пространство;
- применение монолитной пресс-бетонной обделки (за исключением проходки в обводненных, слабых и неустойчивых грунтах);
- выбор метода, оборудования и технологического режима проходки, обеспечивающих уменьшение перебора грунта в забое и наиболее раннее подкрепление выработки, и др.
Примечание - При заключении контрактов на строительство подземных коммуникаций допускается включать пункт о значениях предельных фактических переборов грунта. Их значения должны устанавливаться и контролироваться в рамках авторского надзора или научно-технического сопровождения, на основе инженерно-геодезических наблюдений за осадками земной поверхности;
б) при открытом способе работ:
- мероприятия по предохранению грунтов основания от ухудшения их свойств;
- мероприятия, направленные на преобразование строительных свойств грунтов;
- уменьшение перебора грунта при устройстве ограждений открытых выработок;
- корректировка технологии крепления и последовательности устройства выработки;
- увеличение изгибной жесткости элементов ограждения и крепления;
- уменьшение шага (увеличение числа) элементов ограждения и крепления;
- компенсация изменения напряженно-деформированного состояния грунта основания;
- уменьшение глубины открытых выработок;
- выбор другого способа устройства или типа ограждения (крепления);
- увеличение расстояния между выработкой и сооружением окружающей застройки и др.
6.5.3 К геотехническим мерам защиты относятся:
- мероприятия, направленные на преобразование строительных свойств грунтов с целью уменьшения деформаций оснований;
- усиление фундаментов сооружений;
- передача нагрузок от сооружений на нижележащие слои грунтов;
- отсечение грунтовых оснований сооружений от выработок путем устройства между ними разделительных стенок;
- снижение неравномерных осадок и выравнивание сооружений путем нагнетания в ограниченный объем грунта твердеющих растворов (компенсационное нагнетание), выбуривания грунтов из-под подошвы фундаментов;
- мероприятия, предохраняющие грунты основания от ухудшения их строительных свойств и др.
6.5.4 К конструктивным мерам защиты относятся:
- усиление отдельных конструктивных элементов или сооружения в целом тяжами или поясами;
- установка связей-распорок;
- усиление подземных трубопроводов защитными футлярами, обоймами или их вывешивание;
- разделение сооружений деформационными швами и др.
6.5.5 Выбор и определение требуемого объема защитных мероприятий для каждого защищаемого сооружения окружающей застройки должны осуществляться в три этапа в соответствии с 6.5.6-6.5.8.
6.5.6 Первый этап
Предварительно выбирают несколько наиболее эффективных мер защиты. При выборе мер защиты необходимо учитывать, что их выполнение (особенно связанных с буровыми работами) также может приводить к технологическим воздействиям.
Приоритетность выбора мер защиты должна быть следующая. Прежде всего, следует отдавать предпочтение объектно-технологическим мерам. В случае если этих мер недостаточно или они не могут быть реализованы, необходимо применять геотехнические меры. Когда применение перечисленных мер невозможно или недостаточно, применяются конструктивные меры.
6.5.7 Второй этап
Выполняют повторное моделирование, учитывающее выполнение мер защиты. Повторное моделирование допускается не выполнять в следующих случаях:
- выбранные меры защиты не поддаются моделированию либо их моделирование с достаточной степенью надежности невозможно;
- эффективность мер защиты проверяется на основании опытных работ и контрольных измерений.
Перед моделированием следует разработать технические решения выбранных мер защиты, параметры которых должны учитываться при составлении модели объекта строительства. На основе результатов повторного моделирования необходимо оценить эффективность и достаточность защитных мероприятий.
6.5.8 Третий этап
Выполняют технико-экономическое сравнение вариантов мер защиты с учетом назначения, уровня ответственности, конструктивных особенностей, минимального влияния на режим эксплуатации защищаемого сооружения, вида и значений прогнозных деформаций, сопоставимого опыта.
Следует осуществить окончательный выбор защитных мероприятий для каждого защищаемого сооружения. Для выбранных мер защиты необходимо разработать специальный проект и (или) технологический регламент, которые должны содержать в том числе указания по щадящей технологии выполнения защитных мероприятий, с учетом 7.1.16.
7.1.1 Строительство подземных коммуникаций должно выполняться по проектной документации, согласованной и утвержденной в установленном законом порядке, с учетом требований СП 48.13330 [1] и настоящего свода правил.
7.1.2 Производство работ по устройству подземных коммуникаций следует осуществлять с соблюдением норм и правил по организации строительства, геодезическим работам, технике безопасности, пожарной безопасности, технической эксплуатации оборудования, а также при авторском надзоре проектной организации, техническом надзоре заказчика, контроле органов местного самоуправления и государственных надзорных органов, если эти виды надзора и контроля предусмотрены требованиями нормативных документов.
7.1.3 Строительство коммуникаций необходимо выполнять в соответствии с принятым к производству заказчиком комплектом проектной документации и разработанным на ее основе проектом производства работ (ППР). Отступления от утвержденных проектных решений без согласования с проектной организацией и заказчиком не допускаются.
7.1.4 ППР должен разрабатываться подрядной организацией - производителем работ или по ее заданию проектной (проектно-технологической) организацией на основании проекта организации строительства (ПОС) и другой проектно-сметной документации.
7.1.5 ППР на устройство открытых (траншей, шахтных стволов и котлованов) и закрытых (тоннелей, микротоннелей и др.) выработок должны разрабатываться раздельно.
7.1.6 При разработке ППР следует учитывать требования изготовителя проходческого (ТПМК, МТПК, ГНБ и др.) и другого строительного оборудования, изложенные в инструкции (паспорте) по его эксплуатации. Строительные операции, изложенные в ППР, должны быть увязаны с допустимыми режимами эксплуатации принятого проходческого оборудования в конкретных условиях строительства.
7.1.7 Для обеспечения качественного выполнения работ по устройству подземных коммуникаций в состав ППР должен входить технологический регламент, разработанный с учетом технических характеристик применяемого проходческого и, при необходимости, другого строительного оборудования, специфики объекта строительства. В регламенте должны быть изложены последовательность, режимы и методы выполнения работ (операций), состав и характеристики применяемых материалов и растворов, порядок контроля технологических операций, требования по технике безопасности, мероприятия по обеспечению сохранности окружающей среды и застройки, состав ответственного руководящего и контролирующего персонала.
7.1.8 Строительство коммуникаций должно включать в себя следующие этапы:
- подготовительный;
- опытно-производственный (при необходимости);
- выполнение мер защиты (при необходимости);
- производство основных проходческих и строительно-монтажных работ;
- контроль качества;
- приемка работ.
7.1.9 При строительстве подземных коммуникаций земляные и другие геотехнические работы следует выполнять с соблюдением требований СП 45.13330.
7.1.10 В процессе строительства подземных коммуникаций в случаях, указанных в 7.4.1, должен выполняться геотехнический мониторинг в соответствии с 7.4.
7.1.11 Контроль качества и приемка работ должны осуществляться в соответствии с требованиями СП 48.13330, СП 68.13330, действующих нормативных документов по строительству подземных коммуникаций соответствующего вида, принятых технологий проходки и устройства выработок, с учетом положений настоящего свода правил.
7.1.12 При устройстве подземных коммуникаций следует выполнять входной, операционный, приемочный и инспекционный контроль, руководствуясь требованиями СП 48.13330. Результаты контроля качества следует фиксировать в журналах работ, в актах на скрытые работы, актах приемки и других производственных документах.
7.1.13 Авторский надзор за выполнением технических решений и требований принятой к производству проектной документации должен осуществляться в соответствии с требованиями СП 246.1325800.
7.1.14 На участках вывода и ввода ТПК, ТПМК и МТПК, при необходимости, с целью предупреждения деформаций массива грунта и сооружений окружающей застройки у стенок стартовых и приемных котлованов и шахтных стволов на длине не менее 2 м следует предусматривать в проекте специальные способы производства работ (см. приложение Л).
7.1.15 Применяемые при строительстве материалы, изделия и конструкции должны удовлетворять требованиям проекта, соответствующих стандартов и технических условий. Замена предусмотренных проектом материалов, изделий и конструкций допускается по согласованию с проектной организацией и заказчиком.
7.1.16 Мероприятия по снижению технологических воздействий на окружающую застройку при строительстве подземных коммуникаций и выполнении защитных мероприятий следует назначать с учетом настоящего раздела и приложений Л и М.
7.2.1 Земляные работы при строительстве подземных коммуникаций открытым способом должны выполняться с соблюдением требований СП 45.13330 и нормативных документов на проектирование подземных коммуникаций соответствующего вида, а также в соответствии с указаниями ППР.
7.2.2 Выбор землеройных машин при разработке ППР должен определяться грунтовыми условиями, техническими возможностями землеройных машин и наличием землеройной техники в подрядной организации. Способ и технология устройства и разработки траншей и котлованов на заболоченных территориях должны определяться рабочей документацией в зависимости от типов болот.
7.2.3 Производство земляных работ в охранных зонах существующих подземных коммуникаций должно выполняться после получения разрешения владельца охраняемого объекта и в присутствии его представителя.
7.2.4 При обнаружении в ходе земляных работ фрагментов археологических древностей и других предметов, которые могут представлять исторический интерес, необходимо вызвать на место представителей управления культуры органов администрации.
7.2.5 В проекте должна быть установлена необходимость временного крепления вертикальных стенок траншей и котлованов в зависимости от их глубины, вида и состояния грунта, гидрогеологических условий, значения и характера временных нагрузок на бровке и других местных условий.
7.2.6 Устройство открытых выработок с вертикальными стенками без креплений в нескальных и незамерзших грунтах выше уровня грунтовых вод и при отсутствии вблизи подземных сооружений допускается на глубину не более: 1,0 м - в насыпных, песчаных и крупнообломочных грунтах; 1,25 м - в супесях; 1,50 м - в суглинках и глинах.
7.2.7 Максимальная крутизна откосов открытых выработок глубиной до 5 м, устраиваемых без креплений в нескальных грунтах выше уровня подземных вод (с учетом их капиллярного поднятия) или в грунтах, осушенных с помощью искусственного водопонижения, приведена в [2].
7.2.8 Максимальная крутизна откосов открытых выработок глубиной более 5 м должна устанавливаться проектной документацией. В однородных грунтах крутизну допускается принимать по графикам приложения В СП 45.13330.2012, но не круче указанных в [2] для глубины выемки 5 м и во всех грунтах (включая скальные) не более 80°. Крутизна откосов выемок, разрабатываемых в скальных грунтах с применением взрывных работ, должна быть установлена в проекте.
7.2.9 В грунтах с высоким уровнем грунтовых вод для откачки воды в нижней точке траншеи, на дне, должны быть выкопаны приямки.
7.2.10 Выемка грунта при устройстве котлованов и траншей с креплением деревянной забиркой должна выполняться только с ее опережающим погружением, при этом наличие пазух между грунтом и забиркой не допускается. В случае образования пазух и разуплотнений грунта необходимо заполнение (нагнетание) цементно-песчаного раствора между забиркой и грунтом.
7.2.11 При рытье траншей роторными экскаваторами для получения более ровной поверхности дна траншей на проектной отметке и обеспечений плотного прилегания уложенного трубопровода к основанию на всем протяжении вдоль оси коммуникации на ширине не менее 3 м должна проводиться в соответствии с проектной документацией предварительная планировка микрорельефа полосы.
7.2.12 Разработку траншей на болотах следует выполнять одноковшовыми экскаваторами с обратной лопатой на уширенных или обычных гусеницах на сланях, драглайнами или специальными машинами.
7.2.13 В целях предотвращения деформаций профиля вырытой траншеи, а также смерзания отвала грунта темпы изоляционно-укладочных и земляных работ должны быть одинаковыми. Технологически необходимый разрыв между землеройной и изоляционно-укладочной колоннами должен быть указан в ППР. Разработка траншей в задел в грунтах (за исключением скальных в летнее время), как правило, не допускается.
7.2.14 Рыхление скальных грунтов взрывным способом должно проводиться до вывоза труб на трассу, а рыхление мерзлых грунтов допускается проводить после раскладки труб на трассе.
7.2.15 При разработке траншей с предварительным рыхлением скального грунта буровзрывным способом переборы должны быть ликвидированы за счет подсыпки мягкого грунта и его уплотнения.
7.2.16 К моменту укладки подземной коммуникации дно траншеи должно быть выровнено в соответствии с проектной документацией. Укладка коммуникации в траншею, не соответствующую проектной документации, запрещается.
7.2.17 При прокладке трубопроводов в скальных, гравийно-галечниковых и щебенистых грунтах, а также при прокладке трубопроводов с изоляционным покрытием для их предохранения от механических повреждений следует предусматривать устройство подсыпки из мягких грунтов толщиной не менее 10 см над выступающими частями основания траншеи.
При применении в скальных и мерзлых грунтах взрывного способа рыхления подсыпка из мягких грунтов должна быть толщиной не менее 20 см над выступающими частями основания под трубопроводы, при этом применяемый грунт не должен содержать мерзлые комья, щебень, гравий и другие включения размером более 5 см в поперечнике.
7.2.18 Мягкую подсыпку дна траншеи и присыпку мягким грунтом трубопроводов, уложенных в скальных, каменистых, щебенистых, сухих комковатых и мерзлых грунтах, допускается по согласованию с проектной организацией и застройщиком (заказчиком) заменять сплошной надежной защитой, выполненной из негниющих, экологически чистых материалов.
7.2.19 Засыпка траншеи проводится непосредственно вслед за укладкой коммуникации и установкой балластных грузов или анкерных устройств, если балластировка коммуникации предусмотрена проектной документацией. Места установки запорной арматуры, тройников и т.п. засыпаются после их установки и приварки катодных выводов.
При засыпке трубопровода грунтом, содержащим мерзлые комья, щебень, гравий и другие включения размером более 5 см в поперечнике, изоляционное покрытие следует предохранять от повреждений мягким грунтом на толщину 20 см над верхней образующей трубы или устройством защитных покрытий, предусмотренных проектной документацией.
7.2.20 Демонтаж распорных конструкций временных креплений ограждений траншей и котлованов вблизи сооружений окружающей застройки должен выполняться только после устройства постоянных конструкций или после выполнения обратной засыпки с послойным уплотнением грунта до отметки ниже 0,2-0,5 м от низа распорных конструкций. Засыпку выработок вблизи сооружений окружающей застройки следует выполнять песком фракций от средней крупности до крупных, равномерно распределяя его по всей площади выработок с одновременным послойным уплотнением слоями 0,2-0,3 м. Коэффициент уплотнения грунтов при обратной засыпке должен быть равным 0,92-0,95.
Строительство и прокладка подземных коммуникаций закрытым способом должны выполняться с применением бестраншейных технологий (приложение Г). При этом должны учитываться требования действующих нормативных документов, стандартов на строительство подземных коммуникаций соответствующего вида и применение соответствующих бестраншейных технологий, а также положений настоящего свода правил.
7.3.1.1 Строительство подземных коммуникаций методом щитовой проходки следует выполнять путем проходки тоннеля и устройства его обделки с помощью тоннелепроходческого комплекса (ТПК), управляемого находящимся внутри него персоналом и позволяющего выполнять разработку и транспортирование грунта за пределы ТПК, крепление забоя и возведение обделки.
7.3.1.2 ТПК должен включать в себя следующие основные системы и агрегаты: передвижную временную крепь (оболочку); щитовую машину с рабочим (породоразрушающим) органом, расположенную в головной части; оборудование для транспортирования грунта; силовое оборудование для передвижения ТПК (домкратную станцию); оборудование для возведения обделки, расположенное в хвостовой части щита; систему управления и контроля положения ТПК в пространстве; систему для создания активного пригруза забоя (при необходимости).
7.3.1.3 Щитовая проходка должна осуществляться путем циклического последовательного повторения трех основных операций: разработка грунта в забое, передвижение щита с помощью гидродомкратов, возведение обделки.
7.3.1.4 Следует применять следующие типы ТПК:
- частично механизированные - забой открытого типа; разработка грунта и крепление забоя выполняется вручную, остальные процессы механизированы; механизмы для погрузки и транспортирования породы конструктивно не связаны со щитом;
- механизированные (тоннелепроходческие механизированные комплексы - ТПМК) - все основные проходческие процессы (разработка, погрузка и транспортирование грунта, возведение обделки и др.) механизированы; применяемое оборудование конструктивно связано между собой в единое целое.
7.3.1.5 ТПМК подразделяются: по типу рабочего органа - на роторные (разработка грунта выполняется по всей площади забоя), экскаваторные, с горизонтальными рассекающими полками и др.; по типу забоя - с открытым забоем (рабочий орган в забое не изолирован от остальной части щита), с закрытым забоем (рабочий орган в забое изолирован от остальной части щита).
7.3.1.6 Транспортирование разработанного грунта (шлама) должно выполняться, как правило, с применением ленточного или шнекового конвейера, гидротранспортирования по трубопроводам.
7.3.1.7 Проходка ТПК (ТПМК) в неустойчивых грунтах (водонасыщенных песках, слабых глинистых грунтах и др.) должна выполняться с применением активного пригруза забоя, предварительного укрепления (стабилизации) грунтов в забое, водопонижения.
Необходимо применять следующие виды активного пригруза забоя: гидропригруз (суспензионный пригруз), грунтопригруз (грунтовый пригруз), пневмопригруз (воздушный пригруз), комбинированный пригруз (конструкция щита позволяет создавать, в зависимости от инженерно-геологических условий, два или более видов пригруза).
7.3.1.8 В процессе проходки следует постоянно контролировать направление проходки и планово-высотное положение щита с помощью установленного в тоннеле и на щите инженерно-геодезического (навигационного) оборудования. Консоли для установки навигационных приборов должны монтироваться на стабильных строительных конструкциях тоннеля. Проверка стабильности положения электронных приборов для задания направления проходки должна выполняться перед началом каждой смены.
7.3.1.9 Тип и модель ТПК (ТПМК) должны выбираться на основании вида, диаметра и длины строящейся подземной коммуникации (тоннеля), инженерно-геологических условий трассы, в том числе вида и механических характеристик разрабатываемого в забое грунта и условий прохождения трассы в наиболее неблагоприятных инженерно-геологических условиях.
7.3.1.10 Для прокладки подземных коммуникаций методом щитовой проходки необходимо применять следующие виды обделки: из сборных элементов (как правило, высокоточные железобетонные или фибробетонные блоки); монолитно-прессованного бетона, железобетона или фибробетона.
7.3.1.11 Условия применения обделки каждого вида, ее конструкция, прочностные характеристики, защитные покрытия (при наличии), методы стыковки и изоляция стыков (для сборной обделки) должны определяться требованиями нормативных документов для прокладываемых коммуникаций соответствующего типа и указаниями стандартов (технических условий) на обделку.
7.3.1.12 Выбранные параметры обделки и ее соединений должны обеспечивать: восприятие эксплуатационных нагрузок и воздействий, продольных усилий, создаваемых щитом во время передвижения, а также давления тампонажного раствора, нагнетаемого за обделку; функционирование тоннеля в соответствии с его предназначением и требуемой долговечностью; защиту тоннеля от проникновения подземных вод.
Примечания
1 Конструкция и геометрические параметры сборной обделки должны выбираться с учетом конструкции и технологическими возможностями тоннелепроходческого оборудования.
2 В сборных блоках и тюбингах для возможности нагнетания тампонажного раствора в заобделочное пространство должны быть специальные отверстия.
7.3.1.13 Перед началом строительства подземных коммуникаций методом щитовой проходки необходимо выполнить оценку влияния строительства на окружающую застройку в соответствии с 6.4.
7.3.1.14 Технология устройства подземных коммуникаций с применением ТПК должна выбираться с учетом его типа и конкретной модели, принятой при проектировании объекта.
7.3.1.15 ППР, в том числе, должен: определять технологическую последовательность и режим проходческих работ (разработки и удаления грунта, крепления и пригруза забоя, нагнетания тампонажного раствора за обделку, устройства обделки), с привязкой их к проектному профилю, условиям строительства, применяемому оборудованию, срокам производства работ; содержать указания по контролю качества работ согласно действующим нормативным документам и требованиям проекта.
Примечания
1 Требования изготовителя ТПК (ТПМК), изложенные в инструкции по его эксплуатации, являются обязательными при разработке ППР на проходку тоннеля.
2 Строительные операции, изложенные в ППР по проходке тоннеля, должны быть строго увязаны с допустимыми режимами эксплуатации принятого ТПК в конкретных условиях строительства тоннеля.
7.3.1.16 Для ТПМК с активным пригрузом забоя ППР (технологический регламент) должен содержать полученные на основании геотехнических расчетов минимально и максимально допустимые значения давления пригруза (с привязкой их к участкам трассы), которые необходимо контролировать и поддерживать в процессе проходки. Расчетные значения давления пригруза в процессе проходки, в зависимости от результатов геотехнического мониторинга, при необходимости, следует корректировать.
7.3.1.17 Трасса проектируемого участка щитовой проходки может быть криволинейного очертания в плане и профиле в пределах минимально допустимых значений, устанавливаемых для ТПК конкретной модели, в зависимости от вида прокладываемой коммуникации, типа и ее диаметра, а также допускаемых приближений к различным объектам.
7.3.1.18 Для монтажа и демонтажа ТПК в начальной и конечной точках трассы прокладываемого тоннеля следует устраивать стартовый (монтажный) и приемный (демонтажный) котлованы (шахтные стволы). Размеры котлованов (шахтных стволов) в плане следует назначать в зависимости от габаритов щитового и другого оборудования, которое должно быть размещено и смонтировано в стартовом котловане, демонтировано и извлечено на поверхность через приемный котлован (шахтный ствол).
7.3.1.19 При выполнении работ вблизи сооружений окружающей застройки следует особо обращать внимание на соблюдение технологического регламента проходки с целью недопущения сверхпрогнозных дополнительных деформаций их оснований, своевременное и качественное нагнетание тампонажного раствора за обделку тоннеля.
7.3.1.20 Все зазоры между сборной обделкой и грунтом должны быть заполнены тампонажным раствором путем производства первичного, контрольного и в необходимых случаях уплотнительного или компенсационного нагнетаний, с целью: обеспечения ее геометрической неизменяемости, совместной работы с окружающим грунтом, сохранности, долговечности и обеспечения водонепроницаемости в период эксплуатации тоннеля, а также предотвращения сверхпрогнозных осадок земной поверхности и сооружений окружающей застройки.
7.3.1.21 Состав тампонажного раствора и требования к нему (подвижность, время схватывания, прочность тампонажного камня) должны подбираться и составляться отдельно для каждого объекта с учетом инженерно-геологических условий трассы, технологических параметров проходки тоннеля (скорости проходки, объема нагнетания раствора) и характеристик ТПК (число точек одновременного нагнетания, конструкции хвостового уплотнения щита, протяженности коммуникаций для транспортирования раствора к месту нагнетания и т.п.). В процессе проходческих работ состав раствора подлежит контролю и, при необходимости, корректировке.
7.3.1.22 Первичное нагнетание тампонажного раствора должно выполняться через трубки, расположенные в хвостовой части оболочки щита (по возможности, одновременно с передвижкой щита), или через отверстия в сборных элементах обделки после их монтажа. Среднее давление нагнетания раствора должно быть выше расчетного давления пригруза забоя, предусмотренного проектом или установленного технологическим регламентом на проходку. Предельное давление нагнетания не должно превышать несущую способность обделки с учетом коэффициента запаса.
7.3.2.1 Строительство подземных коммуникаций методом микротоннелирования следует выполнять путем продавливания трубопровода с помощью домкратов и расположенной впереди него управляемой дистанционно (в автоматическом режиме) проходческой машины, позволяющих без присутствия людей в забое выполнять разработку и транспортирование грунта на поверхность, крепление забоя и продавливание трубопровода из стыкуемых в стартовом (монтажном) котловане (шахтном стволе) труб.
7.3.2.2 Микротоннелепроходческий комплекс должен включать в себя следующие основные системы и агрегаты: щитовую машину с рабочим (породоразрушающим) органом; систему для транспортирования грунта; силовую продавливающую установку (домкратную станцию); систему управления и контроля положения щитовой машины в пространстве; систему для приготовления и нагнетания бентонитового раствора; систему для создания активного пригруза забоя (при необходимости).
7.3.2.3 Микротоннелирование должно осуществляться, как правило, по двухэтапной схеме, путем циклического последовательного повторения следующих основных операций: разработка грунта в забое с одновременным продавливанием трубопровода с помощью домкратов и расположенной впереди него управляемой дистанционно проходческой машины; наращивание трубопровода в стартовом котловане (шахтном стволе) путем пристыковки дополнительных секций труб.
Примечание - Микротоннелирование допускается выполнять по трехступенчатой схеме - с предварительной проходкой (бурением или продавливанием) пилотной скважины.
7.3.2.4 Транспортирование разработанного грунта (шлама) следует выполнять гидротранспортированием или пневмотранспортированием по трубопроводам либо с применением шнекового конвейера.
7.3.2.5 Проходка МТПК в неустойчивых грунтах (водонасыщенных песках, слабых глинистых грунтах и др.) должна осуществляться с применением активного пригруза забоя, предварительного укрепления (стабилизации) грунтов в забое, водопонижения.
Необходимо применять следующие виды активного пригруза забоя: гидропригруз (суспензионный пригруз), грунтопригруз (грунтовый пригруз), пневмопригруз (воздушный пригруз).
7.3.2.6 Продвижение щитовой машины и продавливание трубопровода следует выполнять при постоянном маркшейдерском контроле.
7.3.2.7 Для прокладки подземных коммуникаций методом микротоннелирования необходимо применять трубы следующих видов: стальные, железобетонные, полимербетонные, из стеклопластика, хризотилцементные, комбинированные.
7.3.2.8 Условия применения труб каждого вида, их прочностные характеристики, толщина стенки, защитные покрытия, методы стыковки и изоляция стыков должны определяться требованиями нормативных документов для прокладываемых коммуникаций соответствующего типа и указаниями стандартов (технических условий) на трубы.
7.3.2.9 Выбранные параметры труб и их соединений должны обеспечивать: восприятие эксплуатационных нагрузок и воздействий; восприятие продольных усилий, создаваемых домкратной станцией во время передвижения; функционирование трубопровода (микротоннеля) в соответствии с его предназначением и требуемой долговечностью; защиту микротоннеля от проникновения подземных вод и протечек. Длина секций труб должна выбираться с учетом размеров стартового котлована (шахтного ствола) и типа домкратного оборудования.
7.3.2.10 Перед началом строительства подземных коммуникаций методом микротоннелирования необходимо выполнить оценку влияния строительства на окружающую застройку в соответствии с 6.4.
7.3.2.11 ППР, в том числе, должен: составляться с учетом инструкции по эксплуатации МТПК, определять технологическую последовательность и параметры микротоннелирования, с привязкой их к проектному профилю, условиям строительства, применяемому оборудованию, срокам производства работ; содержать указания по контролю качества работ согласно действующим нормативным документам и требованиям проекта.
7.3.2.12 Для МТПК с активным пригрузом забоя ППР (технологический регламент) должен содержать полученные на основании геотехнических расчетов минимально и максимально допустимые значения давления пригруза (с привязкой их к участкам трассы), которые необходимо контролировать и поддерживать в процессе проходки. Расчетные значения давления пригруза в процессе проходки в зависимости от результатов геотехнического мониторинга, при необходимости, следует корректировать.
7.3.2.13 Трасса проектируемого участка микрощитовой проходки может быть криволинейного очертания в плане и профиле в пределах минимально допустимых значений, устанавливаемых для МТПК конкретной модели, в зависимости от вида прокладываемой коммуникации, типа и ее диаметра, а также допускаемых приближений к различным объектам.
7.3.2.14 Для монтажа и демонтажа МТПК в начальной и конечной точках трассы прокладываемой подземной коммуникации следует устраивать стартовый (монтажный) и приемный (демонтажный) котлованы (шахтные стволы). Размеры котлованов (шахтных стволов) в плане следует назначать в зависимости от габаритов щитового и вспомогательного оборудования, которое должно быть размещено и смонтировано в стартовом котловане, демонтировано и извлечено на поверхность через приемный котлован. Расстояние между стартовыми и приемными котлованами (шахтными стволами) следует принимать в зависимости от технических возможностей МТПК и инженерно-геологических условий по трассе проходки.
7.3.2.15 Домкратная станция должна выбираться на основании вида, диаметра и длины строящегося трубопровода, инженерно-геологических условий трассы. Мощность домкратной станции для обеспечения возможности задавливания трубопровода должна превышать не менее чем в 1,5 раза расчетное усилие задавливания.
7.3.2.16 Домкратная станция для задавливания трубопровода должна располагаться в стартовом котловане. При необходимости (если домкратная станция не обеспечивает требуемые усилия продавливания, трасса проходки криволинейного очертания и др.) следует применять промежуточные домкратные станции. Ограждающие конструкции стартового котлована должны обеспечивать восприятие проектных усилий продавливания от домкратной станции.
7.3.2.17 При выполнении работ вблизи сооружений окружающей застройки следует особо обращать внимание на соблюдение технологического регламента проходки с целью недопущения сверхпрогнозных дополнительных деформаций их оснований, своевременное и качественное нагнетание бентонитового раствора.
7.3.2.18 Бентонитовый раствор следует нагнетать за наружную поверхность оболочки хвостовой части ТПМК и трубопровода через специальные отверстия для обеспечения: устойчивости выработки, уменьшения сопротивления продавливанию (снижения сил трения между трубной конструкцией и грунтом); совместной работы трубопровода с окружающим грунтом, а также предотвращения сверхпрогнозных осадок земной поверхности и сооружений окружающей застройки.
7.3.2.19 Состав бентонитового раствора и требования к нему (плотность раствора, условная, пластическая и кажущаяся вязкости, точка текучести, водоотдача, водородный показатель, толщина глинистой корки, содержание песка) должны подбираться и составляться отдельно для каждого объекта, с учетом инженерно-геологических условий трассы, технологических параметров проходки микротоннеля (скорости проходки, объема нагнетания раствора) и характеристик МТПК (числа точек одновременного нагнетания, протяженности коммуникаций для транспортирования раствора к месту нагнетания и т.п.). В процессе проходческих работ состав раствора подлежит контролю и, при необходимости, корректировке, а сам раствор - очистке и восстановлению (регенерации).
7.3.2.20 Следует использовать бентонитовые растворы с определенными технологическими характеристиками (характеристики должны определяться расчетом в зависимости от инженерно-геологических условий трассы и опыта проходки в аналогичных грунтах) на основе бентонитовых глинопорошков, активизированных полимерами, и специальных добавок.
7.3.3.1 Строительство подземных коммуникаций методом горизонтального направленного бурения (ГНБ) должно выполняться в соответствии с СП 341.1325800 в следующей последовательности:
- бурение пилотной скважины по заданной проектом трассе;
- однократное или многократное расширение скважины до образования бурового канала, позволяющего протягивать трубопровод (трубопроводы) проектного диаметра;
- протягивание трубопровода (трубопроводов), осуществляемое, как правило, от точки выхода бурового инструмента на поверхность к буровой установке.
Примечание - При наличии по трассе абразивных пород готовность бурового канала к протягиванию трубопровода должна устанавливаться путем тестового протягивания калибра (секции основной трубы максимального проектного диаметра) и оценки отсутствия повреждений поверхностной изоляции трубы.
7.3.3.2 Для прокладки подземных коммуникаций методом ГНБ следует применять трубы следующих видов: стальные, полимерные, высокопрочные чугунные с шаровидным графитом.
Условия применения труб каждого вида, их прочностные характеристики, толщина стенки, защитные покрытия, методы стыковки и изоляция стыков должны определяться требованиями нормативных документов для прокладываемых коммуникаций соответствующего типа и указаниями стандартов (технических условий) на трубы.
7.3.3.3 Выбранные параметры труб и их соединений должны обеспечивать: восприятие эксплуатационных нагрузок и воздействий; восприятие продольных усилий при протягивании трубопровода по буровому каналу с учетом минимального радиуса изгиба по трассе; функционирование трубопровода в соответствии с его предназначением и требуемой долговечностью; защиту трубопровода от проникновения подземных вод и протечек.
7.3.3.4 Перед началом строительства подземных коммуникаций методом ГНБ необходимо выполнить оценку влияния строительства на окружающую застройку в соответствии с 6.4.
7.3.3.5 ППР, в том числе, должен: определять технологическую последовательность и параметры бурения пилотной скважины, способы и последовательность расширения скважины по участкам с привязкой их к проектному профилю, условиям строительства, применяемому оборудованию, срокам производства работ; содержать указания по контролю качества работ согласно действующим нормативным документам и требованиям проекта.
7.3.3.6 Трасса проектируемого участка бестраншейной прокладки может быть криволинейного очертания в плане и профиле в пределах минимально допустимых радиусов изгиба буровых штанг и применяемых труб, углов сгибания соединений, допускаемых приближений к различным объектам. На входе и выходе трассы ГНБ, для сбора раствора, ввода и вывода бурового инструмента должны устраиваться приямки или котлованы.
7.3.3.7 При выполнении работ вблизи сооружений окружающей застройки следует особо обращать внимание на соблюдение технологического регламента с целью предотвращения сверхпрогнозных дополнительных деформаций их оснований, а также на недопущение перерывов при бурении и расширении пилотной скважины и протягивании трубопровода.
7.3.3.8 Для временного крепления стенок скважины, а также для обеспечения транспортирования разработанного грунта из нее следует применять, как правило, тиксотропные глинистые буровые растворы на основе бентонита. В сложных инженерно-геологических условиях допускается применять полимерные растворы без добавления бентонита. Состав бурового раствора должен подбираться до начала производства работ с учетом инженерно-геологических условий по трассе бурения. В процессе работ состав раствора подлежит контролю и, при необходимости, корректировке.
7.3.3.9 Буровой раствор должен готовиться непосредственно перед началом работ. В процессе проходки пилотной скважины, расширения бурового канала и протягивания трубопровода он должен постоянно подаваться в скважину, пополняться, циркулировать и очищаться.
7.3.3.10 Основное оборудование для производства работ должно включать в себя: буровую установку в комплекте с буровым инструментом; оборудование для приготовления, подачи, регенерации бурового раствора; переносную локационную систему.
7.3.3.11 Буровая установка должна выбираться на основании вида, диаметра и длины строящегося трубопровода, инженерно-геологических условий трассы. Мощность буровой установки для обеспечения возможности проходки пилотной скважины, ее расширения и протаскивания в скважину трубопровода должна превышать не менее чем: в 1,5 раза - расчетное тяговое усилие; в 1,2 раза - расчетный крутящий момент.
7.3.3.12 Буровые штанги должны обеспечивать: передачу крутящего момента и осевого давления от буровой установки на скважинный породоразрушающий инструмент; транспортирование бурового раствора к буровому инструменту; передачу тягового усилия к расширителю и протягиваемому трубопроводу.
7.3.3.13 Буровые инструменты для разрушения грунта и расширения скважины должны выбираться с учетом механических (в том числе прочностных и абразивных) характеристик разбуриваемого грунта и определяться условиями прохождения трассы в наиболее неблагоприятных инженерно-геологических условиях.
7.3.3.14 Для постоянного контроля за положением бурового инструмента при проходке пилотных скважин следует применять переносные локационные системы. Они должны позволять отслеживать глубину бурения, угол наклона трассы, крен бурового инструмента, азимут скважины.
7.3.3.15 Бурение пилотной скважины должно начинаться при условии подготовки бурового раствора в объеме, необходимом для проходки скважины.
7.3.3.16 Расширение скважины следует проводить после завершения проходки пилотной скважины путем замены буровой головки на расширитель и последующего протягивания с одновременным вращением колонны штанг к буровой установке. Расширение допускается выполнять в несколько этапов, последовательно-ступенчатым увеличением диаметра ствола скважины. Зазор между окончательным диаметром бурового канала и наибольшим внешним диаметром трубопровода должен обеспечивать возможность протяжки последнего.
7.3.3.17 Протягивание трубопровода должно осуществляться после расширения и калибровки бурового канала с применением предварительно собранных плетей трубопровода максимальной длины, без остановок и перерывов (кроме технологических перерывов на пристыковку новых плетей труб).
7.3.4.1 Строительство подземных коммуникаций методом прокола допускается выполнять в неуправляемом или управляемом режиме.
7.3.4.2 Неуправляемый прокол следует выполнять путем статического (с помощью домкратов) или динамического (ударного или ударно-импульсного, с помощью пневмопробойников, пневмомолотов или гидромолотов) внедрения в грунт труб (штанг) с неуправляемым конусным наконечником, сопровождаемого уплотнением окружающего грунта.
Допускается применять неуправляемый прокол с разрывом (существующий трубопровод разрушается, его осколки вдавливаются в окружающий грунт). При статическом варианте прокол осуществляется с помощью задавливаемого или затягиваемого с помощью штанг расширителя или ножа. При динамическом варианте прокол осуществляется с помощью забиваемого расширителя или путем протаскивания по старому трубопроводу (с помощью троса) самодвижущегося пневмопробойника.
Примечания
1 Неуправляемый прокол может выполняться за один или два этапа. При двухэтапном проколе для увеличения диаметра скважины на втором этапе следует применять расширитель (расширители) с прикрепленным к нему прокладываемым трубопроводом.
2 При необходимости прокол допускается выполнять с применением кинетической энергии струи воды, выходящей под давлением из расположенного впереди трубы конического наконечника.
3 Для облегчения прокола (снижения лобового сопротивления), в зависимости от грунтовых условий, допускается применять конусные наконечники с отверстиями, через которые осуществляют предварительное увлажнение грунта.
7.3.4.3 Управляемый прокол необходимо осуществлять последовательным выполнением следующих операций:
- прокол пионерной скважины по заданной проектом трассе путем внедрения в грунт пилотных штанг с управляемым наконечником, сопровождаемый уплотнением окружающего грунта;
- однократное или многократное поэтапное расширение скважины до образования рабочего канала, позволяющего протягивать трубопровод (трубопроводы) проектного диаметра;
- протягивание трубопровода, осуществляемое, как правило, от точки выхода управляемого наконечника на поверхность к задавливающей установке.
7.3.4.4 Выбор вида труб, их прочностные характеристики, толщина стенки, защитные покрытия, методы стыковки и изоляция стыков должны определяться требованиями нормативных документов для прокладываемых коммуникаций соответствующего типа и стандартов (технических условий) на трубы.
7.3.4.5 Выбранные параметры труб и их соединений должны обеспечивать надежность трубопровода, в том числе: в случае неуправляемого одноэтапного прокола - при внедрении труб с учетом сжимающих статических и динамических усилий, передаваемых домкратами или другим применяемым оборудованием; в случае управляемого прокола - при его протягивании по рабочему каналу с учетом минимального радиуса изгиба по трассе.
7.3.4.6 Для прокладки подземных коммуникаций методом неуправляемого одноэтапного прокола следует применять, как правило, стальные трубы; неуправляемого двухэтапного и управляемого проколов - трубы, указанные в 7.3.3.2.
7.3.4.7 Перед началом строительства подземных коммуникаций методом прокола необходимо выполнить оценку влияния строительства на окружающую застройку в соответствии с 6.4.
7.3.4.8 ППР должен:
- определять технологическую последовательность и параметры прокола (для управляемого прокола - пионерной скважины и рабочего канала), с привязкой их к проектному профилю, условиям строительства, применяемому оборудованию, срокам производства работ;
- содержать указания по контролю качества работ согласно действующим нормативным документам и требованиям проекта.
7.3.4.9 Трасса проектируемого участка неуправляемого прокола должна быть прямолинейной в плане и профиле. Трасса проектируемого участка управляемого прокола может быть криволинейного очертания в пределах минимально допустимых радиусов изгиба штанг и применяемых труб, углов сгибания соединений, допускаемых приближений к различным объектам.
7.3.4.10 При выполнении работ вблизи сооружений окружающей застройки следует особо обращать внимание на соблюдение технологического регламента с целью недопущения сверхпрогнозных (сверхпроектных) дополнительных деформаций их оснований.
7.3.4.11 На входе и выходе трассы неуправляемого прокола для ввода и вывода инструмента должны устраиваться котлованы или приямки.
7.3.4.12 Основное оборудование для производства работ должно, как правило, включать в себя:
- для неуправляемого прокола - домкратную станцию (пневмопробойник, пневмомолот, гидромолот) и расширитель (при необходимости);
- для управляемого прокола - домкратную станцию, буровой инструмент (управляемый наконечник, штанги, расширитель), переносную локационную систему.
7.3.4.13 Домкратная станция, пневмопробойник, пневмомолот и гидромолот должны выбираться на основании вида, диаметра и длины строящегося трубопровода, инженерно-геологических условий трассы. Мощность бурового оборудования для обеспечения возможности статического или динамического внедрения в грунт труб, проходки пионерной скважины, ее расширения и протаскивания в рабочий канал трубопровода должна превышать не менее чем в 1,5 раза расчетное осевое усилие.
7.3.4.14 Штанги должны обеспечивать: передачу осевого усилия от домкратной станции (пневмомолота или гидромолота) на конусный (пилотный) наконечник, передачу тягового усилия к расширителю и протягиваемому трубопроводу. На наконечнике при управляемом проколе должен быть скос, обеспечивающий: при задавливании без вращения - требуемое изменение направления движения, при задавливании с вращением - прямолинейность движения.
7.3.4.15 Для постоянного контроля за положением управляемого наконечника при проходке пионерных скважин следует применять переносные локационные системы. Они должны обеспечивать возможность отслеживания, в том числе, глубины прокола, угла наклона трассы, крена бурового инструмента, азимута скважины.
7.3.4.16 Расширять скважину и протягивать трубопровод следует после завершения проходки пионерной скважины, путем замены управляемого наконечника на расширитель и последующего его протягивания с прикрепленным трубопроводом к домкратной станции. Расширение допускается выполнять в несколько этапов, последовательно-ступенчатым увеличением диаметра ствола скважины. Зазор между окончательным диаметром рабочего канала и наибольшим внешним диаметром трубопровода должен обеспечивать возможность его протяжки.
7.4.1 При строительстве подземных коммуникаций закрытым и открытым способами необходимо выполнять геотехнический мониторинг:
- конструкций строящихся подземных коммуникаций проходного типа, уровней ответственности I и II (за исключением случаев, предусмотренных в 7.4.2) с учетом требований примечания 2;
- ограждающих конструкций открытых выработок глубиной заложения более 5 м и максимальными размерами в плане более 3 м;
- массива грунта, окружающего:
- открытые выработки глубиной заложения более 5 м,
- закрытые выработки с максимальным размером поперечного сечения более 0,5 м;
- сооружений окружающей застройки уровней ответственности I и II.
Примечания
1 Для предварительного назначения зоны влияния и геотехнического мониторинга сооружений окружающей застройки необходимо учитывать примечания к 6.4.6.
2 В районах распространения многолетнемерзлых грунтов геотехнический мониторинг необходимо выполнять во всех случаях, с учетом требований раздела 15 СП 25.13330.2012 и приложения Н.
7.4.2 Геотехнический мониторинг подземных коммуникаций, строящихся открытым способом, устраиваемых в грунте или на ленточных фундаментах, допускается не выполнять в случаях, предусмотренных 6.3.4, устраиваемых на свайных фундаментах - при применении свай-стоек.
Геотехнический мониторинг подземных коммуникаций, строящихся закрытым способом, допускается не выполнять, за исключением случаев, когда их устройство выполняется в очень сильно и сильно деформируемых дисперсных грунтах (модуль деформации менее 10 МПа согласно классификации ГОСТ 25100), а также отсутствуют специфические грунты (СП 22.13330) и опасные геологические процессы.
7.4.3 Геотехнический мониторинг должен включать в себя следующие работы:
- периодические обследования и фиксация изменений контролируемых параметров конструкций сооружений и окружающего массива грунта;
- анализ динамики и степени опасности изменений контролируемых параметров, сравнение фиксируемых значений параметров с прогнозными и предельными значениями; установление причин отклонений от результатов прогноза;
- уточнение и корректировка (при необходимости) оценки влияния для еще не построенных участков коммуникаций на основе результатов мониторинга, выполненного на построенных участках (6.4.5 и 7.4.16);
- разработка и корректировка (при необходимости) мер по предупреждению, снижению или ликвидации недопустимых отклонений и негативных последствий;
- определение эффективности выполненных мер;
- периодическое составление отчетов с результатами мониторинга, их анализом, выводами и рекомендациями;
- контроль за выполнением принятых решений.
При проведении работ следует применять методы, предусмотренные пунктом 12.3 СП 22.13330.2016, ГОСТ 24846 и СП 305.1325800.
7.4.4 Геотехнический мониторинг следует осуществлять в соответствии с программой, которая для объектов строительства 2-й и 3-й геотехнических категорий должна входить в состав утверждаемой части проектной документации.
7.4.5 На основе программы геотехнического мониторинга для строящихся подземных коммуникаций 3-й геотехнической категории должен разрабатываться проект геотехнического мониторинга.
7.4.6 Программа геотехнического мониторинга должна включать в себя:
- обоснование проведения мониторинга, его цель и задачи;
- краткую характеристику строящихся коммуникаций (уровень ответственности, геотехническую категорию, назначение, глубину заложения, размеры, вид обделки или труб, технологию и последовательность строительства, тип и основные параметры проходческого и строительного оборудования и др.);
- краткую характеристику инженерно-геологических и гидрогеологических условий участка строительства, включая характеристики грунтов, прогнозируемые изменения уровня подземных вод (при водопонижении), значения перемещений поверхности земли и массива грунта;
- основные сведения о наблюдаемых сооружениях (уровень ответственности, назначение; тип конструктивной схемы, прогнозируемые и предельные значения дополнительных деформаций, принятые в проекте меры защиты);
- перечень контролируемых параметров строящихся коммуникаций, массива грунта и наблюдаемых сооружений окружающей застройки;
- методы и требуемую точность измерений контролируемых параметров;
- этапы, периодичность и сроки проведения наблюдений за контролируемыми параметрами с учетом последовательности выполнения строительных работ;
- схематичный план наблюдательной сети;
- требования к структуре, составу и периодичности подготовки отчетной документации.
7.4.7 Пояснительная записка к проекту геотехнического мониторинга помимо сведений, содержащихся в программе мониторинга, должна включать в себя:
- виды, характеристики и число устанавливаемых на местности элементов (марки, репера, маяки, датчики, скважины и др.) наблюдательной сети;
- характеристику приборов и средств наблюдений и измерений;
- методику измерений.
7.4.8 Графическая часть к проекту геотехнического мониторинга должна включать в себя:
- план и разрезы по профильным линиям наблюдательной сети;
- схемы установки элементов наблюдательной сети.
7.4.9 Планы и разрезы наблюдательных сетей должны выполняться с нанесением на них проектируемых подземных коммуникаций, границ зоны влияния строительства, наблюдаемых сооружений окружающей застройки, элементов наблюдательной сети.
7.4.10 При строительстве подземных коммуникаций закрытым способом контролируемые параметры при геотехническом мониторинге следует назначать по приложению Н, открытым способом - в соответствии с указаниями СП 22.13330 (кроме подземных коммуникаций, расположенных в зоне влияния). Контролируемые параметры ранее проложенных подземных коммуникаций должны назначаться по таблице Н.4 приложения Н. Контролируемые параметры подземных коммуникаций проходного типа, строящихся открытым способом, следует назначать по таблице Н.3 приложения Н.
7.4.11 Сроки выполнения геотехнического мониторинга следует назначать:
- при строительстве подземных коммуникаций открытым способом (устройство траншей, котлованов, шахтных стволов) - с начала устройства ограждающих конструкций и не менее полугода после устройства, демонтажа ограждающих конструкций и обратной засыпки выработок;
- при строительстве подземных коммуникаций закрытым способом (щитовая проходка, микротоннелирование, продавливание, горизонтальное направленное бурение и др.) - с момента входа сооружения окружающей застройки и прилегающего массива грунта в зону влияния забоя проходческого оборудования и не менее полугода после их выхода из зоны влияния.
Примечания
1 При планировании мониторинга продолжительность осадок над коммуникационными тоннелями и коллекторами диаметром более 3 м допускается оценивать по приложению К.
2 Для закрытых выработок диаметром менее 1 м сроки выполнения мониторинга допускается уменьшать до не менее 3 мес. после выхода сооружений окружающей застройки и прилегающего массива грунта из зоны влияния.
3 Сроки проведения мониторинга необходимо продлевать при отсутствии стабилизации изменений контролируемых параметров. В случае отсутствия иного в программе (проекте) мониторинга, а также отсутствия по трассе строительства специфических грунтов и опасных геологических процессов за критерий условной стабилизации перемещений грунтового массива и сооружений допускается принимать скорость 1 мм за 2 мес. Оценка стабилизации изменений контролируемых параметров должна выполняться организацией, осуществляющей геотехнический мониторинг или научно-техническое сопровождение.
7.4.12 При строительстве локальных частей подземных коммуникаций, выполняемых открытым способом, периодичность мониторинга ограждающих конструкций выработок, прилегающего массива грунта и сооружений окружающей застройки должна быть не реже: одного раза в неделю - в период устройства, демонтажа ограждающих конструкций и обратной засыпки выработок, одного раза в месяц - в дальнейшем.
7.4.13 При строительстве линейных частей коммуникаций, выполняемых закрытым способом, периодичность мониторинга прилегающего массива грунта и сооружений окружающей застройки должна быть не реже: одного раза в два дня и не менее четырех циклов - в период их нахождения в зоне влияния забоя проходческого оборудования; одного раза в месяц - в дальнейшем.
Примечание - Периодичность измерений контролируемых параметров следует увязывать с графиком выполнения проходческих работ. При превышении прогнозных значений контролируемых параметров измерения допускается выполнять чаще. При превышении предельных значений контролируемых параметров или выявления опасных отклонений и тенденций периодичность мониторинга должна быть увеличена.
7.4.14 Работы по начальному этапу геотехнического мониторинга, а также оформление отчетной документации следует выполнять в соответствии с СП 22.13330.
7.4.15 В процессе геотехнического мониторинга необходимо обеспечивать своевременность информирования представителей авторского и технического надзора о выявленных отклонениях контролируемых параметров от прогнозных значений.
7.4.16 Если в процессе геотехнического мониторинга выявлено, что фактические значения контролируемых параметров строящихся подземных коммуникаций и сооружений окружающей застройки превысили прогнозные значения, но были меньше предельных значений, следует выявить причины превышения, при необходимости, откорректировать проектные решения, способы и технологию производства работ, выполнить повторную уточненную оценку влияния и разработать (откорректировать) меры защиты существующих сооружений для оставшихся участков работ.
7.4.17 Если в процессе геотехнического мониторинга выявлено, что фактические значения контролируемых параметров строящихся подземных коммуникаций и сооружений окружающей застройки превысили предельные значения, то работы по строительству коммуникаций должны быть приостановлены, выполнено обследование коммуникаций (сооружений), рассмотрен вопрос о возможности продолжения строительства, выполнены указания 7.4.16.
8.1 При проектировании и строительстве подземных коммуникаций закрытым и открытым способами должны выполняться требования, имеющие целью предотвращение, минимизацию или ликвидацию вредных и нежелательных экологических и связанных с ними социальных, экономических и других последствий. При этом необходимо учитывать экологические и санитарно-эпидемиологические требования действующих документов.
8.2 Учет экологических требований должен основываться на результатах инженерно-экологических изысканий, выполняемых в соответствии с СП 47.13330. В процессе этих изысканий необходимо выполнять оценку современного состояния и прогноза возможных изменений окружающей среды в результате техногенных воздействий.
8.3 На территории предполагаемого строительства следует учитывать возможность проявления загрязняющих окружающую среду факторов, а также предусматривать мероприятия по ликвидации или уменьшению возможных негативных последствий с учетом пунктов 13.4-13.7 СП 22.13330.2016.
8.4 При производстве работ по строительству подземных коммуникаций должно быть гарантировано соблюдение действующего законодательства Российской Федерации по охране окружающей среды, обусловливающего экологические требования к проектированию и строительству подземных сооружений.
Технические решения по строительству подземных коммуникаций должны быть направлены на максимальное сохранение окружающей природной среды, повышение экологической безопасности, обеспечение снижения уровня шума от строительных процессов, исключение загрязнения существующих городских проездов, попадания грунта, шлама, пульпы и нефтепродуктов в городскую канализацию.
При разработке проектной документации с применением геотехнологий надлежит соблюдать законодательные акты и нормативные технические документы по вопросам охраны природы и водопользования.
8.5 Основные мероприятия по охране окружающей среды при строительстве подземных коммуникаций следует разрабатывать на стадии технико-экономического обоснования.
8.6 Проектная документация на строительство подземных коммуникаций должна включать в себя отдельный раздел "Охрана окружающей среды".
Приложение А
γc - коэффициент условий работы, учитывающий характер транспортируемой среды;
γct - коэффициент условий работы, учитывающий возможные перемещения и деформации коммуникации, полученные в период ее эксплуатации, до начала строительства проектируемой коммуникации;
γmu и γmy - коэффициенты надежности по материалу;
γn - коэффициент надежности по ответственности коммуникации;
γT - коэффициент условий работы, учитывающий долю связных дисперсных грунтов между поверхностью грунта и верхом тоннеля;
γtu и γty - поправочные коэффициенты надежности по материалу, учитывающие расчетную температуру эксплуатации коммуникации.
Е - модуль упругости материала коммуникации;
F - усилие от нагрузок и воздействий;
Fcrc,ult - предельное усилие, которое может быть воспринято конструкцией коммуникации без образования трещин;
Fult - предельное усилие, которое может быть воспринято конструкцией коммуникации при ее расчете по несущей способности;
MRS - минимальная длительная прочность материала (полимера) труб и соединительных деталей;
pn - внутреннее давление в коммуникации от транспортируемой среды;
Run и Ryn - расчетные сопротивления материала (стали) труб и соединительных деталей по временному сопротивлению и пределу текучести соответственно;
Rп - расчетная прочность полимера;
Rc - расчетное сопротивление материала (стали) труб и соединительных деталей;
σп - продольное осевое растягивающее напряжение в конструкции коммуникации от расчетных нагрузок и воздействий;
σп,t - растягивающие напряжения от температурного перепада в стенках коммуникации;
σп,д - растягивающее напряжение от внутреннего давления транспортируемой в коммуникации среды;
σп,о - растягивающее напряжение от перемещений грунта вдоль боковой поверхности коммуникации;
σп,п - растягивающее напряжение от вертикальных и горизонтальных перемещений грунта, перпендикулярных к боковой поверхности коммуникации.
acrc - расчетная ширина раскрытия трещин в конструкции коммуникации от нагрузок и воздействий;
acrc,ult - предельная ширина раскрытия трещин в конструкции коммуникации;
imin - минимально допустимый уклон коммуникации;
iy - расчетный уклон коммуникации;
iф - фактический уклон коммуникации;
К - кривизна изгиба коммуникации в пространстве, учитывающая ее вертикальные и горизонтальные поперечные перемещения;
s - совместная деформация основания и коммуникации;
sm и sm-1 - вертикальные перемещения в точках m и m - 1 соответственно;
su - предельное значение совместной деформации основания и коммуникации;
u - осевое горизонтальное перемещение коммуникации;
α - температурный коэффициент линейного расширения материала коммуникации;
Δc - оставляемый при строительстве зазор между концами труб в стыке;
Δk - осевое раскрытие стыка в результате продольных деформаций грунта и изгиба коммуникации;
Δlim - допускаемая осевая компенсационная способность податливого стыкового соединения сборных элементов коммуникации;
Δε - осевое раскрытие стыка сборных элементов коммуникации в результате продольных деформаций грунта;
Δξ - осевое раскрытие стыка в результате изгиба коммуникации, мм;
ε - относительное осевое горизонтальное перемещение коммуникации;
η - поперечное горизонтальное перемещение коммуникации;
μ - коэффициент поперечной деформации материала коммуникации (коэффициент Пуассона);
ρ - общий радиус кривизны изгиба коммуникации в пространстве, учитывающий вертикальные и горизонтальные поперечные деформации.
a - ширина расчетной области модели;
b - глубина расчетной области модели;
Dв - внутренний диаметр подземной коммуникации;
Dн - наружный диаметр подземной коммуникации;
Ds - диаметр выработки;
Н - расстояние между земной поверхностью и верхом подземной коммуникации;
Hrs - глубина заложения подошвы ограждающей конструкции;
Hs - глубина заложения низа открытой выработки;
Ht - глубина заложения низа закрытой выработки;
Hto - глубина заложения оси закрытой выработки;
Hc - глубина сжимаемой толщи;
Hпк - глубина заложения существующей подземной коммуникации;
Hоз - глубина заложения существующего объекта окружающей застройки;
hc - толщина слоя связного грунта над тоннелем;
L - расстояние в свету между строящейся подземной коммуникацией и объектом окружающей застройки;
lsec - длина секции коммуникации;
Δx - длина интервала между точками;
δ - толщина стенки коммуникации.
A - площадь поперечного сечения прокладываемой подземной коммуникации;
AS - площадь поперечного сечения закрытой выработки;
kL - степень заполнения грунтом кольцевого зазора между прокладываемой коммуникацией и контуром образуемой выработки;
T - продолжительность осадок земной поверхности над тоннелем, сут;
tгр - наиболее низкая среднемесячная температура окружающего грунта;
tэ - температура трубопровода в период эксплуатации;
VL - перебор грунта;
VT - скорость продвижения забоя;
Δt - температурный перепад коммуникации во времени.
Приложение Б
Б.1 Геотехнические категории объектов строительства подземных коммуникаций следует устанавливать в соответствии с таблицей Б.1.
|
Категория сложности инженерно-геологических условий |
Геотехническая категория объекта при уровне его ответственности | ||
|
повышенном |
нормальном |
пониженном | |
|
I (простая) |
2 |
2 |
1 |
|
II (средняя) |
3 |
2 |
1 |
|
III (сложная) |
3 |
3 |
2 |
|
"1", "2" и "3" - простая, средней сложности и сложная геотехнические категории соответственно. | |||
Б.2 Категорию сложности инженерно-геологических условий строительства следует определять в соответствии с СП 47.13330, уровень ответственности - в соответствии с ГОСТ 27751. К повышенному уровню ответственности следует относить также уникальные здания и сооружения.
Б.3 В случае если строительство или эксплуатация подземной коммуникации оказывают влияние на существующий объект окружающей застройки более высокого уровня ответственности, уровень ответственности проектируемой подземной коммуникации должен приниматься соответствующим уровню ответственности объекта окружающей застройки, подверженного влиянию.
Для отдельных локальных или линейных участков подземных коммуникаций допускается назначать геотехническую категорию раздельно.
Приложение В
В.1 Трубы с защитным бетонным покрытием в металлополимерной (стальной) оболочке (рисунок В.1) допускается применять при устройстве водопроводных, газопроводных, нефтепроводных и нефтепродуктопроводных подземных коммуникаций.
В.2 Стальные трубы должны соответствовать ГОСТ 3262, ГОСТ 8731, ГОСТ 8732, ГОСТ 20295; полиэтиленовые трубы - ГОСТ 18599, ГОСТ Р 58121.2 или технической документации, утвержденной в установленном порядке. Отводы холодного гнутья и отводы, изготовленные методом индукционного нагрева, должны соответствовать ГОСТ 24950 или техническим условиям, утвержденным в установленном порядке.
В.3 Армирование защитного бетонного покрытия выполняют с помощью арматурного каркаса и проволочной сетки. Среднее поперечное сечение стальной арматуры в продольном направлении должно быть не менее 0,04% поперечного сечения бетона и в кольцевом направлении - не менее 0,25% продольного сечения бетона. Армирование должно представлять собой каркас, арматурные стержни которого диаметром не менее 4 мм должны быть изготовлены по ГОСТ 5781 или техническим условиям, утвержденным в установленном порядке. Сварку арматурного каркаса проводят в соответствии с требованиями ГОСТ 14098.
В.4 Арматурный каркас устанавливают в бетонном покрытии с помощью центраторов (фиксаторов). Расстояние от защитного покрытия до каркаса должно быть не менее 15 мм, до наружной поверхности бетона - не менее 20 мм, расстояние между кольцами круговой арматуры - не более 150 мм.
В.5 Армирование стальной проволочной сеткой следует выполнять намоткой ее по спирали вокруг трубы и располагающегося по толщине балластного покрытия. Для изготовления стальной проволочной сетки следует применять оцинкованную низкоуглеродистую стальную проволоку по ГОСТ 3282. Цинковое покрытие всей поверхности стальной проволочной сетки должно быть равномерным (допускается окисление цинкового покрытия в местах контактных сварных соединений). Расстояние от защитного покрытия до стальной проволочной сетки должно быть не менее 15 мм, расстояние от стальной проволочной сетки до наружной поверхности бетона - не менее 25 мм, нахлест витков стальной проволочной сетки - не менее 25 мм. Стальная проволочная сетка на концах балластного покрытия (после очистки концов труб балластного покрытия) не должна выступать за пределы бетонного покрытия более чем на 3 мм.
В.6 Металлополимерная (стальная) оболочка должна представлять собой трубу спирально-замковой конструкции, изготовленную из стальной полосы в соответствии с требованиями ГОСТ 14918 и ГОСТ 2284 или техническими условиями, утвержденными в установленном порядке.
В.7 Для обеспечения центровки и соосности металлополимерной (стальной) оболочки относительно стальной трубы следует применять промежуточные фиксаторы. Элементы фиксаторов следует изготавливать из полиэтилена, полипропилена, дерева, бетона или других материалов, согласованных с заказчиком, и закреплять по окружности трубы стальной или полимерной лентой. Число и размеры фиксаторов зависят от диаметра стальной трубы, числа и плотности арматурных каркасов и характеристик бетонной смеси.
В.8 На материалы, применяемые для приготовления бетона, должны быть заводские сертификаты (паспорта). Вода для замеса должна соответствовать требованиям ГОСТ 23732. Свойства цемента должны соответствовать портландцементу по ГОСТ 10178, ГОСТ 30515, ГОСТ 31108 в соответствии с проектными требованиями. Мелкозернистые заполнители (песок, отсев дробления горных пород или их комбинации) по свойствам должны соответствовать требованиям ГОСТ 8736. Свойства крупнозернистых заполнителей (железосодержащая руда, баритовые руды и концентраты, дробленый гравий, щебень, щебень из шлаков металлургии, а также их комбинации) должны соответствовать требованиям ГОСТ Р 52939, ГОСТ 8267, ГОСТ 5578, ГОСТ 4682. Вместо бетонной смеси допускается применение фибробетона.
В.9 Заполнение межтрубного пространства между стальной трубой и металлополимерной (стальной) оболочкой следует осуществлять способом закачки бетонной смеси под давлением. Подвижность бетонной смеси необходимо выбирать из условий обеспечения равномерной закачки в межтрубное пространство.
В.10 Готовое защитное бетонное покрытие должно быть толщиной 25-250 мм и удельной плотностью 1900-3400 кг/м3 (в зависимости от диаметра труб), прочность на сжатие не менее 40 МПа, усилие сдвига не менее 8,5 кг/см2.
В.11 Для электрохимической защиты от коррозии на трубах в заводских условиях следует устанавливать протекторы браслетного типа или выводы для подключения электрохимической защиты трубопроводов с катодной поляризацией.
В.12 Защитное антикоррозионное покрытие металла труб допускается выполнять из трех слоев (эпоксидное покрытие, адгезив, экструзионный полиэтилен), двух слоев (адгезив, экструзионный полиэтилен) или одного слоя (эпоксидное покрытие).
В.13 Для защиты сварных соединений (стыков) трубопроводов с защитным бетонным покрытием в металлополимерной (стальной) оболочке в зависимости от проектных требований могут применяться следующие решения (рисунок В.1):
- защита стыка с антикоррозионной изоляцией бетонными полукольцами или полукольцами из пенополиуретана, изготовленными в заводских условиях;
- защита стыка с антикоррозионной изоляцией комплектами по заделке стыков пенополиуретаном или бетонной смесью в металлополимерной (стальной) оболочке с заливкой на месте монтажа (с армированием или без армирования).

а - труба из полипропилена гофрированная; б - труба стальная (полиэтиленовая); в — труба стальная с тепловой изоляцией; г - стык труб с заливкой пенополиуретаном; 1 -гофрированная двухслойная полипропиленовая труба; 2 - металлополимерная оболочка; 3 - защитное бетонное покрытие; 4 - арматурный каркас; 5 - фиксатор арматурного каркаса; 6 - центрирующая опора; 7 - раструб; 8 - полиэтиленовая труба; 9 - эпоксидное покрытие; 10 - пенополиуретан; 11 -термоусадочная лента; 12 - оболочка; 13 - замок
Рисунок В. 1 - Варианты труб с защитным бетонным покрытием в металлополимерной (стальной) оболочке
Приложение Г

(1) непилотируемые технологии (unmanned techniques): См. раздел 3.
(1.1) неуправляемые технологии (non-steerable techniques): См. раздел 3.
(1.1.1) технологии с уплотнением грунта (soil displacement techniques): Непилотируемые неуправляемые бестраншейные технологии прокладки подземных коммуникаций, которые сопровождаются уплотнением окружающего грунта.
(1.1.1.1) неуправляемый динамический прокол (soil displacement hammer): Непилотируемая неуправляемая бестраншейная технология прокладки подземных коммуникаций, выполняемая путем динамического (ударного или ударно-импульсного, с помощью пневмопробойников, пневмомолотов или гидромолотов) внедрения в грунт трубопровода с неуправляемым конусным наконечником, сопровождаемая уплотнением окружающего грунта (см. 7.3.4).
(1.1.1.2) неуправляемый статический прокол (pipe ramming/pushing with closed pipe): Непилотируемая неуправляемая бестраншейная технология прокладки подземных коммуникаций, выполняемая путем статического (с помощью домкратов) внедрения в грунт трубопровода с неуправляемым конусным наконечником, сопровождаемая уплотнением окружающего грунта (см. 7.3.4).
(1.1.1.3) неуправляемый прокол с расширением (horizontal jacking plant with expander): Непилотируемая неуправляемая бестраншейная двухэтапная технология прокладки подземных коммуникаций, выполняемая в такой последовательности:
- статическое или динамическое внедрение в грунт штанг с неуправляемым конусным наконечником,
- протягивание уширителя с прикрепленным к нему прокладываемым трубопроводом, сопровождаемое уплотнением окружающего грунта (см. 7.3.4).
(1.1.1.4) неуправляемый прокол с разрывом (берстлайнинг) или разрезом (сплиттинг) (pipe bursting/pipe splitting): Непилотируемая неуправляемая бестраншейная технология прокладки подземных коммуникаций, при которой существующий трубопровод разрушается (разрывается или разрезается) вместе с окружающим его грунтом с помощью забиваемого или задавливаемого расширителя или ножа. Новый трубопровод протаскивается вслед за расширителем (ножом). Применяется, когда диаметр нового трубопровода такой же или больше диаметра ранее проложенного (см. 7.3.4).
(1.1.2) технологии с удалением грунта (soil removal techniques): Непилотируемые неуправляемые бестраншейные технологии прокладки подземных коммуникаций, которые сопровождаются удалением (извлечением) грунта.
(1.1.2.1) внедрение открытой трубы (pipe ramming/pushing with open pipe): Непилотируемая неуправляемая бестраншейная технология прокладки подземных коммуникаций, при которой трубопровод с открытым концом внедряется в грунт с помощью домкратов или забивается в грунт. Грунтовая пробка в трубе разрабатывается и извлекается механически (выбуриванием или вручную), гидравлически или пневматически (сжатым воздухом), поэтапно, после проходки очередного участка трассы или проходки всей трассы.
(1.1.2.2) шнековое бурение (auger boring): Непилотируемая неуправляемая бестраншейная технология прокладки подземных коммуникаций, при которой трубопровод задавливается в грунт с помощью домкратной станции с одновременной разработкой и извлечением грунта в забое с помощью буровой головки и шнека.
(1.1.2.3) перебуривание (overdrilling): Непилотируемая и неуправляемая бестраншейная технология прокладки подземных коммуникаций, при которой существующий трубопровод извлекается одновременно с окружающим его грунтом с помощью буровой головки, прикрепленной к направляющему устройству. Грунт разрабатывается и извлекается с помощью шнека, гидравлически или пневматически.
(1.1.3) реновация без разрушения (pipe burstingless renewal): Непилотируемые неуправляемые бестраншейные технологии прокладки (восстановления) подземных коммуникаций без разрушения старого трубопровода.
(1.1.3.1) протяжка трубы (sliplining): Реновация трубопровода введением новой трубы методом протягивания или заталкивания в существующий трубопровод с заполнением кольцевого зазора между ними тампонажным раствором (при необходимости).
(1.1.3.2) модифицированная протяжка трубы (modified sliplining): Протяжка трубы, при которой диаметр вводимой гибкой трубы уменьшается перед протягиванием или заталкиванием в ранее проложенную. Впоследствии диаметр вводимой трубы восстанавливается до первоначального, обеспечивая плотную пригонку к восстанавливаемой трубе, без образования зазора. Методы уменьшения диаметра: обжатие (предварительное протягивание трубы через горячие или холодные пресс-формы), придание U-образной формы и вытяжки.
(1.1.3.3) метод гибкого рукава (flexible pipe sliplining): Реновация трубопровода, выполняемая в такой последовательности:
- введение в ранее проложенный трубопровод гибкого полимерного рукава "чулка";
- наполнение "чулка" рабочей средой (горячей водой, горячим воздухом или горячим паром);
- ожидание отвердения "чулка".
(1.1.3.4) нанесение покрытия (covering): Реновация трубопровода путем нанесения (как правило, центробежным набрызгом) покрытия (раствора, смолы и др.).
(1.2) управляемые технологии (steerable techniques): См. раздел 3.
(1.2.1) микротоннелирование (microtunnelling): Непилотируемые управляемые бестраншейные технологии прокладки подземных коммуникаций путем задавливания трубопровода с помощью домкратов и расположенной впереди трубопровода управляемой дистанционно (в автоматическом режиме) проходческой машины, позволяющей одновременно с задавливанием выполнять разработку и извлечение грунта в забое и обеспечивать его пригруз. Сборка и наращивание трубопровода осуществляются в стартовом котловане (шахтном стволе) путем пристыковки дополнительных секций труб (см. 7.3.2).
(1.2.1.1) микротоннелирование со шнековым транспортированием грунта (microtunnelling with auger spoil removal): Микротоннелирование, при котором транспортирование разработанного грунта из забоя выполняется с помощью шнека, расположенного в отдельной вспомогательной трубе, расположенной внутри прокладываемого трубопровода.
(1.2.1.2) микротоннелирование с гидротранспортированием грунта (slurry shield microtunnelling): Микротоннелирование, при котором транспортирование разработанного грунта из забоя выполняется с помощью гидротранспорта, путем транспортирования жидкого шлама по вспомогательному трубопроводу, расположенному внутри прокладываемого трубопровода.
(1.2.1.3) микротоннелирование с гидротранспортированием грунта и пневмопригрузом (slurry shield microtunnelling with compressed air cushion): Микротоннелирование, при котором разработанный грунт (жидкий шлам) транспортируют из забоя с помощью гидротранспорта по вспомогательному трубопроводу, расположенному внутри прокладываемого трубопровода, с пригрузом забоя сжатым воздухом.
(1.2.1.4) микротоннелирование с гидротранспортированием грунта и грунтопригрузом (microtunnelling with muck conveyance and earth pressure balance / EPB shield): Микротоннелирование, при котором разработанный грунт (жидкий шлам) транспортируют из забоя с помощью гидротранспорта по вспомогательному трубопроводу, расположенному внутри прокладываемого трубопровода, с пригрузом забоя с помощью измельченного грунта, при необходимости, модифицированного специальными добавками.
(1.2.1.5) микротоннелирование с удалением ранее проложенной трубы (pipe-eating): Микротоннелирование, при котором ранее проложенный трубопровод извлекается одновременно с окружающим грунтом. При этой технологии ранее проложенный трубопровод и его фундамент (основание) должны быть способны разрушаться при микротоннелировании.
(1.2.2) технологии вдавливания (pilot pipe jacking): Непилотируемые управляемые бестраншейные технологии прокладки подземных коммуникаций, при которых внедрение трубопровода сопровождается удалением или уплотнением окружающего грунта.
(1.2.2.1) управляемый прокол (pilot pipe jacking with soil displacement): Непилотируемая управляемая бестраншейная трехэтапная технология прокладки подземных коммуникаций, выполняемая в такой последовательности:
- прокол пионерной скважины по заданной проектом трассе путем внедрения в грунт штанги с управляемым наконечником, сопровождаемый уплотнением окружающего грунта;
- однократное или многократное поэтапное расширение скважины до образования рабочего канала, позволяющего протягивать трубопровод проектного диаметра;
- протягивание трубопровода (см. 7.3.4).
(1.2.2.2) управляемое вдавливание с выбуриванием грунта (pilot pipe jacking with soil removal): Непилотируемая управляемая двухэтапная бестраншейная технология (модификация шнекового бурения) прокладки подземных коммуникаций, выполняемая в такой последовательности:
- устройство пионерной скважины по заданной проектом трассе путем внедрения в грунт штанг (вспомогательного трубопровода) с управляемым наконечником, сопровождаемое выбуриванием или уплотнением окружающего грунта;
- задавливание в грунт по пионерной скважине основного трубопровода с помощью домкратной станции с одновременной разработкой и извлечением грунта из забоя с помощью шнека.
(1.2.2.3) метод раскатки (rolling techniques): Непилотируемая управляемая бестраншейная технология прокладки подземных коммуникаций, выполняемая в такой последовательности:
- проходка в грунте скважины путем уплотнения грунта раскатывающим механизмом (раскатчиком, включающим в себя группу цилиндрических и конических катков, установленных с помощью подшипников на валу), прикрепленным к штангам;
- после завершения проходки скважины раскатчик отсоединяется от штанг и вместо него присоединяются раскатчик-расширитель и трубопровод;
- штанги с раскатчиком-расширителем и трубопроводом затягиваются обратно в скважину.
(1.2.3) горизонтальное направленное бурение; ГНБ (horizontal directional drilling/HDD): Непилотируемая управляемая бестраншейная трехэтапная технология прокладки подземных коммуникаций, выполняемая в такой последовательности:
- бурение пилотной скважины по заданной проектом трассе;
- однократное или многократное расширение скважины до образования бурового канала, позволяющего протягивать трубопровод (трубопроводы) проектного диаметра;
- протягивание трубопровода (трубопроводов): См. 7.3.3.
(1.2.4) плужный метод (plough techniques): Непилотируемая управляемая бестраншейная технология прокладки подземных коммуникаций, при которой укладка плети трубопровода или кабеля (должны поставляться, как правило, в бухтах) выполняется в прорезаемую в грунте с помощью плуга щель, при этом плуг прикреплен к самоходному или буксируемому механизму (трубозаглубителю), движущемуся по поверхности земли.
(1.2.5) комбинированные технологии (steerable combined techniques): Непилотируемые управляемые бестраншейные двухэтапные технологии прокладки подземных коммуникаций, осуществляемые путем последовательного выполнения двух и более простых технологий, причем одна из технологий является управляемой.
(1.2.5.1) микротоннелирование с пилотной скважиной (microtunnelling with the pilot hole): Микротоннелирование с предварительной проходкой (бурением или продавливанием) пионерной скважины, выполняемой по одной из беспилотных технологий (управляемой или неуправляемой).
(1.2.5.2) горизонтальное направленное бурение щитом (direct pipe): - непилотируемая управляемая бестраншейная технология прокладки подземных коммуникаций путем задавливания предварительно собранного и сваренного по стыкам стального трубопровода с помощью расположенной впереди и пристыкованной к нему управляемой дистанционно (в автоматическом режиме) проходческой машины, позволяющей одновременно с задавливанием выполнять разработку и извлечение грунта в забое и обеспечивать его пригруз. Усилие, необходимое для проходки, создает доталкиватель труб, расположенный в непосредственной близости от точки входа трубопровода (на поверхности или в приямке). Технология - гибридный вариант горизонтального направленного бурения и микротоннелирования.
(2) пилотируемые технологии (unmanned techniques): См. раздел 3.
(2.1) управляемые технологии (steerable techniques): См. раздел 3.
(2.1.1) щитовая проходка (щитовое тоннелирование) (shield-driven tunneling): Пилотируемая управляемая бестраншейная технология прокладки подземных коммуникаций путем проходки тоннеля и возведения его обделки с помощью тоннелепроходческого комплекса, выполненного на базе передвижной временной крепи с головной частью в виде щитовой машины, управляемой находящимся внутри нее персоналом и позволяющего выполнять разработку и удаление грунта, крепление забоя и возведение обделки. Щитовая проходка осуществляется путем циклического последовательного повторения трех основных операций:
- разработка грунта в забое;
- передвижение щита с помощью гидродомкратов;
- возведение обделки (см. 7.3.1).
(2.1.1.1) проходка щитом с открытым забоем, частичной разработкой забоя без его поддержки или частичной механической поддержкой (shield-driven tunnelling by open shield with partial face excavation without support or with mechanical partial support): См. 7.3.1.
(2.1.1.2) проходка щитом с открытым забоем, частичной разработкой забоя без его поддержки или частичной механической поддержкой забоя, с нагнетанием сжатого воздуха в забой (shield-driven tunnelling by open shield with partial face excavation without support or with mechanical partial support by compressed air pressurisation of the working face): См. 7.3.1.
(2.1.1.3) проходка щитом с открытым забоем, полной разработкой забоя, частичной механической поддержкой забоя, без или с нагнетанием сжатого воздуха в забой (shield-driven tunnelling by open shield with full face excavation with mechanical partial support without or by compressed air pressurisation of the working face): См. 7.3.1.
(2.1.1.4) проходка щитом с закрытым забоем, полной разработкой забоя, гидро- и (или) пневмопригрузом (shield-driven tunnelling by closed shield with full face excavation and fluid support and (or) compressed air/mixshield): См. 7.3.1.
(2.1.1.5) Проходка щитом с закрытым забоем, полной разработкой забоя, грунтопригрузом (shield-driven tunnelling by closed shield with full face excavation and earth pressure balance/EPB shield): См. 7.3.1.
(2.1.2) горный способ (rock tunnelling): Пилотируемая управляемая бестраншейная технология прокладки подземных коммуникаций путем последовательной разработки сечения забоя (одновременно всего сечения или по частям), возведения временной непередвижной крепи (или без нее) и последующего возведения постоянной обделки из монолитного бетона, набрызг-бетона или сборных железобетонных элементов (с последующим нагнетанием между сборной обделкой и грунтом тампонажного раствора).
Приложение Д
В таблице Д.1 приведены ориентировочные области применения ТПМК с активным пригрузом забоя в различных инженерно-геологических и гидрогеологических условиях
Таблица Д.1

Приложение Е
Е.1 Для предварительной оценки влияния строительства при моделировании (выполнении расчетов в плоской постановке) проходки открытых (глубиной менее 5 м) и закрытых выработок с применением идеально упруго-пластической модели грунта ширину и глубину расчетной области (рисунок Е.1, а, б) допускается принимать по таблицам Е.1 и Е.2.

а - расстояние в плане между краем выработки и вертикальной границей расчетной области; b - расстояние по высоте между низом выработки и нижней границей расчетной области; Hs, Ht - глубины заложения низа открытой и закрытой выработок соответственно; Ds - диаметр или поперечный размер закрытой выработки
Рисунок Е.1 - Схемы для выбора размеров расчетной области модели при выполнении оценки влияния строительства закрытой а) и открытой б) выработок
|
Тип нагрузок и воздействий |
Рекомендуемое значение ширины расчетной области модели a, м | |
|
Песчаные грунты |
Глинистые грунты | |
|
Устройство закрытой выработки |
a≥3Ht |
a≥6Ht |
|
Устройство открытой выработки |
a≥3Hs |
a≥6Hs |
|
Тип нагрузок и воздействий |
Рекомендуемое значение глубины расчетной области модели b, м |
|
Устройство закрытой выработки |
b=0,5Ds |
|
Устройство открытой выработки |
b=Hrs+0,5 при Hc≤Hrs+0,5 b=Hc при Hc>Hrs+0,5 |
|
Примечания 1 Hc - глубина сжимаемой толщи основания условного фундамента, подошва которого расположена в уровне низа открытой выработки. Ширина условного фундамента принимается равной ширине открытой выработки. Нагрузка по подошве условного фундамента принимается равной весу вынутого из открытой выработки грунта. Hc рассчитывается согласно СП 22.13330, при этом применяется модуль деформации Ее по ветви вторичного нагружения. 2 Hrs - глубина заложения ограждений открытой выработки. | |
Е.2 При моделировании строительства открытых и закрытых выработок модель грунта должна адекватно отражать поведение грунтового массива под нагрузкой и воздействиями. Ее следует принимать на основе опыта сопоставления результатов прогнозных расчетов и данных мониторинга. Для моделирования допускается применять модели грунта.
Е.3 Выбор геомеханической модели грунта при расчете изменения напряженно-деформированного состояния грунтового массива в результате строительства открытых и закрытых выработок рекомендуется выполнять с учетом следующего:
- идеально упругую модель грунта применять не рекомендуется;
- геотехнические модели без упрочнения (упругопластические модели с критерием прочности) допускается использовать для предварительных расчетов. Для моделирования устройства открытой выработки глубиной более 5 м модели без упрочнения применять не рекомендуется;
- геотехнические модели с двойным упрочнением (в том числе учитывающие жесткость грунта при малых деформациях) рекомендуются использовать для моделирования закрытых и открытых выработок на глубине более 5 м.
Примечания
1 При применении геотехнических моделей с упрочнением следует:
а) определять параметры моделей на основе прямых испытаний грунтов в рамках инженерно-геологических изысканий; при отсутствии в нормативных документах методик определения параметров моделей их необходимо включать в программу изысканий;
б) выполнять верификацию и оптимизацию параметров модели путем последовательного (итерационного):
- сопоставления результатов лабораторных и (или) полевых испытаний грунтов с результатами моделирования испытаний в аналогичных условиях;
- выполнения обратных расчетов с привлечением результатов геотехнического мониторинга на построенных участках строительного объекта или на аналогичных объектах в схожих инженерно-геологических условиях.
2 Программу инженерно-геологических изысканий, включающую определение параметров модифицированных упругопластических моделей с упрочнением, а также результаты верификации и оптимизации параметров следует согласовать с организацией, осуществляющей научно-техническое сопровождение.
Приложение Ж
Ж.1 При выборе значения перебора следует учитывать, что он существенно зависит от вида разрабатываемого грунта, технологии проходки (в том числе нагнетания тампонажного раствора в заобделочное пространство) и опыта проходческой организации.
Ж.2 Для предварительной оценки влияния при проходке ТПМК с активным пригрузом забоя перебор грунта VL допускается принимать согласно таблице Ж.1.
|
Грунт, разрабатываемый в забое щита | ||
|
песок средний, водонасыщенный |
песок мелкий и пылеватый, водонасыщенный |
суглинок тугопластичный, глина полутвердая |
|
ТПМК со сборной обделкой при нагнетании тампонажного раствора в заобделочное пространство через отверстия в хвостовой части оболочки щита одновременно с его продвижением или ТПМК с пресс-бетонной обделкой | ||
|
5,5 |
3,5 |
1,5 |
|
ТПМК со сборной обделкой при нагнетании тампонажного раствора в заобделочное пространство после продвижения щита, через отверстия в блоках обделки | ||
|
- |
5,5 |
2,5 |
Ж.3 Для предварительной оценки влияния прокладки подземных коммуникаций с применением МТПК и ГНБ перебор грунта VL, %, допускается принимать по формуле
VL=kL[1-(A/AS)], (Ж.1)
где kL - степень заполнения грунтом кольцевого зазора между прокладываемой коммуникацией и контуром образуемой выработки (для МТПК следует принимать kL=40%-80%, для ГНБ - kL=20%-40%); А - площадь поперечного сечения прокладываемой подземной коммуникации, м2; AS - площадь поперечного сечения закрытой выработки, м2.
Приложение И
И.1 Ранее проложенные подземные коммуникации, расположенные в зоне влияния строительства, рассчитываются по двум группам предельных состояний: I - по несущей способности и II - по деформациям. Предельные состояния подземных коммуникаций, требующие поверочных расчетов на конкретном объекте, выбираются согласно таблице 6.1 с учетом назначения коммуникаций, принципа транспортирования, материала и характера стыковых соединений.
Примечания
1 Проверка прочности поперечных (кольцевых) сечений конструкций подземных коммуникаций [предельное состояние (I.2), таблица 6.1]* должна выполняться при возникновении нагрузок и воздействий, направленных на подземные коммуникации (строительство над коммуникацией сооружения, устройство насыпи и др.).
2 Проверка образования продольных трещин [предельное состояние (II.3.а)] и расчет их ширины раскрытия [предельное состояние (II.4.а)] в конструкциях подземных коммуникаций должны выполняться для бетонных, железобетонных и фибробетонных конструкций при возникновении нагрузок и воздействий, направленных на подземные коммуникации (строительство над коммуникацией сооружения, устройство насыпи и др.).
И.2 Расчет существующих подземных коммуникаций по предельным состояниям допускается не выполнять [кроме предельного состояния (I.3)], если максимальные дополнительные перемещения подземных коммуникаций не превышают:
4 мм - независимо от состояния (кроме аварийного) подземных коммуникаций;
10 мм - для подземных коммуникаций (кроме газопроводов) диаметром менее 0,5 м, находящихся в удовлетворительном состоянии (при отсутствии данных о состоянии коммуникации срок ее эксплуатации не должен превышать 20 лет).
И.3 (I.1) Проверка прочности конструкций подземных трубопроводов на максимальные продольные напряжения выполняется в результате проверки условий:
- для стальных конструкций
σп≤γctRc, (И.1)
где σп - продольное осевое растягивающее напряжение в конструкциях коммуникации от расчетных нагрузок и воздействий, МПа, определяемое с учетом настоящего приложения; Rc=min{Ru; Ry} - расчетное сопротивление материала (стали) труб и соединительных деталей, МПа,
,
; Run и Ryn - расчетные сопротивления материала труб и соединительных деталей по временному сопротивлению и пределу текучести соответственно, МПа; γc - коэффициент условий работы, учитывающий характер транспортируемой среды; γmu и γmy - коэффициенты надежности по материалу; γn - коэффициент надежности по ответственности коммуникации; γtu и γty - поправочные коэффициенты надежности по материалу, учитывающие расчетную температуру эксплуатации трубопровода; γct - коэффициент условий работы, учитывающий возможные перемещения и деформации трубопровода, полученные в период его эксплуатации, до начала строительства проектируемого объекта; при расположении трубопровода в плотной городской застройке и времени его эксплуатации: менее 10 лет γct=0,9, от 10 до 20 лет γct=0,85, более 20 лет γct=0,8; при отсутствии вблизи трубопровода действующих зданий и сооружений, строительство или эксплуатация которых способны были бы негативно сказаться на техническом состоянии трубопровода, γct=0,9.
Примечание - Значения Run, Ryn, γc, γmu, γmy, γtu, γty следует принимать по СП 33.13330, СП 36.13330, стандартам и техническим условиям на трубы;
- для полимерных конструкций
σп≤γctRп, (И.2)
где
- расчетная прочность материала (полимера) труб и соединительных деталей, МПа; MRS - минимальная длительная прочность материала труб и соединительных деталей, МПа; γm - коэффициент надежности по материалу; γc - коэффициент условий работы; σп и γct - то же, что и в формуле (И.1).
Механические характеристики и геометрические параметры подземных коммуникаций (трубопроводов) при выполнении расчетов принимаются по данным служб эксплуатации коммуникаций и (или) результатам их обследования. При отсутствии данных о фактической толщине стенки стальных трубопроводов (кроме магистральных нефте- и газопроводов) толщину стенки трубопровода допускается принимать с учетом скорости его коррозии, приведенной в таблице И.1, взятой с коэффициентом, равным при уровне ответственности трубопровода: пониженном - 1,0; нормальном - 1,1; повышенном - 1,2.
Примечание - Значения MRS, γc, γm, γn следует принимать согласно действующим строительным нормам и правилам на проектирование коммуникаций соответствующего вида, стандартам и техническим условиям на трубы.
|
Назначение трубопровода |
Скорость коррозии и абразивного износа стенки стального трубопровода, мм/год |
|
Газопровод |
0,12 |
|
Напорная канализация |
0,15 |
|
Водопровод с горячей водой |
0,10 |
|
Водопровод с холодной водой |
0,05 |
|
Теплосеть |
0,13 |
|
Нефтепродуктопровод: | |
|
- автомобильный бензин |
0,001-0,005 |
|
- дизельное топливо, авиационное топливо |
0,01-0,05 |
И.4 (I.2) Проверка прочности поперечных конструкций подземных трубопроводов на максимальные кольцевые напряжения выполняется в соответствии с нормами на проектирование конструкций соответствующего вида путем проверки условия
F≤Fult, (И.3)
где F - усилие от нагрузок и воздействий в рассматриваемом сечении; Fult - предельное усилие, которое может быть воспринято конструкцией.
И.5 (I.3) Проверка потери устойчивости положения конструкций подземных коммуникаций в результате потери устойчивости вмещающего их массива грунта выполняется в соответствии с СП 116.13330.
И.6 (II.1) Проверка условия самотечности конструкций подземных коммуникаций
Условие самотечности коммуникации обеспечено, если на участках, где строительство вызывает уменьшение наклона, выполняется следующее условие
iф-iy≥imin, (И.4)
где iф - значение фактического уклона коммуникации на рассматриваемом участке, определяемое по отметкам лотков колодцев; iy=sm-sm-1/Δx - значение расчетного уклона коммуникации в вертикальной плоскости на рассматриваемом участке; sm и sm-1 - значения вертикальных перемещений в точках m и m - 1 соответственно, мм; Δx - длина интервала между точками m и m - 1, мм; imin - минимально допустимые уклоны подземных коммуникаций; принимаются согласно действующим нормативным документам на проектирование коммуникаций соответствующего вида.
И.7 (II.2) Проверка герметичности стыковых соединений сборных конструкций подземных коммуникаций выполняется проверкой условия
Δlim≥Δk+Δc, (И.5)
где Δlim - допускаемая осевая компенсационная способность податливого стыкового соединения труб, мм, принимается согласно действующим строительным нормам и правилам на проектирование коммуникаций соответствующего вида, стандартам и техническим условиям (техническим паспортам предприятий - изготовителей труб) на трубы; Δk=Δε+Δξ - осевое раскрытие стыка в результате продольных деформаций грунта и изгиба коммуникации, мм; Δε=lsecε - осевое раскрытие стыка в результате продольных деформаций грунта, мм; lsec- длина секции коммуникации, мм; ε=um-um-1/Δx - значение относительного осевого горизонтального перемещения коммуникации (грунта вдоль оси трубопровода); um и um-1 - значения горизонтальных осевых перемещений в точках m и m - 1 соответственно, мм; Δξ=lsecDн/ρ - осевое раскрытие стыка в результате изгиба коммуникации, мм; Dн - наружный диаметр коммуникации, мм;
- общий радиус кривизны изгиба коммуникации в пространстве, мм, учитывающий вертикальные и горизонтальные поперечные деформации; ρy=1/Ky=Δxcp/iyn-iyn-1 - радиус кривизны в вертикальной плоскости, мм; Ky - кривизна в вертикальной плоскости, 1/мм; iyn и iyn-1 - значения наклонов n и n - 1 интервалов в вертикальной плоскости соответственно; Δxcp - длина секций труб, мм; ρz=1/Kz=Δxcp/izn-izn-1 - радиус кривизны в горизонтальной плоскости, мм; Kz - кривизна в горизонтальной плоскости, 1/мм; izn и izn-1 - значения наклонов n и n - 1 интервалов в горизонтальной плоскости соответственно; iz=ηm-ηm-1/Δx - наклон участков в горизонтальной плоскости, где ηm и ηm-1 - значения горизонтальных поперечных перемещений в точках m и m - 1 соответственно, мм; Δc - значение оставляемого при строительстве зазора между концами труб в стыке, мм, принимаемое в размере не менее 20% значения Δlim.
И.8 Проверка образования продольных (II.3.а) и поперечных (II.3.б) трещин в конструкциях подземных коммуникаций выполняется в соответствии с действующими строительными нормами и правилами на проектирование конструкций соответствующего вида путем проверки условия
F≤Fcrc,ult, (И.6)
где F - усилие от нагрузок и воздействий в рассматриваемом сечении; Fcrc,ilt - предельное усилие, которое может быть воспринято конструкцией без образования трещин.
И.9 Расчет ширины раскрытия продольных (II.4.а) и поперечных (II.4.б) трещин в конструкциях подземных коммуникаций выполняется в соответствии с нормами на проектирование конструкций соответствующего вида путем проверки условия
acrc≤acrc,ult, (И.7)
где acrc - ширина раскрытия трещин от нагрузок и воздействий, мм; acrc,ult - предельное значение ширины раскрытия трещин, мм.
И.10 Все расчеты подземных коммуникаций должны проводиться на расчетные значения нагрузок, которые определяют путем умножения нормативных значений на соответствующий коэффициент надежности по нагрузке.
И.11 При расчете подземных коммуникаций следует учитывать как основные (эксплуатационные), так и дополнительные (вызванные новым строительством) нагрузки и воздействия.
К основным относятся нагрузки и воздействия, возникающие на стадии эксплуатации подземных коммуникаций, до начала строительства проектируемых коммуникаций, влияние от которых оценивается. В качестве основных нагрузок и воздействий необходимо рассматривать внутреннее давление транспортируемой жидкости или газа, температурный перепад в стенках подземных коммуникаций и давление грунта.
К дополнительным относятся нагрузки и воздействия, возникающие после начала строительства проектируемых коммуникаций, влияние от которых оценивается. В качестве дополнительных нагрузок и воздействий необходимо рассматривать вертикальные и горизонтальные смещения и деформации грунта, а также увеличение давления грунта на коммуникации в результате строительных работ.
И.12 При расчете подземных коммуникаций по предельным состояниям продольные осевые растягивающие напряжения σп в конструкциях коммуникаций от расчетных нагрузок и воздействий следует определять по формуле
σп=σп,п+σп,о+σп,д+σп,t, (И.8)
где σп,п - растягивающие напряжения от вертикальных и горизонтальных перемещений грунта, перпендикулярных к боковой поверхности коммуникации, МПа; для коммуникаций с кольцевым сечением допускается принимать σп,п=EDн/2ρ; Е - модуль упругости материала коммуникации, МПа; Dн - наружный диаметр коммуникации, м; ρ - то же, что и в формуле (И.5), м; σп,о - растягивающие напряжения от перемещений грунта вдоль боковой поверхности коммуникации, МПа, допускается рассчитывать исходя из билинейной зависимости (упругопластической контактной модели) между сопротивлениями и перемещениями грунта вдоль боковой поверхности коммуникации; σп,д - растягивающие напряжения от внутреннего давления транспортируемой среды в коммуникации, МПа; σп,t - растягивающие напряжения от температурного перепада в стенках коммуникации, МПа.
Продольные осевые напряжения от внутреннего давления транспортируемой жидкости (газа), температурного перепада коммуникаций могут быть учтены одним из двух способов: первый - совместно с влиянием перемещений и деформаций грунтового массива, в рамках численного моделирования в комплексе с другими нагрузками и воздействиями; второй - раздельно, путем выполнения отдельных расчетов - в этом случае суммарные продольные осевые напряжения рассчитываются по принципу суперпозиции.
Для прямолинейных коммуникаций (трубопроводов) максимальные продольные осевые напряжения от внутреннего давления в коммуникациях круглого сечения определяются по формуле
, (И.9)
где рп - внутреннее давление в коммуникации от транспортируемой среды, МПа; Dв - внутренний диаметр коммуникации, м; δ - толщина стенки коммуникации; μ - коэффициент Пуассона.
Для прямолинейных коммуникаций (трубопроводов) максимальные продольные осевые напряжения от температурного перепада определяются по формуле
σп,t=-αEΔt, (И.10)
где α - температурный коэффициент линейного расширения материала коммуникации, 1/°С; Е - модуль упругости материала коммуникации, МПа; Δt=tгр-tэ - температурный перепад коммуникации во времени, °С, принимаемый положительным при нагревании, где tгр - наиболее низкая среднемесячная температура окружающего грунта, °С, принимается на основе данных многолетних наблюдений; tэ - температура трубопровода в период эксплуатации, °С, принимается по данным служб эксплуатации коммуникаций или соответствующим нормам на их проектирование.
Примечание - Для подземных коммуникаций с температурными компенсаторами, а также в случае, если коммуникации могут свободно перемещаться в продольном и поперечном направлениях, осевые напряжения от температурного перепада допускается не учитывать.
И.13 Взаимодействие на контакте "трубопровод-грунт" для существующих подземных коммуникаций, уложенных в траншее, допускается определять по формуле
τu=Rint(KTγHtgφ+c), (И.11)
где Rint - коэффициент, учитывающий вид материала (покрытия, изоляции) трубопровода, принимаемый равным 1,0 для битумной изоляции трубопровода, железобетонных и стальных горячекатаных труб без гидроизоляции, труб с бетонным (железобетонным) покрытием;
0,8 - для изоляции трубопровода полимерными пленками, полимерных трубопроводов, а также трубопроводов из холоднокатаной стали без гидроизоляции;
Kт - коэффициент концентрации нагрузок, принимаемый по таблице И.2 в зависимости от вида грунта, глубины заложения оси трубопровода H и ширины траншеи при прокладке трубопровода В;
γ - удельный вес грунта над трубопроводом;
φ и с - угол внутреннего трения и удельное сцепление грунта.
|
Вид вмещающего грунта |
Значения коэффициента Kт при отношении Н/В, равном | |||||
|
0,5 |
1,0 |
1,5 |
2,0 |
2,5 |
3,0 | |
|
Песчаный |
0,80 |
0,72 |
0,65 |
0,60 |
0,57 |
0,57 |
|
Глинистый |
0,87 |
0,78 |
0,72 |
0,67 |
0,65 |
0,65 |
______________________________
* Здесь и далее по тексту приложения И форма записи групп предельных состояний типа (I.n), (II.n) соответствует боковику таблицы 6.1. Виды проверочного расчета выделены курсивом.
Приложение К
При прогнозировании работ по геотехническому мониторингу продолжительность осадок земной поверхности над тоннелем Т, сут, выполняемым закрытым способом, следует оценивать по формуле
T=γTH/VT,
где γT - коэффициент условия работы, определяемый по таблице К.1, в зависимости от коэффициента связности Kc=∑hc/H толщи грунта над тоннелем; ∑hc - суммарная толщина слоев связных грунтов над тоннелем, м; Н - расстояние между земной поверхностью и верхом тоннеля, м; VT - скорость продвижения забоя щита, м/сут.
Примечание - При расчетах к связным грунтам следует относить одноименные грунты по ГОСТ 25100, за исключением грунтов с показателем текучести IL для: глин и суглинков - больше 0,75; супесей и других связных грунтов - больше 1.
|
Kc |
0 |
0,1 |
0,2 |
0,3 |
0,4 |
0,5 |
0,6 |
0,7 |
0,8 |
0,9 |
1 |
|
γT |
3,1 |
3,2 |
3,3 |
3,7 |
4,3 |
5,4 |
7,7 |
11,9 |
20,0 |
35,7 |
65,7 |
Приложение Л

а - метод химического закрепления грунта; б - метод струйной цементации; в - метод замораживания грунтов; г — метод вырезания специальной стенки; 1 — бетонное обрамление выхода; 2 - выходное уплотнение; 3 - закрепленная зона; 4 - зона замещенного грунта; 5 - замораживающие трубы; б - зона замороженного грунта
Рисунок Л. 1 — Мероприятия по снижению деформаций грунта на участках выводов щитов из шахтных стволов и котлованов

а — метод химического закрепления грунта; б - метод струйной цементации; в - метод замораживания грунтов; г - метод вырезания стенки; д - метод перемычки в шахте; е - плавающий метод; 1 - бетонное обрамление выхода; 2 - выходное уплотнение; 3 - закрепленная зона; 4 - зона замещенного грунта; 5 - замораживающие трубы; 6 - зона замороженного грунта; 7 - входная рама; 8 - глинистая паста; 9 – опора
Рисунок Л.2 - Мероприятия по снижению деформаций грунта на участках вводов щитов в шахтные стволы и котлованы
Приложение М
Для снижения технологических воздействий на окружающую застройку при строительстве подземных коммуникаций открытым способом и выполнении защитных мер необходимо обеспечивать выполнение положений М.1-М.14.
М.1 Контроль за выполнением требований проекта (технологического регламента) и качеством выполнения работ в части обеспечения щадящей технологии строительных работ, должен осуществляться инженерно-технической службой производителя работ, проверяться представителями авторского надзора и технического надзора заказчика.
М.2 Технология строительных работ должна проверяться и отрабатываться перед началом основных работ на опытном участке непосредственно на объекте строительства или участке с идентичными инженерно-геологическими условиями. Окончательное решение о выборе технологии выполнения работ должно приниматься представителями авторского надзора с учетом результатов проводимого в период указанных опытных работ геотехнического мониторинга.
М.3 Строительные работы на протяженных участках должны выполняться захватками.
М.4 В период выполнения защитных мероприятий должен выполняться геотехнический мониторинг защищаемых сооружений. Его результаты следует передавать представителям организаций, ответственных за обеспечение сохранности сооружений, в том числе представителям авторского надзора.
М.5 При выполнении строительных работ, если это указано в проекте или требуется согласно действующим нормам, следует оценивать допустимость вибродинамических воздействий.
М.6 При выполнении строительных работ бурение лидерных скважин не допускается, за исключением случаев, когда грунтовые условия участка позволяют надежно обеспечивать устойчивость стенок скважин. Разрешение на устройство лидерных скважин может выдаваться только представителями авторского надзора на основе работ на опытном участке.
М.7 Бурение скважин в фундаментах защищаемого сооружения следует выполнять станками алмазного бурения с извлечением выбуренного керна, позволяющими минимизировать динамические воздействия на конструкции защищаемых сооружений.
М.8 Бурение скважин вблизи сооружений окружающей застройки следует выполнять только с применением инвентарных обсадных труб. При работе буровых станков на расстоянии менее 5 м от этих сооружений, а также наличии в их основании слабых или структурно неустойчивых грунтов, безопасность применяемых режимов бурения по их динамичности должна определяться по результатам оценки допустимости фактических амплитуд вертикальных и горизонтальных составляющих смещений или скоростей колебаний грунта, а также по результатам инженерно-геодезических измерений осадок (перемещений) фундаментов защищаемых сооружений.
М.9 Для предотвращения или исключения избыточного перебора грунта при бурении станками с инвентарными обсадными трубами они должны быть оснащены буровыми коронками, позволяющими осуществлять опережающее погружение обсадных труб на глубину до 1-3 м. На участках бурения в плывунных грунтах (текучих супесях, водонасыщенных пылеватых и мелких песках) при устройстве скважин станками с обсадными трубами в качестве дополнительного мероприятия по предотвращению перебора грунтов в процессе бурения следует создавать в обсадной трубе избыточный напор воды путем регулярной ее заливки на всем этапе прохождения таких грунтов.
М.10 Забирку между несущими элементами ограждения следует выполнять из стальных листов в случае, если есть опасность суффозии водонасыщенных грунтов в траншею или котлован.
М.11 Для исключения избыточного перебора грунта при устройстве свай по технологии непрерывно перемещаемого шнека необходимо обеспечивать следующее:
- завинчивание шнека выполнять с закрытым затвором (для предотвращения попадания воды и грунта в полость шнека);
- процесс бетонирования сваи должен быть непрерывным до полного заполнения скважины бетоном;
- при бетонировании сваи следует поддерживать избыточное давление не менее 0,2 МПа (при наличии напорного горизонта подземных вод - по расчету) постоянно на всем протяжении подъема шнека;
- при необходимости в процессе бетонирования допускается выполнять поворот шнека в направлении бурения;
- режим бетонирования необходимо регистрировать бортовым компьютером буровой машины с соответствующей автоматической записью значения избыточного давления в течение всего периода бетонирования;
- в случае падения давления бетона в системе скорость подъема шнека должна быть уменьшена.
Для восстановления первоначального давления в массиве грунта и компенсации релаксации природных напряжений рекомендуется применять специальные конструкции бурового става, способные создавать повышенное (более 0,2 МПа) давление нагнетаемого бетона.
М.12 При устройстве разделительных стенок (отсечных экранов) из сплошного стального шпунта (листа) из-за опасности динамических воздействий при его вибропогружении или забивки погружение шпунта (листа) следует выполнять путем задавливания.
М.13 При устройстве разделительных стенок (отсечных экранов) с применением буросекущихся и бурокасательных свай следует минимизировать и не допускать сверхпредельные динамические воздействия работающих буровых станков на близрасположенные ранее возведенные сооружения, предотвращать перебор грунта в процессе бурения скважин и не допускать резкое сбрасывание бурового инструмента.
М.14 Выбор технологических параметров при струйной цементации грунтов должен в обязательном порядке выполняться на основании опытных работ непосредственно на объекте строительства или участке с аналогичными инженерно-геологическими условиями. Для предотвращения деформаций окружающего массива грунта и близрасположенных сооружений устройство грунтоцементных свай должно выполняться с чередованием (в шахматном порядке), с учетом интенсивности твердения грунтоцементного раствора. Состав раствора, способ и выбор технологических параметров выполнения струйной цементации должны быть подобраны так, чтобы исключить или минимизировать технологические осадки и перемещения ранее возведенных сооружений. При особо высоком рабочем давлении струи следует осуществлять геотехнический мониторинг окружающей застройки с повышенной периодичностью. На этапе подъема инструмента (обратный ход), за 0,5-1,0 м до выхода монитора на земную поверхность или до подошвы фундаментов (если иное не предусмотрено проектом), следует отключать рабочее давление. Все работы по струйной цементации необходимо выполнять до экскавации грунта из котлованов. Выполнение струйной цементации после выемки грунта из выработок запрещается.
Приложение Н
Н.1 В таблицах Н.1-Н.4 знак "+" обозначает контролируемые параметры, которые необходимо фиксировать в процессе мониторинга, знак "-" обозначает параметры, которые не требуется фиксировать при выполнении мониторинга.
Н.2 При строительстве подземных коммуникаций 3-й геотехнической категории по специальному заданию допускается дополнительно фиксировать контролируемые параметры, не приведенные в таблицах Н.1-Н.4.
|
Контролируемый параметр |
Массив грунта |
|
Вертикальные перемещения земной поверхности по профильным линиям |
+ |
|
Горизонтальные перемещения земной поверхности по профильным линиям |
+* |
|
Вертикальные деформации земной поверхности по профильным линиям |
+** |
|
Горизонтальные деформации земной поверхности по профильным линиям |
+*, **, *** |
|
Вертикальные перемещения массива грунта по глубине (измерения послойных деформаций) |
+* |
|
Горизонтальные перемещения массива грунта по глубине (инклинометрические измерения) |
+* |
|
Уровень подземных вод |
+*** |
|
* Выполняется по специальному заданию. ** Контролируемый параметр деформаций (наклон, радиус кривизны и др.) должен устанавливаться в программе мониторинга. *** Выполняется при уровне подземных вод выше низа закрытой выработки. | |
|
Примечание - Перемещения и деформации земной поверхности следует контролировать с помощью грунтовых марок, устанавливаемых по продольным и поперечным профильным линиям. Одна из продольных профильных линий должна располагаться по трассе строящейся коммуникации. | |
|
Контролируемый параметр |
Здания и сооружения окружающей застройки |
|
Вертикальные перемещения фундаментов и их относительная разность |
+ |
|
Горизонтальные перемещения фундаментов и конструкций и их относительная разность |
+* |
|
Крен |
+** |
|
Ширина раскрытия и глубина образования трещин |
+ |
|
Параметры динамических и вибрационных воздействий |
+*** |
|
* Выполняется при L/(Ht-Hоз)≤1, где L - расстояние в свету по горизонтали между строящейся подземной коммуникацией и объектом окружающей застройки; Ht и Hоз - глубины заложения устраиваемой выработки и объекта окружающей застройки. ** Выполняется при высоте зданий и сооружений окружающей застройки более 50 м. *** Выполняется по специальному заданию. | |
|
Примечание - В процессе геотехнического мониторинга необходимо проводить периодические визуальные обследования сооружений поверхностной застройки на предмет выявления повреждений их конструкций. | |
|
Контролируемый параметр |
Строящиеся подземные коммуникации проходного типа |
|
Осадки и уклон лотка коммуникации вдоль ее оси |
+ |
|
Крен лотка поперечного сечения коммуникации |
+* |
|
Горизонтальные перемещения лотка коммуникации |
+** |
|
Контроль ширины раскрытия деформационных швов конструкции (обделки) коммуникации |
+* |
|
Контроль деформаций поперечного сечения конструкции (обделки) коммуникации |
+* |
|
* Выполняется по специальному заданию. ** Выполняется, если коммуникация расположена на откосе или склоне. | |
|
Контролируемый параметр |
Инженерные коммуникации проложены | ||
|
в проходных защитных конструкциях*(2) |
в непроходных защитных конструкциях*(1), при глубине заложения Hпк, м | ||
|
Hпк≤2 |
Hпк>2 | ||
|
Вертикальные перемещения земной поверхности по трассе и выступающих из земли элементов конструкций камер и колодцев |
+*(3) |
+ |
+ |
|
Горизонтальные перемещения земной поверхности по трассе и выступающих из земли элементов конструкций камер и колодцев |
+*(3) |
+*(3), (4) |
+*(3), (4) |
|
Вертикальные перемещения дна лотков колодцев самотечных водонесущих коммуникаций |
- |
+*(3) |
+*(3) |
|
Вертикальные перемещения конструкций обделок проходных коллекторов, тоннелей или каналов |
+ |
- |
- |
|
Горизонтальные перемещения конструкций обделок проходных коллекторов, тоннелей или каналов |
+(4) |
- |
- |
|
Вертикальные перемещения фундаментов (конструкций) трубопроводов |
- |
+*(3), (5) |
- |
|
Горизонтальные перемещения фундаментов (конструкций) трубопроводов |
- |
+*(3), (4), (5) |
- |
|
Вертикальные перемещения массива грунта вблизи коммуникаций |
- |
+*(3), (6) |
+*(3), (6) |
|
Горизонтальные перемещения массива грунта вблизи коммуникации |
- |
+*(3), (4), (6) |
+*(3), (4), (6) |
|
Уровень подземных вод вблизи водонесущих коммуникаций |
- |
+*(3) |
+*(3) |
|
Температура и химический состав подземных вод (грунта) вблизи коммуникации |
- |
+*(3) |
+*(3) |
|
Температура поверхности земли вдоль трасс "горячих" трубопроводов с помощью тепловизоров |
- |
+*(3) |
+*(3) |
|
Продольные осевые (кольцевые) напряжения в стенках трубопроводов |
+*(3), (7) |
+*(3), (7) |
- |
|
Перемещения и раскрытие стыковых соединений секционных трубопроводов |
+*(3) |
- |
- |
|
Деформации стенок проходных коллекторов (тоннелей, каналов) и трубопроводов в поперечном сечении |
+*(3), (8) |
- |
- |
|
Ширина раскрытия трещин в стенках (обделке) проходных коллекторов, тоннелей или каналов, трубопроводов |
+ |
+*(3) |
- |
|
Параметры колебаний трубопровода (грунта) при динамических и вибрационных воздействиях |
+*(3) |
+*(3) |
+*(3) |
|
*(1) В проходных коллекторах, тоннелях или каналах. *(2) В грунте, футляре, обойме, непроходных коллекторах (тоннелях, микротоннелях, каналах). *(3) Выполняется по специальному заданию. *(4) Выполняется при L/(Ht-Hпк)≤1, где L - расстояние в свету между строящейся подземной коммуникацией и объектом окружающей застройки; Ht и Hпк - глубины заложения устраиваемой выработки и объекта окружающей застройки. *(5) Деформационные марки устанавливаются на конструкциях предварительно отшурфованных коммуникаций. *(6) Грунтовые марки устанавливаются на отметке заложения коммуникации, с двух сторон от нее. *(7) Выполняется с применением тензометров, индикаторов часового типа и др. *(8) Выполняется для коммуникаций в грунте при возникновении нагрузок и воздействий, направленных на коммуникации. | |||
|
Примечание - В процессе геотехнического мониторинга коммуникаций необходимо проводить периодические визуальные обследования состояния поверхности грунта (просадки, наличие пара и др.) вдоль трасс коммуникаций и конструкций обделок проходных коллекторов (тоннелей, каналов), а также колодцев и камер (по специальному заданию) коммуникаций непроходного типа. | |||
Приложение П
|
Тип конструкции |
Способ строительства |
Тип подземной коммуникации |
Объемно-планировочные решения |
Конструктивные решения |
|
Трубопровод |
Открытый, закрытый (непилотируемые технологии*) |
Водопровод |
Объемно-планировочные решения должны определяться требованиями к объекту с учетом СП 31.13330. Водоводы допускается прокладывать в одну или более линий. Водопроводные сети, как правило, должны быть кольцевыми |
Допускается проектировать сборным из секций, длинномерным**. Допускается использовать стыки: сварные, раструбные, с муфтами. Допускается использовать трубы: стальные, из ВЧШГ, стеклокомпозитные, полимерные, из серого чугуна, железобетонные, с защитным утяжеляющим композитным покрытием*** |
|
Канализация |
Объемно-планировочные решения должны определяться требованиями к объекту с учетом СП 32.13330. Следует применять самотечные или напорные сети канализации. Самотечные (безнапорные) сети канализации следует проектировать в одну линию |
Допускается проектировать сборной из секций, длинномерной. Допускается использовать стыки: сварные, раструбные, с муфтами. Допускается использовать трубы: стеклокомпозитные, полимерные, железобетонные, композитобетонные, стальные, полимерные | ||
|
Теплопровод |
Объемно-планировочные решения должны определяться требованиями к объекту с учетом СП 124.13330. Следует применять магистральные теплопроводы и разводящие сети |
Допускается проектировать сборным из секций. Допускается использовать стыки: сварные, раструбные, с муфтами, с фитингами механического типа. Допускается использовать трубы: стальные, из ВЧШГ, чугуна, полимерные | ||
|
Газопровод |
Объемно-планировочные решения должны определяться требованиями к объекту с учетом СП 62.13330. Прокладка газопроводов в тоннелях, коллекторах и каналах не допускается |
Допускается проектировать сборным из секций, длинномерным. Следует использовать сварные стыки. Допускается использовать трубы: стальные, полимерные (с армированием или без), с защитным утяжеляющим композитным покрытием, медные | ||
|
Колодец |
Открытый |
Водопровод, канализация, дренаж |
Объемно-планировочные решения должны определяться требованиями к объекту с учетом СП 31.13330, СП 32.13330. Следует предусматривать в местах резкого перелома профиля, изменения направления или диаметра, присоединений и разветвлений, при вводах в крупные здания и сооружения, на прямых участках при наличии соответствующих требований в нормативных документах, для осмотра, эксплуатации и ремонта инженерных сетей |
Допускается проектировать монолитным, сборным, цельноформованным. Допускается устраивать из железобетона, композитобетона, стеклокомпозита, полимеров |
|
Камера |
Открытый |
Теплопровод |
Объемно-планировочные решения должны определяться назначением и требованиями к объекту с учетом СП 124.13330. Следует предусматривать в местах резкого перелома профиля, изменения направления или диаметра, присоединений и разветвлений, на прямых участках при наличии соответствующих требований в нормативных документах, для осмотра, эксплуатации и ремонта инженерных сетей |
Допускается проектировать монолитной, сборной. Допускается устраивать из железобетона, блочной |
|
Тоннель, коллектор, канал |
Открытый, закрытый (пилотируемые и непилотируемые технологии) |
Водопровод, канализация, кабель, теплопровод |
Объемно-планировочные решения должны определяться требованиями к объекту с учетом СП 31.13330, СП 32.13330, СП 124.13330. Тоннели и коллектора допускается проектировать одно, двух и трехпролетными. При совместной прокладке нескольких типов сетей, взаимное положение и расстояния между трубопроводами и кабелями различного назначения должно быть ограничено специальными требованиями. Параметры должны определяться назначением и технологическими требованиями к объекту |
Допускается проектировать монолитным, сборным из блоков или секций. Допускается устраивать из железобетона, композитобетона, фибробетона |
|
Защитный футляр |
Открытый, закрытый (непилотируемые технологии*) |
Трубопроводы и кабели |
Объемно-планировочные решения должны определяться требованиями к объекту с учетом СП 31.13330, СП 32.13330, СП 62.13330, СП 124.13330. Следует предусматривать на локальных участках, для механической защиты трубопроводов в местах пересечения с дорогами и железнодорожными путями, при больших прогнозных неравномерных деформациях основания |
Допускается проектировать монолитным, цельным, сборным. Допускается устраивать из стали, стеклокомпозита, железобетона, композитобетона, полимерные |
|
* Согласно приложению Г. ** Не требует соединений. *** Согласно приложению В настоящего свода правил и приложению Е СП 341.1325800.2017. | ||||
|
Примечания 1 Композитобетонные конструкции следует применять при работе в агрессивных средах на основе технико-экономического обоснования. 2 Требования к материалу и типу стыков (равнопрочный или не равнопрочный) сборных конструкций подземных коммуникаций должны назначаться с учетом требований сводов правил на проектирование соответствующего вида подземных коммуникаций. | ||||
Библиография
|
[1] |
Федеральный закон от 30 декабря 2009 г. N 384-ФЗ "Технический регламент о безопасности зданий и сооружений" | |
|
[2] |
СНиП 12-04-2002 |
Безопасность труда в строительстве. Часть 2. Строительное производство |


