Приказ от 26.11.2018 г. № 588 ПРАВИЛА БЕЗОПАСНОСТИ ОБЪЕКТОВ СЖИЖЕННОГО ПРИРОДНОГО ГАЗА
Зарегистрировано в Минюсте России 24 декабря 2018 г. N 53113
ФЕДЕРАЛЬНАЯ СЛУЖБА ПО ЭКОЛОГИЧЕСКОМУ, ТЕХНОЛОГИЧЕСКОМУ
И АТОМНОМУ НАДЗОРУ
ПРИКАЗ
от 26 ноября 2018 г. N 588
ОБ УТВЕРЖДЕНИИ ФЕДЕРАЛЬНЫХ НОРМ И ПРАВИЛ В ОБЛАСТИ ПРОМЫШЛЕННОЙ БЕЗОПАСНОСТИ "ПРАВИЛА БЕЗОПАСНОСТИ ОБЪЕКТОВ СЖИЖЕННОГО ПРИРОДНОГО ГАЗА"
В соответствии со статьей 4 Федерального закона от 21 июля 1997 г. N 116-ФЗ "О промышленной безопасности опасных производственных объектов" (Собрание законодательства Российской Федерации, 1997, N 30, ст. 3588; 2017, N 11, ст. 1540), подпунктом 5.2.2.16(1) Положения о Федеральной службе по экологическому, технологическому и атомному надзору, утвержденного постановлением Правительства Российской Федерации от 30 июля 2004 г. N 401 (Собрание законодательства Российской Федерации, 2004, N 32, ст. 3348; 2018, N 29, ст. 4438), приказываю:
1. Утвердить прилагаемые к настоящему приказу Федеральные нормы и правила в области промышленной безопасности "Правила безопасности объектов сжиженного природного газа".
2. Настоящий приказ вступает в силу по истечении трех месяцев после его официального опубликования.
Руководитель
А.В.АЛЕШИН
Утверждены
приказом Федеральной службы
по экологическому, технологическому
и атомному надзору
от 26 ноября 2018 г. N 588
ФЕДЕРАЛЬНЫЕ НОРМЫ И ПРАВИЛА В ОБЛАСТИ ПРОМЫШЛЕННОЙ БЕЗОПАСНОСТИ "ПРАВИЛА БЕЗОПАСНОСТИ ОБЪЕКТОВ СЖИЖЕННОГО ПРИРОДНОГО ГАЗА"
I. ОБЩИЕ ПОЛОЖЕНИЯ
1. Федеральные нормы и правила в области промышленной безопасности "Правила безопасности объектов сжиженного природного газа" (далее - Правила) разработаны в соответствии с Федеральным законом от 21 июля 1997 г. N 116-ФЗ "О промышленной безопасности опасных производственных объектов", Положением о Федеральной службе по экологическому, технологическому и атомному надзору, утвержденным постановлением Правительства Российской Федерации от 30 июля 2004 г. N 401.
2. Правила устанавливают требования, направленные на обеспечение промышленной безопасности опасных производственных объектов (далее - ОПО) сжиженного природного газа (далее - СПГ), на которых осуществляются технологические процессы производства, хранения, приема/отгрузки, регазификации СПГ.
3. Правила предназначены для применения при проектировании, строительстве, эксплуатации, реконструкции, техническом перевооружении, ремонте, консервации и ликвидации ОПО СПГ.
4. Правила не распространяются на:
морские и речные транспортные средства для перевозки СПГ;
резервуары/секции хранения СПГ единичным объемом более 160 тысяч м3;
объекты малотоннажного производства СПГ (с резервуарами единичного объема менее 260 м3 и/или производительностью менее 10 тонн СПГ в час).
5. Термины и определения, используемые в настоящих Правилах, приведены в приложении N 1.
II. ОБЩИЕ ТРЕБОВАНИЯ К ТЕХНОЛОГИЧЕСКИМ ПРОЦЕССАМ, СВЯЗАННЫМ С ОБРАЩЕНИЕМ СЖИЖЕННОГО ПРИРОДНОГО ГАЗА
6. При проектировании ОПО СПГ применяются Федеральные нормы и правила в области промышленной безопасности "Общие правила взрывобезопасности для взрывопожароопасных химических, нефтехимических и нефтеперерабатывающих производств", утвержденные приказом Федеральной службы по экологическому, технологическому и атомному надзору от 11 марта 2013 г. N 96 (зарегистрирован Министерством юстиции Российской Федерации 16 апреля 2013 г., регистрационный N 28138), с изменениями, внесенными приказом Федеральной службы по экологическому, технологическому и атомному надзору от 26 ноября 2015 г. N 480 (зарегистрирован Министерством юстиции Российской Федерации 18 февраля 2016 г., регистрационный N 41130), и Федеральные нормы и правила в области промышленной безопасности "Правила безопасности нефтегазоперерабатывающих производств", утвержденные приказом Федеральной службы по экологическому, технологическому и атомному надзору от 29 марта 2016 г. N 125 (зарегистрирован Министерством юстиции Российской Федерации 25 мая 2016 г., регистрационный N 42261), с изменениями, внесенными приказом Федеральной службы по экологическому, технологическому и атомному надзору от 15 января 2018 г. N 12 (зарегистрирован Министерством юстиции Российской Федерации 2 февраля 2018 г., регистрационный N 49871), с учетом требований Правил.
7. Технологическая схема производства СПГ и основные параметры технологического процесса, влияющие на его безопасность, определяются в исходных данных на проектирование и проектной документации.
8. В проектной документации должны быть предусмотрены решения по локализации аварийных проливов СПГ и хладагентов на ОПО СПГ.
9. Выбор оборудования должен осуществляться при проектировании исходя из обеспечения заданных технологических параметров процессов. При проектировании технологических систем следует учитывать возможное снижение температуры среды при аварийном сбросе, дросселировании газового потока, испарении жидкой фазы.
10. Резервирование оборудования определяется в проектной документации с учетом результатов анализа опасностей технологических процессов.
11. Технологическое оборудование, аппараты и трубопроводы, содержащие СПГ, должны быть теплоизолированы для обеспечения регламентированной температуры продукта.
12. Конструктивное исполнение и размещение оборудования, трубопроводов, систем контроля и управления должны обеспечивать возможность контроля их технического состояния, а также возможность технического обслуживания.
13. На этапе проектирования при выборе оборудования необходимо учитывать электрохимическую совместимость, технологические особенности и физические и механические свойства материалов.
14. Защита оборудования, несущих конструкций и фундаментов от криогенного воздействия при возможных аварийных утечках СПГ должна определяться в проектной документации.
15. При выборе материалов и конструкций теплоизоляции криогенного оборудования и трубопроводов следует учитывать возможность проникновения воды (водяных паров) и предусматривать меры для предотвращения потери теплоизоляционных свойств.
16. Для насосов, предназначенных для перекачки СПГ и сжиженного углеводородного газа (далее - СУГ), должны быть предусмотрены меры по предотвращению образования газовых пробок внутри корпуса насоса, меры по защите от превышения давления и обеспечению бескавитационных режимов работы.
17. Для центробежных насосов, предназначенных для перекачки взрывопожароопасных сред, необходимо предусматривать защиту от минимального расхода среды ниже значений, определяющих безопасную работу насосов.
18. Прокладку технологических трубопроводов для криогенных, взрывопожароопасных и токсичных сред следует предусматривать надземной. Допускается прокладка указанных трубопроводов в непроходных каналах на участках присоединения к насосам и компрессорам, а также к оборудованию, используемому для периодического опорожнения.
19. При проектировании криогенных трубопроводов следует учитывать:
возможные термические деформации вследствие разности температур между верхней и нижней частями трубопровода, в том числе во время ввода в эксплуатацию/вывода из эксплуатации;
вибрации трубопроводов и присоединенной арматуры, вызванные возможной неравномерностью потока продукта (в том числе двухфазного);
кратковременные динамические нагрузки, возникающие при срабатывании предохранительных клапанов и образовании жидкостных пробок в потоке газообразной среды, гидравлические удары.
20. Температурные деформации в технологических трубопроводах должны компенсироваться за счет поворотов и изгибов трассы трубопроводов.
При невозможности ограничиться самокомпенсацией на трубопроводах должны предусматриваться компенсаторы, соответствующие условиям эксплуатации.
21. Максимальная безопасная скорость движения жидких и газообразных сред по технологическим трубопроводам должна обосновываться в проектной документации.
22. Для криогенной трубопроводной арматуры с внутренними полостями, в которых в процессе эксплуатации возможно запирание среды, должна быть предусмотрена разгрузка застойных зон.
23. Технологические трубопроводы, перемещающие взрывопожароопасные среды, на входе/выходе с установки должны иметь дистанционно управляемые отключающие устройства.
24. Соединения технологических трубопроводов, транспортирующих криогенные среды, и трубопроводной арматуры, установленной на них, должны быть сварными. Применение фланцевых соединений допускается только на участках технологических трубопроводов, на которых по условиям эксплуатации требуется периодическая разборка для проведения испытаний, чистки, ремонта.
Применение резьбовых соединений не допускается.
25. Конструкция приварной арматуры должна обеспечивать возможность проведения технического обслуживания ее внутренних элементов без изъятия корпуса арматуры из трубопровода.
26. В проектной документации на технологические трубопроводы следует указать виды и способы испытаний, величину испытательного давления для каждого трубопровода.
27. Материал крепежа фланцевых соединений криогенных трубопроводов должен быть выбран с учетом воздействия на них криогенных температур.
Все крепежные изделия для фланцев должны быть термообработаны.
28. Для технологических трубопроводов со взрывоопасными средами в составе блоков I категории взрывоопасности не допускается применение фланцевых соединений с гладкой уплотнительной поверхностью (соединительный выступ).
Применение фланцевых соединений с гладкой уплотнительной поверхностью (соединительный выступ) допускается при использовании спирально-навитых прокладок с двумя ограничительными кольцами на давление до 4, 0 МПа включительно.
29. Транзитная прокладка технологических трубопроводов через помещения не допускается.
30. Решения по размещению ОПО СПГ должны приниматься в соответствии с требованиями законодательства о градостроительной деятельности и технических регламентов.
31. Расположение ОПО СПГ должно обосновываться в проектной документации с учетом результатов применения метода идентификации опасностей (предварительного анализа опасностей) и количественного анализа риска, проведенного в соответствии с требованиями главы V Правил.
32. Минимальные расстояния между расположенными на территории ОПО СПГ технологическими установками, зданиями и сооружениями, не входящими в состав технологических установок, и от ОПО СПГ до близрасположенных объектов, обосновываются в проектной документации с учетом результатов количественной оценки риска, проведенной в соответствии с требованиями главы V Правил.
Границы технологических установок устанавливаются в проектной документации.
33. В зоне хранения СПГ не допускается размещение оборудования, не связанного с технологическими процессами хранения и отгрузки СПГ, техническим обслуживанием резервуаров СПГ и обеспечением их безопасности. Размеры и границы зоны хранения СПГ устанавливаются в проектной документации.
34. Площадь возможного аварийного разлива СУГ и легковоспламеняющихся жидкостей (далее - ЛВЖ) необходимо ограничивать путем устройства вокруг каждого резервуара для хранения СУГ и ЛВЖ (группы резервуаров) ограждающей стены или обвалования (за исключением объектов, расположенных на основании гравитационного типа, и изотермических резервуаров двухоболочечных с полной герметизацией).
Конструкция и материалы ограждающей стены или обвалования должны быть рассчитаны на:
низкотемпературное, гидростатическое и гидродинамическое воздействие СУГ и ЛВЖ;
тепловое воздействие от горящего в пределах ограждения разлитого СУГ с сохранением конструктивной устойчивости ограждения в течение времени полного выгорания расчетного объема разлива СУГ.
35. В дополнение к требованиям, содержащимся в пунктах 36 - 43 Правил для ОПО СПГ на основании гравитационного типа (далее - ОГТ) должны быть учтены требования пунктов 30 - 34 Правил.
36. Оборудование производства, отгрузки СПГ, факельные системы отпарного газа следует располагать в составе сооружений верхних строений ОГТ.
Технологические системы изотермического хранения СПГ, резервуары хранения хладагента, конденсата следует располагать в корпусе ОГТ.
Технические решения по расположению оборудования ОПО СПГ обосновываются в проектной документации.
37. Постоянные рабочие места в помещениях на ОГТ не допускаются.
38. При обосновании в проектной документации допускается располагать пункт управления операциями приема/отгрузки СПГ непосредственно на площадке расположения оборудования приема/отгрузки СПГ.
39. Расположение факельного ствола и свеч рассеивания обосновывается в проектной документации с учетом расчета зоны рассеивания сбрасываемых газов и паров и допустимой плотности теплового потока.
40. Верхняя плита ОГТ как защитная конструкция должна выдерживать воздействие взрыва при аварии от верхних строений на отсеки корпуса ОГТ.
41. Объемно-планировочные решения верхнего строения ОГТ должны обеспечивать возможность обслуживания, ремонта оборудования (технических устройств), безопасное проведение грузоподъемных работ, а также беспрепятственную эвакуацию персонала с места проведения работ.
42. Допускается размещение помещений автоматических анализаторных, электропомещений, контроллерных, блок-боксов для размещения клапанов управления дренчерной установкой пожаротушения, помещений для вентиляционного оборудования под технологическими трубопроводами и технологическим оборудованием при условии защиты помещений от возможных проливов и попаданий внутрь криогенных жидкостей.
Для указанных помещений, в которых установлено оборудование, не предназначенное для работы во взрывоопасных средах, в проектной документации должны быть разработаны меры по предотвращению поступления в них взрывопожароопасных веществ.
В контроллерных допускается совместное размещение оборудования связи, охраны с оборудованием систем управления технологическим процессом.
43. Расположение выводов выхлопных (дымовых) газов турбинных агрегатов в атмосферу обосновывается в проектной документации с учетом расчетов зоны рассеивания выбросов и теплового воздействия.
44. Тип факельной системы и конструкция факельной установки обосновывается в проектной документации в зависимости от условий ее эксплуатации, организации сбросов, физико-химических свойств и состава сбрасываемых газов в соответствии с требованиями нормативных правовых актов в области промышленной и пожарной безопасности.
45. На ОПО СПГ факельную установку следует размещать с учетом розы ветров, безопасных расстояний от открытых источников выбросов горючих веществ, минимальной длины факельных коллекторов (трубопроводов).
46. На ОПО СПГ следует предусматривать следующие независимые (самостоятельные) факельные системы для сбросов газов от технологических установок:
факельную систему теплого (влажного) газа;
факельную систему холодного (сухого) газа;
факельную систему отпарного газа (низкого давления) изотермического хранения и отгрузки СПГ.
Для проведения технического обслуживания и ремонта оборудования факелов влажного и сухого газов без остановки эксплуатации объектов СПГ должна предусматриваться резервная факельная установка.
47. Во избежание образования взрывоопасной смеси должна быть предусмотрена непрерывная подача продувочного (топливного) газа в начало факельных коллекторов технологических установок (систем), технологических линий и сборных факельных коллекторов. В случае прекращения подачи продувочного газа следует предусматривать автоматическую подачу резервного продувочного газа. Допускается ручное переключение на резервный продувочный газ для сборных факельных коллекторов технологических установок (систем).
48. Все линии факельной системы теплого (влажного) газа должны быть оснащены обогревом с целью предотвращения конденсации, гидратообразования и кристаллизации сбрасываемых сред.
49. Для всех факельных установок должны быть предусмотрены дистанционная система розжига, позволяющая надежно зажигать факел с безопасного места, и устройство непрерывного дистанционного контроля наличия пламени.
50. Расположение на территории и высота факельного ствола факельной установки должны обосновываться в проектной документации исходя из допустимой плотности теплового потока.
51. При размещении факельных стволов независимых факельных систем в составе единой конструкции должна быть обеспечена безопасность персонала при выполнении работ по техническому обслуживанию и ремонту факельных стволов и оголовков.
Площадки обслуживания факельных стволов, расположенных в составе единой конструкции, должны иметь не менее двух выходов в противоположных направлениях.
52. Потери давления в факельных системах на участках от любого предохранительного устройства до выхода из оголовка факельного ствола при максимальном сбросе должны определяться проектом с учетом технической характеристики предохранительных устройств и условий безопасной работы подключенного к ним оборудования.
Потери давления в факельной системе отпарного газа (низкого давления) не должны превышать давление срабатывания предохранительных устройств прямого сброса в атмосферу.
53. Конструкции факельного коллектора, ствола и оголовка, скорость потока, плотность сбрасываемых газов и паров должны обеспечивать стабильное (без отрыва пламени) горение факела. При этом должны быть учтены воздействия от вибрации факельного коллектора.
Соотношение расчетной скорости сброса к скорости звука не должно превышать значение 0, 95.
54. В обоснованном расчетом случае допускаются сбросы жидкой фазы рабочих сред в факельные системы.
55. В обоснованном расчетом случае допускается удаление низкокипящих жидкостей из факельного сепаратора ее испарением в факельную систему. При этом должны быть исключены возможности повышения давления и температуры в сепараторе выше расчетных значений и превышения температуры выше температуры самовоспламенения сбрасываемых сред.
III. ТРЕБОВАНИЯ К ОБЕСПЕЧЕНИЮ БЕЗОПАСНОЙ ЭКСПЛУАТАЦИИ ОПАСНЫХ ПРОИЗВОДСТВЕННЫХ ОБЪЕКТОВ СЖИЖЕННОГО ПРИРОДНОГО ГАЗА
56. Для оборудования, содержащего низкокипящие жидкости (температура кипения при давлении 0, 1 МПа не превышает минус 40 °C), аварийное освобождение допускается осуществлять за счет испарения среды в факельную систему.
При наличии остатков неиспарившейся жидкой фазы в аварийном оборудовании должны быть предусмотрены меры по ее удалению. Порядок и способ (дистанционно или автоматически) аварийного освобождения оборудования и трубопроводов технологических блоков определяется проектом с учетом обеспечения целостности освобождаемого оборудования и систем аварийного освобождения.
57. Для оборудования, работающего под избыточным давлением 0, 07 МПа и ниже, но в котором не исключена возможность повышения давления, должны быть предусмотрены меры защиты от превышения давления.
58. При проведении испытания технологических трубопроводов пневматическим способом должны быть выполнены следующие условия:
испытания труб в организации-изготовителе должны быть выполнены гидравлическим способом на давление не более 0, 95δтек (где δтек - предел текучести материалов), с занесением результатов испытаний в документы о приемочном контроле труб;
величина давления пневматического испытания трубопровода устанавливается в проектной документации, но должна составлять не менее 1, 1 · Ррасч (где Ррасч - расчетное давление трубопровода);
испытания трубопроводов следует проводить с применением метода акустико-эмиссионного контроля;
в программе (методике) испытаний должны быть предусмотрены меры безопасного проведения испытаний, в том числе ограничивающие нахождение персонала в зоне проведения испытаний и обеспечивающие защиту объектов.
59. Для технологических систем допускается проведение испытаний отдельными участками (группами оборудования и трубопроводов).
60. Максимально допустимая скорость охлаждения или нагрева систем с криогенным оборудованием при пуске/останове должна исключать появление недопустимых термических напряжений в конструкциях оборудования, а также аварийных значений давления паров криогенной жидкости, образующихся при ее испарении, и должна определяться проектом.
61. Ведение технологических процессов производства сжиженного природного газа осуществляется в соответствии с технологическим регламентом на ОПО СПГ. В технологическом регламенте устанавливаются регламентированные значения параметров, определяющих оптимальные нормы безопасного ведения технологического режима и подлежащих контролю и регулированию в заданном диапазоне.
Технологический регламент должен включать в себя следующие разделы:
общая характеристика производства;
характеристика производимой продукции;
характеристика исходного сырья, материалов, полупродуктов и энергоресурсов;
описание технологического процесса и схемы;
материальный баланс;
нормы расхода основных видов сырья, материалов и энергоресурсов;
основные положения процессов пуска и остановки производственного объекта при нормальных условиях эксплуатации;
основные положения процессов аварийной остановки производственного объекта;
отходы при производстве продукции, сточные воды, выбросы в атмосферу, методы их хранения, утилизации, переработки;
методы и средства защиты работников от производственных опасностей;
контроль производства и управление технологическим процессом;
возможные инциденты в работе и способы их ликвидации;
безопасная эксплуатация производства, средства индивидуальной защиты персонала;
перечень обязательных инструкций;
технологические схемы производства;
спецификация основного технологического оборудования (технических устройств), включая оборудование природоохранного назначения.
Содержание разделов технологического регламента должно соответствовать требованиям Федеральных норм и правил в области промышленной безопасности "Требования к технологическим регламентам химико-технологических производств", утвержденных приказом Федеральной службы по экологическому, технологическому и атомному надзору от 31 декабря 2014 г. N 631 (зарегистрирован Министерством юстиции Российской Федерации 28 мая 2015 г., регистрационный N 37426).
62. Размещение изотермических резервуаров хранения СПГ на площадке ОПО СПГ следует обосновывать в проектной документации на основе анализа опасностей технологических процессов и количественной оценки риска аварий в соответствии с главой V настоящих Правил.
63. Изотермические резервуары хранения СПГ следует размещать на выделенной территории или в корпусе (секции хранения СПГ) ОГТ.
64. Изотермический резервуар хранения СПГ должен рассматриваться как отдельный блок I категории взрывоопасности. Подводящие и отводящие технологические трубопроводы изотермического резервуара должны оснащаться отсечной арматурой.
65. Изотермический способ хранения СПГ в резервуарах осуществляется при температуре ниже температуры кипения СПГ и давлении, близком к атмосферному.
66. В проектной документации на изотермические резервуары хранения СПГ следует учитывать особые нагрузки (взрывные, ударные воздействия, возгорания, внезапное выделение газов), которые определяются по результатам анализа риска.
67. Для хранения СПГ следует применять двустенные (двухоболочечные с полной герметизацией, в том числе мембранные) изотермические резервуары, типы которых приведены в приложении N 2 к настоящим Правилам.
Мембранные изотермические резервуары допускается применять только в корпусе (секции хранения СПГ) ОГТ.
В проектной документации должны быть приняты решения по предотвращению возможного воздействия на изотермические резервуары ледовых, волновых природных нагрузок, а также нагрузок от навала судов.
68. Внутренний резервуар (первичный контейнер), предназначенный для хранения СПГ, должен быть выполнен из хладостойкой стали, соответствующей криогенным условиям хранения СПГ.
69. Внешний резервуар (вторичный контейнер) должен быть изготовлен из предварительно напряженного железобетона и иметь внутреннюю паронепроницаемую облицовку (оболочку). Для изотермических резервуаров СПГ объемом хранения до 60000 м3 включительно допускается выполнение внешнего резервуара из криогенной хладостойкой стали.
Независимо от конструктивного исполнения внешний резервуар должен обеспечивать полное удержание СПГ и его паров при авариях, связанных с разгерметизацией внутреннего резервуара.
70. Пространство между внутренним и внешним резервуарами или мембраной и внешним резервуаром должно иметь тепловую изоляцию.
Толщина тепловой изоляции, ее конструктивное исполнение и свойства должны устанавливаться в проектной документации по результатам тепловых расчетов.
71. Изотермический резервуар для хранения СПГ должен быть оснащен многоступенчатой системой защиты от повышения давления:
отвод паров СПГ на компримирование;
сброс паров СПГ в факельную систему отпарного газа (низкого давления);
сброс паров СПГ через предохранительные клапаны на свечи рассеивания в атмосферу.
Высота свечи рассеивания паров СПГ должна определяться из условия обеспечения допустимой плотности теплового потока на оборудование и персонал при возможном воспламенении сброса и его безопасном рассеивании.
72. Изотермический резервуар СПГ должен быть оснащен системой защиты от вакуума. Технические решения по защите изотермического резервуара СПГ от вакуума, в том числе установка вакуумных клапанов, должны обосновываться в проектной документации.
73. Все технологические трубопроводы, штуцеры для установки контрольно-измерительных приборов должны вводиться в резервуар через крышу.
74. Изотермический резервуар СПГ должен быть оборудован установленными внутри резервуара колоннами для погружных вертикальных насосов герметичного типа, предназначенных для отгрузки СПГ из резервуара. Количество рабочих насосов определяется проектом. Проектом также должна быть предусмотрена установка дополнительной колонны для резервного насоса с полной трубной обвязкой и подключением контрольно-змерительных приборов.
Для погружных насосов, установленных непосредственно в резервуарах СПГ (в насосных колоннах), должна быть предусмотрена возможность их установки и извлечения для проведения профилактических и ремонтных работ или их замены в процессе эксплуатации без опорожнения резервуара.
Трубопроводная обвязка насосных колонн резервуаров СПГ должна обеспечивать возможность их продувки инертным газом.
75. Изотермический резервуар должен быть оборудован системами контроля уровня, сигнализации и блокировки предельно допустимых значений верхнего и нижнего уровня.
76. Изотермический резервуар для хранения СПГ должен быть оборудован системой контроля температуры.
Контроль значения температуры СПГ должен быть предусмотрен на трубопроводах нагнетания насосов, линии рециркуляции и приема СПГ в резервуар.
77. Изотермический резервуар СПГ следует оснащать системой постоянного контроля (мониторинга) и сигнализации уровня, температуры и плотности, обеспечивающей контроль свойств СПГ на различных уровнях внутри резервуара для обнаружения расслоения СПГ и возможного самопроизвольного перемещения (переворачивания) слоев (фаз) СПГ.
Для предотвращения расслоения фаз СПГ следует обеспечить перемешивание продукта внутри резервуара путем циркуляции СПГ насосами отгрузки через линии рециркуляции насосов.
Технические решения по оснащению изотермического резервуара системой постоянного контроля и сигнализации уровня, температуры и плотности обосновываются в проектной документации.
78. Для обнаружения утечек из внутреннего резервуара в изолирующее пространство следует предусматривать систему постоянного контроля и сигнализации возможных утечек.
Технические решения по оснащению изотермического резервуара для хранения СПГ системой постоянного контроля и сигнализации возможных утечек определяются проектной документацией.
79. Изотермические резервуары должны быть подвергнуты испытаниям на прочность и герметичность.
Методика испытаний, включая последовательность проведения гидравлических и пневматический испытаний, должна быть разработана на основании проектно-конструкторской документации на изотермический резервуар.
80. Испытания двустенных изотермических резервуаров (двухоболочечных с полной герметизацией) должны проводиться гидравлическим способом на прочность и герметичность внутреннего резервуара.
При проведении гидроиспытаний должна быть обеспечена подготовка воды для предотвращения возникновения коррозии металла и сварных швов, включая микробиологическую коррозию. Должны быть приняты меры по очистке и осушке внутренней поверхности внутреннего резервуара после гидроиспытаний.
81. Испытания внешнего резервуара двустенного изотермического резервуара (двухоболочечного с полной герметизацией) и его облицовки должны проводиться пневматическим способом. Пневмоиспытания следует проводить при частично или полностью опорожненном внутреннем резервуаре.
82. Мембранные резервуары должны подвергаться испытаниям:
внешние резервуары - на прочность и герметичность;
мембраны - на герметичность.
83. Испытания внешнего резервуара мембранного типа должны проводиться гидравлическим способом до установки изоляции и мембраны. Гидротест не применяется, если строительство внутренней части резервуара и его испытания завершаются до буксировки ОГТ к месту эксплуатации ОПО СПГ. В указанном случае в проектной документации должны быть определены иные способы проверки внешнего резервуара.
84. Испытания на герметичность мембраны допускается проводить продувкой изолирующего пространства фракцией газообразного аммиака. Перед продувкой аммиаком поверхность мембранных сварных швов должна быть окрашена реактивной краской, чувствительной к воздействию аммиака.
85. При проведении испытаний изотермического резервуара следует провести испытания на прочность и герметичность внутренних трубопроводов, колонн погружных насосов и проходящих через крышу патрубков.
86. Перед захолаживанием изотермического резервуара должны быть проведены его продувка и осушка азотом.
87. Продувке и осушке подлежат внутренний резервуар и трубопроводы, изолирующее пространство с теплоизоляцией. Допустимые значения содержания влаги в резервуаре после осушки и кислорода в резервуаре после продувки, а также способы их контроля устанавливаются в проектной документации.
88. При захолаживании изотермического резервуара следует использовать жидкий азот или СПГ.
При проведении захолаживания следует обеспечить равномерное охлаждение всей поверхности внутреннего резервуара (днище и стены), не приводящее к недопустимым тепловым напряжениям стенок внутреннего резервуара.
89. Методики проведения осушки, продувки и захолаживания изотермического резервуара определяются на основании проектно-конструкторской документации на изотермический резервуар.
90. На проведение пусконаладочных работ (включая осушку, продувку, захолаживание изотермического резервуара) и эксплуатацию изотермического резервуара следует разработать технологический регламент, который подлежит уточнению по результатам проведения испытаний и пусконаладочных работ.
91. Эксплуатация изотермических резервуаров ОПО СПГ должна осуществляться в соответствии с технологическим регламентом, определяющим порядок организации надежного и безопасного ведения технологического процесса, и производственными инструкциями, составленными на его основе.
92. Система приема/отгрузки СПГ в танкеры должна включать в себя комплекс оборудования, необходимый для проведения операций приема/отгрузки и управления указанными операциями.
93. Технологические трубопроводы приема/отгрузки СПГ, предназначенные для периодического использования, следует поддерживать в холодном состоянии, в том числе за счет циркуляции СПГ.
94. Технологические трубопроводы приема/отгрузки СПГ должны быть оборудованы:
предохранительными устройствами (термальными клапанами);
трубопроводной арматурой, управляемой как дистанционно, так и вручную, в том числе в начале и в конце линии технологических трубопроводов приема/отгрузки СПГ;
системами дренажа жидкой и стравливания газообразной фаз.
95. Стендер должен быть изготовлен из марок стали, устойчивых к перекачиваемой среде и воздействию криогенных температур.
96. Конструкция шарнирных соединений стендера не должна допускать проникновение воды с внешней стороны во вращающиеся части шарнира и ее замерзание в указанных соединениях.
97. Уплотнения шарнирных соединений на трубопроводах для перекачки СПГ должны обеспечивать эксплуатацию стендера при временном возникновении вакуума, вызванном охлаждением стендера.
98. Конструкция стендера, включая шарнирные соединения на трубопроводах для перекачки СПГ, должна предусматривать систему продувки азотом.
99. Конструкция соединительного устройства стендера должна обеспечивать герметичное соединение с манифольдом танкера-газовоза.
Вокруг стендеров, установленных на причале отгрузки, должно быть свободное пространство, предотвращающее касание стендеров друг с другом (вне зависимости от режима работы), а также с близрасположенными установками и сооружениями.
100. Проектом должна быть определена рабочая зона стендера, в пределах которой перемещение соединителя стендера не приводит к срабатыванию аварийной системы автоматического отсоединения.
101. Стендер должен иметь быстродействующую муфту автоматического аварийного отсоединения от танкера при аварийной ситуации.
102. Время срабатывания отсечных клапанов при аварийных ситуациях должно определяться в проектной документации с учетом объема возможного пролива СПГ и воздействия гидроудара.
103. Проектной документацией должно быть определено значение максимальной скорости движения СПГ по трубопроводам при отгрузке. Сигнал превышения значения максимальной скорости отгрузки должен поступать в пункт управления операциями приема/отгрузки СПГ.
104. Система приема/отгрузки СПГ должна иметь линии отвода отпарного газа в закрытую систему.
105. При проведении операций приема/отгрузки СПГ должна быть обеспечена связь между лицами, ответственными за проведение операций приема/отгрузки на танкере, причале и пункте управления.
106. При проведении операций приема/отгрузки СПГ между танкером и причалом отгрузки СПГ должна быть обеспечена передача сигналов аварийного останова и аварийного отсоединения по электрическому или оптоволоконному каналу связи "судно-берег", который должен иметь независимое резервирование. Должна быть предусмотрена активизация системы аварийного останова и аварийного разъединения вручную с причала приема/отгрузки СПГ, а также автоматически при выходе стендера за пределы рабочей зоны.
107. В пункты управления должна постоянно поступать информация о состоянии моря, погодных условиях, положении судна, состоянии причальной линии при проведении операций приема/отгрузки СПГ.
108. Стендер должен иметь паспорт организации-изготовителя, в котором должны быть указаны сведения о сертификате соответствия или декларации о соответствии, а также протоколы испытаний на прочность и герметичность. К паспорту должна быть приложена техническая документация организации-изготовителя, включающая руководство по техническому обслуживанию и эксплуатации.
109. Стендеры должны поставляться в комплектации организации-изготовителя и с документально оформленными результатами заводских испытаний, в том числе при рабочей (криогенной) температуре.
По окончании монтажа стендеры должны пройти испытания на прочность и герметичность всех соединений, включая шарнирные, функциональные испытания, испытания на балансировку, испытания зазоров между рычагами, трубопроводом и окружающими соединениями, испытания системы продувки азотом и гидравлической системы, испытание на электрическое сопротивление изоляционного фланца, испытания муфты аварийного отсоединения, проверку аварийной сигнализации и внутренних блокировок.
Полный перечень испытаний на площадке определяется программой, разработанной организацией-изготовителем (поставщиком) стендеров и заказчиком.
110. Процесс регазификации СПГ должен предусматривать преобразование СПГ из жидкого состояния в газообразное на регазификационных установках для последующего транспортирования потребителю.
111. Решения по размещению оборудования для регазификации СПГ определяются в соответствии с требованиями законодательства о градостроительной деятельности и технических регламентов.
112. Выбор типа испарителя для газификации СПГ на регазификационных установках должен быть обоснован в проектной документации.
113. Испарители СПГ должны иметь резерв, обоснованный в проектной документации, для осуществления периодических переключений с одного испарителя на другой в целях обеспечения заданной продолжительности непрерывного процесса регазификации.
114. Регазификационные установки должны оборудоваться приборами контроля и регулирования и предохранительными устройствами.
Сброс от предохранительных устройств следует направлять в факельную систему. Допускается осуществлять сброс в атмосферу. Высота свечи рассеивания паров СПГ должна определяться из условия обеспечения допустимой плотности теплового потока на оборудование и персонал при возможном воспламенении сброса и его безопасном рассеивании без воспламенения.
IV. ОБСЛУЖИВАНИЕ И РЕМОНТ ТЕХНОЛОГИЧЕСКОГО ОБОРУДОВАНИЯ И ТРУБОПРОВОДОВ
115. Порядок организации и проведения работ по техническому обслуживанию и ремонту технологического оборудования должен быть определен эксплуатирующей организацией с учетом технической документации организации-изготовителя.
Допускается проведение технического обслуживания, в том числе ремонта оборудования на основе оценки риска с использованием процедур контроля технического состояния и технического обслуживания, управления, срока службы оборудования.
116. Для безопасной организации и порядка проведения газоопасных, огневых и ремонтных работ на объектах, входящих в комплекс ОПО СПГ, следует руководствоваться требованиями Федеральных норм и правил в области промышленной безопасности "Правила безопасного ведения газоопасных, огневых и ремонтных работ", утвержденных приказом Федеральной службы по экологическому, технологическому и атомному надзору от 20 ноября 2017 г. N 485 (зарегистрирован Министерством юстиции Российской Федерации 11 декабря 2017 г., регистрационный N 49189), а также требованиями технических регламентов и других нормативных правовых актов в области промышленной безопасности.
V. ТРЕБОВАНИЯ К АНАЛИЗУ ОПАСНОСТЕЙ ТЕХНОЛОГИЧЕСКИХ ПРОЦЕССОВ И КОЛИЧЕСТВЕННОМУ АНАЛИЗУ РИСКА АВАРИЙ
117. Анализ опасностей технологических процессов, количественный анализ риска (количественная оценка риска) аварий или иные методы анализа риска являются частью подготовки проектной документации, декларирования промышленной безопасности, обоснования безопасности ОПО и должны учитываться при функционировании риск-менеджмента и системы управления промышленной безопасностью ОПО СПГ.
118. Основная задача анализа риска должна заключаться в предоставлении лицам, принимающим решения по обеспечению безопасности, сведений о наиболее опасных процессах, составных элементах технологических систем ОПО СПГ для выработки обоснованных мер по снижению риска и обеспечению промышленной безопасности.
119. При выборе методов анализа риска должны быть учтены стадии жизненного цикла объекта, цели анализа (например, обоснование безопасных расстояний до близрасположенных объектов), тип анализируемого ОПО, критерии допустимого (приемлемого) риска, необходимость применения наиболее точных моделей аварийных процессов (например, методов численного моделирования).
120. При проведении анализа риска следует учитывать:
стадию жизненного цикла ОПО (проектирование, строительство, эксплуатация, консервация, ликвидация);
возможные отклонения технологических параметров от регламентных значений при ведении технологических процессов;
организационные и технические меры безопасности (барьеры безопасности), в том числе характеристики систем противоаварийной защиты, обнаружения утечек опасных веществ, запорных и отсекающих устройств;
внешние природные воздействия (землетрясения, оползни, состояние грунта, обледенение, иные гидрометеорологические, сейсмические и геологические опасности);
поражающие факторы аварий, в том числе на близрасположенных ОПО (выброс опасных веществ, разрушение технических устройств, сооружений, взрыв, термическое, токсическое поражение, разлет осколков, загрязнение окружающей среды);
влияние последствий аварий на близрасположенные ОПО, танкеры, населенные пункты, транспортные пути, водозаборы, заповедники и иные экологически уязвимые объекты;
современный опыт обеспечения безопасности ОПО СПГ;
воздействия на изотермические резервуары аварий на технологических установках ОПО СПГ и объектах, не входящих в состав ОПО СПГ;
последствия аварий на изотермических резервуарах и эскалации аварии с резервуара на резервуар, резервуара (группы резервуаров) на близрасположенные технологические установки ОПО СПГ, а также на объекты, не входящие в состав ОПО СПГ.
121. В целях идентификации опасностей, обоснования технических и организационных мер предупреждения аварий и инцидентов, в том числе при разработке обоснования безопасности ОПО, следует проводить анализ опасностей технологических процессов с определением отклонений технологических параметров от регламентных в соответствии с требованиями приложения N 1 к Федеральным нормам и правилам в области промышленной безопасности "Общие правила взрывобезопасности для взрывопожароопасных химических, нефтехимических и нефтеперерабатывающих производств", утвержденным приказом Федеральной службы по экологическому, технологическому и атомному надзору от 11 марта 2013 г. N 96.
122. При количественном анализе риска аварий на ОПО СПГ должны быть проведены следующие процедуры:
идентификация опасностей, которые могут привести к инцидентам и авариям;
определение вероятностей (частот) возникновения инцидентов и аварий;
построение сценариев развития возможных аварий и определение вероятности (частоты) реализации каждого сценария;
оценка количества опасных веществ, участвующих в аварии и создании поражающих факторов, в том числе истечение, растекание, испарение СПГ, дрейф облака топливно-воздушной смеси паров природного газа с воздухом;
расчет зон действия поражающих факторов;
оценка последствий аварий;
расчет индивидуального, коллективного, социального риска, частоты разрушения зданий, сооружений и иных показателей риска аварий;
определение наиболее опасных составных элементов (участков) ОПО по возможным последствиям и показателям риска.
Анализ риска для ОПО СПГ, расположенных на ОГТ, проводимый с целью определения оптимального размещения ОГТ и компоновки ОПО на ОГТ, должен учитывать следующие события:
повреждения ОГТ из-за экстремальных погодных условий, ударов/столкновений, падения объектов, столкновений вертолетов, воздействия криогенных температур или высокого теплового излучения;
разгерметизация первичного контейнера (мембранного).
Полнота процедур и расчетов определяется целями и задачами анализа риска.
123. Расчет дрейфа облака топливно-воздушной смеси на открытых пространствах допускается проводить по упрощенным (интегральным) моделям тяжелого и легкого газа. Распространение и сгорание СПГ, СУГ в помещениях, модулях и замкнутом/полузамкнутом пространстве следует проводить с помощью численного моделирования.
124. Учитывая специфику сгорания больших несферических объемов паров СПГ, которые обладают невысокой реакционной способностью, целесообразно использовать при расчетах прямое численное моделирование рассеивания и горения облаков больших объемов.
125. При оценке последствий аварий и расчетах показателей риска следует использовать нормативные правовые акты в области промышленной безопасности и методики анализа риска аварий на ОПО.
126. Критерии допустимого (приемлемого) риска гибели людей для безопасных расстояний обосновываются в проектной документации или в обосновании безопасности ОПО СПГ исходя из условия непревышения индивидуального риска гибели персонала при авариях среднестатистических значений гибели людей в техногенных происшествиях (неестественных причин).
127. Результаты анализа риска аварии должны быть обоснованы и оформлены таким образом, чтобы выполненные расчеты и выводы могли быть проверены и повторены квалифицированными специалистами, которые не участвовали при первоначальной процедуре оценки риска аварии.
Приложение N 1
к Федеральным нормам и правилам
в области промышленной безопасности
"Правила безопасности объектов
сжиженного природного газа",
утвержденным приказом Федеральной
службы по экологическому,
технологическому и атомному надзору
от 26 ноября 2018 г. N 588
ТЕРМИНЫ И ОПРЕДЕЛЕНИЯ
"Анализаторные" - помещения, в которых установлены измерительные преобразователи и другие приборы и средства автоматизации для обеспечения технологического процесса и контроля по предельно допустимой концентрации и нижнему концентрационному пределу распространения пламени опасных веществ в воздухе производственных зон;
"дренажная система" - система трубопроводов и аппаратов для отвода (сброса) скапливающихся во внутренних полостях жидкостей и конденсата от работающего оборудования, в том числе при возникновении утечки или для предотвращения повреждений и разрушений устройств или оборудования;
"дренчерная установка пожаротушения" - установка пожаротушения, оборудованная дренчерными оросителями или генераторами пены;
"застойные зоны" - участок трубопровода или внутренняя полость оборудования или арматуры в которой возможно накопление среды, для удаления которой требуется индивидуальное дренажное или стравливающее устройство;
"закрытая система" - технологическая герметичная система, предназначенная для безопасного организованного сбора аварийного выброса опасных веществ;
"зона хранения СПГ" - территория ОПО СПГ, на которой расположены резервуары для хранения СПГ и вспомогательное оборудование, обеспечивающее безопасную эксплуатацию резервуаров;
"контроллерные" - помещения или группа помещений, которые предназначены для размещения неоперативных средств обеспечения функционирования систем контроля, управления, противоаварийной автоматической защиты;
"криогенная температура" - температура в интервале от 0, 7 К (минус 273, 85 °C) до 120 К (минус 153, 15 °C);
"максимальная безопасная скорость" - максимальная безопасная скорость движения жидких и газообразных сред по технологическим трубопроводам, при которой обеспечивается регламентный режим эксплуатации технологической системы, в том числе исключаются недопустимые величины гидроудара, накопления статического электричества;
"основание гравитационного типа" - сооружение, удерживаемое на дне акватории за счет собственного веса, веса сооружений верхнего строения и связей его нижней части с грунтом;
"отключающие устройства" - отсекающая запорная арматура или отсекающая арматура соответствующего класса герметичности;
"стендеры (загрузочные рукава)" - полностью металлические свободно опирающиеся специализированные трубопроводы с шарнирными соединениями в комплекте с быстро соединяемыми/быстроразъемными муфтами с возможностью регулирования пространственного положения при приливах, колебаниях высоты надводного борта и перемещении судов, системой наведения, системой энергоснабжения, органами управления операциями загрузки, системой продувки, системой аварийного отсоединения и подъемными устройствами;
"стравливание газообразной фазы" - технологическая операция опорожнения емкостного оборудования, технологических коммуникаций, линейных участков трубопроводов от газообразной фазы, сопровождающаяся выбросом газообразной фазы в факельную систему или атмосферу;
"теплый (влажный) газ" - газы и пары с температурой от плюс 300 °C до минус 130 °C;
"термальный клапан" - предохранительное устройство для предотвращения повышения давления в отсеченных отключающими устройствами участках трубопроводов, перекачивающих жидкости, выше допустимого значения, возникающего из-за термального расширения рабочей среды;
"термообработка" - процесс обработки изделий из металлов и сплавов путем теплового воздействия с целью изменения их структуры и свойств в заданном направлении;
"технологическая установка (технологическая линия)" - совокупность взаимосвязанных технологических и инженерных систем отдельного технологического, инженерного и вспомогательного оборудования, хранилищ товарных продуктов, хранилищ вспомогательных веществ и материалов, предназначенная для производства, хранения и отгрузки товарного продукта, обеспечивающая безопасное ведение технологического процесса;
"технологическая система" - функционально объединенная совокупность нескольких технических устройств, технологического оборудования, агрегатов, аппаратуры, механизмов, взаимосвязанных технологическими потоками, действующих как единое целое при выполнении последовательности технологических операций и расположенных в одном или нескольких модулях;
"технологический блок" - аппарат, группа аппаратов и оборудования (независимо от количества единиц), которые в заданное время могут быть отключены (изолированы) от технологической системы без опасных изменений режима, приводящих к развитию аварии в смежной аппаратуре или системе;
"технологический модуль" - отдельная, конструктивно законченная и пространственно сформированная металлическая конструкция с технологическим и инженерным оборудованием, трубопроводами, системами и сетями в помещениях и (или) вне помещений, поставляемая к месту монтажа в виде изделия заданного уровня заводской готовности, предназначенная для осуществления технологических или иных процессов и размещаемая на опорном основании и (или) фундаменте;
"трубопроводная эстакада" - сооружение с проложенными технологическими трубопроводами, инженерными сетями и коммуникациями, обеспечивающими в комплексе транспортировку жидких и газообразных сред между технологическими установками, а также до мест отгрузки/сдачи продукции;
"холодный (сухой) газ" - смесь газообразных углеводородов, обращаемых на установках низкотемпературной конденсации, фракционирования и сжижения СПГ при низких (криогенных) температурах;
"электропомещения" - помещения или отгороженные (например, сетками) части помещения, в которых расположено электрооборудование, доступное только для квалифицированного обслуживающего персонала.
Приложение N 2
к Федеральным нормам и правилам
в области промышленной безопасности
"Правила безопасности объектов
сжиженного природного газа",
утвержденным приказом Федеральной
службы по экологическому,
технологическому и атомному надзору
от 26 ноября 2018 г. N 588
ТИПЫ ИЗОТЕРМИЧЕСКИХ РЕЗЕРВУАРОВ ХРАНЕНИЯ СЖИЖЕННЫХ ПРИРОДНЫХ ГАЗОВ

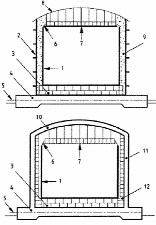
Рисунок 1. Двустенный (двухоболочечный с полной герметизацией) резервуар
1 - первичный контейнер (стальной); 2 - вторичный контейнер (стальной); 3 - изоляция днища; 4 - фундамент; 5 – система обогрева грунта; 6 - гибкое изоляционное уплотнение; 7 - висячая крыша (изолированная); 8 - крыша (стальная); 9 - засыпная изоляция; 10 - железобетонная крыша; 11 - внешний резервуар из предварительно напряженного железобетона (вторичный контейнер); 12 - изоляция внутри внешнего резервуара.

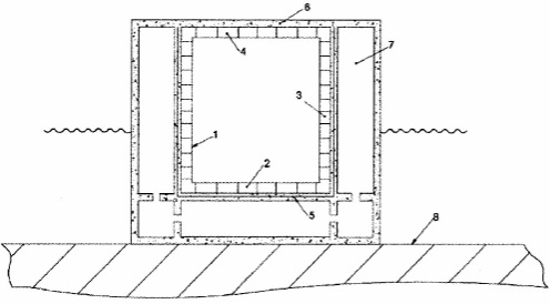
Рисунок 2. Мембранный резервуар в корпусе (секция хранения) ОГТ
1 - первичный контейнер (мембранный); 2 - изоляция днища; 3 - изоляция стен; 4 - изоляция крыши; 5 – система подогрева днища и стен; 6 - вторичный контейнер (железобетон); 7 - балласт; 8 - морское дно


