ГОСТ Р 71447-2024 КРЕПЛЕНИЯ АНКЕРНЫЕ. МЕТОД НАТУРНОГО ИСПЫТАНИЯ
Утв. и введен в действие Приказом Федерального агентства по техническому регулированию и метрологии от 10 июня 2024 г. N 755-ст
Национальный стандарт РФ ГОСТ Р 71447-2024
"КРЕПЛЕНИЯ АНКЕРНЫЕ. МЕТОД НАТУРНОГО ИСПЫТАНИЯ"
Anchor fasteners. On-site test method
ОКС 91.190
Дата введения - 1 июля 2024 года
Введен впервые
Предисловие
1 РАЗРАБОТАН Союзом производителей, проектировщиков и поставщиков фасадных систем "Фасадный Союз", Союзом производителей и поставщиков крепежных систем
2 ВНЕСЕН Техническим комитетом по стандартизации ТК 465 "Строительство"
3 УТВЕРЖДЕН И ВВЕДЕН В ДЕЙСТВИЕ Приказом Федерального агентства по техническому регулированию и метрологии от 10 июня 2024 г. N 755-ст
4 ВВЕДЕН ВПЕРВЫЕ
Правила применения настоящего стандарта установлены в статье 26 Федерального закона от 29 июня 2015 г. N 162-ФЗ "О стандартизации в Российской Федерации". Информация об изменениях к настоящему стандарту публикуется в ежегодном (по состоянию на 1 января текущего года) информационном указателе "Национальные стандарты", а текст изменений и поправок - в ежемесячном информационном указателе "Национальные стандарты". В случае пересмотра (замены) или отмены настоящего стандарта соответствующее уведомление будет опубликовано в ближайшем выпуске ежемесячного информационного указателя "Национальные стандарты". Соответствующая информация, уведомление и тексты размещаются также в информационной системе общего пользования - на официальном сайте Федерального агентства по техническому регулированию и метрологии в сети Интернет (www.rst.gov.ru)
1 Область применения
1.1 Настоящий стандарт распространяется на анкерные крепления, устанавливаемые в строительное основание в виде каменной кладки или железобетонных конструкций, и устанавливает метод испытания анкеров на строительном объекте на действие статической нагрузки на вырыв из строительного основания.
1.2 Стандарт не распространяется:
- на методы испытаний анкеров, воспринимающих динамические (в том числе от сейсмических воздействий) нагрузки;
- методы испытаний анкеров для установления соответствия их технических характеристик в бетоне с трещинами.
- анкеры, не прошедшие оценку технической пригодности для применения в строительстве;
- анкеры, устанавливаемые в основания, не указанные в техническом паспорте.
2 Нормативные ссылки
В настоящем стандарте использованы нормативные ссылки на следующие стандарты:
ГОСТ 12.1.004 Система стандартов безопасности труда. Пожарная безопасность. Общие требования
ГОСТ 12.2.003 Система стандартов безопасности труда. Оборудование производственное. Общие требования безопасности
ГОСТ 379 Кирпич, камни, блоки и плиты перегородочные силикатные. Общие технические условия
ГОСТ 530 Кирпич и камень керамические. Общие технические условия
ГОСТ 10180 Бетоны. Методы определения прочности по контрольным образцам
ГОСТ 17624 Бетоны. Ультразвуковой метод определения прочности
ГОСТ 18105 Бетоны. Правила контроля и оценки прочности
ГОСТ 22690-2015 Бетоны. Определение прочности механическими методами неразрушающего контроля
ГОСТ 24332 Кирпич и камни силикатные. Ультразвуковой метод определения прочности при сжатии
ГОСТ 28570 Бетоны. Методы определения прочности по образцам, отобранным из конструкций
ГОСТ 33530 (ISO 6789:2003) Инструмент монтажный для нормированной затяжки резьбовых соединений. Ключи моментные. Общие технические условия
ГОСТ Р 8.736 Государственная система обеспечения единства измерений. Измерения прямые многократные. Методы обработки результатов измерений. Основные положения
ГОСТ Р 56731-2015 Анкеры механические для крепления в бетоне. Методы испытаний
ГОСТ Р 57787 Крепления анкерные для строительства. Термины и определения. Классификация
ГОСТ Р 58360 Анкеры тарельчатые для крепления теплоизоляционного слоя в фасадных теплоизоляционных композиционных системах с наружными штукатурными слоями. Методы испытаний
ГОСТ Р 58387 Анкеры клеевые для крепления в бетон. Методы испытаний
ГОСТ Р 58768 Анкеры пластиковые для крепления в бетоне и каменной кладке. Методы испытаний
Примечание - При пользовании настоящим стандартом целесообразно проверить действие ссылочных стандартов в информационной системе общего пользования - на официальном сайте Федерального агентства по техническому регулированию и метрологии в сети Интернет или по ежегодному информационному указателю "Национальные стандарты", который опубликован по состоянию на 1 января текущего года, и по выпускам ежемесячного информационного указателя "Национальные стандарты" за текущий год. Если заменен ссылочный стандарт, на который дана недатированная ссылка, то рекомендуется использовать действующую версию этого стандарта с учетом всех внесенных в данную версию изменений. Если заменен ссылочный стандарт, на который дана датированная ссылка, то рекомендуется использовать версию этого стандарта с указанным выше годом утверждения (принятия). Если после утверждения настоящего стандарта в ссылочный стандарт, на который дана датированная ссылка, внесено изменение, затрагивающее положение, на которое дана ссылка, то это положение рекомендуется применять без учета данного изменения. Если ссылочный стандарт отменен без замены, то положение, в котором дана ссылка на него, рекомендуется применять в части, не затрагивающей эту ссылку.
3 Термины, определения и обозначения
3.1 В настоящем стандарте применены термины и обозначения по ГОСТ Р 56731, ГОСТ Р 58360, ГОСТ Р 58387, ГОСТ Р 58768, а также следующие термины с соответствующими определениями:
3.1.1
|
анкер: Крепежное изделие промышленного изготовления, предназначенное для крепления строительных элементов, материалов, конструкций и оборудования к строительному основанию. [ГОСТ Р 57787-2017, пункт 4] |
3.1.2
|
анкерное крепление: Узел строительной конструкции, конструктивно представляющий анкер или анкерную группу, установленные в проектное положение в строительном основании, при этом анкер или каждый из анкерной группы способен воспринимать воздействующие на него нагрузки и передавать их в строительное основание. [ГОСТ Р 57787-2017, пункт 1] |
3.1.3
|
каменная кладка: Конструкция из природных или искусственных камней (кирпича, блоков), соединенных между собой раствором, клеевым составом или пастой. [СП 15.13330.2020, пункт 3.1] |
3.1.4 контрольный участок: Часть строительного основания ограниченной площади (не более 2 м2) из материала одного вида и одной прочности, выбранная для проведения натурных испытаний.
3.1.5 несущие конструкции [элементы]: Конструкции, воспринимающие постоянную и временную нагрузки, в том числе нагрузки от других частей здания, и обеспечивающие прочность, жесткость и устойчивость здания или сооружения.
3.1.6 предприятие - изготовитель анкеров: Организация, изготавливающая или поставляющая анкеры и разрабатывающая технические требования по их монтажу.
3.1.7 технический паспорт на анкер: Документ, содержащий область применения, геометрические параметры, нормируемые показатели по прочности на прикрепление в различных видах строительного основания (в том числе для натурных испытаний), требования к монтажу.
3.1.8 технические характеристики анкера: Документ на одно или группу однотипных анкерных изделий, содержащий сведения о геометрических параметрах, материалах и прочностных характеристиках входящих в их состав элементов, а также всю имеющуюся информацию о механических характеристиках каждого типоразмера, используемый в качестве обосновывающего материала.
3.1.9
|
строительное основание: Элемент несущей или ограждающей конструкции, воспринимающий передаваемые анкером нагрузки от прикрепляемого элемента или материала. [ГОСТ Р 57787-2017, пункт 6] |
3.2 В настоящем стандарте применены следующие обозначения:
hnom - номинальная глубина установки анкера;
hmin - минимальная толщина основания;
Tinst - заданный момент затяжки анкера.
4 Основные положения
4.1 Основная задача натурных испытаний - проведение стандартных серий испытаний по ГОСТ Р 56731, ГОСТ Р 58768, ГОСТ Р 58360, ГОСТ Р 58387 в построечных условиях и обработка их результатов.
4.2 Результаты испытаний, предусмотренных настоящим стандартом, используют в проектной документации для установления соответствия нормативным документам и технической документации предприятия - изготовителя анкерного крепежа, в итоге - для принятия расчетных параметров несущей способности анкерных креплений применительно к реальному строительному основанию.
4.3 Перед проведением испытаний предоставленные предприятием - изготовителем анкеров изделия следует проверять на соответствие техническому паспорту. Сверяют маркировку, конструкцию, размеры элементов анкера, покрытие (визуальным осмотром), для химических анкеров проверяют маркировку, дату изготовления и срок годности.
4.4 Проектная глубина установки анкера в строительное основание каждого вида должна соответствовать значениям, приведенным в технической документации предприятия-изготовителя.
4.5 Испытания анкеров следует выполнять только для тех диаметров и глубин установки, для которых в техническом паспорте предприятия-изготовителя приведены нормируемые параметры. В сплошном основании при установке анкеров, для которых в техническом паспорте предусмотрено несколько глубин, допускается выполнять испытания при минимальной глубине, обеспечивающей наименьшее значение силы сопротивления, и использовать полученные результаты (см. раздел 9) для анкерного крепления с большей глубиной установки, указанной в проекте.
4.6 Общее число испытуемых анкерных креплений для каждого контрольного участка определяет испытательная лаборатория по согласованию с заказчиком проведения испытаний, но не менее пяти в строительных основаниях из тяжелых, легких или ячеистых бетонов и не менее 10 в других строительных основаниях (без учета отбракованных согласно 9.5). Проводить сбор данных с разных контрольных участков для формирования общей выборки результатов не допускается.
4.7 Испытания следует выполнять до разрушения с построением графика зависимости перемещений от нагрузки. Результат испытаний следует определять по графику зависимости перемещений от нагрузки, с учетом характера кривой в соответствии с 9.3 и 9.4. Полученные результаты испытаний обрабатывают в соответствии с 9.5 - 9.7 и вычисляют:
- среднеарифметическое значение силы сопротивления в серии испытаний;
- коэффициент вариации;
- нормативное значение силы сопротивления в серии испытаний.
5 Требования к оборудованию для испытаний и средствам измерений
5.1 Оборудование должно обеспечивать плавное приложение нагрузки с постоянной скоростью изменения усилия или перемещения при одновременной регистрации величины нагрузки и перемещения анкера.
5.2 Для испытаний следует использовать оборудование, допущенное к проведению таких испытаний в порядке, установленном действующим законодательством Российской Федерации, с ручным, электромеханическим или гидравлическим приводом и средства измерений, прошедшие калибровку и поверку в установленном порядке.
Примечание - Допускается прикладывать нагрузку ступенями, с выдержкой на каждой ступени не менее времени, необходимого для снятия показаний измерительных приборов.
5.3 Относительная погрешность приборов для измерения усилий не должна быть более ± 2%.
5.4 Абсолютная погрешность приборов для измерения перемещений - не более ± 0,1 мм. Допускается применение оборудования, оснащенного встроенными датчиками перемещений, не оттарированными по значениям фактического перемещения анкера.
5.5 При выполнении испытаний, сопровождающихся выкалыванием основания, оснастка для испытаний не должна оказывать сдерживающего влияния на материал основания в зоне установки анкера. Для этого расстояние в свету между опорами оснастки и осью анкера должно составлять не менее 2hnom.
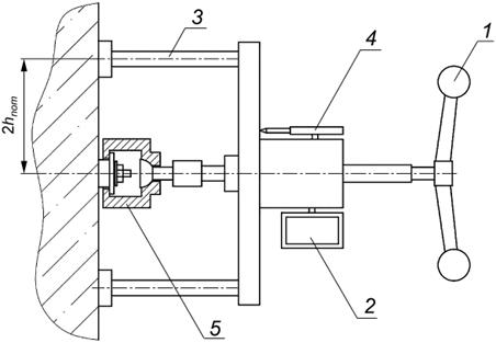
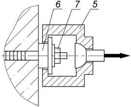
5.6 Схемы установки испытательного оборудования приведены на рисунке 1.
|
| |
|
а) Испытательное устройство с автоматической записью параметров | |
|
|
|
|
б) Приспособление для захвата механического, пластикового или клеевого анкера |
в) Приспособление для захвата тарельчатого анкера |
1 - ручка управления домкратом; 2 - электронный блок с указателем текущих значений испытательного усилия и перемещения; 3 - регулируемые опоры; 4 – встроенный датчик перемещения; 5 - захват; 6 - шайба (адаптер) для захвата головки (гайки) анкера; 7 – головка анкера (гайка анкера); 8 - тарельчатый анкер
Рисунок 1 - Схемы установки испытательного оборудования
5.7 При установке анкеров с контролем момента затяжки следует применять моментные (динамометрические) ключи по ГОСТ 33530, погрешность которых не должна превышать 5% момента затяжки Tinst.
6 Требования к строительному основанию и установке анкеров
6.1 Температура строительного основания на контрольном участке и анкеров при проведении испытаний должна соответствовать температуре проведения испытаний стандартных серий по ГОСТ Р 56731 для механических анкеров, ГОСТ Р 58768 для пластиковых анкеров и температурному диапазону установки, указанному в технической документации для клеевых анкеров.
Допускается для механических анкеров расширять температурный диапазон до значений 0 °C - плюс 40 °C, пластиковых анкеров - плюс 5 °C - плюс 25 °C. При температуре основания ниже минимальной в температурном диапазоне для проведения испытаний следует устраивать тепловое укрытие.
6.2 Контрольные участки следует назначать по результатам анализа проектной документации и согласно 6.6 - 6.8.
6.3 Прочность материала основания на контрольном участке следует принимать по результатам непосредственных испытаний в зависимости от типа:
- для тяжелого и легкого бетона - по ГОСТ 18105, ГОСТ 28570 с применением неразрушающих методов по ГОСТ 17624 и ГОСТ 22690;
- для ячеистого бетона автоклавного твердения - по ГОСТ 18105 и ГОСТ 10180;
- для кладок из керамических полнотелых и пустотелых камней и кирпичей - по ГОСТ 530;
- для кладок из силикатных камней и кирпичей - по ГОСТ 379.
6.4 При контроле прочности камней и кирпичей кладки допускается применение косвенных методов неразрушающего контроля: ультразвукового метода соосного прозвучивания по ГОСТ 24332 и метода ударного импульса по ГОСТ 22690, с применением градуировочных зависимостей между косвенной характеристикой и прочностью материала по ГОСТ 22690-2015 (приложения Е и Ж).
6.5 Допускается прочность материала основания устанавливать:
- для оснований из бетона - согласно данным приемо-сдаточного контроля для строящегося здания (сооружения) либо по данным технического обследования;
- для оснований из каменной или кирпичной кладки, а также кладки блоков из ячеистого бетона - согласно документу о качестве на штучные материалы по результатам лабораторных испытаний до начала ведения строительных работ на объекте.
6.6 При отсутствии отделочных слоев, препятствующих выявлению положения швов в кладке, дефектов и повреждений основания, контрольные участки следует назначать на фрагментах конструкций:
- без трещин, раковин, других дефектов и повреждений;
- с прочностью материала основания, не выходящей за пределы допускаемого диапазона прочности применения анкера по техническому паспорту;
- с максимальным удалением от углов, проемов, края основания или кладочных швов.
6.7 При наличии отделочных штукатурных слоев, препятствующих сплошному обследованию основания, контрольные участки следует назначать выборочно, случайным образом, без удаления отделки.
В стенах из каменной кладки, закрытой штукатурными слоями, и кладки из пустотелых штучных материалов места установки анкеров определяют исходя из необходимости отбраковки отверстий под анкерное крепление:
- в кладке из полнотелых камней для испытаний выбирают отверстия, исключающие установку анкеров в швы кладки;
- в кладке из пустотелых камней, в соответствии с проектом решений конструкций пустот принятых кладочных материалов (пустотелых камней, кирпичей и блоков), для испытаний выбирают отверстия с минимальным постоянным количеством перегородок.
6.8 Если строительное основание неоднородно и предусматривается устройство анкерных креплений на участках различных типов, отделяемых друг от друга четкими границами (например, тяжелый и легкий бетон, кирпичные или каменные кладки из разных штучных материалов, монолитные участки с различным качеством бетона и т.п.), то испытания следует проводить отдельно для каждого характерного типа основания.
6.9 В случае технической невозможности проведения испытаний анкерных креплений на внешней стороне стен допускается установка анкеров на внутренней стороне, при условии одинаковой конструкции стен с внешней и внутренней сторон.
6.10 Минимальное расстояние от края конструкции до оси анкера и между осями соседних анкеров следует принимать:
- 4hnom - при испытании в основании из бетона;
- 0,5L - при испытании в кладке из штучных материалов, где L - длина ложковой части кирпича (камня, блока).
6.11 Толщина конструкции в зоне установки анкера должна превышать минимально допустимую величину hmin.
6.12 Анкеры следует устанавливать в строительное основание на глубину hnom в соответствии с технической документацией на анкеры. Применяемая испытательная оснастка должна обеспечивать точную глубину установки анкера.
6.13 Для бурения и установки анкера следует применять оборудование согласно техническому паспорту. Диаметр бура следует принимать как для среднего уровня допусков по ГОСТ Р 56731-2015 (таблица Б.1). В случае отсутствия указаний изготовителя о типе оборудования допускается использовать любой инструмент.
6.14 Испытания анкеров следует проводить на участках строительного основания после выдержки основания не менее 28 сут для каменной кладки и не менее проектного значения - для железобетонных конструкций.
6.15 Для механических анкеров, затягиваемых моментом Tinst, через 10 мин после установки, значение момента затяжки следует уменьшать до 0,5Tinst. Требование по выдержке после затяжки заданным моментом Tinst не распространяют на анкеры, устанавливаемые завинчиванием (анкер-шурупы и пластиковые анкеры).
7 Порядок проведения испытаний
7.1 Перед началом испытаний температура оборудования должна быть не ниже минимальной, указанной в паспорте, а гидравлика прогрета не менее чем пятикратным холостым нагружением до максимальных паспортных значений.
7.2 Испытательное оборудование следует располагать над подготовленным к испытанию анкерным креплением так, чтобы обеспечивать соосность направления испытательной нагрузки по отношению к анкеру и не препятствовать разрушению строительного основания.
7.3 Испытания проводят до разрушения анкерного крепления, при этом достигается одно из возможных предельных состояний (см. 7.6).
7.4 Время нахождения анкерного крепления под нагрузкой до его разрушения должно составлять 1 - 3 мин.
7.5 При нагружении ступенями нагрузку на каждой ступени следует увеличивать не более чем на 10% ожидаемого значения разрушающей нагрузки.
7.6 Признаки предельного состояния по прочности анкерного крепления при испытании вытягивающей нагрузкой:
- нарушение сцепления анкера со строительным основанием, приводящее к его вытягиванию;
- выкалывание материала строительного основания с образованием конуса;
- разрушение анкера по стали при достижении усилия разрыва.
8 Требования безопасности при проведении испытаний
8.1 При проведении испытаний следует соблюдать требования безопасности по ГОСТ 12.1.004 и ГОСТ 12.2.003.
8.2 При установке анкеров и проведении испытаний следует соблюдать требования безопасности, предусмотренные в техническом паспорте.
8.3 Расположение испытательной площадки, оснастки и оборудования на ней должно гарантировать безопасность персонала, участвующего в испытаниях.
9 Обработка и оценка результатов испытаний
9.1 Нормативные характеристики прочности анкерных креплений следует определять согласно 9.7 для анкеров, прошедших испытания по ГОСТ Р 56731, ГОСТ Р 58768, ГОСТ Р 58360, ГОСТ Р 58387 и (или) имеющих действующие технические свидетельства.
9.2 Нормативное значение силы сопротивления анкерного крепления действию продольной вытягивающей нагрузки в серии испытаний Nn следует определять без разделения результатов по механизмам разрушения.
9.3 В качестве результатов испытаний Nисп.i следует принимать максимальные значения нагрузки, зафиксированные при проведении испытаний, если на кривых графиков "усилие - перемещение" в интервале от 0 до 0,8Nисп.max нет горизонтальных участков или локальных максимумов (рисунок 2).

Рисунок 2 - Кривые нормального разрушения анкерного крепления без перегиба (а) и с перегибом (б) в интервале до 0,8Nисп.max
Примечание - В интервале от 0,8Nисп.max до Nисп.max допускается любая форма кривых.
9.4 Если кривые на графиках соответствуют приведенным на рисунке 3, то единичные результаты испытаний Nисп.i следует рассчитывать по формуле
Nисп.i = 1,2Nск, (1)
где Nск - усилие, соответствующее наибольшему значению на участке кривой с локальным максимумом или горизонтальному участку на кривой.
Примечание - Для пластиковых анкеров (кроме тарельчатых) на кривой в интервале от 0 до 0,4Nисп.max локальные максимумы и горизонтальные участки свидетельствуют о нестабильной работе анкера, серия испытаний к обработке не допускается.

Рисунок 3 - Кривые разрушения с локальным максимумом и горизонтальным участком
9.5 Отбраковке и исключению из дальнейшей обработки подлежат:
- результаты испытаний с нарушенными условиями проведения испытаний или доказанными дефектами основания;
- наибольшие результаты в серии испытаний, относящиеся к маловероятным значениям по статистическим критериям оценки по ГОСТ Р 8.736, при уровне значимости q свыше 5%.
9.6 Среднеарифметическое значение силы сопротивления Nm в серии испытаний рассчитывают по формуле
, (2)
где n - число испытаний в серии;
i - номер испытания.
Коэффициент вариации силы сопротивления в серии испытаний рассчитывают по формуле
. (3)
9.7 Нормативное значение силы сопротивления анкерного крепления в серии испытаний рассчитывают по формуле
Nn = Nm(1 – kν), (4)
где k - коэффициент статистической обеспеченности разрушающей нагрузки 0,95 при достоверности 90%, принимаемый по таблице 1.
Таблица 1 - Коэффициент статистической обеспеченности разрушающей нагрузки 0,95 при достоверности 90%
|
Число испытаний |
k |
Число испытаний |
k |
|
3 |
5,310 |
7 |
2,894 |
|
4 |
3,957 |
8 |
2,755 |
|
5 |
3,400 |
9 |
2,649 |
|
6 |
3,091 |
10 |
2,568 |
|
11 |
2,503 |
16 |
2,299 |
|
12 |
2,448 |
17 |
2,272 |
|
13 |
2,403 |
18 |
2,249 |
|
14 |
2,363 |
19 |
2,228 |
|
15 |
2,329 |
20 |
2,208 |
9.8 Прочностные характеристики анкерного крепления при действии вытягивающего усилия по техническому паспорту следует считать подтвержденными натурными испытаниями при выполнении условия
NnП = 0,95NnСТ, (5)
где NnП - приведенное нормативное значение силы сопротивления анкера в серии натурных испытаний (см. приложение А);
NnСТ - нормативное значение силы сопротивления анкера в стандартных сериях испытаний по техническому паспорту для основания класса или марки по прочности, равной установленной инструментальным обследованием на контрольном участке.
9.9 Расчетные характеристики прочности анкерных креплений следует принимать по техническому паспорту для анкеров, прошедших испытания по ГОСТ Р 56731, ГОСТ Р 58768, ГОСТ Р 58360, ГОСТ Р 58387, устанавливаемых в разрешенные строительные основания с инструментально подтвержденными характеристиками прочности, находящимися в пределах диапазона прочности по техническому паспорту, если выполнено условие (5).
9.10 Для анкеров, удовлетворяющих требованиям 9.9, если не выполнено условие (5) и коэффициент вариации в серии испытаний ν ≤ 20%, расчетные характеристики прочности анкерных креплений Rан с применением обобщенных коэффициентов надежности по техническому паспорту следует определять по формуле
, (6)
где mоб - обобщенный коэффициент надежности, принимаемый по техническому паспорту.
9.11 Для анкеров, ранее прошедших оценку технической пригодности и устанавливаемых в строительные основания, указанные в техническом свидетельстве расчетные характеристики прочности анкерных креплений с применением коэффициентов надежности по таблице 2 следует определять по формуле
, (7)
где m - коэффициент надежности по материалу основания, принимаемый по таблице 2.
Примечание - Принимают расчетное сопротивление с наименьшим значением из двух (определенное по результатам натурных испытаний и из технического свидетельства).
Требование также распространяется на анкеры, прошедшие испытания по ГОСТ Р 56731, ГОСТ Р 58768, ГОСТ Р 58360, ГОСТ Р 58387 и:
а) удовлетворяющие требованиям для анкеров по 9.9, если не выполнено условие (5) и коэффициент вариации в серии испытаний ν> 20%;
б) устанавливаемые в разрешенные виды строительных оснований с характеристиками прочности, находящимися за пределами диапазона, указанного в техническом паспорте или технической документации;
в) устанавливаемые в кладку из штучных материалов, имеющих отличия по геометрическим параметрам (в том числе пустот) от указанных в техническом паспорте или технической документации, а также закрытую отделочными (в том числе штукатурными) слоями, при проведении натурных испытаний без удаления отделочных слоев.
Примечание - Требование по геометрическим параметрам не распространяется на полнотелые кирпичи, камни и блоки больших габаритных размеров;
г) устанавливаемые в разрешенные виды строительных оснований, но с определением характеристик прочности по сопроводительным документам на материалы (без инструментального подтверждения прочности основания);
д) испытанные при температуре, выходящей за пределы температурного диапазона по 6.1.
Таблица 2 - Коэффициент надежности по материалу основания
|
Тип анкера |
Значения коэффициента m при расчетах величины Rан по формуле (6) |
|
Стальные механические (все типы) и клеевые (химические) |
3,0 |
|
Пластиковые и тарельчатые анкеры (все типы) |
5,0 |
10 Требования к оформлению результатов испытаний
Результаты испытаний оформляют протоколом, в котором указывают:
- наименование организации, выполняющей натурные испытания анкеров и обработку результатов испытаний;
- наименование организации, выполняющей установку анкеров;
- местоположение контрольных участков с указанием их площадей и расположения анкерных креплений относительно друг друга;
- дату проведения испытания;
- наименование строительного объекта;
- наименование изготовителя анкеров, их тип и марку;
- вид строительного основания и его прочностные характеристики;
- перечень оборудования, применяемого для установки анкеров;
- условия проведения испытаний (температуру наружного/внутреннего воздуха);
- геометрические и силовые параметры установки анкеров;
- графики "нагрузка - перемещения" для каждого испытания;
- результаты расчета по формулам (1) - (7) и формулам приложения А;
- подпись лица, ответственного за проведение испытаний, заверенную печатью организации, осуществляющей испытания.
Приложение А
(обязательное)
Приведенное нормативное значение силы сопротивления анкерного крепления в различных видах строительных оснований
А.1 Нормативное значение Nn по 9.7, формула (4), при применении в формулах (5) и (6), следует приводить к нормативной прочности ближайшего номинального класса для оснований из тяжелых и легких бетонов, а также ячеистых бетонов автоклавного твердения и ближайшей марке, указанной в техническом паспорте, для оснований из кирпичей, камней и блоков по нижеприведенным формулам.
Приведенное нормативное значение силы сопротивления анкера NnП для оснований из тяжелого и легкого бетона определяют по формуле
, (А.1)
где R25-60 - нормативная прочность бетона ближайшего наименьшего класса в интервале B25 - B60 на контрольном участке (25 МПа для B25, 30 МПа для B30 и т.д.);
R - значение средней фактической прочности бетона основания (кубиковой, в МПа) по результатам инструментального обследования на контрольном участке;
m - показатель степени (значение определяют по результатам лабораторных испытаний, принимают по техническому паспорту на анкер).
Приведенное нормативное значение силы сопротивления анкера NnП для оснований из ячеистого бетона автоклавного твердения определяют по формуле
, (А.2)
где ρmin - минимальная плотность ячеистого бетона, принимаемая равной 350 кг/м3 для класса B 1,5 и равной 650 кг/м3 - для класса B 5;
ρi - значение плотности, полученное по результатам инструментального обследования ячеистого бетона на контрольном участке;
B - нормативная прочность бетона на контрольном участке: 2,5 МПа - для бетона класса B 2,5; 5 МПа - для бетона класса B 5;
Ri - значение фактической прочности ячеистого бетона основания по результатам инструментального обследования на контрольном участке.
Приведенное нормативное значение силы сопротивления анкера NnП для оснований из полнотелых и пустотелых керамических и силикатных кирпичей, камней и блоков определяют по формуле
, (А.3)
где M - прочность ближайшей марки параметрического ряда в техническом паспорте, для которой установлены характеристики прочности анкерного крепления: 10 МПа - для марки M100; 25 МПа - для марки M250;
Rсжi - прочность марки штучного изделия по результатам инструментального обследования на контрольном участке.
А.2 Если в техническом паспорте показатели несущей способности анкерных креплений для оснований из штучных материалов (кладок из блоков ячеистого бетона, полнотелых и пустотелых кирпичей, камней и блоков) приведены для однотипных материалов с разделением на группы по прочности, допускается пересчет по формулам (А.2), (А.3) и проверку соответствия по условию (5) не выполнять, если результат натурных испытаний (нормативное сопротивление) превышает результат из технического паспорта для одной из групп по прочности при условии, что марка или класс штучного материала, установленная на контрольном участке, выше минимальной марки или класса в соответствующей группе.





