электронный сборник нормативных документов по строительству
Обновления
30.03.2026 22:59
электронный сборник нормативных документов по строительству

ГОСТ Р ИСО 13063-1-2024 МОПЕДЫ И МОТОЦИКЛЫ НА ЭЛЕКТРИЧЕСКОЙ ТЯГЕ. ТРЕБОВАНИЯ БЕЗОПАСНОСТИ. Часть 1. БОРТОВАЯ АККУМУЛЯТОРНАЯ БАТАРЕЙНАЯ СИСТЕМА (БАБС)

Утв. и введен в действие Приказом Федерального агентства по техническому регулированию и метрологии от 10 июня 2024 г. N 753-ст

Национальный стандарт РФ ГОСТ Р ИСО 13063-1-2024

"МОПЕДЫ И МОТОЦИКЛЫ НА ЭЛЕКТРИЧЕСКОЙ ТЯГЕ. ТРЕБОВАНИЯ БЕЗОПАСНОСТИ. Часть 1. БОРТОВАЯ АККУМУЛЯТОРНАЯ БАТАРЕЙНАЯ СИСТЕМА (БАБС)"

Electrically propelled mopeds and motorcycles. Safety requirements. Part 1. On-board rechargeable battery system (BRBS)

[ISO 13063-1:2022, Electrically propelled mopeds and motorcycles - Safety specifications - Part 1: On-board rechargeable energy storage system (RESS), IDT]

ОКС 29.220.99

43.140

Дата введения - 1 декабря 2024 года

Введен впервые

Предисловие

1 ПОДГОТОВЛЕН Национальной ассоциацией производителей источников тока "РУСБАТ" (Ассоциация "РУСБАТ") на основе собственного перевода на русский язык англоязычной версии стандарта, указанного в пункте 4

2 ВНЕСЕН Техническим комитетом по стандартизации ТК 044 "Химические источники тока и электрохимические системы накопления электрической энергии"

3 УТВЕРЖДЕН И ВВЕДЕН В ДЕЙСТВИЕ Приказом Федерального агентства по техническому регулированию и метрологии от 10 июня 2024 г. N 753-ст

4 Настоящий стандарт идентичен международному стандарту ИСО 13063-1:2022 "Мопеды и мотоциклы на электрической тяге. Требования безопасности. Часть 1. Бортовая перезаряжаемая система накопления энергии (RESS)" [ISO 13063-1:2022 "Electrically propelled mopeds and motorcycles - Safety specifications - Part 1: On-board rechargeable energy storage system (RESS)", IDT].

Наименование стандарта изменено относительно наименования указанного международного стандарта для приведения в соответствие с ГОСТ Р 1.5-2012 (пункт 3.5).

При применении настоящего стандарта рекомендуется использовать вместо ссылочных международных стандартов соответствующие им национальные стандарты, сведения о которых приведены в дополнительном приложении ДА

5 ВВЕДЕН ВПЕРВЫЕ

Правила применения настоящего стандарта установлены в статье 26 Федерального закона от 29 июня 2015 г. N 162-ФЗ "О стандартизации в Российской Федерации". Информация об изменениях к настоящему стандарту публикуется в ежегодном (по состоянию на 1 января текущего года) информационном указателе "Национальные стандарты", а официальный текст изменений и поправок - в ежемесячном информационном указателе "Национальные стандарты". В случае пересмотра (замены) или отмены настоящего стандарта соответствующее уведомление будет опубликовано в ближайшем выпуске ежемесячного информационного указателя "Национальные стандарты". Соответствующая информация, уведомление и тексты размещаются также в информационной системе общего пользования - на официальном сайте Федерального агентства по техническому регулированию и метрологии в сети Интернет (www.rst.gov.ru)

1 Область применения

Настоящий стандарт распространяется на батарейные системы мотоциклов и мопедов на электрической тяге и устанавливает требования безопасности бортовых аккумуляторных батарейных систем (БАБС) для защиты людей.

Настоящий стандарт не предоставляет исчерпывающую информацию по технике безопасности для производственного, обслуживающего и ремонтного персонала.

Примечание - Дополнительные требования безопасности могут применяться к БАБС, которые могут перезаряжаться с помощью средств, отличных от подачи электроэнергии от сети (например, проточная окислительно-восстановительная батарея).

2 Нормативные ссылки

В настоящем стандарте использованы нормативные ссылки на следующие стандарты [для датированных ссылок применяют только указанное издание ссылочного стандарта, для недатированных - последнее издание (включая все изменения)]:

ISO 13063-3:2022, Electrically propelled mopeds and motorcycles - Safety specifications - Part 3: Electrical safety (Мопеды и мотоциклы на электрической тяге. Требования безопасности. Часть 3. Электробезопасность)

ISO 18243, Electrically propelled mopeds and motorcycles - Test specifications and safety requirements for lithium-ion battery systems (Мотоциклы и мопеды на электрической тяге. Методы испытаний и требования безопасности для литий-ионных батарейных систем)

3 Термины и определения

В настоящем стандарте применены следующие термины с соответствующими определениями.

ИСО и МЭК ведут терминологические базы данных для использования в стандартизации по следующим адресам:

- Электропедия МЭК: доступна на http://www.electropedia.org/;

- платформа онлайн-просмотра ИСО: доступна на http://www.iso.org/obp.

3.1 зазор (clearance): Кратчайшее расстояние по воздуху между двумя проводящими частями (3.2).

[МЭК 60050-426:2020, 426-04-12]

3.2 проводящая часть (conductive part): Часть, которая способна проводить электрический ток.

[МЭК 60050-195:2021, 195-01-06]

3.3 путь утечки (creepage distance): Кратчайшее расстояние вдоль поверхности твердого изоляционного материала между двумя токопроводящими частями (3.2).

[МЭК 60050-151:2001/AMD1:2013, 151-15-50]

3.4 электрическое шасси (electric chassis): Электрически соединенные проводящие части (3.2) транспортного средства, потенциал которых берут в качестве точки отсчета.

[ИСО 6469-3:2021, 3.12]

3.5 электропривод (electric drive): Комбинация электрического тягового двигателя, силовой электроники и связанных с ними элементов управления для преобразования электрической энергии в механическую и наоборот.

[ИСО 6469-3:2021, 3.13, изменено - "тяговый двигатель" заменен на "электрический тяговый двигатель"]

3.6 транспортное средство на электрической тяге (electrically-propelled vehicle): Транспортное средство с одним или несколькими электроприводами (3.5), приводящими его в движение.

[ИСО 6469-3:2021, 3.15]

3.7 взрыв (explosion): Внезапное выделение энергии, достаточное для того, чтобы вызвать волны давления и/или обломки, которые могут нанести ущерб окружающей среде.

[ИСО 6469-1:2019, 3.10]

3.8 сопротивление изоляции; изоляционное сопротивление (isolation resistance, insulation resistance): Сопротивление между токоведущими частями (3.10) электрической цепи и электрическим шасси (3.4), а также другими электрическими цепями, изолированными от этой электрической цепи.

[ИСО 6469-3:2021, 3.23]

3.9 утечка (leakage): Утечка жидкости или газа, за исключением стравливания давления.

[ИСО 6469-1:2019, 3.15]

3.10 токоведущая часть (live part): Проводник или проводящая часть (3.2), предназначенная для электропитания при нормальном использовании [по соглашению - неэлектрическое шасси (3.4)].

[МЭК 60050-442:1998, 442-01-40, изменено - "включая нейтральный проводник" и примечание удалено, а "проводник PEN, или проводник PEM, или проводник PEL" заменен на "электрическое шасси"]

3.11 максимальное рабочее напряжение (maximum working voltage): Наибольшее значение переменного напряжения (среднеквадратическое значение) или постоянного напряжения (без учета переходных процессов и пульсации), которое может возникнуть при любых нормальных условиях эксплуатации в соответствии с техническими условиями изготовителя.

[ИСО 6469-3:2021, 3.26]

3.12 аккумуляторная батарейная система; АБС (rechargeable energy storage system, RESS): Перезаряжаемая система, которая накапливает электрическую энергию с последующей ее отдачей для питания электропривода (3.5).

[ИСО 6469-1:2019, 3.22, изменено - пример удален]

3.13 класс напряжения (voltage class): Классификация электрических компонентов цепи в соответствии с их максимальным рабочим напряжением (3.11).

[ИСО 6469-3:2021, 3.36]

3.14 съемная АБС (removable RESS): АБС (3.12), предназначенная для извлечения из транспортного средства его пользователем.

Примечание - Тот же термин и определение описаны в Регламенте N 136 Европейской экономической комиссии Организации Объединенных Наций (ЕЭК ООН).

4 Общие требования

4.1 Условия окружающей среды и эксплуатации

Требования, установленные в настоящем стандарте, должны выполняться во всем диапазоне условий окружающей среды и условий эксплуатации, для которых предназначено электрическое транспортное средство (ТС), как указано изготовителем ТС.

Примечание - См. руководство в ИСО 16750.

4.2 Общие электрические требования

Если в настоящем стандарте не указано иное, то БАБС должна соответствовать требованиям электробезопасности по ИСО 13063-3. Требования по электробезопасности должны выполняться на уровне компонентов или на уровне ТС. Знак ИСО 7010-W012, приведенный на рисунке 1, должен быть виден на БАБС, которая является частью электрических цепей напряжения класса B.

image0dno1.png

Рисунок 1 - Обозначение электрических компонентов напряжения класса B

4.3 Маркировка проводки напряжения класса B

Наружная оболочка кабелей и жгутов, электрически присоединенных к БАБС, входящей в состав электрических цепей напряжения класса B, должна быть маркирована оранжевым цветом по ИСО 13063-3.

5 Требования к БАБС

5.1 Общие положения

Если аспекты безопасности в отношении ТС в целом не затрагиваются, то вместо испытания на ТС допускается проводить испытания отдельных компонентов или частей электрических цепей напряжения класса B.

Изготовитель ТС перед его вводом в эксплуатацию должен выполнить измерения сопротивления изоляции (см. 5.2). БАБС, включающая литий-ионную батарею, должна соответствовать требованиям безопасности, установленным ИСО 18243.

5.2 Измерение сопротивления изоляции для источников электроэнергии напряжения класса B

Для БАБС напряжения класса B сопротивление ее изоляции, деленное на максимальное рабочее напряжение БАБС, должно быть не менее:

- 100 Ом/В, если БАБС содержит только цепи постоянного тока;

- 100 Ом/В, если БАБС содержит цепи переменного тока и дополнительную защиту по переменному току в соответствии с ИСО 13063-3;

- 500 Ом/В, если БАБС содержит цепи переменного тока без дополнительной защиты по переменному току в соответствии с ИСО 13063-3.

Если БАБС установлена в ТС и подключена к электрической цепи напряжения класса B, то для выполнения требований ИСО 13063-3 необходимо более высокое значение сопротивления БАБС.

Примечание - Сопротивление изоляции, требуемое для БАБС напряжения класса A, электрически соединенного с электрической цепью напряжения класса B, см. в ИСО 13063-3.

Соответствие должно быть проверено испытанием по ИСО 13063-3.

5.3 Длина пути утечки тока электрических компонентов напряжения класса B и БАБС

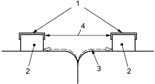
Настоящий подраздел касается опасности утечки тока вдоль поверхности между клеммами соединения электрической цепи напряжения класса B и БАБС, включая присоединенную к ним токопроводящую арматуру и токопроводящие части, из-за риска утечки электролита или диэлектрической среды при нормальных условиях эксплуатации.

Если утечки электролита не происходит, то БАБС должна быть спроектирована в соответствии с ИСО 13063-3. Степень загрязнения должна соответствовать области применения. Если утечка электролита возможна, то рекомендуется, чтобы длина пути утечки (см. рисунок 2) была не менее:

а) при наличии пути утечки между двумя соединительными клеммами либо электрической цепи, либо соединительных клемм БАБС, либо обоих случаев:

d ≥ 0,25U + 5, (1)

b) при наличии пути утечки между токоведущими частями и электрическим шасси:

d ≥ 0,125U + 5, (2)

где d - длина пути утечки, измеренная на испытанной БАБС, мм;

U - максимальное рабочее напряжение между двумя соединительными клеммами БАБС, В.

image0dno2.png

1 - проводящая поверхность; 2 - клеммы разъема (БАБС или сборка БАБС); 3 - путь утечки; 4 - зазор

Рисунок 2 - Путь утечки и воздушный зазор

Соответствие проверяют осмотром конструкции.

5.4 Воздушный зазор БАБС напряжения класса B

Настоящий подраздел касается опасности утечки тока через минимальное расстояние между соединительными клеммами электрической цепи напряжения класса B и БАБС, включая присоединенную к ним токопроводящую арматуру и токопроводящие части, из-за риска утечки электролита или диэлектрической среды при нормальных условиях эксплуатации.

Если утечка электролита невозможна, то БАБС должна быть спроектирована в соответствии с ИСО 13063-3. Степень загрязнения должна соответствовать области применения. Если утечка электролита возможна, то минимальный зазор должен быть не менее 2,5 мм; рекомендованные значения приведены в таблице 1.

Таблица 1 - Минимальные зазоры между электрическими компонентами напряжения класса B и БАБС

Максимальное рабочее напряжение U, В

Минимальный зазор d a, мм

Ток ≤ 63 А

Ток> 63 А

DC

AC

L-L b

L-A c

L-L b

L-A c

60

30

3

5

3

5

125

3

5

3

5

250

4

6

4

6

380

6

8

6

8

500

6

8

6

8

660

660

10

14

10

14

800

750

14

20

14

20

a См. рисунок 2.

b Это расстояние между двумя клеммами подключения электрической цепи и/или БАБС.

c Это расстояние между токоведущей частью и электрическим шасси.

Соответствие проверяют осмотром конструкции.

5.5 Требования к средствам безопасности и защиты людей от опасных ситуаций от БАБС

5.5.1 Выбросы вредных газов и других вредных веществ

Если из БАБС могут выделяться опасные газы и другие вещества, то для предотвращения опасности взрыва, пожара или токсичного воздействия необходимо применять следующие требования. Эти требования должны учитывать нормальные условия эксплуатации и окружающей среды. Не должна допускаться опасная концентрация ядовитых газов и других вредных веществ ни рядом с водителем, ни рядом с людьми, находящимися вблизи от ТС.

Для тяговых батарей открытого типа, которые могут выделять газообразный водород, должны быть предусмотрены меры по предотвращению накопления водорода.

Примечание - Максимально допустимое накопленное количество опасных газов и других веществ можно найти в последних версиях национальных/международных стандартов или правил.

Надлежащие контрмеры должны управлять ситуациями первого отказа. Соответствие проверяют осмотром конструкции.

5.5.2 Выделение тепла

Выделение тепла при любой ситуации первого отказа, которая может представлять опасность для людей, должно быть предотвращено соответствующими мерами, например на основе контроля тока, напряжения или температуры.

Соответствие проверяют осмотром конструкции.

5.5.3 Защита от разлива электролита

Вытекший из БАБС и его компонентов электролит при нормальных условиях использования или функциональной эксплуатации не должен попадать ни на мотоциклиста, ни на кого-либо, находящегося рядом с ТС.

Электролит не должен выливаться из ТС при его наклоне к земле и при перевернутом положении БАБС.

Соответствие проверяют осмотром конструкции.

5.6 Случайное или непреднамеренное отсоединение

БАБС и ее компоненты не должны самопроизвольно отсоединяться ни при нормальных условиях использования, ни при функциональной работе, включая ситуации, когда ТС наклонено к земле и когда БАБС перевернута.

Соответствие проверяют осмотром конструкции.

5.7 Прерывание перегрузки по току

Если БАБС сама по себе не защищена от короткого замыкания, то чтобы предотвратить опасные последствия для людей, ТС и окружающей среды, в условиях, указанных либо изготовителем ТС, либо изготовителем БАБС, либо обоими, цепь БАБС должно размыкать устройство отключения сверхтока.

Соответствие проверяют осмотром конструкции.

5.8 Требования к разъему съемной БАБС

Если в настоящем стандарте не указано иное, то требования к разъему съемной БАБС должны соответствовать требованиям электробезопасности по ИСО 13063-3:2022, 7.5.

Требование также применяют после того, как БАБС отсоединена от ТС или зарядного устройства.

6 Руководство пользователя

В руководстве по эксплуатации ТС должно быть уделено внимание аспектам, относящимся к БАБС.

Приложение ДА

(справочное)

Сведения о соответствии ссылочных международных стандартов национальным стандартам

Таблица ДА.1

Обозначение ссылочного международного стандарта

Степень соответствия

Обозначение и наименование соответствующего национального стандарта

ISO 13063-3:2022

-

*

ISO 18243

IDT

ГОСТ Р ИСО 18243-2020 "Мотоциклы и мопеды на электрической тяге. Требования безопасности литий-ионных батарейных систем и методы испытаний"

* Соответствующий национальный стандарт отсутствует. До его принятия рекомендуется использовать перевод на русский язык данного международного стандарта.

Примечание - В настоящей таблице использовано следующее условное обозначение степени соответствия стандарта:

- IDT - идентичный стандарт.

Библиография

[1]

ISO 6469-1:2019, Electrically propelled road vehicles - Safety specifications - Part 1: Rechargeable energy storage system (RESS) [Транспорт дорожный на электрической тяге. Требования безопасности. Часть 1. Система накопления энергии перезаряжаемая (СНЭП)]

[2]

ISO 6469-3:2021, Electrically propelled road vehicles - Safety specifications - Part 3: Electrical safety (Транспорт дорожный на электрической тяге. Требования безопасности. Часть 3. Электробезопасность)

[3]

ISO 7010, Graphical symbols - Safety colours and safety signs - Registered safety signs (Символы графические. Цвета и знаки безопасности. Зарегистрированные знаки безопасности)

[4]

ISO 16750 (all parts), Road vehicles - Environmental conditions and testing for electrical and electronic equipment (Транспорт дорожный. Условия окружающей среды и испытания электрического и электронного оборудования)

[5]

IEC 60050-151:2001/AMD1:2013, Amendment 1 - International Electrotechnical Vocabulary (IEV) - Part 151: Electrical and magnetic devices [Международный электротехнический словарь (МЭС). Часть 151. Электрические и магнитные устройства]

[6]

IEC 60050-195:2021, International Electrotechnical Vocabulary (IEV) - Part 195: Earthing and protection against electric shock [Международный электротехнический словарь (МЭС). Часть 195. Заземление и защита от поражения электрическим током]

[7]

IEC 60050-426:2020, International Electrotechnical Vocabulary (IEV) - Part 426: Explosive atmospheres [Международный электротехнический словарь (МЭС). Часть 426. Электрооборудование для взрывоопасных сред]

[8]

IEC 60050-442:1998, International Electrotechnical Vocabulary (IEV) - Part 442: Electrical accessories [Международный электротехнический словарь (МЭС). Часть 442. Электрические аксессуары]

[9]

Regulation No 136 of the Economic Commission for Europe of the United Nations (UN/ECE)

Последние добавленные документы

Самые популярные документы

Яндекс.Метрика