Утв. и введен в действие Приказом Федерального агентства по техническому регулированию и метрологии от 23 мая 2024 г. N 653-ст
Национальный стандарт РФ ГОСТ Р ИСО 24346-2024
"ПОКРЫТИЯ НАПОЛЬНЫЕ ЭЛАСТИЧНЫЕ. МЕТОД ОПРЕДЕЛЕНИЯ ОБЩЕЙ ТОЛЩИНЫ"
Resilient floor coverings. Method for determining the total thickness
(ISO 24346:2006, Resilient floor coverings - Determination of overall thickness, IDT)
ОКС 97.150
Дата введения - 1 декабря 2024 года
Введен впервые
Предисловие
1 ПОДГОТОВЛЕН Федеральным государственным бюджетным учреждением "Российский институт стандартизации" (ФГБУ "Институт стандартизации") на основе собственного перевода на русский язык англоязычной версии стандарта, указанного в пункте 4
2 ВНЕСЕН Техническим комитетом по стандартизации ТК 144 "Строительные материалы и изделия"
3 УТВЕРЖДЕН И ВВЕДЕН В ДЕЙСТВИЕ Приказом Федерального агентства по техническому регулированию и метрологии от 23 мая 2024 г. N 653-ст
4 Настоящий стандарт идентичен международному стандарту ИСО 24346:2006 "Покрытия напольные эластичные. Определение общей толщины" (ISO 24346:2006 "Resilient floor coverings - Determination of overall thickness", IDT).
Наименование настоящего стандарта изменено относительно наименования указанного международного стандарта для приведения в соответствие с ГОСТ Р 1.5-2012 (пункт 3.5)
5 ВВЕДЕН ВПЕРВЫЕ
6 Часть содержания примененного международного стандарта, указанного в пункте 4, может быть объектом патентных прав
Правила применения настоящего стандарта установлены в статье 26 Федерального закона от 29 июня 2015 г. N 162-ФЗ "О стандартизации в Российской Федерации". Информация об изменениях к настоящему стандарту публикуется в ежегодном (по состоянию на 1 января текущего года) информационном указателе "Национальные стандарты", а официальный текст изменений и поправок - в ежемесячном информационном указателе "Национальные стандарты". В случае пересмотра (замены) или отмены настоящего стандарта соответствующее уведомление будет опубликовано в ближайшем выпуске ежемесячного информационного указателя "Национальные стандарты". Соответствующая информация, уведомление и тексты размещаются также в информационной системе общего пользования - на официальном сайте Федерального агентства по техническому регулированию и метрологии в сети Интернет (www.rst.gov.ru)
1 Область применения
Настоящий стандарт устанавливает метод определения общей толщины эластичных напольных покрытий.
2 Термины и определения
В настоящем стандарте применен следующий термин с соответствующим определением:
2.1 общая толщина (overall thickness): Вертикальное расстояние между двумя параллельными пластинами, в котором помещается эластичное напольное покрытие под заданной нагрузкой.
3 Сущность метода
Образец помещают между двумя параллельными пластинами и измеряют расстояние между ними, контактное давление подбирают в зависимости от структуры испытуемого образца.
4 Средства измерений
4.1 Круглая подвижная верхняя пластина
Для различных типов эластичных напольных покрытий диаметр верхней пластины, применяемая масса, площадь и давление должны соответствовать таблице 1.
4.2 Неподвижная нижняя пластина, по крайней мере, равная по размеру верхней пластине и площадью не менее 15 см2.
4.3 Измерительный прибор с круговой шкалой для измерения расстояния между пластинами с точностью измерения до 0,01 мм.
4.4 Утяжеленное кольцо или подковообразная гиря (500 г) для равномерного прилегания образца к неподвижной нижней пластине.
5 Отбор проб и подготовка образцов
5.1 Листовой материал
Отбирают две репрезентативные пробы из рулона по одной с каждого конца или от начала двух рулонов. От каждой пробы отрезают образец длиной не менее 100 мм по всей ширине пробы (см. рисунок 1).
Размеры в миллиметрах

Рисунок 1 - Образец раскроя листа
5.2 Плиточный материал
Отбирают пять плиток из коробки в качестве испытуемых образцов и вырезают из них образцы размером приблизительно (50 x 100) мм. Если вся упаковка или коробка с плитками является пробой, следят за тем, чтобы первая и последняя плитки не использовались в качестве испытуемых образцов.
6 Атмосферные условия для проведения кондиционирования и испытаний
Образцы выдерживают в течение не менее 24 ч при температуре (23 ± 2) °C и относительной влажности (50 ± 5)%, и испытывают их в таких же атмосферных условиях.
7 Проведение испытаний
7.1 Подготовка
7.1.1 Обеспечивают ровное установление прибора.
7.1.2 Выбирают подходящую верхнюю пластину и прикладываемое усилие в соответствии с таблицей 1 для типа измеряемого образца. Проверяют, чтобы прижимной диск и пластины были чистыми.
7.1.3 Устанавливают стрелочный индикатор с круговой шкалой на нулевое значение, установив прижимной диск на нижнюю пластину (упорную).
Таблица 1 - Установочные параметры для пластины и прикладываемого усилия
|
Структура испытуемого образца
|
Диаметр верхней пластины, мм
|
Площадь, мм2
|
Приложенная масса, кг
|
Соответствующее ориентировочное давление, кПа
|
|
Твердый по всем слоям
|
8,00 ± 0,05
|
50
|
0,40 ± 0,02
|
80
|
|
По крайней мере один неплотный слой
|
25,3 ± 0,1
|
500
|
0,20 ± 0,02
|
4
|
|
Резина и другие рельефные материалы
|
50,0 ± 0,2
|
2 000
|
5,0 ± 0,1
|
25
|
|
Композиционная пробка
|
11,30 ± 0,05
|
100
|
0,80 ± 0,02
|
80
|
7.2 Калибровка средств измерений
Калибровку измерительного прибора следует подтверждать с помощью эталонных плиток известной толщины, сопоставимой с измеряемой толщиной, или щупов для контроля зазоров.
7.3 Определение толщины
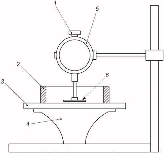
7.3.1 Помещают образец на неподвижную нижнюю пластину (упорную), следя за тем, чтобы образец располагался изнашиваемой поверхностью вверх и ровно лежал на пластине. Помещают утяжеленное кольцо или подковообразную гирю посередине прижимного диска (см. рисунок 2). Осторожно опускают прижимной диск, пока он не коснется поверхности образца.

1 - приложенная масса; 2 - утяжеленное кольцо или подковообразная гиря; 3 - образец; 4 - упорная, нижняя пластина; 5 - измерительный прибор с круговой шкалой; 6 - верхняя пластина
Рисунок 2 - Расположение утяжеленного кольца или подковообразной гири
При измерении материалов со вспененным слоем выбирают ровный участок без выступов, по возможности значительно больший по площади, чем прижимной диск, и расположенный на расстоянии не менее 20 мм от любого края образца. Поднимают прижимной диск и вставляют образец.
7.3.2 Фиксируют толщину через 5 с после приложения нагруженной пластины; значение фиксируют с точностью измерения до 0,001 мм или до предельных значений, установленных для используемого измерительного прибора. Все измерения проводят на расстоянии не менее 20 мм от любого края образца.
7.3.3 Если нет иных указаний, всего выполняют пять измерений на каждом образце на случайно выбранных участках.
7.3.4 Фиксируют измеренные значения для каждого испытуемого образца с точностью измерения до 0,01 мм.
8 Расчет и выражение результатов
Рассчитывают среднее значение толщины из ряда проведенных измерений и выражают результат с точностью измерения до 0,01 мм. Если требуется, в технических условиях сообщают минимальное и максимальное значения измерений.
9 Заявление о прецизионности
Для определения прецизионности данного метода проводят межлабораторное исследование.
10 Протокол испытания
Протокол испытания должен содержать следующую информацию:
a) заявление, что испытания были проведены в соответствии с настоящим стандартом;
b) полную идентификацию каждой пробы, включая указание типа, поставщика, цвет и ссылочный номер изготовителя;
c) историю образца;
d) точные атмосферные условия, при которых выполнялось измерение (температуру и относительную влажность);
e) любое отклонение от данного стандарта, которое могло повлиять на результаты;
f) толщину образца. Это должно быть среднее значение общей толщины, вычисленной с точностью до 0,01 мм;
g) минимальную и максимальную толщину, если требуется.
Библиография
|
[1]
|
EN 428
|
Resilient floor coverings - Determination of overall thickness (Покрытия напольные эластичные. Определение общей толщины)
|
|
[2]
|
ASTM F 386
|
Standard Test Method for Thickness of Resilient Flooring Materials Having Flat Surfaces (Стандартный метод определения толщины напольных эластичных материалов с плоской поверхностью)
|
|
[3]
|
ASTM F 387
|
Standard Test Method for Measuring Thickness of Resilient Floor Covering With Foam Layer (Стандартный метод определения толщины напольных эластичных покрытий со вспененным слоем)
|
|
[4]
|
JIS A 1454
|
Test Methods - Resilient Floor Coverings, Section 6.3 - Dimension and squareness of Floor Tile and Section 6.4 - Dimension of Floor Sheet (Методы испытаний. Напольные эластичные покрытия, Раздел 6.3. Размер и прямоугольность напольной плитки и Раздел 6.4. Размер листа напольного покрытия)
|