Утв. и введен в действие Приказом Федерального агентства по техническому регулированию и метрологии от 16 мая 2024 г. N 617-ст
Национальный стандарт РФ ГОСТ Р ИСО 24335-2024
"ПОКРЫТИЯ НАПОЛЬНЫЕ ЛАМИНИРОВАННЫЕ. МЕТОД ОПРЕДЕЛЕНИЯ УСТОЙЧИВОСТИ К УДАРНЫМ ВОЗДЕЙСТВИЯМ"
Laminate floor coverings. Method for determining impact resistance
(ISO 24335:2022, Laminate floor coverings - Determination of impact resistance, IDT)
ОКС 97.150
Дата введения - 1 декабря 2024 года
Введен впервые
Предисловие
1 ПОДГОТОВЛЕН Обществом с ограниченной ответственностью "ПСМ-Стандарт" (ООО "ПСМ-Стандарт") на основе собственного перевода на русский язык англоязычной версии стандарта, указанного в пункте 4
2 ВНЕСЕН Техническим комитетом по стандартизации ТК 144 "Строительные материалы и изделия"
3 УТВЕРЖДЕН И ВВЕДЕН В ДЕЙСТВИЕ Приказом Федерального агентства по техническому регулированию и метрологии от 16 мая 2024 г. N 617-ст
4 Настоящий стандарт идентичен международному стандарту ИСО 24335:2022 "Покрытия напольные ламинированные. Определение устойчивости к ударным воздействиям" (ISO 24335:2022 "Laminate floor coverings - Determination of impact resistance", IDT).
Международный стандарт ИСО 24335:2022 подготовлен Техническим комитетом ISO/TC 219 "Напольные покрытия".
Наименование настоящего стандарта изменено относительно наименования указанного международного стандарта для приведения в соответствие с ГОСТ Р 1.5-2012 (пункт 3.5).
При применении настоящего стандарта рекомендуется использовать вместо ссылочных международных стандартов соответствующие им национальные стандарты, сведения о которых приведены в дополнительном приложении ДА
5 ВВЕДЕН ВПЕРВЫЕ
6 Часть содержания примененного международного стандарта, указанного в пункте 4, может являться объектом патентных прав
Правила применения настоящего стандарта установлены в статье 26 Федерального закона от 29 июня 2015 г. N 162-ФЗ "О стандартизации в Российской Федерации". Информация об изменениях к настоящему стандарту публикуется в ежегодном (по состоянию на 1 января текущего года) информационном указателе "Национальные стандарты", а официальный текст изменений и поправок - в ежемесячном информационном указателе "Национальные стандарты". В случае пересмотра (замены) или отмены настоящего стандарта соответствующее уведомление будет опубликовано в ближайшем выпуске ежемесячного информационного указателя "Национальные стандарты". Соответствующая информация, уведомление и тексты размещаются также в информационной системе общего пользования - на официальном сайте Федерального агентства по техническому регулированию и метрологии в сети Интернет (www.rst.gov.ru)
1 Область применения
Настоящий стандарт устанавливает метод определения устойчивости к ударным воздействиям на ламинированное напольное покрытие. Описываемый метод позволяет определить способность поверхностного слоя покрытия выдерживать удары брошенных на него как мелких, так и крупных предметов. Испытание носит деструктивный характер за счет воздействия на поверхностный слой покрытия одного маленького и одного более крупного стальных шаров, моделирующих разные сценарии испытаний. Способность покрытия выдерживать ударные воздействия определяют при помощи высоты падения на него стальных шаров малого и большого диаметров. Испытания с использованием стальных шаров малого и большого диаметров проводят на частях ламинированных напольных панелей подходящих размеров.
Точность метода испытаний при использовании стального шара большого диаметра неизвестна. Когда будут известны результаты межлабораторных исследований, тогда в последующих версиях настоящего стандарта будет описана данная точность. Точность метода при использовании шара малого диаметра приведена в разделе 8.
2 Нормативные ссылки
В настоящем стандарте использована нормативная ссылка на следующий стандарт [для датированных ссылок применяют только указанное издание ссылочного стандарта, для недатированных - последнее издание (включая все изменения)]:
EN 16354, Laminate floor coverings - Underlays - Specification, requirements and test methods (Покрытия напольные ламинированные. Основание пола. Технические требования и методы испытаний)
3 Термины и определения
В настоящем стандарте применены следующие термины с соответствующими определениями.
ИСО и МЭК поддерживают актуализированные базы данных по терминологии в целях стандартизации по следующим адресам:
- платформа онлайн-просмотра ИСО: доступна по адресу https://www.iso.org/obp;
- Электропедия МЭК: доступна по адресу http://www.electropedia.org/.
3.1 испытуемая панель (test panel): Ламинированная панель, используемая при испытании.
3.2 испытуемый образец (test specimen): Часть испытуемой панели, используемой при испытании.
3.3 испытуемый участок (test field): Часть испытуемой поверхности, подвергающейся ударному воздействию и подлежащей оценке.
4 Средства испытаний
4.1 Средства испытаний с использованием шара малого диаметра
4.1.1 Общие положения
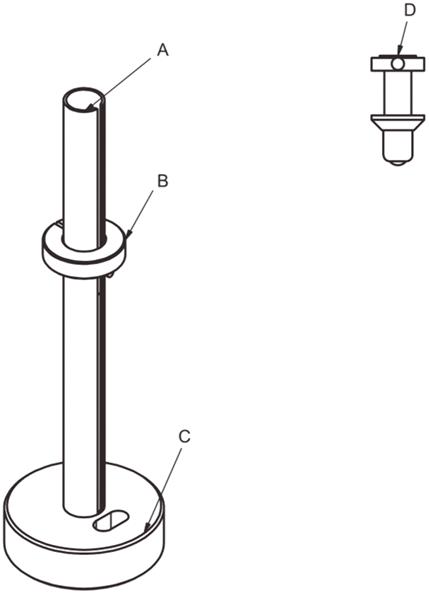
Средства испытаний (см. рисунок 1):
4.1.2 Ударник цилиндрической формы диаметром (25 ± 1) мм с прикрепленной к нему сферической ударной головкой диаметром (10 ± 0,5) мм.
4.1.3 Масса ударника, включая ударную головку, - (100 ± 1) г.
4.1.4 Направляющая трубка для задания направления падения ударника. Трубка имеет шкалу для определения высоты падения и крепится к стальному основанию с помощью трех опор диаметром (20 ± 1) мм, толщиной (3,0 ± 0,1) мм (см. рисунок 2). Общая масса стального основания составляет (2 520 ± 20) г. На стальном основании предусмотрено маркировочное отверстие для обозначения места удара.
4.1.5 Регулируемое кольцо, расположенное снаружи трубки и закрепленное при помощи винта с накатанной головкой, служащее для остановки и удерживания падающего груза на заданной высоте падения.
|

|

|
|
A - направляющая трубка со шкалой; B - регулируемое кольцо; C - стальное основание; D - ударник
|
A - маркировочное отверстие
|
|
Рисунок 1 - Пример подходящей конфигурации средств испытаний
|
Рисунок 2 - Стальное основание с маркировочным отверстием
|
4.1.6 Стальная пластина
Минимальные размеры: длина - 300 мм x ширина - 300 мм x толщина - 10 мм.
4.1.7 Водорастворимый карандаш или водорастворимый краситель
Применяют на испытуемом участке для того, чтобы были видны трещины.
4.1.8 Источник рассеянного света
Источник искусственного света, обеспечивающий равномерную освещенность испытуемой поверхности (1 200 ± 400) лк.
4.2 Средства испытаний с использованием шара большого диаметра
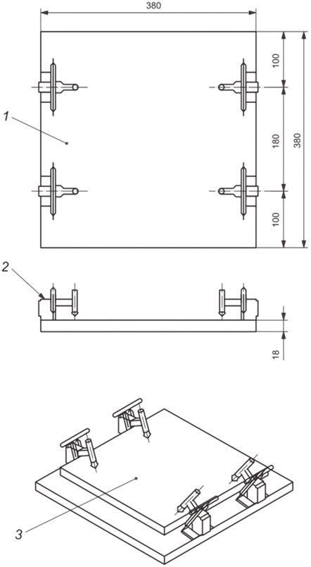
4.2.1 Оборудование для проведения испытания на свободное падение, представленное на рисунке 3, или аналогичное оборудование.
Размеры в миллиметрах

A - 190 мм; B - 100 мм; C - 250 мм; 1 - источник питания; 2 - преобразователь и выпрямитель напряжения; 3 - распределительная коробка с двумя розетками; 4 - угловые железные кронштейны для надежного крепления оборудования к стене или стойке (должны быть отвесными и расположенными перпендикулярно к основанию); 5 - распределительная коробка со световым индикатором; 6 - монтажная плата испытательного оборудования толщиной 19 мм, изготовленная из древесностружечных плит средней или высокой плотности; 7 - спиралевидный проволочный вывод; 8 - прорезь шириной 6,5 мм; 9 - стальная подвижная шкала измерения длиной 1 800 мм; 10 - электромагнит на подвижной пластине; 11 - барашковая гайка; 12 - педальный выключатель; 13 - основание из стальной пластины размерами 460 мм x 460 мм x 19 мм, выровненное и закрепленное на полу с помощью зажимного приспособления (см. 4.2.3)
Рисунок 3 - Пример оборудования для проведения испытания при свободном падении
4.2.2 Шар из полированной нержавеющей стали массой (224 ± 3) г, диаметром 38,1 мм без поврежденной или сплющенной поверхности.
4.2.3 Зажимное приспособление, способное удерживать испытуемый образец в горизонтальном положении, или аналогичное ему приспособление (см. рисунок 4).
Размеры в миллиметрах

1 - основание; 2 - зажимы; 3 - испытуемый образец
Рисунок 4 - Зажимное приспособление
4.2.4 Маркировочный водосмываемый карандаш черного цвета (подходит для прозрачных пленок).
4.2.5 Ткань чистая влажная мягкая белого цвета.
4.2.6 Люминесцентный источник света, потолочные белые люминесцентные лампы, расположенные параллельно зрительной оси и обеспечивающие освещенность поверхности образца в пределах от 800 лк до 100 лк (от 75 до 1 100 фут-кандел).
4.2.7 Подкладочный материал из пенополистирола (EPS) толщиной (1,6 ± 0,2) мм с уровнем прочности на сжатие CS не менее 60 кПа и значением компенсации точечных неровностей PC (0,9 ± 0,1) мм. Три характеристики пены следует определять в соответствии с требованиями EN 16354.
5 Испытуемые образцы
5.1 Общие положения
Из пяти элементов ламинированного напольного покрытия выбирают материалы для проведения испытаний. Испытания с использованием шара малого диаметра на эластичность поверхности проводят без подкладочного материала, в том числе и при наличии прикрепленной подложки. Испытания с использованием шара большого диаметра проводят с учетом инструкции производителя по укладке покрытия, чтобы моделировать более реальные условия эксплуатации покрытия или эксплуатации с определенным видом подкладочного материала, если он не был предварительно закреплен на элементах или если его использование не рекомендовано.
5.2 Образцы для испытаний с применением шара малого диаметра
Для каждого испытания подготавливают не менее пяти образцов, вырезанных из пяти испытуемых панелей, размерами не менее 260 мм в длину, не менее 160 мм в ширину и при любом значении толщины. В случае наличия панелей меньшего размера берут испытуемый образец с размерами не менее указанных и состоящий из двух частей, соединенных посередине.
5.3 Образцы для испытаний с применением шаров большого диаметра
Из пяти элементов ламинированного напольного покрытия отбирают по одному испытуемому образцу размерами около 300 x 300 мм, при необходимости, соединенных из двух частей.
5.4 Атмосферные условия для проведения измерений
Образцы для испытаний измеряют в том состоянии, в котором они были получены для проведения испытаний. Перед проведением испытаний образцы должны находиться в неподвижном положении не менее 72 ч при температуре окружающей среды (23 ± 2) °C и относительной влажности воздуха (50 ± 5)%.
6 Проведение испытаний
6.1 Удар шаром малого диаметра
6.1.1 Сущность метода
Образцы ламинированного напольного покрытия подвергают воздействию ударником цилиндрической формы массой (100 ± 1) г, как указано в 4.1. Ударник сбрасывают с разной высоты и определяют максимальную высоту, при падении с которой ударник при пяти ударах не причиняет никаких повреждений покрытию. Данную высоту используют в качестве показателя устойчивости при ударном воздействии шаром малого диаметра на покрытие.
6.1.2 Испытание
При необходимости испытание проводят сразу после выдерживания испытуемого образца в указанных атмосферных условиях. Рекомендуется проводить испытание в стандартных атмосферных условиях при температуре окружающей среды (23 ± 2) °C и относительной влажности воздуха (50 ± 5)%.
Испытуемый образец помещают лицевой стороной вверх на стальную пластину (см. 4.1.6). Средство испытаний (см. 4.1.2) помещают на испытуемый образец.
Для проведения испытаний первого образца регулируемое кольцо закрепляют таким образом, чтобы его верхняя поверхность находилась на высоте падения 70 мм, затем поднимают рукоятку ударника к кольцу. Производят пять ударов по образцу по направлению к его поверхности. Расстояние между точками ударов должно быть не менее 20 мм, а до края или места соединения испытуемого образца - не менее 40 мм.
При нанесении любых ударов три опоры стального основания (см. рисунок 2) должны быть расположены на испытуемом образце.
Используя карандаш или краситель (см. 4.1.7), делают видимыми возможные трещины на испытуемом участке, удаляют остатки и осматривают пять испытуемых участков на образце при рассеянном дневном свете (см. 4.1.8) без дополнительного использования оптических устройств. Проводят визуальную оценку с расстояния (500 ± 200) мм при различных углах обзора с использованием источника рассеянного света (см. 4.1.8). Время оценки должно составлять не более 30 с после обозначения мест ударов на всех пяти испытуемых участках. Считается, что испытуемый образец не прошел испытание с данной высоты падения, если на нем обнаружена хотя бы одна трещина.
Размеры в миллиметрах

n - количество ударов одной силы
Рисунок 5 - Расположение ударов на одном испытуемом образце
Если образец прошел испытание на заданной высоте, процедуру испытания повторяют, переместив образец на 20 мм дальше (новая линия нанесения ударов должна быть параллельна предыдущей, см. рисунок 5) и установив высоту падения 120 мм. Данную процедуру повторяют 5 раз (по пять ударов на одну высоту падения). В зависимости от результата испытаний (положительный или отрицательный) соответственно увеличивают или уменьшают высоту падения с шагом 10 мм до тех пор, пока пять из пяти ударов не окажут повреждений.
Если образец не прошел испытание сброса с высоты 70 мм при первом ударе, высоту падения уменьшают на 10 мм и повторяют процедуру испытаний до тех пор, пока пять из пяти ударов не окажут видимые повреждения на образце.
Испытание повторяют с другими четырьмя испытуемыми образцами. Очередное испытание начинают с высоты падения предыдущего испытуемого образца без повреждений и продолжают с увеличением или уменьшением высоты падения с шагом 10 мм.
6.1.3 Факторы, влияющие на точность испытаний
Поврежденные или сплющенные ударные головки не допускается использовать.
Атмосферные условия при проведении испытаний образцов могут повлиять на результаты испытаний.
6.2 Удар шаром большого диаметра
6.2.1 Процедура проведения испытаний
Образцы ламинированного напольного покрытия подвергают удару стальным шаром диаметром 38,1 мм и массой (224 ± 3) г. Шар свободно падает с разных высот. Максимальную высоту, при падении с которой наносятся видимые повреждения, используют в качестве меры определения устойчивости при ударном воздействии шаром большого диаметра на покрытие.
6.2.2 Испытание
a) Испытание следует проводить в лабораторных условиях.
b) Испытуемый образец помещают в зажимное приспособление (см. 4.2.3) таким образом, чтобы образец был зафиксирован, но при этом подкладочный материал не был сжат. Образец размещают на испытательном оборудовании с подкладочным материалом, рекомендованным поставщиком и поставляемым вместе с образцом. Если на образце уже имеется предварительно закрепленная подложка, то этот образец проходит испытание в том виде, в каком он был поставлен. Если поставщик не указал материал, из которого изготовлена подложка, или же подложка предварительно не закреплена на образце, то испытание следует проводить с использованием вспененного пенополистирола (EPS), указанного в 4.2.7, в качестве подкладочного материала.
c) Шкалу измерения высоты устанавливают так, чтобы она касалась поверхности испытуемого образца. Если на испытуемом образце есть место соединения двух частей или шов, то область испытания на ударное воздействие должна находиться на расстоянии не менее 25 мм от данного соединения или шва.
d) Электромагнит располагают на любой произвольной высоте над испытуемым образцом.
e) Помещают шар на электромагнит и сбрасывают. При первом отскоке следует поймать шар, чтобы не произошли повторные удары. Расстояние между точками удара должно быть не менее 50 мм от края образца.
f) С помощью маркировочного карандаша (см. 4.2.4) закрашивают место удара. Используют чистую влажную мягкую белую ткань (см. 4.2.5) для того, чтобы протирать места удара шаром. Повреждения могут проявляться в виде тонких трещин, концентрических кругов или сколов.
g) Осматривают место удара на наличие трещин и оценивают результат на испытуемом образце на расстоянии от глаз до образца (500 ± 200) мм и под углом от 45° до 75° от линии горизонта (поверхности стола) со всех сторон. Следует избегать прямых падающих под углом солнечных лучей или других источников света, которые могут увеличить или уменьшить масштаб повреждений.
h) При необходимости увеличивают или уменьшают высоту, на которой закреплен электромагнит, и повторяют этапы испытания начиная с e) и заканчивая g) до тех пор, пока не будет определена максимальная высота, при которой не происходит растрескивания образца.
i) Испытания повторяют с остальными четырьмя образцами. Окончательным результатом будет считаться среднее значение по итогам испытаний пяти образцов.
6.2.3 Факторы, влияющие на точность результатов испытания
Не допускается использование поврежденных или сплющенных шаров.
Испытуемый образец и зажимное приспособление должны полностью опираться на прочное основание. Деформированные образцы или отсутствие опоры могут исказить результаты испытаний на 100 процентов.
Траектория падения шара должна быть точно перпендикулярна к поверхности образца.
Атмосферные условия при проведении испытаний образцов могут повлиять на результаты испытаний.
7 Выражение результатов
7.1 Шар малого диаметра
Устойчивость к ударным воздействиям испытуемого образца представляет собой максимальное значение высоты падения в миллиметрах, при котором образцу не было нанесено никаких повреждений ни при одном из пяти ударов. Повреждениями считают трещины и отслоения, а не вмятины. Рассчитывают среднее арифметическое значение определенной в ходе испытаний устойчивости к ударным воздействиям пяти испытуемых образцов и округляют его с точностью до 5 мм.
В целях подтверждения соответствия заданному предельному значению необходимо провести испытание только при заданной высоте падения.
7.2 Шар большого диаметра
Устойчивостью к ударным воздействиям образца при использовании шара большого диаметра считают максимальное значение высоты падения в миллиметрах, при котором не происходит никаких повреждений покрытия (см. 6.2.2). Окончательным результатом будет среднее арифметическое значение из максимальных значений, полученных при испытаниях пяти образцов, округленное с точностью до 50 мм.
В целях подтверждения соответствия заданному предельному значению необходимо провести испытание только при заданной высоте падения.
8 Прецизионность
В ходе проведения межлабораторных испытаний с использованием шара малого диаметра на пяти различных напольных ламинированных покрытиях пятью испытательными лабораториями выявлено среднее значение коэффициента отклонения, которое составило 20% относительно среднего значения.
9 Протокол испытаний
Протокол испытаний должен содержать следующую информацию:
a) ссылку на настоящий стандарт;
b) наименование, вид и номинальную толщину изделия;
c) методы испытаний, представленные в 6.1 и/или 6.2;
d) для испытаний с применением шара большого диаметра подробное описание используемого подкладочного материала. Из описания должно быть однозначно понятно, была ли предварительно прикреплена производителем подложка к образцу или в ходе испытаний в качестве подкладочного материала использовали стандартный пенополистирол (EPS);
e) при необходимости наименование, вид и номинальную толщину материала, использованного в подложке;
f) температуру или температуры, при которых проводились испытания;
g) время выдержки образцов в заданных атмосферных условиях;
h) для образцов, имеющих соединительный шов, необходимо указать местоположение шва;
i) пять индивидуальных усредненных результатов испытаний и окончательный результат, выраженные в миллиметрах;
j) описание любого отклонения от установленных процедур испытаний;
k) наименование и адрес испытательного центра;
l) дату проведения испытаний.
Приложение ДА
(справочное)
Сведения о соответствии ссылочных международных стандартов национальным стандартам
Таблица ДА.1
|
Обозначение ссылочного стандарта
|
Степень соответствия
|
Обозначение и наименование соответствующего национального стандарта
|
|
EN 16354
|
-
|
*
|
|
* Соответствующий национальный стандарт отсутствует. До его принятия рекомендуется использовать перевод на русский язык данного стандарта EN 16354.
|
Библиография
|
[1]
|
EN 17368
|
Laminate floor coverings - Determination of impact resistance with small ball (Покрытия напольные ламинированные. Определение прочности при воздействии шаром малого диаметра)
|
|
[2]
|
ISO 291
|
Plastics - Standard atmospheres for conditioning and testing (Пластмассы. Стандартные атмосферы для кондиционирования и испытания)
|
|
[3]
|
NEMA LD 3-2000 1
|
High-Pressure Decorative Laminates (Декоративные ламинаты высокого давления)
|
--------------------------------
1 NEMA - Национальная ассоциация производителей электрооборудования, США.