ГОСТ Р МЭК 60086-5-2023 БАТАРЕИ ПЕРВИЧНЫЕ. Часть 5. ЭЛЕМЕНТЫ И БАТАРЕИ С ВОДНЫМ ЭЛЕКТРОЛИТОМ. МАРКИРОВКА, ТРЕБОВАНИЯ БЕЗОПАСНОСТИ И МЕТОДЫ ИСПЫТАНИЙ
Утв. и введен в действие Приказом Федерального агентства по техническому регулированию и метрологии от 27 июля 2023 г. N 587-ст
Primary batteries. Part 5. Cells and batteries with aqueous electrolyte. Marking, safety requirements and test methods
(IEC 60086-5:2021+Cor 1:2022, Primary batteries - Part 5: Safety of batteries with aqueous electrolyte, IDT)
ОКС 29.220.10
Дата введения - 1 декабря 2023 года
Взамен ГОСТ Р МЭК 60086-5-2019
Предисловие
1 ПОДГОТОВЛЕН Национальной ассоциацией производителей источников тока "РУСБАТ" (Ассоциация "РУСБАТ") на основе собственного перевода на русский язык англоязычной версии стандарта, указанного в пункте 4, и Федеральным государственным бюджетным учреждением "Российский институт стандартизации" (ФГБУ "Институт стандартизации")
2 ВНЕСЕН Техническим комитетом по стандартизации ТК 044 "Аккумуляторы и батареи"
3 УТВЕРЖДЕН И ВВЕДЕН В ДЕЙСТВИЕ Приказом Федерального агентства по техническому регулированию и метрологии от 27 июля 2023 г. N 587-ст
4 Настоящий стандарт идентичен международному стандарту МЭК 60086-5:2021 "Батареи первичные. Часть 5. Безопасность батарей с водным электролитом" (IEC 60086-5:2021 "Primary batteries - Part 5: Safety of batteries with aqueous electrolyte", IDT), включая техническую поправку Cor 1:2022.
Техническая поправка к указанному международному стандарту, принятая после его официальной публикации, внесена в текст настоящего стандарта и выделена двойной вертикальной линией, расположенной на полях напротив соответствующего текста, а обозначение и год ее принятия приведены в скобках после соответствующего текста.
Наименование настоящего стандарта изменено относительно наименования указанного международного стандарта для приведения в соответствие с ГОСТ Р 1.5-2012 (пункт 3.5).
При применении настоящего стандарта рекомендуется использовать вместо ссылочных международных стандартов соответствующие им национальные стандарты, сведения о которых приведены в дополнительном приложении ДА.
Дополнительные сноски в тексте настоящего стандарта, в том числе выделенные курсивом, приведены для пояснения текста оригинала
5 ВЗАМЕН ГОСТ Р МЭК 60086-5-2019
Правила применения настоящего стандарта установлены в статье 26 Федерального закона от 29 июня 2015 г. N 162-ФЗ "О стандартизации в Российской Федерации". Информация об изменениях к настоящему стандарту публикуется в ежегодном (по состоянию на 1 января текущего года) информационном указателе "Национальные стандарты", а официальный текст изменений и поправок - в ежемесячном информационном указателе "Национальные стандарты". В случае пересмотра (замены) или отмены настоящего стандарта соответствующее уведомление будет опубликовано в ближайшем выпуске ежемесячного информационного указателя "Национальные стандарты". Соответствующая информация, уведомление и тексты размещаются также в информационной системе общего пользования - на официальном сайте Федерального агентства по техническому регулированию и метрологии в сети Интернет (www.rst.gov.ru)
Введение
Концепция безопасности тесно связана с обеспечением сохранения жизни и здоровья людей и отсутствия ущерба здоровью, имуществу или окружающей среде. Настоящий стандарт является частью серии стандартов МЭК 60086, распространяется на первичные элементы и батареи с водным электролитом и устанавливает требования безопасности и методы испытаний в соответствии с рекомендациями ИСО/МЭК и соответствующих национальных и международных стандартов. В настоящий стандарт включены рекомендации по проектированию батарейных отсеков оборудования, упаковке, обращению, складированию и транспортированию батарей/элементов.
Безопасность - это баланс между отсутствием неприемлемого риска для здоровья человека и требованиями, предъявляемыми к продукции. Следует учитывать, что абсолютной безопасности не существует. Даже при высочайшем уровне безопасности продукция может быть только относительно безопасна, поэтому при разработке, применении, обращении, упаковке, складировании и транспортировании следует оценивать уровень риска и безопасности продукции.
В связи с тем, что существуют различные аспекты безопасности, невозможно установить набор точных требований и рекомендаций для обеспечения безопасности в каждом конкретном случае. Тем не менее, настоящий стандарт, если следовать принципу "необходимо использовать, если это применимо", можно применять для подтверждения соответствия продукции требованиям безопасности.
Примечание - Изготовителям оборудования и испытательным лабораториям может потребоваться переходный период (не более двух лет) для приведения производства и испытательной базы в соответствие с требованиями настоящего стандарта. Рекомендации по применению переходного периода относятся к таблице 7.
Настоящий стандарт распространяется на первичные элементы и батареи с водным электролитом (далее - элемент, батарея) и устанавливает требования безопасности, которые следует соблюдать при предназначенном использовании и возможном предсказуемом неправильном использовании, а также требования к маркировке и методы испытаний.
В настоящем стандарте использованы нормативные ссылки на следующие стандарты [для датированных ссылок применяют только указанное издание ссылочного стандарта, для недатированных - последнее издание (включая все изменения)]:
IEC 60086-1:2015 <*>, Primary batteries - Part 1: General (Батареи первичные. Часть 1. Общие требования)
--------------------------------
<*> Заменен на IEC 60086-1:2021.
IEC 60086-2:2015 <**>, Primary batteries - Part 2: Physical and electrical specifications (Батареи первичные. Часть 2. Физические и электрические характеристики)
--------------------------------
<**> Заменен на IEC 60086-2:2021.
В настоящем стандарте применены следующие термины с соответствующими определениями.
ИСО и МЭК ведут терминологические базы данных для использования в стандартизации по следующим адресам:
- Электропедия МЭК: доступна на http://www.electropedia.org/;
- платформа онлайн-просмотра ИСО: доступна на http://www.iso.org/obp.
3.1 батарея (battery): Два или более элементов, по крайней мере один из которых является электрохимическим, электрически соединенных между собой и размещенных в корпусе, снабженном выводами, маркировкой, защитными устройствами и т.п., необходимыми для ее использования.
[МЭК 60050-482:2004, статья 482-01-04 [1], определение термина изменено]
3.2 дисковый элемент (button cell; button battery): Маленький круглый элемент с водным электролитом, в котором(ой) общая высота менее диаметра.
Примечание - См. термины "пуговичный элемент" ("пуговичная батарея"), "литиевый монетный элемент" ("литиевая монетная батарея") в МЭК 60086-1 и МЭК 60086-2.
[МЭК 60050-482:2004, статья 482-02-40, терминологическая статья изменена: исключен второй термин "пуговичный элемент", определение и примечание изменены]
3.3 элемент (cell): Простейшее функциональное устройство, состоящее из сборки электродов, электролита, корпуса, выводов и обычно сепараторов, являющееся источником электрической энергии, получаемой путем прямого преобразования химической энергии.
[МЭК 60050-482:2004, статья 482-01-01, терминологическая статья изменена: исключено примечание]
3.4 составляющий элемент (component cell): Элемент, входящий в состав батареи.
3.5 цилиндрический элемент [батарея] (cylindrical cell; cylindrical battery): Круглый элемент или батарея, в котором(ой) общая высота равна или более диаметра.
[МЭК 60050-482:2004, статья 482-02-39, терминологическая статья изменена: в определении термин "элемент" заменен на термин "круглый элемент или батарея"]
3.6 предназначенное использование (intended use): Использование продукта или системы в соответствии с предоставленной информацией, или в отсутствие такой информации посредством в большинстве случаев предполагаемых закономерностей использования.
[Руководство ИСО/МЭК 51:2014, пункт 3.6 [2]]
3.7 номинальное напряжение Uн [nominal voltage (of a primary battery) Un]: Установленное условное значение напряжения, применяемое для идентификации элемента, батареи или электрохимической системы.
[МЭК 60050-482:2004, статья 482-03-31, терминологическая статья изменена: добавлено обозначение Un и в скобках приведена область применения "первичной батареи"]
3.8 первичный элемент [батарея] (primary cell; primary battery): Элемент или батарея, не предназначенный(ая) для электрической подзарядки.
3.9 призматический элемент [батарея] (prismatic cell; prismatic battery): Элемент или батарея, имеющий(ая) форму параллелепипеда, грани которого имеют прямоугольную форму.
[МЭК 60050-482:2004, статья 482-02-38, терминологическая статья изменена: в определении добавлены термины "элемент" и "батарея", исключен термин "квалифицируется"]
3.10 защитное устройство (protective devices): Устройство, такое как предохранитель, диод или другой электрический или электронный ограничитель тока, предназначенное для прерывания тока в электрической цепи.
3.11 возможное предсказуемое неправильное использование (reasonably foreseeable misuse): Использование продукта или системы не предназначенным поставщиком образом, но что может быть следствием легко предсказуемого поведения человека.
[Руководство ИСО/МЭК 51:2014, пункт 3.7, пункт изменен: исключено примечание]
3.12 круглый элемент [батарея] (round cell; round battery): Элемент или батарея с поперечным сечением в форме круга.
3.13 безопасность (safety): Отсутствие недопустимого риска.
[Руководство ИСО/МЭК 51:2014, пункт 3.14]
3.14 неразряженный элемент [батарея] (undischarged): Состояние первичного(ой) элемента [батареи] при глубине разряда 0%.
4.1.1 Общие положения
Батареи должны быть сконструированы таким образом, чтобы они не представляли опасности в условиях нормального применения (предназначенного использования).
4.1.2 Сброс давления
В конструкции батарей должна быть предусмотрена функция сброса давления, или они должны быть сконструированы таким образом, чтобы был обеспечен сброс избыточного внутреннего давления при достижении установленного значения со скоростью, исключающей возможность взрыва. Если для того, чтобы фиксировать элементы внутри наружного корпуса батареи необходимо инкапсулирование, то применяемые герметик и метод фиксации не должны приводить к перегреву батареи во время нормального функционирования или блокировать сброс давления.
Материал корпуса батареи и/или корпус батареи в окончательном виде должны соответствовать следующему требованию: при сбросе давления в одном или нескольких элементах корпус батареи не должен представлять опасности.
Изготовитель должен подготовить и внедрить план качества, устанавливающий процедуры проверки материалов, компонентов, элементов и батарей в ходе производства, которые следует применять в процессах производства конкретного типа батарей. В связи с тем, что изготовитель отвечает за безопасность продукции, он должен оценивать свои производственные возможности и осуществлять необходимое управление процессами.
Отбор образцов проводят из партии выпускаемой продукции в соответствии с принятыми статистическими методами. Образцы должны соответствовать требованиям к размерам и напряжению разомкнутой цепи, установленным в МЭК 60086-2. Образцы, не отвечающие данным требованиям, удаляют и заменяют на новые.
Число образцов n для типовых испытаний - в соответствии с рисунком 1.

--------------------------------
<*> Исправлена ошибка оригинала.
Примечания
1 Четыре элемента, соединенные последовательно, один из которых установлен с обратной полярностью (в реверсном направлении). Для испытаний применяют пять комплектов образцов.
2 Четыре элемента, соединенные последовательно, один из которых разряжен. Для испытаний применяют пять комплектов образцов.
Рисунок 1 - Число образцов для типовых испытаний
Испытания батарей/элементов проводят в соответствии с требованиями настоящего стандарта. Результаты проведенных испытаний распространяют на выпускаемые батареи/элементы до тех пор, пока не будут внесены изменения в их конструкцию или пересмотрены требования к ним.
Типовые испытания проводят:
a) если при изменении технических характеристик батареи/элемента произошло изменение ее/его массы более чем на 0,1 г или 20% массы (в зависимости от того, в какую часть батареи/элемента внесено больше изменений - в катод, анод или электролит);
b) изменение технических характеристик батареи/элемента может привести к отказу в любом из испытаний;
c) необходимо проведение новых испытаний при установление новых требований;
d) изменение требований к батарее/элементу может привести к отказу в любом из испытаний.
6.1.1 Применимость методов испытаний
Матрица применимости методов испытаний приведена в таблице 1.
|
Обозначение электрохимической системы |
Отрицательный электрод |
Электролит |
Положительный электрод |
Номинальное напряжение на элемент, В |
Форма батареи/элемента |
Применимость метода испытаний | ||||||
|
A |
B-1 B-2 |
C |
D |
E |
F |
G | ||||||
|
- |
Цинк (Zn) |
Хлористый аммоний. Хлорид цинка |
Диоксид марганца (MnO2) |
1,5 |
R |
x |
x |
x |
x |
x |
x |
x |
|
B |
NR | |||||||||||
|
Pr |
x |
x |
x |
x |
x |
x |
x | |||||
|
M |
x |
x |
x |
NR |
x |
NR |
x | |||||
|
A |
Цинк (Zn) |
Хлористый аммоний. Хлорид цинка |
Кислород (O2) |
1,4 |
R |
x |
x |
x |
NR |
x |
x |
x |
|
B |
NR | |||||||||||
|
Pr |
x |
x |
x |
x |
x |
x |
x | |||||
|
M |
x |
x |
x |
NR |
x |
x |
x | |||||
|
L |
Цинк (Zn) |
Гидроокись щелочного металла |
Диоксид марганца (MnO2) |
1,5 |
R |
x |
x |
x |
x |
x |
x |
x |
|
B |
x |
x |
x |
NR |
x |
NR |
x | |||||
|
Pr |
x |
x |
x |
x |
x |
x |
x | |||||
|
M |
x |
x |
x |
NR |
x |
NR |
x | |||||
|
P |
Цинк (Zn) |
Гидроокись щелочного металла |
Кислород (O2) |
1,4 |
R |
NR | ||||||
|
B |
NR |
NR |
NR |
NR |
NR |
NR |
NR | |||||
|
Pr |
x |
x |
x |
x |
x |
x |
x | |||||
|
M |
NR | |||||||||||
|
S |
Цинк (Zn) |
Гидроокись щелочного металла |
Оксид серебра (AgO2) |
1,55 |
R |
x |
x |
x |
NR |
x |
NR |
x |
|
B |
x |
x |
x |
NR |
x |
NR |
x | |||||
|
Pr |
x |
x |
x |
x |
x |
x |
x | |||||
|
M |
NR | |||||||||||
|
Виды испытаний: - A - электрические (хранение после частичного использования); - B-1 - механические (испытания на удар); - B-2 - механические (испытания на вибрацию); - C - климатические (термоциклирование); - D - электрические (установка в реверсном направлении); - E - электрические (внешнее короткое замыкание); - F - электрические (переразряд); - G - механические (свободное падение). |
В настоящей таблице приведены следующие обозначения: - R - цилиндрический элемент (см. 3.5); - B - дисковый элемент (см. 3.2); - Pr - призматический элемент (см. 3.9 <*>); - M - многоэлементная батарея; - x - испытания применяют; - NR - испытания не применяют. | |||||||||||
|
При необходимости следует соблюдать условия разряда, установленные в испытании по определению рабочих показателей МЭК 60086-2. Не подлежат испытаниям дисковые батареи/элементы электрохимических систем L и S массой менее 3,5 г. | ||||||||||||
--------------------------------
<*> Исправлена ошибка оригинала.
В методах испытаний, указанных в таблицах 2 и 6, моделируют условия предназначенного использования и возможного предсказуемого неправильного использования батарей/элементов.
6.1.2 Требования безопасности при проведении испытаний
|
ПРЕДУПРЕЖДЕНИЕ - При проведении испытаний используют процедуры, которые могут привести к травме, если не предпринять меры предосторожности, адекватные степени опасности. Испытания должны проводить только квалифицированные и опытные специалисты, которые обеспечены защитой, адекватной степени опасности. |
6.1.3 Температура окружающей среды
Если не указано иное, то все испытания проводят при температуре окружающей среды (20 ± 5) °C.
6.2.1 Взрыв
Взрывом считают мгновенный выброс твердого вещества из любой части батареи/элемента и перемещение этого твердого вещества на расстояние более 25 см от нее/него.
6.2.2 Воспламенение
Воспламенением считают наличие открытого горения батареи/элемента.
6.2.3 Течь электролита
Течью электролита считают незапланированное видимое выделение электролита из батареи/элемента.
6.2.4 Сброс давления
Сбросом давления считают снижение избыточного внутреннего давления батареи/элемента способом, предусмотренным конструкцией для предотвращения взрыва.
6.3.1 Перечень методов испытаний на безопасность при предназначенном использовании и критерии оценки результатов испытаний
|
Обозначение метода испытаний |
Моделируемые условия предназначенного использования |
Наименование и обозначение критерия соответствия | |
|
Электрические испытания |
A |
Хранение после частичного использования |
Отсутствие течи электролита (NL). Отсутствие воспламенения (NF). Отсутствие взрыва (NE) |
|
Механические испытания |
B-1 |
Воздействие механических ударов при транспортировании |
Отсутствие течи электролита (NL). Отсутствие воспламенения (NF). Отсутствие взрыва (NE) |
|
B-2 |
Воздействие вибрации при транспортировании |
Отсутствие течи электролита (NL). Отсутствие воспламенения (NF). Отсутствие взрыва (NE) | |
|
Климатические испытания |
C |
Термоциклирование |
Отсутствие воспламенения (NF). Отсутствие взрыва (NE) |
6.3.2 Методы испытаний
6.3.2.1 Метод испытаний A. Хранение после частичного использования
a) Сущность метода
В данном методе испытаний моделируют условия, в которых оборудование (устройство) выключено и установленные в нем батареи/элементы частично разряжены. Эти батареи/элементы оставляют в оборудовании на длительное время или их вынимают из оборудования и хранят длительное время отдельно от оборудования.
b) Проведение испытаний
Неразряженный образец разряжают на сопротивление, соответствующее нагрузке, которая обеспечивает наибольшую продолжительность испытаний в условиях, установленных для испытаний на применение/определения рабочих параметров по МЭК 60086-2, до тех пор, пока длительность разряда не достигнет уровня 50% наибольшего значения минимальной средней продолжительности разряда (СПРМ). Далее образец выдерживают в течение 30 сут при температуре (45 ± 2) °C.
Температурный допуск ± 2 °C применяют для периода поддержания заданной температуры. В переходный период <1> допускается кратковременное превышение заданной температуры. <*>
--------------------------------
<1> См. примечание во введении настоящего стандарта.
c) Критерии соответствия
В процессе испытаний не должны быть зафиксированы течь электролита, воспламенение и взрыв образца.
6.3.2.2 Метод испытаний B-1. Воздействие механических ударов при транспортировании
a) Сущность метода
В данном методе испытаний моделируют небрежное обращение (падение) с оборудованием, в котором установлены батареи/элементы. Условия испытаний - по МЭК 60068-2-27 [3].
b) Проведение испытаний
Испытаниям подвергают неразряженный образец. Испытания на механический удар проводят в условиях и с параметрами удара, установленными в таблице 3, и в последовательности, указанной в таблице 4.
|
Ускорение |
Форма импульса ударного ускорения | |
|
Минимальное среднее значение в первые 3 мс gn |
Максимальное (пиковое) значение gn | |
|
75 |
От 125 до 175 |
Полусинусоидальная |
|
Примечание - gn = 9,80665 м/с2. | ||
|
Этап |
Продолжительность выдержки, ч |
Направление воздействия удара |
Число ударов |
Визуальный контроль |
|
1 |
- |
- |
- |
До начала испытаний |
|
2 |
- |
По одному удару в каждом направлении |
- | |
|
3 |
- |
По одному удару в каждом направлении |
- | |
|
4 |
- |
По одному удару в каждом направлении |
- | |
|
5 |
1 |
- |
- |
- |
|
6 |
- |
- |
- |
По окончании испытаний |
|
Механический удар прикладывают в каждом из трех взаимно перпендикулярных направлений. | ||||
Этап 1 - регистрируют напряжения разомкнутой цепи по 5.2.
Этапы 2 - 4 - к образцу прикладывают удары с параметрами, приведенными в таблице 3, и в последовательности по таблице 4.
Этап 5 - образец выдерживают в течение 1 ч.
Этап 6 - проводят визуальный контроль образца и регистрируют результаты испытаний.
c) Критерии соответствия
В процессе испытаний не должны быть зафиксированы течь электролита, воспламенение и взрыв образца.
6.3.2.3 Метод испытаний B-2. Воздействие вибрации при транспортировании
a) Сущность метода
В данном методе испытаний моделируют воздействие вибрации при транспортировании батареи/элемента. Условия испытаний - по МЭК 60068-2-6 [4].
b) Проведение испытаний
Испытаниям подвергают неразряженный образец.
Испытания на вибрацию проводят в последовательности, указанной в таблице 5.
Параметры вибрации: к образцу прикладывают простое гармоническое колебание амплитудой 0,8 мм с максимальным размахом 1,6 мм; частоту колебаний изменяют со скоростью 1 Гц/мин в диапазоне от 10 до 55 Гц; продолжительность воздействия на образец вибрации всего диапазона частот от 10 до 55 Гц и возврата от 55 до 10 Гц - (90 ± 5) мин в каждом направлении.
|
Этап |
Продолжительность выдержки, ч |
Направление воздействия вибрации |
Продолжительность воздействия вибрации, мин |
Визуальный контроль |
|
1 |
- |
- |
- |
До начала испытаний |
|
2 |
- |
(90 ± 5) в каждом направлении |
- | |
|
3 |
- |
(90 ± 5) в каждом направлении |
- | |
|
4 |
- |
(90 ± 5) в каждом направлении |
- | |
|
5 |
1 |
- |
- |
- |
|
6 |
- |
- |
- |
По окончании испытаний |
|
Вибрацию прикладывают в каждом из трех взаимно перпендикулярных направлений. | ||||
Этап 1 - регистрируют напряжения разомкнутой цепи по 5.2.
Этапы 2 - 4 - к образцу прикладывают вибрацию с параметрами, приведенными в 6.3.2.3, и в последовательности по таблице 5.
Этап 5 - образец выдерживают в течение 1 ч.
Этап 6 - проводят визуальный контроль образца и регистрируют результаты испытаний.
c) Критерии соответствия
В процессе испытаний не должны быть зафиксированы течь электролита, воспламенение и взрыв образца.
6.3.2.4 Метод испытаний C. Термоциклирование
a) Сущность метода
В данном методе испытаний оценивают стойкость батареи/элемента к термоциклированию и способность сохранять герметичность корпуса.
b) Проведение испытаний
Испытаниям подвергают неразряженный образец.
Проводят термоциклирование образца в соответствии с перечислениями 1) - 7), и/или рисунком 2. Процедура термоциклирования:
1) образец помещают в климатическую камеру, температуру в которой поднимают до (70 ± 5) °C за время t1 = 30 мин;
2) установленную в камере температуру поддерживают в течение t2 = 4 ч;
3) температуру в камере снижают до (20 ± 5) °C за время t1 = 30 мин и поддерживают ее в течение t3 = 2 ч;
4) температуру в камере снижают до минус (20 ± 5) °C за время t1 = 30 мин и поддерживают ее в течение t2 = 4 ч;
5) температуру в камере повышают до (20 ± 5) °C за время t1 = 30 мин;
6) проводят еще девять циклов вышеуказанных испытаний;
7) по окончании десятого цикла батареи хранят в течение 7 сут, затем проводят визуальный контроль.

t1 = 30 мин, t2 = 4 ч, t3 = 2 ч
Рисунок 2 - Процедура термоциклирования
c) Критерии соответствия
В процессе испытаний не должны быть зафиксированы воспламенение и взрыв образца.
6.4.1 Перечень методов испытаний на безопасность при возможном предсказуемом неправильном использовании и критерии оценки результатов испытаний
|
Обозначение метода испытаний |
Моделируемые условия возможного предсказуемого неправильного использования |
Наименование и обозначение критерия соответствия | |
|
Электрические испытания |
D |
Установка в реверсном направлении |
Отсутствие воспламенения (NF) Отсутствие взрыва (NE) |
|
E |
Внешнее короткое замыкание |
Отсутствие воспламенения (NF) Отсутствие взрыва (NE) | |
|
F |
Переразряд |
Отсутствие воспламенения (NF) Отсутствие взрыва (NE) | |
|
Механические испытания |
G |
Свободное падение |
Отсутствие воспламенения (NF) Отсутствие взрыва (NE) |
|
См. примечание 2 к 6.4.2.1, перечисление b). | |||
6.4.2 Методы испытаний
6.4.2.1 Испытание D. Установка в реверсном направлении (для элементов, соединенных последовательно)
a) Сущность метода
В данном методе испытаний моделируют установку в реверсном направлении (с обратной полярностью) одного элемента из комплекта.
b) Проведение испытаний
Образцы должны быть одной и той же марки, одного и того же типа и изготовлены одним и тем же изготовителем. Четыре неразряженных образца соединяют последовательно в сборку таким образом, чтобы один образец (B1) был установлен в реверсном направлении (с обратной полярностью), как показано на рисунке 3. Полученную сборку оставляют в замкнутом состоянии в течение 24 ч или до тех пор, пока температура поверхности испытуемого образца не достигнет температуры окружающей среды.
Сопротивление соединительной цепи - не более 0,1 Ом.

Рисунок 3 - Схема сборки с установкой одного образца в реверсном направлении (четыре образца соединены последовательно)
Примечания
1 На схеме, приведенной на рисунке 3, смоделированы условия возможного предсказуемого неправильного использования элементов.
2 Первичные элементы сконструированы без возможности их заряда. При этом установка элемента в реверсном направлении при последовательном соединении с тремя или более элементами может привести к заряду элемента, установленного реверсно. Следует учитывать, что конструкцией цилиндрических батарей предусмотрено снижение чрезмерного внутреннего давления, но в некоторых случаях может произойти взрыв.
c) Критерии соответствия
В процессе испытаний не должны быть зафиксированы воспламенение и взрыв образца.
6.4.2.2 Испытание E. Внешнее короткое замыкание
a) Сущность метода
В данном методе испытаний моделируют внешнее короткое замыкание батареи/элемента, которое может произойти при ежедневной эксплуатации.
b) Проведение испытаний
Неразряженный образец соединяют с другими образцами в сборку согласно схеме, приведенной на рисунке 4. Полученную сборку оставляют в замкнутом состоянии в течение 24 ч или до тех пор, пока температура поверхности испытуемого образца не достигнет температуры окружающей среды. Сопротивление соединительной цепи - не более 0,1 Ом.

Рисунок 4 - Схема сборки для испытаний на внешнее короткое замыкание
c) Критерии соответствия
В процессе испытаний не должны быть зафиксированы воспламенение и взрыв образца.
6.4.2.3 Испытание F. Переразряд
a) Сущность метода
В данном методе испытаний моделируют условия установки разряженной(ого) батареи/элемента последовательно в цепь с незаряженными батареями/элементами [т.е. одновременная совместная эксплуатация заряженных (новых) и незаряженных (старых) батарей/элементов].
b) Проведение испытаний
Один неразряженный образец (C1) (см. рисунок 5) предварительно разряжают, применяя СПРМ максимального значения, выраженное в единицах времени, как установлено в МЭК 60086-2, до снижения напряжения на нагрузке до (n x 0,6 В), где n - число элементов в батарее. Затем три неразряженных образца и один разряженный образец (C1) соединяют последовательно в сборку, как показано на рисунке 5. Все образцы должны быть одной и той же марки, одного и того же типа и изготовлены одним и тем же изготовителем. Разряд продолжают в течение 24 ч.

Рисунок 5 - Схема сборки для испытаний на переразряд (Cor 1:2022)
Значение сопротивления (R1) должно быть приблизительно в четыре раза менее значения омической нагрузки, применяемой при испытаниях батарей/элементов на соответствие требованиям МЭК 60086-2. Значение сопротивления (R1) должно соответствовать значению (или быть приблизительно таким же), установленному в МЭК 60068-1:2005 (пункт 6.4).
c) Критерии соответствия
В процессе испытаний не должны быть зафиксированы воспламенение и взрыв образца.
6.4.2.4 Испытание G. Свободное падение
a) Сущность метода
В данном методе испытаний моделируют случайное падение батареи/элемента. Условия испытаний - по МЭК 60068-2-31 [5].
b) Проведение испытаний
Неразряженный образец сбрасывают с высоты 1 м на бетонную поверхность. Каждое испытание повторяют шесть раз. Призматический образец сбрасывают шесть раз (по одному разу на каждую из сторон корпуса), круглый образец - два раза в каждом из трех направлений (см. рисунок 6). По окончании воздействия испытуемые образцы хранят в течение 1 ч.

Рисунок 6 - Направления свободного падения образца (X, Y, Z)
c) Критерии соответствия
В процессе испытаний не должны быть зафиксированы воспламенение и взрыв образца.
При правильном обращении и использовании батареи/элементы представляют собой безопасные и надежные источники питания, при неправильном их применении или обращении с ними может возникнуть течь электролита, произойти воспламенение и/или взрыв. В целях исключения указанных негативных последствий необходимо соблюдать следующие требования безопасности:
a) всегда устанавливать батарею/элемент с соблюдением полярности (+) или (-) в соответствии с маркировкой на батарее/элементе и оборудовании.
В случае неправильной установки батареи/элемента может произойти ее/его короткое замыкание или заряд, что может стать причиной перегрева, течи электролита, нарушения герметичности корпуса, взрыва и получения человеком телесных повреждений (травм). Дополнительная информация приведена в приложении B;
b) предотвращать возникновение короткого замыкания батареи/элемента.
Если положительный (+) и отрицательный (-) выводы батареи/элемента находятся в электрическом контакте друг с другом, то происходит короткое замыкание. Например, в батареях/элементах, свободно расположенных в кармане или сумке вместе с ключами или монетами, может произойти короткое замыкание, которое может стать причиной течи электролита, нарушения герметичности корпуса, взрыва и получения человеком телесных повреждений (травм);
c) хранить батарею/элемент в месте, недоступном для детей.
Батареи/элементы следует хранить в месте, недоступном для детей, особенно те батареи/элементы, которые считают проглатываемыми и размеры которых находятся в пределах размеров шаблона проглатывания, приведенных на рисунке 7. В случае проглатывания батареи/элемента человеку следует немедленно оказать медицинскую помощь. При попадании в пищевод дисковая(ый) батарея/элемент напряжением менее 2 В не вызывает химический ожог в течение короткого времени. В этом случае человек должен находиться под медицинским наблюдением и контролем с целью обеспечения выхода батареи/элемента из организма естественным путем.
Примечания
1 Дополнительная информация приведена в D.1 приложения D.
2 Общая информация об источниках опасностей для детей приведена в [6];
Размеры в миллиметрах

Рисунок 7 - Размеры шаблона проглатывания
d) не заряжать батарею/элемент.
Осуществление заряда незаряжаемых (первичных) батарей/элементов может стать причиной внутреннего газо- и/или теплообразования, вследствие чего может произойти течь электролита, нарушение герметичности корпуса, взрыв и причинение человеку телесных повреждений (травм);
e) не осуществлять принудительный разряд батареи/элемента.
В случае принудительного разряда батареи с применением внешнего источника питания напряжение батареи/элемента может быть уменьшено до значений, которые менее допустимых, и внутри может возникнуть газообразование, что может стать причиной течи электролита, нарушения герметичности корпуса, взрыва и получения человеком телесных повреждений (травм);
f) не осуществлять одновременную совместную эксплуатацию заряженных (новых) и разряженных (старых) батарей/элементов, а также батарей/элементов различных типов или марок.
Замену всех батарей/элементов на новые следует осуществлять в одно и то же время. Новые батареи/элементы должны быть одной и той же марки или типа.
При совместной одновременной эксплуатации батарей/элементов разных марок или типов, новых и старых батарей/элементов некоторые из них могут быть переразряжены/принудительно разряжены из-за различного напряжения или емкости, что может стать причиной течи электролита, нарушения герметичности корпуса, взрыва и получения человеком телесных повреждений (травм);
g) немедленно извлечь из оборудования батареи/элементы, израсходовавшие ресурс, и передать их на утилизацию в установленном порядке.
Если разряженные батареи/элементы оставить в оборудовании, то это может привести к течи электролита, вследствие чего может произойти повреждение оборудования и/или причинение человеку телесных повреждений (травм);
h) не допускать теплового воздействия на батарею/элемент.
Тепловое воздействие на батарею/элемент может привести к течи электролита, нарушению герметичности корпуса, взрыву и причинению человеку телесных повреждений (травм);
i) не сваривать элементы неспециализированным сварочным оборудованием и не паять непосредственно к элементу <*>.
--------------------------------
<*> При необходимости соединения элементов в батарею или изготовления выводов из проволоки, следует использовать промежуточные детали (например, полоски из никеля или плакированной никелем стали), привариваемые к поверхности выводов на корпусе элемента специализированным сварочным оборудованием).
Тепло, выделяющееся при сварке или пайке непосредственно на корпусе, может вызвать внутреннее короткое замыкание батареи/элемента, что может стать причиной течи электролита, нарушения герметичности корпуса, взрыва и получения человеком телесных повреждений (травм);
j) не осуществлять разборку батарей/элементов.
При разборке батарей/элементов возможен контакт с опасными компонентами, что может стать причиной воспламенения и/или получения человеком телесных повреждений (травм);
k) не подвергать батарею/элемент деформации.
Батарею/элемент не допускается прокалывать, раздавливать, разрушать или деформировать иным способом. В процессе деформирования батареи/элемента может произойти течь электролита, нарушение герметичности корпуса, взрыв и причинение человеку телесных повреждений (травм);
l) не подвергать батарею/элемент воздействию пламени.
При воздействии пламени на батарею/элемент в ней/нем происходит увеличение количества тепла, что может стать причиной взрыва и получения человеком телесных повреждений (травм). Не допускается сжигать батарею/элемент, за исключением санкционированной утилизации в управляемой установке для сжигания отходов.
Примечание - См. [6];
m) не допускать замену батареи/элемента детьми без наблюдения взрослых;
n) не осуществлять герметизацию и модифицирование батареи/элемента.
Любые действия по герметизации или модификации батареи/элемента могут привести к блокированию механизма(ов) клапанов безопасности и/или препятствовать удалению газообразного водорода (см. B.6), что, в свою очередь, может стать причиной взрыва и получения человеком телесных повреждений (травм). При необходимости внесения изменений в конструкцию батареи/элемента следует обратиться к их изготовителю;
o) хранить неиспользуемые батареи/элементы в оригинальной упаковке и отдельно от металлических предметов. Если батареи/элементы распакованы, то их не допускается смешивать, а хранить следует таким образом, чтобы отсутствовала возможность их короткого замыкания.
При хранении без упаковки батареи/элементы могут соприкасаться друг с другом или другими металлическими предметами, вследствие чего может произойти их короткое замыкание, что может стать причиной течи электролита, нарушения герметичности корпуса, взрыва и получения человеком телесных повреждений (травм). Для предотвращения возникновения указанных опасных ситуаций неиспользуемые батареи/элементы следует хранить в оригинальной упаковке, а при невозможности этого - соблюдать меры безопасности по предотвращению возникновения короткого замыкания;
p) извлекать батареи/элементы из оборудования, если его не используют в течение длительного времени, за исключением батарей/элементов, применяемых в аварийном оборудовании.
Необходимо немедленно извлечь батареи/элементы из оборудования в случае его неисправности или если его эксплуатацию не будут осуществлять в течение длительного времени (например, портативный осветительный прибор, игрушки). Несмотря на то, что большинство батарей/элементов изготавливают с защитным кожухом или другими приспособлениями, предотвращающими течь электролита, следует учитывать, что частично или полностью разряженные батареи/элементы более подвержены течи электролита, чем батареи/элементы, которые не начинали использовать.
Упаковка должна обеспечивать защиту батарей/элементов от механических повреждений при транспортировании, погрузочно-разгрузочных работах и штабелировании. Материалы и конструкция упаковки должны обеспечивать защиту батарей/элементов от возникновения случайного электрического контакта, короткого замыкания, смещения и коррозии выводов. Упаковка должна обеспечить защиту батарей/элементов от внешних воздействующих факторов.
С батареями/элементами в упаковке из картона следует обращаться осторожно. Неосторожное обращение может привести к повреждению батарей/элементов, что может стать причиной течи электролита, взрыва и/или воспламенения.
При хранении батарей/элементов необходимо соблюдать следующие требования:
a) батареи/элементы хранить в сухих и прохладных помещениях с достаточной вентиляцией воздуха.
Высокие температура и влажность окружающей среды могут привести к порче батарей/элементов и/или коррозии их поверхности;
b) не штабелировать в несколько рядов (или на высоту, превышающую значение, указанное изготовителем) коробки из картона, в которых упакованы батареи/элементы.
При штабелировании большого числа коробок из картона батареи/элементы, находящиеся в коробках, расположенных в нижних рядах, могут быть деформированы, в связи с чем может произойти течь электролита;
c) при хранении на складах и в местах розничной торговли батареи/элементы не подвергать воздействию прямого солнечного излучения в течение длительного времени и не размещать в местах, в которых может произойти их намокание.
Под воздействие влаги сопротивление изоляции батареи/элемента уменьшается, что может стать причиной саморазряда и возникновения коррозии;
d) не хранить батареи/элементы без упаковки навалом во избежание их механического повреждения и/или короткого замыкания.
При соприкосновении батарей/элементов друг с другом может произойти их повреждение и/или внешнее короткое замыкание, что может стать причиной течи электролита и/или взрыва. Для предотвращения указанных негативных последствий батареи/элементы до начала использования следует хранить в оригинальной упаковке;
e) соблюдать дополнительные рекомендации, приведенные в приложении A.
При транспортировании и погрузочно-разгрузочных работах коробки с батареями/элементами следует размещать таким образом, чтобы минимизировать риск их падения, например одной коробки с поверхности другой. Коробки следует штабелировать таким образом, чтобы исключить возможность повреждения батарей/элементов, находящихся в нижних коробках. При транспортировании должна быть обеспечена защита батарей/элементов от внешних воздействующих факторов.
При удалении батарей/элементов необходимо соблюдать следующие требования:
a) не разбирать батареи/элементы;
b) не сжигать батареи/элементы, за исключением санкционированной утилизации в управляемой установке для сжигания отходов;
c) не выбрасывать батареи/элементы совместно с бытовыми отходами, если местными правилами установлен соответствующий способ их утилизации;
d) при наличии организованного сбора использованных батарей/элементов руководствоваться следующими правилами накопления:
- хранить батареи/элементы в контейнерах из диэлектрических материалов;
- хранить батареи/элементы в месте с достаточной вентиляцией воздуха. Использованные батареи/элементы могут содержать остаточную емкость, поэтому при их коротком замыкании, заряде или принудительном разряде может произойти выделение водорода. Если в контейнере для сбора батарей/элементов и месте их хранения отсутствует достаточная вентиляция воздуха, то может произойти накопление водорода и взрыв при наличии источника воспламенения;
- не хранить батареи/элементы вместе с другими материалами. Использованные батареи/элементы могут содержать остаточную емкость, поэтому при их коротком замыкании, заряде или принудительном разряде может возникнуть генерирование тепла, вследствие чего может произойти возгорание легковоспламеняющихся материалов, таких как промасленные тряпки, бумага или древесина, и, как следствие, пожар;
- защитить выводы использованных батарей/элементов (особенно батарей с высоким напряжением) для предотвращения возникновения короткого замыкания, заряда или принудительного разряда, например, закрыв выводы изоляционной лентой.
Несоблюдение указанных требований может привести к течи электролита, воспламенению и/или взрыву батарей/элементов.
При эксплуатации батарей/элементов следует соблюдать следующие требования:
a) применять батареи/элементы типов и размеров, пригодных для предназначенного использования; сохранять информацию, предоставляемую с оборудованием, содержащую рекомендации по выбору батарей/элементов;
b) замену всех батарей/элементов в оборудовании выполнять одновременно;
c) очищать выводы батарей/элементов и контракты оборудования перед установкой;
d) соблюдать правильную полярность (+) и (-) при установке батареи/элемента;
e) извлекать батареи/элементы из оборудования, если оборудование не предполагается эксплуатировать в течение длительного времени;
f) своевременно удалять батареи/элементы, израсходовавшие свой ресурс.
Маркировка батарей/элементов, за исключением батарей/элементов, которые считают проглатываемыми (см. 9.2), должна содержать следующую информацию:
a) обозначение по МЭК или распространенное;
b) дату окончания рекомендуемого периода использования либо год и месяц или неделю изготовления.
Год и месяц или неделю изготовления допускается указывать в виде кода;
c) полярность положительного (+) вывода;
d) номинальное напряжение;
e) наименование или торговую марку изготовителя или поставщика;
f) предупредительные надписи.
Требования к маркировке батарей/элементов и их упаковке приведены в таблице 7.
|
Информация, указываемая в маркировке |
Место нанесения маркировки для батареи/элемента |
Место нанесения маркировки для дисковых элементов, которые считают проглатываемыми | |||||
|
d <16 мм |
16 мм ≤ d <20 мм |
d ≥ 20 мм | |||||
|
Электрохимическая система |
P |
L, S |
P |
L, S |
P |
L, S | |
|
a) Обозначение по МЭК или общепринятое |
B |
C |
B |
C |
B |
C |
B |
|
b) Дата окончания рекомендуемого периода использования либо год и месяц или неделя изготовления. Год и месяц или неделю изготовления допускается указывать в виде кода |
B |
- |
- |
- |
- |
- |
- |
|
c) Полярность положительного вывода (+) |
B |
D |
B |
D |
B |
D |
B |
|
d) Номинальное напряжение |
B |
- |
- |
- |
- |
- |
- |
|
e) Наименование или торговая марка изготовителя или поставщика |
B |
- |
- |
- |
- |
- |
- |
|
f) Предупредительные надписи |
B |
- |
- |
- |
- |
- |
- |
|
g) Предостережение о возможности проглатывания батарей/элементов, см. также 7.1, перечисление c), и приложение D |
- |
P , (Cor 1:2022) |
P , (Cor 1:2022) |
P , (Cor 1:2022) |
P , (Cor 1:2022) |
P , (Cor 1:2022) |
B , + P , (Cor 1:2022) |
|
h) Упаковка с защитой от детей |
NR |
NR |
NR |
NR |
R , |
NR |
R , |
|
В настоящей таблице применены следующие обозначения: - d - диаметр; - B - информацию размещают непосредственно на батарее/элементе; - C - информацию размещают на батарее/элементе, герметизирующем ярлыке или на наименьшей упаковке; - D - информацию размещают на герметизирующем ярлыке и/или батарее/элементе; - P - информацию размещают на наименьшей упаковке; - R - информацию размещают на упаковке с защитой от детей; - NR - маркировка не требуется; - "-" - информацию допускается размещать на батарее/элементе и/или непосредственной упаковке. -------------------------------- См. примечание во введении настоящего стандарта. Если батареи/элементы предназначены для продажи непосредственно потребителю для целей самостоятельной замены в устройствах. | |||||||
Примечание - Распространенные обозначения батарей/элементов приведены в МЭК 60086-2, приложение D.
Требования к маркировке дисковых элементов, которые считают проглатываемыми:
a) маркировка элементов, из-за размеров которых существует возможность их проглатывания, т.е. элементы, проходящие через шаблон проглатывания (см. рисунок 7), должна содержать информацию по 9.1, перечисления a) и c). Всю остальную информацию по 9.1, за исключением перечисления f), допускается указывать не на элементе, а на наименьшей упаковке;
b) маркировку элементов электрохимической системы P по 9.1 допускается наносить на элемент, герметизирующий ярлык или наименьшую упаковку [информацию по перечислению a)]; элемент или герметизирующий ярлык [информацию по перечислению c)]; на упаковку, в которой непосредственно находится элемент [информацию по перечислениям b), d) и e)];
c) если элементы предназначены для продажи непосредственно потребителю для целей самостоятельной замены в оборудовании, то в их маркировку следует включать информацию о возможности проглатывания элементов [см. 7.1, перечисление c), и приложение D], при этом информацию о других риска допускается не указывать.
Требования к маркировке дисковых элементов, которые считают проглатываемыми, и их упаковки приведены в таблице 7 и приложении E, содержащем требования к упаковке с защитой от детей.
Знаки безопасности (пиктограммы), которые допускается применять в маркировке батарей/элементов вместо предупредительных надписей, приведены в приложении C.
Приложение A
(справочное)
В настоящем приложении дополнительно к 7.4 приведены рекомендации по хранению батарей/элементов и обращению с ними, предназначенные для изготовителей, дистрибьюторов, пользователей и проектировщиков оборудования.
Рекомендации по хранению батарей/элементов и обращению с ними:
a) батареи/элементы следует хранить при температуре окружающей среды от 10 °C до 25 °C (не рекомендуется хранить батареи при температуре выше 30 °C) и относительной влажности воздуха не менее 4% и не более 95%, т.к. хранение батарей/элементов в течение продолжительного времени при других значениях температуры и относительной влажности оказывает на них и упаковку негативное воздействие. Поэтому батареи/элементы не следует хранить рядом с радиаторами или котлами отопления и в местах, в которых они подвергаются воздействию прямого солнечного излучения;
b) для увеличения срока хранения батареи/элементы рекомендуется хранить при температурах ниже комнатной при соблюдении следующих мер предосторожности. Батареи/элементы следует поместить в специальную защитную упаковку (например, герметичные пластиковые или аналогичные пакеты) для предотвращения образования на них конденсата во время нагрева до комнатной температуры, при этом следует учитывать, что быстрое повышение температуры батарей/элементов до температуры окружающей среды оказывает на них негативное воздействие;
c) батареи/элементы, которые хранились при температурах ниже комнатной, следует применять только после достижения ими температуры окружающей среды;
d) хранение батарей/элементов допускается осуществлять в оборудовании, в котором они установлены, или упаковке, если это разрешено их изготовителем;
e) коробки с батареями/элементами допускается штабелировать в высоту в зависимости от прочности упаковки. Коробки из картона допускается штабелировать в высоту не более 1,5 м, деревянные ящики - в высоту не более 3 м;
f) рекомендациями, приведенными выше, следует руководствоваться при хранении и длительном транспортировании. Батареи/элементы следует хранить вдали от судовых двигателей и не оставлять в течение длительного времени в непроветриваемых металлических крытых вагонах (контейнерах) в летний период;
g) батареи/элементы следует сразу после изготовления отправлять в распределительные центры и потребителям. Для реализации основного принципа складской логистики ("первым пришел - первым ушел") необходимо, чтобы места хранения батарей/элементов были надлежащим образом спроектированы, а их упаковка имела бы соответствующую маркировку.
Приложение B
(справочное)
B.1 Общие требования
B.1.1 Общие положения
С целью соответствия батарей/элементам постоянно совершенствуемому оборудованию их регулярно модернизируют, улучшая конструкцию и электрохимические характеристики, для увеличения емкости и мощности. В результате осуществления новых разработок батарей/элементов и поиска возможностей обеспечения их безопасности при сохранении оптимальных характеристик было установлено, что в большинстве случаев выход из строя батарей/элементов происходит вследствие их неправильной эксплуатации, возникающей из-за случайных ошибок потребителя.
Рекомендации и рисунки, приведенные в настоящем приложении, предназначены для того, чтобы при разработке оборудования с питанием от батарей/элементов предусмотреть возможность уменьшения или исключения числа случаев неправильной эксплуатации батарей/элементов.
B.1.2 Выход из строя батареи/элемента вследствие наличия недостатков конструкции батарейного отсека
Конструкция батарейного отсека должна исключать установку батареи/элемента в реверсном направлении (с обратной полярностью) и/или ее/его короткое замыкание.
B.1.3 Потенциальные опасности при установке элемента с нарушением полярности
Если элемент в составе цепи из трех или более соединенных последовательно элементов установлен в реверсном направлении (с обратной полярностью) (см. рисунок B.1), то возникают следующие потенциальные опасности:
a) заряд элемента, установленного в реверсном направлении.
Примечание 1 - Значения тока заряда ограничено внешней цепью/нагрузкой;
b) образование газа внутри элемента, установленного в реверсном направлении;
c) срабатывание механизма сброса давления в элементе, установленном в реверсном направлении;
d) течь электролита из элемента, установленного в реверсном направлении.
Примечание 2 - Электролит, содержащийся в элементе, оказывает вредное воздействие на кожу человека.

Рисунок B.1 - Пример последовательного соединения элементов с одним элементом, установленном в реверсном направлении
B.1.4 Потенциальные опасности, возникающие в результате короткого замыкания батареи/элемента
Потенциальные опасности, возникающие в результате короткого замыкания:
a) выделение тепла в результате протекания большого тока;
b) образование газа;
c) срабатывание механизма сброса давления;
d) течь электролита;
e) повреждение защитного кожуха в результате повышения температуры (например, усадка).
Примечание - Электролит, содержащийся в батарее/элементе, оказывает вредное воздействие на кожу человека, а выделяющееся тепло может стать причиной ожога.
B.2 Общие рекомендации по проектированию батарейного отсека оборудования
B.2.1 Основные обязательные параметры
Рекомендации, приведенные ниже, относятся к батарейным отсекам оборудования, в котором используют цилиндрические элементы типоразмеров R1 - R20. Как правило, электрохимические системы таких элементов - щелочные марганцево-цинковые и угольно-цинковые. Элементы этих электрохимических систем являются взаимозаменяемыми, при этом не допускается их одновременное совместное использование.
При проектировании батарейного отсека оборудования следует учитывать следующие конструктивные параметры элементов указанных типов электрохимических систем и различия между ними:
a) положительный вывод щелочного марганцево-цинкового элемента соединен с корпусом элемента;
b) положительный вывод угольно-цинкового элемента изолирован от корпуса элемента;
c) элементы обоих типов изготавливают с защитным кожухом, который может быть выполнен из бумаги, пластика или других непроводящих материалов, а также из металлических (проводящих) материалов, в этом случае он изолирован от корпуса элемента;
d) отрицательный вывод элемента может быть заглублен (дополнительно см. МЭК 60086-1:2015, 4.1.3). Для обеспечения надежного электрического контакта отрицательные выводы оборудования не должны быть полностью плоскими;
e) выводы элемента или любые другие части электрических цепей оборудования не должны контактировать с защитным кожухом элемента с целью предотвращения возникновения короткого замыкания.
Коническая или винтовая пружина, используемая в качестве электрического контакта оборудования с отрицательным выводом элемента, должна равномерно сжиматься при установке элемента и не должна соприкасаться с защитным кожухом элемента. Не рекомендуется применять пружины в качестве электрического контакта с положительным выводом элемента.
B.2.2 Дополнительные обязательные параметры
Дополнительные обязательные параметры:
a) изготовителям оборудования с батарейным питанием рекомендуется взаимодействовать с изготовителями элементов, использовать при расчетах конструкции батарейного отсека значения характеристик элементов, установленные в нормативной документации, и при выборе элементов руководствоваться МЭК 60086-2;
b) конструкция батарейного отсека должна обеспечивать удобную установку элементов и предотвращать их выпадение из него;
c) конструкция батарейного отсека должна быть такой, чтобы предотвратить легкий доступ к батареям/элементам маленьким детям;
d) батарейный отсек должен быть спроектирован таким образом, чтобы в него можно было установить элемент увеличенной высоты в соответствии с МЭК 60086-1:2021, 4.2.2; (Cor 1:2022)
e) в инструкции по применению оборудования должен быть четко указан тип используемых элементов, в батарейном отсеке - правильная полярность (+) и (-) и направление их установки;
f) при проектировании батарейного отсека необходимо учитывать возможность возникновения у элементов течи электролита. Если батарейный отсек невозможно полностью изолировать от остальных деталей оборудования, то его следует располагать таким образом, чтобы минимизировать их повреждение при возникновении течи электролита;
g) для предотвращения возникновения неблагоприятных химических реакций в элементе и течи электролита конструкция электрических цепей оборудования должна быть такой, чтобы оборудование не могло функционировать при напряжении менее 0,7 В на элемент (ns x 0,7 В, где ns - число элементов, соединенных последовательно).
B.3 Рекомендации по проектированию батарейного отсека, обеспечивающего предотвращение установки элементов в реверсном направлении (с обратной полярностью)
B.3.1 Общие положения
При проектировании батарейного отсека следует исключить возможность установки элемента в реверсном направлении (с обратной полярностью) или наличия электрического контакта при такой установке.
B.3.2 Конструкция положительного контакта
Рекомендации по проектированию положительного контакта в батарейном отсеке для установки элементов типоразмеров R03, R1, R6, R14 и R20 приведены на рисунках B.2 и B.3. Конструкция батарейного отсека должна исключать возможность перемещения элементов внутри него. При установке элемента в реверсном направлении (с обратной полярностью) не должен создаваться электрический контакт между выводом элемента и контактом в батарейном отсеке.
|
|
|
Ребра батарейного отсека должны быть изолированными для обеспечения отсутствия электрического контакта с отрицательным выводом элемента |
|
a) Правильная установка элемента |
b) Неправильная установка элемента (в реверсном направлении) |
Рисунок B.2 - Положительный контакт в батарейном отсеке, утопленный между ребрами
|
|
|
Отрицательный вывод элемента в батарейном отсеке должен соприкасаться только с окружающим изолятором |
|
a) Правильная установка элемента |
b) Неправильная установка элемента |
Рисунок B.3 - Положительный контакт в батарейном отсеке, утопленный внутри окружающего изолятора
B.3.3 Конструкция отрицательного контакта
Рекомендации по проектированию отрицательного контакта в батарейном отсеке для установки элементов типоразмеров R03, R1, R6, R14 и R20 приведены на рисунке B.4.
|
|
|
Положительный вывод элемента не должен соприкасаться с U-образным отрицательным контактом в батарейном отсеке, а должен соприкасаться только с изолятором батарейного отсека, расположенным в центре |
|
a) Правильная установка элемента |
b) Неправильная установка элемента (в реверсном направлении) |
Рисунок B.4 - Отрицательный контакт U-образной формы в батарейном отсеке, обеспечивающий невозможность электрического контакта с положительным выводом элемента
B.3.4 Конструкция батарейного отсека с учетом ориентации элементов
С целью исключения возможности установки элементов в реверсном направлении (с обратной полярностью) рекомендуется, чтобы все элементы имели одинаковую ориентацию. Примеры ориентации и расположения элементов в батарейном отсеке приведены на рисунках В.5a) и В.5b).
На рисунке В.5a) приведены рекомендуемые ориентация и расположение элементов внутри батарейного отсека, на рисунке В.5b) - их ориентация и альтернативное расположение.

a) Рекомендуемые ориентация и расположение элементов в батарейном отсеке

b) Ориентация и альтернативное расположение элементов в батарейном отсеке
Примечания
|
1 Положительные контакты в батарейном отсеке, указанные на рисунке B.5a), должны быть выполнены в соответствии с рекомендациями, приведенными на рисунках B.2 и B.3. 2 Положительные контакты в батарейном отсеке, указанные на рисунке B.5 b), должны быть выполнены в соответствии с рекомендациями, приведенными на рисунках B.2 и B.3, отрицательные контакты - в соответствии с рекомендациями, приведенными на рисунке B.4. |
3 Расположение элементов в батарейном отсеке, приведенное на рисунке B.5b), допускается только для элементов типоразмеров R14 и R20, для элементов других типоразмеров такое расположение в батарейном отсеке не рекомендуется вследствие небольших размеров площади их отрицательных выводов (размер d6 соответствующей спецификации). (Cor 1:2022)
Рисунок B.5 - Примеры ориентации и расположения элементов в батарейном отсеке
B.3.5 Размеры положительного контакта
В таблице B.1 приведены размеры деталей выводов элементов и рекомендуемые размеры положительных контактов в батарейном отсеке оборудования. Если конструкция батарейного отсека оборудования соответствует конструкции с размерами, приведенными на рисунке B.6 и в таблице B.1, то при установке элемента в реверсном направлении, т.е. отрицательным выводом к положительному контакту оборудования, произойдет "отказ по безопасности", т.к. будет отсутствовать электрический контакт.
В миллиметрах
|
Обозначение типоразмера элемента |
Размер детали отрицательного вывода элемента |
Размер детали положительного вывода элемента |
Рекомендуемый размер положительного контакта в батарейном отсеке, приведенный на рисунке B.6 | ||
|
d6 (мин.) |
d3 (макс.) |
h3 (мин.) |
X |
Y | |
|
R20, LR20 |
18,0 |
9,5 |
1,5 |
9,6 - 1,0 |
0,5 - 1,4 |
|
R14, LR14 |
13,0 |
7,5 |
1,5 |
7,6 - 9,0 |
0,5 - 1,4 |
|
R6, LR6 |
7,0 |
5,5 |
1,0 |
5,6 - 6,8 |
0,4 - 0,9 |
|
R03, LR03 |
4,3 |
3,8 |
0,8 |
3,9 - 4,2 |
0,4 - 0,7 |
|
R1, LR1 |
5,0 |
4,0 |
0,5 |
4,1 - 4,9 |
0,1 - 0,4 |
|
В соответствии с МЭК 60086-2. | |||||

a) Правильная установка элемента

b) Неправильная установка элемента
d6 - минимальный внешний диаметр плоской поверхности с отрицательным выводом элемента; d3 - максимальный диаметр положительного вывода элемента в пределах заданной высоты выступа; h3 - минимальный выступ плоскости положительного вывода элемента; X - диаметр углубления под положительный контакт для положительного вывода элемента (размер X должен быть более размера d3, но менее размера d6); Y – размер углубления (глухого отверстия) под положительный контакт для положительного вывода элемента (размер Y должен быть менее размера h3)
Примечание - Положительный контакт батарейного отсека утоплен внутри окружающего изолятора.
Рисунок B.6 - Рекомендуемые конструкция и размеры положительного контакта в батарейном отсеке оборудования
Диаметр углубления (глухого отверстия) под положительный контакт должен быть более максимального диаметра положительного вывода элемента (d3), но менее минимального внешнего диаметра плоской поверхности с отрицательным выводом элемента (d6). На рисунке В.6a) приведена правильная установка элемента в батарейном отсеке, на рисунке В.6b) - неправильная установка элемента, т.е. в реверсном направлении, при которой отрицательный вывод элемента контактирует только с соприкасающимся с ним изолятором, что предотвращает электрический контакт.
B.4 Рекомендации по проектированию батарейного отсека, обеспечивающего предотвращение короткого замыкания элементов
B.4.1 Рекомендации по проектированию батарейного отсека, обеспечивающего предотвращение короткого замыкания, возникающего вследствие повреждения защитного кожуха элемента
Стальной корпус щелочных марганцевых элементов, покрытый защитным кожухом [см. B.2.1, перечисление c)], имеет то же напряжение, что и положительный вывод. Если защитный кожух элемента, находящейся/находящегося в батарейном отсеке, будет поврежден (разрезан или проколот) какой-нибудь деталью токопроводящей цепи оборудования, то может возникнуть короткое замыкание (см. рисунок B.7). Также следует учитывать, что при таком повреждении состояние элемента может быть ухудшено вследствие физического воздействия, например чрезмерной вибрацией, падением.

Примечания
1 Потенциальные опасности, возникающие в результате короткого замыкания, приведены в B.1.4 <*>.
--------------------------------
<*> Исправлена ошибка оригинала.
2 Пример возникновения короткого замыкания, приведенный на рисунке B.7, относится к щелочным марганцево-цинковым элементам, но так как щелочные марганцево-цинковые и угольно-цинковые элементы являются взаимозаменяемыми, то данный пример распространяют и на угольно-цинковые элементы (см. B.2.1).
Рисунок B.7 - Пример возникновения короткого замыкания (выключатель проткнул защитный кожух) элемента
При проектировании батарейного отсека рекомендуется предусмотреть наличие в нем изолятора, размещенного, как показано на рисунке B.8, для предотвращения повреждения выключателем защитного кожуха элемента и возникновения короткого замыкания.

Рисунок B.8 - Пример размещения изолятора в батарейном отсеке для предотвращения короткого замыкания
При проектировании батарейного отсека рекомендуется предусмотреть, чтобы детали оборудования или его электрических цепей, включая заклепки или винты, используемые для защиты батарейных контактов и т.п., не соприкасались с корпусом элемента и/или защитным кожухом.
B.4.2 Рекомендации по проектированию батарейного отсека, обеспечивающего предотвращение короткого замыкания, в котором в качестве отрицательного контакта применяют пружины
В результате попытки неправильной установки элемента [сначала положительным (+) выводом в направлении вперед], как показано на рисунке B.9, возможно перекашивание пружины, которую применяют в качестве отрицательного (-) контакта, и последующее разрезание или прокалывание защитного кожуха элемента при установке в край пружины, как показано на рисунке B.10.

Рисунок B.9 - Установка элемента в край пружины (не рекомендуется)

a) Прокалывание пружиной защитного кожуха снизу и ее соприкосновение с металлическим корпусом элемента

b) Прокалывание пружиной защитного кожуха
Рисунок B.10 - Примеры неправильной установки элемента, приводящей к перекашиванию пружины, применяемой в качестве отрицательного контакта
В целях исключения неправильной установки элемента, показанной на рисунке B.10, при проектировании батарейного отсека рекомендуется предусматривать возможность только правильной установки элемента [сначала отрицательным (-) выводом в направлении вперед], чтобы пружина сжималась равномерно, как показано на рисунке B.11. Для этого необходимо в батарейном отсеке установить изолированную направляющую, разместив ее над отрицательным контактом (см. рисунок B.11).

Рисунок B.11 - Пример конструкции батарейного отсека, исключающей возможность неправильной установки элемента и перекашивания пружины, применяемой в качестве отрицательного контакта
Конец пружины, т.е. часть пружины, которая соприкасается с элементом, должен находиться четко по его центру и не иметь острых кромок, которые могли бы повредить защитный кожух элемента.
Диаметр проволоки, из которой изготовлена пружина, должен соответствовать значениям, указанным в таблице B.2. Давление пружины на отрицательный вывод элемента должно быть достаточным для обеспечения постоянного надежного электрического контакта и при этом не должно быть настолько сильным, чтобы препятствовать удобной установке и удалению элементов. Чрезмерное давление пружины на отрицательный вывод элемента может стать причиной повреждения его защитного кожуха или деформации вывода, вследствие чего может произойти короткое замыкание и/или течь электролита.
|
Типоразмер элемента |
Диаметр проволоки, мм | |
|
R20 |
LR20 |
0,8 |
|
R14 |
LR14 |
0,8 |
|
R6 |
LR6 |
0,4 |
|
R03 |
LR03 |
0,4 |
|
R1 |
LR1 |
0,4 |
Пружины в батарейном отсеке допускается применять только в качестве отрицательного контакта для соединения с отрицательными выводами цилиндрических элементов.
B.5 Рекомендации по проектированию отрицательного контакта в батарейном отсеке с учетом форм и размеров заглубленных отрицательных выводов элементов
В МЭК 60086-2 установлен максимальный размер заглубления отрицательного вывода элемента относительно его корпуса. Элементы типоразмеров R20, LR20, R14 и LR14 изготавливают с заглубленными отрицательными выводами. Для предотвращения возникновения электрического контакта при установке элемента в реверсном направлении отрицательные выводы этих элементов снабжены защитными выступами из изоляционной пластмассы.
При проектировании отрицательного контакта в батарейном отсеке необходимо учитывать форму и размеры отрицательных выводов элементов и соблюдать следующие рекомендации:
a) при применении пружины в качестве отрицательного контакта в батарейном отсеке диаметр ее витка, соприкасающегося с элементом, должен быть менее размера d6, где d6 - внешний диаметр плоской поверхности с отрицательным выводом элемента;
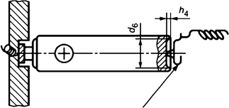
b) при применении пластины, изготовленной из нарезанного и формованного листового металла (см. рисунок B.12), в качестве отрицательного контакта в батарейном отсеке необходимо, чтобы размеры h4 и d6, соответствовали размерам, приведенным в таблице B.3. В этом случае в соответствии с рисунком B.12 на пластине следует предусмотреть выступ. Высота этого выступа должна быть достаточной для того, чтобы выступ превышал любое заглубление вывода элемента (размер h4). Несоблюдение этих рекомендаций может привести к отсутствию электрического контакта элемента с оборудованием;
c) при применении плоской металлической пластины в качестве отрицательного контакта в батарейном отсеке необходимо предусмотреть на ней один или несколько выступов для обеспечения надежного электрического контакта с элементом. Высота выступа должна быть достаточной для того, чтобы выступ превышал любое заглубление отрицательного вывода элемента (размер h4). Выступы следует размещать в пределах внешнего диаметра плоской поверхности с отрицательным выводом элемента (размер d6).

a) Применение пружины в качестве отрицательного контакта

b) Применение пластины в качестве отрицательного контакта
Рисунок B.12 - Примеры исполнения отрицательных контактов
Размеры в миллиметрах
|
Типоразмер элемента |
Максимальный размер заглубления отрицательного вывода элемента h4 |
Внешний диаметр плоской поверхности с отрицательным выводом элемента d6 |
|
R20, LR20 |
1,0 |
18,0 |
|
R14, LR14 |
0,9 |
13,0 |
|
R6, LR6 |
0,5 |
7,0 |
|
R03, LR03 |
0,5 |
4,3 |
|
R1, LR1 |
0,2 |
5,0 |
|
См. МЭК 60086-2. | ||
При проектировании батарейных отсеков не рекомендуется их размеры основывать на размерах элементов только одного конкретного изготовителя, так как это может создать проблемы при замене элементами других изготовителей.
Размеры элементов, включая размеры их положительных и отрицательных выводов, приведены в МЭК 60086-2:2015 на рисунках 1a) и 1b) и в соответствующих спецификациях МЭК 60086-2.
B.6 Рекомендации по проектированию батарейного отсека влагозащищенного и невентилируемого оборудования
При проектировании батарейных отсеков следует предусмотреть, чтобы удаление водорода, выделяющегося из батарей/элементов, осуществлялось посредством реакции рекомбинации или свободного выведения его наружу, в противном случае при возникновении искры может произойти воспламенение накопленной водородно-воздушной смеси и взрыв оборудования. На этапе проектирования оборудования, в котором будут использованы батареи/элементы, следует проконсультироваться с их изготовителями [см. дополнительную информацию в 7.1, перечисление n)].
B.7 Дополнительные рекомендации по проектированию батарейного отсека
Дополнительные рекомендации по проектированию батарейного отсека:
a) электрическая цепь оборудования должна находиться в электрическом контакте только с выводами батареи/элемента. Батарейный отсек должен быть электрически изолирован от электрической цепи оборудования и расположен таким образом, чтобы минимизировать возможную опасность и/или риск нанесения повреждений другим деталям оборудования при течи электролита из батареи/элемента;
b) многие виды оборудования проектируют с учетом возможности работы от различных источников питания (например, от сети, дополнительных батарей/элементов), то есть в таком оборудовании батареи/элементы используют как резервный источник питания. При проектировании электрических цепей такого оборудования необходимо:
1) либо предотвратить возможность заряда батареи/элемента;
2) либо включить в состав электрической цепи устройство, обеспечивающее защиту батареи/элемента, например диод(ы), таким образом, чтобы обратный ток заряда, проходящий через защитное(ые) устройство(а) на батарею/элемент, не превышал значений, установленных изготовителем.
Схему электрической цепи и защитное устройство следует выбирать в зависимости от типа батареи/элемента и типа ее/его электрохимической системы и таким образом, чтобы при эксплуатации оборудования не происходил отказ одного из компонентов электрической цепи. Разработчикам оборудования рекомендуется обращаться к изготовителям батарей/элементов с целью получения сведений, необходимых для проектирования электрических цепей с соответствующей защитой батарей/элементов.
Несоблюдение указанных рекомендаций может привести к сокращению срока службы, течи электролита или взрыву батареи/элемента;
c) форма положительного (+) и отрицательного (-) контактов в батарейном отсеке должна быть визуально различима во избежание путаницы при установке в него батареи/элемента;
d) материал, из которого изготавливают контакты в батарейном отсеке, должен быть с минимальным электрическим сопротивлением и совместимым с материалом выводов батареи/элемента;
e) батарейный отсек должен быть изготовлен из непроводящего, теплостойкого, негорючего материала и иметь надежный теплоотвод, а также быть устойчивым к деформации при установке в него батарей/элементов;
f) в батарейном отсеке оборудования, спроектированного с питанием от батареи/элемента с воздушной деполяризацией либо A-систем, либо P-систем, должна быть обеспечена достаточная вентиляция. Рекомендуется, чтобы батареи/элементы A-системы во время нормальной работы оборудования были размещены в вертикальном положении;
g) не допускается проектировать батарейный отсек с параллельным соединением элементов, если не подтверждено, что установка одного или нескольких элементов в реверсном направлении не влияет на безопасность;
h) не рекомендуется проектировать батарейный отсек с последовательным соединением элементов и несколькими выходами напряжения (см. рисунок B.13), так как разряженные элементы одной секции могут подвергнуться обратному напряжению.
Пример - На рисунке B.13 две батареи разряжают через резистор R1. Если после их разряда переключатель установлен в положение замыкания цепи через R3, то это может стать причиной принудительного разряда этих двух батарей, частично разряженных до этого.

Рисунок B.13 - Пример конструкции батарейного отсека с последовательным соединением элементов и несколькими выходами напряжения
Потенциальные опасности, возникающие при принудительном разряде (приводящие к реверсному напряжению):
1) образование газа в принудительно разряженных элементах;
2) сброс давления;
3) течь электролита.
Примечание - Электролит, содержащийся в элементе, оказывает вредное воздействие на кожу человека.
Приложение C
(справочное)
C.1 Общие положения
В маркировке батарей/элементов, требования к которой установлены в настоящем стандарте, как правило, применяют предупредительные надписи. В качестве дополнительной или альтернативной формы представления информации о возможных источниках опасности и правилах безопасного обращения с продукцией в маркировке батарей/элементов допускается применять знаки безопасности (пиктограммы).
Настоящее приложение приведено с целью:
1) установления единых рекомендаций по применению знаков безопасности (пиктограмм), соответствующих используемым предупредительным надписям;
2) сведения к минимуму возможных вариантов знаков безопасности (пиктограмм);
3) популяризации использования знаков безопасности (пиктограмм) вместо предупредительных надписей для информирования пользователей о возможных источниках опасности и правилах безопасного обращения с продукцией.
C.2 Знаки безопасности (пиктограммы)
Знаки безопасности (пиктограммы), рекомендуемые для маркировки батарей/элементов, и соответствующие им предупредительные надписи приведены в таблице C.1.
|
Обозначение |
Знак безопасности (пиктограмма) |
Предупредительная надпись |
|
A |
|
НЕ ЗАРЯЖАТЬ |
|
B |
|
НЕ ДЕФОРМИРОВАТЬ И НЕ РАЗРУШАТЬ |
|
C |
|
НЕ БРОСАТЬ В ОГОНЬ |
|
D |
|
НЕ УСТАНАВЛИВАТЬ В РЕВЕРСНОМ НАПРАВЛЕНИИ (С ОБРАТНОЙ ПОЛЯРНОСТЬЮ) |
|
E |
|
ХРАНИТЬ В НЕДОСТУПНОМ ДЛЯ ДЕТЕЙ МЕСТЕ Примечания 1 Дополнительную информацию см. в 7.1, перечисление c). 2 Знак безопасности (пиктограмма) "ХРАНИТЬ В НЕДОСТУПНОМ ДЛЯ ДЕТЕЙ МЕСТЕ" имеет номер М055 по ИСО 7010:2019/Изм.2:2020 [7]. Использование в знаке безопасности (пиктограмме) синего цвета и стрелки, указанных в стандарте ИСО не требуются. |
|
F |
|
НЕ УСТАНАВЛИВАТЬ ДЛЯ СОВМЕСТНОЙ ЭКСПЛУАТАЦИИ БАТАРЕИ РАЗНЫХ ТИПОВ И МАРОК |
|
G |
|
НЕ УСТАНАВЛИВАТЬ ДЛЯ СОВМЕСТНОЙ ЭКСПЛУАТАЦИИ НОВЫЕ И ИСПОЛЬЗОВАННЫЕ БАТАРЕИ |
|
H |
|
НЕ ОТКРЫВАТЬ И НЕ РАЗБИРАТЬ |
|
I |
|
НЕ ЗАКОРАЧИВАТЬ |
|
J |
|
СОБЛЮДАТЬ ПОЛЯРНОСТЬ ПРИ УСТАНОВКЕ |
C.3 Рекомендации по исполнению и применению знаков безопасности (пиктограмм)
Рекомендации по исполнению и применению знаков безопасности (пиктограмм):
a) знаки безопасности (пиктограммы) должны быть четкими;
b) знаки безопасности (пиктограммы) допускается выполнять цветными, при этом используемые цвета не должны отвлекать внимание пользователя от отображаемой информации. Если знаки безопасности (пиктограммы) выполняют цветными, то фон пиктограмм E и J должен быть синего цвета, а круг и линия по диагонали других пиктограмм должны быть красного цвета;
c) допускается не применять одновременно все знаки безопасности (пиктограммы) для маркировки батарей/элементов конкретного типа или марки. Например, пиктограммы D и J являются взаимозаменяемыми и предназначены для одной и той же цели.
Приложение D
(справочное)
D.1 Общие положения
Случайное проглатывание дисковых элементов является предметом общественного беспокойства. При попадании дисковых элементов в пищевод человека в них может произойти электролиз воды и генерация гидроксид-ионов, в результате чего образуется сильнощелочной раствор, который может спровоцировать химический ожог и нанести серьезную травму человеку.
Знак безопасности (пиктограмму) и предупредительную надпись "ХРАНИТЬ В НЕДОСТУПНОМ ДЛЯ ДЕТЕЙ МЕСТЕ", приведенные в таблице C.1, следует применять для маркировки дисковых элементов диаметром 16 мм и более, которые предназначены для продажи непосредственно потребителю с целью замены в оборудовании. Данный знак безопасности (пиктограмма) предназначен для предупреждения людей, у которых есть дети, даже если дисковый элемент потенциально безопасен для взрослых.
D.2 Знак безопасности (пиктограмма) и предупредительная надпись
Если для информирования потребителей о том, что элементы, которые из-за их размеров считают проглатываемыми, т.е. элементы, проходящие через шаблон проглатывания (см. рисунок 7), в их маркировке применяют знак безопасности (пиктограмму), то следует соблюдать рекомендации, приведенные в настоящем приложении. В маркировке элементов и их упаковки следует использовать знаки безопасности (пиктограммы) и предупредительные надписи, приведенные в таблице C.1 [см. знак безопасности (пиктограмма) E].
D.3 Рекомендации по маркировке
При нанесении на упаковку элементов, которые из-за их размеров считают проглатываемыми, т.е. элементы, проходящие через шаблон проглатывания (см. рисунок 7), знака безопасности (пиктограммы) или предупредительной надписи (см. таблицу C.1, знак безопасности E) с целью информирования потребителей о потенциальной опасности, следует соблюдать следующие рекомендации:
a) использование в маркировке знака безопасности (пиктограммы) и предупредительной надписи - в соответствии с требованиями, установленными в таблице 7;
b) фон знака безопасности (пиктограммы) должен быть контрастным и покрывать не менее 50% площади знака безопасности (пиктограммы);
c) диаметр знака безопасности (пиктограммы) - не менее 6 мм;
d) цвет предупредительной надписи "Хранить в недоступном для детей месте" должен быть контрастным по отношению к цвету фона, на котором она напечатана.
Приложение E
(справочное)
E.1 Общие требования
E.1.1 Общие положения
Случайное проглатывание дисковых элементов является предметом общественного беспокойства. При попадании дисковых элементов напряжением более 2 В в пищевод человека в них может произойти электролиз воды и генерация гидроксид-ионов, в результате чего образуется сильнощелочной раствор, который может спровоцировать химический ожог, повреждение мягких тканей, а в отдельных случаях привести к смерти человека.
В настоящем приложении приведены рекомендации по изготовлению упаковки с защитой от детей для дисковых элементов с целью предотвращения их случайного проглатывания детьми и методы испытаний.
E.1.2 Область применения рекомендаций
Рекомендации, приведенные в настоящем приложении, относятся к дисковым элементам массового потребления, требования к маркировке и упаковке которых установлены в таблице 7.
E.1.3 Требования к упаковке
E.1.3.1 Требования к упаковке для одного дискового элемента
Упаковку для одного дискового элемента изготавливают в соответствии с одним из следующих требований:
- прочность упаковки - по E.1.3.3;
- с учетом требований местного законодательства (если применимо), например, см. [8] - [10].
E.1.3.2 Требования к упаковке для нескольких дисковых элементов
В упаковке должна быть предусмотрена отдельная ячейка для каждого дискового элемента, соответствующая указанным выше требованиям и сохраняющая свои характеристики при удалении другой ячейки из упаковки.
E.1.3.3 Прочность упаковки
Прочность упаковки элемента должна быть такой, чтобы она выдерживала испытания, установленные в E.2.
E.2 Методы испытаний упаковки
E.2.1 Общие положения
Приведенные методы испытаний были разработаны на основе анализа поведения детей в ситуации, в которой они пытались открыть упаковку с дисковыми элементами в течение заданного времени.
Испытания проводит квалифицированный специалист, или в качестве альтернативы, при необходимости, применяют соответствующее оборудование.
E.2.2 Проведение испытаний
a) Испытание на изгиб
Упаковку удерживают пальцами одной руки, а дисковый элемент - пальцами другой руки. Упаковку сгибают в месте рядом с дисковым элементом до тех пор, пока одна рука не коснется другой, как показано на рисунке E.1. При этом изгиб угла - 150° или более.

Рисунок E.1 - Испытание на изгиб
b) Испытание на кручение
Испытание упаковки на кручение проводят в следующем порядке:
Первое действие. Упаковку берут в обе руки и удерживают пальцами за каждую из ее коротких сторон - это нейтральное положение без кручения и соответствует 0°. Далее стороны упаковки перекручивают по диагонали в противоположных направлениях с углом поворота 45°, как показано на рисунке E.2;
Второе действие. Стороны упаковки перекручивают по диагонали в противоположных направлениях с углом поворота 90°, т.е. сначала возвращают их в нейтральное положение (на 45° назад), а затем перекручивают на 45° в другом направлении;
Третье действие. Стороны упаковки возвращают в нейтральное положение, т.е. перекручивая их назад на 45°;
Действия
,
и
(возвратно-поступательное движение) - это один цикл испытаний, который повторяют 25 раз (25 возвратно-поступательных движений).
На рисунке E.2 показаны действия, которые выполняют при испытании упаковки на кручение. Красные и синие линии обозначают левый и правый края упаковки. Треугольники и круги добавлены для демонстрации направлений движений.

Рисунок E.2 - Испытание на кручение
c) Испытание на разрыв
Необходимо попытаться порвать руками ячейку упаковки с дисковым элементом, как показано на рисунке E.3. Для этих целей допускается применять соответствующее оборудование с возможностью прикладывать к образцу усилие не менее 25 Н.

Рисунок E.3 - Испытание на разрыв
d) Испытание на выталкивание
Необходимо попытаться пальцами вытолкнуть дисковый элемент из ячейки упаковки. Для этих целей допускается применять груз массой не менее 5 кг, прикладывая его к образцу в течение 30 с, как показано на рисунке E.4.

Рисунок E.4 - Испытание на выталкивание
E.2.3 Порядок проведения испытаний
Число испытуемых образцов - 10 упаковок. Каждый образец подвергают испытаниям, порядок и число циклов которых приведены в таблице E.1.
|
Этап испытаний |
Метод испытания |
Число циклов испытания | |
|
(1) |
a) |
Испытание на изгиб |
50 |
|
(2) |
b) |
Испытание на кручение |
25 |
|
(3) |
c) |
Испытание на разрыв |
1 |
|
(4) |
b) |
Испытание на кручение |
25 |
|
(5) |
a) |
Испытание на изгиб |
50 |
|
(6) |
c) |
Испытание на разрыв |
1 |
|
(7) |
d) |
Испытание на выталкивание |
1 |
E.2.4 Критерии соответствия
Каждый испытуемый образец должен соответствовать следующим критериям:
a) все дисковые элементы должны оставаться в своей упаковке до конца всех испытаний;
b) упаковка не должна открываться более чем на 6 мм (для круглого отверстия) и 10 мм (для отверстия в виде щели) (см. рисунок E.5). Это необходимо для того, чтобы ребенок не смог вытащить дисковый элемент из его упаковки.

Рисунок E.5 - Допускаемые отверстия в упаковке
Приложение ДА
(справочное)
Таблица ДА.1
|
Обозначение ссылочного международного стандарта |
Степень соответствия |
Обозначение и наименование соответствующего национального стандарта |
|
IEC 60086-1:2015 |
IDT |
ГОСТ Р МЭК 60086-1-2019 "Батареи первичные. Часть 1. Общие требования" |
|
IEC 60086-2:2015 |
IDT |
ГОСТ Р МЭК 60086-2-2019 "Батареи первичные. Часть 2. Физические и электрические характеристики" |
|
Примечание - В настоящей таблице использовано следующее условное обозначение степени соответствия стандартов: - IDT - идентичные стандарты. | ||
Библиография
|
[1] |
IEC 60050-482, International Electrotechnical Vocabulary (IEV) - Part 482: Primary and secondary cells and batteries (available at http://www.electropedia.org) [Международный электротехнический словарь. Часть 482. Первичные и вторичные элементы и батареи (доступен на http://www.electropedia.org)] |
|
[2] |
ISO/IEC Guide 51:2014, Safety aspects - Guidelines for their inclusion in standards (Аспекты безопасности. Руководящие указания по включению их в стандарты) |
|
[3] |
IEC 60068-2-27, Environmental testing - Part 2-27: Tests - Test Ea and guidance: Shock (Испытания на воздействие внешних факторов. Часть 2-27: Испытания. Испытание Ea и руководство: Удар) |
|
[4] |
IEC 60068-2-6, Environmental testing - Part 2-6: Tests - Test Fc: Vibration (sinusoidal) [Испытания на воздействие внешних факторов. Часть 2-6: Испытания. Испытание Fc: Вибрация (синусоидальная)] |
|
[5] |
IEC 60068-2-31, Environmental testing - Part 2-31: Tests - Test Ec: Rough handling shocks, primarily for equipment-type specimens (Испытания на воздействие внешних факторов. Часть 2-31. Испытания. Испытание Ec: Воздействия при грубом обращении, в основном, с образцами аппаратуры) |
|
[6] |
ISO/IEC Guide 50:2014, Safety aspects - Guidelines for child safety in standards and other specifications (Аспекты безопасности. Руководящие указания по обеспечению безопасности детей в стандартах и других спецификациях) |
|
[7] |
ISO 7010:2019, ISO 7010:2019/AMD 2:2020, Graphical symbols - Safety colours and safety signs - Registered safety signs (Символы графические. Цвета и знаки безопасности. Зарегистрированные знаки безопасности) |
|
[8] |
USA:16 CFR §1700.15(b)(1) |
|
[9] |
EN 862, Packaging - Child-resistant packaging - Requirements and testing procedures for non-reclosable packages for non-pharmaceutical products (Упаковка. Упаковка с защитой от детей. Требования и методы испытаний одноразовой упаковки для нефармацевтической продукции) |
|
[10] |
AS 5808-2009, Child-resistant packaging - Requirements and testing procedures for non-reclosable packages for non-pharmaceutical products (Упаковка с защитой от детей. Требования и методы испытаний одноразовой упаковки для нефармацевтической продукции) |
|
[11] |
IEC 60086-3, Primary batteries - Part 3: Watch batteries (Батареи первичные. Часть 3. Батареи для часов) |
|
[12] |
IEC 60086-4, Primary batteries - Part 4: Safety of lithium batteries (Батареи первичные. Часть 4. Безопасность литиевых батарей) |
|
[13] |
ISO 8124-1, Safety of toys - Part 1: Safety aspects related to mechanical and physical properties (Безопасность игрушек. Часть 1. Аспекты безопасности, относящиеся к механическим и физическим свойствам) |


















