ГОСТ Р ИСО 7176-30-2021 КРЕСЛА-КОЛЯСКИ. Часть 30. КРЕСЛА-КОЛЯСКИ, ПРЕДУСМАТРИВАЮЩИЕ ИЗМЕНЕНИЕ ПОЗЫ ПОЛЬЗОВАТЕЛЯ. МЕТОДЫ ИСПЫТАНИЙ И ТРЕБОВАНИЯ
Утв. и введен в действие Приказом Федерального агентства по техническому регулированию и метрологии от 28 мая 2021 г. N 486-ст
Wheelchairs. Part 30: Wheelchairs for changing occupant posture. Test methods and requirements
(ISO 7176-30:2018, IDT)
ОКС 11.180.10
Дата введения - 1 октября 2021 года
Введен впервые
Предисловие
1 ПОДГОТОВЛЕН Федеральным государственным унитарным предприятием "Российский научно-технический центр информации по стандартизации, метрологии и оценке соответствия" (ФГУП "СТАНДАРТИНФОРМ") на основе собственного перевода на русский язык англоязычной версии стандарта, указанного в пункте 4
2 ВНЕСЕН Техническим комитетом по стандартизации ТК 381 "Технические средства и услуги для инвалидов и других маломобильных групп населения"
3 УТВЕРЖДЕН И ВВЕДЕН В ДЕЙСТВИЕ Приказом Федерального агентства по техническому регулированию и метрологии от 28 мая 2021 г. N 486-ст
4 Настоящий стандарт идентичен международному стандарту ИСО 7176-30:2018 "Кресла-коляски. Часть 30. Кресла-коляски, предусматривающие изменение позы пользователя. Методы испытаний и требования" (ISO 7176-30:2018 "Wheelchairs - Part 30: Wheelchairs for changing occupant posture - Test methods and requirements", IDT).
При применении настоящего стандарта рекомендуется использовать вместо ссылочных международных стандартов соответствующие им национальные стандарты, сведения о которых приведены в дополнительном приложении ДА
5 ВВЕДЕН ВПЕРВЫЕ
Правила применения настоящего стандарта установлены в статье 26 Федерального закона от 29 июня 2015 г. N 162-ФЗ "О стандартизации в Российской Федерации". Информация об изменениях к настоящему стандарту публикуется в ежегодном (по состоянию на 1 января текущего года) информационном указателе "Национальные стандарты", а официальный текст изменений и поправок - в ежемесячном информационном указателе "Национальные стандарты". В случае пересмотра (замены) или отмены настоящего стандарта соответствующее уведомление будет опубликовано в ближайшем выпуске ежемесячного информационного указателя "Национальные стандарты". Соответствующая информация, уведомление и тексты размещаются также в информационной системе общего пользования - на официальном сайте Федерального агентства по техническому регулированию и метрологии в сети Интернет (www.gost.ru)
Предисловие к ИСО 7176-30
Международная организация по стандартизации (ИСО) является всемирной федерацией национальных органов по стандартизации (членов ИСО). Разработка международных стандартов, как правило, ведется техническими комитетами ИСО. Любой член ИСО, имеющий интересы в области, для которой был создан технический комитет, имеет право на представительство в этом комитете. Правительственные и неправительственные международные организации, имеющие связи с ИСО, также принимают участие в этой работе. ИСО тесно сотрудничает с Международной электротехнической комиссией (МЭК) по всем вопросам стандартизации в области электротехники.
Процедуры, использованные при разработке настоящего стандарта, а также предусмотренные для его актуализации, описаны в Директивах ИСО/МЭК, часть 1. В частности, следует указывать критерии для утверждения документов ИСО различного типа. Настоящий стандарт издан в соответствии с редакционными правилами, приведенными в Директивах ИСО/МЭК, часть 2 (см. www.iso.org/directives).
Следует обратить внимание на то, что некоторые положения настоящего стандарта могут являться предметом патентных прав. ИСО не несет ответственности за идентификацию таких патентных прав. Подробная информация о любых патентных правах, идентифицированных при разработке настоящего стандарта, указана во введении и/или в перечне патентов, зарегистрированных в ИСО (см. www.iso.org/patents).
Любые торговые марки, указанные в настоящем стандарте, являются информацией, предоставленной для удобства пользователей, что не подразумевает под собой их рекламу, поддержку или одобрение.
Объяснения значений специальных терминов и формулировок ИСО, относящихся к оценке соответствия, а также информацию о соблюдении ИСО принципов Всемирной торговой организации (ВТО) по техническим барьерам в торговле (ТБТ) можно найти по следующему URL-адресу: www.iso.org/ISO/foreword.html.
Данный документ был подготовлен Техническим комитетом ИСО/ТК 173: "Вспомогательные технические средства для лиц с ограниченными возможностями" подкомитетом ПК 1 "Кресла-коляски".
Перечень всех частей серии ИСО 7176 можно найти на веб-сайте ИСО.
Любые комментарии или вопросы пользователей, касающиеся данного документа, следует направлять в соответствующий национальный орган по стандартизации. Полный перечень этих органов можно найти по адресу www.iso.org/members.html.
Введение
Чтобы принять правильное решение при выборе кресла-коляски для людей с ограничениями жизнедеятельности и/или для пожилых людей, следует учитывать такой важный фактор, как кресла-коляски, конструкция которых позволяет изменять позу пользователя кресла-коляски по отношению к земле в одной или нескольких плоскостях. Такие кресла-коляски и их регулируемая система поддержания позы пользователя могут позволить пользователю кресла-коляски лучше приспособиться к окружающим условиям или помочь ему изменить распределение давления и/или положение тела.
Конструктивные характеристики таких кресел-колясок включают в себя, помимо прочего, следующие функции:
- регулирование угла наклона опоры спины;
- регулирование угла наклона плоскости сиденья;
- регулирование высоты поверхности сиденья кресла-коляски в вертикальной плоскости;
- регулирование кресла для поддержания тела в положении стоя (при котором можно регулировать положение опоры спины, поверхности сиденья, опоры для рук, опоры нижних частей ног и стоп так, чтобы поддерживать пользователя кресла-коляски в положении стоя).
Настоящий стандарт распространяется на кресла-коляски с ручным приводом и/или с электроприводом, в конструкции которых применяется система поддержания позы пользователя, позволяющая изменять позу пользователя, находящегося в кресле-коляске, либо вручную, либо при помощи электропривода самим пользователем или его сопровождающим лицом в процессе обычного использования кресла-коляски.
Примечание - Для того чтобы конструктивные компоненты системы поддержания позы пользователя могли функционировать (откидываться, наклоняться, подниматься и/или вертикально выпрямляться), кресло-коляска должно быть дополнительно оснащено механизмами и техническими устройствами. К техническим устройствам, позволяющим реализовать эти функции, относится механизм регулировки угла наклона опоры спины, механизм регулировки угла наклона плоскости сиденья, механизм регулировки высоты подъема поверхности сиденья и механизм регулировки кресла-коляски для поддержания тела пользователя в положении стоя. Для обеспечения реализации указанных функций возможна комбинация таких механизмов. В настоящем стандарте приведены различные функциональные и прочностные тесты, необходимые для испытания таких кресел-колясок для критических конфигураций в пределах их регулируемого диапазона.
В настоящем стандарте определены (приведены) общие требования и методы испытаний кресел-колясок, оснащенных системой поддержания позы пользователя.
Настоящий стандарт не распространяется на кресла-коляски, у которых единственной регулируемой оператором системой поддержания позы (РОСПП) являются регулируемые опорные устройства для поддержания положения конечностей или головы (например, подъемные опоры ног).
В настоящем стандарте не рассматривается адаптирование кресла-коляски и устройства для поддержания позы человека к специфическим потребностям (кастомизация), которое выполняется при первоначальной или последующей настройке кресла-коляски под конкретного пользователя. В стандарте также не рассматриваются другие факторы, которые могут влиять на устойчивость кресла-коляски, такие как движения пользователя, находящегося в кресле-коляске, толщина подушки и добавление вспомогательного оборудования (например, средств респираторной поддержки).
В настоящем стандарте использованы нормативные ссылки на следующие стандарты. Для датированных ссылок применяют только указанное издание ссылочного стандарта, для недатированных - последнее издание (включая любые изменения).
ISO 7176-1:2014, Wheelchairs - Part 1: Determination of static stability (Кресла-коляски. Часть 1. Определение статической устойчивости)
ISO 7176-2:2017, Wheelchairs - Part 2: Determination of dynamic stability of electrically powered wheelchairs (Кресла-коляски. Часть 2. Определение динамической устойчивости кресел-колясок с электроприводом)
ISO 7176-3:2012, Wheelchairs - Part 3: Determination of effectiveness of brakes (Кресла-коляски. Часть 3. Определение эффективности действия тормозной системы)
ISO 7176-4:2008, Wheelchairs - Part 4: Energy consumption of electric wheelchairs and scooters for determination of theoretical distance range (Кресла-коляски. Часть 4. Определение запаса хода кресел-колясок с электроприводом и скутеров путем измерения расхода энергии)
ISO 7176-5:2008, Wheelchairs - Part 5: Determination of dimensions, mass and manoeuvring space (Кресла-коляски. Часть 5. Определение размеров, массы и площади для маневрирования)
ISO 7176-6:2001 <1>, Wheelchairs - Part 6: Determination of maximum speed of electrically powered wheelchairs (Кресла-коляски. Часть 6. Определение максимальной скорости кресел-колясок с электроприводом)
--------------------------------
<1> Заменен на ИСО 7176-6:2018. Однако для однозначного соблюдения требования настоящего стандарта, выраженного в датированной ссылке, рекомендуется использовать только указанное в этой ссылке издание.
ISO 7176-8:2014, Wheelchairs - Part 8: Requirements and test methods for static, impact and fatigue strengths (Кресла-коляски. Часть 8. Требования и методы испытаний на статическую, ударную и усталостную прочность)
ISO 7176-9, Wheelchairs - Part 9: Climatic tests for electric wheelchairs (Кресла-коляски. Часть 9. Климатические испытания кресел-колясок с электроприводом)
ISO 7176-10, Wheelchairs - Part 10: Determination of obstacle-climbing ability of electrically powered wheelchairs (Кресла-коляски. Часть 10. Определение способности кресел-колясок с электроприводом преодолевать препятствия)
ISO 7176-11, Wheelchairs - Part 11: Test dummies (Кресла-коляски. Часть 11. Манекены для испытаний)
ISO 7176-14, Wheelchairs - Part 14: Power and control systems for electrically powered wheelchairs and scooters - Requirements and test methods (Кресла-коляски. Часть 14. Системы электропитания и системы управления кресел-колясок с электроприводом и скутеров с электроприводом. Требования и методы испытаний)
ISO 7176-15, Wheelchairs - Part 15: Requirements for information disclosure, documentation and labelling (Кресла-коляски. Часть 15. Требования к документации и маркировке для обеспечения доступности информации)
ISO 7176-19, Wheelchairs - Part 19: Wheeled mobility devices for use as seats in motor vehicles (Кресла-коляски. Часть 19. Колесные передвижные устройства, используемые в качестве сиденья в транспортных средствах)
ISO 7176-21, Wheelchairs - Part 21: Requirements and test methods for electromagnetic compatibility of electrically powered wheelchairs and scooters, and battery chargers (Кресла-коляски. Часть 21. Требования и методы испытаний для обеспечения электромагнитной совместимости кресел-колясок с электроприводом и скутеров с электроприводом и их зарядных устройств)
ISO 7176-25, Wheelchairs - Part 25: Batteries and chargers for powered wheelchairs (Кресла-коляски. Часть 25. Аккумуляторные батареи и зарядные устройства для кресел-колясок с электроприводом)
ISO 7176-26, Wheelchairs - Part 26: Vocabulary (Кресла-коляски. Часть 26. Словарь)
ISO 16840-3:2014, Wheelchair seating - Part 3: Determination of static, impact and repetitive load strengths for postural support devices (Сиденья кресел-колясок. Часть 3. Определение статической, ударной и усталостной прочности устройств, поддерживающих положение тела)
В настоящем стандарте применены термины и определения, приведенные в ИСО 7176-26, а также приведенные ниже термины с соответствующими определениями.
Для использования при проведении стандартизации ИСО и МЭК поддерживают терминологические базы данных, находящиеся по следующим адресам:
- платформа онлайн-просмотра ИСО: доступна по адресу http://www.iso.org/obp;
- Электропедия МЭК: доступна по адресу http://www.electropedia.org/.
3.1 регулируемая оператором система поддержания позы; РОСПП (operator adjustable body support system OABSS): Система поддержания позы человека, регулируемая без применения инструментов во время нахождения пользователя в кресле-коляске и позволяющая изменять его позу.
Примечание - К РОСПП относятся системы регулировки наклона опоры спины, регулировки наклона плоскости сиденья, регулировки высоты подъема поверхности сиденья и регулировки кресла-коляски для поддержания тела пользователя в положении стоя, но не относятся взятые отдельно регулируемые опорные устройства для поддержания положения конечностей или головы (например, подъемные опоры ног).
3.2 механизм (mechanism): Система, в которую входят устройства для перемещения элементов РОСПП (3.1) из одного положения в другое.
Примечание - Для реализации некоторых функций механизм может перемещать несколько устройств для поддержания позы (например, система регулировки кресла-коляски для поддержания тела в положении стоя может перемещать верхнюю опору туловища и нижнюю опору ног), а для реализации других функций механизм может перемещать только одно устройство (например, механическую конструкцию регулирования наклона опоры спины, с помощью которой можно изменять угол наклона опоры спины).
3.3 исходная конфигурация для положения сидя; ИКС (seated reference configuration SRC): Исходная конфигурация системы поддержания позы, при которой не используются регулирующие механизмы РОСПП.
Примечание 1 - Испытательный манекен размещается в позе, близкой к исходному положению сидя, как определено в ИСО 16840-1.
Примечание 2 - В этой конфигурации системы поддержания позы наиболее точно соответствуют требованиям к установке кресла-коляски для проведения испытаний, приведенных в ИСО 7176-22
Примечание 3 - Если система поддержания позы поднимается, то регулируют высоту ее подъема так, чтобы после соответствующей регулировки опор для ног получить дорожный просвет (клиренс) 50 мм под подножками для стоп.
3.4 конфигурация с максимальными отклонениями от ИКС; КМО (maximum adjustment configuration MAC): Конфигурация РОСПП (3.1), которая имеет наибольшее отличие от ИКС (3.3) в пределах нормальных анатомических движений человека (вплоть до полного разгибания всех суставов), и в этом положении регулируется в соответствии с наибольшей высотой центра масс тела человека, находящегося в кресле-коляске.
Примечание - При изменении угла наклона плоскости сиденья кресла-коляски для достижения данной конфигурации может быть получен максимально возможный поворот РОСПП в обратном направлении.
3.5 предельная конфигурация, обеспечивающая перемещение; ПКП (maximum driveable configuration MDC): Конфигурация РОСПП, наиболее близкая к КМО (3.4), которая все еще позволяет оператору эффективно перемещать кресло-коляску в горизонтальной плоскости для изменения ее местоположения.
Примечание 1 - Такие конфигурации описаны изготовителем и указаны в инструкции для оператора.
Примечание 2 - К ПКП (3.5) не относятся настройки снижения скорости, которые позволяют оператору слегка корректировать положение кресла-коляски относительно неподвижного объекта (например, при приближении к скамье).
3.6 стабилизирующее устройство (stabilizing device): Установленное на кресле-коляске приспособление, которое может быть приведено в рабочее положение (оператором или автоматически) для увеличения опорной поверхности (области, охватывающей все точки соприкосновения с землей) с целью повышения статической устойчивости кресла-коляски.
Испытание различных конфигураций, которые указаны в настоящем стандарте, требует тщательного планирования для оптимизации эффективности тестов. В некоторых случаях испытания, выполненные для одной конфигурации, могут автоматически соответствовать требованиям другой конфигурации. Некоторые протоколы испытаний ориентированы на тестирование характеристик и параметров РОСПП и их влияния на эксплуатационные характеристики кресла-коляски в целом, в то время как другие протоколы фокусируются на требованиях к отдельным системам.
При проведении испытаний на испытательном стенде в протоколе испытаний должно быть приведено обоснование того, что данная конкретная конфигурация соответствует требованиям другой конфигурации. На испытательных стендах должна осуществляться регистрация того, как был получен искомый результат для каждой схемы испытаний в выбранной конфигурации РОСПП.
Пример - Конфигурация: наименее устойчивая - передняя; типовые регулировки - выдвижение и подъем опор ног, минимальное откидывание опоры спины и максимальный наклон плоскости сиденья вперед, общий центр масс максимально приближен к передним колесикам.
Выбирают испытательный манекен или человека-испытателя, как указано в ИСО 7176-11, массой, равной максимальной массе пользователя кресла-коляски, указанной изготовителем для всех случаев, кроме испытания на статическую устойчивость. До тех пор, пока ИСО 7176-11 не пересмотрен с целью включения рекомендаций, касающихся центров масс для испытательных манекенов в положении лежа, определение "наименее устойчивой конфигурации" при испытаниях на статическую устойчивость (см. 5.2 в настоящем стандарте) будет проводиться при использовании испытательного манекена с массой 100 кг или с максимально допустимой массой. В связи с этим должны быть проверены оба этих случая.
При проведении испытаний манекен должен быть зафиксирован при помощи средств поддержания (опор) для сегментов колено/голень, бедро/туловище, и при помощи любых других опор, предусмотренных на креслах-колясках для изменения позы пользователя. Если эти опоры не обеспечивают надежного поддержания испытательного манекена, то в тех местах, где это необходимо, можно использовать эластичные ремни с модулем упругости от 2 до 5 Н/мм.
Вместо испытательного манекена может быть использован человек-испытатель. Масса и распределение массы человека, находящегося в кресле-коляске, должны находиться в пределах допусков, указанных в ИСО 7176-11. Это может быть достигнуто путем добавления дополнительных грузов к человеку.
ВНИМАНИЕ! В тех случаях, когда проводят испытания с участием человека, необходимо принять соответствующие предупредительные меры по обеспечению его безопасности.
Подготавливают кресло-коляску вместе с испытательным манекеном или человеком, как указано в 4.2.
Выбирают конфигурацию РОСПП, наиболее близкую к КМО, которая все еще позволяет перемещение кресла-коляски в горизонтальной плоскости. Кроме того, эта конфигурация должна позволять:
- преодолевать препятствие (в виде ступеньки) высотой (10 ± 2) мм,
- для кресел-колясок с электроприводом - достигать скорости более 0,2 м/с.
В ИСО 7176-10 задана номинальная начальная высота препятствия, равная 10 мм. Если выбирают другую высоту, это должно быть указано в протоколе испытаний рядом с описанием ПКП. Если возможно выбрать несколько конфигураций, то несколько соответствующих КМО следует оценивать с использованием повторяющегося подхода в тех случаях, когда это необходимо.
Если движение кресла-коляски происходит в режиме свободного хода, то его перемещение не рассматривается в рамках определения предельной конфигурации, обеспечивающей перемещение (то есть при проведении испытания редукторы/моторы должны быть задействованы в течение всего испытания).
Если в руководстве по эксплуатации требуется зафиксировать кресло-коляску при помощи стояночного тормоза перед началом регулировки конкретной РОСПП, то такое кресло-коляска не способно перемещаться в горизонтальной плоскости при проведении данной регулировки и не рассматривается при определении конфигурации.
Регистрируют настройки кресла-коляски в данной выбранной конфигурации как предельную конфигурацию, обеспечивающую перемещение (ПКП).
Испытания кресел-колясок следует проводить в соответствии с указаниями, приведенными в серии стандарта ИСО 7176 в любом их порядке, хотя большинство лабораторий остановят свой выбор на ИСО 7176-8, чтобы провести испытания готового изделия.
Если кресло-коляска соответствует нескольким предельным конфигурациям (полная вертикализация для поддержания человека в положении стоя или же полное откидывание опоры спины назад в горизонтальное положение), то испытания должны быть проведены для нескольких применяемых вариантов предельных конфигураций КМО или ПКП, за исключением тех случаев, когда комбинация определенных конфигураций невозможна.
В тех случаях, когда несколько предельных конфигураций невозможно использовать в комбинации, или когда они не рекомендуются изготовителем (и эти рекомендации изготовителя четко указывают при помощи соответствующей маркировки), тогда кресло-коляска должно быть испытано при максимальном рекомендуемом наклоне, подъеме или вертикализации, указанных изготовителем. Такие конфигурации испытаний должны быть четко задокументированы в протоколе испытаний.
Отключение блокировок не требуется.
Этот раздел применяют ко всем креслам-коляскам, позволяющим выполнять изменение позы человека, находящегося в кресле-коляске.
Проводят испытания кресла-коляски в соответствии с ИСО 7176-1 со следующими изменениями:
a) добавляют конфигурации из таблицы 1 настоящего стандарта, в которой перечислены дополнительные конфигурации для испытания на статическую устойчивость по ИСО 7176-1 (таблицы 1 - 3 ИСО 7176-1).
|
Регулируемый компонент кресла-коляски |
Наименее устойчивая конфигурация |
Наиболее устойчивая конфигурация |
|
Система поддержки (и фиксации), поддерживающая пользователя креслом-коляской в стоячем положении |
Регулировка кресла-коляски для поддержания тела в положении стоя в полный рост |
Регулировка кресла-коляски для поддержания тела в положении сидя |
|
Система подъема всего тела с поддержанием позы человека |
Наибольшая высота подъема |
Наименьшая высота подъема |
|
Поддержание пользователя в вертикальном положении стоя с полностью разогнутыми тазобедренными и коленными суставами (если это возможно). Поддержание пользователя в обычном положении сидя - тазобедренный и коленный суставы зафиксированы под углом примерно 90°. | ||
b) в случае, если на кресле-коляске установлены стабилизирующие устройства в определенных конфигурациях:
1) "наименее устойчивая конфигурация" может возникнуть до того, как эти устройства соприкоснутся с землей;
2) устойчивость, оцениваемая согласно соответствующему пункту ИСО 7176-1, должна быть зарегистрирована в этой "наименее устойчивой конфигурации", и затем оценена еще раз, когда кресло-коляска находится в конфигурации с максимальными отклонениями от исходной и с полностью приведенными в рабочее положение стабилизирующими устройствами;
3) если оператор может отключать развертывание стабилизирующих устройств в рабочее положение или может удалить их (без использования инструментов), каждое соответствующее испытание, указанное в ИСО 7176-1, должно быть повторено в "наименее устойчивой конфигурации" без приведения стабилизирующих устройств в рабочее положение;
4) заменяют таблицу 4 из ИСО 7176-1 на таблицу 2 из настоящего стандарта, в которой перечислены результаты испытаний на статическую устойчивость для РОСПП.
|
Угол опрокидывания кресла-коляски (градусы) | ||||
|
Устойчивость по направлению |
Наименее устойчивая конфигурация кресла-коляски |
Наиболее устойчивая конфигурация кресла-коляски |
Наименее устойчивая конфигурация кресла-коляски - без стабилизаторов | |
|
Передняя (направление - вперед) |
Передние колеса заблокированы | |||
|
Передние колеса разблокированы | ||||
|
Задняя (направление - назад) |
Задние колеса заблокированы | |||
|
Задние колеса разблокированы | ||||
|
Боковая (направление - в сторону) |
Левая сторона | |||
|
Правая сторона | ||||
|
Предельный угол наклона для антиопрокидывающего устройства | ||||
|
Устойчивость по направлению |
Наименее эффективная конфигурация устройства |
Наиболее эффективная конфигурация устройства |
Устройство предотвращает опрокидывание? | |
|
Антиопрокидывающее устройство |
Задняя (направление - назад) | |||
|
Передняя (направление - вперед) | ||||
|
Указывают, работала ли какая-либо система активной стабилизации (обеспечения устойчивости) во время проведения какого-либо испытания, и вносят соответствующие комментарии в приведенную выше таблицу. -------------------------------- С заблокированными колесами, снабженными блокировкой. С креслом-коляской в "наименее устойчивой конфигурации" (см. ИСО 7176-1, 11.2.2 и 11.2.3). | ||||
Проводят испытания кресла-коляски с электроприводом в соответствии с ИСО 7176-2 со следующими изменениями:
a) добавляют конфигурации из таблицы 3 настоящего стандарта, в которой перечислены дополнительные конфигурации для испытания на динамическую устойчивость в соответствии с ИСО 7176-2 [в таблицы 1 - 3 (задняя, передняя и боковая устойчивость)];
|
Регулируемый компонент кресла-коляски |
Наименее устойчивая конфигурация кресла-коляски |
|
Система поддержки (и фиксации), поддерживающая пользователя коляски в положении стоя |
Предельная конфигурация, обеспечивающая перемещение (ПКП) |
|
Система подъема всего тела с поддержанием позы человека |
ПКП; для систем ограничения скорости может потребоваться повторение для определения "наименее устойчивой конфигурации" |
|
Примечание - В большинстве случаев "наименьшая устойчивость" при движении будет в ПКП из-за максимальной скорости, которая может быть достигнута, но в некоторых случаях кресла-коляски менее динамически устойчивы при их использовании в режиме ползучего хода (режиме стабилизации хода с ограничением скорости при движении по дорогам с плохим покрытием), что можно проверить с помощью тестирования. | |
b) в случае, если на кресле-коляске установлены стабилизирующие устройства в определенных конфигурациях:
1) "наименее устойчивая конфигурация" может возникнуть до того, как эти устройства соприкоснутся с землей;
2) устойчивость, оцениваемая согласно соответствующему параграфу ИСО 7176-2, должна быть зарегистрирована в этой "наименее устойчивой конфигурации" и затем оценена еще раз, когда кресло-коляска находится в предельной конфигурации, обеспечивающей перемещение, и с полностью приведенными в рабочее положение стабилизирующими устройствами;
3) если оператор может отключать развертывание стабилизирующих устройств в рабочее положение, каждое соответствующее испытание, указанное в ИСО 7176-2, должно быть повторено в "наименее устойчивой конфигурации" без приведения стабилизирующих устройств в рабочее положение;
c) в тех случаях, когда кресло-коляска имеет несколько РОСПП, которые можно испытать вместе, чтобы сформировать "наименее устойчивую конфигурацию", проводят их испытание совместно. Если невозможно провести их совместное испытание, РОСПП следует испытывать отдельно. Все другие "наименее устойчивые конфигурации", перечисленные в таблицах 1 - 3 ИСО 7176-2, должны быть, по возможности, испытаны вместе.
Пример - Регулировка величины наклона, откидывания или подъема до определенного положения не может быть выполнена, если кресло-коляска отрегулировано для поддержания тела в положении стоя в полный рост.
Проводят испытания кресла-коляски в соответствии с ИСО 7176-3 со следующими изменениями:
Для кресел-колясок с электроприводом повторяют испытания, указанные в 7.3 - 7.5 ИСО 7176-3 для регулируемой оператором системы поддержания позы (РОСПП) в предельной конфигурации, обеспечивающей перемещение (ПКП).
Проводят испытания кресла-коляски в соответствии с ИСО 7176-5 со следующими изменениями:
a) измеряют максимальную общую высоту, ширину и длину кресла-коляски в следующих конфигурациях: ИКС, КМО, ПКП;
b) измеряют размеры, указанные в 9.3 ИСО 7176-5 для ПКП.
5.6.1 Общие положения
В случае, когда ПКП отличается от ИКС, проводят испытания кресла-коляски в соответствии с разделами 8, 9 и 10 ИСО 7176-8 с приведенными ниже дополнениями (см. 5.6.2 и 5.6.3).
5.6.2 Испытания прочности на мультибарабанном стенде
Используют требования, приведенные в стандарте ИСО 7176-8, с изменениями, которые следует внести в 6.1 и 10.3.2 ИСО 7176-8. Эти изменения приведены ниже.
Заменяют 2-й абзац в 6.1 ИСО 7176-8 следующим текстом:
"На кресле-коляске с регулирующими механизмами РОСПП проводят регулировку всех механизмов так, чтобы вывести их из любых положений блокировки или аналогичных положений состыковки ("связки") (например, наклоняют систему поддержки сиденья/опоры спины так, чтобы механизм нес нагрузку системы регулировки сиденья), но не более чем на 5° их углового отклонения или 10 мм их линейного перемещения, в зависимости от типа исполнительного механизма/перемещения. Если инвалидная коляска с электроприводом не будет двигаться в этом положении, уменьшите наклон до тех пор, пока это не произойдет".
Заменяют 10.3.2 ИСО 7176-8 следующим текстом:
"Включают в работу испытательный стенд и продолжают испытания до тех пор, пока "базовый барабан" испытательного стенда не совершит 200 000 оборотов.
Если кресло-коляска движется не только в конфигурации ИКС, но и в других режимах, предусматривающих конфигурации с регулировкой высоты подъема поверхности сиденья, регулировкой кресла для поддержания тела в положении стоя, регулировкой наклона опоры спины или регулировкой наклона плоскости сиденья, то кресло-коляска должно пройти испытание на мультибарабанном стенде в течение 10% от периода времени, в пределах которого оно движется в каждой из этих конфигураций на максимальной скорости. Испытания на мультибарабанном стенде следует проводить при линейной скорости поверхности вращения барабана 1 м/с. Если кресло-коляска переходит в режим движения на пониженной скорости при выполненном подъеме поверхности сиденья, при вертикализации кресла для поддержания тела в положении стоя, при откинутой спинке или наклоне плоскости сиденья, то и испытания на мультибарабанном стенде следует проводить при пониженной скорости. Тестовая скорость вращения барабана должна быть уменьшена с 1 м/с в том же процентном соотношении, что и уменьшение скорости кресла-коляски. Испытания при эксплуатационном режиме (нормальные испытания) должны быть выполнены в первую очередь.
Если скорость стенда совпадает с резонансной частотой кресла-коляски, регулируют скорость в пределах разрешенного допуска, чтобы избежать резонанса.
Для кресел-колясок с ручным управлением в конфигурации ИКС также должны проводить испытания на мультибарабанном стенде при линейной скорости поверхности вращения барабана 1 м/с. Испытания при пониженной скорости проводят только для кресел-колясок в конфигурации РОСПП. Снижение скорости должно составлять 30%.
Если изготовитель заявляет, что кресло-коляска превышает минимальные требования, следует продлить испытание до завершения заявленного числа циклов".
Примечание - Снижение скорости на 30% уменьшит энергию ударов планок на 50%.
Например, кресло-коляска, которое имеет регулировки уменьшения скорости для режимов движения при наклоне плоскости сиденья, откинутой опоры спины кресла-коляски, поднятом сиденье и при вертикализации кресла-коляски, должно проходить испытания на стенде в каждом из этих режимов в процентном соотношении, равном 10% от полного количества циклов, что будет составлять 40% циклов. Если кресло-коляска может двигаться на полной (максимальной) скорости при определенном наклоне плоскости сиденья, откидывании опоры спины кресла-коляски и с поднятым сиденьем, то оно также должно проходить испытания в каждом из этих режимов в количественном соотношении, равном 10% от полного количества циклов, что составит еще 30% циклов. Таким образом, оставшееся количество циклов испытаний в режиме максимальной скорости для конфигурации ИКС будет составлять 30%.
5.6.3 Испытание сиденья на ударную прочность. Методика испытания
a) Если угол наклона плоскости сиденья регулируется, этот угол должен быть установлен так, чтобы он составлял 5° ± 2°. В противном случае устанавливают сиденье в исходной конфигурации для положения сидя (ИКС).
b) Удар наносят в точку, расположенную на расстоянии (75 ± 25) мм от переднего края поверхности сиденья.
c) Ударный маятник должен быть таким, как описано в 5.5 ИСО 7176-8:2014, и должен опускаться на поверхность сиденья перпендикулярно к этой поверхности.
Методика испытания должна быть следующей:
a) устанавливают испытуемое кресло-коляску на ровной поверхности. Самоориентирующиеся колеса не должны быть закреплены, но ведущие колеса должны быть закреплены таким образом, чтобы ударная нагрузка могла прикладываться перпендикулярно к поверхности сиденья, как показано на рисунке 1;
b) поднимают ударный маятник на высоту 180 мм от поверхности сиденья, подвергаемой ударному воздействию, и отпускают маятник, чтобы произвести удар по сиденью.
c) повторяют это действие 10 раз.

1 - стопор
Рисунок 1 - Испытание сиденья на ударную прочность
Если изготовитель указывает, что предполагаемое использование кресла-коляски включает в себя использование в качестве сиденья в транспортном средстве (автомобиле) для человека с массой тела, равной или превышающей 22 кг, то такое кресло-коляска должно соответствовать эксплуатационным требованиям ИСО 7176-19.
Кресла-коляски с регулируемой оператором системой поддержания тела (РОСПП) должны быть проверены в транспортном положении (положении, в котором они находятся в транспортном средстве), указанном изготовителем.
Соответствие ИСО 7176-19 можно продемонстрировать путем типовых испытаний какой-либо модификации модели той же марки.
Примечание - Общепризнано, что испытание одного образца не означает, что каждая модификация данной модели кресла-коляски будет демонстрировать точно такое же поведение в аварийных ситуациях. Тем не менее, следует признать, что изготовители не могут самостоятельно протестировать каждый вариант данной модели кресла-коляски.
Таким образом, предполагается, что изготовители кресел-колясок будут сами испытывать подходящий репрезентативный образец (или образцы). Если изготовители делают какие-либо последующие заявления о соответствии, они гарантируют, что испытательный образец в достаточной мере представляет вариант модели, соответствие которой заявлено. Соответствие следует определять при критической оценке проектных данных с учетом конструктивных параметров и вариантов, которые изменяют конструктивные характеристики кресла-коляски. В тех случаях, когда сделаны репрезентативные допущения (ориентировочные расчеты), изготовители гарантируют, что достаточные коэффициенты надежности будут включены в критические элементы конструкции.
Кроме того, по запросу изготовители кресла-коляски предоставляют подробную информацию о конфигурации, опциях и настройках испытательного образца поставщикам и/или покупателям.
Проводят испытания кресла-коляски, оборудованной РОСПП с электрическим приводом, в соответствии с ИСО 7176-9.
Проводят испытания опоры спины в соответствии с 9.4 ИСО 16840-3 со следующими изменениями:
a) проводят испытания опоры спины в исходной конфигурации для положения сидя (ИКС). В каркасе кресла-коляски, устанавливают жесткий упор для задних колес кресла-коляски с наклоном плоскости сиденья и/или откинутой опорой спины и прикрепляют ограничитель к передней части рамы, чтобы предотвратить опрокидывание кресла-коляски назад из положения равновесия.
b) проводят испытания до достижения 1000 циклов.
Это испытание должно быть выполнено в тех случаях, когда какая-либо РОСПП имеет в своем составе рычаг (или рычаги). Методику испытаний следует выполнять так, как указано в приложении А ИСО 7176-3. Все рычаги и элементы регулирования, используемые оператором, должны соответствовать приведенным ниже требованиям.
Если устройства для поддержания позы человека предназначены для регулировки оператором в то время, когда система сиденья (система поддержания позы в положении сидя) занята пользователем, то для всех соответствующих регулирующих элементов (рычагов) не должно требоваться:
a) отсоединение какого-либо компонента,
b) использование инструментов для выполнения регулировки,
c) применение усилия в направлении, перпендикулярном к направлению движения, которое превышает:
- 60 Н при комбинированном воздействии кистью и рукой;
- 13,5 Н при воздействии одной рукой;
- 5 Н при воздействии одним пальцем;
- 100 Н при толкающем воздействии ногой;
- 60 Н при тянущем воздействии ногой.
Если не очевидно, как осуществлять требуемую регулировку, то регулирующее действие должно быть указано в руководстве для пользователя и/или в маркировке на кресле-коляске.
Примечание - Прикладываемые усилия, указанные в этом пункте, определены на основании ИСО 9355-3, в котором приведено максимальное рекомендуемое усилие для нормального взрослого человека с учетом направления приложения усилия.
Кресла-коляски должны соответствовать требованиям ИСО 7176-14, ИСО 7176-21 и ИСО 7176-25.
Проводят испытания кресла-коляски в соответствии с ИСО 7176-4, добавив либо 6.2.1, либо 6.2.2, в зависимости от типа батареи кресла-коляски с электроприводом.
6.2.1 Для РОСПП, которые используют источник питания совместно с системой электропривода кресла-коляски, необходима корректировка теоретического запаса хода.
a) После завершения испытания, описанного в 7.2 ИСО 7176-4, повторно выполняют подготовку кресла-коляски так, как указано в разделе 6 ИСО 7176-4.
b) Поочередно приводят в действие каждое электроприводное регулирующее устройство системы поддержания и изменения позы, выведя их из положений блокировки и положений, соответствующих исходной конфигурации для положения сидя ИКС, и переведя их в положения, соответствующие конфигурации с максимальными отклонениями от исходной КМО. Затем поочередно поворачивают каждый из исполнительных механизмов в обратном направлении, чтобы вернуть РОСПП в исходное положение. Это представляет собой полный цикл изменения позы.
c) Повторяют действия, описанные в перечислении b) 20 раз (выполнив 20 полных циклов).
d) Регистрируют общий расход энергии, затраченной креслом-коляской, выраженный в ватт-часах (Вт-ч).
Примечание - Общее значение в ампер-часах для 20 полных циклов (P) обычно представляет собой количество электричества (в ампер-часах), потребляемое в течение одного дня при штатном использовании механизмов, применяемых для изменения позы человека в кресле-коляске.
e) Получают данные в соответствии с процедурой, описанной в ИСО 7176-4, и представляют их так, как требует протокол испытаний (расчетный запас хода кресла-коляски (км) и емкость аккумуляторной батареи (Вт-ч) для времени разрядки 5 часов).
f) Рассчитывают уменьшение запаса хода по следующей формуле:
Rr = RcEa/EBAT,
где Rr - уменьшение запаса хода кресла-коляски с РОСПП, возникшее в результате одного дня обычного использования кресла-коляски, км;
Ea - суммарная электроэнергия, потребляемая за один день штатного использования исполнительных механизмов РОСПП, Вт-ч;
Rc - теоретический запас хода при непрерывном движении кресла-коляски, км;
EBAT - номинальная емкость комплекта аккумуляторных батарей кресла-коляски, Вт-ч, в соответствии с ИСО 7176-4.
g) Регистрируют результаты.
6.2.2 Для РОСПП, которые имеют отдельный источник питания, предназначенный для РОСПП, необходимо количество теоретических циклов.
a) Выполняют действия, описанные в перечислениях a) и b) 6.2.1
b) Регистрируют общий расход энергии, потребленной механизмами РОСПП, Вт-ч.
c) Рассчитывают количество циклов изменения позы при полном заряде аккумуляторной батареи по следующей формуле:
S = EBAT/Ecycle,
где S - количество полных циклов изменения позы при полном заряде аккумуляторной батареи;
Ecycle - суммарная электроэнергия, потребляемая за полный цикл использования механизма, позволяющего изменять позу человека, находящегося в кресле-коляске, Вт-ч.
Проводят испытания кресла-коляски в соответствии с ИСО 7176-6 со следующими дополнениями:
a) повторяют испытания, указанные в разделе 6, для всех применяемых регулируемых оператором систем поддержания позы (РОСПП) в предельной конфигурации, обеспечивающей перемещение (ПКП), указанной изготовителем;
b) заменяют таблицу 1 из ИСО 7176-6 на таблицу 4 из настоящего стандарта, в которой перечислены дополнительные конфигурации для определения максимальной скорости кресел-колясок с электроприводом в соответствии с ИСО 7176-6.
|
ИКС |
ПКП1 |
ПКП2 | ||
|
Максимальная скорость (vmax), м/с |
Передний ход, по горизонтальной плоскости | |||
|
Задний ход, по горизонтальной плоскости | ||||
|
Конфигурации ПКП1, ПКП2 представляют собой две разные возможные предельные конфигурации, обеспечивающие перемещение при нескольких предельных регулировках контроля положения тела. Если имеется более двух ПКП, добавляют в таблицу дополнительные графы и обозначают их соответствующим образом. | ||||
Проводят испытания кресла-коляски в соответствии с ИСО 7176-10 со следующими дополнениями:
a) повторяют испытание для соответствующей ПКП в условиях подъема на тестовое препятствие и спуска с тестового препятствия, чтобы определить максимальную высоту препятствия, которую кресло-коляска способно безопасно преодолеть;
b) указывают достигнутую высоту препятствия в миллиметрах.
Кресло-коляска, загруженное пользователем, часто может быть при маневрировании слегка опрокинуто назад сопровождающим пользователя лицом. При таком опрокидывающем действии может создаваться значительная нагрузка на опору спины и связанные с ней компоненты. Важно, чтобы кресло-коляска, которую можно наклонять таким образом, могло выдерживать многократно повторяющиеся опрокидывающие воздействия без повреждений.
Это требование применяют только к креслам-коляскам, максимальная масса пользователя которых не превышает 150 кг, и предполагаемое использование которых допускает наклон загруженного кресла-коляски назад относительно осей задних колес с помощью ручек кресла-коляски.
После того, как кресло-коляска пройдет испытания, указанные в 7.1.3, ни одна составная часть опоры спины не должна быть смещена со своей предварительно установленной позиции, и кресло-коляска должно соответствовать требованиям 4.1 ИСО 7176-8.
a) Приводят кресло-коляску в исходную конфигурацию для положения сидя (ИКС).
b) Если положение оси задних колес регулируется, устанавливают оси в крайнее заднее и в самое верхнее положение относительно рамы в соответствии с инструкциями по эксплуатации, полученными от изготовителя. Если положение передних колес регулируется, устанавливают их в крайнее переднее положение в соответствии с инструкциями, полученными от изготовителя.
c) Регулировку высоты передних самоориентирующихся колес проводят в соответствии с положением задних колес, чтобы угол наклона плоскости сиденья составлял 4°, или как можно ближе к 4°.
d) Если положение опоры спины кресла и/или ручек кресла-коляски регулируется, устанавливают их на максимальную высоту в соответствии с инструкциями изготовителя.
e) Обеспечивают свободное вращение задних колес. Это можно сделать, например, посредством отсоединения стояночных тормозов.
f) При помощи соответствующих средств фиксируют задние колеса так, чтобы кресло-коляску можно было наклонять назад относительно осей задних колес без их перемещения.
g) Прикрепляют к ручкам кресла-коляски приспособления, позволяющие выполнить его наклон и при этом прикладывать усилия горизонтально, в направлении, противоположном направлению движения вперед (см. рисунок 2). Усилие прикладывают так, чтобы вектор результирующей силы проходил посередине между ручками кресла-коляски. Прикрепленные приспособления не должны оказывать боковое силовое воздействие на ручки кресла-коляски.

Рисунок 2 - Повторное испытание при поднятии самоориентирующихся колес
h) Используя соответствующие средства, закрепляют манекен в кресле-коляске так, чтобы он оставался на своем месте, когда кресло-коляска наклоняется назад и возвращается в вертикальное положение.
i) Используя приспособления для наклона кресла-коляски назад, плавно наклоняют загруженное кресло-коляску назад до угла, при котором передние колеса поднимутся на высоту 50 мм +0/-10 мм над испытательной поверхностью. Затем плавно возвращают загруженное кресло-коляску в вертикальное положение. Контролируют, что ручки кресла-коляски не подталкиваются вперед, когда кресло-коляска находится в вертикальном положении.
j) Повторяют действия, описанные в перечислении i), на протяжении 20 000 циклов со скоростью 10 +2/-0 циклов в минуту.
k) Повторная регулировка допускается не более четырех раз в течение испытания.
l) Осматривают кресло-коляску и определяют, соответствует ли она требованиям.
Это испытание следует применять для кресел-колясок с ручной регулировкой опоры спины.
Цель этого испытания - измерить усилие, необходимое для изменения угла наклона опоры спины от полностью откинутого положения до минимального откидывания. Испытания показывают, что максимальное усилие, прикладываемое оператором, возникает при максимальном наклоне при снятых механических блокировках. Эти данные будут предоставляться сопровождающему лицу, чтобы проинформировать его о величине усилия, необходимого для изменения угла наклона опоры спины в кресле-коляске, загруженной пользователем с максимальными номинальными габаритами тела.
a) При испытании должны быть задействованы тормоза кресла-коляски. В кресло-коляску должен быть помещен испытательный манекен.
b) Устанавливают приспособления для равномерного приложения усилия к рукояткам опоры спины (см. рисунок 3).

Рисунок 3 - Измерение усилия при регулировке угла наклона опоры спины
c) Любые механические блокировки откидывания опоры спины кресла-коляски должны быть сняты, чтобы опора спины могла свободно перемещаться вверх и вниз.
d) Измеряют вертикальное усилие на рукоятках, необходимое для предотвращения дальнейшего откидывания опоры спины. Используют измерительное устройство, такое как нажимной-отжимной датчик. Усилие следует измерять в вертикальном направлении при максимальном угле откидывания. Время выдерживания нагрузки - 10 секунд после снятия блокировки.
e) Данные об измеренном усилии регистрируют в протоколе испытаний.
9.1.1 Общие положения
Испытание прочности опоры нижней части ноги позволяет определить, имеет ли опора прочность, достаточную для того, чтобы предотвратить падение пользователя, находящегося в кресле-коляске в любом положении - от стандартного до стоячего. Не должно быть никакой возможности случайного отключения механизмов поддержания позы.
В руководстве для пользователя должно содержаться требование о размещении опоры нижней части ноги на определенном расстоянии от колена, чтобы предотвратить получение травмы пользователем кресла-коляски.
Если кресло-коляска неправильно спроектировано или приспособлено для пользователя кресла-коляски, это может привести к травмам пользователя при переходе из положения сидя в положение стоя. Во избежание травм настоятельно рекомендуется следовать указаниям, приведенным в приложении А.
9.1.2 Методика испытания
a) Прикладывают горизонтальное усилие Fh так, как показано на рисунке 4, к опоре (фиксирующему упору) нижней части ноги (голени), используя ремень шириной 50 мм для приложения усилия. Если имеются отдельные опоры каждой ноги (голени), равномерно распределяют усилие Fh между этими опорами. Горизонтальное усилие должно составлять:
Fh = mg,
где Fh - усилие, Н;
m - максимальная допустимая масса пользователя кресла-коляски, рекомендованная производителем, кг;
g - гравитационная постоянная на поверхности Земли (9,81 м/с2).
b) Осматривают кресло-коляску и фиксируют, имеются ли деформации или повреждения на опоре нижней части ноги (голени).

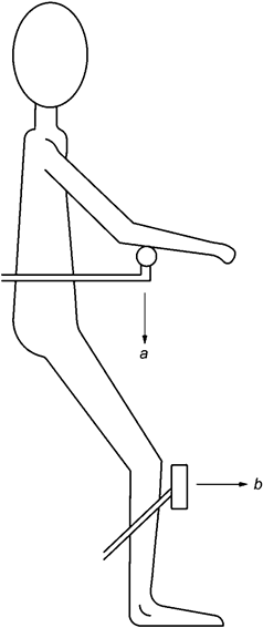
a - вертикальное усилие, прикладываемое к опоре рук; b - горизонтальное усилие, прикладываемое к опоре нижней части ноги (голени)
Рисунок 4 - Приложение усилий к опорам для голени и рук
9.2.1 Общие положения
Испытание прочности опоры бедра/верхней части туловища позволяет определить, имеет ли опора прочность, достаточную для того, чтобы предотвратить падение пользователя, находящегося в кресле-коляске в любом положении - от положения сидя до положения стоя. Не должно быть никакой возможности случайного отключения механизмов поддержания позы.
В руководстве для пользователя должно содержаться требование, касающееся места расположения опоры бедра/верхней части туловища, чтобы предотвратить получение травмы пользователем кресла-коляски.
9.2.2 Методика испытания
a) Прикладывают вертикальное усилие Fv так, как показано на рисунке 4, к опоре бедра/верхней части туловища, используя ремень шириной 50 мм для приложения нагрузки. Усилие должно составлять:
Fv = 0,70·mg,
где Fv - усилие, Н;
m - максимальная допустимая масса пользователя кресла-коляски, рекомендованная производителем, кг;
g - гравитационная постоянная на поверхности Земли (9,81 м/с2).
b) Осматривают кресло-коляску и фиксируют, имеются ли деформации или повреждения на опоре бедра/верхней части туловища.
c) Прикладывают усилие FA так, как показано на рисунке 5, к опоре бедра/верхней части туловища, используя ремень шириной 50 мм для приложения усилия под углом 45° к горизонтальной плоскости. Усилие должно составлять:
FA = 0,1·mg,
где FA - усилие, Н;
m - максимальная допустимая масса пользователя кресла-коляски, рекомендованная производителем, кг;
g - гравитационная постоянная на поверхности Земли (9,81 м/с2).

a - наклонное усилие, направленное вверх, прикладываемое к опоре туловища/таза; b - наклонное усилие, направленное вниз, прикладываемое к опоре туловища/таза
Рисунок 5 - Приложение усилий к передним опорам туловища/таза
d) Осматривают кресло-коляску и фиксируют, имеются ли деформации или повреждения на опоре бедра/верхней части туловища.
e) Прикладывают усилие FB так, как показано на рисунке 5, к опоре бедра/верхней части туловища, используя ремень шириной 50 мм для приложения усилия под углом 45° к горизонтальной плоскости. Усилие должно составлять:
FB = 0,5·mg,
где FB - усилие, Н;
m - максимальная допустимая масса пользователя кресла-коляски, рекомендованная производителем, кг;
g - гравитационная постоянная на поверхности Земли (9,81 м/с2).
f) Осматривают кресло-коляску и регистрируют, имеются ли деформации или повреждения на опоре бедра/верхней части туловища.
Раскрываемая информация должна соответствовать требованиям ИСО 7176-15 с добавлением результатов испытаний, проведенных в соответствии с разделами 5 - 9, в тех случаях, когда это имеет отношение к РОСПП.
Отчет об испытаниях должен содержать следующую информацию:
a) обозначение модели и/или любую другую информацию, которая однозначно идентифицирует кресло-коляску;
b) информацию о фиксирующих ремнях для поддерживания пользователя и о механических ограничителях для предотвращения переразгибания при использовании РОСПП;
c) две (или более) фотографии кресла-коляски - в исходной конфигурации для положения сидя (ИКС) и во всех возможных конфигурациях с максимальными отклонениями от исходной (КМО);
d) ссылку на настоящий стандарт;
e) наименование, адрес и реквизиты организации, проводившей испытания (например - статус аккредитации);
f) наименование и адрес изготовителя кресла-коляски;
g) дату выпуска отчета об испытаниях;
h) габариты испытательного манекена или массу пользователя;
i) информацию о том, соответствует ли кресло-коляска минимальным требованиям настоящего стандарта;
j) информацию о том, соответствует ли кресло-коляска каким-либо характеристикам, заявленным изготовителем, которые превышают минимальные требования;
k) результаты испытаний в соответствии с разделами 5 - 9.
Приложение A
(справочное)
A.1 Цель и обоснование
Очень важно провести грамотную оценку индивидуальных особенностей пользователя кресла-коляски на предмет его возможности использовать то или иное кресло-коляску. Также важно, чтобы кресло-коляска было правильно отрегулировано для конкретного пользователя. При переходе из положения сидя в положение стоя, на колено/нижнюю часть ноги (голень) оказывается давление, вызванное усилием, необходимым для того, чтобы поднять пользователя. Кроме того, между телом пользователя кресла-коляски и поверхностью сиденья, и опорой спины существует трение.
Если кресло-коляска не спроектировано или не отрегулировано должным образом с учетом индивидуальных особенностей пользователя, это может привести к повреждениям кожи или даже к перелому голени или бедра пользователя.
Настоятельно рекомендуется следующее:
a) кресло-коляска должно иметь неудаляемую маркировку (не рекламного характера), которая должна информировать врача, предписывающего использование кресла-коляски, сопровождающее лицо и пользователя кресла-коляски о необходимости правильной регулировки кресла-коляски, чтобы предотвратить травмирование пользователя. На этикетке должно быть написано: "Чтобы избежать травм, перед использованием кресла-коляски прочитайте руководство оператора для ознакомления с процедурами регулировки кресла-коляски";
b) изготовитель кресла-коляски в инструкции для оператора должен дать четкие указания о том, как следует регулировать кресло-коляску, чтобы обеспечить минимальное давление на колено/нижнюю часть ноги (голень) пользователя кресла-коляски при переходе от стандартной конфигурации к конфигурации, когда используется вертикализатор и пользователь переводится в положение стоя.
Приложение ДА
(справочное)
Таблица ДА.1
|
Обозначение ссылочного международного стандарта |
Степень соответствия |
Обозначение и наименование соответствующего национального стандарта |
|
ISO 7176-1:2014 |
IDT |
ГОСТ Р ИСО 7176-1-2018 "Кресла-коляски. Часть 1. Определение статической устойчивости" |
|
ISO 7176-2:2017 |
IDT |
ГОСТ Р ИСО 7176-2-2019 "Кресла-коляски. Часть 2. Определение динамической устойчивости кресел-колясок с электроприводом" |
|
ISO 7176-3:2012 |
IDT |
ГОСТ Р ИСО 7176-3-2015 "Кресла-коляски. Часть 3. Определение эффективности действия тормозной системы" |
|
ISO 7176-4:2008 |
IDT |
ГОСТ Р ИСО 7176-4-2015 "Кресла-коляски. Часть 4. Определение запаса хода кресел-колясок с электроприводом и скутеров путем измерения расхода энергии" |
|
ISO 7176-5:2008 |
IDT |
ГОСТ Р ИСО 7176-5-2010 "Кресла-коляски. Часть 5. Определение размеров, массы и площади для маневрирования" |
|
ISO 7176-6:2001 |
IDT |
ГОСТ Р ИСО 7176-6-2005 "Кресла-коляски. Часть 6. Определение максимальной скорости, ускорения и замедления кресел-колясок с электроприводом" |
|
ISO 7176-8:2014 |
IDT |
ГОСТ Р ИСО 7176-8-2015 "Кресла-коляски. Часть 8. Требования и методы испытаний на статическую, ударную и усталостную прочность" |
|
ISO 7176-9 |
IDT |
ГОСТ Р ИСО 7176-9-2014 "Кресла-коляски. Часть 9. Климатические испытания кресел-колясок с электроприводом" |
|
ISO 7176-10 |
IDT |
ГОСТ Р ИСО 7176-10-2012 "Кресла-коляски. Часть 10. Определение способности кресел-колясок с электроприводом преодолевать препятствия" |
|
ISO 7176-11 |
IDT |
ГОСТ Р ИСО 7176-11-2015 "Кресла-коляски. Часть 11. Испытательные манекены" |
|
ISO 7176-14 |
IDT |
ГОСТ Р ИСО 7176-14-2012 "Кресла-коляски. Часть 14. Электросистемы и системы управления кресел-колясок с электроприводом и скутеров. Требования и методы испытаний" |
|
ISO 7176-15 |
IDT |
ГОСТ Р ИСО 7176-15-2007 "Кресла-коляски. Часть 15. Требования к документации и маркировке для обеспечения доступности информации" |
|
ISO 7176-19 |
- |
<*> |
|
ISO 7176-21 |
IDT |
ГОСТ Р ИСО 7176-21-2015 "Кресла-коляски. Часть 21. Требования и методы испытаний для обеспечения электромагнитной совместимости кресел-колясок с электроприводом и скутеров с зарядными устройствами" |
|
ISO 7176-25 |
IDT |
ГОСТ Р ИСО 7176-25-2015 "Кресла-коляски. Часть 25. Аккумуляторные батареи и зарядные устройства для питания кресел-колясок" |
|
ISO 7176-26 |
IDT |
ГОСТ Р ИСО 7176-26-2011 "Кресла-коляски. Часть 26. Словарь" |
|
ISO 16840-3:2014 |
IDT |
ГОСТ Р ИСО 16840-3-2019 "Сиденья кресел-колясок. Часть 3. Определение статической, ударной и усталостной прочности устройств, поддерживающих положение тела" |
|
<*> Соответствующий национальный стандарт отсутствует. До его принятия рекомендуется использовать перевод на русский язык данного международного стандарта. Перевод данного стандарта находится в Федеральном информационном фонде стандартов. Примечание - В настоящей таблице использовано следующее условное обозначение степени соответствия стандартов: - IDT - идентичные стандарты. | ||
Библиография
|
[1] |
ISO 7176 |
(all parts), Wheelchair (Кресла-коляски) |
|
[2] |
ISO 9355-3, Ergonomic requirements for the design of displays and control actuators - Part 3: Control actuators (Эргономические требования к проектированию дисплеев и механизмов управления. Часть 3. Механизмы управления) | |
|
[3] |
ISO 16840-1, Wheelchair seating - Part 1: Vocabulary, reference axis convention and measures for body segments, posture and postural support surfaces (Сиденья кресел-колясок. Часть 1. Словарь, условные обозначения опорных осей и размеров поверхностей, поддерживающих положение тела) | |


