ГОСТ 15088-2014 (28.10.2021) ПЛАСТМАССЫ. МЕТОД ОПРЕДЕЛЕНИЯ ТЕМПЕРАТУРЫ РАЗМЯГЧЕНИЯ ТЕРМОПЛАСТОВ ПО ВИКА
Введен в действие Приказом Федерального агентства по техническому регулированию и метрологии от 29 мая 2014 г. N 463-ст
Plastics. Method for determination of Vicat softening temperature of thermoplastics
(ISO 306:2004, MOD)
МКС 83.080.20
Дата введения - 1 января 2015 года
Взамен ГОСТ 15088-83
Предисловие
Цели, основные принципы и порядок проведения работ по межгосударственной стандартизации установлены ГОСТ 1.0-92 "Межгосударственная система стандартизации. Основные положения" и ГОСТ 1.2-2009 "Межгосударственная система стандартизации. Стандарты межгосударственные, правила и рекомендации по межгосударственной стандартизации. Правила разработки, принятия, применения, обновления и отмены"
Сведения о стандарте
1 ПОДГОТОВЛЕН Открытым акционерным обществом "Институт пластических масс имени Г.С. Петрова" (ОАО "Институт пластмасс") на основе аутентичного перевода на русский язык указанного в пункте 4 стандарта, который выполнен ФГУП "СТАНДАРТИНФОРМ"
2 ВНЕСЕН Техническим комитетом по стандартизации ТК 230 "Пластмассы, полимерные материалы и методы их испытаний"
3 ПРИНЯТ Межгосударственным советом по стандартизации, метрологии и сертификации (Протокол от 18 апреля 2014 г. N 66-П)
За принятие проголосовали:
|
Краткое наименование страны по MK (ИСО 3166) 004-97 |
Код страны по MK (ИСО 3166) 004-97 |
Сокращенное наименование национального органа по стандартизации |
|
Армения |
AM |
Минэкономики Республики Армения |
|
Беларусь |
BY |
Госстандарт Республики Беларусь |
|
Киргизия |
KG |
Кыргызстандарт |
|
Россия |
RU |
Росстандарт |
|
Украина |
UA |
Минэкономразвития Украины |
4 Настоящий стандарт модифицирован по отношению к международному стандарту ISO 306:2004 Plastics - Thermoplastic materials - Determination of Vicat softening temperature (VST) [Пластмассы. Термопластичные материалы. Определение температуры размягчения по Вика (VST)].
Наименование настоящего стандарта изменено относительно наименования указанного стандарта для приведения в соответствие с ГОСТ 1.5-2001 (подраздел 3.6).
Ссылка на отмененный стандарт ISO включена в библиографию.
Дополнительные фразы, слова, показатели и их значения, включенные в текст настоящего стандарта, выделены курсивом.
Перевод с английского языка (en).
Официальные экземпляры международного стандарта, на основе которого подготовлен настоящий межгосударственный стандарт, имеются в Федеральном информационном фонде технических регламентов и стандартов.
Ссылки на международные стандарты, которые не приняты в качестве межгосударственных стандартов, заменены на соответствующие межгосударственные стандарты.
Информация о замене ссылок с разъяснением причин их внесения приведена в приложении ДА.
Сравнение структуры международного стандарта со структурой настоящего стандарта приведено в приложении ДБ.
Степень соответствия - модифицированная (MOD)
5 Приказом Федерального агентства по техническому регулированию и метрологии от 29 мая 2014 г. N 463-ст межгосударственный стандарт ГОСТ 15088-2014 (ISO 306:2004) введен в действие в качестве национального стандарта Российской Федерации с 1 января 2015 г.
6 ВЗАМЕН ГОСТ 15088-83
Информация об изменениях к настоящему стандарту публикуется в ежегодном информационном указателе "Национальные стандарты", а текст изменений и поправок - в ежемесячном информационном указателе "Национальные стандарты". В случае пересмотра (замены) или отмены настоящего стандарта соответствующее уведомление будет опубликовано в ежемесячном информационном указателе "Национальные стандарты". Соответствующая информация, уведомление и тексты размещаются также в информационной системе общего пользования - на официальном сайте Федерального агентства по техническому регулированию и метрологии в сети Интернет
1.1 Настоящий стандарт устанавливает четыре метода определения температуры размягчения термопластов по Вика (VST) в жидкой и воздушной средах:
- метод A50 - нагрузка 10 H; скорость повышения температуры 50 °C/ч;
- метод B50 - нагрузка 50 H; скорость повышения температуры 50 °C/ч;
- метод A120 - нагрузка 10 H; скорость повышения температуры 120 °C/ч;
- метод B120 - нагрузка 50 H; скорость повышения температуры 120 °C/ч.
Условия испытаний указывают в нормативном документе или технической документации на конкретную продукцию. Допускается использовать ранее принятые обозначения методов: метод A50 (способ A, вариант I); метод B50 (способ B, вариант I); метод A120 (способ A, вариант II); метод B120 (способ B, вариант II).
1.2 Методы, установленные настоящим стандартом, распространяются только на термопластичные материалы и позволяют определить температуру начала быстрого размягчения термопластов.
Настоящий стандарт не распространяется на ячеистые пластмассы при испытании в жидкой среде и на армированные термопласты.
В настоящем стандарте использованы нормативные ссылки на следующие межгосударственные стандарты:
ГОСТ 12019 Пластмассы. Изготовление образцов для испытания из термопластов. Общие требования
ГОСТ 12423 (ISO 291:2008) Пластмассы. Условия кондиционирования и испытания образцов (проб)
ГОСТ 26277 (ISO 2818:2018) Пластмассы. Общие требования к изготовлению образцов способом механической обработки
ГОСТ 34739.2 (ISO 294-2:2018) Пластмассы. Изготовление образцов из термопластов. Образцы малых размеров для испытания на растяжение
Примечание - При пользовании настоящим стандартом целесообразно проверить действие ссылочных стандартов (и классификаторов) на официальном интернет-сайте Межгосударственного совета по стандартизации, метрологии и сертификации (www.easc.by) или по указателям национальных стандартов, издаваемым в государствах, указанных в предисловии, или на официальных сайтах соответствующих национальных органов по стандартизации. Если на документ дана недатированная ссылка, то следует использовать документ, действующий на текущий момент, с учетом всех внесенных в него изменений. Если заменен ссылочный документ, на который дана датированная ссылка, то следует использовать указанную версию этого документа. Если после принятия настоящего стандарта в ссылочный документ, на который дана датированная ссылка, внесено изменение, затрагивающее положение, на которое дана ссылка, то это положение применяется без учета данного изменения. Если ссылочный документ отменен без замены, то положение, в котором дана ссылка на него, применяется в части, не затрагивающей эту ссылку.
Сущность метода настоящего стандарта заключается в определении температуры, при которой стандартный индентор с плоской нижней поверхностью под действием нагрузки проникает в испытуемый образец, нагреваемый с постоянной скоростью, на глубину 1 мм.
Индентор воздействует перпендикулярно к поверхности образца.
За температуру размягчения по Вика (VST) принимают температуру (°C), измеренную как можно ближе к поверхности образца, при которой индентор проникает на глубину 1 мм.
Сущность метода при испытании ячеистых пластмасс заключается в определении температуры, при которой образец под действием нагрузки сжимается на 1 мм.
Прибор для испытания состоит из частей, перечисленных ниже:
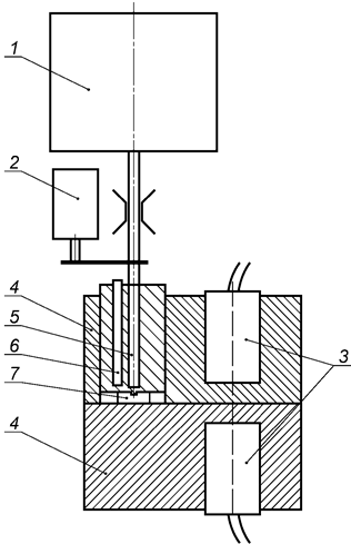
4.1 Стержень с несущей пластиной или другим подходящим устройством для нагружения (4.4), укрепленный на жесткой металлической раме и размещенный в бане, наполненной жидкостью, или устройстве с непосредственным нагревом таким образом, чтобы он мог свободно перемещаться в вертикальном направлении. Основание рамы служит опорой для испытуемого образца, помещенного под наконечником индентора на конце стержня (см. рисунки 1 и 2).

1 - микрометр с круговой шкалой; 2 - сменный груз; 3 - пластина для расположения груза; 4 – стержень с индентором; 5 - приблизительный уровень жидкости; 6 - индентор; 7 - образец для испытания; 8 - опора для испытуемого образца
Рисунок 1 - Пример прибора с нагревательной баней, заполненной жидкостью, для определения температуры размягчения по Вика в жидкой среде (VST)

1 - груз; 2 - устройство измерения перемещения; 3 - нагреватель; 4 - нагревающий блок; 5 – стержень с индентором; 6 - устройство измерения температуры; 7 - образец для испытания
Рисунок 2 - Пример устройства с непосредственным нагревом для определения температуры размягчения по Вика в воздушной среде (VST)
Если материалы стержня и жесткой металлической рамы имеют разные коэффициенты линейного теплового расширения, то различное изменение длины этих деталей вносит ошибку в определение глубины вдавливания индентора. Необходимо провести контрольное испытание на каждом узле, состоящем из стержня и рамы, используя образец, изготовленный из жесткого материала, имеющего известный низкий коэффициент линейного теплового расширения, например, боросиликатное стекло или инвар. Контрольное испытание проводят таким образом, чтобы охватить используемые диапазоны температур. Также следует определить поправочный коэффициент.
Поправочный коэффициент следует определять для каждого узла, состоящего из стержня и рамы, с шагом по температуре не более 10 °C. Если поправочный коэффициент равен или превышает 0,02 мм, то его значение для полученной температуры размягчения по Вика алгебраически прибавляют к значению проникновения индентора.
Аппаратуру рекомендуется изготовлять из материалов с низким коэффициентом линейного теплового расширения, например, из инвара или боросиликатного стекла.
4.2 Индентор, изготовленный из закаленной нержавеющей стали, длиной от 1,5 до 3,0 мм, цилиндрической формы, площадью (1,000 ± 0,015) мм2 [соответственно диаметр индентора составляет (1,128 ± 0,008) мм], закрепленный на нижнем конце стержня (4.1). Нижняя поверхность индентора должна быть плоской и перпендикулярной к оси стержня, а также не должна иметь заусенцев.
При испытании ячеистых пластмасс дополнительно используют две металлические пластинки размерами 23 x 23 x 2 мм.
4.3 Калиброванный микрометр с круговой шкалой или другое измерительное, показывающее, регистрирующее или сигнализирующее устройство для измерения с точностью 0,01 мм глубины проникновения индентора в испытуемый образец или для измерения сжатия образца при испытании ячеистых пластмасс. Осевая нагрузка микрометра, входящая в общую осевую нагрузку на испытуемый образец, должна быть записана (4.4).
Примечания
1 В некоторых типах микрометров сила пружины направлена вверх и ее вычитают из нагрузки; в других типах эта сила направлена вниз и ее прибавляют к нагрузке.
2 В связи с тем, что сила давления пружины в некоторых типах микрометров значительно меняется в зависимости от величины хода, эту силу следует измерять в положении, когда индентор проник в образец для испытания на глубину 1 мм.
4.4 Несущая пластина, прикрепленная к стержню (4.1), и соответствующие грузы, расположенные на несущей пластине так, чтобы центр тяжести находился на оси металлического стержня, а общая нагрузка на образец для испытания составляла:
- (10,0 ± 0,2) H - для методов A50 и A120;
- (50 ± 1) H - для методов B50 и B120.
Общая осевая нагрузка, оказываемая стержнем, индентором, несущей пластиной, пружиной микрометра на образец, не должна превышать 1 H.
Можно использовать другие устройства для нагружения при условии выполнения требований, указанных выше.
4.5 Нагревательное оборудование, состоящее из нагревательной бани (4.5.1), содержащей жидкость, или устройства с непосредственным нагревом (4.5.2). Нагревательное оборудование должно быть снабжено устройствами для регулировки температуры, обеспечивающими повышение температуры с постоянной скоростью (50 ± 5) °C/ч или (120 ± 10) °C/ч. Скорость нагрева проверяют устройством с автоматической регистрацией температуры или вручную на протяжении всего времени испытаний с интервалом не более 6 мин.
Требование к скорости нагрева считают выполненным, если в ходе испытания через каждые 6 мин изменение температуры составляет (5,0 ± 0,5) °C или (12 ± 1) °C соответственно. В случае использования нагревательной бани для нескольких положений испытуемого образца необходимо проверять скорость нагрева в каждом положении.
Прибор можно оборудовать устройством для автоматического отключения нагрева и подачи сигнала, когда достигается заданная глубина проникновения индентора (см. 7.5).
Допускается проверять скорость нагрева на протяжении всего времени испытания с интервалом не более 60 мин, при этом требование к скорости нагрева считают выполненным, если в ходе испытания через каждые 60 мин изменение температуры составляет (50 ± 5) °C или (120 ± 10) °C соответственно.
4.5.1 Нагревательная баня, содержащая жидкость, в которую испытуемый образец погружают на глубину не менее 35 мм. В ней должно быть обеспечено эффективное перемешивание жидкости. Необходимо, чтобы выбранная жидкость была стабильной в используемом диапазоне температур и не воздействовала на испытуемый термопласт, например, не вызывала набухания или растрескивания.
При использовании нагревательной бани за температуру размягчения по Вика (VST) в жидкой среде принимают температуру жидкости, измеренную вблизи образца для испытания.
Примечание - В качестве жидкой среды можно использовать жидкий парафин, трансформаторное масло, глицерин и силиконовое масло, а также другие жидкости.
4.5.2 Устройство с непосредственным нагревом, состоящее из нагревателей и нагревающих блоков, которые посредством процесса передачи тепла повышают температуру образца с контролируемой скоростью до достижения температуры размягчения по методу Вика.
4.6 Прибор для измерения температуры
4.6.1 Для нагревательной бани используют стеклянный ртутный термометр частичного погружения или другой подходящий прибор для измерения температуры в требуемом диапазоне с ценой деления не менее 0,5 °C. Ртутные стеклянные термометры следует калибровать на глубину погружения, требуемую в 7.2. Термометр не должен непосредственно контактировать с образцом для испытания для исключения механического и теплового воздействия на образец.
4.6.2 Для устройства с непосредственным нагревом используют подходящий прибор для измерения температуры в требуемом диапазоне с точностью ± 0,5 °C. Датчик температуры должен располагаться как можно ближе к индентору и образцу для испытания, но не соприкасаться непосредственно с образцом для испытания.
5.1 Для каждой выборки следует испытывать не менее двух образцов. Образцы для испытания должны иметь форму квадрата или круга со стороной или диаметром не менее 10 мм, толщиной от 3,0 до 6,5 мм. Поверхности образцов должны быть плоскими, параллельными и свободными от заусенцев, трещин, раковин.
Образцы для испытания изготовляют в соответствии с нормативным документом или технической документацией на испытуемый материал, а при их отсутствии - по режимам, согласованным между заинтересованными сторонами.
Образцы ячеистых пластмасс должны иметь форму параллелепипеда размерами (20,0 ± 1,0) x (20,0 ± 1,0) x (10,0 ± 0,5) мм. Образцы должны иметь плоскую поверхность без видимых дефектов ячеистой структуры и следов механической обработки.
5.2 Из порошкообразных и гранулированных термопластов изготовляют образцы толщиной от 3,0 до 6,5 мм литьем под давлением или прессованием в соответствии с документом по стандартизации или технической документацией на термопласт или в соответствии с ГОСТ 12019, ГОСТ 34739.2 или стандартом [1], или по режимам, согласованным между заинтересованными сторонами.
5.3 Для листов из термопластов толщина образцов для испытаний должна быть равна толщине листа, за исключением следующих случаев:
- если толщина листа превышает 6,5 мм, то толщина образцов для испытаний должна быть уменьшена до толщины от 3,0 до 6,5 мм механической обработкой одной поверхности по ГОСТ 26277, при этом другая поверхность остается необработанной. Необработанную поверхность используют в качестве испытуемой;
- если толщина листа менее 3,0 мм, то следует сложить не более трех частей листа так, чтобы их общая толщина составляла от 3,0 до 6,5 мм, а толщина верхней (испытуемой) части составляла не менее 1,5 мм. Результаты испытания, полученные на образцах, сложенных из частей тонкого листа, и целых образцах, не всегда сопоставимы.
5.4 Результаты испытания могут зависеть от условий изготовления образцов для испытания, хотя такая зависимость проявляется не для всех термопластов. Если испытывают термопласт, результаты испытаний которого зависят от условий изготовления образцов, то перед испытанием можно использовать специальный отжиг или предварительное кондиционирование, если эти условия согласованы между заинтересованными сторонами.
Образцы для испытания кондиционируют согласно ГОСТ 12423 или в соответствии с требованиями нормативного документа или технической документации на термопласт.
7.1 При использовании нагревательной бани (4.5.1) образец для испытания помещают горизонтально под индентор (4.2) ненагруженного стержня (4.1) перпендикулярно к стержню. Если используют устройство с непосредственным нагревом (4.5.2), образец для испытания помещают горизонтально и перпендикулярно к направлению перемещения индентора так, чтобы индентор не касался образца.
Индентор должен находиться на расстоянии не менее 3 мм от края испытуемого образца. Поверхность испытуемого образца, контактирующая с основанием испытательной установки, должна быть плоской.
Образец ячеистой пластмассы помещают в центре нижней металлической пластинки, а верхнюю пластинку устанавливают на образец таким образом, чтобы индентор касался центра пластинки.
7.2 При использовании нагревательной бани узел стержень/рама помещают в баню. Если используют устройство с непосредственным нагревом, располагают образец между двумя нагревательными блоками и опускают индентор на образец. В начале каждого испытания температура нагревательного оборудования не должна превышать 25 °C, если предыдущие испытания не показали, что для испытуемого термопласта начало испытаний при другой температуре не вызывает никаких ошибок. Если используют нагревательную баню, то шарик термометра или датчик прибора для измерения температуры (4.6.1) должен находиться на том же уровне, что и образец для испытания, и как можно ближе к образцу. Если используют устройство с непосредственным нагревом, датчик должен располагаться в нагревательном блоке как можно ближе к образцу, как указано в 4.6.2.
7.3 Не изменяя положение индентора, на несущую пластину (4.4) помещают груз или нагружают индентор другим способом так, чтобы общая осевая нагрузка на образец для испытания составляла (10,0 ± 0,2) H для методов A50 и A120 и (50 ± 1) H - для методов B50 и B120. Через 5 мин после приложения нагрузки регистрируют показание устройства для измерения глубины проникновения индентора в испытуемый образец или устройства для измерения сжатия образца при испытании ячеистых пластмасс (4.3) или устанавливают его на нулевую отметку.
7.4 Повышают температуру с постоянной скоростью (50 ± 5) или (120 ± 10) °C/ч. При использовании нагревательной бани интенсивно перемешивают жидкость во время испытания. В случае возникших разногласий используют скорость нагрева (50 ± 5) °C/ч.
Примечание - Для некоторых термопластов, испытываемых при более высокой скорости нагрева (120 °C/ч), температура размягчения по Вика может быть на 10 °C выше температуры, полученной при испытании со скоростью нагрева 50 °C/ч.
7.5 Регистрируют температуру жидкости в бане (4.6.1) или нагревательного блока (4.6.2), при которой индентор проник в образец для испытания на глубину (1,00 ± 0,01) мм от его исходного положения, установленного по 7.3. Эту температуру принимают за температуру размягчения по Вика (VST) данного образца для испытания в жидкой или воздушной среде соответственно.
7.6 За результат испытания принимают среднеарифметическое значение температур размягчения по Вика двух образцов для испытания, если расхождение между индивидуальными результатами не превышает 2 °C при испытании в жидкой среде и 6 °C - при испытании в воздушной среде. Если индивидуальные результаты отличаются более чем на 2 °C и 6 °C соответственно, их регистрируют [раздел 9, перечисление h] и повторяют испытание, используя не менее двух новых образцов для испытания (5.1). В случае проведения повторного испытания записывают индивидуальные значения как из первого, так и из второго испытания.
Записывают температуру размягчения по Вика с точностью до трех значащих цифр. Допускается записывать результат испытания, округленный до целого числа.
Сравнение результатов, полученных при использовании нагревательной бани (температура размягчения по Вика в жидкой среде) и устройства с непосредственным нагревом (температура размягчения по Вика в воздушной среде), приведено в приложении A.
См. приложение B.
Протокол испытания должен содержать:
a) ссылку на настоящий стандарт:
b) полную идентификацию испытуемого образца материала;
c) использованный метод (A50, A120, B50 или B120);
d) толщину и число слоев составных образцов для испытания (т.е. образцов, состоящих из более чем одного слоя) при применении;
e) использованный метод приготовления образцов для испытания;
f) использованный метод нагрева образцов (испытания в жидкой или воздушной среде), наименование теплопередающей жидкости при испытании в жидкой среде;
g) условия кондиционирования при применении;
h) среднеарифметическое значение температур размягчения по Вика (VST) термопласта в градусах Цельсия, а также индивидуальные значения, если расхождение между индивидуальными значениями при первом испытании не превышает 2 °C при испытании в жидкой среде и 6 °C - при испытании в воздушной среде, а также все отдельные значения;
i) особые наблюдения во время испытаний;
j) дату проведения испытания.
Приложение A
(справочное)
Температуру размягчения по Вика для десяти материалов определяли при использовании нагревательной бани, содержащей силиконовое масло, и устройства с непосредственным нагревом, в котором тепло передается образцам в результате прямого контакта с металлическими поверхностями, т.е. температуру размягчения по Вика в жидкой и воздушной средах соответственно. Результаты представлены в таблице A.1 и на рисунке A.1, причем разброс полученных результатов не превышает ± 2%. Наклон кривой регрессии составляет 1,008, это означает, что разность между температурами размягчения по Вика, полученными при использовании двух методик нагрева, составляет менее 1%, однако для практического применения обе методики могут считаться дающими идентичные результаты.
|
Марка испытуемого термопласта |
Тип термопласта |
Температура размягчения по Вика при использовании нагревательной бани (в жидкой среде), °C |
Температура размягчения по Вика при использовании устройства с непосредственным нагревом (в воздушной среде), °C | ||
|
Нагрузка 10 H |
Нагрузка 50 H |
Нагрузка 10 H |
Нагрузка 50 H | ||
|
PE 4261 A |
Полиэтилен |
125,6 |
- |
125,9 |
- |
|
PE, образец 1 |
Полиэтилен |
91,4 |
- |
91,7 |
- |
|
PE, образец 2 |
Полиэтилен |
97,4 |
- |
97,7 |
- |
|
Terluran GP-22 |
АБС-пластик |
105,8 |
99,6 |
105,0 |
98,5 |
|
Terluran HI-10 |
АБС-пластик |
103,7 |
96,4 |
102,3 |
96,2 |
|
Terluran EGP-7 |
АБС-пластик |
108,2 |
100,1 |
107,1 |
100,5 |
|
Terluran HH-112 |
АБС-пластик |
119,3 |
111,8 |
119,7 |
110,3 |
|
Terluran 967K |
АБС-пластик |
103,0 |
94,9 |
102,8 |
93,5 |
|
PS 143 E |
Полистирол |
- |
84,0 |
- |
83,7 |

X - значения температуры размягчения по Вика, полученные при использовании нагревательной бани (в жидкой среде), °C;
Y - значения температуры размягчения по Вика, полученные при использовании устройства с непосредственным нагревом (в воздушной среде), °C;
- значения температуры размягчения по Вика, полученные при нагрузке 10 H;
- значения температуры размягчения по Вика, полученные при нагрузке 50 H.
Уравнение линейной регрессии: y = -1,29123 + 1,00794x;
R2 = 0,99465, где предел воспроизводимости R - значение, которое с доверительной вероятностью 95% не превышается абсолютной величиной разности между результатами двух испытаний одного и того же материала, полученными в условиях воспроизводимости.
Рисунок A.1 - График, построенный по данным, представленным в таблице A.1
Приложение B
(справочное)
Данные, представленные в таблице B.1, получены на основании анализа повторяемости результатов испытания четырех материалов в одной лаборатории. Было испытано по три выборки образцов в разное время (метод A120).
|
Тип термопласта |
Среднее значение |
sr |
r |
|
Поликарбонат |
154,50 |
0,71 |
1,98 |
|
АБС-пластик |
108,40 |
0,14 |
0,40 |
|
Полипропилен |
145,60 |
0,21 |
0,59 |
|
Полиметилметакрилат |
125,10 |
0,07 |
0,20 |
|
Примечания 1 sr - внутрилабораторное среднеквадратическое отклонение. 2 r - равно 2,83sr. | |||
r - предел повторяемости, т.е. значение, которое с доверительной вероятностью 95% не превышается абсолютным значением разности между результатами двух испытаний одного и того же материала, полученных одним оператором при использовании одного и того же оборудования в одной лаборатории, т.е. полученных в условиях повторяемости.
Это объяснение значения r предназначено только для того, чтобы представить способ рассмотрения приближенной повторяемости этого метода испытания. Не следует строго следовать данным, приведенным в таблице B.1, для приемки или браковки материала, так как они являются специфичными для данного анализа и не могут быть представительными для других партий, условий, материалов или лабораторий.
Приложение ДА
(справочное)
Полный перечень изменений нормативных ссылок приведен в таблице ДА.1.
Таблица ДА.1
|
Обозначение ссылочного межгосударственного стандарта |
Степень соответствия |
Обозначение ссылочного международного стандарта |
|
ГОСТ 12019-2021 |
NEQ |
ISO 294-1:2017 "Пластмассы. Литье под давлением образцов для испытаний термопластичных материалов. Часть 1. Общие принципы и литье образцов для испытаний многоцелевого назначения и в виде брусков" |
|
ГОСТ 12423-2013 (ISO 291:2008) |
MOD |
ISO 291:2008 "Пластмассы. Стандартные атмосферы для кондиционирования и испытания" |
|
ГОСТ 26277-2021 (ISO 2818:2018) |
MOD |
ISO 2818:2018 "Пластмассы. Приготовление образцов для испытаний с помощью механической обработки" |
|
ГОСТ 34739.2-2021 (ISO 294-2:2018) |
MOD |
ISO 294-2:2018 "Пластмассы. Изготовление образцов для испытаний из термопластов. Часть 2. Образцы малых размеров для испытания на растяжение" |
|
Примечание - В настоящей таблице использованы следующие условные обозначения степени соответствия стандартов: - MOD - модифицированные стандарты; - NEQ - неэквивалентные стандарты. | ||
Приложение ДБ
(справочное)
Таблица ДБ.1
|
Структура международного стандарта ISO 306:2004 |
Структура межгосударственного стандарта | ||
|
Приложения |
A |
Приложения |
A |
|
B |
B | ||
|
ДА | |||
|
ДБ | |||
|
Библиография | |||
|
Примечание - Сравнение структур стандартов приведено начиная с приложений, т.к. предыдущие разделы стандартов и их иные структурные элементы (за исключением предисловия) идентичны. | |||
Библиография
|
[1] |
ИСО 3167 (ISO 3167) |
Пластмассы - Испытательные образцы многоцелевого назначения (Plastics - Multipurpose test specimens) |


