Утв. и введен в действие приказом Федерального агентства по техническому регулированию и метрологии от 12 сентября 2011 г. N 282-ст
Национальный стандарт РФ ГОСТ Р ИСО 22958-2011
"МАТЕРИАЛЫ ТЕКСТИЛЬНЫЕ. ВОДОСТОЙКОСТЬ. ИСПЫТАНИЯ НА УСТОЙЧИВОСТЬ К ВОЗДЕЙСТВИЮ ДОЖДЯ. ВОЗДЕЙСТВИЕ ГОРИЗОНТАЛЬНЫХ ВОДЯНЫХ БРЫЗГ"
Textiles. Water resistance. Rain tests. Exposure to a horizontal water spray
ОКС 59.080.01
М09
Дата введения - 1 января 2013 г.
Введен впервые
Предисловие
Цели и принципы стандартизации в Российской Федерации установлены Федеральным законом от 27 декабря 2002 г. N 184-ФЗ "О техническом регулировании", а правила применения национальных стандартов Российской Федерации - ГОСТ Р 1.0-2004 "Стандартизация в Российской Федерации. Основные положения"
Сведения о стандарте
1 Подготовлен Техническим комитетом по стандартизации ТК 412 "Текстиль", Открытым акционерным обществом "Всероссийский научно-исследовательский институт сертификации" (ОАО "ВНИИС") на основе собственного аутентичного перевода на русский язык стандарта, указанного в пункте 4
2 Внесен Управлением технического регулирования и стандартизации Федерального агентства по техническому регулированию и метрологии
3 Утвержден и введен в действие Приказом Федерального агентства по техническому регулированию и метрологии от 12 сентября 2011 г. N 282-ст
4 Настоящий стандарт идентичен международному стандарту ИСО 22958:2005 "Материалы текстильные. Водостойкость. Испытания на устойчивость к воздействию дождя. Воздействие горизонтальных водяных брызг" (ISO 22958:2005 "Textiles - Water resistance - Rain tests: exposure to a horizontal water spray").
При применении настоящего стандарта рекомендуется использовать вместо ссылочных международных стандартов соответствующие им национальные стандарты Российской Федерации, сведения о которых приведены в дополнительном приложении ДА
5 Введен впервые
1 Область применения
Настоящий стандарт распространяется на текстильные материалы, которые прошли или не прошли водостойкую или водоотталкивающую обработку. Настоящий стандарт устанавливает метод определения стойкости тканей к проникновению воды при воздействии водяных брызг. С его помощью можно спрогнозировать вероятное сопротивление текстильных материалов к проникновению дождя. Метод применим, главным образом, к бытовым тканям. Для получения полной картины сопротивления к проникновению воды отдельной ткани или комбинации тканей можно, используя соответствующее оборудование, провести испытания при различных уровнях интенсивности воздействия воды. Данное испытание в большей степени применяется для измерения сравнительно малых объемов воды, просачивающейся через водостойкие ткани.
2 Нормативные ссылки
В настоящем стандарте использована нормативная ссылка на следующий международный стандарт:
ИСО 139:2005 Текстиль. Стандартные атмосферные условия для кондиционирования и испытаний (ISO 139:2005, Textiles - Standard atmospheres for conditioning and testing)
3 Термины и определения
В настоящем стандарте применен следующий термин с соответствующим определением:
3.1 водостойкость: Характеристика, показывающая способность материала к сопротивлению проникновению воды и увлажнению.
4 Принцип проведения испытаний
Образец для испытаний на подкладке из взвешенной промокательной бумаги в течение 5 мин подвергают воздействию водяных брызг в контролируемых условиях. Затем промокательную бумагу повторно взвешивают, чтобы определить количество воды, которая просочилась через образец во время испытания.
5 Меры безопасности
При выполнении испытаний следует придерживаться надлежащей лабораторной практики. Во всех участках лаборатории необходимо носить защитные очки.
Примечание - Данные меры безопасности приведены только с ознакомительной целью как дополнение к методам испытаний и не являются исчерпывающими. Под личную ответственность пользователя остается выполнение безопасных и надлежащих техник при работе с материалами, указанными в настоящем международном стандарте. За дополнительной консультацией по мерам безопасности (например, по вопросам использования пластин для защиты материала) следует обратиться к изготовителям.
6 Аппаратура
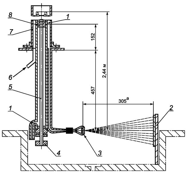
6.1 Устройство для испытаний на устойчивость к воздействию дождя (Rain Tester) 1) (см. рисунки 1, 2 и 3). Обычно высоты гидростатического напора варьируются от 610 до 1830 мм.
──────────────────────────────
1) Устройство для испытаний на устойчивость к воздействию дождя (Rain Tester) - торговое наименование устройства, которое поставляет ААТСС, P.O. Box 12215, Research Triangle Park, NC 27709-2215, USA (Tel: +1-919-549-8141; Fax: +1-919-549-8933; www.aatcc.org). Данная информация предоставлена для удобства пользователей настоящего международного стандарта и не является свидетельством ИСО (рекомендацией) в пользу названного товара. Допустимо применение аналогичных устройств, если они позволяют получить идентичные результаты.
──────────────────────────────

Рисунок 1 - Устройство для испытаний на устойчивость к воздействию дождя

──────────────────────────────
аРасстояние от насадки до образца для испытаний.
──────────────────────────────
а) Боковая проекция

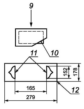
b) Схема держателя образцов для испытаний
1 - водослив; 2 - держатель образца для испытаний; 3 - насадка диаметром 55,56 мм с 13 выпускными отверстиями по (0,99 ± 0,013) мм; 4 - ручка клапана; 5 - медный шток клапана; 6 - водоприемник; 7 - трубка из пирекса; 8 - клапан на уровне 0,6 м; 9 - образец для испытаний размерами 200 х 200 мм; 10 - промокательная бумага размерами 152 х 152 мм; 11 - пружинные клеммы (2) длиной 152 мм; 12 - планка из прозрачной пластмассы или мазонита
Рисунок 2 - Структурная схема устройства для испытаний на устойчивость к воздействию дождя (Rain Tester)

──────────────────────────────
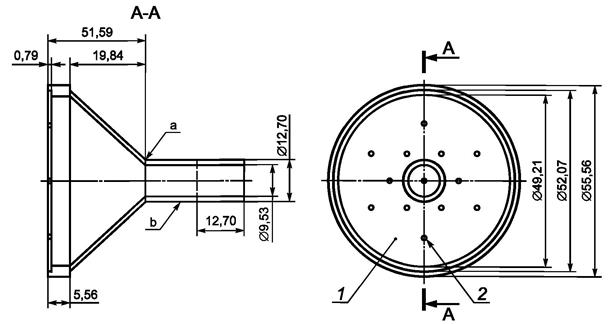
а В этой точке диаметр 12,78 мм.
b Коническая форма.
──────────────────────────────
1 - диск толщиной 0,79 мм с одним отверстием по центру, шестью отверстиями по кругу диаметром 18,26 мм и шестью отверстиями по кругу диаметром 32,54 мм. Диск приклеен к корпусу; 2 - 13 отверстий диаметром (0,99 ± 0,013) мм после покрытия
Отделка: черная, анодированная. Материал: алюминий
Рисунок 3 - Схема насадки с отверстиями
6.2 Белая текстильная промокательная бумага толщиной около 0,7 мм, массой около (385 ± 4,5) г/м 2 и абсорбирующей способностью (200 ± 30) %. 1)
──────────────────────────────
1) Белая текстильная промокательная бумага (White Textile Blotting Paper) - торговое наименование товара, который поставляет ААТСС, P.O. Box 12215, Research Triangle Park, NC 27709-2215, USA (Tel: +1-919-549-8141; Fax: +1-919-549-8933; www.aatcc.org). Данная информация предоставлена для удобства пользователей настоящего международного стандарта и не является свидетельством ИСО (рекомендацией) в пользу названного товара. Допустимо применение аналогичных изделий, если они позволяют получить идентичные результаты.
──────────────────────────────
6.3 Вода температурой (27 ± 1) °С или (20 ± 2) °С. Жесткость воды и значение рН необходимо измерить и внести в протокол испытаний.
6.4 Лабораторные весы, измеряющие с точностью до 0,1 г.
7 Образцы для испытаний
Из испытуемой ткани вырезают не менее трех образцов размерами приблизительно 200 х 200 мм. Образцы для испытаний и промокательную бумагу кондиционируют в течение не менее 4 ч. Кондиционирование и испытания необходимо осуществлять в соответствии с ИСО 139. По соглашению кондиционирование и испытания можно проводить в атмосфере окружающей среды.
8 Метод испытаний
8.1 Образец для испытаний на текстильной промокательной бумаге размерами 150 х 150 мм, масса которой измерена с точностью до 0,1 г, закрепляют в держателе образцов. Данную конструкцию размещают в вертикальной жесткой опорной раме, установленной таким образом, что образец находится по центру разбрызгивателя на расстоянии 305 мм от торца распыляющей насадки.
8.2 Водяные струи направляют горизонтально на образец. Воздействие осуществляют в течение 5 мин при установленном значении высоты гидростатического напора.
Примечание - По большей части при проведении данного испытания используют установленную высоту гидростатического напора. Однако, как отмечено в 9.2, с целью получения полной картины сопротивления ткани прониканию воды могут быть использованы и другие высоты гидростатического напора.
8.3 По окончанию воздействия водой на образец промокательную бумагу аккуратно удаляют и незамедлительно взвешивают с точностью до 0,1 г.
8.4 Требуемое число образцов для испытаний в значительной степени определяется желаемой степенью точности, однако во всех случаях для испытаний необходимо использовать не менее трех образцов каждой ткани или каждого вида обработки.
9 Расчет
9.1 Рассчитывают показатель просачивания воды, определяемый по увеличению массы промокательной бумаги, которое происходит за 5-минутный период испытания. Затем в протоколе отмечают среднее значение показателей не менее чем для трех образцов. Отдельные результаты или средние значения, показывающие увеличение массы более чем на 5,0 г, в протоколе можно отметить как 5+ г или > 5 г.
9.2 Для того чтобы получить полную картину сопротивления ткани или комбинации тканей проникновению воды, необходимо получить средние значения показателей при нескольких насадках, создающих различные значения гидростатического давления. Высоту гидростатического давления изменяют с шагом 305 мм так, чтобы определить:
a) максимальную высоту, при которой не происходит проникновения;
b) изменение степени проникновения при использовании насадки, увеличивающей высоту гидростатического давления, и
c) минимальную высоту, необходимую для вызова "пробоя", то есть просачивания более 5 г воды. На каждой высоте гидростатического давления необходимо использовать не менее трех образцов для испытаний, по которым рассчитывают средний показатель для данной высоты.
10 Протокол испытаний
Протокол испытаний должен включать следующую информацию:
a) ссылку на настоящий стандарт;
b) число испытанных образцов;
c) информацию, необходимую для идентификации испытуемого материала;
d) атмосферные условия, используемые для кондиционирования и испытаний;
e) жесткость и значение рН используемой воды;
f) все отклонения от установленного метода испытаний;
g) результаты испытаний.
Приложение ДА
(справочное)
Сведения о соответствии ссылочных международных стандартов национальным стандартам Российской Федерации
Таблица ДА.1
|
Обозначение ссылочного международного стандарта
|
Степень соответствия
|
Обозначение и наименование соответствующего национального стандарта
|
|
ИСО 139:2005
|
IDT
|
ГОСТ Р ИСО 139-2007 "Изделия текстильные. Стандартные атмосферные условия для кондиционирования и проведения испытаний"
|
|
Примечание - В настоящей таблице использовано следующее условное обозначение степени соответствия стандартов:
- IDT - идентичные стандарты.
|