Введен в действие приказом Федерального агентства по техническому регулированию и метрологии от 20 апреля 2021 г. N 230-ст
Межгосударственный стандарт ГОСТ 2.052-2021
"ЕДИНАЯ СИСТЕМА КОНСТРУКТОРСКОЙ ДОКУМЕНТАЦИИ. ЭЛЕКТРОННАЯ МОДЕЛЬ ИЗДЕЛИЯ. ОБЩИЕ ПОЛОЖЕНИЯ"
Unified system for design documentation. Electronic geometrical model of product. General principles
МКС 01.100
Дата введения - 1 августа 2021 г.
Взамен ГОСТ 2.052-2015
Предисловие
Цели, основные принципы и общие правила проведения работ по межгосударственной стандартизации установлены ГОСТ 1.0 "Межгосударственная система стандартизации. Основные положения" и ГОСТ 1.2 "Межгосударственная система стандартизации. Стандарты межгосударственные, правила и рекомендации по межгосударственной стандартизации. Правила разработки, принятия, обновления и отмены"
Сведения о стандарте
1 Разработан Федеральным государственным унитарным предприятием "Российский научно-технический центр информации по стандартизации, метрологии и оценке соответствия" (ФГУП "СТАНДАРТИНФОРМ")
2 Внесен Техническим комитетом по стандартизации ТК 051 "Система конструкторской документации"
3 Принят Межгосударственным советом по стандартизации, метрологии и сертификации (протокол от 29 января 2021 г. N 136-П)
За принятие проголосовали:
|
Краткое наименование страны по МК (ИСО 3166) 004-97
|
Код страны по МК (ИСО 3166) 004-97
|
Сокращенное наименование национального органа по стандартизации
|
|
Армения
|
AM
|
ЗАО "Национальный орган по стандартизации и метрологии" Республики Армения
|
|
Беларусь
|
BY
|
Госстандарт Республики Беларусь
|
|
Казахстан
|
KZ
|
Госстандарт Республики Казахстан
|
|
Киргизия
|
KG
|
Кыргызстандарт
|
|
Россия
|
RU
|
Росстандарт
|
|
Узбекистан
|
UZ
|
Узстандарт
|
4 Приказом Федерального агентства по техническому регулированию и метрологии от 20 апреля 2021 г. N 230-ст межгосударственный стандарт ГОСТ 2.052-2021 введен в действие в качестве национального стандарта Российской Федерации с 1 августа 2021 г.
5 Взамен ГОСТ 2.052-2015
1 Область применения
Стандарт устанавливает общие требования к выполнению электронных моделей изделий машиностроения и приборостроения (далее - электронные геометрические модели изделий).
На основе настоящего стандарта допускается, при необходимости, разрабатывать стандарты, учитывающие особенности выполнения электронных геометрических моделей изделий конкретных видов техники в зависимости от их специфики.
2 Нормативные ссылки
В настоящем стандарте использованы нормативные ссылки на следующие межгосударственные стандарты:
ГОСТ 2.051 Единая система конструкторской документации. Электронные документы. Общие положения
ГОСТ 2.058 Единая система конструкторской документации. Правила выполнения реквизитной части электронных конструкторских документов
ГОСТ 2.101 Единая система конструкторской документации. Виды изделий
ГОСТ 2.102 Единая система конструкторской документации. Виды и комплектность конструкторских документов
ГОСТ 2.103 Единая система конструкторской документации. Стадии разработки
ГОСТ 2.109 Единая система конструкторской документации. Основные требования к чертежам
ГОСТ 2.305 Единая система конструкторской документации. Изображения - виды, разрезы, сечения
ГОСТ 2.316 Единая система конструкторской документации. Правила нанесения надписей, технических требований и таблиц на графических документах. Общие положения
ГОСТ 2.317 Единая система конструкторской документации. Аксонометрические проекции
Примечание - При пользовании настоящим стандартом целесообразно проверить действие ссылочных стандартов и классификаторов на официальном интернет-сайте Межгосударственного совета по стандартизации, метрологии и сертификации (www.easc.by) или по указателям национальных стандартов, издаваемым в государствах, указанных в предисловии, или на официальных сайтах соответствующих национальных органов по стандартизации. Если на документ дана недатированная ссылка, то следует использовать документ, действующий на текущий момент, с учетом всех внесенных в него изменений. Если заменен ссылочный документ, на который дана датированная ссылка, то следует использовать указанную версию этого документа. Если после принятия настоящего стандарта в ссылочный документ, на который дана датированная ссылка, внесено изменение, затрагивающее положение, на которое дана ссылка, то это положение применяется без учета данного изменения. Если ссылочный документ отменен без замены, то положение, в котором дана ссылка на него, применяется в части, не затрагивающей эту ссылку.
3 Термины, определения и сокращения
3.1 Термины и определения
В настоящем стандарте применены следующие термины с соответствующими определениями:
3.1.1 атрибут (геометрической модели): Дополнительная текстовая информация, связанная с геометрическим элементом модели или моделью в целом * 1).
──────────────────────────────
1) Здесь и далее знаком "*" отмечены пункты, к которым даны пояснения в приложении А.
──────────────────────────────
Примечание - Атрибут может быть представлен числовым значением или строкой(ами) текста.
3.1.2 вспомогательная геометрия (модели): Совокупность геометрических элементов, которые не являются элементами моделируемого изделия.
Примечания - Например, геометрические элементы, которые используются в процессе создания (построения) геометрической модели.
3.1.3 геометрический элемент: Идентифицированный (именованный) геометрический объект.
Примечания
1 Геометрическим объектом может быть точка, линия, плоскость, поверхность, геометрическая фигура, геометрическое тело.
2 Геометрическими элементами могут быть осевая линия, опорные точки сплайна, направляющие и образующие линии поверхности и др.
3.1.4 каркасная (геометрическая) модель: Трехмерная геометрическая модель, представленная совокупностью точек, отрезков и кривых, определяющих в пространстве форму изделия.
3.1.5 модель (изделия): Сущность, воспроизводящая свойства реального изделия.
3.1.6 основная геометрия: Совокупность геометрических элементов, которые непосредственно определяют форму моделируемого изделия.
3.1.7 плоскость обозначений и указаний: Плоскость в пространстве геометрической модели, на которую выводится визуально воспринимаемая информация, содержащая значения атрибутов.
3.1.8 поверхностная (геометрическая) модель: Трехмерная геометрическая модель изделия, представленная множеством ограниченных поверхностей, определяющих в пространстве форму изделия.
3.1.9
|
составная часть изделия; СЧ: Изделие, выполняющее определенные функции в составе другого изделия.
[ГОСТ 2.101-2016, статья 3.2]
|
Примечание - Понятие "Составная часть изделия" следует применять в отношении конкретного изделия, в состав которого оно входит. Составная часть может быть любым видом изделия по конструкторско-функциональным характеристикам (деталь, сборочная единица, комплекс и комплект).
3.1.10 твердотельная (геометрическая) модель: Трехмерная геометрическая модель, представляющая форму изделия как результат композиции множества геометрических элементов с применением операций булевой алгебры к этим геометрическим элементам.
3.1.11 электронная модель изделия: Отображение в компьютерной среде модели изделия, в котором содержатся сведения о свойствах, необходимых для изготовления, контроля приемки, сборки, эксплуатации, ремонта и утилизации изделия.
Примечание - Электронную модель изделия разрабатывают, используя соответствующие программные и технические средства.
3.1.12 электронная (геометрическая) модель изделия: Электронная модель изделия, содержащая необходимые сведения о геометрической форме, размерах и свойствах изделия, зависящих от его формы и размеров.
3.1.13 документированная электронная модель детали: Электронный документ, содержащий электронную геометрическую модель детали и требования к ее изготовлению и контролю, оформленный по ГОСТ 2.051-2013. В зависимости от стадии разработки он включает в себя предельные отклонения размеров, шероховатости поверхностей и др.
3.1.14 документированная электронная модель сборочной единицы: Электронный документ, содержащий электронную геометрическую модель сборочной единицы, соответствующие электронные геометрические модели составных частей, свойства, характеристики и другие данные, необходимые для сборки (изготовления) и контроля, и оформленный по ГОСТ 2.051-2013.
3.2 Сокращения
В настоящем стандарте использованы следующие сокращения:
КД - конструкторский документ (документы);
ПОУ - плоскость обозначений и указаний;
ЭГМИ - электронная геометрическая модель изделия;
ЭД - электронный документ;
ЭМД - электронная модель детали;
ЭМСЕ - электронная модель сборочной единицы.
4 Общие положения
4.1 Электронная модель детали и электронная модель сборочной единицы по ГОСТ 2.102 являются электронными геометрическими моделями изделия.
4.2 ЭГМИ представляет собой совокупность геометрических элементов и атрибутов модели, которые совместно определяют геометрию изделия и его свойства, зависящие от формы и размеров. Схематический состав приведен на рисунке Б.1 (приложение Б).
4.3 Состав информации в ЭГМИ должен соответствовать требованиям ГОСТ 2.109.
4.4 Степень детализации ЭГМИ должна соответствовать стадии разработки по ГОСТ 2.103 и требованиям соответствующих стандартов Единой системы конструкторской документации.
5 Общие требования к выполнению электронной геометрической модели изделия
5.1 Общие требования к выполнению ЭГМИ в форме ЭД - по ГОСТ 2.051 *.
5.1.1 Представление конструкторских элементов изделий типа отверстий следует выполнять в формате применяемой системы автоматизированного проектирования или в стандартизованной форме (см. [1] 1)).
──────────────────────────────
1) В Российской Федерации - согласно ГОСТ Р ИСО 10303-21-2002 "Системы автоматизации производства и их интеграция. Представление данных об изделии и обмен этими данными. Часть 21. Методы реализации. Кодирование открытым текстом структуры обмена", ГОСТ Р ИСО 10303-22-2002 "Системы автоматизации производства и их интеграция. Представление данных об изделии и обмен этими данными. Часть 22. Методы реализации. Стандартный интерфейс доступа к данным".
──────────────────────────────
5.1.2 Реквизитную часть ЭГМИ следует выполнять согласно ГОСТ 2.058.
5.2 При разработке изделия могут быть использованы следующие типы ЭГМИ:
- каркасная модель;
- поверхностная модель;
- твердотельная модель.
Классификация и взаимосвязь типов геометрических моделей приведены на рисунке Б.2 (приложение Б).
Тип геометрической модели для выполнения конкретной ЭГМИ устанавливает разработчик.
5.3 ЭГМИ рекомендуется выполнять по номинальным (без допусков) размерам.
5.4 Требования к единицам измерения и точности линейных и угловых размеров устанавливает разработчик.
5.5 Не допускается давать ссылки на стандарты, определяющие форму и размеры конструктивных элементов (отверстия, фаски, канавки и т.п.), если в них нет описания геометрии этих элементов. Все данные таких конструктивных элементов должны быть приведены в ЭГМИ.
5.6 Если данные о конструкции изделия представлены совместно в форме чертежа (чертежа детали или сборочного чертежа) и ЭГМИ (ЭМД или ЭМСЕ), следует выполнять следующие основные требования:
а) атрибуты, обозначения и указания, определенные и/или заданные в модели и изображенные на чертеже, должны быть согласованы *;
б) если в модели (чертеже) содержатся не все данные о конструкции изделия, то это должно быть указано *;
в) допускается размещать на поле чертежа детали или сборочного чертежа аксонометрическое представление ЭГМИ (ЭМД или ЭМСЕ) *;
г) допускается на поле чертежа размещать информацию с указанием обозначения, электронной версии ЭГМИ (ЭМД или ЭМСЕ) и чертежа, иной информации разработчика.
5.7 При задании атрибутов следует применять условные обозначения (знаки, линии, буквенные и буквенно-цифровые обозначения и др.), установленные в стандартах Единой системы конструкторской документации. Размеры условных знаков следует выдерживать одинаковыми при многократном применении в пределах одной модели *.
5.8 При разработке ЭГМИ следует предусматривать применение баз данных, содержащих номенклатуру и геометрические модели стандартных и покупных изделий (электронных библиотек).
5.8.1 Применение, способы и правила использования электронных библиотек устанавливает разработчик, если это не указано в техническом задании или протоколе рассмотрения технического предложения (эскизного или технического проекта).
5.8.2 Номенклатуру и требования к техническому содержанию применяемых электронных библиотек следует устанавливать в нормативных документах организации с учетом используемого программного обеспечения.
Для изделий, разрабатываемых по заказу Министерства обороны, номенклатура применяемых электронных библиотек, а также нормативные документы организации, регламентирующие их применение, должны быть согласованы с заказчиком (представительством заказчика), если они не указаны в техническом задании.
5.9 В ЭГМИ допускается включать ссылки на стандарты и технические условия, если они полностью и однозначно определяют соответствующие требования. Допускается давать ссылки на технологические инструкции, когда требования, установленные этими инструкциями, являются единственными, гарантирующими требуемое качество изделия.
Для КД на изделия, разрабатываемые по заказу Министерства обороны, ссылочные документы организаций должны быть согласованы с заказчиком (представительством заказчика).
5.10 В ЭГМИ не следует включать технологические указания. В виде исключения допускается включать технологические указания в случаях, предусмотренных ГОСТ 2.109.
5.11 ЭГМИ выполняют как минимум в одной системе координат. В системе координат модели следует указывать начало координат и положительное направление и обозначение каждой оси.
Рекомендуется использовать ортогональную правостороннюю систему координат модели (см. рисунок 1), если не оговорена другая система координат.
При необходимости допускается использовать неортогональную систему координат модели.
В ЭГМИ допускается выполнять упрощенное представление элементов изделия типа отверстий, резьб, проточек, пружин и др., используя частичное определение геометрии модели, атрибуты модели или их комбинацию.
5.12 Начальную ориентацию ЭГМИ в системе координат модели, как правило, не оговаривают.
5.13 При представлении ЭГМИ следует выполнять следующие правила:
а) размеры, предельные отклонения и указания (в т. ч. технические требования по ГОСТ 2.316) следует показывать в ПОУ, параллельных основным плоскостям проекций, по ГОСТ 2.305, аксонометрических проекциях - по ГОСТ 2.317 или иных удобных для представления отображаемой информации плоскостях проекций *;
б) отображение информации в любой ПОУ не должно накладываться на отображение любой другой информации в той же самой ПОУ;
в) текст требований, обозначений и указаний в пределах любой ПОУ не должен помещаться поверх основной геометрии модели, когда он расположен перпендикулярно к плоскости отображения модели;
г) для аксонометрических проекций ориентация ПОУ должна быть параллельна, перпендикулярна или должна совпадать с поверхностью, к которой она применяется;
д) при повороте модели должно быть обеспечено необходимое направление чтения в каждой ПОУ.

Рисунок 1 - Ортогональная правосторонняя система координат
Примеры отображения ПОУ при различной ориентации ЭГМИ приведены в приложении В.
5.14 При представлении модели допускается:
а) не представлять модель на чертежном формате *;
б) не показывать отображение центральных (осевых) линий или центральных плоскостей для указания размеров;
в) не показывать штриховку в разрезах и сечениях;
г) показывать дополнительные конструктивные параметры с помощью вспомогательной геометрии (например, координаты центра масс);
д) показывать размеры и предельные отклонения без использования сечений;
е) включать ссылки на другие документы при условии, что ссылочный документ выполнен в электронной форме. При передаче конструкторской документации другой организации эти документы должны быть включены в комплект КД на изделие *.
Приложение А
(справочное)
Пояснения к пунктам стандарта
3.1.1 Атрибутами описываются размеры, данные о предельных отклонениях (допуски, посадки), технические требования и другая информация, требуемая для определения геометрии изделия или его характеристики. Текстовые атрибуты также называют аннотациями.
3.1.11 Модель отображает реальное (разработанное) или разрабатываемое изделие. Виды изделий - по ГОСТ 2.101.
5.1 ЭГМИ составляет содержательную часть соответствующего КД (ЭМД, ЭМСЕ) по ГОСТ 2.102.
5.6, перечисление а). При выпуске одновременно чертежа и модели все значения размеров должны получаться из модели.
5.6, перечисление б). Например, на поле чертежа или в атрибуте модели следует поместить указание по типу "неуказанные размеры согласно модели (чертежу) АБВГ.ХХХХХХ.ХХХ".
5.6, перечисление в). На аксонометрическом представлении ЭГМИ (ЭМСЕ) следует указывать номер позиции сборочной единицы.
5.7 Рекомендуется выбирать один размер шрифта (символов) для всех атрибутов в одной ЭГМИ. Если это невозможно, следует ограничить используемые размеры атрибутов двумя или тремя значениями.
5.13, перечисление а). Атрибуты с выносными линиями рекомендуется размещать в ПОУ, перпендикулярной к поверхности, на которую указывает выносная линия. При этом следует минимизировать количество непараллельных ПОУ, в которых размещаются атрибуты.
Атрибуты, не связанные с отдельными геометрическими элементами ЭГМИ, а относящиеся к ЭГМИ в целом, рекомендуется размещать в ПОУ, параллельной плоскости вида, в котором ЭГМИ сохраняется.
5.14, перечисление а). В том числе не представляют реквизиты основной надписи и дополнительных граф к ней. Просмотр реквизитов основной надписи и дополнительных граф к ней следует обеспечивать по запросу. Состав реквизитов - по ГОСТ 2.058.
5.14. перечисление е). При ссылках на документы ограниченного распространения (для служебного пользования) допускается эти документы в составе комплекта КД не передавать другой организации.
Приложение Б
(справочное)
Схематический состав электронной геометрической модели изделия

Рисунок Б.1 - Схема состава электронной геометрической модели изделия

Рисунок Б.2 - Классификация типов геометрических моделей
Приложение В
(обязательное)
Примеры представления электронной геометрической модели изделия
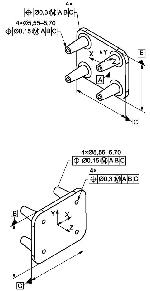
Примеры представления ЭГМИ, включая отображение атрибутов ЭГМИ в ПОУ, приведены на рисунке В.1.

Рисунок В.1 - Примеры отображения ПОУ при различной ориентации ЭГМИ при представлении
Библиография
|
[1]
|
ISO 10303-23:2000
|
Industrial automation systems and integration. Product data representation and exchange. Part 23. Implementation methods: С++ language binding to the standard data access interface
(Системы промышленной автоматизации и интеграция. Представление данных о продукции и обмен данными. Часть 23. Методы реализации: языковая привязка С++ к интерфейсу доступа к стандартным данным)
|