Введен в действие приказом Федерального агентства по техническому регулированию и метрологии от 13 октября 2020 г. N 809-ст
Межгосударственный стандарт ГОСТ 17804-2020
"СИСТЕМА СТАНДАРТОВ БЕЗОПАСНОСТИ ТРУДА. ОДЕЖДА СПЕЦИАЛЬНАЯ. МЕТОД ОПРЕДЕЛЕНИЯ ПЫЛЕПРОНИЦАЕМОСТИ ТКАНЕЙ И СОЕДИНИТЕЛЬНЫХ ШВОВ"
Occupational safety standards system. Industrial clothing. Method for determination of dust-proofing of cloths and seams
МКС 13.340.10
Дата введения - 1 октября 2021 г.
Взамен ГОСТ 17804-72
Предисловие
Цели, основные принципы и общие правила проведения работ по межгосударственной стандартизации установлены ГОСТ 1.0 "Межгосударственная система стандартизации. Основные положения" и ГОСТ 1.2 "Межгосударственная система стандартизации. Стандарты межгосударственные, правила и рекомендации по межгосударственной стандартизации. Правила разработки, принятия, обновления и отмены"
Сведения о стандарте
1 Разработан Федеральным государственным унитарным предприятием "Российский научно-технический центр информации по стандартизации, метрологии и оценке соответствия" (ФГУП "СТАНДАРТИНФОРМ")
2 Внесен Федеральным агентством по техническому регулированию и метрологии
3 Принят Межгосударственным советом по стандартизации, метрологии и сертификации (протокол от 31 августа 2020 г. N 132-П)
За принятие проголосовали:
|
Краткое наименование страны по МК (ИСО 3166) 004-97
|
Код страны по МК (ИСО 3166) 004-97
|
Сокращенное наименование национального органа по стандартизации
|
|
Армения
|
AM
|
ЗАО "Национальный орган по стандартизации и метрологии" Республики Армения
|
|
Беларусь
|
BY
|
Госстандарт Республики Беларусь
|
|
Киргизия
|
KG
|
Кыргызстандарт
|
|
Россия
|
RU
|
Росстандарт
|
|
Узбекистан
|
UZ
|
Узстандарт
|
|
Украина
|
UA
|
Минэкономики Украины
|
4 Приказом Федерального агентства по техническому регулированию и метрологии от 13 октября 2020 г. N 809-ст межгосударственный стандарт ГОСТ 17804-2020 введен в действие в качестве национального стандарта Российской Федерации с 1 октября 2021 г.
5 Взамен ГОСТ 17804-72
1 Область применения
Настоящий стандарт устанавливает метод определения пылепроницаемости хлопчатобумажных, льняных, смешанных тканей, тканей из химических волокон, тканей с покрытием, предназначенных для изготовления специальной одежды для защиты от нетоксичной пыли, и соединительных швов, используемых при изготовлении специальной одежды.
2 Нормативные ссылки
В настоящем стандарте использованы нормативные ссылки на следующие межгосударственные стандарты:
ГОСТ OIML R 76-1 Государственная система обеспечения единства измерений. Весы неавтоматического действия. Часть 1. Метрологические и технические требования. Испытания
ГОСТ 427 Линейки измерительные металлические. Технические условия
ГОСТ 9077 Кварц молотый пылевидный. Общие технические условия
ГОСТ 20566 Ткани и штучные изделия текстильные. Правила приемки и метод отбора проб
ГОСТ 23932 Посуда и оборудование лабораторные стеклянные. Общие технические условия
ГОСТ 29122 Средства индивидуальной защиты. Требования к стежкам, строчкам и швам
Примечание - При пользовании настоящим стандартом целесообразно проверить действие ссылочных стандартов и классификаторов на официальном интернет-сайте Межгосударственного совета по стандартизации, метрологии и сертификации (www.easc.by) или по указателям национальных стандартов, издаваемым в государствах, указанных в предисловии, или на официальных сайтах соответствующих национальных органов по стандартизации. Если на документ дана недатированная ссылка, то следует использовать документ, действующий на текущий момент, с учетом всех внесенных в него изменений. Если заменен ссылочный документ, на который дана датированная ссылка, то следует использовать указанную версию этого документа. Если после принятия настоящего стандарта в ссылочный документ, на который дана датированная ссылка, внесено изменение, затрагивающее положение, на которое дана ссылка, то это положение применяется без учета данного изменения. Если ссылочный документ отменен без замены, то положение, в котором дана ссылка на него, применяется в части, не затрагивающей эту ссылку.
3 Отбор и подготовка проб к испытанию
3.1 Отбор проб производят по ГОСТ 20566.
3.2 Точечная проба должна иметь длину не менее 500 мм по всей ширине ткани.
3.3 Для определения пылепроницаемости тканей подготавливают девять испытуемых проб. Размеры испытуемой пробы должны быть 176 мм по основе, 126 мм по утку. Испытуемые пробы вырезают на расстоянии не менее 50 мм от кромки ткани. Размеры определяют с помощью линейки по ГОСТ 427.
3.4 Для определения пылепроницаемости швов используют вырезанные из образца специальной одежды испытуемые пробы размером 126 мм по основе и 176 мм по утку; подготавливают девять испытуемых проб, шов следует располагать по середине испытуемой пробы.
3.5 В случае, если испытуемые швы в спецодежде соответствуют требованиям ГОСТ 29122, для определения пылепроницаемости швов допускается использование составных проб. Составные пробы подготавливают из двух полосок испытуемой ткани, каждая из которых размером 120 мм по утку и 400 мм по основе, соединенных испытуемым стачным швом по ГОСТ 29122 в соответствии с рисунком 1; количество составных проб - три.
При изготовлении составных проб применяют швейные нитки и иглы в соответствии с ГОСТ 29122.
Из составных проб вырезают по три испытуемые пробы размером 126 мм по основе и 176 мм по утку; испытуемый шов следует располагать по середине испытуемой пробы (см. рисунок 1).
Размеры проб определяют с помощью линейки по ГОСТ 427.

1 - направление нитей основы
Рисунок 1
3.6 Из подготовленных испытуемых проб (отдельно ткани и отдельно швов) изготавливают мешочки для пыли, используя следующую последовательность:
- пробы складывают поперек длины пополам, лицевой стороной внутрь;
- стачивают боковые стороны соединительным швом по ГОСТ 29122 со следующим дополнением: количество стежков на 1 см шва - четыре-пять, ширина шва - 13 мм. Применяют швейные нитки с результирующей номинальной линейной плотностью от 43,5 до 45,0 текс;
- стачанные срезы обметывают;
- верх испытуемой пробы оставляют открытым.
3.7 Для получения элементарной пробы мешочек через незашитую сторону при использовании стеклянной воронки по ГОСТ 23932 заполняют молотым пылевидным кварцем марки А (далее - пыль) по ГОСТ 9077. Масса пыли (50 ± 0,5) г.
По завершении перечисленных действий зашивают мешочек с открытого (незашитого) края. При стачивании используют шов, аналогичный используемому при соединении боковых сторон, края обметывают.
Подготовленный по 3.5-3.6 мешочек является элементарной пробой.
3.8 Приготовленные элементарные пробы в течение 24 ч выдерживают в стандартных климатических условиях по 5.1, взвешивают в тех же климатических условиях на весах по ГОСТ OIML R 76-1 с пределом допускаемой погрешности не более ± 0,01 г.
4 Аппаратура и материалы
4.1 Для проведения испытаний применяют следующие устройства и материалы:
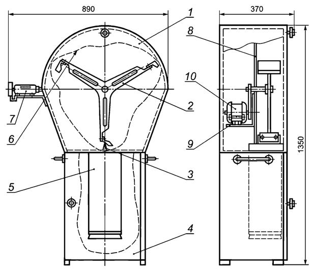
- установка роторного типа марки ППТ, состоящая из: корпуса с кронштейном, перегородкой и крыльчаткой, оснащенной зажимами для испытуемых проб, счетчика, упора, тумбочки и пылесоса мощностью не более 600 Вт.
Частота оборотов крыльчатки - (180 ± 1) об/мин.
Фронтальный разрез упора представляет собой прямоугольник, ширина которого 180 мм, высота - 40 мм.
Профильный (боковой) разрез упора представляет собой треугольник со сглаженной вершиной с размером основания 28 мм.
Схема подходящей установки приведена на рисунке 2;

1 - корпус; 2 - крыльчатка; 3 - упор; 4 - тумбочка; 5 - пылесос; 6 - мешочек; 7 - счетчик СК-1; 8 - кронштейн; 9 - перегородка; 10 - электродвигатель
Рисунок 2 - Пример установки роторного типа марки ППТ
- весы высокого класса точности по ГОСТ OIML R 76-1 с пределами допускаемой погрешности не более ± 0,01 г;
- кварц молотый пылевидный марки А по ГОСТ 9077.
5 Проведение испытаний
5.1 Климатические условия проведения испытаний:
- температура воздушной среды ... (20 ± 2) °С;
- относительная влажность ... (65 ± 2) %.
5.2 Подготовленные элементарные пробы, содержащие пыль, закрепляют в зажимах крыльчатки (2) на расстоянии 4 мм от верхнего шва таким образом, чтобы длина соприкосновения пробы и упора составляла 25 мм.
Включают установку.
С помощью счетчика числа циклов (7) задают необходимое количество ударов элементарных проб об упор (3) - 150 ударов.
Установка должна поддерживать рабочий режим при частоте оборотов крыльчатки (180 ± 1) об/мин.
Пыль, выделяющаяся при ударе элементарных проб, должна постоянно удаляться из зоны испытаний с помощью пылесоса через специальное отверстие, расположенное у основания упора.
Окончание работы установки происходит автоматически - при достижении заданного количества циклов.
Примечание - Допускается остановку установки проводить в ручном режиме.
5.3 По завершении испытания элементарные пробы освобождают из зажимов крыльчатки.
Элементарные пробы взвешивают на весах, указанных в разделе 4.
5.4 Проводят три определения для каждого комплекта элементарных проб.
6 Обработка результатов
6.1 Пылепроницаемость элементарной пробы ткани Пп, г/м2, вычисляют по формуле
,
(1)
где m1 - масса элементарной пробы ткани до испытания, г;
m2 - масса элементарной пробы ткани после испытания, г;
S1 - площадь элементарной пробы ткани, м2.
За результат испытаний по пылепроницаемости ткани принимают среднее арифметическое значение результатов девяти определений пылепроницаемости элементарной пробы ткани. Результат подсчитывают с точностью до 0,01 г/м2.
6.2 Пылепроницаемость элементарной пробы со швом П, г/м2, вычисляют по формуле
,
(2)
где m3 - масса элементарной пробы со швом до испытания, г;
m4 - масса элементарной пробы ткани со швом после испытания, г;
S2 - площадь элементарной пробы ткани со швом, м2.
За результат испытаний принимают среднее арифметическое значение результатов девяти определений. Результат подсчитывают с точностью до 0,01 г/м2.
6.3 Пылепроницаемость шва Пш вычисляют по формуле
Пш=П-Пп.
(3)