ГОСТ Р ИСО 8669-2-2019 МОЧЕПРИЕМНИКИ. Часть 2. ТРЕБОВАНИЯ И МЕТОДЫ ИСПЫТАНИЙ
Urine collection bags. Part 2. Requirements and test methods
ОКС 03.080.30
Дата введения - 1 апреля 2020 г.
Введен впервые
Предисловие
1 Подготовлен Федеральным государственным унитарным предприятием "Российский научно-технический центр информации по стандартизации, метрологии и оценке соответствия" (ФГУП "СТАНДАРТИНФОРМ") на основе собственного перевода на русский язык англоязычной версии стандарта, указанного в пункте 4
2 Внесен Техническим комитетом по стандартизации ТК 381 "Технические средства и услуги для инвалидов и других маломобильных групп населения"
3 Утвержден и введен в действие Приказом Федерального агентства по техническому регулированию и метрологии от 27 июня 2019 г. N 338-ст
4 Настоящий стандарт идентичен международному стандарту ИСО 8669-2:1996 "Мочеприемники. Часть 2. Требования и методы испытаний" (ISO 8669-2:1996 "Urine collection bags - Part 2: Requirements and test methods", IDT).
При применении настоящего стандарта рекомендуется использовать вместо ссылочных международных стандартов соответствующие им национальные стандарты, сведения о которых приведены в дополнительном приложении ДА
5 Введен впервые
Предисловие к ИСО 8669-2
Международная организация по стандартизации (ИСО) - это Всемирная федерация национальных органов по стандартизации (комитеты - члены ИСО). Подготовка международных стандартов, как правило, осуществляется с привлечением технических комитетов ИСО. Каждый комитет - член ИСО, проявляющий интерес к тематике, по которой учрежден технический комитет, имеет право быть представленным в нем. Международные организации, государственные и негосударственные, поддерживающие связь с ИСО, также принимают участие в работе. ИСО тесно сотрудничает с Международной электротехнической комиссией (МЭК) по всем вопросам стандартизации в области электротехники.
Проекты международных стандартов, принятые техническими комитетами, направляют на голосование комитетам-членам. Для публикации в качестве международного стандарта требуется одобрение не менее 75 % проголосовавших комитетов-членов.
Настоящий стандарт подготовлен Техническим комитетом ISO/TC 173 "Средства помощи для лиц с ограниченными возможностями", подкомитет ПК 3 "Средства помощи при стоме и недержании".
Настоящее второе издание отменяет и заменяет первые издания ИСО 8669-2:1988, ИСО 8669-3:1990 и ИСО 8669-4:1990 после их технического пересмотра.
Серия стандартов ИСО 8669 под общим наименованием "Мочеприемники" включает в себя следующие части:
- часть 1. Словарь;
- часть 2. Требования и методы испытаний.
Приложение А является неотъемлемой частью настоящего стандарта.
Введение
Пользователям настоящего стандарта рекомендуется обдумать целесообразность проведения сертификации продукции на соответствие требованиям настоящего стандарта независимой стороной, основываясь на контрольных испытаниях и непрерывном наблюдении, которые могут быть совмещены с оценкой системы контроля качества соответствующих стандартов серии ИСО 9000.
Настоящий стандарт устанавливает функциональные требования и методы испытаний для дренируемых и недренируемых мочеприемников следующих типов:
a) мочеприемник, предназначенный для ношения на теле (носимый мочеприемник);
b) мочеприемник, фиксирующийся с помощью крючка или на напольной стойке (не носимый на теле мочеприемник).
Настоящий стандарт не распространяется на уроприемники (уростомные мешки), системы для контроля диуреза (уриметры), мочеприемники, предназначенные исключительно для педиатрических целей.
В настоящем стандарте использована нормативная ссылка на следующий стандарт:
ISO 8669-1:1988, Urine collection bags. Part 1: Vocabulary (Мочеприемники. Часть 1. Словарь)
В настоящем стандарте применены следующие термины с соответствующими определениями:
3.1 недренируемый мочеприемник (closed-ended urine collection bag): Гибкий резервуар для сбора мочи, не имеющий отверстия для слива содержимого.
3.2 дренируемый мочеприемник (open-ended urine collection bag): Гибкий резервуар для сбора мочи, имеющий отверстие для слива содержимого.
3.3 номинальный объем (rated volume): Объем мешка, выраженный в миллилитрах, указанный производителем.
3.4 испытательный объем (test volume): Объем жидкости, находящейся в мочеприемнике и применяемой при проведении испытания на проверку прочности и устойчивости к протеканию мочеприемника в сборе (6.1).
4.1 Номинальный объем
При измерении методом, описанным в 6.1, номинальный объем мочеприемника не должен превышать испытательный объем.
4.2 Отсутствие протекания без нагрузки
При испытании методом, описанным в 6.2, мочеприемник не должен протекать.
4.3 Отсутствие протекания под нагрузкой
При испытании методом, описанным в 6.3, мочеприемник не должен протекать.
4.4 Отсутствие протекания под воздействием удара
При испытании методом, описанным в 6.4, мочеприемник не должен протекать.
4.5 Невозвратный клапан
При наличии невозвратного клапана при испытании методом, описанным в 6.5, обратный ток мочи не должен превышать 10 мл/мин.
4.6 Прочность системы крепления
Если система крепления мочеприемника представляет собой прорези, то испытания проводят методом, описанным в 6.6; все точки крепления должны удерживать мочеприемник.
Если система крепления мочеприемника представляет собой пуговицы и петли, то испытания проводят методом, описанным в 6.7; все пуговицы и петли должны удерживать мочеприемник.
Если мочеприемник поставляется со встроенной подвесной системой, то его испытания проводят методом, описанным в 6.8; все части встроенной подвесной системы должны удерживать мочеприемник.
4.7 Прочность крепления дренажной трубки
При испытании методом, описанным в 6.9, дренажная трубка не должна отсоединяться от мочеприемника.
4.8 Давление/время инициирования потока воды в мочеприемник и скорость наполнения
При испытании методом, описанным в 6.10, вода должна начать поступать в мочеприемник в течение 1 мин, а средняя скорость наполнения должна быть минимум 10 мл/с.
4.9 Размеры
Если размеры предоставлены, они должны быть измерены в соответствии с процедурами, приведенными в приложении А.
5.1 Температура
Стандартная температура для испытаний (атмосфера и реактивы) должна быть (23 ± 2) °С.
5.2 Испытуемые образцы
Испытания следует проводить с образцами изделий в том виде, в котором они поставляются конечному потребителю.
6.1 Испытательный объем
6.1.1 Принцип
Мочеприемник наполняют водой и измеряют объем воды в мочеприемнике.
6.1.2 Реактивы
6.1.2.1 Водопроводная вода.
6.1.3 Прибор
6.1.3.1 Мерные цилиндры объемом, соответствующим для испытуемого мочеприемника, с погрешностью измерений ± 2 %.
6.1.3.2 Система заливки воды, схема и размеры которой изображены на рисунке 1.
Для поддержания постоянного гидростатического давления (напора) скорость потока в резервуар системы заливки воды должна превышать скорость наполнения мочеприемника.

Примечание - d более или равен наибольшему внутреннему диаметру дренажной трубки мочеприемника.
Рисунок 1 - Система заливки воды для определения испытательного объема
6.1.3.3 Секундомер или аналогичный измеритель времени.
6.1.4 Методика
6.1.4.1 Отрезают дренажную трубку таким образом, чтобы кран резервуара располагался максимально близко к мочеприемнику.
Примечание - Если у мочеприемника выдвижная (удлиняющаяся) трубка, то перед укорачиванием ее следует выдвинуть до максимальной длины.
6.1.4.2 Удаляют из мочеприемника как можно больше воздуха. Затем закрывают сливной клапан (кран).
Примечание - Большинство мочеприемников оснащены сливным клапаном (краном), через который можно выпустить воздух.
6.1.4.3 Измеряют расстояние между нижним и верхним краями мочеприемника (l4 на рисунке А.1) и ставят горизонтальную отметку на уровне 0,75 l4 от нижнего края мочеприемника.
6.1.4.4 Подвешивают не носимый на теле мочеприемник, используя рекомендуемую производителем подвесную систему. Подвешивают носимый мочеприемник свободно в вертикальном положении таким образом, чтобы не ограничивать объем мочеприемника.
6.1.4.5 Используя систему заливки воды (6.1.3.2) и убедившись в том, что кран резервуара закрыт, начинают заливать воду в резервуар (6.1.2.1) и устанавливают гидростатическое давление (напор) на уровень (500 ± 5) мм. Присоединяют кран резервуара к дренажной трубке мочеприемника.
6.1.4.6 Открывают кран резервуара и вливают воду в мочеприемник, следя за тем, чтобы в него не попадал воздух.
6.1.4.7 Когда уровень воды внутри мочеприемника поднимется до отметки 0,75 l4, запускают секундомер (6.1.3.3).
6.1.4.8 Через 1 мин, но не более чем через 1 мин 10 с, закрывают кран резервуара.
6.1.4.9 Зрительно проверяют мочеприемник на предмет протекания. При обнаружении протекания испытание считают недействительным и проводят заново, используя, если необходимо, новый мочеприемник.
6.1.4.10 Зажимают дренажную трубку как можно ближе к верхней части мочеприемника. Отсоединяют мочеприемник от системы заливки воды и выливают воду из мочеприемника в мерный цилиндр (6.1.3.1). Измеряют объем в миллилитрах и регистрируют его в качестве испытательного объема с погрешностью ± 2 %.
6.1.5 Протокол испытания
Протокол испытания должен содержать общую информацию, указанную в разделе 7, вместе с данными по испытательному объему.
6.2 Отсутствие протекания без нагрузки
6.2.1 Принцип
Мочеприемник наполняют подкрашенной водой, располагают горизонтально и проверяют на наличие протекания. Затем его подвешивают вертикально и снова визуально проверяют на наличие протекания.
6.2.2 Реактивы
6.2.2.1 Водопроводная вода.
6.2.2.2 Подкрашенная вода, представляющая собой водопроводную воду, подкрашенную путем добавления 0,3 г/л эритрозина (Е 127) или другого красителя.
6.2.2.3 Абсорбирующий материал белого цвета.
6.2.3 Аппаратура
6.2.3.1 Мерный цилиндр согласно 6.1.3.1.
6.2.3.2 Система заливки воды, схема и размеры которой изображены на рисунке 2.

Рисунок 2 - Система заливки воды для испытания на отсутствие протекания (а) и измерения скорости наполнения (b)
6.2.4 Методика
6.2.4.1 Подвешивают не носимый на теле мочеприемник, используя рекомендуемую производителем подвесную систему. Подвешивают носимый мочеприемник свободно таким образом, чтобы не ограничивать объем мочеприемника.
6.2.4.2 Если мочеприемник оснащен сливным клапаном (краном), добавляют небольшой объем воды (6.2.2.1) в мочеприемник, открывают сливной клапан (кран) и позволяют воде начать вытекать из мочеприемника, затем полностью открывают и закрывают сливной клапан (кран) десять раз. Опорожняют мочеприемник и закрывают сливной клапан (кран).
6.2.4.3 Используя мерный цилиндр и систему заливки воды (см. рисунок 2), наливают в мочеприемник подкрашенную воду (6.2.2.2) в объеме, равном 75 % от испытательного объема (6.1.4.10), не допуская попадания воздуха в мочеприемник, при этом расстояние между верхним краем мочеприемника и дном резервуара должно составлять (500 ± 5) мм.
6.2.4.4 Перекрывают дренажную трубку и воздушный клапан (при его наполнении).
6.2.4.5 Кладут абсорбирующий материал (6.2.2.3) на плоскую поверхность. Снимают мочеприемник с подвесной системы и кладут его горизонтально на абсорбирующий материал.
6.2.4.6 Оставляют мочеприемник на (17 ± 1) ч, а затем визуально проверяют его и абсорбирующий материал на наличие пятен от протекания. Если пятна обнаружены, то испытуемый мочеприемник считается не прошедшим испытание.
6.2.4.7 Располагают испытуемый мочеприемник вертикально, как описано в 6.2.4.1, над абсорбирующим материалом.
6.2.4.8 Оставляют мочеприемник на (4 ± 1) ч, а затем визуально проверяют его и абсорбирующий материал на наличие пятен от протекания. Если пятна обнаружены, то испытуемый мочеприемник считается не прошедшим испытание.
6.2.5 Протокол испытания
Протокол испытания должен содержать общую информацию, указанную в разделе 7, вместе с данными по отсутствию или наличию протекания. В случае протекания следует указать, откуда и в каком положении мочеприемника произошло протекание.
6.3 Отсутствие протекания под нагрузкой
6.3.1 Принцип
Испытуемый мочеприемник наполняют подкрашенной водой и подвергают нагрузке, сжатию между двумя параллельными пластинами. Затем мочеприемник визуально проверяют на наличие протекания.
6.3.2 Реактивы
6.3.2.1 Подкрашенная вода согласно 6.2.2.2.
6.3.2.2 Абсорбирующий материал белого цвета.
6.3.3 Прибор
6.3.3.1 Мерный цилиндр согласно 6.1.3.1.
6.3.3.2 Система заливки воды, схема и размеры которой изображены на рисунке 2.
6.3.3.3 Плоская жесткая пластина, длина и ширина которой не менее длины и ширины испытуемого мочеприемника.
6.3.3.4 Средства фиксации, позволяющие пластине свободно двигаться в вертикальном направлении, но фиксирующие ее по горизонтали с отклонением ± 5°.
6.3.3.5 Гири или другие грузы, воздействующие на мочеприемник суммарной силой, равной (200 ± 10) H.
6.3.3.6 Секундомер или аналогичный измеритель времени.
6.3.4 Методика
6.3.4.1 Добавляют в мочеприемник подкрашенную воду (6.3.2.1), как описано в 6.2.4.3.
6.3.4.2 Перекрывают дренажную трубку и воздушный клапан (при его наличии).
6.3.4.3 Абсорбирующий материал (6.2.2.3) кладут на плоскую твердую поверхность. Располагают мочеприемник на абсорбирующий материал горизонтально.
6.3.4.4 Плоскую твердую пластину (6.3.3.3) кладут сверху на мочеприемник и фиксируют (6.3.3.4), затем осторожно устанавливают на пластину грузы (6.3.3.5), суммарная сила воздействия которых на мочеприемник составляет (200 ± 10) Н.
6.3.4.5 Оставляют мочеприемник под нагрузкой на 1 мин, но не более чем на 1 мин 10 с. Снимают нагрузку и визуально проверяют мочеприемник и белый абсорбирующий материал на наличие пятен от протекания. Если пятна обнаружены, то испытуемый мочеприемник считается не прошедшим испытание.
6.3.5 Протокол испытания
Протокол испытания должен содержать общую информацию, указанную в разделе 7, вместе с данными по отсутствию или наличию протекания. В случае протекания следует указать, откуда и в каком положении мочеприемника произошло протекание.
6.4 Отсутствие протекания под воздействием удара
6.4.1 Принцип
Мочеприемник наполняют водой и роняют на гладкую твердую поверхность. Затем мочеприемник визуально проверяют на наличие протекания.
6.4.2 Реактивы
6.4.2.1 Водопроводная вода.
6.4.3 Прибор
6.4.3.1 Мерный цилиндр согласно 6.1.3.1.
6.4.3.2 Система заливки воды, схема и размеры которой изображены на рисунке 2.
6.4.3.3 Гладкая твердая поверхность, например керамический пол или пластина из толстолистовой стали.
6.4.4 Методика
6.4.4.1 Используя мерный цилиндр и систему заливки воды (см. рисунок 2), наливают в мочеприемник воду (6.4.2.1) в объеме, равном 50 % от испытательного объема (6.1.4.10), не допуская попадания воздуха в мочеприемник, при этом расстояние между верхней частью мочеприемника и дном резервуара должно составлять (500 ± 5) мм.
6.4.4.2 Перекрывают дренажную трубку и воздушный клапан (при его наличии).
6.4.4.3 Удерживают мочеприемник таким образом, чтобы его самый нижний край находился на расстоянии (500 ± 10) мм над гладкой твердой поверхностью (6.4.3.3), а затем роняют его, чтобы он ударился о поверхность своим дном.
6.4.4.4 Визуально проверяют мочеприемник на наличие протекания.
6.4.4.5 Повторяют процедуры согласно 6.4.4.1-6.4.4.4 не менее двух раз, используя каждый раз новый мочеприемник, роняя мочеприемники таким образом, чтобы один из них:
a) ударился о поверхность одной из сторон,
b) а другой ударился о поверхность боковой кромкой.
6.4.5 Протокол испытания
Протокол испытания должен содержать общую информацию, указанную в разделе 7, вместе с данными по наличию или отсутствию протекания у каждого из мочеприемников. В случае протекания следует указать, какое падение вызвало повреждение и в каком месте.
6.5 Невозвратный клапан
6.5.1 Принцип
Мочеприемник наполняют водой и подвергают сжимающей нагрузке, затем измеряют объем и скорость оттока воды через невозвратный клапан.
6.5.2 Реактивы
6.5.2.1 Водопроводная вода.
6.5.3 Прибор
6.5.3.1 Мерные цилиндры, имеющие емкость, соответствующую испытуемому мочеприемнику, и объему, пропускаемому через невозвратный клапан, с погрешностью измерений ± 2 %.
6.5.3.2 Плоская жесткая пластина, длина и ширина которой должны быть не менее длины и ширины испытуемого мочеприемника.
6.5.3.3 Средства фиксации, позволяющие пластине свободно двигаться в вертикальном направлении, но фиксирующие ее горизонтально с отклонением ± 5°.
6.5.3.4 Гири или другие грузы, воздействующие на мочеприемник суммарной силой, равной (100 ± 5) Н.
6.5.3.5 Секундомер или аналогичный измеритель времени.
6.5.4 Методика
6.5.4.1 Если длина дренажной трубки мочеприемника более 50 мм, то ее обрезают до размера (50 ± 10) мм.
Если у мочеприемника выдвижная (удлиняющаяся) трубка, то перед укорачиванием ее следует выдвинуть до максимальной длины.
У некоторых мочеприемников невозвратный клапан встроен в дренажную трубку. Проверяют, чтобы невозвратный клапан не был сломан или поврежден при укорачивании.
6.5.4.2 Наливают воду в мочеприемник, как описано в 6.4.4.1.
6.5.4.3 Мочеприемник кладут на плоскую, твердую горизонтальную поверхность таким образом, чтобы дренажная трубка была расположена за краем этой поверхности.
6.5.4.4 Плоскую твердую пластину (6.5.3.2) кладут сверху на мочеприемник и фиксируют (6.5.3.3), затем осторожно устанавливают на пластину грузы (6.5.3.4), суммарная сила воздействия которых на мочеприемник составляет (100 ± 5) Н.
6.5.4.5 Оставляют мочеприемник под нагрузкой на 5 мин, но не более чем на 5 мин 10 с. Используя мерные цилиндры (6.5.3.1), собирают и измеряют объем воды, поступающей из дренажной трубки в течение указанного времени с точностью до ± 2 мл, не учитывая воду, вылившуюся до приложения нагрузки. Рассчитывают скорость оттока воды через невозвратный клапан, выраженную в миллилитрах в минуту.
6.5.5 Протокол испытания
Протокол испытания должен содержать общую информацию, указанную в разделе 7, а также данные о скорости оттока воды через невозвратный клапан, выраженные в миллилитрах в минуту.
6.6 Прочность системы крепления мочеприемников с прорезями
6.6.1 Принцип
Мочеприемник подвешивают на стержне, проходящем через прорези, и к нижнему краю мочеприемника подвешивают груз. Затем визуально проверяют мочеприемник на наличие повреждений.
6.6.2 Прибор
6.6.2.1 Жесткий стержень диаметром (6 ± 0,1) мм, имеющий крепления для удержания в горизонтальном положении.
6.6.2.2 Зажимы, способные зажать нижний край мочеприемника на всю его ширину, с креплениями, к которым можно подвесить груз.
6.6.2.3 Набор грузов с креплениями к зажиму. Суммарная масса грузов и зажима равна 1,5-кратной массе испытательного объема испытуемого мочеприемника.
6.6.3 Методика
6.6.3.1 Стержень (6.6.2.1) пропускают через минимальное количество прорезей для крепления в верхней части мочеприемника, как показано на рисунке 3, соблюдая инструкции производителя.
6.6.3.2 Стержень устанавливают в горизонтальном положении таким образом, чтобы мочеприемник свободно висел на стержне.
6.6.3.3 Зажим (6.6.2.2) устанавливают на нижней части мочеприемника, как показано на рисунке 3. Если на нижней части мочеприемника расположен сливной порт, мешающий установке зажима, сливной порт обрезают таким образом, чтобы осталась гладкая часть мочеприемника, на которую можно установить зажим.
6.6.3.4 К зажиму подвешивают соответствующие грузы (6.6.2.3) таким образом, чтобы суммарная масса грузов и зажима равнялась 1,5-кратной массе испытательного объема (6.1.4.10) мочеприемника.
6.6.3.5 Мочеприемник оставляют под воздействием нагрузки в течение (24 ± 1) ч. Визуально проверяют прорези для креплений.
6.6.4 Протокол испытания
Протокол испытания должен содержать общую информацию, указанную в разделе 7, а также данные о повреждениях прорезей крепления.

Рисунок 3 - Схема испытания на определение прочности системы крепления мочеприемников с прорезями
6.7 Прочность системы крепления мочеприемников с пуговицами и петлями
6.7.1 Принцип
Мочеприемник подвешивают за ремешки, ко дну мочеприемника подвешивают груз. Визуально проверяют мочеприемник на предмет повреждений.
6.7.2 Прибор
6.7.2.1 Два ремешка, аналогичные поставляемым с испытуемым мочеприемником, имеющие средства крепления с одной стороны каждого ремешка, а также средства крепления ремешков к зафиксированной горизонтальной поверхности.
6.7.2.2 Подходящий зажим согласно 6.6.2.2.
6.7.2.3 Набор грузов согласно 6.6.2.3.
6.7.3 Методика
6.7.3.1 Прикрепляют два ремешка (6.7.2.1) к зафиксированной горизонтальной опоре таким образом, чтобы линия, проведенная между точками крепления, была горизонтальной, и расстояние между ними было таким же, как между точками крепления испытуемого мочеприемника.
6.7.3.2 Прикрепляют мочеприемник к ремешкам с помощью пуговиц и прорезных петель, как показано на рисунке 4.

Рисунок 4 - Схема испытания на определение прочности системы крепления мочеприемников с пуговицами и петлями
6.7.3.3 Устанавливают зажим (6.7.2.2), как указано в 6.6.3.3.
6.7.3.4 Подвешивают соответствующий груз (6.7.2.3), как указано в 6.6.3.4.
6.7.3.5 Оставляют мочеприемник под воздействием нагрузки в течение (24 ± 1) ч. Визуально проверяют состояние пуговиц и петель.
6.7.4 Протокол испытания
Протокол испытания должен содержать общую информацию, указанную в разделе 7, а также данные о том, смогла ли система крепления пуговицами и петлями удержать мочеприемник.
6.8 Прочность встроенной подвесной системы
6.8.1 Принцип
Мочеприемник подвешивают с помощью встроенной подвесной системы, а груз - ко дну мочеприемника. Затем визуально проверяют мочеприемник на наличие повреждений.
6.8.2 Прибор
6.8.2.1 Подходящая опора, способная держать мочеприемник в подвешенном состоянии согласно инструкциям производителя.
6.8.2.2 Подходящий зажим согласно 6.6.2.2.
6.8.2.3 Набор грузов согласно 6.6.2.3.
6.8.3 Методика
6.8.3.1 Подвешивают мочеприемник с помощью встроенной подвесной системы к подходящей опоре (6.8.2.1), соблюдая инструкции производителя.
6.8.3.2 Устанавливают зажим (6.8.2.2) согласно 6.6.3.3.
6.8.3.3 Подвешивают соответствующий груз (6.8.2.3) согласно 6.6.3.4.
6.8.3.4 Оставляют мочеприемник под воздействием нагрузки на (24 ± 1) ч. Визуально проверяют подвесную систему.
6.8.4 Протокол испытания
Протокол испытания должен содержать общую информацию, указанную в разделе 7, а также данные о повреждении части подвесной системы.
6.9 Прочность крепления дренажной трубки
6.9.1 Принцип
Усилие на растяжение прилагается к участку между мочеприемником и дренажной трубкой в попытке оторвать дренажную трубку от мочеприемника.
6.9.2 Прибор
6.9.2.1 Зажим или аналогичное приспособление для подвешивания мочеприемника.
6.9.2.2 Груз со средствами его крепления к дренажной трубке общей массой, необходимой для приложения силы тяжести, равной 40 + 1 Н.
6.9.2.3 Секундомер или аналогичный измеритель времени.
6.9.3 Методика
6.9.3.1 Подвешивают мочеприемник с помощью зажима (6.9.2.1), дренажную трубку направляют вниз.
6.9.3.2 Подвешивают груз (6.9.2.2) к нижнему концу дренажной трубки.
6.9.3.3 Опускают груз без приложения ударной нагрузки до тех пор, пока он не будет висеть свободно, и оставляют его висеть в течение минимум 1 мин, но не более 1 мин 10 с, измеряя время секундомером (6.9.2.3).
6.9.3.4 Визуально проверяют соединение дренажной трубки и мочеприемника.
6.9.4 Протокол испытания
Протокол испытания должен содержать общую информацию, указанную в разделе 7, а также данные о том, оторвалась ли дренажная трубка от мочеприемника.
6.10 Давление/время инициирования потока в мочеприемник и скорость наполнения
6.10.1 Принцип
Мочеприемник подвергается воздействию гидростатического давления для проверки наполнения его водой; если вода поступает, то измеряют время, в течение которого в мочеприемник поступит 50 % испытательного объема, и рассчитывают скорость наполнения.
6.10.2 Реактивы
6.10.2.1 Водопроводная вода.
6.10.3 Прибор
6.10.3.1 Мерные цилиндры согласно 6.1.3.1.
6.10.3.2 Система заливки воды, схема и размеры которой изображены на рисунке 2.
6.10.3.3 Секундомер или аналогичный измеритель времени.
6.10.4 Методика
6.10.4.1 Удаляют из мочеприемника как можно больше воздуха. После этого закрывают сливной клапан.
Примечание - У большинства мочеприемников есть сливной клапан (кран), через который можно выпустить воздух.
6.10.4.2 Подвешивают не носимый на теле мочеприемник, используя рекомендуемую производителем подвесную систему. Подвешивают нательный мочеприемник свободно таким образом, чтобы не ограничивать объем мочеприемника.
6.10.4.3 Проверяют, чтобы кран резервуара был закрыт. Наливают в резервуар с помощью мерного цилиндра объем воды (6.10.2.1), равный 50 % испытательного объема (6.1.4.10), и устанавливают резервуар таким образом, чтобы его дно находилось над краном на расстоянии (150 ± 5) мм. Подсоединяют кран резервуара к дренажной трубке мочеприемника напрямую или через коннектор.
Примечания
1 Если для соединения требуется дополнительная трубка, то используют трубку, внутренний диаметр которой не менее внутреннего диаметра трубки испытуемого мочеприемника.
2 Перекручивание или перегибание дренажной трубки не должны препятствовать переливанию воды в мочеприемник. Дренажные трубки длиной более 150 мм необходимо должным образом фиксировать во избежание образования в них воздушных пробок.
6.10.4.4 Открывают кран резервуара и с помощью секундомера (6.10.3.3) измеряют время в секундах, необходимое для того, чтобы весь объем воды перелился в мочеприемник. Включают секундомер, когда открывают кран, и останавливают его, когда поток воды станет прерывистым, или если вода не попала в мочеприемник в течение 1 мин, - 1 мин 10 с.
6.10.4.5 Визуально проверяют мочеприемник на предмет протекания. В случае протекания испытание признается недействительным, проводят новое испытание, используя, если необходимо, другой мочеприемник.
6.10.4.6 Рассчитывают среднюю скорость наполнения, выраженную в миллилитрах в секунду.
6.10.5 Протокол испытания
Протокол испытания должен содержать общую информацию, указанную в разделе 7, а также данные о том, поступала ли вода в мочеприемник в течение 1 мин - 1 мин 10 с, и если да, то указывают среднюю скорость наполнения, выраженную в миллилитрах в секунду.
Протокол испытания должен содержать следующую информацию:
a) ссылку на настоящий стандарт;
b) все идентификационные данные об испытуемом мочеприемнике;
c) дату и место проведения испытаний;
d) количество испытуемых мочеприемников;
e) результаты испытаний согласно 6.1.5, 6.2.5, 6.3.5, 6.4.5, 6.5.5, 6.6.4, 6.7.4, 6.8.4, 6.9.4 и 6.10.5.
Приложение А
(обязательное)
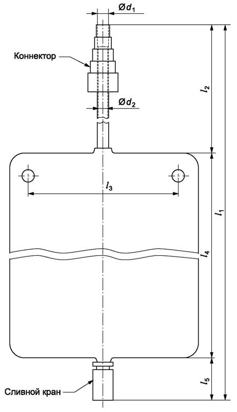
Настоящее приложение устанавливает метод определения размеров мочеприемников. Его целью является идентификация размеров для конечного потребления мочеприемников.
Размеры, установленные данным методом, - только для целей идентификации, ни по отдельности, ни вместе они не устанавливают и не рекомендуют продукцию определенной конструкции, дизайна или размера.
А.1 Принцип
Пустой мочеприемник кладут на ровную поверхность и регистрируют размеры (рисунок А.1).
А.2 Прибор
А.2.1 Измерительные приборы с шагом в 0,5 мм.
А.3 Методика
А.3.1 Кладут пустой мочеприемник на ровную горизонтальную поверхность. Если у мочеприемника имеется сливной клапан (кран), его устанавливают в положение "закрыто" в соответствии с инструкциями производителя.
А.3.2 Измеряют внутренний диаметр коннектора, при его наличии, с точностью до 0,5 мм (размер d1 на рисунке А.1).
А.3.3 Определяют место с наименьшим внутренним диаметром на дренажной трубке, коннекторе, в капельной камере, воздушном клапане и месте отбора проб. Измеряют этот внутренний диаметр с точностью до 0,5 мм (размер d2 на рисунке А.1)
А.3.4 Измеряют расстояние от конца трубки или, если имеется, кончика коннектора до самой нижней части мочеприемника в сборе с точностью до 10 мм (размер l1 на рисунке А.1).
А.3.5 Измеряют длину дренажной трубки от конца трубки или, если имеется, кончика коннектора до верхней части мочеприемника с точностью до 10 мм (размер l2 на рисунке А.1).
А.3.6 Измеряют расстояние между геометрическими центрами точек (отверстий) крепления с точностью до 1 мм (размер l3 на рисунке А.1).
А.3.7 Измеряют расстояние от верхней части до дна мочеприемника, исключая дренажную и сливную трубки и сливной клапан (кран) с точностью до 1 мм (размер l4 на рисунке А.1).
А.3.8 Измеряют длину сливной трубки/сливного клапана (крана) от нижнего края мочеприемника до нижнего конца мочеприемника в сборе с точностью до 1 мм (размер l5 на рисунке А.1).
А.4 Протокол испытания
Протокол испытания должен содержать общую информацию, указанную в разделе 7, вместе с данными об измерениях, описанных в А.3.

Рисунок А.1 - Стандартные размеры мочеприемника
Приложение ДА
(справочное)
Таблица ДА.1
|
Обозначение ссылочного международного стандарта |
Степень соответствия |
Обозначение и наименование соответствующего национального стандарта |
|
ISO 8669-1:1988 |
IDT |
ГОСТ Р ИСО 8669-1-2019 "Мочеприемники. Часть 1. Словарь" |
|
Примечание - В настоящей таблице использовано следующее условное обозначение степени соответствия стандарта: - IDT - идентичный стандарт. | ||


