ГОСТ Р ИСО 7711-1-2010 ИНСТРУМЕНТЫ СТОМАТОЛОГИЧЕСКИЕ ВРАЩАЮЩИЕСЯ. ИНСТРУМЕНТЫ АЛМАЗНЫЕ. Часть 1. ТРЕБОВАНИЯ РАЗМЕРЫ, МАРКИРОВКА И УПАКОВКА
Dental rotary instruments. Diamond instruments. Part 1. Dimensions, requirements, marking and packaging
Дата введения - 1 марта 2012 г.
Взамен ГОСТ Р 50569-93 (ИСО 7711-84)
Предисловие
Цели и принципы стандартизации в Российской Федерации установлены Федеральным законом от 27 декабря 2002 г. N 184-ФЗ "О техническом регулировании", а правила применения национальных стандартов Российской Федерации - ГОСТ Р 1.0-2004 "Стандартизация в Российской Федерации. Основные положения".
Сведения о стандарте
1 Подготовлен Государственным унитарным предприятием Республики Татарстан "Всероссийский научно-исследовательский проектный институт медицинских инструментов" (ГУП РТ "ВНИПИМИ")
2 Внесен Техническим комитетом по стандартизации ТК 14 "Медицинские инструменты"
3 Утвержден и введен в действие приказом Федерального агентства по техническому регулированию и метрологии от 23 ноября 2010 г. N 497-ст
4 Настоящий стандарт идентичен международному стандарту ИСО 7711-1:1997 "Инструменты стоматологические вращающиеся. Инструменты алмазные. Часть 1. Требования, размеры, маркировка и упаковка" (ISO 7711-1:1997 "Dental rotary instruments - Diamond instruments - Part 1: Dimensions, requirements, marking and packaging").
При применении настоящего стандарта рекомендуется использовать вместо ссылочных международных стандартов соответствующие им национальные стандарты Российской Федерации, сведения о которых приведены в дополнительном приложении ДА
5 Взамен ГОСТ Р 50569-93 (ИСО 7711-84)
Введение
ИСО (Международная организация стандартизации) является всемирной федерацией органов национальных стандартов (организации - члены ИСО). Работа по подготовке международных стандартов обычно осуществляется техническими комитетами ИСО. Каждая организация-член, заинтересованная в предмете, для которого создавался технический комитет, имеет право быть представленной в этом комитете. Международные правительственные и неправительственные организации также принимают участие в работе во взаимодействии с ИСО. ИСО тесно сотрудничает с Международной электротехнической комиссией (МЭК) по всем вопросам электротехнической стандартизации.
Проекты международных стандартов, принятые техническими комитетами, представляют организациям-членам для голосования. Публикация в качестве международного стандарта требует одобрения по меньшей мере 75% организаций-членов с правом голоса.
Международный стандарт ИСО 7711-1 был подготовлен Техническим комитетом ИСО/ТК 106 "Стоматология", подкомитет ПК 4 "Стоматологические инструменты".
ИСО 7711-1:2004 заменяет ИСО 7711-1:1984.
ИСО 7711 состоит из нескольких частей под общим названием "Инструменты стоматологические вращающиеся. Инструменты алмазные":
- Часть 1. Требования, размеры, маркировка и упаковка;
- Часть 2. Диски;
- Часть 3. Размеры зерен, обозначения и цветовой код.
В настоящем стандарте устанавливают размеры и другие требования для наиболее широко используемых форм стоматологических алмазных инструментов (кроме дисков).
Следующие нормативные документы являются неотъемлемой частью при применении данного стандарта.
ИСО 1797-1:1992 Инструменты стоматологические вращающиеся. Хвостовики. Часть 1. Хвостовики из металла
ИСО 2157:1992 Инструменты стоматологические вращающиеся. Номинальные диаметры и номер кода обозначения
ИСО 3636:1987 Вода для аналитического использования. Спецификация и методы испытаний
ИСО 6360-1:1985 Инструменты стоматологические вращающиеся. Система числового кодирования. Часть 1. Общие характеристики
ИСО 6360-2:1985 Инструменты стоматологические вращающиеся. Система числового кодирования. Часть 2. Форма и специфические характеристики реализации.
ИСО 7711-3:1992 Инструменты стоматологические вращающиеся. Инструменты алмазные. Часть 3. Размеры зерна, обозначение и цветовой код
ИСО 8325:2004 Инструменты стоматологические вращающиеся. Методы испытаний
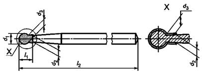
В настоящем стандарте применяют следующие символы:
d1 - диаметр рабочей части, диаметр головки;
d2 - диаметр шейки, измеренный непосредственно после алмазного покрытия;
d3 - диаметр шейки с покрытием, измеренный в самом меньшем диаметре;
l1 - длина рабочей части, длина головки;
l2 - общая длина;
α - угол рабочей части.
4.1 Материалы
4.1.1 Хвостовик
Материал хвостовика должен соответствовать положениям ИСО 1797-1.
4.1.2 Рабочая часть
Рабочая часть должна иметь алмазное покрытие, нанесенное и скрепленное с основой способом, выбранным по усмотрению изготовителя.
Размер зерна должен соответствовать ИСО 7711-3.
4.2 Формы
Форма рабочей части инструмента должна соответствовать, указанной на рисунках 1 - 48.
Допускаются вариации форм в пределах ограничения размеров и описаний в заголовках подпунктов.
Испытания проводят в соответствии с 5.1.
4.3 Размеры
4.3.1 Общая длина
Общая длина инструмента l2 представляет собой сумму длины хвостовика и длины рабочей части. В таблицах 1 - 48 термин "стандарт" относится к инструментам со стандартной длиной.
Для инструментов с длинным или коротким хвостовиком общая длина l2 указана в таблице 1 ИСО 1797-1 для вариации длин хвостовиков.
4.3.2 Хвостовик
Размеры хвостовика в зависимости от типа 1, 2 или 3 должны соответствовать ИСО 1797-1.
4.3.3 Рабочая часть
Размеры рабочей части должны соответствовать установленным в таблицах 1 - 48 настоящего стандарта.
Испытания проводят в соответствии с 5.1.
4.3.3.1 Сферическая головка

Рисунок 1 - Сферическая головка
|
В миллиметрах | ||||||||||
|
Обозначение номинального диаметра |
d1 |
d2, не более |
l1, не менее |
l2±0,5 Хвостовик | ||||||
|
Предпочтительные диаметры |
Номинальный |
Допуск |
Тип 1 стандартный |
Тип 2 стандартный |
Тип 3 стандартный |
Тип 3 короткий | ||||
|
- |
007 |
0,7 |
±0,08 |
0,50 |
0,50 |
22,0 |
44,5 |
19,0 |
16,5 | |
|
008 |
- |
0,8 |
0,53 |
0,55 | ||||||
|
009 |
- |
0,9 |
0,60 |
0,60 | ||||||
|
010 |
- |
1,0 |
0,70 |
0,65 | ||||||
|
012 |
- |
1,2 |
±0,10 |
0,73 |
0,85 | |||||
|
014 |
- |
1,4 |
0,83 |
1,05 | ||||||
|
016 |
- |
1,6 |
0,93 |
1,30 | ||||||
|
018 |
- |
1,8 |
1,03 |
1,50 | ||||||
|
021 |
- |
2,1 |
±0,10 |
1,05 |
1,80 | |||||
|
023 |
- |
2,3 |
1,23 |
2,00 | ||||||
|
- |
025 |
2,5 |
1,25 |
2,15 | ||||||
|
- |
027 |
2,7 |
1,33 |
2,35 | ||||||
|
- |
029 |
2,9 |
1,53 |
2,55 | ||||||
|
- |
033 |
3,3 |
1,63 |
2,90 | ||||||
|
- |
035 |
3,5 |
1,73 |
3,10 | ||||||
|
- |
042 |
4,2 |
2,01 |
3,80 | ||||||
|
- |
050 |
5,0 |
2,35 |
4,80 | ||||||
4.3.3.2 Сферическая головка с буртиком

Рисунок 2 - Сферическая головка с буртиком
|
В миллиметрах | |||||||||||
|
Обозначение номинального диаметра |
d1 |
d2, не более |
d3±0,1 |
l1, не менее |
l2±0,5 Хвостовик | ||||||
|
Предпочтительные диаметры |
Номинальный |
Допуск |
Тип 1 стандартный |
Тип 2 стандартный |
Тип 3 стандартный |
Тип 3 короткий | |||||
|
009 |
- |
0,9 |
±0,08 |
0,75 |
0,68 |
2,2 |
22,0 |
44,5 |
19,0 |
16,5 | |
|
010 |
- |
1,0 |
0,96 |
0,78 | |||||||
|
012 |
- |
1,2 |
±0,10 |
1,00 |
0,88 | ||||||
|
014 |
- |
1,4 |
1,04 |
0,98 | |||||||
|
016 |
- |
1,6 |
1,10 |
1,04 | |||||||
|
018 |
- |
1,8 |
1,18 |
1,12 | |||||||
|
021 |
- |
2,1 |
1,26 |
1,20 | |||||||
|
023 |
- |
2,3 |
1,32 |
1,28 |
2,5 | ||||||
|
- |
025 |
2,5 |
1,44 |
1,40 | |||||||
|
- |
033 |
3,3 |
1,60 |
1,52 |
3,5 | ||||||
4.3.3.3 Головка с обратным конусом

Рисунок 3 - Головка с обратным конусом
|
В миллиметрах | |||||||||||
|
Обозначение номинального диаметра |
d1 |
d2, не более |
α |
l1, не менее |
l2±0,5 Хвостовик | ||||||
|
Предпочтительные диаметры |
Номинальный |
Допуск |
Тип 1 стандартный |
Тип 2 стандартный |
Тип 3 стандартный |
Тип 3 короткий | |||||
|
- |
007 |
0,7 |
±0,08 |
0,50 |
От 8° до 14° |
0,50 |
22,0 |
44,5 |
19,0 |
16,5 | |
|
008 |
- |
0,8 |
0,50 |
0,55 | |||||||
|
009 |
- |
0,9 |
0,53 |
0,60 | |||||||
|
010 |
- |
1,0 |
0,63 |
0,65 | |||||||
|
012 |
- |
1,2 |
±0,10 |
0,73 |
От 10° до 18° |
0,85 | |||||
|
014 |
- |
1,4 |
0,83 |
От 10° до 22° |
1,05 | ||||||
|
016 |
- |
1,6 |
0,89 |
1,30 | |||||||
|
018 |
- |
1,8 |
1,07 |
1,50 | |||||||
|
021 |
- |
2,1 |
1,15 |
1,80 | |||||||
|
023 |
- |
2,3 |
1,40 |
2,00 | |||||||
|
- |
025 |
2,5 |
1,60 |
2,15 | |||||||
|
- |
027 |
2,7 |
1,70 |
2,35 | |||||||
|
- |
042 |
4,2 |
2,00 |
От 40° до 60° |
2,35 | ||||||
4.3.3.4 Головка с обратным конусом (с буртиком)

Рисунок 4 - Головка с обратным конусом (с буртиком)
|
В миллиметрах | |||||||||||
|
Обозначение номинального диаметра |
d1 |
d2, не более |
d3±0,1 |
l1, не менее |
α |
l2±0,5 Хвостовик | |||||
|
Предпочтительные диаметры |
Номинальный |
Допуск |
Тип 1 стандартный |
Тип 2 стандартный |
Тип 3 стандартный |
Тип 3 короткий | |||||
|
- |
007 |
0,7 |
±0,08 |
0,68 |
0,60 |
2,0 |
От 8° до 14° |
22,0 |
44,5 |
19,0 |
16,5 |
|
008 |
- |
0,8 |
0,78 |
0,68 | |||||||
|
009 |
- |
0,9 |
0,84 |
0,74 | |||||||
|
010 |
- |
1,0 |
0,96 |
0,78 | |||||||
|
012 |
- |
1,2 |
±0,10 |
1,00 |
0,88 |
2,2 |
От 10° до 18° | ||||
|
014 |
- |
1,4 |
1,04 |
0,98 |
От 10° до 22° | ||||||
|
016 |
- |
1,6 |
1,10 |
1,04 | |||||||
|
018 |
- |
1,8 |
1,18 |
1,35 | |||||||
|
021 |
- |
2,1 |
1,26 |
1,40 |
2,5 | ||||||
|
023 |
- |
2,3 |
1,32 |
1,70 | |||||||
|
- |
025 |
2,5 |
1,44 |
1,90 | |||||||
4.3.3.5 Колесовидная головка

Рисунок 5 - Колесовидная головка
|
В миллиметрах | |||||||||
|
Обозначение номинального диаметра |
d1±0,1 |
d2, не более |
l1, не менее |
l2±0,5 Хвостовик | |||||
|
Предпочтительные диаметры |
Тип 1 стандартный |
Тип 2 стандартный |
Тип 3 стандартный |
Тип 3 короткий | |||||
|
012 |
- |
1,2 |
0,73 |
0,3 |
22,0 |
44,5 |
19,0 |
16,5 | |
|
014 |
- |
1,4 |
0,83 | ||||||
|
016 |
- |
1,6 |
0,93 |
0,4 | |||||
|
018 |
- |
1,8 |
1,03 | ||||||
|
021 |
- |
2,1 |
1,05 |
0,5 | |||||
|
023 |
- |
2,3 |
1,23 |
0,6 | |||||
|
- |
025 |
2,5 |
1,25 | ||||||
|
- |
027 |
2,7 |
1,43 | ||||||
|
- |
029 |
2,9 |
1,45 | ||||||
|
- |
031 |
3,1 |
1,53 | ||||||
|
- |
033 |
3,3 |
1,63 | ||||||
|
- |
035 |
3,5 |
1,67 | ||||||
|
- |
037 |
3,7 |
1,77 | ||||||
|
- |
040 |
4,0 |
1,91 | ||||||
|
- |
042 |
4,2 |
2,01 | ||||||
|
- |
045 |
4,5 |
2,01 | ||||||
|
- |
047 |
4,7 |
2,09 | ||||||
|
- |
050 |
5,0 |
2,17 | ||||||
4.3.3.6 Колесовидная головка с буртиком

Рисунок 6 - Колесовидная головка с буртиком
|
В миллиметрах | ||||||||||
|
Обозначение номинального диаметра |
d1±0,1 |
d2, не более |
d3 ±0,1 |
l1, не менее |
l2±0,5 Хвостовик | |||||
|
Предпочтительные диаметры |
Тип 1 стандартный |
Тип 2 стандартный |
Тип 3 стандартный |
Тип 3 короткий | ||||||
|
- |
012 |
1,2 |
1,00 |
0,88 |
2,2 |
22,0 |
45,5 |
19,0 |
16,5 | |
|
- |
016 |
1,6 |
1,10 |
1,04 | ||||||
|
- |
018 |
1,8 |
1,18 |
1,12 | ||||||
|
- |
023 |
2,3 |
1,32 |
1,23 |
2,5 | |||||
4.3.3.7 Цилиндрическая рабочая часть
4.3.3.7.1 Длина головки 3,0 мм

Рисунок 7 - Цилиндрическая рабочая часть с длиной головки 3,0 мм
|
В миллиметрах | ||||||||||
|
Обозначение номинального диаметра |
d1 |
d2, не более |
l1±0,3 |
l2±0,5 Хвостовик | ||||||
|
Предпочтительные диаметры |
Номинальный |
Допуск |
Тип 1 стандартный |
Тип 2 стандартный |
Тип 3 стандартный |
Тип 3 короткий | ||||
|
008 |
- |
0,8 |
±0,08 |
0,80 |
3,0 |
22,0 |
44,5 |
19,0 |
16,5 | |
|
009 |
- |
0,9 |
0,90 | |||||||
|
010 |
- |
1,0 |
1,00 | |||||||
|
012 |
- |
1,2 |
±0,10 |
1,20 | ||||||
4.3.3.7.2 Длина головки 4,0 мм

Рисунок 8 - Цилиндрическая рабочая часть с длиной головки 4,0 мм
|
В миллиметрах | |||||||||
|
Обозначение номинального диаметра |
d1 |
d2, не более |
l1±0,3 |
l2±0,5 Хвостовик | |||||
|
Предпочтительные диаметры |
Номинальный |
Допуск |
Тип 1 стандартный |
Тип 2 стандартный |
Тип 3 стандартный |
Тип 3 короткий | |||
|
009 |
- |
0,9 |
±0,08 |
0,90 |
4,0 |
22,0 |
44,5 |
19,0 |
16,5 |
|
010 |
- |
1,0 |
1,00 | ||||||
|
012 |
- |
1,2 |
±0,10 |
1,20 | |||||
|
014 |
- |
1,4 |
1,35 | ||||||
|
016 |
- |
1,6 |
1,50 | ||||||
|
018 |
- |
1,8 |
1,60 | ||||||
4.3.3.7.3 Длина головки 5,0 мм

Рисунок 9 - Цилиндрическая рабочая часть с длиной головки 5,0 мм
|
В миллиметрах | |||||||||
|
Обозначение номинального диаметра |
d1±0,1 |
d2, не более |
l1±0,3 |
l2±0,5 Хвостовик | |||||
|
Предпочтительные диаметры |
Тип 1 стандартный |
Тип 2 стандартный |
Тип 3 стандартный |
Тип 3 короткий | |||||
|
- |
021 |
2,1 |
1,90 |
5,0 |
22,0 |
44,5 |
19,0 |
16,5 | |
4.3.3.7.4 Длина головки 6,0 мм

Рисунок 10 - Цилиндрическая рабочая часть с длиной головки 6,0 мм
|
В миллиметрах | ||||||||||
|
Обозначение номинального диаметра |
d1 |
d2, не более |
l1±0,3 |
l2±0,5 Хвостовик | ||||||
|
Предпочтительные диаметры |
Номинальный |
Допуск |
Тип 1 стандартный |
Тип 2 стандартный |
Тип 3 стандартный |
Тип 3 короткий | ||||
|
008 |
- |
0,8 |
±0,08 |
0,80 |
6,0 |
22,0 |
44,5 |
19,0 |
16,5 | |
|
010 |
- |
1,0 |
1,00 | |||||||
|
012 |
- |
1,2 |
±0,10 |
1,20 | ||||||
|
014 |
- |
1,4 |
1,35 | |||||||
|
016 |
- |
1,6 |
1,50 | |||||||
|
018 |
- |
1,8 |
1,60 | |||||||
|
- |
027 |
2,7 |
2,35 | |||||||
4.3.3.7.5 Длина головки 8,0 мм
Рисунок 11 - Цилиндрическая рабочая часть с длиной головки 8,0 мм
|
В миллиметрах | |||||||||
|
Обозначение номинального диаметра |
d1±0,1 |
d2, не более |
l1±0,3 |
l2±0,5 Хвостовик | |||||
|
Предпочтительные диаметры |
Тип 1 стандартный |
Тип 2 стандартный |
Тип 3 стандартный |
Тип 3 короткий | |||||
|
010 |
- |
1,0 |
1,00 |
8,0 |
24,0 |
44,5 |
22,0 | ||
|
012 |
- |
1,2 |
1,20 | ||||||
|
014 |
- |
1,4 |
1,35 |
19,5 | |||||
|
016 |
- |
1,6 |
1,50 | ||||||
|
018 |
- |
1,8 |
1,60 | ||||||
|
- |
025 |
2,5 |
1,85 | ||||||
4.3.3.7.6 Длина головки 10,0 мм
Рисунок 12 - Цилиндрическая рабочая часть с длиной головки 10,0 мм
|
В миллиметрах | ||||||||
|
Обозначение номинального диаметра |
d1±0,1 |
d2, не более |
l1±0,3 |
l2±0,5 Хвостовик | ||||
|
Предпочтительные диаметры |
Тип 1 стандартный |
Тип 2 стандартный |
Тип 3 стандартный |
Тип 3 короткий | ||||
|
010 |
- |
1,0 |
1,00 |
10,0 |
26,0 |
44,5 |
24,0 |
21,5 |
|
012 |
- |
1,2 |
1,20 | |||||
|
014 |
- |
1,4 |
1,35 | |||||
|
016 |
- |
1,6 |
1,50 | |||||
|
018 |
- |
1,8 |
1,60 | |||||
|
- |
025 |
2,5 |
1,85 | |||||
4.3.3.8 Усеченная коническая рабочая часть
4.3.3.8.1 Длина головки 3,0 мм
Рисунок 13 - Усеченная коническая рабочая часть с длиной головки 3,0 мм
|
В миллиметрах | |||||||||
|
Обозначение номинального диаметра |
d1±0,8 |
d2, не более |
α |
l1±0,3 |
l2±0,5 Хвостовик | ||||
|
Предпочтительные диаметры |
Тип 1 стандартный |
Тип 2 стандартный |
Тип 3 стандартный |
Тип 3 короткий | |||||
|
008 |
- |
0,8 |
0,80 |
От 3° до 6° |
3,0 |
22,0 |
44,5 |
19,0 |
16,5 |
|
009 |
- |
0,9 |
0,90 | ||||||
|
010 |
- |
1,0 |
1,00 | ||||||
4.3.3.8.2 Длина головки 4,0 мм
Рисунок 14 - Усеченная коническая рабочая часть с длиной головки 4,0 мм
|
В миллиметрах | ||||||||||
|
Обозначение номинального диаметра |
d1±0,1 |
d2, не более |
α |
l1±0,3 |
l2±0,5 Хвостовик | |||||
|
Предпочтительные диаметры |
Тип 1 стандартный |
Тип 2 стандартный |
Тип 3 стандартный |
Тип 3 короткий | ||||||
|
010 |
- |
1,0 |
1,00 |
От 3° до 7° |
4,0 |
22,0 |
44,5 |
19,0 |
16,5 | |
|
012 |
- |
1,2 |
1,20 |
От 4° до 8° | ||||||
|
014 |
- |
1,4 |
1,35 | |||||||
|
016 |
- |
1,6 |
1,50 | |||||||
|
018 |
- |
1,8 |
1,60 | |||||||
|
- |
025 |
2,5 |
1,85 |
От 8° до 12° | ||||||
|
- |
035 |
3,5 |
2,00 |
От 14° до 18° | ||||||
4.3.3.8.3 Длина головки 6,0 мм
Рисунок 15 - Усеченная коническая рабочая часть с длиной головки 6,0 мм
|
В миллиметрах | ||||||||||
|
Обозначение номинального диаметра |
d1±0,1 |
d2, не более |
α |
l1±0,3 |
l2±0,5 Хвостовик | |||||
|
Предпочтительные диаметры |
Тип 1 стандартный |
Тип 2 стандартный |
Тип 3 стандартный |
Тип 3 короткий | ||||||
|
010 |
- |
1,0 |
1,00 |
От 2° до 6° |
6,0 |
22,0 |
44,5 |
21,0 |
18,5 | |
|
012 |
- |
1,2 |
1,20 |
От 3° до 7° | ||||||
|
014 |
- |
1,4 |
1,35 | |||||||
|
016 |
- |
1,6 |
1,50 | |||||||
|
018 |
- |
1,8 |
1,60 | |||||||
|
- |
040 |
4,0 |
2,35 |
От 7° до 12° | ||||||
4.3.3.8.4 Длина головки 7,0 мм
Рисунок 16 - Усеченная коническая рабочая часть с длиной головки 7,0 мм
|
В миллиметрах | |||||||||
|
Обозначение номинального диаметра |
d1±0,1 |
d2, не более |
α |
l1±0,3 |
l2±0,5 Хвостовик | ||||
|
Предпочтительные диаметры |
Тип 1 стандартный |
Тип 2 стандартный |
Тип 3 стандартный |
Тип 3 короткий | |||||
|
- |
035 |
3,5 |
1,85 |
От 5° до 9° |
7,0 |
23,0 |
44,5 |
21,0 |
18,5 |
4.3.3.8.5 Длина головки 8,0 мм
Рисунок 17 - Усеченная коническая рабочая часть с длиной головки 8,0 мм
|
В миллиметрах | |||||||||
|
Обозначение номинального диаметра |
d1±0,1 |
d2, не более |
α |
l1±0,3 |
l2±0,5 Хвостовик | ||||
|
Предпочтительные диаметры |
Тип 1 стандартный |
Тип 2 стандартный |
Тип 3 стандартный |
Тип 3 короткий | |||||
|
010 |
- |
1,0 |
1,00 |
От 2° до 5° |
8,0 |
24,0 |
44,5 |
22,0 |
19,5 |
|
012 |
- |
1,2 |
1,20 | ||||||
|
014 |
- |
1,4 |
1,35 |
От 3° до 6° | |||||
|
016 |
- |
1,6 |
1,50 | ||||||
|
018 |
- |
1,8 |
1,60 | ||||||
|
021 |
- |
2,1 |
1,80 | ||||||
|
023 |
- |
2,3 |
1,80 |
От 4° до 8° | |||||
|
- |
025 |
2,5 |
1,85 | ||||||
4.3.3.8.6 Длина головки 9,0 мм
Рисунок 18 - Усеченная коническая рабочая часть с длиной головки 9,0 мм
|
В миллиметрах | |||||||||
|
Обозначение номинального диаметра |
d1±0,1 |
d2, не более |
α |
l1±0,3 |
l2±0,5 Хвостовик | ||||
|
Предпочтительные диаметры |
Тип 1 стандартный |
Тип 2 стандартный |
Тип 3 стандартный |
Тип 3 короткий | |||||
|
- |
023 |
2,3 |
1,80 |
От 4° до 8° |
9,0 |
25,0 |
44,5 |
24,0 |
21,5 |
|
- |
031 |
3,1 |
2,35 | ||||||
|
- |
033 |
3,3 |
2,35 | ||||||
|
- |
040 |
4,0 |
2,35 | ||||||
|
- |
050 |
5,0 |
2,35 | ||||||
4.3.3.8.7 Длина головки 10,0 мм
Рисунок 19 - Усеченная коническая рабочая часть с длиной головки 10,0 мм
|
В миллиметрах | ||||||||||
|
Обозначение номинального диаметра |
d1±0,1 |
d2, не более |
α |
l1±0,3 |
l2±0,5 Хвостовик | |||||
|
Предпочтительные диаметры |
Тип 1 стандартный |
Тип 2 стандартный |
Тип 3 стандартный |
Тип 3 короткий | ||||||
|
010 |
- |
1,0 |
1,00 |
От 2° до 5° |
10,0 |
26,0 |
44,5 |
24,0 |
21,5 | |
|
012 |
- |
1,2 |
1,20 | |||||||
|
014 |
- |
1,4 |
1,35 |
От 3° до 6° | ||||||
|
016 |
- |
1,6 |
1,50 | |||||||
|
018 |
- |
1,8 |
1,60 | |||||||
|
021 |
- |
2,1 |
1,70 |
От 4° до 8° | ||||||
|
023 |
- |
2,3 |
1,80 | |||||||
|
- |
025 |
2,5 |
1,85 | |||||||
|
- |
031 |
3,1 |
2,35 | |||||||
4.3.3.9 Цилиндрическая полусферическая рабочая часть
4.3.3.9.1 Длина головки 3,0 мм
Рисунок 20 - Цилиндрическая полусферическая рабочая часть с длиной головки 3,0 мм
|
В миллиметрах | |||||||||
|
Обозначение номинального диаметра |
d1±0,08 |
d2, не более |
l1±0,3 |
l2±0,5 Хвостовик | |||||
|
Предпочтительные диаметры |
Тип 1 стандартный |
Тип 2 стандартный |
Тип 3 стандартный |
Тип 3 короткий | |||||
|
008 |
- |
0,8 |
0,80 |
3,0 |
22,0 |
44,5 |
19,0 |
16,5 | |
|
009 |
- |
0,9 |
0,90 | ||||||
|
010 |
- |
1,0 |
1,00 | ||||||
4.3.3.9.2 Длина головки 4,0 мм
Рисунок 21 - Цилиндрическая полусферическая рабочая часть с длиной головки 4,0 мм
|
B миллиметрах | |||||||||
|
Обозначение номинального диаметра |
d1 |
d2, не более |
l1±0,3 |
l2±0,5 Хвостовик | |||||
|
Предпочтительные диаметры |
Номинальный |
Допуск |
Тип 1 стандартный |
Тип 2 стандартный |
Тип 3 стандартный |
Тип 3 короткий | |||
|
009 |
- |
0,9 |
±0,08 |
0,90 |
4,0 |
22,0 |
44,5 |
19,0 |
16,5 |
|
010 |
- |
1,0 |
1,00 | ||||||
|
012 |
- |
1,2 |
±0,10 |
1,20 | |||||
|
014 |
- |
1,4 |
1,35 | ||||||
4.3.3.9.3 Длина головки 6,0 мм
Рисунок 22 - Цилиндрическая полусферическая рабочая часть с длиной головки 6,0 мм
|
В миллиметрах | ||||||||
|
Обозначение номинального диаметра |
d1±0,1 |
d2, не более |
l1±0,3 |
l2±0,5 Хвостовик | ||||
|
Предпочтительные диаметры |
Тип 1 стандартный |
Тип 2 стандартный |
Тип 3 стандартный |
Тип 3 короткий | ||||
|
010 |
- |
1,0 |
1,00 |
6,0 |
22,0 |
44,5 |
21,0 |
18,5 |
|
012 |
- |
1,2 |
1,20 | |||||
|
014 |
- |
1,4 |
1,35 | |||||
|
016 |
- |
1,6 |
1,50 | |||||
|
018 |
- |
1,8 |
1,60 | |||||
|
023 |
- |
2,3 |
2,00 | |||||
|
- |
027 |
2,7 |
2,35 | |||||
4.3.3.9.4 Длина головки 8,0 мм
Рисунок 23 - Цилиндрическая полусферическая рабочая часть с длиной головки 8,0 мм
|
В миллиметрах | ||||||||
|
Обозначение номинального диаметра |
d1±0,1 |
d2, не более |
l1±0,3 |
l2±0,5 Хвостовик | ||||
|
Предпочтительные диаметры |
Тип 1 стандартный |
Тип 2 стандартный |
Тип 3 стандартный |
Тип 3 короткий | ||||
|
010 |
- |
1,0 |
1,00 |
8,0 |
24,0 |
44,5 |
22,0 |
19,5 |
|
012 |
- |
1,2 |
1,20 | |||||
|
014 |
- |
1,4 |
1,35 | |||||
|
016 |
- |
1,6 |
1,50 | |||||
|
018 |
- |
1,8 |
1,60 | |||||
|
- |
025 |
2,5 |
1,85 | |||||
4.3.3.9.5 Длина головки 9,0 мм
Рисунок 24 - Цилиндрическая полусферическая рабочая часть с длиной головки 9,0 мм
|
В миллиметрах | |||||||||
|
Обозначение номинального диаметра |
d1±0,1 |
d2, не более |
l1±0,3 |
l2±0,5 Хвостовик | |||||
|
Предпочтительные диаметры |
Тип 1 стандартный |
Тип 2 стандартный |
Тип 3 стандартный |
Тип 3 короткий | |||||
|
- |
040 |
4,0 |
2,35 |
9,0 |
25,0 |
44,5 |
24,0 |
21,5 | |
4.3.3.9.6 Длина головки 10,0 мм
Рисунок 25 - Цилиндрическая полусферическая рабочая часть с длиной головки 10,0 мм
|
В миллиметрах | |||||||||
|
Обозначение номинального диаметра |
d1±0,1 |
d2, не более |
l1±0,3 |
l2±0,5 Хвостовик | |||||
|
Предпочтительные диаметры |
Тип 1 стандартный |
Тип 2 стандартный |
Тип 3 стандартный |
Тип 3 короткий | |||||
|
012 |
- |
1,2 |
1,20 |
10,0 |
26,0 |
44,5 |
24,0 |
21,5 | |
|
014 |
- |
1,4 |
1,35 | ||||||
|
016 |
- |
1,6 |
1,50 | ||||||
|
018 |
- |
1,8 |
1,60 | ||||||
4.3.3.10 Усеченная коническая с полусферой рабочая часть
4.3.3.10.1 Длина головки 4,0 мм
Рисунок 26 - Усеченная коническая с полусферой рабочая часть с длиной головки 4,0 мм
|
В миллиметрах | |||||||||||
|
Обозначение номинального диаметра |
d1 |
d2, не более |
α |
l1±0,3 |
l2±0,5 Хвостовик | ||||||
|
Предпочтительные диаметры |
Номинальный |
Допуск |
Тип 1 стандартный |
Тип 2 стандартный |
Тип 3 стандартный |
Тип 3 короткий | |||||
|
009 |
- |
0,9 |
±0,08 |
0,9 |
От 3° до 7° |
4,0 |
22,0 |
44,5 |
19,0 |
16,5 | |
|
010 |
- |
1,0 |
1,00 |
От 4° до 8° | |||||||
|
012 |
- |
1,2 |
±0,10 |
1,20 | |||||||
|
014 |
- |
1,4 |
1,35 | ||||||||
|
016 |
- |
1,5 |
1,50 | ||||||||
4.3.3.10.2 Длина головки 6,0 мм
Рисунок 27 - Усеченная коническая с полусферой рабочая часть с длиной головки 6,0 мм
|
В миллиметрах | ||||||||||
|
Обозначение номинального диаметра |
d1±0,1 |
d2, не более |
α |
l1±0,3 |
l2±0,5 Хвостовик | |||||
|
Предпочтительные диаметры |
Тип 1 стандартный |
Тип 2 стандартный |
Тип 3 стандартный |
Тип 3 короткий | ||||||
|
010 |
- |
1,0 |
1,00 |
От 2° до 6° |
6,0 |
22,0 |
44,5 |
21,0 |
18,5 | |
|
012 |
- |
1,2 |
1,20 |
От 3° до 7° | ||||||
|
014 |
- |
1,4 |
1,35 | |||||||
|
016 |
- |
1,5 |
1,50 | |||||||
4.3.3.10.3 Длина головки 7,0 мм
Рисунок 28 - Усеченная коническая с полусферой рабочая часть с длиной головки 7,0 мм
|
В миллиметрах | ||||||||||
|
Обозначение номинального диаметра |
d1±0,1 |
d2, не более |
α |
l1±0,3 |
l2±0,5 Хвостовик | |||||
|
Предпочтительные диаметры |
Тип 1 стандартный |
Тип 2 стандартный |
Тип 3 стандартный |
Тип 3 короткий | ||||||
|
- |
025 |
2,5 |
1,85 |
От 5° до 9° |
7,0 |
23,0 |
44,5 |
21,0 |
18,5 | |
4.3.3.10.4 Длина головки 8,0 мм
Рисунок 29 - Усеченная коническая с полусферой рабочая часть с длиной головки 8,0 мм
|
миллиметрах | |||||||||
|
Обозначение номинального диаметра |
d1±0,1 |
d2, не более |
α |
l1±0,3 |
l2±0,5 Хвостовик | ||||
|
Предпочтительные диаметры |
Тип 1 стандартный |
Тип 2 стандартный |
Тип 3 стандартный |
Тип 3 короткий | |||||
|
010 |
- |
1,0 |
1,00 |
От 2° до 5° |
8,0 |
24,0 |
44,5 |
22,0 |
19,5 |
|
012 |
- |
1,2 |
1,20 | ||||||
|
014 |
- |
1,4 |
1,35 |
От 3° до 6° | |||||
|
016 |
- |
1,6 |
1,50 | ||||||
|
018 |
- |
1,8 |
1,60 | ||||||
|
021 |
- |
2,1 |
1,80 |
От 4° до 8° | |||||
|
023 |
- |
2,3 |
1,80 | ||||||
|
- |
025 |
2,5 |
1,85 | ||||||
4.3.3.10.5 Длина головки 9,0 мм
Рисунок 30 - Усеченная коническая с полусферой рабочая часть с длиной головки 9,0 мм
|
В миллиметрах | |||||||||
|
Обозначение номинального диаметра |
d1±0,1 |
d2, не более |
α |
l1±0,3 |
l2±0,5 Хвостовик | ||||
|
Предпочтительные диаметры |
Тип 1 стандартный |
Тип 2 стандартный |
Тип 3 стандартный |
Тип 3 короткий | |||||
|
- |
033 |
3,3 |
2,35 |
От 4° до 8° |
9,0 |
25,0 |
44,5 |
24,0 |
21,5 |
|
- |
040 |
4,0 |
2,35 | ||||||
|
- |
050 |
5,0 |
2,35 | ||||||
4.3.3.10.6 Длина головки 10,0 мм
Рисунок 31 - Усеченная коническая с полусферой рабочая часть с длиной головки 10,0 мм
|
В миллиметрах | ||||||||||
|
Обозначение номинального диаметра |
d1±0,1 |
d2, не более |
α |
l1±0,3 |
l2±0,5 Хвостовик | |||||
|
Предпочтительные диаметры |
Тип 1 стандартный |
Тип 2 стандартный |
Тип 3 стандартный |
Тип 3 короткий | ||||||
|
010 |
- |
1,0 |
1,00 |
От 2° до 5° |
10,0 |
26,0 |
44,5 |
24,0 |
21,5 | |
|
012 |
- |
1,2 |
1,20 | |||||||
|
014 |
- |
1,4 |
1,35 |
От 3° до 6° | ||||||
|
016 |
- |
1,6 |
1,50 | |||||||
|
018 |
- |
1,8 |
1,60 | |||||||
|
021 |
- |
2,1 |
1,70 |
От 4° до 8° | ||||||
|
023 |
- |
2,3 |
1,80 | |||||||
|
- |
025 |
2,5 |
1,85 | |||||||
|
- |
031 |
3,1 |
2,35 | |||||||
4.3.3.11 Цилиндрическая с огивальным концом рабочая часть
4.3.3.11.1 Длина головки 4,0 мм
Рисунок 32 - Цилиндрическая с огивальным концом рабочая часть с длиной головки 4,0 мм
|
В миллиметрах | ||||||||
|
Обозначение номинального диаметра |
d1±0,1 |
d2, не более |
l1±0,3 |
l2±0,5 Хвостовик | ||||
|
Предпочтительные диаметры |
Тип 1 стандартный |
Тип 2 стандартный |
Тип 3 стандартный |
Тип 3 короткий | ||||
|
010 |
- |
1,0 |
1,00 |
4,0 |
22,0 |
44,5 |
19,5 |
16,5 |
|
012 |
- |
1,2 |
1,20 | |||||
|
014 |
- |
1,4 |
1,35 | |||||
|
016 |
- |
1,6 |
1,50 | |||||
4.3.3.11.2 Длина головки 5,0 мм
Рисунок 33 - Цилиндрическая с огивальным концом рабочая часть с длиной головки 5,0 мм
|
В миллиметрах | ||||||||
|
Обозначение номинального диаметра |
d1±0,1 |
d2, не более |
l1±0,3 |
l2±0,5 Хвостовик | ||||
|
Предпочтительные диаметры |
Тип 1 стандартный |
Тип 2 стандартный |
Тип 3 стандартный |
Тип 3 короткий | ||||
|
- |
012 |
1,2 |
1,20 |
5,0 |
22,0 |
44,5 |
19,0 |
16,5 |
|
- |
014 |
1,4 |
1,35 | |||||
|
- |
016 |
1,6 |
1,50 | |||||
4.3.3.11.3 Длина головки 6,0 мм
Рисунок 34 - Цилиндрическая с огивальным концом рабочая часть с длиной головки 6,0 мм
|
В миллиметрах | |||||||||
|
Обозначение номинального диаметра |
d1±0,1 |
d2, не более |
l1±0,3 |
l2±0,5 Хвостовик | |||||
|
Предпочтительные диаметры |
Тип 1 стандартный |
Тип 2 стандартный |
Тип 3 стандартный |
Тип 3 короткий | |||||
|
012 |
- |
1,2 |
1,20 |
6,0 |
22,0 |
44,5 |
21,0 |
18,5 | |
|
014 |
- |
1,4 |
1,35 | ||||||
|
016 |
- |
1,6 |
1,50 | ||||||
4.3.3.11.4 Длина головки 8,0 мм
Рисунок 35 - Цилиндрическая с огивальным концом рабочая часть с длиной головки 8,0 мм
|
В миллиметрах | ||||||||||
|
Обозначение номинального диаметра |
d1 |
d2, не более |
l1±0,3 |
l2±0,5 Хвостовик | ||||||
|
Предпочтительные диаметры |
Номинальный |
Допуск |
Тип 1 стандартный |
Тип 2 стандартный |
Тип 3 стандартный |
Тип 3 короткий | ||||
|
009 |
- |
0,9 |
±0,08 |
0,90 |
8,0 |
24,0 |
44,5 |
22,0 |
19,5 | |
|
010 |
- |
1,0 |
1,00 | |||||||
|
012 |
- |
1,2 |
±0,10 |
1,20 | ||||||
|
014 |
- |
1,4 |
1,35 | |||||||
|
016 |
- |
1,6 |
1,50 | |||||||
|
018 |
- |
1,8 |
1,60 | |||||||
|
021 |
- |
2,1 |
1,70 | |||||||
4.3.3.11.5 Длина головки 10,0 мм
Рисунок 36 - Цилиндрическая с огивальным концом рабочая часть с длиной головки 10,0 мм
|
В миллиметрах | ||||||||
|
Обозначение номинального диаметра |
d1±0,1 |
d2, не более |
l1±0,3 |
l2±0,5 Хвостовик | ||||
|
Предпочтительные диаметры |
Тип 1 стандартный |
Тип 2 стандартный |
Тип 3 стандартный |
Тип 3 короткий | ||||
|
- |
010 |
1,0 |
1,00 |
10,0 |
26,0 |
44,5 |
24,0 |
21,5 |
|
012 |
- |
1,2 |
1,20 | |||||
|
014 |
- |
1,4 |
1,35 | |||||
|
016 |
- |
1,6 |
1,50 | |||||
|
018 |
- |
1,8 |
1,60 | |||||
4.3.3.12 Рабочая часть в виде обратно усеченного конуса
4.3.3.12.1 Длина головки 2,0 мм
Рисунок 37 - Рабочая часть в виде обратно усеченного конуса с длиной головки 2,0 мм
|
В миллиметрах | ||||||||||
|
Обозначение номинального диаметра |
d1±0,08 |
d2, не более |
α |
l1±0,15 |
l2±0,5 Хвостовик | |||||
|
Предпочтительные диаметры |
Тип 1 стандартный |
Тип 2 стандартный |
Тип 3 стандартный |
Тип 3 короткий | ||||||
|
- |
009 |
0,9 |
0,80 |
От 2° до 6° |
2,0 |
22,0 |
44,5 |
19,0 |
16,5 | |
|
- |
010 |
1,0 |
1,0 | |||||||
4.3.3.12.2 Длина головки 3,5 мм
Рисунок 38 - Рабочая часть в виде обратно усеченного конуса с длиной головки 3,5 мм
|
В миллиметрах | ||||||||||
|
Обозначение номинального диаметра |
d1±0,1 |
d2, не более |
α |
l1±0,15 |
l2±0,5 Хвостовик | |||||
|
Предпочтительные диаметры |
Тип 1 стандартный |
Тип 2 стандартный |
Тип 3 стандартный |
Тип 3 короткий | ||||||
|
- |
012 |
1,2 |
1,00 |
От 3° до 7° |
3,5 |
22,0 |
44,5 |
19,0 |
16,5 | |
|
- |
014 |
1,4 |
1,10 | |||||||
|
- |
016 |
1,6 |
1,30 | |||||||
4.3.3.12.3 Длина головки 4,0 мм
Рисунок 39 - Рабочая часть в виде обратно усеченного конуса с длиной головки 4,0 мм
|
В миллиметрах | |||||||||
|
Обозначение номинального диаметра |
d1±0,1 |
d2, не более |
α |
l1±0,3 |
l2±0,5 Хвостовик | ||||
|
Предпочтительные диаметры |
Тип 1 стандартный |
Тип 2 стандартный |
Тип 3 стандартный |
Тип 3 короткий | |||||
|
012 |
- |
1,2 |
1,00 |
От 4° до 8° |
4,0 |
22,0 |
44,5 |
19,0 |
16,5 |
|
014 |
- |
1,4 |
1,10 | ||||||
|
016 |
- |
1,6 |
1,30 | ||||||
|
018 |
- |
1,8 |
1,40 | ||||||
|
021 |
- |
2,1 |
1,80 | ||||||
4.3.3.12.4 Длина головки 5,0 мм
Рисунок 40 - Рабочая часть в виде обратно усеченного конуса с длиной головки 5,0 мм
|
В миллиметрах | ||||||||||
|
Обозначение номинального диаметра |
d1±0,1 |
d2, не более |
α |
l1±0,3 |
l2±0,5 Хвостовик | |||||
|
Предпочтительные диаметры |
Тип 1 стандартный |
Тип 2 стандартный |
Тип 3 стандартный |
Тип 3 короткий | ||||||
|
- |
018 |
1,8 |
1,40 |
От 4° до 8° |
5,0 |
22,0 |
44,5 |
19,0 |
16,5 | |
4.3.3.12.5 Длина головки 6,0 мм
Рисунок 41 - Рабочая часть в виде обратно усеченного конуса с длиной головки 6,0 мм
|
В миллиметрах | ||||||||||
|
Обозначение номинального диаметра |
d1±0,1 |
d2, не более |
α |
l1±0,3 |
l2±0,5 Хвостовик | |||||
|
Предпочтительные диаметры |
Тип 1 стандартный |
Тип 2 стандартный |
Тип 3 стандартный |
Тип 3 короткий | ||||||
|
- |
021 |
2,1 |
1,60 |
От 4° до 8° |
6,0 |
22,0 |
44,5 |
21,0 |
18,5 | |
|
023 |
- |
2,3 |
1,70 | |||||||
|
- |
025 |
2,5 |
1,80 | |||||||
4.3.3.13 Полусферическая рабочая часть в форме обратно усеченного конуса
4.3.3.13.1 Длина головки 3,0 мм
Рисунок 42 - Полусферическая рабочая часть в форме обратно усеченного конуса с длиной головки 3,0 мм
|
В миллиметрах | ||||||||||
|
Обозначение номинального диаметра |
d1 |
d2, не более |
α |
l1±0,3 |
l2±0,5 Хвостовик | |||||
|
Предпочтительные диаметры |
Номинальный |
Допуск |
Тип 1 стандартный |
Тип 2 стандартный |
Тип 3 стандартный |
Тип 3 короткий | ||||
|
008 |
- |
0,8 |
±0,08 |
0,70 |
От 3° до 7° |
3,0 |
22,0 |
44,5 |
19,0 |
16,5 |
|
009 |
- |
0,9 |
0,75 | |||||||
|
010 |
- |
1,0 |
0,80 | |||||||
|
012 |
- |
1,2 |
±0,10 |
1,00 | ||||||
|
014 |
- |
1,4 |
1,20 | |||||||
|
016 |
- |
1,5 |
1,30 | |||||||
4.3.3.13.2 Длина головки 4,0 мм
Рисунок 43 - Полусферическая рабочая часть в форме обратно усеченного конуса с длиной головки 4,0 мм
|
В миллиметрах | |||||||||
|
Обозначение номинального диаметра |
d1±0,1 |
d2, не более |
α |
l1±0,3 |
l2±0,5 Хвостовик | ||||
|
Предпочтительные диаметры |
Тип 1 стандартный |
Тип 2 стандартный |
Тип 3 стандартный |
Тип 3 короткий | |||||
|
010 |
- |
1,0 |
0,80 |
От 3° до 7° |
4,0 |
22,0 |
44,5 |
19,0 |
16,5 |
|
012 |
- |
1,2 |
1,00 | ||||||
|
014 |
- |
1,4 |
1,20 | ||||||
|
016 |
- |
1,6 |
1,40 | ||||||
|
018 |
- |
1,8 |
1,60 | ||||||
4.3.3.14 Рабочая часть в форме обратного конуса с выпуклым концом
4.3.3.14.1 Длина головки 1,6 мм
Рисунок 44 - Рабочая часть в форме обратного конуса с выпуклым концом с длиной головки 1,6 мм
|
В миллиметрах | ||||||||||
|
Обозначение номинального диаметра |
d1 |
d2, не более |
α |
l1±0,3 |
l2±0,5 Хвостовик | |||||
|
Предпочтительные диаметры |
Номинальный |
Допуск |
Тип 1 стандартный |
Тип 2 стандартный |
Тип 3 стандартный |
Тип 3 короткий | ||||
|
- |
009 |
0,9 |
±0,08 |
0,80 |
От 4° до 8° |
1,6 |
22,0 |
44,5 |
19,0 |
16,5 |
|
- |
010 |
1,0 |
0,90 |
От 5° до 16° | ||||||
|
- |
012 |
1,2 |
±0,10 |
1,00 | ||||||
|
- |
014 |
1,4 |
1,20 | |||||||
|
- |
016 |
1,6 |
1,30 | |||||||
4.3.3.14.2 Длина головки 2,0 мм
Рисунок 45 - Рабочая часть в форме обратного конуса с выпуклым концом с длиной головки 2,0 мм
|
В миллиметрах | ||||||||||
|
Обозначение номинального диаметра |
d1±0,08 |
d2, не более |
α |
l1±0,15 |
l2±0,5 Хвостовик | |||||
|
Предпочтительные диаметры |
Тип 1 стандартный |
Тип 2 стандартный |
Тип 3 стандартный |
Тип 3 короткий | ||||||
|
008 |
- |
0,8 |
0,7 |
От 3° до 7° |
2,0 |
22,0 |
44,5 |
19,0 |
16,5 | |
|
009 |
- |
0,9 |
0,80 | |||||||
4.3.3.14.3 Длина головки 2,7 мм
Рисунок 46 - Рабочая часть в форме обратного конуса с выпуклым концом с длиной головки 2,7 мм
|
В миллиметрах | |||||||||||
|
Обозначение номинального диаметра |
d1 |
d2, не более |
α |
l1±0,15 |
l2±0,5 Хвостовик | ||||||
|
Предпочтительные диаметры |
Номинальный |
Допуск |
Тип 1 стандартный |
Тип 2 стандартный |
Тип 3 стандартный |
Тип 3 короткий | |||||
|
009 |
- |
0,9 |
±0,08 |
0,75 |
От 3° до 7° |
2,7 |
22,0 |
44,5 |
19,0 |
16,5 | |
|
010 |
- |
1,0 |
0,85 | ||||||||
|
012 |
- |
1,2 |
±0,10 |
1,05 |
От 4° до 8° | ||||||
|
014 |
- |
1,4 |
1,20 |
От 6° до 10° | |||||||
|
016 |
- |
1,6 |
1,25 |
От 8° до 15° | |||||||
4.3.3.14.4 Длина головки 4,0 мм
Рисунок 47 - Рабочая часть в форме обратного конуса с выпуклым концом с длиной головки 4,0 мм
|
В миллиметрах | |||||||||
|
Обозначение номинального диаметра |
d1±0,1 |
d2, не более |
α |
l1±0,3 |
l2±0,5 Хвостовик | ||||
|
Предпочтительные диаметры |
Тип 1 стандартный |
Тип 2 стандартный |
Тип 3 стандартный |
Тип 3 короткий | |||||
|
010 |
- |
1,0 |
0,80 |
От 2° до 6° |
4,0 |
22,0 |
44,5 |
19,0 |
16,5 |
|
012 |
- |
1,2 |
1,00 | ||||||
|
014 |
- |
1,4 |
1,20 |
От 4° до 8° | |||||
|
016 |
- |
1,6 |
1,40 |
От 7° до 10° | |||||
|
018 |
- |
1,8 |
1,60 | ||||||
4.3.3.14.5 Длина головки 5,0 мм
Рисунок 48 - Рабочая часть в форме обратного конуса с выпуклым концом с длиной головки 5,0 мм
|
В миллиметрах | |||||||||
|
Обозначение номинального диаметра |
d1±0,1 |
d2, не более |
α |
l1±0,3 |
l2±0,5 Хвостовик | ||||
|
Предпочтительные диаметры |
Тип 1 стандартный |
Тип 2 стандартный |
Тип 3 стандартный |
Тип 3 короткий | |||||
|
012 |
- |
1,2 |
0,95 |
От 2° до 6° |
5,0 |
22,0 |
44,5 |
19,0 |
16,5 |
|
014 |
- |
1,4 |
1,15 | ||||||
|
016 |
- |
1,6 |
1,20 |
От 4° до 8° | |||||
|
018 |
- |
1,8 |
1,40 |
От 7° до 10° | |||||
|
021 |
- |
2,1 |
1,60 | ||||||
4.4 Биение
Биение должно быть не более указанного в таблице 49.
|
Зерно |
Максимальный размер частиц, мкм |
Максимальное биение, мм |
|
Ультрамелкое |
14 |
0,07 |
|
Экстрамелкое |
22 |
0,07 |
|
Очень мелкое |
54 |
0,07 |
|
Мелкое |
74 |
0,08 |
|
Стандартное |
125 |
0,10 |
|
Грубое |
177 |
0,12 |
|
Супергрубое |
250 |
0,14 |
Испытания проводят в соответствии с 5.2.
4.5 Коррозионная стойкость
Алмазные инструменты должны быть коррозионно-стойкими, после испытаний на них не должно быть следов коррозии или ухудшения функциональных качеств. Допускаются незначительные следы в месте стыка шейки с рабочей частью, имеющей алмазное покрытие.
Испытания проводят в соответствии 5.3.
4.6 Прочность шейки
Инструмент не должен ломаться или принимать усадку свыше 0,05 мм.
Испытания проводят в соответствии 5.4.
5.1 Размеры
Измерения размеров и определение форм по ИСО 8325 (пункты 3.1 - 3.5).
5.2 Отклонение - биение
Биение определяют по ИСО 8325 (пункт 3.6).
Место измерений указано в таблице 50.
|
Форма рабочей части |
Ссылка на рисунок |
Место измерений |
|
Сферическая Сферическая с буртиком Обратно конусная Обратно конусная с буртиком |
1 2 3 4 |
В самом большом диаметре |
|
Колесовидная Колесовидная с буртиком Полусферическая в форме обратно усеченного конуса Обратно коническая с выпуклым концом |
5 6 42 и 43 44 - 48 | |
|
Цилиндрическая Усеченная коническая В форме обратно усеченного конуса |
7 - 12 13 - 19 37 - 41 |
1 мм от кончика |
|
Полусферическая цилиндрическая Усеченная коническая с полусферой Цилиндрическая с огивальным концом |
20 - 25 26 - 31 32 - 36 |
2 мм от кончика |
5.3 Коррозионная стойкость
5.3.1 Оборудование
Автоклав, работающий при температурах от 134°С до 138°С и давлении пара 0,22 МПа (2,2 кгс/см2).
5.3.2 Реагент
Дистиллированная или деионизированная вода сорта 3 по ИСО 3696.
5.3.3 Подготовка изделия для испытаний
Изделие для испытаний отмывают щеткой, используя мыло и теплую воду. Тщательно ополаскивают водой (5.3.2) и высушивают.
5.3.4 Процедура
Для испытаний изделие без упаковки помещают в автоклав. Подвергают изделие циклу автоклавирования продолжительностью 3+0,5 мин при 134°С - 138°С и давлении пара 0,22 МПа (2,2 кгс/см2), используя воду (5.3.2). После этого цикла открывают дверцу, извлекают изделие и дают ему остыть до комнатной температуры.
5.3.5 Оценка
5.3.5.1 Визуально осматривают изделие на наличие признаков коррозии.
5.3.5.2 Устанавливают любое функциональное изменение прочности шейки после испытаний (см. 5.4).
5.4 Прочность шейки
Устанавливают прочность шейки по ИСО 8325 (пункт 3.7) после испытаний на коррозионную стойкость.
Испытательная нагрузка F зависит от формы рабочей части. Следует использовать соответствующую испытательную нагрузку в соответствии с таблицами 51 - 61.
|
Номинальные диаметры |
Испытательная нагрузка F, Н | ||
|
стандартная |
с буртиком | ||
|
007 |
7,21 |
- | |
|
008 |
7,77 |
- | |
|
009 |
10,09 |
10,75 | |
|
010 |
14,32 |
20,86 | |
|
012 |
13,37 |
22,30 | |
|
014 |
17,10 |
23,78 | |
|
016 |
20,60 |
26,65 | |
|
018 |
24,76 |
31,12 | |
|
021 |
22,94 |
35,29 | |
|
023 |
33,01 |
36,87 | |
|
025 |
32,47 |
45,49 | |
|
027 |
36,17 |
- | |
|
029 |
50,34 |
- | |
|
033 |
54,26 |
47,84 | |
|
035 |
60,98 |
- | |
|
042 |
79,58 |
- | |
|
050 |
104,78 |
- | |
|
Номинальные диаметры |
Испытательная нагрузка F, Н | ||
|
стандартная |
с буртиком | ||
|
007 |
7,21 |
9,13 | |
|
008 |
6,63 |
13,00 | |
|
009 |
7,19 |
15,55 | |
|
010 |
10,76 |
21,92 | |
|
012 |
13,73 |
22,95 | |
|
014 |
17,10 |
23,78 | |
|
016 |
18,25 |
26,65 | |
|
018 |
27,50 |
31,12 | |
|
021 |
29,54 |
33,49 | |
|
023 |
47,23 |
36,87 | |
|
025 |
64,29 |
45,49 | |
|
027 |
71,40 |
- | |
|
042 |
91,79 |
- | |
|
Номинальные диаметры |
Испытательная нагрузка F, Н | |
|
стандартная |
с буртиком | |
|
012 |
17,11 |
22,30 |
|
014 |
22,17 |
- |
|
016 |
26,93 |
26,65 |
|
018 |
33,19 |
31,12 |
|
021 |
31,11 |
- |
|
023 |
44,20 |
36,87 |
|
025 |
44,05 |
- |
|
027 |
60,65 |
- |
|
029 |
60,42 |
- |
|
031 |
67,18 |
- |
|
033 |
76,83 |
- |
|
035 |
79,18 |
- |
|
037 |
89,62 |
- |
|
040 |
105,00 |
- |
|
042 |
116,98 |
- |
|
045 |
112,04 |
- |
|
047 |
121,19 |
- |
|
050 |
129,01 |
- |
|
Номинальные диаметры |
Испытательная нагрузка F, Н | |||||
|
Длина головки, l1, мм | ||||||
|
3 |
4 |
5 |
6 |
8 |
10 | |
|
008 |
10,92 |
- |
- |
6,61 |
- |
- |
|
009 |
14,90 |
12,33 |
- |
- |
- |
- |
|
010 |
19,62 |
16,35 |
- |
12,26 |
9,81 |
8,18 |
|
012 |
31,39 |
26,49 |
- |
20,18 |
16,30 |
13,67 |
|
014 |
- |
35,76 |
- |
27,58 |
22,45 |
18,93 |
|
016 |
- |
46,63 |
- |
36,38 |
29,83 |
25,27 |
|
018 |
- |
54,30 |
- |
42,75 |
32,25 |
29,99 |
|
021 |
- |
- |
74,76 |
- |
- |
- |
|
025 |
- |
- |
- |
- |
20,29 |
43,28 |
|
027 |
- |
- |
- |
115,22 |
- |
- |
|
Номинальные диаметры |
Испытательная нагрузка F, Н | ||||||
|
Длина головки, l1, мм | |||||||
|
3 |
4 |
6 |
7 |
8 |
9 |
10 | |
|
008 |
10,92 |
- |
- |
- |
- |
- |
- |
|
009 |
14,90 |
- |
- |
- |
- |
- |
- |
|
010 |
19,62 |
16,35 |
12,26 |
- |
9,81 |
- |
8,18 |
|
012 |
- |
26,49 |
20,18 |
- |
16,30 |
- |
13,67 |
|
014 |
- |
35,76 |
27,58 |
- |
22,45 |
- |
18,93 |
|
016 |
- |
46,63 |
36,38 |
- |
29,83 |
- |
25,27 |
|
018 |
- |
54,30 |
42,75 |
- |
35,25 |
- |
29,99 |
|
021 |
- |
- |
- |
- |
48,08 |
- |
34,93 |
|
023 |
- |
- |
- |
- |
47,28 |
43,67 |
40,58 |
|
025 |
- |
74,39 |
- |
- |
50,29 |
- |
43,28 |
|
031 |
- |
- |
- |
- |
- |
88,11 |
82,40 |
|
033 |
- |
- |
- |
- |
- |
86,90 |
- |
|
035 |
- |
82,61 |
- |
50,29 |
- |
- |
- |
|
040 |
- |
- |
103,09 |
- |
- |
82,94 |
- |
|
050 |
- |
- |
- |
- |
- |
77,87 |
- |
|
Номинальные диаметры |
Испытательная нагрузка F, Н | |||||
|
Длина головки, l1, мм | ||||||
|
3 |
4 |
6 |
8 |
9 |
10 | |
|
008 |
10,92 |
- |
- |
- |
- |
- |
|
009 |
14,90 |
12,33 |
- |
- |
- |
- |
|
010 |
19,62 |
16,35 |
12,26 |
9,81 |
- |
- |
|
012 |
- |
26,49 |
20,18 |
16,30 |
- |
13,67 |
|
014 |
- |
35,76 |
27,58 |
22,45 |
- |
18,93 |
|
016 |
- |
- |
36,38 |
29,83 |
- |
25,27 |
|
018 |
- |
- |
42,75 |
35,25 |
- |
29,99 |
|
023 |
- |
- |
76,19 |
- |
- |
- |
|
025 |
- |
- |
- |
50,29 |
- |
- |
|
027 |
- |
- |
115,22 |
- |
- |
- |
|
040 |
- |
- |
- |
- |
82,94 |
- |
|
Номинальные диаметры |
Испытательная нагрузка F, Н | |||||
|
Длина головки, l1, мм | ||||||
|
4 |
6 |
7 |
8 |
9 |
10 | |
|
009 |
- |
- |
- |
- |
- |
- |
|
010 |
12,33 |
12,26 |
- |
9,81 |
- |
8,18 |
|
012 |
16,35 |
20,18 |
- |
16,30 |
- |
13,67 |
|
014 |
26,49 |
27,58 |
- |
22,45 |
- |
18,93 |
|
016 |
35,76 |
36,38 |
- |
29,83 |
- |
25,27 |
|
018 |
46,63 |
- |
- |
35,25 |
- |
29,99 |
|
021 |
- |
- |
- |
48,08 |
- |
34,93 |
|
023 |
- |
- |
- |
47,28 |
- |
40,58 |
|
025 |
- |
- |
54,73 |
50,29 |
- |
43,28 |
|
031 |
- |
- |
- |
- |
- |
82,40 |
|
033 |
- |
- |
- |
- |
86,90 |
- |
|
040 |
- |
- |
- |
- |
82,94 |
- |
|
050 |
- |
- |
- |
- |
77,87 |
- |
|
Номинальные диаметры |
Испытательная нагрузка F, Н | ||||
|
Длина головки, l1, мм | |||||
|
4 |
5 |
6 |
8 |
10 | |
|
009 |
- |
- |
- |
7,30 |
- |
|
010 |
16,35 |
- |
- |
9,81 |
8,18 |
|
012 |
26,49 |
22,91 |
20,18 |
16,30 |
13,67 |
|
014 |
35,76 |
31,14 |
27,58 |
22,45 |
18,93 |
|
016 |
46,63 |
40,58 |
36,38 |
29,83 |
25,27 |
|
018 |
- |
- |
- |
35,25 |
29,99 |
|
021 |
- |
- |
- |
40,84 |
- |
|
Номинальные диаметры |
Испытательная нагрузка F, Н | ||||
|
Длина головки, l1, мм | |||||
|
2 |
3,5 |
4 |
5 |
6 | |
|
009 |
13,57 |
- |
- |
- |
- |
|
010 |
18,34 |
- |
- |
- |
- |
|
012 |
- |
17,21 |
15,82 |
- |
- |
|
014 |
- |
21,76 |
21,06 |
- |
- |
|
016 |
- |
33,68 |
31,24 |
- |
- |
|
018 |
- |
- |
37,39 |
32,83 |
- |
|
021 |
- |
- |
72,42 |
- |
41,42 |
|
023 |
- |
- |
- |
- |
48,20 |
|
025 |
- |
- |
- |
- |
55,55 |
|
Номинальные диаметры |
Испытательная нагрузка F, Н | |
|
Длина головки, l1, мм | ||
|
3 |
4 | |
|
008 009 010 012 014 016 018 |
7,78 8,90 10,46 18,87 30,27 36,53 - |
- - 8,66 15,82 25,68 38,46 54,30 |
|
Номинальные диаметры |
Испытательная нагрузка F, Н | ||||
|
Длина головки, l1, мм | |||||
|
1,6 |
2 |
4 мм |
5 |
6 | |
|
008 |
- |
9,61 |
- |
- |
- |
|
009 |
15,22 |
13,57 |
9,51 |
- |
- |
|
010 |
20,43 |
- |
13,24 |
8,66 |
- |
|
012 |
25,82 |
- |
22,94 |
15,82 |
11,76 |
|
014 |
40,36 |
- |
31,98 |
25,68 |
19,76 |
|
016 |
47,89 |
- |
34,52 |
38,46 |
21,73 |
|
018 |
- |
- |
- |
54,30 |
32,83 |
|
021 |
- |
- |
- |
- |
46,19 |
6.1 Отбор образцов
Следует испытывать только один размер каждой формы в количестве 20 инструментов.
6.2 Соответствие требованиям
6.2.1 Размеры
Минимум 16 из 20 инструментов, прошедших испытания, должны соответствовать таблицам 1 - 48.
6.2.2 Отклонение биения
Минимум три из пяти инструментов, прошедших испытания, должны соответствовать 4.4.
7.1 Маркировка на алмазных инструментах
Маркировка на алмазных инструментах может содержать информацию о размере зерна алмаза. Идентификация размера зерна алмаза - по ИСО 7711-3.
7.2 Этикетка на упаковке
Этикетка на упаковке должна содержать следующую информацию:
a) наименование и/или товарный знак изготовителя или дистрибьютора;
b) материал рабочей части;
c) тип хвостовика по ИСО 1797-1;
d) номер формы рабочей части по ИСО 6360-2;
e) слово "стерильно" (если соответствует);
f) специфические характеристики (если имеются);
g) номинальный диаметр;
h) размер алмазного зерна по ИСО 7711-3 (при необходимости);
i) номер партии.
Вся информация должна соответствовать ИСО 6360.
Стоматологические вращающие алмазные инструменты следует упаковывать по усмотрению изготовителя по одному изделию или в наборах.
Приложение ДА
(справочное)
Таблица ДА.1
|
Обозначение ссылочного международного стандарта |
Степень соответствия |
Обозначение и наименование соответствующего национального стандарта |
|
ИСО 1797-1:1992 |
- |
* |
|
ИСО 2157:1992 |
- |
* |
|
ИСО 3636:1987 |
- |
* |
|
ИСО 6360-1:1985 |
MOD |
ГОСТ Р 50350.1-92 (ИСО 6360-1-85) "Стоматологические вращающиеся инструменты. Система цифрового обозначения. Часть 1. Общие характеристики" |
|
ИСО 6360-2:1985 |
MOD |
ГОСТ Р 50350.2-92 (ИСО 6360-2-85) "Стоматологические вращающиеся инструменты. Система цифрового обозначения. Часть 2. Форма и виды исполнения" |
|
ИСО 7711-3:2004 |
IDT |
ГОСТ Р ИСО 7711-3-2010 "Инструменты стоматологические вращающиеся. Инструменты алмазные. Часть 3. Размеры зерен, обозначения и цветовой код" |
|
ИСО 8325:2004 |
IDT |
ГОСТ Р ИСО 8325-2010 "Инструменты стоматологические вращающиеся. Методы испытаний" |
|
* Соответствующий национальный стандарт отсутствует. До его принятия рекомендуется использовать перевод на русский язык данного международного стандарта. Перевод данного международного стандарта находится в Федеральном информационном фонде технических регламентов и стандартов. Примечание - В настоящей таблице использованы следующие условные обозначения степени соответствия стандартов: - IDT - идентичные стандарты; - MOD - модифицированные стандарты. | ||


