ГОСТ Р ИСО 17249-2017 СИСТЕМА СТАНДАРТОВ БЕЗОПАСНОСТИ ТРУДА. ОБУВЬ СПЕЦИАЛЬНАЯ ДЛЯ ЗАЩИТЫ ОТ РАЗРЕЗАНИЯ РУЧНОЙ ЦЕПНОЙ ПИЛОЙ. ТЕХНИЧЕСКИЕ ТРЕБОВАНИЯ
Occupational safety standards system. Special footwear, resistant to chain saw cutting. Technical requirements
ОКС 13.340.50
Предисловие
1 Подготовлен Акционерным обществом "Всероссийский научно-исследовательский институт сертификации" (АО "ВНИИС") на основе собственного перевода на русский язык англоязычной версии международного стандарта, указанного в пункте 4
2 Внесен Техническим комитетом по стандартизации ТК 320 "Средства индивидуальной защиты"
3 Утвержден и введен в действие Приказом Федерального агентства по техническому регулированию и метрологии от 26 декабря 2017 г. N 2109-ст
4 Настоящий стандарт идентичен международному стандарту ИСО 17249:2013 "Обувь для защиты от разрезания ручной цепной пилой" (ISO 17249:2013 "Safety footwear with resistance to chain saw cutting", IDT)
Наименование настоящего стандарта изменено по отношению к наименованию указанного международного стандарта для приведения в соответствие с ГОСТ Р 1.5-2012 (пункт 3.5).
При применении настоящего стандарта рекомендуется использовать вместо ссылочных международных стандартов соответствующие им национальные и межгосударственные стандарты, сведения о которых приведены в дополнительном приложении ДА
5 Введен впервые
Настоящий стандарт распространяется на специальную обувь для защиты от разрезания ручной цепной пилой.
В настоящем стандарте использованы нормативные ссылки на следующие стандарты:
ISO 20344:2011 Personal protective equipment - Test methods for footwear (Средства индивидуальной защиты ног. Методы испытаний обуви)
ISO 20345:2011, Personal protective equipment - Safety footwear (Средства индивидуальной защиты ног. Защитная обувь)
EN 381-3 Protective clothing for users of hand held chain saws - Part 3: Test methods for footwear (Одежда защитная для пользователей ручных цепных пил. Часть 3. Методы испытаний обуви)
EN 50321, Electrically insulating footwear for working on low voltage installations (Обувь с электрической изоляцией для работы на установках низкого напряжения)
В настоящем стандарте применены термины по ИСО 20345, а также следующий термин с соответствующим определением:
3.1 линия кромки (feather line): Линия соединения верха обуви с деталями низа обуви (подошвой, рантом, в зависимости от конструкции обуви).
Примечание 1 - Обычно не совпадает с краем стельки или подошвой.
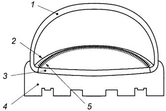
1 - верх; 2 - линия кромки; 3 - стелька; 4 - подошва; 5 - штробельная строчка
Рисунок 1 - Положение линии пера
Минимальное количество образцов должно быть в соответствии с ИСО 20344 (раздел 6) и требованиями, указанными в 6.2 и 6.3 настоящего стандарта.
Все испытуемые образцы выдерживают в стандартной атмосфере при температуре (23 ± 2) °С и относительной влажности (50 ± 5) % не менее 48 ч до начала испытаний, если иное не указано в методе испытаний.
Максимальное время между окончанием кондиционирования и началом испытания должно быть не более 10 мин, если иное не указано в методе испытаний.
Каждый испытуемый образец должен удовлетворять конкретным требованиям, если иное не указано в методе испытаний.
Для каждого метода испытаний определяют погрешность измерения. Используют один из двух следующих методов:
- статистический метод - по [1];
- математический метод - по [3].
Защитную обувь, стойкую к разрезанию ручной цепной пилой, делят на I и II классы в соответствии с ИСО 20345 (таблица 1).
Специальную обувь для защиты от разрезания ручной цепной пилой делят на три уровня защиты в зависимости от скорости пилы.
Погрешность измерения для каждого метода испытания, приведенного в настоящем стандарте, оценивают в соответствии с приложением А.
Специальная обувь для защиты от разрезания ручной цепной пилой должна соответствовать требованиям таблиц 1-4.
|
Основные требования |
Ссылки |
Класс обуви |
Обозначение | |||
|
Пункт ИСО 20345 |
Пункт настоящего стандарта |
I |
II | |||
|
Образец |
Высота верха |
5.2.1 |
X |
X | ||
|
Пяточная часть |
5.2.2 |
X |
X | |||
|
Вид |
6.2 |
X |
X | |||
|
Конструкция |
6.3 |
X |
X | |||
|
Обувь |
Характеристика стельки |
5.3.1 | ||||
|
Конструкция |
5.3.1.1 |
X | ||||
|
Прочность крепления подошвы |
5.3.1.2 |
X | ||||
|
Требования к защитным носкам: |
5.3.2 | |||||
|
Основные |
5.3.2.1 |
X |
X | |||
|
Внутренняя длина защитных носков |
5.3.2.2 |
X |
X | |||
|
Сопротивление удару |
5.3.2.3 |
X |
X | |||
|
Сопротивление сжатию |
5.3.2.4 |
X |
X | |||
|
Сопротивление защитных носков и вставок термическому и химическим воздействиям |
5.3.2.5 |
X |
X | |||
|
Герметичность |
5.3.3 |
X | ||||
|
Индивидуальные эргономические характеристики |
5.3.4 |
X |
X | |||
|
Сопротивление скольжению |
5.3.4 |
* |
* |
SRA SRB SRC | ||
|
Сопротивление проколу |
6.2.1 |
О |
О |
Р | ||
|
Электрические свойства |
6.2.2 | |||||
|
Антистатическая обувь |
6.2.2.2 |
* |
* |
А | ||
|
Диэлектрическая обувь |
6.2.2.3 |
* |
* |
См. в ЕН 50321 | ||
|
Устойчивость к вредным факторам окружающей среды |
6.2.3 | |||||
|
Изоляция от повышенных температур |
6.2.3.1 |
* |
* |
HI | ||
|
Изоляция от пониженных температур |
6.2.3.2 |
* |
* |
Cl | ||
|
Поглощение энергии задником |
6.2.4 |
* |
* |
Е | ||
|
Водостойкость |
6.2.5 |
* |
WR | |||
|
Метатарзальная защита |
6.2.6 |
* |
* |
М | ||
|
Защита лодыжки |
6.2.7 |
* |
* |
AN | ||
|
Устойчивость к разрезанию цепной пилой |
6.4 |
X |
X | |||
|
Верх |
Общие свойства |
5.4.1 |
X |
X | ||
|
Толщина |
5.4.2 |
X | ||||
|
Прочность на разрыв |
5.4.3 |
X | ||||
|
Прочность на растяжение |
5.4.4 |
X |
X | |||
|
Устойчивость к многократному изгибу |
5.4.5 |
X | ||||
|
Паропроницаемость и коэффициент пара |
5.4.6 |
X | ||||
|
Значение рН |
5.4.7 |
X | ||||
|
Гидролиз |
5.4.8 |
X | ||||
|
Содержание 6-валентного хрома |
5.4.9 |
X | ||||
|
Водопоглощение и абсорбция |
6.3.1 |
* |
WRU | |||
|
Конструкция верха |
6.3.2 |
X | ||||
|
Устойчивость к разрезанию цепной пилой |
6.3.3 |
5.4 |
* |
* |
CR | |
|
Подкладка союзки |
Прочность на разрыв |
5.5.1 |
X | |||
|
Стойкость к истиранию |
5.5.2 |
X | ||||
|
Паропроницаемость и коэффициент пара |
5.5.3 |
X | ||||
|
Значение рН |
5.5.4 |
X | ||||
|
Содержание 6-валентного хрома |
5.5.5 |
X | ||||
|
Подкладка пяточной части |
Прочность на разрыв |
5.5.1 |
О | |||
|
Стойкость к истиранию |
5.5.2 |
О | ||||
|
Паропроницаемость и коэффициент пара |
5.5.3 |
О | ||||
|
Значение рН |
5.5.4 |
О | ||||
|
Содержание 6-валентного хрома |
5.5.5 |
О | ||||
|
Язычок |
Прочность на разрыв |
5.6.1 |
О | |||
|
Значение рН |
5.6.2 |
О | ||||
|
Содержание 6-валентного хрома |
5.6.3 |
О | ||||
|
Подошва |
Толщина |
5.8.1 |
X |
X | ||
|
Прочность на разрыв |
5.8.2 |
X | ||||
|
Стойкость к истиранию |
5.8.3 |
X |
X | |||
|
Устойчивость к многократному изгибу |
5.8.4 |
X |
X | |||
|
Гидролизу |
5.8.5 |
X |
X | |||
|
Прочность соединения промежуточного слоя |
5.8.6 |
О |
О | |||
|
Устойчивость к воздействию нефтепродуктов |
5.8.7 |
* |
* |
FO | ||
|
Очищенная область |
6.4.1 |
X |
X | |||
|
Толщина очищенной подошвы |
6.4.2 |
X |
X | |||
|
Высота клипсы |
6.4.3 |
X |
X | |||
|
Устойчивость к контакту с нагретыми поверхностями |
6.4.4 |
* |
* |
HRO | ||
|
Примечание - Применимость требования к конкретному классу обуви обозначена следующими символами: "X" - требование необходимо выполнить. В некоторых случаях требование имеет отношение только к специфическим материалам в пределах классификации - например, значение рН кожи. Это не означает, что другие материалы не применяются. "О" - требование необходимо выполнить, если присутствует данная составная часть. Отсутствие символов "X" или "О" указывает, что требования отсутствуют. "*" означает, что если свойство заявлено, то данное требование должно быть выполнено. | ||||||
|
Варианты комплектации |
Деталь, подлежащая оценке |
Требования к выполнению, пункт ИСО 20345 | |||||||
|
Толщина 5.7.1 |
Значение рН а) 5.7.2 |
Абсорбция и десорбция воды 5.7.3 |
Стойкость к истиранию основной стельки 5.7.4.1 |
Содержание 6-валентного хрома a) 5.7.5 |
Стойкость к истиранию вкладной стельки 5.7.4.2 | ||||
|
1 |
Без основной стельки или стелька не отвечает всем требованиям |
Несъемная основная стелька |
Вкладная стелька |
X |
X |
X |
X |
X | |
|
2 |
С основной стелькой |
Без вкладной стельки |
Основная стелька |
X |
X |
X |
X |
X | |
|
Полустелька | |||||||||
|
3 |
Основная и вкладная стельки, несъемные |
Основная и вкладная стельки вместе |
X |
X | |||||
|
Вкладная стелька |
X |
X |
X | ||||||
|
4 |
С основной стелькой |
Основная и вкладная стельки съемные и водопроницаемые b) |
Основная стелька |
X |
X |
X |
X |
X | |
|
Вкладная стелька |
X |
X |
X | ||||||
|
5 |
Основная и вкладная стельки съемные и водонепроницаемые b) |
Основная стелька |
X |
X |
X |
X |
X | ||
|
Вкладная стелька |
X |
X |
X |
X | |||||
|
Примечание - "X" означает, что требование должно быть выполнено (для вкладной стельки пункт 7.4). a) Требования только для кожи. b) Водопроницаемая съемная стелька - это стелька, испытанная в соответствии с ИСО 20344 (пункт 7.2), пропускает воду в течение 60 с. | |||||||||
Минимальная высота l защитной области (см. рисунок 2) должна соответствовать требованиям таблицы 3; каждый размер должен быть проверен.
Ни в одной точке верха высота не должна быть менее минимальной высоты l защитной зоны (см. рисунок 2 и таблицу 3).
|
Размер обуви |
Минимальная высота l, мм | |
|
Французская система размеров |
Британская система размеров | |
|
36 и меньше |
До 3 1/2 |
162 |
|
37 и 38 |
4-5 |
165 |
|
39 и 40 |
5 1/2-6 1/2 |
172 |
|
40 и 41 |
7-8 |
178 |
|
43 и 44 |
8 1/2-10 |
185 |
|
45 и больше |
10 1/2 и больше |
195 |
Защитная обувь с сопротивлением к разрезанию ручной цепной пилой должна иметь непрерывную защитную область, как показано на рисунке 2, включая союзку, язычок и область пальцев в обуви. Она включает:
а) защитный носок;
b) область непосредственно за задней кромкой носка, ограниченную двумя вертикальными линиями, не менее 70 мм с обеих сторон от центральной оси обуви, измеренной между точкой А и точкой В, как показано на рисунке 2, и линией, параллельной линии кромки на максимальном расстоянии от нее - 10 мм и с минимальной высотой в соответствии с таблицей 3.
1 - геометрическая ось обуви; 2 - линия кромки; 3 - спинка носка; 4 - защитная область; 5 - дополнительная защитная область для обуви уровней защиты 3 и 4; 6 - верхний край верха обуви
Рисунок 2 - Минимальная защитная область
Для обуви уровня защиты 3 (6.4) не должно быть промежутка между защитной областью и линией кромки.
Не должно быть промежутка между защитным носком и защитным материалом.
Защитный материал надежно присоединяют к обуви. Если используют различные материалы для защиты от порезов, то их присоединяют друг к другу с наложением.
Защитную область испытывают, если использованы различные материалы.
Если обувь предназначена для обеспечения защиты области большей, чем определено в настоящем стандарте, то все части должны обладать одинаковыми защитными свойствами.
При испытании в соответствии с методом ЕН 381-3, используя испытательную скорость цепи, выбранную из таблицы 4 в соответствии с требуемым уровнем защиты обуви, не должно образоваться сквозных повреждений.
Если обувь с неметаллическим защитным носком, то проводят испытание на передней части обуви.
Примечание - Во время процедуры установки обувь покрывают подходящей защитой, чтобы избежать поверхностного загрязнения.
|
Уровни защиты |
Скорость цепи, м/с |
|
1 |
20 |
|
2 |
24 |
|
3 |
28 |
На каждую полупару обуви должна быть нанесена маркировка (четкая и нестираемая, например, тиснением или клеймлением), содержащая:
a) размер;
b) товарный знак изготовителя;
c) обозначение типа, вида, модели обуви;
d) год и, по меньшей мере, квартал изготовления;
e) номер и год утверждения настоящего стандарта;
f) обозначение из таблицы 1, соответствующее обеспечиваемому уровню защиты, которое не закрывается пиктограммой (см. рисунок 3).
Помимо того, пиктограмма, показанная на рисунке 3 вместе с уровнем обеспечиваемой защиты (уровень 1, уровень 2 или уровень 3), должна быть указана на ярлычке размерами не менее 30 х 30 мм, прикрепленном на хорошо просматриваемом месте снаружи обуви.
X - уровень защиты (см. 6.4)
Рисунок 3 - Пиктограмма, указывающая на защиту от разрезания цепной пилой
Защитную обувь поставляют с информацией, изложенной, по меньшей мере, на официальном языке государства назначения. Вся информация должна быть однозначной. Должна быть представлена следующая информация:
a) название и полный адрес изготовителя и/или его уполномоченного представителя;
b) орган по подтверждению соответствия;
c) номер и год утверждения стандарта;
d) объяснение всех пиктограмм, маркировок и уровней исполнения. Основное объяснение испытаний, которым подвергалась обувь, если применимо;
e) инструкции по использованию:
1) проверки, которые должны быть проведены потребителем перед использованием, если требуется;
2) примерка: как надеть и снять обувь, если необходимо;
3) области применения; основная информация относительно возможных применений и источник подробной информации;
4) ограничения (условия) эксплуатации (например, диапазон температур и т.д.);
5) инструкции по хранению и ремонту с указанием максимальных интервалов между проверками/ремонтом (если требуется, установить требования к сушке);
6) инструкции по чистке;
7) срок годности;
8) при необходимости, указать предупредительную информацию о проблемах, которые могут возникнуть при внесении изменений в конструкцию обуви, например в ортопедическую;
9) если требуется, дополнительные иллюстрации, номера деталей и т.д.;
f) рекомендации по аксессуарам и запасным частям, если необходимо;
g) тип упаковки, подходящей для транспортирования, если необходимо.
Каждая пара защитной обуви с сопротивлением разрезанию цепной пилой должна быть снабжена информационным листком, содержащим следующие формулировки:
"Никакое средство индивидуальной защиты не может гарантировать 100 % защиту от порезов ручной цепной пилой. Однако опыт показал, что возможно разработать средство индивидуальной защиты, которое обеспечивает определенную степень защиты. Различные функциональные принципы, которые могут быть применены, чтобы обеспечить защиту, включают:
- скольжение цепи: при контакте цепь проскальзывает и не режет материал.
Примечание - Данный вид защиты для резиновой обуви со временем становится не пригодным, если:
- засоряющие волокна, оттягиваемые цепью в сторону ведущей звездочки, блокируют движение цепи;
- торможение цепи происходит при помощи волокон с высоким сопротивлением разрезанию, которые поглощают кинетическую энергию, таким образом, уменьшая скорость цепи.
Часто применяют более одного принципа.
Три уровня защиты доступны, обозначая различные уровни стойкости к воздействию цепной пилы.
Рекомендуется выбирать обувь в соответствии со скоростью цепной пилы.
Важно, чтобы был нахлест между защитным материалом обуви и брюками".
Каждая пара защитной обуви с сопротивлением проколу должна быть снабжена брошюрой, содержащей следующую информацию.
"Прочность на прокол обуви должна быть измерена в лаборатории с использованием усеченного гвоздя диаметром 4,5 мм и силой 100 Н. Использования большей силы гвоздей с меньшим диаметром увеличат риск проникновения. В таких условиях следует учитывать альтернативные предупредительные меры".
Каждая пара антистатической обуви должна быть снабжена брошюрой, содержащей следующую информацию.
"Антистатическая обувь должна использоваться при необходимости свести к минимуму электростатическое поле, рассеивая электростатические заряды, тем самым избегая риска искрового зажигания, например, легковоспламеняющихся веществ и паров, и если существует опасность поражения электрическим током от любого электрического устройства или открытых частей, которые не были полностью устранены. Следует, однако, отметить, что антистатическая обувь не может гарантировать адекватную защиту от поражения электрическим током, поскольку она вводит только сопротивление между ногой и полом. Если риск поражения электрическим током не был полностью устранен, необходимы дополнительные меры для предотвращения этого риска. Такие меры, а также дополнительные тесты, упомянутые ниже, должны быть обычной частью программы предотвращения несчастных случаев на рабочем месте.
Опыт показал, что для антистатической защиты продукт обычно должен иметь электрическое сопротивление менее 1000 МОм в любое время на протяжении всего срока его службы. Значение 100 кОм определяется как минимальный предел сопротивления изделия при его новом состоянии для того, чтобы обеспечить некоторую ограниченную защиту от опасного поражения электрическим током или воспламенения в случае неисправности при работе любого электрического устройства при напряжении до 250 В. Однако при определенных условиях пользователи должны знать, что обувь может не обеспечивать необходимую защиту, а для полной защиты пользователя необходимо принимать дополнительные действия на протяжении всего времени работы.
Электрическое сопротивление этого типа обуви может значительно изменяться от изгиба, загрязнения или влажности. Эта обувь не будет выполнять свою предполагаемую функцию, если ее можно носить во влажных условиях. Поэтому необходимо обеспечить, чтобы продукт был способен выполнять свою функцию рассеивания электростатических зарядов, а также обеспечить некоторую защиту в течение эксплуатации. Пользователю рекомендуется проводить тест на электрическое сопротивление и использовать его регулярно и часто.
Обувь класса I может впитывать влагу в течение длительного времени, а во влажных условиях может стать проводником.
Если обувь загрязнена, то пользователь должен всегда проверять электрические свойства обуви перед входом в опасную зону.
Если используется антистатическая обувь, сопротивление напольного покрытия должно быть таким, чтобы оно не сводило на нет защиту, обеспечиваемую обувью.
При использовании между внутренней подошвой обуви и ногами пользователя не должно быть вставлено никаких изоляционных элементов, за исключением обычных носков. Если какая-либо вставка установлена между внутренней подошвой и стопой, комбинированная обувь/вставка должна быть проверена на предмет ее электрических свойств".
Если обувь снабжена съемным защитным носком, должно быть ясно, что тестирование проводилось с использованием защитного носка. Следует предупредить, что обувь должна использоваться только с установленным защитным носком и что защитный носок должен быть заменен только аналогичным защитным носком, поставляемым оригинальным производителем обуви.
Если обувь поставляется без защитного носка, то должно быть ясно, что тестирование проводилось без использования защитного носка. Должно быть указано, что установка защитного носка может повлиять на защитные свойства обуви.
Приложение А
(справочное)
А.1 Общие
Для оценки эффективности защитной обуви с устойчивостью к цепной пиле можно предоставить следующий список и рисунки. Эта информация предоставляется в качестве руководства, а не как полный список.
А.2 Критерии оценки состояния обуви
Обувь с защитой от цепных пил следует оценивать с регулярными интервалами, но, по крайней мере, перед каждым использованием, путем осмотра и должна быть заменена при обнаружении любого из признаков износа, указанных ниже (некоторые из этих критериев могут варьироваться в зависимости от типа обуви и используемых материалов):
- начало выраженного и глубокого растрескивания, влияющее на половину верхней толщины материала [рисунок А.1а)];
Рисунок А.1 - Критерии оценки состояния обуви с сопротивлением цепной пиле
- сильное истирание верхнего материала, особенно если обнаружен лоток [рисунок А.1b)];
- расщепленные швы или повреждения, вызванные контактом, например с бензопилой [рисунок А.1с)];
- на подошве имеются трещины размером более 10 мм и глубиной 3 мм [рисунок A.1d)]; верхнее или единственное разделение длиной от 10 до 15 мм и шириной 5 мм;
- высота клина в области изгиба менее 1,5 мм [рисунок А.1е)];
- оригинальная вставка (если таковая имеется) имеет выраженную деформацию и слом.
Необходимо проверить:
- время от времени руками внутреннюю часть обуви для обнаружения разрушения или острых границ носка, которые могут вызвать раны [рисунок A.1f)];
- механизм закрытия находится в рабочем состоянии (молния, кружева, проушины, система закрытия);
- срок годности или период износа.
Приложение ДА
(справочное)
Таблица ДА.1
|
Обозначение ссылочного международного стандарта |
Степень соответствия |
Обозначение и наименование соответствующего межгосударственного стандарта |
|
ISO 20344 |
IDT |
ГОСТ ISO 20344-2014 "Система стандартов безопасности труда. Средства индивидуальной защиты ног. Методы испытаний" |
|
ISO 20345 |
IDT |
ГОСТ ISO 20345-2016 "Система стандартов безопасности труда. Средства индивидуальной защиты ног. Защитная обувь. Технические требования" |
|
EN 381-3 |
- |
* |
|
EN 50321 |
- |
* |
|
* Соответствующий национальный (межгосударственный) стандарт отсутствует. До его утверждения рекомендуется использовать перевод на русский язык данного международного стандарта. Перевод данного международного стандарта находится в Федеральном информационном фонде стандартов. Примечание - В настоящей таблице использовано следующее условное обозначение степени соответствия стандартов: - IDT - идентичные стандарты. | ||
Библиография
|
[1] |
ISO 5725-2, |
Accuracy (trueness and precision) of measurement methods and results - Part 2: Basic method for the determination of repeatability and reproducibility of a standard measurement method [Точность (правильность и прецизионность) методов и результатов измерений. Часть 2. Основной метод определения повторяемости и воспроизводимости стандартного метода измерений] |
|
[2] |
ISO 7000, |
Graphical symbols for use on equipment - Registered symbols (Графические символы для использования на оборудовании. Зарегистрированные символы) |
|
[3] |
ENV 13005, |
Guide to the uncertainty of measurement (GUM) (Руководство для выражения погрешности при измерении) |


