ГОСТ 13637.3-93 ГАЛЛИЙ. ХИМИКО-АТОМНО-ЭМИССИОННЫЙ МЕТОД ОПРЕДЕЛЕНИЯ АЛЮМИНИЯ, ВИСМУТА, ИНДИЯ, КАДМИЯ, КОБАЛЬТА, КРЕМНИЯ, МАГНИЯ, МАРГАНЦА, МЕДИ, НИКЕЛЯ, СВИНЦА, СЕРЕБРА, ХРОМА, ЦИНКА И ЖЕЛЕЗА
Gallium. Chemical-atomic-emission method for the determination of aluminium, bismuth, cobalt, silicon, magnesium, manganese, copper, nickel, lead, silver, chromium, zinc and iron
Информационные данные
Ссылочные нормативно-технические документы
|
Обозначение НТД, на который дана ссылка |
Номер пункта, раздела | |
|
ГОСТ 83-79 |
2 | |
|
ГОСТ 123-78 |
2 | |
|
ГОСТ 195-77 |
Разд. 2 | |
|
ГОСТ 244-76 |
Разд. 2 | |
|
ГОСТ 804-93 |
Разд. 2 | |
|
ГОСТ 849-70 |
Разд. 2 | |
|
ГОСТ 859-78 |
Разд. 2 | |
|
ГОСТ 1277-75 |
Разд. 2 | |
|
ГОСТ 1467-93 |
Разд. 2 | |
|
ГОСТ 3118-77 |
Разд. 2 | |
|
ГОСТ 3640-79 |
Разд. 2 | |
|
ГОСТ 3773-72 |
Разд. 2 | |
|
ГОСТ 3778-93 |
Разд. 2 | |
|
ГОСТ 4109-79 |
Разд. 2 | |
|
ГОСТ 4160-74 |
Разд. 2 | |
|
ГОСТ 4331-78 |
Разд. 2 | |
|
ГОСТ 4461-77 |
Разд. 2 | |
|
ГОСТ 4467-79 |
Разд. 2 | |
|
ГОСТ 4526-75 |
Разд. 2 | |
|
ГОСТ 5817-77 |
Разд. 2 | |
|
ГОСТ 5905-79 |
Разд. 2 | |
|
ГОСТ 6008-90 |
Разд. 2 | |
|
ГОСТ 6552-80 |
Разд. 2 | |
|
ГОСТ 6836-80 |
Разд. 2 | |
|
ГОСТ 8864-71 |
Разд. 2 | |
|
ГОСТ 9428-73 |
Разд. 2 | |
|
ГОСТ 9736-91 |
Разд. 2 | |
|
ГОСТ 10216-75 |
Разд. 2 | |
|
ГОСТ 10262-73 |
Разд. 2 | |
|
ГОСТ 10297-75 |
Разд. 2 | |
|
ГОСТ 11069-74 |
Разд. 2 | |
|
ГОСТ 11120-75 |
Разд. 2 | |
|
ГОСТ 11125-84 |
Разд. 2 | |
|
ГОСТ 13610-79 |
Разд. 2 | |
|
ГОСТ 136370-93 |
Разд. 1 | |
|
ГОСТ 136371-93 |
3.1.5, 5.1, 5.2 | |
|
ГОСТ 136372-93 |
3.1.5, 5.2 | |
|
ГОСТ 14261-77 |
Разд. 2 | |
|
ГОСТ 16539-79 |
Разд. 2 | |
|
ГОСТ 18300-87 |
Разд. 2 | |
|
ГОСТ 19627-74 |
Разд. 2 | |
|
ГОСТ 20288-74 |
Разд. 2 | |
|
ГОСТ 22300-76 |
Разд. 2 | |
|
ГОСТ 23463-79 |
Разд. 2 | |
|
ГОСТ 24174-80 |
Разд. 2 | |
|
ГОСТ 24363-80 |
Разд. 2 | |
|
ГОСТ 24104-88 |
Разд. 2 | |
|
ГОСТ 25664-83 |
Разд. 2 |
Предисловие
1. Разработан Межгосударственным техническим комитетом 104 "Полупроводниковая и редкометаллическая продукция. Особочистые металлы", Государственным институтом редких металлов (гиредмет)
Внесен Госстандартом России
2. Принят Межгосударственным Советом по стандартизации, метрологии и сертификации (протокол N 4-93 от 19 октября 1993 г.)
За принятие проголосовали:
|
Наименование государства |
Наименование национального органа по стандартизации |
|
Республика Армения |
Армгосстандарт |
|
Республика Беларусь |
Белстандарт |
|
Республика Казахстан |
Госстандарт Республики Казахстан |
|
Республика Молдова |
Молдовастандарт |
|
Российская Федерация |
Госстандарт России |
|
Туркменистан |
Туркменгосстандарт |
|
Республика Узбекистан |
Узгосстандарт |
|
Украина |
Госстандарт Украины |
3. Постановлением Комитета Российской Федерации по стандартизации, метрологии и сертификации от 02.06.94 N 160 межгосударственный стандарт ГОСТ 13637.3-93 введен в действие непосредственно в качестве государственного стандарта Российской Федерации с 01.01.95
4. Взамен ГОСТ 13637.3-77
Настоящий стандарт устанавливает химико-атомно-эмиссионный метод определения массовых долей примесей в галлии:
1) при растворении металла в смеси соляной и азотной кислот и концентрировании примесей путем экстракции галлия бутилацетатом или этиловым эфиром из солянокислого раствора
|
алюминия |
от 1 · 10-5 до 1 · 10-4 %, |
|
висмута |
от 5 · 10-7 до 1 · 10-4 %, |
|
индия |
от 3 · 10-6 до 1 · 10-5 %, |
|
кадмия |
от 5 · 10-7 до 1 · 10-4 %, |
|
кобальта |
от 2 · 10-6 до 1 · 10-4 %, |
|
кремния |
от 3 · 10-5 до 3 · 10-4 %, |
|
магния |
от 6 · 10-6 до 1 · 10-4 %, |
|
марганца |
от 5 · 10-7 до 1 · 10-5 %, |
|
меди |
от 5 · 10-7 до 5 · 10-6%, |
|
никеля |
от 5 · 10-7 до 1 · 10-4 %, |
|
свинца |
от 5 · 10-7 до 1 · 10-4%, |
|
серебра |
от 5 · 10-7 до 2 · 10-6 %, |
|
хрома |
от 5 · 10-7 до 1 · 10-4 %, |
|
цинка |
от 5 · 10-5 до 5 · 10-4 % |
2) при растворении металла парами брома в присутствии четыреххлористого углерода и соляной кислоты и концентрировании путем отгонки тригалогенида галлия с последующей экстракцией остаточного галлия этиловым эфиром
|
алюминия |
от 2 · 10-6 до 5 · 10-5 % |
3) при экстракции примеси в виде диэтилдитиокарбамата хлороформом или четыреххлористым углеродом
|
железа |
от 2 · 10-5 до 1 · 10-4 % |
Концентрат определяемых примесей на порошковом графите с добавлением хлористого натрия анализируют атомно-эмиссионным методом.
Общие требования к методу анализа и требования безопасности по ГОСТ 13637.3.
Спектрограф дифракционный типа ДФС-8 или аналогичного типа с решеткой 600 штр/мм и трехлинзовой системой освещения.
Генератор дуговой типа ДГ-2 с дополнительным реостатом или аналогичного типа, приспособленный для поджига дуги постоянного тока высокочастотным разрядом.
Выпрямитель 250-300 В, 30-50 А.
Микрофотометр типа МФ-2 или аналогичного типа
Спектропроектор типа ПС-18 или аналогичного типа.
Станок для заточки графитовых электродов.
Электроды графитовые фасонные для атомно-эмиссионного анализа ОСЧ 7-4, диаметром 6 мм, заточенные на конус; или графитовые электроды, выточенные из графитовых стержней ОСЧ 7-3, диаметром 6 мм, заточенные на конус с углом при вершине 15 градусов и с площадкой диаметром 1, 5 мм на конце, обожженные в дуге постоянного тока при 15 А в течение 15 с.
Электроды графитовые фасонные для атомно-эмиссионного анализа ОСЧ 7-4, диаметром 6 мм, с каналом глубиной 6 мм и диаметром 4 мм; или графитовые электроды тех же размеров, выточенные из графитовых стержней ОСЧ 7-3, обожженные в дуге постоянного тока при 15 А в течение 15 с.
Очистке обжигом подвергают каждую пару электродов непосредственно перед анализом (электрод, заточенный на конус - катод, электрод с каналом - анод).
Графит порошковый особой чистоты по ГОСТ 23463.
Весы лабораторные 1-го класса по ГОСТ 24104
Лампа инфракрасная типа ИКЗ-500 с регулятором напряжения типа РНО-250-2 или регулятором аналогичного типа.
Бокс из органического стекла.
Ступка и пестик из органического стекла.
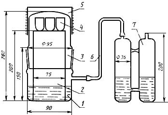
Установка для отгонки галогенидов галлия с жидкостным затвором из молибденового стекла (черт. 1).

1 - кварцевый сосуд со шлифом, подставка для тиглей; 2 - подставка для тиглей; 3 - кварцевая пробка сосуда со шлифом; 4 - тигель; 5 - трубчатая печь, 6 - соединительная трубка из каучука; 7 - жидкостный затвор, заполненный раствором гидроокиси калия
Черт. 1
Электроплитка мощностью 300 Вт, покрытая кварцевой кюветой и пластинкой из стеклоуглерода.
Термопара хромель-алюмель с милливольтметром МР-64-02 по ГОСТ 9736.
Сосуд фторопластовый с завинчивающейся, крышкой вместимостью 1000 см3 (черт. 2).

1 - фторопластовый сосуд; 2 - крышка из фторопласта; 3 - тигель; 4 - подставка из фторопласта.
Черт. 2
Чашки кварцевые вместимостью 10 см3 и 100 см3.
Тигли кварцевые или стеклоуглеродные вместимостью 30 см3.
Пипетки с делениями на 1 и 5 см3.
Цилиндры мерные с делениями на 10 см3.
Воронки делительные из прозрачного кварцевого стекла вместимостью 30 см3.
Алюминий первичный по ГОСТ 11069, марки А 99 или более высокой.
Висмут или окись висмута по ГОСТ 10216.
Железо карбонильное радиотехническое по ГОСТ 13610 марки ПС или окись железа.
Индий по ГОСТ 10297-75 марки Ин 000 или более высокой или окись индия (триоксид индия) ос.ч-9-3.
Кадмий по ГОСТ 1467 марки Кд-2 или более высокой или кадмия окись по ГОСТ 11120.
Кобальт по ГОСТ 123 марки К1 или более высокой или закись окись кобальта по ГОСТ 4467.
Кремний двуокись по ГОСТ 9428.
Магний первичный по ГОСТ 804 марки МГ-90 или более высокой или окись магния по ГОСТ 4526.
Марганец металлический по ГОСТ 6008 марки Мр0 или Мр00 или двуокись марганца безводная ОСЧ-9-2.
Медь по ГОСТ 859 марки М3 или более высокой или окись меди по ГОСТ 16539 порошкообразная.
Никель по ГОСТ 849 марки Н-2 или более высокой или окись никеля черная по ГОСТ 4331.
Свинец по ГОСТ 3778 марки С3 или более высокой или окись свинца.
Серебро по ГОСТ 6836 марки Ср 999, 0 или 999, 9 или азотнокислое серебро по ГОСТ 1277.
Хром по ГОСТ 5905 марки X 00.
Цинк по ГОСТ 3640 марки Ц1 или более высокой или окись цинка по ГОСТ 10262.
Основные растворы концентраций по 1 мг/см3 определяемых примесей алюминия, висмута, железа, индия, кадмия, кобальта, магния, марганца, меди, никеля, свинца, серебра, хрома и цинка готовят следующим образом:
Основные растворы висмута, железа, индия, кадмия, кобальта, магния, марганца, меди, никеля, свинца и серебра готовят растворением по 100 мг металлических висмута, железа, индия, кадмия, кобальта, магния, марганца, меди, никеля, свинца и серебра или соответственно 117, 7 мг окиси висмута, 143, 0 мг окиси железа, 120, 9 мг окиси индия, 114, 2 мг окиси кадмия, 140, 7 мг закиси-окиси кобальта, 165, 8 мг окиси магния, 158, 3 мг двуокиси марганца, 125, 2 мг окиси меди, 140, 9 мг окиси черной никеля, 107, 7 мг окиси свинца, 157, 5 мг азотнокислого серебра в минимальном количестве азотной кислоты. Растворы переносят в мерные колбы вместимостью 100 см3, доводят до метки деионизованной водой и перемешивают.
1 см3 каждого из растворов содержит по 1 мг соответствующего элемента.
Для приготовления основных растворов алюминия, хрома и цинка берут по 100 мг каждого из этих металлов (вместо металлического цинка можно взять 124, 4 мг окиси цинка), растворяют в минимальном количестве соляной кислоты (1:1). Растворы переводят в мерные колбы вместимостью 100 см3, доводят до метки деионизованной водой и перемешивают.
1 см3 каждого из растворов содержит по 1 мг соответствующего элемента.
Фотопластинки типа ПФС-04 или аналогичные, обеспечивающие нормальные почернения аналитических линий и фона в спектре.
|
Проявитель: | |
|
метол (4-метиламинофенолсульфат) по ГОСТ 25564 |
2, 2 г |
|
натрий сернистокислый по ГОСТ 195 |
96 г |
|
гидрохинон (парадиоксибензол) по ГОСТ 19627 |
8, 8 г |
|
натрий углекислый по ГОСТ 83 |
48 г |
|
калий бромистый по ГОСТ 4160 |
5 г |
|
вода |
до 1000 см3. |
|
Фиксаж: | |
|
тиосульфат натрий кристаллический по ГОСТ 244 |
300 г |
|
аммоний хлористый по ГОСТ 3773 |
20 г |
|
вода |
до 1000 см3. |
Кислота соляная х. ч. по ГОСТ 3118, концентрированная.
Кислота соляная особой чистоты по ГОСТ 14261 концентрированная и дважды перегнанная в кварцевом приборе концентрацией 6 моль/дм3.
Кислота азотная по ГОСТ 11125 или кислота азотная по ГОСТ 4461 дважды перегнанная в кварцевом приборе.
Кислота ортофосфорная по ГОСТ 6552.
Бром по ГОСТ 4109, ч.д.а.
Калий гидроокись по ГОСТ 24363 х. ч., раствор концентрацией 400 г/дм3.
Бумага индикаторная универсальная.
Хлороформ медицинский.
Четыреххлористый углерод по ГОСТ 20288.
Вода деионизованная с удельным электросопротивлением 10-20 МОм·см.
Эфир этиловый медицинский, очищенный трехкратной экстракцией раствором соляной кислоты, концентрацией 6 моль/дм3, каждый раз в течение 5 мин при соотношении объемов кислоты и эфира 1:10.
Эфир бутиловый уксусной кислоты (бутилацетат) по ГОСТ 22300 или эфир этиловый медицинский, очищенный трехкратной экстракцией раствором солярной кислоты концентрацией 6 моль/дм3, каждый раз в течение 5 мин при соотношении объемов кислоты и эфира 1:10.
Аммиак водный особой чистоты по ГОСТ 24174.
Натрия N, N'-диэтилдитиокарбамат по ГОСТ 8864, раствор концентрацией 20 г/дм3, свежеприготовленный и очищенный; 100 см3 раствора помещают в делительную воронку, приливают 3 см3 хлороформа или четыреххлористого углерода и энергично встряхивают в течение 3 мин. После расслаивания органический слой отбрасывают. Экстракцию повторяют еще три раза с таким же количеством хлороформа или четыреххлористого углерода. Раствор в течение рабочего дня держат в холодном месте.
Кислота винная по ГОСТ 5817.
Раствор виннокислого аммония: 200 см3 водного раствора винной кислоты концентрацией 500 г/дм3 в стакане вместимостью 500 см3 нейтрализуют водным раствором аммиака по индикаторной бумаге до рН 8, помещая стакан в кристаллизатор со льдом, раствор переносят в делительную воронку, добавляют 20 см3 раствора диэтилдитиокарбамата натрия, 60 см3 хлороформа или четыреххлористого углерода и взбалтывают в течение одной минуты. После расслаивания органический слой отбрасывают и экстракцию повторяют еще четыре раза с таким же количеством реактивов. Раствор виннокислого аммония хранят в полиэтиленовой банке.
Натрий хлористый ОСЧ 10-3.
Спирт этиловый ректификованный технический по ГОСТ 18300, неперегнанный и дважды перегнанный в кварцевом приборе.
3.1. Приготовление образцов сравнения (ОС)
3.1.1. Основной образец сравнения А (ООСА) с массовыми долями по 0, 1 % алюминия, висмута, индия, кадмия, кобальта, кремния, магния, марганца, меди, никеля, свинца, хрома, цинка и серебра: в кварцевую чашку вместимостью 100 см3 помещают 9, 860 г порошкового графита. Затем в нее добавляют поочередно по 10 см3 основных растворов указанных примесей в порядке их перечисления. После каждого добавления основного раствора смесь высушивают на плитке. После добавления основного раствора серебра и высушивания смеси ее перемешивают. Около 1 г полученной смеси порошкового графита с определяемыми примесями перетирают с 21, 5 мг двуокиси кремния в присутствии этилового спирта в ступке из органического стекла в течение 40 мин. Затем в ступку добавляют оставшийся (массой около 9 г) порошковый графит с примесями и 30 см3 этилового спирта. Смесь перетирают в течение 60 мин, а затем сушат под инфракрасной лампой.
3.1.2. Основной образец сравнения Б (ООСБ) с массовой долей 0, 1 % алюминия: в кварцевую чашку помещают 9, 990 г порошкового графита и приливают 10 см3 основного раствора алюминия концентрацией 1 мг/см3. Смесь высушивают и перемешивают сначала в кварцевой чашке, а затем в ступке из органического стекла с добавлением этилового спирта для поддержания смеси в кашицеобразном состоянии в течение 60 мин. Полученную смесь сушат под инфракрасной лампой.
3.1.3. Основной образец сравнения В (ООСВ) с массовой долей 0, 1 % железа: в кварцевую чашку помещают 9, 990 г порошкового графита и приливают 10 см3 основного раствора железа концентрацией железа 1 мг/см3. Смесь высушивают и перемешивают сначала в кварцевой чашке, а затем в ступке из органического стекла с добавлением этилового спирта для поддержания смеси в кашицеобразном состоянии в течение 60 мин. Полученную смесь сушат под инфракрасной лампой.
3.1.4. Образцы сравнения ОС: ОСА1-ОСА7 готовят последовательным разбавлением ООСА порошковым графитом. Массовые доли каждой из определяемых примесей в ОСА1-ОСА7 и вводимые в смесь навески порошкового графита и разбавляемого образца, смешиваемые для получения данного образца, приведены в табл. 1.
Таблица 1
|
Обозначение образца |
Массовая доля каждой из определяемых примесей, % |
Масса навесок, г | |
|
порошкового графита |
разбавляемого образца (обозначение) | ||
|
OCA1 |
1 · 10-2 |
1, 800 |
0, 204 (ООСА) |
|
ОСА2 |
3 · 10-3 |
1, 400 |
0, 601 (ОСА1) |
|
ОСА3 |
1 · 10-3 |
1, 333 |
0, 667 (ОСА2) |
|
ОСА4 |
3 · 10-4 |
1, 400 |
0, 600 (ОСА3) |
|
ОСА5 |
1 · 10-4 |
1, 333 |
0, 667 (ОСА4) |
|
ОСА6 |
3 · 10-5 |
1, 400 |
0, 600 (ОСА5) |
|
ОСА7 |
1 · 10-5 |
1, 333 |
0, 667 (ОСА6) |
3.1.5 Образцы сравнения ОС: ОСБ1-ОСБ6 и OCB1-ОСВ4 готовят последовательным разбавлением соответственно ООСБ и ООСВ порошковым графитом. Массовые доли каждой определяемой примеси в ОСБ1-ОСБ6 и OCB1-ОСВ4 и вводимые в смесь навески порошкового графита и разбавляемого образца, смешиваемые для получения данного образца, приведены в табл. 2.
Таблица 2
|
Обозначение образца |
Массовая доля каждой из определяемых примесей, % |
Масса навесок, г | |
|
порошкового графита |
разбавляемого образца (обозначение) | ||
|
ОСБ1 (ОСВ1) |
1 · 10-2 |
1, 800 |
0, 200 ООСБ (ООСВ) |
|
ОСБ2 (ОСВ2) |
3 · 10-3 |
1, 400 |
0, 600 ОСБ1 (ОСВ1) |
|
ОСБ3 (ОСВ3) |
1 · 10-3 |
1, 333 |
0, 667 ОСБ2 (ОСВ2) |
|
ОСБ4 (ОСВ4) |
3 · 10-4 |
1, 400 |
0, 600 ОСБ3 (ОСВ3) |
|
ОСБ5 |
1 · 10-4 |
1, 333 |
0, 667 ОСБ4 |
|
ОСБ6 |
3 · 10-5 |
1, 400 |
0, 600 ОСБ5 |
Приведенные в табл. 1 и 2 навески порошкового графита и разбавляемого образца сравнения помещают в ступку из органического стекла, тщательно перетирают ОС1-ОС3 с этиловым спиртом, а ОС4-ОС7 - с дважды перегнанным этиловым спиртом, в течение 50 мин и высушивают под инфракрасной лампой в боксе из органического стекла.
Примечание. ООСА, ООСБ и ООСВ допускается также готовить, вводя определяемые элементы в виде окислов (см. ГОСТ 13637.1 или ГОСТ 13637.2).
Во избежание внесения загрязнений перетирание в ступке и высушивание под инфракрасной лампой ведут в боксе из органического стекла.
Образцы сравнения хранят в плотно закрытых банках из органического стекла.
4.1. Концентрирование алюминия, висмута, индия, кадмия, кобальта, кремния, магния, марганца, меди, никеля, свинца, серебра, хрома, цинка.
Навеску галлия массой 1 г помещают во фторопластовую чашку, приливают 10 см3 смеси раствора соляной кислоты концентрацией 6 моль/дм3 и азотной кислоты в отношении 3:1, чашку (закрывают фторопластовой крышкой и растворяют 50-60 мин на электроплитке, покрытой кварцевой кюветой, при слабом нагреве. Полученный раствор упаривают до сиропообразного состояния. Затем к нему приливают 5 см3 раствора соляной кислоты концентрацией 6 моль/дм3 и слегка нагревают. Охлажденный раствор переводят в делительную воронку, смывая чашку еще 5 см3 раствора соляной кислоты с концентрацией 6 моль/дм3.
Экстракцию галлия можно проводить двумя практически равноценными экстрагентами: бутилацетатом или этиловым эфиром. При работе с этиловым эфиром необходимо учитывать его взрывоопасность. При экстракции необходимо периодически выпускать из делительной воронки образовавшиеся пары эфира.
Для экстракции галлия в делительную воронку добавляют 10 см3 бутилацетата или этилового эфира и энергично встряхивают воронку в течение 2 мин. После расслаивания жидкостей нижнюю водную фазу переводят в другую делительную воронку и повторяют экстракцию еще два раза таким же количеством бутилацетата или этилового эфира.
Солянокислый раствор, полученный после экстракции галлия, переводят в чистую фторопластовую чашку, добавляют в нее 50 мг порошкового графита и упаривают раствор досуха при температуре около 100 °С на электроплитке, покрытой кварцевой кюветой. Полученный сухой остаток представляет собой концентрат примесей, подвергаемый атомно-эмиссионному анализу.
Одновременно через все стадии анализа проводят три контрольных опыта и получают три сухих остатка - концентрата.
4.2. Концентрирование алюминия
4.2.1. Подготовка посуды
С комплектом установки для отгонки галлия, двух сосудов фторопластовых (для бромирования и для насыщения соляной кислотой), трех делительных воронок и кварцевой чашки многократно проводят контрольные опыты по п. 4.2.3, пока поправка контрольного опыта не удовлетворит требованиям п. 5.2.
Примечание. При работе с новыми тиглями из стеклоуглерода для определения 2 ·10-6 % алюминия число контрольных опытов, необходимых для подготовки посуды, обычно составляет не менее 5.
4.2.2. Хранение делительных воронок и кварцевых чашек
Делительные воронки и кварцевые чашки после анализа споласкивают деионизованной водой и хранят заполненными деионизованной водой погруженными в деионизованную воду в емкостях из фторопласта или стеклоуглерода.
4.2.3. Получение концентрата алюминия
В шесть тиглей из кварца или стеклоуглерода вместимостью 30 см3 вводят по 15 см3 четыреххлористого углерода и по 3 см3 дважды перегнанной соляной кислоты. В три тигля помещают навеску измельченного галлия массой по 3 г. Затем все шесть тиглей устанавливают на подставку фторопластового сосуда 1 (черт. 2). На дно фоторопластового сосуда предварительно наливают 40 см3 брома, сосуд герметизируют завинчивающейся крышкой 2 и оставляют на 24 ч в вытяжном шкафу. На следующий день фторопластовый сосуд открывают, три тигля контрольного опыта и три тигля с растворенной пробой поочередно помещают на подставку 2 (черт. 1) кварцевого сосуда. В сосуд предварительно заливают раствор гидроокиси калия на 1/3 его высоты. Сосуд 1 соединяют каучуковой трубкой 6 с жидкостным затвором 7, который заполняют раствором гидроокиси калия. После установки тиглей 4 на подставку (черт. 1) сосуд 1 закрывают пробкой 3, предварительно смазанной ортофосфорной кислотой, и на пробку надевают электропечь 5. Электропечь постепенно нагревают, регулируя напряжение ее питания регулятором типа РНО-250-2 таким образом, чтобы сначала из растворов в тиглях отогнался бром, а затем остальная жидкость до получения сухих остатков. Затем электропечь снимают. После охлаждения тигли с сухими остатками переносят из кварцевого сосуда 1 (черт. 1) на подставку из фторопласта 4 (черт. 2), на дно фторопластового сосуда 1 (черт. 2) предварительно наливают 200 см3 концентрированной солярной кислоты для нейтрализации сухого остатка и оставляют на 1 ч. Затем в каждый из тиглей приливают по 5 см3 дважды перегнанной соляной кислоты. После растворения остатка раствор переносят в делительную воронку вместимостью 30 см3, приливают туда 10 см3 этилового эфира, насыщенного соляной кислотой, и встряхивают в течение 2 мин. После расслаивания кислотный слой переносят в другую делительную воронку вместимостью 30 см3, а эфирный слой отбрасывают. Экстракцию эфиром повторяют еще два раза. Затем кислотный слой переносят в кварцевую чашку вместимостью 10 см3, упаривают до объема 1-1, 5 см3, добавляют 50 мг порошкового графита и упаривают досуха на электроплитке, покрытой кварцевой кюветой и пластиной из стеклоуглерода.
Полученный сухой остаток представляет собой концентрат алюминия, подвергаемый атомно-эмиссионному анализу. Анализ каждой пробы галлия проводят из трех параллельных навесок.
Одновременно через все стадии анализа проводят три контрольных опыта и получают три сухих остатка - концентрата.
4.3. Концентрирование железа
Навеску галлия массой 1 г помещают в кварцевую чашку вместимостью 40-50 см3. В чашку приливают 4 см3 азотной кислоты. Чашку накрывают кварцевой крышкой и нагревают на электроплитке слабого накала. После начала растворения) чашку снимают с плитки, через 1 ч в чашку добавляют 2 см3 раствора соляной кислоты концентрацией 6 моль/дм3 и нагревают чашку до полного растворения галлия, не допуская бурного кипения раствора. Полученный раствор упаривают до густого сиропа, после чего добавляют 10 см3 раствора виннокислого аммония. Раствор нейтрализуют аммиаком до рН 8 по универсальной индикаторной бумаге и переносят в кварцевую делительную воронку вместимостью 50 см3. В нее добавляют 1 см3 раствора диэтилдитиокарбамата натрия и 3 см3 хлороформа или четыреххлористого углерода. Воронку энергично встряхивают в течение 3 мин. После расслаивания фаз органическую фазу переносят в другую делительную воронку и экстракцию повторяют в тех же условиях еще один раз. Объединенный экстракт (органическая фаза) промывают 5 см3 деионизованной воды в кварцевых делительных воронках вместимостью по 30 см3 три раза и переносят в чистую кварцевую чашку вместимостью 30 см3. В чашку добавляет 50 мг порошкового графита - коллектор и осторожно упаривают раствор на электроплитке, покрытой кварцевой кюветой, при температуре 50-60 °С. Полученный сухой остаток представляет собой концентрат железа, подвергаемый атомно-эмиссионному анализу.
Одновременно через все стадии анализа проводят три контрольных опыта на загрязнение реактивов и получают три сухих остатка - концентрата.
Анализ каждой пробы галлия по пп. 4.1, 4.2, 4.3 проводят из трех параллельных навесок.
4.4. Атомно-эмиссионный анализ концентратов
К каждому концентрату, полученному из навески анализируемой пробы и контрольных опытов, и к 50 мг каждого из образцов сравнения добавляют по 2 мг хлористого натрия и слегка перемешивают шпателем на кусочке кальки.
Каждую смесь с помощью шпателя помещают в канал графитового электрода диаметром 4 мм и глубиной 6 мм и уплотняют с помощью набивалки из органического стекла. Шпатель и набивалку после каждой пробы тщательно протирают кусочками бязи, смоченными этиловым спиртом, и высушивают на воздухе.
Электрод с концентратом примесей (или образцом сравнения) служит анодом (нижний электрод). Верхним электродом является графитовый электрод, заточенный на конус. Между электродами зажигают дугу постоянного тока силой 15 А.
Спектры фотографируют с промежуточной диафрагмой 5 мм, шириной щели 15 мкм, шкалой длины волны, установленной на 280 нм, и времени экспозиции около 45 с (до полного выгорания хлористого натрия).
Во время экспозиции расстояние между электродами поддерживают равным 3 мм.
На одну и ту же фотопластинку в одинаковых условиях фотографируют по три раза спектр концентратов анализируемых проб, спектр концентратов, полученных из контрольных опытов, и спектр каждого из образцов сравнения.
Экспонированную фотопластинку проявляют, промывают водой, фиксируют, промывают в проточной воде в течение 15 мин и сушат.
5.1. В каждой спектрограмме фотометрируют почернения аналитической линии определяемого элемента Sл (см. табл. 3) и близлежащего фона Sф (минимальное почернение рядом с аналитической линией определяемого элемента с любой стороны, но с одной и той же стороны во всех спектрах, снятых на одной пластинке) и вычисляют разность почернений ΔS = Sл-Sф.
По трем значениям ΔS1, ΔS2, ΔS3, полученным по трем спектрограммам, снятым для каждого образца, находят среднее арифметическое ΔS̅. От полученных средних значений ΔS̅ переходят к соответствующим значениям логарифмов относительной интенсивности lg
, используя таблицу, приведенную в обязательном приложении ГОСТ 13637.1.
По значениям lgC и lg
для образцов сравнения строят градуировочный график в координатах lgC, lg
. По этому градуировочному графику и по значению lg
для концентратов контрольных опытов определяют среднее значение массовой доли определяемой примеси Ск в концентратах контрольных опытов. Соответственно по значению lg
для концентратов анализируемой пробы находят по градуировочному графику среднее значение массовой доли С определяемой примеси в концентрате анализируемой пробы.
5.2. Массовую долю примеси в пробе Хан (результат анализа) в процентах вычисляют по формуле
,
где m1 - масса навески порошкового графита, используемая, в качестве коллектора, г,
m2 - масса навески анализируемой пробы галлия, г,
С - среднее значение массовой доли примеси в концентратах анализируемой пробы, %,
Cк - среднее значение массовой доли примеси в концентратах контрольного опыта, %.
Таблица 3
|
Определяемый элемент |
Длина волны аналитической линии, нм |
|
Алюминий |
257, 51 |
|
Висмут |
306, 77 |
|
Железо |
248, 33 |
|
Индий |
325, 61 |
|
Кадмий |
228, 80 |
|
Кобальт |
304, 40 |
|
Кремний |
251, 43 |
|
Магний |
277, 98 |
|
Марганец |
279, 48 |
|
Медь |
327, 40 |
|
Никель |
300, 25 |
|
Свинец |
283, 31 |
|
Серебро |
328, 07 |
|
Хром |
302, 16 |
|
Цинк |
328, 24 |
Примечание. При массовой доле титана в концентрате анализируемой пробы галлия 3 ·10-5 % или более цинк определяют по ГОСТ 13637.2, так как мешает наложению линии титана 328, 23 нм на аналитическую линию цинка.
Величина Cк ·
не должна превышать 0, 8 Хан. Если это условие не обеспечивается, необходимо выполнить поэтапную очистку помещения, рабочих мест, применяемой аппаратуры, реактивов и материалов.
Найденное по формуле значение массовой доли примеси в пробе (Хан, %) является результатом анализа, средним из трех результатов параллельных определений, выполненных каждый из отдельной навески пробы галлия.
При контроле сходимости результатов параллельных определений из трех значений ΔS1, ΔS2, ΔS3, полученных по трем спектрограммам для трех концентратов анализируемой пробы, выбирают наибольшее (ΔS)б и наименьшее (ΔS)м значения, переходят от них по таблицам, приведенным в обязательном приложении ГОСТ 13637.1, к соответствующим значениям
и
и находят соответствующие значения массовой доли примеси в пробе Хб и Хм.
5.3. Допускаемые расхождения результатов трех параллельных определений (отношение наибольшего к наименьшему), а также двух результатов анализа (отношение большего к меньшему), приведены в табл. 4.
Таблица 4
|
Определяемая примесь |
Массовая доля, % |
Допускаемое расхождение |
|
Алюминий |
2 · 10-6 |
4, 0 |
|
1 · 10-5 |
3, 0 | |
|
1 · 10-4 |
3, 0 | |
|
Висмут |
5 · 10-7 |
3, 0 |
|
5 · 10-6 |
3, 0 | |
|
1 · 10-4 |
2, 5 | |
|
Железо |
2 · 10-5 |
4, 0 |
|
6 · 10-5 |
3, 0 | |
|
1 · 10-4 |
3, 0 | |
|
Индий |
3 · 10-6 |
3, 0 |
|
7 · 10-6 |
3, 0 | |
|
1 · 10-5 |
3, 0 | |
|
Кадмий |
5 · 10-7 |
3, 5 |
|
5 · 10-6 |
3, 0 | |
|
1 · 10-4 |
3, 0 | |
|
Кобальт |
2 · 10-6 |
3, 0 |
|
5 · 10-6 |
3, 0 | |
|
1 · 10-4 |
2, 5 | |
|
Кремний |
3 · 10-5 |
4, 0 |
|
1 · 10-4 |
3, 0 | |
|
3 · 10-4 |
3, 0 | |
|
Магний |
6 · 10-6 |
3, 5 |
|
3 · 10-5 |
3, 0 | |
|
1 · 10-4 |
3, 0 | |
|
Марганец |
5 · 10-7 |
3, 5 |
|
1 · 10-6 |
3, 0 | |
|
1 · 10-5 |
3, 0 | |
|
Медь |
5 · 10-7 |
4, 0 |
|
1 · 10-6 |
3, 5 | |
|
5 · 10-6 |
3, 5 | |
|
Никель |
5 · 10-7 |
4, 0 |
|
2 · 10-6 |
3, 0 | |
|
1 · 10-4 |
3, 0 | |
|
Свинец |
5 · 10-7 |
3, 0 |
|
2 · 10-6 |
2, 5 | |
|
1 · 10-4 |
2, 5 | |
|
Серебро |
5 · 10-7 |
3, 0 |
|
1 · 10-6 |
2, 5 | |
|
2 · 10-6 |
2, 5 | |
|
Хром |
5 · 10-7 |
3, 5 |
|
2 · 10-6 |
3, 0 | |
|
1 · 10-4 |
3, 0 | |
|
Цинк |
5 · 10-5 |
3, 0 |
|
1 · 10-4 |
3, 0 | |
|
5 · 10-4 |
3, 0 |
Допускаемые расхождения, для промежуточных значений массовых долей рассчитывают методом линейной интерполяции.
5.4. Контроль правильности анализа проводят методом добавок. Для этого от одной из ранее проанализированных проб берут три навески галлия массой по 1 г каждая, вводят добавки определяемых элементов и переводят в раствор по пп. 4.1 и 4.2. Добавки вводят в таком объеме, чтобы вычисленное значение Хвыч массовой доли каждой примеси в навеске галлия с добавкой в процентах было не менее 3Хан и не более 10Xан или верхней границы определяемых массовых долей этой примеси.
Хвыч рассчитывают по формуле
Xвыч=Xан+mдоб·10-4,
где Xан - результат анализа ранее проанализированной пробы - массовая доля соответствующей примеси, %;
mдоб - масса примеси в добавке, мкг.
Полученные растворы с добавками анализируют так же, как и растворы навесок пробы без добавок, получая значения Хдоб как среднее геометрическое результатов трех параллельных определений.
Анализ считают правильным, если отношение большего к меньшему из значений двух величин Хдоб к Хвыч не превышает значений допускаемых расхождений двух результатов анализов для пробы с массовой долей определяемой примеси, равной Хвыч.


