ГОСТ Р ИСО 18871-2018 ГОРНОЕ ДЕЛО. МЕТОД ОПРЕДЕЛЕНИЯ СОДЕРЖАНИЯ МЕТАНА В УГОЛЬНЫХ ПЛАСТАХ
Mining. Method of determining coalbed methane content
ОКС 73.020, 71.040.50, 13.040.30
Предисловие
1 Подготовлен Закрытым акционерным обществом "Межведомственная комиссия по взрывному делу при Академии горных наук" (ЗАО "МВК по ВД при АГН") на основе собственного перевода на русский язык англоязычной версии международного стандарта, указанного в пункте 4
2 Внесен Техническим комитетом по стандартизации ТК 269 "Горное дело"
3 Утвержден и введен в действие Приказом Федерального агентства по техническому регулированию и метрологии от 5 июня 2018 г. N 313-ст
4 Настоящий стандарт идентичен международному стандарту ИСО 18871:2015 "Метод определения содержания метана в угольных пластах" (ISO 18871:2015 "Method of determining coalbed methane content", IDT).
Наименование настоящего стандарта изменено относительно наименования указанного международного стандарта для приведения в соответствие с ГОСТ Р 1.5-2012 (пункт 3.5)
5 Введен впервые
Настоящий стандарт приводит методологию измерения содержания метана в угольных пластах в угольных образцах, полученных путем бурения с отбором керна в процессе бурения скважин, в том числе с боков выработок. Выбор наиболее приемлемого способа должен базироваться на цели исследования и возможностях отбора проб.
Настоящий стандарт применим для прямого метода измерения содержания метана в угольных пластах. Он включает в себя подготовку проб, экспериментальные процедуры и методы расчета. Косвенные методы измерения содержания метана угля (не включенные в настоящий стандарт), как правило, основаны на сорбционных характеристиках газа в угле в определенных/заданных условиях давления и температуры.
Настоящий стандарт включает три типа прямых методов измерения: обычная десорбция (медленная десорбция) образцов керна, быстрая десорбция образцов, быстрая десорбция шламовых образцов или образцов в виде отбитых кусков угля. Разница между ними заключается во времени, отведенном для десорбции газа перед окончательным дроблением, и в размере и форме образца.
Настоящий стандарт применим для определения содержания метана в угле во время разведки метана в углях и угольных пластах для определения содержания свободного газа, в том числе в низкосортных углях.
Должен быть сформирован порядок определения содержания свободного газа в низкосортных углях.
Все единицы, используемые и упомянутые в настоящем стандарте, являются стандартными международными единицами в системе СИ. Если иное не указано, то нормальная температура составляет 0 °С (273, 15 K), величина нормального давления составляет 0, 1 МПа (1 бар).
В настоящем стандарте не указаны все потенциальные опасности, связанные с его использованием. Специалисты самостоятельно несут ответственность за соблюдение соответствующих мер безопасности и охраны здоровья при выполнении действий, определенных в настоящем стандарте.
В настоящем стандарте применены следующие термины с соответствующими определениями:
2.1 содержание газа в угольном пласте (coalbed gas content): Количество газа, содержащегося в единице массы угля в естественных условиях.
Примечание - Количество газа определяется как сумма: потерь газа, измеряемого газа и остаточного газа.
2.2 содержание метана в угольном пласте (coalbed methane content): Содержание метана, являющегося обычно основным компонентом газа в угольном пласте.
Примечания
1 Термины "метан в угольном пласте" и "газ в угольном пласте" зачастую используются как синонимы.
2 Если компонент, отличный от метана, является преобладающей составляющей рудничного газа в угольном пласте, то это должно быть явно указано.
2.3 потери газа Q1 (Q1 lost gas): Газ, выделившийся и не уловленный из образцов после их изъятия из места происхождения до момента их заключения в камере, выраженный как объем (при нормальных условиях) на единицу массы угля.
2.4 измеряемый газ Q2 (Q2 measurable gas): Газ, десорбированный при атмосферном давлении из необработанного (неизмельченного) образца угля, измеряемый и выраженный как объем на единицу массы угля.
2.5 остаточный газ Q3 (Q3 residual gas): Газ, все еще содержащийся в образце угля до его измельчения, выраженный как объем на единицу массы угля.
2.6 обычная десорбция [медленная десорбция] (conventional desorption, slow desorption): Метод определения содержания газа, при котором объемные показания содержания газа снимаются часто (каждые 5 мин) в течение первых нескольких часов (от 2 до 6), затем следуют почасовые измерения в течение нескольких часов, а затем измерения с 24-часовыми интервалами до тех пор, пока не перестанет наблюдаться в течение длительного периода времени (или снизится до незначительных величин) десорбция газа.
2.7 быстрая десорбция (fast desorption): Метод определения содержания газа, при котором не устанавливается тренд десорбции газа из образца угля как при обычной десорбции.
Примечание - Измерения проводятся в течение периода времени, обычно менее одного дня.
2.8 отбор проб (sampling): Операция, при которой берется некоторая представительная часть угля из угольного пласта.
2.9 керн [колонка породы] (core sample): Цилиндрический образец породы (угля), имеющий обычно от 5 до 10 см в диаметре, извлекаемый из скважины при вращательном бурении с помощью колонкового (керноотборного) снаряда и выданный на поверхность для геологического исследования, репрезентативной выборки и лабораторного анализа.
2.10 образец бурового шлама (cuttings sample): Породные (угольные) фрагменты, стружки, частицы размером обычно ≤ 5 мм, которые отрываются из-за действия буровой коронки и выдаются на поверхность при помощи системы циркуляции бурового раствора.
2.11 образцы в виде отбитых кусков угля (coal lump samples): Фрагменты угля или куски фрагментов угля, которые отбиваются в процессе добычи или ведения горных работ в угольной шахте, при транспортировке или хранении угля, или путем ручной добычи из угольного пласта, а также неповрежденный образец керна. Размер образцов больше, чем у бурового шлама, и меньше внутреннего диаметра камеры, используемой для транспортировки и десорбции.
2.12
|
низкосортный уголь (low-rank coal): Низкая степень тепловой эволюции угля и горных пород, максимальный показатель отражения витринита в масле Rv, max ≤ 0, 65 %; включая бурые угли, лигнит и длиннопламенный уголь. [ИСО 11760:2005] |
2.13 уголь высокого ранга (high-rank coals): Высокая степень тепловой эволюции угля и горных пород, средний показатель отражения витринита в масле R̅r, ≥ 2, 0 %; включая антрацит.
Камера десорбции представляет собой герметичную камеру, в которую помещаются образцы угля для определения содержания газа в них. Камера должна быть сконструирована таким образом, чтобы уголь можно было как можно быстрее герметично отделить от окружающей среды.
Камеры должны быть просты в обращении и заполнении, должны быстро герметично закрываться.
Материал камеры не должен поглощать угольный газ или реагировать с буровым раствором и газом. Поэтому рекомендуется использовать алюминиевые сплавы, алюминий с покрытием, ПВХ и/или материалы из нержавеющей стали.
При использовании образцов керна объем камеры должен составлять более 1 000 см3 с подходящим внутренним диаметром. Она должна быть газонепроницаемой до давления 0, 3 МПа.
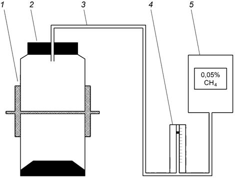
При использовании образцов бурового шлама или образцов в виде отбитых кусков угля объем камеры должен быть ≥ 500 см3. Соотношение объема камеры и объема образца должно составлять от 70 до 150. Камера десорбции должна быть оборудована запорным клапаном и резиновым шлангом для подключения к устройству учета газа и газоанализатору (см. рисунок 1).
Измерение объемов десорбированного газа должно выполняться путем смещения воды (метод вытеснения) либо путем продувки дробилки определенным объемом воздуха с последующим анализом состава газа (метод продувки).
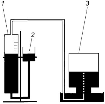
Для метода вытеснения (см. рисунок 2 и рисунок 3) используется градуированный измерительный цилиндр (бюретка). Объем и шкала измерительного цилиндра должны соответствовать объему десорбции. Измерительный цилиндр и чашу подпитки предпочтительно изготавливать из стекла. Снимаются показания объема газа при атмосферном давлении путем изменения уровней жидкости. Минимальная цена деления измерительной шкалы должна быть не более 10 см3. Измерительный цилиндр соединен снизу с чашей подпитки, а сверху - с крышкой камеры десорбции. Соединения должны быть выполнены из гибкого и газонепроницаемого пластика или резины.

1 - сдавливающее устройство; 2 - камера десорбции; 3 - шланг; 4 - устройство учета газа (расходомер); 5 - газоанализатор
Рисунок 1 - Камера десорбции, соединенная с газоанализатором
Для метода продувки определенный объем воздуха пропускают через свободное пространство дробилки и собирают в сосуде, предпочтительно стеклянном. Собирающий сосуд должен быть подключен к газоанализатору (см. 3.13) гибким шлангом. Соединения должны быть гибкими и газонепроницаемыми - пластиковыми или резиновыми.

1 - камера десорбции; 2 - шланг; 3 - градуированный измерительный цилиндр
Рисунок 2 - Камера десорбции с градуированным измерительным цилиндром для сбора десорбированного газа

1 - камера десорбции; 2 - шланг; 3 - бюретка; 4 - чаша подпитки
Рисунок 3 - Камера десорбции с градуированной бюреткой и чашей подпитки для уравновешивания давления
Должно использоваться водяное, масляное или воздушное термостатирование с температурной стабильностью и точностью управления ± 1 °С.
Температуру следует измерять с точностью 1 °С или выше. Температурный диапазон измерительных приборов (термометр, термопара, резистивный термометр) должен охватывать как температуру окружающей среды, так и температуру в термостатированной камере десорбции. Обычно это соответствует диапазону от + 10 °С до + 80 °С.
Диапазон измерения барометра для измерения давления окружающей среды должен охватывать диапазон изменения давления в месте проведения измерения. Цена деления шкалы должна быть 0, 1 кПа.
Для взвешивания пустых и заполненных камер используются точные (точность ± 1 %) электронные весы с соответствующим диапазоном измерения.
Номинальные размеры ячеек сита - 60 меш (сито 0, 2).
Для измельчения угля требуется дробилка угля, чтобы быстро извлечь весь оставшийся газ.
Стандартно при исследовании на десорбцию в процессе измерения остаточного газа образцы полностью разрушаются.
В случае использования метода вытеснения дробилка должна быть газонепроницаемой и оснащена переходником для подсоединения резинового или пластикового шланга, используемого для передачи газа на устройство учета газа (см. рисунок 4). Свободное пространство дробилки должно быть сведено к минимуму.

1 - дробилка угля; 2 - шланг; 3 - бюретка; 4 - чаша подпитки
Рисунок 4 - Дробилка угля с градуированной бюреткой и чашей подпитки для уравновешивания давления
В случае использования метода промывки герметичность дробилки должна быть скорректирована с учетом процесса промывки. Газ, выделяющийся при измельчении, будет полностью смешиваться с подающимся воздухом, после чего весь смешанный газ захватывается в сборном сосуде.
Материал шлангов не должен адсорбировать метан и реагировать с ним.
Емкости для образцов газа используются для сбора проб для последующего анализа. Объем емкости не должен быть меньше 100 см3.
Стеклянные цилиндры, шарики и полые трубки используются для уменьшения пустого объема камеры десорбции. Они должны быть изготовлены из материалов, не адсорбирующих и не реагирующих с метаном угольного пласта.
Быстроразъемное соединение - часть трубопровода, предназначенная для легкого и быстрого подключения и разъединения.
Газоанализатор должен быть оснащен датчиками для основных компонентов газа; по крайней мере - датчиком метана (предпочтительно инфракрасным).
Точность газоанализатора должна быть не хуже ± 5 % измеряемой величины.
Объем камеры десорбции (см. 3.1) должен быть более 1 000 см3, а ее диаметр должен быть подходящим для образцов угольных кернов, она должна быть газонепроницаемой до давления 0, 3 МПа. Материал камеры не должен поглощать или реагировать с метаном или реагировать с буровым раствором. Поэтому для нее рекомендуется использовать материалы: алюминиевые сплавы, алюминий с покрытием, ПВХ и нержавеющие стали.
Все камеры десорбции (см. 3.1) для измерения содержания метана угольного пласта должны перед использованием подвергаться испытанию на герметичность. При этом испытании камера десорбции должна быть накачана воздухом до давления 0, 3 МПа. Камера считается пригодной для использования, если давление не упадет более чем на 0, 001 МПа за 12 ч.
Перед использованием устройство учета газа должно быть заполнено водой и подготовлено для проверки его герметичности и работоспособности.
Примечание - Герметичность и работоспособность устройства учета газа проверяется перед каждым использованием согласно документации на устройство.
Перед наполнением камеры образцами для проведения измерения десорбции термостат должен быть настроен на температуру пласта. Должно быть отведено достаточно времени для стабилизации термостата при этой температуре.
Примечание - Под температурой пласта подразумевается температура угольного пласта в месте отбора образцов.
4.2.1.1 Качество образцов керна
Масса образца угля, помещенного в камеру, должна составлять не менее 800 г.
Если извлечено недостаточно угля, но проведение измерения тем не менее необходимо, минимальная масса образца должна составлять не менее 300 г, однако в этом случае можно измерить только величину десорбции газа. Этот факт должен быть явно указан в протоколе.
4.2.1.2 Требования к образцам бурового шлама и образцам в виде отбитых кусков угля
Для образцов при пластовом бурении должен отбираться шлам определенной крупности, желательно ≥ 2 мм, от забойного края скважины без смешивания угля с разных положений в стволе скважины.
Образцы бурового шлама и в виде отбитых кусков угля должны иметь массу около 10 г. Фактическая масса образца угля должна соответствовать объему камеры десорбции.
Образец также может быть куском угля, отбытым из керна. Вес должен составлять около 10 г.
В обоих случаях образец должен быть сухим. В противном случае в камеру десорбции добавляется подходящий осушитель.
Отбор проб шлама предпочтительнее путем быстрого всасывания через полые буровые штанги. Образцы должны быть верифицируемы от взятых из забоя дегазированной зоны.
Время выборки - это фактическое время от соприкосновения устройства отбора проб с ненарушенным углем в естественных условиях до запечатывания образца угля в камере десорбции.
Для образцов керна время отбора образцов угля в устье скважины оговорено:
время вытягивания керна должно составлять менее 2 мин на каждые 100 м.
После достижения поверхности образцы должны быть запечатаны в камере в течение 10 мин.
До того, как буровая коронка соприкоснется с угольным пластом, оборудование должно быть установлено и отрегулировано, также на место должен прибыть сотрудник для отбора образцов.
После выдачи керна из устья скважины как можно быстрее следует открыть емкость для керна. При участии помощников геолог должен быстро сфотографировать, сделать краткое описание, удалить не угольный материал и буровой раствор, затем быстро поместить керн в камеру десорбции в соответствии с ориентацией угольного пласта и запечатать керн без сдавливания.
Образцы, используемые для определения содержания метана угольного пласта, должны заполнять камеру до отметки 1 см от верхней части камеры. Если количества проб недостаточно для заполнения камеры, для уменьшения объема пустот в камере следует использовать инертный неадсорбирующий заполнитель. Максимальный объем пустот в камере не должен превышать 1/4 объема камеры.
Перед отбором проб все камеры десорбции должны быть очищены, проверены на предмет возможной утечки и маркированы. Непосредственно перед отбором проб камеры десорбции должны быть продуты сжатым воздухом.
После того как буровой шлам был извлечен из скважины, он должен быть разделен с использованием соответствующего сита. Фракции для образцов должны быть определенного размера (предпочтительнее ≥ 2 мм). Образец должен быть герметизирован в камере десорбции как можно быстрее. Для пластового бурения время отбора проб должно быть не более 3 мин.
Перед отбором проб все камеры десорбции должны быть очищены, проверены на предмет возможной утечки и маркированы. В подземных условиях непосредственно перед отбором проб камеры десорбции должны быть продуты сжатым воздухом. После того как керн был извлечен из скважины, кусок угля должен быть отбит от керна. Образец должен быть герметизирован в камере десорбции как можно быстрее.
Во время отбора проб следует фиксировать следующие параметры (некоторые параметры зависят от типа используемых образцов угля: образцов бурового шлама или образцов в виде отбитых кусков угля):
a) географическая информация: название скважины, координаты скважины, название места отбора проб (шахта, горная выработка),
b) геологическая информация: название или номер угольного пласта, возраст пласта, глубина залегания, температура пласта;
c) временные параметры: время соприкосновения устройства отбора проб с ненарушенным углем в естественных условиях, время вытягивания керна, время выдачи керна на поверхность, время запечатывания (герметизации) образца угля в камере десорбции и дата отбора проб;
d) параметры образца: номер камеры, идентификационный номер образца, масса камеры, масса образца и состояние образца; для образцов бурового шлама и в виде отбитых кусков угля - фиксируется номер камеры и место отбора проб в стволе скважины;
e) параметры шахтной атмосферы в месте бурения: концентрация метана, температура и атмосферное давление;
f) заполняются формы: приложение А - Необработанные данные естественной десорбции газа; приложение F - Форма отбора проб при пластовом бурении или приложение G - Форма отбора проб с использованием колонкового (керноотборного) снаряда.
5.1.1.1 Этапы десорбции
После заполнения и герметизации камеры ее следует перенести в термостатирующее устройство, в котором уже достигнута температура пласта.
Следует подключить камеру и измеряющие устройства с помощью шланга (см. 3.9), отрегулировать уровень жидкости в измерительном устройстве, дать перейти десорбированному газу в градуированный измерительный цилиндр, настроить измеряющие устройство и водяную чашу подпитки таким образом, чтобы водяная трубка была совмещена с показаниями, записать объем газа, температуру окружающей среды и атмосферное давление в соответствующие поля таблицы в приложении А.
В последующем измерении следует зафиксировать показания объема и вычесть объем десорбированного газа, полученный из предыдущего показания. Далее необходимо повторить измерения и запись данных в соответствии с вышеуказанными инструкциями.
Если показания объема газа превышают максимальное считываемое значение, следует выпустить газ из бюретки, отрегулировать дозирующее устройство до исходного состояния, а затем закрыть клапан и повторить описанные выше шаги.
Во время всего процесса измерения (особенно во время начального периода десорбции, когда скорость десорбции относительно велика) измерительное устройство должно быть отрегулировано для поддержания относительно близких уровней жидкости в измерительном цилиндре и чаше подпитки, чтобы сохранить естественное давление десорбции.
5.1.1.2 Интервалы считывания показаний
Интервалы считывания показаний зависят от давления, создаваемого в камере. Рекомендуемые интервалы: после того, как образцы помещают в камеру, в течение первого часа - четыре измерения проводят каждые 5 мин, затем каждые 10 мин; второй час - измерения проводят каждые 15 мин; третий час - каждые 30 мин; в четвертый час - одно измерение в час; потом одно измерение каждые два часа - до суммарных восьми полных часов.
После первых 8 ч измерений необходимый интервал времени должен определяться по показаниям манометра - но не быть больше 24 ч.
5.1.1.3 Критерии прекращения измерения десорбции
Прекращение измерения десорбции зависит от того, применяется ли метод быстрой десорбции, метод обычный десорбции или оба метода. Выбор метода зависит от того, как срочно необходимо получить данные.
При методе обычной десорбции измерения заканчиваются, когда объем десорбции в день составляет менее 10 см3 в течение каждого из последних 7 дней.
При методе быстрой десорбции, когда получены адекватные данные для расчета выхода газа (согласно процедуре 5.1.1.2 за первые 8 ч), камера десорбции может быть открыта и уголь перенесен на дробилку.
В сочетании этих двух методов своевременно будет достигнута низкая величина десорбции, потери газа из-за удаления образцов из камеры десорбции в дробилку могут быть сведены к минимуму.
5.1.1.4 Отбор проб для взвешивания, дробления и технического анализа угля
Когда десорбция прекратится, следует открыть камеру и провести описание угля, его фракционный состав и трещиноватость, расположение трещин, макроскопические параметры, выполнить петрографическое описание и т.д. Следует сфотографировать образцы с указанием номера скважины, глубины залегания, номера пласта и т.д.
Далее следует разбить образец на части размером от 2 см до 3 см и положить их (суммарной массой от 300 г до 500 г) в шаровую мельницу для измерения остаточного газа. В качестве альтернативы образцы также можно разделить на три части (от 50 г до 100 г на каждую часть), а затем отдельно поместить в шаровую мельницу для измерения остаточного газа. Оставшиеся части образцов следует использовать для измерения влажности, технического анализа угля.
5.1.2.1 Методы измерения
Допустимо нагревать образцы в камере десорбции по прошествии 8 ч измерения, а также образцы в шаровой мельнице в процессе измерения остаточного газа; таким образом скорость десорбции газа ускоряется.
Следует обратить внимание, что температура нагрева не должна превышать температуру стабилизации.
Образцы разрушают в течение 2-4 ч в шаровой мельнице. Затем помещают в термостат, поддерживающий температуру пласта. Фиксируется объем газа, температура окружающей среды, атмосферное давление и время десорбции согласно приложению В. Следует обратить внимание, что интервал считывания должен быть небольшим на ранней стадии десорбции и не должен превышать 24 ч на поздней стадии.
Время разрушения может быть уменьшено при использовании нескольких небольших образцов.
5.1.2.2 Прекращение измерения остаточного газа
Прекращение измерения остаточного газа проводится согласно критериям 5.1.1.3.
5.1.2.3 Взвешивание и расчет
Когда измерение остаточного газа завершено, следует открыть мельницу и пропустить образцы через сито 60 меш (сито 0, 2). Необходимо взвесить образцы и рассчитать содержание остаточного газа.
5.1.3.1 Улавливание газа
Во время измерения десорбции должны быть собраны представительные образцы газа для анализа состава газа. Типовое оборудование включает в себя шланг (см. 3.9), емкости для образцов газа (см. 3.10) (стеклянные бутылки или газовые мешки минимальной емкостью 100 см3) и водяной затвор для улавливания газа.
Принцип отбора проб газа заключается в том, что газ улавливается, когда происходит десорбция большого объема газа.
Примечание - Принципиальная схема отбора проб газа методом вытеснения показана на рисунке 5.
При естественной десорбции следует собрать три образца газа на 1-й, 3-й и 5-й день соответственно.
Для образцов с низким содержанием газа, газ может быть собран на ранней стадии десорбции.

1 - бюретка; 2 - чаша подпитки; 3 - емкость с образцом газа
Рисунок 5 - Метод вытеснения для отбора проб газа
Метод вытеснения (воды) должен использоваться для отбора проб газа, когда объем газа превышает емкость бюретки:
a) Установить емкость для образца газа вверх дном в воду и полностью заполнить ее водой.
b) Закрыть соединение между бюреткой и камерой десорбции.
c) Поднять чашу подпитки и удалить воздух из шланга.
d) Открыть соединение с емкостью для образца газа и пустить поток газа.
e) Удалить шланг и вставить пробку в емкость с образцом газа - когда объем газа в емкости достаточен для проведения испытаний.
f) Открыть соединение между бюреткой и камерой десорбции.
Поместить емкость с образцом газа вверх дном в транспортировочную коробку и направить ее в лабораторию для анализа.
5.1.3.2 Количество образцов и частота снятия показаний
Количество образцов и частота снятия показаний рассмотрены в 5.1.3.1.
5.1.3.3 Анализ состава газа и изотопный анализ
Отбираемый газ следует как можно скорее перевести в лабораторию. Анализ состава газа проводится в соответствии с методикой анализа природного газа.
Объем газа, выпущенного в десорбционный сосуд (Q2), должен быть измерен сразу же после того, как камера десорбции поступит в лабораторию, но не позднее, чем через 72 ч после отбора проб (см. рисунок 1).
a) Камера десорбции подключается через шланг к газоанализатору.
b) Путем сдавливания камеры десорбции газ подают в газоанализатор - с объемным потоком согласно спецификации газоанализатора.
c) Фиксируется состав газа и время измерения.
d) Далее следует открыть камеру десорбции и взвесить образец угля с точностью ± 0, 2 г, зафиксировав результат.
e) При расчете объема Q2 должны приниматься во внимание следующие параметры: объем камеры десорбции, величина вытеснения газа образцом угля и осушителем, а также давление, возникающее в результате выпуска газа в герметичную камеру десорбции.
f) Измеряются и фиксируются температура и атмосферное давление в лаборатории.
Измерение объема газа, выделяемого при измельчении (Q3), должно выполняться сразу после измерения Q2.
a) Образец должен быть незамедлительно помещен в дробилку (см. 3.8).
b) Дробилка должна быть немедленно закрыта и подключена к измерительному устройству через гибкий шланг.
c) В случае использования метода вытеснения (воды) объем Q3 должен определяться после дробления путем непосредственного считывания показаний с градуированного измерительного цилиндра. При снятии показаний уровень воды в измерительном цилиндре должен быть равен уровню воды в чаше подпитки.
В случае использования метода продувки состав газа в сосуде для сбора газа измеряется анализатором.
Должно быть установлено, что выход газа прекратился не позднее завершения процесса дробления.
d) Должны быть измерены температура и атмосферное давление в лаборатории.
Объем измеренного десорбированного газа и остаточного газа должен быть преобразован в стандартную величину, взятую при нормальных условиях - температуре 0 °С (273, 15 K) и давлении 100 000 Па. Перевод осуществляется по формуле
,
(1)
где VСТД - объем газа в нормальных условиях, см3;
Pm - атмосферное давление, Па;
Tm - температура, °С;
Vm - объем газа, см3.
Содержание газа может быть представлено тремя способами:
a) на основе исходного состояния угля;
b) на основе воздушно-сухого состояния угля;
c) на основе сухого беззольного состояния угля.
Измеряя общую влажность и проводя технический анализ образцов, содержание газа в образцах может быть, при необходимости, преобразовано в выражения на основе исходного состояния угля, на основе воздушно-сухого состояния угля и на основе сухого беззольного состояния угля.
Концентрация различных газовых компонентов рассчитывается в соответствии с отраслевыми требованиями.
Газоанализатор должен быть оснащен датчиками для основных компонентов десорбированного газа; по крайней мере - датчиком метана (предпочтительно инфракрасным). Точность газоанализатора должна быть не хуже ± 5 % измеряемой величины.
Согласно принципам измерения, весь содержащийся газ представлен измеряемым газом (Q2), остаточным газом (Q3) и потерями газа (Q1).
6.4.2.1 Расчет при использовании образцов керна
Если применяемый буровой раствор на водной основе, начало отсчета времени - это время, когда керн находится на полпути к поверхности; если применяемый буровой раствор на углеводородной или аэрированной основе, начало отсчета времени - это время, когда буровая коронка достигает угольного пласта.
Величина потери времени - это интервал от начала отсчета времени до момента запечатывания образцов. Оно рассчитывается следующим образом:
В случае, когда применяется циркулирующий при бурении буровой раствор на основе воды, используется формула
.
(2)
В случае, когда применяется циркулирующий при бурении буровой раствор на углеводородной или аэрированной основе, используется формула
TПОТ=(t4-t1),
(3)
где TПОТ - величина потери времени, с;
t1 - момент времени, когда буровая коронка достигает угольного пласта, с;
t2 - момент времени, когда начинается извлечение керна, с;
t3 - момент времени, когда керн выдан в устье скважины, с;
t4 - момент времени, в который произведена герметизация камеры, с;
Прямой метод используется для расчета объема потерь газа. В начале процесса десорбции величина десорбции пропорциональна квадратному корню времени. Если на графике зависимости величины десорбции от квадратного корня прошедшего времени отметить суммарные объемы десорбированного газа (в советующих положениях прошедшего времени), затем произвести линейную аппроксимацию зависимости, и продолжив прямую, экстраполировать ее до нулевого момента времени - можно получить на вертикальной оси отметку объема потерь газа (приложение С - прямой метод расчета).
Содержание потерь газа рассчитывается согласно следующей формуле
,
(4)
где GПОТ - величина потерь газа, см3/г;
VПОТ - объем потерь газа, см3;
mT - сухой вес (или вес угля в рабочем состоянии) образца, г.
6.4.2.2 Расчет при использовании образцов бурового шлама или образцов в виде отбитых кусков угля
Объем газа, потерянный во время отбора проб, должен определяться прописанной процедурой. Этот расчет должен учитывать скорость десорбции, находящуюся в зависимости от конкретного размера частиц образцов и времени выборки. Процедура определения потерь газа (Q1) должна быть частью документации.
Расчет выполняется по следующей формуле
,
(5)
где Q1 - объем газа, выделившегося во время отбора проб (потери газа), см3;
Q2 - объем газа, выделившегося между герметизацией камеры десорбции и выполнением измерения Q2, см3;
ta - промежуток времени, необходимый для взятия образцов, мин;
tb - промежуток времени между герметизацией камеры десорбции и выполнением измерения Q2, мин;
KT - коэффициент изменения скорости десорбции образца угля, вычисляемый по формуле
,
(6)
где V1 - объем десорбированного газа за время t1;
V2 - объем десорбированного газа за время t2;
KT может быть принят равным 0, 65 в случае обычного образца угля с размером частиц угля > 2 мм.
Q2 рассчитывается следующим образом:
a) Рассчитывается объем свободного пространства камеры десорбции (при этом учитывается вытеснение газа образцом угля и массой осушителя, а также давление, возникающее в результате выхода газа в герметичную камеру десорбции).
b) Рассчитывается объем Q2 на основе объема свободного пространства камеры десорбции и показаний концентрации метана.
c) Объем Q2 пересчитывается на нормальные условия (температура 0 °С и давление 0, 1 МПа).
d) Рассчитывается отношение объема Q2 к массе образца.
Величина десорбции газа рассчитывается по формуле
,
(7)
где GД - величина десорбции газа, см3/г;
VД - объем десорбции природного газа, см3;
mT - общий вес образца, г.
Объем Q3 пересчитывается на нормальные условия (температура 0 °С и давление 0, 1 МПа) и делится на массу образца.
Содержание остаточного газа рассчитывается по формуле
,
(8)
где GОСТ - величина остаточного газа, выраженная в см3/г;
VОСТ - объем остаточного газа, см3;
mT - общий вес образца, г.
При использовании образцов низкосортных углей из-за высокого содержания свободного газа должны измеряться пористость и водонасыщенность для расчета содержания свободного газа. При расчете для таких образцов следует добавить измерение свободного газа по следующим формулам:
,
(9)
,
(10)
где QCB - содержание свободного газа при контрольной температуре (ТСТД) и давлении (РСТД) в кубических метрах газа на килограмм сухого угля, м3/кг;
Ф - пористость керна, %;
SB - водонасыщенность, %;
ρ - кажущаяся относительная плотность сухого угля, кг/м3;
Р - пластовое давление, МПа;
В - объемный коэффициент, равный V/VСТД, м3/м3;
Z - безразмерный коэффициент сжимаемости газа;
Т - температура пласта, °С.
Определение общей пористости и водонасыщенности породы проводится согласно API RP40:1998 "Рекомендуемые действия по анализу керна", кажущаяся удельная плотность угля измеряется согласно ИСО 5072:2013 "Бурые угли и лигниты. Определение истинной относительной плотности и кажущейся относительной плотности".
Содержание метана угольного пласта (GУП) равно сумме потерь газа (Q1) GПОТ, измеряемого десорбированного газа (Q2) GД и остаточного газа (Q3) GOCT. При расчете содержания метана угольного пласта для низкосортных углей должен учитываться свободный газ.
GУП=GПОТ+GД+GОСТ.
(11)
Время адсорбции (Т) описывает время, затраченное для десорбции 63, 2 % газа в образце. Как правило, в качестве счетных единиц используют сутки. Время адсорбции должно рассчитываться графическим или численным методом.
Сначала вычисляется объем газа, который составляет 63, 2 % общего объема газа по формуле
V63, 2%=VT•0, 632,
(12)
где V63, 2% - объем, на который приходится 63, 2 % общего объема газа, см3;
VT - сумма потерь газа (Q1), измеряемого газа (Q2) и остаточного газа (Q3), см3.
Далее определяется время на основе полученных точек данных и суммарном объеме газа в каждой точке (при нормальной температуре и давлении).
Затем находится диапазон V63, 2 % от совокупного объема газа.
Наконец путем линейной интерполяции вычисляется время (Т), соответствующее V63, 2 %.
Время в пути должно быть вычтено из суммарного времени, когда температура окружающей среды ниже температуры пласта во время транспортировки проб. Также время адсорбции не включает время доставки, прочее время зависит от кривой десорбции.
Численные данные содержания метана угольного пласта округляются до двух знаков после запятой.
Отчет об измерении содержания метана угольного пласта выглядит следующим образом.
Необработанные данные естественной десорбции газа (приложение А) и исходные данные десорбции остаточного газа (приложение В), расчет потерь газа (приложение С), кривая кумулятивной десорбции газа из образца (приложение D), таблица результатов измерения содержания метана угольного пласта (приложение Е), а также результаты анализа газового состава и результаты технического анализа, данные по отборам проб (приложение F или приложение G), исходные данные о десорбции газа (приложение Н) и результаты испытаний на содержание газа (приложение I).
В процессе выполнения работ должны быть сделаны подробные записи об отборе проб, проведенных измерениях и отказе оборудования, что является основой качественных результатов измерений. Оценка качества включает в себя следующее.
В протоколе должны быть указаны следующие два обстоятельства:
a) Керн не может быть извлечен вовремя.
b) Образец не был запечатан в течение 10 мин после выдачи на поверхность.
Когда скорость извлечения угольного керна слишком низкая или образец относительно невелик - должен быть записан фактический вес образца. Объективные причины, по которым соответствующие измерения не могут быть выполнены, должны приводиться в комментариях.
В протоколе должны быть указаны следующие ситуации:
a) Образец разбит на большое количество кусков, слишком фрагментирован.
b) Возникло препятствие, которое привело к задержке процесса измерения.
В данном случае результаты могут быть использованы только для справки.
В процессе измерения следует указывать ошибки, упущения или неточные результаты из-за утечки в оборудовании.
Если проблемы, упомянутые в 8.1 и 8.2, не выявлены, образцы должны быть оценены как подходящие и качественные, и должны начать проводиться непосредственные измерения.
Если возникли проблемы, упомянутые в 8.1 и 8.2, образцы должны быть оценены как образцы для справки. В этом случае результаты измерения должны носить справочный характер.
Если произошла серьезная ошибка, образец следует браковать, а измерения признать недействительными.
Приложение А
(обязательное)
|
Место сбора проб: |
Название скважины: |
|
Номер угольного пласта: |
Номер образца: |
|
Глубина, м: |
Температура пласта, °С: |
|
Время бурения до угольного пласта: | |
|
Время выдачи: |
Время запечатывания образца: |
|
Величина потери времени при выдаче, мин: | |
|
Величина потери времени при взятии образцов, мин: | |
|
Номер камеры для образцов: |
Дата: |
|
Вес пустой камеры, г: |
Суммарный вес камеры с образцами, г: |
|
Дата (год, мес, день) |
Время (ч, мин) |
Промежуток времени, мин |
Измеренные значения, см3 |
Объем газа, м3 |
Окружающая температура, °С |
Давление, кПа |
Примечание | |
|
Начальное |
Конечное | |||||||
|
Оператор: |
Исследователь: |
Рецензент: |
Лист/Листов: |
Приложение В
(обязательное)
Дата:
Номер образца:
Номер (название) скважины:
Номер угольного пласта:
Температура пласта, °С:
|
Дата (год, мес, день) |
Время (ч, мин) |
Промежуток времени, мин |
Измеренные значения, см3 |
Объем газа, м3 |
Окружающая температура, °С |
Давление, кПа |
Примечание | |
|
Начальное |
Конечное | |||||||
|
Исследователь: |
Рецензент: |
Лист/Листов: |
Приложение С
(обязательное)
График расчета объема потерь газа (прямой метод) показан на рисунке С.1.

(T+t)1/2
Рисунок С.1 - График расчета объема потерь газа
Приложение D
(обязательное)
Кривая кумулятивной десорбции газа из образца показана на рисунке D.1.

Рисунок D.1 - Кривая кумулятивной десорбции газа из образца
Приложение Е
(обязательное)
|
Угольный пласт N |
Образец N |
Вес образца, г |
Десорбированный газ |
Потери газа |
Остаточный газ |
Общее содержание газа, см3/г |
Влажность, % |
Зольность, на основе воздушно-сухого состояния угля, % | |||
|
Объем газа, см3 |
Величина потери времени, мин |
Объем газа, см3 |
Остаточная масса образца, г |
Объем газа, см3 |
На основе исходного состояния угля, см3/г |
На основе сухого беззольного состояния угля, см3/г | |||||
|
Исследователь: |
Рецензент: |
Лист/Листов: |
Приложение F
(обязательное)
Шахта:
Угольный пласт:
Место выборки:
Скважина:
Координаты (х, у):
Высота над уровнем моря, м:
Дата:
Пробоотборник:
Температура воздуха, °С
Атмосферное давление, кПа:
Концентрация метана в выработке, %:
Дата и время первоначального вскрытия угля:
|
Номер образца |
Глубина скважины, м |
Номер камеры с образцом |
Время выдачи образца |
Время герметизации образца |
|
1 | ||||
|
2 | ||||
|
3 | ||||
|
4 | ||||
|
5 | ||||
|
6 | ||||
|
7 | ||||
|
8 | ||||
|
9 |
Приложение G
(обязательное)
Номер камеры для образцов:
Скважина (название скважины):
Место выборки:
Координаты (х, у):
Высота над уровнем моря, м:
Дата:
Пробоотборник:
Температура воздуха, °С:
Атмосферное давление, кПа:
Керн, номер:
Угольный пласт:
Глубина залегания образца керна min-max, м:
Расположение образца от вершины керна:
Длина образца керна, см:
Диапазон времени бурения керна:
Время закрытия камеры:
Приложение H
(обязательное)
|
Q1 | ||||||||
|
Номер образца |
Дата, (год, мес, день) |
Время бурения, (ч, мин) |
Время запечатывания, ч, мин |
Давление в месте взятия проб, кПа |
Температура в месте взятия проб, °С |
Концентрация метана в выработке в месте взятия проб, % |
Размер частицы угля, мм | |
|
1 | ||||||||
|
2 | ||||||||
|
3 | ||||||||
|
4 | ||||||||
|
5 | ||||||||
|
Q2 | ||||||
|
Номер образца |
Дата, (год, мес, день) |
Время, (ч, мин) |
Атмосферное давление в лаборатории, кПа |
Температура в лаборатории, °С |
Концентрация метана в камере % | |
|
1 | ||||||
|
2 | ||||||
|
3 | ||||||
|
4 | ||||||
|
5 | ||||||
|
Q3 | |||||
|
Номер образца |
Атмосферное давление в лаборатории, кПа |
Температура в лаборатории, °С |
Масса угля, г |
Объем газа, выделившийся при разрушении угля, Q3, см3 | |
|
1 | |||||
|
2 | |||||
|
3 | |||||
|
4 | |||||
|
5 | |||||
Приложение I
(обязательное)
|
Шахта: |
Координаты: |
X | |
|
Угольный пласт: |
Y | ||
|
Место взятия образцов: |
Z |
м н.у.м | |
|
Выход летучих Vdaf: |
% | ||
|
Условия: давление 101, 325 кПа, температура 0 °С | |||
|
Номер камеры |
Глубина скважины, м |
Размер частиц угля, мм |
Масса исходного угля, г |
Зольность, % |
Беззольная масса, г |
Q1, м3/т |
Q2, м3/т |
Q3, м3/т |
Общее содержание газа, м3/т |
|
1 | |||||||||
|
2 | |||||||||
|
3 | |||||||||
|
4 | |||||||||
|
5 | |||||||||
|
6 | |||||||||
|
7 | |||||||||
|
8 | |||||||||
|
9 | |||||||||
|
10 |
Библиография
|
[1] |
ISO 11722:2013 |
Solid mineral fuels - Hard coal - Determination of moisture in the general analysis test sample by drying in nitrogen |
|
[2] |
ISO 1171:2010 |
Solid mineral fuels - Determination of ash |
|
[3] |
ISO 562:2010 |
Hard coal and coke - Determination of volatile matter |
|
[4] |
ISO 18283:2006 |
Hard coal and coke - Manual sampling |


