электронный сборник нормативных документов по строительству
Обновления
14.04.2026 20:19
электронный сборник нормативных документов по строительству

ГОСТ Р ИСО 17233-2018 КОЖА. УСТОЙЧИВОСТЬ ПОКРЫТИЯ К НИЗКИМ ТЕМПЕРАТУРАМ. ОПРЕДЕЛЕНИЕ ТЕМПЕРАТУРЫ ОБРАЗОВАНИЯ ТРЕЩИН

Утв. и введен в действие приказом Федерального агентства по техническому регулированию и метрологии от 7 августа 2018 г. N 450-ст
Национальный стандарт РФ ГОСТ Р ИСО 17233-2018
"КОЖА. УСТОЙЧИВОСТЬ ПОКРЫТИЯ К НИЗКИМ ТЕМПЕРАТУРАМ. ОПРЕДЕЛЕНИЕ ТЕМПЕРАТУРЫ ОБРАЗОВАНИЯ ТРЕЩИН"

Leather. Resistance of coating to low temperatures. Determination of the temperature of the formation of cracks

ОКС 59.140.30
М19
IDT

Дата введения - 1 апреля 2019 г.
Введен впервые

Предисловие

1 Подготовлен Открытым акционерным обществом "Инновационный научно-производственный центр текстильной и легкой промышленности" (ОАО "ИНПЦ ТЛП") на основе собственного перевода на русский язык англоязычной версии стандарта, указанного в пункте 4

2 Внесен Техническим комитетом по стандартизации ТК 424 "Продукция кожевенной, обувной и кожгалантерейной промышленности"

3 Утвержден и введен в действие Приказом Федерального агентства по техническому регулированию и метрологии от 7 августа 2018 г. N 450-ст

4 Настоящий стандарт идентичен международному стандарту ИСО 17233-2017 "Кожа. Физические и механические испытания. Определение температуры образования трещин в поверхностных покрытиях на холоде" (ISO 17233:2017 "Leather - Physical and mechanical tests - Determination of cold crack temperature of surface coatings", IDT).

Наименование настоящего стандарта изменено относительно наименования международного стандарта для приведения в соответствие с ГОСТ Р 1.5-2012 (пункт 3.5).

При применении настоящего стандарта рекомендуется использовать вместо ссылочных международных стандартов соответствующие им национальные стандарты, сведения о которых приведены в дополнительном приложении ДА

5 Введен впервые

1 Область применения

Настоящий стандарт распространяется на кожи покрывного крашения, которые могут быть легко согнуты, и устанавливает метод определения устойчивости покрытия к низким температурам.

2 Нормативные ссылки

В настоящем стандарте использованы нормативные ссылки на следующие стандарты. Для датированных ссылок применяют только указанное издание. Для недатированных - последнее издание, включая любые изменения и поправки.

ISO 2418, Leather - Chemical, physical and mechanical and fastness tests - Sampling location (Кожа. Химические, физические и механические испытания и испытания на прочность. Определение места отбора образцов)

ISO 2419, Leather - Physical and mechanical tests - Sample preparation and conditioning (Кожа. Физические и механические испытания. Подготовка и кондиционирование образцов)

EN 15987, Leather. Terminology. Key definitions for the leather trade (Кожа. Терминология. Ключевые определения торговли кожи)

3 Термины и определения

В настоящем стандарте применены термины в соответствии с ЕН 15987.

ИСО и МЭК ведут терминологические базы данных для использования в стандартизации по следующим адресам:

- IEC Electropedia: http://www.electropedia.org/

- платформа интернет-поиска ISO: http://www.iso.org/obp

4 Принцип

Образец кожи, закрепленный в специальном шарнирном приспособлении, выдерживают в холодильной камере при установленной температуре. Затем приспособление резко закрывают в камере, и образец кожи складывается покрытием наружу, а приспособление вынимают из холодильной камеры. Испытанный образец кожи исследуют на наличие повреждений покрытия.

5 Аппаратура и материалы

5.1 Камера холодильная, с минимальной внутренней высотой 500 мм, минимальными внутренними шириной и глубиной 300 мм, установленная в шкаф или на другую поддержку и способная поддерживать температуру между плюс 5 °С и минус 30 °С и с точностью температуры ± 2 °С при любой температуре в пределах диапазона. Дизайн камеры должен обеспечивать свободную циркуляцию воздуха вокруг образца и держателя.

Холодильная камера должна иметь дверцу на верхней панели. Если используют холодильные камеры с дверцей на передней панели, камера или держатель образцов (5.3) должны включать в себя механизм, позволяющий держателю образца (5.3) захлопываться без открывания двери.

5.2 Термометр с ценой деления 1 °С и диапазоном измерения от плюс 5 °С до минус 30 °С.

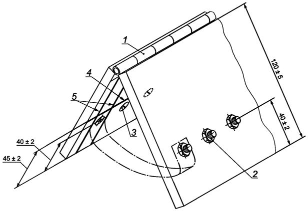
5.3 Держатель навесной образцов, тип и размеры показаны на рисунке 1, удерживающий не менее шести образцов без их прикосновения друг друга. Все крепления на внутренней стороне должны быть заподлицо с внутренней поверхностью так, чтобы не создавать каких-либо препятствий при закрытии держателя образцов.

Для закрепления образцов при помощи клейкой ленты держатель образцов должен иметь соответствующие метки (вспомогательные линии) для определения местоположения образцов (рисунок 1 и приложение А).

image001.jpg

1 - петля; 2 - крепежная гайка; 3 - болт с потайной головкой; 4 - линия, параллельная шарниру для определения местоположения образцов для испытаний (только для метода с клейкой лентой); 5 - вспомогательная линия для определения местоположения образцов для испытаний (только для метода с клейкой лентой)

Рисунок 1 - Навесной держатель образца

5.4 Пресс-нож в соответствии с ИСО 2419, способный вырубать прямоугольный образец для испытания размером [(90·10) ± 1] мм.

5.5 Лупа с увеличением в четыре-шесть раз.

5.6 Лента клейкая, пригодная для прикрепления кожи при температурах до минус 30 °С.

6 Отбор и подготовка проб

6.1 Отбор проб в соответствии с ИСО 2418.

6.2 Из пробы вырубают образцы для испытаний пресс-ножом (5.4) со стороны поверхности с покрытием. Для каждой температуры, при которой должно быть проведено испытание, вырубают шесть образцов для испытаний - три в продольном направлении и три в поперечном направлении. Если направление хребтовой линии неизвестно, то образцы вырубают под прямым углом друг к другу.

6.3 В образцах для испытаний вырезают круглые отверстия диаметром (5, 0 ± 0, 5) мм, с центром отверстия (6, 0 ± 0, 5) мм от каждого конца испытуемого образца (6.2).

Примечание - Если испытуемые образцы крепят с помощью клейкой ленты, то отверстия в них не вырезают.

7 Проведение испытаний

7.1 В шарнирный держатель образцов (5.3) устанавливают шесть образцов для испытаний таким образом, чтобы поверхность образца с покрытием была обращена к открытой стороне держателя образцов. Испытуемые образцы из двух разных проб не должны испытывать одновременно в одном и том же навесном держателе образцов, если они не имеют одинаковой толщины. Образцы не будут надлежащим образом согнуты, если между образцами большая разница в толщине.

Примечание - Пример крепления образцов с помощью клейкой ленты приведен в приложении А.

7.2 В холодильной камере доводят температуру до (5 ± 2) °С и сохраняют эту температуру не менее 30 мин.

Примечание - Некоторые отраслевые спецификации требуют проведения испытания только при одной определенной температуре (7.7) и в этом случае в холодильной камере доводят температуру до заданной величины.

7.3 Шарнирный держатель образцов (5.3) в раскрытом виде, как показано на рисунке 1, при условии, что образцы не натянуты, клейкая лента, если она использована, не отслаивается от поверхности держателя образцов, помещают в холодильную камеру (5.1). Закрывают холодильную камеру и выдерживают шарнирный держатель образцов с образцами в холодильной камере в течение по меньшей мере 60 мин.

7.4 Открывают холодильную камеру и еще в камере немедленно захлопывают шарнирный держатель образцов. Если холодильная камера с дверью на передней панели, то используют соответствующий механизм для захлопывания - шарнирный держатель образцов при закрытой холодильной камере.

7.5 Шарнирный держатель образцов вынимают из холодильной камеры и дают ему нагреться до комнатной температуры. Затем исследуют образцы в местах их сложения с помощью лупы (5.5) для обнаружения трещин покрытия.

Примечание - Трещины обычно линейные, но в испытуемых образцах с тонкими поверхностными покрытиями отслеживают основные характеристики мереи кожи.

7.6 Если поверхностное покрытие у пяти или шести испытуемых образцов не повреждено, продолжают испытания новых (шести) образцов при температуре (0 ± 2) °С, повторяя процедуры по 7.2-7.5.

7.7 Если поверхностное покрытие из пяти или шести образцов остается неповрежденным, повторяют процедуры по 7.2-7.6 при температурах: минус (5 ± 2) °С, минус (10 ± 2) °С, минус (15 ± 2) °С, минус (20 ± 2) °С, минус (25 ± 2) °С и минус (30 ± 2) °С, с использованием набора из шести новых образцов в каждом случае до тех пор, пока не будут обнаружены трещины поверхностного покрытия по меньшей мере на двух образцах.

7.8 Записывают температуру, при которой происходит образование трещин поверхностного покрытия, по меньшей мере на двух образцах. Если поверхностное покрытие не растрескивается при минус 30 °С, то делают запись результата ниже минус (30 ± 2) °С.

Примечание - Если поверхностное покрытие имеет тонкие трещины перед испытанием (например, из-за ломкости), тогда нет четкого отличия трещин, полученных при испытании, и уже имеющихся.

8 Протокол испытаний

Протокол испытаний должен включать следующее:

a) ссылку на настоящий стандарт;

b) наибольшую температуру, при которой появились трещины поверхностные покрытия по меньшей мере на двух испытуемых образцах кожи;

c) если испытание проведено только при одной заданной температуре, количество образцов, которые показали растрескивание поверхностного покрытия, и описание наблюдаемых трещин для каждого отдельного образца;

d) любое отклонение от метода, указанного в настоящем стандарте;

e) полную информацию об идентификации образца и любых отклонениях от ИСО 2418 в отношении отбора проб.

Приложение А
(справочное)

Пример крепления образцов с помощью клейкой ленты

А.1 Пример фиксации образцов для испытаний с помощью клейкой ленты приведен в девяти этапах, как описано в А.2-А.10.

А.2 Шаг 1

Отмечают линию, параллельную шарниру держателя, на расстоянии 45 мм от кромки (рисунок А.1).

image002.jpg

Рисунок А.1 - Шаг 1

А.3 Шаг 2

Отмечают вспомогательные линии, перпендикулярные шарниру, чтобы помочь выровнять образцы (рисунок А.2).

image003.jpg

Рисунок А.2 - Шаг 2

А.4 Шаг 3

Совмещают образцы параллельно друг другу на краю держателя испытуемой стороной вниз. Расстояние между образцами должно быть не менее 15 мм (рисунок А.3).

image004.jpg

Рисунок А.3 - Шаг 3

А.5 Шаг 4

Закрепляют полосу клейкой ленты на образце в точке, где они контактируют с краем держателя. Полоска клейкой ленты должна быть длиннее держателя [рисунок А.4 а)]. Прочно прижимают клейкую ленту к образцу [рисунок А.4 b)].

image005.jpg

Рисунок А.4 - Шаг 4

А.6 Шаг 5

Перемещают зафиксированные образцы на линию, отмеченную на держателе, используя вспомогательную линию для выравнивания [рисунок А.5 а)]. Закрепляют клейкую ленту между образцами на держателе [рисунок А.5 b)].

image006.jpg

Рисунок А.5 - Шаг 5

А.7 Шаг 6

Закрепляют конец липкой ленты на задней стороне держателя (рисунок А.6).

image007.jpg

Рисунок А.6 - Шаг 6

А.8 Шаг 7

Закрепляют еще одну длинную клейкую ленту вдоль противоположных концов образцов и плотно прижимают ее к образцам (рисунок А.7).

image008.jpg

Рисунок А.7 - Шаг 7

А.9 Шаг 8

Берут клейкую ленту за оба конца и перемещают ее, сгибая образцы пополам. Оба конца образцов должны точно прикрывать друг друга, чтобы сделать следующие результаты испытаний сопоставимыми. Полоска клейкой ленты слегка вытянута [рисунок А.8 а)]. Затем держатель закрывают без давления [рисунок А.8 b)].

image009.jpg

Рисунок А.8 - Шаг 8

А.10 Шаг 9

Поворачивают держатель, зафиксируют концы клейкой ленты на задней стороне (рисунок А.9 а)], затем прижимают клейкую ленту между образцами к держателю [рисунок А.9 b)].

image010.jpg

Рисунок А.9 - Шаг 9

Приложение ДА
(справочное)

Сведения о соответствии ссылочных международных и европейского стандартов национальным стандартам

Таблица ДА.1

Обозначение ссылочного международного, европейского стандарта

Степень соответствия

Обозначение и наименование соответствующего межгосударственного стандарта

ISO 2418

IDT

ГОСТ ISO 2418-2013 "Кожа. Химические, физические и механические испытания и испытания на устойчивость. Установление места отбора проб"

ISO 2419

IDT

ГОСТ ISO 2419-2013 "Кожа. Физические и механические испытания. Подготовка и кондиционирование проб"

EN 15987

-

*

* Соответствующий национальный стандарт отсутствует. До его принятия рекомендуется использовать перевод на русский язык данного европейского стандарта EN 15987. Официальный перевод данного европейского стандарта находится в Федеральном информационном фонде стандартов.

Примечание - В настоящей таблице использовано следующее условное обозначение степени соответствия стандартов:

- IDT - идентичные стандарты.

Яндекс.Метрика