Утв. и введен в действие приказом Федерального агентства по техническому регулированию и метрологии от 5 октября 2017 г. N 1351-ст
Национальный стандарт РФ ГОСТ Р ИСО 17190-7-2017
"СРЕДСТВА МОЧЕПОГЛОЩЕНИЯ ПРИ НЕДЕРЖАНИИ. МЕТОДЫ ИСПЫТАНИЙ ДЛЯ ОПРЕДЕЛЕНИЯ ХАРАКТЕРИСТИК АБСОРБЦИОННЫХ МАТЕРИАЛОВ НА ПОЛИМЕРНОЙ ОСНОВЕ. Часть 7. ГРАВИМЕТРИЧЕСКОЕ ОПРЕДЕЛЕНИЕ ПОГЛОЩЕНИЯ ПОД ДАВЛЕНИЕМ"
Urine-absorbing aids for incontinence. Test methods for characterizing polymer-based absorbent materials. Part 7. Gravimetric determination of absorption under pressure
ОКС 11.180.20
ОКПД2 32.50.50.000
Дата введения - 1 января 2018 г.
Введен впервые
Предисловие
1 Подготовлен Федеральным государственным бюджетным учреждением "Всероссийский научно-исследовательский и испытательный институт медицинской техники" Федеральной службы по надзору в сфере здравоохранения (ФГБУ "ВНИИИМТ" Росздравнадзора) на основе собственного перевода на русский язык англоязычной версии международного стандарта, указанного в пункте 4
2 Внесен Техническим комитетом по стандартизации ТК 381 "Технические средства для инвалидов"
3 Утвержден и введен в действие приказом Федерального агентства по техническому регулированию и метрологии от 5 октября 2017 г. N 1351-ст
4 Настоящий стандарт идентичен международному стандарту ИСО 17190-7:2001 "Средства мочепоглощения при недержании. Методы испытаний для определения характеристик абсорбционных материалов на полимерной основе. Часть 7. Гравиметрическое определение поглощения под давлением" (ISO 17190-7:2001 "Urine-absorbing aids for incontinence - Test methods for characterizing polymer-based absorbent materials - Part 7: Gravimetric determination of absorption under pressure", IDT).
При применении настоящего стандарта рекомендуется использовать вместо ссылочных международных стандартов соответствующие им национальные стандарты, сведения о которых приведены в дополнительном приложении ДА
5 Введен впервые
Введение
Серия стандартов ИСО 17190 распространяется на различные методы испытаний, первоначально разработанные Европейской ассоциацией нетканых материалов и отходов текстильной промышленности (EDANA). Эти методы испытаний без каких-либо изменений были включены в серию международных стандартов, состоящую из 11 частей.
Данные методы испытаний использовались на практике несколько лет и зарекомендовали себя как надежные в отношении общих критериев качества методов испытаний (достоверность, воспроизводимость и др.). Они применимы к полиакрилату суперабсорбирующих материалов, которые относятся к продуктам гигиены, в том числе средствам мочепоглощения при недержании. Методы испытаний касаются исключительно материала. Они не предназначены и не применимы для испытаний выпускаемых средств мочепоглощения при недержании.
1 Область применения
Настоящий стандарт устанавливает метод определения способности задерживать жидкость полиакрилатом (ПА) суперабсорбирующих порошков в солевом растворе после центрифугирования.
2 Нормативные ссылки
В настоящем стандарте использованы нормативные ссылки на следующие международные стандарты. Для недатированных ссылок применяют последние издания указанных стандартов, включая все изменения.
ISO 187, Paper, board and pulps - Standard atmosphere for conditioning and testing and procedure for monitoring the atmosphere and conditioning of samples (Целлюлоза, бумага, картон. Стандартная атмосфера для кондиционирования и испытания. Метод контроля за атмосферой и условиями кондиционирования)
ISO 3696, Water for analytical laboratory use - Specification and test methods (Вода для лабораторного анализа. Технические требования и методы испытаний)
ISO 5725-2, Accuracy (trueness and precision) of measurement methods and results - Part 2: Basic method for the determination of repeatability and reproducibility of a standard measurement method [Точность (правильность и прецизионность) методов и результатов измерений. Часть 2. Основной метод определения повторяемости и воспроизводимости стандартного метода измерений]
3 Метод определения
Образец взвешивают и помещают на сетчатый фильтр и устанавливают сверху на него пластиковый поршень. Равномерное давление достигается помещением цилиндрического груза на пластиковый поршень. Данную конструкцию устанавливают на фильтровальную пластину, которую помещают в чашку Петри, заполненную солевым (физиологическим) раствором. По истечении 1 ч поршень снимают с фильтрующей пластины, извлекают образец и взвешивают для определения поглощенной жидкости.
4 Реактивы
Используйте реактивы указанного состава, если не указано иное.
4.1 Вода, соответствующая требованиям ИСО 3696.
4.2 Раствор хлорида натрия, c(NaCl) = 0, 9 % по массе.
Взвесьте 9 г хлорида натрия с точностью до 0, 1 г, поместите его в мерную колбу вместимостью 1 л (см. 6.7) и долейте до метки деионизированной водой (отметка 3, см. 5.1). Размешайте до полного растворения.
5 Средства измерений, вспомогательные устройства
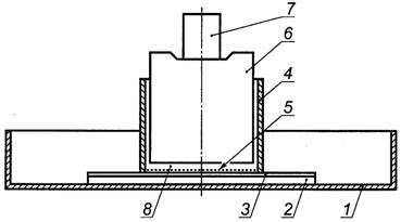
5.1 Установка для измерения впитывающей способности под давлением (см. рисунок 1) состоит из следующих элементов:
5.1.1 Чашка Петри или лоток площадью основания 400 см2.
5.1.2 Фильтровальная пластина из керамики диаметром 120 мм, пористостью, равной 0, и не менее 5 мм высотой.
5.1.3 Фильтровальная бумага диаметром от 70 до 120 мм с размером пор не более 25 мкм.
5.1.4 Цилиндр из оргстекла, имеющий внутренний диаметр d1 = (60 ± 0, 2) мм, высотой (50 ± 0, 5) мм, с дном из сетчатого фильтра, изготовленного из нейлонового полотна или из нержавеющей стали (400 ячеек/отверстий размером 36 мкм). Применение цилиндров разных диаметров приведено в приложении А.
5.1.5 Пластиковый поршень с установленным цилиндрическим грузом (574 ± 5) г, что соответствует давлению (21 ± 0, 2) г/см2.
Диаметр поршня d2 таков, что (d1 - d2) = (0, 8 ± 0, 2) мм и высота цилиндрического груза составляет (60 ± 0, 5) мм.
5.2 Весы лабораторные с ценой деления (дискретностью отсчета) 0, 01 г и пределом взвешивания до 100 г.
5.3 Таймер с точностью измерения до 1 с и диапазоном до 30 мин.
5.4 Мерная колба класса А вместимостью 1 л.
1 - чашка Петри (или лоток); 2 - фильтровальная пластина; 3 - фильтровальная бумага; 4 - цилиндр из оргстекла; 5 - сетчатый фильтр; 6 - пластиковый поршень; 7 - цилиндрический груз; 8 - образец
Рисунок 1 - Установка для измерения впитывающей способности под давлением ПА суперабсорбента порошка
6 Отбор образца
Меры предосторожности - Используйте средства защиты органов дыхания, респиратор или вытяжку, при работе с образцом массой более 10 г.
Для того, чтобы гарантировать, что репрезентативный образец берется из сыпучего материала, содержащегося в большом мешке или хранилище, снимают верхний слой (примерно 20 см). Берут образец совком. Помещают образец в герметичный контейнер соответствующего размера в течение 3 мин после отбора.
Перед началом испытаний и отбором проб выдерживают испытуемые образцы в закрытом контейнере для выравнивания и достижения температуры лаборатории. Рекомендуемые условия проведения испытаний: температура (23 ± 2) °С, относительная влажность (50 ± 10) %. Если эти условия отсутствуют, испытания проводят в условиях окружающей среды с указанием температуры и относительной влажности. Измерения данных условий проведения испытаний проводят в соответствии с ИСО 187.
Прежде чем отобрать пробу из контейнера для проведения испытаний, встряхните контейнер три-пять раз таким образом, чтобы получить однородный материал. Оставьте контейнер в покое на 5 мин до открывания крышки и отбора пробы для испытаний.
Прежде чем продолжить испытания, убедитесь, что в подготовленной для испытаний пробе отсутствуют комки размером более 1 мм в диаметре.
7 Метод проведения испытания
7.1 Взвесьте 0, 900 г испытуемого образца ПА суперабсорбента порошка с точностью до 0, 005 г и запишите массу ms для дальнейшего распределения по поверхности сетчатого фильтра цилиндра с поверхностной плотностью 0, 032 г/см2.
7.2 Тщательно распределите испытуемый образец на чистом и сухом сетчатом фильтре цилиндра из оргстекла (см. 5.1.4), обеспечивая равномерность.
7.3 Поместите пластиковый поршень (см. 5.1.5) в цилиндр и взвесьте заполненный цилиндр установки (запишите массу как mА).
7.4 Поместите фильтровальную пластину (см. 5.1.2) в чашку Петри (см. 5.1.1).
7.5 Добавьте раствор хлорида натрия (см. 4.2), пока жидкость не достигнет уровня поверхности фильтровальной пластины.
7.6 Поместите круг фильтровальной бумаги (см. 5.1.3) на фильтровальную пластину (см. 5.1.2), тщательно смоченную раствором хлорида натрия. Избегайте соприкосновения с поверхностью жидкости.
7.7 Поместите конструкцию на влажную фильтровальную бумагу, одновременно установив цилиндрический груз (см. 5.1.5) на конструкцию. Установите время поглощения физиологического раствора в (60 ± 1) мин.
7.8 После снимите конструкцию и удалите цилиндрический груз. Извлеките пластиковый поршень и запишите массу mB.
7.9 Тщательно промойте цилиндр и поршень дистиллированной водой и высушите. Не используйте для сушки температуры, превышающие 40 °С, чтобы предотвратить повреждение.
7.10 Повторите операции 7.1-7.9.
7.11 Промойте фильтровальную пластину дистиллированной водой.
8 Обработка результатов
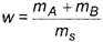
Для каждого испытуемого образца вычисляют поглощение под давлением w как массовую долю (г/г)

,
(1)
где ms - масса сухого испытуемого образца, г;
mA - масса цилиндров в сборе, г;
mB - масса цилиндра в сборе после поглощения, г.
Берут среднее из двух вычисленных значений.
9 Точность
Показатели повторяемости и воспроизводимости результатов данного метода испытаний являются результатом совместных исследований, проведенных в 1997 г. EDANA, и приведены в приложении В.
Расхождение между результатами параллельных испытаний, полученными в повторяющихся условиях испытаний в соответствии с ИСО 5725-2, не должно превышать предела повторяемости r более чем в 5 % случаев
r=1, 62 г/г.
Расхождение между результатами параллельных испытаний, полученными в повторяющихся условиях испытаний в соответствии с ИСО 5725-2, не должно превышать предела воспроизводимости R более чем в 5 % случаев
R=5, 30 г/г.
Если не выполняются критерии повторяемости и воспроизводимости испытания, то испытание должно быть повторено дважды, на удвоенном количестве образцов, убедившись, что исходный образец тщательно перемешан. Если эти критерии ранее не встречались, записать их результаты как недостоверные и затем выявить источник ошибки, например, проверяя правильность работы контрольно-измерительных устройств, испытав образец с известным значением.
10 Протокол испытания
Протокол испытания должен содержать следующую информацию:
a) наименование и адрес испытательной лаборатории;
b) тип абсорбционного материала на полимерной основе, включая все технические параметры (характеристики) и исходную (первичную) информацию, необходимую для однозначной (полной) идентификации образца;
c) ссылку на настоящий стандарт;
d) результаты расчета поглощения под давлением для каждого испытуемого образца с точностью до 0, 1 г/г и среднее значение повторных испытаний;
e) любые несоответствия (особенности), отмеченные в ходе испытаний, или если повторяемость и/или воспроизводимость критерия не были соблюдены (см. раздел 9);
f) любые отклонения от метода проведения испытаний или любые иные операции следует рассматривать как дополнительные.
Приложение А
(справочное)
Рекомендации для особых случаев: цилиндры разных диаметров и разные давления
А.1 Цилиндры разных диаметров
Если используются цилиндры разных диаметров, то масса испытуемого образца и диаметр цилиндра должны выбираться исходя из следующих правил:
- испытуемый образец распределен по поверхности сетчатого фильтра с поверхностной плотностью 0, 032 г/см2;
- суммарная масса поршня и груза такова, что давление на слой с испытуемым образцом соответствует давлению 21 г/см2.
Измеренный диаметр, масса образца и масса покрова должны быть указаны в протоколе испытания.
А.2 Разные давления
Если используются разные давления, то они должны быть указаны в протоколе испытания.
Приложение В
(справочное)
Статистические результаты межлабораторных испытаний
Показатели повторяемости и воспроизводимости результатов данного метода являются результатом совместных исследований, проведенных в 1997 г. EDANA. Оценка межлабораторных испытаний была проведена в соответствии с ИСО 5725-2, и были получены следующие результаты:
|
идентификация образца
|
А
|
В
|
С
|
|
количество участвующих лабораторий
|
10
|
10
|
10
|
|
количество лабораторий, чьи результаты были приняты (за исключением тех, чьи результаты были отброшены как недостоверные)
|
9
|
9
|
9
|
|
количество принятых к рассмотрению результатов испытаний
|
36
|
36
|
36
|
|
среднее значение (г/г)
|
28, 40
|
30, 44
|
29, 86
|
|
повторяемость стандартного отклонения sr
|
0, 53
|
0, 49
|
0, 58
|
|
повторяемость коэффициента вариации
|
1, 85 %
|
1, 60 %
|
1, 94 %
|
|
предел повторяемости r (2, 8 sr)
|
1, 47
|
1, 36
|
1, 62
|
|
воспроизводимость стандартного отклонения sR
|
0, 86
|
1, 35
|
1, 89
|
|
воспроизводимость коэффициента вариации
|
3, 03 %
|
4, 42 %
|
6, 33 %
|
|
предел воспроизводимости R (2, 8 sR)
|
2, 41
|
3, 77
|
5, 30
|
Приложение ДА
(справочное)
Сведения о соответствии ссылочных международных стандартов национальным стандартам Российской Федерации
Таблица ДА.1
|
Обозначение ссылочного международного стандарта
|
Степень соответствия
|
Обозначение и наименование соответствующего национального стандарта
|
|
ISO 187:1990
|
IDT
|
ГОСТ Р ИСО 187-2012 "Целлюлоза, бумага, картон. Стандартная атмосфера для кондиционирования и испытания. Метод контроля за атмосферой и условиями кондиционирования"
|
|
ISO 3696:1987
|
-
|
*
|
|
ISO 5725-2:1994
|
IDT
|
ГОСТ Р ИСО 5725-2-2002 "Точность (правильность и прецизионность) методов и результатов измерений. Часть 2. Основной метод определения повторяемости и воспроизводимости стандартного метода измерений"
|
|
* Соответствующий национальный стандарт отсутствует. До его утверждения рекомендуется использовать перевод на русский язык данного международного стандарта. Перевод данного международного стандарта находится в Федеральном информационном фонде стандартов.
Примечание - В настоящей таблице использовано следующее условное обозначение степени соответствия стандартов:
- IDT - идентичные стандарты.
|