ГОСТ Р ИСО 22476-2-2017 ГЕОТЕХНИЧЕСКИЕ ИССЛЕДОВАНИЯ И ИСПЫТАНИЯ. ИСПЫТАНИЯ ПОЛЕВЫЕ. Часть 2. ДИНАМИЧЕСКОЕ ЗОНДИРОВАНИЕ (DP)
Geotechnical investigations and testings. Field testing. Part 2. Dynamic probing (DP)
ОКС 93.020
Предисловие
1 Подготовлен Акционерным обществом "Научно-исследовательский центр "Строительство" (АО "НИЦ "Строительство") - Научно-исследовательский, проектно-изыскательский и конструкторско-технологический институт оснований и подземных сооружений им. Н.М. Герсеванова" (НИИОСП им. Н.М. Герсеванова) на основе официального перевода на русский язык англоязычной версии указанного в пункте 4 международного стандарта, который выполнен Федеральным государственным унитарный предприятием "Российский научно-технический центр информации по стандартизации, метрологии и оценке соответствия" (ФГУП "СТАНДАРТИНФОРМ")
2 Внесен Техническим комитетом по стандартизации ТК 465 "Строительство"
3 Утвержден и введен в действие приказом Федерального агентства по техническому регулированию и метрологии от 17 ноября 2017 г. N 1764-ст
4 Настоящий стандарт идентичен международному стандарту ИСО 22476-2:2005 "Геотехнические исследования и испытания. Полевые испытания. Часть 2. Динамическое зондирование" (ISO 22476-2.2005 "Geotechnical investigation and testing - Field testing - Part 2: Dynamic probing", IDT).
Наименование настоящего стандарта изменено относительно наименования указанного международного стандарта для приведения в соответствие с ГОСТ Р 1.5-2012 (пункт 3.5).
При применении настоящего стандарта рекомендуется использовать вместо ссылочных европейских стандартов соответствующие им национальные стандарты, сведения о которых приведены в дополнительном приложении ДА
5 Введен впервые
Настоящий стандарт устанавливает требования к косвенному методу исследования грунта - методу динамического зондирования, являющегося частью геотехнических исследований и испытаний согласно ЕН 1997-1 и ЕН 1997-2.
Настоящий стандарт распространяется на определение сопротивления грунтов и мягких горных пород в условиях их природного залегания путем забивки конуса. Для забивки конуса используют молот с заданными массой и высотой падения. Сопротивление зондированию определяют как число ударов, необходимое для погружения конуса на определенное расстояние. По мере погружения конуса осуществляется непрерывная регистрация параметров, но образцы грунта не извлекают.
В настоящий стандарт включены четыре методики, охватывающие широкий диапазон удельной работы молота за удар:
- легкое динамическое зондирование (DPL) - испытание отражает нижнюю область диапазона динамического оборудования по массе молота;
- среднее динамическое зондирование (DPM) - испытание отражает среднюю область диапазона динамического оборудования по массе молота;
- тяжелое динамическое зондирование (DPH) - испытание отражает область от среднего до очень тяжелого динамического оборудования по массе молота;
- сверхтяжелое динамическое зондирование (DPSH) - испытание отражает верхнюю область диапазона динамического оборудования по массе молота.
Результаты испытаний по настоящему стандарту особенно пригодны для качественного определения грунтового профиля, совместно с прямыми исследованиями (например, взятие образцов грунта согласно рrЕН ИСО 22475-1) или сравнения с результатами других, параллельно проводимых испытаний. Они могут также быть использованы для определения прочностных и деформационных свойств грунтов, обычно несвязного типа. Допускается их применение и в отношении мелкодисперсных грунтов, но с использованием соответствующих корреляционных зависимостей.
Также эти результаты могут быть использованы для определения глубин залегания очень плотных слоев грунта, например для выбора глубин заложения свай-стоек, и обнаружения очень рыхлых, разуплотненных, обратно засыпанных или насыпных грунтов.
Для применения настоящего стандарта необходимы следующие ссылочные стандарты. Для датированных ссылок применяют только указанное издание ссылочного стандарта, для недатированных - последнее издание (включая все изменения к нему).
EN 10204, Metallic products - Types of inspection documents (Изделия металлические. Типы актов приемочного контроля)
prEN ISO 22475-1, Geotechnical investigation and testing - Sampling methods and groundwater measurements - Part 1: Technical principles for execution (ISO 22475-1:2006) [Геотехнические исследования и испытания. Отбор образцов с помощью бурения и откапывания и измерения подземных вод. Часть 1. Технические принципы исполнения (ISO/DIS 22475-1:2004)]
В настоящем стандарте применены следующие термины с соответствующими определениями:
3.1 динамический зонд (dynamic penetromete): Конус и забивные штанги.
3.2 оборудование динамического зондирования (dynamic probing equipment): Зонд и все оборудование, необходимое для забивки зонда.
3.3 наковальня или наголовник (anvil or drive head): Часть ударного устройства, по которой ударяет молот и через которую энергия удара молота передается на забивные штанги.
3.4 демпфирующая прокладка, демпфер (cushion (damper): Помещается на наковальню для сведения к минимуму повреждения оборудования.
3.5 молот (hammer): Часть ударного устройства, которая последовательно поднимается и опускается для создания и сообщения забивным штангам энергии, которая обеспечивает погружение конуса.
3.6 высота падения (height of fall): Свободное падение молота после его сбрасывания.
3.7 ударное устройство (drive-weight assembly): Устройство, состоящее из молота, направляющего приспособления для падения молота, наголовника и системы, обеспечивающей падение молота.
3.8 забивные штанги (drive rods): Штанги, которые передают энергию удара от ударного устройства на конус.
3.9 конус (cone): Заостренный наконечник стандартных размеров, используемый для измерения сопротивления зондированию (см. рисунок 1).
3.10 фактическая энергия; энергия удара (actual energy; driving energy) Emeas: Измеренная энергия, сообщенная ударным устройством забивной штанге через наголовник.
3.11 теоретическая энергия (theoretic energy) Etheor: Вычисленная энергия ударного устройства
Etheor=mgh,
где m - масса молота;
g - ускорение свободного падения;
h - высота падения молота.
3.12 коэффициент энергии (energy ratio) Er: Отношение фактической энергии Emeas к теоретической энергии Еtheor молота, выраженное в процентах.
3.13 Nxy - значение (Nxy - value): Число ударов, необходимое для погружения зонда Y на определенное расстояние X (выраженное в сантиметрах).
3.14 удельная работа одного удара (specific work per blow) En: Параметр, вычисляемый по формуле
En=mgh/A=Etheor/A,
где m - масса молота;
g - ускорение свободного падения;
h - высота падения молота;
А - номинальная базовая площадь (вычисленная через диаметр базы D);
Etheor - теоретическая энергия.
4.1 Забивное устройство
Размеры и массы компонентов забивного устройства приведены в таблице 1. Должны быть следующие требования:
a) молот должен направляться таким образом, чтобы обеспечить минимальное сопротивление при падении;
b) автоматический сбрасывающий механизм должен обеспечивать постоянное свободное падение при незначительной скорости падения молота после отделения и не вызывать ненужные движения в забивных штангах;
c) стальной наголовник должен жестко соединяться с верхней частью забивных штанг; нежесткое соединение также может быть принято;
d) в состав приводного устройства должна входить направляющая для обеспечения вертикальности и боковой поддержки забивных штанг, выступающих над землей.
Если для подъема молота используют пневматическую систему, к ней должны прилагаться акты приемочного контроля согласно ЕН 10204, поскольку энергия забивки не всегда может быть обеспечена.
4.2 Наковальня
Наковальню следует изготовить из высокопрочной стали. Между молотом и наковальней допускается помещать демпфер или прокладку.
4.3 Конус
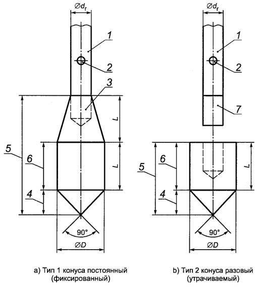
Стальной конус должен иметь угол при вершине 90°, расположенную выше цилиндрическую вытянутую часть - кожух, а также переходник для соединения со стержнем-удлинителем, как показано на рисунке 1. Их размеры и допуски приведены в таблице 1. Конус может быть либо постоянным (фиксированным), либо разовым (утрачиваемым). В случае применения сменного конуса конец стержня-удлинителя должен плотно входить в конус. Технические параметры конусов приведены на рисунке 1.

1 - удлинитель; 2 - инъекционное отверстие (необязательно); 3 - соединение на резьбе; 4 - острие конуса; 5 - конус; 6 - кожух; 7 - соединение без резьбы; L - длина кожуха; D - базовый диаметр; d - диаметр штанги
Рисунок 1 - Формы конусов для динамического зондирования (L, D и dr см. в таблице 1)
4.4 Забивные штанги
Материалом штанг должна служить высокопрочная сталь, имеющая соответствующие характеристики, для работы без чрезмерных деформаций и износа. Штанги должны соединяться заподлицо, быть прямыми и могут иметь лыски под гаечный ключ. Штанги должны обладать способностью к исправлению деформаций. Прогиб в средней точке забивных штанг, измеренный от прямой линии через концы, не должен превышать 1/1000, т.е. 1 мм на 1 м. Размеры и массы забивных штанг приведены в таблице 1.
Следует использовать полые штанги.
4.5 Устройство измерения крутящего момента
Крутящий момент, необходимый для вращения забивных штанг, измеряют с помощью гаечного ключа с ограничением по крутящему моменту или аналогичного измерительного прибора. Устройство должно обладать способностью к измерению крутящего момента не менее 200 Н·м и быть градуировано для считывания показаний приращения не менее 5 Н·м.
Для регистрации крутящего момента допускается использовать датчик.
Лыску гаечного ключа в забивных штангах допускается использовать для фиксации гаечного ключа с ограничением по крутящему моменту или измерительного устройства.
4.6 Необязательное дополнительное оборудование
4.6.1 Счетчик ударов
На оборудовании может быть установлено устройство для подсчета числа ударов молота путем измерения механических или электрических импульсов.
4.6.2 Устройство измерения длины зондирования
Длину зондирования измеряют либо подсчетом по шкале, установленной на штангах, либо с помощью регистрирующих датчиков. В последнем случае разрешение должно быть лучше, чем 1/100 длины измерения.
4.6.3 Система инъекции
Система инъекции включает в себя:
- полые штанги;
- нижнюю часть зонда при использовании разового (сменного) конуса;
- насос с раствором, соединенный с устройством, установленным под наковальней, и предназначенный для заполнения пространства между грунтом и забивными штангами, образованного расширенной частью конуса.
Поток раствора из насоса должен быть таким, чтобы он всегда гарантировал заполнение пространства между грунтом и забивными штангами.
Примечание 1 - Раствор, например, может быть смесью бентонита и воды с массовым отношением сухих частиц и воды от 5 % до 10 %.
Примечание 2 - Циркуляция раствора к поверхности не обязательна. Давление инъекции после вычитания потерь напора, должно соответствовать гидростатическому давлению раствора на уровне конуса.
Допускается использовать ручной насос.
4.6.4 Устройство измерения размеров конуса
Измерение диаметра и длины конуса проводят с помощью раздвижного штангенциркуля с точностью 1/10 мм или с помощью эквивалентной системы.
4.6.5 Устройство контроля отклонения забивных штанг от вертикали
Для обеспечения уверенности и проверки того, что забивные штанги расположены вертикально, в оборудование может быть включена специальная система или направляющая для поддержки выступающей над землей части штанг.
|
Устройство динамического зондирования |
Обозначение |
Единицы измерения |
DPL (легкий) |
DPM (средний) |
DPH (тяжелый) |
DPSH (сверхтяжелый) | |
|
DPSH-A |
DPSH-B | ||||||
|
Забивное устройство: | |||||||
|
- масса молота (нового) |
m |
кг |
10 ± 0, 1 |
30 ± 0, 3 |
50 ± 0, 5 |
63, 5 ± 0, 5 |
63, 5 ± 0, 5 |
|
- высота падения |
h |
мм |
500 + 10 |
500 ± 10 |
500 ± 10 |
500 ± 10 |
750 ± 20 |
|
Наковальня: | |||||||
|
- диаметр |
d |
мм |
50 < d < Dha) |
50 < d < Dna) |
50 < d < 0, 5Dha) |
50 < d < 0, 5Dn |
50 < d < 0, 5Dha) |
|
- масса (макс.) (включая направляющую штангу) |
m |
кг |
6 |
18 |
18 |
18 |
30 |
|
90° конус: | |||||||
|
- номинальная базовая площадь |
А |
см2 |
10 |
15 |
15 |
16 |
20 |
|
- базовый диаметр (новый) |
D |
мм |
35, 7 ± 0, 3 |
43, 7 ± 0, 3 |
43, 7 ± 0, 3 |
45, 0 ± 0, 3 |
50, 5 ± 0, 5 |
|
- базовый диаметр (изношенный) (мин.) |
мм |
34 |
42 |
42 |
43 |
49 | |
|
- длина оболочки, мм |
L |
мм |
35, 7 ± 1 |
43, 7 ± 1 |
43, 7 ± 1 |
90, 0 ± 2b) |
51 ± 2 |
|
- длина острия конуса |
мм |
17, 9 ± 0, 1 |
21, 9 ± 0, 1 |
21, 9 ± 0, 1 |
22, 5 ± 0, 1 |
25, 3 ± 0, 4 | |
|
- максимальный допустимый износ острия |
мм |
3 |
4 |
4 |
5 |
5 | |
|
Забивные штанги:c) | |||||||
|
- масса (макс.) |
м |
кг/м |
3 |
6 |
6 |
6 |
8 |
|
- наружный диаметр (макс.) |
d |
мм |
22 |
32 |
32 |
32 |
35 |
|
Отклонение штангиd): | |||||||
|
- наиболее низкое 5 м |
% |
0, 1 |
0, 1 |
0, 1 |
0, 1 |
0, 1 | |
|
- остальное |
% |
0, 2 |
0, 2 |
0, 2 |
0, 2 |
0, 2 | |
|
Удельная работа одного удара |
mgh/A |
кДж/м2 |
50 |
100 |
167 |
194 |
238 |
|
a) Dh - диаметр молота; в случае прямоугольной формы за диаметр молота принимают его меньший размер. b) Только сменный конус. c) Максимальная длина штанги не должна превышать 2 м. d) Отклонение штанги от вертикали. Примечание - Приведенные допуски относятся к изготовлению. | |||||||
5.1 Проверки и калибровка оборудования
Перед каждым испытанием следует проводить проверку размеров на предмет определения их нахождения в пределах значений, указанных в таблице 1. Прямолинейность штанг следует проверять на каждой новой площадке в начале испытания и не реже, чем через каждые 20 испытаний на площадке. После каждого испытания следует проводить визуальную проверку прямолинейности штанг.
На площадке испытания в условиях нормальной эксплуатации, которые должны быть гарантированы в ходе всей серии испытаний, следует проверять скорость ударов, высоту падения, трение свободно падающего молота, состояние наковальни и устройства механического сбрасывания. Кроме того, в случае использования автоматического регистрационного оборудования подлежит проверке надлежащее функционирование регистрирующего устройства.
Точность измерительных приборов (при наличии) следует поверять после любого повреждения, перегрузки или ремонта и не реже одного раза каждые 6 мес., если руководство пользователя не устанавливает более короткие интервалы времени. Дефектные детали должны быть заменены. Документацию на калибровку следует хранить вместе с оборудованием.
Для поверки пневматических динамических зондов энергию удара (фактическая энергия Emeas) следует измерять напрямую. После деления на площадь конуса она не должна отклоняться от теоретического значения удельной работы удара, установленной в таблице 1, более чем на 3 %. Энергию удара следует проверять каждые 6 мес.
Энергетические потери могут иметь место, например вследствие трения молота (потеря скорости по сравнению со свободным падением) или вследствие энергетических потерь при ударе молота по наковальне. Следовательно, для каждого нового забивного устройства должна быть определена фактическая энергия, сообщенная забивным штангам.
Примечание - Рекомендуемый метод определения фактической энергии приведен в приложении С.
5.2 Подготовка испытаний
Как правило, динамическое зондирование проводят с поверхности грунта.
Установку динамического зондирования при вертикальном расположении зонда следует размещать таким образом, чтобы в ходе испытания она не смещалась. Наклон забивного устройства и забивных штанг, выступающих над землей, не должен составлять более 2 % вертикали. Если это не так, испытание динамическим зондированием должно быть прекращено. В трудных грунтовых условиях отклонение до 5 % может допускаться, но это должно быть отмечено в отчете испытаний.
Установку динамического зондирования следует монтировать на прицепе таким образом, чтобы перемещение опоры подвески не влияло на испытание.
Оборудование следует монтировать с соответствующим зазором от конструкций, свай, скважин и т.д. в целях гарантии того, что они не будут оказывать влияние на результаты динамического зондирования.
При проведении динамического зондирования в ситуациях, где штанги могут свободно перемещаться в боковом направлении, например над водой или в скважинах, их движение следует ограничивать с помощью ограничителей с низким трением, расположенных друг от друга на расстоянии не более чем 2, 0 м для предотвращения изгибания при бурении.
5.3 Проведение испытаний
Забивные штанги и конус следует погружать вертикально, без чрезмерного изгибания их выступающей над землей части.
Нагрузку не следует прилагать к наковальне и стержням при подъеме молота.
Зонд следует непрерывно забивать в грунт. Скорость забивки должна составлять от 15 до 30 ударов в минуту. Все перерывы продолжительностью более 5 мин. следует регистрировать.
Не реже чем через каждый 1 м зондирования штанги следует поворачивать или на 1, 5 оборота или до тех пор, пока не будет достигнут максимальный момент кручения. Максимальный момент кручения, необходимый для поворачивания штанг, следует измерять с помощью гаечного ключа с ограничением по крутящему моменту, а также регистрировать.
В сложных условиях забивные штанги следует поворачивать на 1, 5 оборота после каждых 50 ударов для закрепления их соединения.
Иногда для достижения этой же цели - уменьшения поверхностного трения через горизонтальные или направленные вверх отверстия в полых штангах, расположенные около конуса, допускается вводить буровой раствор или воду. Допускается также применять и обсадные трубы.
Число ударов следует фиксировать на каждые 100 мм зондирования для DPL, DPM и DPH и каждые 100 или 200 мм зондирования для DPSH-A и DPSH-B.
Нормальный рабочий диапазон ударов должен быть между N10 = 3 и N10 = 50 для DPL, DPM и DPH и между N20 = 3 и N20 = 100 для DPSH-A и DPSH-B. Для особых целей эти диапазоны могут быть расширены. В случаях выхода за эти диапазоны, когда сопротивление зондированию является низким, например в мягких глинах, допускается регистрировать глубину зондирования за удар. В твердом грунте или мягких горных породах, где сопротивление зондированию очень высокое или превышает нормальный диапазон ударов, в качестве альтернативы N-значениям допускается использовать глубину зондирования, на которую погружается зонд за определенное число ударов.
Как правило, испытание должно быть приостановлено, если число ударов превышает в два раза максимальные значения, приведенные выше, либо максимальное значение превышается постоянно на каждый 1 м зондирования.
5.4 Факторы влияния
Факторы, связанные с применением геотехнического оборудования, могут влиять на выбор и эксплуатацию оборудования и результаты испытаний.
Примечание - Примеры приведены в приложении D.
5.5 Техника безопасности
Необходимо следовать правилам по безопасности, действующим на национальном уровне, в отношении:
- оборудования для охраны здоровья и безопасности;
- чистоты воздуха при работе на ограниченных пространствах;
- обеспечения безопасности оборудования.
Результаты испытаний следует регистрировать и интерпретировать на основании значений N10 для DPL, DPM, DPH и N10 или N20 для DPSH-A и DPSH-B.
Другой возможностью интерпретации результатов испытаний является использование динамического сопротивления конуса (см. приложение Е).
Необходимо уделять внимание влиянию на зарегистрированные Nху-значения, например трения штанг вследствие адгезии грунта или изгиба, см. приложение D.
7.1 Полевой отчет
7.1.1 Общие положения
При выполнении испытаний следует составлять полевой отчет. По возможности этот отчет должен включать в себя:
a) сводный журнал, например согласно приложению А;
b) запись измеренных величин и результатов испытаний.
Все полевые исследования следует зарегистрировать таким образом, чтобы третья сторона могла проверить и понять эти результаты.
7.1.2 Регистрация измеренных величин и результатов испытаний
На площадке для каждого испытания необходимо регистрировать следующую информацию:
a) общая информация:
1) фамилия клиента,
2) фамилия подрядчика,
3) номер задания или проекта,
4) наименование и место проекта,
5) фамилия и подпись ответственного оператора испытательного оборудования;
b) информация о месте испытания:
1) дата и номер испытания,
2) полевой чертеж (в масштабе или не в масштабе), включая прямые исследования (например, скважины),
3) ближайшее место, на котором или вблизи которого находился участок проведения динамического зондирования,
4) высотная отметка по отношению к фиксированной точке,
5) координаты х, у, z места проведения динамического зондирования,
6) среда испытания (земля или море);
c) информация об используемом испытательном оборудовании:
1) тип оборудования динамического зондирования (DPL, DPV, DPH, DPSH-A или DPSH-B),
2) изготовитель, модель и номер испытательного оборудования,
3) тип конуса (разовый или фиксированный),
4) тип наковальни (фиксированный или свободный),
5) применение демпферов или прокладок;
d) информация о методике испытания:
1) погодные условия,
2) документация на калибровки и проверки оборудования согласно 5.1,
3) регистрация результатов испытаний:
- N10/N20 - значений для каждой измеренной глубины погружения конуса,
- максимального момента кручения для каждой измеренной глубины,
4) отдельные меры предосторожности против трения штанги (например, использование обсадных труб, бурильного раствора или воды),
5) предварительное бурение (если использовалось),
6) частота подсчета ударов при эксплуатации оборудования,
7) уровень подземных вод, напорные воды (если известно),
8) все необычные события или наблюдения в ходе работ (например, низкий подсчет ударов, зондирование без ударов, временные препятствия, сбои оборудования),
9) наблюдения за извлеченным конусом и/или штангами,
10) все перерывы в работе с указанием продолжительности и смены штанг,
11) причины раннего прекращения испытаний,
12) тампонаж зондировочной скважины (при необходимости).
Примечание - В приложениях А и В приведены примеры документов полевого отчета.
7.2 Протокол испытания
Для проверки качества данных в дополнение к информации, приведенной в 7.1, протокол испытания должен включать в себя следующее:
a) полевой отчет (в бумажной и/или в компьютеризированной форме);
b) графическое представление относительно глубины следующих данных:
- зарегистрированное число ударов при забивке конуса 100 мм для DPL, DPV и DPH или 100 или 200 мм для DPSH-A и DPSH-B в виде ступенчатой диаграммы с числом ударов на горизонтальной оси и глубиной на вертикальной оси,
- максимальный момент кручения, требуемый для вращения зонда на каждом уровне испытания, Н·м,
- все перерывы во время работы продолжительностью более 5 мин;
c) любые корреляции в представленных данных;
d) любые ограничения данных (например, несоответствующие, недостаточные, неточные или отрицательные результаты испытаний);
e) фамилия и подпись руководителя полевых испытаний.
Результаты испытаний должны быть представлены в таком виде, чтобы третьи лица могли их проверить и понять.
Приложение А
(справочное)
Ближайшее место, на котором или вблизи которого* находится участок
проведения испытания динамическим зондированием: ________________________
координаты х, у, z: _____________________________________________________
Номер клиента/операции: ____________________________________________
Наименование и местоположение проекта: _____________________________
Подрядчик: ________________ Оператор оборудования: _________________
Дата проведения испытания: _________________________________________
Тип динамического зондирования*: DPL, DPM, DPH, DPSH-A, DPSH-B: ____
_________________________________________________________________________
Оборудование, проверенное и отвечающее требованиям 5.1; Да/Нет* в
отношении:
|
Полевой чертеж (масштаб 1: ___________________________/не в масштабе)* с проведенными прямыми геотехническими исследованиями (например, скважины): | |||||||
Прочие соответствующие данные: _____________________________________
Подпись: ________________________
Фамилия ответственного оператора: ___________________
──────────────────────────────
* Опустить, где применимо.
Приложение В
(справочное)
|
Подрядчик: |
Номер операции: |
Приложение: | |||||||||
|
Клиент/наименование проекта: | |||||||||||
|
Испытание динамическим зондированием N: |
Дата: | ||||||||||
|
Тип испытания динамическим зондированием*: DPL, DPM, DPH, DPSH-A, DPSH-B или: | |||||||||||
|
Утрачиваемый/фиксированный конус* |
Фиксированная/свободная наковальня* | ||||||||||
|
координаты х, у, z | |||||||||||
|
Глубина; добавить 10, 20 или 30 м (если глубина более 10 м): + |
м | ||||||||||
|
Глубина |
N10/N20* |
Глубина |
N10/N20* |
Глубина |
N10/N20* |
Глубина |
N10/N20* |
Глубина |
N10/N20* | ||
|
0, 10 |
2, 10 |
4, 10 |
6, 10 |
8, 10 | |||||||
|
0, 20 |
2, 20 |
4, 20 |
6, 20 |
8, 20 | |||||||
|
0, 30 |
2, 30 |
4, 30 |
6, 30 |
8, 30 | |||||||
|
0, 40 |
2, 40 |
4, 40 |
6, 40 |
8, 40 | |||||||
|
0, 50 |
2, 50 |
4, 50 |
6, 50 |
8, 50 | |||||||
|
0, 60 |
2, 60 |
4, 60 |
6, 60 |
8, 60 | |||||||
|
0, 70 |
2, 70 |
4, 70 |
6, 70 |
8, 70 | |||||||
|
0, 80 |
2, 80 |
4, 80 |
6, 80 |
8, 80 | |||||||
|
0, 90 |
2, 90 |
4, 90 |
6, 90 |
8, 90 | |||||||
|
1, 00 |
3, 00 |
5, 00 |
7, 00 |
9, 00 | |||||||
|
** |
Нм |
Нм |
** |
Нм |
** |
Нм |
** |
Нм | |||
|
1, 10 |
3, 10 |
5, 10 |
7, 10 |
9, 10 | |||||||
|
1, 20 |
3, 20 |
5, 20 |
7, 20 |
9, 20 | |||||||
|
1, 30 |
3, 30 |
5, 30 |
7, 30 |
9, 30 | |||||||
|
1, 40 |
3, 40 |
5, 40 |
7, 40 |
9, 40 | |||||||
|
1, 50 |
3, 50 |
5, 50 |
7, 50 |
9, 50 | |||||||
|
1, 60 |
3, 60 |
5, 60 |
7, 60 |
9, 60 | |||||||
|
1, 70 |
3, 70 |
5, 70 |
7, 70 |
9, 70 | |||||||
|
1, 80 |
3, 80 |
5, 80 |
7, 80 |
9, 80 | |||||||
|
1, 90 |
3, 90 |
5, 90 |
7, 90 |
9, 90 | |||||||
|
2, 00 |
4, 00 |
6, 00 |
8, 00 |
10, 00 | |||||||
|
** |
** |
** |
** |
** | |||||||
|
* Опустить, если применимо. ** Измеренный момент кручения. | |||||||||||
Прочие данные:
Грунтовая вода: _____________ м ниже исходной точки.
Фамилия и подпись ответственного оператора:
Приложение С
(справочное)
С.1 Принцип
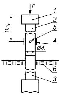
Измерение энергии, сообщенной забивным штангам, может быть выполнено с помощью специально оборудованного участка штанг (измерительной штанги), расположенного на расстоянии, превышающем в 10 раз их диаметр, под точкой удара молота по наковальне (см. рисунок С.1).
По вопросу дополнительной информации см. [1]-[6].

1 - наковальня; 2 - специально оборудованный участок штанг (измерительная штанга); 3 - забивные штанги; 4 - тензометр (измерительный преобразователь); 5 - акселерометр; 6 - грунт; F - сила; dr - диаметр штанги
Рисунок С.1 - Специально оборудованный участок штанг (пример)
С.2 Оборудование
Измерительное устройство состоит из сменной инструментальной штанги, установленной между наковальней и верхом забивных штанг, и включает в себя:
- систему измерения вертикального ускорения, имеющую линейную характеристику до 5000g;
- систему измерения осевой деформации штанги;
- аппаратуру с разрешением выше, чем 1·10-5с, для наблюдения, регистрации и предварительной обработки сигналов;
- систему обработки данных (регистратор данных и компьютер).
При использовании тензометров для измерения осевой деформации они должны быть равномерно распределены вокруг инструментальной штанги, предпочтительно двумя ортогональными парами.
С.3 Измерения
При каждом ударе проверяют корректную работу измерительного оборудования и датчиков, отображающих полученные результаты измерения.
Необходимо проверять, чтобы сигналы от акселерометров и измерительных приборов находились на нуле до и после удара.
При измерении ускорения и деформации точность должна быть выше, чем 2 % измеренного значения.
С.4 Вычисление
С.4.1 Силу F, сообщенную штангам, вычисляют по формуле:
F(t)=Aa·Ea·εm(t),
(С.1)
где εm(t) - измеренные осевые деформации измерительной штанги за время t;
Aa - площадь поперечного сечения измерительной штанги;
Ea - модуль Юнга измерительной штанги.
С.4.2 Скорость измерительной секции v(t) вычисляют путем интегрирования ускорения α (t) для времени t.
С.4.3 Базовое уравнение для энергии Е, которая сообщается забивным штангам, имеет вид:
,
(С.2)
где E(t') - энергия забивки, которая передается забивным штангам за время t' после удара.
Примечание - Различные методы выведения вышеуказанного уравнения и дополнительную информацию см. в библиографии.
С.4.4 Учитываемая энергия молота - среднее значение, полученное не менее чем по пяти измерениям:
.
(С.3)
С.4.5 Соотношение энергий молота, которое характеризует каждый динамический зонд определяют по формуле:
,
(С.4)
где Etheor=mgh;
здесь h - высота падения молота;
m - масса молота;
g - ускорение свободного падения.
|
Обозначения см. на рисунке С.1 |
Отчет измерения энергии молота | ||
|
Тип динамического зондирования | |||
|
Номер операции | |||
|
Дата проведения испытания | |||
|
Масса молота, m | |||
|
Высота падения h | |||
|
Etheor=m·g·h | |||
|
Характеристики инструментальной штанги | |||
|
Диаметр dr | |||
|
Длина инструментальной штанги la | |||
|
Площадь Аа | |||
|
Модуль Еа | |||
![]() | ![]() | ||
![]() | ![]() | ||
|
Наблюдения |
Дата | ||
|
Emeas |
Ttheor |
Фамилия и подпись ответственного оператора | |
Рисунок С.2 - Пример отчета измерения энергии молота
Приложение D
(справочное)
D.1 Введение
D.1.1 Общие положения
На полученные результаты могут оказывать влияние следующие факторы:
- влияние грунтовых условий вследствие зависимости сопротивления зондированию от напряженно-деформированного состояния грунта;
- влияние оборудования.
При выборе и эксплуатации оборудования для исключения неправильного толкования результатов динамического зондирования эти факторы следует учитывать, равно как и данные прямых исследований, например отбора проб в соответствии с prЕН ИСО 22475-1.
D.1.2 Влияние грунтовых условий
D.1.2.1 Влияние типа, характера напластований и характеристик грунта
Для крупнозернистых грунтов на результаты зондирования оказывают влияние помимо плотности структура, форма и шероховатость зерен, гранулометрический состав, тип минерала, степень цементации и напряженно-деформированное состояние.
Примеры влияния типа грунта, характера напластований грунтов и характеристик грунтов приведены в D.2-D.4.
Пример влияния граничной глубины приведен в D.5.
В отношении мелкозернистых грунтов трение штанг может оказывать значительное влияние на регистрируемое число ударов. Применение бурового раствора и воды может уменьшить этот эффект (см. D.3).
D.1.2.2 Влияние подземных вод
В крупнодисперсных грунтах при прочих равных условиях ниже уровня подземных вод число ударов будет меньше. Это особенно заметно для грунтов с низким сопротивлением зондированию. Примеры влияния подземных вод приведены в D.6.
В глинистых грунтах при прочих равных условиях ниже уровня подземных вод число ударов может оказаться равным или более высоким.
D.1.3 Влияние оборудования
На сопротивление зондированию могут влиять следующие параметры оборудования:
- диаметр конуса;
- длина штанги;
- отклонение штанги;
- энергетические потери в системах привода.
Примеры влияния отдельных параметров оборудования приведены в D.7.
D.2 Примеры результатов динамического зондирования в крупнозернистых грунтах
При прочих условиях, справедливо следующее:
a) сопротивление зондированию возрастет более чем линейно с увеличением степени плотности грунта; таким образом, с помощью динамического зондирования может быть выявлено изменение степени плотности, например в результате глубокого уплотнения;
b) грунты, состоящие из крупных частиц или частиц с острыми краями, обладают более высоким сопротивлением зондированию, чем грунты, имеющие круглые и гладкие частицы;
c) окатанные обломки породы и валуны могут значительно увеличивать сопротивление зондированию;
d) гранулометрический состав (коэффициент однородности и кривая гранулометрического состава) влияет на сопротивление зондированию;
e) сопротивление зондированию значительно возрастает при цементации.

1 - средне- и крупнозернистый песок; ID - степень плотности; d - глубина
Рисунок D.1 - Изменение сопротивления зондированию однородных грунтов обратной засыпки с глубиной в зависимости от степени плотности грунта ID
Испытания проводились в шурфе, в котором были отсыпаны слоями различной относительной плотности средне- и крупнозернистый песок. Сопротивление зондированию резко возрастало с увеличением степени плотности грунта. Показания, таким образом, становились более чувствительными.
На рисунке D.2 показано увеличение сопротивления зондированию, когда тонкие слои грунта включали в себя отдельные окатанные обломки пород. Локально отмечаемые пики сопротивления зондированию не являются критерием несущей способности всего слоя.

1 - супесь, мелкий песок со слоями камней; d - глубина
Рисунок D.2 - Увеличение сопротивления зондированию вследствие наличия включений окатанных обломков пород
Рисунок D.3 показывает, что сопротивление зондированию изменяется более резко в крупнозернистых грунтах, чем в мелкозернистых. Диапазон изменчивости больше в гравии, чем в песках.
Абсолютные отклонения в сопротивлении зондированию, полученные с помощью легкого динамического зонда (DPL), не только являются результатом различных относительных плотностей грунтов, но и большим сопротивлением зондированию вследствие смещения или разрушения вкрапленных, более крупных частиц.

1 - супесь, песчаная; 2 - супесь; 3 - гравий; d - глубина
Рисунок D.3 - Изменение сопротивления зондированию в мелко- и крупнозернистых грунтах
Рисунок D.4 показывает влияние сцементирования частиц песчаного слоя на сопротивление зондированию легкому динамическому зонду (DPL). Этот тип цементации может быть не выявленным при бурении. Цементация наблюдается в разведочных шурфах.

1 - суглинок; 2 - глина; 3 - среднезернистый песок (сцементированный); 4 - среднезернистый песок; d - глубина
Рисунок D.4 - Увеличение сопротивления зондированию в сцементированном среднезернистом песке
D.3 Примеры результатов динамического зондирования мелкозернистых грунтов
В мягких грунтах поверхностное трение вдоль штанг оказывает значительное влияние на сопротивление зондированию. Это может означать, например, что в грунте не выявляются полости.
Рисунок D.5 показывает, что в глине стандартное пенетрационное испытание (SPT) в отличие от испытания тяжелым динамическим зондом (DPH) дает фактически, одинаковые сопротивления зондированию. Это связано с тем, что поверхностное трение вдоль штанг было устранено в результате того, что SPT проводили в скважине.

1 - заполнение; 2 - супесь (песчаная, гравелистая); 3 - гравий (песчаный); 4 - глина; d - глубина
Рисунок D.5 - Увеличение сопротивления зондированию в результате поверхностного трения штанг тяжелого динамического зонда (DPH) по сравнению со стандартным пенетрационным испытанием (SPT)
На рисунке D.6 показаны DPM профили, полученные с помощью бурового раствора и без него. Буровой раствор снижает трение вдоль забивных штанг и позволяет выполнять зондирование на большие глубины. Данные зондирования скорректированы с учетом трения, измеренного по крутящему моменту.

DPM - динамическое зондирование без бурового раствора; DPMa - динамическое зондирование с буровым раствором; I - почва; II - гравий; III - переработанная выветренная глина; IV - выветренная глина; V - невыветренная глина; d - глубина
Рисунок D.6 - Уменьшение поверхностного трения вследствие бурового раствора
На рисунке D.7 показаны данные рисунка D.6, скорректированные с использованием показаний крутящего момента для коррекции влияния трения на штанги. Коррекция снижает N10M - значения и отображает воспроизводимый глубинный профиль с буровым раствором и без него. Все данные входят в одну полосу.

DPM - динамическое зондирование без бурового раствора; DPMа - динамическое зондирование с буровым раствором; I - корка; II - гравий; III - переработанная выветренная глина; IV - выветренная глина; V - невыветренная глина; d - глубина
Рисунок D.7 - Пример влияния коррекции измерений на крутящий момент в мелкозернистом грунте
На рисунке D.8 показан результат динамического зондирования с использованием легкого динамического зонда (DPL) при разной структуре грунта:
a) супесь природного сложения;
b) супесь отсыпанная и слегка уплотненная.

а - супесь природного сложения; b - супесь отсыпанная и слегка уплотненная; 1 - средняя супесь, глинистая (лессовый суглинок); d - глубина
Рисунок D.8 - Сопротивление зондированию супеси природного сложения, а также отсыпанной и слегка уплотненной
Рисунок D.9 показывает, что разложившийся торф имеет очень низкое сопротивление зондированию.

1 - пылевая глина; 2 - торф (разложившийся); 3 - глина (песчаная, высокая степень пылеватости); d - глубина
Рисунок D.9 - Динамическое зондирование в разложившемся торфе
Рисунок D.10 показывает, что волокнистый, слегка разложившийся торф имеет высокое сопротивление зондированию, включая поверхностное трение. Аналогичные эффекты можно наблюдать в высокоорганических глинах и супесях.

1 - гравий и песок; 2 - торф (волокнистый); 3 - мелкий песок и супесь (слабоглинистые); d - глубина
Рисунок D.10 - Динамическое зондирование в волокнистом, слегка разложившемся торфе
D.4 Пример результатов динамического зондирования в смешанных грунтах
Поскольку приведенные выше факторы влияния для смешанных грунтов налагаются один на другой, вероятность некорректной интерпретации остается относительно высокой.
На рисунке D.11 показаны колебания в сопротивлении зондированию при использовании среднего динамического зонда (DPM) в различных типах грунтов. Эти колебания проявляются в большей степени в грунтах со смешанным гранулометрическим составом (например, супесчаном крупнозернистом песке) вследствие более высокого содержания крупных зерен, чем в мелкозернистых грунтах с органическими добавками (например, озерном мергеле).

1 - наполнение; 2 - глинистый песок, гравий, супесь; 3 - торф; 4 - озерный мергель с остатками растений; 5 - глинистый озерный мергель; 6 - супесчаный крупный песок с мелким гравием; d - глубина
Рисунок D.11 - Изменение сопротивления зондированию в различных грунтах
D.5 Пример результатов динамического зондирования на небольших глубинах
В крупнозернистых грунтах граничная или критическая глубина (от 1 до 2 м ниже поверхности земли) возрастает со степенью плотности и диаметром конуса. Кроме того, сопротивление зондированию резко увеличивается до тех пор, пока не будет достигнута граничная глубина.
Увеличение поверхностного давления (например при обратной засыпке) или дополнительное увеличение давления в грунте (например, от нагрузки на фундамент) может увеличить сопротивление зондированию.
На рисунке D.12 приведены два результата динамического тестирования с помощью легкого динамического зонда в разведочном шурфе, который был заполнен крупно- и среднезернистым песком одинаковой плотности по всей глубине. Испытание, проведенное от поверхности обратной засыпки, показало первоначальное увеличение сопротивления зондированию в зависимости от глубины, далее оно фактически не менялось. После удаления слоя толщиной 1, 30 м было проведено второе испытание. В ходе этого испытания, начиная с новой поверхности, первоначально было отмечено уменьшение сопротивления зондированию в зонах, расположенных вблизи поверхности, по сравнению с первым испытанием, далее после резкого увеличения сопротивления зондированию были получены одинаковые значения при больших глубинах, чем в ходе первого испытания, т.е. от поверхности засыпки.

а - испытание от поверхности засыпки; b - испытание от дна шурфа; 1 - поверхности засыпки; 2 - дно шурфа; 3 - крупно- и среднезернистый песок (плотный); d - глубина
Рисунок D.1.2 - Низкое сопротивление зондированию в зоне вблизи поверхности песка средней плотности
D.6 Пример влияния подземных вод
В крупнозернистых грунтах (при прочих равных условиях) вследствие низкого эффективного вертикального напряжения сопротивление зондированию ниже уровня подземных вод будет меньше, чем в расположенном выше грунте.
В мелкозернистых грунтах вследствие капиллярного эффекта сопротивление зондированию может быть равным или более высоким. На результаты сопротивления зондированию также могут влиять давление воды в порах и фильтрация подземных вод.
Результаты, приведенные на рисунке D.13, отражают влияние подземных вод для крупнозернистых грунтов. Там где существуют подземные воды, фиксируют более низкие сопротивления зондированию, даже если степень плотности была одинаковой.

а - отсутствие грунтовой воды; b - грунтовая вода на глубине 0, 2 м ниже поверхности земли; 1 - мелко- и среднезернистый песок; d - глубина
Рисунок D.13 - Изменение сопротивления зондированию мелко- и среднезернистого песка в результате воздействия подземных вод
Ниже приведен пример количественного определения влияния подземных вод на результаты динамического зондирования в несвязном грунте. Сравнительные испытания проводились с DPL и DPH зондами в плохо сортированном песке (SP) и с DPH зондом в хорошо сортированной смеси песка и гравия (GW) при контролируемых условиях выше и ниже уровня грунтовой воды. На рисунке D.14 приведена соответствующая зависимость числа ударов N10L и N10Н выше уровня воды и N10L и N10Н ниже уровня воды. Эта зависимость в общем виде записывается в следующем виде:
N10 = α1N'10+α2. Зависимости имеют устойчивый характер и консервативные оценки (с запасом).

|
Классификация грунтов |
Коэффициент однородности Uc = dso/d10 |
Коэффициенты | |||
|
DPL |
DPH | ||||
|
a1 |
а2 |
a1 |
а2 | ||
|
SP |
≤ 3 |
2, 0 |
2, 0 |
1, 3 |
2, 0 |
|
GW |
≥ 6 |
- |
- |
1, 2 |
4, 5 |
|
X - число ударов N'10L и N'10H ниже уровня подземных вод; Y - число ударов N10L и N10H выше уровня подземных вод; SP - плохо сортированный песок; GW - хорошо сортированная смесь песка и гравия | |||||
Рисунок D.14 - Примеры влияния подземных вод на результаты динамического зондирования
D.7 Примеры влияния оборудования
При динамическом зондировании сопротивление зондированию возрастает с увеличением поперечного сечения конуса зонда. На сопротивление зондированию влияет отношение диаметра конуса к диаметру штанги, что объясняется влиянием этого отношения на поверхностное трение грунта вдоль штанги. Данное влияние также зависит от типа грунта, характера напластований и глубины зондирования.
В мелкозернистых грунтах, когда отношение поперечного сечения конуса к диаметру штанги мало, поверхностное трение грунта вдоль штанги возрастает быстро.
Рисунок D.15 показывает, что вблизи поверхности земли, при одном и том же диаметре штанги, сопротивление зондированию обычно больше для больших диаметров конуса зонда, чем для малых. На большей глубине изменение сопротивления зондированию также зависит от грунтовых условий. При динамическом зондировании супесей из-за поверхностного трения сопротивление зондированию конусом малого диаметра может быть больше, чем при зондировании конусом большого диаметра.
При малом диаметре конуса, так как ширина конуса незначительно превышает ширину штанги, поверхностное трение вдоль штанг оказывается весьма существенным.
При динамическом зондировании (если другие условия остаются одинаковыми) с увеличением длины штанг из-за падения эффективности забивки требуется большее число ударов.

а - большой диаметр конуса; b - малый диаметр конуса; 1 - гравий (песчаный); 2 - супесь (песчаная, слегка глинистая, жесткая); 3 - супесь (глинистая, мягкая); d - глубина
Рисунок D.15 - Влияние поперечного сечения конуса на результаты динамического зондирования
На рисунке D.16 приведены значения N10 для четырех различных типов оборудования динамического зондирования. В пределах одного слоя грунта более легкое оборудование показывает большую чувствительность (флуктуацию) результатов зондирования, в то же время более тяжелое оборудование дает значения N10, близкие или ниже, чем рекомендованное минимальное допустимое значение. Для уменьшения трения на забивных штангах был использован буровой раствор (за исключением DPSH).

I - почва; II - выветренная валунная морена; III - невыветренная валунная морена; IV - пылеватый песок; d - глубина
Рисунок D.16 - Сравнение различных типов оборудования для динамического зондирования
Приложение Е
(справочное)
В полевых условиях в качестве результатов динамического зондирования по глубине обычно фиксируют число ударов, необходимое для погружения конуса на 10 см (N10). Эти данные должны быть в стандартном диапазоне значений (обычно от 3 до 50). Значения N10 могут быть использованы для расчета удельного сопротивления конуса rd и динамического сопротивления конуса qd. Значение rd представляет собой оценку работы по забивке зонда в грунт. При дальнейших вычислениях в целях получения qd значение rа преобразовывают путем учета инерции буровых штанг и молота после удара по наковальне. При вычислении rа учитывают массу молота, высоту его падения и размер конуса. При вычислении qd учитывают размеры и число штанг, что позволяет сравнивать оборудование различных конфигураций.
Обычно используют зависимости:

(Е.1)
или

(Е.2)
,
(Е.3)
где rd и qd - значения сопротивления, Па;
m - масса молота, кг;
g - ускорение свободного падения, м/с2;
h - высота падения молота, м;
А - площадь основания конуса, м2;
е - среднее погружение, м, за удар (0, 1/N10 от DPL, DPM и DPH, и 0, 1/N10 и 0, 2/N20 от DPSH);
N10 - число ударов на 100 мм;
N20 - число ударов на 200 мм;
m' - суммарная масса удлинительных штанг, наковальни и направляющих штанг для рассматриваемой длины зондирования, кг.
На рисунке Е.1 приведены результаты зондирования DPL, DPM и DPH оборудованием для участка с жесткими переуплотненными глинами. Хотя каждый тип оборудования дает различные значения N10, вычисленные значения rd для DPM и DPH ближе между собой, чем прямые результаты зондирования, а вычисленные значения qd дают весьма схожие профили для всех трех типов оборудования.
На рисунке Е.2 приведены результаты зондирования переуплотненной ледниковой валунной морены DPL, DPM, DPH и DPSH оборудованием. Значения rd сближают профили, а вычисление qd дает еще более схожие профили.

I - выветренная лондонская глина; II - выветренная лондонская глина; d - глубина
Рисунок Е.1 - Графики динамического зондирования DPL, DPM и DPH оборудованием на площадке, сложенной жесткой переуплотненной глиной

I - почва; II - выветренная морена; III - невыветренная морена; IV - пылеватый песок; d - глубина
Рисунок Е.2 - Графики динамического зондирования DPL, DPM, DPH и DPSH оборудованием переуплотненной морены
Приложение ДА
(справочное)
Таблица ДА.1
|
Обозначение ссылочного европейского стандарта |
Степень соответствия |
Обозначение и наименование соответствующего национального стандарта |
|
EN 10204 |
- |
* |
|
prEN ISO 224754-1 |
- |
* |
|
* Соответствующий национальный стандарт отсутствует. До его принятия рекомендуется использовать перевод на русский язык данного европейского стандарта. | ||
Библиография
|
[1] |
ASTM D 4633-86* Standard test method for stress wave energy measurements for dynamic penetrometer testing systems (Стандартный метод испытания изменением энергии волн напряжений для испытательных систем с динамическим пенетрометром) |
|
[2] |
Butler, J.J., Caliendo, J.A., Goble, G.G.: Comparison of SPT energy measurements methods. - Proc. 1st Int. Conf. on Site Characterization, Atlanta 1998, Vol. 2, 901-905 |
|
[3] |
Farrar, J.A.: Summary of Standard Penetration Test (SPT) energy measurements experience. - Proc. 1st Int. Conf. on Site Characterization, Atlanta 1998, Vol. 2, 919-926 |
|
[4] |
Gonin, H.: Du Penetrometre dynamique au battage des pieux. - Revue Francaise de Geotechnique No 76, 1996 |
|
[5] |
Gonin, H.: La formule des Hollandais ou le conformisme dans Tenseignement. - Revue Francaise de Geotechique No 87, 1999 |
|
[6] |
Matsumoto, T; Sekeguchi, H., Yoshida, H. & Kita, K: Significance of two-point strain measurements in SPT. - Soils and Foundations, JSSMFE, Vol. 32, 1992, No 2, pp. 67-82. |
|
[7] |
EN 1997-1, Eurocode 7: Geotechnical design - Part 1: General rules (Еврокод 7. Геотехническое проектирование. Часть 1. Общие правила) |
|
[8] |
EN 1997-2, Eurocode 7: Geotechnical design - Part 2: Ground investigation and testing (Еврокод 7. Геотехническое проектирование. Часть 2. Исследование грунтов и проведение испытаний) |
|
[9] |
EN ISO 22476-3, Geotechnical investigation and testing - Field testing - Part 3: Standard penetration test (ISO 22476-3:2005) [Геотехнические исследования и испытания. Полевые испытания. Часть 3. Стандартное испытание проникающей способности (ISO 22476-3:2005)] |







