ГОСТ Р ИСО 22476-1-2017 ГЕОТЕХНИЧЕСКИЕ ИССЛЕДОВАНИЯ И ИСПЫТАНИЯ. ИСПЫТАНИЯ ПОЛЕВЫЕ. Часть 1. СТАТИЧЕСКОЕ И ПЬЕЗОСТАТИЧЕСКОЕ ЗОНДИРОВАНИЕ ЭЛЕКТРИЧЕСКИМ ЗОНДОМ
Geotechnical investigations and testings. Field testing. Part 1. Static and piezo-static reconnaissance using an electrical probe
ОКС 93.020
Предисловие
1 Подготовлен Акционерным обществом "Научно-исследовательский центр "Строительство" (АО "НИЦ "Строительство") - Научно-исследовательский, проектно-изыскательский и конструкторско-технологический институт оснований и подземных сооружений им. Н.М. Герсеванова" (НИИОСП им. Н.М. Герсеванова) на основе официального перевода на русский язык англоязычной версии указанного в пункте 4 международного стандарта, который выполнен Федеральным государственным унитарным предприятием "Российский научно-технический центр информации по стандартизации, метрологии и оценке соответствия" (ФГУП "СТАНДАРТИНФОРМ")
2 Внесен Техническим комитетом по стандартизации ТК 465 "Строительство"
3 Утвержден и введен в действие приказом Федерального агентства по техническому регулированию и метрологии от 17 ноября 2017 г. N 1763-ст
4 Настоящий стандарт идентичен международному стандарту ИСО 22476-1:2012 "Геотехнические исследования и испытания. Полевые испытания. Часть 1. Испытание на проникновение с применением электрического конуса и пьезоконуса" (ISO 22476-1:2012 "Geotechnical investigation and testing - Field testing - Part 1: Electrical cone and piezocone penetration test", IDT).
Наименование настоящего стандарта изменено относительно наименования указанного международного стандарта для приведения в соответствие с ГОСТ Р 1.5-2012 (пункт 3.5).
При применении настоящего стандарта рекомендуется использовать вместо ссылочных международных стандартов соответствующие им национальные стандарты, сведения о которых приведены в дополнительном приложении ДА
5 Введен впервые
Введение
Статическое зондирование электрическим наконечником (СРТ) состоит в задавливании наконечника в грунт с постоянной скоростью с помощью комплекта штанг. В процессе зондирования измеряют сопротивления грунта под конусом зонда (сопротивление конуса) и вдоль муфты трения (сопротивление муфты трения). При пьезостатическом зондировании (CPTU) дополнительно измеряют поровое давление вокруг конуса. Результаты испытаний могут быть использованы для интерпретации напластований, классификации типа грунта и оценки геотехнических параметров. Испытания методом статического зондирования регламентируются двумя международными стандартами: ИСО 22476-1 регламентирует практику применения СРТ и CPTU с использованием электрических датчиков; ИСО 22476-12 регламентирует практику применения СРТ с использованием механических измерительных систем.
На практике и в настоящем стандарте использован термин "сопротивление конуса", хотя корректнее использовать термин "сопротивление внедрению конуса", который более точно описывает процесс.
Результаты испытаний, выполненные согласно настоящему стандарту совместно с прямыми исследованиями (например, взятие проб грунта согласно ИСО 22475-1 [2]), особенно подходят для качественного и/или количественного определения грунтового разреза или сравнений с другими полевыми методами испытаний грунтов.
Результаты испытаний статическим зондированием используются для оценки:
- стратификации;
- типа грунта;
- таких геотехнических параметров, как:
- плотность грунта,
- параметры сдвиговой прочности,
- характеристики деформации и консолидации.
Настоящий стандарт устанавливает требования к оборудованию, выполнению испытаний и отчетности по испытаниям статическим и пьезостатическим зондированием электрическим зондом.
Примечание 1 - Настоящий стандарт отвечает требованиям к статическому и пьезостатическому зондированию электрическим зондом, являющимся частью геотехнических исследований и испытаний согласно EH 1997-1 [3] и EN 1997-2 [4].
В рамках статического и пьезостатического зондирования рассматриваются две подкатегории испытаний:
- статическое зондирование электрическим зондом (СРТ), включающее в себя измерение сопротивлений конуса и муфты трения;
- пьезостатическое зондирование (CPTU), включающее в себя те же измерения, что и при СРТ, с дополнительным измерением порового давления.
Пьезостатическое зондирование (CPTU) представляет собой метод статического зондирования (СРТ), но с дополнительным измерением порового давления на одном или нескольких участках поверхности зонда.
Примечание 2 - Методы СРТ и CPTU могут быть также использованы без измерения сопротивлений на муфте трения, но в настоящем стандарте этот вариант не рассмотрен.
Настоящий стандарт устанавливает следующие характеристики:
a) тип испытания методом статического зондирования согласно таблице 1;
b) класс применения согласно таблице 2;
c) длина или глубина зондирования;
d) высотная отметка земной поверхности или подводной земной поверхности в месте статического зондирования с указанием на исходный уровень;
e) расположение точки статического зондирования относительно точки привязки;
d) диссипационные испытания.
Примечание 3 - Настоящий стандарт охватывает применение СРТ на суше и в прибрежной зоне. Дополнительные требования по применению СРТ в прибрежной зоне см. в NORSOK G-001 [8].
Для применения настоящего стандарта необходимы следующие ссылочные документы. Для датированных ссылок применяют только указанное издание ссылочного документа, для недатированных - последнее издание (включая все изменения к нему).
ISO 8503 (all parts), Preparation of steel substrates before application of paints and related products - Surface roughness characteristics of blast-cleaned steel substrates [Подготовка стальной поверхности перед нанесением лакокрасочных материалов и относящихся к ним продуктов. Испытания характеристики шероховатости стальной поверхности после струйной очистки (все части)]
ISO 10012, Measurement management systems - Requirements for measurement processes and measuring equipment (Системы менеджмента измерений. Требования к измерительным процессам и измерительному оборудованию)
В настоящем стандарте применены следующие термины с соответствующими определениями:
3.1.1 средняя шероховатость поверхности (average surface roughness) Ra: среднее отклонение между фактической поверхностью наконечника и средней контрольной плоскостью, расположенной вдоль этого наконечника.
3.1.2 конус (cone): конусообразная нижняя часть наконечника и цилиндрическое удлинение.
Примечание 1 - Когда зонд задавливают в грунт, сопротивление грунта передается через конус на тензодатчик.
Примечание 2 - Настоящий стандарт допускает, что конус является жестким, так что под нагрузкой его деформация является незначительной относительно деформации других частей наконечника.
3.1.3 статическое зондирование (cone penetration test) СРТ: Задавливание зонда в грунт с постоянной скоростью.
3.1.4 наконечник (cone penetrometer): Сборное изделие, включающее в себя конус, муфту трения, любые другие датчики и измерительные системы, а также узел для соединения со штангой.
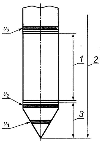
Примечание - Пример наконечников см. на рисунке 1, расположение фильтров - на рисунке 2.
3.1.5 сопротивление конуса (cone resistance): сопротивление грунта внедрению конуса.
3.1.6 откорректированное сопротивление конуса (corrected cone resistance) qt: Измеренное сопротивление конусу qc, откорректированное с учетом порового давления.
3.1.7 откорректированное фрикционное отношение (corrected friction ratio) Rft: Отношение измеренного или откорректированного сопротивления муфты трения к откорректированному сопротивлению конуса, измеренному на той же глубине.
Примечание - Обычно используют измеренное сопротивление муфты трения; однако допускается использовать, если известно, откорректированное сопротивление муфты трения.
3.1.8 откорректированное сопротивление муфты трения (corrected sleeve friction) ft: Измеренное сопротивление муфты трения fs, откорректированное с учетом порового давления.
3.1.9 диссипационное испытание (dissipation test): Измерение изменения порового давления во времени в процессе остановки при испытании зонда, пока наконечник неподвижен.
3.1.10 статическое зондирование электрическим зондом (electrical cone penetration test): Статическое зондирование, при котором измерения выполняют с помощью электрических датчиков, расположенных в наконечнике.
3.1.11 избыточное поровое давление (excess pore pressure) Δu1, Δu2, Δu3: Избыточное поровое давление в окружающем грунте на уровне фильтра, вызванное внедрением наконечника в грунт:
Δu1=u1-u0,
(1)
Δu2=u2-u0,
(2)
Δu3=u3-u0.
(3)
![]() | ![]() | ![]() |
|
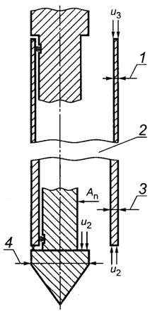
а) Наконечник с силовыми датчиками сжатия конуса и муфты трения |
b) Наконечник с силовым датчиком сжатия конуса и тензодатчиком растяжения муфты трения |
с) Наконечник разностного типа |
1 - силовой датчик сжатия муфты трения; 2 - устройство для защиты датчика конуса от перегрузок; 3 - силовой датчик конуса; 4 - резьба; 5 - уплотнение от проникновения грунта
Рисунок 1 - Примеры наконечников в разрезе
3.1.12 фильтр (filter element): Пористый элемент в наконечнике, повторяющий его геометрическую форму и передающий поровое давление окружающего грунта на датчик порового давления наконечника.
3.1.13 фрикционное отношение (friction ratio) Rf: Отношение измеренного сопротивления муфты трения к измеренному сопротивлению конуса на той же самой глубине.
3.1.14 уширитель (friction reducer): Местное и симметричное увеличение диаметра штанги для уменьшения трения грунта вдоль штанг.
3.1.15 муфта трения (friction sleeve): Часть наконечника, воспринимающая сопротивление грунта на его боковой поверхности.
3.1.16 природное поровое давление (in situ equilibrium pore pressure) u0: Природное поровое давление в грунте на глубине фильтра.
3.1.17 наклон (inclination): Угловое отклонение наконечника от вертикали.
3.1.18 начальное поровое давление (initial pore pressure) ui: Начальное поровое давление, измеренное в начале диссипационного испытания.
3.1.19 измеренное сопротивление конуса (measured cone resistance) qc: Частное деления измеренной силы на конусе Qc на площадь его основания Ас:
qc=Qc/Ac.
(4)
3.1.20 измеренное поровое давление (measured pore pressure) u1, u2, u3: Давление, измеренное в фильтрующем элементе во время задавливания и диссипационного испытания.
Примечание - Поровое давление может быть измерено в нескольких местах (см. рисунок 2):
u1 - на поверхности конуса;
u2 - на цилиндрической части конуса (предпочтительно в зазоре между конической частью конуса и конусом и муфтой трения;
u3 - сразу за муфтой трения.

1 - муфта трения; 2 - наконечник; 3 - конус
Рисунок 2 - Положение фильтров порового давления
3.1.21 измеренное сопротивление муфты трения (measured sleeve friction) fs: Отношение измеренной силы, действующей на муфту трения, Fs, к площади муфты As:
fs=Fs/As.
(5)
3.1.22 измерительная система (measuring system): Все датчики и вспомогательные устройства, используемые для передачи и/или хранения электрических сигналов, генерируемых в процессе статического зондирования
Примечание - Измерительная система обычно включает в себя компоненты для измерения силы (сопротивления конуса, сопротивления муфты трения), давления (порового давления), наклона, временных интервалов и глубины зондирования.
3.1.23 чистый площадной коэффициент (net area ratio) а: Отношение площади поперечного сечения силового датчика или штока наконечника над конусом, где расположен зазор и действует поровое давление, к площади основания конуса Ast.
Примечание - См. рисунок 6.
3.1.24 чистое сопротивление конуса (net cone resistance) qn: Измеренное сопротивление конуса, откорректированное на полное давление вышележащей толщи грунта.
3.1.25 чистое фрикционное отношение (net friction ration) Rfn: Отношение сопротивления муфты трения к чистому сопротивлению конуса, измеренному на той же глубине.
3.1.26 нормализованное избыточное поровое давление (normalized excess pore pressure) U: Отношение избыточного порового давления, полученного в процессе диссипационного испытания, к начальному избыточному поровому давлению.
Примечание - См. 7.4.
3.1.27 глубина зондирования (penetration depth) z: Вертикальная глубина основания конуса относительно фиксированной точки.
Примечание - См. рисунок 3.
3.1.28 длина зондирования (penetration length) l: Сумма длин штанг и наконечника, уменьшенная на превышение конической части, относительно неподвижной горизонтальной плоскости.
Примечание 1 - См. рисунок 3.
Примечание 2 - Неподвижная горизонтальная плоскость обычно соответствует уровню земной поверхности (на берегу или вдали от берега). Эта плоскость может отличаться от точки начала испытания.

а - неподвижная горизонтальная плоскость; b - основание конической части конуса; l - длина зондирования; z - глубина зондирования
Рисунок 3 - Длина и глубина зондирования (схема)
3.1.29 статическое зондирование пьезонаконечником (piezocone penetration test) CPTU: Статическое зондирование электрическим зондом с измерением порового давления вокруг наконечника.
3.1.30 коэффициент порового давления (pore pressure ratio) Bq: Отношение избыточного порового давления при положении фильтра u2 к чистому сопротивлению конуса.
3.1.31 задавливающая штанга (штанга) (push rod): Часть колонны штанг для передачи усилия на наконечник.
3.1.32 контрольный отсчет (reference reading): Показание датчика непосредственно перед надавливанием зонда в грунт или сразу после его извлечения.
Примечание 1 - Когда испытание выполняется на некотором расстоянии от берега, снятие показаний выполняется на морском дне или дне буровой скважины в условиях воздействия давления воды.
Примечание 2 - Когда испытание начинается на берегу с поверхности земли, контрольное показание равно нулевому отсчету.
3.1.33 задавливающее оборудование (thrust machine): Оборудование, которое задавливает наконечник и штанги в грунт с постоянной скоростью.
3.1.34 природное полное вертикальное давление в грунте (total overburden stress) σν0: Давление, вызванное полным весом вышележащих слоев грунта на отметке заложения основания конуса.
3.1.35 смещение нуля (zero drift): Абсолютная разность между нулевым отсчетом (или контрольным отсчетом) измерительной системы в начале и после завершения статического зондирования.
3.1.36 нулевой отсчет (zero reading): Устойчивые показания измерительной системы при нулевой нагрузке на датчики, т.е. параметр, который надо измерить, имеет нулевое значение, в то время как включено любое энергоснабжение, необходимое для работы измерительной системы.
Ac - площадь поперечного сечения основания конуса, мм2;
An - площадь поперечного сечения силового датчика или сердечника, мм2;
As - площадь внешней боковой поверхности муфты трения, мм2;
Asb - площадь поперечного сечения нижней части муфты трения, мм2;
Ast - площадь поперечного сечения верхней части муфты трения, мм2;
а - чистый площадной коэффициент;
Bq - коэффициент порового давления;
Cinc - поправочный коэффициент для учета наклона наконечника относительно вертикальной оси;
dcone - диаметр конуса на заданной высоте, мм;
dc - диаметр цилиндрической части конуса, мм;
dfil - диаметр фильтра, мм;
d2 - диаметр муфты трения, мм;
Δu1, 2, 3 - избыточное поровое давление на участках расположения фильтров 1, 2 и 3, МПа;
Fs - осевая сила, действующая на муфту трения, кН;
fs - измеренное сопротивление муфты трения, МПа;
ft - откорректированное сопротивление муфты трения, МПа;
hc - высота конусообразной части конуса, мм;
he - длина цилиндрического удлинения конуса, мм;
l - длина зондирования, м;
ls - длина муфты трения, м;
Qc - осевая сила, действующая на конус, кН;
qc - измеренное сопротивление конуса, МПа;
qn - чистое сопротивление конуса, МПа;
qt - откорректированное сопротивление конуса, МПа;
Ra - средняя шероховатость поверхности, мкм;
Rf - фрикционное отношение, %;
Rft - откорректированное фрикционное отношение, %;
t - время, с;
t50 - время, необходимое для уменьшения избыточного порового давления на 50 %, с;
U - нормализованное избыточное поровое давление, МПа;
u - поровое давление, МПа;
ui - поровое давление в начальный момент диссипационного испытания, МПа;
ut - поровое давление в момент времени t диссипационного испытания, МПа;
u0 - природное поровое давление, МПа;
u1 - поровое давление на участке 1, МПа;
u2 - поровое давление на участке 2, МПа;
u3 - поровое давление на участке 3, МПа;
z - глубина зондирования, м;
α - измеренный полный угол между вертикальной осью и осью наконечника, град;
β1 - измеренный угол между вертикальной осью и проекцией оси наконечника на фиксированную вертикальную плоскость, град;
β2 - измеренный угол между вертикальной осью и проекцией оси конического пенетрометра на вертикальную плоскость, перпендикулярную плоскости угла β1, град;
σν0 - полное природное давление вышележащей толщи грунта, МПа.
4.1 Наконечник
Наконечник имеет внутренние силовые датчики для измерения сопротивлений грунта, действующих на конус (сопротивление конуса), вдоль боковой поверхности муфты трения (сопротивление муфты трения) и, в зависимости от ситуации, для измерения порового давления в одном или нескольких участках на поверхности наконечника. Внутренний инклинометр служит для измерения наклона зонда и контроля соблюдения 1, 2, 3-го классов применения по таблице 2.
Примечание 1 - В наконечник могут быть включены другие датчики.
Оси всех частей наконечника должны совпадать.
В идеальной ситуации чистый площадной коэффициент должен быть равен 1 с учетом надежности наконечника.
Примечание 2 - Чистый площадной коэффициент а для большинства используемых наконечников изменяется в пределах между 0, 5 и 0, 9.
Площадь поперечного сечения верхнего конца муфты трения не должна быть меньше площади поперечного сечения нижнего конца.
4.2 Допуски
Допуски на размеры являются допустимыми рабочими отклонениями. Заводские допуски при изготовлении наконечника должны быть более жесткими.
Допуски на шероховатость поверхности относятся к заводским допускам.
4.3 Шероховатость поверхности
Шероховатость поверхности, упомянутая в 4.4 и 4.5, относится к средней шероховатости Ra, установленной компаратором профиля поверхности согласно ИСО 8503, или эквивалентом. Целью требования к шероховатости поверхности является предотвращение использования "необычайно гладкого" и "необычайно грубого" конуса или муфты трения. Сталь, включая упрочненную марку стали, подвергается износу в грунте (в отдельных песках), а муфта трения создает свою собственную шероховатость по мере использования. Поэтому очень важно, чтобы заводская шероховатость при изготовлении наконечника приближалась к шероховатости, приобретенной в ходе его использования. Считается, что требование к шероховатости поверхности будет, как правило, удовлетворено на практике для общепринятых типов стали, используемых для производства зондов, и для большинства грунтовых условий (песок и глина). Усилие, требуемое для метрологического подтверждения, может быть, таким образом, ограничено на практике.
4.4 Конус
Конус состоит из конусообразной части и цилиндрического удлинения. Конус должен иметь номинальный угол при вершине 60°. Площадь поперечного сечения конуса должна быть 1000 мм2, что соответствует диаметру 35, 7 мм.
В зависимости от грунтовых условий для специальных целей без применения поправочных коэффициентов могут быть использованы конусы диаметром от 25 мм (Ас = 500 мм2) до 50 мм (Ас = 2000 мм2). В этом случае геометрия конуса должна быть подогнана пропорционально диаметру. Геометрию муфты трения следует подгонять так, чтобы получить аналогичные результаты. Использование конуса с Ас = 1000 мм2 должно быть указано в протоколе испытания.
Диаметр цилиндрической части, мм, должен быть в пределах требования к допустимому отклонению, как показано на рисунке 4:
35, 3≤dc≤36, 0.
Длина цилиндрического удлинения, мм, должна быть в пределах допусков:
7, 0≤he≤10, 0.
Высота конической части, мм, должна быть в пределах допусков:
24, 0≤hc≤31, 2.
Если фильтр поставлен в позиции u2, то диаметр фильтрующего элемента может превышать необходимые габаритные размеры (см. также 4.5 и 4.4).
Конус следует изготовлять с шероховатостью поверхности Ra < 5 мкм.
Конус не допускается применять, если визуальная проверка указывает, что он асимметрично изношен или имеет необычайно грубую поверхность, даже если он во всех иных отношениях удовлетворяет требованиям к допустимым отклонениям.

1 - минимальная форма конуса после износа; 2 - максимальная форма конуса
Рисунок 4 - Требования к допускам при применении наконечника с Ас = 1000 мм2
4.5 Муфта трения
Муфта трения должна быть размещена сразу над конусом. Расстояние вследствие зазоров и уплотнений от попадания грунта должно быть не более 5, 0 мм.
Номинальная площадь поверхности должна быть 15000 мм2. Требования к допустимым отклонениям показаны на рисунке 5.

___________
ad2≥dc; d2<(dc+0, 35); d2<36, 1
bAs=15000 мм2
ls - длина муфты трения; d2 - диаметр муфты трения
Рисунок 5 - Геометрия и допуски муфты трения
Муфты трения с наружным диаметром от 25 до 50 мм могут быть использованы для специальных целей, без поправочных коэффициентов, если они применяются с конусами соответствующего диаметра. Рекомендуемое отношение длины и диаметра составляет 3, 75. Отношения от 3 до 5 являются допустимыми.
Диаметр муфты трения d2 должен быть равен диаметру конуса dc с допуском от 0 до +0, 35 мм.
Геометрия и допуски муфты трения, мм, должны быть в пределах, показанных на рисунке 5:
dc≤d2<(dc+0, 35)
и
d2<36, 1.
Длина цилиндрической части, мм, должна быть в пределах допусков
132, 5<ls≤135, 0.
Муфта трения должна быть изготовлена с шероховатостью поверхности Ra = (0, 4 ± 0, 25) мкм, измеренной в продольном направлении.
Муфту трения не допускается применять, если визуальная проверка указывает, что она имеет царапины, асимметрично изношена или имеет необычайно грубую поверхность, даже если она во всех иных отношениях удовлетворяет требованиям к допустимым отклонениям.
4.6 Фильтр
4.6.1 Общее расположение фильтра
Рекомендуемое положение фильтра - в цилиндрическом удлинении или сразу за конусом, как показано на рисунке 2. Иные расположения также могут быть приемлемыми.
Примечание 1 - Измерения при положениях фильтров, дополнительных по отношению к рекомендованным положениям, могут дать ценную информацию о грунтовых условиях.
Примечание 2 - На измеренное поровое давление влияют тип грунта, природное поровое давление в месте измерения и расположение фильтра на поверхности наконечника. Поровое давление состоит из двух компонентов: природного порового давления в месте измерения и дополнительного или избыточного порового давления, вызванного внедрением наконечника в грунт.
Фильтр не должен влиять на измеренное сопротивление конуса или муфты трения.
Допуски на размеры фильтра являются допустимыми отклонениями в начале испытания.
Система измерения порового давления должна быть насыщенной в начале испытания.
Фильтр должен оставаться насыщенным даже в том случае, когда наконечник задавливается сквозь ненасыщенный слой.
Примечание 3 - Если данное условие невыполнимо, могут потребоваться другие методы, подобные предварительному задавливанию, предварительному бурению или изменению насыщающей жидкости.
Размеры пор пористых фильтров должны составлять от 2 до 20 мкм, соответствующая проницаемость - в пределах между 10-4 и 10-5 м/с. Не следует применять материалы фильтра, которые могут стать закупоренными мелкими частицами.
Примечание 4 - В ходе практического применения для мягкой нормально консолидированной глины хорошо зарекомендовали себя следующие материалы: спеченная нержавеющая сталь или бронза, карборунд, керамика, пористый поливинилхлорид (PVC) и полиэтилен высокой плотности (HDPE).
Наконечник должен быть сконструирован таким образом, чтобы можно было легко заменить фильтр, а его жидкостная камера легко насыщалась (см. 5.4).
Примечание 5 - См. приложение D в части выбора насыщающей жидкости, насыщения системы измерения порового давления и использования щелевых фильтров.
Фильтры следует заменять перед каждым испытанием.
4.6.2 Поровое давление u1
Поверхность фильтра должна сочетаться с формой конуса. Она не должна выступать наружу более чем на 0, 5 мм и не должна углубляться.
Отклонение поверхности фильтра к поверхности конуса следует оценивать визуально.
Фильтрующий элемент следует устанавливать в 1/3 середины конусообразной части.
4.6.3 Поровое давление u2
Фильтрующий элемент должен быть расположен в цилиндрической части конуса или сразу после нее. Диаметр фильтра в начале испытания должен соответствовать диаметру цилиндрической части конуса и муфты трения с пределом допустимого отклонения от 0, 0 до +0, 2 мм. Фильтр может быть больше, но никогда не должен быть меньше диаметра цилиндрической части конуса. Фильтр не должен иметь диаметр, мм, превышающий диаметр муфты трения:
d2-0, 2≤dfil≤d2,
dc≤dfil≤(dc+0, 2).
Для корректировки влияния порового давления на сопротивление конуса фильтр следует располагать в зазоре между конусом и муфтой трения. Так как это практически невозможно сделать на практике, фильтр следует располагать в цилиндрической части конуса как можно ближе к упомянутому зазору.
4.6.4 Поровое давление u3
Диаметр фильтра должен соответствовать диаметру муфты трения с пределом допустимого отклонения от 0, 0 до +0, 2 мм, т.е. диаметр фильтра, мм, не должен быть меньше диаметра муфты трения:
d2≤dfil≤d2+0, 2.
Фильтрующий элемент следует располагать сразу над зазором и как можно ближе к зазору между муфтой трения и расположенной выше частью наконечника.
4.7 Зазоры и уплотнения для защиты от попадания грунта
Зазоры между разными частями наконечника не должны превышать 5 мм по высоте. Уплотнение от попадания грунта должно защищать зазор от проникновения частиц грунта, которые могут влиять на результат измерения.
Уплотнение от попадания грунта должно легко деформироваться относительно силового элемента и других элементов в зонде, для предотвращения передачи значимых сил через зазор.
4.8 Штанги
Штанги должны иметь такой же диаметр, что и конус, на протяжении не менее 400 мм от основания конуса для конусов с площадью основания 1000 мм2. Для конусов других размеров эта дистанция должна быть линейно масштабирована в пропорции к диаметру.
Прямолинейность штанг следует проверять визуально перед каждым испытанием. Она должна быть установлена, как указано в А.1.1, с помощью интервалов, приведенных в таблице А.1.
Трение по штангам может быть снижено путем местного увеличения диаметра штанги (уширитель). Трение может быть также уменьшено с помощью смазки штанг, например буровым раствором, впрыскиваемым во время испытания. Точку впрыскивания следует располагать по меньшей мере на 400 мм выше основания конуса для конусов с площадью основания 1000 мм2. Для конусов других размеров эта дистанция должна быть линейно масштабирована в пропорции к диаметру конуса.
На уровне выше поверхности земли штанги следует направлять роликами, обсадной трубой или подобным устройством, чтобы снизить риск изгиба. В воде или мягких грунтах, во избежание риска изгиба, можно также направлять штанги с использованием обсадной трубы.
Штанги следует выбирать на основе выбранной системы передачи сигнала данных.
Примечание - Штанги могут быть также использованы, чтобы поддерживать и/или предохранять части измерительной системы. При акустической передаче результатов СРТ штанги используют также для передачи данных.
4.9 Измерительная система
4.9.1 Точность
Разрешающая способность измерительной системы должна быть лучше 1/3 необходимой точности для класса применения, приведенного в таблице 2.
Неопределенности в измерительной системе, включая температурные влияния, изложены в приложении Е.
4.9.2 Датчики для сопротивления конуса и муфты трения
Силовой датчик должен быть компенсирован для возможной эксцентричности осевых сил. Датчик регистрации силы бокового трения должен быть сконструирован таким образом, чтобы измерять трение вдоль муфты, а не давление грунта на эту муфту.
Примечание - Для регистрации сопротивлений конуса и муфты трения обычно используются тензометрические силовые датчики.
4.9.3 Датчик порового давления
Этот датчик не должен показывать значимую деформацию во время приложения нагрузки. Он обменивается сигналами с пористым фильтром на поверхности наконечника через наполненную жидкостью камеру. Рекомендуется использовать как можно более жесткую измерительную систему (см. 5.4), чтобы она имела хорошую чувствительность.
Примечание 1 - Датчик порового давления обычно представляет собой датчик давления мембранного типа.
Примечание 2 - Эта система измеряет поровое давление в окружающем грунте во время зондирования.
4.9.4 Датчик наклона
Инклинометр обычно должен иметь измерительный диапазон минимум ± 15° относительно вертикальной оси.
Допускается использовать другие диапазоны измерения, но они могут влиять на максимальную глубину зондирования (см. 4.9.5).
Датчик наклона не требуется, если требуемая глубина зондирования менее 5 м, а также для 4-го класса применения.
4.9.5 Измерительная система для определения длины зондирования
Измерительная система должна включать в себя измерение длины зондирования.
При необходимости измерительная система глубины должна также включать в себя процедуру исправления измерений, если направленные вверх перемещения штанг возникают относительно датчика глубины, причиной этих перемещений является уменьшение силы нажима на штанги.
4.9.6 Первичные данные
Данные испытаний могут быть зарегистрированы как первичные данные.
Примечание - Предпочтительно регистрировать данные как первичные, чтобы они были доступны впоследствии для обработки. Первичные данные представляют собой необработанные данные в виде выходных сигналов датчиков.
4.10 Задавливающее оборудование
Наконечник должен выдерживать задавливание на стандартной скорости (20 ± 5) мм/с, при этом оборудование должно быть пригружено или заанкерено для ограничения перемещений задавливающего оборудования относительно поверхности земли во время задавливания. Вбивание или вращение штанг во время измерений не допускается.
Требуемая реакция (противовес) для задавливающего оборудования может быть обеспечена за счет собственного веса конструкции и/или анкеров в грунте.
Задавливающее оборудование должно обеспечивать значения хода минимум 1 м. В особых обстоятельствах могут быть использованы другие значения длины хода.
5.1 Выбор наконечника
Наконечник выбирают так, чтобы выполнялись требования к испытанию согласно таблице 1.
|
Тип испытания |
Измеряемый параметр |
|
ТЕ1 |
Сопротивления конуса и муфты трения |
|
ТЕ2 |
Сопротивления конуса и муфты трения, поровое давление |
|
Примечание - Статическое зондирование с измерением порового давления в нескольких местах являются вариантом типа ТЕ2. | |
Измерение наклона следует включать в зависимости от класса применения; см. таблицу 2.
5.2 Выбор оборудования и процедур
Под требуемой точностью понимается задача обеспечения возможности использования результатов испытаний. Классы применения были разработаны для руководства и выбора типа испытания статическим зондированием (СРТ), требуемой точности и периодичности регистрации. Для данных грунтовых профилей и результатов СРТ класс применения точно определяет минимальную точность и максимальный промежуток времени между измерениями с соответствующей степенью неопределенности. Использование результатов СРТ определяют на основе профилирования, идентификации и определения параметров грунта.
Оборудование и методики следует выбирать в соответствии с требуемым классом применения, который дан в таблице 2.
Классы применения характеризуются следующим образом:
- 1-й класс применения - предназначен для отложений от мягких до очень мягких. Испытания по 1-му классу обычно не подходят для профилей смешанного типа напластований со слоями грунтов от мягких до плотных (хотя предварительное бурение жестких слоев помогает решить эту проблему). Испытания могут быть выполнены только с использованием пьезонаконечника (CPTU).
- 2-й класс применения - предназначен для точной оценки профилей смешанного типа напластований со слоями грунтов от мягких до плотных (см. примечание 1). Эту оценку выполняют на основе профилирования и идентификации грунта. Интерпретация по инженерным свойствам также возможна с ограничением до индикативного использования для мягких слоев. Тип зонда, который надо использовать, зависит от проектных требований.
- 3-й класс применения - предназначен для оценки профилей смешанного типа напластований со слоями грунтов от мягких до плотных (см. примечание 1). Эту оценку выполняют на основе профилирования и идентификации грунта. Интерпретация на основе инженерных свойств является достижимой для слоев от очень жестких до твердых и от плотных до очень плотных. Для жестких глин или супесей или рыхлых песков может быть дана исключительно индикативная интерпретация. Тип зонда, который следует использовать, зависит от проектных требований.
- 4-й класс применения - предназначен исключительно для индикативного профилирования и идентификации материала в профилях смешанного типа напластований со слоями грунтов от мягких до очень мягких или от рыхлых до плотных. Любая оценка инженерных параметров не может быть выполнена. Испытания следует выполнять зондом с применением электрического наконечника (тип ТЕ1), а измерение наклона допускается не выполнять.
Если добавляются все возможные источники ошибок, то точность зарегистрированных измерений должна быть выше максимальных значений по таблице 2. Анализ ошибок должен включать внутреннее трение, ошибки в получении данных, приложение нагрузки с эксцентриситетом, влияние температуры (окружающей среды и переходных процессов) и размерностные погрешности.
Метрологическое подтверждение, соответствующее статическому зондированию, должно быть в соответствии с ИСО 10012.
Фактическая площадь поперечного сечения основания конуса и фактическая площадь наружной цилиндрической поверхности муфты трения должны быть установлены и зарегистрированы для 1-го класса применения.
Примечание 1 - Профили со смешанным типом напластований грунтов включают в себя обычно плотные и уплотненные грунты, но также возможно включение мягких слоев.
Примечание 2 - Достижимая длина или глубина зондирования зависит от условий грунта, максимальной силы сопротивления внедрению наконечника, секций штанг и соединений между ними, применения уширителя и/или обсадной трубы для штанг и диапазона измерений наконечника.
Если требуется выполнение диссипационных испытаний (см. 5.9), то оборудование для испытаний типа ТЕ2 должно быть выбрано в зависимости от проектных требований.
Примечание 3 - Ошибки при статическом зондировании см. в приложении Е.
|
Класс применения |
Тип испытания |
Измеряемый параметр |
Допустимая минимальная точностьa |
Максимальный интервал между измерениями, мин |
Использование | ||
|
Грунтb |
Интерпретация/оценкаc | ||||||
|
1 |
ТЕ2 |
Сопротивление конуса |
35 кПа или 5 % |
20 |
А |
G, Н | |
|
Сопротивление муфты трения |
5 кПа или 10 % | ||||||
|
Поровое давление |
10 кПа или 2 % | ||||||
|
Наклон |
2° | ||||||
|
Длина зондирования |
0, 1 м или 1 % | ||||||
|
2 |
Сопротивление конуса |
100 кПа или 5 % |
20 | ||||
|
ТЕ1 |
Сопротивление муфты трения |
15 кПа или 15 % |
А |
G, Н* | |||
|
B |
G, Н | ||||||
|
ТЕ2 |
Поровое давлениеd |
25 кПа или 3 % |
С |
G, Н | |||
|
Наклон |
2° |
D |
G, Н | ||||
|
Длина зондирования |
0, 1 м или 1 % | ||||||
|
3 |
Сопротивление конуса |
200 кПа или 5 % |
50 | ||||
|
ТЕ1 |
Сопротивление муфты трения |
25 кПа или 15 % |
А |
G, Н | |||
|
В |
G, Н* | ||||||
|
ТЕ2 |
Поровое давлениеd |
50 кПа или 5 % |
С |
G, Н | |||
|
Наклон |
5° |
D |
G, Н | ||||
|
Длина зондирования |
0, 2 м или 2 % | ||||||
|
4 |
ТЕ1 |
Сопротивление конуса |
500 кПа или 5 % |
50 |
А |
G* | |
|
Сопротивление муфты трения |
50 кПа или 20 % |
В |
G* | ||||
|
С |
G* | ||||||
|
Длина зондирования |
0, 2 м или 2 % |
D |
G* | ||||
|
Примечание - Для чрезмерно мягких грунтов может потребоваться даже более высокая точность. а Допустимая минимальная точность измеренного параметра - наибольшее значение из двух приведенных. Относительная точность применяется к измеренному значению, а не диапазону измерения. b В соответствии с ИСО 14688-2 [1]: А - однородное напластование грунтов от очень мягких до жестких глин и супесей (типично qc < 3 МПа); В - смешанные напластования грунтов от мягких до жестких глин (типично qc ≤ 3 МПа) и песка средней плотности (типично 5 МПа ≤ qc < 10 МПа); С - смешанные напластования грунтов с жесткими глинами (типично 1, 5 МПа ≤ qc < 3 МПа) и очень плотными слоями песка (типично qc > 20 МПа); D - слои глины от очень жестких до твердых (типично qc ≥ 3 МПа) и очень плотные крупнозернистые пески (qc ≥ 20 МПа). c G - профилирование и идентификация материала с низким ассоциированным уровнем неопределенности; G* - индикативное профилирование и идентификация материала с высоким уровнем неопределенности; Н - интерпретация на основе замысла с низким уровнем неопределенности; Н* - интерпретация на основе замысла с высоким уровнем неопределенности. d Поровое давление может быть измерено только при использовании ТЕ2. | |||||||
5.3 Положение и уровень задавливающего оборудования
Расстояние между местами проведения испытаний следует подбирать так, чтобы исключить взаимное влияние.
Между местами испытаний обычно приемлемо расстояние не менее 2 м. Расстояние до скважины должно быть минимум в 20 раз больше диаметра скважины. Некоторые технологии бурения скважин, например бурение с продувкой воздухом, могут требовать большего расстояния. Рытья и устройства выработок вблизи мест испытаний следует избегать.
Задавливающее оборудование должно задавливать штанги таким образом, чтобы осевая линия задавливающей силы была как можно ближе к вертикали. Отклонение от намеченной оси должно быть менее 2°. Ось зонда должна соответствовать оси приложения нагрузки в начале задавливания.
5.4 Подготовка к испытанию
Для наконечников с измерением порового давления фильтр и другие части системы измерения порового давления должны быть насыщены жидкостью до начала испытания в поле. Для сохранения насыщения в процессе испытания следует принять необходимые меры.
Обычно для проведения испытаний в насыщенных грунтах используется свободная от пузырьков воздуха дистиллированная вода. Если испытание будет выполняться в ненасыщенных грунтах, сухих отложениях, набухающих грунтах (например, плотных песках) или если уровень подземных вод находится на больших глубинах, фильтр следует насыщать глицерином или подобной жидкостью.
Насыщение наконечника перед началом зондирования или во время операции в предварительно сделанной скважине может поддерживаться путем наложения резиновой мембраны вокруг фильтра. Во время насыщения и монтажа резиновой мембраны зонд будет испытывать небольшие механические напряжения, в связи с чем датчики могут показывать значения, отличные от нуля.
Примечание 1 - См. приложение Е в случае использования щелевого фильтра.
Примечание 2 - Когда осуществляется задавливание в крупнозернистые материалы, в частях профиля может быть использовано предварительное бурение, если проникновение стопорится в плотных, крупнозернистых слоях или в грунте с большим числом камней. В твердых грунтах предварительное бурение иногда можно использовать в комбинации с обсадными трубами, чтобы не допустить обрушения ствола скважины. В мягких или рыхлых грунтах предварительное бурение допускается использовать, чтобы осуществить задавливание сквозь корку и достигнуть уровня подземных вод. Предварительное бурение может быть выполнено путем забивания фиктивной штанги через плотный слой, для выполнения отверстия и уменьшения сопротивления задавливанию.
Должны быть зарегистрированы нулевые отсчеты сопротивления конуса, муфты трения и, при необходимости, порового давления и наклона наконечника относительно вертикальной оси.
Чтобы получить необходимую точность в зависимости от класса применения, необходимо, чтобы перед началом испытания температура конуса была близка к температуре грунта. Нулевые отсчеты всех датчиков следует снимать, когда наконечник не нагружен и идеально стабилизирован по температуре с грунта. Требуемые значения точности приведены в таблице 2. В приложении А приведены процедуры технического обслуживания, проверок и калибровки.
Примечание 3 - Когда наконечник погружается в землю или воду, то могут возникать небольшие температурные градиенты, если температура воздуха отличается от температуры грунта, что будет влиять на датчики. Поэтому весьма важно оставить зонд в покое до установления равновесия, чтобы перед началом зондирования температурные градиенты могли уменьшиться до нуля. Как правило, наибольшие градиенты начинают возникать через 2-3 мин. Наконечник обычно полностью стабилизируется по температуре после периода от 10 до 15 мин.
5.5 Задавливание наконечника
В ходе испытания наконечник должен задавливаться в грунт с постоянной скоростью (20 ± 5) мм/с. Эта скорость должна контролироваться путем регистрации времени и длины задавливания.
Примечание 1 - Задавливание считается постоянным, даже если оно периодически останавливается для нового хода или монтажа новой штанги. Некоторое задавливающее оборудование может проводить истинное непрерывное задавливание без каких-либо остановок. Это может быть преимуществом, особенно в переслаивающихся супесчаных и глинистых отложениях.
Примечание 2 - Задавливание не считается непрерывным при наличии длительных остановок, например при диссипационных испытаниях (см. 5.9) или вследствие непредвиденного нарушения нормальной работы оборудования.
Примечание 3 - В плотных песчаных и гравийных породах, во избежание повреждения наконечника или штанг, принимают скорости задавливания ниже стандартного значения.
5.6 Использование уширителя
Допускается применение уширителя (см. 3.1.14). Наконечник и штанга должны иметь одинаковый диаметр по меньшей мере на длине 400 мм от основания конуса, прежде чем может быть установлен уширитель для уменьшения трения.
5.7 Периодичность регистрации параметров
Минимальная периодичность регистрации параметров должна быть в соответствии с таблицей 2. Регистрация должна включать в себя также время 1-го и 2-го для классов применения по таблице 2.
Интервал регистрации для разных измеряемых величин можно также выбирать в зависимости от необходимой детализации профиля, например выявления тонких слоев. Обычно используют один и тот же интервал считывания для регистрации сопротивления конуса, муфты трения и порового давления.
Если определенные значения измеряются чаще, чем необходимые интервалы для отчетности согласно таблице 2, то допускается указывать в отчете среднее вычисленное значение. Однако могут быть также применимы другие методы. Использованный метод должен быть указан в отчете.
5.8 Регистрация длины зондирования
Регистрацию длины зондирования конусообразной части конуса следует выполнять согласно требованиям таблицы 2 относительно уровня земли или другой фиксированной опорной системы (но не задавливающего оборудования). Разрешающая способность измерения длины зондирования должна быть не менее 10 мм.
Длину зондирования следует также проверять и фиксировать минимум каждые 5 м для испытаний в соответствии с 1-м классом применения по таблице 2. Для других классов применения длина зондирования должна быть проверена и зафиксирована в конце испытания. Длину зондирования следует проверять без использования датчика глубины.
Задавливание наконечника и штанг прекращают при наступлении одного из следующих событий:
- заданная длина или глубина зондирования была достигнута, см. также ЕН 1997-2:2007, пункт 4.2.2 (3)Р;
- наклон наконечника относительно вертикальной оси превышает диапазон измерения или 15°;
- достигаются допускаемое максимальное усилие вдавливания или максимальная функциональная возможность наконечника или измерительных систем.
Возможное повреждение оборудования также может быть веской причиной конца испытания.
Примечание - Измеренные параметры для наконечника с большим наклоном могут отличаться от значений, которые могли бы быть зафиксированы при вертикальном положении наконечника.
Глубину зондирования следует вычислять на основе длины зондирования и измерений наклона, как показано в приложении В.
5.9 Диссипационное испытание
Если надо оценивать характеристики фильтрации и/или консолидации грунта, то в массиве грунта на предварительно заданных глубинах могут быть выполнены диссипационные испытания. При диссипационном испытании затухание порового давления определяют путем регистрации значений порового давления во времени. В мелкозернистых, с низкой проницаемостью грунтах запись порового давления используют для оценки коэффициента консолидации.
Примечание 1 - Диссипационное испытание может быть использовано для оценки природного порового давления.
Поровое давление и сопротивление конуса должны измеряться во времени. Особенно важно часто фиксировать показания в начале диссипационного испытания. Диссипацию следует выполнять при разжатых штангах.
Если вес оборудования превышает общее сопротивление грунта, то диссипационное испытание может быть выполнено с нагруженными штангами. Если штанги нагружаются во время диссипационного испытания, то это должно быть записано как отклонение от требований настоящего стандарта [7.2.1, перечисление d].
Примечание 2 - Необходимая глубина и минимальная длительность диссипационного испытания зависит от грунтовых условий и цели испытания. Максимальная длительность также является общепринятым контрольным условием для исключения неоправданно длительных прерываний.
Рекомендуемая частота регистрации в течение первой минуты диссипационного испытания составляет по меньшей мере 1 Гц, но далее может быть принята в два раза реже для каждого цикла записи.
Так как t50 - время, используемое в большинстве методов интерпретации, длительность диссипационного испытания следует обычно соотносить по меньшей мере с временем t50, которое необходимо для рассеяния 50 % порового давления (ut ≤ u0 + 0, 5 х Δui).
Если u0 неизвестно, следует выполнять количественную оценку этого значения с осторожностью.
Примечание 3 - Изменение сопротивления конуса в практических условиях является неизбежным. Оно будет зависеть от таких факторов, как тип оборудования и грунтовые условия.
5.10 Завершение испытания
Задавливание наконечника и штанг должно быть закончено, когда:
- достигнута требуемая длина зондирования или
- достигнуто максимальное усилие вдавливания или максимальная функциональная возможность наконечника или измерительной системы.
Возможное повреждение оборудования также может быть веской причиной завершения испытания.
Контрольные отсчеты измеренных параметров должны быть записаны после извлечения наконечника из грунта и, при необходимости, после очистки наконечника. Если дрейф нуля измеренных параметров больше допустимой минимальной точности согласно требуемому классу испытания по таблице 2, результаты следует не принимать во внимание или испытанию может быть назначен нижний класс. После завершения испытания осматривают наконечник и делают пометку о чрезмерном износе или повреждении.
Примечание - Дрейф нуля, установленный на основании данных при нулевой нагрузке перед испытанием и после очистки, является показателем правильности функционирования оборудования и возможности соблюдения требований таблицы 2. Результаты испытаний при нулевой нагрузке на неочищенный наконечник важны для интерпретации результатов испытаний.
При дрейфе нуля, при необходимости, измеренные параметры могут быть откорректированы.
5.11 Проверки и калибровки оборудования
Все оборудование должно проходить периодическое техническое обслуживание, процедуры проверки и калибровки, как указано в приложении А. Периодичность калибровки должна быть такой, чтобы точность, необходимая для класса применения, могла быть подтверждена.
Примечание - Проверка необходимой точности может быть сделана на основе протокола работы оборудования.
5.12 Требования безопасности
Необходимо соблюдать правила обеспечения безопасности, действующие на национальном уровне, в частности правила:
- охраны здоровья персонала и безопасного оборудования;
- очистки воздуха при работе в ограниченных пространствах;
- обеспечения безопасности оборудования.
6.1 Измеряемые параметры
Должны быть установлены следующие параметры:
fs - измеренное сопротивление муфты трения;
l - длина зондирования;
qc - измеренное сопротивление конуса;
u - поровое давление, одно или больше (для ТЕ2):
u1 - поровое давление на поверхности конуса,
u2 - поровое давление на цилиндрической части конуса,
u3 - поровое давление сразу над муфтой трения;
α - измеренный полный угол между вертикальной осью и осью наконечника.
6.2 Корректировка параметров
Зарегистрированные значения, которые не являются репрезентативными из-за прерывания зондирования, не допускается учитывать.
Примечание 1 - Давление окружающей воды будет влиять на измеряемые сопротивления конуса и муфты трения. Это объясняется воздействием давления воды в зазорах между конусом и муфтой трения и в зазоре над муфтой трения.
Когда давление воды измеряют с использованием фильтра у цилиндрического удлинения конуса u2, измеренное сопротивление конуса должно быть откорректировано по формуле
qt=qc+u2(1-a),
(6)
где qt - откорректированное сопротивление конуса, МПа;
qc - измеренное сопротивление конуса, МПа,
u2 - поровое давление воды в цилиндрической части удлинения конуса (считается равным поровому давлению в зазоре между конусом и муфтой), МПа;
а - чистый площадной коэффициент, определяемый по формуле
a=An/Ac,
здесь Ac - площадь поперечного сечения конуса (см. рисунок 6), мм2;
An - площадь поперечного сечения силового датчика или сердечника (см. рисунок 6), мм2.

1 - площадь поперечного сечения (верхняя часть) Ast; 2 - площадь поверхности муфты трения As; 3 - площадь поперечного сечения (нижняя часть) Asb; 4 - площадь поперечного сечения Ас
Рисунок 6 - Корректировка сопротивлений конуса и муфты трения, вызванная влиянием эффекта неравных концевых площадей
Измерения следует корректировать в том случае, если измеряется u2.
Примечание 2 - Величину u2 можно оценивать из u1 или u3 на основе эмпирических соотношений, чтобы получить откорректированное сопротивление конуса. В мягких глинах и супесях корректировка может быть существенной; если фиксируемые сопротивления конуса используют для интерпретации механических параметров, следует предпочтительно измерять u2.
Площадной коэффициент не может быть установлен исключительно из геометрических соображений, его следует устанавливать путем испытаний в барокамере или аналогичным образом.
Примечание 3 - На измеренное сопротивление муфты трения оказывает влияние давление окружающей воды. В связи с тем, что измерение порового давления u3 над муфтой трения не является стандартной практикой, обычно используется сопротивление муфты трения fs без корректировки. Возможный метод коррекции для зарегистрированного сопротивления муфты трения приведен в приложении С.
Чтобы удовлетворять требованиям класса применения, могут потребоваться различные другие поправки, которые учитывают температурные влияния, площадь поперечного сечения конуса, сжатие штанг и подъем задавливающего оборудования.
6.3 Рассчитываемые параметры
На основе измеренных параметров должны быть вычислены следующие параметры:
Rf - фрикционное отношение;
z - глубина зондирования.
Корректировку наклона следует выполнять для 1-го и 2-го классов применения согласно процедуре, приведенной в приложении В, аналогично вычислению глубины зондирования на основе длины зондирования.
На основе откорректированных параметров должен быть вычислен следующий параметр:
Rft - откорректированное фрикционное отношение.
7.1 Общие положения
При изложении результатов испытаний информацию следует представлять легкодоступной для ознакомления и анализа, например в табличном виде или в виде стандартного заархивированного файла. Представление в цифровой форме разрешается для облегчения обмена данными.
В 7.2 указана информация, которая требуется в следующих документах:
- полевой отчет с результатами испытаний;
- протокол испытаний;
- таблицы и графики результатов испытаний.
Полевой отчет в окончательном варианте, выполненный на месте проведения исследований, и протокол испытаний должны содержать информацию, приведенную в 7.2. Результаты испытаний должны быть изложены таким образом, чтобы третья сторона была способна их понять и проверить.
В процессе статического зондирования следует регистрировать особенности или отклонения от настоящего стандарта, которые могут влиять на результаты измерений и соответствующую длину зондирования.
7.2 Отчет с результатами испытаний
7.2.1 Общая информация
|
Полевой отчет |
Протокол испытаний |
Графики | ||
|
а) |
Ссылка на настоящий стандарт |
- |
x |
x |
|
b) |
Класс применения |
x |
x |
x |
|
с) |
Тип испытания (ТЕ1 или ТЕ2) |
x |
x |
x |
|
d) |
Особенности или отклонения от настоящего стандарта |
x |
x |
- |
|
е) |
Компания, выполняющая испытание |
- |
x |
x |
|
f) |
Фамилия и подпись оператора оборудования, выполняющего испытание |
x |
- |
- |
|
g) |
Фамилия и подпись лица, ответственного за проект |
- |
x |
- |
|
h) |
Глубина уровня подземных вод (если регистрировалась) |
x |
x |
- |
|
i) |
Информация о поровом давлении (например, от пьезометров), если имеет значение и доступна |
- |
x |
- |
|
j) |
Глубина предварительного бурения или проходки траншеи |
x |
x |
x |
|
k) |
Тип встречающихся грунтов (по возможности) |
x |
x |
- |
|
l) |
Глубина и возможные причины любых прерываний (подобных диссипационному испытанию) зондирования |
x |
x |
- |
|
m) |
Примененные критерии остановки, подобные заданной глубине, максимальному усилию зондирования или наклону |
x |
x |
- |
|
n) |
Метод тампонажа скважины (если применяется) |
x |
- |
- |
|
o) |
Наблюдения, сделанные на испытании, например: - присутствие камней; - шум от штанг; - падения; - изогнутые штанги; - ненормальный износ; - значимые изменения нуля или контрольных считываний |
x |
x |
- |
|
p) |
Специальные приготовления, которые отступают от общепринятой схемы монтажа задавливающего оборудования (подобные самоподъемной платформе) |
x |
x |
- |
7.2.2 Информация о местоположении
|
Полевой отчет |
Протокол испытаний |
Графики | ||
|
а) |
Идентификация испытания |
x |
x |
x |
|
b) |
Высотная отметка места испытания |
- |
x |
x |
|
c) |
Местные или общие координаты |
- |
x |
x |
|
d) |
Система отсчета и допустимые отклонения |
- |
x |
- |
|
е) |
Опорная высотная отметка к известному исходному уровню |
- |
x |
x |
В контракте должна быть определена персональная ответственность за предоставление координат и уровней точек, где проводится исследование.
7.2.3 Испытательное оборудование
|
Полевой отчет |
Протокол испытаний |
Графики | ||
|
а) |
Тип наконечника |
x |
- |
x |
|
b) |
Геометрия и размеры наконечника |
x |
- |
- |
|
с) |
Тип использованного задавливающего оборудования, максимальное усилие вдавливания, применение домкратов и анкеров |
x |
- |
- |
|
d) |
Изготовитель наконечника |
x |
x |
- |
|
e) |
Идентификационный номер наконечника |
x |
x |
- |
|
f) |
Диапазоны измерения датчиков |
x |
x |
- |
|
g) |
Дата последней калибровки датчиков |
x |
x |
- |
|
h) |
Местоположение фильтра |
x |
- |
x |
|
i) |
Чистый площадной коэффициент |
x |
- |
- |
7.2.4 Процедура испытания
|
Полевой отчет |
Протокол испытаний |
Графики | ||
|
a) |
Дата испытания |
x |
x |
x |
|
b) |
Время начала испытания |
x |
x |
- |
|
c) |
Время проведения испытания |
x |
x |
- |
|
d) |
Глубина в начале зондирования относительно земной поверхности |
- |
x |
x |
|
e) |
Насыщаемая жидкость, используемая в системе измерения порового давления (если применялся пьезонаконечник) |
x |
x |
- |
7.2.5 Результаты испытания (в зависимости от класса применения)
|
Полевой отчет |
Протокол испытаний |
Графики | ||
|
а) |
Измеренные и вычисленные параметры согласно 6.1 и 6.3 |
x |
x |
x |
|
b) |
Откорректированные параметры согласно 6.2 |
- |
x |
- |
|
с) |
Нулевой и контрольный отсчеты измеренных сопротивлений конуса, муфты трения и, при необходимости, порового давления до и после испытания, а также дрейф нуля (в технических блоках) для 1-го и 2-го классов применения |
x |
x |
- |
|
d) |
Корректировка, выполненная во время обработки данных (например, дрейфа нуля) |
- |
x |
- |
|
е) |
Измерения природного порового давления (если регистрируется) |
x |
x |
- |
|
f) |
Наклон наконечника относительно вертикальной оси, до максимальной глубины, с интервалом по глубине 1 м, при необходимости |
- |
x |
- |
7.3 Представление результатов испытаний
В графической презентации результатов испытаний используют следующий масштаб:
- глубина зондирования z ... цена одного деления шкалы - 1 м;
- сопротивление конуса qc, qt ... цена одного деления шкалы - 2 МПа или 0, 5 МПа;
- сопротивление муфты трения fs, ft ... цена одного деления шкалы - 0, 5 МПа;
- поровое давление u ... цена одного деления шкалы - 0, 2 МПа или 0, 02 МПа;
- коэффициент трения Rt, Rft ... цена одного деления шкалы - 2 %;
- коэффициент порового давления Bq ... цена одного деления шкалы - 0, 5.
Одно деление шкалы рекомендуется принимать 1 см.
В презентации результатов допускается использовать различное масштабирование, если рекомендованное масштабирование использовано в дополнительном графике. Рекомендованное масштабирование может быть, например, использовано для общей презентации, тогда как выбранные части могут быть представлены для подробного изучения с использованием разного масштабирования. Для глинистых пород и в случае, когда результаты испытаний надо использовать для интерпретации параметров грунта (1-й и 2-й классы применения, см. таблицу 2), крайне важно использовать увеличенное масштабирование при представлении результатов испытаний.
Масштабирование координатной оси для результатов диссипационного испытания (сопротивление конуса qc, поровое давление u и время t) должно соответствовать измеренным значениям.
Примечание - Общепризнанный формат представления предусматривает использование линейных шкал для qc и u и логарифмическую шкалу для t.
7.4 Представление результатов испытаний и рассчитываемых параметров
Результаты испытаний должны быть представлены как непрерывные профили в виде функции глубины зондирования (для 1, 2 и 3-го классов применения) или длины зондирования (для 4-го класса применения).
Результаты испытаний (согласно классу применения и типу испытания), которые должны быть представлены:
- сопротивление конуса - глубина/длина ... qc (МПа) - z (м);
- сопротивление муфты трения - глубина/длина ... fs (МПа) - z (м);
- измеренное поровое давление - глубина/длина ... u1, 2, 3 (МПа) - z (м);
- наклон - глубина/длина ... α (*) - z (м) или как таблица в функции глубины.
Глубина зондирования - измеренная длина зондирования с поправкой на измеренный наклон.
Единицами измерения могут быть (килопаскали), в зависимости от масштаба измеренных параметров.
Представление результатов статического зондирования согласно 1-му и 2-му классам применения должно, если требуется, включать по меньшей мере данные в табличной форме в соответствии с 7.1.
Для 1-го класса применения откорректированные сопротивления конуса qt и муфты трения ft должны быть представлены графически. Откорректированные параметры следует использовать в дальнейшей обработке данных. Исключение делается для испытания крупнозернистых материалов в случае, когда влияние поправки конечной площади незначительно.
Природное поровое давление в месте проведения испытания допускается оценивать на основе местоположения уровня подземных вод или путем местных измерений порового давления (предпочтительно). Поровое давление допускается также оценивать по результатам испытаний путем выполнения диссипационных испытаний в проницаемых слоях. Полное природное давление от собственного веса грунта может быть установлено по измерениям природной плотности на месте проведения испытания или по неповрежденным образцам в лаборатории. Если корректная информация отсутствует, то оценка плотности может быть получена путем использования классификационных карт, составленных на основе результатов статического зондирования и местного опыта.
Для дальнейшей обработки измеренных данных используют следующие формулы в зависимости от ситуации:
- Избыточное поровое давление ... Δu0 = u - u0;
- Чистое сопротивление конуса ... qn = qt – σν0;
- Фрикционное отношение ... Rf=(fs/qc)·100 %;
- Откорректированное фрикционное отношение ... Rft=(fs/qc)·100 % (если известно, то вместо fs должно быть использовано вместо ft);
- Коэффициент порового давления ... Bq = (u2 - u0)/(qt - σν0) = Δu2/qn;
- Нормализованное избыточное поровое давление ... U = (ut - u0)/(ui - u0).
Для обработки результатов испытаний требуется знание следующих параметров:
- природное начальное поровое давление в зависимости от глубины ... u0, МПа, в зависимости от z, м;
- Полное бытовое давление от собственного веса грунта в зависимости от глубины ... σν0, МПа, в зависимости от z, м.
Эти параметры и дополнительно вычисленные значения могут быть использованы как для идентификации грунтов, так и в качестве основных входных значений для расчета инженерных параметров.
Фрикционное отношение должно быть представлено на графике. Представление других вычисленных параметров определяет заказчик, так как они зависят от интерпретации.
Приложение А
(обязательное)
А.1 Техническое обслуживание и проверки
А.1.1 Линейность штанг
Перед проведением испытания необходимо проверить линейность штанг одним из следующих методов:
- удерживают штангу в вертикальном положении и вращают ее. Если создается впечатление, что штанга качается из стороны в сторону, ее прямолинейность не является приемлемой;
- катают штангу на плоской поверхности. Если создается впечатление, что штанга качается из стороны в сторону, то ее прямолинейность не является приемлемой;
- пропускают прямую полую трубу, которая немного длиннее, по штанге. Если штанга может пройти внутри трубы без задержки, ее прямолинейность является приемлемой.
При появлении признаков изгиба использование штанг следует временно исключить.
Допускается использовать другие методы проверки прямолинейности.
Примечание - Для 4-го класса не предусматривают применение инклинометра, поэтому крайне важно контролировать прямолинейность штанг.
А.1.2 Износ наконечника
Износ конуса и муфты трения следует периодически проверять (см. таблицу А.1) для гарантии того, что допуск удовлетворяет требованиям (см. 4.4 и 4.5). В этом случае для контроля может быть использован стандартный геометрический шаблон, подобный новому неиспользованному наконечнику.
А.1.3 Зазоры и уплотнения
Зазоры и уплотнения между разными частями наконечника следует периодически проверять (см. таблицу А.1). Особенно тщательно следует проверять уплотнения на предмет наличия частиц грунта и чистоты. Зонд должен быть очищен перед отправкой на хранение.
А.1.4 Система измерения порового давления
При выполнении измерений порового давления фильтр должен иметь достаточную проницаемость для удовлетворительного отклика (см. 4.6.1). До начала зондирования следует полностью насытить систему порового давления, и это насыщение следует поддерживать до тех пор, пока наконечник не задавится до верха подземных вод или водонасыщенного грунта. Интервалы технического обслуживания см. в таблице А.1.
Перед началом каждого испытания фильтр необходимо осмотреть визуально на повреждение, износ и закупорку. Перед каждым испытанием рекомендуется заменять фильтр и выполнять процедуру насыщения.
А.1.5 Техническое обслуживание
Для технического обслуживания и калибровки оборудования необходимо следовать таблице А.1 и соблюдать инструкции изготовителя оборудования.
|
Регулярные проверки |
Начало испытания |
Конец испытания |
Каждые 6 мес |
|
Вертикальность задавливающего оборудования |
x |
- |
- |
|
Датчик глубины |
- |
- |
x |
|
Штанги |
x |
- |
- |
|
Износ |
x |
x |
- |
|
Зазоры и уплотнения |
x |
x |
- |
|
Нулевые значения |
x |
x |
- |
|
Калибровка |
- |
- |
ха |
|
Фильтр |
x |
x |
- |
|
Скорость зондирования |
- |
- |
x |
|
Функции безопасности |
- |
- |
x |
|
a Также в интервалах во время долговременного испытания, см. А.2.1. | |||
А.2 Калибровка
А.2.1 Общие процедуры
Новый наконечник должен быть калиброван в отношении:
- чистого площадного коэффициента, используемого для коррекции измеренных сопротивлений конуса и муфты трения;
- влияния внутреннего трения, ограничивающего движение отдельных частей;
- возможных помех (электрическая наводка и т.д.);
- влияния температуры окружающей среды.
Калибровки и проверки являются индивидуальными для каждого наконечника. В процессе эксплуатации они будут показывать отклонения, причиной которых являются небольшие изменения работоспособности и геометрии наконечника. В этом случае следует проводить повторную калибровку наконечника. Калибровку следует делать периодически, по меньшей мере каждые 6 месяцев. Если из записей эксплуатации следует, что значимые отклонения от нормальной работы не регистрируются, то допускаются более длительные периоды между калибровками. В зависимости от требований класса применения и дрейфа нуля при нулевой нагрузке может быть необходима более частая калибровка. Во время долговременного испытания калибровку допускается проводить чаще.
В калибровку следует включать всю измерительную систему, т.е. установленные преобразователи, систему получения данных, кабели и т.д. Предпочтительно выполнять калибровку как "калибровку системы", т.е. с использованием одной и той же системы получения данных, включая кабели, как при полевом испытании, осуществляя проверку возможных погрешностей, присущих определенной системе. Во время полевых работ следует осуществлять периодический контроль функций оборудования. Такой функциональный контроль следует проводить не меньше одного раза на одном месте и/или раз в день. Кроме того, функциональный контроль и (возможно) повторную калибровку следует делать в том случае, если возможна перегрузка соответствующих датчиков (потеря калибровки).
В общем случае необходимо соблюдать требования ИСО 10012.
А.2.2 Калибровка сопротивлений конуса и муфты трения
Сопротивления конуса и муфты трения калибруют, увеличивая и снижая ступенями осевую нагрузку на конус и муфту трения. Калибровки сопротивлений конуса и муфты трения могут быть проведены раздельно, но другие датчики следует всегда проверять отдельно для проверки того, что приложенная нагрузка на них не влияет. Калибровку выполняют для различных измерительных диапазонов с особым вниманием к диапазонам, актуальным для предстоящих испытаний.
Новую калибровку следует проводить после выполнения статического зондирования в трудных условиях, если зарегистрирован существенный дрейф нуля (например, если наконечник был нагружен близко или сверх его максимальной способности).
При нагружении исключительно муфты трения конус заменяют специально адаптированным калибровочным блоком, предназначенным для передачи осевых сил на нижнюю концевую площадь муфты трения.
При калибровке нового наконечника силовые датчики следует подвергнуть воздействию от 15 до 20 повторяющихся циклов путем приложений нагрузки вплоть до максимального значения, до проведения действительной калибровки.
Примечание - Требования к отдельным процедурам калибровки для конуса и муфты трения, как правило, не предусматривают разборку наконечников.
А.2.3 Калибровка порового давления и чистого площадного коэффициента
Калибровку системы измерения порового давления и определение влияния порового давления на сопротивления конуса, муфты трения и чистый площадной коэффициент а следует проводить в специально разработанной барокамере (см. рисунок А.1). Барокамеру следует конструировать таким образом, чтобы нижняя часть потенциометра могла быть установлена в камере и герметизирована выше муфты трения. Закрытую часть наконечника следует подвергнуть давлению в камере, увеличивая давление приращениями. При этом регистрируются сопротивления конуса, муфты трения и поровое давление. Таким образом, получают кривую калибровки для преобразователя порового давления, а чистый площадной коэффициент может быть установлен по кривым отклика для сопротивлений конуса и муфты трения. Барокамера также эффективна для проверки отклика датчика порового давления на циклические изменения давления.
А.2.4 Калибровка влияния температуры окружающей среды
Наконечник должен быть калиброван с учетом того, что на него влияет температура окружающей среды на разных температурных уровнях (например, путем размещения конического пенетрометра в резервуарах с водой разной температуры). Сигналы датчика должны регистрироваться до тех пор, пока значения не станут стабильными. По этим результатам получают данные об изменениях нулевых показаний в градусах Цельсия, а также уточняют опытным путем время, необходимое для температурной стабилизации при исследовании в полевых условиях. Это важно для правильной подготовки испытательного оборудования перед началом статического зондирования.
А.2.5 Калибровка датчика длины зондирования
Датчик глубины следует калибровать по меньшей мере каждые 6 мес и после ремонта.

1 - зажим; 2 - кольцевое уплотнение; 3 - напорная линия
Рисунок А.1 - Барокамера для определения чистого площадного коэффициента а
А.2.6 Калибровка инклинометра
Инклинометр наконечника должен быть калиброван в диапазонах измерений углов по отношению к вертикали в двух ортогональных направлениях. Калибровку следует проводить с интервалом 1° для 1-го и 2-го класса применения и 2° для 3-го класса применения. По этим результатам проверяют линейность датчика.
Приложение В
(обязательное)
Для 1-го и 2-го классов применения глубина статического зондирования должна быть скорректирована на отклонение от вертикали по формуле
,
(В.1)
где z - глубина зондирования, м;
l - длина зондирования, в м;
Cinc - поправочный коэффициент, учитывающий отклонение наконечника от вертикальной оси.
Поправочный коэффициент Cinc, учитывающий отклонение наконечника от вертикальной оси, вычисляют по формулам:
a) для одноосного инклинометра
Cinc=cosα,
(В.2)
где α - измеренный полный угол между вертикальной осью и осью наконечника, град.
b) для двухосного инклинометра
,
(В.3)
где β1 - угол между вертикальной осью и проекцией оси наконечника на вертикальную плоскость, град;
β2 - угол между вертикальной осью и проекцией оси наконечника на вертикальную плоскость, перпендикулярную плоскости угла β1, град.
Приложение С
(справочное)
Откорректированное сопротивление муфты трения может быть установлено из следующего уравнения:
,
(С.1)
где ft - откорректированное сопротивление муфты трения, МПа;
fs - измеренное сопротивление муфты трения, МПа;
As - площадь боковой поверхности муфты трения, мм2;
Asb - площадь поперечного сечения нижней части муфты трения, мм2;
Ast - площадь поперечного сечения верхней части муфты трения, мм2;
u2 - поровое давление, измеренное между муфтой трения и конусом, МПа;
u3 - поровое давление, измеренное над муфтой трения, МПа.
Эта корректировка требует знания значений u2 и u3, поэтому эти параметры следует измерить, если необходимо вносить рассматриваемую поправку.
Примечание - Значение u3 может быть вычислено с использованием корреляций, приведенных в докладе 42 SGI [7].
Эти корректировки крайне важны при исследовании мелкозернистых грунтов в случае, когда избыточное поровое давление во время проникновения может быть значительным. Откорректированные значения результатов испытания следует использовать для целей интерпретации и классификации.
Приложение D
(справочное)
D.1 Насыщение
Как правило, при проведении испытания в насыщенных грунтах используют дистиллированную воду без пузырьков воздуха. При испытаниях в ненасыщенных грунтах, например сухих и набухающих (подобных плотным пескам), фильтр следует насыщать глицерином без включений воздуха или другой жидкостью, которая облегчает поддержание насыщения на протяжении испытания. При использовании воды без пузырьков воздуха фильтры следует кипятить не менее 15 мин. Фильтр следует охладить в воде перед хранением в герметичном контейнере. Следует готовить необходимую при монтаже перед использованием воду без воздуха в большем объеме. Кипячение фильтров может быть недопустимым для некоторых типов фильтров (подобных полиэтилену высокой плотности). Если используется глицерин, то сухие фильтры помещаются непосредственно в жидкость и обрабатывают вакуумом приблизительно 24 ч. Следует обрабатывать подобным образом жидкость в большем объеме и хранить в герметичном контейнере.
Камера преобразователя обычно насыщается той же самой жидкостью, которая используется для фильтра. Это может быть сделано путем прямого впрыскивания жидкости в камеру или путем обработки снятого наконечника в вакуумной камере. Вакуум следует применять до тех пор, пока не будут удалены воздушные пузырьки из наконечника (приблизительно от 15 до 30 мин).
Окончательный монтаж фильтра и уплотнений следует выполнять с наконечником, погруженным в жидкость насыщения. После монтажа следует проверить посадку фильтра. Высоту фильтра следует делать достаточной, чтобы фильтр не был ослабленным, но в тоже время небольшой, чтобы фильтр можно было проворачивать пальцами. Этим предотвращаются чрезмерные механические напряжения в соединении вокруг фильтра, а также снижается любое влияние на измерения. После установки фильтра рекомендуется покрыть фильтрующий элемент резиновой мембраной, которая будет разрываться при контакте зонда с грунтом. Допускаются также альтернативные способы.
Примечание - Во время насыщения и монтажа резиновой мембраны наконечник будет подвергаться воздействию небольших механических воздействий, и датчики могут показывать значения, отличные от нуля.
D.2 Щелевой фильтр
В этой системе поровое давление измеряется открытой системой с щелью 0, 3 мм, расположенной сразу за конической частью конуса. Поэтому пористый фильтр между грунтом и напорной камерой становится излишним. Эта щель поддерживает связь с напорной камерой по нескольким каналам. Освобожденная от воздуха вода, антифриз или другая жидкость могут быть использованы для насыщения напорной камеры. В то же время каналы насыщаются желатином или аналогичной жидкостью.
Использование щелевого фильтра может уменьшать время, необходимое для подготовки наконечника. Кроме того, эта система порового давления поддерживает свое насыщение лучше при прохождении через ненасыщенные зоны в грунте. Датчик давления подобно пьезонаконечникам с обычным пористым фильтром регистрирует изменения давления в насыщенной системе. Что касается других наконечников, требования для достаточного насыщения являются такими же, поэтому во время зондирования получают адекватный отклик порового давления.
Приложение Е
(справочное)
К источникам проблем в испытаниях CPT/CPTU относят, как минимум, следующие:
- влияние температуры окружающей среды и переходных процессов;
- неправильные калибровочные параметры, например потеря калибровки вследствие изгиба или повреждения;
- недостаточное или плохое насыщение;
- неправильная передача нагрузок из-за грязи в зазорах и уплотнениях;
- ошибка в системе получения данных;
- отклонение геометрии конуса;
- сдвиги нуля.
Даже при соблюдении требований настоящего стандарта при проведении статического зондирования могут возникать проблемы, связанные с измерениями, вызванные главным образом влиянием температурных явлений в наконечнике в процессе испытания.
К данным температурным явлениям относятся следующие:
- температура окружающей среды; состояние, когда температура наконечника изменяется на постоянное значение без температурных градиентов вдоль тела зонда. В этих обстоятельствах может быть применена система компенсации;
- температуры переходных процессов; изменение температуры наконечника (подобно нагреву, вызванному силами трения, действующими на наконечник) с градиентами вдоль тела зонда, которые не могут быть компенсированы.
Компенсация наконечника, обусловленная влиянием температуры окружающей среды, может быть достигнута. Так, влияние температуры окружающей среды можно исключить путем настройки наконечника на температуру грунта. Влияние переходных процессов не может быть компенсировано; только специальные оборудование и процедуры могут уменьшить эти влияния (например, погружение наконечника из слоя плотного песка в слой мягкой глины позволяет рассеивать высокую температуру наконечника).
В плотных и очень плотных слоях в коническом пенетрометре могут возникать температурные градиенты приблизительно 1 °С на сопротивление конуса в 1 МПа с неопределенными градиентами в корпусе пенетрометра.
Для специальных проектов с СРТ в мягких - очень мягких глинистых породах и со специальным оборудованием, процедурами и измерениями температуры в наконечнике (необязательно, если испытание проходит в мягкой глине) может быть достигнут 1-й класс применения.
Для операций вдали от берега со скважинным оборудованием для определения выходного сигнала нулевой нагрузки наконечника неопределенность может достигать значения от 100 до 200 кПа в зависимости от глубины испытания и режима подачи бурового раствора в бурильную колонну.
Метрологическое подтверждение, приемлемое при статическом зондировании, следует выполнять в соответствии с ИСО 10012.
Дрейф нуля в течение испытания показывает, что заданный класс применения не был достигнут. Если дрейф нуля превышает границы точности класса применения, то результаты могут быть назначены по классу применения ниже.
Представления о проблеме можно составить в результате ее анализа. Для целей данного анализа погрешности могут быть представлены в соответствии с WECC DOC 19-1990 [5] и ИСО 10012.
Приложение ДА
(справочное)
Таблица ДА.1
|
Обозначение ссылочного международного стандарта |
Степень соответствия |
Обозначение и наименование соответствующего национального стандарта |
|
ISO 8503 (all parts) |
- |
* |
|
ISO 10012 |
IDT |
ГОСТ Р ИСО 10012-2008 "Менеджмент организации. Системы менеджмента измерений. Требования к процессам измерений и измерительному оборудованию" |
|
* Соответствующий национальный стандарт отсутствует. До его принятия рекомендуется использовать перевод на русский язык данного международного стандарта. Перевод данного международного стандарта находится в Федеральном информационном фонде стандартов. Примечание - В настоящей таблице использовано следующее условное обозначение степени соответствия стандарта: - IDT - идентичный стандарт. | ||
Библиография
|
[1] |
ISO 14688-2, Geotechnical investigation and testing - Identification and classification of soil - Part 2: Principles for a classification (Геотехнические исследования и испытания. Идентификация и классификация грунтов. Часть 2. Принципы классификации) |
|
[2] |
ISO 22475-1, Geotechnical investigation and testing - Sampling methods and groundwater measurements - Part 1: Technical principles for execution (Геотехнические исследования и испытания. Методы отбора проб бурением и шурфованием грунта и измерения подземных вод. Часть 1. Техническое выполнение) |
|
[3] |
EN 1997-1, Eurocode 7: Geotechnical design - Part 1: General rules (Еврокод 7. Геотехническое проектирование. Часть 1. Общие правила) |
|
[4] |
EN 1997-2, Eurocode 7: Geotechnical design - Part 2: Ground investigation and testing (Еврокод 7. Геотехническое проектирование. Часть 2. Исследования и испытания грунтов) |
|
[5] |
WECC DOC, 19-1990*, Guidelines for the Expression of the Uncertainty of Measurements in Calibrations (Руководства для выражения неопределенности измерения при калибровках) |
|
[6] |
Т. Lunne, Р.K. Robertson and J.J.M. Powell, Cone penetration testing in geotechnical practice, Blackie Academic/Routledge Publishing, New York, 1997 |
|
[7] |
SGI Report 42, R. Larsson and M. Mulabdic, Piezocone tests in clay, 1991 |
|
[8] |
NORSOK G-001, revision 2, October 2004, Marine soil investigations (Исследования морских грунтов) |
──────────────────────────────
* Отменен. Действует ИСО/МЭК 98-3:2008. На территории Российской Федерации действует ГОСТ Р 54500.3-2011/руководство ИСО/МЭК 98-3:2008, идентичный ИСО/МЭК 98-3:2008.





