ГОСТ Р ИСО 22476-12-2017 ГЕОТЕХНИЧЕСКИЕ ИССЛЕДОВАНИЯ И ИСПЫТАНИЯ. ИСПЫТАНИЯ ПОЛЕВЫЕ. Часть 12. СТАТИЧЕСКОЕ ЗОНДИРОВАНИЕ МЕХАНИЧЕСКИМ ЗОНДОМ (СРТМ)
Geotechnical investigations and testings. Field testing. Part 12. Static propping with a mechanical probe (CPTM)
ОКС 93.020
Предисловие
1 Подготовлен Акционерным обществом "Научно-исследовательский центр "Строительство" (АО "НИЦ "Строительство") - Научно-исследовательский, проектно-изыскательский и конструкторско-технологический институт оснований и подземных сооружений им. Н.М. Герсеванова" (НИИОСП им. Н.М. Герсеванова) на основе официального перевода на русский язык англоязычной версии указанного в пункте 4 международного стандарта, который выполнен Федеральным государственным унитарным предприятием "Российский научно-технический центр информации по стандартизации, метрологии и оценке соответствия" (ФГУП "СТАНДАРТИНФОРМ")
2 Внесен Техническим комитетом по стандартизации ТК 465 "Строительство"
3 Утвержден и введен в действие приказом Федерального агентства по техническому регулированию и метрологии от 17 ноября 2017 г. N 1766-ст
4 Настоящий стандарт идентичен международному стандарту ИСО 22476-12:2009 "Геотехнические исследования и испытания. Полевые испытания. Часть 12. Испытание с механическим измерением проникновения конического пенетрометра (СРТМ)" (ISO 22476-12:2009 "Geotechnical investigation and testing - Field testing - Part 12: Mechanical cone penetration test (CPTM)", IDT).
Наименование настоящего стандарта изменено относительно наименования указанного международного стандарта для приведения в соответствие с ГОСТ Р 1.5-2012 (пункт 3.5).
При применении настоящего стандарта рекомендуется использовать вместо ссылочных международных стандартов соответствующие им национальные стандарты Российской Федерации, сведения о которых приведены в дополнительном приложении ДА
5 Введен впервые
Введение
Статическое зондирование механическим зондом (СРТМ) состоит в задавливании наконечника в грунт с постоянной скоростью с помощью комплекта штанг. В процессе зондирования могут измеряться сопротивление грунта под конусом зонда (сопротивление конуса), полное сопротивление грунта внедрению зонда (полное сопротивление) и/или сопротивление грунта вдоль муфты трения (сопротивление муфты трения). Результаты испытаний могут быть использованы для интерпретации напластования, классификации типа грунта и оценки геотехнических параметров.
В условиях практического применения и в настоящем стандарте использован термин "сопротивление конуса", хотя корректнее использовать термин "сопротивление внедрению конуса", который более точно описывает процесс.
Настоящий стандарт устанавливает требования к оборудованию, выполнению испытаний и отчетности по испытаниям статическим зондированием механическим зондом. Результаты этого геотехнического испытания особенно могут быть полезны для качественной и/или количественной оценки грунтов в массиве (вместе с прямыми испытаниями) или для сравнения с другими полевыми методами испытаний.
Результаты испытания на проникновение конуса могут быть в принципе использованы для оценки напластования, типа грунта и геотехнических параметров, например плотности грунта, параметров сдвига - прочности и деформации, а также характеристик уплотнения.
Настоящий стандарт точно определяет следующие характерные особенности:
- тип испытания методом статического зондирования (см. таблицу 1);
- класс применения (см. таблицу 2);
- длина или глубина зондирования;
- высотная отметка земной поверхности или подводной земной поверхности в месте статического зондирования с указанием на исходный уровень;
- расположение точки статического зондирования относительно точки привязки.
Примечание - Планирование и оценку программы исследования и применение его результатов в проектировании см. в ЕН 1997-1 и ЕН 1997-2.
Следующие ссылочные документы являются обязательными для применения настоящего документа. Для датированных ссылок применяют только цитируемое издание. Для недатированных ссылок применяют самое последнее издание ссылочного документа (включая все изменения).
ISO 8503, (all parts) Preparation of steel substrates before application of paints and related products - Surface roughness characteristics of blast-cleaned steel substrates [Подготовка стальной поверхности перед нанесением лакокрасочных материалов и относящихся к ним продуктов. Испытания характеристики шероховатости стальной поверхности после струйной очистки (все части)]
ISO 10012, Measurement management systems - Requirements for measurement processes and measuring equipment (Системы менеджмента измерений. Требования к измерительным процессам и измерительному оборудованию)
В настоящем стандарте применены следующие термины с соответствующими определениями:
3.1.1 средняя шероховатость поверхности (average surface roughness) Ra: Среднее отклонение между реальной поверхностью зонда и средней контрольной плоскостью, размещенной вдоль поверхности этого зонда.
3.1.2 конус (cone): Конусообразная нижняя часть наконечника.
Примечание - При задавливании зонда в грунт сопротивление грунта передается через конус и внутренние штанги на измерительное устройство, расположенное на поверхности земли.
3.1.3 Статическое зондирование (cone penetration test) СРТ: Задавливание наконечника, расположенного на конце штанг, в грунт с постоянной скоростью.
3.1.3.1 Статическое зондирование электрическим зондом (electrical СРТ) CPTU: Статическое зондирование (СРТ) или пьезостатическое (CPTU), при котором силы измеряются с помощью электрических датчиков, расположенных в наконечнике.
Примечание - Статические (СРТ) и пьезостатические (CPTU) испытания будут отражены при пересмотре ИСО 22476-1.
3.1.3.2 Статическое зондирование механическим зондом (mechanical СРТ) СРТМ: Статическое зондирование механическим зондом, при котором силы измеряются механическим или электрическим способом на поверхности земли.
3.1.4 наконечник (cone penetrometer): Сборное изделие, включающее в себя конус, муфту трения (опционально), узел для соединения со штангой и измерительные устройства для измерения сопротивления грунта внедрению конуса и, в зависимости от ситуации, полного и/или местного сопротивления грунта по боковой поверхности.
3.1.5 сопротивление внедрению конуса (сопротивление конуса) [cone penetration resistance cone resistance]: Сопротивление внедрению конуса в грунт.
3.1.6 испытание с непрерывным задавливанием (непрерывное испытание) (continuous penetration testing): Метод испытания, при котором сопротивление зондированию измеряется в процессе непрерывного задавливания конуса и штанг, пока их движение не будет остановлено, чтобы нарастить дополнительную штангу.
3.1.7 испытание с прерывистым задавливанием (прерывистое испытание) (discontinuous penetration testing): Метод испытания, при котором сопротивление конуса и (по дополнительному заказу) сопротивление муфты трения измеряются во время остановки задавливания штанг.
3.1.8 сила, действующая на муфту трения (force acting on the friction sleeve) Fs: Сила, которая равна измеренной силе на конусе и муфте трения минус сила, измеренная на конусе.
3.1.9 фрикционное отношение (friction ratio) Rf: Отношение измеренного сопротивления муфты трения к измеренному сопротивлению конуса на той же самой глубине; коэффициент трения выражается в процентах
.
Примечание - В некоторых случаях используется обратная величина фрикционного отношения, называемая индексом трения.
3.1.10 средство уменьшения трения (friction reducer): Местное и симметричное увеличение диаметра штанги для уменьшения трения грунта вдоль штанг.
3.1.11 муфта трения (friction sleeve): Часть наконечника, воспринимающая сопротивление грунта на его боковой поверхности.
3.1.12 внутренние стержни (inner rods): Сплошные стержни, свободно перемещающиеся внутри штанг и передающие силы от конуса и (по дополнительному заказу) муфты трения на измерительную систему.
3.1.13 измеренное сопротивление конуса (measured cone penetration resistance) qc: Частное деления измеренной силы на конусе Qc на площадь его основания Ас, определяемое по формуле
.
Примечание - Измеренное сопротивление конуса, полученное при испытании статическим зондированием механическим зондом, может быть получено аналогично статическому зондированию с электрическим зондом.
3.1.14 измеренное трение муфты (measured sleeve friction) fs: Сила Fs, действующая на муфту трения, деленная на площадь боковой поверхности муфты As, определяемая по формуле
.
Примечание - Измеренное сопротивление муфты трения, полученное при испытании механическим зондом, может отличаться от значения, полученного при испытании электрическим зондом.
3.1.15 измеренная полная сила сопротивления (measured total penetration force) Qt: Сила, необходимая чтобы задавить конус и штанги вместе в грунт.
3.1.16 измерительная система (measuring system): Все чувствительные элементы (датчики) и вспомогательные части, используемые для передачи и/или хранения сигналов, генерируемых в процессе статического зондирования.
Примечание - Сила на конусе и, при необходимости, полное сопротивление проникновению и/или трение муфты измеряются манометрами или электрическими датчиками нагрузки.
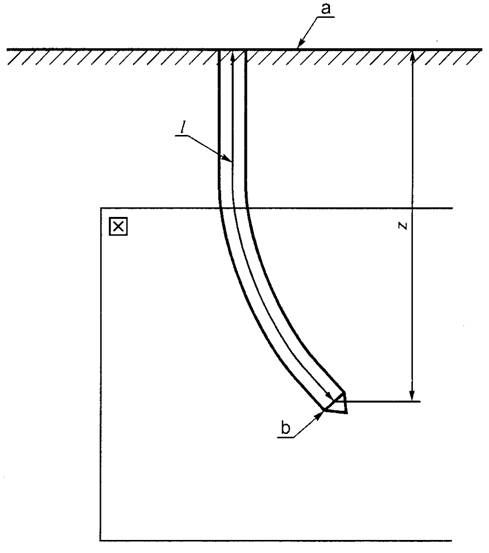
3.1.17 глубина проникновения (penetration depth) z: Глубина расположения основания конуса относительно неподвижной горизонтальной плоскости. См. рисунок 1.
Примечание 1 - Глубина зондирования выражается в метрах.
Примечание 2 - При испытании механическим зондом с механическим измерением проникновения конуса глубина проникновения не может быть установлена, так как не предусмотрено измерение уклономером для коррекции глубины.
3.1.18 длина проникновения (penetration length) l: Сумма длин нажимных штанг и конического пенетрометра, уменьшенная на высоту конусообразной части, относительно неподвижной горизонтальной плоскости. См. рисунок 1.
Примечание 1 - Длина проникновения выражается в метрах.
Примечание 2 - Неподвижная горизонтальная плоскость обычно соответствует горизонтальной плоскости через земную поверхность в месте проведения испытания.
3.1.19 задавливающая штанга (push rod): Часть колонны штанг для передачи сил на наконечник.
3.1.20 задавливающее оборудование (thrust machine): Оборудование, которое задавливает наконечник и штанги в грунт с постоянной скоростью.
Примечание - Усилие, необходимое для того, чтобы задавливающее оборудование могло воспринимать реакцию грунта, обеспечивают с помощью грузов и/или грунтовых анкеров.
3.1.21 полная сила бокового трения (total side friction force) Qst: Сила, необходимая для преодоления бокового трения на задавливающих штангах, когда они задавливаются в грунт.
Примечание - Полную силу бокового трения получают путем вычитания силы на конусе Qс из измеренной общей силы сопротивления зондированию Qt:
Qst=Qt-Qc.
3.1.22 дрейф нуля (zero drift): Абсолютная разность между показаниями нуля измерительной системы в начале и после завершения статического зондирования.
3.1.23 нулевой отсчет (zero reading): Устойчивый выходной сигнал измерительной системы при нулевой нагрузке на чувствительный элемент, т.е. параметр, который надо измерять, имеет значение нуля, в то время как включается подача дополнительной мощности, необходимой для работы измерительной системы.

z - глубина зондирования, м; l - длина зондирования, м; а - неподвижная горизонтальная плоскость; b - основание конической части конуса
Рисунок 1 - Глубина и длина проникновения
В настоящем стандарте применены следующие обозначения:
Ас - проекция площади поперечного сечения конуса, мм2;
As - площадь внешней боковой поверхности муфты трения, мм2;
dс - диаметр цилиндрической верхней части конуса, мм;
d2 - диаметр муфты трения, мм;
Fs - измеренная по оси сила на муфте трения, кН;
fs - измеренное сопротивление муфты трения, Мпа;
hс - высота конусообразной части конуса, мм;
hе - длина цилиндрического удлинения конуса, мм;
l - длина зондирования, м;
ls - длина муфты трения, мм;
М1, М2, М4 - типы наконечника;
Qc - измеренная по оси сила на конусе, кН;
Qst - суммарная сила бокового трения, кН;
Qt - общая измеренная сила сопротивления зондированию, кН;
qc - измеренное сопротивление конуса, Мпа;
Ra - средняя шероховатость поверхности, мкм;
Rf - фрикционное отношение, %;
ТМ1 ... ТМ4 - типы испытаний от 1 до 4;
t - время, с;
z - глубина зондирования, м.
4.1 Силовые датчики наконечника
Наконечник не оборудован внутренними силовыми датчиками, так как измерения выполняются на поверхности земли. Осевые линии всех частей наконечника должны совпадать.
4.2 Допуски
Допуски на размеры, приведенные в настоящем разделе, являются допустимыми рабочими отклонениями. Заводские допуски при изготовлении наконечника должны быть более жесткими.
Допустимое отклонение на шероховатость поверхности относится к заводским допускам.
4.3 Шероховатость поверхности
Шероховатость поверхности относится к средней шероховатости Ra, установленной компаратором профиля поверхности согласно ИСО 8503 или эквивалентному стандарту. Целью требования к шероховатости поверхности является предотвращение использования "необычайно гладкого" и "необычайно грубого" конуса или муфты трения. Сталь, включая упрочненную марку стали, подвергается износу в грунте (в отдельных песках), а муфта трения создает свою собственную шероховатость по мере использования. Поэтому весьма важно, чтобы заводская шероховатость при изготовлении наконечника приближалась к шероховатости, приобретенной в ходе его использования. Принимают, что требование к шероховатости поверхности будет, как правило, удовлетворено на практике для общепринятых типов стали, используемых для производства зондов, и для общепринятых грунтовых условий (песок и глина).
4.4 Наконечник
В соответствии со своей геометрией рассматриваются три типа наконечника:
- М1 (конус с кожухом) - используется для измерения сопротивления конуса;
- М2 (конус с кожухом, муфта трения) - используется для измерения сопротивления конуса и местного бокового трения;
- М4 (простой конус) - используется для измерения сопротивления конуса.
Примечание
- Наконечник М3 не используется более на практике и поэтому не рассматривается в настоящем стандарте. В целях сохранения единства изложения соответствующие типы наконечников не были впоследствии переименованы.
Допускается использовать другие типы зондов, не рассмотренные в настоящем стандарте, но в этом случае они должны быть упомянуты в результатах испытаний вместе с техническими характеристиками.
Геометрия соответствующих типов зондов показана на рисунках 2, 3 и 4. На рисунках 2 и 4 приведены позиции выдвижения частей наконечников М1 и М4 при измерении сопротивления "Qc", на рисунке 3 - соответствующие позиции для наконечника М2 при измерении сопротивлений "Qc" и "Qc + Qst".
Для наконечника с муфтой трения никакая часть наконечника не должна выступать за пределы диаметра муфты трения. Площадь поперечного сечения верхнего конца муфты трения не должна быть меньше площади поперечного сечения нижнего конца.
Движущиеся части наконечника (кожух, муфта трения) должны быть чистыми и покрыты смазкой в целях обеспечения свободного движения перед испытанием.
![]() | ![]() | ![]() |
|
Рисунок 2 - Наконечник М1 (конус с кожухом) |
Рисунок 3 - Наконечник M2 (конус с кожухом, муфта трения) |
Рисунок 4 - Наконечник М4 (простой конус) |
4.5 Конус
Конусы наконечников М1 и М2 состоят из конической части с уступом и направленного внутрь цилиндрического удлинения. Конус зонда М4 состоит из конической части с уступом, которая непосредственно подсоединяется к внутренним стержням, без цилиндрического удлинения.
Конус должен иметь заданный угол при вершине 60°. Конусы с углом между 60° и 90° разрешаются для профилирования грунтов при условии, что это указано в протоколе испытания. Использование результатов испытаний для определения геотехнических параметров допустимо, если только установлены корреляционные зависимости для соответствующего вида конуса.
Площадь поперечного сечения стандартных конусов должна быть 1000 мм2, что соответствует диаметру 35, 7 мм.
Наружный диаметр уступа, мм, должен быть в пределах требования к допустимому отклонению, как показано на рисунке 5.
35, 3≤dc≤36, 0.
Длина уступа, мм, должна быть в пределах допусков:
2, 00≤he≤5, 0.
Высота конической части, мм, должна быть в пределах допусков:
24, 00≤hc≤31, 2.
Поверхность конуса должна быть гладкой.
Конус следует изготовлять с шероховатостью поверхности Ra меньше 5 мкм.
Конус не должен быть использован, если он асимметрично изношен, даже если он иным образом удовлетворяет требования к допустимым отклонениям.

1 - минимальная форма конуса после износа; 2 - максимальная форма конуса
Рисунок 5 - Требования к допускам при применении наконечника
В зависимости от грунтовых условий разрешается использовать конусы с наружным диаметром от 25 мм (Aс = 500 мм2) до 80 мм (Ас = 5027 мм2). В этом случае геометрия конуса должна быть подогнана пропорционально диаметру. Геометрию муфты трения следует подгонять так к параметрам, обеспечивающим получение сопоставимых результатов. Использование конуса с Ас ≠ 1000 мм2 должно быть указано в протоколе испытания.
4.6 Муфта трения
Муфта трения должна быть размещена сразу над конусом.
Номинальная площадь поверхности должна быть 15000 мм2.
Геометрия и допустимые отклонения муфты трения, мм, должны быть в пределах, показанных на рисунке 6:
dc≤d2<dc+0, 35
и
d2<36, 1.
Длина цилиндрической части, мм, должна быть в пределах допусков:
132, 5<ls≤135.

As=15000 мм2
d2≥dc
d2<dc+0, 35
d2<36, 1
As - площадь поверхности муфты трения; ls - длина муфты трения; dc - диаметр конуса; d2 - диаметр муфты трения
Рисунок 6 - Требования к допускам для муфты трения
Муфта трения должна быть обработана до средней шероховатости поверхности Ra = (0, 4 мкм ± 0, 25) мкм, измеренной в продольном направлении.
Муфту трения не допускается использовать, если визуальная проверка выявила царапины, ассиметричный износ и необычную шероховатость, даже если во всех иных отношениях она отвечает требованиям к допустимым отклонениям.
Муфты трения с наружным диаметром от 25 до 50 мм могут быть использованы для специальных целей, без поправочных коэффициентов, если они применяются с конусами соответствующего диаметра. Рекомендуемое отношение длины и диаметра составляет 3, 75. Отношения от 3 до 5 являются допустимыми.
Примечание - Износ конуса может влиять на измерение муфты трения.
4.7 Задавливающие штанги
Задавливающие штанги должны иметь такой же диаметр, как и конус, на протяжении не менее 400 мм от основания конуса для конусов с площадью основания 1000 мм2. Для конусов других размеров эта дистанция должна быть масштабирована линейно в пропорции к диаметру.
В задавливающих штангах не должны присутствовать выступающие части на их внутренней стороне, для того чтобы не мешать свободному перемещению внутренних стержней.
Прямолинейность задавливающих штанг, как указано ниже, следует устанавливать через периодические интервалы. Перед каждым испытанием прямолинейность должна быть проверена одним из методов, указанных в А.1.1:
- ни одна из пяти нижних штанг не должна отклоняться более чем на 1 мм от средней линии;
- другие штанги не должны отклоняться более чем на 2 мм.
- Упомянутые выше требования даны для штанг длиной 1 м. Если для специальных целей используются штанги другой длины, то эти требования следует соответственно адаптировать.
Трение по задавливающим штангам может быть снижено путем местного увеличения в диаметре штанги (уширитель). Трение может быть также уменьшено путем уменьшения диаметра штанг, расположенных по меньшей мере на 400 мм выше основания конуса.
На уровне выше поверхности земли штанги следует направлять роликами, обсадной трубой или подобным устройством, чтобы снизить риск изгиба. В воде или мягких грунтах во избежание изгиба штанги также допускается направлять с использованием обсадной трубы.
4.8 Внутренние стержни
Прямолинейность внутренних стержней должна быть обязательно обеспечена для беспрепятственного движения внутри нажимных штанг. Зазор между внутренними стержнями и нажимными штангами должен быть от 0, 5 до 1 мм. Если штанги не свинчиваются вместе на резьбе, то конец внутренних стержней должен быть брусковый (под прямыми углами) и иметь гладкую поверхность.
4.9 Измерительная система
Сила, действующая на конус, и, в зависимости от ситуации, сила, действующая на конус и муфту трения, а также суммарная сила на зонд должны быть измерены соответствующим устройством в соответствии с таблицей 1.
Силы, измеренные в процессе зондирования на конусе, и, в зависимости от ситуации, на муфте трения, передаются внутренними стержнями на измерительное устройство, расположенное на поверхности земли на уровне земли.
Используют один из типов измерительной системы a, b или с.
a) Тип а
Измерительная система состоит из манометров, измеряющих гидравлические давления, создаваемые силой сопротивления грунта, действующей на конус, который передает усилие на верхнюю часть внутренних стержней и, в зависимости от ситуации, силой, действующей на конус и муфту трения, или суммарной силой, действующей на задавливающие штанги. Для этого типа измерительного устройства рекомендуются использование одновременно двух разных диапазонов для манометров и частое переключение на подходящий диапазон.
b) Тип b
Измерительная система содержит электрические датчики, измеряющие гидравлические давления, создаваемые силой сопротивления грунта, действующей на конус, который передает усилие на верхнюю часть внутренних стержней и, в зависимости от ситуации, силой, действующей на конус и муфту трения, или суммарной силой, действующей на задавливающие штанги.
c) Тип c
Измерительная система этого типа содержит электрические датчики, напрямую измеряющие силы, действующие на наконечник. Для этого типа измерительной системы рекомендуется использовать отдельные устройства для измерения сил, действующих на конус, муфту трения, и суммарной силы, действующей на задавливающие штанги.
Если используется независимая измерительная система, то результаты испытаний должны быть доступны для контроля во время испытания. Измеренные давления и/или силы должны быть зарегистрированы и максимальное значение для каждого этапа задавливания должны фиксироваться как номинальное значение измеренного параметра.
4.10 Задавливающее оборудование
Оборудование должно обеспечивать задавливание наконечника со стандартной скоростью (20 ± 5) мм/с. Оно должно быть пригружено или заанкерено для ограничения перемещений задавливающего оборудования относительно поверхности земли во время задавливания. Вбивание или вращение штанг во время измерений не допускается.
5.1 Выбор типа испытания
Метод испытания принимают по таблице 1.
Тип испытания (ТМ1, ТМ2, ТМ3 или ТМ4) принимают в соответствии с классом применения, приведенным в таблице 2.
|
Тип испытания |
Измеренные или определяемые параметры |
Измерительная система |
|
ТМ1 |
Сопротивление конуса и полное сопротивление зондированию или сопротивление конуса и муфты трения |
Электрические датчики [тип с), см. 4.9] - прерывистое испытание |
|
ТМ2 |
Сопротивление конуса и полное сопротивление зондированию или сопротивление конуса и муфты трения |
Манометры или электрические датчики, преобразующие гидравлические давления [типы а) и b), см. 4.9] - прерывистое испытание |
|
ТМ3 |
Сопротивление конуса |
Манометры или электрические датчики, преобразующие гидравлические давления [типы а) и b), см. 4.9] - прерывистое испытание |
|
ТМ4 |
Сопротивление конуса |
Манометры или электрические датчики, преобразующие гидравлические давления [типы а) и b), см. 4.9] - непрерывное испытание |
|
Примечание - Числа, указывающие типы испытания с применением конического пенетрометра ТМ1-ТМ4, не соответствуют ни номерам типов конусов М1, М2 и М4 (см. 4.4), ни номерам, обозначающим классы применений (см. таблицу 2). | ||
5.2 Выбор оборудования и процедур
Под требуемой точностью понимают задачу обеспечения возможности использования результатов испытаний. Классы применения были разработаны для руководства и выбора типа испытания статическим зондированием (СРТ), требуемой точности и периодичности регистрации. Для данных грунтовых профилей и результатов СРТ класс применения точно определяет минимальную точность и максимальный промежуток времени между измерениями с соответствующей степенью неопределенности. Использование результатов СРТ определяют на основе профилирования, идентификации и определения параметров грунта. Оборудование и методы следует выбирать в соответствии с необходимым классом применения, по таблице 2.
|
Класс применения |
Тип испытания |
Допустимая минимальная точностьa |
Использование | |
|
Тип грунтаb |
Интерпретацияc | |||
|
5 |
ТМ1 |
qc = 500 кПа или 5 % |
А |
F |
|
Qt = 1 кН или 5 % |
В |
G, Н* | ||
|
Fs = 50 кПа или 20 % |
С |
G, Н* | ||
|
L = 0, 2 м или 2 % |
D |
G, Н* | ||
|
6 |
ТМ2 |
qс = 500 кПа или 5 % |
В |
G, Н* |
|
Qt = 1 кН или 5 % |
С |
G, Н* | ||
|
Fs = 50 кПа или 20 % |
D |
G, Н* | ||
|
L = 0, 2 м или 2 % | ||||
|
7 |
qс = 500 кПа или 5 % |
В |
F* | |
|
ТМ3 |
Qt = 1 кН или 5 % |
С |
F* | |
|
ТМ4 |
Fs = 50 кПа или 20 % |
D |
F* | |
|
L = 0, 2 м или 2 % | ||||
|
5-7-й классы используют для испытаний методом статического зондирования механическим зондом (СРТМ), 1-4-й классы - для испытаний на проникновение конического пенетрометра с электрическим измерением (CPT/CPTU). - 5-й класс предназначен для оценки смешанных пластовых грунтов типов от А до D. Для грунтов типов от В до D этот класс применения может обеспечивать профилирование, идентификацию грунта и ориентировочную интерпретацию для определения его геотехнических параметров. Для очень мягких слоев (тип А грунта) возможно только определение профиля грунта. Идентификация грунта и интерпретация для определения геотехнических параметров, особенно для очень мягких слоев, возможны, только если имеется дополнительная местная геологическая и геотехническая информация. Испытания следует выполнять по типу ТМ1. Примечание - Профили смешанных типов напластований грунтов в условиях природного залегания обычно содержат плотные и консолидированные грунты, но возможны также мягкие слои. - 6-й класс предназначен для оценки смешанных пластовых грунтов с типами от В до D для профилирования и идентификации грунта. Оценка очень мягких слоев ограничивается исключительно идентификацией этих слоев. Испытания следует выполнять по типу ТМ2. - 7-й класс предназначен только для ориентировочного профилирования для смешанного типа напластований грунтов типов от В до D. На основе только этих испытаний не может быть дана никакая интерпретация для идентификации грунта и определения его геотехнических параметров. Испытания следует выполнять по типам ТМ3 или ТМ4. Хотя испытания электрическим зондом являются предпочтительными по сравнению с испытаниями механическим зондом, последние все же лучше применять в том случае, если есть риск повреждения зонда, например мусором, щебнем или прочной коренной породой. Достижимая точность зависит также от ошибки, вызванной трением между внутренними стержнями и задавливающими штангами. Порядок величины этой ошибки зависит, среди прочего, от длины зондирования, силы, действующей на внутренние стержни, и наклона конуса. а Допустимая минимальная точность измеренного параметра - большее значение из двух приведенных. Относительную точность применяют к измеренному значению, а не к измеренному диапазону. b А - однородные напластования грунтов (обычно qc < 2 МПа); В - глины, супеси и пеки (обычно 2 МПа ≤ qc < 4 МПа); С - глина, супеси, пески и гравий (обычно 4 МПа ≤ qc ≤ 10 МПа); D - глина, супеси, пески и гравий (обычно qc > 10 МПа). с F - профилирование; F* - определение профиля возможно, если есть дополнительная информация; G - профилирование и идентификация грунта; G* - ориентировочное профилирование и идентификация грунта; Н - интерпретация для определения геотехнических параметров; Н* - ориентировочная интерпретация для определения геотехнических параметров. | ||||
Если будут добавлены источники ошибок, точность зарегистрированных измерений должна быть лучше, чем наибольшие значения, приведенные в таблице 2. Оценка погрешностей должна включать в себя внутреннее трение, ошибки в получении данных, влияние температуры (окружающей среды и переходных процессов) и размерные погрешности.
Метрологическое подтверждение должно быть выполнено согласно ИСО 10012.
Примечание 1 - Достижимая длина или глубина зондирования зависит от условий грунта, максимальной силы сопротивления внедрению наконечника, секций штанг и соединений между ними, применения уширителя и/или обсадной трубы для штанг и диапазона измерений наконечника.
Примечание 2 - Если использованные типы наконечников отличаются от стандартных, интерпретация для определения геотехнических параметров может быть выполнена только в том случае, если были установлены корреляционные зависимости для этого типа наконечника.
5.3 Положение и уровень задавливающего оборудования
Расстояние между местами проведения испытаний следует подбирать так, чтобы исключить взаимное влияние.
Между местами испытаний обычно принимают расстояние не менее 2 м. Расстояние до скважины должно быть по меньшей мере в 20 раз больше диаметра этой скважины. Некоторые технологии бурения скважин, например бурение с продувкой воздухом, могут требовать большие расстояния. Рытья и устройства выработок вблизи мест испытаний следует избегать.
Задавливающее оборудование должно задавливать штанги таким образом, чтобы осевая линия задавливающей силы была как можно ближе к вертикали. Отклонение от намеченной оси должно быть менее 2°. Ось зонда должна соответствовать оси приложения нагрузки в начале задавливания.
5.4 Приготовление к испытанию
Если используются электрические датчики, должны быть зарегистрированы нулевые отсчеты сопротивлений грунта зондированию, длины зондирования.
В плотных, крупнозернистых или с большим числом включений грунтах может быть использовано предварительное бурение, иногда в комбинации с обсадной трубой для предотвращения обвала стенок скважины.
5.5 Задавливание наконечника
Во время испытания наконечник должен задавливаться в грунт с постоянной скоростью (20 ± 5) мм/с. Эту скорость следует контролировать путем регистрации времени и длины задавливания.
5.6 Использование уширителя
Допускается применение средства уменьшения трения. Конический пенетрометр и, при необходимости, нажимная штанга должны иметь одинаковый диаметр для расстояния по меньшей мере 400 мм от основания конуса, прежде чем может быть применено средство уменьшения трения в зависимости от ситуации.
Допускается применение уширителя. Наконечник и штанга должны иметь одинаковый диаметр по меньшей мере на длине 400 мм от основания конуса, прежде чем может быть установлен уширитель для уменьшения трения.
5.7 Периодичность регистрации параметров
При проведении прерывистого испытания максимальная длина интервала для измерений параметров должна быть 200 мм, непрерывного - 50 мм.
5.8 Измерение силы задавливания при прерывистом испытании
Измерение силы задавливания в течение хода внутренних штанг и конуса, мм, должно быть не более чем через:
70 - для наконечника М1;
35 - для наконечника М2;
65 - для наконечника М4.
В течение хода внутренних штанг и конуса следует записывать максимальное значение измеренной силы задавливания. В случае если измеряют силу задавливания конуса и длину зондирования, интервал может быть меньше, или считывания могут быть непрерывными.
5.9 Измерение силы задавливания при непрерывном испытании
Если испытание идет непрерывно (ТМ4), конус должен оставаться в выдвинутом положении (см. рисунки 2-4). Его положение должно быть достаточным, чтобы компенсировать упругое сжатие внутренних стержней, чтобы сила на конусе полностью передавалась на внутренние стержни.
5.10 Измерение силы, действующей на муфту трения, при прерывистом испытании наконечником М2
Измеряют сумму сил, действующих на наконечник во время второго хода, не превышающего 40 мм (после первого хода), когда конус и муфта трения задавливаются в грунт. Записывают максимальное измеренное значение во время этого хода. Отнимают силу задавливания конуса из этого смешанного измерения, чтобы получить силу, действующую на муфту трения.
5.11 Измерение суммарной силы задавливания при прерывистом испытании
Измеряют суммарную силу задавливания в конце каждого хода задавливающих штанг и внутренних стержней при значении хода максимум 200 мм.
5.12 Измерение суммарной силы задавливания при непрерывном испытании (ТМ4)
Измеряют суммарную силу задавливания одновременно с сопротивлением конуса, используя отдельное средство измерений.
5.13 Измерение длины зондирования
Устанавливают уровень основания конуса относительно поверхности земли или иной неподвижной системы отсчета (не задавливающего оборудования). Разрешающая способность измерения длины зондирования должна быть минимум 10 мм.
Для испытаний типа ТМ1 длину зондирования измеряют датчиком.
Для всех типов испытаний длину зондирования следует проверять вручную и регистрировать в конце испытания.
Примечание - Измеренные параметры для наконечника с большим наклоном могут быть выведены из значений, которые были бы измерены, если бы конический пенетрометр был в вертикальном положении.
Во время статического зондирования необходимо регистрировать любые особенности и отклонения от настоящего стандарта, которые могли бы повлиять на результаты измерений и соответствующую длину зондирования.
5.14 Завершение испытаний
Задавливание наконечника и внутренних стержней должно быть закончено, когда:
- достигнута требуемая длина зондирования; или
- достигнуто максимальное усилие вдавливания или максимальная функциональная возможность наконечника или измерительной системы.
Возможное повреждение оборудования также может быть веской причиной завершения испытания.
Если измерения проводят с помощью электрических датчиков, то измеряют нулевые отсчеты измеренных параметров и записывают их по окончании испытания. Дрейф нуля измеренных параметров должен быть меньше допустимой минимальной точности согласно требуемому классу применения (см. таблицу 2).
Примечание - Дрейф нуля, определенный из выходного сигнала при нулевой нагрузке до и после испытания, мера корректного функционирования оборудования, которая используется для проверки, если требования таблицы 2 были выполнены.
Конический пенетрометр должен быть осмотрен и любые чрезмерный износ или повреждение должны быть зарегистрированы.
5.15 Проверки и калибровки оборудования
Проверки и калибровки оборудования должны быть проведены в соответствии с приложением А.
6.1 Измеряемые параметры
Должны быть установлены следующие параметры:
- длина зондирования l;
- сила, действующая на конус Qc;
- суммарная сила задавливания Q1.
6.2 Вычисленные параметры
Должны быть вычислены следующие параметры:
- сила, действующая на муфту трения Fs;
- суммарная сила бокового трения Qst;
- измеренное сопротивление конуса qc;
- измеренное сопротивление муфты трения fs;
- фрикционное отношение Rf.
7.1 Общие положения
При изложении результатов испытаний информацию следует формировать легко доступной для ознакомления и анализа, например, в табличном виде или в виде стандартного заархивированного файла. Представление в цифровой форме разрешается для обеспечения обмена данными.
7.2 Отчете результатами испытаний
Отчет должен быть составлен в соответствии с таблицей 3, которая определяет следующие формы представления информации:
- полевой отчет с результатами испытаний;
- протокол испытаний; или
- таблицы и графики результатов испытаний.
Полевой отчет в окончательном варианте, выполненный на месте проведения исследований, и протокол испытаний должны включать в себя информацию, приведенную в таблице 3. Результаты испытаний должны быть изложены таким образом, чтобы третья сторона была способна проверить и понять результаты испытаний.
|
Содержание |
Полевой отчет |
Протокол испытаний |
Графики |
|
7.2.1 Общая информация | |||
|
а) Ссылка на настоящий стандарт |
- |
x |
x |
|
b) Класс применения |
x |
x |
x |
|
с) Тип испытания (ТМ1, ТМ2, ТМ3 или ТМ4)а |
x |
x |
x |
|
d) Наименование заказчика |
- |
x |
- |
|
е) Наименование и местоположение проекта |
- |
x |
- |
|
f) Идентификация работ |
x |
x |
x |
|
g) Фамилия и подпись оператора оборудования, выполняющего испытание |
x |
- |
- |
|
h) Фамилия и подпись лица, ответственного за проект |
- |
x |
- |
|
i) Особенности или отклонения от настоящего стандарта |
x |
x |
- |
|
j) Компания, выполняющая проект |
- |
x |
x |
|
k) Глубина уровня подземных вод |
x |
x |
- |
|
l) Глубина предварительного бурения или глубина траншеи |
x |
x |
x |
|
m) Описание встречающихся грунтов (по возможности) |
x |
x |
- |
|
n) Длина зондирования и возможные причины любых прерываний |
x |
x |
- |
|
о) Примененные критерии остановки, например заданная глубина, максимальная сила задавливания и отклонения от вертикали |
x |
x |
- |
|
р) Метод тампонажа скважины (если применяется) |
x |
- |
- |
|
q) Наблюдения, сделанные на испытании, например: |
- |
- |
- |
|
- присутствие камней |
- |
- |
- |
|
- шум от нажимных штанг |
- |
- |
- |
|
- непредвиденные случаи |
x |
x |
- |
|
- изогнутые штанги |
- |
- |
- |
|
- ненормальный износ |
- |
- |
- |
|
- значимые изменения в отсчетах нуля |
- |
- |
- |
|
7.2.2 Местоположение испытания | |||
|
а) Идентификация испытания |
x |
x |
x |
|
b) Высотная отметка точки испытания |
- |
x |
x |
|
с) Местные или общие координаты и/или схема расположенияa |
- |
x |
x |
|
d) Система отсчета и допустимые отклонения |
- |
x |
- |
|
е) Опорная высотная отметка к известному исходному уровню |
- |
x |
x |
|
7.2.3 Испытательное оборудование | |||
|
а) Тип наконечника (М1, М2 или М4) |
x |
x |
x |
|
b) Геометрия и размеры наконечника |
x |
x |
- |
|
с) Тип использованного задавливающего оборудования, максимальное усилие вдавливания, применение домкратов и анкеров |
x |
x |
- |
|
d) Изготовитель наконечника |
- |
x |
- |
|
е) Идентификационный номер пенетрометра |
x |
- |
- |
|
f) Диапазоны измерения датчиков |
- |
x |
- |
|
g) Дата последней калибровки датчиков |
- |
x |
- |
|
7.2.4 Процедура испытания | |||
|
а) Дата испытания |
x |
x |
x |
|
b) Время начала испытания |
x |
- |
- |
|
с) Глубина в начале проникновения относительно поверхности земли |
x |
x |
x |
|
7.2.5 Результаты испытания | |||
|
а) Измеренные параметры согласно 6.1 |
x |
x |
- |
|
b) Вычисленные параметры согласно 6.2 |
- |
x |
- |
|
с) Нулевые отсчеты сопротивления конуса, муфты трения и, при необходимости, полного сопротивления до и после испытания, а также дрейф нуля (в технических единицах измерения), если используются электрические датчики |
x |
x |
- |
|
d) Коррекции, примененные во время обработки данных (например, поправки на дрейфы нуля) |
- |
x |
- |
|
е) Длина зондирования l после окончания испытания и возможные причины прерываний |
x |
x |
x |
|
а В контракте должна быть точно определена персональная ответственность за предоставление координат и уровней точек испытаний. | |||
7.3 Представление результатов испытаний
Результаты испытаний должны быть представлены как профили в виде функции длины зондирования.
Согласно 7.2 должны быть представлены следующие результаты испытаний:
- сопротивление конуса - длина зондирования ... qс (МПа) - l (м);
- сопротивление муфты трения - длина зондирования ... fs (МПа) - l (м);
- суммарная сила задавливания - длина зондирования ... Qt (кН) - l (м);
- фрикционное отношение - длина зондирования ... Rf (%) - l (м).
В зависимости от значений параметров допускается использовать килопаскали вместо мегапаскалей в качестве единицы измерения сопротивлений конуса и муфты трения.
Приложение А
(обязательное)
А.1 Техническое обслуживание и проверки
А.1.1 Линейность нажимных штанг
Перед проведением испытания следует проверить линейность штанг одним из следующих методов:
- Удерживают штангу в вертикальном положении и вращают ее. Если создается впечатление, что штанга качается из стороны в сторону, ее прямолинейность не является приемлемой;
- катают штангу на плоской поверхности. Если создается впечатление, что штанга качается из стороны в сторону, ее прямолинейность не является приемлемой;
- пропускают прямую полую трубу, которая немного длиннее, по штанге. Если штанга может пройти внутри трубы без задержки, то ее прямолинейность является приемлемой.
Если появляются признаки изгиба, то использование штанг следует приостановить до тех пор, пока не выяснится путем проверки и, при необходимости, ремонта, что прямолинейность штанг соответствует заданным требованиям.
Прямолинейность внутренних стержней должна быть гарантированной, обеспечивающей плавное движение без какого-либо препятствия внутри нажимных штанг.
А.1.2 Износ и изгиб конуса
Износ и изгиб конуса и муфты трения следует визуально проверять после каждого испытания для гарантии, что геометрия удовлетворяет допустимым значениям. При этом контроле может быть применен стандартный геометрический шаблон, подобный новому или неиспользованному наконечнику.
А.1.3 Манометры
Перед началом испытания механическим наконечником (СРТМ) необходимо выполнить визуальную проверку правильной индикации нулевого значения. Должна быть проверена сопоставимость измеренных значений манометрами верхнего и нижнего диапазонов. В случае расхождения манометр, дающий некорректные значения, должен быть заменен, а после удаления воздуха из гидравлического измерительного блока выполняют новую проверку.
А.1.4 Техническое обслуживание
Для технического обслуживания и калибровки оборудования необходимо следовать таблице А.1 и соблюдать инструкции изготовителя оборудования.
|
Регулярные проверки |
Начало испытания |
Конец испытания |
Каждые 6 мес |
|
Вертикальность задавливающего оборудования |
x |
- |
- |
|
Датчик глубины |
- |
- |
x |
|
Задавливающие штанги |
x |
- |
- |
|
Износ |
x |
x |
- |
|
Нулевые значения |
x |
x |
- |
|
Дрейф нуля |
- |
x |
- |
|
Манометры |
x |
- |
- |
|
Калибровка |
- |
- |
ха |
|
а Дополнительно, в интервалах во время долговременного испытания; см. А.2.1. | |||
А.2 Калибровка
А.2.1 Общие процедуры
Силовые датчики и преобразователи давления должны быть калиброваны, а датчики глубины и манометры должны периодически проверяться с интервалом:
- по меньшей мере каждые 6 мес для преобразователей давления, манометров и силовых датчиков при непрерывном использовании или после приблизительно 500 зондирований;
- после того как измерительная система нагрузки была нагружена близко к ее предельной способности.
Калибровки должны включать в себя всю измерительную систему, т.е. установленные преобразователи, систему получения данных и кабели. Калибровку выполняют в состоянии "калибровка системы", т.е. с использованием одной и той же системы получения данных, включая кабели, как на полевом испытании, представляя проверку возможных ошибок, присущих этой системе. Во время полевых работ следует осуществлять периодический контроль функций оборудования. Такой функциональный контроль следует проводить не менее одного раза на одном месте и/или раза в день. Более того, функциональный контроль и возможно повторную калибровку следует выполнять в случае, если возможна перегрузка соответствующих датчиков (потеря калибровки).
Следует выполнять требования, представленные в ИСО 10012.
А.2.2 Калибровка силовых датчиков и преобразователей давления
Калибровку силовых датчиков и преобразователей давления выполняют путем ступенчатого увеличения прилагаемой нагрузки с последующей разгрузкой. Силовые датчики и преобразователи давления следует калибровать в разных измерительных диапазонах, обращая специальное внимание на диапазоны, которые являются уместными для предстоящих испытаний. Когда силовые датчики и преобразователи давления калибруют, перед началом фактической калибровки датчики следует подвергать воздействию повторяющихся циклов нагрузки, вплоть до максимальной нагрузки.
А.2.3 Калибровка манометров и датчиков глубины
Манометры следует калибровать минимум каждые 6 мес, как часть всей гидравлической системы. Датчики глубины зондирования следует калибровать не реже чем один раз в 6 мес и после ремонта.
Приложение ДА
(справочное)
Таблица ДА.1
|
Обозначение ссылочного международного стандарта |
Степень соответствия |
Обозначение и наименование соответствующего национального стандарта |
|
ISO 8503 (all parts) |
- |
* |
|
ISO 10012 |
IDT |
ГОСТ Р ИСО 10012-2008 "Менеджмент организации. Системы менеджмента измерений. Требования к процессам измерений и измерительному оборудованию" |
|
* Соответствующий национальный стандарт отсутствует. До его принятия рекомендуется использовать перевод на русский язык данного международного стандарта. Перевод данного международного стандарта находится в Федеральном информационном фонде стандартов. Примечание - В настоящей таблице использовано следующее условное обозначение степени соответствия стандарта: - IDT - идентичный стандарт. | ||
Библиография
|
[1] |
ISO 14688-2, Geotechnical investigation and testing - Identification and classification of soil - Part 2: Principles for a classification (Геотехнические исследования и испытания. Идентификация и классификация грунтов. Часть 2. Принципы классификации) |
|
[2] |
ISO 22475-1, Geotechnical investigation and testing - Sampling methods and groundwater measurements - Part 1: Technical principles for execution (Геотехнические исследования и испытания. Методы отбора проб бурением и шурфованием грунта и измерения подземных вод. Часть 1. Техническое выполнение) |
|
[3] |
ISO 22476-1, Geotechnical investigation and testing - Field testing - Part 1: Electrical cone and piezocone penetration test (Геотехнические исследования и испытания. Полевые испытания. Часть 1. Статическое и пьезостатическое зондирование электрическим зондом) |
|
[4] |
EN 1997-1, Eurocode 7: Geotechnical design - Part 1: General rules (Еврокод 7. Геотехническое проектирование. Часть 1. Общие правила) |
|
[5] |
EN 1997-2, Eurocode 7: Geotechnical design - Part 2: Ground investigation and testing (Еврокод 7. Геотехническое проектирование. Часть 2. Исследования и испытания грунтов) |
|
[6] |
Cassan, М. 1987. Les essais in situ en mecanique des sols - tome I: Realisation et interpretation, Eyrolles chap. II-5-2 pp. 125 to 127 |
|
[7] |
International reference test procedure. Report by the committee on penetration testing TC 16. ISSMFE., 1989 |
|
[8] |
Lunne, Т., Robertson, P.K. and Powell, J.J.M. 1997. Cone Penetration Testing in Geotechnical Practice. London: E & FN Spon, an imprint of Routledge |
|
[9] |
De Beer, E.E., Goelen, E., Heynen, W.J. and Joustra, K. March 1988. Cone penetration test (CPT): International reference test procedure. International symposium on penetration testing, 1, ISOPT-1, Orlando, Proceedings, Vol. 1 Publ.data: pp. 27-51 |
|
[10] |
Bergdahl, U. 1989. Report of the ISSMFE Technical Committee on Penetration Testing of Soils. TC 16 with Reference Test Procedures: CPT - SPT - DP - WST. Statens Geotekniska Institut. SGI Information 7, 49 s Linköping |





