ГОСТ Р ИСО 24333-2011 ЗЕРНО И ПРОДУКТЫ ЕГО ПЕРЕРАБОТКИ. ОТБОР ПРОБ
Cereals and cereal products. Sampling
Дата введения - 1 января 2013 г.
Введен впервые
Предисловие
Цели и принципы стандартизации в Российской Федерации установлены Федеральным законом от 27 декабря 2002 г. N 184-ФЗ "О техническом регулировании", а правила применения национальных стандартов Российской Федерации - ГОСТ Р 1.0-2004 "Стандартизация в Российской Федерации. Основные положения"
Введение
Правильный отбор проб - это процедура, для выполнения которой требуются соответствующие методы и оборудование. Любые результаты исследований и их интерпретация будут бесполезными, если проба не была представительной для партии, от которой она была отобрана.
Правильный отбор проб является процедурой, требующей максимальной аккуратности и внимания. Поэтому необходимо, чтобы выполнение указанной процедуры поручалось персоналу, обученному работе на соответствующем оборудовании.
Настоящий стандарт устанавливает общие положения, относящиеся к процедуре отбора проб от статических или перемещаемых партий зерна и продуктов его переработки для оценки их состояния и качества с применением ручных или механизированных средств.
Настоящий стандарт распространяется на отбор проб с целью определения в партиях зерна и продуктов его переработки неравномерно распределенных контаминантов*, посторонних примесей, а также других показателей, обычно применяемых для оценки качества и безопасности.
Настоящий стандарт распространяется на отбор проб с целью определения зараженности насекомыми партий зерна и продуктов его переработки.
Примечание 1 - Для оценки популяции вредителей в хранящемся зерне более подходящими являются другие методы, например, использование ловушек.
Стандарт может применяться для отбора проб с целью оценки состояния и качества партий зерна и продуктов его переработки, выращенных и (или) изготовленных с применением генетически модифицированных организмов, но не распространяется на отбор проб для выявления случайного присутствия генетически модифицированного материала в генетически немодифицированном продукте.
Настоящий стандарт не распространяется на посевное зерно.
Примечание 2 - Отбор проб посевного зерна определяется правилами, установленными ISTA (Международной ассоциацией по контролю качества семян).
Примечание 3 - На момент публикации отсутствуют научные исследования, подтверждающие возможность включения в настоящий стандарт метода отбора проб генетически немодифицированного продукта с целью выявления в нем случайного присутствия генетически модифицированного материала.
Настоящий стандарт устанавливает следующие термины и определения:
2.1 партия (lot) (зерновые): Установленное количество продукта (зерна или продуктов его переработки) с присущими ему однородными характеристиками, от которого может быть отобрана проба, позволяющая провести оценку его качества по одному или нескольким показателям.
2.2 отбор проб (sampling): Процедура отбора и формирования проб [3].
2.3 точечная проба (increment) (зерновые): Небольшое количество продукта, отобранного за один прием из одного определенного места в партии [3].
2.4 объединенная проба (aggregate sample) (зерновые): Совокупность точечных проб (2.3), отобранных (2.2) из одной партии (2.1), объединенных и тщательно перемешанных [3].
2.5 лабораторная проба (laboratory sample) (зерновые): Количество продукта, выделенное из объединенной пробы путем смешивания и последующего деления (2.4), предназначенное для внешнего осмотра и анализа [4].
2.6 перемешивание (homogenization): Смешивание объединенной или средней пробы до однородного состояния механизированным способом или вручную с целью равномерного распределения примесей и других показателей физических свойств по всей пробе.
2.7 упакованная (фасованная) единица (packed unit): Количество зерна или размолотого продукта его переработки, упакованного в мешок, коробку или пакет.
2.8 ошибка отбора проб (sampling error) (зерновые): Составная часть ошибки определения показателей качества, обусловленная неоднородностью зерновой массы, примененным методом отбора проб или неточностями в проведении процедуры отбора проб [6].
3.1 Изложенная в настоящем стандарте процедура отбора проб включает следующие этапы:
a) отбор определенного числа точечных проб для составления объединенной пробы;
b) перемешивание объединенной пробы;
c) выделение средней (лабораторной) пробы из объединенной.
3.2 В связи с неоднородностью зерновой массы, для получения представительной пробы следует отбирать достаточное количество точечных проб и тщательно их перемешивать для получения объединенной пробы, из которой путем последующего деления получают средние пробы.
Для статических партий особое внимание следует уделять обеспечению равномерного отбора точечных проб по всей зерновой массе как из поверхностных слоев, так и по глубине.
3.3 Необходимо соблюдать соответствующие меры предосторожности, чтобы все оборудование, используемое для отбора проб, было чистым, сухим, без посторонних запахов, незараженным вредителями и т.п.
Отбор проб следует выполнять таким образом, чтобы предохранить отобранные пробы от любого источника случайного загрязнения, вызванного дождем, пылью и т.п.
3.4 Вся процедура отбора проб должна выполняться в возможно короткий срок, чтобы избежать любого изменения летучих веществ в пробах. Если один из этапов отбора проб занимает много времени, то точечные пробы, индивидуальные или смешанные, должны сохраняться в закрывающихся емкостях.
3.5 В случае арбитража пробы должны отбираться совместно представителями покупателя и продавца или третьим лицом, назначенным с общего согласия.
3.6 Необходимо соблюдать все соответствующие предосторожности, чтобы гарантировать целостность и сохранность проб в период между моментом отбора проб и началом их испытаний в лаборатории.
Существует множество различных типов оборудования и устройств для отбора проб. Необходимое оборудование для отбора проб выбирают с учетом вида отбираемого продукта, требуемой массы пробы и используемых контейнеров для сбора проб.
В приложении А приведены основные типы механических устройств для отбора проб в потоке перемещаемого зерна и даны иллюстрации примеров таких устройств.
В приложении В приведены примеры оборудования, применяемого для отбора проб от статических партий продуктов, а также примеры инструментов, обычно применяемых для деления проб.
Приложения А и В не являются исчерпывающими.
Механические устройства для отбора проб должны размещаться в местах, доступных для осмотра, очистки, обслуживания и ремонта всех поверхностей, подвергающихся износу. Точки доступа должны быть выполнены из материалов, не накапливающих статического электричества.
Для кукурузы всасывающие устройства для отбора проб должны иметь двойную трубу с подачей воздуха. Такие всасывающие устройства могут применяться и для отбора проб других зерновых культур.
5.1 Общие положения
Отбор проб осуществляется как от перемещаемых, так и от статических партий. В обоих случаях проба может быть отобрана с применением механических или ручных средств.
Осуществление отбора проб от упакованных единиц (2.7) касается только статических партий и только с использованием ручных средств.
Количество и масса точечных проб приведены в таблицах 1 и 2 - для зерна, в таблицах 3 и 4 - для молотых и других зерновых продуктов, а в таблице 5 - для молотых и других зерновых продуктов в упаковке.
От партии или части партии массой не более 1500 т следует отбирать одну лабораторную пробу (2.5).
Пример - Для партий массой 6000 необходимо проанализировать не менее четырех лабораторных проб.
Примечание - Диапазоны массы, указанные в таблицах 1 - 5, приведены из ИСО 29263 [9].
5.2 Отбор проб от партий продуктов
5.2.1 Общие положения
По мере возможности, отбор проб следует проводить в движущемся потоке перемещаемого зерна (например, во время погрузки или разгрузки), чтобы иметь возможность отобрать пробы от всех составных частей партии.
Если механические средства не доступны, отбор проб осуществляют по плану ручного отбора.
Применяемые методы (механизированного или ручного) отбора проб в потоке зерна должны быть выбраны с учетом скорости перемещаемого продукта (см. таблицы 1 и 3). Для статических партий зерна, независимо от применяемого метода отбора проб, точечные пробы следует отбирать с равномерными интервалами по всей ширине и глубине до 9 м. Отбор проб от партий зерна, имеющих глубину более 9 м, следует осуществлять в движущемся потоке перемещаемого зерна.
Отбор проб, проводимый из грузовиков и трейлеров, следует осуществлять также, как от статических партий.
Для получения представительной объединенной пробы, отбираемой от партии зерна, количество точечных проб должно быть максимально возможным. В таблицах 1 - 4 приведены значения минимального количества точечных проб, которые следует отбирать в различных ситуациях.
5.2.2 Отбор проб в потоке перемещаемых продуктов
5.2.2.1 Общие положения
В связи с неоднородностью большинства партий зерна и их самосортированием в процессе хранения, для получения достоверной объединенной пробы точечные пробы следует отбирать в течение перемещения всей партии зерна.
5.2.2.2 Отбор проб механическим способом
Механизированное оборудование для отбора проб должно быть отрегулировано таким образом, чтобы масса точечных проб и частота их отбора могли регулироваться в широком диапазоне.
Серии точечных проб определенной массы должны отбираться через равномерные промежутки времени, в соответствии со скоростью движущегося потока и таким способом, чтобы каждая часть партии имела одинаковую вероятность попадания в приемное отверстие пробоотборника.
Пример - Поперечные пробоотборники отвечают этому требованию, независимо от типа потока.
5.2.2.3 Отбор проб ручным способом
Отбор точечных проб следует выполнять с равномерными интервалами.
5.2.3 Отбор проб от статических партий
Для отбора проб от статических партий применяемое оборудование и методы отбора должны выбираться с учетом высоты насыпи продукта, от которого будет отбираться проба.
Для партий зерна высотой насыпи до 2 м может применяться отбор проб вручную. Для партий с глубиной до 2, 5 м следует применять механические устройства, если принцип отбора, на котором они основаны, не создает расслоения в заборном устройстве трубы и не травмирует зерно. Если высота продукта превышает 2, 5 м, то для осуществления отбора проб должны использоваться только всасывающие устройства.
Отбор проб от партий, глубина насыпи которых составляет более 9 м, следует проводить при перемещении зерна.
Отбор проб от партий зерна в насыпи должен осуществляться по всей глубине насыпи, используя метод сетки (см. рисунки 1 и 2).
В настоящее время методы, применяемые для отбора проб зерна, не распространяются на муку, являющуюся порошкообразным продуктом.
5.2.4 Количество и масса проб зерна
5.2.4.1 Количество и масса точечных проб
Минимальное количество и масса отбираемых точечных проб приведены в таблицах 1 и 2. Все точечные пробы, соединенные вместе, составляют объединенную пробу, которая должна быть тщательно перемешана и разделена (6.1 и 6.2) для формирования лабораторной пробы.
5.2.4.2 Масса лабораторных проб
Рекомендуемая масса средней пробы обусловлена видами и требованиями методов анализа, которые подлежат выполнению (см. таблицы 1 и 2).
Для определения контаминантов масса средней пробы для зерна должна составлять от 1 кг до 10 кг.
Для выполнения других анализов она должна составлять не менее 1 кг. Для проб, отобранных с целью проведения анализов, предусматривающих размол продукта, масса средней пробы должна быть не менее 3 кг.
5.2.4.3 Отбор проб от перемещаемых партий продуктов с применением механизированных или ручных средств
Механическое оборудование для отбора проб должно быть отрегулировано таким образом, чтобы оно обеспечивало отбор точечных проб в соответствии с массой, указанной в приведенной таблице 1. Приведенные в таблице значения массы точечных и средних проб даны только для информации и не предназначены к замене национальных условий или требований.
|
Отбор проб от перемещаемых партий зерна механизированным или ручным способом | ||||
|
Метод |
Диапазон массы точечной пробы, г |
Минимальное количество точечных проб(а) |
Минимальная масса лабораторной пробы для определения контаминантов, кг |
Минимальная масса лабораторной пробы для других анализов, кг |
|
Отбор проб механизированным способом |
От 300 до 1900 |
20 - для партии или части партии массой 500 т 25 - для партии или части партии массой 1500 т и более | ||
|
Ручной отбор проб |
От 300 до 1900 |
Для контаминантов: 20 - для партии или части партии массой 500 т 25 - для партии или части партии массой 1500 т и более |
Для охратоксина А и афлатоксинов: 10 | |
|
Для пестицидов, тяжелых металлов, диоксинов: 1 |
От 1 до 3 в соответствии с требованиями методов анализа | |||
|
Для других анализов: 3 - для партии или части партии массой 500 т; 4 - для партии или части партии массой 1500 т и более |
Для других контаминантов(b): 3 | |||
|
(a) Частота отбора проб, в зависимости от массы потока зерна. (b) Для определения других контаминантов, таких как дезоксиниваленол (ДОН), фумозин, зеараленон; для определения ДОН масса лабораторной пробы может составлять 1 кг. | ||||
5.2.4.4 Отбор проб от статических партий продуктов
Количество проб, отбираемых для лабораторных анализов и арбитража, должно являться предметом соглашения между заинтересованными сторонами.
Количество и масса точечных проб приведены в таблице 2.
Если масса лабораторной пробы недостаточна, то количество точечных проб должно быть увеличено.
На рисунке 1 приведены примеры выполнения отбора проб в восьми точках, а на рисунке 2 - в 25 точках.
|
Отбор проб от статических партий зерна (рекомендуются механические пробоотборники) в трейлерах или грузовиках, вагонах, судах или танкерах, силосах или складах | ||||
|
Масса партии или части партии, т |
Диапазон массы точечной пробы(а), г |
Минимальное число точечных проб(b) |
Минимальная масса лабораторной пробы для определения контаминантов, кг |
Минимальная масса лабораторной пробы для других анализов, кг |
|
m≤15 |
3 точки отбора | |||
|
15<m≤30 |
8 точек отбора |
Для охратоксина и афлатоксинов: 10. | ||
|
30<m≤45 |
11 точек отбора |
От 1 до 3, в зависимости от требований аналитических методов | ||
|
45<m≤100 |
15 точек отбора |
Для пестицидов, тяжелых металлов и диоксинов: 1. | ||
|
100<m≤300 |
От 400 до 3000 |
18 точек отбора | ||
|
300<m≤500 |
20 точек отбора |
Для других контаминантов(c): 3 | ||
|
500<m≤1500 |
25 точек отбора | |||
|
Для партии или части партии более 1500 т |
25 точек отбора | |||
|
(а) При механизированном отборе масса пробы должна соответствовать применяемому оборудованию. (b) Для насыпи зерна с большой глубиной пробы отбирают каждые 2 м, что соответствует одной точечной пробе. Процедуру отбора повторяют столько раз, сколько необходимо. (с) Другие контаминанты, такие, как дезоксиниваленол (ДОН), фумозин, зеараленон; для определения ДОН масса лабораторной пробы может составлять 1 кг. | ||||

"Рисунок 1 - Примеры распределения восьми точек отбора проб"

"Рисунок 2 - Примеры распределения 25 точек отбора проб"
5.2.5 Количество и масса проб молотых и других продуктов переработки зерна (см. таблицы 3 и 4)
|
Отбор проб молотых и других продуктов переработки зерна с применением механизированных или ручных средств | ||||
|
Метод отбора проб |
Рекомендуемая масса точечной пробы, г |
Минимальное количество точечных проб |
Минимальная масса лабораторной пробы для определения контаминантов, кг |
Минимальная масса лабораторной пробы для других анализов, кг |
|
Механизированный отбор проб |
От 300 до 1 900 |
15 - для партии или части партии массой 100 т (частота отбора проб в зависимости от потока зерна) |
Для измельченных продуктов: 1. | |
|
Ручной отбор проб |
От 300 до 1 900 |
15 - для партии или части партии массой 100 т: т.е. для потока зерна ≤20 т/ч - не менее 3 проб в час. Для потока более 20 т/ч - не менее 3 проб от 20 т |
Для гранулированных продуктов (например, гранул): 3 |
От 1 до 3, в зависимости от требований метода анализа |
|
Примечания 1 Для получения минимальной массы лабораторной пробы может потребоваться дополнительный отбор точечных проб. 2 Поскольку измельченные продукты более однородны, чем зерно, то лабораторная проба массой 1 кг вполне достаточна для определения контаминантов. | ||||
|
Отбор проб молотых и других продуктов переработки зерна (рекомендуются механические пробоотборники) в трейлерах или грузовиках, вагонах | ||||
|
Масса партии или части партии, т |
Рекомендуемая масса точечной пробы, г |
Минимальное количество точечных проб |
Минимальная масса лабораторной пробы для определения контаминантов, кг |
Минимальная масса лабораторной пробы для других анализов, кг |
|
m≤15 |
От 400 до 3000 |
3 точки отбора проб |
Для измельченных продуктов: 1. | |
|
15<m≤30 |
3 точки отбора проб на секцию |
От 1 до 3, в зависимости от требований метода анализа | ||
|
30<m≤45 |
5 точек отбора проб на секцию |
Для гранулированных продуктов (например, гранул): 3 | ||
|
m>45 |
8 точек отбора проб на секцию | |||
|
Примечания 1 Для получения минимальной массы лабораторной пробы может потребоваться дополнительный отбор точечных проб. 2 Поскольку принято считать, что измельченные продукты более однородны, чем зерно, то лабораторная проба массой 1 кг вполне достаточна для определения контаминантов. | ||||
Рекомендуется проводить отбор проб молотых и других продуктов переработки зерна в процессе их изготовления или отгрузки. Отбор проб в силосах не рекомендуется [3].
5.3 Отбор проб молотых и других зерновых продуктов в упаковочных единицах
5.3.1 Отбор проб продукции, перевозимой в контейнерах, мешках или коробках
Партию составляет группа фасованных единиц продуктов, которые имеют один или несколько источников происхождения и одинаковый идентификационный код отслеживания на индивидуальной упаковке.
Фасованные продукты, как правило, перевозятся в грузовых контейнерах или на поддонах, которые содержат определенное количество фасовок. Для определения количества контейнеров или картонных коробок, из которых будут отбираться пробы, следует применять такие же методы отбора проб, как и для мешков (см. 5.3.3).
5.3.2 Точечные пробы или фасованные единицы
Фасованные единицы, отобранные для испытаний методом случайного отбора из общего объема всей партии, следует рассматривать как точечные пробы.
ВНИМАНИЕ - Следует избегать отбора фасованных единиц, занимающих одинаковые места в контейнерах или поддонах.
5.3.3 Количество и масса точечных проб
Точечные пробы следует отбирать из центра и по всей длине каждой фасованной единицы, выбранной для отбора проб, с использованием конического пробоотборника (щупа), предназначенного специально для мешков (см. В. 1.2). Они должны быть отобраны из числа мешков, указанного ниже.
Для определения частоты отбора проб в партиях F(n), поставляемых в отдельной упаковке (мешки, розничные пакеты и др.), в качестве ориентира может применяться следующая формула.
Отбирают точечную пробу от каждого n-го мешка или коробки (десятичные знаки следует округлять до ближайшего целого числа), где n - число фасованных единиц между двумя точечными пробами.
,
(1)
где mB - масса партии в килограммах;
m1 - масса каждой точечной пробы в килограммах (примерно 0, 100 кг);
mA - масса объединенной пробы в килограммах;
mP - масса отдельной фасовки в килограммах.
Примечание - Для анализа контаминантов в молотых продуктах mA составляет примерно 1 кг, 3 кг - для гранулированных продуктов (например, гранулы) и от 1 до 3 кг - для других анализов.
Частота отбора проб, рассчитанная исходя из массы точечной пробы 0, 100 кг, соответствует минимальному числу точечных проб, которые должны быть отобраны. Если масса точечной пробы более 0, 1 кг, то частота отбора вычисляется также из расчета массы точечной пробы 0, 1 кг.
Практические примеры расчетной частоты отбора проб для партий 25, 50 и 100 т приведены в таблице 5 и на рисунке 3.
|
Размер партии, кг |
Масса одной фасовки, кг |
Масса точечной пробы, кг |
Расчетная частота отбора проб для определения контаминантов в гранулированном продукте |
Эквивалент для поддона |
Расчетная частота отбора проб для определения контаминантов или других анализов для продуктов любых типов |
Эквивалент для поддона |
|
1 точечная проба на каждую n-ю фасованную единицу |
1 проба от всех n мешков или 1 проба от всех х поддонов |
1 точечная проба на каждую n-ю фасованную единицу |
1 проба от всех n мешков или 1 проба от всех мешков и поддонов | |||
|
25000 |
1 |
0, 100 |
833 |
1 проба на каждые 833 фасованные единицы или 1 проба на поддон |
2500 |
1 проба на каждые 2500 фасованных единиц или 1 проба на каждые 3 поддона |
|
25000 |
5 |
0, 100 |
167 |
1 проба на каждые 167 фасованных единиц или 1 проба на поддон |
500 |
1 проба на каждые 500 фасованных единиц или 1 проба на каждые 3 поддона |
|
25000 |
25 |
0, 100 |
33 |
1 проба на каждые 33 фасованные единицы или 1 проба на поддон |
100 |
1 проба на каждые 100 фасованных единиц или 1 проба на каждые 3 поддона |
|
25000 |
40 |
0, 100 |
21 |
1 проба на каждую 21 фасованную единицу или 1 проба на поддон |
63 |
1 проба на каждые 63 фасованные единицы или 1 проба на каждые 3 поддона |
|
25000 |
50 |
0, 100 |
17 |
1 проба на каждые 17 фасованных единиц или 1 проба на поддон |
50 |
1 проба на каждые 50 фасованных единиц или 1 проба на каждые 3 поддона |
|
50000 |
1 |
0, 100 |
1667 |
1 проба на каждые 1667 фасованных единиц или 1 проба на каждые 2 поддона |
5000 |
1 проба на каждые 5000 фасованных единиц или 1 проба на каждые 6 поддонов |
|
50000 |
5 |
0, 100 |
333 |
1 проба на каждые 333 фасованные единицы или 1 проба на каждые 2 поддона |
1000 |
1 проба на каждую 1000 фасованных единиц или 1 проба на каждые 6 поддонов |
|
50000 |
25 |
0, 100 |
67 |
1 проба на каждые 67 фасованных единиц или 1 проба на каждые 2 поддона |
200 |
1 проба на каждые 200 фасованных единиц или 1 проба на каждые 6 поддонов |
|
50000 |
40 |
0, 100 |
42 |
1 проба на каждые 42 фасованные единицы или 1 проба на каждые 2 поддона |
125 |
1 проба на каждые 125 фасованных единиц или 1 проба на каждые 6 поддонов |
|
50000 |
50 |
0, 100 |
33 |
1 проба на каждые 33 фасованные единицы или 1 проба на каждые 2 поддона |
100 |
1 проба на каждые 100 фасованных единиц или 1 проба на каждые 6 поддонов |
|
100000 |
1 |
0, 100 |
3333 |
1 проба на каждые 3333 фасованные единицы или 1 проба на каждые 4 поддона |
10000 |
1 проба на каждые 10000 фасованных единиц или 1 проба на каждые 12 поддонов |
|
100000 |
5 |
0, 100 |
667 |
1 проба на каждые 667 фасованных единиц или 1 проба на каждые 4 поддона |
2000 |
1 проба на каждые 2000 фасованных единиц или 1 проба на каждые 12 поддонов |
|
100000 |
25 |
0, 100 |
133 |
1 проба на каждые 133 фасованные единицы или 1 проба на каждые 4 поддона |
400 |
1 проба на каждые 400 фасованных единиц или 1 проба на каждые 12 поддонов |
|
100000 |
40 |
0, 100 |
83 |
1 проба на каждые 83 фасованные единицы или 1 проба на каждые 4 поддона |
250 |
1 проба на каждые 250 фасованных единиц или 1 проба на каждые 12 поддонов |
|
100000 |
50 |
0, 100 |
67 |
1 проба на каждые 67 фасованных единиц или 1 проба на каждые 4 поддона |
200 |
1 проба на каждые 200 фасованных единиц или 1 проба на каждые 12 поддонов |

"Рисунок 3 - Примеры распределения точек отбора проб при интервале отбора F(n)=17"
6.1 Перемешивание
Перед любой процедурой деления, предназначенной для выделения лабораторной пробы, объединенная проба должна быть тщательно перемешана до однородного состояния.
Примечание - Деление пробы без ее предварительного перемешивания приводит к получению непредставительной лабораторной пробы.
6.2 Деление объединенной пробы
Деление объединенной пробы осуществляют с целью получения требуемого числа лабораторных проб определенной массы (см. таблицы 1 - 4), с применением метода и оборудования, обеспечивающих выделение репрезентативных лабораторных проб. Примеры приведены в разделах 6.2.1, 6.2.2 и приложении В, В.3. При работе с очень большими объединенными пробами может быть использовано альтернативное оборудование, но оно должно обеспечивать получение репрезентативных лабораторных проб.
Оборудование должно быть тщательно очищено между разными пробами, чтобы избежать перекрестного загрязнения.
6.2.1 Метод придания конической формы и деления на четыре части
6.2.1.1 Перед проведением деления в соответствии с операциями, описанными в 6.2.1.3 и 6.2.1.4, объединенную пробу тщательно перемешивают, повторив, по крайней мере, дважды операции 6.2.1.2 и 6.2.1.3. Выполнять работу следует на чистой, негигроскопической поверхности.
6.2.1.2 Объединенной пробе придают конусообразную форму.
6.2.1.3 Разравнивают поверхность пробы и затем делят ее на четыре части, A, B, C и D.
6.2.1.4 Удаляют две противоположные по диагонали четверти (В и С), а две оставшиеся четверти (А и D) перемешивают (см. рисунок 4).
6.2.1.5 Всю процедуру повторяют до получения лабораторной пробы необходимой массы.

"Рисунок 4 - Метод придания конической формы и деления на четыре части"
6.2.2 Делители пробы
Работать с делителями следует на плоской поверхности.
6.2.2.1 Конусообразные делители
6.2.2.1.1 Для уменьшения объединенной пробы, в случае необходимости, применяют делитель с подставкой, а для сбора зерна используют набор коробок или ведер.
6.2.2.1.2 Перемешивание пробы проводят путем повторения операций 6.2.2.1.3 и 6.2.2.1.4 не менее трех раз и повторного перемешивания частей пробы в бункере.
6.2.2.1.3 Засыпают объединенную пробу в закрытый контейнер.
6.2.2.1.4 Получают две части пробы в двух коробках для сбора проб.
6.2.2.1.5 Содержимое одной из двух наборов коробок для сбора проб сохраняют.
6.2.2.1.6 Две пустые коробки помещают на прежнее место.
6.2.2.1.7 Повторяют операции 6.2.2.1.2 - 6.2.2.1.6 столько раз, сколько необходимо, используя хранящуюся часть пробы из 6.2.2.1.5, чередуя набор коробок до получения лабораторной пробы необходимой массы.
6.2.2.2 Ротационный механический делитель
Включают центробежный делитель. Засыпают объединенную пробу в верхний бункер. Выполняют операции от 6.2.2.1.4 до 6.2.2.1.6. Повторяют операции от 6.2.2.1.2 до 6.2.2.1.6 столько раз, сколько необходимо, чередуя набор коробок до получения лабораторной пробы необходимой массы.
6.2.2.3 Желобковый делитель
Желобковые делители следует применять только для маленьких проб (менее 2 кг).
Процедуру следует выполнять так, как указано в 6.2.2.1.4 - 6.2.2.1.6. Повторяют все операции от 6.2.2.1.2 до 6.2.2.1.6 столько раз, сколько необходимо, чередуя набор коробок до получения лабораторной пробы необходимой массы.
7.1 Общие положения
Лабораторные пробы следует упаковывать в чистые емкости. Емкости должны быть подходящими для упаковки с учетом массы лабораторной пробы. Масса лабораторной пробы должна быть достаточной для выполнения всех предусмотренных анализов. Емкости должны обеспечивать сохранность всех начальных характеристик лабораторной пробы.
Емкости должны быть полностью заполнены и опечатаны для предотвращения изменений их содержимого.
При наличии пломбы они должны быть защищены от взлома и идентифицируемы.
7.2 Этикетки для проб
Информация на этикетках, указанная в перечислениях от а) до g), должна быть нанесена несмываемым маркером разборчиво. Информация на этикетке лабораторной пробы должна содержать необходимые данные в соответствии с условиями контракта, такие как, например:
a) наименование продукта;
b) представленная масса;
c) идентификационный номер партии;
d) номер контракта (при необходимости);
e) дата отбора проб;
f) место и пункт отбора проб;
g) имя лица, проводившего отбор проб.
Пробы должны быть отправлены в лабораторию как можно быстрее.
Пробы должны храниться и транспортироваться в соответствующих условиях, сохраняющих их целостность и неприкосновенность.
Акт отбора проб может содержать некоторые или все следующие сведения:
a) дату отбора проб;
b) имя и подпись лица, уполномоченного осуществлять отбор проб;
c) если это необходимо:
1) фамилию и подпись продавца,
2) фамилию и подпись покупателя,
3) фамилию и подпись поставщика;
d) описание продукта, включая:
1) наименование,
2) массу пробы,
3) размер партии,
4) происхождение пробы (например, горизонтальный силос, вертикальный силос, грузовой автомобиль);
е) описание процедуры отбора проб, включая:
1) расположение и точки отбора проб,
2) число точечных проб в партии,
3) число средних проб на партию,
4) использованную процедуру отбора проб (оборудование, статическая/перемещаемая партия и др.),
5) пункт назначения пробы, например, имя и адрес, по которому должна быть отправлена проба,
6) комментарии, если такие имеются;
f) условия транспортирования и хранения.
Устройство, применяемое для отбора проб, должно соответствовать требованиям безопасности и, в частности, иметь достаточно хорошую освещенность для осмотра, управления и технического обслуживания. Если устройство используется в потенциально пыльной среде, то работающему персоналу необходимо носить соответствующие защитные маски.
ВНИМАНИЕ - Хождение по зерну, хранящемуся в бункерах, отсеках судов, силосах элеваторов и грузовых автомобилях является опасным. В некоторых случаях воздух в силосах элеваторов может быть удушающим или токсичным в результате накопления газа, обусловленного обменом веществ зерна, грибов и плесени. Местное законодательство и промышленные стандарты должны строго соблюдаться.
______________
* Химические загрязнители пищевых продуктов: токсические элементы, радионуклиды, пестициды, нитраты, нитриты, нитрозамины, микотоксины, бактерии и бактериальные токсины, поли циклические ароматические углеводороды (ПАУ), диоксины и диоксиноподобные соединения и др.
Приложение А
(справочное)
В настоящем приложении описаны основные типы механических устройств, применяемых для отбора проб в потоке зерна, и приведены иллюстрации примеров таких устройств.
А.1 Поперечные пробоотборники
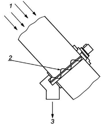
Поперечные пробоотборники позволяют отбирать пробы по всему поперечному сечению падающего потока зерна. Это могут быть пробоотборники для открытого самотека (см. рисунок А.1), трубчатые пробоотборники с открывающимися отверстиями для отбора проб (см. рисунок А.2) или трубчатые шнековые пробоотборники (см. рисунок А.3).

1 — приспособление для обеспечения самотека зерна; 2 — входное отверстие пробоотборника; 3— проба зерна
"Рисунок А.1 - Поперечный пробоотборник для открытого самотека, обеспечивающий периодический и непрерывный отбор проб"

1 — делитель пробы; 2 — поток пробы; 3— возврат избытка зерна в систему
"Рисунок А.2 - Поперечный трубчатый пробоотборник с открывающимися отверстиями для отбора проб"

1 — поток зерна; 2 — шнек; 3— поток пробы
"Рисунок А.3 - Трубчатый шнековый пробоотборник"
А.2 Пробоотборники с отклонением всего потока зерна
В пробоотборниках этого типа имеются качающиеся лопасти или заслонки для прерывистого отклонения всего потока зерна (см. рисунок А.4).

1 — поток пробы; 2 – лопасть или заслонка
"Рисунок А.4 - Пробоотборник с отклонением всего потока"
А.3 Пробоотборники с вращающейся воронкой
В пробоотборнике этого типа падающий поток зерна прерывисто забирается воронкой с выходным патрубком, вращающейся вокруг центральной вертикальной оси (см. рисунок А.5).

1 — поток зерна; 2 — вертикальная труба; 3— вращающаяся воронка; 4 — поток зерна; 5 — поток пробы
"Рисунок А.5 - Пробоотборник с вращающейся воронкой"
А.4 Пробоотборники с ковшовым элеватором
Пробоотборники этого типа позволяют осуществлять отбор проб зерна, движущегося на ленте конвейера. Ковши, движущиеся по бесконечной петле, отбирают пробы по всей ширине потока зерна, благодаря конфигурации боковых валиков, концентрирующих зерно на ленте. По мере продвижения ковшей вокруг оси верхнего вращающегося ролика пробы отправляются в приемный бункер (см. рисунок А.6).

1 — ковш(и) для отбора проб; 2 — лента (цепь) с ковшом для отбора проб; 3—направляющая цепи ковшей; 4 — баланс; 5 — специальный ролик; 6 — контейнер для проб; 7— ведущий ролик; 8 — конвейерная лента; 9 — ограждение; 10 — бункер
Примечание — Ковши с пробой зерна, движущиеся на ленте, после достижения верхней точки поворачиваются вокруг ролика и пробы зерна высыпаются в бункер.
"Рисунок А.6 - Пробоотборник с ковшовым элеватором"
Приложение В
(справочное)
В этом приложении приведены примеры оборудования, применяемого для отбора проб от статических партий продуктов и для деления проб.
В.1 Устройства для отбора проб зерновых
В.1.1 Устройства, применяемые для отбора проб из статической насыпи продуктов, бункеров и жестких контейнеров
В.1.1.1 Ручные концентрические заостренные пробоотборники (щупы)
В.1.1.1.1 Открытая или закрытая труба с одной или несколькими щелями
![]()
"Рисунок В.1 - Открытая труба с одним отверстием"
![]()
"Рисунок В.2 - Открытая труба с несколькими отверстиями или закрытая труба с отсеками и несколькими отверстиями"
В.1.1.1.2 Открытая труба с отверстиями, расположенными последовательно в ступенчатом порядке: несколькими отверстиями (см. рисунок В.3)
![]()
"Рисунок В.3 - Открытая труба с отверстиями, расположенными последовательно в ступенчатом порядке"
В.1.1.2 Пробоотборники гравитационного типа с удлинительным стержнем и Т-образными ручками
В.1.1.2.1 Пробоотборник гравитационного типа: цилиндрический, (см. рисунок В.4)

"Рисунок В.4 - Цилиндрический пробоотборник гравитационного типа с конусообразной головкой"
В.1.1.2.2 Пробоотборник гравитационного типа: чашечный тип (см. рисунок В.5)

"Рисунок В.5 - Чашечный тип (головка показана в открытом положении)"
В.1.1.3 Механические устройства для отбора проб
В.1.1.3.1 В настоящем разделе приведены три основные категории механических пробоотборников (см. рисунки В.1.1.3.2 - В.1.1.3.4).
В.1.1.3.2 Пробоотборник гравитационного типа (см. рисунок В.6)

"Рисунок В.6 - Пробоотборник гравитационного типа"
В.1.1.3.3 Всасывающее устройство для отбора проб (вакуумный пробоотборник) (см. рисунок В.7)
В.1.1.3.4 Пневматический пробоотборник (рисунок не представлен)

а) Пример отбора пробы из грузовой автомашины
"Рисунок В.7, лист 1 - Всасывающий (вакуумный) пробоотборник"

b) Пример осуществления отбора пробы на глубине более 2 м (суда, трюмы танкеров и т. д.)
1 — проба; 2- масса зерна; 3 — пористая головка; 4 — воздух; 5 проба зерна; 6 — головка для отбора проб; 7- сцепление (муфта); в — удлинительная труба для отбора проб; 9 — автоматическая разгрузка отобранной пробы: 10— резервуар для отобранных проб; 11 — вакуумная камера: 12— труба
"Рисунок В.7, лист 2"
В.1.2 Инструменты, применяемые для отбора проб из мешков или пакетов, включая мешки навалом
В.1.2.1 Конусообразные пробоотборники для мешков (щупы)
Минимальный размер диаметра: 17 мм; отверстие: 40 мм х 15 мм (см. рисунок В.8).
![]()
"Рисунок В.8 - Конусообразные пробоотборники для мешков"
В.1.2.2 Пробоотборники типа "трости"
Концентрические трубки, минимальный диаметр канала: 20 мм:
a) Открытая ручка (рукоятка, полый стержень): с одним или несколькими отверстиями
b) С отсеками: с одним или несколькими отверстиями (см. рисунок В.9)

"Рисунок В.9 - Концентрический пробоотборник для мешков типа "трости" открытая ручка с одним или несколькими отверстиями"
В.1.2.3 Конический пробоотборник (см. рисунок В.10)

"Рисунок В.10 - Конический пробоотборник"
В.1.2.4 Пробоотборники гравитационного типа с удлиненной штангой и Т-образными ручками для мешков, открываемых сверху (см. рисунки В.4 и В.5)
В.1.2.5 Винтовой пробоотборник Архимеда
Преимущественно маленький, портативный (переносной) электрический пробоотборник (см. рисунок В.11).

"Рисунок В.11 - Винтовой пробоотборник Архимеда (портативный)"
В.2 Инструменты, применяемые для отбора проб молотых продуктов, за исключением гранулированных
В.2.1 Инструменты для отбора проб из насыпи в статическом состоянии
В.2.1.1 Эти инструменты такие же, как и для зерновых (В.1.1), за исключением механических пробоотборников.
Из механических пробоотборников только два типа пригодны для молотых продуктов (см. В.2.1.2 и В.2.1.3) Пневматические пробоотборники, как правило, для этих целей не используются.
В.2.1.2 Электромеханический винтовой пробоотборник Архимеда (см. рисунок В.12)

"Рисунок В.12 - Электромеханический винтовой пробоотборник Архимеда"
В.2.1.3 Механический пробоотборник гравитационного типа (см. рисунок В.6)
В.2.2 Инструменты для отбора проб из мешков и пакетов
Это такие же инструменты, как и для зерновых (В.1.2).
В.3 Инструменты для деления проб
Эти инструменты изготавливаются из материалов, не загрязняющих пробы.
В.3.1 Металлические изделия для деления пробы на четыре части (см. рисунок В.13)
В.3.2 Многощелевые делители (с перегородками и пластинами)
В.3.2.1 Небольшие лабораторные делители для молотых продуктов
Желоба глубиной 12, 7 мм, при минимуме 12 отверстий (см. рисунок В.14).
В.3.2.2 Делители среднего размера для зерновых
Желоба глубиной 12, 7 мм, при минимуме 18 отверстий (см. рисунок В.14).

"Рисунок В.13 - Металлическое устройство для деления пробы на четыре части"

"Рисунок В.14 - Многожелобковый делитель с перегородками, пластинами и двумя ящиками для сбора пробы"
В.3.3 Конические делители (типа Бэрнера) (см. рисунок В.15)

"Рисунок В.15 - Конический делитель"
В.3.4 Ротационный механический делитель
Позволяет получать одновременно многократные пробы (см. рисунок В.16)

1 — воронка; 2 — вращающаяся труба; 3 — двигатель; 4 — бункер в форме конуса с восемью створками; 5 — часть отобранной пробы; б — струя части отобранной пробы; 7, 8 — две подставки для сбора зерна; 9 — отвод излишков зерна; 10 — рукоятка для регулирования створок; 11 — регулируемые отверстия
"Рисунок В.16 - Ротационный механический делитель"
В.4 Информационные данные по оборудованию для отбора проб зерна и зерновых продуктов
|
Условия хранения |
Ссылка на рисунки в приложении В | |
|
Для целого зерна |
Молотые и другие зерновые продукты | |
|
Насыпные продукты в статическом состоянии в силосах, бункерах и хранилищах |
В.1, В.2, В.3, В.4, В.5, В.6, В.7 |
В.12 |
|
Железнодорожные вагоны, суда и контейнеры для транспортирования насыпных грузов |
В.1, В.2, В.3, В.4, В.5, В.6, В.7 |
В.12 |
|
Грузовые бункеры и жесткие контейнеры |
В.1, В.2, В.3, В.4, В.5, В.6, В.7 |
В.12 |
|
Пакеты и мешки (из тканого материала, бумага и пластмасса) |
В.4, В.5, В.8, В.9, В.10, В.11 |
В.8, В.9, В.10, В.11, В.12 |
|
Примечание - Минимальный перечень оборудования приведен только для информации. | ||
Библиография
[1] ISO 542, Oilseeds - Sampling
[2] ISO 664, Oilseeds - Reduction of laboratory sample to test sample
[3] ISO 3534-2:2006, Statistics - Vocabulary and symbols - Part 2: Applied statistics
[4] ISO 6206:1979, Chemical products for industrial use - Sampling - Vocabulary
[5] ISO 6644:2002, Flowing cereals and milled cereal products - Automatic sampling by mechanical means
[6] ISO 7002:1986, Agricultural food products - Layout for a standard method of sampling from a lot
[7] ISO 13690:1999, Cereals, pulses and milled products - Sampling of static batches
[8] ISO 16002, Stored cereal grains and pulses - Guidance on the detection of infestation by live invertebrates by trapping
[9] ISO/TR 29263, Cereals and cereal products - Sampling studies
[10] Commission Regulation (EC)401/2006 of 23 February 2006 laying down the methods of sampling and analysis for the official control of the levels of mycotoxins in foodstuffs
[11] Commission Regulation (EC) 466/2001 of 8 March 2001 setting maximum levels for certain contaminants in foodstuffs
[12] Commission Directive 2002/63/EC of 11 July 2002 establishing Community methods of sampling for the official control of pesticide residues in and on products of plant and animal origin and repealing Directive 79/700/EEC
[13] Commission Directive 2002/70/EC of 26 July 2002 establishing requirements for the determination of levels of dioxins and dioxin-like PCBs in feedingstuffs
[14] Commission Recommendation 2004/787/EC of 4 October 2004 on technical guidance for sampling and detection of genetically modified organisms and material produced from genetically modified organisms as or in products in the context of Regulation 1830/2003
[15] Gafta No. 124, Sampling rules - Rules for sampling, analysis instructions and analysis certification. Available (2009-07-15) at: http://www.medimedica.com/Contratti%20tipo/124.pdf


