ГОСТ Р МЭК 61267-2001 АППАРАТЫ РЕНТГЕНОВСКИЕ МЕДИЦИНСКИЕ ДИАГНОСТИЧЕСКИЕ. УСЛОВИЯ ИЗЛУЧЕНИЯ ПРИ ОПРЕДЕЛЕНИИ ХАРАКТЕРИСТИК
Medical diagnostic X-ray equipment. Radiation conditions for use in the determination of characteristics
Дата введения 1 января 2003 г.
Введен впервые
Введение
Настоящий стандарт является прямым применением международного стандарта МЭК 61267-94 "Аппараты рентгеновские медицинские диагностические. Условия излучения при определении характеристик", подготовленного Подкомитетом 62В "Аппараты для лучевой диагностики" Технического комитета МЭК 62 "Изделия медицинские электрические".
Точно определенные условия излучения необходимы при определении характеристик или свойств вспомогательного оборудования или при создании пучков излучений для проведения физических и медицинских исследований.
Для проведения работ по стандартизации необходимо:
- знать точно определенные условия излучения, которые могут быть использованы для разработки новых международных стандартов, регламентирующих работу рентгеновских аппаратов;
- создать базу для гармонизации существующих международных стандартов;
- создать унифицированную систему условий излучения (справочник условий излучения), позволяющую судить о преимуществах рентгеновского аппарата изготовителю, пользователю, пациенту и органам здравоохранения;
- решить проблему связи между изготовителями и пользователями, которая затруднена из-за отсутствия определений и методов испытаний, принятых в международной практике.
Стандартные условия излучения могли бы найти применение:
- при испытаниях по управлению качеством на предприятии-изготовителе;
- при установочных и приемочных испытаниях;
- при калибровке испытательного оборудования;
- при типовых испытаниях (при необходимости);
- при физических и медицинских исследованиях в физических лабораториях и медицинских учреждениях;
- при определении характеристик вспомогательного оборудования.
Стандартные условия испытаний могут принести пользу большому числу потенциальных пользователей, таких как:
- изготовители рентгеновских аппаратов;
- изготовители рентгеновского испытательного оборудования;
- исследовательские лаборатории;
- испытательные институты;
- правительственные регулирующие органы;
- сервисные организации;
- органы стандартизации.
Некоторые положения и утверждения в тексте настоящего стандарта требуют дополнительного обоснования. Звездочка перед пунктом или подпунктом означает, что такое обоснование приведено в приложении В.
Области применения всех условий излучения в различных областях медицины указаны в приложении С.
В тексте настоящего стандарта используемые термины выделены прописными буквами. Если установленный термин используется в качестве определения для другого установленного или неустановленного термина, он не печатается прописными буквами, если установленное таким образом понятие не определяется как "производный термин без определения".
*1.1 Область распространения
Настоящий стандарт распространяется на испытания для определения характеристик систем или компонентов медицинских диагностических рентгеновских аппаратов, в процессе которых требуются точно определенные условия излучения.
За исключением маммографии настоящий стандарт не распространяется на условия излучения, при которых скачки при поглощении излучения элементами специально используются для изменения свойств пучка рентгеновского излучения (например фильтры из редкоземельных элементов).
Стандарт не устанавливает методы измерения чувствительности систем "экран-пленка".
Требования настоящего стандарта являются обязательными.
*1.2 Цель
Настоящий стандарт устанавливает методы создания пучков рентгеновского излучения с такими условиями излучения, которые могут быть использованы при определении характеристик медицинских диагностических рентгеновских аппаратов при их испытаниях в условиях, типичных для лабораторий или производственных помещений, например условия излучения рентгеновского излучателя или условия излучения, которые имитируют излучение из выходной поверхности пациента.
Наиболее полной характеристикой условии излучения является спектральное распределение в пучке излучения. так как измерение типичных спектров рентгеновского излучения является сложной проблемой, в настоящем стандарте условия излучения определяются по слою половинного ослабления или, когда это возможно, с помощью ослабления при использовании водяных фантомов в определенных геометрических условиях.
В настоящем стандарте описываются как первичные условия излучения, которые практически свободны от рассеянного излучения (rqr и rqa), так и условия излучения, содержащие рассеянное излучение (rqn, rqb, rqn-m и rqb-m), используемые для имитации пациента.
При наличии рассеянного излучения характеристика рентгеновского излучения (первичного излучения и рассеянного излучения) зависит от геометрического расположения и состава дополнительного фильтра или фантома. поэтому методы измерения воздушной кермы в таких пучках излучения должны быть точно определены.
В разделах 5 и 6 установлены условия излучения, которые практически свободны от рассеянного излучения. благодаря пространственной однородности этих условии излучения расстояние применения существенно не влияет на условия излучения. такие условия излучения называют качествами излучения.
В разделе 5 установлены условия излучения в пучках излучения, выходящих из рентгеновского излучателя. такие условия излучения могут быть использованы для определения свойств ослабления вспомогательного оборудования.
В разделе 6 установлены условия излучения в пучках излучения, выходящих из облучаемого объекта, имитирующего пациента, при следующих условиях:
- доля рассеянного излучения в пучке излучения незначительная;
- точная имитация спектрального распределения в пучке излучения, выходящем из пациента, не является необходимым условием.
В разделах 7, 8, 9 и 10 установлены условия излучения, содержащие рассеянное излучение. ограничение рассеянного излучения осуществляют соответствующими средствами и/или с помощью установленной дополнительной информации.
В разделе 7 установлены условия излучения, в основном предназначенные для использования в сочетании с условиями излучения rqb (раздел 8) при измерениях, в которых доля рассеянного излучения в измеряемом сигнале минимальная (условия узкого пучка).
В разделе 8 установлены условия излучения, предназначенные для использования при измерениях, в которых доля рассеянного излучения в измеряемом сигнале значительная (условия широкого пучка).
В разделе 9 установлены условия излучения, предназначенные для исследований в маммографии в условиях узкого пучка на основе использования специального тканеэквивалентного фантома.
В разделе 10 установлены условия излучения, предназначенные для исследований в маммографии в условиях широкого пучка при использовании специального тканеэквивалентного фантома.
В настоящем стандарте использованы ссылки на следующие стандарты:
ГОСТ 30324.0-95 (МЭК 601-1-88)/ГОСТ Р 50267.0-92 (МЭК 601-1-88) Изделия медицинские электрические. Часть 1. Общие требования безопасности
ГОСТ Р 51746-2001 (МЭК 61223-1-93) Оценка и контроль эксплуатационных параметров рентгеновской аппаратуры в отделениях (кабинетах) рентгенодиагностики. Часть 1. Общие требования
ГОСТ Р МЭК 60731-2001 Изделия медицинские электрические. Дозиметры с ионизационными камерами для лучевой терапии
МЭК 60788-84* Медицинская радиационная техника. Термины и определения
ИСО 2092-81* Легкие металлы и их сплавы. Коды обозначения на основе химических символов
3.1 Степень обязательности требований
В настоящем стандарте использованы следующие вспомогательные термины:
должен - соответствие требованиям настоящего стандарта обязательно;
рекомендуется - соответствие требованиям настоящего стандарта рекомендовано, но необязательно;
может - используется для описания допустимых путей достижения соответствия требованиям настоящего стандарта;
установленный - используется для обозначения определенных данных, приведенных в настоящем стандарте или в стандартах, на которые даны ссылки, и относящихся к конкретным условиям работы и испытаний или к значениям, по которым определяют соответствие требованиям настоящего стандарта;
нормируемый - используется для обозначения определенных данных, указываемых ИЗГОТОВИТЕЛЕМ в ЭКСПЛУАТАЦИОННЫХ ДОКУМЕНТАХ или в других документах на рентгеновский аппарат, касающихся, главным образом, назначения, параметров, условий эксплуатации или испытаний на соответствие настоящему стандарту.
3.2 Определения
В настоящем стандарте используются термины и соответствующие определения по МЭК 60788, ГОСТ Р 51746 и 3.3 настоящего стандарта. Указатель терминов приведен в приложении А.
Примечание - Если понятие не соответствует определению, данному в одном из вышеперечисленных стандартов, соответствующий термин набран строчными буквами.
3.3 Установленные термины
3.3.1 ОПОРНАЯ ТОЧКА: Точка в ИОНИЗАЦИОННОЙ КАМЕРЕ, идя которой при калибровке камеры нормируется измеряемый параметр. Положение ОПОРНОЙ ТОЧКИ в камере обычно должно быть такое, чтобы чувствительность, отнесенная к этой точке, в возможно большей степени не зависела от расстояния между этой точкой и ИСТОЧНИКОМ ИЗЛУЧЕНИЯ (см. ГОСТ Р МЭК 60731, А.2.6.1).
3.3.2 ВЫХОДНАЯ ПОВЕРХНОСТЬ: В РАДИОЛОГИИ - плоская или криволинейная поверхность, через которую ПУЧОК ИЗЛУЧЕНИЯ выходит из облучаемого объекта.
3.3.3 ПЛОСКОСТЬ ПРИМЕНЕНИЯ: Плоскость, перпендикулярная ОПОРНОЙ ОСИ, в которой определяют стандартные УСЛОВИЯ ИЗЛУЧЕНИЯ.
3.3.4 РАССТОЯНИЕ ПРИМЕНЕНИЯ: Расстояние от ЭФФЕКТИВНОГО ФОКУСНОГО ПЯТНА до ПЛОСКОСТИ ПРИМЕНЕНИЯ.
3.3.5 ТЕСТ-ОБЪЕКТ СЛОЯ ПОЛОВИННОГО ОСЛАБЛЕНИЯ: Приспособление, предназначенное для ОСЛАБЛЕНИЯ рентгеновских лучей (обычно в виде фольги или пластины), которое при соответствующей толщине ослабляет МОЩНОСТЬ ВОЗДУШНОЙ КЕРМЫ до половины значения, измеренного при отсутствии такого приспособления.
3.3.6 УСЛОВИЯ ИЗЛУЧЕНИЯ: Описание РАДИАЦИОННЫХ ПОЛЕЙ с помощью набора электрических и геометрических параметров, таких как АНОДНОЕ НАПРЯЖЕНИЕ, ОБЩАЯ ФИЛЬТРАЦИЯ и геометрические характеристики.
Примечание - Термин УСЛОВИЯ ИЗЛУЧЕНИЯ относится к описанию РАДИАЦИОННЫХ ПОЛЕЙ, а не к конкретной испытательной установке.
3.3.7 КАЧЕСТВО ИЗЛУЧЕНИЯ: УСЛОВИЯ ИЗЛУЧЕНИЯ, при которых РАДИАЦИОННЫЕ ПОЛЯ содержат незначительное количество РАССЕЯННОГО ИЗЛУЧЕНИЯ.
Примечание - Это определение более конкретное, чем приведенное в МЭК 60788.
*4.1 Стандартные УСЛОВИЯ ИЗЛУЧЕНИЯ
Стандартные УСЛОВИЯ ИЗЛУЧЕНИЯ обозначают буквенным кодом и описывают с помощью параметров:
- материала МИШЕНИ;
- приблизительного значения АНОДНОГО НАПРЯЖЕНИЯ;
- установленной ОБЩЕЙ ФИЛЬТРАЦИИ, состоящей из фильтрации:
1) РЕНТГЕНОВСКОГО ИЗЛУЧАТЕЛЯ;
2) ДОПОЛНИТЕЛЬНОГО ФИЛЬТРА или ФАНТОМА из установленного материала, конкретной толщины;
- номинального первого СЛОЯ ПОЛОВИННОГО ОСЛАБЛЕНИЯ;
- РАССТОЯНИЯ ПРИМЕНЕНИЯ.
4.2 Создание стандартных УСЛОВИЙ ИЗЛУЧЕНИЯ
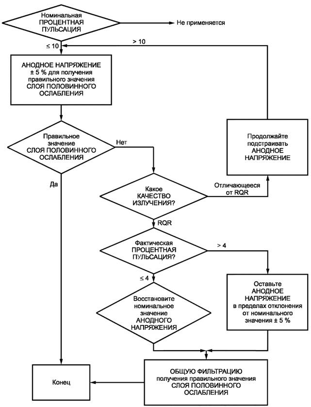
ПРОЦЕНТНАЯ ПУЛЬСАЦИЯ РЕНТГЕНОВСКОГО ГЕНЕРАТОРА должна быть не более 10%. Номинальный первый СЛОИ ПОЛОВИННОГО ОСЛАБЛЕНИЯ для данных стандартных УСЛОВИЙ ИЗЛУЧЕНИЯ получают путем незначительного изменения предписанного АНОДНОГО НАПРЯЖЕНИЯ.
Если для получения номинального значения первого СЛОЯ ПОЛОВИННОГО ОСЛАБЛЕНИЯ необходимо изменить предписанное АНОДНОЕ НАПРЯЖЕНИЕ более чем на 5%, то последующая процедура создания УСЛОВИИ ИЗЛУЧЕНИЯ зависит от того, какие УСЛОВИЯ ИЗЛУЧЕНИЯ должны быть установлены и каково измеренное значение ПРОЦЕНТНОЙ ПУЛЬСАЦИИ (рисунок 1).

Рисунок 1 – Алгоритм создания стандартных УСЛОВИЙ ИЗЛУЧЕНИЯ
Если для получения номинального первого СЛОЯ ПОЛОВИННОГО ОСЛАБЛЕНИЯ (в пределах заданного допуска) необходимо изменить ОБЩУЮ ФИЛЬТРАЦИЮ РЕНТГЕНОВСКОГО ИЗЛУЧАТЕЛЯ (см. раздел 5), его проводят с помощью алюминиевого фильтра.
4.3 ДЕТЕКТОР ИЗЛУЧЕНИЯ
ДЕТЕКТОР ИЗЛУЧЕНИЯ, используемый при измерениях ВОЗДУШНОЙ КЕРМЫ или МОЩНОСТИ ВОЗДУШНОЙ КЕРМЫ для определения первого СЛОЯ ПОЛОВИННОГО ОСЛАБЛЕНИЯ, должен соответствовать следующим требованиям:
- должен быть предназначен для энергии фотонов в рассматриваемом энергетическом спектре;
- энергетическая зависимость не должна превышать 10% в диапазоне рассматриваемых энергий фотонов;
- размер входной поверхности ЧУВСТВИТЕЛЬНОГО ОБЪЕМА должен быть таким, чтобы входная поверхность полностью перекрывалась ПУЧКОМ ИЗЛУЧЕНИЯ;
- чувствительность должна обеспечивать возможность проведения измерений при наличии ДОПОЛНИТЕЛЬНОГО ФИЛЬТРА или ФАНТОМА;
- должен быть предназначен для всего рассматриваемого диапазона МОЩНОСТИ ВОЗДУШНОЙ КЕРМЫ как при наличии, так и при отсутствии ДОПОЛНИТЕЛЬНОГО ФИЛЬТРА или ФАНТОМА.
5.1 Объект
КАЧЕСТВА ИЗЛУЧЕНИЯ, рассмотренные в настоящем пункте, используют для измерений в ПУЧКЕ ИЗЛУЧЕНИЯ, выходящего из РЕНТГЕНОВСКОГО ИЗЛУЧАТЕЛЯ. Такие КАЧЕСТВА ИЗЛУЧЕНИЯ используются, например, при определении параметров СТОЛА для ПАЦИЕНТА, если он находится между РЕНТГЕНОВСКИМ ИЗЛУЧАТЕЛЕМ и ПАЦИЕНТОМ.
5.2 Обозначение
Пример условного обозначения стандартного КАЧЕСТВА ИЗЛУЧЕНИЯ RQR, имеющего код в соответствии с таблицей 1:
RQR хх ГОСТ Р МЭК 61267-2001,
где хх - число от 2 до 10.
5.3 Описание
Характеристики и параметры стандартных КАЧЕСТВ ИЗЛУЧЕНИЯ RQR:
- МИШЕНЬ должна быть изготовлена из вольфрама;
- номинальный первый СЛОИ ПОЛОВИННОГО ОСЛАБЛЕНИЯ должен соответствовать указанному в таблице 1;
Таблица 1 - Коды стандартных КАЧЕСТВ ИЗЛУЧЕНИЯ RQR и номинальные первые СЛОИ ПОЛОВИННОГО ОСЛАБЛЕНИЯ
|
Код стандартного КАЧЕСТВА ИЗЛУЧЕНИЯ RQR |
Номинальный первый СЛОЙ ПОЛОВИННОГО ОСЛАБЛЕНИЯ, мм А1 |
|
RQR 2 |
1, 0 |
|
RQR 3 |
1, 5 |
|
RQR 4 |
2, 0 |
|
RQR 5 |
2, 5 |
|
RQR 6 |
2, 9 |
|
RQR 7 |
3, 3 |
|
RQR 8 |
3, 7 |
|
RQR 9 |
4, 5 |
|
RQR 10 |
5, 7 |
- ОБЩАЯ ФИЛЬТРАЦИЯ РЕНТГЕНОВСКОГО ИЗЛУЧАТЕЛЯ должна быть отрегулирована;
- отрегулированное АНОДНОЕ НАПРЯЖЕНИЕ должно соответствовать указанному в таблице 2.
Таблица 2 - Параметры стандартных КАЧЕСТВ ИЗЛУЧЕНИЯ RQR
|
Код стандартного КАЧЕСТВА ИЗЛУЧЕНИЯ RQR |
АНОДНОЕ НАПРЯЖЕНИЕ (приблизительное значение), кВ |
|
RQR 2 |
40 |
|
RQR 3 |
50 |
|
RQR 4 |
60 |
|
RQR 5 |
70 |
|
RQR 6 |
80 |
|
RQR 7 |
90 |
|
RQR 8 |
100 |
|
RQR 9 |
120 |
|
RQR 10 |
150 |
5.4 Испытательное оборудование
5.4.1 ТЕСТ-ОБЪЕКТ СЛОЯ ПОЛОВИННОГО ОСЛАБЛЕНИЯ
Для получения номинального СЛОЯ ПОЛОВИННОГО ОСЛАБЛЕНИЯ, необходимого для создания стандартного КАЧЕСТВА ИЗЛУЧЕНИЯ RQR в соответствии с требованиями 5.3, используют ТЕСТ-ОБЪЕКТ СЛОЯ ПОЛОВИННОГО ОСЛАБЛЕНИЯ, состоящий из алюминия. Толщина ТЕСТ-ОБЪЕКТА СЛОЯ ПОЛОВИННОГО ОСЛАБЛЕНИЯ, предпочтительно состоящего из одного слоя, должна быть равна номинальному первому СЛОЮ ПОЛОВИННОГО ОСЛАБЛЕНИЯ, указанному в таблице 1, с пределами допускаемых отклонений ±0, 1 мм.
Чистота алюминия должна быть не менее 99, 9% (А1 99, 9 - в соответствии с ИСО 2092).
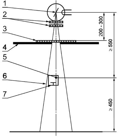
ТЕСТ-ОБЪЕКТ СЛОЯ ПОЛОВИННОГО ОСЛАБЛЕНИЯ должен полностью перекрывать ПУЧОК ИЗЛУЧЕНИЯ, который предполагается использовать при испытании (рисунок 2).

1 – ФОКУСНОЕ ПЯТНО; 2 - вспомогательный ФИЛЬТР; 3 — ТЕСТ-ОБЪЕКТ СЛОЯ ПОЛОВИННОГО ОСЛАБЛЕНИЯ; 4 – ДИАФРАГМА; 5 - ОПОРНАЯ ТОЧКА; 6— ПЛОСКОСТЬ ПРИМЕНЕНИЯ; 7-ДЕТЕКТОР ИЗЛУЧЕНИЯ
Рисунок 2 — Схема создания стандартных КАЧЕСТВ ИЗЛУЧЕНИЯ RQR
5.4.2 Вспомогательный фильтр
Для получения номинального первого СЛОЯ ПОЛОВИННОГО ОСЛАБЛЕНИЯ необходимо закрепить на РЕНТГЕНОВСКОМ ИЗЛУЧАТЕЛЕ вспомогательные фильтры из тонких слоев алюминия, чистотой не менее 99, 9% (А1 99, 9 - в соответствии с ИСО 2092).
5.4.3 ДИАФРАГМА
Для ограничения ПУЧКА ИЗЛУЧЕНИЯ непосредственно после ВЫХОДНОЙ ПОВЕРХНОСТИ ТЕСТ-ОБЪЕКТА СЛОЯ ПОЛОВИННОГО ОСЛАБЛЕНИЯ до размера не более 50 х 50 мм используют ДИАФРАГМУ (рисунок 2).
5.4.4 ДЕТЕКТОР ИЗЛУЧЕНИЯ (см. 4.3)
5.5 Создание и подтверждение стандартных качеств излучения RQR
ТЕСТ-ОБЪЕКТ СЛОЯ ПОЛОВИННОГО ОСЛАБЛЕНИЯ, параметры которого приведены в 5.4.1, размещают таким образом, чтобы его ВХОДНАЯ ПОВЕРХНОСТЬ находилась на расстоянии от 200 до 300 мм от ФОКУСНОГО ПЯТНА.
ДИАФРАГМУ размещают согласно требованиям 5.4.3.
ДЕТЕКТОР ИЗЛУЧЕНИЯ размещают так, чтобы его ОПОРНАЯ ТОЧКА находилась на ОПОРНОЙ ОСИ в ПЛОСКОСТИ ПРИМЕНЕНИЯ. Расстояние от ПЛОСКОСТИ ПРИМЕНЕНИЯ до ФОКУСНОГО ПЯТНА должно быть не менее 550 мм или не менее удвоенного расстояния между ФОКУСНЫМ ПЯТНОМ и ТЕСТ-ОБЪЕКТОМ СЛОЯ ПОЛОВИННОГО ОСЛАБЛЕНИЯ (выбирают большее значение).
Для минимизации влияния обратного рассеяния в объеме внутри ПУЧКА ИЗЛУЧЕНИЯ, ограниченном ПЛОСКОСТЬЮ ПРИМЕНЕНИЯ и плоскостью, нормальной к ОСИ ПУЧКА ИЗЛУЧЕНИЯ и содержащей точку, находящуюся на расстоянии 450 мм за ПЛОСКОСТЬЮ ПРИМЕНЕНИЯ в ОПОРНОМ НАПРАВЛЕНИИ (см. рисунок 1), должно находиться только оборудование, необходимое для измерений.
Для создания стандартных КАЧЕСТВ ИЗЛУЧЕНИЯ используют АНОДНОЕ НАПРЯЖЕНИЕ, указанное в таблице 2.
Получение требуемого КАЧЕСТВА ИЗЛУЧЕНИЯ и соответствующего номинального первого СЛОЯ ПОЛОВИННОГО ОСЛАБЛЕНИЯ должно соответствовать указанному в 4.2.
Стандартное КАЧЕСТВО ИЗЛУЧЕНИЯ достигнуто, если отношение ПРИБОРНЫХ ЗНАЧЕНИЙ ВОЗДУШНОЙ КЕРМЫ или МОЩНОСТЕЙ ВОЗДУШНОЙ КЕРМЫ, полученных при измерениях с размещенным в ПУЧКЕ ИЗЛУЧЕНИЯ ТЕСТ-ОБЪЕКТОМ СЛОЯ ПОЛОВИННОГО ОСЛАБЛЕНИЯ и при его отсутствии, находится в пределах от 0, 49 до 0, 51.
6.1 Объект
КАЧЕСТВА ИЗЛУЧЕНИЯ RQA используют при определении характеристик РЕНТГЕНОВСКИХ АППАРАТОВ при следующих условиях:
- измерения проводят в ПУЧКЕ ИЗЛУЧЕНИЯ, выходящем из облучаемого объекта, имитирующего ПАЦИЕНТА;
- доля РАССЕЯННОГО ИЗЛУЧЕНИЯ в ПУЧКЕ ИЗЛУЧЕНИЯ незначительная (условие низкого рассеяния);
- полная имитация спектрального распределения в ПУЧКЕ ИЗЛУЧЕНИЯ, выходящем из ПАЦИЕНТА, не обязательна.
6.2 Обозначение
Пример условного обозначения стандартного КАЧЕСТВА ИЗЛУЧЕНИЯ RQA, имеющего код в соответствии с таблицей 3:
RQA хх ГОСТ Р МЭК 61267-2001,
где хх - число от 2 до 10.
Таблица 3 - Коды стандартных КАЧЕСТВ ИЗЛУЧЕНИЯ RQA и номинальные первые СЛОИ ПОЛОВИННОГО ОСЛАБЛЕНИЯ
|
Код стандартного КАЧЕСТВА ИЗЛУЧЕНИЯ RQA |
Номинальный первый СЛОЙ ПОЛОВИННОГО ОСЛАБЛЕНИЯ, мм А1 |
|
RQA 2 |
2, 4 |
|
RQA 3 |
4, 0 |
|
RQA 4 |
5, 7 |
|
RQA 5 |
7, 1 |
|
RQA 6 |
8, 4 |
|
RQA 7 |
9, 1 |
|
RQA 8 |
9, 9 |
|
RQA 9 |
11, 5 |
|
RQА 10 |
12, 8 |
*6.3 Описание
Характеристики и параметры стандартных КАЧЕСТВ ИЗЛУЧЕНИЯ RQA:
- МИШЕНЬ должна быть изготовлена из вольфрама;
- отрегулированное АНОДНОЕ НАПРЯЖЕНИЕ должно соответствовать указанному в таблице 4;
Таблица 4 - Параметры стандартных КАЧЕСТВ ИЗЛУЧЕНИЯ RQA
|
Код стандартного КАЧЕСТВА ИЗЛУЧЕНИЯ RQA |
ДОПОЛНИТЕЛЬНЫЙ ФИЛЬТР, мм А1 |
АНОДНОЕ НАПРЯЖЕНИЕ (приблизительное значение), кВ |
|
RQA 2 |
4 |
40 |
|
RQA 3 |
10 |
50 |
|
RQA 4 |
16 |
60 |
|
RQA 5 |
21 |
70 |
|
RQA 6 |
26 |
80 |
|
RQA 7 |
30 |
90 |
|
RQA 8 |
34 |
100 |
|
RQA 9 |
40 |
120 |
|
RQA 10 |
45 |
150 |
- ОБЩАЯ ФИЛЬТРАЦИЯ должна состоять из:
1) ЭКВИВАЛЕНТНОЙ ПО КАЧЕСТВУ ФИЛЬТРАЦИИ РЕНТГЕНОВСКОГО ИЗЛУЧАТЕЛЯ 2, 5 мм А1 при АНОДНОМ НАПРЯЖЕНИИ 75 кВ и
2) ДОПОЛНИТЕЛЬНОГО ФИЛЬТРА, указанного в таблице 4;
- номинальный первый СЛОЙ ПОЛОВИННОГО ОСЛАБЛЕНИЯ должен соответствовать указанному в таблице 3.
Для получения стандартных КАЧЕСТВ ИЗЛУЧЕНИЯ RQA, указанных в таблице 4, для имитации пациента используют слои алюминия, создающие ДОПОЛНИТЕЛЬНЫЙ ФИЛЬТР, соответствующий требованиям таблицы 4.
Чистота алюминия должна быть не менее 99, 9% (А1 99, 9 - в соответствии с ИСО 2092).
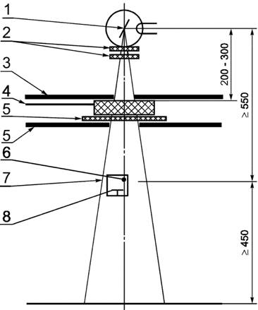
Слои алюминия должны полностью перекрывать ПУЧОК ИЗЛУЧЕНИЯ, который предполагается использовать при испытаниях (рисунок 3).

1 – ФОКУСНОЕ ПЯТНО; 2 - вспомогательный ФИЛЬТР; 3 – ДИАФРАГМА; 4 - ДОПОЛНИТЕЛЬНЫЙ ФИЛЬТР; 5 — ТЕСТ-ОБЪЕКТ СЛОЯ ПОЛОВИННОГО ОСЛАБЛЕНИЯ; 6 – ДИАФРАГМА; 7 - ОПОРНАЯ ТОЧКА; 8— ПЛОСКОСТЬ ПРИМЕНЕНИЯ
Рисунок 3 — Схема создания стандартных КАЧЕСТВ ИЗЛУЧЕНИЯ RQA
6.4 Испытательное оборудование
6.4.1 ТЕСТ-ОБЪЕКТ СЛОЯ ПОЛОВИННОГО ОСЛАБЛЕНИЯ
Для получения номинального СЛОЯ ПОЛОВИННОГО ОСЛАБЛЕНИЯ, необходимого для создания стандартного КАЧЕСТВА ИЗЛУЧЕНИЯ RQA в соответствии с требованиями 6.3, используют ТЕСТ-ОБЪЕКТ СЛОЯ ПОЛОВИННОГО ОСЛАБЛЕНИЯ, состоящий из алюминия. Толщина ТЕСТ-ОБЪЕКТА СЛОЯ ПОЛОВИННОГО ОСЛАБЛЕНИЯ, предпочтительно состоящего из одного слоя, должна быть равна номинальному первому СЛОЮ ПОЛОВИННОГО ОСЛАБЛЕНИЯ, указанному в таблице 3 с пределами допускаемых отклонений ±0, 1 мм.
Чистота алюминия должна быть не менее 99, 9% (А1 99, 9 - в соответствии с ИСО 2092).
ТЕСТ-ОБЪЕКТ СЛОЯ ПОЛОВИННОГО ОСЛАБЛЕНИЯ должен полностью перекрывать ПУЧОК ИЗЛУЧЕНИЯ, который предполагается использовать при испытаниях (рисунок 3).
6.4.2 ДИАФРАГМА
Для ограничения ПУЧКА ИЗЛУЧЕНИЯ непосредственно у ВХОДНОЙ ПОВЕРХНОСТИ ДОПОЛНИТЕЛЬНОГО ФИЛЬТРА до размера не более 50 х 50 мм используют ДИАФРАГМЫ (рисунок 3).
6.4.3 ДЕТЕКТОР ИЗЛУЧЕНИЯ (см. 4.3).
*6.5 Создание и подтверждение стандартных КАЧЕСТВ ИЗЛУЧЕНИЯ RQA
ДОПОЛНИТЕЛЬНЫЙ ФИЛЬТР, соответствующий требованиям таблицы 4, размещают таким образом, чтобы его ВХОДНАЯ ПОВЕРХНОСТЬ находилась на расстоянии от 200 до 300 мм от ФОКУСНОГО ПЯТНА.
ДИАФРАГМУ размещают согласно требованиям 6.4.2.
ТЕСТ-ОБЪЕКТ СЛОЯ ПОЛОВИННОГО ОСЛАБЛЕНИЯ размещают как можно ближе к ДОПОЛНИТЕЛЬНОМУ ФИЛЬТРУ в ОПОРНОМ НАПРАВЛЕНИИ.
ДЕТЕКТОР ИЗЛУЧЕНИЯ размещают таким образом, чтобы его ОПОРНАЯ ТОЧКА находилась на ОПОРНОЙ ОСИ в ПЛОСКОСТИ ПРИМЕНЕНИЯ ПЛОСКОСТЬ ПРИМЕНЕНИЯ должна находиться от ФОКУСНОГО ПЯТНА на расстоянии не менее 550 мм или не менее удвоенного расстояния между ФОКУСНЫМ ПЯТНОМ и ТЕСТ-ОБЪЕКТОМ СЛОЯ ПОЛОВИННОГО ОСЛАБЛЕНИЯ (выбирают большее значение).
Для минимизации влияния обратного рассеяния в объеме внутри ПУЧКА ИЗЛУЧЕНИЯ, ограниченном ПЛОСКОСТЬЮ ПРИМЕНЕНИЯ и плоскостью, нормальной к ОСИ ПУЧКА ИЗЛУЧЕНИЯ и содержащей точку, находящуюся за ПЛОСКОСТЬЮ ПРИМЕНЕНИЯ в ОПОРНОМ НАПРАВЛЕНИИ на расстоянии 450 мм (рисунок 3), должно находиться только оборудование, которое необходимо для измерений.
Для создания стандартных КАЧЕСТВ ИЗЛУЧЕНИЯ устанавливают АНОДНЫЕ НАПРЯЖЕНИЯ, указанные в таблице 4.
Получение требуемого КАЧЕСТВА ИЗЛУЧЕНИЯ и соответствующего номинального первого СЛОЯ ПОЛОВИННОГО ОСЛАБЛЕНИЯ должно соответствовать указанному в 4.2.
Стандартное КАЧЕСТВО ИЗЛУЧЕНИЯ достигнуто, если отношение ПРИБОРНЫХ ЗНАЧЕНИЙ ВОЗДУШНОЙ КЕРМЫ или МОЩНОСТЕЙ ВОЗДУШНОЙ КЕРМЫ, полученных при измерениях с размещенным в ПУЧКЕ ИЗЛУЧЕНИЯ ТЕСТ-ОБЪЕКТОМ СЛОЯ ПОЛОВИННОГО ОСЛАБЛЕНИЯ и при его отсутствии, находится в пределах от 0, 49 до 0, 51.
Примечания
1 Для упрощенных испытаний, включая настройку УРИ или АВТОМАТИЧЕСКОГО УПРАВЛЕНИЯ ЭКСПОЗИЦИОННОЙ ДОЗОЙ при нормированных условиях работы, рекомендуются условия RQA 5.
Допускается использовать ДОПОЛНИТЕЛЬНЫЙ ФИЛЬТР из меди.
Характеристики и параметры стандартного КАЧЕСТВА ИЗЛУЧЕНИЯ RQC, используемого при указанных выше упрощенных испытаниях:
- МИШЕНЬ должна быть изготовлена из вольфрама;
- АНОДНОЕ НАПРЯЖЕНИЕ должно быть в диапазоне от 70 до 80 кВ;
- ОБЩАЯ ФИЛЬТРАЦИЯ должна состоять из:
1) ЭКВИВАЛЕНТНОЙ ПО КАЧЕСТВУ ФИЛЬТРАЦИИ РЕНТГЕНОВСКОГО ИЗЛУЧАТЕЛЯ (слои алюминия толщиной 2, 5 мм) при АНОДНОМ НАПРЯЖЕНИИ 75 кВ;
2) ДОПОЛНИТЕЛЬНОГО ФИЛЬТРА из меди толщиной от 1, 5 до 2, 0 мм;
- номинальный первый СЛОЙ ПОЛОВИННОГО ОСЛАБЛЕНИЯ должен быть из меди толщиной 0, 5 мм.
ДОПОЛНИТЕЛЬНЫЙ ФИЛЬТР должен быть из слоев меди общей толщиной от 1, 5 до 2 мм.
Чистота меди не менее 99, 9% (Cu 99, 9 - в соответствии с ИСО 2092). Слои меди должны полностью перекрывать ПУЧОК ИЗЛУЧЕНИЯ (рисунок 3).
2 Для специальных исследований, например для торакальных исследований, допускается использовать КАЧЕСТВО ИЗЛУЧЕНИЯ на основе применения толстого ДОПОЛНИТЕЛЬНОГО ФИЛЬТРА из алюминия. Стандартное КАЧЕСТВО ИЗЛУЧЕНИЯ RQT должно соответствовать следующим требованиям:
- МИШЕНЬ должна быть изготовлена из вольфрама;
- АНОДНОЕ НАПРЯЖЕНИЕ должно быть 120 кВ;
- ОБЩАЯ ФИЛЬТРАЦИЯ должна состоять из:
1) ЭКВИВАЛЕНТНОЙ ПО КАЧЕСТВУ ФИЛЬТРАЦИИ РЕНТГЕНОВСКОГО ИЗЛУЧАТЕЛЯ (слои алюминия толщиной 2, 5 мм) при АНОДНОМ НАПРЯЖЕНИИ 75 кВ;
2) ДОПОЛНИТЕЛЬНОГО ФИЛЬТРА из алюминия толщиной 22 мм;
- первый СЛОЙ ПОЛОВИННОГО ОСЛАБЛЕНИЯ должен быть из алюминия толщиной 10, 4 мм.
Чистота алюминия не менее 99, 9 % (А1 99, 9 - в соответствии с ИСО 2092).
ТЕСТ-ОБЪЕКТ СЛОЯ ПОЛОВИННОГО ОСЛАБЛЕНИЯ должен полностью перекрывать ПУЧОК ИЗЛУЧЕНИЯ (рисунок 3).
3 УСЛОВИЯ ИЗЛУЧЕНИЯ для исследований в маммографии приведены в разделе 9.
7.1 Объект
УСЛОВИЯ ИЗЛУЧЕНИЯ RQN используют при определении характеристик РЕНТГЕНОВСКИХ АППАРАТОВ в случае, если доля РАССЕЯННОГО ИЗЛУЧЕНИЯ в измеряемом сигнале при проведении соответствующих испытаний будет минимальной (УСЛОВИЯ УЗКОГО ПУЧКА).
Примечание - В разделе 9 установлены УСЛОВИЯ ИЗЛУЧЕНИЯ RQN-M, предназначенные для исследований в маммографии. Для указанных исследований также допускается использовать УСЛОВИЯ ИЗЛУЧЕНИЯ RQN 1 при АНОДНОМ НАПРЯЖЕНИИ 30 кВ (приблизительное значение).
7.2 Обозначение
Пример условного обозначения стандартных УСЛОВИЙ ИЗЛУЧЕНИЯ RQN:
RQN хх ГОСТ Р МЭК 61267-2001,
где хх - число от 2 до 10.
Пример условного обозначения стандартных УСЛОВИЙ ИЗЛУЧЕНИЯ RQN в случае, когда РАССТОЯНИЕ ПРИМЕНЕНИЯ более 1000 мм:
RQN хх ууу ГОСТ Р МЭК 61267-2001,
где хх - число от 2 до 10,
ууу - РАССТОЯНИЕ ПРИМЕНЕНИЯ, мм
7.3 Описание
Характеристики стандартных УСЛОВИЙ ИЗЛУЧЕНИЯ RON соответствуют указанным в разделе 6 для стандартных КАЧЕСТВ ИЗЛУЧЕНИЯ RQA.
После создания соответствующего стандартного КАЧЕСТВА ИЗЛУЧЕНИЯ RQA ДОПОЛНИТЕЛЬНЫЙ ФИЛЬТР, указанный в 6.3, удаляют и вместо него устанавливают ФАНТОМ, выполненный в виде цилиндрического контейнера, заполненного водой.
Характеристики цилиндрического контейнера:
- наружный диаметр - 50 мм;
- высота - (200±1) мм;
- крышка, дно и стенки контейнера должны быть из полиметилметакрилата или другого материала с аналогичными свойствами ОСЛАБЛЕНИЯ толщиной (10±2) мм;
Примечание - Допускается использовать ФАНТОМ из водоэквивалентного материала ("твердая вода"), имеющий такие же наружные размеры, как и контейнер.
7.4 Испытательное оборудование
Для ограничения ПУЧКА ИЗЛУЧЕНИЯ на ВХОДНОЙ ПОВЕРХНОСТИ и на ВЫХОДНОЙ ПОВЕРХНОСТИ ДОПОЛНИТЕЛЬНОГО ФИЛЬТРА устанавливают ДИАФРАГМЫ, расположенные вплотную к РЕНТГЕНОВСКОМУ ИЗЛУЧАТЕЛЮ (рисунок 4). ДИАФРАГМА у ВЫХОДНОЙ ПОВЕРХНОСТИ должна иметь отверстие диаметром не более 40 мм.
Третью ДИАФРАГМУ размещают на расстоянии не менее 550 мм от ФОКУСНОГО ПЯТНА таким образом, чтобы диаметр ПУЧКА ИЗЛУЧЕНИЯ на РАССТОЯНИИ ПРИМЕНЕНИЯ был не более 20 мм.
ДИАФРАГМЫ должны быть изготовлены из свинца толщиной не менее 5 мм.
7.5 Создание стандартных УСЛОВИЙ ИЗЛУЧЕНИЯ RQN
Предварительно создают соответствующее стандартное КАЧЕСТВО ИЗЛУЧЕНИЯ RQA (раздел 6). Затем ДОПОЛНИТЕЛЬНЫЙ ФИЛЬТР, ограничивающую ПУЧОК ИЗЛУЧЕНИЯ ДИАФРАГМУ, ТЕСТ-ОБЪЕКТ СЛОЯ ПОЛОВИННОГО ОСЛАБЛЕНИЯ и ДЕТЕКТОР ИЗЛУЧЕНИЯ удаляют.
После этого устанавливают ФАНТОМ (см. 7.3) таким образом, чтобы его ВХОДНАЯ ПОВЕРХНОСТЬ находилась на расстоянии от 200 до 300 мм от ФОКУСНОГО ПЯТНА.
ДИАФРАГМЫ (см. 7.4) должны быть установлены согласно рисунку 4.

_______________
1) Если эта схема измерений применяется в связи с условиями RQB, то РАССТОЯНИЕ ПРИМЕНЕНИЯ должно быть 1000 мм.
2) Диаметр пучка должен быть 20 мм, если РАССТОЯНИЕ ПРИМЕНЕНИЯ равно 1000 мм. Если РАССТОЯНИЕ ПРИМЕНЕНИЯ более 1000 мм, диаметр пучка увеличивается пропорционально.
1 — ФОКУСНОЕ ПЯТНО; 2- вспомогательный ФИЛЬТР; 3- ДИАФРАГМА с отверстием; 4 — ДОПОЛНИТЕЛЬНЫЙ ФИЛЬТР; 5, 6 - ДИАФРАГМА; 7- ПЛОСКОСТЬ ПРИМЕНЕНИЯ
Рисунок 4 - Схема создания УСЛОВИЙ ИЗЛУЧЕНИЯ RQN
8.1 Объект
УСЛОВИЯ ИЗЛУЧЕНИЯ RQB используют при определении характеристик РЕНТГЕНОВСКИХ АППАРАТОВ, если доля РАССЕЯННОГО ИЗЛУЧЕНИЯ в измеряемом сигнале при проведении соответствующих испытаний будет значительной (УСЛОВИЯ ШИРОКОГО ПУЧКА).
Примечание - В разделе 10 установлены УСЛОВИЯ ИЗЛУЧЕНИЯ RQB-M, предназначенные для исследований в маммографии. Для указанных исследований также можно использовать УСЛОВИЯ ИЗЛУЧЕНИЯ RQB 1 при АНОДНОМ НАПРЯЖЕНИИ 30 кВ (приблизительное значение).
8.2 Обозначение
Пример условного обозначения стандартных УСЛОВИЙ ИЗЛУЧЕНИЯ RQB:
RQB хх ГОСТ Р МЭК 61267-2001
где хх - число от 2 до 10.
Пример условного обозначения стандартных УСЛОВИЙ ИЗЛУЧЕНИЯ RQB, в случае, когда РАССТОЯНИЕ ПРИМЕНЕНИЯ более 1000 мм:
RQB хх ууу ГОСТ Р МЭК 61267-2001,
где хх - число от 2 до 10,
ууу - РАССТОЯНИЕ ПРИМЕНЕНИЯ мм
8.3 Описание
Характеристики стандартных УСЛОВИЙ ИЗЛУЧЕНИЯ RQB соответствуют указанным в разделе 6 для стандартных КАЧЕСТВ ИЗЛУЧЕНИЯ RQA.
После создания соответствующего стандартного КАЧЕСТВА ИЗЛУЧЕНИЯ RQA ДОПОЛНИТЕЛЬНЫЙ ФИЛЬТР, указанный в 6.3, удаляют и вместо него устанавливают ФАНТОМ, выполненный в виде контейнера, наполненного водой.
Характеристики контейнера:
- наружные размеры: длина каждой стороны - (300±1) мм, высота - (200±1) мм;
- крышка, дно и стенки контейнера должны быть из полиметилметакрилата или другого материала с аналогичными свойствами ОСЛАБЛЕНИЯ толщиной (10±2) мм;
Примечание - Допускается использовать ФАНТОМ из водоэквивалентного материала ("твердая вода"), имеющий такие же наружные размеры.
8.4 Испытательное оборудование
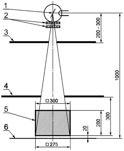
Для ограничения ПУЧКА ИЗЛУЧЕНИЯ до размера 275 x 275 мм в плоскости ВХОДНОЙ ПОВЕРХНОСТИ ФАНТОМА устанавливают ДИАФРАГМЫ, расположенные вплотную к РЕНТГЕНОВСКОМУ ИЗЛУЧАТЕЛЮ и вплотную к ВХОДНОЙ ПОВЕРХНОСТИ ФАНТОМА (рисунок 5).

1 — ФОКУСНОЕ ПЯТНО; 2- вспомогательный ФИЛЬТР; 3, 4- ДИАФРАГМЫ; 5 — ДОПОЛНИТЕЛЬНЫЙ ФИЛЬТР; 6 - ПЛОСКОСТЬ ПРИМЕНЕНИЯ
Рисунок 5 - Схема создания УСЛОВИЙ ИЗЛУЧЕНИЯ RQB
ДИАФРАГМА должна быть изготовлена из свинца толщиной не менее 5 мм.
8.5 Создание стандартных УСЛОВИЙ ИЗЛУЧЕНИЯ RQB
Предварительно создают соответствующее стандартное КАЧЕСТВО ИЗЛУЧЕНИЯ RQA. Затем ДОПОЛНИТЕЛЬНЫЙ ФИЛЬТР, ограничивающую ПУЧОК ИЗЛУЧЕНИЯ ДИАФРАГМУ, ТЕСТ-ОБЪЕКТ СЛОЯ ПОЛОВИННОГО ОСЛАБЛЕНИЯ, ДЕТЕКТОР ИЗЛУЧЕНИЯ и все относящиеся к ним элементы удаляют.
ДИАФРАГМЫ (см. 8.4) должны быть установлены согласно рисунку 4.
ВЫХОДНАЯ ПОВЕРХНОСТЬ ФАНТОМА (см. 8.3) должна быть расположена на расстоянии 20 мм от ПЛОСКОСТИ ПРИМЕНЕНИЯ.
9.1 Объект
УСЛОВИЕ ИЗЛУЧЕНИЯ RQN-M используют при определении характеристик РЕНТГЕНОВСКОГО АППАРАТА, работающего при АНОДНОМ НАПРЯЖЕНИИ ниже 40 кВ, например в маммографии, и в случае, если доля РАССЕЯННОГО ИЗЛУЧЕНИЯ в измеряемом сигнале при проведении соответствующих испытаний будет минимальной (УСЛОВИЯ УЗКОГО ПУЧКА).
9.2 Обозначение
Пример условного обозначения стандартного УСЛОВИЯ ИЗЛУЧЕНИЯ RQN-M:
RQN-M ГОСТ Р МЭК 61267-2001
9.3 Описание
Характеристики стандартного УСЛОВИЯ ИЗЛУЧЕНИЯ RQN-M:
- МИШЕНЬ должна быть изготовлена из молибдена;
- АНОДНОЕ НАПРЯЖЕНИЕ должно быть(28±1) кВ, ПРОЦЕНТНАЯ ПУЛЬСАЦИЯ - не более 4;
- ОБЩАЯ ФИЛЬТРАЦИЯ РЕНТГЕНОВСКОГО ИЗЛУЧАТЕЛЯ должна быть (0, 03±0, 002) мм Мо.
Для создания стандартного УСЛОВИЯ ИЗЛУЧЕНИЯ RQN-M применяют ФАНТОМ толщиной 45 мм, имитирующий ткань груди ПАЦИЕНТА, состоящую на 50% из жировой и на 50% из железистой тканей.
Наружные размеры ФАНТОМА, мм:
длина........................................................ 120+-1
ширина........................................................ 80+-1
высота...................................................... 45+-0, 5
ФАНТОМ должен быть изготовлен из материала, аналогичного ткани груди с вышеуказанным составом. Допускается использовать наполненный водой контейнер из полиэтилена с толщиной стенок (10, 5±0, 5) мм, имеющий наружные размеры, указанные выше.
Материал считают аналогичным ткани груди, если его массовый КОЭФФИЦИЕНТ ОСЛАБЛЕНИЯ при 20 кэВ равен (0, 60±0, 05) см2/г, а плотность -(0, 98±0, 03) г/см3.
9.4 Испытательное оборудование
Для ограничения ПУЧКА ИЗЛУЧЕНИЯ на ВХОДНОЙ ПОВЕРХНОСТИ и ВЫХОДНОЙ ПОВЕРХНОСТИ ФАНТОМА используют ДИАФРАГМУ, расположенную вплотную к РЕНТГЕНОВСКОМУ ИЗЛУЧАТЕЛЮ (рисунок 6).

1 — ФОКУСНОЕ ПЯТНО; 2- вспомогательный ФИЛЬТР; 3- ДИАФРАГМА; 4 — ДОПОЛНИТЕЛЬНЫЙ ФИЛЬТР; 5 - ПЛОСКОСТЬ ПРИМЕНЕНИЯ
Рисунок 6 - Схема создания УСЛОВИЙ ИЗЛУЧЕНИЯ RQN-M
Вторая ДИАФРАГМА должна ограничивать ПУЧОК ИЗЛУЧЕНИЯ в ПЛОСКОСТИ ПРИМЕНЕНИЯ до диаметра 20 мм.
ДИАФРАГМЫ должны быть изготовлены из свинца толщиной не менее 1 мм.
9.5 Создание стандартного УСЛОВИЯ ИЗЛУЧЕНИЯ RQN-M
ФАНТОМ устанавливают так, чтобы его ВХОДНАЯ ПОВЕРХНОСТЬ находилась на расстоянии от 200 до 300 мм от ФОКУСНОГО ПЯТНА.
ДИАФРАГМЫ устанавливают согласно рисунку 6.
10.1 Объект
УСЛОВИЕ ИЗЛУЧЕНИЯ RQB-M используют для определения характеристик РЕНТГЕНОВСКОГО АППАРАТА, работающего при АНОДНОМ НАПРЯЖЕНИИ ниже 40 кВ, например в маммографии, и в случае, если доля РАССЕЯННОГО ИЗЛУЧЕНИЯ в измеряемом сигнале при проведении соответствующих испытаний должна быть значительной (УСЛОВИЯ ШИРОКОГО ПУЧКА).
10.2 Обозначение
Пример условного обозначения стандартного УСЛОВИЯ ИЗЛУЧЕНИЯ RQB-M:
RQB-M ГОСТ Р МЭК 61267-2001
10.3 Описание
Характеристики стандартного УСЛОВИЯ ИЗЛУЧЕНИЯ RQB-M:
- МИШЕНЬ должна быть изготовлена из молибдена;
- АНОДНОЕ НАПРЯЖЕНИЕ должно быть (28±1) кВ, ПРОЦЕНТНАЯ ПУЛЬСАЦИЯ - не более 4;
- ОБЩАЯ ФИЛЬТРАЦИЯ РЕНТГЕНОВСКОГО ИЗЛУЧАТЕЛЯ должна быть (0, 03±0, 002) мм.
Для создания стандартного УСЛОВИЯ ИЗЛУЧЕНИЯ RQB-M применяют ФАНТОМ толщиной 45 мм, имитирующий ткань груди ПАЦИЕНТА, состоящую на 50% из жировой и на 50% из железистой тканей.
Наружные размеры ФАНТОМА, мм:
длина.......................................................120+-1
ширина...................................................... 80+-1
высота.................................................... 45+-0, 5
ФАНТОМ должен быть изготовлен из материала, аналогичного ткани груди с вышеуказанным составом. Допускается использовать наполненный водой контейнер из полиэтилена с толщиной стенок (10, 5±0, 5) мм, имеющий наружные размеры, указанные выше.
Материал считают аналогичным ткани груди, если его массовый КОЭФФИЦИЕНТ ОСЛАБЛЕНИЯ при 20 кэВ равен (0, 60±0, 05) см2/г, плотность - (0, 98±0, 03) г/см3.
Примечание - Для упрощенных испытаний, например для испытаний АВТОМАТИЧЕСКОГО УПРАВЛЕНИЯ ЭКСПОЗИЦИОННОЙ ДОЗОЙ, в качестве материала, аналогичного ткани груди, допускается использовать полиметилметакрилат. В этом случае толщина материала должна быть 40 мм для компенсации различия свойств ОСЛАБЛЕНИЯ.
10.4 Испытательное оборудование
Для ограничения ПУЧКА ИЗЛУЧЕНИЯ ДИАФРАГМУ устанавливают так, чтобы ПУЧОК ИЗЛУЧЕНИЯ:
- охватывал всю ВХОДНУЮ ПОВЕРХНОСТЬ ФАНТОМА;
- выступал за пределы ВХОДНОЙ ПОВЕРХНОСТИ на 10 мм с трех сторон, за исключением стороны, соответствующей грудной клетке при нормальном исследовании ПАЦИЕНТА.
На стороне, соответствующей грудной клетке, ПУЧОК ИЗЛУЧЕНИЯ должен выступать как можно меньше.
10.5 Создание стандартного УСЛОВИЯ ИЗЛУЧЕНИЯ RQB-M
ДОПОЛНИТЕЛЬНЫЙ ФИЛЬТР устанавливают так, чтобы его ВХОДНАЯ ПОВЕРХНОСТЬ находилась на расстоянии 10 мм от ПЛОСКОСТИ ПРИМЕНЕНИЯ в ОПОРНОМ НАПРАВЛЕНИИ. РАССТОЯНИЕ ПРИМЕНЕНИЯ должно быть 600 мм.
ДИАФРАГМУ устанавливают согласно рисунку 7 так, чтобы выполнялись требования 10.4.

1 — ФОКУСНОЕ ПЯТНО; 2- вспомогательный ФИЛЬТР; 3- ДИАФРАГМА; 4 — ДОПОЛНИТЕЛЬНЫЙ ФИЛЬТР; 5 - ПЛОСКОСТЬ ПРИМЕНЕНИЯ
Рисунок 7 - Схема создания УСЛОВИЙ ИЗЛУЧЕНИЯ RQB-M
______________________________
* Международные стандарты - во ВНИИКИ Госстандарта России.
Приложение А
(обязательное)
В настоящем приложении для каждого термина указан соответствующий номер пункта раздела 3 настоящего стандарта (3.3. ..), номер пункта ГOCT Р 51746 (А - 3.2...) или обозначение термина по МЭК 60788 (МР-. . .-. . .). Знаками "+", "-" и буквой "с" соответственно отмечены: производный термин без определения, термин без определения и сокращенный термин.
|
АВТОМАТИЧЕСКОЕ УПРАВЛЕНИЕ ЭКСПОЗИЦИОННОЙ ДОЗОЙ |
MP-36-46 |
|
АНОДНОЕ НАПРЯЖЕНИЕ |
МР-36-02 |
|
ВОЗДУШНАЯ КЕРМА |
MP-13-11 |
|
ВСПОМОГАТЕЛЬНОЕ ОБОРУДОВАНИЕ |
МР-30-01 |
|
ВХОДНАЯ ПОВЕРХНОСТЬ |
МР-37-17 |
|
ВЫХОДНАЯ ПОВЕРХНОСТЬ |
3.3.2 |
|
ДЕТЕКТОР ИЗЛУЧЕНИЯ |
МР-51-01 |
|
ДИАФРАГМА |
МР-37-29 |
|
ДОПОЛНИТЕЛЬНЫЙ ФИЛЬТР |
МР-35-02 |
|
ИЗГОТОВИТЕЛЬ |
МР-85-03 - |
|
ИОНИЗАЦИОННАЯ КАМЕРА |
МР-51-03 |
|
ИСТОЧНИК ИЗЛУЧЕНИЯ |
МР-20-01 |
|
КАЧЕСТВО ИЗЛУЧЕНИЯ |
3.3.7 |
|
КОЭФФИЦИЕНТ ОСЛАБЛЕНИЯ |
MP-13-39 |
|
МИШЕНЬ |
МР-20-08 |
|
МОЩНОСТЬ ВОЗДУШНОЙ КЕРМЫ |
МР-13-11; MP-13-13 |
|
НОМИНАЛЬНОЕ АНОДНОЕ НАПРЯЖЕНИЕ |
МР-36-03 |
|
НОРМИРОВАННЫЙ (ПРЕДНАЗНАЧЕННЫЙ) |
МР-74-02 |
|
ОБЩАЯ ФИЛЬТРАЦИЯ |
MP-13-48 |
|
ОПОРНАЯ ОСЬ |
МР-37-03 |
|
ОПОРНАЯ ТОЧКА |
3.3.1 |
|
ОПОРНОЕ НАПРАВЛЕНИЕ |
МР-37-02 |
|
ОСЛАБЛЕНИЕ |
MP-12-08 |
|
ОСЬ ПУЧКА ИЗЛУЧЕНИЯ |
МР-37-06 |
|
ОТСЕИВАЮЩИЙ РАСТР |
МР-32-06 |
|
ПАЦИЕНТ |
МР-62-03 |
|
ПЕРВИЧНОЕ ИЗЛУЧЕНИЕ |
MP-11-06 |
|
ПЛОСКОСТЬ ПРИМЕНЕНИЯ |
3.3.3 |
|
ПОЛЬЗОВАТЕЛЬ |
МР-85-01 |
|
ПРИБОРНОЕ ЗНАЧЕНИЕ |
МР-73-10 |
|
ПРИЕМНИК РЕНТГЕНОВСКОГО ИЗОБРАЖЕНИЯ |
МР-32-29 |
|
ПРИЕМОЧНЫЕ ИСПЫТАНИЯ |
А-3.2.4 |
|
ПРИСПОСОБЛЕНИЕ |
МР-83-06 |
|
ПРОЦЕНТНАЯ ПУЛЬСАЦИЯ |
МР-36-17 |
|
ПУЧОК ИЗЛУЧЕНИЯ |
МР-37-05 |
|
РАДИАЦИОННОЕ ПОЛЕ |
МР-37-07 |
|
РАДИОЛОГИЯ |
МР-40-01 |
|
РАССЕЯННОЕ ИЗЛУЧЕНИЕ |
МР-11-13 |
|
РАССТОЯНИЕ ПРИМЕНЕНИЯ |
3.3.4 |
|
РЕНТГЕНОВСКАЯ ТРУБКА |
МР-22-03 |
|
РЕНТГЕНОВСКИЙ АППАРАТ |
МР-20-20 |
|
РЕНТГЕНОВСКИЙ ГЕНЕРАТОР |
МР-20-17 |
|
РЕНТГЕНОВСКИЙ ИЗЛУЧАТЕЛЬ |
МР-22-01 |
|
РЕНТГЕНОВСКОЕ ИЗЛУЧЕНИЕ |
MP-11-01 - |
|
СЛОЙ ПОЛОВИННОГО ОСЛАБЛЕНИЯ |
MP-13-42 |
|
СОБСТВЕННАЯ ФИЛЬТРАЦИЯ |
MP-13-46 |
|
СПЕКТР РЕНТГЕНОВСКОГО ИЗЛУЧЕНИЯ |
MP-13-34+ |
|
СТОЛ ДЛЯ ПАЦИЕНТА |
МР-30-02 |
|
ТЕСТ-ОБЪЕКТ |
МР-71-04 |
|
ТЕСТ-ОБЪЕКТ СЛОЯ ПОЛОВИННОГО ОСЛАБЛЕНИЯ |
3.3.5 |
|
УСИЛИТЕЛЬ РЕНТГЕНОВСКОГО ИЗОБРАЖЕНИЯ |
МР-32-39 |
|
УСЛОВИЯ ИЗЛУЧЕНИЯ |
3.3.6 |
|
УСЛОВИЯ УЗКОГО ПУЧКА |
МР-37-23 |
|
УСЛОВИЯ ШИРОКОГО ПУЧКА |
МР-37-25 |
|
УПРАВЛЕНИЕ КАЧЕСТВОМ |
А-3.2.3 |
|
установленный |
МР-74-01 |
|
ФАНТОМ |
МР-54-01 |
|
ФОКУСНОЕ ПЯТНО |
MP-20-13с |
|
ЧУВСТВИТЕЛЬНЫЙ ОБЪЕМ |
МР-51-07 |
|
ЭКВИВАЛЕНТНАЯ ПО КАЧЕСТВУ ФИЛЬТРАЦИЯ |
MP-13-45 |
|
ЭКСПЛУАТАЦИОННЫЕ ДОКУМЕНТЫ |
МР-82-01 |
|
ЭЛЕКТРОННО-ОПТИЧЕСКИЙ ПРЕОБРАЗОВАТЕЛЬ |
МР-32-41 |
|
ЭФФЕКТИВНОЕ ФОКУСНОЕ ПЯТНО |
МР-20-13 |
Приложение В
(справочное)
1.1 Область применения
Термин УСЛОВИЯ ИЗЛУЧЕНИЯ относится к описанию РАДИАЦИОННЫХ ПОЛЕЙ и его не следует смешивать с описанием конкретной установки для испытания изделия (см. определение 3.3.6 настоящего стандарта).
Следует заметить, что в настоящем стандарте используют два похожих термина, а именно, УСЛОВИЯ ИЗЛУЧЕНИЯ и КАЧЕСТВО ИЗЛУЧЕНИЯ. В определениях 3.3.6 и 3.3.7 указано, что термин КАЧЕСТВО ИЗЛУЧЕНИЯ применяют для такого УСЛОВИЯ ИЗЛУЧЕНИЯ, при котором РАССЕЯННОЕ ИЗЛУЧЕНИЕ не имеет существенного значения при нормировании РАДИАЦИОННОГО ПОЛЯ.
1.2 Цель
Настоящий стандарт распространяется на испытания, проводимые только в лабораторных или производственных условиях.
Для достижения установленных параметров испытаний испытательное оборудование выбирают в соответствии с требованиями настоящего стандарта или аналогичное.
4.1 Стандартные УСЛОВИЯ ИЗЛУЧЕНИЯ
В соответствии с требованиями настоящего стандарта необходимые УСЛОВИЯ ИЗЛУЧЕНИЯ создаются с помощью ДОПОЛНИТЕЛЬНЫХ ФИЛЬТРОВ или ФАНТОМОВ и установкой АНОДНОГО НАПРЯЖЕНИЯ в диапазоне от 30 до 150 кВ. УСЛОВИЕ ИЗЛУЧЕНИЯ при АНОДНОМ НАПРЯЖЕНИИ порядка 30 кВ определено в разделах 9 и 10 и включает использование ФАНТОМА для маммографических исследований.
5.3 Описание
6.3 Описание
6.5 Создание и подтверждение стандартных веществ ИЗЛУЧЕНИЯ RQA
Применение МИШЕНИ из вольфрама не означает, что в качестве материала анода должен использоваться чистый вольфрам. Допускается использовать сплав, содержащий до 10% рения.
5.5 Создание и подтверждение стандартных КАЧЕСТВ ИЗЛУЧЕНИЯ RQR
6.5 Создание и подтверждение стандартных КАЧЕСТВ ИЗЛУЧЕНИЯ RQA
9.5 Создание стандартного УСЛОВИЯ ИЗЛУЧЕНИЯ RQN-M
10.5 Создание стандартного УСЛОВИЯ ИЗЛУЧЕНИЯ RQB-M
Обычно ПЛОСКОСТЬ ПРИМЕНЕНИЯ совпадает с ВХОДНОЙ ПОВЕРХНОСТЬЮ испытуемого ПРИСПОСОБЛЕНИЯ или устройства.
6.3 Описание
Стандартные УСЛОВИЯ ИЗЛУЧЕНИЯ обеспечиваются при использовании РЕНТГЕНОВСКОГО ИЗЛУЧАТЕЛЯ с вольфрамовым анодом и СОБСТВЕННОЙ ФИЛЬТРАЦИЕЙ 2, 5 мм А1.
СОБСТВЕННАЯ ФИЛЬТРАЦИЯ РЕНТГЕНОВСКОГО ИЗЛУЧАТЕЛЯ обычно относится к АНОДНОМУ НАПРЯЖЕНИЮ, равному половине номинального значения, и определяется как ЭКВИВАЛЕНТНАЯ ПО КАЧЕСТВУ ФИЛЬТРАЦИЯ по ГОСТ Р МЭК 60522.
Следовательно, значение 2, 5 мм А1 действительно только при АНОДНОМ НАПРЯЖЕНИИ, равном половине НОМИНАЛЬНОГО АНОДНОГО НАПРЯЖЕНИЯ.
Таким образом, значение СОБСТВЕННОЙ ФИЛЬТРАЦИИ 2, 5 мм А1, установленное для ДОПОЛНИТЕЛЬНЫХ ФИЛЬТРОВ в таблице 4, является допущением.
Вследствие большой толщины слоя алюминия, использованного в качестве ДОПОЛНИТЕЛЬНОГО ФИЛЬТРА, сомнительно, чтобы эффект от изменения СОБСТВЕННОЙ ФИЛЬТРАЦИИ для определенного значения АНОДНОГО НАПРЯЖЕНИЯ был бы ощутим.
В РЕНТГЕНОВСКИХ ИЗЛУЧАТЕЛЯХ с РЕНТГЕНОВСКОЙ ТРУБКОЙ, имеющей очень малый угол анода (например 7° и менее), вследствие старения может происходить изменение СОБСТВЕННОЙ ФИЛЬТРАЦИИ, например из-за увеличения шероховатости МИШЕНИ.
Приложение С
(справочное)
Таблица С.1
|
Раздел настоящего стандарта |
КАЧЕСТВА ИЗЛУЧЕНИЯ |
Источник |
ФАНТОМ, имитирующий ПАЦИЕНТА |
Область применения |
Условия применения |
|
5 |
RQR |
РЕНТГЕНОВСКИЙ ИЗЛУЧАТЕЛЬ |
- |
Определение свойств ОСЛАБЛЕНИЯ ВСПОМОГАТЕЛЬНОГО ОБОРУДОВАНИЯ |
- |
|
6 |
RQA |
ПУЧОК ИЗЛУЧЕНИЯ до ДОПОЛНИТЕЛЬНОГО ФИЛЬТРА |
Слои алюминия |
Измерения в плоскости ПРИЕМНИКА РЕНТГЕНОВСКОГО ИЗОБРАЖЕНИЯ |
Доля РАССЕЯННОГО ИЗЛУЧЕНИЯ незначительная. Точная имитация спектрального распределения в ПУЧКЕ ИЗЛУЧЕНИЯ, выходящем из ПАЦИЕНТА, не является необходимым условием |
|
7 |
RQN |
ПУЧОК ИЗЛУЧЕНИЯ из маленького водяного ФАНТОМА |
Цилиндрический контейнер из полиметилметакрилата, наполненный водой |
Комбинация УСЛОВИЙ ИЗЛУЧЕНИЯ, приведенных в разделах 7 и 8, для испытаний ОТСЕИВАЮЩИХ РАСТРОВ |
УСЛОВИЯ УЗКОГО ПУЧКА |
|
8 |
RQB |
ПУЧОК ИЗЛУЧЕНИЯ из большого водяного ФАНТОМА |
Водонаполненный контейнер из полиметилметакрилата |
Комбинация УСЛОВИЙ ИЗЛУЧЕНИЯ, приведенных в разделах 7 и 8, для различных испытаний ОТСЕИВАЮЩИХ РАСТРОВ |
УСЛОВИЯ ШИРОКОГО ПУЧКА |
|
9 |
RQN-M |
ПУЧОК ИЗЛУЧЕНИЯ из ФАНТОМА |
Материал, эквивалентный ткани груди |
Исследования в маммографии |
УСЛОВИЯ УЗКОГО ПУЧКА |
|
10 |
RQB-M |
ПУЧОК ИЗЛУЧЕНИЯ из ФАНТОМА |
Материал, эквивалентный ткани груди |
Исследования в маммографии |
УСЛОВИЯ ШИРОКОГО ПУЧКА |
|
6* |
RQC |
ПУЧОК ИЗЛУЧЕНИЯ из ДОПОЛНИТЕЛЬНОГО ФИЛЬТРА |
Слой меди* |
Настройка ЭЛЕКТРОННО-ОПТИЧЕСКИХ ПРЕОБРАЗОВАТЕЛЕЙ. АВТОМАТИЧЕСКОЕ УПРАВЛЕНИЕ ЭКСПОЗИЦИОННОЙ ДОЗОЙ. |
- |
|
6* |
RQT |
ПУЧОК ИЗЛУЧЕНИЯ из ДОПОЛНИТЕЛЬНОГО ФИЛЬТРА |
Слой алюминия* |
Торакальные исследования |
- |
|
* См. примечания к разделу 6. | |||||


