ГОСТ Р МЭК 61223-3-1-2001 ОЦЕНКА И КОНТРОЛЬ ЭКСПЛУАТАЦИОННЫХ ПАРАМЕТРОВ РЕНТГЕНОВСКОЙ АППАРАТУРЫ В ОТДЕЛЕНИЯХ (КАБИНЕТАХ) РЕНТГЕНОДИАГНОСТИКИ. Часть 3-1. ХАРАКТЕРИСТИКИ ИЗОБРАЖЕНИЙ РЕНТГЕНОВСКИХ АППАРАТОВ ДЛЯ РЕНТГЕНОГРАФИИ И РЕНТГЕНОСКОПИИ
Введен в действие постановлением Государственного комитета РФ по стандартизации и метрологии от 28 декабря 2001 г. N 603-ст
Evaluation and routine testing in medical imaging departments. Part 3-1. Imaging performance of X-ray equipment for radiographic and radioscopic systems. Acceptance tests
Дата введения 1 января 2004 г.
Введен впервые
Введение
Настоящий стандарт является прямым применением международного стандарта МЭК 61223-3-1-99 "Оценка и контроль эксплуатационных параметров рентгеновской аппаратуры в отделениях (кабинетах) рентгенодиагностики. Часть 3-1. Характеристики изображений рентгеновских аппаратов для рентгенографии и рентгеноскопии. Приемочные испытания", подготовленного Подкомитетом 62В "Аппараты для лучевой диагностики" Технического комитета 62 "Изделия медицинские электрические".
Настоящий стандарт является одним из серии стандартов для персонала рентгенодиагностических отделений (кабинетов) ЛПУ, в которых нормированы методы приемочных испытаний и испытаний на постоянство параметров систем и подсистем рентгенодиагностической аппаратуры, включая устройства обработки пленки.
В настоящем стандарте используемые термины выделены прописным шрифтом, а методы испытаний - курсивом.
Настоящий стандарт распространяется на элементы РЕНТГЕНОВСКОГО АППАРАТА, которые влияют на качество изображения и дозу на ПАЦИЕНТА при рентгенодиагностических исследованиях с использованием рентгенографических и рентгеноскопических визуализирующих систем.
Настоящий стандарт распространяется на характеристики ПРИЕМОЧНЫХ ИСПЫТАНИЙ следующих РЕНТГЕНОВСКИХ АППАРАТОВ и ВСПОМОГАТЕЛЬНОГО ОБОРУДОВАНИЯ, используемых в:
- РЕНТГЕНОГРАФИИ:
стационарный РЕНТГЕНОВСКИЙ АППАРАТ;
передвижной РЕНТГЕНОВСКИЙ АППАРАТ;
РЕНТГЕНОВСКИЙ АППАРАТ для РЕНТГЕНОГРАФИИ черепа;
РЕНТГЕНОВСКИЙ АППАРАТ для РЕНТГЕНОГРАФИИ легких;
РЕНТГЕНОВСКИЙ АППАРАТ для ТОМОГРАФИИ (за исключением КОМПЬЮТЕРНОЙ ТОМОГРАФИИ);
рентгенографические устройства (УСТРОЙСТВО ДЛЯ ПРИЦЕЛЬНЫХ СНИМКОВ) для РЕНТГЕНОСКОПИИ;
РЕНТГЕНОВСКИЙ АППАРАТ для ангиографии (за исключением ДСА - дигитальной субтракционной ангиографии);
РЕНТГЕНОВСКИЙ АППАРАТ для КИНОРЕНТГЕНОГРАФИИ;
- РЕНТГЕНОСКОПИИ:
РЕНТГЕНОВСКИЙ АППАРАТ для РЕНТГЕНОСКОПИИ, включая комбинированный рентгенографический и рентгеноскопический аппарат.
Настоящий стандарт применим к производству РЕНТГЕНОВСКОГО ИЗЛУЧЕНИЯ в цифровых системах и к используемым в таких системах ПРИСПОСОБЛЕНИЯХ. Настоящий стандарт не распространяется на части рентгенодиагностических аппаратов, предназначенных для получения цифрового изображения или его обработки.
Примечание. Характеристики цифровых датчиков и устройств обработки изображения находятся в стадии разработки и будут включены в последующие издания настоящего стандарта.
Настоящий стандарт не распространяется на дентальные РЕНТГЕНОВСКИЕ АППАРАТЫ, аппараты для маммографии и симуляторы для ЛУЧЕВОЙ ТЕРАПИИ.
Требования настоящего стандарта являются обязательными.
Настоящий стандарт определяет:
a) эксплуатационные параметры РЕНТГЕНОВСКОГО АППАРАТА, влияющие на качество изображения и дозу, получаемую ПАЦИЕНТОМ;
b) методы испытаний, позволяющие установить, что значения измеряемых характеристик находятся в установленных пределах.
Методы испытаний основаны на неинвазивных измерениях, проводимых с использованием конкретного испытательного оборудования в процессе или после его установки в отделениях (кабинетах) рентгенодиагностики.
В настоящем стандарте использованы ссылки на следующие стандарты:
ГОСТ 30324.0-95 (МЭК 601-1-88)/ГОСТ Р 50267.0-92 (МЭК 601-1-88). Изделия медицинские электрические. Часть 1. Общие требования безопасности
ГОСТ Р МЭК 580-95. Измеритель произведения экспозиционной дозы на площадь
ГОСТ Р МЭК 878-95. Графические символы, наносимые на медицинские электрические изделия
ГОСТ Р 50267.0.3-99 (МЭК 60601-1-3-94). Изделия медицинские электрические. Часть 1. Общие требования безопасности. 3. Общие требования к защите от излучения в диагностических рентгеновских аппаратах
ГОСТ Р 50267.28-95 (МЭК 601-2-28-93). Изделия медицинские электрические. Часть 2. Частные требования безопасности к диагностическим блокам рентгеновского излучения и рентгеновским излучателям
ГОСТ Р 51746-2001 (МЭК 61223-1-93). Оценка и контроль эксплуатационных параметров рентгеновской аппаратуры в отделениях (кабинетах) рентгенодиагностики. Часть 1. Общие требования
ГОСТ Р МЭК 60336-99. Излучатели медицинские рентгенодиагностические. Характеристики фокусных пятен
ГОСТ Р МЭК 60522-2001. Излучатели рентгеновские. Методы определения постоянной фильтрации
ГОСТ Р МЭК 61223-2-9-2002. Оценка и контроль эксплуатационных параметров рентгеновской аппаратуры в отделениях (кабинетах) рентгенодиагностики. Часть 2-9. Испытания на постоянство параметров. Аппараты для непрямой рентгеноскопии и непрямой рентгенографии
ГОСТ Р МЭК 61267-2001. Изделия медицинские электрические. Условия излучения при определении характеристик
МЭК 60417-1-98*. Графические символы, наносимые на оборудование. Часть 1. Обзор и применение
МЭК 60601-2-7-98*. Изделия медицинские электрические. Часть 2. Частные требования безопасности к рентгеновским питающим устройствам (РПУ) диагностических рентгеновских аппаратов
МЭК 60788-84*. Медицинская радиационная техника. Термины и определения
ИСО 2092-81*. Легкие металлы и их сплавы. Коды обозначений на основе химических символов.
В настоящем стандарте использованы следующие вспомогательные термины с соответствующими определениями:
должен: соответствие требованиям обязательно.
рекомендуется: соответствие требованиям рекомендовано, но необязательно.
может: используется для описания допустимых путей достижения соответствия настоящим требованиям.
установленный: используется для обозначения данных, приведенных в настоящем стандарте или в стандартах, на которые даны ссылки, и обычно относящихся к конкретным условиям работы и испытаний или к значениям, по которым определяют соответствие (МЭК 60788, определение МР-74-01).
нормируемый: используется для обозначения данных, указываемых обычно ИЗГОТОВИТЕЛЕМ в СОПРОВОДИТЕЛЬНЫХ (далее - ЭКСПЛУАТАЦИОННЫХ) ДОКУМЕНТАХ на аппарат, касающихся его назначения, параметров, условий эксплуатации или испытаний на соответствие (см. МЭК 60788, определение МР-74-02).
В настоящем стандарте термины, выделенные прописным шрифтом, используют в соответствии с МЭК 60788, ГОСТ Р 51746, ГОСТ 30324.0/ГОСТ Р 50267.0 и 3.3 настоящего стандарта (см. также Приложение A).
3.3.1 АРТЕФАКТ: видимая на снимке структура, не являющаяся структурой объекта исследования и появление которой не является следствием помехи или свойств функции передачи модуляции системы.
3.3.2 РАЗРЕШЕНИЕ: наивысшая пространственная частота различимой на изображении группы линий стандартной испытательной миры, изображение которой получено в стандартных условиях. Единица измерения - пара линий на миллиметр.
Примечание. Настоящий термин заменяет используемый на практике термин "пространственное разрешение".
3.3.3 НИЗКОКОНТРАСТНОЕ РАЗРЕШЕНИЕ: Деталь стандартного объекта самой низкой контрастности, изображение которой может быть получено на однородном фоне.
3.3.4 РАДИАЦИОННЫЙ ВЫХОД: ВОЗДУШНАЯ КЕРМА за время экспозиции (ПРОИЗВЕДЕНИЕ ТОК-ВРЕМЯ) (мГр/мА с) на заданном расстоянии от ФОКУСНОГО ПЯТНА в первичном ПУЧКЕ ИЗЛУЧЕНИЯ.
3.3.5 ПЕРЕДАННАЯ КЕРМА (МОЩНОСТЬ ПЕРЕДАННОЙ КЕРМЫ): ВОЗДУШНАЯ КЕРМА (МОЩНОСТЬ ВОЗДУШНОЙ КЕРМЫ) в центральном ПУЧКЕ ИЗЛУЧЕНИЯ за стандартным слоем ослабления.
Цель ПРИЕМОЧНЫХ ИСПЫТАНИЙ - установить, что нормируемые характеристики находятся в пределах нормируемых отклонений. Требования к характеристикам могут определяться в нормативных документах на конкретный РЕНТГЕНОВСКИЙ АППАРАТ, а также содержаться в заказе на поставку оборудования, техническом описании или других документах.
Прежде чем приступить к ПРИЕМОЧНЫМ ИСПЫТАНИЯМ, ИЗДЕЛИЕ устанавливают и вводят в эксплуатацию согласно документации, представленной ИЗГОТОВИТЕЛЕМ. Проводят идентификацию испытываемого ИЗДЕЛИЯ и его узлов. РЕНТГЕНОВСКИЙ АППАРАТ и его узлы должны быть однозначно идентифицированы ОБОЗНАЧЕНИЕМ МОДЕЛИ ИЛИ ТИПА и СЕРИЙНЫМ НОМЕРОМ и проверены на соответствие контракту на поставку. Необходимо также проверить комплектность ЭКСПЛУАТАЦИОННЫХ ДОКУМЕНТОВ, включая протоколы испытаний.
РЕНТГЕНОГРАФИЧЕСКИЕ КАССЕТЫ с УСИЛИВАЮЩИМИ ЭКРАНАМИ, РЕНТГЕНОГРАФИЧЕСКИЕ ПЛЕНКИ и устройство фотохимической обработки пленки являются существенными звеньями в цепи формирования изображения. ПОЛЬЗОВАТЕЛЬ отвечает за правильное функционирование каждого компонента этой цепи в части чувствительности, контрастности и отсутствия АРТЕФАКТОВ.
При проведении ПРИЕМОЧНЫХ ИСПЫТАНИЙ измерения следует проводить неинвазивным методом. Если по программе проводят инвазивные испытания, РЕНТГЕНОВСКИЙ АППАРАТ после испытаний должен быть восстановлен.
Для проведения испытаний необходимы следующие документы и исходные данные:
- декларация изготовителя о соответствии аппарата частным стандартам серии ГОСТ Р 50267;
- перечень заказанных узлов и частей и перечень действительного комплекта поставки;
- технические характеристики аппарата, согласованные между поставщиком и заказчиком;
- протоколы заводских испытаний или испытаний при установке оборудования, включающие наиболее важные характеристики, касающиеся качества изображения, например НОМИНАЛЬНОЕ ЗНАЧЕНИЕ ФОКУСНОГО ПЯТНА;
- ИНСТРУКЦИЯ ПО ЭКСПЛУАТАЦИИ, включающая сведения, необходимые для обеспечения нормальной работы ИЗДЕЛИЯ;
- подробные сведения о реальных рабочих условиях, в которых должен эксплуатироваться РЕНТГЕНОВСКИЙ АППАРАТ, а также информация о том, могут ли они повлиять на ограничение объема испытаний либо на функциональные свойства ИЗДЕЛИЯ. Если какие-либо функции могут быть нарушены, проверяют только используемые функции;
- руководство по периодичности и объему технического обслуживания;
- протоколы предыдущих испытаний (при необходимости);
- сведения о технических изменениях ИЗДЕЛИЯ за время между заключением контракта на поставку и ПРИЕМОЧНЫМИ ИСПЫТАНИЯМИ.
Различают следующие виды испытаний:
- визуальный осмотр;
- функциональные испытания;
- проверка эксплуатационных характеристик системы;
- проверка значений переменных величин.
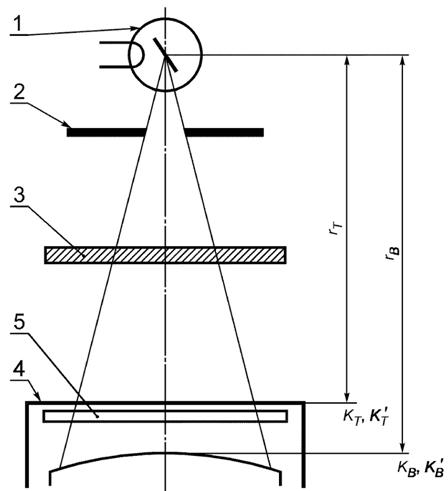
Схемы расположения аппаратуры при проведении испытаний приведены на рисунках 1 и 2. По схеме, представленной на рисунке 1, измеряют ПЕРЕДАННУЮ КЕРМУ КТ, или МОЩНОСТЬ ПЕРЕДАННОЙ КЕРМЫ К'Т, ВОЗДУШНУЮ КЕРМУ ПРИЕМНИКА РЕНТГЕНОВСКОГО ИЗОБРАЖЕНИЯ КВ, или МОЩНОСТЬ ВОЗДУШНОЙ КЕРМЫ ПРИЕМНИКА РЕНТГЕНОВСКОГО ИЗОБРАЖЕНИЯ К'В, и производные испытательные характеристики.
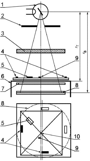
По схеме, представленной на рисунке 2, проверяют геометрические искажения и разрешающую способность.
Схемы расположения аппаратуры, представленные на рисунках 1 и 2, приведены в качестве примера. Испытание допускается проводить в вертикальном или горизонтальном положении в соответствии с режимом работы ИЗДЕЛИЯ. Не каждый компонент аппаратуры необходим при всех испытаниях.
Размер ПОЛЯ РЕНТГЕНОВСКОГО ИЗЛУЧЕНИЯ должен быть минимальным для каждого измерения. Расстояние между дополнительным слоем ослабления и детектором КЕРМАМЕТРА (ИЗМЕРИТЕЛЯ МОЩНОСТИ КЕРМЫ) должно быть не менее 250 мм.
Примечание. Влияние РАССЕЯННОГО ИЗЛУЧЕНИЯ - в соответствии с 4.5.4.
Результаты испытания должны представлять эксплуатационные параметры по всему диапазону достижимых значений.
Необходимые данные, такие как идентификация испытываемого РЕНТГЕНОВСКОГО АППАРАТА, используемого испытательного оборудования, геометрическое расположение, рабочие характеристики, поправочные коэффициенты и результаты испытаний ВСПОМОГАТЕЛЬНОГО ОБОРУДОВАНИЯ (пленок, экранов, проявочных машин) должны быть занесены в протокол вместе с результатами испытания. В протокол также заносят место и дату проведения испытания, а также фамилии персонала, проводившего его.
При ПРИЕМОЧНЫХ ИСПЫТАНИЯХ проверяют:
- идентификацию ИЗДЕЛИЯ;
- документацию;
- характеристики, оцениваемые с помощью визуальных и функциональных проверок;
- АНОДНОЕ НАПРЯЖЕНИЕ;
- ПРОИЗВЕДЕНИЕ ТОК-ВРЕМЯ;
- ВРЕМЯ НАГРУЗКИ;
- диафрагмирование и выравнивание ПУЧКА ИЗЛУЧЕНИЯ;
- ФОКУСНОЕ ПЯТНО;
- ОБЩУЮ ФИЛЬТРАЦИЮ;
- РАДИАЦИОННЫЙ ВЫХОД;
- ПЕРЕДАННУЮ КЕРМУ (МОЩНОСТЬ ПЕРЕДАННОЙ КЕРМЫ);
- функцию АВТОМАТИЧЕСКОГО УПРАВЛЕНИЯ ЭКСПОЗИЦИОННОЙ ДОЗОЙ;
- СТЕПЕНЬ ОСЛАБЛЕНИЯ;
- ВОЗДУШНУЮ КЕРМУ (МОЩНОСТЬ ВОЗДУШНОЙ КЕРМЫ);
- ВОЗДУШНУЮ КЕРМУ (МОЩНОСТЬ ВОЗДУШНОЙ КЕРМЫ) на ВХОДНОЙ ПЛОСКОСТИ УРИ;
- ПРОСТРАНСТВЕННОЕ РАЗРЕШЕНИЕ;
- НИЗКОКОНТРАСТНОЕ РАЗРЕШЕНИЕ;
- оптическую плотность (для проверки АВТОМАТИЧЕСКОГО УПРАВЛЕНИЯ ЭКСПОЗИЦИОННОЙ ДОЗОЙ).
В Приложении B приведены обозначения и единицы измерения некоторых из перечисленных характеристик.
4.5.1 Общие положения
Используемые при проведении ПРИЕМОЧНЫХ ИСПЫТАНИЙ средства измерений должны иметь свидетельство о поверке в соответствии с методикой или инструкцией по поверке.
Погрешность измерительной аппаратуры должна быть менее одной трети допусков, нормированных для измеряемых значений.
4.5.2 Прибор для измерения высокого напряжения
Прибор для измерения высокого напряжения должен обеспечивать измерение АНОДНОГО НАПРЯЖЕНИЯ в пределах установленного диапазона. Допускается использование приборов прямого или косвенного измерения высокого напряжения.
4.5.3 КЕРМАМЕТР
Диапазон измерения КЕРМАМЕТРА (ИЗМЕРИТЕЛЯ МОЩНОСТИ КЕРМЫ) должен быть достаточным для измерения ВОЗДУШНОЙ КЕРМЫ (МОЩНОСТИ ВОЗДУШНОЙ КЕРМЫ) в пределах требуемой погрешности для испытываемой системы и откалиброван в соответствии с используемым качеством излучения.
Допускается измерение других дозиметрических величин в соответствии с требованиями нормативных документов.
4.5.4 ФАНТОМЫ (ФИЛЬТРЫ) и ТЕСТ-ОБЪЕКТЫ
ФАНТОМЫ и ТЕСТ-ОБЪЕКТЫ могут состоять из ослабляющих слоев (ФАНТОМ - часть объекта) и (или) структурных элементов (ТЕСТ-ОБЪЕКТ - часть объекта), которые размещают вместе или порознь.
Необходимо соблюдать следующие требования:
a) Размеры
Размеры ФАНТОМОВ должны быть достаточно большими, чтобы перекрывать весь ПУЧОК ИЗЛУЧЕНИЯ при всех условиях проведения испытаний (рисунки 1 и 2).
b) ОСЛАБЛЕНИЕ и увеличение жесткости
Чистота материала ослабляющих слоев алюминиевых ФАНТОМОВ должна быть не менее 99, 5%, что в соответствии с ИСО 2092 обозначается как Al 99, 5, а толщина материала – (25±0, 5) мм (ГОСТ Р МЭК 61267). Для некоторых (не всех) испытаний допускается использовать дополнительный однородный ослабляющий слой меди толщиной около 1, 5 мм.
ФАНТОМ из материала с низким атомным весом (например из ТКАНЕЭКВИВАЛЕНТНОГО ВЕЩЕСТВА) используют для проверки функции АВТОМАТИЧЕСКОГО УПРАВЛЕНИЯ ЭКСПОЗИЦИОННОЙ ДОЗОЙ (например слой воды толщиной 10, 15 или 20 см).
В некоторых испытаниях необходимы слои из свинца толщиной 1-2 мм для изготовления свинцовых масок или экранирования прямого или непрямого ИЗЛУЧЕНИЯ.
c) Влияние РАССЕЯННОГО ИЗЛУЧЕНИЯ в разных схемах измерения
При испытаниях необходимо принимать меры для сведения к минимуму РАССЕЯННОГО ИЗЛУЧЕНИЯ. В случае значительного воздействия РАССЕЯННОГО ИЗЛУЧЕНИЯ на результаты испытаний необходимо определить и использовать при расчетах поправочный коэффициент.
d) ТЕСТ-ОБЪЕКТ для проверки диафрагмирования пучка
ТЕСТ-ОБЪЕКТ для проверки диафрагмирования пучка должен включать структурные элементы для проверки центра, границ и индикации размера ПУЧКА ИЗЛУЧЕНИЯ в виде маркеров и матрицы с промежутками из поглощающего ИЗЛУЧЕНИЕ материала толщиной в 1 см. Эти структурные элементы рекомендуется выполнять из такого материала и располагать так, чтобы они не влияли на функции АВТОМАТИЧЕСКОГО УПРАВЛЕНИЯ ЭКСПОЗИЦИОННОЙ ДОЗОЙ.
e) ТЕСТ-ОБЪЕКТ для проверки ПРОСТРАНСТВЕННОГО РАЗРЕШЕНИЯ должен включать линейные структуры с группами свинцовых полос толщиной 0, 05 мм частотами в диапазоне 0, 6-5, 0 пар линий на миллиметр и с увеличением частот от группы к группе не более 20%.
f) ТЕСТ-ОБЪЕКТ для проверки НИЗКОКОНТРАСТНОГО РАЗРЕШЕНИЯ
Для измерения НИЗКОКОНТРАСТНОГО РАЗРЕШЕНИЯ существует несколько типов ТЕСТ-ОБЪЕКТОВ. При измерении этой характеристики рекомендуется вместе с результатами испытания заносить в протокол описание используемого ТЕСТ-ОБЪЕКТА.
Диаметры дисков должны быть такими, чтобы исключалось влияние на их изображение частотных характеристик УРИ и телевизионного канала (системы визуализации изображения) (Приложение C).
4.5.5 Лупы
Лупы должны обеспечивать 2-6-кратное увеличение.
4.5.6 Денситометр
Денситометр должен обеспечивать диапазон измерения оптической плотности 0-3, 5.
4.5.7 Дополнительная проверка РЕНТГЕНОВСКОГО АППАРАТА для ТОМОГРАФИИ и ТЕСТ-ОБЪЕКТЫ
Используют следующие ТЕСТ-ОБЪЕКТЫ:
- ТЕСТ-ОБЪЕКТ для проверки регулировки высоты слоя:
Держатель для металлической пластины с отверстиями, просверленными с постоянными интервалами (или ТЕСТ-ОБЪЕКТ с дополнительными отверстиями в соответствии с рисунком 4), с наклоном поперечной оси испытательной миры 20°-45° относительно плоскости СТОЛА ДЛЯ ПАЦИЕНТА. Отверстия в каждом ряду испытательной миры должны обеспечивать интервал по высоте 1 мм;
- ТЕСТ-ОБЪЕКТ для проверки перемещений в ТОМОГРАФИИ:
ДИАФРАГМА с точечным отверстием для определения томографического перемещения;
- ТЕСТ-ОБЪЕКТ для проверки ПРОСТРАНСТВЕННОГО РАЗРЕШЕНИЯ в ТОМОГРАФИИ:
Испытательная мира со свинцовыми полосами толщиной от 0, 05 до 0, 10 мм и группами полос с локальными частотами в диапазоне от 0, 5 до 4, 0 пар линий на миллиметр и с увеличением частот от группы к группе не более 40%. Внешние размеры ТЕСТ-ОБЪЕКТА - 42x110 мм (рисунок 4).
При несоответствии предельных значений или допусков для проверки результатов проводят, как минимум, два дополнительных измерения.
При оценке результатов, относящихся к граничным значениям (верхним или нижним), принимают во внимание погрешность измерения.
5.1.1 Требования
Работа и функционирование РЕНТГЕНОВСКОГО АППАРАТА должны соответствовать технической документации на ИЗДЕЛИЕ.
На доступные ОПЕРАТОРУ органы управления должны быть нанесены соответствующие графические символы (и/или надписи) согласно ГОСТ Р МЭК 878 или МЭК 60417-1. Цвета индикаторных ламп должны соответствовать стандартам на медицинскую технику (например ГОСТ 30324.0/ГОСТ Р 50267.0). Маркировка РЕНТГЕНОВСКОГО ИЗЛУЧАТЕЛЯ должна соответствовать ГОСТ Р 50267.28. СВЕТОВОЕ ПОЛЕ должно быть распознаваемым в условиях стандартного окружающего освещения.
В ИНСТРУКЦИИ ПО ЭКСПЛУАТАЦИИ должно быть полное описание рекомендуемой работы испытуемого РЕНТГЕНОВСКОГО АППАРАТА, функций доступных ОПЕРАТОРУ органов управления, индикаторов и ДИСПЛЕЯ, а также приведено описание всех используемых символов. Сведения, содержащиеся в ИНСТРУКЦИИ ПО ЭКСПЛУАТАЦИИ, должны соответствовать действительному расположению органов управления, символов и надписей на испытываемом аппарате. ИНСТРУКЦИЯ ПО ЭКСПЛУАТАЦИИ должна быть на языке (понятном ПОЛЬЗОВАТЕЛЮ) страны, в которой эксплуатируется ИЗДЕЛИЕ, или на языке, указанном в контракте на поставку.
5.1.2 Методика испытания
Испытания должны состоять из:
- проверки комплектности испытуемого ИЗДЕЛИЯ;
- проверки наличия технической документации согласно 4.2;
- проверки функционирования электрических и механических регулирующих устройств (включая проверку точности указателя РАССТОЯНИЯ ОТ ФОКУСНОГО ПЯТНА ДО ПРИЕМНИКА ИЗОБРАЖЕНИЯ и всех положений задержки, в которых эта характеристика изменяется);
- проверки обозначений и функционирования органов управления;
- визуального осмотра надписей на органах управления;
- визуального осмотра маркировки на РЕНТГЕНОВСКОМ ИЗЛУЧАТЕЛЕ;
- визуального осмотра яркости СВЕТОВОГО ПОЛЯ;
- экспертизы ИНСТРУКЦИИ ПО ЭКСПЛУАТАЦИИ (по ГОСТ 30324.0/ГОСТ Р 50267.0).
5.2.1 Требования
ИЗМЕРЕННЫЕ ЗНАЧЕНИЯ АНОДНОГО НАПРЯЖЕНИЯ должны соответствовать значениям, указанным на ПУЛЬТЕ УПРАВЛЕНИЯ, в пределах установленных допусков.
5.2.2 Методика испытания
Измерения проводят по схеме, приведенной на рисунке 1, без ослабляющего слоя. Предпочтительно использовать неинвазивный метод.
Детектор прибора для измерения высокого напряжения помещают в центр ПУЧКА ИЗЛУЧЕНИЯ. Должно быть выполнено не менее трех стандартных измерений АНОДНОГО НАПРЯЖЕНИЯ при напряжениях 60, 80 и 100 кВ или при напряжениях, близких к этим значениям, при не менее чем 50% наибольшего АНОДНОГО ТОКА и ВРЕМЕНИ НАГРУЗКИ приблизительно 0, 1 с. На напряжении 80 кВ измерения проводят также при наибольшей и наименьшей уставках АНОДНОГО ТОКА.
Примечания
1. Рекомендованные ПАРАМЕТРЫ НАГРУЗКИ являются минимальными. Рекомендуется выбирать ПАРАМЕТРЫ НАГРУЗКИ с учетом характера испытуемого ИЗДЕЛИЯ и его клинического применения, чтобы должным образом изучить соотношение АНОДНОГО НАПРЯЖЕНИЯ, ВРЕМЕНИ НАГРУЗКИ, АНОДНОГО ТОКА для определения соответствия ИЗДЕЛИЯ технической документации и нуждам ПОЛЬЗОВАТЕЛЯ.
2. Во время испытания ни в коем случае не допускается превышать максимальные значения номинальных параметров РЕНТГЕНОВСКОГО ИЗЛУЧАТЕЛЯ.
ИЗМЕРЕННЫЕ ЗНАЧЕНИЯ АНОДНОГО НАПРЯЖЕНИЯ сравнивают со значениями, указанными на ПУЛЬТЕ УПРАВЛЕНИЯ, и нормированными допусками.
Примечание. ПАРАМЕТРЫ НАГРУЗКИ рекомендуется зарегистрировать, поскольку измеренное АНОДНОЕ НАПРЯЖЕНИЕ может изменяться в зависимости от ПАРАМЕТРА НАГРУЗКИ.
5.3.1 Требования
Минимальная ОБЩАЯ ФИЛЬТРАЦИЯ должна соответствовать нормированному значению.
5.3.2 Методика испытания
Соответствие технической документации проверяют осмотром маркировок на РЕНТГЕНОВСКОМ ИЗЛУЧАТЕЛЕ и изучением ЭКСПЛУАТАЦИОННЫХ ДОКУМЕНТОВ. При необходимости можно определить ЭКВИВАЛЕНТНУЮ ПО КАЧЕСТВУ ФИЛЬТРАЦИЮ по разделам 3 и 4 ГОСТ Р МЭК 60522.
Примечание. Для этого потребуется измерение СЛОЯ ПОЛОВИННОГО ОСЛАБЛЕНИЯ в УСЛОВИЯХ УЗКОГО ПУЧКА при работе РЕНТГЕНОВСКОГО АППАРАТА на соответствующих значениях АНОДНОГО НАПРЯЖЕНИЯ и ПАРАМЕТРАХ НАГРУЗКИ и сравнение СЛОЯ ПОЛОВИННОГО ОСЛАБЛЕНИЯ для РЕНТГЕНОВСКОЙ ТРУБКИ с МИШЕНЬЮ из аналогичного материала и с тем же углом скоса анода.
Допускается выполнение упрощенного измерения в соответствии со схемой на рисунке 1 без ослабляющего слоя. Первый СЛОЙ ПОЛОВИННОГО ОСЛАБЛЕНИЯ измеряют, когда аппарат работает на соответствующих значениях АНОДНОГО НАПРЯЖЕНИЯ с ПАРАМЕТРАМИ НАГРУЗКИ, соответствующими НОРМАЛЬНОЙ ЭКСПЛУАТАЦИИ. Это измерение дает лишь приблизительное значение ОБЩЕЙ ФИЛЬТРАЦИИ, поскольку условия не полностью соответствуют требованиям ГОСТ Р МЭК 60522. Указывают либо соответствие ОБЩЕЙ ФИЛЬТРАЦИИ значениям, приведенным в технической документации, либо соответствие измеренного СЛОЯ ПОЛОВИННОГО ОСЛАБЛЕНИЯ требованиям ГОСТ Р 50267.0.3.
5.4.1 Требования
Размеры ДЕЙСТВИТЕЛЬНОГО ФОКУСНОГО ПЯТНА для НОМИНАЛЬНОГО ЗНАЧЕНИЯ должны соответствовать ГОСТ Р МЭК 60336. Дополнительные технические требования, касающиеся, например, размеров и направления ОПОРНОЙ ОСИ или ПАРАМЕТРОВ НАГРУЗКИ, проверяют в рамках настоящего стандарта только тогда, когда эти требования специально оговаривают и сопровождают методикой испытания.
5.4.2 Методика испытания
ИЗГОТОВИТЕЛЬ обязан заявить и продемонстрировать соответствие ГОСТ Р МЭК 60336 действительных размеров ФОКУСНОГО ПЯТНА для заявленных НОМИНАЛЬНЫХ ЗНАЧЕНИЙ ФОКУСНОГО ПЯТНА.
Примечание. Различные методы измерения ФОКУСНОГО ПЯТНА (ЩЕЛЕВАЯ КАМЕРА, КАМЕРА С ТОЧЕЧНЫМ ОТВЕРСТИЕМ, звездообразная мира, Фурье-преобразование изображений ТЕСТ-ОБЪЕКТА) дают отличающиеся результаты по размеру и разрешению. Стандартная процедура измерения ФОКУСНОГО ПЯТНА с помощью ЩЕЛЕВОЙ КАМЕРЫ при нормированных условиях проецирования и оптической плотности приведена в ГОСТ Р МЭК 60336.
5.5.1 Точность маркированных и зарегистрированных значений размера ПОЛЯ РЕНТГЕНОВСКОГО ИЗЛУЧЕНИЯ
5.5.1.1 Требования
Действительный размер ПОЛЯ РЕНТГЕНОВСКОГО ИЗЛУЧЕНИЯ должен соответствовать значению, указанному на ИЗДЕЛИИ, в пределах нормированных допусков.
5.5.1.2 Методика испытания
Соответствие требованию проверяют осмотром РЕНТГЕНОВСКОГО АППАРАТА и проверкой ЭКСПЛУАТАЦИОННЫХ ДОКУМЕНТОВ. При необходимости измеряют размеры ПОЛЯ РЕНТГЕНОВСКОГО ИЗЛУЧЕНИЯ по двум главным осям при выбранных параметрах СИСТЕМЫ ФОРМИРОВАНИЯ ПУЧКА и РАССТОЯНИИ ОТ ФОКУСНОГО ПЯТНА ДО ПРИЕМНИКА ИЗОБРАЖЕНИЯ, которые используют при НОРМАЛЬНОЙ ЭКСПЛУАТАЦИИ и при обычно применяемых углах ПУЧКА ИЗЛУЧЕНИЯ.
Допускается использование других методов испытания, если они дают сравнимые результаты.
Измерения проводят с РЕНТГЕНОГРАФИЧЕСКОЙ КАССЕТОЙ, установленной в кассетодержателе или на поверхности СТОЛА ДЛЯ ПАЦИЕНТА в центре РАДИАЦИОННОГО ПОЛЯ, в соответствии со схемой на рисунке 2 без ослабляющего слоя. Используя соответствующие условия и ПАРАМЕТРЫ НАГРУЗКИ, РЕНТГЕНОГРАММЫ выполняют с двумя размерами поля, например 18x24 и 24x30 см, так, чтобы полученная оптическая плотность D РЕНТГЕНОГРАФИЧЕСКОЙ ПЛЕНКИ была в диапазоне 0, 5-2, 0.
Измеряют размер ПОЛЯ РЕНТГЕНОВСКОГО ИЗЛУЧЕНИЯ на проявленных РЕНТГЕНОГРАФИЧЕСКИХ ПЛЕНКАХ и записывают расхождения со значением(ями), указанным на РЕНТГЕНОВСКОМ АППАРАТЕ. Если РЕНТГЕНОГРАФИЧЕСКИЕ КАССЕТЫ были экспонированы на поверхности СТОЛА ДЛЯ ПАЦИЕНТА, полученный размер поля должен быть скорректирован относительно значения, полученного при измерении кассеты в кассетодержателе. Расхождения между измеренным размером ПОЛЯ РЕНТГЕНОВСКОГО ИЗЛУЧЕНИЯ и указанными на РЕНТГЕНОВСКОМ АППАРАТЕ значениями должны быть в пределах нормированных допусков.
5.5.2 Точность индикации СВЕТОВОГО УКАЗАТЕЛЯ ПОЛЯ
5.5.2.1 Требования
Расхождения СВЕТОВОГО и РАДИАЦИОННОГО ПОЛЕЙ должны соответствовать нормированным допускам.
5.5.2.2 Методика испытания
РЕНТГЕНОГРАФИЧЕСКУЮ КАССЕТУ, например размером 24x30 см, помещают на поверхности СТОЛА ДЛЯ ПАЦИЕНТА в центре ПОЛЯ РЕНТГЕНОВСКОГО ИЗЛУЧЕНИЯ и вручную устанавливают СВЕТОВОЕ ПОЛЕ, например размером 18x24 см. Непрозрачными для рентгеновских лучей маркерами, например металлической проволокой, отмечают углы СВЕТОВОГО ПОЛЯ. ПАРАМЕТРЫ НАГРУЗКИ выбирают так, чтобы полученная оптическая плотность D РЕНТГЕНОГРАФИЧЕСКОЙ ПЛЕНКИ была в диапазоне 0, 5-2, 0.
Измеряют границы РАДИАЦИОННОГО ПОЛЯ на проявленной РЕНТГЕНОГРАФИЧЕСКОЙ ПЛЕНКЕ и расхождение с установленным СВЕТОВЫМ ПОЛЕМ.
Измеренные расхождения на рисунке 5, обозначенные a1 и a2, представлены на одной оси, а обозначенные b1 и b2 - на другой. Если расстояние от ФОКУСНОГО ПЯТНА до плоскости СВЕТОВОГО ПОЛЯ – rL, то для согласования допусков справедливо следующее соотношение:
|a1|+|a2|≤X•rL;
|b1|+|b2|≤X•rL,
где X - нормированный допуск.
5.5.3 Соответствие между ПОЛЕМ РЕНТГЕНОВСКОГО ИЗЛУЧЕНИЯ и ПОВЕРХНОСТЬЮ ПРИЕМНИКА ИЗОБРАЖЕНИЯ с автоматической регулировкой РАДИАЦИОННОГО ОКНА
5.5.3.1 Требования
Расхождения между краями ПОЛЯ РЕНТГЕНОВСКОГО ИЗЛУЧЕНИЯ и соответствующими краями ПОВЕРХНОСТИ ПРИЕМНИКА ИЗОБРАЖЕНИЯ должны соответствовать нормированным допускам.
5.5.3.2 Методика испытания
Соответствие проверяют осмотром РЕНТГЕНОВСКОГО АППАРАТА, изучением ИНСТРУКЦИИ ПО ЭКСПЛУАТАЦИИ и, при необходимости, измерением РАДИАЦИОННЫХ ПОЛЕЙ. Время до завершения автоматических регулировок, необходимых в процессе испытания, должно быть не менее 5 с. Для испытания используют две кассеты размерами, например 18 x 24 и 24 x 30 см. Измерения проводят по схеме, приведенной на рисунке 2 без ослабляющего слоя. На СТОЛ ДЛЯ ПАЦИЕНТА кладут РЕНТГЕНОГРАФИЧЕСКУЮ КАССЕТУ без экранов или РЕНТГЕНОГРАФИЧЕСКУЮ ПЛЕНКУ в светонепроницаемом конверте. Вторую заряженную РЕНТГЕНОГРАФИЧЕСКУЮ КАССЕТУ вставляют в КАССЕТОДЕРЖАТЕЛЬ. Автоматическое УСТРОЙСТВО ФОРМИРОВАНИЯ ПУЧКА будет автоматически регулировать размер ПОЛЯ РЕНТГЕНОВСКОГО ИЗЛУЧЕНИЯ по формату используемой РЕНТГЕНОГРАФИЧЕСКОЙ КАССЕТЫ. Выбирают ПАРАМЕТРЫ НАГРУЗКИ так, чтобы оптическая плотность D обеих РЕНТГЕНОГРАФИЧЕСКИХ ПЛЕНОК была в диапазоне 0, 5-2, 0.
На проявленных РЕНТГЕНОГРАФИЧЕСКИХ ПЛЕНКАХ измеряют границы РАДИАЦИОННОГО ПОЛЯ и расхождение с ПОВЕРХНОСТЬЮ ПРИЕМНИКА ИЗОБРАЖЕНИЯ.
Измеренные расхождения в ПЛОСКОСТИ ПРИЕМНИКА ИЗОБРАЖЕНИЯ на рисунке 6 обозначены: на одной оси c1 и c2, на другой – d1 и d2.
Если РАССТОЯНИЕ ОТ ФОКУСНОГО ПЯТНА ДО ПРИЕМНИКА ИЗОБРАЖЕНИЯ rB, то для согласования справедливы следующие соотношения:
|c1|+|c2|≤Y•rB;
|d1|+|d2|≤Y•rB;
|c1|+|c2|+|d1|+|d2|≤Z•rB,
где Y и Z - нормированные допуски.
Примечание. Если указанные требования выполнены, РЕНТГЕНОВСКИЙ АППАРАТ соответствует требованию к центровке РАДИАЦИОННОГО ПОЛЯ.
5.6.1 Требования
Приведенные в настоящем пункте требования (для ПЕРЕДАННОЙ КЕРМЫ и РАДИАЦИОННОГО ВЫХОДА) применяют в соответствии с нормативными документами.
Линейность ПЕРЕДАННОЙ КЕРМЫ с ЭКСПОЗИЦИЕЙ и воспроизводимость должны соответствовать нормированным значениям или допускам.
РАДИАЦИОННЫЙ ВЫХОД и ПЕРЕДАННАЯ КЕРМА за ЭКСПОЗИЦИЮ на заданном расстоянии для заданных уставок АНОДНОГО НАПРЯЖЕНИЯ не должны зависеть от выбора АНОДНОГО ТОКА для каждого ФОКУСНОГО ПЯТНА.
Если показатель ПЕРЕДАННОЙ КЕРМЫ определен при нормированном АНОДНОМ НАПРЯЖЕНИИ, он должен соответствовать нормированным значениям и допускам.
РАДИАЦИОННЫЙ ВЫХОД должен соответствовать нормированным значениям и допускам.
5.6.2 Методика испытания
Измерения выполняют по схеме, представленной на рисунке 1 с ослабляющим слоем. Измеряют линейность и воспроизводимость ПЕРЕДАННОЙ КЕРМЫ с ЭКСПОЗИЦИЕЙ (ВОЗДУШНАЯ КЕРМА за ЭКСПОЗИЦИЮ) для установленных значений АНОДНЫХ НАПРЯЖЕНИЙ. Детектор КЕРМАМЕТРА устанавливают в ПУЧКЕ ИЗЛУЧЕНИЯ за ослабляющим слоем на достаточном расстоянии.
ВОЗДУШНУЮ КЕРМУ измеряют в следующих условиях:
a) не менее чем при пяти значениях АНОДНОГО ТОКА (включая наименьшее и наибольшее), при АНОДНОМ НАПРЯЖЕНИИ около 80 кВ (или нормированном) и ВРЕМЕНИ НАГРУЗКИ около 0, 1 с;
b) выбирают то же значение АНОДНОГО НАПРЯЖЕНИЯ и измеряют ВОЗДУШНУЮ КЕРМУ при низком значении АНОДНОГО ТОКА для наименьшего и наибольшего значений ВРЕМЕНИ НАГРУЗКИ;
c) выполняют не менее пяти измерений при установленной комбинации ЭКСПОЗИЦИИ и АНОДНОГО НАПРЯЖЕНИЯ.
Для РАДИАЦИОННОГО ВЫХОДА измерения по перечислениям a) - c) настоящего пункта выполняют в первичном пучке без ослабляющего слоя.
Примечания
1. Число комбинаций ПАРАМЕТРОВ НАГРУЗКИ, указанных для испытаний, должно быть ограничено, но выбрано по практическим соображениям как наиболее подходящее для большинства случаев.
2. Во время испытания ни в коем случае не допускается превышение максимальных значений номинальных параметров РЕНТГЕНОВСКОГО ИЗЛУЧАТЕЛЯ.
Результаты оценивают следующим образом:
- для перечислений a) и b) рассчитывают отклонения и показатель ОСЛАБЛЕННОЙ КЕРМЫ (если нормированы);
- для перечисления c) рассчитывают среднее значение и максимальное отклонение.
Показатель ПЕРЕДАННОЙ КЕРМЫ TKi рассчитывают по формуле
,
где КТ - ПЕРЕДАННАЯ КЕРМА;
rT - расстояние между ФОКУСНЫМ ПЯТНОМ и плоскостью измерения;
Qa - указанная ЭКСПОЗИЦИЯ, мА с.
Результат сравнивают с нормированными значениями и допусками.
5.7.1 Требования
СТЕПЕНЬ ОСЛАБЛЕНИЯ материала между ПАЦИЕНТОМ и ПРИЕМНИКОМ РЕНТГЕНОВСКОГО ИЗОБРАЖЕНИЯ не должна превышать нормированных значений.
5.7.2 Методика испытания
Проверяют соответствие поставленных частей заказу (например тип ОТСЕИВАЮЩЕГО РАСТРА).
По схеме, приведенной на рисунке 1, измеряют СТЕПЕНЬ ОСЛАБЛЕНИЯ TR в пределах нормированного диапазона АНОДНЫХ НАПРЯЖЕНИЙ, например 80 кВ, и с ослабляющим слоем, например 25 мм алюминия. Измерения рекомендуется проводить в УСЛОВИЯХ УЗКОГО ПУЧКА.
Измеряют ПЕРЕДАННУЮ КЕРМУ (МОЩНОСТЬ ПЕРЕДАННОЙ КЕРМЫ) КТ(К'В) и ВОЗДУШНУЮ КЕРМУ ПРИЕМНИКА РЕНТГЕНОВСКОГО ИЗОБРАЖЕНИЯ КВ(К'В) (если возможно).
СТЕПЕНЬ ОСЛАБЛЕНИЯ рассчитывают по формуле
,
где КТ и КВ - значения ВОЗДУШНОЙ КЕРМЫ над и под СТОЛОМ ДЛЯ ПАЦИЕНТА соответственно;
rT и rB - соответствующие расстояния от ФОКУСНОГО ПЯТНА.
Результаты измерений сравнивают с нормированными значениями.
5.8.1 НОМИНАЛЬНОЕ НАИМЕНЬШЕЕ ВРЕМЯ ОБЛУЧЕНИЯ при АВТОМАТИЧЕСКОМ УПРАВЛЕНИИ ЭКСПОЗИЦИОННОЙ ДОЗОЙ
5.8.1.1 Требования
НОМИНАЛЬНОЕ НАИМЕНЬШЕЕ ВРЕМЯ ОБЛУЧЕНИЯ (МЭК 60601-2-7) вместе с условиями испытаний должно быть указано в ЭКСПЛУАТАЦИОННЫХ ДОКУМЕНТАХ.
5.8.2 Выполнение АВТОМАТИЧЕСКОГО УПРАВЛЕНИЯ ЭКСПЛУАТАЦИОННОЙ ДОЗОЙ (см. приложение D)
5.8.2.1 Требования
При установке аппарата, как правило, проводят регулировку АВТОМАТИЧЕСКОГО УПРАВЛЕНИЯ ЭКСПЛУАТАЦИОННОЙ ДОЗОЙ (экспонометра), консультируясь с ПОЛЬЗОВАТЕЛЕМ и используя информацию, представленную ИЗГОТОВИТЕЛЯМИ РЕНТГЕНОГРАФИЧЕСКИХ ПЛЕНОК, УСИЛИВАЮЩИХ ЭКРАНОВ и устройств для проявления пленки.
Лицо, ответственное за установку аппарата, и ПОЛЬЗОВАТЕЛЬ обязаны подписать свидетельство о соответствии. Если такое свидетельство о соответствии не представлено, проводят испытания аппарата.
АВТОМАТИЧЕСКОЕ УПРАВЛЕНИЕ ЭКСПОЗИЦИОННОЙ ДОЗОЙ должно проводиться в пределах нормированных допусков в следующих условиях:
a) ОБЛУЧЕНИЯ при АВТОМАТИЧЕСКОМ УПРАВЛЕНИИ ЭКСПОЗИЦИОННОЙ ДОЗОЙ с использованием нормированных АНОДНЫХ НАПРЯЖЕНИЙ, стандартного (например водного) ФАНТОМА и стандартных (например кассет с усиливающими экранами) ПРИЕМНИКОВ РЕНТГЕНОВСКОГО ИЗОБРАЖЕНИЯ должны обеспечивать оптическую плотность в пределах нормированного диапазона;
b) стандартные изменения толщины ФАНТОМА и АНОДНОГО НАПРЯЖЕНИЯ должны обеспечивать оптическую плотность в пределах нормированного диапазона для стандартной кассеты с УСИЛИВАЮЩИМ ЭКРАНОМ и стандартной процедуры (например методика с ОТСЕИВАЮЩИМ РАСТРОМ/без ОТСЕИВАЮЩЕГО РАСТРА);
c) изменения значений ВОЗДУШНОЙ КЕРМЫ, ПАРАМЕТРОВ НАГРУЗКИ или оптических плотностей между соседними устанавливаемыми значениями для стандартной кассеты с УСИЛИВАЮЩИМ ЭКРАНОМ должны быть в пределах нормированных допусков.
5.8.2.2 Методика испытания
5.8.2.2.1 Постоянство оптической плотности при изменении АНОДНОГО НАПРЯЖЕНИЯ и толщины ФАНТОМА (метод РЕНТГЕНОГРАФИЧЕСКОЙ ПЛЕНКИ)
Проверяют, чтобы система АВТОМАТИЧЕСКОГО УПРАВЛЕНИЯ ЭКСПОЗИЦИОННОЙ ДОЗОЙ была настроена в соответствии с используемой в испытании кассетой с УСИЛИВАЮЩИМ ЭКРАНОМ.
Измерения проводят по схеме, приведенной на рисунке 1, с ФАНТОМОМ на СТОЛЕ ДЛЯ ПАЦИЕНТА. Используют водный ФАНТОМ (4.5.4) толщиной 15 см (эталонная). В каждом измерении используют ту же РЕНТГЕНОГРАФИЧЕСКУЮ КАССЕТУ (например 24x30 см), РЕНТГЕНОГРАФИЧЕСКУЮ ПЛЕНКУ одного типа и одинаковые рентгенографические экраны. При испытаниях используют кассеты с УСИЛИВАЮЩИМИ ЭКРАНАМИ, применяемые в медицинской практике. Каждому из этих испытаний должно предшествовать испытание по проявлению пленки (4.1). Пленку проявляют в нормальных стабильных условиях по отношению, например, к чувствительности, контрастности и отсутствию АРТЕФАКТОВ.
Выбирают напряжение 80 кВ. Регулируют уровень дозы и корректировку плотности АВТОМАТИЧЕСКОГО УПРАВЛЕНИЯ ЭКСПОЗИЦИОННОЙ ДОЗОЙ в соответствии с ИНСТРУКЦИЕЙ ПО ЭКСПЛУАТАЦИИ. Используя АВТОМАТИЧЕСКОЕ УПРАВЛЕНИЕ ЭКСПОЗИЦИОННОЙ ДОЗОЙ, получают базовую РЕНТГЕНОГРАММУ в эталонных условиях.
После проявления РЕНТГЕНОГРАФИЧЕСКОЙ ПЛЕНКИ денситометром измеряют оптическую плотность D. Если оптическая плотность удовлетворяет ПОЛЬЗОВАТЕЛЯ, исследуют компенсацию для ФАНТОМОВ различной толщины по всему нормированному диапазону при постоянном АНОДНОМ НАПРЯЖЕНИИ. Повторяют испытание с водным ФАНТОМОМ толщиной 10 и 20 см.
Если работа АВТОМАТИЧЕСКОГО УПРАВЛЕНИЯ ЭКСПОЗИЦИОННОЙ ДОЗОЙ при 80 кВ предусмотрена для проверки влияния изменений АНОДНОГО НАПРЯЖЕНИЯ на оптическую плотность, используют другую РЕНТГЕНОГРАФИЧЕСКУЮ ПЛЕНКУ. Применяют наименьшее и наибольшее значения АНОДНОГО НАПРЯЖЕНИЯ.
Постоянство оптической плотности D для комбинаций полей измерения можно проверить при эталонной толщине ФАНТОМА.
Примечания
1. Если в АВТОМАТИЧЕСКОМ УПРАВЛЕНИИ ЭКСПОЗИЦИОННОЙ ДОЗОЙ предусмотрено несколько рабочих полей измерительных электродов, не все поля могут обладать одинаковой чувствительностью и обеспечивать одинаковую оптическую плотность. Это зависит от указанной для выполнения снимков анатомической ОБЛАСТИ ИНТЕРЕСА (см. ИНСТРУКЦИЮ ПО ЭКСПЛУАТАЦИИ).
2. Если используют не водный, а изготовленный из другого материала ФАНТОМ, например из полиметилметакрилата (ПММА), абсолютные значения оптической плотности и ВОЗДУШНОЙ КЕРМЫ могут отличаться от значений, полученных на водном ФАНТОМЕ.
5.8.2.2.2 Проверка воспроизводимости АВТОМАТИЧЕСКОГО УПРАВЛЕНИЯ ЭКСПОЗИЦИОННОЙ ДОЗОЙ (метод КЕРМАМЕТРА)
Измеряют ВОЗДУШНУЮ КЕРМУ, используя схему, ПРИВЕДЕННУЮ на рисунке 1, и эталонные условия АВТОМАТИЧЕСКОГО УПРАВЛЕНИЯ ЭКСПОЗИЦИОННОЙ ДОЗОЙ, например стандартное положение имеющегося диапазона шагов корректировки плотности и интервалы дозы, соответствующие кассете с УСИЛИВАЮЩИМ ЭКРАНОМ. Детектор КЕРМАМЕТРА помещают в ПУЧОК ИЗЛУЧЕНИЯ. Выбирают одно рабочее поле (обычно центральное). Проводят пять измерений и рассчитывают воспроизводимость. Результаты этих измерений сравнивают с нормированными значениями.
5.8.3 Таймер и аварийный выключатель
5.8.3.1 Требования
Таймер должен прекращать ОБЛУЧЕНИЕ при достижении нормированной НАГРУЗКИ РЕНТГЕНОВСКОЙ ТРУБКИ или нормированного ВРЕМЕНИ НАГРУЗКИ. При наличии аварийного выключателя нет необходимости проводить отдельное испытание таймера.
5.8.3.2 Методика испытания
Рабочее поле системы АВТОМАТИЧЕСКОГО УПРАВЛЕНИЯ ЭКСПОЗИЦИОННОЙ ДОЗОЙ (экспонометра) закрывают пластиной из свинца толщиной не менее 2 мм и включают РЕНТГЕНОВСКИЙ АППАРАТ в режиме АВТОМАТИЧЕСКОГО УПРАВЛЕНИЯ ЭКСПОЗИЦИОННОЙ ДОЗОЙ при стандартном значении АНОДНОГО НАПРЯЖЕНИЯ (например нижнем значении 60 кВ). НАГРУЗКУ РЕНТГЕНОВСКОЙ ТРУБКИ или ВРЕМЯ НАГРУЗКИ записывают и сравнивают эти значения с нормированными.
Примечание. Неправильная работа таймера может привести к избыточной нагрузке РЕНТГЕНОВСКОЙ ТРУБКИ, что в результате может вывести трубку из строя. ОПЕРАТОРУ следует знать о такой возможности.
Примечание. В настоящий стандарт не включены требования и методы испытаний, поскольку ПРОСТРАНСТВЕННОЕ РАЗРЕШЕНИЕ определяется либо размером ФОКУСНОГО ПЯТНА (5.4) и схемой измерения, либо ограничивается характеристикой используемой кассеты с УСИЛИВАЮЩИМ ЭКРАНОМ.
5.10.1 Требования
Указатель произведения ВОЗДУШНОЙ КЕРМЫ на площадь должен быть в пределах нормированных допусков.
5.10.2 Методика испытания
Измерения проводят по схеме, приведенной на рисунке 1. Размер ПОЛЯ РЕНТГЕНОВСКОГО ИЗЛУЧЕНИЯ измеряют рентгенографическим методом. РЕНТГЕНОГРАФИЧЕСКУЮ КАССЕТУ, например размером 18x24 см, помещают в центр ПОЛЯ РЕНТГЕНОВСКОГО ИЗЛУЧЕНИЯ. С помощью коллиматора устанавливают размер поля примерно 15x15 см. Выбирают такие ПАРАМЕТРЫ НАГРУЗКИ, которые обеспечивают оптическую плотность в диапазоне 0, 5-2, 0. Измеряют размер поля на проявленной РЕНТГЕНОГРАФИЧЕСКОЙ ПЛЕНКЕ. Затем удаляют ослабляющий слой, помещают детектор КЕРМАМЕТРА в то же положение, что и РЕНТГЕНОГРАФИЧЕСКУЮ КАССЕТУ, и выполняют облучение с тем же размером поля.
Сравнивают произведение измеренного на РЕНТГЕНОГРАФИЧЕСКОЙ ПЛЕНКЕ размера ПОЛЯ РЕНТГЕНОВСКОГО ИЗЛУЧЕНИЯ на измеренную ВОЗДУШНУЮ КЕРМУ с ПРИБОРНЫМ ЗНАЧЕНИЕМ произведения ВОЗДУШНОЙ КЕРМЫ на площадь.
6.1.1 Требования
Применяют требования по 5.1.1.
6.1.2 Методика испытания
Используют методику испытаний по 5.1.2.
6.2.1 Требования
АНОДНОЕ НАПРЯЖЕНИЕ регулируют АВТОМАТИЧЕСКИМ УПРАВЛЕНИЕМ МОЩНОСТЬЮ ЭКСПОЗИЦИОННОЙ ДОЗЫ, когда ослабляющий слой/ФАНТОМ помещен в ПУЧОК ИЗЛУЧЕНИЯ. Это воспроизводимое на ПУЛЬТЕ УПРАВЛЕНИЯ ОПЕРАТОРА значение АНОДНОГО НАПРЯЖЕНИЯ должно соответствовать измеренному значению в пределах нормированных допусков.
6.2.2 Методика испытания
На АВТОМАТИЧЕСКОЕ УПРАВЛЕНИЕ МОЩНОСТЬЮ ЭКСПОЗИЦИОННОЙ ДОЗЫ может оказывать воздействие детектор высоковольтного измерительного прибора. Поэтому ослабляющий слой/ФАНТОМ первым помещают в ПУЧКЕ ИЗЛУЧЕНИЯ в соответствии со схемой, приведенной на рисунке 1, и регистрируют значения ПАРАМЕТРОВ НАГРУЗКИ, которые устанавливаются АВТОМАТИЧЕСКИМ УПРАВЛЕНИЕМ МОЩНОСТЬЮ ЭКСПОЗИЦИОННОЙ ДОЗЫ. Эти значения сохраняют с помощью блокирующей кнопки. Если такой кнопки нет, а возможность выбрать эти параметры вручную отсутствует, в документах на поставку указывают методику испытания.
Детектор высоковольтного измерительного прибора помещают в ПУЧКЕ ИЗЛУЧЕНИЯ и измеряют АНОДНОЕ НАПРЯЖЕНИЕ. Результаты измерений сравнивают со значениями, указанными на ПУЛЬТЕ УПРАВЛЕНИЯ.
Примечание. Современные системы РЕНТГЕНОСКОПИИ с УРИ-телесистемами снабжены АВТОМАТИЧЕСКИМ УПРАВЛЕНИЕМ МОЩНОСТЬЮ ЭКСПОЗИЦИОННОЙ ДОЗЫ. Такая система управления заключается в контроле напряжения (кВ) или тока (мА) или в комбинированном контроле напряжения (кВ) и тока (мА). Отдельное измерение конкретных ПАРАМЕТРОВ НАГРУЗКИ возможно только неинвазивным способом.
6.3.1 Требования
Применяют требования по 5.3.1.
6.3.2 Методика испытания
Используют методику испытаний по 5.3.2.
6.4.1 Требования
Применяют требования по 5.4.1.
6.4.2 Методика испытания
Используют методику испытаний по 5.4.2.
6.5.1 Требования
Функционирование системы АВТОМАТИЧЕСКОГО УПРАВЛЕНИЯ МОЩНОСТЬЮ ЭКСПОЗИЦИОННОЙ ДОЗЫ должно соответствовать нормам, установленным в технической документации.
Примечание. АВТОМАТИЧЕСКОЕ УПРАВЛЕНИЕ МОЩНОСТЬЮ ЭКСПОЗИЦИОННОЙ ДОЗЫ предназначено для сохранения постоянной средней яркости изображения, независимо от степени поглощения рентгеновского излучения объектами, с помощью регулирования ПАРАМЕТРОВ НАГРУЗКИ. Эта функция может быть связана с автоматическим контролем яркости или автоматическим регулированием яркости телевизионного канала.
6.5.2 Методика испытания
Выбирают режим АВТОМАТИЧЕСКОГО УПРАВЛЕНИЯ МОЩНОСТЬЮ ЭКСПОЗИЦИОННОЙ ДОЗЫ.
Для демонстрации соответствия таблицам или графикам ПАРАМЕТРОВ НАГРУЗКИ (при изменяемом ОСЛАБЛЕНИИ тест-объекта) пользуются методикой, представленной ИЗГОТОВИТЕЛЕМ в инструкции по установке ИЗДЕЛИЯ.
Регистрируют ПАРАМЕТРЫ НАГРУЗКИ.
Проверяют, чтобы система АВТОМАТИЧЕСКОГО УПРАВЛЕНИЯ МОЩНОСТЬЮ ЭКСПОЗИЦИОННОЙ ДОЗЫ функционировала должным образом для всех размеров рабочего поля УСИЛИТЕЛЕЙ РЕНТГЕНОВСКОГО ИЗОБРАЖЕНИЯ (zoom-форматы) и всех выбираемых МОЩНОСТЕЙ ВОЗДУШНОЙ КЕРМЫ. Регистрируют, что система АВТОМАТИЧЕСКОГО УПРАВЛЕНИЯ МОЩНОСТЬЮ ЭКСПОЗИЦИОННОЙ ДОЗЫ функционирует правильно.
Настоящие испытания рекомендуется проводить на стандартном РАССТОЯНИИ ОТ ФОКУСНОГО ПЯТНА ДО ПРИЕМНИКА ИЗОБРАЖЕНИЯ и при обычно используемом значении угла поворота СТОЛА ДЛЯ ПАЦИЕНТА. Допускается использовать другие методики испытания, если они дают сравнимые результаты.
6.6.1 Соответствие между ПОЛЕМ РЕНТГЕНОВСКОГО ИЗЛУЧЕНИЯ, ПОВЕРХНОСТЬЮ ПРИЕМНИКА ИЗОБРАЖЕНИЯ УРИ и воспроизведением изображения
6.6.1.1 Требования
Расхождения между ПОЛЕМ РЕНТГЕНОВСКОГО ИЗЛУЧЕНИЯ, ПОВЕРХНОСТЬЮ ПРИЕМНИКА ИЗОБРАЖЕНИЯ УРИ и воспроизведенным изображением должны соответствовать нормированным допускам.
6.6.1.2 Методика испытания
Соответствие проверяют осмотром ИЗДЕЛИЯ, изучением ИНСТРУКЦИИ ПО ЭКСПЛУАТАЦИИ и (где возможно) измерением РАДИАЦИОННЫХ ПОЛЕЙ.
Если предусмотрена автоматическая регулировка РАДИАЦИОННОГО ОКНА, то время завершения регулировок автоматического механизма перед проведением каких-либо измерений должно быть не менее 5 с.
При определении соответствия настоящим требованиям измерения проводят с ОПОРНОЙ ОСЬЮ, перпендикулярной к ПЛОСКОСТИ ПРИЕМНИКА ИЗОБРАЖЕНИЯ с пределами допускаемых отклонений ±3°.
Измерения проводят по схеме, приведенной на рисунке 2, без ослабляющего слоя. УСТРОЙСТВО ФОРМИРОВАНИЯ ПУЧКА настраивают на максимальный размер поля. Проверяют, видно ли на видеоконтрольном устройстве ограничение пучка по вертикали и горизонтали, обеспечиваемое УСТРОЙСТВОМ ФОРМИРОВАНИЯ ПУЧКА.
Если не видны все четыре края, выполняют следующие процедуры:
a) РЕНТЕНОГРАФИЧЕСКУЮ КАССЕТУ помещают на СТОЛЕ ДЛЯ ПАЦИЕНТА; для блоков РЕНТГЕНОВСКОЙ ТРУБКИ, размещаемых под столом, - на задней панели УСТРОЙСТВА ДЛЯ ПРИЦЕЛЬНЫХ СНИМКОВ. По возможности используют кассету с экранами с более низкой чувствительностью по сравнению с обычной комбинацией или РЕНТГЕНОГРАФИЧЕСКУЮ ПЛЕНКУ в светонепроницаемом конверте.
b) УСТРОЙСТВО ФОРМИРОВАНИЯ ПУЧКА устанавливают на малый размер поля. ТЕСТ-ОБЪЕКТ для диафрагмирования пучка центрируют в условиях РЕНТГЕНОСКОПИИ или по световой индикации поля.
Примечание. ОБЛУЧЕНИЕ испытательной пленки не должно оказывать влияния на результаты испытаний.
c) УСТРОЙСТВО ФОРМИРОВАНИЯ ПУЧКА устанавливают на максимальный размер поля. Измеряют видимый размер ПОЛЯ РЕНТГЕНОВСКОГО ИЗЛУЧЕНИЯ в условиях РЕНТГЕНОСКОПИИ, отмечая интервалы по всем четырем направлениям, воспроизводимым на видеоконтрольном устройстве.
d) РЕНТГЕНОСКОПИЮ выполняют в таком режиме, чтобы получить оптическую плотность D РЕНТГЕНОГРАФИЧЕСКОЙ ПЛЕНКИ 0, 5-2, 0.
e) Оценивают проявленную РЕНТГЕНОГРАФИЧЕСКУЮ ПЛЕНКУ. Измеряют границы поля ПОЛЕМ РЕНТГЕНОВСКОГО ИЗЛУЧЕНИЯ в четырех направлениях и определяют расхождения с отмеченными интервалами.
Процедуры по перечислениям a) - e) настоящего пункта повторяют на всех размерах рабочих полей УРИ, например 36, 25, 17 см.
В НЕПРЯМОЙ РЕНТГЕНОГРАФИИ регистрируют данные для одного формата изображения.
Требования для соответствия приведены в 5.5.3.
6.6.2 Соответствие между ПОЛЕМ РЕНТГЕНОВСКОГО ИЗЛУЧЕНИЯ и ПЛОСКОСТЬЮ ПРИЕМНИКА ИЗОБРАЖЕНИЯ при использовании УСТРОЙСТВА ДЛЯ ПРИЦЕЛЬНЫХ СНИМКОВ
6.6.2.1 Требования
В условиях применения УСТРОЙСТВА ДЛЯ ПРИЦЕЛЬНЫХ СНИМКОВ расхождения между ПОЛЕМ РЕНТГЕНОВСКОГО ИЗЛУЧЕНИЯ и соответствующей ПОВЕРХНОСТЬЮ ПРИЕМНИКА ИЗОБРАЖЕНИЯ должны соответствовать нормированным допускам.
6.6.2.2 Методика испытания
Применяют методику по 5.5.3.2.
6.7.1 Требования
Применяют требования по 5.7.1.
6.7.2 Методика испытания
Применяют методику испытаний по 5.7.2. Если параметр проверен в режиме РЕНТГЕНОГРАФИИ (5.7), испытание не проводят.
6.8.1 Требования
МОЩНОСТЬ ВОЗДУШНОЙ КЕРМЫ на ВХОДНОЙ ПЛОСКОСТИ УРИ должна соответствовать нормированным значениям. Измерения проводят в условиях, соответствующих режимам работы.
При испытании используют однородный ФАНТОМ и применяют его к системам с контролем средних значений. Использование однородного ФАНТОМА для других систем, например с контролем пиковых значений, даст разные абсолютные значения. Для каждого случая проверяют соответствие значениям, нормированным ИЗГОТОВИТЕЛЕМ.
6.8.2 Методика испытания
Измерения проводят по схеме, приведенной на рисунке 1, с ослабляющим слоем, например 25 мм алюминия, и КЕРМАМЕТРОМ, расположенным как можно ближе к ВХОДНОЙ ПЛОСКОСТИ УРИ (4.5.4).
Выбирают АНОДНОЕ НАПРЯЖЕНИЕ 70-80 кВ. Если выбор АНОДНОГО НАПРЯЖЕНИЯ проводится автоматически, добавляют подходящий ослабляющий слой, например 1, 5 мм меди, для обеспечения значения АНОДНОГО НАПРЯЖЕНИЯ в пределах этого диапазона.
Измеряют ВОЗДУШНУЮ КЕРМУ К'В на ВХОДНОЙ ПЛОСКОСТИ УРИ за ОТСЕИВАЮЩИМ РАСТРОМ.
Если к ВХОДНОЙ ПЛОСКОСТИ УРИ нет прямого доступа, измеряют МОЩНОСТЬ ПЕРЕДАННОЙ КЕРМЫ К'Т и рассчитывают К'В по формуле
,
где TR - значение СТЕПЕНИ ОСЛАБЛЕНИЯ (5.7.1), нормированное ИЗГОТОВИТЕЛЕМ.
Измеряют К'В или К'Т для каждого выбранного значения ВОЗДУШНОЙ КЕРМЫ с ПУЧКОМ ИЗЛУЧЕНИЯ, диафрагмированным до полного формата УРИ.
Результаты измерения сравнивают с нормированными значениями.
6.9.1 Требования
Входная МОЩНОСТЬ ВОЗДУШНОЙ КЕРМЫ должна соответствовать заданным значениям. Измерения проводят в условиях, соответствующих режимам работы.
Примечание. Результаты измерения указывают на эффективность дополнительных устройств фильтрации ПУЧКА ИЗЛУЧЕНИЯ и ВОЗДУШНОЙ КЕРМЫ на ПОВЕРХНОСТИ ТЕЛА ПАЦИЕНТА. Это особенно важно для рентгеноскопических кардиосистем, в которых используют РЕНТГЕНОСКОПИЮ с высоким уровнем мощности дозы излучения.
Ограничение входной МОЩНОСТИ ВОЗДУШНОЙ КЕРМЫ до определенного максимального значения необходимо обосновать.
6.9.2 Методика испытания
Измерения проводят по схеме, представленной на рисунке 1, с ФАНТОМОМ (например слоем воды толщиной 20 см) на СТОЛЕ ДЛЯ ПАЦИЕНТА и с КЕРМАМЕТРОМ на входной плоскости ФАНТОМА.
Выбирают напряжение 70-80 кВ. Если выбор напряжения проводят автоматически, могут понадобиться дополнительные ослабляющие слои для установления рабочего напряжения в пределах указанного диапазона.
МОЩНОСТЬ ВОЗДУШНОЙ КЕРМЫ измеряют на входной плоскости ФАНТОМА, выбрав нормированную МОЩНОСТЬ ВОЗДУШНОЙ КЕРМЫ и диафрагмировав ПУЧОК ИЗЛУЧЕНИЯ до полного формата УРИ.
Результаты измерения сравнивают с нормированными значениями.
6.9.3 Методика испытания для максимальной входной МОЩНОСТИ ВОЗДУШНОЙ КЕРМЫ
При необходимости измерения максимального значения МОЩНОСТИ ВОЗДУШНОЙ КЕРМЫ УСИЛИТЕЛЬ РЕНТГЕНОВСКОГО ИЗОБРАЖЕНИЯ следует закрыть слоем материала с высоким поглощением, например слоем свинца толщиной 2 мм. Система АВТОМАТИЧЕСКОГО УПРАВЛЕНИЯ МОЩНОСТЬЮ ЭКСПОЗИЦИОННОЙ ДОЗЫ увеличит МОЩНОСТЬ ВОЗДУШНОЙ КЕРМЫ до максимального значения. Измеряют максимальную входную МОЩНОСТЬ ВОЗДУШНОЙ КЕРМЫ в опорной точке согласно указаниям ИЗГОТОВИТЕЛЯ для испытуемого РЕНТГЕНОВСКОГО АППАРАТА.
Примечание. Международными стандартами положение опорной точки определено на расстоянии:
- более 30 см над СТОЛОМ ДЛЯ ПАЦИЕНТА - для аппарата с С-образной консолью и трубкой, установленной над столом;
- менее 1 см над СТОЛОМ ДЛЯ ПАЦИЕНТА - для аппарата с трубкой, установленной под столом.
Результаты измерения сравнивают с заданными значениями.
6.10.1 Требования
ВОЗДУШНАЯ КЕРМА на одно изображение в заданных условиях должна соответствовать нормированному значению.
6.10.2 Методика испытания
Измерения проводят в условиях, аналогичных указанным в 6.8.2.
На ВХОДНОЙ ПЛОСКОСТИ УРИ измеряют за одно изображение. При отсутствии прямого доступа к ВХОДНОЙ ПЛОСКОСТИ УРИ измеряют ПЕРЕДАННУЮ КЕРМУ и рассчитывают по формуле
,
где TR - значение СТЕПЕНИ ОСЛАБЛЕНИЯ (5.7.1), нормированное ИЗГОТОВИТЕЛЕМ.
При использовании пленки полученная оптическая плотность D должна быть 1, 0±0, 2, если не оговорено другое значение.
Для АВТОМАТИЧЕСКОГО УПРАВЛЕНИЯ ЭКСПОЗИЦИОННОЙ ДОЗОЙ (контроль кВ/мА), например при проведении КИНОРЕНТГЕНОГРАФИИ, в дополнение к слою алюминия толщиной 25 мм (рисунок 1) в качестве ослабляющего слоя допускается дополнительный ФИЛЬТР (например слой меди толщиной 1, 5 мм) для получения АНОДНОГО НАПРЯЖЕНИЯ порядка 70 кВ.
Рассчитывают ВОЗДУШНУЮ КЕРМУ на одно изображение по общей ВОЗДУШНОЙ КЕРМЕ серии изображений (например по числу кинокадров), деленной на число изображений.
Результаты измерений сравнивают с нормированными значениями.
6.11.1 Требования
Входная ВОЗДУШНАЯ КЕРМА должна соответствовать нормированным значениям.
Измерения проводят в условиях, соответствующих режимам работы.
Примечание. Данные измерения указывают на эффективность дополнительных устройств фильтрации ПУЧКА ИЗЛУЧЕНИЯ и ВОЗДУШНОЙ КЕРМЫ на ПОВЕРХНОСТИ ТЕЛА ПАЦИЕНТА. Это особенно важно для рентгеноскопических кардиосистем, в которых используют РЕНТГЕНОСКОПИЮ с высоким уровнем мощности дозы излучения.
6.11.2 Методика испытания
Измерения проводят по схеме, приведенной на рисунке 1, с ФАНТОМОМ (например слоем воды толщиной 20 см) на СТОЛЕ ДЛЯ ПАЦИЕНТА и КЕРМАМЕТРОМ на входной плоскости ФАНТОМА. Измеряют ВОЗДУШНУЮ КЕРМУ на одно изображение на входной плоскости ФАНТОМА при заданном выборе МОЩНОСТИ ВОЗДУШНОЙ КЕРМЫ и ПУЧКОМ ИЗЛУЧЕНИЯ, диафрагмированным до полного формата УРИ.
Для АВТОМАТИЧЕСКОГО УПРАВЛЕНИЯ ЭКСПОЗИЦИОННОЙ ДОЗОЙ (контроль кВ/мА), например при проведении КИНОРЕНТГЕНОГРАФИИ, в дополнение к ФАНТОМУ (рисунок 1) может понадобиться в качестве ослабляющего слоя дополнительный ФИЛЬТР (например слой меди толщиной 1, 5 мм) для получения АНОДНОГО НАПРЯЖЕНИЯ около 70 кВ.
Рассчитывают ВОЗДУШНУЮ КЕРМУ на одно изображение по общей ВОЗДУШНОЙ КЕРМЕ серии изображений (например по числу кинокадров), деленной на число изображений. Измерения выполняют в стабильной фазе исследования.
Результаты измерений сравнивают с нормированными значениями.
6.12.1 Требования
ПРОСТРАНСТВЕННОЕ РАЗРЕШЕНИЕ R для РЕНТГЕНОСКОПИИ с УРИ и систем НЕПРЯМОЙ РЕНТГЕНОГРАФИИ должно соответствовать нормированным значениям в заданных условиях.
Примечание. Измерение ПРОСТРАНСТВЕННОГО РАЗРЕШЕНИЯ является субъективным (для оценки только одного параметра качества изображения).
6.12.2 Методика испытания
Измерения проводят по схеме, представленной на рисунке 2, с ТЕСТ-ОБЪЕКТОМ для ПРОСТРАНСТВЕННОГО РАЗРЕШЕНИЯ (испытательной мирой), ориентированным под углом 45° к линиям развертки и линиям ОТСЕИВАЮЩЕГО РАСТРА.
Примечание. При проведении измерений со снятым ОТСЕИВАЮЩИМ РАСТРОМ будут другие результаты.
Испытание должно проводиться в соответствии с одним из перечисленных ниже условий:
a) Разрешение детектора без ослабляющего слоя (ФАНТОМА)
Помещают испытательную миру рядом с центром ПУЧКА ИЗЛУЧЕНИЯ, как можно ближе к ВХОДНОЙ ПЛОСКОСТИ УРИ. Используют ПУЧОК ИЗЛУЧЕНИЯ при наименьшем возможном значении АНОДНОГО НАПРЯЖЕНИЯ и высокой МОЩНОСТИ ВОЗДУШНОЙ КЕРМЫ.
Используемая для уменьшения влияния квантового шума МОЩНОСТЬ ВОЗДУШНОЙ КЕРМЫ не должна приводить к насыщению самые яркие участки изображения.
b) Система разрешения с ослабляющим слоем/ФАНТОМОМ
Испытательную миру помещают рядом с центром ПУЧКА ИЗЛУЧЕНИЯ на указанном ИЗГОТОВИТЕЛЕМ расстоянии до ВХОДНОЙ ПЛОСКОСТИ УРИ.
Примечание. Испытание по перечислению a) представляет информацию главным образом о параметрах УРИ и телевизионной системы. Оно представляет наивысшее возможное ПРОСТРАНСТВЕННОЕ РАЗРЕШЕНИЕ (без ПАЦИЕНТА).
Испытание по перечислению b) представляет информацию главным образом о функционировании РЕНТГЕНОВСКОГО АППАРАТА с УРИ и телевизионной системой в практических условиях диагностики (ФАНТОМ имитирует ПАЦИЕНТА).
В РЕНТГЕНОСКОПИИ с использованием ослабляющего слоя или ФАНТОМА для данного измерения выбирают напряжение 70-80 кВ. При автоматическом выборе напряжения может понадобиться дополнительное ОСЛАБЛЕНИЕ для обеспечения значения напряжения в пределах указанного диапазона.
Для НЕПРЯМОЙ РЕНТГЕНОГРАФИИ с АВТОМАТИЧЕСКИМ УПРАВЛЕНИЕМ МОЩНОСТЬЮ ЭКСПОЗИЦИОННОЙ ДОЗЫ (контроль кВ/мА), например при проведении КИНОРЕНТГЕНОГРАФИИ, в дополнение к ФАНТОМУ (рисунок 1) в качестве ослабляющего слоя может понадобиться дополнительный фильтр (например вода, алюминий или медь - в соответствии с инструкциями ИЗГОТОВИТЕЛЯ) для получения АНОДНОГО НАПРЯЖЕНИЯ около 70 кВ.
При получении изображения на пленке оптическая плотность D должна быть 1, 0±0, 2, если в нормативных документах не указано другое значение.
Измеряют уровень свечения экрана монитора в нормальных рабочих условиях. При необходимости регулируют уровень освещенности помещения так, чтобы свечение (неосвещенного) экрана монитора соответствовало указаниям ИЗГОТОВИТЕЛЯ (например менее 1 кд/м2).
Перед использованием испытательной миры видеоконтрольное устройство регулируют без РЕНТГЕНОВСКОГО ИЗЛУЧЕНИЯ.
Зона, прилегающая к круговому участку просвечивания на экране, должна иметь минимальную яркость (фоновую яркость).
Затем, используя РЕНТГЕНОВСКОЕ ИЗЛУЧЕНИЕ, настраивают контрастность видеоконтрольного устройства на максимальную различимость испытательной миры. При изучении снимков испытательной миры на РЕНТГЕНОГРАФИЧЕСКОЙ ПЛЕНКЕ используют лупу.
Регистрируют наименьшую группу линий (самое высокое ПРОСТРАНСТВЕННОЕ РАЗРЕШЕНИЕ) стандартной испытательной миры, которая может быть различима на изображении. Линии группы должны быть различимы на участке по всей длине.
Результаты сравнивают со значениями, нормированными для заданных условий.
Примечание. Результаты испытания субъективны и не обеспечивают степень точности, необходимой для принятия объективного решения или сравнения одной системы с другой.
6.13.1 Требования
НИЗКОКОНТРАСТНОЕ РАЗРЕШЕНИЕ при заданной ВОЗДУШНОЙ КЕРМЕ и АНОДНОМ НАПРЯЖЕНИИ должно соответствовать нормированным значениям.
Для измерения НИЗКОКОНТРАСТНОГО РАЗРЕШЕНИЯ существует много ТЕСТ-ОБЪЕКТОВ. Допускается также их изготовление. При измерении НИЗКОКОНТРАСТНОГО РАЗРЕШЕНИЯ результаты должны быть зарегистрированы вместе с описанием используемого ТЕСТ-ОБЪЕКТА.
6.13.2 Методика испытания
Определение НИЗКОКОНТРАСТНОГО РАЗРЕШЕНИЯ и МОЩНОСТИ ВОЗДУШНОЙ КЕРМЫ на ВХОДНОЙ ПЛОСКОСТИ УРИ проводят по схеме, представленной на рисунке 2.
Устанавливают такие параметры ПУЧКА ИЗЛУЧЕНИЯ, которые нормированы для используемого ТЕСТ-ОБЪЕКТА (АНОДНОЕ НАПРЯЖЕНИЕ, например 70 кВ, и МОЩНОСТЬ ВОЗДУШНОЙ КЕРМЫ на ВХОДНОЙ ПЛОСКОСТИ УРИ).
Используемая для уменьшения влияния квантового шума МОЩНОСТЬ ВОЗДУШНОЙ КЕРМЫ не должна насыщать самые яркие участки изображения.
Используют стандартные ТЕСТ-ОБЪЕКТЫ с контрастными деталями (ступенями, ступенчатыми клиньями или дисками) (приложение C). ТЕСТ-ОБЪЕКТ помещают в ПУЧОК ИЗЛУЧЕНИЯ в соответствующем положении и на соответствующем расстоянии (согласно технической документации на ТЕСТ-ОБЪЕКТ).
Примечание. Исследуемые контрастные детали должны быть соотнесены с уровнем потери контрастности системы и ее шумом.
При АВТОМАТИЧЕСКОМ УПРАВЛЕНИИ МОЩНОСТЬЮ ЭКСПОЗИЦИОННОЙ ДОЗЫ в зависимости от ФАНТОМА на ВХОДНОЙ ПЛОСКОСТИ УРИ обеспечивается нормированная МОЩНОСТЬ ВОЗДУШНОЙ КЕРМЫ.
Освещенность в помещении регулируют до необходимой в нормальных рабочих условиях. Перед использованием ТЕСТ-ОБЪЕКТА для НИЗКОКОНТРАСТНОГО РАЗРЕШЕНИЯ регулируют дисплей видеоконтрольного устройства без РЕНТГЕНОВСКОГО ИЗЛУЧЕНИЯ, как указано в 6.12.2.
Затем в условиях РЕНТГЕНОВСКОГО ИЗЛУЧЕНИЯ регулируют контрастность видеоконтрольного устройства до тех пор, пока детали низкой контрастности не станут одинаково видны.
Измерения проводят на постоянном расстоянии от видеоконтрольного устройства, например на расстоянии трех- или четырехкратного размера диагонали экрана видеоконтрольного устройства.
Примечание. Для видеоряда с варьируемыми интегрируемыми характеристиками более продолжительная постоянная времени может дать заметное улучшение в распознавании низкоконтрастных объектов.
При нормированной МОЩНОСТИ ВОЗДУШНОЙ КЕРМЫ подсчитывают число видимых контрастных деталей, различимых на фоне изображения. Регистрируют среднее значение числа деталей, рассматриваемых, как минимум, двумя наблюдателями. Если есть сомнения в различимости разницы между двумя деталями, она может быть зарегистрирована как половинная.
Результаты записывают и сравнивают с установленными в технической документации.
6.14.1 Требования
Применяют требования по 5.10.1.
6.14.2 Методика испытания
Используют методику испытания по 5.10.2.
Точность индикации высоты томографического слоя на расстоянии 100 мм над СТОЛОМ ДЛЯ ПАЦИЕНТА должна быть в пределах нормированных допусков.
Отклонение между световым указателем томографической плоскости и воспроизводимым слоем не должно превышать нормированных допусков.
Должны быть проверены симметрия томографического перемещения и угол ТОМОГРАФИИ.
Траектория перемещения томографического блока и ПРОСТРАНСТВЕННОЕ РАЗРЕШЕНИЕ на расстоянии примерно 100-150 мм над СТОЛОМ ДЛЯ ПАЦИЕНТА должны соответствовать нормированным параметрам.
a) Индикация высоты томографического слоя
Для регулировки высоты слоя используют ТЕСТ-ОБЪЕКТ по 4.5.7, который помещают на деке СТОЛА ДЛЯ ПАЦИЕНТА с центром на указанной для томографической плоскости высоте, ориентированным по продольной оси основного направления движения ФОКУСНОГО ПЯТНА. На облученных и проявленных РЕНТГЕНОГРАФИЧЕСКИХ ПЛЕНКАХ определяют положение четко видимого отверстия и рассчитывают его отклонение от отверстия в центре.
b) Томографическая траектория
ДИАФРАГМУ с точечным отверстием помещают на расстоянии примерно 100-150 мм над СТОЛОМ ДЛЯ ПАЦИЕНТА и выбирают высоту томографической плоскости примерно 50 мм. ПУЧОК ИЗЛУЧЕНИЯ диафрагмируют (коллимируют) так, чтобы он был полностью перекрыт свинцовой ДИАФРАГМОЙ при всех томографических перемещениях. Выполняют ОБЛУЧЕНИЕ, выбирая соответствующие ПАРАМЕТРЫ НАГРУЗКИ.
Чтобы отметить геометрический центр томографического перемещения, полученную РЕНТГЕНОГРАММУ накладывают на РЕНТГЕНОГРАММУ точечного отверстия, размещенного в центре рабочего пучка РЕНТГЕНОВСКОЙ ТРУБКИ.
Облученные и проявленные РЕНТГЕНОГРАФИЧЕСКИЕ ПЛЕНКИ осматривают и сравнивают с данными технической документации.
c) ПРОСТРАНСТВЕННОЕ РАЗРЕШЕНИЕ
ПРОСТРАНСТВЕННОЕ РАЗРЕШЕНИЕ измеряют с помощью ОБЛУЧЕНИЯ ТОМОГРАФИЧЕСКОГО ТЕСТ-ОБЪЕКТА для ПРОСТРАНСТВЕННОГО РАЗРЕШЕНИЯ (испытательной миры) (рисунок 4) в томографической плоскости, расположенной на расстоянии приблизительно 100 мм над СТОЛОМ ДЛЯ ПАЦИЕНТА. Испытательную миру со свинцовыми полосами необходимо закрепить в держателе под углом 20°-45° к томографической плоскости на поверхности СТОЛА ДЛЯ ПАЦИЕНТА с ориентацией продольной оси к основному направлению движения ФОКУСНОГО ПЯТНА.
При просмотре на НЕГАТОСКОПЕ РЕНТГЕНОГРАФИЧЕСКОЙ ПЛЕНКИ с изображениями испытательной миры для определения ПРОСТРАНСТВЕННОГО РАЗРЕШЕНИЯ используют лупы.
Значения ПРОСТРАНСТВЕННОГО РАЗРЕШЕНИЯ регистрируют и сравнивают с данными технической документации.
В протокол испытаний заносят следующую информацию:
- описание испытуемого РЕНТГЕНОВСКОГО АППАРАТА, включая идентификацию всех узлов;
- эксплуатационные параметры, характеристики и технические данные;
- описание испытательной аппаратуры, включая КАССЕТУ с УСИЛИВАЮЩИМ ЭКРАНОМ и условия ее обработки;
- результаты испытания;
- выводы о соответствии испытываемого РЕНТГЕНОВСКОГО АППАРАТА установленным параметрам с указанием даты и места испытания, а также персонала, ответственного за его проведение.
Занесенные в протокол результаты испытаний должны указывать, соответствует ли прошедший испытания РЕНТГЕНОВСКИЙ АППАРАТ требованиям настоящего стандарта.
Примечание. Результаты контроля, включая условия обработки пленки, могут быть использованы как базовые значения при первичных ИСПЫТАНИЯХ НА ПОСТОЯНСТВО ПАРАМЕТРОВ РЕНТГЕНОВСКОГО АППАРАТА для ПРЯМОЙ или НЕПРЯМОЙ РЕНТГЕНОГРАФИИ.
Протокол испытаний должен иметь следующий заголовок: "Протокол приемочных испытаний рентгеновского аппарата для рентгенографии и рентгеноскопии в соответствии с ГОСТ Р МЭК 61223-3-1-2001".
Если соответствие настоящему стандарту установлено, то в протокол записывают:
Характеристики изображения рентгеновского аппарата для рентгенографии и рентгеноскопии...** по ГОСТ Р МЭК 61223-3-1-2001.

rТ - расстояние от ФОКУСНОГО ПЯТНА до СТОЛА ДЛЯ ПАЦИЕНТА; rВ - расстояние от ФОКУСНОГО ПЯТНА до ПЛОСКОСТИ ПРИЕМНИКА. ИЗОБРАЖЕНИЯ; КТ (К'Т) — ПЕРЕДАННАЯ КЕРМА (МОЩНОСТЬ ПЕРЕДАННОЙ КЕРМЫ); КВ (К'В) - ВОЗДУШНАЯ КЕРМА ПРИЕМНИКА РЕНТГЕНОВСКОГО ИЗОБРАЖЕНИЯ (МОЩНОСТЬ ВОЗДУШНОЙ КЕРМЫ)
1 - РЕНТГЕНОВСКАЯ ТРУБКА; 2 — ДИАФРАГМА (УСТРОЙСТВО ФОРМИРОВАНИЯ ПУЧКА); 3- дополнительный ослабляющий слой/ФАНТОМ (толщина слоя 25 мм алюминия, иногда с добавлением 1, 5 мм меди); 4 —СТОЛ ДЛЯ ПАЦИЕНТА; 5 - ОТСЕИВАЮЩИЙ РАСТР; 6 — ПЛОСКОСТЬ ПРИЕМНИКА ИЗОБРАЖЕНИЯ (кассета с РЕНТГЕНОГРАФИЧЕСКОЙ ПЛЕНКОЙ или кожух УРИ)
Примечание — Проверяемые характеристики, их обозначения и единицы измерения — в таблице В.1.
Рисунок 1 — Схема размещения аппаратуры для измерения ВОЗДУШНОЙ КЕРМЫ РЕНТГЕНОВСКОГО АППАРАТА для РЕНТГЕНОГРАФИИ и РЕНТГЕНОСКОПИИ

rТ - расстояние от ФОКУСНОГО ПЯТНА до СТОЛА ДЛЯ ПАЦИЕНТА; гВ - расстояние от ФОКУСНОГО ПЯТНА до ПЛОСКОСТИ ПРИЕМНИКА ИЗОБРАЖЕНИЯ
1 — РЕНТГЕНОВСКАЯ ТРУБКА; 2-ДИАФРАГМА (УСТРОЙСТВО ФОРМИРОВАНИЯ ПУЧКА); 3-дополнительный ослабляющий слои/ФАНТОМ (толщина слоя 25 мм алюминия, иногда с добавлением 1, 5 мм меди); 4 — ТЕСТ-ОБЬЕКГ для диафрагмирования пучка с отметками геометрии поля (СВЕТОВОЕ ПОЛЕ — структурные элементы); 5 — ТЕСТ- ОБЪЕКТ для ПРОСТРАНСТВЕННОГО РАЗРЕШЕНИЯ (испытательная мира); 6 — СТОЛ ДЛЯ ПАЦИЕНТА; 7- ОТСЕИВАЮЩИЙ РАСТР; 8 —ПЛОСКОСТЬ ПРИЕМНИКА ИЗОБРАЖЕНИЯ (кассета с РЕНТГЕНОГРАФИЧЕСКОЙ ПЛЕНКОЙ или кожух УРИ); 9— контрастные детали; 10— сдвиг для ясности
Примечание — Проверяемые характеристики, их обозначения и единицы измерения — в таблице В.1
Рисунок 2 — Схема размещения аппаратуры для проверки геометрических искажений и разрешающей способности РЕНТГЕНОВСКОГО АППАРАТА для РЕНТГЕНОГРАФИИ и РЕНТГЕНОСКОПИИ

Рисунок 3 — ТЕСТ- ОБЪЕКТ для проверки ПРОСТРАНСТВЕННОГО РАЗРЕШЕНИЯ

Рисунок 4 — ТЕСТ- ОБЪЕКТ для проверки ПРОСТРАНСТВЕННОГО РАЗРЕШЕНИЯ в ТОМОГРАФИИ

1— визуально определенное поле; 2— ПОЛЕ РЕНТГЕНОВСКОГО ИЗЛУЧЕНИЯ
Рисунок 5 — Расхождения между СВЕТОВЫМ ПОЛЕМ И ПОЛЕМ РЕНТГЕНОВСКОГО ИЗЛУЧЕНИЯ

1 - ПОЛЕ РЕНТГЕНОВСКОГО ИЗЛУЧЕНИЯ; 2- ПОВЕРХНОСТЬ ПРИЕМНИКА ИЗОБРАЖЕНИЯ
Рисунок 6— Расхождения между ПОЛЕМ РЕНТГЕНОВСКОГО ИЗЛУЧЕНИЯ и ПОВЕРХНОСТЬЮ ПРИЕМНИКА ИЗОБРАЖЕНИЯ
______________________________
* Международные стандарты - во ВНИИКИ Госстандарта России.
** Идентификация (наименование, модель, тип).
Приложение A
(обязательное)
В настоящем указателе для каждого термина указан соответствующий номер пункта раздела "Определения" настоящего стандарта (3.3...), ГОСТ 30324.0/ГОСТ Р 50267.0-92 (ОС-2...), ГОСТ Р 51746 (А-3.2...), ГОСТ Р 51817 (Б-3.3...), ГОСТ Р МЭК 61223-2-2 (В-3.2...), ГОСТ Р МЭК 61223-2-6 (Г-3.3...) или обозначение термина по МЭК 60788 (МР-...-...). Знаками "+", "-" и буквой "с" отмечены производный термин без определения, термин без определения и сокращенный термин соответственно.
|
АВТОМАТИЧЕСКОЕ УПРАВЛЕНИЕ МОЩНОСТЬЮ ЭКСПОЗИЦИОННОЙ ДОЗЫ |
МР-36-47 |
|
АВТОМАТИЧЕСКОЕ УПРАВЛЕНИЕ ЭКСПОЗИЦИОННОЙ ДОЗОЙ |
МР-36-46 |
|
АНОД |
МР-22-06 |
|
АНОДНОЕ НАПРЯЖЕНИЕ |
МР-36-02 |
|
АНОДНЫЙ ТОК |
МР-36-07 |
|
АРТЕФАКТ |
3.3.1 |
|
БЛОК ИСТОЧНИКА ИЗЛУЧЕНИЯ |
МР-20-05+ |
|
ВИДЕОКОНТРОЛЬНОЕ УСТРОЙСТВО |
Б-3.3.1 |
|
ВОЗДУШНАЯ КЕРМА |
МР-13-11 |
|
ВРЕМЯ НАГРУЗКИ |
МР-36-10 |
|
ВСПОМОГАТЕЛЬНОЕ ОБОРУДОВАНИЕ |
МР-30-01 |
|
ВХОДНАЯ ПЛОСКОСТЬ УРИ |
МР-32-42 |
|
ВХОДНОЙ ЭКРАН УРИ |
МР-32-47 |
|
ДЕЙСТВИТЕЛЬНОЕ ФОКУСНОЕ ПЯТНО |
МР-20-12 |
|
ДЕТЕКТОР ИЗЛУЧЕНИЯ |
МР-51-01 |
|
ДИАФРАГМА |
МР-37-29 |
|
ДИСПЛЕЙ |
МР-84-01 |
|
ДОПОЛНИТЕЛЬНАЯ ФИЛЬТРАЦИЯ |
МР-13-47 |
|
ИЗГОТОВИТЕЛЬ |
МР-85-03- |
|
ИЗДЕЛИЕ (АППАРАТ) |
ОС-2.2.11 |
|
ИЗЛУЧЕНИЕ |
МР-11-01 |
|
ИЗМЕРЕННОЕ ЗНАЧЕНИЕ |
МР-73-08 |
|
ИЗМЕРИТЕЛЬ МОЩНОСТИ КЕРМЫ |
МР-50-01+ |
|
ИНСТРУКЦИИ ПО ЭКСПЛУАТАЦИИ |
МР-82-02 |
|
ИСПЫТАНИЯ НА ПОСТОЯНСТВО ПАРАМЕТРОВ |
А-3.2.6 |
|
КАМЕРА С ТОЧЕЧНЫМ ОТВЕРСТИЕМ |
МР-71-02 |
|
КАЧЕСТВО ИЗЛУЧЕНИЯ |
МР-13-28 |
|
КЕРМА |
МР-13-10 |
|
КЕРМАМЕТР |
МР-50-01+ |
|
КИНОРЕНТГЕНОГРАФИЯ |
МР-41-14 |
|
КОМПЬЮТЕРНАЯ ТОМОГРАФИЯ |
МР-41-20 |
|
ЛУЧЕВАЯ ТЕРАПИЯ |
МР-40-05 |
|
МИШЕНЬ |
МР-20-08 |
|
МОЩНОСТЬ ВОЗДУШНОЙ КЕРМЫ |
МР-13-11, |
|
МР-13-13 | |
|
МОЩНОСТЬ КЕРМЫ |
МР-13-13 |
|
МОЩНОСТЬ ПЕРЕДАННОЙ КЕРМЫ |
3.3.5 |
|
НАПРАВЛЕННЫЙ РАСТР |
МР-32-09 |
|
НЕГАТОСКОП |
В-3.2.1 |
|
НЕПРЯМАЯ РЕНТГЕНОГРАФИЯ |
МР-41-08 |
|
НЕПРЯМАЯ РЕНТГЕНОСКОПИЯ |
МР-41-03 |
|
НИЗКОКОНТРАСТНОЕ РАЗРЕШЕНИЕ |
3.3.3 |
|
НОМИНАЛЬНОЕ ЗНАЧЕНИЕ ФОКУСНОГО ПЯТНА |
МР-20-14 |
|
НОМИНАЛЬНОЕ НАИМЕНЬШЕЕ ВРЕМЯ ОБЛУЧЕНИЯ |
МР-36-12 |
|
НОМИНАЛЬНЫЙ РАЗМЕР ВХОДНОГО ПОЛЯ УРИ |
МР-32-44 |
|
НОРМАЛЬНАЯ ЭКСПЛУАТАЦИЯ |
ОС-2.10.8 |
|
нормируемый |
МР-74-02 |
|
ОБЛАСТЬ ИНТЕРЕСА |
Г-3.3.9 |
|
ОБЛУЧЕНИЕ |
МР-12-09 |
|
ОБОЗНАЧЕНИЕ МОДЕЛИ ИЛИ ТИПА |
ОС-2.12.2 |
|
ОБЩАЯ ФИЛЬТРАЦИЯ |
МР-13-48 |
|
ОПЕРАТОР |
МР-85-02 |
|
ОПОРНАЯ ОСЬ |
МР-37-03 |
|
ОСЛАБЛЕНИЕ |
МР-12-08 |
|
ОТСЕИВАЮЩИЙ РАСТР |
МР-32-06 |
|
ПАРАМЕТР НАГРУЗКИ |
МР-36-01 |
|
ПАЦИЕНТ |
МР-62-03 |
|
ПЕРЕДАННАЯ КЕРМА |
3.3.5 |
|
ПЛОСКОСТЬ ПРИЕМНИКА ИЗОБРАЖЕНИЯ |
МР-37-15 |
|
ПОВЕРХНОСТЬ ПРИЕМНИКА ИЗОБРАЖЕНИЯ |
МР-37-16 |
|
ПОВЕРХНОСТЬ ТЕЛА ПАЦИЕНТА |
МР-37-18 |
|
ПОГЛОЩЕНИЕ |
МР-12-05- |
|
ПОЛЕ РЕНТГЕНОВСКОГО ИЗЛУЧЕНИЯ |
МР-37-07+ |
|
ПОЛЬЗОВАТЕЛЬ |
МР-85-01 |
|
ПРИБОРНОЕ ЗНАЧЕНИЕ |
МР-73-10 |
|
ПРИЕМНИК РЕНТГЕНОВСКОГО ИЗОБРАЖЕНИЯ |
МР-32-29 |
|
ПРИЕМОЧНЫЕ ИСПЫТАНИЯ |
А-3.2.4 |
|
ПРИСПОСОБЛЕНИЕ |
МР-83-06 |
|
ПРОИЗВЕДЕНИЕ ТОК-ВРЕМЯ |
МР-36-13 |
|
ПРОНИКНОВЕНИЕ |
МР-12-10 |
|
ПРЯМАЯ РЕНТГЕНОГРАФИЯ |
МР-41-07 |
|
ПУЛЬТ УПРАВЛЕНИЯ |
МР-83-02 |
|
ПУЧОК ИЗЛУЧЕНИЯ |
МР-37-05 |
|
РАДИАЦИОННОЕ ОКНО |
МР-37-26 |
|
РАДИАЦИОННЫЙ ВЫХОД |
3.3.4 |
|
РАДИОЛОГИЯ МЕДИЦИНСКАЯ |
МР-40-01 |
|
РАССЕЯННОЕ ИЗЛУЧЕНИЕ |
МР-11-13 |
|
РАЗРЕШЕНИЕ (ПРОСТРАНСТВЕННОЕ РАЗРЕШЕНИЕ) |
3.3.2 |
|
РАССТОЯНИЕ ОТ ФОКУСНОГО ПЯТНА ДО ПРИЕМНИКА ИЗОБРАЖЕНИЯ |
МР-37-13 |
|
РЕНТГЕНОВСКАЯ ТРУБКА |
МР-22-03 |
|
РЕНТГЕНОВСКИЙ АППАРАТ |
МР-20-20 |
|
РЕНТГЕНОВСКИЙ ГЕНЕРАТОР |
МР-20-17 |
|
РЕНТГЕНОВСКИЙ ИЗЛУЧАТЕЛЬ |
МР-22-01 |
|
РЕНТГЕНОГРАММА |
МР-32-02 |
|
РЕНТГЕНОГРАФИЧЕСКАЯ КАССЕТА |
МР-35-14 |
|
РЕНТГЕНОГРАФИЯ |
МР-41-06 |
|
РЕНТГЕНОСКОПИЯ |
МР-41-01 |
|
РЕНТГЕНОГРАФИЧЕСКАЯ ПЛЕНКА |
МР-32-32 |
|
СВЕТОВОЕ ПОЛЕ |
МР-37-09 |
|
СВЕТОВОЙ УКАЗАТЕЛЬ ПОЛЯ |
МР-37-31 |
|
СЕРИЙНЫЙ НОМЕР |
ОС-2.12.9 |
|
СИСТЕМА ФОРМИРОВАНИЯ ПУЧКА |
МР-37-27 |
|
СЛОЙ ПОЛОВИННОГО ОСЛАБЛЕНИЯ |
МР-13-42 |
|
СМЕНЩИК ПЛЕНКИ |
МР-31-07 |
|
СОБСТВЕННАЯ ФИЛЬТРАЦИЯ |
МР-13-46 |
|
СОПРОВОДИТЕЛЬНЫЕ (ЭКСПЛУАТАЦИОННЫЕ) ДОКУМЕНТЫ |
МР-82-01 |
|
СТОЛ ДЛЯ ПАЦИЕНТА |
МР-30-02 |
|
СТЕПЕНЬ ОСЛАБЛЕНИЯ |
МР-13-40 |
|
ТЕСТ-ОБЪЕКТ |
МР-71-04 |
|
ТКАНЕЭКВИВАЛЕНТНОЕ ВЕЩЕСТВО |
МР-35-16 |
|
ТОМОГРАФИЯ |
МР-41-15 |
|
УГОЛ МИШЕНИ |
МР-20-11 |
|
УСИЛИВАЮЩИЙ ЭКРАН |
МР-32-38 |
|
УСИЛИТЕЛЬ РЕНТГЕНОВСКОГО ИЗОБРАЖЕНИЯ (УРИ) |
МР-32-39 |
|
УСЛОВИЯ УЗКОГО ПУЧКА |
МР-37-23 |
|
установленный |
МР-74-01 |
|
УСТРОЙСТВО ДЛЯ ПРИЦЕЛЬНЫХ СНИМКОВ |
МР-31-05 |
|
УСТРОЙСТВО ФОРМИРОВАНИЯ ПУЧКА |
МР-37-28 |
|
ФАНТОМ |
МР-54-01 |
|
ФИЛЬТР |
МР-35-01 |
|
ФИЛЬТРАЦИЯ |
МР-12-11 |
|
ФОКУСНОЕ ПЯТНО |
МР-20-13с |
|
ФУНКЦИЯ ПЕРЕДАЧИ МОДУЛЯЦИИ |
МР-73-05 |
|
ЩЕЛЕВАЯ КАМЕРА |
МР-71-01 |
|
ЭКВИВАЛЕНТНАЯ ПО КАЧЕСТВУ ФИЛЬТРАЦИЯ |
МР-13-45 |
|
ЭКСПОЗИЦИОННАЯ ДОЗА |
МР-13-14 |
Приложение B
(справочное)
Таблица B.1
|
Проверяемая характеристика |
Обозначение |
Единица измерения |
|
АНОДНОЕ НАПРЯЖЕНИЕ |
U |
кВ |
|
АНОДНЫЙ ТОК |
I |
мА |
|
ВРЕМЯ НАГРУЗКИ |
t |
с, мс |
|
ПРОИЗВЕДЕНИЕ ТОК-ВРЕМЯ |
Q |
мА•с |
|
ПЕРЕДАННАЯ КЕРМА |
КТ |
мГр |
|
(МОЩНОСТЬ ПЕРЕДАННОЙ КЕРМЫ) |
(К'Т) |
(мГр/с) |
|
ВОЗДУШНАЯ КЕРМА ПРИЕМНИКА РЕНТГЕНОВСКОГО ИЗОБРАЖЕНИЯ |
КВ |
мГр |
|
(МОЩНОСТЬ ВОЗДУШНОЙ КЕРМЫ ПРИЕМНИКА РЕНТГЕНОВСКОГО ИЗОБРАЖЕНИЯ) |
(К'В) |
(мГр/с) |
|
Показатель ПЕРЕДАННОЙ КЕРМЫ |
TKi |
(мГр•м2)/мА•с |
|
РАДИАЦИОННЫЙ ВЫХОД |
КR |
мГр/мА•с |
|
СТЕПЕНЬ ОСЛАБЛЕНИЯ |
TR |
- |
|
Толщина ФИЛЬТРА (ЭКВИВАЛЕНТНАЯ ПО КАЧЕСТВУ ФИЛЬТРАЦИЯ) |
- |
мм Al |
|
ПРОСТРАНСТВЕННОЕ РАЗРЕШЕНИЕ |
R |
пара линий/мм |
|
НИЗКОКОНТРАСТНОЕ РАЗРЕШЕНИЕ |
- | |
|
Оптическая плотность |
D |
- |
|
Расстояние от ФОКУСНОГО ПЯТНА до СТОЛА ДЛЯ ПАЦИЕНТА относительно УСТРОЙСТВА ДЛЯ ПРИЦЕЛЬНЫХ СНИМКОВ в системах с трубкой, устанавливаемой под столом |
rT |
см |
|
РАССТОЯНИЕ ОТ ФОКУСНОГО ПЯТНА ДО ПРИЕМНИКА ИЗОБРАЖЕНИЯ |
rB |
см |
Приложение C
(справочное)
Пример 1 - ТЕСТ-ОБЪЕКТ для проверки НИЗКОКОНТРАСТНОГО РАЗРЕШЕНИЯ, разработанный UAB (Университет в Бирмингеме, штат Алабама, США)
ТЕСТ-ОБЪЕКТ представляет собой медную пластину-ослабитель толщиной 2 мм и две алюминиевые пластины-мишени толщиной 6, 1 мм. Каждая пластина-мишень имеет градации ОСЛАБЛЕНИЯ во вставках или отверстиях диаметром 1, 1 см. Внешние размеры пластин-мишеней должны быть 15, 2x15, 2 см. В пластинах предусматривают три мишени в три ряда с изменением контраста на 3% между соседними мишенями в одном ряду. В двух внешних рядах предусмотрено увеличение контраста, а в среднем ряду - уменьшение контраста. Для получения НИЗКОКОНТРАСТНОГО РАЗРЕШЕНИЯ 0, 5% используют две испытательные пластины, одна из которых имеет мишени с диапазоном контрастности от 1% до 9% (ТЕСТ-ОБЪЕКТ целого числа), а вторая - мишени с диапазоном контрастности от 0, 5% до 8, 5% (ТЕСТ-ОБЪЕКТ половины целого числа), причем приращение контрастности в обеих пластинах составляет 1%.
При использовании таких ТЕСТ-ОБЪЕКТОВ АВТОМАТИЧЕСКОЕ УПРАВЛЕНИЕ МОЩНОСТЬЮ ЭКСПОЗИЦИОННОЙ ДОЗЫ рентгеноскопических установок может быть приведено к сравнимым значениям, например 70-80 кВ. НИЗКОКОНТРАСТНОЕ РАЗРЕШЕНИЕ допускается определять с точностью 0, 5%, выбирая более низкое значение, полученное последовательным использованием двух пластин. Измеренная пороговая контрастность не зависит от АНОДНОГО НАПРЯЖЕНИЯ.
Пример 2 - ТЕСТ-ОБЪЕКТ для проверки НИЗКОКОНТРАСТНОГО РАЗРЕШЕНИЯ, разработанный Немецким институтом стандартизации (DIN)
В этот ФАНТОМ, состоящий из ослабляющих слоев (например слой алюминия толщиной 25 мм) и структурных элементов [например слой полиметилметакрилата (ПММА) со структурными элементами], встроена одна контрастная ступень. Используя такой ФАНТОМ и АНОДНОЕ НАПРЯЖЕНИЕ 70 кВ в условиях проведения рентгеноскопии, эта контрастная ступень даст контраст 4%.
Пример 3 - Рентгеновские свинцовые ТЕСТ-ОБЪЕКТЫ для РЕНТГЕНОГРАФИИ/РЕНТГЕНОСКОПИИ
Специальный ТЕСТ-ОБЪЕКТ для проверки низкоконтрастной чувствительности состоит из расположенных по кругу 19 дисков низкой контрастности диаметром 11 мм каждый. Диапазон контраста составляет 0, 16-0, 007. Внешние размеры - 180 мм в диаметре.
Пример 4 - ТЕСТ-ОБЪЕКТ для проверки НИЗКОКОНТРАСТНОГО РАЗРЕШЕНИЯ, разработанный МЭК (см. ГОСТ Р МЭК 61223-2-9)
Предлагаемый низкоконтрастный ТЕСТ-ОБЪЕКТ содержит диски из ослабляющего материала диаметром не менее 1 см. Конструкция ТЕСТ-ОБЪЕКТА должна быть такой, чтобы при использовании в ПУЧКЕ ИЗЛУЧЕНИЯ с увеличенной ФАНТОМОМ жесткостью диски давали контраст 1% - 20% со следующим шагом ступеней: 1, 0; 1, 4; 1, 8; 2, 3; 2, 7; 3, 3; 4, 5; 5, 5; 6, 6; 7, 6; 8, 6; 10, 8; 12, 3; 14, 5; 16, 0; 18, 0; 20, 0%.
Примечание. Не все указанные значения контраста могут быть измерены на РЕНТГЕНОГРАФИЧЕСКОЙ ПЛЕНКЕ. Однако ТЕСТ-ОБЪЕКТ должен быть изготовлен так, чтобы теоретически значения контраста обеспечивались при КАЧЕСТВАХ ИЗЛУЧЕНИЯ, обычно используемых в клинической практике.
Приложение D
(справочное)
5.2 АНОДНОЕ НАПРЯЖЕНИЕ
См. 50.102.1 МЭК 60601-2-7: ±10%.
5.3 ОБЩАЯ ФИЛЬТРАЦИЯ
См. ГОСТ Р 50267.0.3-99 (МЭК 60601-1-3-94), 29.201.5:
ЭКВИВАЛЕНТНАЯ ПО КАЧЕСТВУ ФИЛЬТРАЦИЯ не менее 2, 5 мм Al
или
таблица 204 - СЛОИ ПОЛОВИННОГО ОСЛАБЛЕНИЯ в РЕНТГЕНОВСКИХ АППАРАТАХ: 2, 3 мм Al при 80 кВ.
5.4 ФОКУСНОЕ ПЯТНО РЕНТГЕНОВСКОЙ ТРУБКИ
Таблица D.1 - Типичные размеры ФОКУСНОГО ПЯТНА для НОМИНАЛЬНЫХ ЗНАЧЕНИЙ ФОКУСНОГО ПЯТНА (см. таблицу 5 ГОСТ Р МЭК 60336-99)
В миллиметрах
|
НОМИНАЛЬНЫЕ РАЗМЕРЫ ФОКУСНОГО ПЯТНА f |
Допустимые размеры ФОКУСНОГО ПЯТНА | |
|
Ширина |
Длина | |
|
0, 25 |
0, 25 ... 0, 38 |
0, 25 ... 0, 38 |
|
0, 3 |
0, 30 ... 0, 45 |
0, 45 ... 0, 65 |
|
0, 4 |
0, 40 ... 0, 60 |
0, 60 ... 0, 85 |
|
0, 5 |
0, 50 ... 0, 75 |
0, 70 ... 1, 10 |
|
0, 6 |
0, 60 ... 0, 90 |
0, 90 ... 1, 30 |
|
0, 7 |
0, 70 ... 1, 10 |
1, 00 ... 1, 50 |
|
0, 8 |
0, 80 ... 1, 20 |
1, 10 ... 1, 60 |
|
0, 9 |
0, 90 ... 1, 30 |
1, 30 ... 1, 80 |
|
1, 0 |
1, 00 ... 1, 40 |
1, 40 ... 2, 00 |
|
1, 1 |
1, 10 ... 1, 50 |
1, 60 ... 2, 20 |
|
1, 2 |
1, 20 ... 1, 70 |
1, 70 ... 2, 40 |
|
1, 3 |
1, 30 ... 1, 80 |
1, 90 ... 2, 60 |
|
1, 4 |
1, 40 ... 1, 90 |
2, 00 ... 2, 80 |
|
1, 5 |
1, 50 ... 2, 00 |
2, 10 ... 3, 00 |
|
1, 6 |
1, 60 ... 2, 10 |
2, 30 ... 3, 10 |
|
1, 7 |
1, 70 ... 2, 20 |
2, 40 ... 3, 20 |
5.5 Диафрагмирование и индикация размера ПУЧКА ИЗЛУЧЕНИЯ
См. 29.202.8, 29.202.9 и 29.203.4 ГОСТ Р 50267.0.3.
Таблица D.2 - Значения расхождений параметров X, Y и Z в соответствии с ГОСТ Р 50267.0.3
|
Параметр |
Расхождение, %, (см. примечание 1) |
|
X |
2 |
|
Y (см. примечание 2) |
3 |
|
Z (см. примечание 3) |
4 |
|
Примечания 1. Требования к расхождению - по ГОСТ Р 50267.0.3. 2. По каждой из двух главных осей ПОВЕРХНОСТИ ПРИЕМНИКА ИЗОБРАЖЕНИЯ сумма расхождений между краями ПОЛЯ РЕНТГЕНОВСКОГО ИЗЛУЧЕНИЯ и соответствующими краями ПОВЕРХНОСТИ ПРИЕМНИКА ИЗОБРАЖЕНИЯ не должна превышать 3% указанного РАССТОЯНИЯ ОТ ФОКУСНОГО ПЯТНА ДО ПРИЕМНИКА ИЗОБРАЖЕНИЯ, когда ПЛОСКОСТЬ ПРИЕМНИКА ИЗОБРАЖЕНИЯ перпендикулярна к ОПОРНОЙ ОСИ. 3. Сумма расхождений на обеих осях не должна превышать 4% указанного РАССТОЯНИЯ ОТ ФОКУСНОГО ПЯТНА ДО ПРИЕМНИКА ИЗОБРАЖЕНИЯ. | |
5.6 Линейность и воспроизводимость ПЕРЕДАННОЙ КЕРМЫ
См. МЭК 60601-2-7:
50.101. Линейность ±20%;
50.101.1. Воспроизводимость ±10%.
Таблица D.3 - Типичные значения показателя ПЕРЕДАННОЙ КЕРМЫ
|
Показатель* ПЕРЕДАННОЙ КЕРМЫ ТК1, мГр•м2 (мА•с)-1 |
АНОДНОЕ НАПРЯЖЕНИЕ, кВ | |||
|
постоянное напряжение, 12-пульсное, эквивалент 12-пульсного или с преобразованием частоты |
6-пульсное со сглаживанием или эквивалент 6-пульсного |
6-пульсное без сглаживания |
2-полупериодное | |
|
0, 6 |
62 |
63 |
67 |
71 |
|
0, 9 |
66 |
68 |
72 |
76 |
|
1, 3 |
71 |
73 |
77 |
82 |
|
1, 6 |
74 |
75 |
81 |
86 |
|
2, 0 |
77 |
79 |
85 |
91 |
|
2, 3 |
79 |
81 |
88 |
94 |
|
2, 8 |
82 |
85 |
92 |
99 |
|
3, 5 |
87 |
89 |
97 |
104 |
|
* Показатель измерен за ослабляющим слоем алюминия толщиной 25 мм, отнесен к расстоянию 100 см от ФОКУСНОГО ПЯТНА до ДЕТЕКТОРА ИЗЛУЧЕНИЯ, в условиях, свободных от РАССЕЯННОГО ИЗЛУЧЕНИЯ; АНОД из вольфраморениевого сплава, а ОБЩАЯ ФИЛЬТРАЦИЯ ЭКВИВАЛЕНТА ПО КАЧЕСТВУ ФИЛЬТРАЦИИ в 2, 5 мм Al. | ||||
5.7 СТЕПЕНЬ ОСЛАБЛЕНИЯ материала между ПАЦИЕНТОМ и ПРИЕМНИКОМ РЕНТГЕНОВСКОГО ИЗОБРАЖЕНИЯ
Таблица D.4 - Типичные значения СТЕПЕНИ ОСЛАБЛЕНИЯ материала между ПАЦИЕНТОМ и ПРИЕМНИКОМ РЕНТГЕНОВСКОГО ИЗОБРАЖЕНИЯ
|
Материал (компонент РЕНТГЕНОВСКОГО АППАРАТА) |
СТЕПЕНЬ ОСЛАБЛЕНИЯ* |
|
СТОЛ ДЛЯ ПАЦИЕНТА |
1, 25 |
|
Передняя панель СМЕНЩИКА ПЛЕНКИ |
1, 25 |
|
ОТСЕИВАЮЩИЙ РАСТР |
1, 43 |
|
Детектор АВТОМАТИЧЕСКОГО УПРАВЛЕНИЯ ЭКСПОЗИЦИОННОЙ ДОЗОЙ |
1, 11 |
|
* Параметры измерения - 80 кВ и ослабляющий слой 25 мм Al. | |
5.8. АВТОМАТИЧЕСКОЕ УПРАВЛЕНИЕ ЭКСПОЗИЦИОННОЙ ДОЗОЙ и 5.8.2. Выполнение АВТОМАТИЧЕСКОГО УПРАВЛЕНИЯ ЭКСПЛУАТАЦИОННОЙ ДОЗОЙ
В МЭК 60601-2-7 включено следующее значение:
Постоянство оптической плотности при изменении АНОДНОГО НАПРЯЖЕНИЯ и толщины объекта |D| < 0, 2.
Примечание. Этот допуск на плотность относится к среднему градиенту 3, 0.
5.10. Указатель произведения ВОЗДУШНОЙ КЕРМЫ на площадь
См. 6.4 ГОСТ Р МЭК 580: общая погрешность ±25%.
6.8. МОЩНОСТЬ ВОЗДУШНОЙ КЕРМЫ на ВХОДНОЙ ПЛОСКОСТИ УСИЛИТЕЛЯ РЕНТГЕНОВСКОГО ИЗОБРАЖЕНИЯ (УРИ) для РЕНТГЕНОСКОПИИ
Стандартных значений не существует.
В соответствии с приведенной методикой испытания практическими значениями являются 0, 2 мкГр/с - 1, 0 мкГр/с.
6.10. ВОЗДУШНАЯ КЕРМА на ВХОДНОЙ ПЛОСКОСТИ УРИ для КИНОРЕНТГЕНОГРАФИИ или для других систем НЕПРЯМОЙ РЕНТГЕНОГРАФИИ (за исключением цифровых)
Стандартных значений не существует.
В соответствии с приведенными методами испытаний практическими значениями для систем НЕПРЯМОЙ РЕНТГЕНОГРАФИИ являются:
с УРИ 25 см - менее 2, 0 мкГр;
с КИНОРЕНТГЕНОГРАФИЕЙ на одно изображение - менее 0, 2 мкГр.
6.12. ПРОСТРАНСТВЕННОЕ РАЗРЕШЕНИЕ для РЕНТГЕНОСКОПИИ с УРИ, для КИНОРЕНТГЕНОГРАФИИ или для других систем НЕПРЯМОЙ РЕНТГЕНОГРАФИИ (за исключением цифровых)
Стандартных значений не существует.
В соответствии с приведенной методикой испытания, перечисление b), практическими значениями являются:
в РЕНТГЕНОСКОПИИ:
с УРИ 25 см - 0, 9 пары линий/мм - 1, 4 пары линий/мм (в зависимости от ширины видеочастот);
с УРИ 45 см - 0, 5 пары линий/мм - 0, 8 пары линий/мм (в зависимости от ширины видеочастот).
НЕПРЯМАЯ РЕНТГЕНОГРАФИЯ, УРИ 25 см - 2, 0 пары линий/мм.
КИНОРЕНТГЕНОГРАФИЯ на одно изображение, УРИ 25 см - 1, 6 пары линий/мм.
Значения справедливы в пределах двух третей диаметра НОМИНАЛЬНОГО РАЗМЕРА ВХОДНОГО ПОЛЯ УРИ, ТЕСТ-ОБЪЕКТ для проверки ПРОСТРАНСТВЕННОГО РАЗРЕШЕНИЯ помещен близко к ВХОДНОЙ ПЛОСКОСТИ УРИ.
6.13. НИЗКОКОНТРАСТНОЕ РАЗРЕШЕНИЕ для РЕНТГЕНОСКОПИИ с УРИ, для КИНОРЕНТГЕНОГРАФИИ или для других систем НЕПРЯМОЙ РЕНТГЕНОГРАФИИ (за исключением цифровых)
Стандартных значений не существует.
Практические значения зависят от стандартных методик испытаний.
7.1. Требования
Стандартных значений не существует.
В соответствии с приведенной методикой испытания, перечисление b), практическими значениями являются:
- томографические траектории: см. техническую документацию;
- индикация высоты томографического слоя: отклонение между световым указателем для томографической плоскости и для воспроизведенного слоя не должно быть более ±5 мм;
- минимальное ПРОСТРАНСТВЕННОЕ РАЗРЕШЕНИЕ - 1, 8 пары линий/мм.


