ГОСТ 10120-71* (23.05.1988) ПАРАФИНЫ НЕФТЯНЫЕ. МЕТОД ОПРЕДЕЛЕНИЯ ФРАКЦИОННОГО СОСТАВА
С изменениями:
(23 мая 1988 г.)
Petroleum paraffins. Method for the determination of fraction composition
Срок введения установлен с 1 июля 1971 г.
Взамен ГОСТ 10120-62
Настоящий стандарт распространяется на нефтяные парафины и устанавливает метод определения фракционного состава.
Сущность метода заключается в перегонке парафинов под вакуумом, определении температуры начала и конца кипения и установлении процентного выхода дистиллята при заданной температуре.
(Измененная редакция, Изм. N 3).
1.1. Для проведения испытания применяют:
колбу Богданова (черт. 1);
термометр ртутный стеклянный типа ТН-7 по ГОСТ 400-80;
приемник вакуумный вместимостью 100 см3 (черт. 2);
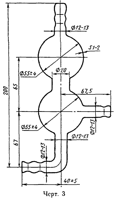
склянку промежуточную (черт. 3);.
склянку предохранительную, в качестве которой используют колбу с тубусом по ГОСТ 25336-82, вместимостью 250-500 см3;
вакуумметр типа ВТ-3 или ВТ-6;



износ вакуумный типа ВМ-461 или другой, позволяющий создать остаточное давление 13, 3 Па (0, 1 мм рт. ст.);
электроколбонагреватель любого типа или газовую горелку;
плитку электрическую;
стаканы В-1 - 250 и Н-2 - 2000 по ГОСТ 25336-82;
лупу с двукратным увеличением или более, диаметром не менее 30 мм;
термостат, обеспечивающий температуру нагрева до 100°С;
секундомер по ГОСТ 5072-79;
кожух защитный из металлической сетки;
шнур асбестовый по ГОСТ 1779-83;
клей резиновый по ГОСТ 2199-78;
трубки резиновые вакуумные;
смазку вакуумную, обеспечивающую герметичность аппарата;
весы лабораторные с погрешностью взвешивания не более 15 г.
2.1. Перед началом испытания тщательно осматривают аппарат для перегонки под вакуумом. На стенках аппарата не должно быть трещин или глубоких царапин, аппарат должен быть хорошо вымыт и просушен. Колбу для перегонки, за исключением небольшой части дна и отводной трубки, изолируют асбестовым шнуром.
2.2. В стакан из термостойкого стекла вместимостью 2000 см3 наливают воду и нагревают ее до 80+-2°С и поддерживают эту температуру во время перегонки парафина.
2.3. В стакан вместимостью 300 см3 помещают 150 г испытуемого парафина и ставят его в термостат, нагретый до температуры около 90°С. Одновременно в термостат ставят вакуумный приемник. Испытуемый парафин перед загрузкой в стакан должен быть высушен.
После полного расплавления парафина стакан вынимают из термостата и перемешивают парафин предварительно нагретым термометром. Затем вынимают из термостата вакуумный приемник, быстро обертывают его сухим полотенцем так, чтобы метка 100 см3 была открыта, и наливают до метки расплавленный парафин, после этого измеряют температуру парафина в вакуумном приемнике. При 80+-2°С парафин переливают по возможности полностью из приемника в колбу для перегонки.
2.4. Термометр вставляют на резиновой пробке в горловину колбы так, чтобы ось термометра совпадала с осью верхней прямой части колбы и верх ртутного шарика находился на уровне нижнего края отводной трубки в месте ее припая к стенке колбы.
2.5. Аппарат для перегонки под вакуумом собирают по схеме, приведенной на черт. 4. Колбу с парафином и термометром ставят на электроколбонагреватель с асбестовой прокладкой и зажимают лапкой, прикрепленной к штативу.
Отводную трубку колбы Богданова соединяют с помощью резиновой пробки с вакуумным приемником. Отвод вакуумного приемника соединяют при помощи вакуумных резиновых трубок с боковым отводом промежуточной склянки. Верхний отвод промежуточной склянки соединяют с манометрическим преобразователем вакуумметра ВТ-3, нижний отвод с предохранительной склянкой (колба с тубусом). В горловину колбы с тубусом вставляют резиновую пробку, через которую проходят две стеклянные трубки. Одну трубку, доходящую до дна колбы, соединяют резиновой вакуумной трубкой с вакуумным насосом, другую соединяют при помощи резиновой трубки и зажима с атмосферой.
2.6. После сборки аппарата места соединения шлифов, резиновых пробок и трубок со стеклом тщательно покрывают резиновым клеем.
Устанавливают защитный кожух, проверяют герметичность собранного аппарата для перегонки парафина. Для этого создают вакуум; остаточное давление не должно быть более 26, 6 Па (0, 2 мм рт. ст.).
Разгонку ведут в интервале давлений 13, 3-66, 5 Па (0, 1-0, 5 мм рт. ст.).

(Измененная редакция, Изм. N 3).
3.1. Для определения фракционного состава нефтяных парафинов включают электроколбонагреватель. Затем включают вакуумметр ВТ-3 в соответствии с инструкцией по эксплуатации и обслуживанию данного прибора.
После 2-3 мин подогрева парафина в колбе включают вакуумный насос и отсоединяют систему от атмосферы, закрывая зажим на вакуумной трубке.
Нагрев ведут так, чтобы первая капля парафина упала в вакуумный приемник через 15-20 мин после включения вакуумного насоса (перед началом перегонки отводную трубку колбы Богданова прогревают небольшим пламенем газовой горелки или спиртовки). Подогрев колбы во время перегонки регулируют так, чтобы перегонка велась равномерно со скоростью одна капля в секунду в течение всего определения.
В продолжение всего процесса перегонки для безопасности должны пользоваться защитными очками.
4.1. Для установления температуры начала перегонки парафина отмечают температуру и остаточное давление в системе в момент, когда в вакуумный приемник упадет вторая капля.
4.2. Для установления температуры конца кипения парафина отмечают температуру и остаточное давление в системе в момент, когда, вследствие прекращения выделения паров из колбы, несмотря на продолжающийся нагрев, температура в колбе начинает понижаться. В этот момент выключают обогрев колбы.
4.3. Для определения выхода дистиллята, соответствующего температуре конца перегонки, через 2-3 мин после прекращения нагрева отмечают количество дистиллята, собранного в вакуумном приемнике.
4.4. Для определения температуры, соответствующей заданному проценту отгона, отмечают температуру и остаточное давление в момент, когда количество дистиллята в миллилитрах в вакуумном приемнике численно равно заданному проценту отгона.
4.5. Для определения выхода дистиллята, соответствующего заданной температуре, отмечают количество дистиллята в миллилитрах в вакуумном приемнике в момент, когда температура перегонки в пересчете на 101, 3х10(3) Па (760 мм рт. ст.) будет соответствовать заданной температуре.
(Измененная редакция, Изм. N 3).
4.6. Полученные температуры при остаточном давлении пересчитывают на температуры при 760 мм рт. ст. по таблицам, приведенным в приложении.
4.7. За результат испытания принимают среднее арифметическое значение результатов двух последовательных определении. Результаты определения температуры кипения и выхода дистиллята округляют до целой значащей цифры.
(Измененная редакция, Изм. N 3).
4.8. (Исключен, Изм. N 3).
4.9. Сходимость метода
Два результата определений, полученные одним исполнителем, признаются достоверными (с 95 %-ной доверительной вероятностью), если расхождение между ними в точках выкипания от 5% объема и выше не превышает 1, 6% от среднего арифметического значения температуры кипения в этих точках при давлении 101, 3 х 10(3) Па (760 мм рт. ст.), а для выхода дистиллята, соответствующего заданной температуре, не превышает 2 см3.
4.10. Воспроизводимость
Два результата испытаний, полученные в двух разных лабораториях, признаются достоверными (с 95%-ной доверительной вероятностью), если расхождение между ними в точках выкипания от 5% объема и выше не превышает 7, 4 % от среднего арифметического значения температуры кипения в этих точках при давлении 101, 3 х 10(3) Па (760 мм рт. ст.), а для выхода дистиллята, соответствующего заданной температуре, не превышает 6 см3.
Приложение
Обязательное
Пересчет фактических температур, полученных при перегонке парафина в вакууме, на температуры при давлении 101, 3х10(3) Па (760 мм рт. ст.) указан в табл. 1-21.
Таблица 1
Фактическая температура кипения при остаточном давлении 13, 3 Па (0, 1 мм рт. ст.) в °С |
0 |
1 |
2 |
3 |
4 |
5 |
6 |
7 |
8 |
9 |
40 |
240 |
241 |
243 |
244 |
245 |
246 |
248 |
250 |
251 |
252 |
50 |
253 |
254 |
255 |
257 |
258 |
259 |
260 |
261 |
262 |
264 |
60 |
265 |
266 |
268 |
269 |
270 |
272 |
273 |
274 |
275 |
277 |
70 |
278 |
279 |
280 |
282 |
283 |
284 |
286 |
287 |
288 |
290 |
80 |
291 |
292 |
293 |
294 |
296 |
297 |
298 |
299 |
301 |
302 |
90 |
303 |
304 |
306 |
307 |
308 |
309 |
311 |
312 |
313 |
315 |
100 |
316 |
317 |
319 |
320 |
321 |
323 |
324 |
326 |
327 |
329 |
110 |
330 |
331 |
333 |
334 |
335 |
337 |
338 |
339 |
340 |
342 |
120 |
343 |
344 |
345 |
347 |
348 |
349 |
350 |
351 |
353 |
354 |
130 |
355 |
356 |
358 |
359 |
361 |
362 |
363 |
365 |
366 |
368 |
140 |
369 |
370 |
371 |
372 |
373 |
374 |
376 |
377 |
378 |
379 |
150 |
380 |
381 |
382 |
384 |
385 |
386 |
387 |
388 |
390 |
391 |
160 |
392 |
393 |
394 |
395 |
396 |
398 |
399 |
400 |
401 |
402 |
170 |
403 |
404 |
405 |
406 |
407 |
408 |
410 |
411 |
412 |
413 |
180 |
414 |
415 |
416 |
418 |
419 |
420 |
421 |
422 |
424 |
425 |
190 |
426 |
427 |
428 |
430 |
431 |
432 |
433 |
434 |
436 |
437 |
200 |
438 |
439 |
440 |
442 |
443 |
444 |
445 |
446 |
448 |
449 |
210 |
450 |
451 |
452 |
453 |
454 |
456 |
457 |
458 |
459 |
460 |
220 |
461 |
462 |
464 |
465 |
466 |
467 |
469 |
470 |
471 |
473 |
230 |
474 |
475 |
476 |
477 |
478 |
480 |
481 |
482 |
483 |
484 |
240 |
485 |
486 |
487 |
488 |
489 |
490 |
492 |
493 |
494 |
495 |
250 |
496 |
497 |
499 |
500 |
501 |
502 |
504 |
505 |
506 |
508 |
260 |
509 |
510 |
511 |
512 |
513 |
515 |
516 |
517 |
518 |
519 |
270 |
520 |
521 |
522 |
523 |
.524 |
525 |
526 |
527 |
528 |
529 |
280 |
530 |
531 |
533 |
534 |
535 |
536 |
538 |
539 |
540 |
542 |
290 |
543 |
544 |
546 |
547 |
548 |
549 |
551 |
552 |
553 |
555 |
300 |
556 |
557 |
558 |
560 |
561 |
562 |
563 |
564 |
566 |
567 |
310 |
568 |
569 |
570 |
572 |
573 |
574 |
575 |
576 |
578 |
579 |
320 |
580 |
581 |
582 |
583 |
584 |
585 |
586 |
587 |
588 |
589 |
330 |
590 |
591 |
592 |
593 |
594 |
595 |
596 |
597 |
598 |
599 |
Таблица 2
Фактическая температура кипения при остаточном давлении 16, 0 Па (0, 12 мм рт. ст.) в °С |
0 |
1 |
2 |
3 |
4 |
5 |
6 |
7 |
8 |
9 |
40 |
237 |
238 |
240 |
241 |
242 |
243 |
245 |
246 |
247 |
249 |
50 |
250 |
251 |
252 |
254 |
255 |
256 |
257 |
258 |
260 |
261 |
60 |
262 |
263 |
265 |
266 |
268 |
269 |
270 |
272 |
273 |
275 |
70 |
276 |
277 |
279 |
280 |
281 |
282 |
284 |
285 |
286 |
288 |
80 |
289 |
290 |
291 |
293 |
294 |
295 |
296 |
297 |
299 |
300 |
90 |
301 |
302 |
303 |
304 |
305 |
305 |
З08 |
309 |
310 |
311 |
100 |
312 |
314 |
315 |
317 |
318 |
320 |
322 |
323 |
325 |
326 |
110 |
328 |
329 |
331 |
332 |
333 |
334 |
336 |
337 |
338 |
339 |
120 |
341 |
342 |
343 |
345 |
346 |
347 |
348 |
349 |
351 |
352 |
130 |
353 |
354 |
356 |
357 |
359 |
360 |
361 |
363 |
364 |
366 |
140 |
367 |
368 |
369 |
370 |
371 |
372 |
373 |
375 |
376 |
377 |
150 |
378 |
379 |
381 |
382 |
383 |
384 |
386 |
387 |
388 |
390 |
160 |
391 |
392 |
393 |
394 |
395 |
396 |
397 |
398 |
399 |
400 |
170 |
401 |
402 |
403 |
404 |
405 |
406 |
407 |
408 |
409 |
410 |
180 |
412 |
413 |
414 |
416 |
417 |
418 |
419 |
420 |
422 |
423 |
190 |
424 |
425 |
427 |
428 |
429 |
430 |
432 |
433 |
434 |
436 |
200 |
437 |
438 |
439 |
441 |
442 |
443 |
444 |
445 |
447 |
448 |
210 |
449 |
450 |
451 |
452 |
453 |
454 |
456 |
457 |
458 |
459 |
220 |
460 |
461 |
462 |
464 |
465 |
466 |
467 |
468 |
470 |
471 |
230 |
472 |
473 |
474 |
476 |
477 |
478 |
479 |
480 |
482 |
483 |
240 |
484 |
485 |
486 |
487 |
488 |
489 |
490 |
491 |
492 |
493 |
250 |
494 |
495 |
496 |
498 |
499 |
500 |
501 |
502 |
503 |
505 |
260 |
506 |
507 |
508 |
510 |
511 |
512 |
513 |
514 |
516 |
517 |
270 |
518 |
519 |
520 |
521 |
522 |
523 |
525 |
526 |
527 |
528 |
280 |
529 |
530 |
531 |
533 |
534 |
535 |
536 |
537 |
539 |
540 |
290 |
541 |
542 |
544 |
545 |
547 |
548 |
549 |
551 |
552 |
554 |
300 |
555 |
556 |
557 |
559 |
560 |
561 |
562 |
563 |
565 |
566 |
310 |
567 |
568 |
569 |
570 |
571 |
572 |
574 |
575 |
576 |
577 |
320 |
578 |
579 |
580 |
581 |
582 |
583 |
585 |
586 |
587 |
588 |
330 |
589 |
590 |
591 |
592 |
593 |
594 |
595 |
597 |
598 |
599 |
Таблица 3
Фактическая температура кипения при остаточном давлении 18, 6 Па (0, 14 мм рт. ст.) в °С |
0 |
1 |
2 |
3 |
4 |
5 |
6 |
7 |
8 |
9 |
40 |
236 |
237 |
239 |
240 |
241 |
242 |
244 |
245 |
246 |
248 |
50 |
249 |
250 |
251 |
252 |
253 |
254 |
256 |
257 |
258 |
259 |
60 |
260 |
261 |
263 |
264 |
265 |
266 |
268 |
269 |
270 |
272 |
70 |
273 |
274 |
276 |
277 |
279 |
280 |
281 |
283 |
284 |
286 |
80 |
287 |
288 |
289 |
290 |
291 |
292 |
294 |
295 |
296 |
297 |
90 |
298 |
299 |
300 |
302 |
303 |
304 |
306 |
307 |
308 |
310 |
100 |
311 |
312 |
314 |
315 |
317 |
318 |
319 |
321 |
322 |
324 |
110 |
325 |
326 |
328 |
329 |
331 |
332 |
333 |
335 |
336 |
338 |
120 |
339 |
340 |
341 |
343 |
344 |
345 |
346 |
347 |
348 |
350 |
130 |
351 |
352 |
354 |
355 |
356 |
358 |
359 |
361 |
362 |
364 |
140 |
365 |
366 |
367 |
368 |
369 |
370 |
371 |
372 |
373 |
374 |
150 |
375 |
376 |
378 |
379 |
380 |
381 |
383 |
384 |
385 |
387 |
160 |
388 |
389 |
390 |
392 |
393 |
394 |
395 |
396 |
397 |
399 |
170 |
400 |
401 |
402 |
403 |
404 |
405 |
407 |
408 |
409 |
410 |
180 |
411 |
412 |
413 |
414 |
415 |
416 |
418 |
419 |
420 |
421 |
190 |
422 |
423 |
424 |
426 |
427 |
428 |
429 |
430 |
432 |
433 |
200 |
434 |
435 |
436 |
438 |
439 |
440 |
441 |
442 |
444 |
445 |
210 |
446 |
447 |
448 |
449 |
450 |
452 |
453 |
454 |
455 |
456 |
220 |
457 |
458 |
460 |
461 |
462 |
463 |
465 |
466 |
467 |
469 |
230 |
470 |
471 |
472 |
473 |
474 |
475 |
477 |
478 |
479 |
480 |
240 |
481 |
482 |
483 |
484 |
486 |
487 |
488 |
489 |
490 |
492 |
250 |
493 |
494 |
495 |
497 |
498 |
499 |
500 |
501 |
503 |
504 |
260 |
505 |
506 |
507 |
508 |
509 |
511 |
512 |
513 |
514 |
515 |
270 |
516 |
517 |
518 |
519 |
520 |
521 |
522 |
523 |
524 |
525 |
280 |
526 |
527 |
529 |
530 |
531 |
532 |
534 |
535 |
536 |
538 |
290 |
539 |
540 |
541 |
543 |
544 |
545 |
546 |
547 |
549 |
550 |
300 |
551 |
552 |
553 |
555 |
556 |
557 |
558 |
559 |
561 |
562 |
310 |
563 |
564 |
565 |
567 |
568 |
569 |
570 |
571 |
573 |
574 |
320 |
575 |
576 |
577 |
578 |
579 |
580 |
582 |
583 |
584 |
585 |
330 |
586 |
587 |
588 |
589 |
590 |
592 |
593 |
594 |
595 |
596 |
Таблица 4
Фактическая температура кипения при остаточном давлении 21, 2 Па (0, 16 мм рт. ст.) в °С |
0 |
1 |
2 |
3 |
4 |
5 |
6 |
7 |
8 |
9 | |||
40 |
234 |
235 |
236 |
238 |
239 |
240 |
242 |
243 |
244 |
246 | |||
50 |
247 |
248 |
249 |
251 |
252 |
253 |
254 |
255 |
257 |
258 | |||
60 |
259 |
260 |
261 |
263 |
264 |
265 |
267 |
268 |
269 |
271 | |||
70 |
272 |
273 |
274 |
276 |
277 |
278 |
280 |
281 |
282 |
284 | |||
80 |
285 |
286 |
287 |
288 |
289 |
290 |
292 |
293 |
294 |
295 | |||
90 |
296 |
297 |
299 |
300 |
302 |
303 |
304 |
306 |
307 |
309 | |||
100 |
310 |
311 |
313 |
314 |
315 |
317 |
318 |
320 |
321 |
323 | |||
110 |
324 |
325 |
327 |
328 |
329 |
330 |
332 |
333 |
334 |
336 | |||
120 |
337 |
338 |
340 |
341 |
342 |
343 |
345 |
346 |
347 |
349 | |||
130 |
350 |
351 |
352 |
354 |
355 |
356 |
358 |
359 |
360 |
362 | |||
140 |
363 |
364 |
365 |
366 |
367 |
368 |
370 |
371 |
372 |
373 | |||
150 |
374 |
375 |
376 |
378 |
379 |
380 |
382 |
383 |
384 |
386 | |||
160 |
387 |
388 |
389 |
390 |
391 |
392 |
393 |
395 |
396 |
397 | |||
170 |
398 |
399 |
400 |
401 |
402 |
403 |
404 |
406 |
407 |
408 | |||
180 |
409 |
410 |
411 |
412 |
414 |
415 |
416 |
417 |
418 |
420 | |||
190 |
421 |
422 |
423 |
425 |
426 |
427 |
428 |
429 |
431 |
432 | |||
200 |
433 |
434 |
435 |
437 |
438 |
439 |
440 |
441 |
443 |
444 | |||
210 |
445 |
446 |
447 |
448 |
449 |
450 |
452 |
453 |
454 |
455 | |||
220 |
456 |
457 |
459 |
460 |
461 |
462 |
464 |
465 |
466 |
468 | |||
230 |
469 |
470 |
471 |
472 |
473 |
474 |
475 |
477 |
478 |
479 | |||
240 |
480 |
481 |
482 |
484 |
485 |
486 |
487 |
488 |
490 |
491 | |||
250 |
492 |
493 |
494 |
495 |
496 |
497 |
499 |
500 |
501 |
502 | |||
260 |
503 |
504 |
505 |
507 |
508 |
509 |
510 |
511 |
513 |
514 | |||
270 |
515 |
516 |
517 |
518 |
519 |
520 |
521 |
522 |
523 |
524 | |||
280 |
525 |
526 |
528 |
529 |
530 |
531 |
533 |
534 |
535 |
537 | |||
290 |
538 |
539 |
540 |
542 |
543 |
544 |
545 |
546 |
548 |
549 | |||
300 |
550 |
551 |
552 |
554 |
555 |
556 |
557 |
558 |
560 |
561 | |||
310 |
562 |
563 |
564 |
566 |
567 |
568 |
569 |
570 |
572 |
573 | |||
320 |
574 |
575 |
576 |
577 |
578 |
579 |
581 |
582 |
583 |
584 | |||
330 |
585 |
586 |
587 |
588 |
589 |
590 |
592 |
593 |
594 |
595 | |||
Таблица 5
Фактическая температура кипения при остаточном давлении 24, 0 Па (0, 18 мм рт. ст.) в °С |
0 |
1 |
2 |
3 |
4 |
5 |
6 |
7 |
8 |
9 | ||||
40 |
232 |
233 |
235 |
236 |
237 |
239 |
240 |
242 |
243 |
245 | ||||
50 |
246 |
247 |
248 |
249 |
251 |
252 |
253 |
254 |
255 |
257 | ||||
60 |
258 |
259 |
261 |
262 |
263 |
264 |
266 |
267 |
268 |
270 | ||||
70 |
271 |
272 |
273 |
275 |
276 |
277 |
279 |
280 |
281 |
283 | ||||
80 |
284 |
285 |
286 |
287 |
288 |
289 |
290 |
292 |
293 |
294 | ||||
90 |
295 |
296 |
298 |
299 |
300 |
302 |
303 |
305 |
306 |
308 | ||||
100 |
309 |
310 |
312 |
313 |
314 |
315 |
317 |
318 |
319 |
321 | ||||
110 |
322 |
323 |
325 |
326 |
327 |
329 |
330 |
332 |
333 |
335 | ||||
120 |
336 |
337 |
338 |
340 |
341 |
342 |
343 |
344 |
346 |
347 | ||||
130 |
348 |
349 |
351 |
352 |
353 |
355 |
356 |
358 |
359 |
361 | ||||
140 |
362 |
363 |
364 |
365 |
366 |
367 |
369 |
370 |
371 |
372 | ||||
150 |
373 |
374 |
375 |
376 |
378 |
379 |
380 |
381 |
383 |
384 | ||||
160 |
385 |
386 |
387 |
388 |
389 |
390 |
392 |
393 |
394 |
395 | ||||
170 |
396 |
397 |
398 |
399 |
400 |
401 |
403 |
404 |
405 |
406 | ||||
180 |
407 |
408 |
409 |
411 |
412 |
413 |
414 |
415 |
416 |
418 | ||||
190 |
419 |
420 |
421 |
423 |
424 |
425 |
426 |
427 |
429 |
.430 | ||||
200 |
431 |
432 |
433 |
434 |
436 |
437 |
438 |
439 |
441 |
442 | ||||
210 |
443 |
444 |
445 |
446 |
447 |
448 |
450 |
451 |
452 |
453 | ||||
220 |
454 |
455 |
457 |
458 |
460 |
461 |
462 |
464 |
465 |
467 | ||||
230 |
468 |
469 |
470 |
471 |
472 |
473 |
474 |
475 |
476 |
477 | ||||
240 |
478 |
479 |
480 |
482 |
483 |
484 |
485 |
486 |
488 |
489 | ||||
250 |
490 |
491 |
492 |
494 |
495 |
496 |
497 |
498 |
500 |
501 | ||||
260 |
502 |
503 |
504 |
506 |
507 |
508 |
509 |
510 |
512 |
513 | ||||
270 |
514 |
515 |
516 |
517 |
518 |
519 |
520 |
521 |
522 |
'523 | ||||
280 |
524 |
525 |
526 |
528 |
529 |
530 |
531 |
532 |
534 |
535 | ||||
290 |
536 |
537 |
538 |
540 |
541 |
542 |
543 |
544 |
545 |
547 | ||||
300 |
548 |
549 |
551 |
552 |
553 |
554 |
556 |
557 |
558 |
560 | ||||
310 |
561 |
562 |
563 |
565 |
566 |
567 |
568 |
569 |
571 |
572 | ||||
320 |
573 |
574 |
575 |
576 |
577 |
578 |
580 |
581 |
582 |
583 | ||||
330 |
584 |
585 |
586 |
587 |
588 |
589 |
591 |
592 |
593 |
594 | ||||
Таблица 6
Фактическая температура кипения при остаточном давлении 26, 6 Па (0, 20 мм рт. ст.) в °С |
0 |
1 |
2 |
3 |
4 |
5 |
6 |
7 |
8 |
9 | |||
40 |
231 |
232 |
234 |
235 |
237 |
238 |
239 |
241 |
242 |
244 | |||
50 |
245 |
246 |
247 |
248 |
250 |
251 |
252 |
253 |
255 |
256 | |||
60 |
257 |
258 |
260 |
261 |
262 |
263 |
265 |
266 |
267 |
269 | |||
70 |
270 |
271 |
272 |
274 |
275 |
276 |
277 |
278 |
280 |
281 | |||
80 |
282 |
283 |
284 |
286 |
287 |
288 |
289 |
290 |
292 |
293 | |||
90 |
294 |
295 |
296 |
298 |
299 |
300 |
302 |
303 |
304 |
306 | |||
100 |
307 |
308 |
310 |
311 |
313 |
314 |
315 |
317 |
318 |
320 | |||
110 |
321 |
322 |
324 |
325 |
327 |
328 |
329 |
331 |
332 |
334 | |||
120 |
335 |
336 |
337 |
339 |
340 |
341 |
342 |
343 |
345 |
346 | |||
130 |
347 |
348 |
350 |
351 |
353 |
354 |
355 |
357 |
358 |
360 | |||
140 |
361 |
362 |
363 |
364 |
365 |
366 |
367 |
368 |
369 |
370 | |||
150 |
371 |
372 |
374 |
375 |
376 |
378 |
379 |
380 |
381 |
383 | |||
160 |
384 |
385 |
386 |
387 |
388 |
389 |
391 |
392 |
393 |
394 | |||
170 |
395 |
396 |
397 |
398 |
399 |
401 |
402 |
403 |
404 |
405 | |||
180 |
406 |
407 |
408 |
409 |
410 |
412 |
413 |
414 |
416 |
417 | |||
190 |
418 |
419 |
420 |
422 |
423 |
424 |
425 |
426 |
428 |
429 | |||
200 |
430 |
431 |
432 |
434 |
435 |
436 |
437 |
438 |
440 |
441 | |||
210 |
442 |
443 |
444 |
445 |
446 |
447 |
449 |
450 |
451 |
452 | |||
220 |
453 |
454 |
455 |
457 |
458 |
459 |
460 |
461 |
463 |
464 | |||
230 |
465 |
466 |
467 |
469 |
470 |
471 |
472 |
473 |
475 |
476 | |||
240 |
477 |
478 |
479 |
480 |
482 |
483 |
484 |
485 |
486 |
488 | |||
250 |
489 |
490 |
491 |
493 |
494 |
495 |
496 |
497 |
499 |
500 | |||
260 |
501 |
502 |
503 |
504 |
505 |
506 |
507 |
508 |
509 |
510 | |||
270 |
511 |
512 |
513 |
515 |
516 |
517 |
518 |
519 |
521 |
522 | |||
230 |
523 |
524 |
525 |
527 |
528 |
529 |
530 |
531 |
533 |
534 | |||
290 |
535 |
536 |
537 |
539 |
540 |
541 |
542 |
543 |
545 |
546 | |||
300 |
547 |
548 |
549 |
551 |
552 |
553 |
555 |
556 |
557 |
559 | |||
310 |
560 |
561 |
562 |
564 |
565 |
566 |
567 |
568 |
569 |
571 | |||
320 |
572 |
573 |
574 |
575 |
576 |
577 |
578 |
579 |
580 |
581 | |||
330 |
582 |
583 |
584 |
585 |
586 |
587 |
589 |
590 |
591 |
592 | |||
Таблица 7
Фактическая температура кипения при остаточном давлении 0, 22 29, 3 Па (0, 22 мм рт. ст.) в °С |
0 |
1 |
2 |
3 |
4 |
5 |
6 |
7 |
8 |
9 | ||||
40 |
230 |
231 |
232 |
234 |
235 |
236 |
237 |
233 |
240 |
241 | ||||
50 |
242 |
243 |
245 |
246 |
248 |
249 |
250 |
252 |
253 |
255 | ||||
60 |
256 |
257 |
258 |
260 |
261 |
262 |
263 |
264 |
266 |
267 | ||||
70 |
268 |
269 |
271 |
272 |
273 |
274 |
276 |
277 |
278 |
280 | ||||
80 |
281 |
282 |
283 |
285 |
286 |
287 |
288 |
289 |
291 |
292 | ||||
90 |
293 |
294 |
296 |
297 |
298 |
299 |
301 |
302 |
303 |
305 | ||||
100 |
306 |
307 |
308 |
310 |
311 |
312 |
313 |
314 |
316 |
317 | ||||
110 |
318 |
319 |
321 |
322 |
324 |
326 |
327 |
329 |
330 |
332 | ||||
120 |
333 |
334 |
335 |
337 |
338 |
339 |
340 |
341 |
343 |
344 | ||||
130 |
345 |
346 |
348 |
349 |
350 |
352 |
353 |
354 |
355 |
357 | ||||
140 |
358 |
359 |
360 |
362 |
363 |
364 |
365 |
366 |
368 |
369 | ||||
150 |
370 |
371 |
372 |
373 |
374 |
375 |
377 |
378 |
379 |
380 | ||||
160 |
381 |
382 |
383 |
385 |
386 |
387 |
388 |
389 |
391 |
392 | ||||
170 |
393 |
394 |
395 |
397 |
398 |
399 |
400 |
401 |
403 |
404 | ||||
180 |
405 |
406 |
407 |
408 |
409 |
410 |
412 |
413 |
414 |
415 | ||||
190 |
416 |
417 |
419 |
420 |
421 |
423 |
424 |
425 |
426 |
428 | ||||
200 |
429 |
430 |
431 |
432 |
433 |
434 |
436 |
437 |
438 |
439 | ||||
210 |
440 |
441 |
442 |
443 |
444 |
445 |
447 |
448 |
449 |
450 | ||||
220 |
451 |
452 |
453 |
455 |
456 |
457 |
458 |
459 |
461 |
462 | ||||
230 |
463 |
464 |
465 |
467 |
468 |
469 |
470 |
471 |
473 |
474 | ||||
240 |
475 |
476 |
477 |
479 |
480 |
481 |
482 |
483 |
485 |
486 | ||||
250 |
487 |
488 |
489 |
490 |
491 |
492 |
494 |
495 |
496 |
497 | ||||
260 |
498 |
499 |
500 |
501 |
502 |
503 |
505 |
506 |
507 |
508 | ||||
270 |
509 |
510 |
512 |
513 |
514 |
515 |
516 |
517 |
519 |
520 | ||||
280 |
521 |
522 |
524 |
525 |
526 |
527 |
528 |
530 |
531 |
532 | ||||
290 |
533 |
534 |
536 |
537 |
538 |
539 |
541 |
542 |
543 |
545 | ||||
300 |
546 |
547 |
548 |
550 |
551 |
552 |
553 |
554 |
556 |
557 | ||||
310 |
558 |
559 |
560 |
562 |
563 |
564 |
565 |
566 |
568 |
569 | ||||
320 |
570 |
571 |
572 |
573 |
574 |
575 |
577 |
578 |
579 |
580 | ||||
330 |
581 |
582 |
583 |
584 |
585 |
586 |
587 |
588 |
589 |
590 | ||||
Таблица 8
Фактическая температура кипения при остаточном давлении 0, 24 32, 0 Па (0, 24 мм рт. ст.) в °С |
0 |
1 |
2 |
3 |
4 |
5 |
6 |
7 |
8 |
9 | |||||||||
40 |
228 |
229 |
231 |
232 |
233 |
234 |
236 |
237 |
238 |
240 | |||||||||
50 |
241 |
242 |
243 |
245 |
246 |
247 |
248 |
249 |
251 |
252 | |||||||||
60 |
253 |
254 |
256 |
257 |
259 |
260 |
261 |
263 |
264 |
266 | |||||||||
70 |
267 |
268 |
269 |
271 |
272 |
273 |
274 |
275 |
277 |
278 | |||||||||
80 |
279 |
280 |
281 |
283 |
284 |
285 |
286 |
287 |
289 |
290 | |||||||||
90 |
291 |
292 |
294 |
295 |
296 |
298 |
299 |
300 |
301 |
303 | |||||||||
100 |
304 |
305 |
307 |
308 |
309 |
311 |
312 |
313 |
314 |
316 | |||||||||
110 |
317 |
318 |
320 |
321 |
323 |
324 |
325 |
327 |
328 |
330 | |||||||||
120 |
331 |
332 |
333 |
335 |
336 |
337 |
338 |
339 |
341 |
342 | |||||||||
130 |
343 |
344 |
346 |
347 |
349 |
350 |
351 |
353 |
354 |
356 | |||||||||
140 |
357 |
358 |
359 |
360 |
361 |
363 |
364 |
365 |
366 |
367 | |||||||||
150 |
368 |
369 |
370 |
372 |
373 |
374 |
375 |
376 |
378 |
379 | |||||||||
160 |
380 |
381 |
382 |
384 |
385 |
386 |
387 |
388 |
390 |
391 | |||||||||
170 |
392 |
393 |
394 |
395 |
396 |
397 |
399 |
400 |
401 |
402 | |||||||||
180 |
403 |
404 |
405 |
406 |
407 |
408 |
410 |
411 |
412 |
413 | |||||||||
190 |
414 |
415 |
417 |
418 |
419 |
421 |
422 |
423 |
424 |
426 | |||||||||
200 |
427 |
428 |
429 |
431 |
432 |
433 |
434 |
435 |
437 |
438 | |||||||||
210 |
439 |
440 |
441 |
442 |
443 |
444 |
446 |
447 |
448 |
449 | |||||||||
220 |
450 |
451 |
452 |
454 |
455 |
456 |
457 |
458 |
460 |
461 | |||||||||
230 |
462 |
463 |
464 |
465 |
466 |
468 |
469 |
470 |
471 |
472 | |||||||||
240 |
473 |
474 |
476 |
477 |
478 |
480 |
481 |
482 |
483 |
485 | |||||||||
250 |
486 |
487 |
488 |
489 |
490 |
492 |
493 |
494 |
495 |
496 | |||||||||
260 |
497 |
498 |
499 |
500 |
501 |
503 |
504 |
505 |
506 |
507 | |||||||||
270 |
508 |
509 |
510 |
511 |
512 |
513 |
515 |
516 |
517 |
518 | |||||||||
280 |
519 |
520 |
521 |
523 |
524 |
525 |
526 |
527 |
529 |
530 | |||||||||
290 |
531 |
532 |
534 |
535 |
537 |
538 |
539 |
541 |
542 |
544 | |||||||||
300 |
545 |
546 |
547 |
549 |
550 |
551 |
552 |
553 |
555 |
556 | |||||||||
310 |
557 |
558 |
559 |
560 |
561 |
562 |
563 |
565 |
566 |
567 | |||||||||
320 |
568 |
569 |
570 |
572 |
573 |
574 |
575 |
576 |
578 |
579 | |||||||||
330 |
580 |
581 |
582 |
583 |
584 |
585 |
586 |
587 |
588 |
589 | |||||||||
Таблица 9
Фактическая температура кипения при остаточном давлении 34, 6 Па (0, 26 мм рт. ст.) в °С |
0 |
1 |
2 |
3 |
4 |
5 |
6 |
7 |
8 |
9 |
40 |
226 |
227 |
229 |
230 |
232 |
233 |
234 |
236 |
237 |
239 |
50 |
240 |
241 |
242 |
243 |
244 |
245 |
247 |
248 |
249 |
260 |
60 |
251 |
252 |
254 |
255 |
257 |
258 |
260 |
261 |
262 |
264 |
70 |
263 |
266 |
267 |
269 |
270 |
271 |
272 |
273 |
275 |
276 |
80 |
277 |
278 |
280 |
281 |
282 |
283 |
285 |
286 |
287 |
289 |
90 |
290 |
291 |
293 |
294 |
295 |
296 |
298 |
299 |
300 |
302 |
100 |
303 |
304 |
306 |
307 |
308 |
309 |
311 |
312 |
313 |
315 |
110 |
316 |
317 |
319 |
320 |
322 |
323 |
324 |
326 |
327 |
329 |
120 |
330 |
331 |
332 |
334 |
335 |
336 |
337 |
338 |
340 |
341 |
130 |
342 |
343 |
345 |
346 |
348 |
349 |
350 |
352 |
353 |
355 |
140 |
356 |
357 |
358 |
359 |
360 |
362 |
363 |
364 |
365 |
366 |
150 |
367 |
368 |
369 |
371 |
372 |
373 |
374 |
375 |
377 |
378 |
160 |
379 |
380 |
381 |
383 |
384 |
385 |
386 |
387 |
389 |
390 |
170 |
391 |
392 |
393 |
394 |
395 |
397 |
398 |
399 |
400 |
401 |
180 |
402 |
403 |
404 |
405 |
406 |
407 |
408 |
410 |
411 |
412 |
190 |
413 |
414 |
415 |
417 |
418 |
419 |
420 |
421 |
423 |
424 |
200 |
425 |
426 |
427 |
429 |
430 |
431 |
432 |
433 |
435 |
436 |
210 |
437 |
438 |
439 |
441 |
442 |
443 |
444 |
445 |
447 |
448 |
220 |
449 |
450 |
451 |
453 |
454 |
455 |
456 |
457 |
459 |
460 |
230 |
461 |
462 |
463 |
464 |
465 |
466 |
468 |
469 |
470 |
471 |
240 |
472 |
473 |
474 |
476 |
477 |
473 |
479 |
480 |
482 |
483 |
250 |
484 |
485 |
486 |
488 |
489 |
490 |
491 |
492 |
494 |
495 |
260 |
496 |
497 |
498 |
499 |
500 |
501 |
502 |
503 |
504 |
505 |
270 |
506 |
507 |
508 |
510 |
511 |
512 |
513 |
514 |
516 |
517 |
280 |
518 |
519 |
520 |
522 |
523 |
524 |
525 |
526 |
523 |
529 |
290 |
530 |
531 |
533 |
534 |
535 |
536 |
538 |
539 |
540 |
542 |
300 |
543 |
544 |
546 |
547 |
548 |
549 |
551 |
552 |
553 |
555 |
310 |
556 |
557 |
558 |
559 |
560 |
561 |
562 |
564 |
565 |
566 |
320 |
567 |
568 |
569 |
571 |
572 |
573 |
574 |
575 |
577 |
578 |
330 |
579 |
580 |
581 |
582 |
583 |
584 |
585 |
587 |
588 |
589 |
Таблица 10
Фактическая температура кипения при остаточном давлении 37, 2 Па (0, 28 мм рт. ст.) в °С |
0 |
1 |
2 |
3 |
4 |
5 |
6 |
7 |
8 |
9 | ||
40 |
225 |
226 |
228 |
229 |
231 |
232 |
233 |
235 |
236 |
238 | ||
50 |
239 |
240 |
241 |
242 |
243 |
244 |
246 |
247 |
248 |
249 | ||
60 |
250 |
251 |
253 |
254 |
256 |
257 |
258 |
260 |
261 |
263 | ||
70 |
264 |
265 |
266 |
268 |
269 |
270 |
271 |
272 |
274 |
275 | ||
80 |
276 |
277 |
279 |
280 |
281 |
282 |
284 |
285 |
286 |
288 | ||
90 |
289 |
290 |
292 |
293 |
294 |
295 |
297 |
298 |
299 |
301 | ||
100 |
302 |
303 |
305 |
306 |
307 |
308 |
310 |
311 |
313 |
314 | ||
110 |
315 |
316 |
318 |
319 |
321 |
322 |
323 |
325 |
326 |
328 | ||
120 |
329 |
330 |
331 |
333 |
334 |
335 |
336 |
337 |
339 |
340 | ||
130 |
341 |
342 |
344 |
345 |
347 |
348 |
350 |
351 |
352 |
354 | ||
140 |
355 |
356 |
357 |
358 |
359 |
360 |
362 |
363 |
364 |
365 | ||
150 |
366 |
367 |
368 |
370 |
371 |
372 |
373 |
374 |
376 |
377 | ||
160 |
378 |
379 |
380 |
382 |
383 |
384 |
385 |
386 |
388 |
389 | ||
170 |
390 |
391 |
392 |
393 |
394 |
395 |
397 |
398 |
399 |
400 | ||
180 |
401 |
402 |
403 |
404 |
405 |
407 |
408 |
409 |
410 |
411 | ||
190 |
412 |
413 |
414 |
415 |
417 |
418 |
419 |
420 |
422 |
423 | ||
200 |
424 |
425 |
426 |
428 |
429 |
430 |
431 |
432 |
434 |
435 | ||
210 |
436 |
437 |
438 |
440 |
441 |
442 |
443 |
444 |
446 |
447 | ||
220 |
448 |
449 |
450 |
451 |
453 |
454 |
455 |
456 |
458 |
459 | ||
230 |
460 |
461 |
462 |
463 |
464 |
465 |
467 |
468 |
469 |
470 | ||
240 |
471 |
472 |
473 |
475 |
476 |
477 |
478 |
479 |
481 |
482 | ||
250 |
483 |
484 |
485 |
486 |
488 |
489 |
490 |
491 |
493 |
494 | ||
260 |
495 |
496 |
497 |
498 |
499 |
500 |
501 |
502 |
503 |
504 | ||
270 |
505 |
506 |
507 |
509 |
510 |
511 |
512 |
513 |
515 |
516 | ||
280 |
517 |
518 |
519 |
521 |
522 |
523 |
524 |
525 |
526 |
528 | ||
290 |
529 |
530 |
532 |
533 |
534 |
535 |
537 |
538 |
539 |
541 | ||
300 |
542 |
543 |
544 |
546 |
547 |
548 |
550 |
551 |
552 |
554 | ||
310 |
555 |
556 |
557 |
558 |
559 |
560 |
562 |
563 |
564 |
565 | ||
320 |
566 |
567 |
568 |
570 |
571 |
572 |
573 |
574 |
575 |
577 | ||
330 |
578 |
579 |
580 |
581 |
582 |
583 |
584 |
585 |
586 |
587 | ||
Таблица 11
Фактическая температура кипения при остаточном давлении 40, 0 Па (0, 30 мм рт. ст.) в °С |
0 |
1 |
2 |
3 |
4 |
5 |
6 |
7 |
8 |
9 |
40 |
224 |
225 |
227 |
228 |
230 |
231 |
232 |
234 |
235 |
237 |
50 |
238 |
239 |
240 |
241 |
242 |
243 |
245 |
246 |
247 |
248 |
60 |
249 |
250 |
252 |
253 |
255 |
256 |
257 |
259 |
260 |
262 |
70 |
263 |
264 |
265 |
267 |
268 |
269 |
270 |
271 |
273 |
274 |
80 |
275 |
276 |
278 |
279 |
280 |
281 |
283 |
284 |
285 |
287 |
90 |
288 |
289 |
290 |
292 |
293 |
294 |
296 |
297 |
298 |
300 |
100 |
301 |
302 |
304 |
305 |
306 |
307 |
309 |
310 |
311 |
313 |
110 |
314 |
315 |
317 |
318 |
320 |
321 |
322 |
324 |
325 |
327 |
120 |
328 |
329 |
330 |
332 |
333 |
334 |
335 |
336 |
337 |
339 |
130 |
340 |
341 |
343 |
344 |
346 |
347 |
348 |
350 |
351 |
353 |
140 |
354 |
355 |
356 |
357 |
358 |
359 |
361 |
362 |
363 |
364 |
150 |
365 |
366 |
367 |
369 |
370 |
371 |
372 |
373 |
375 |
376 |
160 |
377 |
378 |
379 |
381 |
382 |
383 |
384 |
385 |
387 |
388 |
170 |
389 |
390 |
391 |
392 |
393 |
394 |
396 |
397 |
398 |
399 |
180 |
400 |
401 |
402 |
403 |
404 |
405 |
407 |
408 |
409 |
410 |
190 |
411 |
412 |
413 |
415 |
416 |
417 |
418 |
420 |
421 |
422 |
200 |
423 |
424 |
425 |
427 |
428 |
429 |
430 |
431 |
433 |
434 |
210 |
435 |
436 |
437 |
439 |
440 |
441 |
442 |
443 |
445 |
446 |
220 |
447 |
448 |
449 |
450 |
452 |
453 |
454 |
455 |
457 |
458 |
230 |
459 |
460 |
461 |
462 |
463 |
464 |
466 |
467 |
468 |
469 |
240 |
470 |
471 |
472 |
474 |
475 |
476 |
477 |
478 |
480 |
481 |
250 |
482 |
483 |
484 |
486 |
487 |
488 |
489 |
490 |
492 |
493 |
260 |
494 |
495 |
496 |
497 |
498 |
499 |
500 |
501 |
502 |
503 |
270 |
504 |
505 |
506 |
508 |
509 |
510 |
511 |
512 |
514 |
515 |
280 |
516 |
517 |
518 |
520 |
521 |
522 |
523 |
524 |
526 |
527 |
290 |
528 |
529 |
530 |
532 |
533 |
534 |
536 |
537 |
538 |
540 |
300 |
541 |
542 |
544 |
546 |
546 |
548 |
549 |
550 |
551 |
553 |
310 |
554 |
555 |
556 |
557 |
558 |
559 |
561 |
562 |
563 |
564 |
320 |
565 |
566 |
567 |
568 |
570 |
571 |
572 |
573 |
575 |
576 |
330 |
577 |
578 |
579 |
580 |
581 |
582 |
583 |
584 |
585 |
586 |
Таблица 12
Фактическая температура кипения при остаточном давлении 42, 6 Па (0, 32 мм рт. ст.) в °С |
0 |
1 |
2 |
3 |
4 |
5 |
6 |
7 |
8 |
9 |
40 |
223 |
224 |
226 |
227 |
229 |
230 |
231 |
233 |
234 |
236 |
50 |
237 |
238 |
239 |
240 |
241 |
242 |
244 |
245 |
246 |
247 |
60 |
248 |
249 |
251 |
252 |
254 |
255 |
256 |
258 |
259 |
261 |
70 |
262 |
263 |
264 |
266 |
267 |
268 |
269 |
270 |
272 |
273 |
80 |
274 |
275 |
277 |
278 |
279 |
280 |
282 |
283 |
284 |
286 |
90 |
287 |
288 |
290 |
291 |
292 |
294 |
295 |
296 |
297 |
299 |
100 |
300 |
301 |
303 |
304 |
305 |
306 |
308 |
309 |
310 |
312 |
110 |
313 |
314 |
316 |
317 |
319 |
320 |
321 |
323 |
324 |
326 |
120 |
327 |
328 |
329 |
331 |
332 |
333 |
334 |
335 |
337 |
338 |
130 |
339 |
340 |
342 |
343 |
345 |
346 |
347 |
349 |
350 |
352 |
140 |
353 |
354 |
355 |
356 |
357 |
358 |
360 |
361 |
362 |
363 |
150 |
364 |
365 |
366 |
368 |
369 |
370 |
371 |
372 |
374 |
375 |
160 |
376 |
377 |
378 |
380 |
381 |
382 |
383 |
384 |
386 |
387 |
170 |
388 |
389 |
390 |
391 |
392 |
393 |
396 |
396 |
397 |
398 |
180 |
399 |
400 |
401 |
402 |
403 |
405 |
406 |
407 |
408 |
409 |
190 |
410 |
411 |
412 |
414 |
415 |
416 |
417 |
418 |
420 |
421 |
200 |
422 |
423 |
424 |
426 |
427 |
428 |
429 |
430 |
432 |
433 |
210 |
434 |
435 |
436 |
438 |
439 |
440 |
441 |
442 |
444 |
445 |
220 |
446 |
447 |
448 |
450 |
451 |
452 |
453 |
454 |
456 |
457 |
230 |
458 |
459 |
460 |
461 |
462 |
464 |
465 |
466 |
467 |
468 |
240 |
469 |
470 |
471 |
473 |
474 |
475 |
476 |
477 |
479 |
480 |
250 |
481 |
482 |
483 |
485 |
486 |
487 |
488 |
489 |
491 |
492 |
260 |
493 |
494 |
495 |
496 |
497 |
498 |
499 |
500 |
501 |
502 |
270 |
503 |
504 |
505 |
507 |
508 |
509 |
510 |
511 |
513 |
514 |
280 |
515 |
516 |
517 |
519 |
520 |
521 |
522 |
523 |
525 |
526 |
290 |
527 |
528 |
530 |
531 |
532 |
534 |
535 |
536 |
538 |
539 |
300 |
540 |
541 |
543 |
544 |
545 |
547 |
548 |
549 |
550 |
552 |
310 |
553 |
554 |
555 |
556 |
557 |
558 |
560 |
561 |
562 |
563 |
320 |
564 |
565 |
566 |
568 |
569 |
570 |
571 |
572 |
574 |
575 |
330 |
576 |
577 |
578 |
579 |
580 |
581 |
582 |
583 |
584 |
585 |
Таблица 13
Фактическая температура кипения при остаточном давлении 45, 2 Па (0, 34 мм рт. ст.) в °С |
0 |
1 |
2 |
3 |
4 |
5 |
6 |
7 |
8 |
9 |
40 |
222 |
223 |
225 |
226 |
228 |
229 |
230 |
232 |
233 |
235 |
50 |
236 |
237 |
238 |
239 |
240 |
241 |
242 |
244 |
245 |
246 |
60 |
247 |
248 |
250 |
251 |
253 |
254 |
255 |
257 |
258 |
260 |
70 |
261 |
262 |
263 |
265 |
266 |
267 |
268 |
269 |
271 |
272 |
80 |
273 |
274 |
276 |
277 |
278 |
280 |
281 |
282 |
284 |
285 |
90 |
286 |
287 |
288 |
290 |
291 |
292 |
293 |
295 |
295 |
297 |
100 |
298 |
299 |
301 |
302 |
304 |
305 |
306 |
308 |
309 |
311 |
110 |
312 |
313 |
315 |
316 |
317 |
318 |
320 |
321 |
322 |
324 |
120 |
325 |
326 |
328 |
329 |
330 |
331 |
333 |
334 |
335 |
337 |
130 |
338 |
339 |
341 |
342 |
344 |
345 |
346 |
348 |
349 |
351 |
140 |
352 |
353 |
354 |
355 |
356 |
357 |
359 |
360 |
361 |
362 |
150 |
363 |
364 |
365 |
367 |
368 |
369 |
370 |
371 |
373 |
374 |
160 |
375 |
376 |
377 |
379 |
380 |
381 |
382 |
383 |
385 |
386 |
170 |
387 |
388 |
389 |
390 |
391 |
392 |
394 |
395 |
396 |
397 |
180 |
398 |
399 |
400 |
401 |
402 |
403 |
405 |
406 |
407 |
408 |
190 |
409 |
410 |
411 |
413 |
414 |
415 |
416 |
417 |
419 |
420 |
200 |
421 |
422 |
423 |
425 |
426 |
427 |
428 |
429 |
431 |
432 |
210 |
433 |
434 |
433 |
437 |
433 |
439 |
440 |
441 |
443 |
444 |
220 |
445 |
446 |
447 |
449 |
450 |
451 |
452 |
454 |
455 |
456 |
230 |
457 |
458 |
459 |
460 |
461 |
462 |
464 |
465 |
466 |
467 |
240 |
468 |
469 |
470 |
472 |
473 |
474 |
475 |
476 |
473 |
479 |
250 |
480 |
481 |
482 |
484 |
485 |
486 |
487 |
488 |
490 |
491 |
260 |
492 |
493 |
494 |
495 |
496 |
497 |
498 |
499 |
500 |
501 |
270 |
502 |
503 |
504 |
506 |
507 |
508 |
509 |
510 |
512 |
513 |
280 |
514 |
515 |
516 |
518 |
519 |
520 |
521 |
522 |
523 |
525 |
290 |
526 |
527 |
529 |
530 |
531 |
532 |
534 |
535 |
535 |
533 |
300 |
539 |
540 |
542 |
543 |
544 |
546 |
547 |
548 |
550 |
551 |
310 |
552 |
553 |
554 |
555 |
556 |
557 |
558 |
560 |
561 |
562 |
320 |
563 |
564 |
565 |
567 |
568 |
569 |
570 |
571 |
573 |
574 |
330 |
575 |
576 |
577 |
578 |
579 |
579 |
580 |
581 |
582 |
583 |
Таблица 14
Фактическая температура кипения при остаточном давлении 47, 8 Па (0, 36 мм рт. ст.) в °С |
0 |
1 |
2 |
3 |
4 |
5 |
6 |
7 |
8 |
9 |
40 |
221 |
222 |
224 |
225 |
226 |
228 |
229 |
231 |
232 |
234 |
50 |
235 |
236 |
237 |
238 |
239 |
240 |
241 |
243 |
244 |
245 |
60 |
246 |
247 |
249 |
250 |
252 |
253 |
254 |
256 |
257 |
259 |
70 |
260 |
261 |
262 |
263 |
265 |
266 |
267 |
268 |
270 |
271 |
80 |
272 |
273 |
275 |
276 |
277 |
278 |
280 |
281 |
282 |
284 |
90 |
285 |
286 |
287 |
289 |
290 |
291 |
292 |
293 |
295 |
296 |
100 |
297 |
298 |
300 |
301 |
303 |
304 |
305 |
307 |
308 |
310 |
110 |
311 |
312 |
314 |
315 |
316 |
318 |
319 |
320 |
321 |
323 |
120 |
324 |
325 |
327 |
328 |
329 |
330 |
332 |
333 |
334 |
336 |
130 |
337 |
338 |
340 |
341 |
343 |
344 |
345 |
347 |
348 |
350 |
140 |
351 |
352 |
353 |
354 |
356 |
357 |
358 |
359 |
360 |
361 |
150 |
362 |
363 |
364 |
366 |
367 |
368 |
369 |
370 |
372 |
373 |
160 |
374 |
375 |
376 |
378 |
379 |
380 |
381 |
382 |
384 |
385 |
170 |
386 |
387 |
388 |
389 |
390 |
392 |
396 |
394 |
395 |
396 |
180 |
397 |
398 |
399 |
400 |
401 |
402 |
404 |
405 |
406 |
407 |
190 |
408 |
409 |
410 |
412 |
413 |
414 |
415 |
416 |
418 |
419 |
200 |
420 |
421 |
422 |
424 |
425 |
426 |
427 |
428 |
430 |
431 |
210 |
432 |
433 |
434 |
436 |
437 |
438 |
439 |
440 |
442 |
443 |
220 |
444 |
445 |
446 |
448 |
449 |
450 |
451 |
452 |
454 |
455 |
230 |
456 |
457 |
458 |
459 |
460 |
461 |
463 |
464 |
465 |
466 |
240 |
467 |
468 |
469 |
471 |
472 |
473 |
474 |
476 |
477 |
478 |
250 |
479 |
480 |
481 |
482 |
484 |
485 |
486 |
487 |
489 |
490 |
260 |
491 |
492 |
493 |
494 |
495 |
496 |
497 |
498 |
499 |
500 |
270 |
501 |
502 |
503 |
505 |
506 |
507 |
508 |
509 |
511 |
512 |
280 |
513 |
514 |
515 |
516 |
518 |
519 |
520 |
521 |
522 |
524 |
290 |
525 |
526 |
527 |
529 |
530 |
531 |
533 |
534 |
535 |
537 |
300 |
538 |
539 |
540 |
542 |
543 |
544 |
546 |
547 |
548 |
550 |
310 |
551 |
552 |
553 |
554 |
555 |
556 |
557 |
559 |
560 |
561 |
320 |
562 |
563 |
564 |
566 |
567 |
568 |
569 |
570 |
572 |
573 |
330 |
574 |
575 |
576 |
577 |
578 |
578 |
579 |
580 |
581 |
582 |
Таблица 15
Фактическая температура кипения при остаточном давлении 50, 5 Па (0, 38 мм рт. ст.) в °С |
0 |
1 |
2 |
3 |
4 |
5 |
6 |
7 |
8 |
9 |
40 |
220 |
221 |
223 |
224 |
225 |
227 |
228 |
230 |
231 |
233 |
50 |
234 |
235 |
236 |
237 |
238 |
239 |
241 |
242 |
243 |
244 |
60 |
245 |
246 |
248 |
249 |
250 |
252 |
253 |
255 |
256 |
258 |
70 |
259 |
260 |
261 |
262 |
264 |
265 |
266 |
267 |
268 |
270 |
80 |
271 |
272 |
274 |
275 |
276 |
277 |
279 |
280 |
281 |
283 |
90 |
284 |
285 |
286 |
287 |
289 |
290 |
291 |
292 |
294 |
295 |
100 |
296 |
297 |
299 |
300 |
301 |
303 |
304 |
306 |
307 |
309 |
110 |
310 |
311 |
313 |
314 |
315 |
316 |
318 |
319 |
320 |
322 |
120 |
323 |
324 |
326 |
327 |
328 |
329 |
331 |
332 |
333 |
335 |
130 |
336 |
337 |
339 |
340 |
342 |
343 |
344 |
346 |
347 |
349 |
140 |
350 |
351 |
352 |
353 |
354 |
355 |
357 |
358 |
359 |
360 |
150 |
361 |
362 |
363 |
365 |
366 |
367 |
368 |
369 |
371 |
372 |
160 |
373 |
374 |
375 |
377 |
378 |
379 |
380 |
381 |
383 |
384 |
170 |
385 |
386 |
387 |
388 |
389 |
390 |
391 |
393 |
394 |
395 |
180 |
396 |
397 |
398 |
399 |
400 |
401 |
402 |
404 |
405 |
406 |
190 |
407 |
408 |
409 |
411 |
412 |
413 |
414 |
415 |
417 |
418 |
200 |
419 |
420 |
421 |
423 |
424 |
425 |
426 |
427 |
429 |
430 |
210 |
431 |
432 |
433 |
435 |
436 |
437 |
438 |
439 |
441 |
442 |
220 |
443 |
444 |
445 |
447 |
448 |
449 |
450 |
451 |
453 |
454 |
230 |
455 |
456 |
457 |
458 |
459 |
460 |
462 |
463 |
464 |
465 |
240 |
466 |
467 |
468 |
470 |
471 |
472 |
473 |
474 |
476 |
477 |
250 |
478 |
479 |
480 |
482 |
483 |
484 |
485 |
486 |
488 |
489 |
260 |
490 |
491 |
492 |
493 |
494 |
495 |
496 |
497 |
498 |
499 |
270 |
500 |
501 |
502 |
504 |
505 |
506 |
507 |
508 |
510 |
511 |
280 |
512 |
513 |
514 |
516 |
517 |
518 |
519 |
520 |
522 |
523 |
290 |
524 |
525 |
527 |
528 |
529 |
530 |
532 |
533 |
534 |
536 |
300 |
537 |
538 |
540 |
541 |
542 |
543 |
545 |
546 |
547 |
549 |
310 |
550 |
551 |
552 |
553 |
554 |
556 |
557 |
558 |
559 |
560 |
320 |
561 |
563 |
563 |
565 |
566 |
567 |
568 |
570 |
571 |
572 |
330 |
573 |
574 |
575 |
576 |
577 |
578 |
579 |
580 |
581 |
582 |
Таблица 16
Фактическая температура кипения при остаточном давлении 53, 2 Па (0, 40 мм рт. ст.) в °С |
0 |
1 |
2 |
3 |
4 |
5 |
6 |
7 |
8 |
9 |
40 |
219 |
220 |
222 |
223 |
225 |
226 |
227 |
229 |
230 |
232 |
50 |
233 |
234 |
235 |
236 |
237 |
238 |
239 |
241 |
242 |
243 |
60 |
244 |
245 |
247 |
248 |
250 |
251 |
252 |
254 |
255 |
257 |
70 |
258 |
259 |
260 |
261 |
263 |
264 |
265 |
266 |
268 |
269 |
80 |
270 |
271 |
272 |
274 |
275 |
276 |
278 |
279 |
280 |
282 |
90 |
283 |
284 |
285 |
287 |
288 |
289 |
290 |
291 |
293 |
294 |
100 |
295 |
296 |
298 |
299 |
300 |
302 |
303 |
305 |
306 |
308 |
110 |
309 |
310 |
311 |
313 |
314 |
315 |
317 |
318 |
319 |
321 |
120 |
322 |
323 |
325 |
326 |
327 |
328 |
330 |
331 |
332 |
334 |
130 |
335 |
336 |
338 |
339 |
340 |
342 |
343 |
345 |
346 |
348 |
140 |
349 |
350 |
351 |
352 |
353 |
354 |
355 |
357 |
358 |
359 |
150 |
360 |
361 |
362 |
363 |
365 |
366 |
367 |
368 |
369 |
371 |
160 |
372 |
373 |
374 |
376 |
377 |
378 |
379 |
380 |
382 |
383 |
170 |
384 |
385 |
386 |
387 |
388 |
389 |
390 |
392 |
393 |
394 |
180 |
395 |
396 |
397 |
398 |
399 |
400 |
402 |
403 |
404 |
405 |
190 |
406 |
407 |
408 |
409 |
411 |
412 |
413 |
414 |
416 |
417 |
200 |
418 |
419 |
420 |
421 |
423 |
424 |
425 |
426 |
428 |
429 |
210 |
430 |
431 |
432 |
434 |
435 |
436 |
437 |
438 |
440 |
441 |
220 |
442 |
443 |
444 |
445 |
447 |
448 |
449 |
450 |
452 |
453 |
230 |
454 |
455 |
456 |
457 |
458 |
459 |
460 |
462 |
463 |
464 |
240 |
465 |
466 |
467 |
468 |
470 |
471 |
472 |
473 |
475 |
476 |
250 |
477 |
478 |
479 |
480 |
482 |
483 |
484 |
485 |
487 |
488 |
260 |
489 |
490 |
491 |
492 |
493 |
494 |
495 |
496 |
497 |
498 |
270 |
499 |
500 |
501 |
503 |
504 |
505 |
506 |
507 |
509 |
510 |
280 |
511 |
512 |
513 |
515 |
516 |
517 |
518 |
519 |
521 |
522 |
290 |
523 |
524 |
526 |
527 |
528 |
529 |
531 |
532 |
533 |
535 |
300 |
536 |
537 |
538 |
540 |
541 |
542 |
544 |
545 |
546 |
548 |
310 |
549 |
550 |
551 |
552 |
553 |
554 |
555 |
557 |
558 |
559 |
320 |
560 |
561 |
562 |
564 |
565 |
566 |
567 |
568 |
570 |
571 |
330 |
572 |
573 |
574 |
575 |
576 |
577 |
578 |
579 |
580 |
581 |
Таблица 17
Фактическая температура кипения при остаточном давлении 55, 8 Па (0, 42 мм рт. ст.) в °С |
0 |
1 |
2 |
3 |
4 |
5 |
6 |
7 |
8 |
9 |
40 |
218 |
219 |
221 |
222 |
224 |
225 |
226 |
228 |
229 |
231 |
50 |
232 |
233 |
234 |
235 |
236 |
237 |
239 |
240 |
241 |
242 |
60 |
243 |
244 |
246 |
247 |
248 |
250 |
251 |
253 |
254 |
256 |
70 |
257 |
258 |
259 |
261 |
262 |
263 |
264 |
265 |
267 |
268 |
80 |
269 |
270 |
272 |
273 |
274 |
276 |
277 |
278 |
280 |
281 |
90 |
282 |
283 |
284 |
286 |
287 |
288 |
289 |
290 |
292 |
293 |
100 |
294 |
295 |
297 |
298 |
300 |
301 |
302 |
304 |
305 |
307 |
110 |
308 |
309 |
310 |
312 |
313 |
314 |
316 |
317 |
318 |
320 |
120 |
321 |
322 |
323 |
325 |
326 |
327 |
329 |
330 |
331 |
333 |
130 |
334 |
335 |
337 |
338 |
340 |
341 |
342 |
344 |
345 |
347 |
140 |
348 |
349 |
350 |
351 |
352 |
354 |
355 |
356 |
357 |
358 |
150 |
359 |
360 |
362 |
363 |
364 |
365 |
366 |
367 |
369 |
370 |
160 |
371 |
372 |
373 |
375 |
376 |
377 |
378 |
379 |
381 |
382 |
170 |
383 |
384 |
385 |
386 |
387 |
388 |
390 |
391 |
392 |
393 |
180 |
394 |
395 |
396 |
397 |
398 |
400 |
401 |
402 |
403 |
404 |
190 |
405 |
406 |
407 |
408 |
410 |
411 |
412 |
413 |
415 |
416 |
200 |
417 |
418 |
419 |
421 |
422 |
423 |
424 |
426 |
427 |
428 |
210 |
429 |
430 |
431 |
433 |
434 |
435 |
436 |
437 |
439 |
440 |
220 |
441 |
442 |
443 |
445 |
446 |
447 |
448 |
449 |
451 |
452 |
230 |
453 |
454 |
455 |
456 |
457 |
458 |
460 |
461 |
462 |
463 |
240 |
464 |
465 |
466 |
468 |
469 |
470 |
471 |
472 |
474 |
475 |
250 |
476 |
477 |
478 |
480 |
481 |
482 |
483 |
484 |
486 |
487 |
260 |
488 |
489 |
490 |
491 |
492 |
493 |
494 |
495 |
496 |
497 |
270 |
498 |
499 |
500 |
502 |
503 |
504 |
505 |
506 |
508 |
509 |
280 |
510 |
511 |
512 |
514 |
515 |
516 |
517 |
518 |
520 |
521 |
290 |
522 |
523 |
524 |
526 |
527 |
528 |
530 |
531 |
532 |
534 |
300 |
535 |
536 |
538 |
539 |
540 |
542 |
543 |
544 |
546 |
547 |
310 |
548 |
549 |
550 |
551 |
552 |
554 |
555 |
556 |
557 |
558 |
320 |
559 |
560 |
561 |
563 |
564 |
565 |
566 |
568 |
569 |
570 |
330 |
571 |
572 |
573 |
574 |
575 |
576 |
577 |
573 |
579 |
580 |
Таблица 18
Фактическая температура кипения при остаточном давлении 58, 5 Па (0, 44 мм рт. ст.) в °С |
0 |
1 |
2 |
3 |
4 |
5 |
6 |
7 |
8 |
9 |
40 |
217 |
218 |
220 |
221 |
222 |
224 |
225 |
227 |
228 |
230 |
50 |
231 |
232 |
233 |
234 |
235 |
236 |
238 |
239 |
240 |
241 |
60 |
242 |
243 |
245 |
246 |
247 |
249 |
250 |
252 |
253 |
255 |
70 |
256 |
257 |
258 |
260 |
261 |
262 |
263 |
264 |
266 |
267 |
80 |
268 |
269 |
271 |
272 |
273 |
274 |
276 |
277 |
278 |
280 |
90 |
281 |
282 |
283 |
285 |
286 |
287 |
288 |
289 |
291 |
292 |
100 |
293 |
294 |
296 |
297 |
298 |
300 |
301 |
303 |
304 |
306 |
110 |
307 |
308 |
310 |
311 |
312 |
313 |
315 |
316 |
317 |
319 |
120 |
320 |
321 |
322 |
324 |
325 |
326 |
328 |
329 |
330 |
332 |
130 |
333 |
334 |
336 |
337 |
339 |
340 |
341 |
343 |
344 |
346 |
140 |
347 |
348 |
349 |
350 |
351 |
352 |
354 |
355 |
356 |
357 |
150 |
358 |
359 |
360 |
362 |
363 |
364 |
365 |
366 |
368 |
369 |
160 |
370 |
371 |
372 |
373 |
375 |
376 |
377 |
378 |
380 |
381 |
170 |
382 |
383 |
384 |
385 |
386 |
387 |
389 |
390 |
391 |
392 |
180 |
393 |
394 |
395 |
396 |
397 |
398 |
400 |
401 |
402 |
403 |
190 |
404 |
405 |
405 |
407 |
409 |
410 |
411 |
412 |
414 |
415 |
200 |
416 |
417 |
418 |
420 |
421 |
422 |
423 |
424 |
426 |
427 |
210 |
428 |
429 |
430 |
432 |
433 |
434 |
435 |
436 |
438 |
439 |
220 |
440 |
441 |
442 |
444 |
445 |
446 |
447 |
448 |
450 |
451 |
230 |
452 |
453 |
454 |
455 |
456 |
.457 |
459 |
460 |
461 |
462 |
240 |
463 |
464 |
465 |
467 |
468 |
469 |
470 |
471 |
473 |
474 |
250 |
475 |
476 |
477 |
479 |
480 |
481 |
482 |
483 |
485 |
486 |
260 |
487 |
488 |
489 |
490 |
491 |
492 |
493 |
494 |
495 |
496 |
270 |
497 |
498 |
499 |
500 |
502 |
503 |
504 |
505 |
507 |
508 |
280 |
509 |
510 |
511 |
513 |
514 |
515 |
516 |
517 |
519 |
520 |
290 |
521 |
522 |
524 |
525 |
526 |
527 |
529 |
530 |
531 |
533 |
300 |
534 |
535 |
536 |
538 |
539 |
540 |
542 |
543 |
544 |
546 |
310 |
547 |
548 |
549 |
550 |
551 |
552 |
554 |
555 |
556 |
557 |
320 |
558 |
559 |
560 |
562 |
563 |
564 |
565 |
566 |
568 |
569 |
330 |
570 |
571 |
572 |
573 |
574 |
575 |
576 |
577 |
578 |
579 |
Таблица 19
Фактическая температура кипения при остаточном давлении 61, 2 Па (0, 46 мм рт. ст.) в °С |
0 |
1 |
2 |
3 |
4 |
5 |
6 |
7 |
8 |
9 |
40 |
216 |
217 |
219 |
220 |
222 |
223 |
224 |
226 |
227 |
229 |
50 |
230 |
231 |
232 |
233 |
235 |
236 |
237 |
238 |
239 |
240 |
60 |
241 |
242 |
244 |
245 |
247 |
248 |
249 |
251 |
252 |
254 |
70 |
255 |
256 |
257 |
259 |
260 |
261 |
262 |
263 |
265 |
266 |
80 |
267 |
268 |
270 |
271 |
272 |
274 |
275 |
276 |
277 |
279 |
90 |
280 |
281 |
282 |
284 |
285 |
286 |
287 |
288 |
290 |
291 |
100 |
292 |
293 |
295 |
296 |
298 |
299 |
300 |
302 |
303 |
305 |
110 |
306 |
307 |
308 |
310 |
311 |
312 |
314 |
315 |
316 |
318 |
120 |
319 |
320 |
322 |
323 |
324 |
326 |
327 |
328 |
330 |
331 |
130 |
332 |
333 |
334 |
335 |
337 |
338 |
340 |
342 |
343 |
345 |
140 |
346 |
347 |
348 |
349 |
350 |
351 |
353 |
354 |
355 |
356 |
150 |
357 |
358 |
359 |
360 |
362 |
363 |
364 |
365 |
367 |
368 |
160 |
369 |
370 |
371 |
372 |
374 |
375 |
376 |
377 |
378 |
380 |
170 |
381 |
382 |
383 |
384 |
385 |
386 |
387 |
389 |
390 |
391 |
180 |
392 |
393 |
394 |
395 |
396 |
397 |
399 |
400 |
401 |
402 |
190 |
403 |
404 |
405 |
407 |
408 |
409 |
410 |
411 |
413 |
414 |
200 |
415 |
416 |
417 |
419 |
420 |
421 |
422 |
423 |
425 |
426 |
210 |
427 |
428 |
429 |
431 |
432 |
433 |
434 |
435 |
437 |
438 |
220 |
439 |
440 |
441 |
443 |
444 |
445 |
446 |
447 |
449 |
450 |
230 |
451 |
452 |
453 |
454 |
455 |
457 |
458 |
459 |
460 |
461 |
240 |
462 |
463 |
464 |
466 |
467 |
468 |
469 |
470 |
472 |
473 |
250 |
474 |
475 |
476 |
478 |
479 |
480 |
481 |
482 |
484 |
485 |
260 |
486 |
487 |
488 |
489 |
490 |
491 |
492 |
493 |
494 |
495 |
270 |
496 |
497 |
498 |
500 |
501 |
502 |
503 |
504 |
506 |
507 |
280 |
508 |
509 |
510 |
512 |
513 |
514 |
515 |
517 |
518 |
519 |
290 |
520 |
521 |
523 |
524 |
525 |
527 |
528 |
529 |
531 |
532 |
300 |
533 |
534 |
536 |
537 |
538 |
540 |
541 |
542 |
543 |
545 |
310 |
546 |
547 |
548 |
549 |
550 |
551 |
553 |
554 |
555 |
556 |
320 |
557 |
558 |
559 |
561 |
562 |
563 |
564 |
565 |
567 |
568 |
330 |
569 |
570 |
571 |
572 |
573 |
574 |
575 |
576 |
577 |
578 |
Таблица 20
Фактическая температура кипения при остаточном давлении 63, 8 Па (0, 48 мм рт. ст.) в °С |
0 |
1 |
2 |
3 |
4 |
5 |
6 |
7 |
8 |
9 |
40 |
215 |
216 |
218 |
219 |
220 |
222 |
223 |
225 |
226 |
228 |
50 |
229 |
230 |
231 |
232 |
233 |
235 |
236 |
237 |
238 |
239 |
60 |
240 |
241 |
243 |
244 |
246 |
247 |
248 |
250 |
251 |
253 |
70 |
254 |
255 |
256 |
258 |
259 |
260 |
261 |
262 |
264 |
265 |
80 |
266 |
267 |
269 |
270 |
271 |
272 |
274 |
275 |
276 |
278 |
90 |
279 |
280 |
281 |
283 |
284 |
285 |
286 |
287 |
289 |
290 |
100 |
291 |
292 |
294 |
295 |
297 |
298 |
299 |
301 |
302 |
304 |
110 |
305 |
306 |
308 |
309 |
310 |
312 |
313 |
314 |
315 |
317 |
120 |
318 |
319 |
321 |
322 |
323 |
324 |
326 |
327 |
328 |
330 |
130 |
331 |
332 |
334 |
335 |
337 |
338 |
339 |
341 |
342 |
344 |
140 |
345 |
346 |
347 |
348 |
349 |
350 |
352 |
353 |
354 |
355 |
150 |
356 |
357 |
358 |
360 |
361 |
362 |
363 |
364 |
366 |
367 |
160 |
368 |
369 |
370 |
372 |
373 |
374 |
375 |
376 |
378 |
379 |
170 |
380 |
381 |
382 |
383 |
384 |
385 |
387 |
388 |
389 |
390 |
180 |
391 |
392 |
393 |
394 |
395 |
397 |
398 |
399 |
400 |
401 |
190 |
402 |
403 |
404 |
406 |
407 |
408 |
409 |
410 |
412 |
413 |
200 |
414 |
415 |
416 |
418 |
419 |
420 |
421 |
422 |
424 |
425 |
210 |
426 |
427 |
428 |
430 |
431 |
432 |
433 |
434 |
436 |
437 |
220 |
438 |
439 |
440 |
442 |
443 |
444 |
445 |
446 |
448 |
449 |
230 |
450 |
451 |
452 |
453 |
454 |
456 |
457 |
458 |
459 |
460 |
240 |
461 |
462 |
463 |
465 |
466 |
467 |
468 |
469 |
471 |
472 |
250 |
473 |
474 |
475 |
477 |
478 |
479 |
480 |
481 |
483 |
484 |
260 |
485 |
486 |
487 |
488 |
489 |
490 |
491 |
492 |
493 |
494 |
270 |
495 |
496 |
497 |
499 |
500 |
501 |
502 |
503 |
505 |
506 |
280 |
507 |
508 |
509 |
511 |
512 |
513 |
514 |
516 |
517 |
518 |
290 |
519 |
520 |
522 |
523 |
524 |
526 |
527 |
528 |
529 |
531 |
300 |
532 |
533 |
535 |
536 |
537 |
538 |
540 |
541 |
542 |
544 |
310 |
545 |
546 |
547 |
548 |
549 |
551 |
552 |
553 |
554 |
555 |
320 |
556 |
557 |
558 |
560 |
561 |
562 |
563 |
564 |
566 |
567 |
330 |
568 |
569 |
570 |
571 |
572 |
573 |
574 |
575 |
576 |
577 |
Таблица 21
Фактическая температура кипения при остаточном давлении 66, 5 Па (0, 50 мм рт. ст.) в °С |
0 |
1 |
2 |
3 |
4 |
5 |
6 |
7 |
8 |
9 |
40 |
214 |
215 |
217 |
218 |
220 |
221 |
222 |
224 |
225 |
227 |
50 |
228 |
229 |
230 |
231 |
232 |
233 |
235 |
236 |
237 |
238 |
60 |
239 |
240 |
242 |
243 |
245 |
246 |
247 |
249 |
250 |
252 |
70 |
253 |
254 |
255 |
257 |
258 |
259 |
260 |
261 |
263 |
264 |
80 |
265 |
266 |
268 |
269 |
270 |
271 |
273 |
274 |
275 |
277 |
90 |
278 |
279 |
280 |
282 |
283 |
284 |
285 |
286 |
288 |
289 |
100 |
290 |
291 |
293 |
294 |
296 |
297 |
298 |
300 |
301 |
303 |
110 |
304 |
305 |
307 |
308 |
309 |
311 |
312 |
313 |
314 |
316 |
120 |
317 |
318 |
320 |
321 |
322 |
324 |
325 |
326 |
327 |
329 |
130 |
330 |
331 |
333 |
334 |
336 |
337 |
338 |
340 |
341 |
343 |
140 |
344 |
345 |
346 |
347 |
348 |
349 |
351 |
352 |
353 |
354 |
150 |
355 |
356 |
357 |
359 |
360 |
361 |
362 |
364 |
365 |
366 |
160 |
367 |
368 |
369 |
370 |
372 |
373 |
374 |
375 |
377 |
378 |
170 |
379 |
380 |
381 |
382 |
383 |
385 |
386 |
387 |
353 |
389 |
180 |
390 |
391 |
392 |
393 |
394 |
396 |
397 |
398 |
399 |
400 |
190 |
401 |
402 |
403 |
405 |
406 |
407 |
408 |
409 |
411 |
412 |
200 |
413 |
414 |
415 |
417 |
418 |
419 |
420 |
421 |
423 |
424 |
210 |
425 |
426 |
427 |
429 |
430 |
431 |
432 |
433 |
435 |
436 |
220 |
437 |
438 |
439 |
441 |
442 |
443 |
444 |
446 |
447 |
448 |
230 |
449 |
450 |
451 |
452 |
453 |
455 |
456 |
457 |
458 |
459 |
240 |
460 |
461 |
462 |
464 |
465 |
466 |
467 |
468 |
470 |
471 |
250 |
472 |
473 |
474 |
476 |
476 |
477 |
478 |
479 |
480 |
481 |
260 |
482 |
483 |
484 |
486 |
487 |
488 |
489 |
490 |
492 |
493 |
270 |
494 |
495 |
496 |
498 |
499 |
500 |
501 |
502 |
504 |
505 |
280 |
506 |
507 |
508 |
510 |
511 |
512 |
513 |
515 |
516 |
517 |
290 |
518 |
519 |
521 |
522 |
523 |
525 |
526 |
527 |
528 |
530 |
300 |
531 |
532 |
534 |
535 |
536 |
537 |
539 |
540 |
541 |
543 |
310 |
544 |
545 |
546 |
547 |
548 |
550 |
551 |
552 |
553 |
554 |
320 |
555 |
556 |
557 |
559 |
560 |
561 |
562 |
563 |
565 |
566 |
330 |
567 |
568 |
569 |
570 |
571 |
572 |
573 |
574 |
575 |
576 |
(Измененная редакция, Изм. N 3).