Утв. Постановлением Госстандарта СССР от 1 сентября 1988 г. N 3095
Государственный стандарт Союза ССР ГОСТ 18396-88
"ПАТРОНЫ ДЛЯ ЛЮМИНЕСЦЕНТНЫХ ЛАМП И СТАРТЕРОВ. ТЕХНИЧЕСКИЕ УСЛОВИЯ"
С изменениями:
(4 мая 1990 г.)
Lampholders for luminescent lamps and starters. Specifications
Срок действия установлен с 1 января 1990 г. до 1 января 1992 г.
Ограничение срока действия снято в 1992 г.
Взамен ГОСТ 18396-73
Настоящий стандарт распространяется на патроны для люминесцентных ламп с цоколями типов G5, G13 и G10q по ГОСТ 17100-79 и на патроны для стартеров по ГОСТ 8799-75 (в дальнейшем - патроны), предназначенные для эксплуатации в электрических цепях переменного тока с номинальным напряжением 220 В и номинальной частоты 50 или 60 Гц, изготовляемые для нужд народного хозяйства и для экспорта. Виды климатического исполнения УХЛ2, УХЛ4, Т2 и 04 по ГОСТ 15150-69.
1. Технические требования
1.1. Патроны должны удовлетворять всем требованиям ГОСТ 361-85 и требованиям, изложенным в соответствующих разделах настоящего стандарта и изготовляться по конструкторской и технологической документации и образцам, утвержденным в установленном порядке.
1.2. Основные параметры и размеры
1.2.1. Типы и основные параметры патронов должны соответствовать указанным в таблице.
|
Обозначение типа патрона
|
Номинальный ток, А
|
Код ОКП
|
Номер чертежа
|
Обозначение основного
конструкторского
документа
|
Масса, кг, не более
|
Краткая характеристика
|
|
С5Л-02 УХЛ4
|
1
|
34 6413 2201
|
1
|
ЗКР.560.115
|
0,050
|
Патрон стоечный для ламп с цоколем G5, устанавливаемых вращением лампы, с безвинтовыми пружинными контактными зажимами
|
|
С5Л-02 УХЛ4 Экспорт
| |
34 6413 2202
| | | |
|
С5Л-02 04 Экспорт
| |
34 6413 2203
| | | |
|
С13Л-05 УХЛ4
|
2
|
34 6413 2101
|
2
|
ИНЮЯ.675.772-002
|
0,010
|
Патрон стоечный для ламп с цоколем G13, устанавливаемых вращением лампы, с безвинтовыми пружинными контактными зажимами
|
|
С13Л-05 УХЛ4 Экспорт
| |
34 6413 2102
| | | |
|
С13Л-05 04 Экспорт
| |
31 6413 2103
| | | |
|
СР13Л-01 УХЛ4
|
2
|
34 6413 2104
|
2
|
ЗКР.560.071
|
0,010
|
Патрон стоечный для светонаправляющих ламп с цоколем G13, устанавливаемых вращением лампы, с безвинтовыми пружинными контактными зажимами
|
|
СР13Л-01 УХЛ4 Экспорт
| |
34 6413 2105
| | | |
|
СР13Л-01 04 Экспорт
| |
34 6413 2106
| | | |
|
Т5Л-05 УХЛ4
|
1
|
34 6413 3201
|
3
|
127.000
|
0.005
|
Патрон торцевой для ламп с цоколем G5, устанавливаемых вращением лампы, с безвинтовыми пружинными контактными зажимами
|
|
Т5Л-05 УХЛ4 Экспорт
| |
34 6413 3202
| | | |
|
Т5Л-05 04 Экспорт
| |
34 6413 3203
| | | |
|
Т5ЛК-02 УХЛ4
|
1
|
34 6413 3204
|
4
|
127.000
|
0,007
|
Патрон торцевой для ламп с цоколем G5, устанавливаемых вращением лампы, с безвинтовыми пружинными контактными зажимами
|
|
Т5ЛК-02 УХЛ4 Экспорт
| |
34 6413 3205
| | | |
|
Т5ЛК-02 04 Экспорт
| |
34 6413 3206
| | | |
|
Т13Л-01 УХЛ4
|
2
|
34 6413 3101
|
5
|
ИКАС.675.746.007
|
0,014
|
Патрон торцевой для ламп с цоколем G13, устанавливаемых вращением лампы, с винтовыми контактными зажимами
|
|
Т13Л-01 УХЛ4 Экспорт
| |
34 6413 3102
| | | |
|
Т13Л-01 04 Экспорт
| |
34 6413 3103
| | | |
|
Т13Л-02 УХЛ4
|
2
|
34 6413 3104
|
5
|
ИКАС.675.746.011
|
0,012
|
Патрон торцевой для ламп с цоколем G13, устанавливаемых вращением лампы, с безвинтовыми пружинными контактными зажимами
|
|
Т13Л-02 УХЛ4 Экспорт
| |
34 6413 3105
| | | |
|
Т13Л-02 04 Экспорт
| |
34 6413 3106
| | | |
|
Т13Л-04 УХ Л4
|
2
|
34 6413 3107
|
6
|
ЗКР.560.120
|
0,012
|
Патрон торцевой для ламп с цоколем G13, устанавливаемых вращением лампы, с безвинтовыми пружинными контактными зажимами
|
|
Т13Л-04 УХЛ4 Экспорт
| |
31 6413 3108
| | | |
|
Т13Л-04 04 Экспорт
| |
34 6413 3109
| | | |
|
Т13ЛК-01 УХЛ4
|
2
|
34 6413 3111
|
7
|
ИКАС.675.746.007
|
0,016
|
Патрон торцевой для ламп с цоколем G13, устанавливаемых вращением лампы, с винтовыми контактными зажимами
|
|
Т13ЛК-01 УХЛ4 Экспорт
| |
34 6413 3112
| | | |
|
Т13ЛК-01 04 Экспорт
| |
34 6413 3113
| | | |
|
Т13ЛК-02 УХЛ4
|
2
|
34 6413 3114
|
7
|
ИКАС.675.746.011
|
0,013
|
Патрон торцевой для ламп с цоколем G13, устанавливаемых вращением лампы, с безвинтовыми пружинными контактными зажимами
|
|
Т13ЛК-02 УХЛ4 Экспорт
| |
34 6413 3115
| | | |
|
Т13ЛК-02 04 Экспорт
| |
34 6413 3116
| | | |
|
Т13ЛК-04 УХЛ4
|
2
|
34 6413 3117
|
8
|
ИКАС.675.746.010
|
0,013
|
Патрон торцевой для ламп с цоколем G13, устанавливаемых вращением лампы, с безвинтовыми пружинными контактными зажимами
|
|
Т13ЛК-04 УХЛ4 Экспорт
| |
34 6413 3118
| | | |
|
Т13ЛК-04 04 Экспорт
| |
34 6413 3119
| | | |
|
ТР13Л-01 УХЛ4
|
2
|
34 6413 3121
|
9
|
ЗКР.560.040
|
0,012
|
Патрон торцевой для светонаправляющих ламп с цоколем G13, устанавливаемых вращением лампы, с винтовыми контактными зажимами
|
|
ТР13Л-01 УХЛ4 Экспорт
| |
34 6413 3122
| | | |
|
ТР13Л-01 04 Экспорт
| |
31 6413 3123
| | | |
|
ТР13ЛК-01 УХЛ4
|
2
|
34 6413 3124
|
10
|
ЗКР.560.038
|
0,014
|
Патрон торцевой для светонаправляющих ламп с цоколем G13, устанавливаемых вращением лампы, с винтовыми контактными зажимами
|
|
ТР13ЛК-01 УХЛ4 Экспорт
| |
34 6413 3125
| | | |
|
ТР13ЛК-01 04 Экспорт
| |
34 6413 3126
| | | |
|
ТУ13ЛЦ-02 УХЛ4
|
2
|
31 6413 3127
|
11
|
ЗКР.560.068
|
0,080
|
Патрон торцевой для У-образных ламп с цоколем G13, устанавливаемых без вращения лампы, с винтовыми контактными зажимами
|
|
ТУ13ЛЦ-02 УХЛ4 Экспорт
| |
34 6413 3128
| | | |
|
ТУ13ЛЦ-02 04 Экспорт
| |
34 6413 3129
| | | |
|
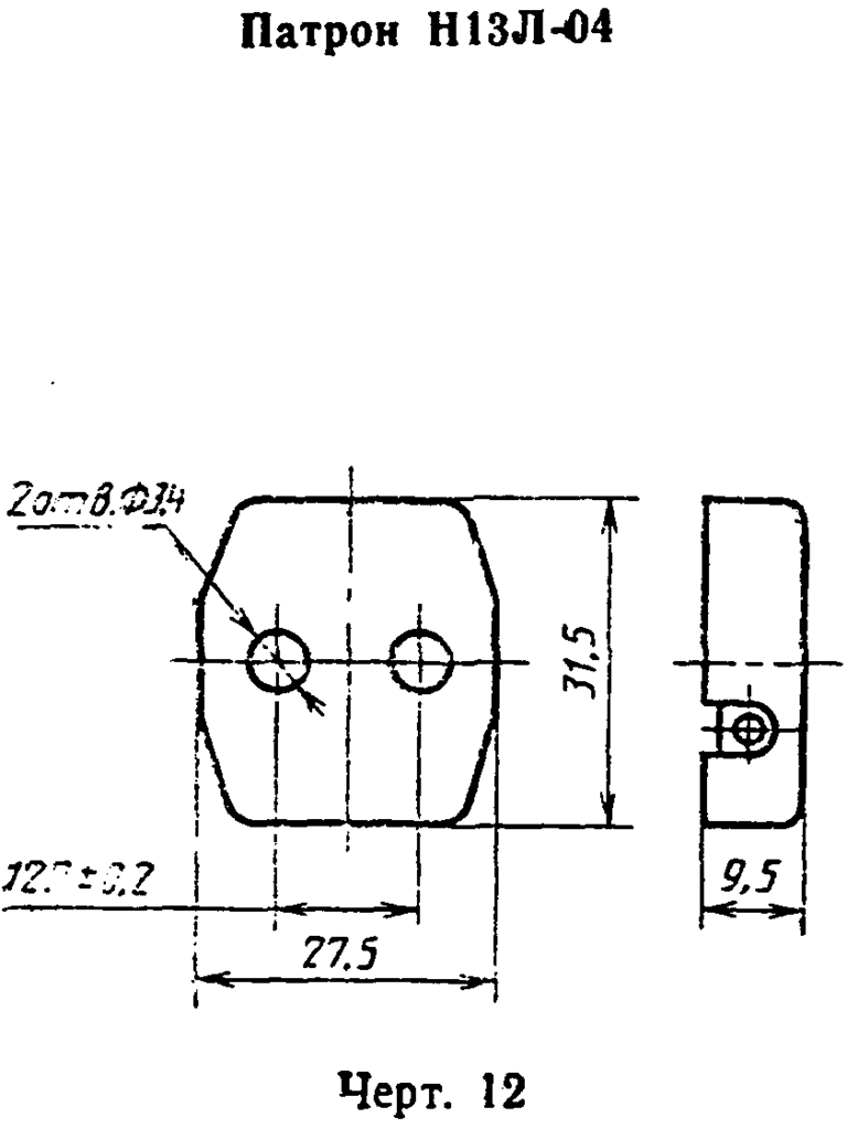
Н13Л-04 УХ Л4
|
2
|
34 6413 1101
|
12
|
ЗКР.560.127
|
0,010
|
Патрон навесной для ламп с цоколем G13, устанавливаемых без вращения лампы, с винтовыми контактными зажимами
|
|
Н13Л-04 УХЛ4 Экспорт
| |
34 6413 1102
| | | |
|
Н13Л-04 04 Экспорт
| |
34 6413 1103
| | | |
|
НДЛ-01 УХЛ4
|
2
|
34 6413 1601
|
13
|
ИКАС.675.747.002
|
0,025
|
Патрон навесной для кольцевых ламп с цоколем G10q, устанавливаемых без вращения лампы, с контактными зажимами под пайку
|
|
НДЛ-01 УХЛ4 Экспорт
| |
34 6413 1602
| | | |
|
НДЛ-01 04 Экспорт
| |
34 6413 1603
| | | |
|
НДЛ-02 УХЛ4
|
2
|
34 6413 1604
|
14
|
ИКАС.675.747.003
|
0,015
|
Патрон навесной для кольцевых ламп с цоколем G10q, устанавливаемых без вращения лампы, опрессованный, с контактными зажимами под пайку
|
|
НДЛ-02 УХЛ4 Экспорт
| |
34 6413 1605
| | | |
|
НДЛ-02 04 Экспорт
| |
34 6413 1606
| | | |
|
Л-04 УХЛ4
|
2
|
34 6416 0201
|
15
|
ИКАС.675.753.004
|
0,013
|
Патрон для стартера, с винтовым креплением к светильнику, с винтовыми контактными зажимами
|
|
Л-04 УХЛ4 Экспорт
| |
34 6416 0202
| | | |
|
Л-04 04 Экспорт
| |
34 6416 0203
| | | |
|
Л-08 УХЛ4
|
2
|
34 6416 0101
|
15
|
ИКАС.675.753.003
|
0,013
|
Патрон для стартера, с винтовым креплением к светильнику, с безвинтовыми пружинными контактными зажимами
|
|
Л-08 УХЛ4 Экспорт
| |
34 6416 0102
| | | |
|
Л-08 04 Экспорт
| |
34 6416 0103
| | | |
|
Л-09 УХЛ4
|
2
|
34 6416 0104
|
16
|
ИКАС.675.735.005
|
0,008
|
Патрон для стартера, с безвинтовым креплением к светильнику, с безвинтовыми пружинными контактными зажимами
|
|
Л-09 УХЛ4 Экспорт
| |
34 6416 0105
| | | |
|
Л-09 04 Экспорт
| |
34 6416 0106
| | | |
|
2Л-02 УХЛ4
|
2
|
34 6416 0107
|
17
|
ЗКР.563.010
|
0,014
|
Патрон сдвоенный для стартера, с безвинтовым креплением к светильнику, с безвиитовыми пружинными контактными зажимами
|
|
2Л-02 УХЛ4 Экспорт
| |
34 6416 0108
| | | |
|
2Л-02 04 Экспорт
| |
34 6416 0109
| | | |
|
С13Л-01 УХЛ4
|
2
|
34 6413 2107
|
18
|
ИКАС.675.746.008
|
0,009
|
Патрон стоечный для ламп с цоколем G13, устанавливаемых вращением лампы, с безвинтовыми пружинными контактными зажимами
|
|
С13Л-01 УХЛ4 Экспорт
| |
34 6413 2108
| | | |
|
С13Л-01 04 Экспорт
| |
34 6413 2109
| | | |
1.2.2. Габаритные и установочные размеры патронов должны соответствовать указанным на черт. 1 - 17. Не указанные на чертежах предельные отклонения размеров: отверстий - по Н14, валов - по h 14, остальных по Js 15 согласно ГОСТ 25347-82.











Патрон НДЛ-01
1.2.3. Расшифровка условного обозначения патронов приведена в приложении.
Примеры записи условных обозначений:
Патрона стоечного для светонаправляющих ламп с цоколем G13, с контактированием по образующим штырьков цоколя, модификации 01, климатического исполнения УХЛ4:
Патрон СР13Л-01 УХЛ4 ГОСТ 18396-88
То же на экспорт в страны с умеренным климатом:
Патрон СР13Л-01 УХЛ4 Экспорт ГОСТ 18396-88
То же на экспорт в страны с тропическим климатом:
Патрон СР13Л-01 04 Экспорт ГОСТ 18396-88
Патрона для стартера сдвоенного, модификации 02, климатического исполнения УХЛ4:
Патрон 2Л-02 УХЛ4 ГОСТ 18396-88
То же на экспорт в страны с умеренным климатом:
Патрон 2Л-02 УХЛ4 Экспорт ГОСТ 18396-88
То же на экспорт в страны с тропическим климатом:
Патрон 2Л-02 04 Экспорт ГОСТ 18396-88
1.3. Характеристики
1.3.1. Патроны для люминесцентных ламп должны изготовляться в следующем исполнении:
без встроенного патрона для стартера, кроме патрона типа ТУ13ЛЦ-02;
без винтовых компенсирующих токоведущих пружин;
без контакта для токопроводящей полосы.
1.3.2. Патроны должны быть устойчивы к воздействию механических факторов внешней среды по группе M1 ГОСТ 17516-72.
1.3.3. Степень защиты по ГОСТ 14254-80 патронов при полностью вставленной лампе или стартере, при установке патронов в рабочем положении должна соответствовать 1Р20.
1.3.4. Винтовые контактные зажимы патронов для люминесцентных ламп и патронов для стартеров должны быть рассчитаны на присоединение одного провода.
1.4. Маркировка
1.4.1. Маркировка патронов по ГОСТ 361-85, при этом на патроне методом прессования или штамповки, или литья под давлением должны быть указаны следующие данные:
товарный знак предприятия-изготовителя;
номинальное напряжение в вольтах;
номинальный ток в амперах;
знак переменного тока;
розничная цена для патронов, предназначенных для розничной торговли.
1.4.2. На транспортной таре должна быть нанесена транспортная маркировка по ГОСТ 14192-77, содержащая основные, дополнительные и информационные надписи и манипуляционные знаки:
"Осторожно, хрупкое", "Боится сырости", "Верх не кантовать", а также должен быть указан способ складирования по ГОСТ 17677-82. Если в качестве транспортной тары используют универсальные контейнеры, то способ складирования не указывают.
1.5. Упаковка
1.5.1. Упаковка патронов должна соответствовать ГОСТ 23216-78. Патроны должны быть упакованы в транспортную тару изготовителя по конструкторской документации на патроны с учетом требований ГОСТ 9142-84, ГОСТ 2991-85, ГОСТ 5959-80, ГОСТ 9396-88, при этом многооборотная тара должна быть разборной или складной конструкции.
Допускается применение ящиков из гофропласта по ТУ 63.057.78-87
1.5.2. При транспортировании грузовых мест транспортными пакетами по ГОСТ 26663-85, масса и габаритные размеры транспортных пакетов, а также средства и способы пакетирования по конструкторской документации на патроны.
2. Приемка
2.1. Правила приемки патронов - по ГОСТ 361-85.
3. Методы испытаний
3.1. Методы испытаний патронов - по ГОСТ 361-85.
3.2. Степень защиты патронов проверяют по методу ГОСТ 14254-80.
Патроны устанавливают в рабочем положении:
стоечные патроны для ламп и патроны для стартеров на горизонтальной плоскости;
торцевые патроны для ламп на вертикальной плоскости;
навесные патроны в вертикальном положении.
Затем в патроны вставляют провода и лампы, или стартеры.
Результаты испытания считают удовлетворительными, если испытательный щуп не касается токоведущих частей патронов.
4. Транспортирование и хранение
4.1. Транспортирование
4.1.1. Транспортирование патронов - по ГОСТ 361-85.
4.1.2. Условия транспортирования патронов в части воздействия механических факторов внешней среды должны соответствовать группе С ГОСТ 23216-78.
Условия транспортирования патронов в части воздействия климатических факторов внешней среды - по группе 5 ГОСТ 15150-69.
4.1.3. Патроны могут транспортироваться любым видом транспорта согласно правилам перевозок грузов, действующих на соответствующем виде транспорта.
Транспортирование патронов железнодорожным транспортом осуществляется: мелкими, малотоннажными или повагонными отправками.
4.1.4. Погрузка, размещение в транспортных средствах при транспортировании и разгрузке патронов должны осуществляться с учетом указанных на транспортной таре манипуляционных знаков и способа складирования, при этом количество рядов складирования для патронов, упакованных в картонные ящики, должно устанавливаться из высоты штабеля 2,5 м, деревянные - 3 м.
4.2. Хранение
4.2.1. Условия хранения патронов - по группе 2 ГОСТ 15150-69.
4.2.2. Складирование патронов должно осуществляться с учетом манипуляционных знаков и способа складирования, указанных на транспортной таре.
5. Гарантии изготовителя
5.1. Гарантии изготовителя - по ГОСТ 361-85.
Приложение
Справочное
Условные обозначения патронов для люминесцентных ламп и стартеров
Х Х Х Х Х Х Х Х
─┬─ ─┬─ ─┬─ ─┬─ ─┬─ ─┬─ ─┬─ ─┬─
│ │ │ │ │ │ │ │
└───┼───┼───┼───┼───┼───┼───┼──►Количество ламп и стартеров (цифра 1 не
│ │ │ │ │ │ │ указывается)
└───┼───┼───┼───┼───┼───┼──►Способ установки патрона:
│ │ │ │ │ │ С - стоечный;
│ │ │ │ │ │ Т - торцевой;
│ │ │ │ │ │ Н - навесной
└───┼───┼───┼───┼───┼──►Вид люминесцентной лампы:
│ │ │ │ │ Р - светонаправляющая;
│ │ │ │ │ У - U- или W-образная лампа;
│ │ │ │ │ Д - кольцевая лампа.
│ │ │ │ │ Прямые трубчатые лампы не обозначаются
└───┼───┼───┼───┼──►Тип цоколя лампы:
│ │ │ │ 5 - цоколь G5
│ │ │ │ 13 - цоколь G13
│ │ │ │ Цоколь G10q не обозначается
└───┼───┼───┼──►Способ контактирования:
│ │ │ Л - по образующим штырьков цоколя;
│ │ │ Ц - по торцам штырьков цоколя
└───┼───┼──►К - с осевой компенсацией длины лампы
└───┼──►Двухзначное число, обозначающее номер
│ модификации
└──►Климатическое исполнение и категория
размещения по ГОСТ 15150-69
Статус отменен, взамен ГОСТ IEC 60061-2-2017