Утв. Приказом Федерального агентства по техническому регулированию и метрологии от 12 ноября 2010 г. N 455-ст
Национальный стандарт РФ ГОСТ Р ИСО 7711-2-2010
"ИНСТРУМЕНТЫ СТОМАТОЛОГИЧЕСКИЕ ВРАЩАЮЩИЕСЯ. ИНСТРУМЕНТЫ АЛМАЗНЫЕ. Часть 2. ДИСКИ"
Dental rotary instruments. Diamond instruments. Part 2. Discs
Дата введения - 1 марта 2012 г.
Взамен ГОСТ Р 50569.2-94
Предисловие
Цели и принципы стандартизации в Российской Федерации установлены Федеральным законом от 27 декабря 2002 г. N 184-ФЗ "О техническом регулировании", а правила применения национальных стандартов Российской Федерации - ГОСТ Р 1.0-2004 "Стандартизация в Российской Федерации. Основные положения".
Сведения о стандарте
1 Подготовлен Государственным унитарным предприятием Республики Татарстан "Всероссийский научно-исследовательский проектный институт медицинских инструментов" (ГУП РТ "ВНИПИМИ")
2 Внесен Техническим комитетом по стандартизации ТК 14 "Медицинские инструменты", Управлением технического регулирования и стандартизации Федерального агентства по техническому регулированию и метрологии
3 Утвержден и введен в действие приказом Федерального агентства по техническому регулированию и метрологии от 12 ноября 2010 г. N 455-ст
4 Настоящий стандарт идентичен международному стандарту ИСО 7711-2:1992 "Инструменты стоматологические вращающиеся. Инструменты алмазные. Часть 2. Диски" (ISO 7711-2:1992 "Dental rotary instruments - Diamond instruments - Part 2: Discs".
При применении настоящего стандарта рекомендуется использовать вместо ссылочных международных стандартов соответствующие им национальные стандарты Российской Федерации, сведения о которых приведены в дополнительном приложении ДА
5 Взамен ГОСТ Р 50569.2-94
Введение
ИСО (Международная организация стандартизации) является всемирной федерацией органов национальных стандартов (организации-члены ИСО). Работа по подготовке международных стандартов обычно осуществляется Техническими комитетами ИСО. Каждая организация-член, заинтересованная в предмете, для которого создавался Технический комитет, имеет право быть представленной в этом комитете. Международные правительственные и неправительственные организации также принимают участие в работе во взаимодействии с ИСО. ИСО тесно сотрудничает с Международной электротехнической комиссией (МЭК) по всем вопросам электротехнической стандартизации.
Проекты международных стандартов, принятые Техническими комитетами, распространяются организациям-членам для голосования. Публикация в качестве международного стандарта требует одобрения по меньшей мере 75% организаций-членов с правом голоса.
Международный стандарт ИСО 7711-2 был подготовлен Техническим комитетом ИСО/ТК 106 "Стоматология", подкомитет ПК 4 "Стоматологические инструменты".
ИСО 7711 состоит из нескольких частей под общим названием "Инструменты стоматологические вращающиеся. Инструменты алмазные":
- Часть 1. Требования, размеры, маркировка и упаковка;
- Часть 2. Диски;
- Часть 3. Размеры зерен, обозначения и цветовой код.
1 Область применения
Настоящий стандарт устанавливает размеры и требования на алмазные диски, которые используют в стоматологии. Были отобраны пять типовых образцов.
Для отождествления стоматологических вращающихся инструментов всех типов применяют код из 15 цифр согласно ИСО 6360-1 и 6360-2.
Примечание - Требования к измерениям и другие характеристики, приведенные в данном стандарте, являются условиями для осуществления взаимозаменяемости.
2 Нормативные ссылки
Следующие нормативные документы являются неотъемлемой частью при применении данного стандарта:
ИСО 1797-1:1992 Инструменты стоматологические вращающиеся. Хвостовики. Часть 1. Хвостовики из металла
ИСО 6360-1:1985* Инструменты стоматологические вращающиеся. Система числового кодирования. Часть 1. Общие характеристики
ИСО 6360-2:1986** Инструменты стоматологические вращающиеся. Система числового кодирования. Часть 2. Форма и специфические характеристики
ИСО 8325:1985*** Инструменты стоматологические вращающиеся. Методы испытаний
3 Требования к размерам и материалу
Размеры и допуски дисков должны соответствовать значениям, приведенным на рисунках и таблицах настоящего стандарта.
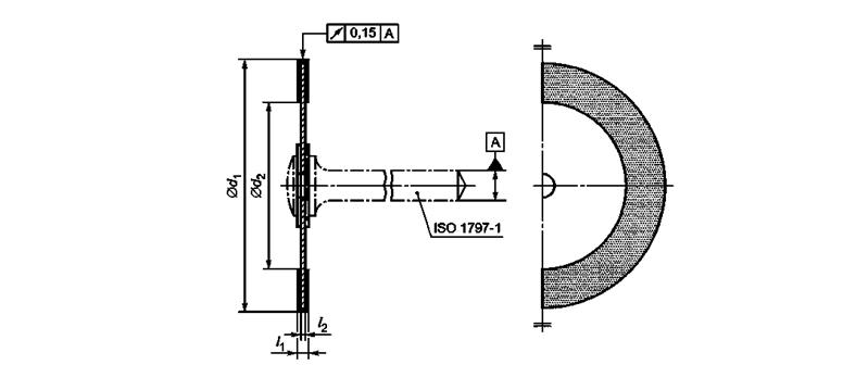
3.1 Плоский диск, очень тонкий с режущими боковой и прилегающими торцевыми поверхностями (ширина бокового слоя 2 мм)
3.1.1 Диск должен соответствовать данным, приведенным на рисунке 1 и в таблице 1.
3.1.2 Диаметр отверстий дисков -
или
мм.
3.1.3 Материал пластины диска - нержавеющая сталь (тип и способ обработки выбирает изготовитель).
3.1.4 Предел текучести - не менее 1000 Н/мм2.

Рисунок 1
Таблица 1 - Размеры и допуски
|
В миллиметрах
|
|
Номинальный размер
|  |
d2
|
Допуск
|
l1±0, 03
|
l2±0, 005
|
|
140
160
|
14
16
|
10
10
|
±0, 3
|
0, 15
|
0, 05
|
|
180
200
220
|
18
20
22
|
12
14
16
|
±0, 5
|
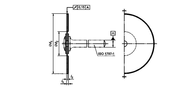
3.2 Плоский диск, очень тонкий с режущими боковой и прилегающими торцевыми поверхностями (ширина бокового слоя 1, 5 мм, толщина диска 0, 1 мм)
3.2.1 Диск должен соответствовать данным, приведенным на рисунке 2 и в таблице 2.
3.2.2 Диаметр отверстий дисков -
или
мм.
3.2.3 Материал пластины диска - нержавеющая сталь (тип и способ обработки выбирает изготовитель).
3.2.4 Предел текучести - не менее 1000 Н/мм2.

Рисунок 2
Таблица 2 - Размеры и допуски
|
В миллиметрах
|
|
Номинальный размер
|  |
d2±0, 5
|
l1±0, 05
|
l2±0, 01
|
|
160
|
16
|
13
| | |
|
180
|
18
|
15
| | |
|
200
|
20
|
17
|
0, 3
|
0, 1
|
|
220
|
22
|
19
| | |
|
250
|
25
|
21
| | |
3.3 Плоский диск, очень тонкий с режущими боковой и прилегающими торцевыми поверхностями (ширина бокового слоя 1, 5 мм, толщина диска 0, 55 мм)
3.3.1 Диск должен соответствовать данным, приведенным на рисунке 3 и в таблице 3.
3.3.2 Диаметр отверстий дисков -
или
мм.
3.3.3 Материал пластины диска - нержавеющая сталь (тип и способ обработки выбирает изготовитель).
3.3.4 Предел текучести - не менее 800 Н/мм2.

Рисунок 3
Таблица 3 - Размеры и допуски
|
В миллиметрах
|
|
Номинальный размер
|  |
d2±0, 5
|
l1±0, 05
|
l2±0, 01
|
|
160
|
16
|
13
| | |
|
180
|
18
|
15
| | |
|
200
|
20
|
17
|
0, 55
|
0, 3
|
|
220
|
22
|
19
| | |
|
250
|
25
|
21
| | |
3.4 Плоский диск, очень тонкий с режущими боковой и прилегающими торцевыми поверхностями (ширина бокового слоя 4, 5 мм, толщина диска 0, 1 мм)
3.4.1 Диск должен соответствовать данным, приведенным на рисунке 4 и в таблице 4.
3.4.2 Диаметр отверстий дисков -
или
мм.
3.4.3 Материал пластины диска нержавеющая сталь (тип и способ обработки выбирает изготовитель).
3.4.4 Предел текучести не менее 1000 Н/мм2.

Рисунок 4
Таблица 4 - Размеры и допуски
|
В миллиметрах
|
|
Номинальный размер
|  |
d2±0, 5
|
l1±0, 02
|
l2±0, 01
|
|
160
|
16
| | | |
|
180
|
18
| | | |
|
200
|
20
|
7
|
0, 2
|
0, 1
|
|
220
|
22
| | | |
|
250
|
25
| | | |
3.5 Плоский диск, очень тонкий с режущими боковой и прилегающими торцевыми поверхностями (ширина бокового слоя 10 мм, толщина диска 0, 3 мм)
3.5.1 Диск должен соответствовать данным, приведенным на рисунке 5 и в таблице 5.
3.5.2 Диаметр отверстий дисков -
или
мм.
3.5.3 Материал пластины диска - нержавеющая сталь (тип и способ обработки выбирает изготовитель).

Рисунок 5
3.5.4 Предел текучести - не менее 1000 Н/мм2.
Таблица 5 - Размеры и допуски
|
В миллиметрах
|
|
Номинальный размер
|  |
d2±0, 5
|
l1±0, 053
|
l2±0, 02
|
|
180
200
220
250
|
18
20
22
25
|
7
|
0, 45
|
0, 3
|
4 Радиальное биение
Общее радиальное биение дисков, указанное на рисунках 1 - 5 по ИСО 8325, составляет 0, 15 мм.
Место измерений - середина диска по боковой поверхности.
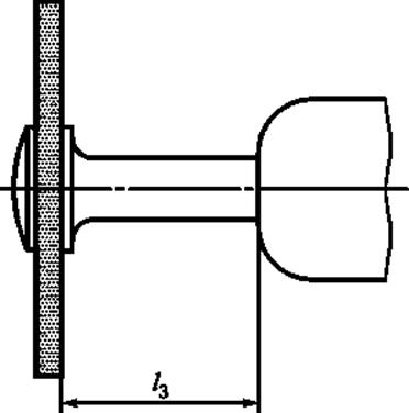
5 Установка диска
Алмазные диски закрепляют на дискодержателях, которые вводят в стоматологический наконечник.
Для обеспечения указанного радиального биения и предотвращения сгибания дискодержателей установлена присоединительная длина, изображенная на рисунке 6, по таблице 6.
Примечание - Рекомендуемая скорость вращения диска указана изготовителем в инструкции по эксплуатации.

Рисунок 6
Таблица 6 - Размеры и допуски
|
В миллиметрах
|
|
Хвостовик по ИСО 1797-1
|
l3±1
|
|
Тип 1
Тип 2
|
10
15
|
_____________________________
* Заменен на ИСО 6360-1:2004.
** Заменен на ИСО 6360-2:2004.
*** Заменен на ИСО 8325:2004.
Приложение ДА
(справочное)
Сведения о соответствии ссылочных международных стандартов ссылочным национальным стандартам Российской Федерации
Таблица ДА.1
|
Обозначение ссылочного международного стандарта
|
Степень соответствия
|
Обозначение и наименование соответствующего национального стандарта
|
|
ИСО 1797-1:1992
|
-
|
*
|
|
ИСО 6360-1:1985
|
MOD
|
ГОСТ Р 50350.1-92 (ИСО 6360-1-85) "Стоматологические вращающиеся инструменты. Система цифрового обозначения. Часть 1. Общие характеристики"
|
|
ИСО 6360-2:1986
|
MOD
|
ГОСТ Р 50350.2-92 (ИСО 6360-2-85) "Стоматологические вращающиеся инструменты. Система цифрового обозначения. Часть 2. Форма и виды исполнения"
|
|
ИСО 8325:1985
|
IDT
|
ГОСТ Р ИСО 8325-2010 "Инструменты стоматологические вращающиеся. Методы испытаний"
|
|
* Соответствующий национальный стандарт отсутствует. До его принятия рекомендуется использовать перевод на русский язык данного международного стандарта. Перевод данного международного стандарта находится в Федеральном информационном фонде технических регламентов и стандартов.
Примечание - В настоящей таблице использованы следующие условные обозначения степени соответствия стандартов:
- IDT - идентичный стандарт;
- MOD - модифицированные стандарты.
|