ГОСТ 17538-2016 КОНСТРУКЦИИ И ИЗДЕЛИЯ ЖЕЛЕЗОБЕТОННЫЕ ДЛЯ ШАХТ ЛИФТОВ ЖИЛЫХ ЗДАНИЙ. ТЕХНИЧЕСКИЕ УСЛОВИЯ
Reinforced concrete constructions and products for lift shafts of residential buildings. Specifications
Дата введения - 1 июня 2017 г.
Взамен ГОСТ 17538-82
Предисловие
Цели, основные принципы и основной порядок проведения работ по межгосударственной стандартизации установлены ГОСТ 1.0-2015 "Межгосударственная система стандартизации. Основные положения" и ГОСТ 1.2-2015 "Межгосударственная система стандартизации. Стандарты межгосударственные, правила и рекомендации по межгосударственной стандартизации. Правила разработки, принятия, обновления и отмены"
1 Разработан Акционерным обществом "ЦНИИЭП жилища - институт комплексного проектирования жилых и общественных зданий" (АО "ЦНИИЭП жилища")
2 Внесен Техническим комитетом по стандартизации ТК 465 "Строительство"
3 Принят Межгосударственным советом по стандартизации, метрологии и сертификации (протокол от 25 октября 2016 г. N 92-П)
За принятие проголосовали:
|
Краткое наименование страны по МК (ИСО 3166) 004-97 |
Код страны по МК (ИСО 3166) 004-97 |
Сокращенное наименование национального органа по стандартизации |
|
Армения |
AM |
Минэкономики Республики Армения |
|
Киргизия |
KG |
Кыргызстандарт |
|
Россия |
RU |
Росстандарт |
|
Таджикистан |
TJ |
Таджикстандарт |
4 Приказом Федерального агентства по техническому регулированию и метрологии от 18 ноября 2016 г. N 1711-ст межгосударственный стандарт ГОСТ 17538-2016 введен в действие в качестве национального стандарта Российской Федерации с 1 июня 2017 г.
5 Взамен ГОСТ 17538-82
Настоящий стандарт устанавливает типы, основные параметры и размеры конструкций шахт лифтов, общие технические требования к ним.
Настоящий стандарт распространяется на железобетонные конструкции и изделия (далее - конструкции), изготовляемые из тяжелого или легкого конструкционного бетонов и предназначенные для устройства шахт пассажирских электрических лифтов по ГОСТ 5746 в жилых зданиях, гостиницах, пансионатах, домах отдыха и других общественных зданиях с высотой этажей от 2, 8 до 3, 0 м.
Требования настоящего стандарта следует учитывать при разработке нормативных документов и рабочей документации на шахты лифтов конкретных типов.
В настоящем стандарте использованы нормативные ссылки на следующие межгосударственные стандарты:
ГОСТ 5746-2003 (ИСО 4190-1-99)* Лифты пассажирские. Основные параметры и размеры
ГОСТ 5781-82 Сталь горячекатаная для армирования железобетонных конструкций. Технические условия
ГОСТ 10060-2012 Бетоны. Методы определения морозостойкости
ГОСТ 10180-2012 Бетоны. Методы определения прочности по контрольным образцам
ГОСТ 10922-2012 Арматурные и закладные изделия, их сварные, вязаные и механические соединения для железобетонных конструкций. Общие технические условия
ГОСТ 12730.0-78 Бетоны. Общие требования к методам определения плотности, влажности, водопоглощения, пористости и водонепроницаемости
ГОСТ 12730.1-78 Бетоны. Методы определения плотности
ГОСТ 13015-2012 Изделия бетонные и железобетонные для строительства. Общие технические требования. Правила приемки, маркировки, транспортирования и хранения
ГОСТ 17623-87 Бетоны. Радиоизотопный метод определения средней плотности
ГОСТ 17624-2012 Бетоны. Ультразвуковой метод определения прочности
ГОСТ 17625-83 Конструкции и изделия железобетонные. Радиационный метод определения толщины защитного слоя бетона, размеров и расположения арматуры
ГОСТ 18105-2010 Бетоны. Правила контроля и оценки прочности
ГОСТ 21780-2006 Система обеспечения точности геометрических параметров в строительстве. Расчет точности
ГОСТ 22690-2015 Бетоны. Определение прочности механическими методами неразрушающего контроля
ГОСТ 22904-93 Конструкции железобетонные. Магнитный метод определения толщины защитного слоя бетона и расположения арматуры
ГОСТ 23009-2015 Конструкции и изделия бетонные и железобетонные сборные. Условные обозначения (марки)
ГОСТ 23279-2012 Сетки арматурные сварные для железобетонных конструкций и изделий. Общие технические условия
ГОСТ 23858-79 Соединения сварные стыковые и тавровые арматуры железобетонных конструкций. Ультразвуковые методы контроля качества. Правила приемки
ГОСТ 25820-2014 Бетоны легкие. Технические условия
ГОСТ 26433.0-85 Система обеспечения точности геометрических параметров в строительстве. Правила выполнения измерений. Общие положения
ГОСТ 26433.1-89 Система обеспечения точности геометрических параметров в строительстве. Правила выполнения измерений. Элементы заводского изготовления
ГОСТ 26633-2015 Бетоны тяжелые и мелкозернистые. Технические условия
Примечание - При пользовании настоящим стандартом целесообразно проверить действие ссылочных стандартов в информационной системе общего пользования - на официальном сайте Федерального агентства по техническому регулированию и метрологии в сети Интернет или по ежегодному информационному указателю "Национальные стандарты", который опубликован по состоянию на 1 января текущего года, и по выпускам ежемесячного информационного указателя "Национальные стандарты" за текущий год. Если ссылочный стандарт заменен (изменен), то при пользовании настоящим стандартом следует руководствоваться заменяющим (измененным) стандартом. Если ссылочный стандарт отменен без замены, то положение, в котором дана ссылка на него, применяется в части, не затрагивающей эту ссылку.
В настоящем стандарте применены следующие термины с соответствующими определениями:
3.1 лифт: Грузоподъемная машина периодического действия, предназначенная для транспортирования людей и/или грузов в зданиях, оборудованная кабиной, перемещающейся по жестким направляющим, угол наклона которых к вертикали не превышает 15°.
3.2 лифт пассажирский: Лифт, предназначенный в основном для подъема и спуска людей.
3.3 шахта лифта: Пространство, в котором перемещаются кабина и, при наличии, противовес и/или уравновешивающее устройство кабины.
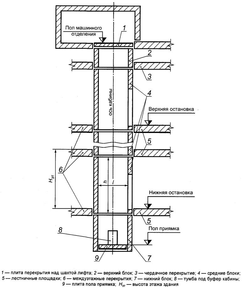
4.1 Конструкции шахт лифтов в зависимости от назначения и расположения по высоте шахты (см. рисунок 1) подразделяются на следующие типы:
ШЛН - объемные блоки шахт лифтов (далее - блоки) нижние;
ШЛС - блоки средние (основные);
ШЛВ - блоки верхние;
ПЛ - плиты перекрытия над шахтами лифтов (далее - плиты перекрытия);
ПП - плиты пола приямка шахт лифтов (далее - плиты приямка);
ТЛ - тумбы под буферы кабин лифтов (далее - тумбы).
4.2 Конструкции шахт лифтов (за исключением тумб) в зависимости от расположения противовеса по отношению к кабине лифта изготовляют в двух исполнениях: противовес сзади кабины, противовес справа кабины.
4.3 Форма и основные размеры конструкций должны соответствовать указанным на рисунках 2 - 8 и 8 - 12 и в таблице 1.
На действующем оборудовании допускается изготовлять конструкции размерами, указанными:
- на рисунках 3, 4, 9 - 12 и в таблице 2 - для шахт лифтов грузоподъемностью 320 и 400 кг;
- на рисунках 6, 8, 9 - 12 и в таблице 3 - для шахт лифтов грузоподъемностью 500 и 630 кг.
Толщину стенок блоков указывают в рабочих чертежах на эти блоки.
Конструкцию плит приямка указывают в рабочих чертежах конкретных зданий с учетом обязательного опирания этих плит на конструкции нулевого цикла. Допускается устройство плит приямка из монолитного железобетона одновременно с возведением конструкций нулевого цикла, а также предусматривать плиту приямка, объединенную с нижним блоком. В зависимости от принятой конструкции приямка высоту нижнего блока шахт лифтов со скоростью движения 1, 6 м/с, указанную в таблицах 1 - 3, допускается изменять.
Верхние блоки могут быть объединены с плитами перекрытия над шахтами.
4.4 Номинальную толщину стенок блоков принимают кратной 20 мм.

Рисунок 1
|
Противовес сзади кабины
|
Противовес справа кабины
| |
|
|
|
|
Рисунок 2 |
Рисунок 3 |
Рисунок 4 |
|
Противовес сзади кабины
| |
|
|
|
Рисунок 5 |
Рисунок 6 |
Примечания к рисункам 2 - 6
1 На рисунке 2 - ширина строительного проема дверей шахты лифта может быть принята 1030 и 930 мм.
2 На рисунке 5 - ширина строительного проема дверей шахты лифта может быть принята 1350 мм.
3 На рисунках 3, 4 и 6 - размеры без скобок для блоков следует определять по таблице 1, в скобках - по таблицам 2 и 3.
|
Противовес справа кабины
| |
|
|
|
Рисунок 7 |
Рисунок 8 |

Рисунок 9

Рисунок 10

Рисунок 11

Рисунок 12
Таблица 1
|
Наименование конструкции |
Номинальная скорость лифта, м/с |
Расположение противовеса |
Марка конструкции |
Основные размеры конструкции, мм |
Масса конструкции (справочная) т |
Номер рисунка | ||
|
Ширина b |
Длина (глубина) l |
Высота (толщина) h | ||||||
|
Конструкции шахт лифтов грузоподъемностью 400 кг | ||||||||
|
Нижний блок |
1, 0 и 1, 6 |
Сзади кабины |
ШЛН 14-40 |
1780 |
1580 |
1400 |
2, 6 |
9 |
|
Средний блок |
ШЛС 28-40 ШЛС 30-40 |
1780 |
1580 |
2780 2980 |
4, 4 4, 8 |
2 и 10 | ||
|
Верхний-блок |
1, 0 |
ШЛВ 9-40 |
1780 |
1580 |
930 |
1, 7 |
9 | |
|
1, 6 |
ШЛВ 16-40 |
1630 |
2, 9 | |||||
|
Плита перекрытия |
- |
ПЛ20.18-40 |
1980 |
1780 |
200 |
1, 8 |
11 | |
|
Конструкции шахт лифтов грузоподъемностью 630 кг | ||||||||
|
Нижний блок |
1, 0 и 1, 6 |
Сзади кабины |
ШЛН 14-63 |
2580 |
1730 |
1400 |
3, 1 |
9 |
|
Справа кабины |
ШЛН14пр -63 |
1880 |
2580 |
3, 3 | ||||
|
Средний блок |
1, 0 и 1, 6 |
Сзади кабины |
ШЛС 28-63 |
2580 |
1730 |
2780 |
5, 4 |
5 и 10 |
|
Справа кабины |
ШЛС28пр -63 |
1880 |
2580 |
5, 9 |
7 и 10 | |||
|
Средний блок |
1, 0 и 1, 6 |
Сзади кабины |
ШЛС 30-63 |
2580 |
1730 |
2980 |
5, 9 |
5 и 10 |
|
Справа кабины |
ШЛС30пр -63 |
1880 |
2580 |
6, 4 |
7 и 10 | |||
|
Верхний блок |
1, 0 |
Сзади кабины |
ШЛВ 9-63 |
2580 |
1730 |
930 |
1, 9 |
9 |
|
Справа кабины |
ШЛВ9пр 63 |
1880 |
2580 |
2, 2 | ||||
|
1, 6 |
Сзади кабины |
ШЛВ 16-63 |
2580 |
1730 |
1630 |
3, 6 | ||
|
Справа кабины |
ШЛВ16пр -63 |
1880 |
2580 |
3, 9 | ||||
|
Плита перекрытия |
- |
Сзади кабины |
ПЛ 19.28-63 |
2780 |
1930 |
200 |
2, 7 |
11 |
|
Справа кабины |
ПЛ28. 21пр -63 |
2080 |
2780 |
2, 9 | ||||
Таблица 2
|
Наименование конструкции |
Номинальная скорость лифта, м/с |
Расположение противовеса |
Марка конструкции шахты лифта грузоподъемностью, кг |
Основные размеры конструкции, мм |
Масса конструкции (справочная) т |
Номер рисунка | |||
|
320 |
400 |
Ширина b |
Длина (глубина) l |
Высота (толщина) h | |||||
|
Нижний блок |
- |
Сзади кабины Справа кабины |
ШЛН 14-32 |
ШЛН 14-40а |
1580 |
1730 |
1400 |
2, 5 |
9 |
|
ШЛН14пр -32 |
ШЛН14пр -40а |
1730 |
1580 | ||||||
|
Средний блок |
- |
Сзади кабины |
ШЛС 28-32 |
ШЛС 28-40а |
1580 |
1730 |
2780 |
4, 5 |
3; 10 |
|
Справа кабины |
ШЛС28пр -32 |
ШЛС28пр -40а |
1730 |
1580 |
4; 10 | ||||
|
Сзади кабины |
ШЛС 30-32 |
ШЛС 30-40 |
1580 |
1730 |
2980 |
4, 8 |
3; 10 | ||
|
Справа кабины |
ШЛС30пр -32 |
ШЛС30пр -40а |
1730 |
1580 |
4; 10 | ||||
|
Верхний блок |
0, 71 и 1, 0 |
Сзади кабины |
ШЛВ 9-32 |
ШЛВ 9-40а |
1580 |
1730 |
930 |
1, 6 |
9 |
|
Справа кабины |
ШЛВ9пр -32 |
ШЛВ9пр -40а |
1730 |
1580 | |||||
|
1, 4 |
Сзади кабины |
ШЛВ 14-32 |
- |
1580 |
1730 |
1400 |
2, 5 | ||
|
Плита перекрытия |
- |
Сзади кабины |
ПЛ19.18-32 |
ПЛ19.18-40а |
1780 |
1930 |
200 |
1, 7 |
11 |
|
Справа кабины |
ПЛ18.19-32 |
ПЛ18.19-40а |
1930 |
1780 | |||||
|
Тумба |
1, 0 |
- |
ТЛ 4-32 |
- |
250 |
250 |
425 |
0, 07 |
12 |
|
0, 71 |
ТЛ 5-32 |
520 |
0, 08 | ||||||
Таблица 3
|
Наименование конструкции |
Номинальная скорость лифта, м/с |
Расположение противовеса |
Марка конструкции шахты лифта грузоподъемностью, кг |
Основные размеры конструкции, мм |
Масса конструкции (справочная) т |
Номер рисунка | |||
|
500 |
630 |
Ширина b |
Длина (глубина) l |
Высота (толщина) h | |||||
|
Нижний блок |
- |
Сзади кабины |
ШЛН 14-50 |
ШЛН 14-63а |
2680 |
1730 |
1400 |
3, 2 |
9 |
|
Справа кабины |
ШЛН14пр -50 |
ШЛН14пр -63а |
1880 |
2580 |
3, 3 | ||||
|
Средний блок |
- |
Сзади кабины |
ШЛС 28-50 |
ШЛС 28-63а |
2680 |
1730 |
2780 |
5, 7 |
6; 10 |
|
Справа кабины |
ШЛС28пр -50 |
ШЛС30пр -63а |
1880 |
2580 |
6, 0 |
8; 10 | |||
|
Сзади кабины |
ШЛС 30-50 |
ШЛС30-63а |
2680 |
1730 |
2980 |
6, 2 |
6; 10 | ||
|
Справа кабины |
ШЛС30пр -50 |
ШЛС30пр -63а |
1880 |
2580 |
6, 5 |
8; 10 | |||
|
Верхний блок |
1, 0 |
Сзади кабины |
ШЛВ 9-50 |
ШЛВ 9-63а |
2680 |
1730 |
930 |
2, 1 |
9 |
|
Справа кабины |
ШЛВ 9пр -50 |
ШЛВ9пр -63а |
1880 |
2580 |
2, 2 | ||||
|
Верхний блок |
1, 4 |
Сзади кабины |
ШЛВ 14-50 |
- |
2680 |
1730 |
1400 |
3, 2 |
9 |
|
Справа кабины |
ШЛВ14пр -50 |
1880 |
2580 |
3, 4 | |||||
|
Плита перекрытия |
- |
Сзади кабины |
ПЛ 19.29-50 |
ПЛ19.29-63а |
2880 |
1930 |
200 |
2, 7 |
11 |
|
Справа кабины |
ПЛ28. 21пр -50 |
ПЛ 28.21пр-63а |
2080 |
2780 |
2, 9 | ||||
|
Тумба |
1, 0 |
- |
ТЛ 4-50 |
- |
250 |
250 |
425 |
0, 08 |
12 |
Примечания к таблицам 1 - 3
1 Размеры плиты перекрытия по длине и ширине приведены для случая их опирания на верхние блоки со стенками толщиной 100 мм. При другой толщине стенок блоков длина и ширина плиты перекрытия должны быть соответственно изменены.
2 Справочная масса конструкций приведена для блоков из тяжелого бетона средней плотности 2500 кг/м3 со стенками толщиной 100 мм.
3 Дверной проем в среднем блоке следует устраивать на одной из длинных сторон блока.
4.5 Конструкция блоков должна предусматривать возможность их фиксации и установки в проектное положение в процессе монтажа, в том числе с помощью инвентарных монтажных приспособлений.
При необходимости устройства технологических уклонов стенок блоков следует предусматривать их только на глухих стенках (без дверного проема). Уклоны следует обеспечивать за счет утолщения стенок в верхнем сечении вовнутрь на величину до 10 мм.
Примечание - В блоках шириной 1730 мм и глубиной 1580 мм для шахт лифтов грузоподъемностью 400 кг, изготовляемых на действующем оборудовании для выпуска блоков шахт лифтов грузоподъемностью 320 кг с противовесом сзади кабины, допускается устройство технологического уклона стенок, где расположены дверные проемы.
4.6 Конструкции шахт лифтов следует обозначать марками в соответствии с требованиями ГОСТ 23009. При установлении обозначений необходимо учитывать следующие положения.
Марка конструкций состоит из буквенно-цифровых групп, разделенных дефисами.
Первая группа содержит обозначение типа конструкции и ее номинальные размеры в дециметрах (значения которых округляют до целого числа): для блоков и тумб - высоту, для плит перекрытий и приямков - длину и ширину. Первую группу, при необходимости, дополняют буквенными индексами - строчными буквами "пр" (см. таблицы 1, 2, 3) при расположении противовеса с правой стороны кабины.
Во второй группе приводят: грузоподъемность лифта (в десятках килограммов) для блоков, плит перекрытий, приямков и тумб. Блоки, плиты перекрытий и приямки для шахт лифтов грузоподъемностью 400 и 630 кг, имеющие ограниченный срок применения (см. таблицы 1 и 2), дополнительно обозначают строчной буквой "а".
Обозначение конструкций, изготовляемых из легкого бетона, дополняют прописной буквой Л.
Пример условного обозначения (марки) блока типа ШЛС высотой 2980 мм с противовесом сзади кабины, для шахты лифта грузоподъемностью 400 кг, из легкого бетона:
ШЛС 30-40Л
То же, плиты перекрытия типа ПЛ, длиной 2780 мм, шириной 2080 мм, с противовесом с правой стороны кабины, для шахты лифта грузоподъемностью 630 кг, из тяжелого бетона:
ПЛ 28.21пр-63
То же, тумбы типа ТЛ, высотой 425 мм, для шахты лифта грузоподъемностью 320 кг, из тяжелого бетона:
ТЛ 4-32
Примечание - Допускается принимать обозначения марок конструкций шахт в соответствии с рабочими чертежами конструкций до их пересмотра.
5.1 Конструкции шахт лифтов следует изготовлять в соответствии с требованиями настоящего стандарта по рабочим чертежам, утвержденным в установленном порядке.
5.2 Блоки должны быть цельноформованными.
5.3 Конструкции шахт лифтов должны удовлетворять установленным при проектировании требованиям по прочности, жесткости и трещиностойкости.
5.4 В случаях, предусмотренных рабочими чертежами, блоки должны иметь:
- элементы для фиксации и установки блоков в проектное положение;
- закладные изделия для крепления кронштейнов направляющих кабин и противовесов, а также для крепления дверей шахты. По согласованию с организацией, осуществляющей монтаж лифтов, блоки допускается изготовлять без закладных изделий в случае выполнения указанных креплений с помощью болтовых соединений или с применением других решений;
- проемы и отверстия для установки сигнальной и вызывной электроаппаратуры, для аварийного отпирания дверей шахты лифта, а также ниши (или закладные изделия) для установки брусьев под настилы, с которых выполняется монтаж оборудования лифта, и для других устройств.
Нижние блоки должны иметь металлические скобы (под дверным проемом среднего блока первого этажа) для спуска в приямок шахты.
Верхние блоки, предназначаемые для зданий высотой 10 этажей и более, должны иметь проем для воздуховода вентиляционной системы подпора воздуха согласно проекту конкретного здания.
5.5 В плитах перекрытия должны быть предусмотрены проемы для пропуска тяговых канатов, канатов ограничителя скорости и электропроводки внутри шахты лифта, закладные изделия для крепления приводных механизмов, а также каналы для скрытой прокладки электропроводки по машинному помещению, закрываемые металлическими крышками, а в плитах приямка - закладные изделия для крепления тумб.
5.6 Тумбы следует изготовлять с закладными изделиями для крепления к плите приямка и установки стаканов буферов.
5.7 Для строительства в сейсмических районах и в случаях, требующих усиления монолитности узловых соединений элементов шахт лифтов и зданий, блоки и плиты допускается изготовлять с дополнительными закладными изделиями, с выпусками арматуры, шпонками и другими конструктивными деталями для увеличения связи между элементами.
5.8 Бетон
5.8.1 Фактическая прочность бетона конструкций (в проектном возрасте и отпускная) должна соответствовать требуемой, назначаемой по ГОСТ 18105 в зависимости от нормируемой прочности бетона, указанной в проектной документации (на рабочих чертежах), и от показателя фактической однородности прочности бетона.
5.8.2 Поставку конструкций потребителю следует производить после достижения бетоном требуемой отпускной прочности (см. 5.8.1).
Значение нормируемой отпускной прочности бетона конструкций принимают равным 70% класса бетона по прочности на сжатие. При поставке конструкций в холодный период года значение нормируемой отпускной прочности бетона может быть повышено, но не более 85% класса по прочности на сжатие. Значение нормируемой отпускной прочности бетона следует принимать по проектной документации на конкретное здание в соответствии с требованиями ГОСТ 13015.
Поставку конструкций с отпускной прочностью бетона ниже прочности, соответствующей его классу по прочности на сжатие, производят при условии, что изготовитель гарантирует достижение бетоном конструкций требуемой прочности в проектном возрасте, определяемой по результатам испытаний контрольных образцов, изготовленных из бетонной смеси рабочего состава и хранившихся в условиях согласно ГОСТ 18105.
5.8.3 Конструкции шахт лифтов следует изготовлять из тяжелого бетона по ГОСТ 26633 или легкого бетона плотной структуры по ГОСТ 25820.
5.8.4 Требования к морозостойкости бетона и к средней плотности легкого бетона конструкций следует определять по ГОСТ 10060.
5.8.5 Качество материалов, применяемых для приготовления бетона, должно обеспечивать выполнение технических требований к бетону, установленных настоящим стандартом, при соблюдении заданных технологических режимов.
5.9 Арматурные изделия и закладные детали
5.9.1 Форма и размеры арматурных изделий и закладных деталей и их положение в конструкциях шахт лифтов должны соответствовать указанным в рабочих чертежах.
5.9.2 Сварные арматурные изделия и закладные детали должны соответствовать требованиям ГОСТ 10922, а сварные сетки - требованиям ГОСТ 23279.
5.9.3 Арматурные стали должны удовлетворять требованиям государственных стандартов или технических условий на эти стали, утвержденных в установленном порядке.
5.9.4 Для изготовления монтажных петель конструкций следует применять стержневую гладкую горячекатаную арматуру класса А240 марок ВСт3пс2 и ВСт3сп2 или периодического профиля класса Ас300 марки 10ГТ по ГОСТ 5781.
Сталь марки ВСт3пс2 не допускается применять для монтажных петель, предназначенных для подъема и монтажа конструкций шахт лифтов при температуре ниже минус 40°С.
5.10 Точность изготовления конструкций
5.10.1 Отклонения действительных размеров конструкций от номинальных, указанных в рабочих чертежах, не должны превышать, мм:
0; - 6 - по длине (глубине) и ширине изнутри блока;
0; -10 - по высоте блока;
±5 - по толщине стенки блока;
±8 - по длине, ширине и высоте (толщине) плиты перекрытия (или приямка) и тумбы;
±10; - 6 - по высоте и ширине дверного проема;
±3 - по размерам проемов, отверстий и ниш;
±2 - по размерам фиксирующих монтажных устройств, а также отверстий под болтовые соединения.
Допускается по согласованию с проектной организацией - автором проекта или привязки проекта здания на основе расчета точности по ГОСТ 21780 и учета конкретного конструктивного решения здания и условий его строительства назначать предельные значения отклонений размеров конструкций, отличные от вышеуказанных, в случаях, если эти конструкции изготовляют на предприятиях, осуществляющих производство конструкций и строительство зданий из них.
5.10.2 Отклонение положения дверного проема и других проемов, отверстий и ниш в конструкциях от номинального, указанного в рабочих чертежах, не должно превышать 8 мм.
Отклонение положения фиксирующих монтажных устройств в плоскости верхней и нижней (опорной) граней блоков от номинального не должно превышать 2 мм.
5.10.3 Отклонения положения стальных закладных изделий от номинального, указанного в рабочих чертежах, не должны превышать, мм:
15 - в плоскости грани конструкции;
3 - из плоскости грани конструкции.
5.10.4 Разности длин диагоналей боковых наружных плоскостей, верхней (снаружи и изнутри) и нижней (опорной) плоскостей блоков (изнутри) не должны превышать 16 мм. Разность длин диагоналей дверных проемов не должна превышать 10 мм.
5.10.5 Отклонение от плоскостности опорной (нижней) грани блока в угловой точке (относительно плоскости, проведенной через три другие угловые точки) не должно превышать 6 мм.
5.10.6 Отклонение от прямолинейности профиля наружной поверхности блока в любом сечении на всю его длину, ширину и высоту, а также профиля верхней поверхности блока на всю длину каждой его стороны не должно превышать 5 мм.
5.10.7 Требования к толщине защитного слоя бетона, а также предельные отклонения толщины защитного слоя бетона до арматуры - по ГОСТ 13015.
5.11 Качество поверхностей и внешний вид конструкций
5.11.1 Качество поверхностей и внешний вид конструкций шахт должны удовлетворять следующим, установленным в ГОСТ 13015, категориям бетонных поверхностей (кроме поверхностей, отделываемых в процессе изготовления):
- А2 - наружных (лицевых) поверхностей блоков, подготовленных под окраску;
- А6 - внутренних и торцовых поверхностей блоков, верхних и нижних поверхностей плит перекрытий, верхних и боковых поверхностей тумб, к которым не предъявляют требований по качеству отделки;
- А7 - нелицевых поверхностей конструкций, не видимых в условиях эксплуатации.
По согласованию между изготовителем и потребителем может быть установлена вместо указанных следующая категория поверхностей:
- A3 - наружных (лицевых), подготовленных под окраску.
5.11.2 Открытые поверхности стальных закладных изделий, монтажные петли, а также кромки отверстий, ниш и проемов должны быть очищены от наплывов бетона или раствора.
5.11.3 Требования к защите от коррозии стальных закладных деталей и арматурных изделий - по ГОСТ 13015.
6.1 Комплектность поставки конструкций шахт устанавливают по согласованию между предприятием-изготовителем и потребителем.
6.2 Приемку конструкций шахт проводят партиями в соответствии с требованиями ГОСТ 13015 и настоящего стандарта.
6.3 Приемку конструкций шахт проводят по результатам периодических и приемо-сдаточных испытаний.
6.4 Приемку конструкций шахт по результатам периодических испытаний проводят по показателям морозостойкости бетона.
6.5 Приемку конструкций шахт по результатам приемо-сдаточных испытаний проводят по следующим показателям:
- прочности бетона, т.е. классу по прочности на сжатие, отпускной прочности;
- средней плотности легкого бетона;
- соответствия арматурных и закладных изделий проектной документации;
- прочности сварных соединений;
- точности геометрических параметров;
- толщины защитного слоя бетона до арматуры;
- ширины раскрытия технологических трещин;
- категории бетонных поверхностей.
Испытания конструкций шахт нагружением при контроле их прочности, жесткости и трещиностойкости не проводят.
7.1 Контроль прочности бетона
7.1.1 Прочность бетона на сжатие следует определять по ГОСТ 10180 на серии образцов, изготовленных из бетонной смеси рабочего состава и хранившихся в условиях, установленных ГОСТ 18105.
7.1.2 При испытании конструкций лифтов неразрушающими методами фактическую отпускную прочность бетона на сжатие следует определять ультразвуковым методом по ГОСТ 17624 или приборами механического действия по ГОСТ 22690, а также другими методами, предусмотренными нормативными документами на методы испытания бетона.
7.2 Контроль морозостойкости бетона
Морозостойкость бетона следует определять - по ГОСТ 10060 на серии образцов, изготовленных из бетонной смеси рабочего состава.
7.3 Контроль средней плотности бетона
Среднюю плотность легкого бетона следует определять по ГОСТ 12730.0 и ГОСТ 12730.1 на образцах, изготовленных из бетонной смеси рабочего состава, или радиоизотопным методом по ГОСТ 17623.
7.4 Контроль сварных арматурных изделий и закладных деталей
7.4.1 Методы контроля и испытаний сварных арматурных изделий и закладных деталей следует принимать по ГОСТ 10922 и ГОСТ 23858.
7.4.2 Размеры и положение арматурных изделий, толщину защитного слоя бетона до арматуры следует определять по ГОСТ 17625 и ГОСТ 22904.
При отсутствии необходимых приборов допускаются вырубка борозд и обнажение арматуры конструкций с последующей заделкой борозд.
7.5 Контроль отклонения от установленных размеров
7.5.1 Размеры, отклонения от прямолинейности, плоскостности и равенства диагоналей поверхностей конструкций, ширину раскрытия технологических трещин, размеры раковин, наплывов и околов бетона конструкций следует проверять методами, установленными ГОСТ 26433.0 и ГОСТ 26433.1.
7.5.2 Размеры и положение арматурных изделий, толщину защитного слоя бетона до арматуры следует определять по ГОСТ 17625 и ГОСТ 22904. При отсутствии необходимых приборов допускаются вырубка борозд и обнажение арматуры конструкций с последующей заделкой борозд.
7.5.3 Размеры блоков по длине (глубине) и ширине следует измерять в опорном и верхнем сечениях блока.
Размеры блоков по высоте следует измерять снаружи во всех углах и в середине каждой грани.
Измерения в целях определения фактического положения фиксирующих монтажных устройств проводят для каждого устройства блока.
При определении соответствия размеров блоков и положения их элементов требованиям настоящего стандарта учитывают результаты каждого измерения.
8.1 Маркировка
Маркировку конструкций шахт лифтов следует осуществлять в соответствии с требованиями ГОСТ 13015.
Маркировочные надписи, знаки и наименование предприятия-изготовителя следует наносить на внутренней поверхности блока, расположенной сзади кабины лифта, а также на верхних поверхностях плит и боковых поверхностях тумб.
8.2 Транспортирование и хранение
8.2.1 Транспортирование и хранение конструкций шахт лифтов выполняют в соответствии с нормативными документами на конструкции конкретных типов, разрабатываемыми с соблюдением требований ГОСТ 13015 и настоящего стандарта.
Блоки и плиты следует хранить в рабочем положении, тумбы в горизонтальном положении, установленными на подкладки толщиной не менее 30 мм или другие опоры, обеспечивающие сохранность конструкции.
Средние блоки следует устанавливать на складе в один ряд, а нижние и верхние блоки допускается устанавливать не более чем в два ряда по высоте. Плиты и тумбы следует хранить в штабелях высотой не более 2, 5 м.
Конструкции следует устанавливать на складе так, чтобы были видны их маркировочные знаки.
8.2.2 При хранении в штабелях между конструкциями должны быть уложены прокладки толщиной не менее 30 мм, а при наличии выступающих монтажных петель - не менее чем на 20 мм больше высоты выступающей части петель. Прокладки всех вышележащих конструкций должны быть расположены одна над другой по вертикали в местах, указанных в рабочих чертежах.
8.2.3 Конструкции должны быть защищены от увлажнения на период их хранения и транспортирования.
8.2.4 Подъем, погрузку и разгрузку конструкций следует производить монтажным краном с захватом монтажных петель или с применением специальных захватных устройств, предусмотренных нормативными документами на эти конструкции и указанных в проекте.
_____________________________
* В Российской Федерации действует ГОСТ Р 53770-2010.


