ГОСТ 17624-2012 БЕТОНЫ. УЛЬТРАЗВУКОВОЙ МЕТОД ОПРЕДЕЛЕНИЯ ПРОЧНОСТИ
Concretes. Ultrasonic method of strength determination
Предисловие
Цели, основные принципы и основной порядок проведения работ по межгосударственной стандартизации установлены ГОСТ 1.0-92 "Межгосударственная система стандартизации. Основные положения" и ГОСТ 1.2-97 "Межгосударственная система стандартизации. Стандарты межгосударственные, правила и рекомендации по межгосударственной стандартизации. Правила разработки, принятия, применения, обновления и отмены"
Настоящий стандарт распространяется на конструкционные тяжелые и легкие бетоны монолитных и сборных бетонных и железобетонных изделий, конструкций и сооружений (далее - конструкции) и устанавливает ультразвуковой импульсный метод (далее - ультразвуковой метод) определения прочности бетона на сжатие. Контроль и оценку прочности бетона конструкций проводят по ГОСТ 18105.
В настоящем стандарте использованы нормативные ссылки на следующие стандарты:
ГОСТ 10180-2012 Бетоны. Методы определения прочности по контрольным образцам
ГОСТ 18105-2010 Бетоны. Правила контроля и оценки прочности
ГОСТ 22690-88 Бетоны. Определение прочности механическими методами неразрушающего контроля
ГОСТ 28570-90 Бетоны. Методы определения прочности по образцам, отобранным из конструкций
Примечание - При пользовании настоящим стандартом целесообразно проверить действие ссылочных стандартов в информационной системе общего пользования - на официальном сайте Федерального агентства по техническому регулированию и метрологии в сети Интернет или по ежегодному информационному указателю "Национальные стандарты", который опубликован по состоянию на 1 января текущего года, и по выпускам ежемесячного информационного указателя "Национальные стандарты" за текущий год. Если ссылочный стандарт заменен (изменен), то при пользовании настоящим стандартом следует руководствоваться заменяющим (измененным) стандартом. Если ссылочный стандарт отменен без замены, то положение, в котором дана ссылка на него, применяется в части, не затрагивающей эту ссылку.
В настоящем стандарте применены следующие термины с соответствующими определениями:
3.1 ультразвуковой метод определения прочности бетона: Неразрушающий метод определения прочности бетона, основанный на зависимости косвенной характеристики (показания прибора) от прочности бетона.
3.2 косвенная характеристика прочности (косвенный показатель): Скорость, время распространения ультразвука или другое показание прибора при измерении прочности бетона.
3.3 градуировочная зависимость: Графическая или аналитическая зависимость, связывающая косвенный показатель с прочностью бетона.
3.4 база прозвучивания: Расстояние между центрами рабочих поверхностей ультразвуковых преобразователей (излучателя и приемника), установленных на одну и ту же поверхность конструкции при поверхностном прозвучивании, и между центрами рабочих поверхностей преобразователей при сквозном прозвучивании.
3.5 коэффициент совпадения: Коэффициент, используемый для корректировки ранее построенной или универсальной градуировочной зависимости.
4.1 Ультразвуковой метод применяют для определения прочности бетона в установленном проектной документацией промежуточном и проектном (как правило, 28-суточном) возрасте и возрасте, превышающем проектный при обследовании конструкций.
4.2 Ультразвуковые измерения в бетоне проводят методами сквозного или поверхностного прозвучивания в соответствии с приложением А. Определение прочности бетона монолитных конструкций проводят методом поверхностного прозвучивания. Сквозное прозвучивание конструкций допускается проводить при возможности измерения базы прозвучивания с учетом требований 6.19.
4.3 Прочность бетона в конструкциях определяют по экспериментально установленным градуировочным зависимостям косвенного показателя от прочности бетона (см. 3.2, 3.3).
4.4 Прочность бетона определяют на участках конструкций, не имеющих видимых повреждений (отслоения защитного слоя, трещин, каверн и др.).
4.5 Испытания ультразвуковым методом проводят при положительной температуре бетона. Допускается проводить испытания конструкций ультразвуковым методом при отрицательной температуре бетона при условии, что градуировочная зависимость построена в соответствии с 6.10.
5.1 Ультразвуковые измерения проводят приборами, предназначенными для измерения времени и скорости распространения ультразвука в бетоне, аттестованными и поверенными в установленном порядке.
5.2 Предел допускаемой абсолютной погрешности измерения времени распространения ультразвука на стандартных образцах, входящих в комплект прибора, не должен превышать значения
Δ=±(0, 01t+0, 1), (1)
где t - время распространения ультразвука, мкс.
5.3 При использовании нескольких приборов при контроле прочности бетона на одном строительном объекте их показания перед установлением градуировочной зависимости следует оттарировать на одном эталоне так, чтобы погрешность их показаний не превышала 0, 5%.
5.4 При поверхностном прозвучивании размер базы должен быть не менее 120 и не более 200 мм.
5.5 Между поверхностью бетона и рабочими поверхностями ультразвуковых преобразователей должен быть обеспечен надежный акустический контакт. Способ обеспечения контакта должен быть одинаковым при контроле бетона в конструкции и установлении градуировочной зависимости.
5.6 Не допускается применение ультразвуковых приборов, градуированных в единицах прочности бетона для непосредственного определения его прочности.
Косвенный показатель (показание прибора) применяют только после установления градуировочной зависимости "показания прибора - прочность бетона" или уточнения градуировочной зависимости, установленной в приборе в соответствии с требованиями настоящего стандарта по приложению Д.
6.1 Подготовка к испытанию включает в себя проверку используемых приборов в соответствии с инструкциями по их эксплуатации и получение данных для построения градуировочных зависимостей в соответствии с требованиями настоящего стандарта.
6.2 Для контроля прочности бетона при поверхностном прозвучивании градуировочную зависимость устанавливают на основании следующих данных:
- результатов параллельных испытаний одних и тех же участков конструкций ультразвуковым методом и методом отрыва со скалыванием по ГОСТ 22690;
- результатов испытаний конструкций ультразвуковым методом и механических испытаний образцов-кернов, отобранных из тех же участков конструкций и испытанных в соответствии с ГОСТ 28570;
- результатов испытаний ультразвуковым методом и механических испытаний одних и тех же стандартных бетонных образцов по ГОСТ 10180.
6.3 Для контроля прочности бетона при сквозном прозвучивании градуировочную зависимость устанавливают на основании следующих данных:
- результатов испытаний ультразвуковым методом участков конструкций и испытаний в соответствии с ГОСТ 28570 образцов-кернов, отобранных из тех же участков конструкций;
- результатов испытаний ультразвуковым методом и механических испытаний одних и тех же стандартных бетонных образцов по ГОСТ 10180.
6.4 Градуировочные зависимости устанавливают отдельно по каждому виду нормируемой прочности, указанному в 4.1 для бетонов одного номинального состава. Допускается строить одну градуировочную зависимость для бетонов одного вида, отличающихся по номинальному составу и значению нормируемой прочности, но не более трех нормированных классов.
6.5 При построении градуировочной зависимости по результатам параллельных испытаний ультразвуковым методом и методом отрыва со скалыванием или испытаний образцов, отобранных из конструкций, на подлежащих испытанию конструкциях или их зонах предварительно проводят ультразвуковые измерения и определяют участки с минимальным и максимальным косвенными показателями. Затем выбирают не менее 12 участков, включая участки, в которых значение косвенного показателя максимальное, минимальное и имеет промежуточные значения.
После испытания ультразвуковым методом эти участки испытывают методом отрыва со скалыванием по ГОСТ 22690 или отбирают из них образцы для испытания по ГОСТ 28570.
6.6 Возраст бетона отдельных участков не должен отличаться более чем на 25% среднего возраста бетона зоны конструкции или группы конструкций, подлежащей контролю. Возраст отдельных участков конструкции не учитывают, если градуировочную зависимость устанавливают для конструкций, возраст которых превышает два месяца.
6.7 На каждом участке определяют положение арматуры, а затем ультразвуковым прибором проводят не менее двух измерений косвенного показателя. Прозвучивание проводят в двух взаимно перпендикулярных направлениях под углом примерно 45° к направлению арматуры, параллельно или перпендикулярно к ней. При прозвучивании в направлении, параллельном арматуре, линию прозвучивания располагают между арматурными стержнями (см. рисунок 1).

1 — положение прибора при испытании; 2 — расположение арматуры
Рисунок 1 — Расположение линии прозвучивания
Отклонение отдельных результатов измерений скорости или времени распространения ультразвука на каждом участке от среднего арифметического значения результатов измерений для данного участка не должно превышать 2%. Результаты измерений, не удовлетворяющие этому условию, не учитывают при вычислении среднеарифметического значения скорости (времени) распространения ультразвука для данного участка.
6.8 Градуировочную зависимость устанавливают по единичным значениям косвенного показателя и прочности бетона. За единичное значение косвенного показателя принимают среднее значение косвенных показателей на участке. За единичное значение прочности бетона принимают прочность бетона участка, определенную методом отрыва со скалыванием или испытанием отобранных образцов.
При построении градуировочной зависимости по результатам испытаний образцов-кубов за единичное значение прочности бетона принимают среднюю прочность бетона в серии образцов, определенную по ГОСТ 10180.
6.9 При необходимости проведения испытаний монолитных конструкций непосредственно после тепловой обработки при температуре поверхности бетона выше 40°С ультразвуковые испытания на конструкции проводят при этой температуре, а испытание бетона методом отрыва со скалыванием или испытания образцов - после его остывания.
6.10 При испытании монолитных конструкций при отрицательной температуре бетона (см. 4.5) участки, выбранные для построения градуировочной зависимости, предварительно испытывают ультразвуковым методом, а затем отогревают до температуры не ниже 0°С на глубине 50 мм и испытывают методом отрыва со скалыванием или отбирают образцы для последующего испытания при положительной температуре.
6.11 При построении градуировочной зависимости по результатам испытаний ультразвуковым методом бетонных образцов-кубов и механических испытаний тех же образцов-кубов механические испытания проводят по ГОСТ 10180 после испытаний ультразвуковым методом.
При необходимости проведения ультразвуковых испытаний бетона конструкций после термообработки (горячего бетона) для определения отпускной прочности бетона этих конструкций после их остывания допускается устанавливать градуировочную зависимость по результатам испытаний ультразвуковым методом горячих образцов и механических испытаний тех же образцов после их остывания.
6.12 Для построения градуировочной зависимости по результатам испытаний образцов-кубов используют результаты испытаний не менее 15 серий образцов-кубов.
Образцы изготовляют в соответствии с требованиями ГОСТ 10180 в разные смены в течение не менее трех суток из бетонной смеси того же номинального состава, по той же технологии, при том же режиме твердения, что и конструкции, подлежащие контролю.
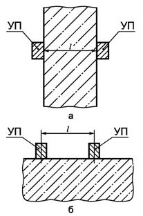
6.13 При установлении градуировочной зависимости для метода сквозного прозвучивания по результатам испытаний образцов-кубов измерения проводят, как показано на рисунке 2а.
6.14 База прозвучивания должна быть не менее 100 мм. Допускается базу прозвучивания уменьшать до 70 мм при испытании мелкозернистых бетонов и бетонов на ранних стадиях твердения (скорость ультразвука менее 2000 м/с).
6.15 При установлении градуировочной зависимости для метода поверхностного прозвучивания по результатам испытаний образцов-кубов изменения проводят в соответствии с рисунком 2б.

а — схема испытания образцов-кубов способом сквозного прозвучивания; б — схема испытания образцов-кубов способом поверхностного прозвучивания; УП — ультразвуковые преобразователи; l—база прозвучивания; 1 — направление формования; 2— направление испытания при сжатии
Рисунок 2 — Схемы испытания образцов-кубов при прозвучивании
База прозвучивания должна быть не менее 120 мм.
Измерения следует проводить на поверхности, занимающей при изготовлении то же положение относительно формы и направления формования, что и контролируемая поверхность изделия.
6.16 Число измерений на каждом образце должно быть при сквозном прозвучивании три, при поверхностном - четыре.
6.17 Отклонение отдельного результата измерения косвенного показателя в каждом образце от среднеарифметического значения результатов измерений для данного образца не должно превышать 2%.
Результаты измерения времени распространения ультразвука в образцах-кубах, не удовлетворяющие указанному условию, не учитывают при расчете среднеарифметического значения косвенного показателя в данной серии образцов. При наличии в серии двух образцов, не удовлетворяющих этому условию, результаты испытаний серии бракуют.
6.18 В зоне контакта ультразвуковых преобразователей с поверхностью бетона не должно быть раковин и воздушных пор глубиной более 3 мм и диаметром более 6 мм, а также выступов высотой более 0, 5 мм. Поверхность бетона должна быть очищена от пыли.
6.19 Относительная погрешность измерения базы прозвучивания не должна превышать 0, 5%.
6.20 Методика установления, корректировки градуировочной зависимости, оценки ее погрешности и условия ее применения приведены в приложении Б.
Рекомендуется использовать линейную зависимость R = aH+b, где R - прочность бетона, H - косвенный показатель.
6.21 Поверка и корректировка установленной градуировочной зависимости с учетом дополнительно получаемых результатов испытаний должны проводиться не реже одного раза в месяц по методике, приведенной в приложении Б. Число образцов или участков при проведении корректировки должно быть не менее трех.
6.22 Допускается ориентировочное определение прочности бетона с использованием зависимости, ранее установленной для бетона, отличающегося от испытуемого, или универсальной градуировочной зависимости.
6.23 Универсальные градуировочные зависимости для тяжелых бетонов классов В7, 5 - В35 и В35 - В60 приведены в приложении Г.
Указанные зависимости могут использоваться для ориентировочной оценки прочности бетона от 12, 5 до 45 МПа и от 45 до 75 МПа соответственно при поверхностном прозвучивании с базой 150 мм.
6.24 Ранее установленную или универсальную градуировочную зависимость для конкретных условий испытаний следует уточнять с помощью коэффициента совпадения, методика определения которого приведена в приложении Д.
6.25 Установленные или универсальные градуировочные зависимости могут использоваться без привязки к конкретным условиям испытаний по приложению Д только для получения ориентировочных значений прочности. Не допускается использовать ориентировочные значения прочности для оценки класса бетона по прочности.
7.1 Число и расположение контролируемых участков в конструкциях должны соответствовать требованиям ГОСТ 18105 и указываться в проектной документации на конструкции или устанавливаться с учетом:
- задач контроля (определение фактического класса бетона, разопалубочной или отпускной прочности, выявление участков пониженной прочности и др.);
- вида конструкций (колонны, балки, плиты и др.);
- размещения захваток и порядка бетонирования;
- армирования конструкций.
7.2 Прочность бетона каждого участка конструкции может быть определена методом поверхностного или сквозного прозвучивания.
7.3 Монолитные конструкции, а также сборные конструкции, для которых применение сквозного прозвучивания затруднено (плоские, ребристые и многопустотные панели перекрытий, стеновые панели, трубы и т.д.), испытывают методом поверхностного прозвучивания.
7.4 База при поверхностном прозвучивании при измерениях на конструкциях должна быть такой же, как и при установлении градуировочной зависимости.
7.5 Возраст бетона контролируемой конструкции не должен отличаться от возраста бетона конструкции (образца), испытанной для установления градуировочной зависимости более чем на 50% при контроле нормируемой прочности бетона и 25% - при определении прочности бетона в процессе твердения.
7.6 Качество поверхности бетона контролируемого участка конструкции в зоне контакта с ультразвуковыми преобразователями должно соответствовать требованиям, приведенным в 6.18.
7.7 При сквозном прозвучивании ультразвуковое измерение следует проводить в направлении, перпендикулярном к направлению рабочей арматуры.
При поверхностном прозвучивании для исключения влияния арматуры измерение должно проводиться по схеме, приведенной на рисунке 1.
7.8 На каждом участке конструкции проводят не менее двух измерений при поверхностном прозвучивании и одно измерение - при сквозном прозвучивании. Отклонение отдельных результатов от среднего значения при поверхностном прозвучивании должно соответствовать условиям, приведенным в 6.7.
Прочность бетона каждого участка определяют по среднему значению скорости (времени) ультразвука по градуировочной зависимости, установленной в соответствии с разделом 6, при условии, что измеренное значение косвенного показателя находится в пределах между наименьшим и наибольшим значениями, полученными при построении или уточнении универсальной градуировочной зависимости.
7.9 Статистическую оценку класса бетона по результатам испытаний ультразвуковым методом проводят по ГОСТ 18105 только в тех случаях, когда прочность бетона определяют по градуировочной зависимости, построенной в соответствии с разделом 6.
При использовании универсальных градуировочных зависимостей путем их привязки к конкретным условиям (см. приложение Д) не допускается проводить статистический контроль, при этом оценку бетона проводят по схеме Г ГОСТ 18105.
7.10 Указания по назначению числа испытуемых участков монолитных и сборных конструкций при контроле прочности бетона неразрушающим ультразвуковым методом в зависимости от вида конструкции приведены в приложении Е.
8.1 Результаты испытаний оформляют в заключении.
8.2 В заключении приводят:
- данные об испытанных конструкциях с указанием проектного класса прочности, даты бетонирования и проведения испытаний;
- данные, используемые для построения градуировочной зависимости или ее привязки к конкретным условиям;
- данные о числе участков определения прочности бетона с указанием их размещения;
- прочность бетона участков и среднюю прочность бетона захватки или конструкции;
- фактический класс бетона по прочности.
8.3 Результаты испытаний представляют в табличной форме, в которой указывают вид конструкций, проектный класс бетона, возраст бетона, прочность бетона каждого контролируемого участка и фактический класс бетона по прочности, рассчитанный по ГОСТ 18105.
Форма таблицы результатов испытаний приведена в приложении Ж.
Приложение А
(обязательное)
При измерении времени распространения ультразвука при сквозном прозвучивании ультразвуковые преобразователи устанавливают с противоположных сторон образца или конструкции в соответствии с рисунком А.1а.
Скорость ультразвука V, м/с, вычисляют по формуле
, (A.1)
где t - время распространения ультразвука, мкс;
l - расстояние между центрами зон установки преобразователей (база прозвучивания), мм.
При измерении времени распространения ультразвука при поверхностном прозвучивании ультразвуковые преобразователи устанавливают на одной стороне образца или конструкции в соответствии с рисунком А.1б.

а — схема испытания бетона при сквозном прозвучивании; б — схема испытания бетона при поверхностном прозвучивании; УП — ультразвуковые преобразователи; l — база прозвучивания
Рисунок А. 1 — Схемы испытания бетона ультразвуковым методом
Приложение Б
(рекомендуемое)
Уравнение градуировочной зависимости (косвенный показатель - прочность) принимают линейным по формуле
R = aH + b, (Б.1)
где R - прочность бетона, МПа;
H - косвенный показатель (время или скорость ультразвука).
Коэффициенты a и b рассчитывают по формулам:
b=R̅ф-aH̅, (Б.2)
, (Б.3)
где Riф - прочность бетона на i-м участке, определенная при испытании образцов или методом отрыва со скалыванием, МПа;
Hi - косвенный показатель на i-м участке (образце), определенный в соответствии с требованиями раздела 6;
, (Б.4)
, (Б.5)
где N - число участков или отдельных образцов, использованных для построения градуировочной зависимости.
После построения градуировочной зависимости по формуле (Б.1) проводят ее корректировку путем отбраковки единичных результатов испытаний, не удовлетворяющих условию
, (Б.6)
где S - остаточное среднеквадратическое отклонение, определенное по формуле
, (Б.7)
Riн - прочность бетона на i-м участке, определенная по градуировочной зависимости по формуле
Riн =ajH+bj, (Б.8)
где bj, aj - коэффициенты для установленной градуировочной зависимости.
После отбраковки минимальное и максимальное значения косвенного показателя Hmin, Hmax и градуировочную зависимость устанавливают вновь по оставшимся результатам испытания по формулам (Б.1) - (Б.5).
Среднеквадратическое отклонение ST.M.H построенной градуировочной зависимости определяют по формуле (Б.7).
Коэффициент корреляции градуировочной зависимости r определяют по формуле
, (Б.9)
где
.
Корректировка установленной градуировочной зависимости с учетом дополнительно получаемых результатов испытаний должна проводиться не реже одного раза в месяц.
При корректировке градуировочной зависимости к существующим результатам испытаний добавляют не менее трех новых результатов. По мере накопления данных для построения градуировочной зависимости результаты предыдущих испытаний, начиная с самых первых, отбраковывают так, чтобы общее число результатов не превышало 20. После отбраковки единичных результатов испытаний, не удовлетворяющих условию (Б.6), и добавления новых результатов минимальное и максимальное значения косвенного показателя, градуировочную зависимость и ее параметры устанавливают вновь по формулам (Б.1) - (Б.9).
Применение градуировочной зависимости для определения прочности бетона в соответствии с требованиями настоящего стандарта допускается только для значений косвенного показателя, попадающего в диапазон от Hmin до Hmax.
Если коэффициент корреляции r < 0, 7 или среднеквадратическое отклонение градуировочной зависимости ST.M.H/R̅>0, 15, то контроль и оценка прочности по полученной градуировочной зависимости не допускаются.
Приложение В
(справочное)
В настоящем приложении приведен пример установления и оценки параметров градуировочной зависимости бетонов классов прочности В20 - В25.
Прочность бетона классов В20 - В25 контролируют в конструкции методом поверхностного прозвучивания. Для установления градуировочной зависимости между скоростью ультразвука и прочностью бетона в возрасте 28 сут выполнены параллельные испытания одних и тех же участков конструкций ультразвуковым методом и методом отрыва со скалыванием по ГОСТ 22690. Результаты испытаний приведены в графах 2, 3 таблицы В.1.
Таблица В.1
|
Номер участка |
Скорость ультразвука, м/с |
Прочность, МПа |
| Riн -Riф|/S |
Примечание | |||
|
по результатам испытаний по ГОСТ 22690 |
по градуировочной зависимости | ||||||
|
до отбраковки |
после отбраковки |
до отбраковки |
после отбраковки | ||||
|
1 |
2 |
3 |
4 |
5 |
6 |
7 |
8 |
|
1 |
3245 |
20, 8 |
22, 9 |
23, 3 |
0, 61 |
0, 73 |
- |
|
2 |
2470 |
13, 6 |
11, 6 |
11, 3 |
0, 58 |
0, 68 |
- |
|
3 |
3095 |
22, 6 |
20, 7 |
21, 0 |
0, 56 |
0, 48 |
- |
|
4 |
2870 |
15, 6 |
17, 4 |
17, 5 |
0, 54 |
0, 55 |
- |
|
5 |
4320 |
37, 3 |
38, 5 |
40, 0 |
0, 34 |
0, 78 |
- |
|
6 |
3615 |
33, 5 |
28, 2 |
29, 0 |
1, 55 |
1, 31 |
- |
|
7 |
2655 |
14, 2 |
14, 3 |
14, 2 |
0, 03 |
0, 01 |
- |
|
8 |
3780 |
30, 7 |
30, 6 |
31, 6 |
0, 02 |
0, 26 |
- |
|
9 |
3490 |
21, 8 |
26, 4 |
27, 1 |
1, 36 |
1, 56 |
- |
|
10 |
3840 |
38, 1 |
31, 5 |
32, 5 |
1, 94 |
1, 64 |
- |
|
11 |
3400 |
30, 3 |
25, 1 |
25, 7 |
1, 53 |
1, 35 |
- |
|
12 |
3255 |
22, 5 |
23, 0 |
23, 5 |
0, 15 |
0, 28 |
- |
|
13 |
3940 |
35, 8 |
32, 9 |
34, 1 |
0, 84 |
0, 51 |
- |
|
14 |
4070 |
33, 1 |
34, 8 |
36, 1 |
0, 51 |
0, 88 |
- |
|
15 |
3340 |
23, 2 |
24, 2 |
24, 8 |
0, 31 |
0, 46 |
- |
|
16 |
2940 |
15, 6 |
18, 4 |
18, 6 |
0, 84 |
0, 87 |
- |
|
17 |
3130 |
17, 5 |
21, 2 |
21, 5 |
1, 09 |
1, 18 |
- |
|
18 |
3305 |
29, 7 |
23, 7 |
24, 2 |
1, 76 |
1, 61 |
- |
|
19 |
3765 |
20, 1 |
30, 4 |
- |
3, 03 |
- |
Отбраковано |
Средние значения прочности по результатам испытаний R̅ф и скорости ультразвука V̅ определяют по формулам (Б.4) и (Б.5) приложения Б:
МПа,
м/с.
Коэффициенты a и b определяют по формулам (Б.2), (Б.3) приложения Б:
,
b=25, 05-0, 0145·3396=-24, 19.
Установленная градуировочная зависимость описывается уравнением R = 0, 0145V - 24, 19, где V - скорость ультразвука, м/с.
Остаточное среднеквадратическое отклонение, определенное по формуле (Б.7) приложения Б, равно
МПа.
Сравнивая для различных участков значения фактической прочности Riф с прочностью Riн, определенной по градуировочной зависимости (см. таблицу В.1), устанавливают, что условие (Б.6) приложения Б не выполняется для результатов на участке 19, которые подлежат отбраковке.
По оставшимся 18 результатам рассчитывают новые средние значения прочности R̅ф скорости ультразвука V̅, коэффициенты a и b и среднеквадратическое отклонение для градуировочной зависимости:
МПа,
м/с.
,
b=25, 32-0, 0155·3375=-27, 0,
МПа.
Для скорректированной градуировочной зависимости вида R = 0, 0155V - 27, 0 условие (Б.6) приложения Б выполняется на всех участках. Дальнейшую отбраковку проводить не требуется. Графики градуировочных зависимостей до и после корректировки приведены на рисунке В.1.
Среднеквадратическое отклонение построенной градуировочной зависимости
ST.M.H=S=3, 5 МПа; ST.M.H/Rф=3, 5/25, 32>0, 15.
Коэффициент корреляции градуировочной зависимости r вычисляют по формуле (Б.9) приложения Б при
МПа.
![]()
Полученная градуировочная зависимость может быть использована для определения прочности бетона в конструкции в соответствии с требованиями настоящего стандарта в диапазоне прочностей 11, 3-40 МПа.

|
- градуировочная зависимость до отбраковки; | |
|
- градуировочная зависимость, скорректированная после отбраковки; | |
|
- отбракованные результаты испытаний |
Рисунок В.1 — Градуировочная зависимость
Приложение Г
(рекомендуемое)

R = (0, 016V-27, 3)
Рисунок Г.2 — Универсальная градуировочная зависимость, построенная по результатам испытаний конструкций из бетона проектных классов В7, 5—В35

R = (0, 02V-37, 6)
Рисунок Г.2 — Универсальная градуировочная зависимость, построенная по результатам испытаний конструкций из бетона проектных классов В35—В60
Приложение Д
(обязательное)
Для уточнения градуировочной зависимости, установленной для бетона, отличающегося от испытуемого, значение прочности бетона, определенное с использованием этой градуировочной зависимости, умножают на коэффициент совпадения Kс, определяемого по формуле
, (Д.1)
где Rо.сi - прочность бетона в участке, определяемая методом отрыва со скалыванием по ГОСТ 22690 или испытанием кернов по ГОСТ 28570;
Rузкi - прочность бетона в участке, определяемая ультразвуковым методом по используемой градуировочной зависимости;
n - число участков, принимаемое не менее трех.
При вычислении коэффициента совпадения должны быть соблюдены следующие условия:
- каждое частное значение
должно быть не менее 0, 7 и не более 1, 3:
; (Д.2)
- каждое частное значение
должно отличаться от среднего значения не более чем на 15%:
. (Д.3)
Значения Rо.сi/Rузкi, не удовлетворяющие приведенным выше условиям, не должны учитываться при вычислении коэффициента совпадения Kс.
Приложение Е
(обязательное)
При контроле прочности бетона сборных конструкций (отпускной или передаточной) число контролируемых конструкций каждого вида принимают не менее 10% и не менее 12 конструкций из партии. Если партия состоит из 12 конструкций и менее, проводят сплошной контроль. При этом число испытуемых участков должно быть не менее:
- 1 на 4 м длины линейных конструкций;
- 1 на 4 м2 площади плоских конструкций.
При контроле прочности бетона монолитных конструкций в промежуточном возрасте контролируют не менее одной конструкции каждого вида (колонна, стена, перекрытие, ригели и т.д.) из контролируемой партии.
При контроле прочности бетона монолитных конструкций в проектном возрасте проводят сплошной контроль прочности бетона всех конструкций контролируемой партии. При этом число участков испытаний должно быть не менее:
- 3 на каждую захватку для плоских конструкций (стена, перекрытие, фундаментная плита);
- 1 на 4 м длины (или 3 на захватку) для каждой линейной горизонтальной конструкции (балка, ригели);
- 6 на каждую конструкцию (для линейных вертикальных конструкций - колонна, пилон).
Общее число участков измерений для расчета характеристик однородности прочности бетона партии конструкций должно быть не менее 20.
Правило выбора единичного значения прочности при применении неразрушающих методов определения прочности в зависимости от вида конструкций приведены в приложении А ГОСТ 18105.
Приложение Ж
(рекомендуемое)
|
Наименование конструкции, проектный класс прочности бетона, дата бетонирования или возраст бетона испытанной конструкции |
N участка по схеме или размещение участка в осях |
Прочность бетона, МПа |
Класс бетона | |
|
участка |
средняя | |||
|
1 |
2 |
3 |
4 |
5 |


