ИТС 27-2017 ПРОИЗВОДСТВО ИЗДЕЛИЙ ДАЛЬНЕЙШЕГО ПЕРЕДЕЛА ЧЕРНЫХ МЕТАЛЛОВ
Manufacture further processing ferrous metals
Введение
Информационно-технический справочник по наилучшим доступным технологиям "Производство изделий дальнейшего передела черных металлов" (далее - справочник НДТ) разработан на основании анализа распространенных в Российской Федерации и перспективных технологий, оборудования, сырья, других ресурсов с учетом климатических, экономических и социальных особенностей Российской Федерации.
В соответствии с положениями Федерального закона от 10 января 2002 г. N 7-ФЗ "Об охране окружающей среды" ([1]) объекты, оказывающие воздействие на окружающую среду, подразделяются на четыре категории. Производство изделий дальнейшего передела черных металлов включено в I категорию и отнесено к областям применения наилучших доступных технологий (НДТ). Профильные предприятия рассматриваются как объекты, деятельность которых оказывает значительное негативное воздействие на окружающую среду, поэтому они обязаны получать комплексные экологические разрешения на осуществление своей деятельности. Общая цель комплексного подхода к экологическому нормированию хозяйственной деятельности заключается в совершенствовании регулирования и контроля производственных процессов с целью обеспечения высокого уровня защиты окружающей среды. Хозяйствующие субъекты должны принимать все необходимые предупредительные меры, направленные на предотвращение загрязнения окружающей среды и рациональное использование ресурсов, в частности, посредством внедрения НДТ, обеспечивающих выполнение экологических требований.
Термин "наилучшие доступные технологии" определен в статье 1 Федерального закона N 7-ФЗ "Об охране окружающей среды" ([1]), согласно которому НДТ - это технология производства продукции (товаров), выполнения работ, оказания услуг, определяемая на основе современных достижений науки и техники и наилучшего сочетания критериев достижения охраны окружающей среды при условии наличия технической возможности ее применения.
Структура настоящего справочника НДТ соответствует ГОСТ Р 56828.14-2016 ([2]), формат описания технологий - ГОСТ Р 56828.13-2016 ([3]), термины приведены в соответствии с ГОСТ Р 56828.15-2016 ([4]).
Краткое содержание справочника НДТ
Введение. Представлено краткое содержание настоящего справочника НДТ.
Предисловие. Указана цель разработки настоящего справочника НДТ, его статус, законодательный контекст, краткое описание процедуры создания в соответствии с установленным порядком, а также взаимосвязь с аналогичными международными документами.
Область применения. Описаны основные виды деятельности, на которые распространяется настоящий справочник НДТ.
В разделе 1 представлена общая характеристика производства изделий дальнейшего передела черных металлов в Российской Федерации:
- предприятия по производству изделий дальнейшего передела черных металлов (перечень предприятий и их специализация);
- географическое расположение предприятий;
- виды перерабатываемого сырья и их характеристика.
В разделе 2 представлено описание технологий производства изделий дальнейшего передела черных металлов.
Описаны основные процессы производства.
В разделе 3 приведена информация о регламентируемых и фактических уровнях эмиссий в окружающую среду для применяемых технологических процессов, сырья, топлива, вторичных сырьевых и энергетических ресурсов с указанием применяемых методов определения.
Раздел подготовлен на основе данных, представленных предприятиями Российской Федерации в рамках разработки настоящего справочника НДТ, а также различных литературных источников.
В разделе 4 описаны подходы к определению НДТ, примененные при разработке настоящего справочника НДТ.
В разделе 5 приведены идентифицированный в результате бенчмаркинга отрасли перечень НДТ при производстве изделий дальнейшего передела черных металлов и их характеристики, в том числе перечень основного технологического оборудования, позволяющего сократить эмиссии в окружающую среду, обеспечить рациональное потребление сырья, воды, энергии и снизить образование отходов.
В разделе 6 приведены доступные сведения об экономических аспектах реализации НДТ на предприятиях Российской Федерации по производству изделий дальнейшего передела черных металлов.
В разделе 7 приведен перечень перспективных технологий и технологий, находящихся на стадии научно-исследовательских и опытно-конструкторских работ или опытно-промышленного внедрения, позволяющих повысить эффективность производства и сократить эмиссии в окружающую среду, с указанием сроков, в течение которых перспективные технологии могут стать экономически и технически доступными.
Заключительные положения и рекомендации. Приведены сведения о членах технической рабочей группы, принимавших участие в разработке настоящего справочника НДТ. Даны рекомендации предприятиям по дальнейшим исследованиям экологических аспектов их деятельности.
Библиография. Приведен перечень источников информации, использованных при разработке настоящего справочника НДТ.
Предисловие
Федеральный закон N 219-ФЗ ([5]) совершенствует систему нормирования в области охраны окружающей среды и вводит в российское правовое поле меры экономического стимулирования хозяйствующих субъектов для внедрения наилучших технологий.
Федеральный закон N 162-ФЗ ([6]) содержит положения, закрепляющие статус информационно-технических справочников как документов национальной системы стандартизации.
Цели, основные принципы и порядок разработки настоящего справочника НДТ установлены постановлением Правительства Российской Федерации от 23 декабря 2014 г. N 1458 "О порядке определения технологии в качестве наилучшей доступной технологии, а также разработки, актуализации и опубликования информационно-технических справочников по наилучшим доступным технологиям" ([7]).
1 Статус документа
Настоящий справочник НДТ является документом по стандартизации, разработанным в результате анализа технологических, технических и управленческих решений для производства изделий дальнейшего передела черных металлов и содержащим описание применяемых в настоящее время и перспективных технологических процессов, технических способов, методов предотвращения и сокращения негативного воздействия на окружающую среду, из числа которых выделены решения, признанные НДТ для производства изделий дальнейшего передела черных металлов, включая соответствующие параметры экологической результативности, ресурсо- и энергоэффективности, а также экономические показатели.
2 Информация о разработчиках
Настоящий справочник НДТ разработан технической рабочей группой "Производство изделий дальнейшего передела черных металлов" (ТРГ 27), состав которой утвержден приказом Росстандарта от 30 декабря 2016 г. N 2059 "О создании технической рабочей группы "Производство изделий дальнейшего передела черных металлов".
Перечень организаций и их представителей, принимавших участие в разработке настоящего справочника НДТ, приведен в разделе "Заключительные положения и рекомендации".
Настоящий справочник НДТ представлен на утверждение Бюро наилучших доступных технологий (далее - Бюро НДТ) (www.burondt.ru).
3 Краткая характеристика
Настоящий справочник НДТ содержит описание применяемых при производстве изделий дальнейшего передела черных металлов технологических процессов, оборудования, технических способов, методов, в том числе позволяющих снизить негативное воздействие на окружающую среду, потребление воды и сырья, повысить энергоэффективность. Из описанных технологических процессов, оборудования, технических способов, методов определены решения, являющиеся НДТ. Для НДТ в настоящем справочнике НДТ установлены соответствующие технологические показатели НДТ.
4 Взаимосвязь с международными, региональными аналогами
Настоящий справочник НДТ разработан в соответствии с Федеральным законом ([1]) (статья 28.1, пункт 7) на основе результатов анализа отрасли в Российской Федерации. Аналогичный справочник Европейского союза по наилучшим доступным технологиям для предприятий отсутствует.
5 Сбор данных
Информация о технологических процессах, оборудовании, технических способах, методах, применяемых при производстве изделий дальнейшего передела черных металлов в Российской Федерации, собрана в соответствии с Порядком сбора данных, необходимых для разработки информационно-технического справочника по наилучшим доступным технологиям и анализа приоритетных проблем отрасли, утвержденным приказом Росстандарта от 23 июля 2015 г. N 863.
6 Взаимосвязь с другими справочниками НДТ
Взаимосвязь настоящего справочника НДТ с другими справочниками НДТ, разрабатываемыми в соответствии с распоряжением Правительства Российской Федерации от 31 октября 2014 г. N 2178-р ([10]), отражена в разделе "Область применения".
7 Информация об утверждении, опубликовании и введении в действие
Настоящий справочник НДТ утвержден приказом Росстандарта от 15 декабря 2017 г. N 2837.
Настоящий справочник НДТ введен в действие с 1 июля 2018 г., официально опубликован в информационной системе общего пользования - на официальном сайте Федерального агентства по техническому регулированию и метрологии в сети Интернет (www.gost.ru).
Область применения
Настоящий справочник НДТ распространяется на следующие основные виды деятельности:
- производство горячего проката;
- производство холоднокатаного проката;
- производство длинномерной продукции;
- производство горячекатаных труб;
- производство горячепрессованных труб;
- производство холоднодеформированных труб;
- производство спиральношовных труб, изготовленных электродуговой сваркой под слоем флюса (ТБД);
- производство прямошовных труб, изготовленных электродуговой сваркой под слоем флюса (ТБД);
- производство электросварных труб;
- производство труб непрерывной печной сваркой;
- производство труб сваркой в среде инертных газов;
- производство труб с покрытием.
Настоящий справочник НДТ также распространяется на процессы, связанные с основными видами деятельности, которые могут оказать влияние на объемы эмиссий и (или) масштабы загрязнения окружающей среды: методы предотвращения и сокращения эмиссий и образования отходов.
Дополнительные виды деятельности при производстве изделий дальнейшего передела черных металлов и соответствующие им справочники НДТ (названия справочников НДТ даны в редакции распоряжения Правительства Российской Федерации от 31 октября 2014 г. N 2178-р) ([10]) приведены в таблице ниже.
|
Вид деятельности |
Соответствующий справочник НДТ |
|
Методы очистки сточных вод, направленные на сокращение сбросов металлов в водные объекты |
Справочник НДТ ИТС 8-2015 "Очистка сточных вод при производстве продукции (товаров), выполнении работ и оказании услуг на крупных предприятиях" |
|
Промышленные системы охлаждения, например, градирни, пластинчатые теплообменники |
Справочник НДТ ИТС 20-2016 "Промышленные системы охлаждения" |
|
Хранение и обработка материалов |
Справочник НДТ ИТС 46-2017 "Сокращение выбросов загрязняющих веществ, сбросов загрязняющих веществ при хранении и складировании товаров (грузов)" |
|
Обращение с отходами |
Справочник НДТ ИТС 15-2016 "Утилизация и обезвреживание отходов (кроме обезвреживания термическим способом (сжигание отходов)" |
|
Выработка пара и электроэнергии на тепловых станциях |
Справочник НДТ ИТС 38-2017 "Сжигание топлива на крупных установках в целях производства энергии" |
|
Повышение энергетической эффективности |
Справочник НДТ ИТС 48-2017 "Повышение энергетической эффективности при осуществлении хозяйственной и (или) иной деятельности" |
Металлургическая промышленность является одной из ведущих отраслей российской экономики. Ее продукция служит основой развития машиностроения, строительства, а также находит широкое применение во всех отраслях народного хозяйства.
Вклад металлургии в валовой внутренний продукт (ВВП) России составляет 2, 5 %, в добавленную стоимость обрабатывающей промышленности - 17, 4 %, в экспорт - 10, 0 %, в экспорт обрабатывающей промышленности - 29, 2 %, в занятость - 2, 6 %. На металлургических предприятиях занято более 900 тыс. человек, более чем в 55 городах металлургические предприятия являются градообразующими. Отрасль оказывает значительный мультипликативный эффект на смежные отрасли: один человек, занятый в металлургии, обеспечивает занятость до 7 человек в смежных отраслях экономики. Черная металлургия использует более 5 % электроэнергии, более 8 % природного газа от общего внутреннего потребления в России, ее доля в грузовых железнодорожных перевозках составляет более 15 %.
Система производств черных металлов охватывает весь процесс - от добычи и подготовки сырья, топлива, вспомогательных материалов до выпуска проката с изделиями дальнейшего передела. Собственно, металлургическим циклом является следующая последовательность производств (переделов):
- производство чугуна (первый передел);
- производство стали, включая непрерывную разливку (второй передел);
- производство проката (третий передел).
Существует несколько разновидностей предприятий черной металлургии:
- металлургические предприятия полного цикла (предприятия, производящие чугун, сталь и прокат, например: Магнитогорский металлургический комбинат, Челябинский металлургический комбинат);
- предприятия "передельной" металлургии - предприятия без выплавки чугуна, а иногда и стали (например, Синарский трубный завод не имеет собственного производства стали и изготавливает трубы из покупной заготовки);
- предприятия "малой" металлургии (машиностроительные заводы, осуществляющие выпуск стали и проката).
Конечной продукцией предприятий третьего (дальнейшего, после получения чугуна и стали) передела являются изделия разнообразной формы из стали и сплавов, полученные с применением процессов обработки металлов давлением (ОМД), основными из которых являются следующие:
- прокатка - самый высокопроизводительный процесс ОМД, заключающийся в деформации металла в пространстве между вращающимися валками. Процесс нашел применение при изготовлении практически всех видов металлопродукции из стали и сплавов [1];
- прессование металла заключается в выдавливании металла из полости контейнера через отверстие матрицы, установленной на его торце. Применяется при изготовлении горячедеформированных труб и фасонных профилей [2];
- волочение - процесс, заключающийся в деформации металла (преимущественно холодной) через отверстие в рабочем инструменте (волоке) путем приложения тянущего усилия. Используется при изготовлении труб и проволоки [3];
- ковка - формоизменение металла, преимущественно в горячем состоянии, осуществляемое бойками ковочной машины (молота, пресса и т.п.) с приложением ударной нагрузки. В черной металлургии применяется преимущественно для деформации слитков с получением заготовки разнообразного назначения, например, для последующей горячей прокатки сортового металла или изготовления горячедеформированных труб;
- штамповка предусматривает формоизменение металла путем его деформации между профилированными поверхностями штампов. Процесс применяется в машиностроении, а его разновидность - формовка листа используется при изготовлении сварных труб.
Поскольку прокатка является процессом, получившим наиболее массовое применение при производстве изделий дальнейшего передела черных металлов, часто всю продукцию третьего металлургического передела называют прокатом. Отдельно выделяют изделия в виде труб и метизную продукцию.
Сортамент металлопродукции настолько разнообразен, что, как правило, выделяют его укрупненные группы, классифицируемые по форме изделия:
- сортовой металл простой геометрической формы (сталь круглая, полосовая, квадратная, шестигранная и др.), который в зависимости от размеров сечения делят на заготовку, крупносортный, среднесортный, мелкосортный прокат и катанку (горячекатаную проволоку);
- прокат фасонного сечения, который, в свою очередь, может быть общего (швеллер, двутавровый, зетовый, угловые профили и др.) и специального назначения (рельсы, арматурные профили, полособульбовые, шпунтовые и др.);
- прокат толстолистовой горячекатаный (толщиной более 4 мм);
- прокат тонколистовой (толщиной менее 4 мм) горячекатаный и холоднокатаный, в том числе с покрытием;
- трубы бесшовные горяче- и холоднодеформированные;
- трубы сварные (прямошовные, спиральношовные) различного диаметра;
- специальные виды проката (периодические рессорные профили, гнутые профили, шары, валы, колеса, бандажи и др.);
- проволока различного назначения, получаемая преимущественно волочением.
Россия является пятым крупнейшим производителем стали в мире с объемом выпуска в 69, 6 млн т, что составляет 4, 3 % общемирового производства. Лидером по выпуску стали по итогам 2016 г. является Китай (808, 4 млн т), далее следуют Япония (104, 8 млн т), Индия (95, 6 млн т) и США (78, 6 млн т) [4].
Производственные мощности российской черной металлургии составляют около 85 млн т/г. В структуре производства стали за последние 25 лет значительно обновились основные производственные фонды, доля производства стали электродуговым способом увеличилась до 30 %, а доля производства стали мартеновским способом сократилась до 2 %. Баланс производства и потребления продукции отечественной черной металлургии в 2015 г. приведен в таблице 1.1.
Доля экспортных поставок в общем объеме российского производства металлопродукции последние 10 лет составляла не менее 39 %. В отечественной черной металлургии с 2010 г. объем производства продукции с высокой добавленной стоимостью был увеличен более чем в 1, 5 раза. В общем объеме производства российских металлургических компаний за данный период доля продукции с высокой добавленной стоимостью увеличилась с 14 % до 20 %.
|
Продукция |
Производство, млн т |
Потребление, млн т |
Экспорт, млн т |
Импорт, млн т |
|
Плоский прокат* |
19, 3 |
12, 9 |
9, 1 |
2, 7 |
|
Сортовой прокат |
18, 6 |
16, 0 |
3, 9 |
1, 3 |
|
Трубы |
11, 4 |
10, 9 |
0, 9 |
0, 4 |
|
Полуфабрикаты (экспортная заготовка**) |
12, 4 |
- |
12, 4 |
- |
|
Всего |
61, 7 |
39, 8 |
26, 3 |
4, 4 |
|
Специальные стали и сплавы (кроме нержавеющей и электротехнической стали) |
32 |
105 |
1 |
74 |
|
Нержавеющая сталь*** |
75 |
308 |
5 |
238 |
|
Трубы из нержавеющей стали |
38 |
60 |
2 |
24 |
|
Электротехническая сталь*** |
610 |
107 |
510 |
7 |
|
* Без учета плоского проката, используемого для производства труб. ** В эквиваленте готовой металлопродукции. *** Прокат. | ||||
Доля импортных поставок на рынке черной металлургии в целом на протяжении последних 5 лет уменьшалась (например, по сегменту плоского проката - до 11 %), но она все еще остается значительной в сегментах с высокой добавленной стоимостью: 16 % - в сегменте холоднокатаного проката, 19 % - в сегменте оцинкованной стали, 27 % - в сегменте проката с полимерными покрытиями.
Одной из причин низких темпов импортозамещения является большой срок окупаемости новых производственных мощностей для производства продукции с высокой добавленной стоимостью. Однако рост внутреннего спроса на такую продукцию и планы компаний по увеличению объемов поставок на внутренний рынок являются предпосылками дальнейшего снижения уровня импортных поставок.
Объем производства специальных сталей и сплавов (кроме нержавеющей и электротехнической стали) в 2015 г. составил 32 тыс. т (см. таблицу 1.1). Данная продукция характеризуется низкой конкурентоспособностью, практически не экспортируется и не менее 70 % внутреннего спроса покрывается импортной продукцией.
Объем производства электротехнических (трансформаторной и динамной) сталей в России в 2015 г. составил 610 тыс. т. Россия является чистым экспортером электротехнических сталей: в 2015 г. объемы экспорта многократно превысили объемы импорта. В 2016 г. уменьшились производство, экспорт и импорт электротехнических сталей, при этом потребление незначительно выросло.
Российское производство нержавеющей стали снизилось с 150 тыс. т в 2013 г. до 75 тыс. т в 2015 г. Объем экспорта в 2013-2015 гг. сократился до уровня 5 тыс. т. В основном российские предприятия экспортируют плоский прокат, бесшовные трубы и сортовой прокат. Объемы импорта менялись не столь существенно и в 2015 г. составили 240 тыс. т, что значительно превышает объемы внутреннего производства. В 2016 г. объемы экспорта нержавеющих сталей в России изменились незначительно, однако объемы производства и импорта выросли до 100 тыс. т и 260 тыс. т соответственно в связи с ростом внутреннего спроса.
В таблице 1.2 приведены данные об объемах производства различных видов продукции дальнейшего передела черных металлов в 2016.
|
Продукция |
2016 г. |
В % к 2015 г. |
|
Сталь, млн т |
69, 6 |
100, 3 |
|
Прокат готовый черных металлов, млн т |
60, 3 |
99, 8 |
|
В том числе: | ||
|
- сортовой (без заготовки для переката на экспорт) |
18, 4 |
99, 1 |
|
- листовой (без покрытий) |
27, 5 |
99, 3 |
|
в том числе: | ||
|
- горячекатаный |
19, 5 |
100, 2 |
|
- холоднокатаный |
8, 0 |
97, 3 |
|
- слитки и слябы для переката на экспорт |
14, 1 |
101, 6 |
|
Прокат плоский с покрытиями, тыс. т |
5386 |
97, 8 |
|
Прокат плоский оцинкованный, тыс. т |
878 |
101, 5 |
|
Стальные трубы всего, тыс. т |
10 065 |
88, 5 |
|
в том числе: | ||
|
- бесшовные |
3327 |
97, 4 |
|
- сварные (без электросварных) |
223 |
93, 3 |
|
- электросварные большого диаметра |
2857 |
72, 8 |
|
- электросварные (кроме стальных большого диаметра) |
3658 |
96, 4 |
|
Из общего количества стальных труб: | ||
|
- трубы бурильные из черных металлов (кроме литейного чугуна) |
46, 0 |
109, 5 |
|
- трубы обсадные |
975 |
110, 9 |
|
- трубы насосно-компрессорные |
601 |
110, 7 |
|
Производство проволоки | ||
|
Проволока из нелегированной стали, тыс. т |
1374 |
98, 1 |
|
Проволока из нержавеющей стали и прочих легированных сталей, тыс. т |
208 |
99, 0 |
На территории России выделяются три металлургические базы: Центральная, Уральская, Сибирская. Они различаются масштабами; специализацией и структурой производства; транспортно-географическим положением, обеспеченностью сырьевыми и топливно-энергетическими ресурсами, характером размещения предприятий, уровнем развития концентрации и комбинирования, технико-экономическими показателями и другими признаками (см. рисунок 1.1).
Уральская металлургическая база является самой крупной в России. На ее долю приходится больше половины выпускаемых в России объемов чугуна, стали и проката черных металлов. Урал пользуется привозным кузнецким углем. Собственная железорудная база истощена, поэтому значительная часть сырья ввозится из Казахстана (Соколовско-Сарбайское месторождение), с Курской магнитной аномалии (КМА) и Карелии. На Урале сформировались крупнейшие центры черной металлургии (Магнитогорск, Челябинск, Нижний Тагил, Новотроицк, Екатеринбург, Серов, Златоуст и др.), при этом главную роль играют предприятия с полным циклом.
Центральная металлургическая база, будучи старым районом черной металлургии, развивалась в двух направлениях: выплавка литейного чугуна и доменных ферросплавов (Тула, Липецк) и производство стали и проката главным образом из металлического лома (Москва, Электросталь, Нижний Новгород и др.). Черная металлургия Центра существенно зависит от привозного топлива. Ресурсы сырья, представленные месторождениями КМА, практически не ограничивают производство. Большое значение имеет металлический лом. Почти вся железная руда разрабатывается открытым способом.

Рисунок 1.1 - Металлургические базы Российской Федерации
В пределах КМА возникло производство металлизированных окатышей, на основе которого развивается электрометаллургия без доменного передела (Оскольский комбинат), создано производство холоднокатаной ленты (Орловский сталепрокатный завод).
Металлургическая база Сибири находится в процессе формирования. На долю Сибири и Дальнего Востока приходится примерно пятая часть производимого в России готового проката.
Современное производство представлено двумя мощными предприятиями с полным циклом - Кузнецким металлургическим комбинатом и Западно-Сибирским заводом (Новокузнецк), а также несколькими передельными заводами (Новосибирск, Гурьевск, Красноярск, Петровск-Забайкальский, Комсомольск-на-Амуре). Сырьевой базой служат железные руды Горной Гиории, Хакасии и Ангаро-Илимского бассейна (Кормуновский ГОК). Топливная база - Кузбасс.
Сведения о крупнейших в Российской Федерации предприятиях-производителях проката представлены в таблице 1.3, изготовителях труб - в таблице 1.4, изготовителях метизов - в таблице 1.5.
|
Наименование предприятия |
Месторасположение (город/область) |
Холдинг |
Специализация |
Объем выпуска в 2016 г., млн т |
|
Уральская металлургическая база
| ||||
|
Магнитогорский металлургический комбинат (ММК), включая ММК-Метиз |
Магнитогорск, Челябинская обл. |
ММК |
Сортовой прокат, арматура, катанка, фасонный прокат, строительный прокат, горячекатаный и холоднокатаный листовой прокат, в том числе с покрытиями, проволока, канаты, гвозди, лента, гнутые профили |
11, 6 |
|
Челябинский металлургический комбинат (ЧМК) |
Челябинск, Челябинская обл. |
МЕЧЕЛ |
Сортовой прокат, горячекатаный и холоднокатаный листовой прокат, фасонный прокат, строительный прокат (балки, арматура), рельсы |
3, 8 |
|
Нижнетагильский металлургический комбинат (НТМК) |
Нижний Тагил, Свердловская обл. |
ЕВРАЗ |
Строительный прокат (двутавр, швеллер, уголок, шпунт), прокат транспортного назначения (рельсы, колеса, бандажи и др.) |
4, 4 |
|
Уральская сталь |
Новотроицк, Оренбургская обл. |
Металлоинвест |
Сортовой прокат, трубная заготовка, листовой прокат: мостосталь, штрипс, судосталь, толстый лист |
2, 4 |
|
Нижнесергинский метизно-металлургический завод |
Ревда, Нижние Серги, Березовский, Свердловская обл. |
Группа НЛМК |
Сортовой прокат, арматура, катанка |
1, 3 |
|
Центральная металлургическая база
| ||||
|
Череповецкий металлургический комбинат |
Череповец, Вологодская обл. |
Северсталь Групп |
Сортовой прокат, арматура, катанка, уголок, горячекатаный и холоднокатаный листовой прокат, в том числе с покрытиями |
9, 3 |
|
Новолипецкий металлургический комбинат |
Липецк, Липецкая обл. |
Группа НЛМК |
Горячекатаный и холоднокатаный листовой прокат, в том числе с покрытиями, электротехническая сталь |
8, 1 |
|
Сибирская металлургическая база
| ||||
|
Объединенные Западно-Сибирский и Новокузнецкий металлургические комбинаты |
Новокузнецк, Кемеровская обл. |
ЕВРАЗ |
Сортовой прокат, строительный прокат (двутавр, швеллер, уголок), арматура, проволока, электроды, сетка, шары, рельсы всех типов |
7, 4 |
|
Наименование предприятия |
Место расположения |
Холдинг |
Специализация |
Мощность, тыс. т |
|
Волжский трубный завод |
Волжский, Волгоградская обл. |
ТМК |
Бесшовные нефтяного сортамента, котельные, подшипниковые, электросварные большого диаметра, в том числе спиралешовные |
2200 |
|
Выксунский металлургический завод |
Выкса, Нижегородская обл. |
ОМК |
Электросварные малого, среднего и большого диаметров, электросварные обсадные |
2200 |
|
Загорский трубный завод |
Загорск, Московская обл. |
Изотех-Инвест |
Электросварные большого диаметра для нефте- и газопроводов |
500 |
|
Ижорский трубный завод |
Колпино, Ленинградская обл. |
Северсталь Групп |
Электросварные большого диаметра, общего назначения |
600 |
|
Первоуральский новотрубный завод |
Первоуральск, Свердловская обл. |
Группа ЧТПЗ |
Бесшовные нефтяного сортамента, подшипниковые, котельные, общего назначения, холоднодеформированные, прецизионные, профильные, переменного сечения, электросварные, баллоны |
1400 |
|
Северский трубный завод |
Полевской, Свердловская обл. |
ТМК |
Бесшовные нефтяного сортамента, электросварные |
760 |
|
Северсталь |
Череповец, Вологодская обл. |
Северсталь Групп |
Электросварные малого и среднего диаметров, профильные |
830 |
|
Синарский трубный завод |
Каменск-Уральский, Свердловская обл. |
ТМК |
Бесшовные нефтяного сортамента, котельные, общего назначения холоднодеформированные |
600 |
|
Таганрогский металлургический завод |
Таганрог, Ростовская обл. |
ТМК |
Бесшовные нефтяного сортамента, сварные трубы |
900 |
|
Уральский трубный завод (Уралтрубпром) |
Первоуральск, Свердловская обл. |
- |
Электросварные малого и среднего диаметров, профильные, обсадные |
700 |
|
Челябинский трубопрокатный завод |
Челябинск, Челябинская обл. |
Группа ЧТПЗ |
Бесшовные нефтяного сортамента, подшипниковые, котельные, общего назначения, сварные большого диаметра, холоднодеформированные |
2400 |
|
Холдинг |
Наименование предприятия |
Место расположения |
Специализация |
|
Северсталь-метиз |
Орловский сталепрокатный завод |
Орел, Орловская обл. |
Проволока стальная, сетка, канаты, крепеж, электроды сварочные, прокат калиброванный |
|
Череповецкий сталепрокатный завод |
Череповец, Вологодская обл. |
Проволока стальная, сетка, канаты | |
|
Волгоградский завод "Северсталь-метиз" |
Волгоград, Волгоградская обл. |
Проволока стальная, металлокорд, канаты | |
|
ММК-Метиз |
Магнитогорский метизно-калибровочный завод |
Магнитогорск, Челябинская обл. |
Проволока стальная, сетка, канаты, прокат калиброванный, болты, гайки, гвозди |
|
МЕЧЕЛ |
Белорецкий металлургический комбинат |
Белорецк, Республика Башкортостан |
Проволока, в том числе из нержавеющей стали, стальные канаты, лента, гвозди |
|
Вяртсильский металлургический завод |
Сортавала, Республика Карелия |
Проволока и сетка из стали, в том числе с покрытием, гвозди | |
|
ЕВРАЗ |
Западно-Сибирский металлургический комбинат |
Новокузнецк, Кемеровская обл. |
Проволока и сетка из стали, в том числе с покрытием, гвозди |
|
НЛМК-Сорт |
Уральский завод прецизионных сплавов |
Березовский, Свердловская обл. |
Проволока, в том числе из нержавеющей стали, сетка, крепеж, гвозди |
|
Ревдинский метизно-металлургический завод |
Ревда, Свердловская обл. |
Проволока, в том числе из нержавеющей стали, сетка, крепеж, гвозди | |
|
Нижнесергинский метизно-металлургический завод |
Нижние Серги, Свердловская обл. |
Проволока стальная, крепеж, гвозди |
На рисунке 1.2 показана доля ведущих металлургических предприятий в объеме готового проката, произведенного в 2016 г. в Российской Федерации.
Из данных, приведенных в таблицах 1.3 и 1.4, видно, что в черной металлургии РФ сформировалось десять крупных вертикально и горизонтально интегрированных холдингов, объединяющих предприятия по всей технологической цепочке производства, что позволяет уменьшить риски как на внутреннем, так и на внешнем рынках, оптимизировать инвестиционную политику и обеспечивать собственную сырьевую безопасность. Суммарно на долю этих холдингов приходится порядка 90 % производимого в России проката черных металлов.
На современном этапе российский рынок метизов консолидирован пятью крупными производителями-холдингами, перечисленными в таблице 1.5.
В сортаменте метизного производства более 50 % выпускаемой продукции приходится на проволоку из углеродистой стали и около 14 % - на проволоку из легированных, коррозионно-стойких марок стали. Проволока используется при производстве канатов, различного крепежа, гвоздей, сетки и электродов и т.п.
Крупная черная металлургия может эффективно развиваться лишь в районах, имеющих для этого природные предпосылки. На эффективность размещения черной металлургии оказывает воздействие также уровень потребления металла и наличие водных источников.

Рисунок 1.2 - Доля ведущих предприятий РФ в объеме готового проката, произведенного в 2016 г.
Производство изделий дальнейшего передела черных металлов невозможно рассматривать в отрыве от всего металлургического производства, поскольку этот передел является неотъемлемой составной частью непрерывного металлургического цикла. С точки зрения негативного воздействия на окружающую среду именно эта часть характеризуется наименьшими удельными значениями потребления ресурсов и эмиссий загрязняющих веществ [6].
Воздействие на окружающую среду отдельных отраслей экономической деятельности получает отражение в Государственных докладах "О состоянии и охране окружающей среды Российской Федерации", ежегодно публикуемых Министерством природных ресурсов и экологии РФ [7], далее - Госдоклады. Переход к описанию вклада различных источников в загрязнение ОС на основе ОКВЭД сказался на подходах к анализу и систематизации информации, однако металлургическому производству в Госдокладах по-прежнему уделяется значительное внимание. Это обстоятельство следует учитывать при идентификации НДТ, так как восприятие заинтересованных сторон (и в первую очередь - уполномоченных органов исполнительной власти) нельзя не принимать во внимание при ранжировании приоритетных факторов воздействия на окружающую среду. Вместе с тем процессы дальнейшего передела черных металлов в Госдокладах практически не обсуждаются, а выделить их вклад из массива информации, посвященной черной металлургии, в целом не представляется возможным.
Известно, что все предприятия черной металлургии добились сертификации систем экологического менеджмента на соответствие требованиям международных стандартов ISO 14001 (версий 2004 и 2015 гг.) и систем энергетического менеджмента - на соответствие требованиям ISO 50001:2011. Это обстоятельство позволяет сделать вывод о том, что все компании ставят цели в области повышения экологической результативности и энергоэффективности производства и планомерно их достигают.
ПАО "Трубная металлургическая компания" стало, по всей вероятности, первым акционерным обществом, заявившим в открытой отчетности о подготовке к переходу к технологическому нормированию по принципам НДТ. Сообщается, что на 15 лет в целом по обществу валовые выбросы сталеплавильного производства снижены в 2 раза, водопотребление на производственные нужды сокращено в 1, 3 раза, объем сточных вод сокращен в 1, 4 раза (доля оборотного водоснабжения достигла 95 %). Переработано 3, 8 млн т ранее накопленных отходов; только 6, 7 % образованных отходов направлено на размещение [8].
Рассмотрим подробнее сведения, которые ведущие компании, производящие продукцию дальнейшего передела черных металлов, предоставляют в Министерство природных ресурсов и экологии и которые получают отражение в Госдокладе "О состоянии и охране окружающей среды Российской Федерации", выпущенном по итогам 2015 г.
Отмечено, что ПАО "Северсталь" стало первой отечественной компанией, добившейся сертификации системы экологического менеджмента в 2001 г. С 2005 по 2015 гг. ПАО "Северсталь" сократило выбросы в атмосферу на 42 %, уменьшило размещение отходов на 78 %, водопотребление сокращено на 42 %.
ПАО "Новолипецкий металлургический комбинат" в 2015 г. снизило удельные выбросы в атмосферу на 4, 5 % - до 21, 05 кг/т выпущенной стали против 22, 03 кг/т в 2014 г. Благодаря системной работе по внедрению современных технологий за 15 лет предприятие уменьшило данный показатель более чем в два раза (43, 3 кг/т в 2000 г.). С 2004 г. на ПАО "НЛМК" фактически прекращено наращивание технологических отходов за счет того, что объемы их переработки превысили объемы накопления. Благодаря рециклингу на шлаковый отвал поступило в 1, 5 раза меньше отходов производства, чем годом ранее. В 2015 г. шлаковый отвал уменьшился почти на 12 тыс. т, а в целом с 2004 г. - на 3 млн т. Согласно "Экологической программе" НЛМК к 2020 г. весь шлаковый отвал предприятия будет переработан, а его территория рекультивирована. С 2009 г. комбинат полностью прекратил сброс всех промышленных сточных вод в реку Воронеж, очищенная вода снова возвращается в производство.
Текущие затраты Компании ООО УК "Металлоинвест", связанные с природоохранной деятельностью, составили в 2015 г. более 6 млрд руб. На предприятиях Компании ежегодно реализуются комплексные программы, позволяющие сохранять уровень воздействия на окружающую среду существенно ниже установленных норм.
Фактические затраты ПАО "Магнитогорский металлургический комбинат" на реализацию природоохранных мероприятий в 2015 г. составили 2, 7 млрд руб. Валовые выбросы загрязняющих веществ за 2015 г. составили 205, 3 тыс. т (по отношению к 2011 г. уменьшились на 3, 4 %), удельные выбросы загрязняющих веществ на 1 т металлопродукции - 18, 65 кг/т (по отношению к 2011 г. уменьшились на 8, 8 %). Валовые сбросы в водные объекты в 2015 г. составили 77, 2 тыс. т (по отношению к 2011 г. уменьшились на 50, 5 %), удельные сбросы загрязняющих веществ на 1 т металлопродукции - 7, 01 кг/т (по отношению к 2011 г. уменьшились на 51, 5 %). В период с 2011-2015 гг. на специализированных установках было переработано 56, 4 млн т отвальных металлургических шлаков (в том числе 2015 г. - 11 млн т), из которых было получено 5, 01 млн т металлической части (в том числе 2015 г. - 0, 94 млн т).
ПАО "Трубная металлургическая компания" за последние десять лет инвестировала в мероприятия по защите окружающей среды на территории РФ 5, 9 млрд руб., реализовав при этом около 140 природоохранных мероприятий [9]. Это удалось сделать в рамках огромных (объемом более 110 млрд руб.) инвестиционных проектов по модернизации и реконструкции технологических процессов и оборудования для изготовления труб, приблизивших их к высшему мировому уровню. Валовые выбросы сталеплавильного производства за последние годы сокращены вдвое, сейчас эффективность очистки отходящих газов на предприятиях Группы ТМК составляет более 90 %, что соответствует европейским требованиям, сокращен объем стоков на российских заводах в 1, 4 раза, а водопотребление на производство сокращено в 1, 3 раза, доля водооборотного цикла доведена до 95, 6 %. Предприятиями компании достигнуты хорошие результаты в обращении с отходами: только 7 % образующихся в процессе производства отходов размещаются на специализированных полигонах.
Приведенная в данном разделе информация, равно как и представленные в ходе анкетирования предприятий данные, детально проанализированы в ходе выбора технологических показателей НДТ (см. разделы 3-5).
Важнейшим аспектом развития производства металлопродукции из стали и сплавов является его модернизация в направлении применения более эффективных технологических процессов и оборудования.
Инвестиции в черную металлургию за 2000-2015 гг. составили 1, 868 трлн руб., при этом ежегодный уровень вложений увеличился с 23 млрд руб. в 2000 г. до 135 млрд руб. в 2015 г. (см. рисунок 1.3).
Например, на предприятиях НП "Русская сталь" (доля в объеме производства РФ: 90 % стали и проката и 60 % труб) за последние 15 лет введены в действие 9 крупнотоннажных электродуговых печей, 18 машин непрерывного литья заготовок различного назначения, 13 комплексов внепечной обработки стали, а также реконструированы основные металлургические агрегаты в действующих кислородно-конвертных цехах.

Рисунок 1.3 - Динамика инвестирования предприятий черной металлургии России в период с 2000 по 2015 годы
В прокатном производстве предприятий НП "Русская сталь" запущены в эксплуатацию новые и капитально реконструированные производственные объекты:
- 3 стана "5000" по производству листа;
- 15 сортовых и листовых прокатных станов;
- 12 агрегатов непрерывного горячего цинкования и установок по нанесению полимерных покрытий;
- 5 линий по производству труб большого диаметра с линиями финишной отделки;
- 2 трубопрокатных агрегата с непрерывными станами для производства бесшовных труб;
- 2 комплексно-модернизированных цеха по производству железнодорожных колес.
Доля непрерывной разливки стали (в УНРС) от общего объема за 2000-2015 гг. увеличилась с 50 % до 82 %. Расход стали на 1 т готового проката за этот период снизился на 12, 4 % с 1262 кг/т до 1105 кг/т, а производительность труда выросла в 2, 6 раза - с 66 тыс. т до 173 тыс. т на 1 работника.
В последнее десятилетие в ряде секторов металлургии были созданы новые передовые производственные мощности, загрузка которых в настоящее время находится на низком уровне в связи с сокращением внутреннего спроса. Например, отечественные производители (Выксунский металлургический завод, Ижорский трубный завод, Волжский трубный завод, Челябинский трубопрокатный завод) за период 2004-2014 гг. без государственной поддержки создали современные мощности по производству сварных прямошовных труб большого диаметра, которых достаточно для обеспечения потребности топливно-энергетического комплекса даже с учетом пикового спроса при реализации сразу нескольких крупных магистральных трубопроводных проектов (в 2016 г. эти мощности были загружены всего на 50 %). На заводах трубой металлургической компании (Таганрогский металлургический завод, Северский трубный завод) установлены самые современные в мире на настоящее время высокопроизводительные трубопрокатные агрегаты с непрерывными станами, обеспечивающие с максимальной степенью автоматизации изготовление высококачественных бесшовных труб нефтяного сортамента. Технологии изготовления труб, используемые на упомянутых предприятиях, являясь наиболее передовыми в мировой практике, автоматически попадают в категорию НДТ.
Для уменьшения разрыва между имеющимися производственными мощностями предприятий черной металлургии и спросом на металлопродукцию необходима активизация деятельности ведущих отраслей отечественной промышленности, являющихся основными потребителями этой продукции. Это качественно повлияет на структуру отрасли: вырастет доля продукции с высокой добавленной стоимостью и уменьшится доля экспорта в структуре отечественного производства.
Российскими предприятиями черной металлургии в ближайшее время запланирован ряд инновационных мероприятий по строительству литейно-прокатного комплекса для производства высококачественного сортового проката, в том числе со специальной отделкой и из нержавеющих сталей ("Тулачермет"); строительству нового непрерывного агрегата цинкования проката (Магнитогорский металлургический комбинат); реконструкции прокатных цехов по производству листа (Челябинский металлургический комбинат, "Северсталь", Магнитогорский металлургический комбинат); организации производства многопрядных канатов (Белорецкий металлургический комбинат); строительству и реконструкции линий отделки труб (Выксунский металлургический завод, Северский трубный завод, Синарский трубный завод, Таганрогский металлургический завод) и др.
Дальнейшая модернизация предприятий отрасли и внедрение НДТ позволят производить современную и качественную металлургическую продукции на основе экологически чистых технологий, позволяющих уменьшить объем выбросов загрязняющих веществ и парниковых газов, сбросов и образования отходов производства, увеличить объемы выпуска машиностроения, развивать внутреннюю инфраструктуру и реализовывать крупные инвестиционные проекты за рубежом.
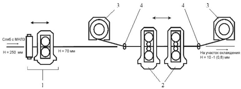
В настоящее время существуют три принципиальные схемы производства горячекатаного проката:
- I - "литая заготовка - готовый прокат", т.е. литые заготовки, полученные на машинах непрерывного литья заготовки (МНЛЗ), минуя обжимной стан, прокатывают на сортовых или листовых станах в готовый прокат;
- II - "слиток - полупродукт - готовый прокат", т.е. слиток обрабатывают на обжимных и заготовочных станах с последующей прокаткой полученного полупродукта (блюмы, слябы, заготовка) в сортовой или листовой прокат;
- III - "литая заготовка легированной стали - полупродукт - готовый прокат", т.е. литые заготовки после МНЛЗ подвергают переделу на обжимных и заготовочных станах с последующей прокаткой катаной заготовки на сортовых или листовых станах.
Во всех схемах прокат подвергается отделке.
Схема I в настоящее время получила наибольшее распространение, так как обладает экономическими преимуществами (меньшие продолжительность технологического цикла, затраты на производство и расход металла).
Схема II - традиционный процесс производства сортового и листового проката из слитков, еще до недавнего времени была доминирующей при получении металлопроката.
Разливка на МНЛЗ легированных сталей выявила необходимость обеспечения большой деформации от литой заготовки до готового профиля, удаления поверхностных дефектов на заготовке и получения заданной структуры горячекатаной стали с повышенными требованиями (например, сталь ШХ15 и др.). В связи с этим появилась потребность в схеме III [10].
Исходным материалом (сырьем) для получения всего сортамента горячекатаного проката служат слитки и непрерывно-литые заготовки.
Технологический процесс производства горячекатаной листовой и сортовой продукции может быть представлен единой обобщенной схемой, представленной на рисунке 2.1.

Рисунок 2.1 - Обобщенная технологическая схема производства горячекатаного проката
Подготовка исходного сырья (слитков, непрерывно-литой заготовки) преимущественно заключается в удалении поверхностных дефектов.
В отечественной практике горячие слитки зачистке не подвергают. Холодные слитки и непрерывно-литые заготовки в зависимости от марки стали и назначения подвергают зачистке следующими способами [10]:
- огневая зачистка;
- лезвийная зачистка (резцовая обдирка, фрезерование, пневматическая вырубка);
- абразивная зачистка;
- электроконтактная зачистка.
Проведение предварительной обработки в виде зачистки проводят для удаления поверхностных дефектов на слитках и заготовке. Указанные дефекты при нагреве и последующей деформации переходят на готовый прокат, вызывают появление новых дефектов, удаление которых увеличивает объем отделки и потери металла в стружку и обрезь. Используют сплошную и выборочную зачистку металла.
В процессе огневой зачистки поверхностный слой металла, нагретый до высокой температуры, воспламеняется в струе кислорода, сжигается и удаляется с поверхности заготовки. Способ применяют для зачистки заготовки из углеродистых и низколегированных сталей. Зачистка проводится вручную (кислородно-ацетиленовые резаки) или на машинах огневой зачистки (МОЗ).
Портальная главная горелка МОЗ, смонтированная на каретке, и обрабатываемая заготовка на подвижной тележке имеют возможность перемещения в требуемых направлениях (каждая со скоростью до 50 м/мин), боковые горелки обеспечивают зачистку боковых кромок. Все горелки работают на кислороде и оснащены устройством для создания электрической дуги между электродом и обрабатываемым металлом. Глубина зачистки составляет 2-7 мм, скорость зачистки - 0, 1-0, 4 м/с, производительность - 60-100 кг/мин, расход кислорода - 13 500 м3/ч.
Резцовую обработку проводят на строгальных, токарно-обдирочных и фрезерных станках. Способ применяют ограниченно, так как он характеризуется повышенным расходом металла (до 15 %) и низкой производительностью - (0, 7 т/ч для одного станка). Фрезерование характеризуется большей производительностью и величиной расхода металла 50-63 кг/т.
Пневматическую вырубку проводят с помощью пневматических молотков и используют для выборочной зачистки дефектов слитков и заготовок. Характеризуется низкой производительностью и трудоемкостью.
Абразивную зачистку проводят на обдирочно-шлифовальных станках, а также с помощью ручных подвесных станков. Зачистку осуществляют шлифовальными кругами, скорость шлифования поддерживается постоянной в автоматическом режиме. Способ считается самым универсальными, так как применим для стали любой марки, формы и размеров сечения зачищаемого металла.
При электроконтактной зачистке между диском-электродом и обрабатываемой заготовкой возбуждается электрическая дуга, которая расплавляет металл в зоне контакта. Металл удаляется быстровращающимся диском-электродом, который охлаждается сжатым воздухом.
Кроме того, в цикле операций по предварительной подготовке заготовки для слитков из высоколегированных сталей применяют предварительную термическую обработку, в качестве которой используют:
- гомогенизирующий отжиг;
- отжиг для снятия напряжений и смягчающий отжиг.
Гомогенизирующий отжиг используют для снижения химической неоднородности стали. Гомогенизирующий отжиг слитков проводят в печах с выдвижным подом или в нагревательных колодцах, температура нагрева - до 1170 °С при выдержке 8-15 ч, используют замедленное охлаждение. Иногда гомогенизирующий отжиг совмещают с нагревом под прокатку.
Отжиг для снятия напряжений и смягчающий отжиг проводят для снижения твердости металла перед его зачисткой. Используют термические печи с выдвижным подом, камерные печи с внешней механизацией. Режимы проведения отжига (отжиг с фазовой перекристаллизацией, высокий отпуск, изотермический отжиг) выбирают в зависимости от марки стали и размеров слитка, температура нагрева - 650 °C - 880 °C, время выдержки - 5-20 ч, используют замедленное охлаждение.
Нагрев металла производится с целью повышения его пластичности и, соответственно, снижения нагрузок при его деформации.
Режим нагрева перед прокаткой характеризуют температурой нагрева, скоростью нагрева, числом ступеней (зон) нагрева, продолжительностью нагрева.
Нагрев слитков под прокатку листа осуществляют в регенеративных и рекуперативных нагревательных колодцах. Широкое распространение получили рекуперативные колодцы с центральной нижней (на подине) горелкой, состоящие из 12 групп по четыре ячейки в каждой. Производительность одной группы - 230-240 тыс. т/г, удельный расход топлива - 1000-1070 кДж/кг. Температуру нагрева и его продолжительность устанавливают в зависимости от марки стали и массы слитка. Выдачу слитков из ячейки производят в порядке посадки. Топливо - природный газ. Подогрев воздуха производится в керамическом рекуператоре.
Регенеративные колодцы для нагрева листовых слитков характеризуются большим расходом топлива - 1050-1340 кДж/кг.
Для легированных сталей широко применяют ступенчатый нагрев, перемещая слиток из ячейки с более низкой температурой в ячейку с более высокой температурой.
Для нагрева тяжелых слитков (до 150 т), тонких слябов и слябов из легированных сталей, требующих особых режимов нагрева, применяют камерные печи.
Нагрев слябов перед прокаткой на толстолистовых и широкополосных станах производится методических печах. Главной конструктивной особенностью, которая оказывает основное влияние на остальные характеристики работы печи, является способ транспортирования заготовок в рабочем пространстве печи. В методических печах для нагрева заготовок под обработку давлением применяют в основном проталкивание (толкательные печи) и шагание (печи с шагающим подом и с шагающими балками). Независимо от расположения горелок в работе этих печей в подавляющем большинстве случаев используется принцип противотока. Загрузка и выдача слябов - торцевая.
Общая тепловая мощность современных методических печей для нагрева слябов достигает 250 МВт.
Применение шагающих балок позволяет исключить травмирование нижней поверхности слябов о подовые трубы. Производительность методических печей достигает 450 т/ч. Топливо - смесь коксовый, доменный, природный газы, а также смесь газа и мазута, максимальный расход - 5-15 тыс. м3/ч, подогрев воздуха осуществляется преимущественно в рекуператорах.
Горячий посад непрерывно-литых и горячекатаных слябов и заготовок в методические печи стана и прямая прокатка являются эффективными мероприятиями, которые обеспечивают снижение расхода топлива на нагрев металла под прокатку.
В общем случае горячим посадом считается посад металла с температурой более 600 °C, теплый - 300 °C - 600 °C, холодный - меньше 300 °C. Прокатка металла транзитом от обжимных заготовочных станов или непосредственно от МНЛЗ с небольшим подогревом (или без него) уменьшает расход топлива на 15 % - 60 % относительно расхода при холодном посаде. Использование непрерывно-литой заготовки вместо слиткового передела позволяет сократить расход энергоресурсов примерно на 20 % - 40 %.
Непрерывная разливка-прокатка. Одним из направлений совершенствования процессов производства проката в настоящее время является создание литейно-прокатных агрегатов. В состав такого агрегата входят: машина непрерывного литья заготовок (блюмовая, слябовая или сортовая), устройства для передачи непрерывно-литой заготовки, печь для подогрева и непосредственно прокатный стан (соответствующего типа) со всем технологическим оборудованием.
При применении такой технологии удается практически полностью использовать первичную теплоту непрерывно-литой заготовки для ее деформации, что существенно экономит энергоресурсы на нагрев. Также исключается промежуточное складирование заготовок, что значительно повышает производительность стана (до 25 %) и эффективность использования оборудования.
Еще одним преимуществом литейно-прокатных агрегатов является компактное расположение оборудования, что требует меньших производственных площадей и капитальных затрат на строительство (до 1, 5 раза).
Обжатие литого металла в таком совмещенном процессе способствует улучшению качества поверхности и структуры литых заготовок, а себестоимость проката снижается благодаря повышению выхода годного (на 2 %) и сокращению расходов по переделу.
В вопросе совмещения МНЛЗ и прокатного стана существует ряд проблем, таких как согласование различающихся в несколько раз скоростей этих агрегатов. Решение этого вопроса обусловило появление ряда возможных вариантов схем состыковки этих двух агрегатов:
- прямая стыковка (с резкой слитка перед задачей в проходную печь);
- стыковка с использованием устройств для интенсивной пластической деформации (планетарные клети и т.д.) в первом проходе;
- стыковка с использованием высокоскоростных МНЛЗ;
- стыковка сортового стана с слябовой МНЛЗ с поперечной резкой сляба на заготовки или прокаткой сляба "на ребро".
Прокатный стан - комплекс машин и агрегатов, предназначенных для пластической деформации металла в валках, его обработки и транспортирования.
Прокатные станы классифицируют по назначению, конструкции и расположению рабочих клетей, режиму работы.
При классификации по назначению уточняется, для производства какого вида продукции (сорт, лист, труба и т.д.) или выполнения конкретной операции, например, прошивка, дрессировка используется данный стан,
По конструкции клети различают прокатные станы (см. рисунок 2.2), имеющие в своем составе следующие виды клетей:
а) двухвалковые - "дуо";
б) трехвалковые - "трио";
в) четырехвалковые - "кварто";
г) шестивалковые;
д) двенадцативалковые;
е) двадцативалковые;
ж) клети с многовалковыми калибрами для производства балок;
з) универсальные;
и) клети с многовалковыми калибрами для производства катанки, труб и фасонных профилей [1].
При производстве труб и специальных видов проката широко используются клети поперечно-винтовой прокатки и клети специальных конструкций (прокатка колес, бандажей, винтов, шестерен и пр.).
По расположению рабочих клетей различают одноклетьевые и многоклетьевые станы. Многоклетьевые станы, в свою очередь, могут быть:
- последовательные, клети которых расположены последовательно, а прокатываемая полоса делает только один проход в каждой клети;
- непрерывные, клети которых расположены последовательно, а раскат деформируется одновременно в нескольких клетях;
- линейные, у которых оси клетей расположены в одну или несколько параллельных линий, а клети обычно имеют групповой привод;
- зигзагообразные - многолинейные станы с передачей металла с одной линии прокатки на другую, зигзагом, с помощью косорасположенных роликов рольгангов;
- шахматные, аналогичные зигзагообразным, но с передачей металла шлепперами перпендикулярно оси прокатки.
По режиму работы различают реверсивные и нереверсивные станы.

Рисунок 2.2 - Возможные схемы расположения валков в рабочей клети прокатного стана
2.1.3.1 Удаление окалины перед горячей прокаткой
Нагрев металла связан с образованием на его поверхности окалины, которая при последующей горячей деформации вкатывается в поверхность металла с образованием дефектов и ухудшением товарного вида прокатных изделий, что в свою очередь ведет к увеличению трудозатрат и дополнительным материальным потерям на стадии отделки готового проката. Поэтому важно значительную часть окалины отделить от основного металла перед его горячей деформацией.
Удаление окалины перед горячей деформацией листового металла, как правило, не рассматривают как отдельный цикл операций, а относят к циклу операций по деформации металла. Образующуюся в процессе нагрева окалину удаляют мощными струями воды (устройства для гидросбива окалины), механическими скребками, щетками, иглофрезами или механическими окалиноломателями, использующими принцип изгиба металла.
На листовых станах для удаления окалины успешно используют эджерные клети с вертикально установленными валками. В этих клетях осуществляют небольшую (5 % - 10 %) деформацию по ширине сляба, достаточную для разрушения хрупкого поверхностного слоя окалины. После эджерной клети устанавливают устройство для гидросбива.
Для более тщательного удаления окалины используют установленную после эджерной клети двухвалковую прокатную клеть с горизонтальными валками, такую как клеть-окалиноломатель. Эта клеть является черновой, но в первом проходе в этой клети устанавливают небольшую (до 5 %) величину деформации, которая, с одной стороны, способствует разрушению слоя окалины, с другой стороны, исключает вкатывание частиц окалины в поверхностный слой металла.
Для повышения эффективности работы обжимной клети в режиме окалиноломателя применяют верхний валок с рифленой поверхностью. Лунки глубиной до 5 мм, длиной 40 мм и шириной 30 мм наносят на поверхность валка в шахматном порядке, а надежное удаление окалины обеспечивают с помощью гидросбива высокого давления (свыше 12 МПа) коллекторами, установленными с каждой стороны клети [11].
2.1.3.2 Горячая прокатка слитков
Горячая прокатка слитков производится на обжимных станах, которые предназначены для получения полупродукта в виде заготовок прямоугольного сечения (слябы). Слябы имеют размеры сечения: толщину 100-250 мм, ширину 600-1500 мм и длину 1, 3-5 м.
Преимущественно используют двухвалковые обжимные станы для получения слябов (слябнинги), среди которых различают большие (диаметр валков 1250-1500 мм), средние (1000-1200 мм) и малые (800-950 мм). Станы имеют реверсивный режим работы, большой подъем верхнего валка, возможность корректировки обжатия металла и скоростей прокатки в каждом проходе. Очень часто слябнинги комплектуют дополнительными вертикальными валками для обжатия боковых сторон прямоугольного сечения сляба. Каждый валок обжимного стана снабжен индивидуальным приводом от электродвигателя постоянного тока. С передней стороны рабочей клети расположен кантователь, а манипулятор - с обеих ее сторон.
С использованием системы слиткоподачи (кольцевая или челночная) нагретые слитки подают от колодцев к приемному рольгангу обжимного стана.
Далее слиток сталкивают со слитковоза стационарным сталкивателем, осуществляют поворот слитка на 180° (для правильной задачи в валки стана).
Прокатка осуществляется в нечетное число проходов. Полученный раскат в виде сляба зачищается в потоке с использованием машины огневой зачистки (МОЗ) и поступает на адъюстаж.
2.1.3.3 Горячая прокатка листа
Размерный сортамент горячекатаного листа включает: толстый лист толщиной 4-50 мм, плиты толщиной 50-160 мм, тонкий лист толщиной 0, 8-3, 9 мм и шириной до 4800 мм и ленту - листовую сталь шириной менее 500 мм.
Листовой прокат может быть получен как в виде отдельных листов, так и виде широких полос, которые сворачивают в рулоны. Затем посредством резки (продольной и поперечной) из рулонного металла может быть изготовлен прокат в виде листов. Наличие единого термина "листовой прокат" для описания различных видов продукции (особо толстый лист - "плита", "толстый лист", "тонкий лист", "широкая полоса", узкая полоса - "лента") носит противоречивый характер и затрудняет понимание сортамента прокатной продукции. Поэтому в настоящее время для устранения указанного противоречия в трактовке термина "листовой прокат", применяют понятие "плоский прокат".
Марочный сортамент сталей, применяемых для производства горячекатаного листового проката, включает низкоуглеродистые стали, конструкционные, низко- и высоколегированные, инструментальные стали и стали со специальными физическими свойствами. Листовая сталь классифицируется по назначению: конструкционная; для котлостроения, машиностроения и судостроения; автолист; нержавеющая, трансформаторная, кровельная, жесть и др.
На рисунке 2.3 показана общая схема процессов производства горячекатаного листового металла [10]. Сплошными линиями изображены часто применяемые потоки металла, пунктирными - потоки производства отдельных видов продукции.
В настоящее время основной заготовкой при производстве горячекатаного листа являются непрерывно-литые слябы шириной 1250-2600 мм.
Прокатка толстых листов непосредственно из слитков сохранилась только на старых станах или при производстве плит.
Листовой горячекатаный прокат производится на толстолистовых станах, полунепрерывных, непрерывных широкополосных станах (около 75 % всего объема горячего листа) и полосовых станах с печными моталками.
Листовой прокат с шириной более 2300 мм прокатывают только на толстолистовых станах.
В сортаменте толстолистовых станов примерно 80 % составляют листы толщиной 8-15 мм, причем около 60 % всего объема продукции этих станов приходится на долю листов шириной 1500-2000 мм.

Рисунок 2.3 - Схема производства горячекатаного листового металла
В настоящее время наиболее эффективным способом производства горячекатаных листов и полос является прокатка на непрерывных и полунепрерывных станах. На этих станах прокатывается также подкат для станов холодной прокатки. Современные широкополосные станы горячей прокатки рассчитаны на прокатку полос широкого сортамента (толщина от 0, 8-1, 2 до 16-25 мм, ширина 600-2350 мм). Масса прокатываемых слябов - до 45 т, производительность - 6-7 млн т/г.
В сортаменте широкополосных станов полосы толщиной до 3, 9 мм составляют больше половины всего объема производства. Выпуск проката толщиной 4-7 мм и 8-15 мм примерно одинаков. Полосы шириной до 1500 мм составляют примерно 70 % всей продукции широкополосных станов.
2.1.3.3.1 Горячая прокатка толстого листа (схема I, рисунок 2.3)
Существуют три основные схемы прокатки толстого листа:
- с использованием одноклетевых и двухклетевых станов с двухвалковыми реверсивными и трехвалковыми клетями (до середины 1950-х гг. про);
- с использованием двухклетевых или трехклетевых станов с двухвалковыми реверсивными, вертикальными и четырехвалковыми клетями (до начала 1970-х гг.);
- с использованием четырехклетьевых станов с двухвалковой реверсивной, вертикальной клетью и двумя четырехвалковыми клетями (в настоящее время).
Станы с реверсивными двухвалковыми (дуо) клетями используются только для прокатки толстых листов, в том числе броневых.
Трехвалковые (трио) клети конструкции Лаута со средним холостым валком меньшего диаметра используют для прокатки средних и толстых листов и иногда для тонких листов. При прокатке средний валок, перемещаясь вместе с подъемно-качающимся столом, поочередно прижимается то к верхнему, то к нижнему рабочим валкам и вращается ими за счет сил трения. Применяются в одно- и двухклетевых толстолистовых станах.
Клети кварто используются для горячей прокатки листов, широких полос, ленты, могут работать в реверсивном режиме (на толстолистовых и тонколистовых станах) и с постоянным направлением вращения - на тонколистовых непрерывных станах. Опорные валки большего диаметра воспринимают давление прокатки и уменьшают прогиб рабочих валков.
Применяют также клети, имеющие в своей конструкции и горизонтальные, и вертикальные валки, которые называют универсальными клетями. Они применяются на толстолистовых станах для обработки боковых кромок проката.
В состав толстолистового стана, кроме основных клетей, входят один или два окалиноломателя, назначение которых состоит в разрушении и удалении поверхностной окалины. В клетях-окалиноломателях расположение валков может быть и горизонтальным, и вертикальным. Применение окалиноломателя с вертикальными валками целесообразно тогда, когда прокатывают слябы шириной 900-1000 мм. При ширине сляба более 1000 мм устанавливают два окалиноломателя: первый - с вертикальными валками, второй - с горизонтальными валками. Тогда при незначительных обжатиях сляба окалиноломателями в поперечном и высотном направлениях поверхностная окалина будет удаляться полностью.
В многоклетевых станах чистовой окалиноломатель устанавливают перед чистовой группой, он предназначен для удаления вторичной окалины.
Одноклетевые станы различают по конструкции клети (числу рабочих валков). Существует четыре типа клетей: двухвалковая реверсивная, четырехвалковая реверсивная, трехвалковая, четырехвалковая универсальная (реверсивной прокатки). Станы первых трех типов применяют в том случае, когда ширина исходных слябов или слитков недостаточная и необходимо осуществлять прокатку сначала в поперечном направлении до получения требуемой ширины раската, а затем в продольном. Если же исходный сляб имеет необходимые размеры по ширине, то прокатку в поперечном направлении не выполняют, а используют одноклетевой стан с универсальной клетью. Такие станы считаются наиболее современными. Готовый лист на них получают с катаной кромкой и высокого качества; при этом уменьшается расходный коэффициент металла, исключается обрезь боковых кромок готовых листов.
Последовательность технологических операций изготовления толстолистового проката из различных сталей имеет особенности. На рисунке 2.4 представлены схемы технологических процессов производства толстых листов из углеродистых и низколегированных сталей (см. рисунок 2.4, а), коррозионно-стойких сталей и биметаллов (см. рисунок 2.4, б) и легированных сталей (см. рисунок 2.4, в).
Фактически весь прокат, который выпускается на современных прокатных станах, производится с использованием термомеханической обработки.

Рисунок 2.4 - Схемы технологических процессов изготовления толстых листов
Термомеханической обработкой (ТМО) называют совмещение пластической деформации и термического воздействия, целью которого является формирование требуемой структуры обрабатываемого металла.
Объединение операций пластического деформирования и термообработки, максимальное их сближение и создание единого процесса термомеханической обработки обеспечивают заметное повышение механических характеристик (прочности, вязкости и т.д.), что позволяет экономить до 15 % - 40 % металла и более или увеличить долговечность изделий.
При ТМО оба процесса (пластическая деформация и термическая обработка) могут совмещаться в одной технологической операции, а могут проводиться и с разрывом по времени. Но при этом обязательным условием является прохождение фазовых превращений в условиях повышенной плотности дефектов решетки, возникающих благодаря пластической деформации металла.
Термомеханическая обработка стали выполняется главным образом по трем схемам: высокотемпературная (ВТМО), низкотемпературная (НТМО) и предварительная термомеханическая обработка (ПТМО). Также к термомеханической обработке относят технологии контролируемой прокатки и ускоренного охлаждения.
Высокотемпературная термомеханическая обработка - термообработка с деформационного нагрева с последующим низким отпуском. ВТМО практически устраняет развитие отпускной хрупкости в опасном интервале температур, повышает ударную вязкость при комнатной температуре и понижает температурный порог хладоломкости. Этот вид обработки используют для углеродистых, легированных, конструкционных, пружинных и инструментальных сталей.
При использовании технологии низкотемпературной термомеханической обработки (аусформинга) сталь сначала нагревают до аустенитного состояния. После выдержки при высокой температуре производят сначала охлаждение до температуры выше температуры начала мартенситного превращения (400 °С - 600 °С), но ниже температуры рекристаллизации, а затем при этой температуре осуществляют обработку давлением и закалку. НТМО, хотя и обеспечивает более высокое повышение прочностных характеристик, но не снижает склонности стали к отпускной хрупкости, требует высоких степеней деформации (75 % - 95 %), для обеспечения которых требуется мощное оборудование, так как сталь прокатывается не в горячем, а в теплом состоянии. Низкотемпературную термомеханическую обработку применяют к среднеуглеродистым легированным сталям, закаливаемым на мартенсит.
Контролируемая прокатка обеспечивает значительное повышение комплекса механических свойств (прочности, пластичности, ударной вязкости, сопротивлении хрупкому разрушению) низколегированных сталей в горячекатаном состоянии. В результате этого из технологического цикла исключается такой вид термической обработки как нормализация; снижается углеродный эквивалент низколегированных сталей при сохранении прочностных свойств на достаточно высоком уровне.
При обычной прокатке с последующей нормализацией слябы нагревают примерно до 1250 °C и прокатывают их за 12-18 проходов без пауз. При контролируемой прокатке температура нагрева составляет 1050 °C - 1220 °C, прокатка ведется за 15-22 прохода с одной-двумя паузами для подстуживания.
В паузе перед окончательной прокаткой температура металла составляет 720 °C - 900 °C, а в конце прокатки - 750 °C - 850 °C в зависимости от химического состава стали. Оптимальная температура нагрева слябов поддерживается за счет автоматического управления работой нагревательной печи.
Для получения заданной температуры прокатки в последних проходах стан оборудуют четырьмя площадками для подстуживания металла, на каждой из которых осуществляют контроль и автоматическое регулирование температуры. Схема технологического процесса изготовления листов с применением контролируемой прокатки представлена на рисунке 2.5.
2.1.3.3.2 Горячая прокатка полосовой стали (схема II, рисунок 2.3)
В настоящее время горячекатаная полосовая сталь прокатывается на станах следующего типа:
- широкополосных непрерывных (производительность 6-7 млн т/г);
- широкополосных полунепрерывных (2-3 млн т/г);
- широкополосных реверсивных универсальных (до 0, 4 млн т/г);
- широкополосных реверсивных с моталками в печах (0, 8-3 млн т/г);
- полосовых планетарных (до 0, 15 млн т/г).
Строительство новых универсальных широкополосных станов не производится из-за сравнительно низкой производительности и полного соответствия их сортамента продукции непрерывных и полунепрерывных широкополосных станов.
Полосовые планетарные станы промышленного применения в листопрокатном производстве России не получили.

Рисунок 2.5 - Схема технологического процесса изготовления толстых листов с применением контролируемой прокатки
Станы с моталками в печах (станы Стеккеля) прокатывают полосы толщиной 1, 5-20 мм и шириной до 3050 мм из легированных, электротехнических и углеродистых сталей (см. рисунок 2.6). Максимальная скорость прокатки в зависимости от размеров стана достигает 6-10 м/с. Выбор станов Стеккеля обуславливается тремя причинами:
- низкие капитальные затраты на строительство и более низкие издержки производства для прокатки широких полос в рулонах или в мерных длинах;
- возможность производства полос более широкого сортамента по толщине и ширине;
- высокое качество поверхности полос по сравнению с традиционными реверсивными листопрокатными станами.

1 - обжимная клеть с эджером (универсальная клеть); 2 - рабочие клети кварто; 3 - моталки в печах; 4 - направляющие ролики
Рисунок 2.6 - Схема стана Стеккеля
Поскольку при прокатке на стане Стеккеля температура раската остается на уровне 980 °C - 1090 °C, качество поверхности заметно лучше, чем в случае традиционных реверсивных станов. Новые станы Стеккеля для регулирования толщины и плоскостности проката используют устройства изгиба и смещения рабочих валков, а также автоматическое регулирование толщины.
Широкий сортамент непрерывных и полунепрерывных станов (толщина полос от 0, 8-1, 2 до 16-25 мм, ширина - до 2350 мм), высокая производительность и другие технико-экономические показатели обеспечили их преимущественное применение и развитие для производства горячекатаной полосовой стали. В последней клети непрерывных станов достигнута скорость прокатки 27 м/с. Суммарная мощность главных приводных двигателей - до 150 000 кВт, масса оборудования - до 40 000 т. Широкополосные станы горячей прокатки состоят из двух групп рабочих клетей: черновой и чистовой, расположенных последовательно и связанных между собой рольгангами. Производительность и технологию прокатки определяют в основном характеристика и состав оборудования черновой и чистовой, групп стана.
В непрерывном стане черновая группа клетей включает вертикальный окалиноломатель (устанавливают также и горизонтальный окалиноломатель) и четыре - шесть рабочих клетей, большая часть из которых - четырехвалковые универсальные (могут быть и двухвалковые клети). В каждой клети производят только один пропуск. Если в составе черновой группы, кроме вертикального окалиноломателя и нереверсивных универсальных клетей, установлена одна реверсивная универсальная клеть, то такой стан иногда называют на 3/4 непрерывным. В таких станах универсальная клеть расположена после окалиноломателя. Последние клети черновой группы таких станов (две или три) могут быть объединены в непрерывную группу клетей.
Полунепрерывный широкополосный стан, кроме вертикального, а иногда и горизонтального окалиноломателя, в черновой группе имеет одну или две универсальные реверсивные клети. Чистовые группы клетей непрерывных и полунепрерывных широкополосных станов состоят из шести - восьми рабочих четырехвалковых клетей и по составу оборудования аналогичны.
Непрерывные и полунепрерывные широкополосные станы условно разделяют на три группы (поколения), характеристика которых (максимальные величины) приведена в таблице 2.1.
Прокатка в чистовой группе клетей ведется с ускорением. Станы оснащены автоматизированными системами управления технологическими процессами с целью регулирования и стабилизации температуры конца прокатки и смотки рулонов, разнотолщинности и плоскостности.
|
Поколение станов |
Длина бочки валков, мм |
Скорость прокатки, м/с |
Производительность, млн т/г |
Масса рулона, т |
Длина стана, м |
|
I |
1700 |
10-12 |
1, 0-2, 5 |
7-8 |
399-360 |
|
II |
2300-2500 |
16-22 |
3-6 |
40 |
450-640 |
|
III |
Больше 2000 |
30 |
4-6 |
46 |
730 |
Наибольшим разнообразием отличаются схемы расположения и состав черновых групп рабочих клетей.
Чистовые группы различаются в основном количеством рабочих клетей. Непрерывные группы клетей включают также летучие ножницы для обрезки концов раската и чистовые окалиноломатели.
Прокатанные в чистовой группе клетей полосы по рольгангу транспортируются к моталкам, где сматываются в рулоны. Отводящий рольганг оборудован системами охлаждения полосы для обеспечения необходимой температуры полосы при смотке.
Охлаждение металла призвано обеспечить снижение его температуры до состояния, обеспечивающего возможность проведения дальнейших отделочных операций с прокатом при одновременном получении минимальных внутренних напряжений в металле.
Используют обычное (на воздухе), замедленное (в колодцах и термостатах) и ускоренное (с применением различных охлаждающих сред) охлаждение проката. Обычное охлаждение на воздухе получило наибольшее распространение и реализуется в стеллажах, на холодильниках различного типа.
2.1.4.1 Охлаждение толстого листа
Охлаждение толстых листов производится в два этапа. На первом этапе ускоренно снижают температуру металла ниже точки Аr1 для получения тонкой и равномерной микроструктуры. Наилучшим способом, позволяющим получить равномерное охлаждение, считается подача на раскат распыленной воздухом воды под давлением до 1 МПа, используют также охлаждение водяным паром [10].
При температуре металла 680 °C - 700 °C производят горячую правку полосы в правильных машинах. Правильные машины располагают за чистовой клетью стана на расстоянии 30-50 м, при этом гарантируется сохранение высокой температуры металла при правке.
При широком сортаменте стана устанавливают две машины горячей правки: одну - для листов толщиной 5-25 мм, другую - для правки листов толщиной 20-40 мм и более. Металл ответственного назначения правят дополнительно в холодном состоянии.
Наибольшее распространение для правки толстых листов получили пяти- и одиннадцатироликовые правильные машины. Рабочие и опорные ролики обычно устанавливают в одной вертикальной плоскости. Иногда верхние опорные ролики располагают по V-образной схеме, рабочий ролик при этом опирается не менее чем на два ряда опорных. Температура листов после правки не превышает 600 °C.
Дальнейшее охлаждение металла производится на холодильниках. Наибольшее распространение получили холодильники трех типов: с чугунными решетчатыми настильными плитами (металл перемещается шлепперами); с несущими решетками шагающего типа; роликовые (дисковые) холодильники.
Наиболее современными являются холодильники роликового типа, представляющие собой систему валов со стальными дисками, так как обеспечивают равномерное охлаждение листов при высоком качестве поверхности и плоскостности листов.
Охлаждение на холодильнике ведется до температуры резки, которая определяется толщиной листов: до 7 мм - 50 °C - 70 °C; от 7 до 10 мм - 60 °C - 110 °C; от 10 до 15 мм - 80 °C - 130 °C; от 15 до 20 мм - 125 °C - 200 °C. Более высокая температура резки приводит к появлению трещин на боковых кромках листов и к снижению стойкости ножей.
2.1.4.2 Охлаждение рулонного проката
Для охлаждения полосы после выхода ее из клети чистовой группы и регулирования температуры перед смоткой в рулоны на отводящем рольганге между последней клетью и моталками установлены устройства подачи воды на верхнюю и нижнюю поверхности полосы при ее движении. Используют два способа охлаждения: подача воды веерообразной струей через форсунки и ламинарная подача через сифоны. Последний способ нашел большее применение ввиду большей эффективности.
После смотки рулоны горячекатаных полос передаются на склад и после остывания до температуры 30 °С - 50 °С направляются на отделку (готовая продукция) или подготовку для последующей холодной прокатки.
Под отделкой обычно понимают комплекс операций, обеспечивающих до требований стандартов размеров и формы поперечного сечения профиля, качества поверхности, механических и других свойств проката, придание ему товарного вида. Объем и виды отделки прокатной продукции зависят от стадии производства проката, химического состава стали и ее назначения, нормативных требований к качеству готовой продукции, вида проката и других факторов.
Для получения необходимых механических свойств металла используют различные виды термической обработки.
Для очистки поверхности металла от окалины, остатков технологической смазки применяют абразивные способы, лезвийные и химическую обработку, например, травление.
Необходимую длину прокатных изделий (а также другие размеры в случае листовой продукции), отбор проб для оценки качества обеспечивают применением резки металла, а необходимую прямолинейность проката - правкой.
Отделка листового проката производится с целью придания металлу требуемых геометрических размеров (за исключением толщины), устранения волнистости, удаления поверхностных дефектов и окалины. В отделочные операции включают также контроль и упаковку. Для современных листопрокатных цехов характерна высокая поточность всех отделочных операций, что обеспечивается соответствующим расположением оборудования.
2.1.5.1 Отделка готового толстолистового проката
Характер отделочных операций и последовательность их выполнения зависит от толщины подката, конструкции прокатного агрегата и назначения горячекатаного металла. Отделка листов толщиной свыше 40-50 мм (плит) ограничивается обрезкой концов и боковых кромок, охлаждением, осмотром и удалением поверхностных дефектов. Плиты не нуждаются в правке, так как после прокатки являются достаточно ровными. Резка обычно производится газовыми резаками. Установка для резки представляет собой мостовую конструкцию с перемещающимися на ней автогенными горелками. Производительность одной установки - 10-15 т/ч. Температура и режим резки высоколегированных сталей устанавливаются в зависимости от химического состава стали.
Отделка листов толщиной до 40-50 мм осуществляется на поточных линиях. Толстый лист осматривается на специальном инспекторском стеллаже, располагаемом за холодильником и оборудованном кантователем листов, который обеспечивает возможность осмотра обеих поверхностей листа. Далее выполняют следующие операции [11]:
- обрезка переднего, заднего концов листа и обрезка кромок на дисковых ножницах с кромкокрошителями;
- резка на заданные длины на гильотинных ножницах.
- правка в холодном состоянии;
- укладка в пакеты;
- термическая обработка;
- правка листов после термической обработки;
- химическая обработка поверхности (травление);
- промывка;
- сушка;
- укладка в стопы с последующим инспекторским осмотром;
- упаковка и складирование.
Обрезка переднего и заднего концов раската производится в горячем состоянии перед операцией горячей правки. В необходимых случаях на этих же ножницах раскат делят на кратные длины. В целях увеличения пропускной способности отделочной линии гильотинные ножницы поперечной резки располагают в нескольких местах: после холодильника и после кромкообрезных ножниц. На одних из ножниц поперечной резки производят вырезку проб для механических испытаний, другие являются делительными.
Для обрезки боковых кромок применяют дисковые, гильотинные или сдвоенные кромкообрезные ножницы. Дисковые ножницы могут быть применены для резки листов толщиной до 25 мм. Они характеризуются большой скоростью резания (1-2 м/с) и высокой прямолинейностью кромок.
Сдвоенные кромкообрезные ножницы с дуговым верхним ножом, являющиеся усовершенствованной конструкцией гильотинных ножниц, работают по принципу "катящегося" реза и обеспечивают обрезку боковых кромок листов толщиной 5-50 мм со скоростью 0, 4-0, 6 м/с.
Гильотинные ножницы поперечной резки также имеют двух эксцентриковый привод и дугообразный нож, обеспечивающие "катящийся" рез, и имеют сходные характеристики.
Правка толстых листов в холодном состоянии применяется для листов, не выправленных при горячей правке, или листов, прошедших термическую обработку. Проводится на многороликовых правильных машинах со скоростью 1-5 м/с.
Основные виды термической обработки горячекатаного проката: нормализация, отжиг, отпуск, закалка, закалка с отпуском.
Нормализацию толстых листов проводят с использованием тепла прокатного нагрева. Если прокат заканчивается при температуре выше критической точки АС3, то его охлаждают на воздухе (рольганге, холодильнике). Нормализации подвергают листы из углеродистых, низколегированных, конструкционных, котельных, судовых и мостовых сталей.
Для улучшения пластичности ряд сталей (углеродистые, низколегированные, легированные) подвергают смягчающему отжигу. Коррозионно-стойкая сталь (мартенситного, ферритного классов) подвергается отжигу при 750 °C - 780 °C в атмосфере чистого азота (для исключения охрупчивания).
Для снятия внутренних напряжений и повышения пластичности листового металла применяют отпуск (низкий, средний и высокий).
В результате закалки с последующим отпуском (как правило, при температурах ниже АС1) повышаются вязкость и прочность стали.
Закалка коррозионно-стойкой стали аустенитного, аустенитно-ферритного и аустенитно-мартенситного классов приводит к смягчению металла. Температура нагрева под закалку находится в интервале 1050 °C - 1150 °C.
Термообработку горячекатаного листового проката проводят в проходных роликовых печах непрерывного действия, камерных и колпаковых печах периодического действия.
Закалку толстых листов осуществляют в специальных роликовых закалочных машинах, закалочных прессах и баках.
2.1.5.2 Отделка готового полосового проката
Нормализацию горячекатаных полос выполняют с использованием агрегатов непрерывного действия. На агрегат нормализации поступают горячекатаные полосы с размерами 1, 2-6 х 700-1550 мм в рулонах массой 3-7, 5 т. Скорость движения полосы в средней технологической части агрегата 5-30 м/мин, производительность агрегата - 22 т/ч. Температура нормализации горячекатаной стали - 930 °C - 950 °C. Термообработанные полосы укрупняются в рулоны массой до 50 т.
Горячекатаные рулоны с непрерывных широкополосных станов, предназначенные для дальнейшей холодной прокатки, транспортируются в цех холодной прокатки, где складируются для окончательного охлаждения. Основная часть горячекатаного плоского проката отгружается потребителю в виде листов.
Для разделки рулонной полосы на листы используют агрегаты поперечной резки двух типов - тихоходные и быстроходные. Скорость продвижения полосы в агрегатах первого типа составляет 0;8-1, 3 м/с, второго - 2, 0 м/с и более. Тихоходные агрегаты используются для резки полос толщиной свыше 5-6 мм при небольшом объеме производства (100-200 тыс. т/г). В состав тихоходных агрегатов включаются либо гильотинные, либо летучие ножницы, а также дисковые ножницы для обрезки кромок. Агрегаты с гильотинными ножницами более просты и дешевы и позволяют разрезать полосы широкого диапазона толщины. Необходимость резкого изменения скорости движения полосы на участке гильотинных ножниц усложняет работу транспортирующих механизмов. Этого недостатка лишены агрегаты поперечной резки с летучими ножницами.
Быстроходные агрегаты имеют большую (до 1 млн т/г) производительность, благодаря чему они являются основным типом разделочных агрегатов в современных цехах. Для обеспечения большой производительности быстроходные агрегаты оборудуются двухпозиционными разматывателями и листоукладчиками с подъемными столами, что позволяет формировать пачки большой массы. Обычно разделочный агрегат оборудован двумя-тремя листоукладчиками и одним дополнительным - для некондиционного металла.
В качестве режущих устройств в быстроходных агрегатах применяют качающиеся, ротационные или барабанные летучие ножницы. Агрегаты поперечной резки включают также оборудование для правки полос, обрезки кромок, рассортировки листов по толщине и качеству поверхности и промасливания перед укладкой в пачки. Например, агрегат поперечной резки полос с размерами 3-12 х 1850 мм включает: разматыватель рулонов с отгибателем концов полос; разделительно-задающую машину; дрессировочную клеть; правильную машину (пятироликовую) с тянущими роликами; ножницы с уборочным устройством; тянущие ролики; петлевой стол; дисковые и кромкокрошительные ножницы с устройством для уборки обрези; роликовый стол; маркировочное устройство; правильную машину с роликами; рентгеновский толщиномер; летучие ножницы; рольганг; электромагнитный листоукладчик.
При поставке металла в рулонах основной операцией отделки являются обрезка кромок или продольная резка на узкие полосы с одновременной обрезкой кромок. Для этой цели служат агрегаты трех типов:
- только для обрезки кромок;
- продольной резки с обрезкой кромок;
- для укрупнения рулонов с одновременной обрезкой кромок.
Наиболее широко распространены агрегаты второго типа, как более универсальные (производительность - 300-500 тыс. т/г). Агрегат включает устройство для подачи рулонов, отгибатель концов полосы, разматыватель с гибочными роликами, гильотинные ножницы для обрезки концов полосы, дисковые ножницы с кромкокрошительными ножницами, правильную машину и моталки. Повышенные требования к качеству поверхности привели к включению в состав некоторых агрегатов дрессировочных клетей.
В состав агрегата третьего типа (укрупнения рулонов) обязательно входит стыкосварочная машина с гратоснимателем.
При небольших объемах производства и широком сортаменте продукции применяют комбинированные агрегаты продольной и поперечной резки. Состав оборудования таких агрегатов позволяет производить обрезку кромок, роспуск на более узкие полосы, смотку разрезанной полосы в рулон или порезку на отдельные листы. Один из наиболее крупных агрегатов такого типа предназначен для разделки металла толщиной 1, 2-9, 5 мм со скоростью до 3 м/с при продольной резке и до 1, 75 м/с - при поперечной.
Разделочные агрегаты могут устанавливаться непосредственно за агрегатами для удаления окалины. Для повторной правки и резки некондиционного металла устанавливают либо отдельно стоящие правильные машины и ножницы, либо механизированные поточные линии небольшой производительности.
Различают две схемы производства травленых горячекатаных листов:
- разделку горячекатаных рулонов на листы и травление в агрегатах периодического действия;
- травление в непрерывных агрегатах с последующей разделкой.
Первая схема малопроизводительна и требует затраты большого количества тяжелого ручного труда во вредных условиях (почти не применяется). При травлении в непрерывных агрегатах наблюдается заметное ухудшение пластических свойств металла после травления, связанного с процессами деформационно-термического старения и наклепом. Поэтому на этих агрегатах отделывают прокат из нестареющих сталей либо проводят термообработку травленых листов в защитной атмосфере в проходных печах.
Широко распространен дробеметный способ удаления окалины с полос и листов на установках пневматического и механического типа. Обычно в камере обработки устанавливают 10-16 дробеметных турбинных или пневматических сопел для обработки материала с двух сторон. Скорость движения металла при очистке составляет от 0, 5-5, 2 м/мин. Расход дроби составляет 10-20 кг/м2 обрабатываемой поверхности.
Эффективным является применение линий очистки с двукратной дробеструйной обработкой, позволяющей быстро удалить окалину (с применением стальной литой дроби фракции размером 0, 4-1, 0 мм) и придать поверхности металла необходимый уровень шероховатости (колотая дробь размером 0, 2-0, 4 мм).
Применение комбинированных линий обработки, включающих процессы абразивной и химической очистки поверхности, позволяет улучшить качество металла. Продолжительность травления составляет 10-15 с при скорости движения металла до 50-150 м/мин. Перспективным способом удаления окалины является иглофрезерная обработка поверхности металла. Отделочные агрегаты оснащают измерительными средствами и системами для автоматического контроля различных технологических параметров и показателей качества листовой и полосовой стали. Сюда относят измерители толщины, длины, ширины, неплоскостности проката, приборы для дефектоскопии поверхности.
Далее осуществляют приемку, упаковку, маркировку готового листового проката.
Средние коэффициенты расхода металла при производстве горячекатаных листов представлены в таблице 2.2 [10]. Данные об энергозатратах и расходе валков при производстве горячекатаного листа на станах различного типа представлены в таблице 2.3 [10].
|
Вид продукции |
Коэффициент расхода металла на станах горячей прокатки листа | ||
|
Толстолистовой |
Полунепрерывный |
Непрерывный широкополосный | |
|
Металл в листах: | |||
|
- рядовой |
1, 22-1, 25 |
1, 16-1, 18 |
- |
|
- конструкционный |
1, 22-1, 47 |
1, 20-1, 22 |
- |
|
- низколегированный |
1, 37-1, 50 |
1, 19-1, 20 |
- |
|
Металл в рулонах: | |||
|
- рядовой |
- |
1, 03-1, 08 |
1, 03-1, 08 |
|
- конструкционный |
- |
1, 05-1, 08 |
1, 05-1, 08 |
|
- низколегированный |
- |
1, 06-1, 09 |
1, 06-1, 09 |
|
Показатель |
Тип стана | ||
|
Толстолистовой |
Полунепрерывный |
Непрерывный широкополосный | |
|
Условное топливо, кг/т |
100-150 |
100-150 |
45-100 |
|
Электроэнергия, кВт·ч/т |
50-80 |
50-80 |
50-80 |
|
Вода, м3/т |
15-25 |
20-30 |
20-40 |
|
Пар, т/т |
0, 015-2, 5 |
0, 015-2, 5 |
0, 015-2, 5 |
|
Удельный расход валков, кг/т |
0, 8-2, 5 |
0, 8-1, 5 |
0, 8-1, 5 |
Производство холоднокатаного проката может быть описано укрупненной схемой, представленной на рисунке 2.7. Особенностью этой схемы (по сравнению со схемой получения горячекатаного проката) является наличие цикличности процесса, которая связана с тем, что при холодной деформации происходит упрочнение металла, устранение которого связано с постоянным выполнением цикла операций термической обработки и подготовки поверхности проката к последующей деформации. Общее количество операций в технологической схеме производства конкретного вида продукции в этом случае существенно возрастает.

Рисунок 2.7 - Обобщенная схема производства холоднодеформированного проката
Холодная прокатка листов производится без нагрева металла, хотя в процессе обработки металл разогревается до температуры 150 °С - 250 °С. В холодном состоянии прокатывают лист толщиной менее 4 мм и шириной 500-2300 мм. По толщине холоднокатаный плоский прокат условно делят на категории:
- листы 1, 5-4 мм;
- холоднокатаная полоса 0, 45-2 мм;
- жесть 0, 07-0, 3 мм;
- фольга 0, 0015-0, 01 мм.
По назначению холоднокатаный листовой прокат различают: конструкционный 0, 4-2, 5 мм; кровельный 0, 4-0, 22 мм; декатированный (отожженный и травленый) 0, 25-2, 0 мм; коррозионно-стойкий 0, 05-3, 5 мм; электротехнический 0, 05-0, 5 мм; жесть 0, 06-0, 36 мм. Кроме того, различают холоднокатанный плоский прокат: нормальной (Н), глубокой (Г), весьма глубокой (ВГ) вытяжки, а также сложной (СВ), особо сложной (ОСВ) и весьма особо сложной (ВОСВ и ВОСВ-Т) вытяжки. Каждая из этих категорий характеризуется механическими свойствами, испытанием на вытяжку. Еще одной важной характеристикой холоднокатаной стали является ее изотропность, т.е. однородность свойств в различных направлениях.
По степени отделки качественную углеродистую сталь разделяют на четыре группы: I - с особо высокой отделкой поверхности (на глянцевой или матовой поверхности листов, подвергающихся при штамповке весьма глубокой вытяжке, не допускается никаких дефектов), II - с высокой, III - с повышенной, IV - с обычной отделкой поверхности.
Для холодной прокатки листа и полос используются реверсивные и непрерывные станы, имеющие в своем составе многовалковые клети: четырехвалковые (кварто), шестивалковые, двенадцативалковые, двадцативалковые. Реверсивные станы имеют в составе одну или две клети, а непрерывные - от трех до семи клетей [13]. На рисунке 2.8 показаны существующие технологические схемы производства холоднокатаных листов и полос.
Исходным материалом для холодной прокатки являются горячекатаные листы толщиной 1, 5-5 мм. Холоднокатаные листы производят двумя способами: полистным и рулонным. Рулонный способ является более производительным, дает возможность механизировать и автоматизировать большинство технологических операций, повышает выход годного металла с улучшенной геометрической формой и свойствами вследствие устойчивости технологического процесса.

Рисунок 2.8 - Технологические схемы производства холоднокатаных листов и полос
Для удаления окалины, толщина слоя которой составляет 0, 1-0, 15 мм, используют механический, химический и электрохимический способы [11].
Химический способ травления окалины осуществляется в растворах соляной, серной и серно-соляной кислот. В настоящее время преимущественно используется раствор соляной кислоты, температура раствора - 85 °C - 95 °C, концентрация кислоты - 18 % - 25 %.
Для реализации способа используют непрерывные травильные агрегаты, которые с целью интенсивного взрыхления окалины оборудованы мощными окалиноломателями.
Современные непрерывные линии травления имеют четыре ванны, работающие в замкнутом цикле с установкой регенерации кислоты. Травильный предварительно подогретый раствор из установки регенерации непрерывно подается в ванну N 4, откуда он самотеком проходит из ванны в ванну навстречу движению полосы. Из ванны N 1 отработанный раствор поступает на регенерацию и затем в ванну N 4 (расход примерно 5 м3/ч). Для уменьшения потерь металла в ванны вводят ингибиторы, замедляющие растворение железа, но сохраняющие скорость растворения окалины и препятствующие диффузии водорода в металл.
После травления полоса промывается и сушится.
Для травления полосы, кроме горизонтальных агрегатов, используют вертикальные (башенные) установки со скоростью прохождения полосы до 4 м/с.
Максимальная скорость травления полосы в H2SO4 при использовании окалиноломателей и дрессировочной клети составляет 4-4, 5 м/с и для HCl - 6 м/с. При наличии установок регенерации травильных растворов и промывочной воды для травления 1 т металла расходуется 12-14, 5 кг H2SO4 или 2, 0-2, 3 кг HCl. Расход H2SO4 в агрегатах с применением дрессировочной клети составляет 7, 5 кг/т.
Удаление окалины с поверхности горячекатаных полос из высоколегированных и коррозионно-стойких сталей осуществляется кислотным, щелочно-кислотным и электролитическим травлением.
В непрерывных травильных агрегатах используют раствор H2SO4 с добавкой поваренной соли и натриевой селитры. В отбеливающей ванне раствор состоит из HNO3 и H2SO4. Кислотное травление низколегированных и коррозионно-стойких сталей является малопроизводительным, не обеспечивает качественного удаления окалины и получения чистой поверхности металла.
При щелочно-кислотном травлении полоса проходит щелочное травление в расплаве 75 % - 80 % NaOH и 20 % - 30 % NaNO3 при температуре 450 °C - 550 °C. После промывки водой производят кислотное травление в растворе H2SO4 с добавкой поваренной соли. Из кислотной ванны полоса поступает в ванну для промывки водой с установленными чистильно-моющими щетками, а затем в ванну с 6 % - 8 %-ным раствором, подогретым до 45 °C - 50 °C, где происходит отбеливание и пассивирование поверхности.
Обработка полосы в щелочи осуществляется также при гидридном методе травления. Этот метод заключается в восстановлении окалины с помощью гидрида натрия NaH, который образуется в результате взаимодействия металлического натрия и газообразного водорода. Травление осуществляется в ванне с расплавом, состоящим из 76 % - 78 % NaOH и 1, 5 % - 2 % NaH, при температуре 370 °C - 450 °C.
При механическом удалении окалины наиболее распространены дробеструйный и дробеметный способы удаления окалины в линиях с горизонтальной транспортировкой полос.
Агрегаты для очистки поверхности полос от окалины представляют собой камеру, в которой помещено несколько (от 4 до 12) дробеметных полос диаметром 500-600 мм. На полосу подается дробь диаметром 0, 4-1, 0 мм в первой машине и диаметром 0, 2-0, 4 мм во второй машине. Двухкратная дробеметная обработка обеспечивает удаление 96 % - 99 % окалины. Последующее легкое травление позволяет удалить окалину полностью. Длина линий дробеметной очистки - 8-15 м, скорость обработки - до 150 м/мин.
Более перспективный способ удаления окалины - иглофрезерная очистка поверхности. Основу агрегата составляет комплекс иглофрезерных барабанов, последовательно расположенных один за другим. Каждый барабан содержит до миллиона отрезков высокопрочной проволоки диаметром 0, 2-1 мм, плотно набитых на его поверхности. Каждая проволочка (микрорезец) снимает с поверхности полосы слой 2-5 мкм в зависимости от степени прижатия. Иглофрезы могут работать сотни и тысячи часов. Оборудование для иглофрезерного удаления окалины занимает 10 % - 25 % площадей непрерывных травильных агрегатов (НТА).
Наиболее эффективное разрушение окалины происходит в изгибо-растяжных машинах (см. рисунок 2.9). При растяжении с удлинением до 1 %, кроме ломки окалины, уменьшается неплоскостность полос.
Для удаления окалины используются также дрессировочные станы: две последовательно расположенные двухвалковые клети или дрессировочная клеть кварто (например, дрессировочный стан 1700). Полосы из коррозионно-стойкой стали перед прокаткой могут подвергаться шлифованию для удаления поверхностных дефектов: плен, рисок и т.д.

1 - полоса; 2 - прижимной ролик; 3 - натяжной ролик; 4 - изгибающие ролики (правильная машина)
Рисунок 2.9 - Схема изгибно-растяжной машины
Собственно процесс прокатки осуществляется с натяжением как в одноклетевых станах, так и на непрерывных станах [13].
В настоящее время, кроме непрерывных станов, работают станы бесконечной прокатки, в которых перед прокаткой или травлением установлены агрегаты для стыковой сварки полос и петленакопитель, а за последней клетью - делительные летучие ножницы и две моталки для смотки полос в рулоны.
Для уменьшения коэффициента трения при прокатке на полосу подается смазка. Для этого применяют различные органические жиры, минеральные масла и органические соединения. При прокатке жести в качестве смазок применяют пальмовое, кокосовое, сурепное и другие масла, которые используют в смеси с водой. На станах холодной прокатки системы смазки работают по замкнутому циклу. После использования остатки эмульсии направляют в сборники для повторного использования. На стан эмульсию подают насосными установками, для очистки эмульсии имеются фильтры и магнитные сепараторы, для охлаждения эмульсии используют охладители.
Холодную прокатку листовой стали на непрерывных станах проводят со значительными межклетевыми натяжениями, которые улучшают условия прокатки, вследствие чего возможна прокатка с большими обжатиями (до 50 % - 80 %). Натяжение на станах создают моталками, контроль натяжения осуществляют устройствами, установленными между клетями стана.
Для производства тончайших лент из различных сталей и сплавов используют многовалковые одноклетевые реверсивные станы с рабочими валками малого диаметра (6-, 12- и 20-валковые). Скорость прокатки достигает 7, 5 м/с, при этом к концам полосы прикладывают значительные удельные натяжения 10 % - 40 % от величины предела текучести деформируемого материала.
После холодной прокатки вследствие упрочнения углеродистая сталь обладает пониженной пластичностью. Для снятия упрочнения и получения структуры, обеспечивающей необходимые механические и технологические свойства, холоднокатаную сталь отжигают. Если отжиг проводят в защитной атмосфере (водорода или азота), то его называют светлым, полоса не окисляется. Черный отжиг проводится в обычной атмосфере с образованием окалины.
Основным видом термической обработки углеродистой стали в цехах холодной прокатки является отжиг.
Незначительную по объему производства часть металла подвергают нормализации или поставляют потребителям в нагартованном состоянии.
Основная масса холоднокатаной листовой стали проходит рекристаллизационный отжиг (может быть длительный - для рулонов и кратковременный - для полос в проходных печах), который производят при температуре 630 °C - 700 °C. Защитная среда - азот с добавкой (от 3 % до 5 % водорода).
Применяют также:
- обезуглераживающий отжиг (для малоуглеродистых сталей);
- высокотемпературный отжиг (для обеспечения заданной текстуры стали, обеспечивающей ее технологические свойства);
- отпуск (для снятия упрочнения металла, возникающего после отжига), закалку (для отжига аустенитных и аустенитно-мартенситных сталей).
Отжиг осуществляется в колпаковых и башенных печах, а также на агрегатах непрерывного светлого отжига (АСО).
Отжиг листов и полос из коррозионно-стойких сталей. В зависимости от марки стали и условий поставки применяют следующие виды термической обработки: закалку, отжиг, отпуск и обработку холодом.
Закалке подвергают горячекатаные и холоднокатаные полосы, причем для последних закалка может быть как промежуточной, так и конечной операцией (температура нагрева - 1100 °C - 1150 °C).
Отжигу подвергают рулоны горячекатаной и холоднокатаной полосы стали мартенситного, ферритного и мартенситно-ферритного классов в колпаковых электрических или газовых печах в воздушной или защитной атмосфере. Поверхность холоднокатаных полос перед отжигом обезжиривают. Суммарная деформация при прокатке между отжигами - 60 %. При толщине полосы меньше 0, 5 мм промежуточный отжиг проводят в защитной атмосфере. Обработке холодом подвергают стали мартенситного, феррито-мартенситного и аустенитно-мартенситного классов, для чего металл после холодной обработки погружают в среду с низкой температурой (от -40 °C до -70 °C) и выдерживают определенное время при этой температуре.
В зависимости от вида термической обработки применяют проходные пламенные или электрические, муфельные печи для нагрева под закалку, а также колпаковые печи - если металл в рулонах. Стали ферритного класса обрабатывают в колпаковых печах, хромоникелевые стали - в проходных печах в составе непрерывных закалочно-травильных агрегатов (НЗТА). Используют также электрические проходные печи.
После отжига лист подвергается дрессировке - холодной прокатке при степени деформации 0, 5 % - 3 % (и даже до 6 %), что ниже критического интервала деформации, и значительными натяжениями. Дрессировка предотвращает появление линий сдвига при штамповке, улучшает поверхность после отжига и травления, снижает коробоватость и волнистость, повышает прочность и упругость листового металла.
Поверхность листов после дрессировки становится ровной, матовой или глянцевой, что обеспечивает хороший внешний вид покрытия при операции окраски, лакировки и лужения. Эффективность регулирования планшетности полосы существенно повышается при использовании на дрессировочных станах систем регулирования профиля и формы листового проката. Применение малых обжатий обеспечивает упрочнение поверхностного слоя металла, в результате чего предотвращается образование линий сдвига при штамповке и создается хорошее сочетание механических свойств.
Дрессировке подвергается только полностью остывший металл. Повышенные температуры приводят к интенсивному старению металла со значительным ухудшением механических свойств.
В современных цехах холодной прокатки для дрессировки углеродистой листовой стали применяют одноклетевые и двухклетевые (для жести) станы с четырехвалковыми клетями. Дрессировка производится в листах и рулонах, причем последний способ является более экономичным. Скорость дрессировки листов составляет 1, 2-2, 0 м/с; рулонов - 20 м/с; при дрессировке жести - до 30 м/с.
Натяжение при дрессировке рулонов выбирают в зависимости от марки стали, ширины и толщины полос. Величина его должна быть такой, чтобы не происходило пластического растяжения полосы до дрессировки. В связи с этим при дрессировке натяжение полосы поддерживают постоянным. На современных дрессировочных станах применяют системы автоматического регулирования степени деформации с целью поддержания заданного обжатия по всей длине полосы.
На двухклетевых станах для дрессировки жести металл подвергают прокатке и растяжению. Степень деформации при дрессировке жести составляет 1, 5 % - 2, 0 %, а в тех случаях, когда требуется значительное повышение упругости металла, обжатие может достигать 3 % - 4 %. Электротехническая сталь дрессируется с обжатием 5 % - 6 %. Для устранения загрязнений поверхности металла дрессировка ведется с применением технологической смазки (эмульсола).
Особенности прокатки листов и полос из электротехнической стали [10]. Для прокатки используется горячекатаный подкат стали марок Э0100, Э0300 с высокими требованиями к разнотолщинности и качеству поверхности. Травление производится в непрерывном травильном агрегате (НТА) в растворе серной или соляной кислоты. Далее следует промывка холодной и горячей водой, чистка металлическими щетками, сушка, обрезка кромок, промасливание. После чего подкат сматывается в рулон.
Первый этап прокатки с толщины полосы 2, 5 мм до 0, 6 мм с автоматическим регулированием толщины полосы в процессе прокатки. После обрезки кромок и удаления утолщенных концов, химического обезжиривания и механической чистки поверхности производят обезуглероживающий отжиг в башенных печах в среде защитного газа (температура 850 °С и скорость полосы 1 м/с).
Второй этап холодной прокатки проводится преимущественно на двадцативалковых станах с толщины полосы 0, 6 мм до 0, 35 мм с автоматическим регулированием толщины полосы. После удаления утолщенных концов производят укрупнение рулонов до массы 10 т. Обезжиривание и нанесение термостойкого покрытия, состоящего из водяной суспензии гидрата окиси магния, производится в специальных агрегатах, а также в непрерывных башенных и горизонтальных печах. Цель нанесения покрытия - предотвращение сваривания витков рулона при термообработке, которая представляет собой высокотемпературный отжиг при температуре 1100 °C и производится в среде защитного газа в колпаковых печах. Затем производят нанесение изоляционного покрытия на поверхность полосы.
Особенности прокатки листов и полос из коррозионно-стойких сталей. Типовая схема производства включает термическую обработку горячекатаных полос в рулонах, травление, холодную прокатку, термическую обработку, травление, дрессировку (правку), порезку полос на листы или продольную резку на несколько лент, сортировку, зачистку и упаковку. Масса рулонов может достигать 6 т. Сварку полос встык для укрупнения рулонов и обработку их в агрегатах непрерывного действия проводят в атмосфере нейтральных газов.
Для полистной холодной прокатки используют одноклетьевые реверсивные станы, рулонную прокатку проводят преимущественно на 20-валковых станах. На всех переделах, связанных с перематыванием полосы, для предохранения ее поверхности от повреждения между витками рулона прокладывают специальную защитную бумагу. Поставку плоского проката из коррозионно-стойких сталей осуществляют по степени упрочнения. Прокатку ведут в минимально возможное число проходов. Правку осуществляют на роликовых правильных машинах, эффективно совмещают дрессировку с последующей правкой.
В последние годы холоднокатаную полосу производят на совмещенных агрегатах: непрерывный травильный агрегат - непрерывный прокатный стан - агрегат непрерывного отжига; агрегат непрерывного отжига - дрессировочный и разделочный агрегаты.
Для соединения полос в этих агрегатах используется преимущественного контактная электросварка, электродуговая сварка встык в среде защитного газа, а для полос из малоуглеродистой стали - метод оплавления кромок.
При производстве холоднокатаного плоского проката высокие требования предъявляются к плоскостности полосы. Для устранения волнистости и коробоватости полос после термообработки и дрессировки листы подвергают правке на роликовых и растяжных правильных машинах. Роликовая правильная машина состоит из нескольких приводных роликов одинакового размера, расположенных в шахматном порядке. Зазор между каждой парой роликов увеличивается по мере приближения к выходной стороне правильной машины. Ролики деформируют лист в обоих направлениях с постепенным увеличением радиуса изгиба, чем достигается выравнивание листа в конце правки. Диаметр рабочих роликов выбирается в соответствии с толщиной и твердостью металла (обычно равен 25-120 мм).
Перспективным является применение правки полос растяжением на растяжных правильных машинах. Для правки необходима пластическая деформация, равная 0, 5 % - 2, 0 %. С целью предотвращения появления линий сдвига при правке растяжению подвергают только дрессированные листы. Правка растяжением неприменима при наличии неоднородности свойств металла в пределах листа, а также высокой разнотолщинности.
Потребитель получает холоднокатаный лист в пачках или рулонах, для чего служат непрерывные агрегаты поперечной, продольной резки и комбинированные с одновременной правкой и промасливанием (обычно 2-3 агрегата поперечной резки и 1-2 агрегата продольной резки). Порезка холоднокатаного металла осуществляется барабанными ножницами со скоростью 4-6, 5 м/с. Обрезка боковых кромок производится дисковыми ножницами, установленными в линии агрегата резки. Агрегаты оснащены системами автоматической сортировки листов по толщине и выявления листов с дефектами, для чего на этих агрегатах устанавливают рентгеновские бесконтактные измерители и ультразвуковые дефектоскопы.
Обвязка полосового проката большей частью осуществляется стальной полосой. Готовую продукцию упаковывают в металлические короба, контейнеры, деревянные ящики и решетки. На поверхность проката наносят консервационные защитные составы, обертывают влагонепроницаемой, промасленной, гудронированной бумагой, толью или другими видами упаковочных материалов.
2.2.7.1 Горячее нанесение покрытий
2.2.7.1.1 Производство жести
Жесть - тонколистовая отожженная сталь из малоуглеродистых марок стали (сталь 08, сталь 10) с защитными металлическими и органическими покрытиями. Предназначается для изготовления упаковочной тары пищевых продуктов, поэтому выбор материалов для ее изготовления согласовывается с санитарно-гигиеническими нормами.
В РФ изготавливают черную холоднокатаную жесть (ЧЖ), белую горячего лужения (ГЖ), электролитического лужения (ЭЖ), и хромированную лакированную (ХЛЖ), причем по качеству различают жесть первого сорта ЖК (консервная) и второго сорта ЖР.
Белую жесть горячего лужения марок ГЖК и ГЖР изготовляют главным образом в листах из листовой черной жести. Нанесение оловянного покрытия производится путем погружения черной листовой жести в расплавленное олово.
2.2.7.1.1.1 Технология горячего лужения
В процессе горячего лужения листовая жесть проходит следующие технологические операции [10]:
- травление;
- промывка;
- флюсование;
- лужение погружением в расплавленное олово;
- формирование оловянного покрытия в "жировой" ванне;
- обезжиривание;
- очистка поверхности.
Травление проводится в водных растворах серной или соляной кислоты, причем травление с использованием соляной кислоты является более эффективным.
Флюсование. Флюс "наводится" на зеркало расплавленного олова ванны лужения в виде раствора хлористого цинка. При "наведении" на расплавленное олово флюс должен бурно кипеть (температура 200 °C - 250 °C). Кипение поддерживается притоком воды, заносимой жестью после ее травления и промывки или через так называемые капельницы.
Высота слоя флюса в кипящем состоянии составляет 70-100 мм. Свежий флюс получает рабочую активность только после накопления в нем 8 % - 15 % SnCl2 за счет перехода олова ванны во флюс. Этот процесс называется "проработкой" флюса. Во избежание потерь в производстве обычно пользуются добавлением к свежему флюсу рабочего флюса от соседнего работающего агрегата лужения. Время обработки жести во флюсе составляет до 0, 4 с.
Лужение. В ванне лужения идет образование оловянного покрытия на жести первоначальным слоем до 10-15 мкм.
На участке выхода жести из флюсовой коробки температура оловянной ванны должна быть не более 320 °C - 350 °C с постепенным падением по пути перемещения жести в жировой среде до 260 °C - 280 °C. Температура нижней части ванны не выше 260 °C - 270 °C, что способствует оседанию на ее дне взвешенных частиц FeSn2 и поддерживанию чистоты граничной поверхности "олово - масло". Ванны обогреваются газом или электричеством.
Окончательное формирование оловянного покрытия осуществляется в "жировой" ванне с помощью "жировой" машины, помещенной в масляную среду из хлопкового или пальмового масла. Для систематического регулирования окончательной толщины оловянного слоя из жести служит жировая машина. Она состоит из трех пар стальных валков специальной стали и формы, которые отжимают избыток олова на жести и с которых, кроме того, с помощью специальных каменных щеток из природного талькохлорида с валков снимается накопившееся на их поверхности жидкое олово.
При выходе из жировой ванны жесть искусственно охлаждается очищенным воздухом, ускоряя кристаллизацию олова.
Конечное технологическое звено - обезжиривание и очистка поверхности белой жести осуществляется последовательно в ванне с щелочным раствором и в сухих очистителях, в сухих пшеничных отрубях, в результате чего на оловянном покрытии остается 6-20 г масла на 1 т жести.
2.2.7.1.1.2 Технология электролитического лужения
Белую электролитически луженую жесть марок ЭЖК и ЭЖР производят путем электролиза из различных электролитов, применяя олово марки 01 или 01ПЧ.
Перед лужением рулонная черная жесть готовится на отдельно стоящих агрегатах, где в процессе перемотки рулона (наружный диаметр до 2 м) производится обрезка боковых кромок, вырезка утолщенных и мятых концов, осмотр и отбраковка дефектных участков полосы.
Далее рулон жести поступает на агрегат электролитического лужения, где предварительно подвергается обезжириванию (с целью удаления жировых загрязнений с поверхности жести) и травлению (для удаления окислов).
На современных агрегатах применяют химическое (в растворе на основе NaOH и Na3PO4, температура 80 °C - 90 °C) и электрохимическое обезжиривание постоянным током. После химического обезжиривания полоса подвергается щеточной обработке и промывке холодной водой в щеточно-моечной машине, далее поступает в ванны электролитического обезжиривания, которое производится в растворе того же состава, что и при химическом обезжиривании. Подвод тока к ваннам обезжиривания осуществляется по бесконтактной биполярной схеме, время обработки - 1, 5-3 с. Механизм процесса сводится к эмульгированию жиров с полосы выделяющимися на поверхности полосы пузырьками водорода.
После обезжиривания жесть проходит струйную промывку умягченной холодной водой. Промытая полоса подвергается дополнительной щеточной обработке и промывке холодной водой в следующей щеточно-моечной машине, после чего полоса поступает в ванны травления.
Травление осуществляется в электролите (H2SO4 и Fe) при нормальной температуре. Полоса является катодом, в качестве анода применяются свинцовые пластины, время обработки - 1, 5-3 с.
После травления полоса подвергается интенсивной струйной промывке холодной водой и щеточно-моечной обработке, после чего поступает в ванны электролитического лужения с щелочными или кислотными электролитами (фенолсульфоновыми, галогенидными и др.).
Анодный процесс сводится к растворению олова, а катодный - к электроосаждению его на поверхности стальной полосы. Скорость полосы в технологической части составляет 5-9 м/с. Электролит непрерывно циркулирует между баком и ваннами через теплообменники.
Для уплотнения оловянных осадков в электролизных ваннах их подвергают оплавлению при температурах, превышающих температуру плавления олова (232 °C). Оплавление осуществляется контактным или индукционным методами.
Перед оплавлением луженая поверхность обрабатывается при кислом электролите в растворе фенолсульфоновой кислоты.
После оплавления луженая лента подвергается пассивации, в результате которой образуется искусственная окисная пленка (1-5 нм). В современных агрегатах электролужения осуществляется катодная пассивация в растворе бихромата натрия, время пассивации - 1, 5-2 с.
Промасливание - последняя технологическая операция, служащая для устранения потертости на жести при хранении и транспортировке, улучшения штампуемости, повышения стойкости против коррозии. Промасливание в электростатическом поле (50 кВ) не снижает адгезии лаковой пленки к покрытию. Количество наносимого масла - 10 мг/м2 поверхности жести. Применяется хлопковое масло или диоктилсебацинат.
Сортировка жести осуществляется в потоке агрегатов при помощи микрометра, замеряющего толщину жести и дефектоскопа, определяющего наличие проколов. Оценка качества поверхности жести осуществляется визуальным осмотром.
2.2.7.1.1.3 Производство электролитически хромированной лакированной жести
Хромированная лакированная жесть - вид безоловянной жести, предназначенный для изготовления консервной тары под пищевые продукты. В качестве стальной основы используется рулонная черная жесть марки ЧЖ-1 из низкоуглеродистых марок стали. Хромированная жесть изготавливается двух видов: хромированная лакированная и хромированная промасленная.
Толщина слоя электролитически осажденного хрома с каждой стороны составляет 0, 020-0, 050 мкм (1, 4-3, 5 мг/мм2).
Для улучшения коррозионной стойкости хромированная поверхность подвергается пассивированию. Масса пассивной пленки, определяемая по содержанию в ней хрома, составляет от 0, 03 до 0, 4 мг/дм2 поверхности.
Технология производства хромированной жести состоит в следующем. Хромовое покрытие, электрически осажденное на стальную основу жести, является двухслойным, состоящим из слоя металлического хрома толщиной 0, 02-0, 05 мкм и слоя пассивной пленки толщиной 5-30 нм. Технологические процессы производства хромированной жести осуществляются на непрерывных высокоскоростных линиях, по своей конструкции аналогичных современным линиям электролитического лужения.
Состав электролизной ванны хромирования: СrO3 (250 г/л) и H2SO4 (2, 5 г/л). Процесс ведется при плотности тока 60-100 А/дм2, продолжительность - 2-2, 5 с, температура электролитов - 55 °C - 60 °C. За этот период осаждается 0, 02-0, 05 мкм металлического хрома.
После струйной промывки и улавливания электролита полоса поступает в ванны хроматирования (пассивации). Плотность слоя хроматной пленки из окиси хрома составляет 2, 1-2, 2 г/см3.
Лакирование хромированной пассивированной полосовой жести осуществляется в электрическом поле высокого напряжения (130-140 тыс. В). Лак, доведенный до необходимой вязкости специальными насосами, подается на электроды-распылители, где он получает отрицательный заряд, распыляется и в виде аэрозоля движется в электрическом поле к заземленной полосе, на которой отлагается равномерным слоем толщиной 4-6 мкм.
Упаковка и отгрузка хромированной лакированной жести осуществляется по аналогии с электролитически луженой жестью.
2.2.7.1.2 Производство освинцованной тонколистовой стали
Стальные освинцованные листы и полосы обладают высокой стойкостью против коррозионного воздействия жидких нефтепродуктов, что определило применение этого вида проката для изготовления бензобаков, радиаторов, труб воздухоочистителей и маслоприемников и т.д.
Для изготовления освинцованного листа и полосы с толщиной покрытия 6-12 мкм применяется холоднокатаная тонколистовая сталь, изготовляемая из малоуглеродистых марок.
Процессы свинцевания для стальных листов протекают в агрегатах, аналогичных агрегату горячего лужения, где травленые стальные листы последовательно обрабатываются во флюсе, в ванне с жидким свинцово-оловянным сплавом (до 80 % Pb, до 20 % Sn) и в жировой среде (см. рисунок 2.10).

Рисунок 2.10 - Схема агрегата свинцевания
Флюс применяется в виде водного раствора хлористого цинка, аналогично горячему лужению. Его температура на ванне свинцевания - 270 °C - 280 °C. В качестве масляной среды в жировой ванне применяют хлопковое масло или минеральное масло. Температурный режим ванны свинцевания - 370 °C - 400 °C, а жировой ванны - 350 °C - 300 °C. Освинцованный лист после жировой ванны поступает в агрегат очистки, где его обезжиривание проходит в валках с помощью пшеничных отрубей.
2.2.7.1.3 Производство оцинкованной тонколистовой стали
Цинковые покрытия являются наиболее распространенными - около 40 % мировой добычи цинка (~1, 5 млн т/г) потребляется для защиты черных металлов от коррозии.
Для покрытия тонколистовой стали применяют два способа цинкования - горячее и электролитическое. Наибольшее распространение получило горячее цинкование.
Существующий в ограниченных размерах старый процесс горячего цинкования стальных листов осуществляют с применением флюса, когда после обезжиривания, травления и промывки лист погружается в цинковый расплав через слой расплава солей ZnCl2 и NН4Сl (300 °C - 350 °C) или же когда обработка во флюсе вынесена в отдельную флюсовую ванну перед ванной цинкования. Флюс в этом случае представляет собой концентрированный водный раствор ZnCl2 и NH4Cl. После такой обработки во флюсе проводят сушку при 150 °C - 300 °C.
Для горячего цинкования стальных полос (0, 3-4, 0 мм) применяют в основном метод бесфлюсового цинкования в непрерывных линиях. Очистка полосы производится в линии путем окислительного нагрева до 470 °C - 480 °C с образованием на поверхности полосы тонкой окисной пленки, которая восстанавливается при последующем отжиге в восстановительной водородной атмосфере. Охлажденная до 480 °C - 520 °C полоса с чистой активной поверхностью погружается в цинковый расплав при 460 °C.
Широко применяется способ безокислительного нагрева полосы в продуктах неполного сгорания при значительной разности температур газовой среды (1100 °C - 1300 °C) и нагреваемого металла (до 700 °C). Скорость движения полосы - до 3-4 м/с, время нагрева - 10-15 с. Практически во всех линиях цинкования проводится совмещение операций термообработки холоднокатаной полосы, нанесения покрытия и термической, химической и механической обработки оцинкованной полосы.
Электролитическое цинкование проводится в ваннах с кислым и щелочным электролитами. К кислым электролитам относятся хлоридные, фторборатные, сульфатные и др. Наиболее распространены сульфатные. Электролитический метод эффективен при нанесении тонких покрытий (5-12 мкм). Осадок цинка матовый, равномерный, плотный. При последующем нанесении слоя полимерных материалов (лакокрасочных, пластмасс) покрытие достаточно коррозионно-стойкое и может работать длительное время в обычной и промышленной атмосфере.
Непрерывное горячее цинкование стальных полос осуществляют для полосы шириной до 2 м и толщиной до 4 мм на специализированных линиях, которые отличаются следующими особенностями.
Вся линия является комплексной, т.е. состоит из отдельных агрегатов разного назначения, на которых осуществляют очистку поверхности полосы (обезжиривание, травление, мойку); безокислительный нагрев в печи до 500 °C с последующей термообработкой (отжиг, нормализация) в восстановительной атмосфере (10 % - 15 % Н2) и охлаждением до 450 °C - 500 °C; цинкование в ванне с цинковым расплавом с 0, 2 % - 0, 3 % Al при 460 °C; иногда применяют термообработку оцинкованной полосы при 300 °C - 650 °C в специальной печи после цинковальной ванны с целью перевода покрытия в сплав; охлаждение полосы; пассивацию в фосфатных и хроматных растворах; механическую обработку на растяжных станках или на дрессировочной клети с гибочными роликами.
Для регулирования толщины и равномерности цинкового покрытия применяют струйное газовое (воздушное, паровое) устройство, работающее под давлением. Цинковальная ванна нагревается с помощью индукционного нагрева. Линия оснащена измерительной аппаратурой и автоматическим управлением. Производительность современной линии цинкования доходит до 500 тыс. т/г при скорости полосы более 3 м/с.
Получает также развитие покрытие из цинка и алюминия - цинкалюм с содержанием 55 % Al; 43, 4 % Zn и 1, 6 % Si. Коррозионная стойкость нового покрытия в 2-6 раз выше оцинкованного листа за счет двухфазной структуры - фазы, богатой алюминием и цинком. Фаза, богатая цинком, находится внутри фазы, богатой алюминием, в связи с чем затрудняется проникновение агрессивной среды через покрытие. Технология нанесения цинкалюма близка к технологии цинкования. Однако имеются различия: температура ванны - 600 °C, материал ванны - керамика, а погружное оборудование изготавливается из специальной стали. Агрегат оборудуют узлом ускоренного охлаждения покрытия.
2.2.7.2 Производство тонколистовой стали с полимерными покрытиями
Этот вид защиты листовой стали осуществляется на непрерывных агрегатах при скоростях движения стальной полосы от 10 до 300 м/мин.
Современные агрегаты для нанесения полимерных покрытий состоят из входной, технологической и выходной частей. Входная часть включает в себя разматыватели, ножницы для поперечной резки, сварочную или сшивную машину. Технологический участок состоит из ванн подготовки поверхности - обезжиривания, пассивации. Эти операции необходимы для обеспечения необходимой адгезии полимерного покрытия с основой [10].
Далее полоса поступает в отделение покрытий, состоящее из валковых машин, сушильных печей, охладительных устройств и устройств для нанесения полимерных пленок. В зависимости от вида полимерных материалов агрегаты работают по нескольким технологическим схемам при нанесении лакокрасочных материалов, органозолей или пластизолей: на первой валковой машине на лицевую сторону - лакокрасочных эмалей, пластизоля и органозоля, а на второй машине на обратную сторону наносится слой защитного лака или эмали.
Металлопласт может производиться с использованием одной валковой машины. При этом одновременно наносят на обратную сторону защитный лак или эмаль, а на лицевую сторону с помощью специального устройства плакируют под давлением 2-4 кг/см полимерную пленку, сушат и охлаждают полосу.
Гнутые профили изготовляют на профилегибочных станах. Профилирование заключается в последовательной формовке сечения заготовки (полосы, ленты или листа) в холодном состоянии при прохождении ее через калиброванные валки до получения требуемой конфигурации профиля. Гнутые профили изготавливаются различных типов (с различной формой сечения) и видов (сварные, перфорированные и т.д.). Материал гнутых профилей - сталь, цветные металлы, сплавы, в том числе с антикоррозионными и декоративными покрытиями.
Граничные размеры сортамента профилей, изготавливаемых на предприятиях черной металлургии, составляют по толщине 0, 5-8 мм, по ширине 30-1500 мм. Сортамент гнутых профилей включает свыше 1000 типоразмеров. Профили делятся на три основные группы: гнутые сортовые профили - профили общего назначения (уголки равнополочные и неравнополочные, швеллеры перфорированные, корытные, зетовые, С-образные, замкнутые и замкнутые сварные прямоугольные и квадратные); гнутые специальные профили - профили особой конфигурации индивидуального назначения; гнутые листовые гофрированные профили (с различной формой и числом гофров).
Созданные в России профилегибочные агрегаты конструкции ВНИИметмаш являются одними самых высокопроизводительных в мире, имеют высокий уровень механизации и автоматизации и высокую скорость профилирования (до 180 м/мин). В таблице 2.4 приведены технические данные профилегибочных агрегатов [10].
Заготовки, используемые при профилировании, - полосы, ленты или листы с обрезанными кромками.
Процесс профилирования заготовок осуществляется последовательной гибкой их сечения на многоклетьевых (от 3 до 30 формующих клетей) станах и может быть поштучным (при изготовлении профилей из заготовок мерной длины) и непрерывным (при изготовлении профилей из рулонной заготовки с резкой на мерные длины готового профиля). В первом случае имеются ограничения по сортаменту и возможностям повышения качества продукции, а также требуется повышенное число клетей из-за выполнения требований надежной задачи полосовой заготовки в валки. Во втором - возможно изготовление любых типов профилей высокого качества при минимальном числе клетей. При сварке концов рулонов процесс может быть бесконечным.
Процесс профилирования на станах включает три основных этапа:
- подготовку заготовки к профилированию - подачу рулонов со склада на стан, их размотку, правку, резку на мерные длины (при поштучном профилировании) или обрезку концов рулонов и их сварку со снятием грата с последующим накоплением полосы (при бесконечном процессе профилирования), промасливание;
- профилирование заготовки на формовочном стане до требуемой конфигурации профиля;
- отделку готовой продукции - резку на мерные длины (при непрерывном профилировании), сдув эмульсии, промасливание, транспортировку и укладку в пакеты, их обвязку или упаковку, транспортировку на склад.
При комбинированном процессе производства профилей различных видов этап подготовки заготовки может включать операции по ее перфорации, просечке, а этап отделки - сварку, завивку профиля по спирали, нанесение покрытий и др.
Профилегибочные агрегаты классифицируют: по назначению - на сортовые агрегаты общего и специального назначения и на листовые (для производства листовых профилей); по характеру процесса профилирования - на агрегаты поштучного, непрерывного (порулонного или бесконечного) и комбинированного (поштучного и непрерывного) профилирования; по размерам сечения заготовки - на агрегаты легкого, среднего и тяжелого типов.
Размеры сечений исходной заготовки определяют типоразмеры агрегатов и используются для их обозначения.
|
Параметр |
Поштучного профилирования |
Комбинированного или непрерывного профилирования |
Непрерывного профилирования | ||
|
2-7 х 80-500 |
1-4 х 400-1500 |
2-8 х 100-600 |
1-4 х 50-300 |
0, 5-2, 5 х 300-1500 | |
|
Толщина заготовки, мм |
2-7 |
1-4 |
2-8 |
1-4 |
0, 5-2, 5 |
|
Ширина заготовки, мм |
80-500 |
400-1500 |
100-600 |
50-300 |
300-1500 |
|
Число рабочих клетей, шт. |
14 |
20 |
14 или 17 |
17 |
15 |
|
Диаметр рабочих валков, мм |
170 |
230 |
180 |
115 |
170 |
|
Длина бочки валков, мм |
600 |
1550 |
600 |
300 |
1550 |
|
Скорость профилирования, м/мин |
60-150 |
45-180 |
12-150 |
30-150 |
30-90 |
|
Мощность главного привода, кВт |
960 |
600 |
1280 |
280 |
560 |
При этом в обозначении отечественных агрегатов указывается диапазон сечений заготовок, например, ПГА 2-8 х 100-600, некоторых зарубежных - наибольшие значения ширины и толщины заготовки, например, профилегибочный стан 650/8.
На агрегатах поштучного профилирования профили изготовляются из мерных заготовок, полученных резкой рулонной полосы вне или в линии агрегата на летучих ножницах перед формовочным станом. Использование впервые в мировой практике в линиях отечественных агрегатов листовых летучих ножниц позволило повысить скорости профилирования до 150-180 м/мин.
На агрегатах непрерывного профилирования на мерные длины разрезаются летучими режущими устройствами (пилами, просечными прессами, ножницами) готовые профили. Непрерывность процесса, особенно при бесконечном профилировании, позволяет достигнуть наивысшей производительности.
Состав оборудования агрегатов обусловлен их назначением, характером процесса и производительностью. Наиболее высокий уровень механизации и автоматизации - у сортовых агрегатов общего назначения непрерывного и комбинированного профилирования, установленных на отечественных предприятиях черной металлургии. Оборудование их делится на три основных участка: подготовки заготовки к профилированию, профилирования и отделки готовой продукции.
Основные тенденции в развитии профилегибочных агрегатов в настоящее время связаны с повышением эффективности их работы, а также созданием на их основе агрегатов и линий для выпуска готовых изделий из гнутых профилей. Потери времени на загрузку рулонов снижают за счет установки сдвоенных разматывателей, увеличения массы рулонов, емкости накопителей полосы.
Для сокращения времени на перевалки применяют схемы для одновременной замены групп клетей или полного их комплекта на заранее настроенный. Широко используется автоматизация, особенно на специализированных агрегатах, где с помощью ЭВМ изменяется программа их производства и программа работы отдельных участков, например, перфорации.
Средние коэффициенты расхода металла для различных видов продукции представлены в таблице 2.5 [10].
|
Продукция |
Расходный коэффициент металла |
|
Холоднокатаные полосы в рулонах из углеродистой и низколегированной стали без обрезки |
1, 03-1, 04 |
|
Холоднокатаные листы и полосы из углеродистой и низколегированной стали |
1, 06-1, 08 |
|
Жесть белая электролитического лужения |
1, 08-1, 10 |
|
Оцинкованные листы и полосы в рулонах |
1, 20 |
|
Лента холоднокатаная стальная низкоуглеродистая при толщине, мм: | |
|
- 0, 05-0, 17 |
1, 24-1, 33 |
|
- 0, 18-0, 29 |
1, 16-1, 22 |
|
- более 0, 30 |
1, 13-1, 18 |
|
Лента холоднокатаная из углеродистых и низколегированных сталей при толщине, мм: | |
|
- 0, 10-0, 29 |
1, 26-1, 32 |
|
- более 0, 30 |
1, 16-1, 27 |
|
Лента необрезанная |
1, 07-1, 11 |
Удельный расход топлива и огнеупоров в цехах холодной прокатки:
- для колпаковых одностопных печей - 0, 92-1, 05 МДж/т и 0, 4 кг/т;
- для протяжных печей - 1, 26-1, 47 МДж/т и 0, 2 кг/т.
Удельный расход электроэнергии и энергоносителей при холодной прокатке листа приведен в таблице 2.6 [10].
|
Продукция |
Электроэнергия, кВт·ч/т |
Вода, м3/т |
Пар, кг/т |
Сжатый воздух, м3/т |
|
Холоднокатаные неотожженные рулоны |
70-80 |
30-35 |
120 |
25 |
|
Холоднокатаные листы и полосы |
100-120 |
35-45 |
130 |
35 |
|
Лента холоднокатаная |
100-120 |
35-45 |
150 |
40 |
|
Жесть черная |
220-240 |
40 |
180 |
40 |
Сведения о стойкости и расходе валков листовых станов холодной прокатки приведены в таблице 2.7 [10].
|
Тип стана |
Количество проката между переточками, тыс. т |
Удельный расход валков, кг/т |
|
Непрерывный |
0, 5-2, 5/30-50 |
1, 6-1, 8 |
|
Дрессировочный |
0, 3-0, 6/35-45 |
0, 2 |
|
Реверсивный |
0, 2-0, 3/6 |
1, 5-1, 8 |
|
Жестепрокатный |
0, 3-12/10-30 |
2, 0-2, 2 |
|
Примечание - Числитель - рабочие валки, знаменатель - опорные. | ||
Горячекатаный сортовой металл, который по мере уменьшения площади поперечного сечения увеличивается в длине и может достигать в длине одного раската нескольких сотен метров, производят по обобщенной технологической схеме, приведенной на рисунке 2.11.

Рисунок 2.11 - Обобщенная схема технологического процесса производства мелкосортного проката и катанки
Сортовая заготовка - профили квадратного, круглого или прямоугольного сечения размерами 40-250 мм, длиной до 12 м, получаемые на заготовочных, крупносортных станах или на машинах непрерывного литья заготовки (МНЛЗ).
В настоящее время наиболее распространенная схема изготовления сортового проката предусматривает использование непрерывно-литой заготовки (НЛЗ), получаемой с МНЛЗ. При этом для ряда сталей используется традиционная схема изготовления сортового металла из слитка, который прокатывается на обжимных и заготовочных станах.
Получение горячекатаной сортовой заготовки
Подготовка и нагрев слитков и НЛЗ осуществляются аналогично, как это описано в 2.1.1, 2.1.2. Горячая прокатка слитков и НЛЗ производится на обжимных станах (блюмингах), которые предназначены для получения полупродукта в виде заготовок квадратного (блюмы) сечения размерами 140-450 мм. Технология прокатки блюмов аналогична технологии прокатки слябов, описанной в 2.1.3.1, 2.1.3.2. После блюминга раскаты поступают на непрерывные заготовочные станы (НЗС), которые, как правило, устанавливают в потоке обжимных станов, что позволяло существенно увеличить производительность последних.
Примером непрерывного заготовочного стана является НЗС 900/700/500, включающий 14 клетей, расположенных в трех группах. Первые две клети 900 являются обжимными. Непрерывная черновая группа состоит из двух двухвалковых клетей 900 с горизонтальным расположением валков и четырех чередующихся двухвалковых клетей 700 с вертикальными и горизонтальными валками. Непрерывная чистовая группа клетей включает в себя шесть чередующихся двухвалковых клетей 500 с вертикальными и горизонтальными валками.
В черновой группе прокатывают заготовки сечением от 190 х 190 до 130 х 130 мм и круглые трубные заготовки диаметром 110-150 мм. Скорость прокатки в последней клети черновой группы - 2, 3 м/с.
В чистовой группе клетей из раскатов, поступающих из первой группы стана, прокатывают заготовки 120 х 120 мм, 100 х 100 мм и 80 х 80 мм и круглые трубные заготовки диаметром 60-100 мм. Скорость прокатки в последней клети стана - 7 м/с.
За черновой группой клетей расположен шлеппер для передачи заготовок больших сечений с основной линии стана на обводной рольганг, в конце которого установлены ножницы. За чистовой группой стана установлены рычажно-планетарные летучие ножницы, обеспечивающие резку раскатов на заготовки при скорости 7, 0 м/с.
Если заготовочный стан линейного типа расположен вне потока блюминга, то исходный материал в виде блюмов, в том числе литых и слитков малой массы, в зависимости от марочного сортамента и назначения, подвергают предварительной подготовке (замедленному охлаждению, термической обработке, удалению поверхностных дефектов и т.д.), аналогично технологии подготовки слитка перед прокаткой на блюминге.
Производство заготовок на НЗС характеризуется коэффициентом расхода металла 1, 02-1, 03, расходом топлива 500 тыс. ккал/т, расходом электроэнергии 2730 кВт ч/т, расходом воды 2000 м3/ч и расходом валков 0, 1 кг/т.
Арматурный профиль относится к категории сортовых профилей специального назначения и предназначен для армирования бетонных конструкций в строительстве. Технология прокатки арматурного профиля практически не отличается от технологии прокатки сортового проката круглого сечения, т.е. используется такая же последовательность калибров. Периодический профиль наносится в чистовых проходах, для чего используются валки со специально подготовленными ручьями.
Арматурный профиль различного сечения, начиная от крупных и заканчивая мелкими размерами, входит в сортамент среднесортных и мелкосортных станов.
На мелкосортных и проволочных станах в отличие от других сортовых станов часть продукции (диаметром до 20 мм) изготавливается в бунтах, поскольку данная продукция предназначена для изготовления проволоки и калиброванного проката.
Горячекатаная проволока (катанка) изготавливается диаметром 5-19 мм и поставляется в бунтах массой до 2, 5 т.
В настоящее время объем производства катанки в мире превышает 50 млн т/г, что объясняется широким сортаментом производимой из нее готовой продукции - канаты, металлокорд, пружины, иглы, струны, крепежные изделия, электроды и т.д. Катанка производится на непрерывных проволочных станах, а также мелкосортно-проволочных и сорто-проволочных станах.
Исходная заготовка для подавляющего количества мелкосортных, мелкосортно-проволочных и проволочных станов имеет поперечное сечение в виде квадрата (или прямоугольника, близкого к квадрату) и поставляется с МНЛЗ, заготовочных и крупносортных станов.
2.3.1.1 Нагрев заготовки
Нагрев заготовок перед прокаткой на сортовых станах проводят преимущественно в проходных методических печах различной конструкции и производительности. В качестве топлива упомянутые печи используют коксовый, доменный, природный газы или их смесь. Часто в качестве резервного топлива выступает мазут.
Методические печи имеют несколько зон нагрева (часто применяемые печи содержат три зоны: методическую, сварочную и томильную зоны), неподвижную или подвижную (шагающую) подину, металлические или керамические рекуператоры для подогрева воздуха и газа, эксгаустеры для подачи воздуха в горелки, механизмы загрузки и выгрузки заготовок, аппаратуру для контроля и регулирования теплового режима работы печи.
Параметры некоторых наиболее применяемых методических печей приведены в таблице 2.8.
|
Тип печи |
Тип пода |
Посадка и выдача металла |
Размеры сечения заготовки, мм |
Производительность, т/ч |
|
Трехзонная, рекуперативная |
Монолитный |
Торцевая |
100 х 100...150 х 150 |
200 |
|
Двухзонная, рекуперативная |
Монолитный |
Боковая |
80 х 100...100 х 100 |
100 |
|
Многозонная, рекуперативная |
Шагающий |
Боковая |
150 х 150...200 х 200 |
300 |
2.3.1.2 Прокатка арматуры и катанки
2.3.1.2.1 Прокатка на мелкосортных станах
Сортамент мелкосортного проката включает многочисленные профили простой и фасонной формы сечения, общего отраслевого и специального назначения. К мелкосортному прокату относят круглую сталь диаметром 10-30 мм, квадратную со стороной 8-30 мм, периодические профили для армирования железобетонных конструкций N 6-N 28, угловую сталь с шириной полок 20-50 мм, швеллеры N 5-N 8, полосовую сталь шириной до 60 мм, шестигранную сталь до N 30, тавровые профили и разнообразные фасонные профили эквивалентных размеров. Прокат поставляют в прутках длиной 8-12 м или бунтах.
К мелкосортным относят станы с диаметром валков чистовой клети 350-250 мм. Проволочные станы имеют валки диаметром 280-150 мм. Станы с диаметром валков 350-300 мм в отдельных случаях имеют в сортаменте много среднесортных профилей, поэтому их относят к мелкосортно-среднесортным.
Схемы расположения основного оборудования (прокатных клетей) мелкосортных станов разнообразны: линейные, последовательные, полунепрерывные, непрерывные. Техническая характеристика мелкосортных станов разных типов представлена в таблице 2.9 [10].
Мелкосортные станы непрерывного типа предназначены для массового производства больших партий проката низко- и среднеуглеродистых сталей, преимущественно круглого сечения. При изготовлении мелкосортного проката из легированных сталей небольшими партиями востребованы технологии прокатки на станах линейного типа. При этом может изменяться калибровка валков, режимы прокатки, общая технологическая схема остается неизменной: заготовка → подготовительные операции на заготовке → цикл деформационных операций и связанных с ними вспомогательных операций (гидросбив, транспортирование и кантовка раската, резка и т.д.) →охлаждение проката → отделка проката → контроль, маркировка, упаковка и складирование металла.
Большое распространение получили типовые непрерывные двухниточные мелкосортные станы 250.
Рассматриваемый в качестве примера стан 250 состоит из 25 двухвалковых клетей: 9-клетевой черновой непрерывной группы и двух чистовых 8-клетевых непрерывных групп [13].
Прокатку ведут в черновой группе в две нитки, в чистовых (левой и правой) группах - в одну нитку. Каждая чистовая группа состоит из чередующихся четырех горизонтальных и четырех вертикальных клетей. Правая чистовая группа смещена вперед по ходу технологического потока. Черновая группа состоит из пяти предварительно напряженных клетей (ПНК) и четырех клетей обычной конструкции со станинами открытого типа. Подшипники валков в клетях обычной конструкции - качения, в ПНК - подшипники жидкостного трения (ПЖТ).
Рабочие валки каждой клети приводятся от отдельного электродвигателя через редуктор и шестеренную клеть. В промежутках между клетями черновой группы установлены кантующие валки.
|
Стан |
Рабочая клеть (тип*/диаметр валков, мм) |
Печь |
Размеры сечения заготовки, мм |
Скорость прокатки (макс.), м/с |
Общая мощность привода, тыс. кВт | ||||
|
черновая |
чистовая |
Кол-во |
Кол-во |
Производительность, т/ч | |||||
|
Линейные: |
330 |
3/450-550 |
2/320-330 |
7-10 |
1-2 |
18, 0-35, 0 |
170 x 170 |
3, 9-5, 8 |
1, 8-3, 5 |
|
300 |
3/460-550 |
2/300-330 |
6-10 |
1-2 |
10, 0-27, 0 |
125 x 125 |
4, 4-6, 2 |
2, 3-4, 6 | |
|
280 |
3/450-530 |
2/280-300 |
8-10 |
1-2 |
10, 0-40, 0 |
150 x 150 |
4, 7-7, 5 |
1, 6-3, 2 | |
|
250 |
3/410-520 |
3/240-300 |
7-10 |
1 |
19, 0-35, 0 |
150 x 150 |
5, 8-8, 2 |
1, 5-4, 2 | |
|
Последовательный 300 с шахматной группой |
2/400-450 |
2/300-330 |
1012 |
3-4 |
35, 0-45, 0 |
125 x 125 |
9, 5-11, 5 |
8, 5-9, 5 | |
|
Полунепрерывный 250 с чистовой линейной группой |
2/350-420 |
2/250-270 |
1113 |
1-2 |
45, 0-60, 0 |
120 x 120 |
8, 5-10, 5 |
4, 5-6, 7 | |
|
Непрерывные: |
250 |
2/330-380 |
2/240-280 |
1517 |
1-2 |
90, 0-140, 0 |
80 x 80; 100 x 100 |
15, 0-25, 0 |
7, 2-9, 1 |
|
300 |
2/385-460 |
2/300-320 |
1315 |
1 |
80, 0-100, 0 |
110 x 110 |
13, 0-18, 0 |
8, 4-9, 5 | |
|
350 |
2/400-430 |
2/350-375 |
1012 |
1 |
- |
120 x 120 |
12, 0-15, 0 |
8, 2-9, 7 | |
|
* 2 - двухвалковая; 3 - трехвалковая. | |||||||||
За черновой группой клетей установлены аварийные летучие ротационные ножницы кривошипного типа для обрезки переднего конца, порезки раската на длины, соответствующие длине холодильника, и аварийной резки.
Между группами стана раскаты перемещаются по желобам с рольгангами и по правой нитке двумя трайб-аппаратами.
Перевалка клетей черновой группы и горизонтальных клетей чистовых групп - клетями, вертикальных клетей - сменными кассетами. Валки охлаждаются водой под давлением 0, 15 МПа.
После прокатки в чистовой группе клетей технологический поток разделается на два потока:
1) производство проката в прутках - порезка раската на летучих ножницах на части не более длины холодильника, охлаждение и порезка на ножницах холодной резки;
2) производство проката в бунтах - смотка раската на моталках и последующее охлаждение бунтов на конвейере.
За чистовыми группами в потоке стана на каждой нитке установлены летучие двухбарабанные ножницы и установка термического упрочнения металла.
Порезанный прокат по рольгангу поступает на двухсторонний реечный холодильник (правого и левого исполнения). Отводящий рольганг холодильника длиной 125 м, скорость транспортировки 2, 6 м/с. Далее прокат по отводящему рольгангу подают к ножницам холодной резки, после резки прокат взвешивают, пакетируют и доставляют на склад готовой продукции.
Профили для армирования железобетонных конструкций проходят низкотемпературный отпуск в печи мощностью 80 тыс. т/г. При необходимости пакет с прокатом сортируют; прокат правят на установленных вне технологического потока двух правильных машинах и вырезают дефектные части металла на ножницах холодной резки.
При производстве круглого проката диаметром 10-23 мм в бунтах раскат из чистовой клети проходит по направляющим трубкам через охлаждающее устройство на моталки (по две на каждой нитке клетей чистовой группы).
Моталка снабжена механизмом подъема бунта и сталкивающим механизмом. Моталка может наматывать круглый, квадратный, шестигранный профиль площадью сечения 50-530 мм2. Скорость диска моталки - 6-20 м/с. Диаметр бунта: наружный - 1200 мм, внутренний - 880 мм. Бунты перемещают на транспортер при помощи сталкивателей.
Транспортер за моталками сдвоенного типа. Одновременно транспортируют два бунта со скоростью 0, 43 м/с. Далее бунты транспортируются по рольгангу к вязальным машинам и производят увязку бунтов. С транспортера бунты навешивают на крюковой конвейер при помощи двух бунтонавешивателей. Крюковой конвейер имеет общую длину цепи 450 м, 250 крюковых тележек, расстояние между крюками 1, 8 м. Скорость движения конвейера - от 0, 054 до 0, 180 м/с.
Съем бунтов с конвейера осуществляют при помощи двух бунтосъемных машин (бунт - за 6 с). Бунты собирают в пакеты на двух четырехстержневых пакетировочных машинах. Увязанные пакеты бунтов при помощи четырех электромостовых кранов доставляют на склад готовой продукции или грузят в железнодорожные вагоны.
2.3.1.2.2 Прокатка на проволочных станах
В мировой практике для производства катанки до 1960 г. применялись в основном трех- и четырехниточные станы американского и европейского типов.
В состав оборудования станов американского типа входили чистовые группы клетей с общим приводом и горизонтальным расположением валков. Прокатку в чистовых группах осуществляли в две-четыре нитки с натяжением и кантовкой раската между клетями. Эти станы были оборудованы петлевыми группами клетей. Достоинство станов американского типа - компактность и сравнительно невысокие капитальные затраты на строительство, небольшая масса устанавливаемого оборудования, недостаток - низкая точность проката, наличие поверхностных дефектов на катанке и низкая скорость прокатки.
В состав оборудования станов европейского типа входили однониточные, преимущественно четырехклетевые, чистовые группы с горизонтальным и вертикальным расположением валков, что позволило исключить кантовку раската в чистовых проходах. Индивидуальный привод чистовых клетей станов европейского типа обеспечил возможность регулировки частоты вращения валков в широких пределах и осуществления процесса прокатки с регулируемой петлей, что привело к повышению точности катанки. Максимальные скорости прокатки на станах европейского типа не превышали 40 м/с. Первый стан этого типа в нашей стране был введен в эксплуатацию на Магнитогорском металлургическом комбинате (ММК), а затем были пущены станы на Западно-Сибирском, Череповецком ("Северсталь"), Челябинском металлургических комбинатах.
Технологический процесс прокатки катанки диаметром 6-10 мм на типовом непрерывном проволочном стане 250 осуществляется следующим образом [13].
Заготовки сечением 80 х 80 мм, длиной 10, 5-11, 5 м, массой до 600 кг нагревают перед прокаткой в двух двухзонных печах с шагающим подом, торцевой посадкой и боковой выдачей (производительность - 90 т/ч).
Проволочный стан состоит из 37 клетей: 29 горизонтальных и восемь вертикальных, расположенных в четырех группах: в черновой - девять горизонтальных клетей, из них семь клетей 450 и две 380; в первой промежуточной группе - четыре горизонтальные клети 320; в двух вторых промежуточных группах - по четыре горизонтальных клети 320; в четырех чистовых - по две горизонтальных клети 320 и по две вертикальных клети 300. Прокатку в черновой и первой промежуточной группах ведут в четыре нитки, во второй промежуточной - в две и в чистовой - в одну нитку. Скорость прокатки в чистовой клети - 27 м/с.
За клетью N 9 черновой группы установлено четверо ножниц для резки концов и для аварийных резов. Перед клетями N 14 и N 18 во второй промежуточной и чистовой группах установлены разрывные ножницы рычажного типа.
После чистовых клетей катанка проходит установку ускоренного охлаждения, состоящую из охладительных секций. Длина участка охлаждения - 1300-1800 мм.
Катанку сматывают в бунты на восьми моталках Эденборна. Наружный диаметр бунта - 1400 мм, внутренний - 950 мм, высота - 500 мм. С моталок бунты сталкивателем подают на приемный стол и далее транспортером перемещают к муфельному транспортеру. При следовании от моталок к муфельному транспортеру бунты проходят четыре вязальные машины, размещенные попарно напротив, так что каждый бунт обвязывается в двух местах, время вязания бунта - 14 с. Муфельные транспортеры предназначены для охлаждения бунтов до температур, при которых бунт не деформируется в подвешенном состоянии.
С муфельного транспортера бунты (бунтонавешивателем) передают на крюковый конвейер, имеющий 298 крюков, скорость транспортировки - 0, 1 м/с. С крюкового конвейера бунты съемником передают на штырь пакетирующей машины. После полной загрузки одного штыря пакетирующая машина совершает поворот на 1/4 оборота, бунты с загруженного штыря убирают двумя электромостовыми кранами и транспортируют на склад.
Повышение требований к качеству готовой продукции метизного передела, увеличение скоростей волочения при переработке катанки обусловили ужесточение требований к ее качеству - точности геометрических параметров, характеристикам механических свойств, количеству окалины на ее поверхности и потребовало увеличение массы бунтов катанки. Это вызвало необходимость создания оборудования проволочного стана нового типа.
Реальное увеличение массы исходной заготовки возможно за счет увеличения площади поперечного сечения заготовки, так как увеличение ее длины сопряжено со значительным усложнением конструкций нагревательных печей проволочных станов и трудностью регулировки режима нагрева. В свою очередь, увеличение площади поперечного сечения исходных заготовок при достигнутых скоростях прокатки на проволочных многониточных станах (30-40 м/с) снижало скорость прокатки на входе в стан и, соответственно, увеличивало тепловые нагрузки на валки и потери тепла в первых клетях стана. Это обусловило необходимость увеличения скорости прокатки. Кроме того, увеличение массы бунтов, повышение требований к механическим свойствам и структуре металла и их равномерности по длине мотков вынудило отказаться от традиционного способа смотки катанки в моталках типа Гаррета и Эденборна. Повышение скорости прокатки на станах американского и европейского типов оказалось невозможным из-за необходимости кантовки раската в чистовых группах станов американского типа и больших вибраций в приводных линиях чистовых клетей станов европейского типа.
Это послужило причиной создания конструкций чистовых групп проволочных станов блочной конструкции, обладающих компактностью, отсутствием петлеобразования и необходимости кантовки раската [14]. Рабочие валки такого блока в виде дисков диаметром 150 мм изготавливают из карбида вольфрама и устанавливают на подшипниках жидкостного трения (см. рисунок 2.12).

1 - прокатные валки; 2 - шестеренные валки; 3 - трансмиссия; 4 - главный редуктор
Рисунок 2.12 - Схема привода чистового блока
Уменьшение диаметра валков повысило эффективность деформации и устойчивость раската при прокатке катанки малых диаметров. Калибровка "овал - круг", примененная в блоках, обеспечивала равномерность деформации и отсутствие переполнения калибров. Конструкция привода блока позволяла повысить скорость прокатки до 100 м/с и более, а точность катанки была повышена до± 0, 15-0, 20 мм [15].
Увеличение скорости прокатки и массы мотков, повышение требований к свойствам и структуре катанки обусловили существенное изменение и в технологии охлаждения катанки. Было разработано более двадцати способов контролируемого охлаждения катанки в линии проволочных станов ("Стелмор", "Шлеман", "Демаг", "Явата" и др.). Наибольшее распространение получили линии "Стелмор" благодаря простоте конструкции, широкой возможности воздействия на структуру и свойства катанки различных марок стали.
Двухстадийный процесс охлаждения катанки по способу Стелмор, применяемый на большинстве современных проволочных станов, включает охлаждение катанки водой после выхода из чистового блока (1-я стадия) и воздухом в витках, разложенных на транспортере (2-я стадия). Схема охлаждения катанки по способу "Стелмор" приведена на рисунке 2.13. Участок водяного охлаждения катанки оборудован водоохлаждающими секциями, установленными вдоль проводящей трассы общей длиной до 40 м на определенном расстоянии друг от друга с промежутками для выравнивания температуры по сечению катанки. Для исключения попадания воды на катанку на участке выравнивания температуры применяют отсекающие водяные и воздушные форсунки. После первой стадии охлаждения температура катанки на виткообразователе в зависимости от марки стали составляет 750 °C - 950 °C.

Рисунок 2.13 - Схема охлаждения катанки по способу "Стелмор"
Конечная часть участка водяного охлаждения оборудована трайбаппаратом, который направляет катанку в виткообразователь, работающий по принципу моталки Эденборна. С помощью виткообразователя витки катанки укладываются на движущийся транспортер. На современных станах со скоростью прокатки до 100-120 м/с обычно применяют роликовые транспортеры длиной 80-100 м. Конструкцией транспортера предусмотрена плавная регулировка скорости перемещения витков катанки в пределах 0, 1-1, 2 м/с. Воздушное охлаждение витков катанки осуществляется на транспортере витков. Воздух от вентиляторов подается на витки катанки через специальные отверстия.
В результате охлаждения по способу "Стелмор" получается мелкодисперсная структура, а количество сорбитообразного перлита в поперечном сечении катанки превышает 50 %. Количество окалины уменьшается до 2-5 кг/т. Средняя величина обезуглероженного слоя в сечении не превышает 2 %, катанка имеет структуру, среднюю между структурами, получаемыми при воздушном и свинцовом патентировании. Это в ряде случаев позволяет исключить операцию патентирования при дальнейшем переделе в сталепроволочном производстве, увеличить степень деформации и скорость волочения, а также сократить обрывность при волочении.
Примером современной технологии изготовления катанки является процесс производства катанки и мелкого сорта из углеродистых и легированных сталей диаметром 5-19 мм в бунтах массой до 2, 2 т, реализуемый на стане 150 [2], [15].
Исходные заготовки сечением 200 х 200 мм после выборочной зачистки и нагрева в четырехзонной печи с шагающим подом (масса садки металла - 160 т, производительность - 100 т/ч) подают по рольгангу к гидросбиву окалины с заготовки, который состоит из замкнутой металлической камеры и десяти водяных форсунок, установленных по контуру сечения заготовки.
Стан состоит из 23 двухвалковых клетей с приводом валков каждой клети от индивидуального электродвигателя, в том числе двух вертикальных клетей, и двух десятиклетевых блоков; клети объединены в технологические группы: обжимная группа - шесть клетей, черновая - пять клетей, первая промежуточная - шесть клетей, вторая промежуточная - шесть клетей, чистовая - два блока по десять двухвалковых клетей в каждом и приводом валков клетей блока от двух электродвигателей.
Обжимная однониточная группа клетей состоит из четырех двухвалковых клетей 630 с чередованием горизонтальной и вертикальной клети и двух горизонтальных двухвалковых клетей 450. Раскат между пятой и шестой клетями кантуется специальными кантующими валками малого диаметра. После обжимной группы передний конец раската отрезают на маятниковых ножницах. Далее раскат подогревают в роликовой печи, под которой представляет собой двухниточный рольганг с независимым приводом.
После нагрева раскат последовательно проходит непрерывную двухниточную черновую группу (пять горизонтальных клетей 450), ножницы для обрезки передних концов движущихся раскатов и аварийной порезки раската, первую промежуточную группу клетей (двухниточная непрерывная из шести горизонтальных клетей 380), ножницы и поступает во вторую промежуточную группу горизонтальных клетей 320.
Затем раскат прокатывается в десятиклетевых блоках чистовых клетей, после чего катанку подвергают регулируемому охлаждению в две стадии: многоступенчатому охлаждению водой с выравниванием температуры по сечению катанки в пропускных трубах, охлаждению вентиляторным воздухом. Водяное охлаждение катанки между блоками и образователями витков входит в двухстадийный процесс сорбитизации катанки (Стелмор), расход воды на одну нитку - 240 м3/ч. После образователей витков растянутые витки катанки проходят воздушное охлаждение на сетчатом транспортере. Поток воздуха создается десятью мощными вентиляторами и может регулироваться. Объемный расход воздуха - до 3, 5-10 м3/ч.
Затем витки катанки собираются в специальной шахте и формируются в бунт, размещаемый на специальном поддоне, взвешиваются, осаживаются прессом и увязываются специальными машинами, после чего бунты катанки поступают на склад готовой продукции.
Стан оснащен системами контроля работы и имеет высокую степень автоматизации на всех этапах технологии.
В таблице 2.10 представлены усредненные статистические данные о технико-экономических показателях производства мелкосортного проката и катанки.
|
Стан* |
Производительность тыс. т/г |
Коэффициент расхода металла |
Расход энергии, кВт ч/т |
Расход топлива, 103 кДж/т |
Расход воды, м3/т |
Расход валков, кг/т |
|
ЛМС 325 |
90-240 |
1, 05 |
45-60 |
1680-1890 |
25-33 |
0, 3-0, 4 |
|
ЛМС 300 |
45-270 |
1, 05 |
45-60 |
1680-1890 |
25-33 |
0, 3-0, 4 |
|
ЛМС 280 |
36-220 |
1, 05 |
45-60 |
1680-1890 |
25-33 |
0, 3-0, 4 |
|
ЛМС 250 |
100-165 |
1, 05 |
45-60 |
1680-1890 |
25-33 |
0, 3-0, 4 |
|
МШС 300 |
600-730 |
1, 04 |
45-60 |
1680-1890 |
25-33 |
0, 3-0, 4 |
|
ПНМС 250 |
240-390 |
1, 05 |
50-60 |
1680-1890 |
25-33 |
0, 3-0, 4 |
|
НМС 250 |
500-900 |
1, 035 |
50-60 |
1680-1890 |
25-33 |
0, 3-0, 4 |
|
НМС 300 |
320-430 |
1, 045 |
50-60 |
1680-1890 |
25-33 |
0, 3-0, 4 |
|
НМС 350 |
470-520 |
1, 035 |
50-60 |
1680-1890 |
25-33 |
0, 3-0, 4 |
|
ЛПС 250 |
52-260 |
1, 04 |
65-110 |
1680-1890 |
33-44 |
0, 35-0, 5 |
|
ПНПС 260 |
380-520 |
1, 04 |
90-110 |
1680-1890 |
33-44 |
0, 35-0, 5 |
|
НПС 250 |
300-900 |
1, 035 |
65-75 |
1680-1890 |
33-44 |
0, 35-0, 50 |
|
* Стан: ЛМС - линейный мелкосортный; МШС - мелкосортный с шахматным расположением клетей; НМС - непрерывный мелкосортный; ЛПС - линейный проволочный; ПНПС - полунепрерывный проволочный; НПС - непрерывный проволочный | ||||||
Одновременно с потреблением ресурсов каждая операция технологического процесса сопровождается рядом воздействий на окружающую среду и производственный персонал.
Последовательность технологических операций с требуемыми ресурсами и вредными воздействиями отражена в таблице 2.11.
|
Операция, цикл операций (оборудование) |
Требуемые ресурсы |
Вредные воздействия |
|
Подготовка заготовки (абразивно-шлифовальные станки, огневая зачистка) |
Электроэнергия, вода, абразивный инструмент, чистый кислород |
Абразивная пыль, скрап, тепловое воздействие, излучение, шум, сточные воды |
|
Транспортировка проката (транспортные рольганги) |
Электроэнергия, технологическая оснастка |
Тепловое, излучение, выбросы пыли, сточные воды, скрап |
|
Нагрев заготовки (методические, индукционные и другие печи) |
Топливо (смесь газов или мазут), электроэнергия, вода, огнеупоры |
Тепловое излучение, выбросы пыли и газа, окалина, сточные воды |
|
Удаление окалины (устройства гидросбива) |
Электроэнергия, вода, сжатый воздух |
Сточные воды, окалина |
|
Прокатка (прокатный стан) |
Электроэнергия, вода, рабочий инструмент, комплектующие, вспомогательные материалы |
Тепловое, излучение, выбросы пыли, сточные воды, окалина, скрап, шум, вибрации |
|
Резка металла (ножницы, ручные газовые горелки) |
Электроэнергия, сменный инструмент, кислород, ацетилен |
Тепловое, излучение, выбросы газа и пыли, окалина, скрап |
|
Охлаждение проката в прутках (холодильник, ванна с водой) |
Электроэнергия, вода |
Тепловое, выбросы пыли, сточные воды, окалина |
|
Охлаждение проката в бунтах (трубы-охладители, транспортер) |
Электроэнергия, вода, сжатый воздух |
Тепловое, выбросы пыли, сточные воды, окалина |
|
Увязка бунтов (бунтовязальные машины) |
Электроэнергия, вспомогательные материалы |
Тепловое, излучение, окалина |
|
Отделка проката в прутках (устройства для резки, правки, механической и термической обработки, ванны с водой) |
Электроэнергия, вода, печное топливо, сменный инструмент и оснастка, вспомогательные материалы |
Тепловое, излучение, выбросы пыли, сточные воды, окалина, скрап, шум, вибрации |
2.3.1.3 Технологическая схема изготовления проволоки
Проволоку из сталей и сплавов классифицируют по следующим параметрам:
- по форме поперечного сечения: круглая, фасонного профиля, квадратная, прямоугольная, трапециевидная, трехгранная, шестигранная, клиновидная и др.;
- по размерам - различают группы от 1 до 9: группа 1 - проволока диаметром менее 0, 1 мм, группа 9 - проволока диаметром свыше 8, 0 мм;
- по химическому составу стали: из низкоуглеродистой стали (С < 0, 25 %); углеродистой стали (С > 0, 025 %); легированной и высоколегированной стали; из сплавов с особыми свойствами (коррозионно-стойких, жаростойких, жаропрочных).
В зависимости от конечной обработки, обеспечивающей заданный комплекс механических свойств, изготавливают термически обработанную (отожженную, отпущенную, закаленную и отпущенную, нормализованную, патентированную, отпущенную под напряжением - стабилизированную) и термически необработанную (холоднотянутую, холоднокатаную, калиброванную) проволоку.
Проволоку изготавливают: без дополнительной отделки поверхности; тянутую (после предварительной шлифовки, обточки на промежуточном размере); со специальной отделкой (полированную, шлифованную, травленую); с покрытием.
Покрытая проволока выпускается:
- с металлическим покрытием (оцинкованная, луженая, омедненная, латунированная, алюминированная и с другими покрытиями);
- с неметаллическим покрытием (с полимерным покрытием, фосфатированная и с другими покрытиями);
- светлая (термически обработанная в защитной атмосфере); оксидированная (окисленная, термически обработанная цветами побежалости) и черная (термически обработанная, покрытая окалиной);
- по назначению стальная проволока классифицируется на кардную, бердную, полиграфическую, колючую, пружинную, спицевую, струнную, сварочную и т.д.
Принципиальная технологическая схема изготовления проволоки представлена на рисунке 2.14 [16].
Исходной заготовкой для производства проволоки является горячекатаный прокат - катанка и мелкий сорт диаметром 5, 0-19, 0 мм, преимущественно термически обработанная с прокатного нагрева, что связано с возможностью значительного ресурсосбережения за счет сокращения количества переделов при волочении проволоки.

Рисунок 2.14 - Принципиальная технологическая схема изготовления проволоки
2.3.1.4 Подготовка катанки к волочению
Подготовка поверхности катанки и проволоки-заготовки к волочению включает операции удаления окалины и оксидных пленок с поверхности металла и нанесение подсмазочного слоя. От эффективности выполнения этих операций зависит качество поверхности готовых изделий, уменьшение, а следовательно, снижение усилия волочения, уменьшение расхода волочильного инструмента и электроэнергии, увеличение производительности волочильных станов.
2.3.1.4.1 Очистка поверхности катанки (проволоки) от окалины [3]
Для удаления окалины с поверхности горячекатаной стальной проволоки, а также проволоки после термической обработки применяются следующие способы:
- химический (травление в различных кислотах);
- механический;
- комбинированные (электрохимический, химико-механический, термический, ультразвуковой и др.).
Выбор способа очистки поверхности металла от окалины зависит от химического состава металла, условий волочения, экономических соображений. Наиболее распространенный способ - химическое травление.
Травление в растворах серной кислоты широко применяется для стальной проволоки, способ экономичный, но требует сравнительно больших затрат времени. Травление в соляной и азотной кислотах позволяет значительно ускорить процесс травления, но обходится значительно дороже из-за высокой стоимости кислот. Травление в ортофосфорной кислоте позволяет получить высокую коррозионную стойкость поверхности проволоки, но из-за высокой стоимости кислоты (в 10 раз дороже серной) применяется сравнительно редко.
При выборе травильного раствора регламентируются: концентрация кислот и дополнительных компонентов, концентрация продуктов травления, температура раствора. Так как указанные параметры в процессе травления непрерывно изменяются, то оговариваются их оптимальные границы (максимум и минимум).
Скорость травления в серной кислоте максимальная при ее концентрации 25 %. На практике кислоту высокой концентрации не применяют, чтобы избежать сильного разъедания металла и насыщения его водородом, приводящего к возникновению травильной хрупкости. Также необходимо избегать утилизации растворов с высокой концентрацией кислоты. При травлении растет содержание солей железа и при концентрации 150 г./л FeSO4 скорость травления резко снижается. Поэтому рабочими концентрациями считаются 6-10 % серной кислоты, выработка раствора ведется до концентрации 20 г./л. Чтобы избежать травильной хрупкости при травлении, в травильную ванну вводят ингибиторы травления, приведенные ниже.
Присадки или ингибиторы (вещества тормозящие растворение металла в кислоте) применяются для предотвращения перетрава металла и уменьшения травильной хрупкости. Добавление небольшого количества присадок в травильный раствор значительно уменьшает испарение раствора, снижает потери металла. Хорошими ингибирующими свойствами обладает поваренная соль, которая вводится в травильный раствор в количестве 2 %- 3 % от массы раствора.
В ванну травления также добавляется пенообразователь для предотвращения испарения кислоты в воздух травильного отделения.
Травление производится в "садочных" ваннах. Перед опусканием катанки в ванну бунты освобождают от обвязки, с тем чтобы был свободный доступ кислоты к виткам катанки. Время выдержки зависит от концентрации кислоты и наличия толщины (кг/т) слоя окалины на катанке. После травильной ванны катанку промывают водой в "садочных" ваннах путем окунания бунтов в ванну. Промывка катанки производится для удаления с поверхности металла остатков кислоты, окалины, а также сернокислой соли и грязи. Используют две ванны: первая - в горячей воде, вторая - в холодной воде.
Одной из тенденций современного производства проволоки является переход от химического травления в растворе кислоты к перспективной и существенно более безопасной для окружающей среды бескислотной технологии механической очистки. Использование современного оборудования для механического удаления окалины позволяет добиться степени очистки, сравнимой с получаемой при кислотном травлении. При этом удается избежать значительных проблем, связанных с утилизацией отработанных растворов. Например, эффективно использование схемы: механический окалиноломатель → узел очистки щетками → узел очистки паром → ванна бурирования.
Способы удаления окалины с поверхности металла при помощи различных механических устройств (см. таблицу 2.12) в настоящее время применяют в основном как предшествующие травлению, поскольку они полностью окалину с поверхности металла не удаляют. Даже небольшое остаточное количество окалины на поверхности металла (порядка 0, 5-1, 5 кг/т) нарушает и затрудняет процесс волочения.
Наиболее распространенный метод механической очистки от окалины катанки и проволоки - знакопеременный изгиб вокруг роликов окалиноломателей (применяют конструкции, имеющие от двух до десяти роликов, расположенных в одной или в двух взаимно перпендикулярных плоскостях). Такой способ в настоящий момент обязательно дополняют лентошлифовальным узлом, где вращающаяся на высокой скорости шлифовальная лента эффективно удаляет с поверхности, как остатки окалины, так и часть металла.
Прочие способы удаления окалины с поверхности катанки и проволоки, приведенные ниже, не получили широкого распространения, так как они требуют применения специального оборудования и не всегда достаточно эффективны.
Газовое травление основано на принципе взаимодействия оксидов металла с хлористоводородным газом при высокой температуре. Температура при газовом травлении совпадает с температурой отжига низкоуглеродистой стали, что позволяет совместить эти две операции.
Электролитическое травление (анодное) основано на электролитическом растворении металла и механическом отрыве оксидов, выделяющимся кислородом.
Электролитическое травление (катодное) основано на восстановлении и механическом отрыве оксидов выделяющимся водородом, исключает опасность перетрава металла, но не исключает травильную хрупкость.
|
Способ удаления окалины |
Особенности применения |
|
Знакопеременный изгиб проволоки вокруг роликов окалиноломателей |
Простота конструкции, неполное удаление окалины, применяется как предварительная обработка перед травлением |
|
Стальные вращающиеся щетки |
Простота конструкции, неполное удаление окалины, быстрый износ щеток, применяется как предварительная обработка перед травлением |
|
Встряхивание бунтов |
Наличие специального оборудования, применяется как предварительная обработка перед травлением |
|
Дробеструйная или пескоструйная обработка (скорость подачи дроби - 80-100 м/с) |
Удовлетворительное качество поверхности, наличие специального оборудования, большой расход дроби, применяется только для прутков |
|
Наложение ультразвуковых колебаний при химическом травлении |
Ускорение процесса травления, наличие специальных ультразвуковых генераторов |
|
Комбинированные методы: а) окалиноломатель - стальные щетки; б) окалиноломатель - иглофрезы; в) окалиноломатель - кручение металла |
Достаточно качественная очистка поверхности металла, при использовании специальных смазок может применяться без травления |
2.3.1.4.2 Нанесение подсмазочного покрытия
После травления на обрабатываемый металл наносят подсмазочное покрытие, которое способствуют лучшему вовлечению технологической смазки в зону деформации. Способы нанесения покрытия следующие:
- омеднение - нанесение тонкого слоя меди на поверхность металла, подвергающегося волочению с большими суммарными обжатиями;
- фосфатирование - химическая обработка поверхности заготовки в растворах фосфорнокислых солей марганца, железа или цинка, например, для получения высокопрочной проволоки при больших скоростях волочения;
- оксалатирование - нанесение на поверхность металла слоя солей щавелевой кислоты, при которой на его поверхности происходит отложение оксалата железа, являющегося хорошим подсмазочным слоем для волочения высоколегированных сталей, за исключением сталей с высоким содержанием никеля и хрома;
- обработка в растворе жидкого стекла производится после процессов меднения или фосфатирования, повышает интенсивность процесса волочения и улучшает санитарно-гигиенические условия труда на участке волочения;
- известкование - нанесение на поверхность проволоки тонкого слоя извести, который является наполнителем смазки и улучшает процесс волочения, а также нейтрализует остатки кислоты на поверхности проволоки. Вместе с тем известь одновременно ухудшает санитарно-гигиенические условия труда;
- бурирование - нанесение пленки буры на поверхность проволоки взамен известкования. Бурирование улучшает процесс волочения и санитарные условия труда, а также предохраняет поверхность проволоки от окисления.
Для нейтрализации кислот растворов, которые могут остаться на поверхности металла при недостаточно тщательной промывке бунтов после травления, бунты проволоки погружают на 20-30 мин в 1 %-ный раствор мыла с температурой 70 °C - 80 °C (в основном для проволоки малых диаметров).
2.3.1.4.3 Сушка проволоки
Завершающей операцией процесса подготовки поверхности проволоки к волочению является сушка проволоки, которая не только удаляет остатки влаги, но и устраняет возможность появления травильной хрупкости.
Наиболее благоприятные условия для сушки бунтов проволоки или катанки создаются при температуре 300 °C - 350 °C и усиленной циркуляции подогретого воздуха. Продолжительность сушки до полного удаления влаги не только с поверхности бунта, но и внутри него составляет 5-20 мин.
2.3.1.5 Волочение
2.3.1.5.1 Подготовка переднего конца заготовки к волочению [3]
Для задачи заготовки в волоку необходимо заострить ее передний конец. Для проволоки диаметром 0, 7-20 мм применяют механизированные валковые острильные машины. Валки острильной машины вращаются навстречу друг другу. Конец проволоки подается в валки навстречу их вращению, когда калибр имеет максимальное сечение. Подавая поочередно конец проволоки из одного калибра в другой с поворотом на 90°, получают необходимое сечение заостряемого конца.
Для проволоки крупных диаметров применяют также ротационно-ковочные машины; для диаметров 0, 5-0, 7 мм - метод ручного острения. Для более тонких размеров применяют метод электролитического острения, который заключается в осуществлении обычного процесса электролиза, где в качестве электролита используют 5 % - 6 %-ный водный раствор NaNO3. Катодом является свинец, анодом - сама проволока. Напряжение постоянного тока составляет 12 В. Проволока диаметром 7, 0-0, 7 мм после заострения затягивается в волоку на специальных затяжных устройствах, которые сочетают с острильными машинами.
На многократных машинах без скольжения заправку проволоки производят клещами непосредственно на барабане волочильного блока. На машинах со скольжением из-за малых размеров ступеней тяговых шайб практически невозможно производить заправку проволоки на самом стане, в связи с чем задачу проволоки в волоки производят вне машин с помощью затяжных устройств.
2.3.1.5.2 Волочение стальной проволоки
Процесс волочения осуществляют в однократном и многократном режимах. Однократное волочение - это когда заготовка протягивается только через одну волоку, полностью наматывается на волочильный барабан и передается на катушку или снимается в виде мотка. Многократное волочение - проволока протягивается одновременно через несколько волок, барабанов и волок.
Волочение стальной проволоки проводят, как правило, в холодном состоянии. В редких случаях (при волочении проволоки из легированных сталей) используют теплое волочение (температура индукционного нагрева до 800 °C).
В зависимости от типа применяемой технологической смазки различают "мокрое" и "сухое" волочение.
По агрегатному состоянию технологические волочильные смазки подразделяются на следующие группы: твердые, порошкообразные, жидкие, полужидкие (пастообразные).
Твердые смазки - различные покрытия, наносимые на поверхность заготовки, которые затем затвердевают, образуя тончайшие смазочные пленки высокой прочности, применяются в сочетании с порошкообразными или жидкими смазками.
Порошкообразные смазки - в основном высококачественное мыло в виде мыльного порошка или стружки с высоким содержанием жиров - применяются в чистом виде либо с незначительным добавлением различных составляющих (графит, сера, дисульфид молибдена и др.).
Жидкие смазки (водные растворы и эмульсии) применяются для многократного волочения со скольжением тонкой проволоки из низкоуглеродистых, углеродистых и легированных сталей. Кроме общих требований, жидкие смазки должны обеспечивать эффективное охлаждение волочильного инструмента.
Водные (маслообразные) растворы состоят в основном из минеральных масел с небольшими добавками (5 % - 10 %) растительного масла.
Жидкие эмульсии представляют собой водную среду, в которой в виде мелких (дисперсных) капелек находится минеральное или растительное масло, а иногда комбинация различных масел. Плотность жидких минеральных масел ниже, чем у воды (0, 86-0, 95) и в процессе эксплуатации они расслаиваются и всплывают. Для повышения стойкости эмульсий в них добавляют специальные вещества-эмульгаторы (мыло, соду, поташ, олеиновую кислоту и др.), которые способствуют частичному растворению масел в воде и препятствуют расслоению эмульсий.
Полужидкие (пастообразные) смазки состоят из синтетических материалов с небольшими добавками животных жиров. Применяются для однократного и многократного волочения без скольжения.
Для волочения углеродистой и легированной проволоки на 100 л эмульсии используют: олон технический - 1000-1200 г; стружку мыльную - 200 г; кислоту олеиновую - 400 г; стружку мыльную - 400 г, масло вазелиновое - 400 г; соду кальцинированную - 100 г.
При волочении низкоуглеродистой и углеродистой проволоки используют эмульсию в составе (на 100 л): кислота олеиновая - 580 г; масло минеральное веретенное - 920 г; сода кальцинированная - 170 г.
В некоторых случаях для достижения большей эффективности волочения используют различные разновидности процесса: волочение с противонатяжением, вибрационное волочение (волочение с наложением вибраций частотой 200-500 Гц), волочение в роликовых волоках и др.
Волочильные машины барабанного типа. Машины многократного волочения подразделяются на две группы: машины, работающие без скольжения проволоки на тяговых барабанах, и машины, работающие со скольжением [17].
К группе машин многократного волочения без скольжения относятся машины магазинного типа с накоплением проволоки на промежуточных барабанах (см. рисунок 2.15, а-в) и машины непрерывного типа без накопления проволоки на промежуточных барабанах (см. рисунок 2.15, г, д). Машины магазинного типа, кроме функции тянущего оборудования, обеспечивают выполнение объема работ, связанных со съемом проволоки с барабана, и передачу ее к волоке следующего барабана.

Рисунок 2.15 - Принципиальные схемы работы многократных волочильных машин без скольжения
Машины без скольжения непрерывного типа подразделяются на машины с регулируемым числом оборотов барабанов - петлевого (см. рисунок 2.15, г) и прямоточного (см. рисунок 2.15, д) типов. Машины непрерывно-петлевого типа (см. рисунок 2.15, г) работают по принципу противонатяжения и характеризуются тем, что скорости тяговых барабанов в процессе волочения автоматически бесступенчато регулируются электродвигателями постоянного тока при использовании в электрической схеме реостатов или сельсинов, механически связанных с натяжными роликами. В процессе волочения в связи с неизбежным износом волок несоответствие скоростей двух соседних тяговых барабанов влечет за собой либо натяжение проволоки, либо ее ослабление с образованием петли. Широкие пределы автоматического регулирования скоростей барабанов позволяют работать с диапазоном вытяжек 1, 26-1, 73, а противонатяжение повышает стойкость волок.
В отличие от непрерывных машин петлевого типа в машинах без скольжения непрерывно-прямоточного типа предусматривается прямоточный переход проволоки с одного тягового барабана на другой без петлеобразующих и направляющих роликов (см. рисунок 2.15, д). Такое направление проволоки исключает возможность ее скручивания при переходе с одного барабана на другой. Противонатяжение создается двигателями постоянного тока, что позволяет применять значительные противонатяжения (до 30 % усилия волочения).
Машины со скольжением (см. рисунок 2.16) подразделяют на: машины с постоянным диаметром тянущих барабанов, но с разным числом их оборотов и машины с разным диаметром тянущих барабанов при одинаковом числе их оборотов. Особенностью процесса волочения на машинах этого типа является наличие проскальзывания проволоки относительно барабана, реализуемого за счет того, что скорость тянущего барабана несколько больше скорости проволоки. Этот процесс используют при мокром волочении стальной проволоки мелких сечений.
Ключевым требованием к новому волочильному оборудованию является гибкость, т.е. возможность быстрого перехода с одного размера проволоки на другой.
Этому требованию наилучшим образом отвечает модульная конструкция волочильной машины, представляющая собой серию стандартных блоков, которые можно соединять в нужном количестве последовательно в зависимости от размера заготовки и готовой проволоки.

1 - фигурка с проволокой; 2-8 - волоки; 9, 10 - ступенчатые барабаны; 11 - приемный барабан
Рисунок 2.16 - Схема процесса многократного волочения со скольжением проволоки:
В настоящее время все машины сухого волочения выпускают в виде модулей, состоящих из барабана с индивидуальным приводом, т.е. однократные. Таким образом, многократная линия волочения состоит из ряда взаимосвязанных модульных барабанных блоков, установленных друг за другом и скорость вращения которых синхронизируется с помощью электронных систем управления. Наилучшей конфигурацией признаны модульные машины с горизонтальным расположением барабанов. Модульные линии волочения проволоки прямоточного типа отличаются от линий непрерывно-петлевого типа системой управления скоростью вращения барабанов, кроме того, они имеют некоторые технологические особенности [18].
Традиционный процесс волочения на многократном стане без скольжения осуществляется в следующей последовательности.
1) Пакет бунтов катанки, прошедшей предварительную подготовку поверхности навешивается на траверсу поворотного загрузочного устройства, удаляется обвязка крайнего бунта и освобождается передний конец бунта, который подвергается острению.
2) Выполняется последовательная заправка проволоки в блоки волочильной машины и крепление на катушке намоточного аппарата.
3) Производится волочение бунта проволоки, при этом задний конец бунта не протягивается.
4) Производится удаление обвязки следующего бунта катанки, освобождается его передний конец, выполняется стыковая сварка бунтов и зачистка грата в месте стыка.
5) На пониженной скорости участок стыка протягивается через все волоки, вытягивается на намоточный аппарат, после чего машина останавливается.
6) Участок сварки концов бунтов вырезается, катушка с протянутой проволокой извлекается из намоточного аппарата и отправляется для проведения дальнейших операций в цикле изготовления проволоки (например, патентирование и последующее волочение на готовый размер проволоки).
7) В намоточный аппарат устанавливается новая катушка, передний конец нового бунта катанки закрепляется в катушке и производится волочение следующего бунта катанки.
При обрывах проволоки, замене рабочего инструмента (волок), например, в случае его износа, описанные операции заправки волочильной машины повторяются. Необходимо отметить, что различные конструкции волочильных машин имеют свою специфику заправки заготовки.
Ряд волочильных машин работает по принципу накопления бунта проволоки на волочильном барабане, что снижает производительность процесса и размер получаемого бунта, но бывает рационально при работе с проволокой малых размеров или при большой дробности операций волочения, когда протягиваемый металл быстро упрочняется после одного или двух проходов деформации, после чего его необходимо подвергнуть термической обработке. Это удобно при изготовлении малотоннажных партий проволоки из легированных или специальных сталей.
Кроме того, имеются и другие способы размотки бунта, например, когда бунт катанки (проволоки) размещается на вращающемся разматывателе (фигурке) или размещается на полу цеха в специальной шахте, а размотка бунта проволоки осуществляется вертикально через систему роликов.
Прямоточные волочильные машины (станы). На волочильных станах с прямолинейным выходом металла получают изделия длиной, обычно не превышающей 12-16 м (прутки и трубы). Тележка стана с устройством для захвата прутка перемещается по направляющим под действием привода в виде каната, зубчатой рейки, гидравлического цилиндра или цепи.
Непрерывные калибровочные станы. Все известные непрерывные станы для производства прутков и труб подразделяют на две группы, по способу захвата изделия. Первая - станы тракового типа, в которых захват изделия производится элементами двух цепей с нереверсивным приводом, вторая - станы кареточного типа, в которых изделие захватывается клиновыми плашками, установленными в корпусе каретки [3].
2.3.1.5.3 Сварка концов проволоки
Контактную стыковую электросварку проволоки используют: для сварки заготовки с целью создания непрерывного технологического процесса (волочения, термической обработки и др.); сварки концов проволоки при возникающих в процессе волочения обрывах; сварки маломерных мотков проволоки.
Процесс сварки проволоки включает следующие технологические операции.
1) Подготовка стыков проволоки к сварке (зачистка стыка для получения сечения проволоки перпендикулярного ее оси).
2) Установка свариваемых концов проволоки в зажимы сварочной машины и их центровка между собой.
3) Термическая обработка сварочного шва (производится сварочной машине, но при другом токовом режиме).
4) Сварка концов проволоки на выбранном режиме (с учетом силы тока сварки, установочной длины, припуска на осадку, усилия сварки, длительности сварки).
5) Зачистки грата, который образуется в зоне сварки.
2.3.1.6 Термическая обработка стальной проволоки
Термическая обработка проволоки предназначена:
а) для снятия упрочнения (наклепа), возникающего в процессе волочения, и возможности ее дальнейшего волочения - термическая обработка передельной проволоки;
б) для получения определенных механических свойств готовой проволоки, (например, патентирование) - термическая обработка передельной проволоки (последний передел, идущий на готовый размер);
в) для получения определенных механических свойств, а также качества поверхности проволоки в соответствии с нормативными требованиями на конкретный вид проволоки - термическая обработка готовой проволоки.
Способы проведения термической обработки:
а) светлая (безокислительная) термическая обработка в защитной атмосфере или в вакууме;
б) темная (окислительная) термическая обработка в атмосфере воздуха или другой окислительной среде;
в) непрерывная термическая обработка на проходных или конвейерных печах, при которой проволока в виде развернутой нити, спирали или бунтов непрерывно движется внутри термической печи, а затем с такой же скоростью в среде охлаждения;
г) периодическая термическая обработка в специальных нагревательных печах, где проволока в бунтах в неподвижном состоянии нагревается с определенной скоростью и до определенной температуры, а затем охлаждается либо вместе с печью, либо вне ее.
При термической обработке в виде отжига на зернистый перлит высокоуглеродистой проволоки в мотках используют защитную атмосферу химического состава 90 % N2 + 10 % Н2, а при высокотемпературном нагреве проволоки малого сечения из нержавеющих сталей аустенитного класса - состава 97 % Na2 + 3 % Н2.
Виды и режимы термической обработки проволоки из высоколегированных сталей и сплавов приведены в таблице 2.13.
После волочения проволоки на заданный размер, когда металл исчерпал свои пластические свойства, его подвергают термообработке - патентированию.
Патентирование в цехе производится на протяжных агрегатах, которые в своем составе имеют:
а) печь для нагрева;
б) селитровую ванну;
в) промывочную ванну (2 шт.);
г) травильную ванну;
д) ванну с бурой;
е) сушильное устройство;
ж) намоточное устройство (16 или 24 катушки).
|
Наименование термообработки |
Назначение термообработки |
Режим |
|
Термообработка, предшествующая волочению, и промежуточная термообработка
| ||
|
Отжиг полный |
Получение мягкого пластичного металла |
Нагрев на 20 °C - 30 °C выше точки A3, выдержка и медленное охлаждение вместе с печью до температуры 480 °C - 500 °C, охлаждение на воздухе (со скоростью 50 °C/ч - 150 °C/ч), охлаждение на воздухе |
|
Отжиг неполный |
То же |
Нагрев выше точки A1, но ниже A3, выдержка и медленное охлаждение |
|
Отжиг низкий |
То же |
Нагрев на 20 °C - 30 °C ниже точки A1, выдержка и медленное охлаждение |
|
Отжиг на зернистый перлит |
Получение мягкого высоко-пластичного металла со структурой зернистого перлита |
Нагрев до температуры выше A3 на 20 °C - 50 °C, выдержка около 2 ч, охлаждение до температуры ниже критической на 20 °C - 50 °C, выдержка 2-3 ч и медленное охлаждение |
|
Рекристаллизационный отжиг |
То же |
Нагрев до 580 °C - 650 °C с выдержкой при этой температуре 5-6 ч, медленное охлаждение |
|
Нормализация |
Повышение пластичности металла |
Нагрев как при патентировании или полном отжиге, охлаждение на воздухе |
|
Патентирование |
Получение высокопластичной проволоки |
Нагрев выше точки A3, небольшая выдержка в печи, охлаждение в расплаве солей или свинца при температуре 420 °C - 550 °C, а затем охлаждение на воздухе |
|
Термообработка завершающая, для готовой проволоки
| ||
|
Отжиг |
Уменьшение внутренних напряжений и твердости |
См. режим отжига, предшествующий волочению |
|
Закалка (операция, предшествующая отпуску) |
Повышение твердости, прочности, упругости |
Нагрев до температуры на 20 °C - 30 °C выше точки A3, выдержка и очень быстрое охлаждение в масле, воде или другой жидкой среде |
|
Низкотемпературный отпуск |
Снятие внутренних напряжений, повышение предела текучести |
Нагрев до температуры 150 °C - 300 °C, выдержка и охлаждение с любой скоростью |
|
Среднетемпературный отпуск |
Получение достаточной пластичности при высокой твердости |
Нагрев до температуры 300 °C - 400 °C, выдержка и постепенное охлаждение |
|
Высокотемпературный отпуск |
Получение высокопластичного металла со структурой сорбита |
Нагрев до температуры 500 °C - 680 °C, выдержка и постепенное охлаждение |
Патентирование заключается в нагреве проволоки до температуры 950 °C - 980 °C и охлаждении ее в селитровой ванне при температуре 450 °C - 550 °C (температура определяется химическим составом стали). При выходе из селитровой ванны проволока подвергается промывке в горячей воде, где удаляются остатки соли.
Травление для удаления окалины, образовавшейся в процессе нагрева проволоки в печи, осуществляется в протяжной ванне в растворе серной кислоты.
Промывка проволоки после травления производится в протяжной ванне в проточной воде, в процессе промывки удаляются кислотные загрязнения.
Обработка проволоки в растворе буры, которая наносится на поверхность как подсмазочный слой, для улучшения условий волочения, повышения стойкости волок. Концентрация буры в ванне - 50-70 г/л, температура ванны - 80 °C.
После бурирования для удаления влаги производится сушка проволоки, так как наличие влаги на проволоке затрудняет волочение.
Намотка проволоки на катушки. Намотка заготовки на катушки является заключительной операцией. Заготовка на катушках транспортируется на волочильные станы для дальнейшего волочения на меньшие размеры проволоки.
2.3.1.7 Финишная обработка готовой проволоки
2.3.1.7.1 Обработка поверхности готовой проволоки [17]
Выбор того или иного вида обработки устанавливает нормативно-техническая документация на конкретный вид проволоки. Для обработки поверхности проволоки применяются следующие методы:
- абразивный метод - шлифовка или полировка поверхности проволоки на специальных станках при помощи абразивных паст и порошков, позволяет получить высокую чистоту поверхности. Метод применяется для сортов проволоки, требующих особой чистоты поверхности, например, сварочная, пружинная и др.;
- абразивной шлифовкой хорошо обрабатывается проволока, имеющая твердую поверхность, например, стальная углеродистая проволока после закалки;
- метод электрохимической полировки позволяет получить очень высокую чистоту поверхности и применяется для проволоки из легированных сталей;
- метод скальпирования поверхности проволоки с помощью специального резца, изготовленного из инструментальной стали со вставкой из твердого сплава. Метод позволяет срезать с поверхности проволоки поврежденный или обезуглероженный слой металла толщиной 0, 1-0, 15 мм.
2.3.1.7.2 Нанесение металлических покрытий на поверхность готовой проволоки
Нанесение защитного металлического покрытия производят как на готовую проволоку, так и перед ее волочением до готового размера [3].
Характеристика различных видов металлических покрытий проволоки приведена в таблице 2.14.
|
Назначение покрытий |
Основной металл |
Вид покрытия |
Способ покрытия |
Область применения |
|
Антикоррозионные |
Низкоуглеродистая и углеродистая сталь |
Цинкование, лужение |
Горячий, гальванический |
Проволока, работающая в агрессивной среде |
|
Технологические |
Низкоуглеродистая и углеродистая сталь |
Латунирование |
Гальванический |
Проволока для армирования резино-технических изделий |
|
Низкоуглеродистая и углеродистая сталь |
Лужение |
Горячий, гальванический |
Проволока, требующая при эксплуатации пайки | |
|
Низкоуглеродистая сталь |
Алюминирование |
Гальванический |
Проволока для электротехнических целей | |
|
Легированная сталь |
Меднение |
Гальванический |
Проволока для сварки в среде углекислого газа |
Цинкование - основной вид защитного антикоррозионного покрытия проволоки. В производстве применяются два способа нанесения цинка на поверхность проволоки: горячий и гальванический.
Горячее цинкование производится в поточном агрегате по следующей схеме:
а) обезжиривание проволоки в растворе едкого натрия технического;
б) промывка в горячей воде;
в) травление в растворе соляной кислоты;
г) промывка в воде;
д) флюсование для улучшения сцепления цинка с металлом;
е) цинкование в расплаве цинка марки Ц-0, Ц-1 при температуре 420 °C - 460 °C;
ж) охлаждение проволоки водой;
з) намотка готовой проволоки на катушку.
Лужение - покрытие проволоки оловом. Является одновременно коррозионно-защитным и технологическим покрытием. Применяется для проволоки, подлежащей пайке. Применяют два способа лужения: горячий и гальванический, которые технологически во многом аналогичны оцинкованию, однако температура при горячем лужении значительно ниже (270 °C - 280 °C), чем при горячем оцинковании (440 °C - 470 °C).
Меднение - технологическое покрытие. Применяется для проволоки стальной сварочной, проволоки для воздушных линий связи и др. Для нанесения слоя меди на поверхность проволоки применяют два способа: химический и анодизационный (гальванический). Сюда не входит нанесение на поверхность проволоки тонкой пленки меди как подсмазочного слоя для волочения.
Латунирование - технологическое покрытие. Применяется для металлокорда, проволоки РМЛ (для рукавов высокого давления) и других видов проволоки, предназначенной для армирования резино-технических изделий. Осуществляется гальваническим методом.
Алюминирование - защитное антикоррозионное покрытие, которое обеспечивает хорошую антикоррозионную стойкость при температурах до 700 °C. Температура горячего алюминиевого расплава выше цинкового (675 °C - 760 °C), в остальном технология горячего алюминирования аналогична оцинкованию.
2.3.1.7.3 Консервация, упаковка и хранение проволоки
Консервация и упаковка проволоки производятся с целью предохранения ее от коррозии и механических повреждений при временном хранении на предприятии-изготовителе, в пути следования и на заводе-потребителе.
Коррозионная стойкость стали, волоченной с большими суммарными обжатиями, значительно снижается, поэтому консервацию такой проволоки, особенно тонких и тончайших размеров, не покрытой защитными антикоррозионными покрытиями, производят незамедлительно после ее изготовления. Особенно опасно длительное хранение проволоки на участках мокрого волочения, где очень высокая влажность воздуха из-за испарений эмульсии.
В помещении, где производится консервация проволоки, относительная влажность воздуха не должна превышать 70 %, а температура - не ниже 12 °C. Перед консервацией проволоку очищают от грязи, масляных или других пятен с помощью специальных химических продуктов и сушат.
Виды консервационной смазки, материалы и тара для упаковки проволоки, а также способы проведения консервации и упаковки проволоки устанавливаются нормативно-технической документацией (НТД).
Упаковку проволоки в мягкие упаковочные материалы производят как ручным способом, так и на специальных упаковочных станках.
Проволоку хранят в закрытых помещениях при влажности воздуха не более 90 % - 95 % и отсутствии в воздухе кислотных, щелочных или других агрессивных сред.
Отгрузку проволоки потребителю производят в следующих видах многооборотной тары: поддоны многооборотные; контейнеры; транспортные пакеты; деревянные ящики; металлические бочки.
2.3.2.1 Нагрев заготовки
Нагрев блюмов и сортовой заготовки проводят по технологии и с применением оборудования, описанным в 2.1.2 и 2.3.1.1.
2.3.2.2 Прокатка сортовых профилей
2.3.2.2.1 Производство крупносортного проката и рельсобалочной продукции
Сортамент крупносортного проката состоит из профилей, имеющих простую и фасонную форму поперечного сечения: круглая сталь диаметром 80-250 мм, квадратная со стороной 70-200 мм, периодические профили для армирования железобетонных конструкций N 70-80, угловая сталь с шириной полок 90-250 мм, швеллеры и двутавровые балки обычные и облегченные высотой 360-600 мм, специальные широкополочные двутавры и колонные профили высотой до 1000 мм, шестигранная сталь до N 100, рельсы железнодорожные с массой метра длины 43-75 кг, полосовая сталь шириной до 250 мм, а также многочисленные другие профили отраслевого назначения.
Крупносортный прокат поставляют в штангах длиной до 25 м, которые используют обычно без дополнительной обработки в состоянии поставки. В ряде случаев прокат подвергают термической обработке (железнодорожные рельсы, швеллеры, двутавры, угловую сталь).
К крупносортным и рельсобалочным относят станы различных типов с валками диаметром 500-850 мм. Иногда на этих станах устанавливают специальные четырехвалковые (универсальные) клети с диаметром приводных и горизонтальных валков до 1500 мм и вертикальных холостых валков до 1000 мм. Рабочие клети крупносортных станов имеют линейное или последовательное расположение. Особую группу крупносортных станов составляют рельсобалочные станы, прокатывающие наряду с другими профилями рельсы и двутавровые балки.
2.3.2.2.1.1 Прокатка крупного сорта на стане с линейным расположением клетей [1]
Прокатку крупносортного проката на стане с линейным расположением клетей, например стан 650, ведут из блюмов размерами 210-270 х 245-320 х 2400-6250 мм.
Стан включает четыре клети, расположенные в две линии. Первая линия - обжимная реверсивная клеть дуо 800, вторая линия содержит две клети трио 650 и чистовую нереверсивную клеть дуо 650. Обжимная клеть оснащена с обеих сторон манипуляторными линейками и кантователем, а клети трио - подъемно-качающимися столами с рольгангами и кантователями для кантовки раската на угол 90°. Передача раскатов от обжимной клети к линии 650 проходит по рольгангу со скоростью 2-4 м/с. Передача раскатов от клети к клети в линии 650 осуществляется с помощью цепных шлепперов. Перевалка обжимной клети производится заменой валков, а клетей группы 650 - заменой клети.
В клетях линии 650 обычно производят 7 проходов (по три прохода в клетях трио и один проход в чистовой клети дуо). Скорость прокатки: в клети 800 - до 4 м/с; в чистовой клети 650 - до 7 м/с.
Для резки раскатов увеличенной массы после обжимной клети используется пила салазкового типа. Охлаждение валков производят водой.
От чистовой клети раскаты со скоростью 4-7 м/с транспортируют к дисковым пилам горячей резки (количество пил - 5). Резку осуществляют при температуре 600 °C на штанги длиной до 24 м.
Охлаждение проката производят до температуры примерно 70 °C на трехсекционном холодильнике.
Правка проката производится со скоростью до 3 м/с на двух восьмироликовых правильных машинах. Выправленные раскаты разрезают на требуемые длины тремя пилами холодной резки, после чего металл шлеппером передают к накопительным карманам. Для пакетирования проката используют сортоукладчики.
Отделку рельсов узкой колеи производят в специальном отделении, где производят правку рельсов на прессе усилием 2000 кН, фрезеруют торцы, выполняют сверление отверстий. Для вырезки дефектных участков и отбора проб используется пила холодной резки.
2.3.2.2.1.2 Прокатка крупного сорта на полунепрерывном стане [20]
Полунепрерывный крупносортный стан 600 включает семнадцать рабочих клетей (двухвалковых с горизонтальными и вертикальными валками диаметром 850, 730 и 580 мм), расположенных в трех параллельных линиях, что способствует хорошей маневренности, технологичности при прокатке и сокращению простоев стана.
Особенностью стана 600 является то, что он представляет собой сочетание двух станов: заготовочного и сортового. Такие станы используют в условиях отсутствия отдельного заготовочного стана.
Непрерывно-литая заготовка с размерами сечения блюма после нагрева в методической печи рольгангом подается в заготовочный стан, состоящий из шести клетей. Стан имеет отдельно установленную первую клеть, а остальные пять клетей составляют непрерывную группу. Такое расположение первой клети обеспечивает свободный выход раската и его кантовку перед задачей в последующую непрерывную пятиклетьевую группу заготовочного стана.
Дальнейшая прокатка заготовки на сортовом стане требует повышения температуры, для чего установлена проходная подогревательная печь длиной 107 м. После подогревательной печи заготовка поступает в обжимную клеть с горизонтально расположенными валками. Сортамент стана включает фасонные профили (двутавровые балки, швеллеры, рельсы и др.), прокат которых требует использования разрезной заготовки. Возможность изготовления разрезной заготовки на заготовочном стане отсутствует. Более того, для широкого сортамента фасонных профилей требуется и несколько размеров разрезных заготовок. Вот почему технологически необходимо отделение первой клети: в ней получают разрезную заготовку при свободном уширении или в калибрах.
Далее раскат подается в трехклетьевую непрерывную группу (первая клеть с вертикальным расположением валков). При получении разрезной заготовки любой ширины, выходящей из первой клети, необходимая ширина обеспечивается боковым обжатием вертикальными валками; создается известная универсальность стана. Расположение клетей на трех параллельных линиях с распределением клетей на каждой линии и соединением линий шлепперами позволяет рационально использовать основное оборудование.
Чистовая рабочая клеть 580 с горизонтальными валками имеет станины открытого типа с повышенной жесткостью, рабочие валки установлены на радиально-упорных подшипниках жидкостного трения, уравновешивание верхнего горизонтального валка - пружинное, нажимной механизм верхнего валка поддерживает скорость перемещения винтов 0, 8 мм/с.
Для кантовки раската используется универсальный кантователь с кантующей втулкой, позволяющий осуществлять поворот раската на любой угол в пределах 90 как без смещения, так и со смещением его по ширине рольганга.
Система резки, состоящая из 10 дисковых пил, позволяет совместить во времени транспортирование и резку. На крупносортном стане 600 предусмотрены три отдельных участка: доотделки сортового проката на правильном прессе и пиле холодной резки; отделки рельсов; отделки круглого проката.
Наиболее современным является заготовочно-крупносортный стан 700, предназначенный для прокатки крупносортных круглых профилей диаметром 80-190 мм, а также квадратной заготовки 70-170 мм из углеродистых и легированных сталей.
Исходным металлом стана 700 являются непрерывно-литые заготовки с поперечным сечением 300 х 360 мм, длиной от 4, 2 до 12 м массой от 3, 5 до 10 т которые после осмотра и зачистки поверхности (при необходимости) поступают на нагрев.
Нагрев непрерывно-литых заготовок (НЛЗ) сечением 300 х 360 мм под прокатку производится в трех методических печах с шагающими балками. Для подшипниковых марок стали применяется дополнительно печь гомогенизации.
Нагретые НЛЗ выдаются из печей нагрева и по рольгангу подаются на установку гидросбива окалины, где с поверхности заготовки водой высокого давления удаляется окалина, а затем к реверсивной клети дуо.
В реверсивной клети дуо за 5 проходов производят прокатку заготовки на размер квадратного сечения 230 мм и за 7 проходов - квадратного сечения 190 мм. Затем раскаты подаются к ножницам для отрезки переднего конца раската.
После обрезки переднего конца раскаты задаются в первую непрерывную группу стана, состоящую из четырех двухвалковых клетей - чередующихся двух вертикальных и двух горизонтальных. Готовый прокат больших размеров (круг диаметром 125-190 мм, квадрат со стороной 120-170 мм) после выхода из первой непрерывной группы, минуя вторую группу, подается на производство готового проката (ПГР). Передачу раскатов для производства готового проката (круг Ø 125-190 мм, кв. 120-170 мм) из первой во вторую группу стана осуществляют передаточным шлеппером.
Вторая непрерывная группа стана также состоит из четырех клетей - чередующихся вертикальных и горизонтальных. Перед второй группой расположены маятниковые ножницы, предназначенные для обрезки передних концов раската, а также аварийной порезки раската. За второй группой установлены четырехкривошипные ножницы для деления раската на длину шлеппера.
Выходящие из клетей стана раскаты направляются для порезки на пилы горячей резки, где у раскатов отрезают передние и задние концы и режут на прутки заказной длины. После порезки каждый пруток клеймят клеймовочными машинами в торец номером плавки и трехзначным кодом марки стали.
После порезки и клеймения прутки квадратного сечения направляют для охлаждения на четыре реечных холодильника, прокат круглого сечения - на термообработку или для охлаждения на реечные холодильники.
Термообработку производят в трех печах с шагающими балками. После термообработки прокат поступает для охлаждения на четыре реечных холодильника. После охлаждения прокат передается на высотный промежуточный склад.
Круглый прокат подвергают отделке на участке зачистки или участке обточки. Квадратный прокат подвергают отделке на участке зачистки.
На участке зачистки прутки подвергают дробеметной обработке, контролю поверхностных дефектов, зачистке дефектов на станках абразивной зачистки, контролю внутренних дефектов. После этого прутки режут на заказные длины, клеймят, упаковывают и передают на склад готовой продукции.
На участке обточки прутки подвергают правке, обточке на бесцентрово-токарных станках, контролю внутренних и поверхностных дефектов. После этого прутки режут на заказные длины, клеймят, упаковывают и передают на склад готовой продукции.
2.3.2.2.1.3 Производство проката балок и рельсов
Сортамент рельсобалочных станов (РБС): рельсы Р43-Р75 (кг/м); рельсы трамвайные; балки двутавровые, h = 180-600 мм; швеллеры, h = 180-400 мм; сталь угловая с размерами 140 х 140-250 х 250 мм.
Кроме того, в сортамент рельсобалочных станов входит сталь круглого и квадратного сечения размерами 100-250 мм. Рельсобалочные станы расположены в две линии и более, состоящие из нескольких двух- и трехвалковых клетей. В состав стана входят: двухвалковая обжимная клеть с валками диаметром 900 мм и длиной бочки 2300 мм; две черновых трехвалковых клети с валками диаметром 800 мм и длиной бочки 2000 мм; чистовая двухвалковая клеть с валками диаметром 800 мм и длиной бочки 1100-1200 мм.
При прокатке двутавровых балок на современных РБС используют сменные универсальные клети, которые имеют приводные горизонтальные валки диаметром 1000 мм и длиной бочки 600 мм и вертикальные неприводные валки диаметром 800 мм и длиной бочки 300 мм. Особенность конструкции - выполнение шеек горизонтальных валков небольшого диаметра (примерно 360 мм).
Применение универсальных клетей в качестве чистовых позволяет уменьшить внутренний уклон полок до 8 % (в двухвалковых клетях уклон составляет 12 %), тем самым повысить точность двутаврового профиля.
Рельсы подразделяют на железнодорожные, для стрелочных остряков, трамвайные, подкрановые, узкоколейные и др. Больше всего прокатывают рельсов железнодорожных и узкой колеи. Они характеризуются массой 1 м длины (например, железнодорожные - Р50, Р65, Р75 кг/м).
Технологический процесс производства рельсов выглядит следующим образом. Нагрев блюма (250 х 250-300 х 300 мм) до температуры 1180 °C - 1200 °C.
Затем следует прокатка в реверсивной клети в 5-7 проходов в ящичных и тавровых калибрах, далее в рельсовых калибрах клетей трио, последний проход в чистовом калибре клети дуо (см. рисунок 2.17).

Рисунок 2.17 - Схема калибровки для прокатки рельсов
Температура в конце прокатки - 900 °C. Выходящие полосы длиной 75 м разрезают на салазковых пилах горячей резки на длины 12, 5 или 25 м (с учетом усадки и припуска на механическую обработку) и маркируют в клеймовочной машине. Перед охлаждением производят загибку рельсов на подошву - для уменьшения большого искривления рельсов при охлаждении. Причина коробления - несимметричность профиля сечения рельса, в результате чего возникают термические напряжения. Для загибки используют специальную роликовую машину. При охлаждении рельсов используют укладку на стеллажах, обеспечивающую равномерное охлаждение. При этом подошва одного рельса примыкает к головке другого. Для предупреждения флокенообразования охлаждение на стеллажах проводят до температуры 550 °C - 400 °C, а затем осуществляют изотермическую выдержку (температура в печи - 600 °C) не менее 2 ч.
После достижения температуры рельсов 60 °C их подвергают правке "на ребро" в роликовой правильной машине. После правки концы рельсов фрезеруют для получения требуемой длины. Болтовые отверстия в шейках для соединения рельсов сверлят с подачей сверл в двух направлениях - для получения отверстий овальной формы.
Объемную закалку рельсов на сорбитную структуру проводят в масле (60 °C - 70 °C) после нагрева в секционной печи с роликовым подом до температуры 850 °C - 930 °C. После закалки поводят отпуск в течение 2 ч при 450 °C - 480 °C.
После отпуска рельсы вновь проходят правку в холодном состоянии на роликовой правильной машине в двух плоскостях. Искривленные концы доправляются на вертикальных правильных прессах.
Далее рельсы проходят наружный осмотр для выявления внешних дефектов. При этом выявляются следующие дефекты: трещины и волосовины; плены; неправильная геометрия поперечного сечения рельса. Затем проводится контроль химического состава и приемно-сдаточные испытания представителями ведомства путей сообщения, в числе которых проводятся испытания на растяжение, на ударную вязкость и на удар под копром.
Испытание на удар под копром проводится на отрезке головного рельса одного ковша каждой плавки длиной 1, 3 м, предварительно охлажденным до температуры минус 60 °C.
Предельные отклонения по длине готовых рельсов не должны превышать± 9 мм для рельсов длиной 25 м с болтовыми отверстиями и +10/-20 мм для рельсов длиной 25 м без болтовых отверстий [12], [13].
Балки с параллельными полками высотой до 1050 мм и шириной полок до 410 мм получают на универсальных балочных станах (УБС). Удобство прокатки на УБС - возможность независимого регулирования обжатия стенки и фланцев [13].
Исходный материал - слитки массой 20 т (для больших балок - слитки двутаврового сечения). Слитки прокатывают на блюминге 1500, полученный раскат двутаврового сечения зачищается на МОЗ и поступает на УБС. Для балок высотой менее 600 обязателен подогрев металла в методических печах с шагающим подом до температуры 1180 °C - 1250 °C.
После прокатки в обжимной двухвалковой клети А (диаметр валков 1300 мм) металл прокатывается за 3-7 проходов в черновой группе I (см. рисунок 2.18), состоящей из вспомогательной двухвалковой клети 1 (диаметр валков - 1250 мм) и универсальной клети 2 (горизонтальные валки диаметром 1350 мм, вертикальные - 950 мм). Во вспомогательной клети обрабатываются только кромки полок раскатов. В универсальной клети горизонтальные валки обрабатывают стенку и внутренние поверхности полок, вертикальные - наружные поверхности полок. Далее осуществляется непрерывная многопроходная прокатка в предчистовой группе клетей II (см. рисунок 2.18), где первой по ходу прокатки установлена универсальная клеть 2. Параметры клетей этой группы идентичны параметрам клетей черновой группы. Чистовая универсальная клеть аналогична клетям I и II групп, в ней осуществляется только один проход без обжатия кромок фланцев.
Большую часть балочной продукции изготавливают из стали Ст3, предел прочности которой около 400 Н/мм2 и относительное удлинение не ниже 20 %. После прокатки балочные полосы режут пилами в горячем состоянии, охлаждают на стеллажах и направляют для правки, резки и фрезерования концов.
Балки и швеллеры изготовляют длиной от 4 до 13 м. Производительность УБС составляет 1600 тыс. т/г.

Рисунок 2.18 - Схемы расположения клетей универсального балочного стана (а) и обжатий в этих клетях (б)
2.3.2.2.2 Производство среднесортного проката
Среднесортные станы линейного типа в свое время получили довольно широкое распространение, однако в настоящее время их строительство прекращено из-за их невысокой производительности и низкого уровня механизации основных технологических операций.
Полунепрерывные среднесортные станы характеризуются наличием обжимных двух- или трехвалковых клетей, которые иногда заменяют непрерывной черновой группой из 4-9 двухвалковых клетей. Вместо линейной группы клетей на этих станах устанавливают чистовую непрерывную группу.
Полунепрерывный стан 350 ориентирован на получение круглой стали диаметром 30-65 мм и других сортовых профилей подобного размера сечения из заготовок квадратного сечения со стороной 80, 120, 180 мм. Нагретые заготовки прокатываются в 14 клетях стана, расположенных в трех параллельных линиях. Между клетями раскаты передают с помощью рольгангов, с линии на линию - шлепперами. После прокатки охлаждение проката производится на реечном холодильнике, затем прокат подвергается отделке. Необходимо отметить, что на производство среднего сорта приходится самый большой (в производстве сорта) объем отделочных операций, поскольку длина получаемого проката намного больше, чем при производстве крупного сорта, а марочный сортамент - гораздо шире сортамента мелкосортной продукции. Прокат в бунтах практически не подвергается отделке.
Примером современной технологии производства среднесортного проката является процесс, осуществляемый на непрерывном среднесортном стане 450, который состоит из 16 рабочих клетей, расположенных двумя группами: черновой и чистовой. Черновая группа (9 рабочих клетей) состоит из трех подгрупп с двумя горизонтальными и одной комбинированной клетью в каждой [20]. Чистовая группа состоит из 7 клетей, из них четыре клети горизонтальные и три комбинированные. В комбинированную клеть кассеты могут устанавливаться как в вертикальном, так и в горизонтальном положении валков. На место горизонтальных клетей чистовой группы при прокатке швеллеров и балок с параллельными полками помещают универсальные клети. Часовая производительность стана составляет 150-280 т, максимальная скорость прокатки - 12 м/с.
На стане прокатывают следующие профили: круглую сталь диаметром 32-60 мм, полосовую 125-200 х 9-22 мм, угловую, швеллер N 8-30, балки N 10-30 из заготовок сечением 150 х 150 и 150 х 200 мм длиной 9-12 мм.
Нагрев металла производится в трех методических трехзонных нагревательных печах с шагающим подом, торцовой загрузкой и выдачей заготовок. Производительность каждой печи - 170 т/ч. Печи отапливаются коксодоменной смесью с добавлением природного газа с теплотой сгорания 11, 34 МДж/м3. Воздух подогревается до 400 °C в металлическом рекуператоре.
Продукты горения удаляются со стороны торца загрузки вверх в дымосборник, по дымопроводу поступают к металлическому петлевому рекуператору и далее через теплоутилизационную установку в дымовую трубу. Печь оборудована системой автоматического регулирования теплового режима. Температура нагрева металла 1180 °C - 1220 °C.
Выданная из печи заготовка транспортируется к ножницам горячей резки усилием 4 МПа для раскроя на заданные длины. Между ножницами и первой клетью установлена машина огневой зачистки, предназначенная для сплошной зачистки со скоростью 0, 3-0, 75 м/с заготовок сечением 150 х 150 мм и 150 х 200 мм длиной 9, 5-12 м из углеродистых качественных конструкционных и легированных марок стали. Температура металла перед зачисткой должна быть не ниже 1120 °C.
Удаление окалины с поверхности заготовки производится водой под давлением 1470 МПа. Форсунки гидросбива окалины смонтированы в герметичном корпусе перед передвижными газорежущими блоками. Глубина зачистки устанавливается в зависимости от глубины залегания пороков в металле с учетом температуры металла, чистоты режущего кислорода, скорости зачистки, сечения заготовки. Использование МОЗ позволяет улучшить качество поверхности проката, увеличить объем зачищаемого металла при уменьшении затрат тяжелого ручного труда на складе заготовок.
Рабочие клети черновой и чистовой групп бесстанинного типа одинаковы по конструкции и отличаются размерами. Валки установлены в подшипниках жидкостного трения. Для прокатки балок и швеллеров в чистовой группе применяют универсальные клети с приводными горизонтальными и непрерывными вертикальными валками. Мощность привода всех групп клетей - 2000 кВт. За чистовой группой клетей установлены летучие ножницы усилием реза 0, 63 МН, предназначенные для порезки прокатанных полос на длины, вмещающиеся на холодильник. Для получения повышенных прочностных свойств при высокой пластичности, ударной вязкости в области низких температур и уменьшения окалинообразования на стане предусмотрено двухстадийное охлаждение металла:
1) охлаждение металла с температуры конца прокатки 1050 °C до 800 °C - 850 °C в секции, установленной между последней катающей клетью и летучими ножницами;
2) охлаждение до 600 °C - 650 °C за летучими ножницами. Получаемая при этом феррито-перлитная структура в малоуглеродистых сталях характеризуется высокой дисперсностью. В стали с повышенным содержанием углерода и в низколегированной стали структура мартенситная. Давление воды в системе охлаждения составляет 300 кПа, расход воды - 900-1500 м3/ч.
Металл поступает на двусторонний холодильник реечного типа длиной 120 м. По двухниточному отводящему рольгангу холодильника полосы подаются к роликоправильным машинам. Скорость правки - 2-6 м/с. При прокатке профилей, не подвергаемых правке, правильная машина сдвигается в сторону.
После правки раскаты поступают на распределительный рольганг, разделяющий металл на два потока, в каждом из которых имеются ножницы холодной резки, контрольно-пакетировочный участок, имеющий инспекторские стеллажи с транспортером, кантователи, два пакетировочных устройства с вязальными машинами и весами и линию укладки фасонного проката. В составе последнего - сдвоенный рольганг, два штабелировочных устройства для профилей длиной 12-24 м, вязальные машины и весы. Такое расположение адъюстажного оборудования позволяет производить уборку готового проката на стойки-стеллажи склада готовой продукции с четырех участков технологического потока.
2.3.2.3 Охлаждение сортовой продукции
После прокатки сортового металла используют обычное (на воздухе), замедленное (в колодцах и термостатах) и ускоренное (с применением различных охлаждающих сред) охлаждение проката.
Обычное охлаждение на воздухе получило наибольшее распространение и реализуется в стеллажах, на холодильниках различного типа. Регулируемое (замедленное) охлаждение производят обычно на адъюстажах для легированных и углеродистых сталей с содержанием углерода свыше 0, 3 %.
Сортовой прокат из легированных сталей мартенситного, аустенитно-мартенситного и других классов подвергают замедленному охлаждению в штабелях, неотапливаемых колодцах, печах изотермической выдержки, а также последующей термической обработке.
Для предотвращения образования термических трещин, флокенов, снижения остаточных напряжений сортовой прокат трещино- и флокеночувствительных сталей подвергают охлаждению следующими способами [10]:
- на воздухе, в штабелях, защищенных от сквозняков;
- замедленное охлаждение в неотапливаемых колодцах, печах, термостатах;
- замедленное охлаждение в отапливаемых печах и колодцах с изотермической выдержкой;
- совмещение охлаждения на воздухе с последующей термической обработкой;
- ускоренное охлаждение путем обдувания горячего металла увлажненным воздухом или обрызгивания водой.
Наиболее широко применяют замедленное охлаждение на воздухе в штабелях и в неотапливаемых колодцах или термостатах.
Неотапливаемые колодцы футерованы шамотным кирпичом и облицованы металлическими плитами. Крышки чугунные, с внутренней стороны имеют асбестовую прокладку и обшиты листовым материалом. Емкость - до 200 т. Загрузку производят при температуре не ниже 700 °C. После загрузки в зависимости от режима охлаждения колодец остается открытым или закрывается крышкой, имеющей песчаный затвор. Общая продолжительность охлаждения садки массой до 120 т может достигать 4 сут. Контроль температуры производится через каждые четыре часа. После истечения 50 % продолжительности охлаждения скорость охлаждения регулируют поднятием крышки.
Охлаждению в штабелях и на открытом воздухе на холодильниках подвергают прокат из сталей, не склонный к образованию флокенов и трещин (углеродистые, некоторые низколегированные стали, стали аустенитного и ферритного классов).
При замедленном охлаждении инструментальных углеродистых и легированных сталей (У9-У13, 9ХВГ, ШХ15 и др.) в их микроструктуре образуется карбидная сетка, снижающая служебные характеристики будущего изделия из сортового проката. Для предотвращения этого указанные стали после прокатки быстро охлаждают в интервале температур 950 °C - 700 °C путем обдувания увлажненным воздухом, обрызгивания водой. После этого их подвергают замедленному охлаждению.
2.3.2.4 Финишная обработка
2.3.2.4.1 Термическая обработка сортового проката [10]
Для придания сортовому металлу заданной структуры и свойств в зависимости от назначения и химического состава прокат подвергают отжигу, нормализации, закалке и отпуску.
Наибольшее применение получил отжиг, обеспечивающий снятие внутренних напряжений, формирование требуемой структуры металла и заданных механических свойств. Применяют смягчающий, структурный, рекристаллизационный и другие виды отжига. Отжиг сортового металла проводят в камерных печах, колпаковых печах, роликовых печах.
В камерных печах проводят отжиг сортовой стали всех размеров длиной до 6 м. Загрузку садки проката массой до 50 т проводят напольной машиной. Топливо - природный газ. Охлаждение: вначале с печью, затем на воздухе или в камере охлаждения.
Светлый отжиг сортового проката осуществляют в колпаковых печах с защитной атмосферой.
Для сортового проката из подшипниковых, углеродистых и легированных инструментальных сталей, контролируемых на карбидную сетку, применяют науглероживающий (реставрационный) отжиг в колпаковых печах с защитной атмосферой в виде смеси газов: СО, Н2, N2 и природного газа (СН4). Подобный отжиг используется, например, при отжиге стали ШХ15.
Рекристаллизационный отжиг применяют для калиброванной стали для снятия упрочнения, полосчатости структуры и восстановления пластичности металла. Этот вид отжига производят в камерных и индукционных печах. В индукционных печах выполняют также нормализацию, закалку и высокий отпуск.
Индукционные печи характеризуются существенным расходом воды для охлаждения индукторов 6-10 м3/ч, используются для рекристаллизационного отжига калиброванной конструкционной стали. С использованием индукционных печей проводят нормализацию сортового проката из конструкционных низколегированных сталей, закалку проката из коррозионно-стойких (нержавеющих) сталей аустенитного класса, высокий отпуск сталей мартенситного класса.
2.3.2.4.2 Отделка сортового проката на адъюстаже [10]
На адъюстаже (специальное отделочное отделение прокатного цеха) выполняют весь комплекс операций отделки, а именно:
- правку;
- удаление окалины;
- зачистку дефектов и удаление заусенцев;
- нанесение защитных покрытий;
- контроль качества;
- маркировку и упаковку.
После охлаждения прокат на адъюстаже подвергают правке в зависимости от размера и вида прокатки на правильных прессах, роликовых и косовалковых сортоправильных машинах, а также способом растяжения.
Правку на прессах осуществляют одно- и многократными упругопластическими изгибами отдельных участков профиля в направлении, противоположном искривлению. Правке на прессах обычно подвергают некоторый крупносортный прокат, концы рельсов и другие сложные фасонные профили. На прессах выполняют также доправку проката после правки на роликовых машинах для уменьшения концевой кривизны. Используют механические, гидравлические и пневматические прессы с горизонтальным и вертикальным исполнением.
Правку на роликовых правильных машинах производят путем пропускания прутка-штанги между двумя рядами роликов, расположенных в шахматном порядке, при этом металл подвергается многократному упруго-пластическому знакопеременному изгибу. Роликовые правильные машины характеризуются числом и шагом роликов и допустимым усилием правки. Рассматриваемая группа правильных машин по конструкции бывает закрытого и открытого типа, у первых ролики закреплены между опорами валков, у вторых - на консолях. В свою очередь, открытые правильные машины различают одноплоскостные - для правки в одной, обычно вертикальной плоскости и двухплоскостные - для правки в двух взаимно перпендикулярных плоскостях. Оба вида машин имеют постоянный или регулируемый шаг роликов.
Используют машины одноплоскостной правки с нижними или верхними или нижними и верхними приводными роликами: для крупносортных профилей - семи- и девятироликовые с регулируемым шагом роликов и скоростью правки 0, 25-2 м/с; для среднесортных профилей - с тем же числом роликов, но скоростью правки 1-3 м/с, для мелкосортного проката - девяти- и одиннадцатироликовые со всеми приводными роликами и скоростью правки до 10 м/с.
Правку круглого проката производят на двух- и многовалковых машинах с вращающимися косорасположенными вогнутыми валками. В процессе правки на таких машинах обеспечивается вращение проката вокруг своей оси и поступательное перемещение ее вдоль продольной оси машины. Качество правки зависит от угла установки валков к оси правки (проката). При сравнительно больших углах наклона вогнутого (гиперболического) валка правят прутки-штанги с незначительными искривлениями и наоборот. Угол наклона валков к линии правки на современных многовалковых машинах с парными валками составляет 25-35°.
Для правки сортового проката, имеющего искривление в двух взаимно перпендикулярных плоскостях, а также периодического проката применяют правильно-растяжные машины, на которых осуществляют правку - растяжение штанги с относительным удлинением на 1 % - 4 % и раскрутку профилей. На правильно-растяжных машинах гидравлического типа полосу закрепляют в рабочей подвижной и вспомогательной фиксируемой головках двух- или четырехстороннего зажима. Перемещением подвижной рабочей головки при подаче в ее гидроцилиндр жидкости высокого давления осуществляют растяжение-правку.
После правки сортовой прокат, особенно из легированных марок стали, поступает на очистку от окалины и удаление поверхностных дефектов. Применяют сплошное и выборочное удаление окалины. Сплошное удаление окалины производят путем травления, дробеметной очистки, иглофрезерования и сплошного светления (шлифования), а выборочное - шлифованием (светлением) "змейкой". Технология и схема работы оборудования для осуществления травления и дробеметной очистки готового проката те же, что и при зачистке заготовки для сортовой прокатки.
Светление круглого проката "змейкой" производят перпендикулярно направлению прокатки на шлифовальных станках. При абразивном светлении "змейкой" глубина снимаемой стружки составляет до 0, 4 мм, а в случае сплошного светления - 0, 4-0, 6 мм. Кроме того, светление круглого, квадратного, шестигранного и полосового проката проводят на установках иглофрезерования, состоящих из задающих, промежуточных и тянущих роликов, горизонтальных и вертикальных иглофрез.
Сплошную и выборочную зачистку дефектов квадратного и прямоугольного проката производят на станках абразивной зачистки. Эти станки оборудованы механизмами для загрузки и выгрузки проката, его кантовки, пылеотсасывающей вентиляцией.
Для обеспечения хорошего качества и высокой производительности при зачистке дефектов скорость шлифования должна быть максимально допустимой (до 60-100 м/с) и постоянной по мере износа круга, а продольная подача - до 50-60 м/мин. При зачистке прутков со значительной пораженностью дефектами применяют силовое шлифование, когда усилие прижатия круга достигает 5, 0 кН. При осуществлении зачистки дефектов сначала делают светление штанги "змейкой", а затем (в зависимости от степени пораженности поверхности дефектами) проводят выборочную или сплошную зачистку. Оставшиеся после сплошной зачистки дефекты дополнительно удаляют выборочной зачисткой или пневматической вырубкой.
При зачистке дефектов обычно применяют круги на бакелитовой связке, которые показывают большую стойкость, чем круги на керамической связке. Увеличение скорости и усилия шлифования сопровождается повышением температуры поверхности металла и может привести к появлению шлифовочных трещин, для предотвращения чего применяют предварительный отжиг металла, подлежащего зачистке, и умеренные режимы шлифования.
При удалении дефектов резцовой зачисткой обычно применяют бесцентровотокарную обточку круглого проката. Этот вид зачистки дефектов характеризуется большими скоростями резания (больше 200 м/мин) и большими подачами (больше 50 мм/об.) при глубине резания 0, 15-10 мм. Использование специальных устройств для контроля диаметра обтачиваемых прутков и системы резцов обеспечивает высокую точность обработки:± 0, 05 мм - на прутках диаметром меньше 50 мм;± 0, 1-0, 2 мм - на прутках диаметром больше 60 мм.
Для чистовой обточки круглого проката применяют бесцентрово-токарные станки, которые имеют комплекс загрузочного оборудования и приспособления для механизированного отвода стружки, охлаждения и очистки использованной эмульсии. Для уменьшения потерь металла в стружку при обточке требуется тщательная предварительная правка прутков-штанг.
Для придания сортовому прокату товарного вида пневматическими молотками, ручными станками абразивной зачистки, а также на стационарных абразивных или специализированных станках выполняют снятие заусенцев и фасок на торцах.
После обработки торцов с одной стороны на указанном станке штанги сбрасывают в приемный карман, затем пакет вынимают из кармана мостовым краном, разворачивают на 180°, укладывают на стеллажах загрузочного устройства и цикл обработки повторяют.
После удаления поверхностных дефектов сортовой прокат поступает на контроль качества. Визуально-оптический метод контроля качества поверхности проката проводят после светления или других способов удаления окалины. При помощи магнитных методов (магнитографического, феррозондового, магнитопорошкового, магнито-люминесцентного) выявляют поверхностные дефекты типа трещин, раскатанных пузырей, закатов, флокенов, глубину обезуглероженного слоя, фазовый состав.
Сортовой прокат, отвечающий требованиям, далее подвергается пакетировке, взвешиванию и маркировке.
2.3.2.4.3 Отделка сортового проката на поточных линиях [10]
На поточных линиях отделки и контроля качества сортового проката выполняют весь комплекс операций, связанных с правкой, снятием фасок на торцах штанг, светлением, зачисткой дефектов, контролем качества, маркировкой и упаковкой.
Поточные линии для выполнения указанных операций располагают как в потоке, так и вне потока стана. Прокат из рядовых углеродистых конструкционных сталей, который охлаждают на холодильнике, обычно подвергают отделке в потоке стана. Если металл после прокатки требует замедленного охлаждения (легированные стали), то поточные линии отделки располагают вне потока стана.
Последовательность операций на поточной агрегатной линии отделки сортового проката и трубной заготовки диаметром 80-180 мм, расположенной вне потока стана, следующая.
Пакеты проката поступают на загрузочное устройство, откуда дозатором поштучно штанги подаются к косовалковой правильной машине. После правки прокат поступает на правую или левую линии последующей отделки.
Снятие заусенцев и фасок с обоих концов штанги производится двумя агрегатами, имеющими подрезно-расточные головки. Режущий инструмент - фреза.
Светление штанг осуществляется на шлифовальных станках. Ширина светленной дорожки - 40 мм, шаг - 100-200 мм. Далее прокат поступает на участок осмотра поверхности для выявления дефектов. Участок осмотра дефектов оснащен люнетами, с помощью которых штанга непрерывно вращается или поворачивается на определенный угол для осмотра поверхности металла оператором и отметки дефектных мест. Если дефектов не оказалось, штанга направляется к участку окончательного контроля, маркировки и пакетирования, а если дефекты обнаружены, то штанга поступает к станкам выборочной абразивной зачистки.
Зачищенный металл поступает контроля искровым методом, а далее - поштучно на визуальный контроль качества наружной поверхности. Годный металл маркируется краской, увязывается в пакеты и взвешивается. Годная продукция после увязки в пакеты убирается на склад готовой продукции. Производительность поточной линии отделки 220 тыс. т/г.
2.3.2.5 Технико-экономические показатели производства сортового проката
Технико-экономические показатели производства крупносортного и среднесортного прокатов приведены в таблице 2.15 [10].
|
Стан* |
Производительность годовая, тыс. т |
Коэффициент расхода металла |
Расход энергии, кВт ч/т |
Расход топлива, 103 кДж/т |
Расход воды, м3/т |
Расход валков, кг/т |
|
РБС 800 |
800-1350 |
1, 08-1, 10 |
55-65 |
2310-2520 |
20-26 |
2, 0-2, 5 |
|
УБСП |
660-1600 |
1, 10 |
60-70 |
2310-2520 |
20-26 |
3, 0-3, 5 |
|
КСЛ 650 |
800-1100 |
1, 06-1, 09 |
50-60 |
2310-2520 |
20-26 |
1, 6-2, 0 |
|
КСП 600 |
1200-1600 |
1, 06-1, 09 |
50-60 |
2310-2520 |
20-26 |
1, 6-2, 0 |
|
КСП 500 |
950-1100 |
1, 05-1, 06 |
30-40 |
2310-2520 |
20-26 |
1, 6-2, 0 |
|
ПНКС 600 |
1200-1600 |
1, 05-1, 07 |
35-45 |
2310-2520 |
20-26 |
1, 6-2, 0 |
|
ЛСС 450 |
52-450 |
1, 05 |
30-50 |
2310-2520 |
21-32 |
0, 25-0, 4 |
|
ЛСС 400 |
65-270 |
1, 05 |
30-50 |
2310-2520 |
21-32 |
0, 25-0, 4 |
|
ССШ 350 |
420-700 |
1, 04 |
30-50 |
2310-2520 |
21-32 |
0, 25-0, 4 |
|
ПНСС 370 |
120-280 |
1, 04 |
35-60 |
2310-2520 |
21-32 |
0, 25-0, 4 |
|
ПНСС 350 |
430-850 |
1, 04 |
35-60 |
2310-2520 |
21-32 |
0, 25-0, 4 |
|
НСС 350 |
450-750 |
1, 04 |
35-60 |
2310-2520 |
21-32 |
0, 25-0, 4 |
|
НСС 450 |
1200-1500 |
1, 04 |
30-50 |
2310-2520 |
21-32 |
0, 25-0, 4 |
|
* Станы: РБС - рельсобалочный трио; УБСП - универсальный балочный стан с последовательным расположением клетей; КСЛ - линейный крупносортный; КСП крупносортный с последовательным расположением клетей; ПНКС - полунепрерывный крупносортный; ССЛ - среднесортный линейный; ССШ - среднесортный с шахматным расположением клетей; ПНСС - полунепрерывный среднесортный; НСС - непрерывный среднесортный. | ||||||
2.3.2.6 Производство калиброванного проката
Сортовой холоднокалиброванный прокат (далее калиброванный прокат), в отличие от сортового горячекатаного проката, имеет более высокую точность и качество поверхности металла. Эти качества калиброванного проката позволяют использовать его при обработке резанием на высокопроизводительных токарных станках - автоматах, а также для холодной штамповки на холодновысадочном оборудовании, что значительно сокращает расход металла при его дальнейшей переработке.
Основными потребителями калиброванного проката и проката со специальной отделкой поверхности являются автомобилестроительные и машиностроительные предприятия, а также метизные предприятия, изготавливающие свою продукцию методом холодной высадки и штамповки.
Калиброванный прокат производится круглого, шестигранного и квадратного (прямоугольного) сечения. Калиброванный прокат изготавливается методом холодного волочения или прокатки из горячекатаного проката (подката).
Калиброванный прокат изготавливают из стали углеродистой и легированной качественной конструкционной, рессорно-пружинной, повышенной и высокой обрабатываемости резанием, углеродистой, легированной и быстрорежущей инструментальной, теплоустойчивой, коррозионно-стойкой, жаростойкой и жаропрочной. В соответствии с требованиями калиброванный прокат производят в нагартованном - Н или термически обработанном состоянии - Т (отожженный, высокоотпущенный, нормализованный с отпуском, закаленный с отпуском, закаленный).
Поверхность калиброванного проката должна быть чистой, гладкой, матовой или светлой, без трещин и окалины, в зависимости от качества подразделяется на группы.
Прокат со специальной отделкой поверхности производится только круглого сечения. Специальная отделка поверхности проката достигается удалением поверхностного слоя металла обточкой или шлифовкой.
Калиброванный прокат и прокат со специальной отделкой поверхности круглого сечения может изготавливаться дробных размеров с точностью до 0, 05 мм. Прокат в прутках поставляется длиной 2, 5-6, 5 м, в пачках массой 1-8 т. Прокат в мотках поставляется в пакетах по 2-5 мотка массой 0, 8-2, 5 т.
Калиброванный прокат и прокат со специальной отделкой поверхности может поставляться без консервации, с консервацией либо в мягкой упаковке. Консервация производится методом окунания в консервирующей смеси на основе индустриального масла с консервирующими добавками. Прокат, поставляемый с фосфатным покрытием, отгружается только в упаковке.
Холоднотянутую или холоднокатаную калиброванную сталь получают в диапазоне размеров от 3 до 100 мм с квалитетами точности h9-h12.
Технологический процесс производства калиброванного проката не имеет существенных отличий от процесса изготовления проволоки, описывается аналогичной схемой (см. рисунок 2.14) и предусматривает выполнение следующих операций:
- термическая обработка подката;
- правка;
- острение концов;
- травление;
- подготовка поверхности к волочению;
- волочение;
- термическая обработка (в соответствии с требованиями, предъявляемыми к готовой продукции);
- финишная отделка.
Основным видом термообработки стали является отжиг, который обеспечивает снятие наклепа после волочения и снижает твердость подката. Отжиг подката производится в муфельных или проходных роликовых печах непрерывного действия в защитной атмосфере, что обеспечивает чистую поверхность и исключает обезуглероживание. Отжиг подката для всех сталей (за исключением быстрорежущей) проводится при температурах выше АС1 (700 °C - 780 °C) с дальнейшим замедленным охлаждением до температуры ниже Аr1 и дальнейшим охлаждением с произвольной скоростью.
Для конструкционных, инструментальных, рессорно-пружинных сталей температура рекристаллизационного отжига - 700 °C - 740 °C, для высоколегированных, нержавеющих и быстрорежущих сталей - 770 °C - 900 °C. Выдержка в течение 3-10 ч. Охлаждение на воздухе или водой для коррозионно-стойких хромоникелевых сталей в целях уменьшения склонности к межкристаллитной коррозии. Для предотвращения обезуглероживания или ликвидации имеющейся обезуглероженности поверхности отжиг проводится в защитной атмосфере с добавлением метана. Выполнение отжига без защитной атмосферы ведет к окислению металла и к его потерям с уменьшением диаметра прутков до 0, 5 %, поэтому при волочении должен быть предусмотрен припуск на окисление.
Подкат из конструкционных и инструментальных сталей, обладающих более высокой твердостью, для смягчения перед калибровкой подвергают высокому отпуску или отжигу, а подкат из аустенитных коррозионно-стойких сталей - закалке.
В целях ускорения проведения рекристаллизационного отжига без окисления и обезуглероживания поверхности производят отжиг индукционным нагревом токами высокой частоты (ТВЧ). Рекристаллизация при этом протекает очень быстро (15-25 с), при температуре 760 °C - 780 °C. Для проведения нагрева ТВЧ используются высокочастотные генераторные машины, с целью повышения производительности нагрев производят на двухручьевых установках при скоростях перемещения прутка до 450 мм/с. Если степень обжатия при калибровке менее 17 %, то предпочтительнее проводить печной нагрев, так как рекристаллизация при нагреве ТВЧ протекает лишь частично.
Для удаления окалины после проведения отжига производят повторное травление или обдирку (точением) или обработку дробью.
Правку проката осуществляют на типовых правильных машинах, описанных в 2.3.2.4.2, аналогично правке горячекатаного сортового проката.
Травление и подготовку поверхности металла к волочению, включая нанесение смазочных покрытий, проводят аналогично технологии проведения указанных операций при волочении проволоки (см. 2.3.1.4).
Острение концов проводят одним из методов подготовки переднего конца заготовки к волочению, указанных в 2.3.1.5.1.
Волочение проводят на прямоточных волочильных или непрерывных калибровочных станах (см. 2.3.1.5.3) [21]. При волочении проката из высокопрочных сталей применяют теплое волочение, для чего перед волочильным станом устанавливают устройство для индукционного нагрева заготовки.
Финишная обработка калиброванного проката предусматривает проведение операций правки, резки, обработки торцов прутков, обточки и шлифования поверхности, контроля качества, маркировки, нанесения консервационных покрытий и упаковки. Для осуществления указанных операций используется оборудование аналогичное оборудованию участков отделки горячекатаного сортового проката, а также автоматизированные линии, совмещающие правку, резку и механическую обработку поверхности калиброванного проката.


