ИТС 20-2016 ПРОМЫШЛЕННЫЕ СИСТЕМЫ ОХЛАЖДЕНИЯ
Industrial cooling systems
Дата введения - 1 июля 2017 г.
Введение
Настоящий информационно-технический справочник по наилучшим доступным технологиям (далее - справочник НДТ) является документом по стандартизации, разработанным на основе анализа технологических, технических и управленческих решений, применяемых в Российской Федерации при проектировании, строительстве, реконструкции и эксплуатации промышленных систем охлаждения. Целью настоящего справочника НДТ является определение наилучших доступных технологий промышленного охлаждения - наиболее прогрессивных технологий охлаждения, применяемых в настоящее время в промышленности Российской Федерации, обеспечивающих наиболее высокий уровень охраны окружающей среды и рационального использования природных и энергетических ресурсов, технически реализуемых и экономически эффективных.
Краткое содержание справочника НДТ
В предисловии указана цель разработки настоящего справочника НДТ, его статус, законодательный контекст, краткое описание процедуры создания в соответствии с установленным порядком, а также взаимосвязь с аналогичными международными документами.
В области применения перечислены основные виды экономической деятельности, на которые распространяется действие настоящего справочника НДТ, определены границы области его применения.
В разделе 1 представлена общая информация о потребностях в охлаждении технологического оборудования при осуществлении различных видов экономической деятельности, более подробно описаны основные области применения настоящего справочника НДТ.
В разделе 2 представлена классификация ПСО, а также сведения о технологиях охлаждения, в настоящее время применяемых в Российской Федерации, включающие краткое описание работы основного и вспомогательного оборудования, а также значимые экологические аспекты их работы, характеристики энерго- и водопотребления.
В разделе 3 дана сравнительная оценка потребления энергетических и природных ресурсов и уровней воздействий на окружающую среду различных типов ПСО, применяемых в Российской Федерации. Наряду с прямыми воздействиями рассмотрены также косвенные влияния ПСО на уровни потребления ресурсов и воздействий на окружающую среду охлаждаемых процессов. Раздел подготовлен на основе данных, представленных предприятиями Российской Федерации в рамках проведения опроса, а также различных литературных источников.
В разделе 4 описаны особенности подхода, примененного для идентификации НДТ ПСО при разработке настоящего справочника НДТ, в соответствии с Правилами определения технологии в качестве наилучшей доступной технологии, а также разработки, актуализации и опубликования информационно-технических справочников по наилучшим доступным технологиям (постановление Правительства Российской Федерации от 23 декабря 2014 года N 1458) и Методическими рекомендациями по определению технологии в качестве наилучшей доступной технологии (приказ Министерства промышленности и торговли Российской Федерации от 31 марта 2015 года N 665).
В разделе 5 приведено краткое описание идентифицированных НДТ ПСО. Для каждой из НДТ приведены:
- классификационные признаки технологии, на основании которых возможно отнесение ПСО к данной НДТ. В разделах приведены признаки ПСО, которые должны учитываться при классификации. Полагается, что эти признаки будут использоваться, в том числе, при применении мер экономического стимулирования внедрения НДТ;
- значимые аспекты, уровни воздействий на окружающую среду и потребления природных и энергетических ресурсов. В данных разделах указаны перечни значимых аспектов конкретных НДТ. По мере возможности для значимых аспектов указаны числовые оценки уровней воздействий и потребления ресурсов, связанные с применением данных НДТ. Прочие аспекты, для которых не указаны численные оценки уровней воздействий и потребления ресурсов, существенно зависят от местных условий и специфики охлаждаемых процессов, поэтому для них такая оценка оказалась невозможной;
- области, условия и ограничения применения. В этих разделах определены области применения конкретных НДТ, а также условия и ограничения, при которых конкретная ПСО может считаться НДТ.
В разделе 6 приведены доступные сведения об экономических аспектах реализации НДТ ПСО на предприятиях Российской Федерации.
В разделе 7 приведены сведения о некоторых технологических и технических решениях в области промышленного охлаждения, не применяемых в России на момент подготовки настоящего справочника НДТ, и направленных на повышение энергоэффективности, обеспечение ресурсосбережения, снижение эмиссий загрязняющих веществ.
В заключительных положениях приведены сведения об организации разработки, согласования и утверждения настоящего справочника НДТ, организациях, принимавших участие в работе технической рабочей группы и разработке настоящего справочника НДТ, рекомендации по его применению.
Библиография. Приведен перечень источников информации, использованных при разработке настоящего справочника НДТ.
Предисловие
Цели, основные принципы и порядок разработки справочников НДТ установлены Порядком определения технологии в качестве наилучшей доступной технологии, а также разработки, актуализации и опубликования информационно-технических справочников по наилучшим доступным технологиям (постановление Правительства Российской Федерации от 23 декабря 2014 г. N 1458).
В соответствии со структурой российской системы экологического нормирования основным функциональным назначением справочников НДТ является информационное обеспечение и обоснование нормативных требований в области охраны окружающей среды, которые будут установлены в дальнейшем нормативными документами в области охраны окружающей среды для определенных, наиболее существенно влияющих на состояние окружающей среды видов деятельности, включая:
- требования в области охраны окружающей среды к работам, услугам и методам их контроля;
- ограничения и условия осуществления хозяйственной и иной деятельности, потенциально оказывающей значительное негативное воздействие на окружающую среду;
- порядок организации деятельности в области охраны окружающей среды и управления такой деятельностью на хозяйственных объектах;
- технологические показатели НДТ, определяющие допустимые уровни воздействия на окружающую среду.
Настоящий справочник НДТ является межотраслевым, не включает обязательных технологических показателей НДТ, но содержит необходимую информацию для принятия обоснованных решений в части проектирования и эксплуатации промышленных систем охлаждения в различных отраслях экономической деятельности.
Перечень технологических процессов, оборудования, технических способов и методов, применяемых при осуществлении хозяйственной и (или) иной деятельности, которые оказывают значительное негативное воздействие на окружающую среду и наиболее значимы для достижения целей охраны окружающей среды и рационального природопользования, и, соответственно, отнесенных к области применения НДТ, определен распоряжением Правительства Российской Федерации от 24 декабря 2014 г. N 2674-р "Об утверждении Перечня областей применения наилучших доступных технологий".
Для того чтобы технология могла быть идентифицирована как НДТ, она должна одновременно соответствовать нормативно установленным критериям (на основе фактической информации о ее применении в хозяйственной деятельности):
- иметь наименьшие из достигнутых технологиями аналогичного функционального назначения удельных показателей негативного воздействия на окружающую среду;
- внедрение и применение технологии должно быть экономически эффективным;
- иметь относительно низкий уровень ресурсо- и энергопотребления;
- иметь приемлемый период внедрения;
- должны быть примеры успешного применения технологии в промышленных масштабах.
Функциональным назначением настоящего справочника НДТ является информационная поддержка обоснования требований к технологическим процессам, техническим способам и методам, применяемым в промышленных системах охлаждения.
1 Статус документа
Настоящий справочник НДТ является документом по стандартизации. Его юридический статус определен Федеральным законом от 29 июня 2015 г. N 162-ФЗ "О стандартизации в Российской Федерации".
Настоящий справочник НДТ не является нормативным правовым документом и не содержит правовых норм, обязательных для применения при осуществлении хозяйственной и иной деятельности. Применение рекомендаций, содержащихся в справочнике НДТ, осуществляется субъектами хозяйственной деятельности на добровольной основе.
2 Информация о разработчиках
Настоящий справочник НДТ разработан технической рабочей группой "Промышленные системы охлаждения" (ТРГ 20), состав которой утвержден приказом Росстандарта от 4 марта 2016 г. N 235 "О создании технической рабочей группы "Промышленные системы охлаждения" (в редакции приказа от 18 июля 2016 г. N 1047).
Ниже приведен перечень организаций, представители которых принимали участие в разработке настоящего справочника НДТ:
- АО "Атомэнергопроект"
- АО "Евр°СибЭнерго"
- АО "Концерн "Росэнергоатом"
- АО "Танеко"
- Ассоциация "НП "КИЦ СНГ"
- Ассоциация "Совет производителей электроэнергии и стратегических инвесторов электроэнергетики"
- Группа компаний Danone
- ЗАО "Ионообменные технологии"
- ЗАО "Карабашмедь"
- ЗАО "Кировский молочный комбинат"
- ЗАО "Новгородский металлургический завод"
- ЗАО "Русская медная компания"
- ЗАО НПВП "Турбокон"
- Минпромторг России
- Национальный исследовательский университет "Московский энергетический институт"
- НП "НТС ЕЭС"
- ОАО "ТГК-2"
- ООО "Интер РАО - Управление электрогенерацией"
- ООО "Новые Технологии"
- ООО "Остров-Комплект"
- ООО "Сибирская генерирующая компания"
- ООО "Химическая Группа "Основа", ГК Миррико
- ПАО "Интер РАО"
- ПАО "Юнипро"
- РАО "Бумпром"
- ФГБНУ "Всероссийский научно-исследовательский институт холодильной промышленности"
- ФГБУ "ВНИИ Экология"
- ФГБУРосНИИВХ
- ФГУП "ВНИИ СМТ"
- Филиал ОАО "Концерн Росэнергоатом" Кольская АЭС
ТРГ 20 выражает благодарность АО "Всероссийский теплотехнический институт" и Фонду "Энергия без границ" (группа Интер РАО) за помощь в формировании и техническом редактировании содержания настоящего справочника НДТ.
Настоящий справочник НДТ представлен на утверждение Бюро наилучших доступных технологий (далее - Бюро НДТ) (www.burondt.ru).
3 Краткая характеристика
Настоящий справочник НДТ содержит описание промышленных технологий охлаждения, применяемых в России, технологических процессов, оборудования, технических способов, методов, позволяющих снизить негативное воздействие на окружающую среду, водопотребление, повысить экономичность, конкурентоспособность, энергоэффективность, ресурсосбережение. Из описанных применяемых технологических процессов, оборудования, технических способов, методов определены технические решения, являющиеся наилучшими доступными технологиями (НДТ).
4 Взаимосвязь с международными, региональными аналогами
При разработке настоящего справочника НДТ были использованы сведения из европейского справочника НДТ "Промышленные системы охлаждения" (Reference Document on the application of Best Available Techniques to Industrial Cooling Systems) ([9]), а также европейского справочника НДТ по обеспечению энергоэффективности (Reference document on best available techniques for energy efficiency).
5 Сбор данных
Информация о технологических процессах, оборудовании, технических способах, методах охлаждения, применяемых в промышленности Российской Федерации, была собрана в процессе разработки настоящего справочника НДТ в соответствии с Порядком сбора данных, необходимых для разработки справочника НДТ и анализа приоритетных проблем отрасли, утвержденным приказом Росстандарта от 23 июля 2015 г. N 863.
6 Взаимосвязь с другими справочниками НДТ
Настоящий справочник НДТ предназначен для применения при формировании отраслевых справочников НДТ видов экономической деятельности, отнесенных к областям применения НДТ.
7 Информация об утверждении, опубликовании и введении в действие
Настоящий справочник НДТ утвержден приказом Росстандарта от 15 декабря 2016 г. N 1882.
Настоящий справочник НДТ введен в действие с 1 июля 2017 г., официально опубликован в информационной системе общего пользования - на официальном сайте Федерального агентства по техническому регулированию и метрологии в сети Интернет (www.gost.ru).
Область применения
В справочнике НДТ рассмотрены системы охлаждения, которые применяются при осуществлении видов хозяйственной деятельности, отнесенных в Российской Федерации к областям применения НДТ (распоряжение Правительства Российской Федерации от 24 декабря 2014 г. N 2674-р), и которые могут оказывать значительное прямое или косвенное влияние на состояние окружающей среды в условиях нормальной эксплуатации или в аварийных режимах, специально предназначенью для отведения тепла в окружающую среду и используются для отведения тепла от стационарных промышленных установок и объектов, отнесенных к областям применения НДТ.
В справочнике НДТ не рассматриваются:
- вопросы передачи тепла между производственными технологическими процессами, с целью охлаждения или отопления помещений или иного полезного применения тепла, а также процессы непреднамеренных потерь тепла в окружающую среду, например, с отходящими газами энергоустановок или через внешнюю поверхность технологического оборудования в окружающий воздух, потерь тепла с продукцией или отходами производства;
- системы охлаждения передвижных установок, транспортных средств, а также системы охлаждения (кондиционирования) воздуха с целью создания благоприятных условий жизни и работы в жилых, общественных и производственных зданиях и помещениях.
Основные виды хозяйственной деятельности, отнесенные к областям применения НДТ, системы охлаждения которых рассматривались при формировании настоящего справочника НДТ:
- добыча природного газа и газового конденсата;
- целлюлозно-бумажная промышленность;
- нефтепереработка и нефтехимия;
- химическая промышленность;
- черная и цветная металлургия;
- тепловая и атомная энергетика;
- пищевая промышленность;
- стекольная промышленность.
Материалы настоящего справочника НДТ могут также быть использованы в целях совершенствования проектирования и эксплуатации ПСО в областях деятельности, не отнесенных в настоящее время к областям применения НДТ.
Теплообменные аппараты, предназначенные для передачи тепла от охлаждаемого технологического оборудования напрямую в окружающую среду или промежуточному теплоносителю, рассматриваются как часть охлаждаемой технологической установки и не относятся в ПСО. В справочнике НДТ рассматриваются только некоторые характеристики данных теплообменных аппаратов, влияющие на показатели эффективности и экологической безопасности ПСО.
Любой реальный производственный процесс связан с образованием тепла. Это вызвано тем, что все производственные процессы связаны с преобразованием энергии из одной формы (ядерной, химической, механической, электрической и пр.) в другую, которое неизбежно происходит с выделением тепла. В зависимости от интенсивности процессов образования избыточного тепла и наличия или отсутствия возможности его полезного использования, отведение избыточного тепла в окружающую среду осуществляется неорганизованным образом, например, с поверхности технологической установки, или сооружаются установки, специально предназначенные для организованного отведения тепла, называемые системами охлаждения. От того, насколько системы охлаждения обеспечивают потребности охлаждаемых технологических процессов и оборудования в отведении избыточного тепла существенным образом зависит энергоэффективность, надежность и экологические показатели охлаждаемого оборудования. Далее в этом разделе рассмотрены вопросы, связанные с отраслевыми особенностями объемов избыточного тепла, его температурного уровня и влияния качества охлаждения на показатели надежности, эффективности и экологической безопасности охлаждаемых процессов.
В таблице 1.1 приведены данные об удельном потреблении энергии различными видами экономической деятельности (по данным Государственного доклада о состоянии энергосбережения и повышении энергетической эффективности в Российской Федерации в 2014 году ([50]).
|
Отрасль |
Единицы измерения |
2012 |
2013 |
2014 |
|
Производство удобрений |
кг у. т./тонну |
494, 3 |
487, 0 |
470, 1 |
|
Целлюлозно-бумажная промышленность |
кг у. т./тонну |
1109, 8 |
1068, 8 |
1062, 2 |
|
Черная металлургия |
кг у. т./тонну |
650, 6 |
657, 4 |
647, 8 |
|
Добыча природного газа |
кг у. т./1000 м3 |
9, 1 |
9, 1 |
9, 2 |
|
Транспортировка природного газа |
кг у. т./1000 м3-к |
29, 6 |
28, 9 |
28, 4 |
|
Переработка природного газа |
кг у. т./1000 м3 |
85, 9 |
83, 7 |
82, 7 |
|
Сжиженный природный газ |
кг у. т./кг |
0, 2 |
0, 2 |
0, 2 |
|
Нефтедобыча |
кг у. т./тонну |
18, 2 |
18, 0 |
17, 7 |
|
Переработка нефти |
кг у. т./тонну |
107, 7 |
110, 1 |
112, 2 |
|
Нефтегазохимия |
кг у. т./тонну |
1027, 7 |
1000, 1 |
956, 1 |
|
Попутный нефтяной газ |
кг у. т./1000 м3 |
41, 4 |
41, 0 |
40, 6 |
|
Генерация электроэнергии |
г у.т./квтч |
330, 4 |
328, 4 |
325, 1 |
Практически вся первичная энергия, потребляемая отраслями, указанными в таблице 1.1 (за исключением производства электроэнергии), в конечном счете превращается в тепло и отводится в атмосферу как неорганизованно, так и разнообразными специальными системами охлаждения. Каждая из отраслей характеризуется специфическими объемами и температурным уровнем избыточного тепла, которое отводится в окружающую среду. Далее в разделе 1 приведены сведения об особенностях причин образования, объемов и параметров избыточного тепла при осуществлении некоторых видов хозяйственной деятельности.
1.1 Предприятия черной и цветной металлургии
Черная металлургия - отрасль тяжелой промышленности, которая включает производство чугуна, стали, проката, ферросплавов, а также добычу и обогащение железной руды и производство огнеупоров. В структуру черной металлургии Российской Федерации входит более 1, 5 тыс. предприятий. В России выделяют три основных базы черной металлургии: уральская, центральная и сибирская. Основу российской черной металлургии составляют 6 крупных вертикально и горизонтально интегрированных холдингов, на долю которых приходится более 93% всей выпускаемой продукции: Северсталь, EVRAZ, Новолипецкий металлургический комбинат, Магнитогорский металлургический комбинат, Металлоинвест, Мечел.

Рисунок 1.1 - Основные базы черной металлургии Российской Федерации ([55])
Уральская база - старейшая в России и самая крупная. Сейчас здесь производят около половины всей продукции черной металлургии страны. Уральская металлургическая база связана с кузбасским углем и уральскими месторождениями железной руды. Центрами металлургии Урала являются Магнитогорск, Челябинск, Нижний Тагил, Екатеринбург. Крупнейшие предприятия- Магнитогорский металлургический комбинат, Челябинский металлургический комбинат, Чусовской металлургический завод и другие.
Поскольку месторождения железной руды на Урале практически исчерпаны, на смену Уральской металлургической базе строится Сибирская. На данный момент эта база находится на стадии формирования и представлена двумя крупными металлургическими предприятиями - Кузнецкий металлургический комбинат и Западно-Сибирский металлургический комбинат в Новокузнецке.
Центральная металлургическая база использует собственные месторождения железной руды, которые находятся в Курской и Белгородской областях. Добыча руды здесь очень дешева и добывается открытым способом. Здесь нет угля, но в силу удобного географического расположения, предприятия снабжаются углем из трех бассейнов - Донецкого, Печорского и Кузнецкого. Крупнейшие предприятия - Череповецкий металлургический комбинат, Новолипецкий металлургический комбинат, металлургические заводы в Туле и Старом Осколе.
По объему запасов железной руды Россия занимает третье место в мире, уступая по этому показателю Австралии и Бразилии. Разведанные запасы железной руды в России составляют около 25 млрд. тонн, что в пересчете на чистое железо составляет 14 млрд. тонн.
Наибольшие объемы избыточного тепла на предприятиях черной металлургии образуются при охлаждении агрегатов доменных цехов, в установках по очистке доменного газа, прокатных цехах, воздуходувных и электрических станциях (теплоэлектроцентралях). Раньше много потребляли воды и сталеплавильные цехи, но с переводом печей на испарительное охлаждение, при котором охлаждение нагретых элементов печи производится пароводяной эмульсией, потребность этих цехов в воде резко сократилась.
В настоящее время для охлаждения теплонагруженных элементов металлургических печей применяют в основном следующие три типа систем охлаждения:
- охлаждение проточной технической водой;
- испарительное охлаждение (с естественной и принудительной циркуляцией);
- охлаждение химически очищенной водой в замкнутом контуре с использованием теплообменников.
При проточном водяном охлаждении отвод теплоты от водоохлаждаемых элементов производится холодной проточной водой. При этом расход воды должен обеспечить, по возможности, безнакипный режим. Данное условие трудно выполнимо, так как техническая вода содержит накипеобразователи, которые при нагреве воды осаждают на стенках деталей, препятствуя отводу от них тепла.
Каждая из названных систем имеет свои преимущества и недостатки, что касается обеспечения качества охлаждения, а также их экономичности и эффективности.
Все большее распространение получает система испарительного охлаждения металлургических печей (доменных, мартеновских, электроплавильных, нагревательных и вагранок). При испарительном охлаждении тепло от нагретых элементов печи отводится водой, нагревающейся до образования пароводяной эмульсии. При этом используется скрытая теплота парообразования, т.е. тепло, отбираемое охлаждающей водой, затрачивается на ее испарение. В холодильники печи подается вода, освобожденная от солей жесткости и лишенная коррозионных свойств. Получаемый пар используется на технологические нужды завода.
Данная система охлаждения представляет собой комбинацию двух функционально независимых систем: традиционное испарительное охлаждение с естественной циркуляцией для холодильников шахты (первый контур) и принудительная циркуляция холодной химически очищенной для охлаждения холодильников нижней зоны и труб подлещадного охлаждения (второй контур), которые объединены общей системой утилизации тепла нагретой воды для подогрева воздуха, идущего для горения газа в доменных воздухонагревателях.
Система теплоиспользования состоит из водовоздушного теплообменника (калорифера), пароводяных теплообменников (бойлеров) и водоводяных теплообменников. Калориферы используются в качестве теплообменников, в которых за счет тепла нагретой воды охлаждаемых элементов нижней зоны и тепла конденсации пара системы испарительного охлаждения холодильников шахты нагревается воздух, идущий для горения газа в воздухонагревателях.
Системы испарительного охлаждения также используются для охлаждения элементов печей цветной металлургии. В печах кипящего слоя охлаждают стояки отходящих газов (для предварительного охлаждения газов), кессоны для отвода теплоты от слоя; в отражательных - рамы завалочных окон, пятовые балки, шибера. Кессоны, шахты, свода и пода фьюминговой печи; в конвертерах - напыльники; в печи рудно-термической плавки - закладные элементы кладки стен печи, приэлектродные зоны свода печи, загрузочные течки и т.д.
Принципиальная схема системы испарительного охлаждения представлена на рисунке 1.2. Циркуляция воды в системе непрерывна. При этом возможна естественная или принудительная циркуляция.

Рисунок 1.2 - Принципиальная схема системы испарительного охлаждения ([54]):
Параметры пара в системах испарительного охлаждения выбираются на основании анализа топливно-энергетических балансов и технико-экономических расчетов с учетом предельных параметров для данного типа установок. Так, предельные параметры пара для систем охлаждения доменных печей составляют 0, 8 МПа; мартеновских и двухванных сталеплавильных агрегатов - 2, 5 МПа; методических нагревательных - 4, 7 МПа.
Удельная выработка пара определяется для каждого агрегата отдельно. Так, например, в доменном производстве она составляет 0, 2 кг/кг; мартеновском - 0, 25 кг/кг; прокатном - 0, 3 кг пара на 1 кг продукции.
Из-за относительно низких параметров пар испарительного охлаждения не всегда находит потребителей. В настоящее время используется менее 85% пара систем испарительного охлаждения. Потребители насыщенного пара самые разнообразные. На металлургическом предприятии имеется несколько паропроводов (каждый для пара определенных параметров), к которым подключены как парогенерирующие установки (паровые котлы, котлы-утилизаторы, системы испарительного охлаждения и др.), так и потребители пара соответствующих параметров либо непосредственно, либо через преобразующие устройства. Из паропроводов насыщенного пара пар, в зависимости от давления, используется в технологических цехах для различных нужд. В доменном производстве паром (давление пара 0, 4 - 0, 5 МПа) увлажняют дутье, уплотняют засыпные аппараты доменных печей, обогревают рудные бункера и трубопроводы, а также применяют для технологических нужд в коксохимическом производстве.
В мартеновском производстве насыщенным паром (давление 0, 12 - 0, 15 МПа) нагревают мазут, масла и смолы в резервуарах и трубопроводах.
Насыщенный пар находит потребителей также в энергетическом хозяйстве предприятий: для водоподготовки производственных котельных ТЭЦ, паровакуумных холодильных установок, кондиционирования воздуха в горячих цехах, получения льда, в горячем водоснабжении душевых, бань, прачечных и др.
При дополнительном перегреве насыщенного пара до более высокого давления (24 - 4, 5 МПа) его можно использовать в турбинах.
Доменный цех. В доменных печах вода расходуется на охлаждение кладки печей и металлических конструкций, находящихся под непосредственным воздействием высоких температур, развивающихся в процессе плавки металла. Система охлаждения доменных печей состоит из большого числа теплообменников, расположенных в кладке всех зон печи, по которым циркулирует охлаждающая вода.
Теплообменники доменной печи представляют систему металлических плит-коробок, соединенных трубками небольшого диаметра. Проходя по закрытой системе труб и теплообменников, вода нагревается, но не загрязняется.
Вода в теплообменниках доменной печи, по данным многочисленных обследований, нагревается на 3°С - 10°C, при этом температура поступающей к печи воды может достигать 30°С - 35°С. Дальнейшее ее повышение нежелательно, так как тогда может происходить выпадение солей временной жесткости, что ведет к "зарастанию" труб в теплообменниках.
При использовании сравнительно мягких вод (3 - 4 мг экв./л) допустимое содержание взвешенных веществ при обычной эксплуатации составляет 100 - 200 мг/л. В отдельных случаях оно может быть повышено до 300 и даже 500 мг/л и более, что влечет за собой необходимость более частой промывки теплообменников.
Помимо охлаждения доменных печей, вода в доменном цехе расходуется также на охлаждение арматуры воздухонагревателей. Одной из характерных особенностей системы водоснабжения доменных цехов является наличие в отводной магистрали напора, создаваемого за счет разности отметок (расположения сборных резервуаров или желобов, находящихся на уровне рабочей площадки печи и водоохладителей.
Разность отметок (8 - 10 м) обеспечивает поступление нагретой, отработанной воды к охладителям оборотной системы водоснабжения самотеком, без перекачки ее насосами.
Установки для очистки доменного газа. Выходящий из доменных печей газ обладает большой теплотворной способностью и используется в качестве топлива в других цехах металлургического завода. Однако для транспортировки по газопроводам он должен быть очищен от большого количества колошниковой пыли, состоящей из мельчайших частиц материалов, загружаемых в печь (руда, кокс, известняк и др.). Одновременно с очисткой газ должен быть охлажден.
В настоящее время при проектировании металлургических заводов предусматривается электрическая очистка доменных газов в электрофильтрах. При прохождении через электрическое поле высокого напряжения содержащиеся в газе частицы пыли приобретают электрический заряд и осаждаются на электродах.
Установка для электрической очистки газа состоит из скруббера, размещаемого в нижней части аппарата, и двух электрофильтров, находящихся в средней и верхней частях колонны.
В скруббере газ проходит грубую очистку и одновременно охлаждается до 35°С - 40°C. После скруббера газ направляется на электрофильтры, где происходит его тонкая очистка.
Расходуемая на промывку и охлаждение газа загрязненная большим количеством колошниковой пыли вода собирается в нижней части газоочистного аппарата (под скруббером) и сбрасывается в отводные лотки. Сточная вода после газоочистки содержит как механические, так и химические загрязнения. В то же время после надлежащего отстоя вода может быть вновь использована для водоснабжения газоочистки. Поэтому система водоснабжения газоочистки принимается оборотной. Перед повторным использованием осветленной воды ее необходимо охладить.
Осветление оборотной воды происходит в горизонтальных отстойниках. На металлургических заводах, работающих на обычных рудах, применяются радиальные отстойники, оборудованные подвижными фермами для непрерывного сгребания шлама, что весьма важно, так как шлам имеет свойство спекаться. Шлам удаляется из отстойников постоянно работающими насосами.
Опыт эксплуатации радиальных отстойников подтвердил их несомненные преимущества. Эффект осветления в них достигает 90% - 95%. Однако и при высоком проценте осветления в оборотной воде цикла газоочистки содержится до 200 - 500 мг/л взвешенных веществ. Наличие в оборотной воде такого количества взвеси, имеющей способность к спеканию, предъявляет особые требования к конструкции оросительных устройств градирен.
Сталеплавильные цехи. В мартеновских печах этих цехов вода охлаждает заслонки и рамы завалочных окон, кессоны, перекидные клапаны и другие устройства. Вода циркулирует по закрытым трубкам и поэтому не загрязняется. После охлаждения ее вновь можно использовать, за исключением воды от дымовых клапанов, которая сбрасывается в канализацию.
Средний температурный перепад между подводимой и отходящей от мартеновских цехов водой составляет 15°C. Нагревшаяся вода собирается в приемных коробках, установленных на рабочих площадках печей, на высоте 7 - 8 м от спланированной поверхности и под этим напором может подаваться на охладитель.
В последнее время применяется испарительное охлаждение мартеновских печей. Подаваемая в теплообменники горячая вода за счет отбора тепла от охлаждаемых элементов образует пароводяную эмульсию, которая поступает в бак-сепаратор, где пар отделяется от воды и отводится для дальнейшего использования, а вода продолжает циркулировать в системе. Циркуляция происходит либо естественным путем за счет разности удельных весов воды и пароводяной эмульсии, либо при помощи насоса.
Подаваемая для испарительного охлаждения вода подвергается специальной химической очистке. В этом случае оборотное водоснабжение с охлаждением отработавшей воды в водоохладителях не применяется.
Водяное охлаждение при использовании испарительного охлаждения сохраняется в виде резерва для удовлетворения потребности одной или двух печей в зависимости от мощности цеха. Вода используется также для охлаждения мелких агрегатов в цехе - дымовых клапанов и др.
Прокатные цехи. По характеру водопотребления оборудование прокатных цехов можно разделить на три основные группы:
- нагревательные печи и колодцы, где слитки разогреваются перед их прокаткой;
- собственно прокатные станы;
- теплообменники для воздуха (и масла) в моторных помещениях двигателей основных станов.
В нагревательных колодцах и печах прокатных цехов вода расходуется для охлаждения примерно тех же деталей, что и в мартеновских печах. Вода циркулирует по закрытым трубкам, ничем не загрязняется и после охлаждения может быть вновь использована.
Эти агрегаты нетребовательны в отношении температуры поступающей воды, которая в отдельные периоды года может достигать 30°С - 32°C. Охлаждающая вода нагревается в печах и колодцах на 8°С - 12°С.
В отношении качества (состав, количество взвешенных веществ) к охлаждающей воде для нагревательных колодцев и печей прокатных цехов предъявляются те же требования, что и для доменных печей.
Значительное количество воды в современных прокатных цехах расходуется для воздухоохладителей и охлаждения масла в моторных помещениях машинных залов при станах, где расположены электродвигатели. Проходя закрытые противоточные аппараты, вода нагревается на 8°С - 15°С. Для обеспечения лучших условий работы электродвигателей температура охлаждающей воды для воздуха и масла не должна превышать 25°С - 28°С.
Часть подаваемой к прокатным станам воды поступает к валкам и подшипникам станов и охлаждает их, после чего сливается в подстановые каналы и используется для смыва окалины, которая осыпается с прокатываемого металла в цеховые отстойники. Для охлаждения подшипников станов следует подавать воду без механических примесей. В этих целях используется вода, подаваемая к печам и нагревательным колодцам, или отработанная вода, отходящая от этих агрегатов.
Обычно для прокатных цехов проектируется две системы оборотного водоснабжения - для чистой воды, используемой для охлаждения печей и нагревательных колодцев, воздухо- и маслоохладителей, и для воды, поступающей от станов. Различное качество оборотной воды определяет выбор разных типов охладителей: вентиляторных или башенных градирен с пленочным оросителем для чистого цикла и капельных или брызгальных градирен - для загрязненной воды.
К воде, используемой для охлаждения валков прокатных станов, не предъявляется особых требований как в отношении ее качества, так и температуры. Однако вода, используемая от смыва окалины, должна быть освобождена от окалины и смазочного масла, которое зачастую попадает в сточную воду, отходящую от прокатных цехов. С этой целью на металлургических заводах проектируются особые отстойники, в которых происходит осветление воды, т.е. освобождение от мелкой окалины, вынесенной из цеха, и следов масла.
1.2 Химическая промышленность, нефтепереработка и нефтехимия
Химическая промышленность характеризуется высоким уровнем потребления энергетических ресурсов. К особо энергоемким относятся производство масел, соды каустической и кальцинированной, удобрений, волокон и нитей химических, синтетических смол и пластических масс, синтетического каучука, этилена и пропилена, ацетилена, средств защиты растений, бутилового и изобутилового спиртов. В таблице 1.2 показано фактическое удельное потребление энергии на производство различных видов продукции химической промышленности в Российской Федерации.
|
Продукция |
Ед. изм. |
Электроэнергия, кВт·ч |
Теплоэнергия, тыс. ккал |
Топливо, кг у. т. | ||||||
|
2012 |
2013 |
2014 |
2012 |
2013 |
2014 |
2012 |
2013 |
2014 | ||
|
Переработка нефти, включая газовый конденсат |
на 1 т |
46, 4 |
44, 0 |
42, 9 |
134, 5 |
127, 2 |
123, 6 |
59, 3 |
56, 3 |
53, 1 |
|
первичная переработка нефти |
на 1 т |
17, 8 |
16, 8 |
17, 0 |
63, 2 |
61, 4 |
55, 4 |
31, 9 |
31, 3 |
29, 2 |
|
гидрокрекинг |
на 1 т |
66, 9 |
74, 6 |
66, 4 |
251, 5 |
266, 1 |
343, 3 |
114, 1 |
128, 6 |
103, 5 |
|
термический крекинг |
на 1 т |
13, 0 |
13, 3 |
12, 6 |
38, 0 |
35, 0 |
35, 5 |
33, 0 |
32, 0 |
30, 2 |
|
каталитический крекинг |
на 1 т |
95, 5 |
93, 2 |
88, 6 |
264, 7 |
258, 9 |
241, 7 |
72, 2 |
66, 7 |
66, 0 |
|
каталитический риформинг |
на 1 т |
82, 7 |
81, 1 |
86, 7 |
113, 6 |
122, 0 |
130, 8 |
98, 9 |
93, 9 |
98, 4 |
|
производство масел |
на 1 т |
323, 4 |
392, 4 |
320, 2 |
1552, 5 |
1866, 4 |
1515, 2 |
235, 3 |
280, 5 |
223, 3 |
|
коксование тяжелых нефтяных остатков |
на 1 т |
38, 9 |
40, 6 |
39, 5 |
145, 2 |
146, 7 |
149, 5 |
57, 0 |
58, 7 |
57, 5 |
|
гидроочистка |
на 1 т |
24, 1 |
24, 6 |
25, 0 |
39, 7 |
39, 0 |
35, 6 |
24, 4 |
22, 7 |
22, 7 |
|
каталитический риформинг для получения ароматических углеводородов |
на 1 т |
157, 3 |
155, 2 |
151, 4 |
499, 9 |
503, 5 |
499, 3 |
204, 7 |
212, 8 |
208, 7 |
|
парекс |
на 1 т |
211, 3 |
194, 7 |
186, 7 |
76, 3 |
78, 5 |
63, 4 |
57, 3 |
47, 0 |
49, 2 |
|
Переработка газа |
на 1 тыс. м3 |
118, 8 |
118, 5 |
125, 4 |
188, 2 |
178, 9 |
185, 0 |
20, 9 |
17, 8 |
18, 8 |
|
в том числе глубокая переработка газа |
на 1 тыс. м3 |
75, 0 |
73, 6 |
73, 6 |
33, 8 |
33, 3 |
33, 0 |
2, 0 |
3, 1 |
2, 1 |
|
Сера |
на 1 т |
63, 0 |
65, 8 |
79, 2 |
475, 9 |
484, 4 |
588, 1 |
86, 5 |
83, 4 |
87, 1 |
|
Серная кислота в моногидрате |
на 1 т |
106, 3 |
108, 1 |
113, 1 |
99, 6 |
108, 9 |
121, 5 |
5, 1 |
5, 9 |
9, 1 |
|
Аммиак синтетический |
на 1 т |
121, 1 |
115, 5 |
111, 0 |
122, 5 |
117, 9 |
110, 5 |
28, 6 |
24, 6 |
25, 5 |
|
Сода кальцинированная 100% (включая поташ и содопоташную смесь) |
на 1 т |
177, 4 |
170, 9 |
181, 6 |
1995, 2 |
1911, 1 |
1676, 2 |
76, 1 |
71, 4 |
76, 1 |
|
Сода каустическая твердая 100% (включая едкий калий) |
на 1 т |
1240, 4 |
1118, 6 |
1106, 1 |
1765, 6 |
1724, 2 |
1703, 2 |
38, 5 |
43, 2 |
41, 6 |
|
Калийные удобрения (в пересчете на 100% K2O) |
на 1 т |
273, 9 |
279, 5 |
243, 9 |
481, 1 |
538, 8 |
447, 9 |
24, 3 |
24, 9 |
21, 9 |
|
Фосфатные удобрения (в пересчете на 100% P2O5) |
на 1 т |
587, 2 |
533, 4 |
361, 6 |
2322, 4 |
2059, 0 |
1611, 5 |
57, 6 |
55, 1 |
43, 4 |
|
Карбамид (мочевина) в пересчете на 100% N2 |
на 1 т |
250, 5 |
245, 5 |
192, 0 |
1342, 3 |
1421, 5 |
1123, 2 |
14, 6 |
29, 0 |
21, 1 |
|
Аммиачная селитра |
на 1 т |
58, 6 |
56, 3 |
55, 8 |
393, 8 |
382, 8 |
325, 9 |
3, 1 |
2, 9 |
2, 8 |
|
Волокна и нити химические |
на 1 т |
2329, 4 |
2153, 1 |
2117, 5 |
2701, 0 |
2366, 3 |
2187, 7 |
57, 6 |
55, 6 |
48, 4 |
|
Синтетические смолы и пластические массы |
на 1 т |
733, 9 |
639, 8 |
639, 3 |
2827, 0 |
2751, 9 |
3141, 4 |
143, 7 |
141, 7 |
170, 1 |
|
Каучук синтетический |
на 1 т |
2600, 2 |
2487, 8 |
2648, 8 |
15357, 2 |
13887, 9 |
12980, 5 |
679, 5 |
670, 9 |
677, 0 |
|
Лакокрасочные материалы |
на 1 т |
172, 6 |
147, 7 |
198, 9 |
259, 6 |
205, 1 |
600, 3 |
12, 4 |
12, 5 |
46, 0 |
|
Этилен и пропилен |
на 1 т |
481, 4 |
423, 0 |
439, 1 |
2583, 9 |
2376, 8 |
2411, 2 |
313, 7 |
455, 7 |
380, 7 |
|
Ацетилен |
на 1 т |
2123, 6 |
2284, 3 |
2196, 6 |
4362, 5 |
4493, 7 |
4589, 3 |
- |
- |
- |
|
Средства защиты растений химические (пестициды) в 100% исчислении по действующему веществу |
на 1 т |
330, 8 |
339, 2 |
476, 2 |
315, 8 |
334, 5 |
501, 9 |
- |
- |
- |
|
Спирты бутиловый и изобутиловый |
на 1 т |
1649, 8 |
1993, 4 |
1940, 4 |
5345, 8 |
6318, 9 |
5863, 0 |
545, 6 |
620, 4 |
660, 4 |
|
Шины для грузовых автомобилей, автобусов и троллейбусов |
на 1 шт. |
52, 0 |
66, 2 |
63, 6 |
191, 3 |
243, 1 |
245, 0 |
0, 1 |
0, 1 |
0, 1 |
|
Шины для легковых автомобилей |
на 1 шт. |
18, 7 |
17, 7 |
18, 8 |
61, 1 |
53, 0 |
48, 5 |
0, 0 |
0, 0 |
0, 2 |
Технологические процессы во многих отраслях химической промышленности связаны с охлаждением разогретых жидких и газообразных продуктов. Охлаждение производится непосредственно водой или растворами.
Примером комбинированного охлаждения могут служить аммиачно-холодильные установки, где для целей охлаждения употребляется аммиак и соляной раствор, а вода расходуется для охлаждения рубашек компрессоров и конденсаторов для аммиака.
Для большинства установок химических заводов, где расходуется вода оборотных систем водоснабжения, характерным является применение ограниченного количества типов теплообменников и конденсаторов.
Основными типами являются:
- поверхностные теплообменники и конденсаторы, в которых охлаждаемый продукт и вода не соприкасаются друг с другом и где, как правило, вода не загрязняется продуктом;
- конденсаторы с разбрызгиванием охлаждающей воды непосредственно в продукт.
К числу поверхностных аппаратов относятся:
- трубчатые конденсаторы и теплообменники;
- погруженные конденсаторы и теплообменники;
- оросительные теплообменники.
Трубчатые конденсаторы и теплообменники представляют собой противотивоточные теплообменные аппараты, где по пучку трубок мелкого диаметра протекает обычно вода, а по межтрубному пространству движется охлаждаемый продукт.
Конденсаторы или теплообменники в виде труб или змеевиков, погруженных в бак с проточной водой, получили название погруженных. Отличаясь простотой устройства, аппараты этого типа весьма нетребовательны к качеству воды (жесткости и содержанию взвеси).
В том случае, если змеевики орошаются водой сверху, установки носят название оросительных. Теплообменники и конденсаторы этого типа более эффективны, так как в них, кроме отведения тепла за счет повышения температуры охлаждающей воды, охлаждение происходит и за счет испарения части воды.
Как отмечалось выше, в поверхностных аппаратах вода не соприкасается с охлаждаемым продуктом и, следовательно, ничем не загрязняется. Однако в результате разгерметизации теплообменников охлаждаемый продукт может попадать в воду, что необходимо учитывать при выборе типа водоохладителей.
Из аппаратов, у которых вода непосредственно вводится в продукт для его охлаждения, на предприятиях химической промышленности применяются смешивающие и барометрические конденсаторы. Вода в них, проходя через насадки, сопла или другие приспособления, из верхней части аппарата падает навстречу газообразному продукту.
Барометрические конденсаторы отличаются от смешивающих тем, что в них создается вакуум, который образуется за счет быстрой конденсации паров. В отдельных случаях, в зависимости от характера загрязнения, после соответствующей очистки и охлаждения вода после барометрических конденсаторов может быть повторно использована.
Общей и характерной чертой химических предприятий является наличие большого количества теплообменников и отдельных оборотных циклов водоснабжения, поскольку составные части газообразных продуктов конденсируются при различных температурах. Поэтому к температурам охлаждающей воды также предъявляются различные требования, определяемые технологами при расчете аппаратуры. Максимальное понижение температуры оборотной воды необходимо для аппаратов, которые при низких температурах воды обеспечивают большую конденсацию и лучшее извлечение продукта.
Так, например, в бензольных цехах коксохимических заводов количество улавливаемого бензола при температуре масла 25°С может достигать 90% от его содержания в газе, а если масло будет охлаждено до температуры 30, 35 или 40°С, количество улавливаемого бензола соответственно снизится до 86, 79 и 70%.
1.3 Тепловые и атомные электростанции
По данным Системного оператора ЕЭС за 2015 год ([51]) для производства электроэнергии в России применяются энергогенерирующие установки следующих типов:
- тепловые электростанции (ТЭС) - 68, 10% установленной электрической мощности;
- гидроэлектростанции (ГЭС) - 20, 34%;
- атомные электростанции (АЭС) - 11, 53%;
- прочие (СЭС, ВЭС) - 0, 03%.
Тепловые электростанции в свою очередь подразделяются на:
- конденсационные электростанции (КЭС) с паросиловыми установками (паровыми турбогенераторами) - 46, 3% от установленной электрической мощности ТЭС;
- теплоэлектроцентрали (ТЭЦ) - 37, 3%;
- газотурбинные (ГТУ) и парогазовые установки (ПГУ) - 16, 4%.
Все типы используемых в настоящее время тепловых электрогенерирующих энергоустановок, преобразующих энергию химических связей различных видов топлива в тепло, а затем в электроэнергию, нуждаются в организованном отведении избыточного тепла в окружающую среду. Общее количество крупных ТЭС и, соответственно, их систем охлаждения, составляло в России на конец 2015 года около трехсот пятидесяти.
В 2015 году тепловыми электростанциями России было потреблено около 250 млн. тонн условного топлива (или около 2013, 8 млн. МВт·ч топлива), при этом ТЭС произвели 671, 4 млн. МВт·ч электроэнергии и порядка 550 млн. МВт·ч тепла (1 млн. Гкал = 1, 163 млн. МВт·ч). Остальная энергия топлива - 792, 4 млн. МВт·ч или 39% - была отведена в окружающую среду в виде низкопотенциального тепла. Около 10% исходной энергии топлива (около 200 млн. МВт·ч) было отведено в атмосферу котельными установками с теплом дымовых газов, химическим и механическим недожогом, тепловыми потерями через обшивку котлов. Остальная часть энергии - 592, 4 млн. МВт·ч или около 29% энергии сожженного топлива, было отведено в окружающую среду системами охлаждения энергогенерирующих установок.
Все избыточное тепло от ТЭС и АЭС в конечном счете отводится в атмосферу, однако в качестве промежуточного теплоносителя между технологическим оборудованием и атмосферой, как правило, применяется вода. В среднем за год ТЭС России используют около 106 млрд. м3 воды, в том числе 80, 3 млрд. м3 из систем оборотного и повторного водоснабжения и 25, 6 млрд. м3 свежей воды из природных источников (по данным ведомственной отчетности Минэнерго России). Основной объем воды на ТЭС потребляется для конденсации пара в конденсаторах паровых турбин (до 90% всей потребности в воде). Для прочих нужд электростанции - подпитки котлов, охлаждения подшипников насосного оборудования, масла, газа и воздуха генераторов, транспорта золы и шлака и т.д. - используется сравнительно небольшая часть общего объема потребления воды.
Удельный расход воды на каждый произведенный 1 МВт·ч электроэнергии, зависит от типа применяемого генерирующего оборудования и составляет для паросиловой конденсационной ТЭС 160 - 250 м3, для газотурбинной ТЭС - в 3 раза меньше. Потребность в воде для производства электроэнергии на ТЭЦ существенно зависит от того, работает ТЭЦ в теплофикационном или конденсационном режиме. Среднее значение использования воды для производства 1 МВт·ч электроэнергии по России в 2015 году составило 158 м3, в том числе 38 м3 свежей воды. Температура воды, охлаждающей конденсаторы, определяет величину вакуума, непосредственно влияющую на количество вырабатываемой турбинами электроэнергии и на экономичность работы электростанции в целом. Повышение температуры охлаждающей воды на один градус ухудшает величину вакуума в конденсаторах на 0, 5%, что равноценно снижению мощности турбины на 0, 4% или перерасходу пара на 0, 5%.
Обычно величина нагрева воды в конденсаторах составляет 7°С - 9°C.
В конструктивном отношении воздухо- и газоохладители также являются поверхностными теплообменниками аналогично конденсаторам с той лишь разницей, что между трубками с охлаждающей водой проходит не пар, а подлежащий охлаждению воздух или водород. Температура подводимого к генератору воздуха не должна превышать 35°C - 37°C. По этой причине технические условия на поставку генераторов предусматривают температуру охлаждающей воды для систем воздухоохлаждения не выше 30°С - 33°С во избежание снижения мощности, отдаваемой генератором. Величина нагрева воды в воздухоохладителях составляет 4°С - 5°С.
Поверхностные теплообменники применяются и для охлаждения турбинного масла, используемого для смазки подшипников турбогенераторов и регулирующих механизмов. Маслоохладители обычно требуют подачи воды с температурой не выше 25°С - 30°С.
Для химической очистки воды, питающей котлы, и гидравлического удаления золы и шлаков используется часть теплой циркуляционной воды, получаемой после охлаждения конденсаторов.
Вода в конденсаторах, воздухо- и газоохладителях не загрязняется. В маслоохладителях вода может загрязняться нефтепродуктами через неплотности теплообменной поверхности. Закрытая система охлаждения конденсаторов позволяет легко решать вопросы, связанные с подачей отработанной воды на водоохладительные сооружения. При использовании градирен или брызгальных бассейнов вода подается к конденсаторам под таким напором, чтобы на выходе из них сохранился остаточный напор, способный обеспечить подачу теплой воды на охладитель.
Потребности АЭС в охлаждении и отведении неутилизируемого тепла значительно выше по сравнению с ТЭС одинаковой мощности. Это связано с более низкими параметрами и с наличием других охлаждающих устройств, не характерных для ТЭС. Система технического водоснабжения, осуществляющая функции охлаждения, во многом определяет надежность и экономичность работы АЭС. Капиталовложения в ее сооружение оцениваются на уровне 10% от стоимости строительства АЭС.
Основные источники сбросного тепла на АЭС:
а) конденсаторы паровых турбин (основных и вспомогательных);
б) маслоохладители и воздухоохладители турбогенераторов;
в) охлаждение подшипников насосов и других вспомогательных агрегатов;
г) теплообменники вентиляционных систем;
д) теплообменники доохлаждения продувочной воды парогенератора;
е) теплообменники бассейнов выдержки и перегрузки;
ж) теплообменники расхолаживания реактора;
з) теплообменники доохлаждения продувочной воды реактора;
и) теплообменники автономных контуров охлаждения ГЦН;
к) охладители радиоактивных проб воды и пара, отбираемых для анализа;
Наиболее ответственные потребители осуществляют охлаждение через промежуточный контур. Соотношение давлений потребителей в промежуточном контуре и в системе технического водоснабжения устанавливается таким, чтобы исключить распространение радиоактивности за пределы станции. Если в качестве источника технического водоснабжения используется морская вода, то по прямому назначению она может использоваться лишь для охлаждения конденсаторов турбин, масло- и воздухоохладителей, у всех остальных потребителей охлаждение должно идти через промежуточный контур.
Более 90% расхода технической воды на АЭС потребляют конденсаторы турбин. Охлаждение конденсаторов турбин осуществляется по независимой от других охладителей системе и называется системой технического водоснабжения низкого давления. Для охлаждения ответственных потребителей сооружаются свои системы среднего и высокого давления, не зависящие от работы системы низкого давления.
Учитывая большие потребности в технической воде, источник технического водоснабжения является определяющим при выборе места строительства АЭС. Чем ниже температура охлаждающей воды, тем выше экономичность и надежность АЭС.
1.4 Компрессорные станции
По принципу работы компрессоры можно разделить на объемные и динамические. К компрессорам объемного действия относятся поршневые и винтовые, а к динамическим - центробежные.

Рисунок 1.3 - Типы компрессоров*(1)
Процесс сжатия любых газов связан с повышением его температуры. Для того чтобы температура сжимаемого газа, выходящего из компрессора, не превышала допустимого предела для нормальной, экономичной и безопасной работы компрессора (140°С - 160°C), применяется охлаждение сжимаемого газа - воздушное и/или водяное. Воздушное охлаждение малоэффективно и используется преимущественно в компрессорах малой производительности. Чаще применяется оборотное водяное охлаждение компрессоров.
Система охлаждения компрессоров не предъявляет особых требований к температуре подаваемой воды. В зависимости от величины расхода нагрев воды может достигать 10°С - 25°С. Желательно, чтобы температура нагретой воды не превышала 40°С - 45°С для того, чтобы не происходило выпадение солей временной жесткости и образование накипи на охлаждаемой поверхности.
Если охлаждающая вода содержит большое количество солей, рекомендуется применять двухступенчатую или двухконтурную системы охлаждения. При такой системе охлаждения рубашки компрессоров охлаждает химически очищенная вода, циркулирующая по закрытой, замкнутой сети (первого контура), снабженной поверхностным теплообменником. Вода второго контура используется, в свою очередь, для охлаждения поверхностного теплообменника, после чего она поступает на водоохладитель.
Компрессоры применяются в промышленности очень широко, практически во всех отраслях промышленности.
В электроэнергетике мощные компрессоры применяются для обеспечения необходимого давления топливного газа перед газотурбинными установками.
На нефтепромыслах до недавнего времени было принято сжигать на факелах попутный нефтяной газ, образующийся в результате первичной обработки нефти и перед ее подачей в трубопровод. В настоящее время введено государственное регулирование, в соответствии с которым доля попутного газа, которая может быть сожжена в факелах, ограничивается. Для сжигания попутного газа его необходимо компримировать. Как правило, рабочее давление на нагнетании компрессора на промысле составляет 2 - 5 МПа. Для этих целей в большинстве случаев используются поршневые компрессоры с газопоршневым приводом. Единичная мощность такого компрессорного агрегата составляет 150 - 3500 кВт. Топливом для привода служит перекачиваемый газ.
Еще одной задачей для нефтепромысловых объектов является поддержание пластового давления с помощью закачки газа в пласт. В качестве газа может быть использован попутный газ, иногда воздух. Рабочее давление компрессора для этих целей составляет 15 - 35 МПа. На давно эксплуатируемых месторождениях для повышения дебита скважин применяется газлифтный способ добычи, когда течение нефти в трубу интенсифицируется потоком газа, подаваемого в пласт через другую скважину.
На газопромысловых объектах компрессоры необходимы для обеспечения стабильных параметров газа при подаче его в газопровод, поскольку со временем дебит скважины и пластовое давление снижаются. Для этих целей применяются поршневые (для средних и малых месторождений) и центробежные (для крупных месторождений) компрессоры со сменными проточными частями.
Поршневые компрессоры с газопоршневым приводом широко применяются для транспорта газа (на небольших магистралях) и для технологий его первичной переработки на месторождениях. Единичная мощность таких компрессорных установок бывает от 50 кВт до 6 МВт и могут иметь от одной до 4 ступеней сжатия.
Основные месторождения газа в России расположены на значительном расстоянии от крупных потребителей. Подача газа к ним осуществляется по газопроводам. При прохождении газа по трубам его давление снижается. Например, при расходе газа 90 млн. нм3/сут по трубе диаметром 1400 мм давление убывает с 7, 6 до 5, 3 МПа на участке 110 км. Поэтому транспортировать природный газ в достаточном количестве и на большие расстояния только за счет естественного пластового давления невозможно. Для этой цели необходимо строить компрессорные станции (КС), которые устанавливаются на трассе газопровода через каждые 100 - 200 км.
В настоящее время только на магистральных газопроводах газотранспортной системы России эксплуатируется более 4 тыс. компрессоров общей установленной мощностью порядка 40 млн. кВт.
Перед подачей газа в магистральные газопроводы его необходимо подготовить к транспорту на головных сооружениях, которые располагаются около газовых месторождений. Подготовка газа заключается в очистке его от механических примесей, осушке от газового конденсата и влаги, а также удалении, при их наличии, побочных продуктов: сероводорода, углекислоты и т.д.
При падении пластового давления около газовых месторождений строят так называемые дожимные компрессорные станции, где давление газа перед подачей его на КС магистрального газопровода поднимают до уровня 5, 5 - 7, 5 МПа. На магистральном газопроводе около крупных потребителей газа сооружаются газораспределительные станции для газоснабжения потребителей.

Рисунок 1.4 - Схема газопровода и изменения давления и температуры газа вдоль трассы ([56])
На газопроводах в качестве привода КС используются газотурбинные установки, электродвигатели и газомотокомпрессоры - комбинированные агрегаты, в которых привод поршневого компрессора осуществляется от коленчатого вала двигателя внутреннего сгорания. Вид привода компрессорных станций и ее мощность, в основном, определяются пропускной способностью газопровода. Для станций подземного хранения газа, где требуются большие степени сжатия и малые расходы, используются газомотокомпрессоры, а также газотурбинные агрегаты типа "Солар" и ГПА-Ц-6, 3, которые могут обеспечивать заданные степени сжатия. Для газопроводов с большой пропускной способностью наибольшее применение находят центробежные нагнетатели с приводом от газотурбинных установок или электродвигателей.
С ростом пропускной способности газопроводов за счет увеличения диаметра трубы и рабочего давления растет температура газа, протекающего по трубопроводу. Для повышения эффективности работы газопровода и, прежде всего, для снижения затрат энергии на транспортировку газа необходимо на выходе каждой КС устанавливать аппараты воздушного охлаждения газа. Снижение температуры газа необходимо еще и для сохранения изоляции трубы. Для уменьшения затрат мощности КС на перекачку газа, увеличения пропускной способности газопровода и экономии энергоресурсов на перекачку газа всегда выгодно поддерживать максимальное давление газа в трубопроводе, снижать температуру перекачиваемого газа за счет его охлаждения на станциях, использовать газопроводы большего диаметра, периодически осуществлять очистку внутренней поверхности трубопровода.
Современная компрессорная станция (КС) - это сложное инженерное сооружение, обеспечивающее основные технологические процессы по подготовке и транспорту природного газа.

Рисунок 1.5 - Принципиальная схема компоновки основного оборудования компрессорной станции ([56])
На магистральных газопроводах различают три основных типа КС по их функциональному назначению: головные компрессорные станции, линейные компрессорные станции и дожимные компрессорные станции.
Головные компрессорные станции устанавливаются непосредственно по ходу газа после газового месторождения. По мере добычи газа происходит падение давления в месторождении до уровня, когда транспортировать его в необходимом количестве без компремирования уже нельзя. Поэтому для поддержания необходимого давления и расхода строятся головные компрессорные станции. Их назначением является создание необходимого давления технологического газа для его дальнейшего транспорта по магистральным газопроводам. Принципиальным отличием таких станций от линейных станций является более высокая степень сжатия.
Линейные КС устанавливаются на магистральных газопроводах, как правило, через каждые 100 - 200 км. Назначением КС является компремирование поступающего на станцию природного газа. Тем самым обеспечивается постоянный заданный расход газа по магистральному газопроводу. В России строятся линейные газопроводы в основном на давление 5, 5 МПа и 7, 5 МПа.
Дожимные компрессорные станции (ДКС) устанавливаются на подземных хранилищах газа (ПХГ). Назначением ДКС является подача газа в подземное хранилище газа от магистрального газопровода и отбор природного газа из подземного хранилища (как правило, в зимний период времени) для последующей подачи его в магистральный газопровод или непосредственно потребителям газа. ДКС строятся также на газовом месторождении при падении пластового давления ниже давления в магистральном трубопроводе. Отличительной особенностью ДКС от линейных КС является высокая степень сжатия 2 - 4, улучшенная подготовка технологического газа (осушители, сепараторы, пылеуловители), поступающего из подземного хранилища с целью его очистки от механических примесей и влаги, выносимой с газом.
Рядом с потребителями газа строятся газораспределительные станции (ГРС), где газ редуцируется до необходимого давления (1, 2; 0, 6; 0, 3 МПа) перед подачей его в сети газового хозяйства.
Компремирование газа на КС приводит к повышению его температуры на выходе станции. Численное значение этой температуры определяется ее начальным значением на входе КС и степенью сжатия газа.
Излишне высокая температура газа на выходе станции, с одной стороны, может привести к разрушению изоляционного покрытия трубопровода, а с другой стороны - к снижению подачи технологического газа и увеличению энергозатрат на его компремирование (из-за увеличения его объемного расхода).
Определенные специфические требования к охлаждению газа предъявляются в северных районах страны, где газопроводы проходят в зоне вечномерзлых грунтов. В этих районах газ в целом ряде случаев необходимо охлаждать до отрицательных температур с целью недопущения протаивания грунтов вокруг трубопровода. В противном случае это может привести к вспучиванию грунтов, смещению трубопровода и, как следствие, возникновению аварийной ситуации.
Охлаждение технологического газа можно осуществить в холодильниках различных систем и конструкций; кожухотрубных (типа "труба в трубе"), воздушных компрессионных и абсорбирующих холодильных машинах, различного типа градирнях, воздушных холодильниках и т.д.
Большую часть механического оборудования нефтеперерабатывающих, газоперерабатывающих и нефтехимических производств составляет компрессорное оборудование различного назначения, применяемое в основном технологическом цикле и вспомогательных производствах:
- циркуляционные компрессоры, обеспечивающие стабильный расход процессного газа по замкнутому контуру для поддержания необходимых параметров рабочего процесса в технологических установках (например, циркуляция водородсодержащего газа в циклах установок гидроочистки);
- питающие компрессоры, обеспечивающие подачу процессного газа в реактор;
- дожимающие компрессоры (бустеры);
- компрессоры товарных газов (например, метана).
Наибольшее распространение на заводах нефте- и газопереарботки получили поршневые и центробежные компрессоры с электроприводом.
Воздухоразделительные установки различного назначения - еще одна достаточно специфическая область применения компрессорного оборудования. Независимо от типа используемых технологических процессов разделения воздуха они требуют подачи сжатого воздуха.
Крупные системы охлаждения применяются при производстве сжиженного природного газа (СПГ). Обычно сжижение природного газа высокого давления при температуре окружающей среды производится в серии теплообменников (испарителей холодильных машин), которые обеспечивают последовательное охлаждение, полное сжижение и некоторое переохлаждение. Очистка и фракционирование реализуются, как и основное охлаждение, под высоким давлением. Установки сжижения являются крупными потребителями энергии. Эта энергия обычно производится за счет потребления части сжижаемого газа (в тепловом эквиваленте около 12%).
1.5 Целлюлозно-бумажная промышленность
В России имеется 212 предприятий, производящих целлюлозно-бумажную продукцию, из которых 17 крупных предприятий (более 100 тыс. т товарной продукции в год) выпускают 79, 9% общего объема продукции, средние предприятия (14 единиц, годовая мощность 50 - 100 тыс. т) производят 9, 5% продукции. Оставшиеся 10, 6% выпускаемых бумаги, картона и изделий из них приходятся на долю 181 предприятия.
Производство целлюлозно-бумажной продукции является высокоэнергоемким. В таблице 1.3 показано фактическое удельное потребление энергии на производство 1 т бумаги и картона в Российской Федерации.
|
Вид продукции |
Электроэнергия, кВт·ч |
Теплоэнергия, тыс. ккал |
Топливо, кг у. т. | ||||||
|
2012 |
2013 |
2014 |
2012 |
2013 |
2014 |
2012 |
2013 |
2014 | |
|
Бумага |
894, 3 |
903, 4 |
861, 3 |
1650, 2 |
1583, 9 |
1592, 4 |
8, 9 |
9, 2 |
8, 7 |
|
Картон |
574, 5 |
537, 3 |
522, 7 |
1795, 3 |
1722, 8 |
1719, 7 |
4, 2 |
3, 7 |
3, 0 |
Технологические процессы производства целлюлозно-бумажной продукции, связанные со значительным использованием тепловой и электрической энергии, описаны в справочнике НДТ ИТС 1-2015 "Производство целлюлозы, древесной массы, бумаги, картона".
Для обеспечения технологическим паром, теплом, электроэнергией на предприятиях имеются ТЭЦ, кородревесные энергетические котлы, содорегенерационные котлы и другое энергетическое оборудование. Используются все виды топлива, такие как природный газ, уголь, мазут. Высока доля использования возобновляемых источников энергии - биотоплива, включая кородревесные отходы, черный щелок, осадки очистных сооружений.
Поскольку потребляемая энергия не входит в состав производимой продукции, она практически в полном объеме отводится в окружающую среду как за счет неорганизованного теплообмена, так и системами охлаждения.
В этой главе приводится классификация и краткое описание ПСО, применяемых в российской промышленности.
2.1 Классификация ПСО
В промышленности применяется достаточно много типов ПСО, различающихся между собой как принципом действия, так и конструкцией. Единой общепризнанной классификации ПСО не существует. В технической литературе используются разнообразные классификации ПСО, построенные на основании их различных признаков и характеристик:
а) по типу охлаждающего агента (теплоносителя):
- водные ПСО - в качестве охлаждающего агента используется вода (в любом ее виде - вода, пар или пароводяная смесь);
- газовые (в частности, воздушные, водородные и т.д.) ПСО - в качестве охлаждающего агента используется газообразное вещество (водород, воздух и т.д.);
- ПСО с использованием специальных хладагентов или иных теплоносителей - в качестве охлаждающего агента могут использоваться хладагенты (фреоны) или иные теплоносители (расплавы металлов или солей, растворы различных веществ и т.д.);
- гибридные (смешанные) ПСО;
б) по схеме движения охлаждающего агента:
- прямоточные ПСО - охлаждающий агент (теплоноситель) используется однократно, т.е. после передачи тепла от технологического оборудования или от рабочего тела охлаждающий агент сбрасывается в окружающую среду (открытый цикл использования теплоносителя);
- оборотные ПСО - охлаждающий агент используется многократно, т.е. после передачи тепла от технологического оборудования или от рабочего тела охлаждающий агент не сбрасывается в окружающую среду, а используется повторно (закрытый или замкнутый цикл использования теплоносителя);
- ПСО с повторным (последовательным) использованием охлаждающего агента - охлаждающий агент полностью или частично после передачи тепла от техно логического оборудования или от рабочего тела повторно (последовательно) используется для охлаждения других систем или механизмов (повторный или последовательный цикл использования охлаждающего агента). Данные системы фактически являются прямоточными;
- комбинированные (прямоточно-оборотные) ПСО - часть охлаждающего агента после передачи тепла от технологического оборудования или от рабочего тела сбрасывается в окружающую среду, а часть повторно используется для охлаждения тех же систем или механизмов (комбинированный цикл использования охлаждающего агента). Данные системы могут обладать свойствами и характеристиками систем прямоточных, оборотных и с повторным (последовательным) использованием охлаждающего агента. Комбинированная система применяется, как правило, в тех случаях, когда источник водоснабжения в отдельные периоды года не может обеспечить производственный объект достаточным количеством охлаждающей воды, а также с целью снижения объемов забора свежей воды из водных объектов или сброса тепла в водные объекты. Это вызывает необходимость полного или частичного перехода на оборотную систему с включением в работу всех имеющихся или части охладителей. Различные типы охладителей могут соединяться в одной системе как последовательно, так и параллельно. К комбинированным системам также относятся прямоточные ПСО, в которых организована подача части нагретой воды на вход ПСО, причем эта часть может достигать десятков процентов от расхода циркуляционной охлаждающей воды;
в) по типу контура охлаждения:
- открытые - охлаждающий агент находится в контакте с окружающей средой;
- замкнутые (или закрытые) - охлаждающий агент циркулирует в закрытом контуре и не контактирует с окружающей средой.
г) по количеству последовательно соединенных контуров:
- одноконтурные;
- двухконтурные и т.д.
д) оборотные системы классифицируются по типам применяемых охладителей - оборотные системы с водоемами-охладителями, градирнями различных типов, брызгальными бассейнами. В качестве водоемов-охладителей могут применяться наливные, русловые и отсечные водоемы (пруды, водохранилища). Основные типы применяемых градирен разделяются по методу создания потока охлаждающего воздуха: атмосферные, башенные с естественной тягой, вентиляторные с принудительной тягой или наддувом, эжекционные;
е) по схемам включения охладителей и объектов охлаждения: последовательные, параллельные и смешанные.
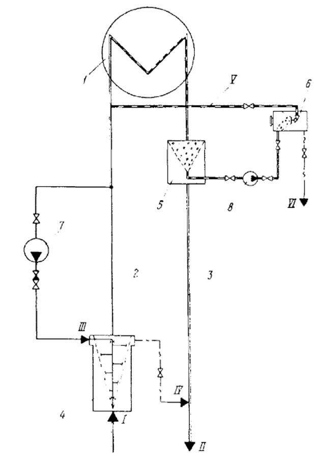
Прямоточная водная ПСО (рисунок 2.1, а) характеризуется забором охлаждающей воды с естественной температурой из реки, озера или моря. Подогретая в теплообменных аппаратах вода сбрасывается через отводящую сеть ниже по течению, не возвращаясь к водозабору.

Рисунок 2.1 - Системы технического водоснабжения ТЭС ([53]):
а - прямоточная, б - оборотная с водоемом-охладителем.
Оборотная система технического водоснабжения (рисунок 2.1, б) характеризуется многократным использованием циркуляционной воды с охлаждением ее в охладителях различного типа и с восполнением потерь воды в системе из источника водоснабжения. В качестве охладителей циркуляционной воды в оборотных системах водоснабжения применяются водоемы-охладители, градирни различного типа, брызгальные бассейны или их сочетания.
Иногда в качестве отдельной категории ПСО выделяют непрямые двухконтурные системы охлаждения. Их характерным признаком является наличие между охлаждаемым технологическим оборудованием и охладителем, передающим тепло в окружающую среду, промежуточного оборотного контура. В принципе, ПСО любого типа может быть прямой или непрямой, поэтому наличие промежуточного контура охлаждения рассматривается в справочнике НДТ как один из возможных методов повышения экологической безопасности любых систем охлаждения, а непрямые системы с промежуточным контуром не выделяются в качестве отдельного класса ПСО.
Необходимо отметить, что все применяемые классификации не позволяют однозначно классифицировать конкретную конструкцию ПСО. Это связано с тем, что для каждой конкретной конструкции ПСО можно говорить лишь о преобладании определенных физических процессов, на использовании которых организована теплопередача в данной конструкции, над другими. Так в воздушных радиаторных системах широко используется орошение радиаторов водой, в системах, традиционно относимых к испарительным, существенная часть тепла отводится путем нагревания воздуха, проходящего через градирню, градирни с естественной тягой могут оснащаться вспомогательными вентиляторами, и т.д. В связи с этим любая классификация ПСО будет достаточно условной, определяемой в большей степени ее функциональным назначением.
В данном справочнике НДТ используется классификация ПСО, приведенная на рисунке 2.2. Она направлена на решение конкретной задачи идентификации НДТ ПСО и на разделение применяемых конструкций ПСО на классы, имеющие сходные показатели воздействия на окружающую среду, энергоэффективности и потребления природных ресурсов.

Рисунок 2.2 - Классификация ПСО, применяемых в Российской Федерации
Исходя из данной классификации, в справочнике НДТ рассмотрены следующие 10 типов систем охлаждения, применяемых российской промышленностью:
- прямоточные водные системы охлаждения;
- оборотные водные ПСО с брызгальными бассейнами;
- оборотные водные ПСО с водоемами-охладителями;
- оборотные водные ПСО с атмосферными градирнями;
- оборотные водные ПСО с башенными испарительными градирнями (с естественной тягой);
- оборотные водные ПСО с вентиляторными испарительными градирнями (с принудительной тягой или под наддувом);
- оборотные водные ПСО с эжекционными градирнями;
- воздушные ПСО с радиаторными градирнями с естественной тягой;
- воздушные ПСО с вентиляторными радиаторными градирнями (с принудительной тягой или под наддувом);
- комбинированные ПСО.
Остальные применяемые конструкции ПСО не выделяются в отдельные классы, а рассматриваются как вариации основных типов ПСО, перечисленных выше.
Некоторые технические и термодинамические характеристики наиболее распространенных промышленных систем охлаждения приведены для сравнения в таблице 2.1. Эти данные- ориентировочные, полученные при некоторых допущениях (см. примечания к таблице). Важно учитывать, что значения недоохлаждения могут изменяться и зависеть в значительной степени от конструкции теплообменника и характеристик окружающей среды. Соответственно изменятся и минимальные достижимые конечные температуры рабочей среды.
|
Система охлаждения |
Охлаждающая среда (агент) |
Основной принцип охлаждения |
Минимальное недоохлаждение, °С(4) |
Минимальная достижимая температура охлаждения охлаждаемой среды(5)°С |
Мощность ПСО по отводимому теплу, МВт (тепл) |
|
Прямоточная водная ПСО (одноконтурная) |
Вода |
Теплопроводность и конвекция |
3 - 5 |
18 - 20 |
От < 0.01 до > 2000 |
|
Прямоточная водная ПСО (двухконтурная) |
Вода |
Теплопроводность и конвекция |
6 - 10 |
21 - 25 |
От < 0.01 до > 1000 |
|
Оборотная водная ПСО с испарительными градирнями (одноконтурная) |
Вода(1) Воздух (2) |
Испарение(3) |
6 - 10 |
27 - 31 |
От < 0.1 до > 2000 |
|
Оборотная водная ПСО с испарительными градирнями (двухконтурная) |
Вода(1) Воздух(2) |
Испарение(3) |
9 - 15 |
30 - 36 |
От < 0.1 до > 200 |
|
ПСО с радиаторными градирнями или аппаратами воздушного охлаждения |
Воздух |
Теплопроводность, конвекция |
10 - 15 |
40 - 45 |
От < 0.1 до 100 |
Примечания к таблице 2.1:
1) В этих ПСО вода является вторичным охлаждающим агентом. Тепло передается в атмосферу с водяным паром.
2) Воздух является охлаждающим агентом, с которым тепло отводится в окружающую среду.
3) Для этих ПСО испарение является основным механизмом теплопередачи. Тепло также передается путем теплопроводности и конвекции, но в меньшей доле.
4) Должны быть добавлены недоохлаждения теплообменника и градирни.
5) Конечные температуры зависят от климатических характеристик (приведены данные для средних центральноевропейских климатических условий: температура сухого термометра 30°C, мокрого термометра 21°C, температуры воды 15°C).
6) Производительность ПСО может достигать более высоких значений при комбинировании нескольких охлаждающих устройств.
При применении непрямых (двухконтурных) систем указанное недоохлаждение увеличивается на 3 - 5 K, что приведет к повышению температуры технологического оборудования.
|
Охладитель |
Удельная тепловая нагрузка на единицу площади поверхности охлаждения, кВт/ м2 |
Разность температур воды после и до охладителя, °С |
Разность температур охлажденной воды и атмосферного воздуха по мокрому термометру, °C |
|
Вентиляторные градирни |
93 - 116 и выше |
3 - 20 |
4 - 5 |
|
Водоемы-охладители |
0, 23 - 0, 47 |
5 - 10 |
6 - 8 |
|
Башенные испарительные градирни |
70 - 116 |
5 - 15 |
8 - 10 |
|
Эжекционные градирни |
97 и выше |
5 - 40 |
2 - 4 |
|
Атмосферные градирни |
8, 1 - 17, 4 |
5 - 10 |
10 - 12 |
|
Брызгальные бассейны |
5, 8 - 23 |
5 - 10 |
10 - 12 |
|
Радиаторные (воздушные) градирни |
- |
5 - 10 |
20 - 35 |
Примеры в таблицах 2.1, 2.2 показывают, что различным типам систем охлаждения соответствуют различные температуры отводимого тепла. По причинам высоких значений необходимой площади теплообменной поверхности и соответствующих капитальных затрат, воздушные системы охлаждения обычно не используются для очень больших мощностей, тогда как водные системы могут применяться для отведения до 2000 МВт и более тепла.
Недоохлаждение прямоточных систем равно сумме температурного напора и повышению температуры охлаждающей воды. Термин "температурный напор" означает разность температур между температурой пара, входящего в конденсатор (или конденсата, покидающего конденсатор) и температурой охлаждающего агента (воды) на выходе из конденсатора. Обычно встречающиеся на практике значения представлены в таблице 2.3.
|
Система охлаждения |
Недоохлаждение, °С |
Мощность производственного процесса, МВт (тепл) |
|
Прямоточные системы |
13 - 20 (температурный напор 3 - 5) |
< 2700 |
|
Открытые испарительные (мокрые) градирни |
7 - 15 |
< 2700 |
|
Открытые гибридные градирни (в Российской Федерации не применяются) |
15 - 20 |
< 2500 |
|
Воздушные конденсаторы |
15 - 25 |
< 900 |

Рисунок 2.3 - График среднемесячных температур воды при прямоточном и оборотном водоснабжении с охладителями различных типов ([14])
Далее приведены описания принципов действия, конструкций и технических характеристик промышленных систем охлаждения, применяемых в Российской Федерации.
2.2 Прямоточные водные системы охлаждения
В прямоточных водных системах охлаждения вода подается из водного объекта (реки, озера, моря) через открытые подводящие каналы непосредственно к производственному объекту. После теплообменников или конденсаторов нагретая вода сбрасывается в поверхностный водный объект. Тепло передается от технологического оборудования к охлаждающему веществу - воде через разделительную стенку в виде труб в трубчатом теплообменнике или в виде пластин в пластинчатом теплообменнике.

Рисунок 2.4 - Схема прямоточной системы охлаждения
Прямоточные системы бывают, главным образом, большой производительности охлаждения (> 1000 МВт (тепл)), но могут иметь и небольшую производительность (<10 кВт). Типичные для крупных электростанций расходы воды для отведения 1 МВт (тепл) находятся в диапазоне от 0, 02 м3 /с (при нагреве воды в конденсаторе на 12°C) до 0, 034 м3 /с (при нагреве воды на 7°C). Прямоточные системы позволяют достичь наиболее низких конечных температур охлаждения с уровнем недоохлаждения 3°С - 5°C.
Экологические аспекты прямоточных систем:
- использование (но не безвозвратное изъятие из водных объектов) больших объемов воды;
- тепловое воздействие на водные объекты, в результате которого возможно недопустимое повышение температуры воды водного объекта;
- риск повреждения и гибели рыбы и других водных организмов в результате их попадания в ПСО;
- потребление энергии, главным образом, циркуляционными насосами;
- риск утечек охлаждаемого вещества в водные объекты в случае, если охлаждается экологически опасное вещество;
- образование твердых отходов на мусорозадерживающих решетках на водозаборе.
Прямоточные системы, как правило, используются для охлаждения крупных производственных объектов в энергетике, химической промышленности и на нефтеперерабатывающих заводах. Вода, используемая для прямоточного охлаждения, забирается, главным образом, из поверхностных водоемов. Для небольших систем, например, охлаждения компрессоров, насосов, может использоваться водопроводная или подземная вода. Наличие надежного и достаточно холодного источника воды вблизи промышленной площадки является существенным условием для применения прямоточных систем. На применимость также может оказывать влияние качество воды поверхностного водоема и ограничения по объемам сброса тепла, но обычно качество воды реже является ограничивающим фактором, чем в случае оборотных систем.
Иногда прямоточные системы применяются в комбинации с градирнями или другими охладителями с целью охлаждения сбросной воды перед ее выпуском в поверхностный водоем. В качестве дополнительного охладителя также применяются брызгальные устройства. Эти дополнения к прямоточным системам применяются в качестве аварийного средства понижения температуры сбросной воды в ситуациях:
- при возможности циркуляции нагретой воды к водозабору при определенных природных явлениях (периодические течения, нагонные явления), что может приводить к повышению температуры воды на водозаборе этой же самой или другой промышленной установки;
- в качестве аварийного средства снижения температуры сбросной воды при аномально высоких температурах воды водных объектов;
- для снижения температуры в периоды особой чувствительности гидробионтов к температуре воды (нерест, миграции).

Рисунок 2.5 - Схема прямоточной системы охлаждения с градирней на выпуске
В качестве еще одного варианта прямоточных ПСО применяются двухконтурные прямоточные системы. Этот вариант конструкции охлаждения подобен прямой одноконтурной прямоточной системе, однако в нем отсутствует прямая передача тепла от технологического оборудования к охлаждающему веществу, которое отводится в окружающую среду. Тепло передается от рабочей среды или оборудования в замкнутый вторичный контур, и затем, через дополнительные теплообменники - охлаждающей воде, поступающей в поверхностный водоем.
С двухконтурным прямоточным охлаждением могут быть достигнуты практически столь же низкие конечные температуры технологического оборудования, но из-за наличия дополнительного теплообменника недоохлаждение может увеличиться на 3°С - 5°С в зависимости от эффективности теплообменника.
Риск поступления веществ из технологического процесса в поверхностный водоем для данной конструкции - минимальный, поэтому непрямая прямоточная система охлаждения воды может использоваться в случаях, когда утечка охлаждаемого вещества (например, масла, химических веществ) в охлаждающую воду создает недопустимо высокие риски для окружающей среды.

Рисунок 2.6 - Схема двухконтурной (непрямой) прямоточной системы охлаждения
Прямоточные ПСО очень широко применяются в промышленности Российской Федерации и в мире. В таблице 2.4 приведены сведения о количестве электростанций, применяющих различные типы ПСО (по данным отраслевой отчетности Минэнерго России за 2014 год). Изданных таблицы видно, что прямоточные и комбинированные (применяющие прямоточные системы охлаждения к части оборудования) системы применяются на более чем половине тепловых и атомных электростанций. Доля производства электроэнергии и установленной мощности электростанций с прямоточными и комбинированными ПСО существенно превышают половину, поскольку такими системами охлаждения оснащены наиболее крупные электростанции, в то время как оборотные ПСО применяются в основном на ТЭЦ, расположенных в населенных пунктах, вблизи от потребителей тепла.
|
Тип ПСО |
АЭС |
ГРЭС |
ТЭЦ |
ГЕОЭС |
ТЭС |
ВСЕГО |
Доля в общем количестве, % | |
|
Прямоточная |
1 |
15 |
40 |
2 |
4 |
62 |
25% | |
|
Комбинированная |
1 |
17 |
49 |
- |
4 |
71 |
28% | |
|
Оборотная |
8 |
25 |
81 |
- |
3 |
117 |
47% | |
|
ВСЕГО |
10 |
57 |
170 |
2 |
11 |
250 |
100% | |
В таблице 2.5 приведены сведения о применении различных типов ПСО на ТЭС и АЭС США за 2004 - 2014 годы и доля установленной электрической мощности (Nэл) ТЭС и АЭС, использующих данные типы ПСО, в общей установленной электрической мощности. Доля электростанций, использующих прямоточные системы, постепенно снижается и по количеству (2004 год - 43%, 2014 год - 35%), и по установленной мощности (2004 год - 39%, 2014 год - 36%). Тем не менее, количество применяемых в США прямоточных систем значительно.
|
Год |
Прямоточные системы |
Оборотные ПСО с водоемами-охладителями |
Оборотные системы охлаждения с градирнями различного типа |
Воздушные системы охлаждения |
Гибридные системы охлаждения |
Прочие типы систем охлаждения | ||||||
|
Колич. |
Доля в Nэл, % |
Колич. |
Доля в Nэл, % |
Колич. |
Доля в Nэл, % |
Колич. |
Доля в Nэл, % |
Колич. |
Доля в Nэл, % |
Колич. |
Доля в Nэл, % | |
|
2004 |
794 |
39% |
178 |
15% |
812 |
43% |
41 |
2% |
1 |
0, 02% |
27 |
2% |
|
2005 |
782 |
38% |
171 |
15% |
810 |
44% |
41 |
2% |
2 |
0, 05% |
27 |
2% |
|
2006 |
762 |
38% |
171 |
15% |
814 |
44% |
43 |
2% |
2 |
0, 05% |
28 |
2% |
|
2007 |
757 |
37% |
170 |
14% |
823 |
44% |
43 |
2% |
2 |
0, 05% |
28 |
2% |
|
2008 |
746 |
37% |
162 |
14% |
823 |
45% |
44 |
2% |
2 |
0, 05 % |
24 |
2% |
|
2009 |
730 |
37% |
162 |
14% |
833 |
46% |
56 |
2% |
3 |
0, 09% |
12 |
1% |
|
2010 |
759 |
38% |
176 |
14% |
868 |
44% |
60 |
2% |
4 |
0, 20% |
21 |
2% |
|
2011 |
724 |
37% |
179 |
14% |
875 |
45% |
61 |
2% |
4 |
0, 20% |
21 |
2% |
|
2012 |
667 |
37% |
159 |
12% |
883 |
46% |
64 |
2% |
5 |
0, 21% |
27 |
3% |
|
2013 |
609 |
36% |
152 |
12% |
855 |
46% |
66 |
2% |
5 |
0, 21% |
22 |
3% |
|
2014 |
585 |
36% |
147 |
13% |
829 |
46% |
68 |
2% |
5 |
0, 22% |
33 |
4% |
2.3 Оборотные водные ПСО
Основным классификационным признаком оборотных водных ПСО является многократное использование циркуляционной воды для целей охлаждения.
Оборотные водные ПСО, как правило, включают следующие сооружения и оборудование:
- водозаборные и водоочистные сооружения, используемые для очистки забираемой воды от водорослей, мусора и т.п., при заборе воды из водного объекта рыбохозяйственного значения - рыбозащитные устройства;
- насосные станции с установленными в них насосными агрегатами и вспомогательным оборудованием;
- водяной тракт теплообменных аппаратов;
- охладители циркуляционной воды (различные комбинации различных градирен, водоемов-охладителей, брызгальных бассейнов);
- соединительные трубопроводы;
- оборудование для отведения продувочных вод (насосы, трубопроводы, каналы);
- система управления ПСО.
Обобщенная схема открытой оборотной водной системы охлаждения показана на рисунке 2.7.

Рисунок 2.7 - Схема оборотной водной системы
В этих системах охлаждающая циркуляционная вода проходит через теплообменник (или теплообменники), затем охлаждается в охладительном устройстве, где основная часть тепла отводится в атмосферу. В градирнях нагретая вода распределяется по оросительному устройству градирни и охлаждается в результате тепломассообменных процессов с атмосферным воздухом, затем собирается в бассейне, из которого перекачивается циркуляционными насосами обратно к источнику тепла и вновь используется в качестве охлаждающего вещества. Поток охлаждающего воздуха может создаваться естественным образом (ветер), либо создается естественной тягой через башню градирни или посредством вентиляторов, которые нагнетают или вытягивают воздух через градирню. Охлаждение воды происходит в результате испарения небольшой части охлаждающей воды, а также через конвективное охлаждение воды воздухом. При положительных температурах окружающего воздуха испарительные градирни передают в атмосферу приблизительно 80% тепла в виде скрытого тепла (тепла, пошедшего на испарение части циркуляционной воды) и около 20% - за счет теплопередачи от воды к воздуху (тепла, пошедшего на повышение температуры воздуха).
Большая часть воды, которая охлаждается в градирне, циркулирует и может вновь использоваться в качестве охлаждающего агента. В оборотных испарительных системах происходят безвозвратные потери воды - испарение, капельный унос, продувка системы и потери с дренажными водами через плотины водоемов-охладителей, из бассейнов градирен и т.п. Продувка ПСО - это выпуск части циркуляционной воды из оборотного цикла для предотвращения ее чрезмерного засоления. Для компенсации потерь циркуляционной воды необходимо постоянно выполнять подпитку ПСО добавочной водой. В связи с этим открытые оборотные испарительные ПСО потребляют достаточно большие объемы воды.
Главным образом открытые оборотные системы имеют производительность в пределах 1 - 100 МВт (тепл), но имеются примеры систем и с намного большими мощностями.
Общие экологические аспекты водных оборотных систем любой конструкции:
- основным путем отведения тепла является испарение воды, поэтому для таких систем характерны наиболее высокие объемы безвозвратного потребления воды;
- в циркуляционной воде оборотной системы происходит постепенный рост концентрации солей, что создает риск возникновения отложений на теплообменных поверхностях. Предотвращение этих негативных процессов требуют сброса части циркуляционной воды (продувка системы) в поверхностный водоем и химической обработки циркуляционной воды;
- потребление электроэнергии насосами и вентиляторами;
- выбросы загрязняющих веществ в атмосферу;
- образование парового факела, что может приводить при определенных условиях к негативным воздействиям на сооружения и окружающую среду в районе расположения ПСО;
- шум;
- занятие земель для размещения охладителей;
- риски влияния на здоровье людей в связи с возможным развитием в ПСО патогенных микроорганизмов.
Интенсивность этих аспектов в основном зависит от типа применяемых охладителей.
Оборотные водные системы применяются практически во всех отраслях промышленности. В основном они используются при отсутствии вблизи промышленного объекта достаточно крупного водного объекта, позволяющего применить прямоточную систему охлаждения, или там, где дальнейший рост тепловой нагрузки на водный объект недопустим.
|
Показатель |
Тип градирни | |||
|
вентиляторные |
башенные |
атмосферные |
воздушные радиаторные | |
|
Удельная тепловая нагрузка, кВт/ м2 |
93 - 175 |
70 - 120 |
35 - 60 |
0, 25 - 2 |
|
Перепад температур воды, °С |
3 - 20. |
5 - 15 |
5 - 10 |
5 - 10 |
|
Температура охлажденной воды (среднегодовая), °С |
16 -18 |
21 - 23 |
26 - 28 |
30 - 32 |
|
Глубина охлаждения воды t2 – t1, °С |
4 - 5 |
8 - 10 |
10 - 12 |
20 - 35 |
|
Выбросы в окружающую среду, отнесенные к 1 м3 охлаждаемой воды: | ||||
|
тепла с паровым факелом, МДж/ч |
12 - 80 |
20 - 60 |
20 - 40 |
20 - 40 |
|
воды с капельным уносом и продувкой, м3 /ч (не более) |
0, 035 |
0, 03 |
0, 02 | |
|
Выбросы загрязнений с капельным уносом и продувкой, кг/ч, до: | ||||
|
- органических веществ |
0, 01 |
0, 007 |
0, 007 |
- |
|
- минеральных солей |
0, 3 |
0, 2 |
0, 17 |
- |
|
- механических примесей |
0, 01 |
0, 007 |
0, 007 |
- |
|
Потребление свежей воды, отнесенное к 1 м3 циркуляционной воды, м3 /ч (не более)* |
0, 05 |
0, 04 |
0, 03 |
0, 02** |
|
Примечания * Без учета потерь оборотной воды, отбираемой из ПСО на технологические нужды. ** На увлажнение воздуха в наиболее жаркие дни. | ||||
Далее описаны оборотные водные системы с различными типами охладителей.
2.3.1 ПСО с башенными испарительными градирнями
Башенные испарительные градирни - наиболее широко используемый тип охладителя. В испарительных охладителях охлаждение воды происходит в результате ее испарения при непосредственном контакте с воздухом (испарение 1% воды снижает ее температуру на 6°C). Поток воздуха создается за счет разности плотностей воздуха с различной температурой внутри и снаружи вытяжной башни. Теоретическим пределом охлаждения воды в испарительных градирнях является температура атмосферного воздуха по мокрому термометру, которая, в зависимости от влажности воздуха, может быть ниже температуры по сухому термометру на несколько градусов.
Башенные градирни обладают более высокой и устойчивой охлаждающей способностью, чем брызгальные бассейны или водоемы-охладители, и требуют меньшей площади для их размещения.
В то же время при расположении испарительных градирен на площадке предприятия следует обеспечивать беспрепятственный доступ атмосферного воздуха к ним и благоприятные условия для отвода увлажненного воздуха, выбрасываемого из градирен. По этим соображениям не рекомендуется располагать градирни в окружении высоких зданий или на близком расстоянии от них. Расстояние должно быть более полуторной высоты зданий. При этом необходимо учитывать розу ветров и направление зимних ветров для предупреждения увлажнения и обмерзания зданий и сооружений вблизи градирен.
По условиям надежности, удобства и экономичности эксплуатации рекомендуется сооружать от 2 до 12 секций или отдельных градирен в одном оборотном цикле водоснабжения.
Конструкция
Башенные градирни состоят из следующих основных элементов: вытяжной башни, оросительного устройства (кроме брызгальных градирен), подводящих напорных водоводов, системы водораспределения, каплеуловителя, водосборного бассейна, отводящих трубопроводов циркуляционной и продувочной воды, противообледенительного устройства. Гидравлическая нагрузка на башенные градирни равна 7-10 м3 /(м2 ·ч).
В брызгальном варианте башенной градирни, т.е. при отсутствии оросителя и охлаждении воды при помощи разбрызгивающих сопл, плотность орошения (гидравлическая нагрузка) бывает ниже - не более 5 м3 /(м2 ·ч).
Вытяжная башня
Вытяжная башня выполняется или из стального каркаса с внутренней обшивкой, или из монолитного или сборного железобетона. Форма вытяжной башни может быть гиперболической, конической или пирамидальной. Вытяжные башни из монолитного железобетона строятся, как правило, гиперболической формы - наиболее рациональной в аэродинамическом и экономическом отношениях.
По условиям предотвращения разрушения конструкционных материалов температура воды, поступающей на градирни, не должна, как правило, превышать 60°C. При температуре поступающей воды выше 60°С применяются защитные покрытия конструкций или специальные термоустойчивые материалы.
При применении башенных градирен в районах с суровыми зимними условиями эксплуатация их затрудняется из-за возможности обмерзания. Во избежание обледенения конструкций градирен при отрицательной температуре наружного воздуха необходимо поддерживать температуру охлажденной воды не ниже уровня 10°С - 12°С. Кроме того, воздуховходные окна оборудуются щитами (поворотными, навесными или шандорными) для регулирования входящего в градирню воздуха в зимний период. По периметру башни на уровне верха воздуховходного окна может быть уложен кольцевой трубопровод с горячей водой. Кроме того, для условий зимней эксплуатации возможно применение предварительного нагрева или циркуляции охлаждающего воздуха.
Система распределения воды
Вода из теплообменника поступает в градирню через специальную систему водораспределения. Ее цель - увеличение площади контакта циркуляционной воды с воздухом. Для этого система водораспределения создает мелкие капли. Однородность распределения увеличивает интенсивность теплообмена. Если нужно понизить производительность системы охлаждения возможно отключение части системы водораспределения.
Опыт применения брызгальных градирен вместо градирен с пленочным оросителем показал, что при напоре циркуляционной воды у сопл 5 - 6 м вод. ст. недоохлаждение воды составляет 3°С - 4°С при всех прочих равных условиях. При этом имеет место также большой вынос мелких капель воды вместе с выходящими из башен потоками воздуха. Последнее ограничивает возможность повышения напора сопл и связано с необходимостью установки водоулавливающих устройств.
Водораспределительное устройство башенных градирен выполняется напорным. Магистральные трубы водораспределительного устройства - стальные. Ответвления от магистральных труб (рабочие трубы) могут быть асбестоцементными, пластмассовыми или стальными. На ответвлениях труб устанавливаются разбрызгивающие пластмассовые сопла. Водораспределительное устройство рассчитывается так, чтобы обеспечивать нормальную работу градирен в широком диапазоне удельных гидравлических нагрузок.
Ороситель
Ороситель - важная часть открытой испарительной градирни, создающая поверхность контакта для теплообмена между водой и воздухом. В зависимости от конструкции оросительного устройства и способа, которым достигается увеличение поверхности соприкосновения воды с воздухом и типом применяемого оросителя, градирни подразделяются на пленочные, капельные, комбинированные капельно-пленочные и брызгальные.
Каждый из указанных видов градирен может иметь разнообразные конструкции отдельных элементов оросительного устройства, отличаться их размерами, расстояниями между ними и может быть выполнен из различных материалов.
Наиболее существенными характеристиками, которые необходимо учитывать при выборе оросителей, являются стоимость, стабильность охлаждающих параметров, аэродинамическое сопротивление, устойчивость к биообрастанию, срок службы оросителя, ремонтопригодность, пожаробезопасность.
В брызгальных градирнях ороситель отсутствует. Увеличение поверхности теплообмена достигается за счет разбрызгивания воды. Эти градирни менее эффективны по сравнению пленочными и капельными, так как площадь контакта воды и воздуха в них меньше.
Пленочный ороситель обычно состоит из плотно упакованных гофрированных вертикальных листов или листов из органических материалов, которые побуждают воду стекать вниз в виде тонкой пленки. Этот ороситель очень эффективен и может использоваться для большинства применений.
Капельный ороситель применяется в различных конструкциях и может быть сделан из множества материалов. Капельный ороситель имеет намного более низкую эффективность, чем пленочный, но используется в ситуациях, где вода загрязнена и при этом у пленочного оросителя могут быть проблемы из-за загрязнения поверхности. Если содержание взвешенных вещества высоко, то используются также цементноволокнистые плиты.
Комбинированные капельно-пленочные оросители имеют достаточно высокие характеристики эффективности, при этом оставаясь устойчивыми к загрязнению.
Удельная гидравлическая нагрузка на градирни определяется технологическими расчетами в зависимости от расчетных параметров атмосферного воздуха при заданном проценте обеспеченности, требуемых перепадов температуры воды, расчетных температур охлажденной воды и выбранного вида и конструкции градирен.
Ориентировочно для градирен, расположенных в средней полосе России, удельная гидравлическая нагрузка равна, м3 /(м2 ·ч), при оросителе:
- пленочном 8 - 12
- капельном 6 - 10
- брызгальном 5 - 6
При наличии в оборотной воде взвесей в сочетании с маслами и нефтепродуктами, образующих на элементах оросителя трудноудаляемые отложения, рекомендуется применять градирни брызгального типа. Такого же типа градирни рекомендуется применять при возможности выделения из оборотной воды карбоната кальция в виде накипи на элементах оросителя в больших количествах, угрожающих его обрушением.
Оросители башенных градирен в настоящее время, как правило, изготавливаются из различных пластмасс: полипропилена, поливинилхлорида, полиэтилена высокой плотности, различных стеклопластиков и др. Относительные преимущества изготовления оросителей из пластмасс заключаются в высокой прочности и долговечности, малом удельном весе, низком аэродинамическом сопротивлении, возможности изготовления самых разнообразных конфигураций, предназначенных для работы в конкретных условиях.
По ранее действовавшим строительным правилам ороситель изготавливался из плоских или волнистых асбестоцементных листов в один или два яруса, а также из деревянных блоков. Поэтому достаточно много действующих градирен имеют такую конструкцию.

Рисунок 2.8 - Блок современного капельно-пленочного оросителя
Каплеуловитель (водоуловитель, сепаратор капельного уноса)
Для экономии воды выше системы водораспределения устанавливают каплеуловители, которые препятствуют тому, чтобы водяные капли уносились из градирни потоком воздуха. Капельные потери без каплеуловителя в зависимости от давления воды в водораспределительной системе могут составлять от 0, 5 до 1, 5% циркуляционного расхода. При установке каплеуловителя эти потери снижаются до 0, 01% - 0, 05%. По результатам опроса среднее значение потерь воды с уносом по ПСО с башенными испарительными градирнями составило 0, 43% (от 0, 01% до 1, 5%).
В настоящее время сепараторы уноса выполняются, как правило, из синтетических пластмасс и выполняются таким образом, чтобы создавать минимальное аэродинамическое сопротивление.
Срок службы пластмассового водоуловителя составляет около 25 лет. Ранее каплеуловители изготавливались также из антисептированных деревянных элементов со сроком службы не более 5 лет.
Каплеуловители устанавливают на расстоянии около 0, 5 - 2 м над водораспределительными системами. Скорость движения воздуха в створе перед каплеуловителем не следует принимать более 3 м/с во избежание значительного повышения уноса капель.
Применение в водных системах охлаждения токсичных ингибиторов коррозии, а также использование сточных вод в качестве подпитки в системы оборотного водоснабжения накладывает ограничения на величину выноса капельной влага из градирен, так как в атмосферном воздухе в районе градирен образующиеся аэрозоли могут содержать вредные вещества в недопустимых концентрациях. В связи с этим эффективная работа каплеуловителей становится особенно важной.
Башенные градирни могут оснащаться вспомогательными вентиляторами (рис. 2.11), которые обеспечивают воздушный поток при неблагоприятных условиях высоких температур наружного воздуха, при необходимости кратковременного увеличения производительности градирни.
Область и ограничения применения
Башенные испарительные градирни имеют следующие характеристики, определяющие их область применения:
- инвестиционные затраты высоки при относительно низких эксплуатационных затратах;
- значительная высота (40 - 100 м) может создавать препятствие для авиации, радиоволн;
- за счет отсутствия вентиляторов относительно низкое потребление электроэнергии;
- обычно применяется для отвода тепловой мощности более 200 МВт, для крупных технологических установок, таких как электростанции или крупные химические заводы;
- испарительные градирни обеспечивают более глубокое охлаждение воды по сравнению с воздушными радиаторными и могут быть выполнены из более дешевых материалов.

Рисунок 2.9 - Башенная градирня с естественной вентиляцией и противоточным движением потоков воды и воздуха ([9])

Рисунок 2.10 - Башенная градирня с естественной вентиляцией и перекрестными потоками воды и воздуха ([9])
2.3.2 Вентиляторные испарительные градирни
Вентиляторные испарительные градирни применяются в системах оборотного водоснабжения, требующих устойчивого и глубокого охлаждения воды, при высоких удельных гидравлических и тепловых нагрузках, при необходимости сокращения объема строительных работ, маневренного регулирования температуры охлажденной воды средствами автоматизации.
Конструкция
Технологическая схема вентиляторной градирни включает следующие основные элементы: оболочку (корпус), состоящую из каркаса, обшитого листовым материалом, водораспределительное устройство, ороситель, каплеуловитель, водосборный бассейн, подводящие и отводящие трубопроводы и вентиляторную установку.
Испарительные градирни с принудительной тягой применяются в виде различных конструкций. В этих градирнях применяется широкое разнообразие материалов в зависимости от размера и типа, а также требований относительно занимаемой площади, срока службы и капиталовложений. Крупные градирни могут быть построены из железобетона, более мелкие - главным образом из синтетических материалов, стальных листов, стальных конструкций. Также возможно использование модульной системы, т.е. нескольких параллельно подключенных градирен в одном корпусе. В этом случае систему можно эксплуатировать самым экономичным способом, вводя в эксплуатацию часть элементов в зависимости от внешних условий и объема отводимого тепла.
Устройство систем распределения воды, оросителей и каплеуловителей могут незначительно отличаться от аналогичных систем в градирнях с естественной тягой, но принципы их работы одни и те же.

Рисунок 2.11 - Башенная градирня с естественной вентиляцией и вспомогательными вентиляторами ([9])
Вентиляторы
Вентиляторы используются в градирнях для создания воздушного потока. В зависимости от требований вентиляторы имеют различный диаметр, размеры лопаток и расположение. Для привода вентиляторов возможно применение одно- или многоскоростных двигателей, повышающих маневренность ПСО. Выбор типа вентилятора и электродвигателей для их привода влияет на потребление электроэнергии и уровень шума градирни. В зависимости от места установки вентиляторов (на входе или выходе воздушного тракта градирен) различают градирни, работающие под наддувом и под разрежением.
Градирни с принудительной тягой обычно используются там, где местные условия ограничивают высоту сооружений ПСО.
Вентиляторные градирни под наддувом
Характеристики градирни под наддувом:
- вентилятор располагается внизу градирни и проталкивает воздух через нее;
- тепловая производительность может изменяться ступенчато или непрерывно;
- применяются градирни с одним и многими вентиляторами;
- для размещения градирни требуется меньшая площадь, чем для градирни с естественной тягой;
- используют встречные потоки воды и воздуха (противоток);
- может находить широкое разнообразие применений: больших потоков отводимого тепла, для базовой и пиковой нагрузки;
- может применяться для отведения тепловой мощности от менее 100 кВт до более 100 МВт;
- капиталовложения ниже по сравнению с градирнями с естественной тягой;
- при использовании градирен с принудительной тягой должны соблюдаться ограничения относительно шума.


Рисунок 2.12 - Схема вентиляторной противоточной градирни ([10])

Рисунок 2.13 - Схема поперечнопоточной градирни с отсасыванием воздуха вентилятором ([10])
Области и ограничения для применения
Вентиляторные градирни обеспечивают более глубокое охлаждение воды, чем охладители других типов. Они позволяют также осуществить регулирование температуры охлажденной воды за счет отключения отдельных вентиляторов или изменения частоты их вращения. Применение вентиляторных градирен может быть экономически целесообразно в случаях, когда стоимость дополнительно выработанной электростанцией энергии, связанной с более низкими температурами охлажденной воды, больше стоимости энергии, затрачиваемой вентиляторами. На вентиляторные градирни допускается удельная тепловая нагрузка 335 - 419 МДж/(м2·ч) [80 - 100 тыс. ккал/(м2·ч) ] и выше, на башенные, в зависимости от высоты башни, - удельная нагрузка 251 - 419 МДж/(м2·ч)) [60 - 100 тыс. ккал/(м2·ч)]. На атмосферные градирни допускается удельная тепловая нагрузка 29, 3 - 62, 6 МДж/(м2·ч) [7 - 15 тыс. ккал/(м2·ч)].
Общие характеристики вентиляторных испарительных градирен, значимые для области их применения:
- относительно простая конструкция (готовые элементы, возможна заводская сборка);
- размер градирни ограничен, требует меньше места, чем градирни с естественной тягой;
- производительность системы охлаждения может быть количество применяемых секционных градирен;
- прямое потребление энергии считается низким;
- используется для различных типов нагрузок: пиковых и базовых;
- применяется для мощности отводимого тепла от 100 МВт и выше;
- капиталовложения относительно низки по сравнению с градирнями с естественной тягой;
- при использовании испарительных градирен с принудительной тягой должны учитываться ограничения относительно шума.
2.3.3 Эжекционные градирни
Эжекционные градирни могут рассматриваться в качестве альтернативы вентиляторным и башенным испарительным градирням. Их основное отличие заключается в том, что для создания потока воздуха в эжекционных градирнях используется явление эжекции воздуха потоком воды вместо башен и вентиляторов. Для этого используются специальные эжекционные форсунки в совокупности с направляющими устройствами для водо-воздушных потоков.
Явление эжекции заключается в передаче части кинетической энергии от среды, движущаяся с большой скоростью, к среде с более низкой скоростью. В процессе смешения двух сред происходит выравнивание их скоростей. В случае эжекционной градирни эжектирующей средой является циркуляционная вода, эжектируемой - воздух.

Рисунок 2.14 - Пример конструкции эжекционной градирни*(2)
Эжекционная градирня работает следующим образом: по коллектору циркуляционная вода подается к эжекционным форсункам и распыляется ими в эжекционные каналы специальной формы. Смешиваясь с воздухом, циркуляционная вода охлаждается и самотеком поступает в приемную емкость.

Рисунок 2.15 - Коллектор циркуляционной воды с форсунками эжекционной градирни*(3)
Применяемые конструкции эжекционных градирен различаются их производительностью, направлением водо-воздушных потоков, количеством и конструкцией форсунок. Воздуховыходная шахта градирни оснащается каплеуловителем.
Для снижения аэродинамического сопротивления проточной части градирни выхлопной канал имеет конфузорно-диффузорную форму.
В качестве преимуществ эжекционных градирен перед вентиляторными отмечают:
- температура охлажденной воды на 2°С - 3°С выше температуры мокрого термометра;
- при правильном проектировании годовые затраты электроэнергии эжекционной градирней сопоставимы с затратами вентиляторной градирни;
- производительность эжекционных градирен достаточно легко регулировать производительностью насосного оборудования, изменяя теплосъем градирни в зависимости от тепловой нагрузки и параметров атмосферного воздуха. Возможна организация автоматического регулирования. При этом может быть получена значительная, % до 50%, экономия электроэнергии, потребляемой градирней;
- потери циркуляционной воды соответствуют потерям вентиляторных градирен: на капельный унос - 0, 01%, на испарение - 1% на каждые 5°С охлаждения;
- нетребовательность к качеству циркуляционной воды, отсутствие ограничений по температуре воды на входе, стабильная эффективность работы в любое время года;
- более низкая стоимость и простота эксплуатации эжекционных градирен (длительный гарантийный срок службы форсунок, отсутствие вентилятора, оросителя) обеспечивают ежегодную экономию для предприятия на профилактических и ремонтных работах. Форсунки могут очищаться без вывода градирни из эксплуатации.

Рисунок 2.16 - Пример конструкции каркасной эжекционной градирни высокой производительности*(3)
|
Показатель |
Ед. изм. |
Значение | |
|
Расход циркуляционной воды |
тыс. м3/ч |
0, 005 - 50 и более | |
|
Необходимое избыточное давление воды |
МПа (кгс/см2 ) |
0, 1 - 0, 5 (1 - 5) | |
|
Разность температур воды на входе и выходе из градирни (без рециркуляции) |
°С |
8 - 10 и более | |
|
Максимальная глубина охлаждения (величина превышения температуры охлажденной воды над температурой воздуха по смоченному термометру) |
°С |
2 - 4 | |
|
Потери воды: - на испарение - на каплеунос |
% |
До 1 До 0, 01 | |
|
Удельная электрическая мощность электрооборудования на 1 м3/ч проектного расхода циркуляционной воды |
кВт |
0, 175 | |
|
Удельные капитальные затраты на строительство (на 1 м3/ч проектной производительности) |
тыс. руб |
6 - 7 | |
|
Срок эксплуатации |
год |
До 25 | |
|
Уровень шума на уровне воздуховходного окна |
дБ |
до 75 | |
Отмечается, что при увеличении рабочего давления воды расходные характеристики и охлаждающая способность градирен могут быть улучшены.
Были представлены сообщения о примерах переоборудования башенных и вентиляторных градирен в эжекционные градирни.
Башенная испарительная градирня Каргалинской ТЭЦ АО "Оренбургская ТГК" с естественной тягой и площадью орошения 324 м2 (БГ 324-64-4) была реконструирована с заменой вытяжной башни и внедрением элементов эжекционной градирни. При реконструкции в контур градирни был добавлен дополнительный коллектор с эжекционными форсунками, расположенными по периметру градирни; группа насосов повысителей, забирающих воду из возвратного трубопровода или напрямую из бассейна градирни и подающих ее на эжекционный коллектор. В результате реконструкции была повышена проектная производительность градирни с 2800 до 5300 м3/ч, теплопроизводительность с 27 до 59, 5 Гкал/ч, температурный перепад вырос и 7°С - 9°С до 10°С.
Имеются примеры компактных эжекционных башенных градирен высокой производительности от 2000 м3/ч и более.
2.3.4 Атмосферные градирни
Открытые атмосферные градирни используются преимущественно в системах охлаждения с расходом циркуляционной воды от 10 до 500 м3/ч, при удельной тепловой нагрузке 29, 3 - 62, 6 МДж/(м2·ч) [7 - 15 тыс. ккал/(м2·ч)], обеспечивая охлаждение воды на 5°C - 10°C. По условиям надежности отведения тепла они применяются для промышленных установок, допускающих снижение подачи воды не более 10 сут, а перерыв в подаче воды на время выключения поврежденных и включения резервных элементов или проведения ремонта, не более чем на 6 ч. Возможная эксплуатационная температура наружного воздуха - до -30°С.

Рисунок 17.16 Атмосферная градирня ([10]):
1 - ороситель; 2, 3 - системы распределения воды; 4 - воздухонаправляющие жалюзи; 5 - водосборный бассейн.
Атмосферные градирни могут обеспечивать достаточно высокую производительность по отводимому теплу, не требуют затрат электроэнергии на подачу воздуха, характеризуются простотой строительных конструкций, условий эксплуатации и ремонта. Однако их применение ограничивается возможностью размещения на площадке, свободно продуваемой ветром, а также допустимостью кратковременного повышения температуры охлаждаемой воды в период слабого ветра или штиля.
Высота оросителя открытой капельной градирни принимается не более 10 м, занимаемая площадь в плане - до 80 м2.
Распределение воды по площади оросителя осуществляется в виде, как правило, двухзонной напорной трубчатой системы с водоразбрызгивающими соплами. Верхняя зона используется в летних условиях, нижняя - в зимних.
Направление ветра в зимний период по возможности должно обеспечивать унос паров и капель воды в сторону от близко расположенных сооружений и дорог.
Значимые экологические и прочие аспекты атмосферных градирен:
- относительно высокий уровень потерь воды с каплеуносом, зависящий от силы ветра;
- требовательность к отсутствию препятствий для ветра вокруг градирни приводит к необходимости отведения для градирни достаточно большой площади;
- при химической обработке циркуляционной воды возможно загрязнение почвы вокруг градирни, хотя площадь возможного загрязнения невелика;
- падение капель создает шум;
- низкий уровень эксплуатационных и капитальных затрат.
2.3.5 Оборотные ПСО с водоемами-охладителями
По назначению, расположению и условиям питания водоемы-охладители разделяются на следующие группы:
- русловые водохранилища на водотоках;
- водоемы-охладители на естественных озерах и прудах;
- наливные искусственные пруды, сооружаемые вне водотока, с подпиткой из ближайших водных объектов;
- отсечные водоемы, представляющие собой часть природного водного объекта, отделенного от него дамбой.
Свободная поверхность водохранилища-охладителя не вся одинаково эффективно участвует в отдаче тепла, поступающего с нагретой циркуляционной водой. Количество тепла, отводимого с единицы площади того или иного участка поверхности водохранилища, зависит от температуры воды на этом участке. Схема циркуляции в водохранилище-охладителе определяется его формой, взаимным расположением водосбросных и водоприемных сооружений, а также струераспределительными и струе-направляющими сооружениями.
При проектировании крупных водохранилищ-охладителей с глубинами, достигающими десятков метров, и с объемами воды в сотни миллионов кубических метров следует учитывать, что кроме градиентных течений, вызываемых сбросом циркуляционного расхода и поступлением речной воды, в водохранилищах имеют место также ветровые, плотностные и компенсационные течения.
Ветровые течения приводят к сгону воды от подветренной стороны водоема и к нагону ее у наветренной стороны. Возникающий при этом горизонтальный градиент давления, направленный в сторону, противоположную ветру, вызывает один из видов глубинных компенсационных течений.
Известно, что вода имеет максимальную плотность при температуре 4°C, а при нагревании ее плотность уменьшается. Передача тепла в водную толщу за счет молекулярной диффузии и теплопроводности весьма слаба. Поэтому при прогреве верхних слоев воды возникает температурная стратификация: температура воды на поверхности оказывается выше, чем в глубинных слоях, и эта разница достигает иногда 10°С и более. При выпуске теплой воды на поверхность водохранилища может возникнуть устойчивая разница температур воды в верхних нижних слоях и произойти расслоение потоков, имеющих различною плотность. В этом случае возникают верхнее теплое и глубинное холодное течения, которые могут быть разнонаправленными. Такие течения называются плотностными.
При сбросе нагретой воды в водохранилище у сбросных сооружений часто наблюдается понижение температуры воды на несколько градусов. Это объясняется тем, что нагретая вода, если она выходит в водохранилище со значительными скоростями, эжектирует массы холодной воды из придонных слоев и вовлекает их в циркуляционный поток. Этот смешанный поток, имея меньшую плотность, чем придонные слои, выходит на поверхность, а по направлению к сбросным сооружениям возникает глубинный ток холодной воды, являющийся вторым видом компенсационных течений.
Важной характеристикой водоемов-охладителей является коэффициент использования площади водохранилища, равный отношению активной зоны, участвующей в процессе теплообмена к общей площади акватории водоема. Этот коэффициент в зависимости от формы водохранилища, схемы расположения водосбросных и водоприемных сооружений и условий растекания циркуляционного потока может иметь значения от 0, 5 до 0, 95. Чтобы распределить транзитный поток циркуляционной воды по возможно большей части поверхности водохранилища и создать площадь активной зоны, достаточную для охлаждения расчетного расхода, нагретую на промышленном предприятии воду сбрасывают на значительном расстоянии от водоприемных сооружений, а также применяют струенаправляющие и струераспределительные сооружения.
Исследованиями установлено, что в больших и глубоких водохранилищах-охладителях, которые сооружаются, например, для современных мощных теплоэлектростанций, возможно создание объемной циркуляции воды. Для этого необходимо организовать прием воды только из глубинных слоев водохранилища, а нагретую воду сбрасывать на поверхность водохранилища с малыми скоростями. Тогда можно располагать сбросные сооружения вблизи водоприемных и даже совмещать их в одном сооружении. При этом нагретая вода, имеющая меньшую плотность, чем холодная, растекается по поверхности водохранилища и, охлаждаясь, переходит в глубинные слои, которые движутся к водоприемным сооружениям. Такая схема циркуляции позволяет отказаться от длинных отводящих каналов и струенаправляющих сооружений при высоком коэффициенте использования площади водохранилища.
Тепловой расчет водохранилища-охладителя производится для определения температуры охлажденной воды у места ее приема при заданной площади активной зоны или для определения необходимой площади активной зоны водохранилища при заданных тепловой и гидравлической нагрузках. Для ориентировочных расчетов можно принимать необходимую площадь водохранилища-охладителя в метеорологических условиях средней полосы России от 30 до 50 м2 для охлаждения 1 м3/ч воды на 8°С - 10°С, что соответствует гидравлической нагрузке 0, 02 - 0, 033 м3/ч на 1 м2 активной площади водоема.
Место расположения водосбросных и водоприемных сооружений, а также сооружений, увеличивающих активную зону водохранилища (струераспределительных и струенаправляющих сооружений), выбирают исходя из условий получения необходимой площади активной зоны на основе технико-экономических расчетов и компьютерного моделирования. Струенаправляющие и струераспределительные сооружения выполняют в виде водосливов, лотков, труб, консольных водосбросов. Струераспределительные сооружения обычно выполняют в виде затопленных водосливов распластанного профиля либо в виде фильтрующих дамб из каменной наброски. Такие сооружения обеспечивают выпуск теплой воды на поверхность водохранилища с малыми скоростями, что предотвращает появление глубинного течения к водосбросу.
Наиболее рациональным типом сооружения для забора воды из водохранилища-охладителя глубиной не менее 4 - 5 м является глубинный водозабор, обеспечивающий получение воды из придонных слоев. Этим достигается наиболее низкая температура охлаждающей воды, предотвращение или резкое уменьшение захвата биологических загрязнений (микроорганизмов, низшей водной растительности, личинок моллюсков) и наиболее рациональная продувка водохранилища. При глубинном водозаборе резко уменьшается захват рыбы и, что особенно важно, мальков, которые обитают обычно на небольших глубинах. Глубинный водозабор обеспечивает также бесперебойную подачу воды к потребителям при шуговых явлениях без принятия мер по обогреву водозабора.
Во избежание подсасывания воды из верхних слоев входные окна глубинного водозабора должны быть расположены на достаточной глубине, а входные скорости воды должны быть минимальными: от 0, 1 до 0, 3 м/с.

Рисунок 2.18 - Схема циркуляции в пруде-охладителе округлой формы ([57]):
1 - промышленная площадка; 2 - насосная станция водозабора; 3 - сброс теплой воды; 4 - струенаправляющая дамба; 5 - плотина

Рисунок 2.19 - Схема циркуляции в пруде-охладителе вытянутой формы ([57]):
1 - промышленная площадка; 2 - насосная станция водозабора; 3 - водоотводящий канал; 4 - сброс теплой воды; 5 - зимний сброс; 6 - плотина
Отмечают следующие сравнительные преимущества и недостатки водоемов-охладителей:
- они обеспечивают более низкие температуры охлажденной воды, чем градирни и брызгальные бассейны, при меньшем колебании температуры в течение суток благодаря большой теплоаккумулирующей способности водоемов-охладителей;
- при применении водоемов-охладителей нет необходимости в создании напора для разбрызгивания воды (за исключением случаев расположения плавающих брызгальных установок для улучшения охлаждения), что позволяет снизить мощность циркуляционных насосов и уменьшить расходы электроэнергии на собственные нужды ПСО. Прямое потребление электроэнергии оборотными системами с водоемами-охладителями близко энергопотреблению прямоточных систем;
- водоемы требуют больших площадей и значительных капитальных затрат на их сооружение.
Потери воды из оборотных систем охлаждения с водохранилищами состоят из объемов фильтрации из водохранилища через ложе и ограждающие дамбы, а также естественное и дополнительное (за счет сброса нагретой воды) испарение с зеркала водохранилища. Для наливных и отсечных водоемов необходимо также учитывать объемы продувки, которые зависят от степени упаривания воды.
|
Сезон |
Перепад температур, °С | ||||
|
5 |
10 |
15 |
20 |
25 | |
|
Лето |
0, 5 |
0, 9 |
1, 4 |
1, 9 |
2, 3 |
|
Весна и осень |
0, 3 |
0, 7 |
1, 0 |
1, 4 |
1, 7 |
|
Зима |
0, 2 |
0, 4 |
0, 7 |
0, 9 |
1, 1 |
Для водоемов-охладителей существуют проблемы их заиления и зарастания водной растительностью, что ухудшает охлаждающую способность прудов. Кроме того, водная растительность, попадая к водозаборным сооружениям, забивает очистные сетки водоприемников и загрязняет теплообменники, требуя их более частой очистки. Зарастание прудов зависит от их глубины, колебания горизонта воды, грунтов, химического состава воды и температурного режима прудов. Зарастанию способствует плохая подготовка чаши пруда к затоплению и наличие на берегах водоема деревьев, кустов, пней и пр.
Борьба с растительностью производится, как правило, механическим и биологическим способами. О применении химических способов не сообщается. Их применение ограничено в связи с тем, что водоемы-охладители, как правило, используются не только для целей охлаждения, но и для других целей. Наиболее часто сообщают о применении биологических методов борьбы с растительностью в водоемах путем вселения определенных растительноядных видов рыбы. Зарыбление осуществляется на основании рыбно-биологического обоснования и по согласованию с государственными органами.
Заиление приводит к уменьшению глубин пруда, обмелению и выключению из работы отдельных его участков.
Причинами заиления пруда являются:
а) отложение наносов, приносимых рекой;
б) твердый сток с собственной площади водосбора;
в) размыв берегов;
г) отмирание водной растительности.
Работы по очистке и углублению пруда производятся с помощью плавучих землесосов (земснарядов).
Сложность и высокая стоимость работ по очистке вызывают необходимость предусматривать при проектировании комплекс мероприятий, предупреждающих интенсивное заиление водоемов-охладителей. К ним относятся: берегоукрепительные работы па участках, подверженных размыву; организация стока ливневых вод в пруд путем устройства водоотводных канав; запрещение распашки берегов; сооружение отстойников в местах, где возможен вынос в пруд наносов и т.п.
2.3.6 Оборотные ПСО с брызгальными бассейнами
Конструкция
Брызгальные устройства представляют собой систему сопл, разбрызгивающих подводимую к ним под напором воду, подлежащую охлаждению. Охлаждение воды в брызгальных устройствах происходит с поверхности водяных капель, образующихся при разбрызгивании при помощи сопл. Суммарная поверхность капель должна быть достаточной для охлаждения воды, которое происходит в результате ее испарения при контакте с воздухом, поступающим к брызгальному устройству благодаря ветру и естественной конвекции.
Брызгальные бассейны состоят из системы трубопроводов, на которых устанавливаются разбрызгивающие сопла, и бассейна для сбора охлажденной воды.
Конструкция сопла и величина напора воды перед ним определяют поверхность охлаждения водяного факела. При повышении напора она увеличивается за счет удлинения траекторий полета капель и уменьшения их диаметра. Однако повышение напора связано с ростом затрат электроэнергии, расходуемой циркуляционными насосами, а также с увеличением уноса мелких капель ветром за пределы бассейна.
В бассейне, как правило, не менее двух секций. Каждая секция должна иметь переливную трубу для предотвращения переполнения бассейна и выпуск для его опорожнения.
Глубину воды в брызгальном бассейне обычно принимают равной 1, 5 м. Бровка бассейна должна возвышаться над уровнем воды не менее чем на 0, 3 м.
Одежда откосов и дна бассейнов должна предотвращать фильтрацию через них воды. При слабоводопроницаемых грунтах применяют облицовку из железобетонных плит или слоя асфальтобетона. При сильноводопроницаемых грунтах по подготовке из бетона укладывают слой гидроизоляции из асфальтовой мастики, или слой гидроизола на клебемассе. или слой битумных матов. Гидроизоляцию защищают сверху бетонными или железобетонными плитами.
Вокруг бассейна устраивают асфальтированную площадку шириной 3 - 5 м с уклоном в сторону бассейна для частичного возврата капельного уноса.
При размещении брызгального устройства над водоемом вблизи берега береговой откос во избежание его размыва следует планировать и укреплять.
Применение брызгальных бассейнов требует значительных площадей. Необходимая площадь брызгальных бассейнов составляет в среднем 0, 8 - 1, 3 м2 на 1 м3/ч охлаждающей воды, что соответствует гидравлической нагрузке 0, 77 - 1, 25 м3/ч на 1 м2 бассейна. При этом необходимо отметить, что площадь брызгальных бассейнов примерно в 40 раз меньше водоема-охладителя с такой же производительностью теплоотдачи.

Рисунок 2.20 - Брызгальный бассейн*(4)
Эксплуатационные характеристики
ПСО с брызгальными бассейнами обладают сравнительно низкой и неустойчивой охлаждающей способностью, зависящей от направления и скорости ветра. Поэтому в районах с продолжительными штилями в летнее время, а также при расположении брызгальных устройств на территории, где строения преграждают свободному доступу к ним воздуха, их применение ограничено.
На брызгальных устройствах напор воды принимается равным 5 - 8 м вод. ст. и осуществляется при помощи разбрызгивающих тангенциальных сопл бутылочного типа, образующих высокий факел.
Регулирование производительности брызгальных бассейнов осуществляется посредством изменения доли воды, направляемой в бассейн через разбрызгивающие сопла и через холостые водовыпуски.
Температура охлажденной воды зимой в брызгальных устройствах должна поддерживаться не ниже 10°C, а рабочий напор у сопл должен понижаться до 1/3 расчетного для уменьшения выноса воды и предотвращения обледенения соседних сооружений, дорог и линий электропередач путем сброса части воды из магистральных труб в водосборный бассейн через холостые водовыпуски.
Потери воды в брызгальных бассейнах выше, чем в градирнях, за счет повышенного капельного уноса. Наличие капельного уноса и парового факела требует расположения бассейнов на значительных расстояниях от зданий и сооружений.
Экологические аспекты
Для брызгальных бассейнов характерны экологические аспекты всех водных оборотных ПСО. При этом отмечается повышенные безвозвратные потери воды, и сравнительно большие площади, занимаемые бассейнами.
Область и ограничения для применения
Отмечаются следующие характеристики брызгальных бассейнов, влияющие на возможность и целесообразность их применения:
- простота строительства и сравнительно низкие капитальные затраты;
- простота эксплуатации;
- сравнительно низкая охлаждающая способность, зависящая от скорости и направления ветра;
- местные климатические условия, характеризующиеся низкими скоростями ветра, продолжительными периодами штиля в летний период, ограничивают применение брызгальных бассейнов;
- необходимость значительных открытых незастроенных площадей, удаленных от зданий, дорог и сооружений для размещения бассейнов;
2.4 Воздушные радиаторные ПСО
В воздушных (сухих, радиаторных) ПСО охлаждаемое вещество (жидкость, пар) циркулирует по змеевикам или трубам, которые охлаждаются потоком воздуха. Воздушный поток может создаваться за счет естественной конвекции (естественная тяга) или вентиляторами (принудительная тяга). Из-за низких значений коэффициентов теплопередачи через стенки теплообменников для получения необходимой поверхности охлаждения металлоемкость и стоимость радиаторных градирен в 1, 5 - 2, 0 раза выше, чем у испарительных градирен. Обычно сухие воздушные системы охлаждения применяются в случаях:
- температура охлаждаемой среды достаточно высока, что позволяет уменьшить площадь теплообмена;
- когда вода для подпитки водной испарительной системы охлаждения недоступна или дорога;
- если необходимо полностью исключить образование парового факела.
В зависимости от области применения закрытые оборотные воздушные системы охлаждения состоят из труб (возможно с плавниками), змеевиков или трубопроводов конденсатора, вентиляторов с двигателями и несущей стальной конструкции или градирни. Непосредственно рабочая среда (в прямых системах) или охлаждающий агент (в непрямых системах) циркулируют по трубам. Воздушный поток, созданный естественной циркуляцией воздуха или вентиляторами, протекает между трубами, охлаждая, таким образом, среду посредством теплопроводности и конвекции. Обычно поток воздуха направлен поперек труб теплообменника. Рабочая среда проходит теплообменник один или несколько раз. Если рабочая среда - пар и он конденсируется в радиаторе, то систему охлаждения называют воздушным конденсатором.
Производительность охлаждения
На практике охлаждение воздухом часто используется для охлаждения высокотемпературных процессов (> 80°C) до уровня температур, при котором водяное охлаждение становится более эффективным. Движущая сила теплообмена - разность температур охлаждающего воздуха и рабочей среды процесса. Максимальная проектная температура охлаждающего воздуха может на практике быть превышена только в течение нескольких часов ежегодно. Расчетная температура зависит от температуры окружающего воздуха, очень важны и другие климатические характеристики.
Поскольку теплоемкость (1 КДж/(кг·°С)), коэффициент теплопроводности и конвекции воздуха низки, для теплопередачи необходим большой расход воздуха и большая поверхность теплообмена, больше, чем при использовании водных систем. Поэтому поверхность труб часто снабжают оребрением или плавниками для того, чтобы увеличить эффективную поверхность теплообмена. По экономическим соображениям в проектах воздухоохладителей используется минимальное недоохлаждение 10°С - 15°С. Это обычно приводит к более высоким конечным температурам процесса (минимум 40°С - 45°С), хотя в областях с более высокими температурами окружающего воздуха недоохлаждения и конечные температуры превышают средние значения, упомянутые в таблицах 2.1 и 2.2. Для непрямых конструкций соответственно увеличиваются недоохлаждение (13°С - 20°С) и достижимые конечные температуры (50°С - 60°С).
При одинаковой производительности воздушное охлаждение нуждается в большей поверхности теплообмена, чем водные системы охлаждения, кроме того, сухие системы обычно более дороги. По оценкам капитальные затраты на "сухое" охлаждение в 1, 5 - 2 раза выше затрат на испарительное охлаждение. При сухом охлаждении вакуум в поверхностном конденсаторе энергетических паровых турбин на 3% - 4% хуже, чем при использовании испарительной градирни.
Экологические аспекты
Основные экологические аспекты радиаторных ПСО - прямое потребление энергии вентиляторами и шум от них, относительно высокое косвенное влияние на охлаждаемый процесс (его энергоэффективность, уровень воздействий на окружающую среду) в связи с низкой эффективностью охлаждения. Вода практически не потребляется, за исключением непрямых систем, где вода используется в качестве промежуточного охлаждающего вещества. Однако, будучи закрытым, промежуточный водный контур потребляет незначительные объемы воды.
При эксплуатации радиаторных ПСО образуются незначительные объемы отходов или сточных вод от очистки внешней поверхности радиаторов. Уровень экологической безопасности этих отходов может быть снижен путем применения биоразлагаемых моющих веществ.
Области применения
Воздушные ПСО различной производительности применяются в различных отраслях промышленности: для охлаждения продукции в химической и нефтехимической промышленности, для вакуумной конденсации на электростанциях и для охлаждения отходящих газов. В энергетике воздушное охлаждение применяют в определенных ситуациях, когда выработка энергии производится в местах с недостаточным количеством воды для устройства водной системы охлаждения.
2.4.1 Вентиляторные сухие системы охлаждения
В вентиляторных воздушных (сухих) ПСО в качестве охладительных устройств применяются радиаторные градирни или аппараты воздушного охлаждения воды (АВО), иногда называемые сухими градирнями, которые состоят из элементов:
- радиаторов из оребренных алюминиевых, углеродистых, нержавеющих или латунных труб, по которым протекает охлаждаемая вода или другая жидкость;
- осевых вентиляторов, прокачивающих атмосферный воздух через радиаторы;
- воздухоподводящих патрубков, обеспечивающих плавный подвод воздуха к вентилятору, и опорных конструкций;
- автоматизированная система управления подачи и рециркуляции воздуха;
- оборудование аварийного опорожнения теплообменных поверхностей.

Рисунок 2.21 - Схема воздушного конденсатора с принудительным наддувом ([9])
ABO различают по конструкции в зависимости от расположения трубных секций; горизонтальные; зигзагообразные; вертикальные; шатровые. Наиболее широкое распространение получили аппараты горизонтального и зигзагообразного типов.
Для повышения эффективности теплоотдачи к потоку воздуха трубы калориферов снабжают оребрением.
АВО и градирни могут дополняться различными системами, повышающими их эффективность: системами увлажнения воздуха, подаваемых на радиаторы, системами управления привода вентилятора и подачи воздуха и т.п.
В радиаторных градирнях и АВО применяются различные типы вентиляторов, в том числе диаметром 7 м, которые устанавливаются и на испарительных градирнях.
Радиаторные градирни применяются:
- при необходимости иметь закрытый, изолированный от атмосферного воздуха контур циркуляции воды в системе оборотного охлаждения;
- при высоких температурах нагрева оборотной воды в технологических теплообменных аппаратах, не допускающих ее охлаждения в градирнях испарительного типа;
- при отсутствии или серьезных затруднениях в получении свежей воды на пополнение потерь в оборотных циклах.
Радиаторные градирни имеют более высокую стоимость, меньшую производительность, больший расход электроэнергии по сравнению с испарительными градирнями. В таблице 2.6 приведено сравнение технико-экономических показателей вентиляторных радиаторной градирни с водной испарительной. У радиаторной градирни капитальные затраты, расход электроэнергии и площадь, занимаемая сооружениями на генплане, значительно выше, чем у испарительной градирни.
Радиаторные вентиляторные градирни при одинаковом уровне охлаждения воды имеют производительность в 5 - 30 раз меньше производительности испарительной градирни при сравнимой стоимости.
Кроме того, эксплуатация радиаторных градирен усложняется, особенно в зимний период из-за опасности замерзания циркуляционной воды при недостаточном ее нагреве у потребителя или во время внезапного прекращения подачи воды циркуляционными насосами. Для предупреждения замерзания воды в трубках радиаторов и их повреждения требуется устройство емкостей для спуска воды из системы при аварийных ситуациях в зимнее время или заполнение системы низкозамерзающими жидкостями (антифризами). Циркуляционный контур воды с радиаторными градирнями работает, как правило, на умягченной воде. При аварийных ситуациях или при ремонте сооружений на циркуляционном контуре рекомендуется сливать воду из системы в какую-либо емкость, а трубки калорифера высушить.
В то же время в оборотных ПСО с радиаторными градирнями и АВО практически отсутствуют безвозвратные потери воды.
|
Показатель |
Градирня | |
|
испарительная |
радиаторная | |
|
Количество охлажденной воды, м3/ч |
2000, 0 |
2000, 0 |
|
Температура нагретой воды, °С |
40, 0 |
40, 0 |
|
Температура охлажденной воды, °С |
28, 0 |
28, 0 |
|
Температура воздуха по влажному термометру, °С |
19, 3 |
19, 3 |
|
Количество воды, охлаждаемое секцией градирни, м3/ч |
640, 0 |
200, 0 |
|
Число секций градирни, установленных в системе |
3 |
10 |
|
Марка вентилятора |
1 ВГ 50 |
1 ВГ 70 |
|
Мощность вентилятора, кВт |
32, 0 |
75, 0 |
|
Количество свежей воды на восполнение потерь, м3/ч |
100, 0 |
- |
|
Количество свежей воды на увлажнение воздуха или добавок, м3/ч |
- |
52, 5 |
|
Занимаемая площадь, м2 |
3876, 0 |
6480, 0 |
|
Стоимость секции градирни, тыс. руб. |
20, 0 |
50, 0 |
|
Капитальные затраты на все секции градирни, тыс. руб. |
60, 0 |
500, 0 |
|
Потребление электроэнергии градирней при работе 4000 ч в год, тыс. кВт·ч |
384, 0 |
3000, 0 |
Характерные черты аппаратов воздушного охлаждения:
- тепловая производительность аппаратов регулируется изменением потока воздуха, проходящего через аппарат (угол наклона лопастей вентилятора, частота вращения вентилятора, жалюзийная решетка и т.п.);
- применяется и принудительное нагнетание воздуха в аппарат и принудительная тяга;
- прямое потребление электроэнергии выше, чем у вентиляторных испарительных градирен;
- низкая теплопроизводительность, менее 100 МВт;
- конечная температура охлаждаемой жидкости почти линейно зависит от температуры охлаждающего воздуха;
- эксплуатационные расходы практически полностью состоят из затрат на электроэнергию;
- основные экологические аспекты - шум и потребление энергии.

Рисунок 2.22 - Аппарат воздушного охлаждения ([58])

Рисунок 2.23 - Пример применения АВО в химическом производстве
Конденсаторы с воздушным охлаждением широко применяются в энергетике и на химических заводах для конденсации пара. Воздух подается вентиляторами в конденсатор, где он охлаждает пар, входящий в трубные пучки конденсатора (Рисунок 2.3). В непрямой системе конденсатор охлаждается потоком воды, которая, в свою очередь, охлаждается в градирне.
Характеристики воздушных конденсаторов:
- применяются для отведения тепла от различных по размеру установок;
- нет необходимости в охлаждающей воде;
- прямое потребление энергии, считается, выше, чем системами с мокрыми градирнями;
- относительно небольшая общая высота;
- необходима значительная площадь в непосредственной близости от парогенератора;
- адаптация к изменениям нагрузки и температуры в больших диапазонах требует применения вентиляторов с переменной скоростью вращения;
- экологические аспекты, в частности шум и потребление энергии.

Рисунок 2.24 - Принципиальная схема прямой радиаторной системы охлаждения с принудительным наддувом (воздушный конденсатор) энергоустановки

Рисунок 2.25 - Пример применения непрямой вентиляторной системы воздушного охлаждения на ТЭС*(5)
Аппараты воздушного охлаждения (АВО) широко применяются в компрессорных станциях, применяемых для транспортировки природного газа. Наибольшее распространение на компрессорных станциях получили схемы с использованием аппаратов воздушного охлаждения АВО (рисунок 2.25). Глубина охлаждения технологического газа ограничена температурой наружного воздуха, что особенно сказывается в летний период эксплуатации. Естественно, что температура газа после охлаждения в АВО не может быть ниже температуры наружного воздуха.
Взаимное расположение теплообменных секций и вентиляторов для прокачки воздуха практически и определяет конструктивное оформление АВО. Теплообменные секции АВО могут располагаться горизонтально, вертикально, наклонно, зигзагообразно, что и определяет компоновку аппарата.

Рисунок 2.26 - Схема подключения аппарата воздушного охлаждения (при нижнем расположении вентилятора)

Рисунок 2.27 - Аппарат воздушного охлаждения газа компрессорной станции с верхним расположением вентилятора: 1 - теплообменная поверхность; 2 - вентилятор; 3 - патрубок; 4 - диффузор; 5 - клиноременная передача; 6 - электродвигатель
АВО работает следующим образом: на опорных металлоконструкциях закреплены трубчатые теплообменные секции. По трубам теплообменной секции пропускают транспортируемый газ, а через межтрубное пространство теплообменной секции с помощью вентиляторов, приводимых во вращение от электродвигателей, прокачивают наружный воздух. За счет теплообмена между нагретым при компремировании газом, движущимся в трубах, и наружным воздухом, движущимся по межтрубному пространству, и происходит охлаждение технологического газа.
Опыт эксплуатации АВО на КС показывает, что снижение температуры газа в этих аппаратах можно осуществить примерно на 15°С - 25°C. Одновременно, опыт эксплуатации указывает на необходимость и экономическую целесообразность наиболее полного использования установок охлаждения газа на КС в годовом цикле эксплуатации, за исключением тех месяцев года с весьма низкими температурами наружного воздуха, когда включение всех аппаратов на предыдущей КС приводит к охлаждению транспортируемого газа до температуры, которая может привести к выпадению гидратов. Обычно это относится к зимнему времени года.
Уменьшение температуры технологического газа, поступающего в газопровод после его охлаждения в АВО, приводит к уменьшению средней температуры газа на линейном участке трубопровода и, как следствие, к снижению температуры и увеличению давления газа на входе в последующую КС. Это, в свою очередь, приводит к уменьшению степени сжатия на последующей станции (при сохранении давления на выходе из нее) и энергозатрат на компремирование газа по станции.
Очевидно также, что оптимизация режимов работы АВО должна соответствовать условию минимальных суммарных энергозатрат на охлаждение и компремирование газа на рассматриваемом участке работы газопровода.
|
Характеристика |
Единица измерения |
Значения | ||
|
Тип 1 |
Тип 2 |
Тип 3 | ||
|
Массовый расход газа |
т/ч |
196 |
209 |
196, 9 |
|
Рабочее давление |
МПа |
7, 36 |
7, 36 |
7, 36 |
|
Коэффициент теплопередачи |
Вт/(м2 К) |
23 |
22 |
25 |
|
Поверхность теплообмена |
м2 |
9930 |
9500 |
10793 |
|
Число ходов газа |
1 |
1 |
1 | |
|
Общее число труб |
540 |
476 |
582 | |
|
Длина труб |
м |
12 |
11 |
11, 2 |
|
Внутренний диаметр труб |
мм |
22 |
22 |
21, 2 |
|
Сумма коэффициентов местных сопротивлений |
5, 0 |
5, 5 |
5, 8 | |
|
Количество вентиляторов |
2 |
6 |
2 | |
|
Производительность вентиляторов, |
м3/ч |
820 |
800 |
564, 5 |
|
Напор вентиляторов |
Па |
16 |
16 |
7, 2 |
|
Мощность вентиляторов |
кВт |
74 |
105, 6 |
44 |
|
Масса аппарата |
тонн |
47 |
36 |
33 |
2.4.2 Радиаторные градирни с естественной тягой
Радиаторные градирни с естественной тягой (градирни Геллера) по принципам действия не отличаются от радиаторных охладителей с вентиляторной тягой за исключением способа создания потока воздуха. Радиаторные ПСО с естественной тягой применяются в вариантах прямого и непрямого охлаждения. В прямой системе охлаждаемое вещество подается непосредственно в радиатор (аппарат воздушного охлаждения или воздушный конденсатор). В непрямой системе (рисунок 2.24) охлаждаемое вещество передает тепло в промежуточный оборотный контур. Затем вещество, которым заполнен промежуточный контур, передает тепло атмосферному воздуху в радиаторной градирне.

Рисунок 2.28 - Непрямая радиаторная система охлаждения паровой турбины
Система с естественной тягой имеет следующие преимущества по сравнению с системой сухого охлаждения с принудительной тягой:
- применение градирни с естественной тягой имеет более низкое потребление энергии (отсутствует необходимость применения вентиляторов). Отмечают, что при применении сухих систем охлаждения на энергогенерирующих установках замена вентиляторной тяги на естественную приводит к увеличению эффективности производства электроэнергии на 2%;
- более низкий уровень шума;
- устраняется возможность рециркуляции теплового воздуха от устья градирни к ее входу, которая может возникать в ветреную погоду в градирнях с принудительной тягой, имеющих небольшую высоту.
- более низкие затраты на техническое обслуживание ПСО.
В то же время, охладители с естественной тягой менее маневренны и, как правило, менее производительны.

Рисунок 2.29 - Схема воздушной градирни непрямого охлаждения с естественной тягой. Охлаждающие модули установлены вертикально по окружности башни

Рисунок 2.30 - Пример воздушной градирни с естественной тягой на угольной электростанции в Китае
2.4.3 Радиаторные градирни с орошением
Радиаторные градирни с орошением можно рассматривать как модификацию вентиляторных или башенных радиаторных систем охлаждения. Они дополнены оборотными водными системами, применяемыми для предварительного снижения температуры и повышения влажности охлаждающего воздуха и/или орошения радиаторов. Целью применения воды в этих ПСО является снижение температуры охлаждения.
Радиаторные градирни с орошением объединяют преимущества замкнутого контура с существенной экономией воды по сравнению с испарительными градирнями. В то же время, возможно достижение более низких температур охлаждения по сравнению с воздушными радиаторными охладителями. По объемам потребления энергии и шумовым характеристикам они сравнимы с вентиляторными мокрыми градирнями. Как правило, вода, применяемая радиаторных системах с орошением, требует предварительной подготовки: очистки и обессоливания.
Имеются экспериментальные данные по энергоблоку 100 МВт с системой охлаждения с радиаторными градирнями с орошением. При орошении только 5% от общей площади теплообменной поверхности, общий теплосъем на сухой башенной градирне с естественной тягой увеличивался почти на 12%. При этом, за счет снижения температуры циркуляционной воды на 5, 5°С и соответствующего увеличения вакуума в конденсаторах, обеспечивалось поддержание мощности энергоблока на номинальном уровне (100 МВт). При отсутствии орошения мощность энергоблока снижалась на 2 МВт. Потребление воды при этом составило около 52 м3/ч или около 26 л на 1 кВт·ч. Орошение всей поверхности радиаторов повышает теплопроизводительность градирни в 3 раза.
Одним из недостатков данной системы охлаждения является необходимость применения для орошения обессоленной воды, что позволяет избежать образования на поверхности радиаторов солевых отложений. Учитывая очень большую площадь поверхности радиаторов, в случае образования отложений их удаление будет очень трудоемкой задачей. Дополнительные затраты на создание и эксплуатацию систем орошения компенсируются снижением величины недоохлаждения и косвенного потребления энергии. В вентиляторных градирнях во время орошения радиаторов возможно снижение скорости вращения вентиляторов, что может обеспечить снижение потребления ими энергии. Радиаторные градирни с орошением также позволяют решить проблемы образования парового факела, так как при наступлении условий для образования видимого факела система орошения может быть отключена.

Рисунок 2.31 - Принципиальная схема вентиляторной радиаторной градирни с орошением:
1 - первичный контур системы охлаждения;
2 - вход охлаждаемой среды в градирню;
3 - охлаждаемые элементы;
4 - выход охлаждаемой среды из градирни;
5 - теплообменник;
6 - циркуляционный насос;
7 - схема орошающей воды;
8 - продувочный трубопровод;
9 - водосборный бассейн;
10 - схема опорожнения и выпуска осадка из водосборного бассейна;
11 - охлаждающий воздух;
12 - вентилятор;
13 - привод вентилятора.
3.1 Виды экологических аспектов ПСО
Интенсивность экологических аспектов, масштаб воздействий на окружающую среду промышленных систем охлаждения различны для каждого из типов и конструкций, описанных в главе 2. В целях сравнения ПСО различных типов и идентификации НДТ охлаждения в данном справочнике НДТ рассматриваются следующие виды экологических аспектов и воздействий на окружающую среду ПСО:
1) косвенное влияние ПСО на потребление энергии и ресурсов охлаждаемым технологическим оборудованием и показатели его экологической безопасности;
2) прямое потребление энергии оборудованием ПСО;
3) безвозвратное потребление водных ресурсов;
4) влияние на тепловое состояние водных объектов;
5) ущерб водным организмам на водозаборах;
6) сброс загрязняющих веществ с охлаждающей водой в поверхностные водоемы;
7) выбросы загрязняющих веществ в атмосферу;
8) образование парового факела;
9) шум;
10) риски утечек загрязняющих веществ в окружающую среду;
11) риски микробиологического загрязнения окружающей среды;
12) образование отходов.
В каждом случае экологическую значимость этих аспектов и проблем нужно рассматривать в свете полной экологической результативности всего производственного объекта, включая аспекты охлаждаемого производственного процесса. Не все аспекты одинаково значимы для каждой из систем, например, потребление водных ресурсов и образование парового факела несущественны для воздушных систем охлаждения. Экологические аспекты и проблемы, которые потенциально являются значимыми и должны быть приняты во внимание при идентификации НДТ ПСО, приведены в таблице 3.1. Интенсивность и значимость каждого экологического аспекта может быть снижена применением специальных мер, однако в таблице 3.1 указаны аспекты, которые являются потенциально значимыми без учета влияния этих специальных мер. Характер и уровень воздействия на окружающую среду ПСО определяется не только типом и конструкцией ПСО, но и, в не меньшей степени, зависят от методов ее эксплуатации и технического обслуживания.
|
Система охлаждения |
Косвенное влияние на охлаждаемое оборудование |
Прямое потребление энергии |
Безвозвратное потребление (изъятие) воды из водных объектов |
Потенциальн. ущерб водным ресурсам |
Сбросы ЗВ в водные объекты |
Риски превышения допустимых температур в водных объектах |
Выбросы ЗВ в атмосферу |
Паровой факел |
Шум |
Риски утечек |
Риски микробиол. загрязнения окружающей среды |
Отходы |
|
Прямоточные водные ПСО |
+ |
+ |
- |
++ |
- |
+ |
-- |
- |
- |
++ |
- |
- |
|
Оборотные ПСО с водоемам и охладителями | ||||||||||||
|
+ |
+ |
+ |
++ |
- |
+ |
-- |
- |
- |
++ |
- |
- | |
|
Оборотные ПСО брызгальными бассейнами | ||||||||||||
|
+ |
+ |
++ |
+ |
+ |
- |
- |
- |
- |
+ |
- |
- | |
|
Оборотные ПСО с атмосферными градирнями | ||||||||||||
|
+ |
+ |
++ |
+ |
+ |
- |
- |
- |
+ |
+ |
- |
- | |
|
Оборотные ПСО с испарит, башенными градирнями | ||||||||||||
|
+ |
+ |
++ |
+ |
+ |
- |
- |
- |
+ |
+ |
+ |
- | |
|
Оборотные ПСО с испарит, вентиляторными градирнями | ||||||||||||
|
+ |
++ |
++ |
+ |
+ |
- |
- |
- |
+ |
+ |
- |
- | |
|
Оборотные ПСО с эжекционными градирнями | ||||||||||||
|
+ |
+ |
++ |
+ |
+ |
- |
- |
- |
+ |
+ |
- |
- | |
|
ПСО с радиаторными градирнями с естественной тягой | ||||||||||||
|
++ |
+ |
-- |
-- |
-- |
-- |
-- |
-- |
- |
+ |
-- |
- | |
|
ПСО с радиаторными градирнями с принудительной тягой |
++ |
++ |
-- |
-- |
-- |
-- |
-- |
-- |
+ |
+ |
-- |
- |
|
-- - проблемы нет, аспект незначим; - - низкая значимость проблемы, ниже среднего уровня; + - проблема имеется; ++ - значимость проблемы высокая, требуется принятие специальных мер | ||||||||||||
3.2 Потребление энергии
Потребление энергии промышленными системами охлаждения можно разделить на прямое и косвенное. Прямое энергопотребление ПСО - потребление электроэнергии оборудованием ПСО, в основном, насосами и вентиляторами. Прямое потребление ПСО электроэнергии зависит от:
- расхода охлаждающей среды (воды и/или воздуха);
- аэродинамического сопротивления воздушного тракта и гидравлического сопротивления водного тракта ПСО и необходимой высоты подъема воды;
- КПД насосов и вентиляторов;
- энергоэффективности приводов насосов и вентиляторов.
Эти параметры могут определяться как конструкцией ПСО, так и качеством их технического обслуживания и методами эксплуатации и управления.
Если ПСО, в силу конструктивных особенностей или применяемых методов эксплуатации, не может обеспечить потребности технологического оборудования в отведении избыточного тепла, это, как правило, ведет к нарушению работы технологического оборудования, повышению потребления производственным процессом энергии или сырья. Потребление энергии охлаждаемым производственным процессом, зависящее от эффективности работы ПСО, называется косвенным потреблением энергии. Для его оценки необходим анализ полного энергетического баланса системы охлаждения и охлаждаемого производственного оборудования.
3.2.1 Прямое потребление электроэнергии
Потребление электроэнергии ПСО характеризуется удельным потреблением электроэнергии в кВт·ч на единицу отведенного тепла в МВт·ч или кВт(эл)/МВт(тепл). Удельное потребление электроэнергии может изменяться в широком диапазоне и зависит от типа системы охлаждения, ее конструкции и методов технического обслуживания и эксплуатации. Существенное значение имеют также местные климатические условия: система охлаждения в более теплом климате обычно потребляет больше энергии, чем в более прохладных климатических областях. Основные потребители электроэнергии в системах охлаждения:
- насосы (используемые во всех водных системах) для подпитки и поддержания циркуляции охлаждающей воды. Их энергопотребление определяется объемом перекачиваемой воды и создаваемым давлением. Непрямые системы имеют два контура и поэтому нуждаются в большем количестве насосов. В случае использования градирен необходимое давление воды больше, что требует большего количества энергии по сравнению с прямоточной системой;
- вентиляторы используются во всех градирнях и конденсаторах с принудительной тягой. Их энергопотребление определяется количеством, размером и типом вентиляторов, объемом и создаваемым давлением воздуха. Сухие системы, как правило, нуждаются в большем количестве воздуха при той же производительности охлаждения, чем водные системы, хотя это не обязательно приводит к более высокому потреблению энергии.
Методы, применяемые для повышения энергоэффективности работы насосов, вентиляторов и их приводов, описаны в справочнике НДТ "Повышение энергетической эффективности при осуществлении хозяйственной и (или) иной деятельности".
3.2.2 Косвенное влияние на энергопотребление охлаждаемого оборудования
Потребление энергии охлаждаемым производственным оборудованием считается косвенным потреблением энергии, связанным с процессом охлаждения. При неэффективном охлаждении оборудования потребление им энергии увеличивается. Ухудшенная теплопередача (например, из-за загрязнения) повысит температуру технологического оборудования и приведет к росту потребления энергии. Недостаточная эффективность охлаждения приводит к потерям продукции и снижает эффективность технологического процесса. На ТЭС из-за ухудшения охлаждения конденсатора выработка энергии может снизиться на 0, 25%, что эквивалентно снижению эффективности приблизительно на 0, 4% на градус. По результатам опроса российских ТЭС получены сведения о среднем значении пережога топлива при повышении температуры охлаждающей воды на 1°С 0, 84 г условного топлива. Если применяется открытая испарительная градирня, а не прямоточная система, конечная температура охлаждения повысится на 5°С, что приведет к снижению выработки максимально на 2%. Если учесть также разницу в объеме энергии, потребляемой оборудованием ПСО, которая составляет 6 - 8 кВт на 1 МВт отводимого тепла, это дает еще один процент потерь эффективности.
|
Характер изменения температуры воды |
Влияние на показатели работы оборудования |
|
Снижение температуры воды, подаваемой на конденсаторы турбин КЭС, на 1°С |
Уменьшение на 1, 2 - 2 г расхода условного топлива на выработку 1 кВт·ч электроэнергии |
|
Повышение температуры воды, подаваемой на конденсаторы ТЭС, на 1°С |
Снижение вакуума в конденсаторах на 0, 5%, что равноценно снижению мощности турбины на 0, 4% или перерасходу пара на 0, 5% |
|
Снижение температуры воды, подаваемой на конденсаторы компрессорных холодильных станций, на 1 °С |
Уменьшение на 2% - 4% расхода электроэнергии на привод компрессоров |
|
Снижение температуры воды, подаваемой на конденсаторы пароэжекционных холодильных станций, на 7°С (с 27°С до 20°С) |
Уменьшение расхода пара с 3, 4 до 2, 1 т на 4 ГДж вырабатываемого холода |
|
Снижение температуры воды при расчетах размеров теплообменной аппаратуры предприятий нефтехимии на 5°С (с 30°С до 25°С) |
Уменьшение на 23% площади поверхности охлаждения теплообменников и на 20% расхода металла на их изготовление |
|
Снижение температуры воды на установке пиролиза нефти мощностью 340 тыс. т/год на 2, 3 °С |
Увеличение выработки топливно-энергетических ресурсов в год на 518 тыс. долларов США |
|
Недоохлаждение воды в летний период относительно ее расчетной температуры на предприятиях по выработке химической продукции |
Уменьшение среднегодовой выработки кальцинированной соды примерно на 3, 4%, аммиака - на 10%, метанола - на 8%, сернистого натрия - на 4, 5%, уксусной кислоты - на 11%. |
Данные в таблице 3.2 получены, как правило, из сравнения различных систем охлаждения с одинаковой производительностью. Эти данные неточны и являются оценкой уровня влияния эффективности охлаждения на полный энергетический баланс производственного объекта. Цель оценки - показать важность учета не только прямого, но и косвенного потребления энергии при оценке и сравнении ПСО.
В соответствии с указаниями ([47]) из всех параметров, определяющих в условиях эксплуатации экономичность паротурбинной установки, наибольшее влияние оказывает давление отработавшего пара, которое зависит от внешних условий - температуры охлаждающей воды, режима работы конденсационной установки (паровой нагрузки, кратности охлаждения) и в значительной степени от чистоты поверхности охлаждения конденсатора. Ухудшение вакуума, связанное с загрязнением поверхности охлаждения конденсаторов, достигает на электростанциях 1, 2%, а в некоторых случаях, при особенно плохом качестве воды - 3, 4%. Снижение мощности различно для различных типов турбин и зависит от многих причин - главным образом от типа и конструкции последней ступени, длины и формы рабочей лопатки.
В определенном диапазоне изменения давления отработавшего пара зависимость изменения мощности от давления в конденсаторе при заданном расходе пара имеет прямолинейный характер; изменение мощности при изменении давления в конденсаторе в этом диапазоне является для данного типа турбины величиной постоянной.
Для турбин ТЭС с начальным давлением пара 13 - 24 МПа (130 - 240 кгс/см2) и перегревом пара изменение мощности при изменении давления в конденсаторе на 1 кПа (0, 01 кгс/см2) составляет примерно 0, 8% - 0, 9% номинальной мощности. Для турбин АЭС, работающих на насыщенном паре с давлением 4, 4 - 6, 5 МПа с располагаемым теплопадением примерно вдвое меньшим, чем для турбин с перегретым паром, изменение давления в конденсаторе более существенно сказывается на изменении мощности турбины. Так, для турбин АЭС с частотой вращения 3000 об/мин мощность турбины при изменении давления в конденсаторе на 1 кПа изменяется примерно на 1, 8%. Но для турбин с частотой вращения 1500 об/мин в силу особенностей аэродинамической характеристики рабочей лопатки последней ступени (большая длина, значительная веерность) изменение мощности значительно меньше и приблизительно уравнивается со значением для турбин ТЭС на органическом топливе.
В таблице 3.3 приведены данные по изменению мощности турбоагрегата при изменении давления в конденсаторе на ±1 кПа в пределах прямолинейных участков поправочных кривых на давление в конденсаторе, там же приведено изменение удельного расхода теплоты при номинальной нагрузке конденсационных турбин.
|
Турбина |
Изменение мощности, кВт (±) |
Изменение удельного расхода теплоты, % (±) |
Тип электростанции |
|
К-50-90 ЛМЗ |
450 |
0, 90 |
КЭС |
|
K-100-90 ЛМЗ |
900 |
0, 90 | |
|
K-100-90 ХТЗ |
1000 |
1, 00 | |
|
K-160-130 ХТЗ |
1170 |
0, 73 | |
|
K-200-130 ЛМЗ |
1900 |
0, 95 |
КЭС |
|
К-300-240 ХТЗ |
3340 |
1, 11 | |
|
К-300-240 ЛМЗ |
2760 |
0, 92 | |
|
К-500-240 ХТЗ |
3880 |
0, 78 | |
|
К-500-240 ЛМЗ |
3680 |
0, 74 | |
|
К-800-240 ЛМЗ |
4940 |
0, 62 | |
|
T-50-130 ПО ТМЗ |
400 |
0, 80* |
ТЭЦ |
|
ПТ-60-130 ЛМЗ |
450 |
0, 90* | |
|
ПТ-80/100-130/13 ЛМЗ |
450 |
0, 56* | |
|
T-100-130 ПО ТМЗ |
725 |
0, 73* | |
|
Т-250-240 ПО ТМЗ |
1830 |
0, 70* | |
|
К-220-44 ХТЗ (3000 об/мин) |
3980 |
1, 81 |
С влажно-паровыми турбинами |
|
К-500-65/3000 ХТЗ |
7960 |
1, 59 | |
|
К-750-65/3000 ХТЗ |
8900 |
1, 19 | |
|
К-600-60/1500 ХТЗ |
4250 |
0, 85 | |
|
К-1000-60/1500-1 ХТЗ (3 ЦНД) |
10350 |
1, 04 | |
|
К-1000-60/1500-2 | |||
|
К-1000-60/1500-3 ХТЗ (2 ЦНД) |
8300** |
0, 83 |
* При работе в конденсационном режиме.
** По расчету завода-изготовителя оборудования.
|
Система охлаждения |
Удельное прямое потребление энергии, кВт/МВт(тепл) |
Увеличенная T, °С |
Удельное косвенное потребление энергии, рассчитанное с учетом коэффициента 1.4 кВт/МВт (тепл) °С, кВт/МВт(тепл) |
Полное потребление энергии (прямое + косвенное), кВт/МВт(тепл) |
Эввод на Эрасс., ‰ |
Выбросы CO2, т/год/МВт (тепл) | ||
|
Насосы |
Вентиляторы |
Итого | ||||||
|
Прямоточная прямая |
10 (9 - 12) |
- |
10 |
0 |
10 |
25 |
50 | |
|
Прямоточная непрямая |
15 (12 - 18) |
- |
15 |
57 |
22 |
55 |
110 | |
|
Открытая мокрая градирня |
15 (13 - 17) |
5 |
20 |
57 |
27 |
68 |
136 | |
|
Гибридное охлаждение |
15 (13 - 17) |
8 |
23 |
57 |
30 |
75 |
150 | |
|
Закрытая оборотная градирня |
> 15 (13 - 17) |
8 |
> 23 |
8 |
11 |
> 34 |
> 85 |
> 170 |
|
Воздушное охлаждение |
- |
20 |
20 |
20 |
28 |
48 |
120 |
240 |
3.2.3 Применяемые методы снижения потребления энергии системами охлаждения
Комплексные меры в пределах производственного процесса по повторному использованию тепла могут снизить объем избыточного тепла. При этом снижается проектная производительность ПСО, что приводит к снижению прямого и косвенного потребления энергии. Более эффективное оборудование и правильная эксплуатация системы охлаждения, обеспечивающие минимально достижимые температуры охлаждаемого процесса, позволяют достигнуть дальнейшего снижения энергопотребления.
Объем потребления энергии в большой степени определяется выбором типа и конструкции системы охлаждения. Это очень сложный вопрос, требующий учета многих факторов, поэтому дать общее решение трудно.
На практике снжения энергопотребления ПСО применяется следующие меры:
- при проектировании ПСО необходимо по возможности снижать гидравлическое и аэродинамическое сопротивление трактов воды и воздуха;
- в вентиляторных градирнях - выбор типа и расположения вентиляторов и обеспечение возможности регулирования расхода воздуха;
- выбор оросителя градирен, обеспечивающего максимальный теплообмен при любых режимах;
- выбор каплеуловителей с минимальным аэродинамическим сопротивлением;
- предотвращение образования механических, солевых и биологических отложений в теплообменниках.
Замена материалов и изменения в конструкции, видимо, не дает рентабельных вариантов для снижения потребления энергии в существующих системах охлаждения, особенно крупных. Замена элементов градирни (вентиляторов, оросителей и сепараторов уноса) является приемлемым способом в некоторых случаях. Для небольших систем, например, открытых и закрытых водных оборотных систем охлаждения, которые предлагаются рынком в заводском изготовлении и сборке, замена системы охлаждения технически намного проще.
По результатам опроса не было получено информации относительно методов снижения потребления энергии посредством применения вентиляторов с низким энергопотреблением или повышения гибкости эксплуатации. В информации поставщиков могут быть найдены данные о доступных типах вентиляторов и их мощности. Советуют применять вентиляторы, которые могут эксплуатироваться при переменных скоростях или системы с несколькими вентиляторами, которые предоставляют большие возможности по регулированию расхода воздуха.
Относительно влияния аэродинамического сопротивления водоуловителей на энергопотребление вентиляторов, считается, что разница между различными конструкциями сепараторов и их действительное влияние на производительность вентиляторов нуждается в осторожном рассмотрении, принимая во внимание местные условия. Это значит, что при оценке преимуществ различных оросителей должна быть выполнена комплексная оценка с учетом конструкции градирни и прохождения потока через вентиляторы и сепараторы уноса.
Практика свидетельствует о явном влиянии качества обслуживания ПСО на потребление ими энергии. Обычно для водных систем охлаждения это означает надлежащую обработку циркуляционной воды с целью снижения сопротивлений в системе из-за отложений, коррозии, загрязнений и т.д. Соответствующая обработка охлаждающей воды снижает прямое и косвенное потребление энергии.
3.3 Водопользование
3.3.1 Виды водопользования
Вода наиболее часто используется в ПСО в качестве промежуточного охлаждающего агента в связи с ее благоприятными экологическими и термодинамическими свойствами. Вода нетоксична и обладает относительно высокими значениями удельной теплоемкости и теплоты парообразования. В то же время использование воды различными типами систем охлаждения существенно различаются по способам и воздействию на состояние водных объектов. В связи с этим необходимо уточнить значения специальных терминов, обозначающих различные способы использования водных ресурсов.
В технической литературе, документах стандартизации и нормативных правовых документах используются различная терминология для обозначения способов использования водных ресурсов. В данном справочнике НДТ используется терминология, определенная нормативными правовыми актами Российской Федерации.
По способу использования водных объектов Водный кодекс подразделяет водопользование на:
1) водопользование с забором (изъятием) водных ресурсов из водных объектов при условии возврата воды в водные объекты (возвратное водопользование);
2) водопользование с забором (изъятием) водных ресурсов из водных объектов без возврата воды в водные объекты (безвозвратное водопользование);
3) водопользование без забора (изъятия) водных ресурсов из водных объектов.
Водопользование с забором воды при условии ее возврата в водный объект, называемое иногда возвратным водопользованием, не создает рисков истощения водных ресурсов. В то же время для комплексной оценки влияния данного способа водопользования на водные объекты необходимо учитывать качество возвратных вод, так как в процессе использования воды могут изменяться ее химический состав, физические свойства, например, температура, микробиологические свойства.
Водопользование с забором воды без ее возврата в водный объект не создает рисков загрязнения водного объекта, однако может приводить к истощению водных объектов, что может быть особенно существенно для регионов с недостатком водных ресурсов. Водопользование с забором воды без ее возврата в водный объект иногда называют безвозвратным водопользованием или безвозвратными потерями воды.
Водопользование без забора воды включает использование акватории водных объектов для:
- строительства различных сооружений, в том числе гидротехнических сооружений;
- размещения стационарных и (или) плавучих платформ, искусственных островов на землях, покрытых поверхностными водами; строительства гидротехнических сооружений, мостов, а также подводных и подземных переходов, трубопроводов, подводных линий связи, других линейных объектов;
- разведки и добычи полезных ископаемых;
- проведения дноуглубительных, взрывных, буровых и других работ, связанных с изменением дна и берегов водных объектов;
- сплава древесины;
- судоходства;
- осуществления аквакультуры (рыбоводства) и акклиматизации водных биологических ресурсов;
- рекреационных целей и т.п.
Как правило, эксплуатация ПСО не связана с водопользованием без забора воды. Поэтому в дальнейшем рассматриваются только два первых способа водопользования, предусмотренных Водным кодексом.
Для водных оборотных систем характерно как возвратное, так и безвозвратное водопользование. Часть воды, потребляемой такими системами, возвращается в водные объекты непосредственно или через централизованные системы канализации. Как правило - это продувочные воды оборотных систем, с которыми из системы выводятся избыточные соли. Безвозвратные потери в открытых испарительных системах с градирнями состоят из потерь с испарением, капельным уносом через башни и через воздуховходные окна.
Потери воды в градирнях на испарение Gи определяются по формуле:
Gи = k Δt Gж, м3/ч,
где k - коэффициент, учитывающий долю теплоотдачи испарением в общей теплоотдаче, принимаемый в зависимости от температуры наружного воздуха по сухому термометру от 0, 001 до 0, 0016.
Потери на капельный унос через башни:
- для градирен, оборудованных водоуловителем - равны или меньше 0, 05%;
- для градирен без водоуловителя равны 0, 5% - 0, 8% циркуляционного расхода воды.
Потери воды на унос ветром через воздуховходные окна составляют 0, 02% - 0, 05% циркуляционного расхода воды (при средней скорости ветра до 3 м/с).
Для оборотных систем охлаждения с водоемами-охладителями безвозвратные потери состоят из:
- фильтрации через ложе и дамбы водоема-охладителя;
- естественное и дополнительное (за счет повышения температуры воды, вызванного теплом, отводимым от охлаждаемого оборудования) испарение с зеркала водохранилища.
Фильтрация воды из водохранилищ зависит от многих параметров, в значительной степени от фильтрующих свойств грунтов в его основании, которые изменяются в очень широких пределах.
|
Порода |
Значение коэффициента фильтрации, м/сут. |
|
Тяжелый суглинок |
0, 05 |
|
Легкий суглинок |
0, 05 - 0, 1 |
|
Супесь |
0, 1 - 0, 5 |
|
Лесс |
0, 25 - 0, 5 |
|
Песок пылеватый |
0, 5 - 1, 0 |
|
Песок мелкозернистый |
1, 0 - 5, 0 |
|
Песок среднезернистый |
5, 0 - 20, 0 |
|
Песок крупнозернистый |
20 - 50 |
|
Гравий |
50 - 150 |
|
Галечник |
100 - 500 |
|
Крупный галечник, лишенный песчаного заполнителя |
500 - 1000 |
Водопользование прямоточных ПСО относится к возвратному водопользованию с забором водных ресурсов из водных объектов при условии их возврата в водные объекты.
Иногда при анализе водных балансов прямоточных систем учитывают так называемые "потери на дополнительное испарение" в водном объекте за счет сброса нагретой воды. Их величина зависит от многих параметров, но для оценки можно принимать значение 1% от расхода отводимой теплой воды. Необходимо подчеркнуть, что эти "потери" происходят с поверхности водного объекта, за пределами прямоточных ПСО.
3.3.2 Применяемые методы снижения безвозвратного потребления воды
В данном разделе рассматриваются меры по снижению безвозвратного потребления воды. Аналогично энергопотреблению водопотребление нельзя рассматривать в пределах водного баланса только ПСО. Снижение потребления воды непосредственно ПСО может сопровождаться ростом безвозвратного потребления воды производственным объектом в целом. Например, использование прямоточной системы охлаждения приводит к дополнительному испарению из водного объекта - приемника сбросного тепла около 1% от расхода циркуляционной воды. В то же время применение оборотной испарительной системы с башенной градирней сопровождается потреблением (безвозвратным изъятием из водного объекта) объемов воды порядка 1, 5% - 2%.
При выборе методов снижения потребления воды необходимо учитывать влияние способов и объемов водопотребления на другие характеристики и экологические аспекты ПСО, в том числе:
- потребление энергии системами охлаждения и охлаждаемыми производственными процессами;
- сброс загрязняющих веществ в поверхностный водоем;
- необходимость подготовки и обработки циркуляционной воды;
- косвенные выбросы в атмосферу.
Объем потребления воды существенно зависит от типа применяемой ПСО. Несмотря на то, что наименьшие объемы воды потребляются воздушными радиаторными системами, их применение ограничено в связи с высокими значениями прямого и косвенного энергопотребления, а также высокими затратами. Применение сухих систем охлаждения обычно приводит к снижению эффективности охлаждаемого процесса. Сухие системы применимы только в случаях недоступности воды для применения водных прямоточных и оборотных испарительных ПСО.
При наличии достаточно крупного водного объекта наиболее рациональным способом снижения расходования его водных ресурсов является организация прямоточной или оборотной системы охлаждения с водоемом-охладителем.
Для водных оборотных систем с градирнями в качестве меры экономии воды широко применяют каплеуловители. При выборе конструкций каплеуловителя необходимо учитывать не только его эффективность улавливания капель, но и его аэродинамическое сопротивление, чтобы избежать роста энергопотребления.
Для водных систем охлаждения с бассейнами и водоемами важно применять меры по снижению потерь воды через ложа водоемов.
Значительное снижение объемов забора свежей воды для подпитки оборотной системы охлаждения может быть достигнуто за счет использования для подпитки слабоминерализованных сточных вод от других производственных систем без или после их предварительной очистки. На ТЭС к таким водам относятся дождевые и талые воды с территории предприятия, стоки от водной промывки котлов, взрыхляющие и промывочные воды фильтров водоподготовительных установок, продувочные воды котлов, вода после охлаждения подшипников вращающихся механизмов и другие нефтесодержащие стоки после их очистки от нефтепродуктов.
3.4 Ущерб водным организмам
3.4.1 Уровень ущерба
Водозабор из поверхностных водных объектов может быть элементом водных ПСО. Для крупных водозаборов, например, систем прямоточного охлаждения, ущерб для рыбы и других водных организмов может быть значимой проблемой. Некоторое количество водных организмов увлекается водным потоком на водозаборе и проходя через решетки на водозаборе, насосы и теплообменники травмируются или погибают. Количество погибающих водных организмов (гидробионтов) зависит от комплекса технических и гидробиологических факторов.
По результатам проведенного опроса две электростанции сообщили о величинах ущерба рыбным ресурсам от деятельности водозаборов. Это расчетные данные, определенные по результатам специальных исследований.
Электростанция с прямоточной системой охлаждения сообщила об ущербе рыбным ресурсам в размере 118 т в течение 2015 года. При этом водозабор ТЭС оснащен РЗУ механического типа, включающее вертикальные вращающиеся мусорозащитные сетки, рыбоподъемники, рыбоотводящий тракт и успокоительный бассейн. Об измеренной эффективности этого РЗУ не сообщается.
Другая электростанция с оборотной ПСО с русловым водохранилищем в качестве водоема-охладителя сообщила о среднегодовом ущербе в размере 1, 9 т/год. Водозабор ТЭС не оснащен РЗУ.
Сравнение удельных показателей ущерба, приведенных к расходу охлаждающей воды через водозабор, показывает их различие на 2 порядка: 103 кг/млн. м3 в первом случае при наличии РЗУ, и 3, 5 кг/млн. м3 во втором случае при отсутствии РЗУ. Это говорит о высокой зависимости уровня ущерба от характеристик экосистем водных объектов - источников водоснабжения.
Полных представительных данных по объемам рыбы, поступающей с охлаждающей водой или погибающей в системах охлаждения, нет. В справочнике ([9]) приведены результаты некоторых исследований в странах Европейского Союза.
Так, были проанализированы результаты 24-часовых опытов по подсчету количества рыб, погибших на водозаборе электростанции мощностью 600 МВт(эл) в Нидерландах на реке Рейн при расходе охлаждающей воды 22 - 25 м3/с. Результаты показали, что количество погибшей рыбы изменяется в широких пределах как по годам, так и между сезонами одного года. Наибольшая интенсивность гибели рыбы происходила летом.
Исследования на электростанции мощностью 2000 МВт на реке Трент в Англии показывали, что подавляющее большинство случаев попадания рыбы в водозабор происходило вечером или ночью в летний период. Электростанция оснащена оборотной системой охлаждения, свидетельств существенного ущерба рыбным ресурсам найдено не было. Такая же ситуация сложилась на другой, аналогичной по мощности, электростанции на реке Темза. На обеих станциях установлены сетки с ячейкой шириной приблизительно 9 мм.
Исследование относительно захвата и гибели рыбы на девяти голландских электростанциях показало, что более чем 95% экземпляров захваченной рыбы имели возраст менее 1 года и имели длину менее 10 см. Это подтверждено результатами исследований на упомянутой электростанции на реке Трент, хотя там смертность составляла 100%, в то время как в Нидерландах была отмечена незначительная смертность рыбы по сравнению с наблюдаемой естественной смертностью.
|
Водный объект |
Электростанция |
Установленная электрическая мощность, MВт |
Масса погибшей рыбы, кг/млн. м3 |
|
Северное море |
Sizewell A |
480 |
73 |
|
Kingsnorth |
2000 |
4, 4 | |
|
Dunkerque |
600 |
19 | |
|
Gravelines |
5400 |
48 | |
|
Пролив Ламанш |
Dungeness A |
410 |
190 |
|
Dungeness B |
1200 |
40 | |
|
Paluel |
5200 |
43 | |
|
Fawley |
2000 |
19 | |
|
Бристольский канал |
Hinkley B |
1300 |
24 |
|
Устье реки |
Le blayais |
3600 |
79 |
|
Река |
Loire (St Laurent A) |
1000 |
1, 8 |
В отчете ([49]) приведен анализ ущерба водным биоресурсам, наносимым крупными водозаборами промышленного назначения в США. В отчете указывается, что гибель гидробионтов на водозаборах является наиболее явным наблюдаемым видом ущерба систем охлаждения. Объем прямого ущерба от гибели и повреждения в целом по США, включая косвенные влияния, оценивается ЕРА примерно в 1, 9 млрд. особей в год и неравномерно распределен среди рыб, бентических беспозвоночных, фитопланктона, зоопланктона и других водных организмов. В этом объеме 0, 47 млрд. особей представлены видами, имеющими промысловое значение, остальные организмы являются кормовой базой для различных водных организмов. Этот ущерб имеет непосредственные эффекты и прямое влияние на величину популяции и распределение по возрасту затронутых разновидностей, и может увеличиваться через пищевые сети. В общем случае уровень ущерба невысок и составляет по оценке 2, 8% от объема вылова гидробионтов в результате частного и промышленного рыболовства.
Однако в некоторых случаях уровень ущерба может достигать значимых величин. Например, отмечается уровень ущерба, равный приблизительно 10% от среднего ежегодного прироста популяции зимней камбалы (Pseudopleuronectes americanus) в Южной Новой Англии, штат Массачусетс.
3.4.2 Применяемые методы снижения ущерба
Для водозаборов на реках, водохранилищах и других водоемах, которые имеют рыбохозяйственное значение и могут быть использованы в рыбохозяйственных целях, в соответствии с действующим законодательством Российской Федерации необходимо предусматривать строительство рыбозащитных и других рыбоохранных устройств и сооружений, согласованных с органами рыбоохраны и предназначенных для сохранения условий естественного воспроизводства водных биоресурсов при гидротехническом строительстве. Цель рыбозащитных устройств - предупреждение попадания в водозаборы, травмирования и гибели личинок и молоди рыб и отведения их в жизнеспособном состоянии в безопасное место рыбохозяйственного водоема для естественного воспроизводства.
Как было показано ранее объемы ущерба водных биоресурсам при эксплуатации водозаборов могут различаться на несколько порядков в зависимости от многих факторов. Соответственно и оптимальные решения для конкретных водозаборов определяются множеством разнообразных местных биологических, экологических и технических условий и факторов. В связи с этим невозможно определить единый наилучший для всех случаев метод или набор методов предотвращения или снижения ущерба водным биоресурсам на водозаборах.
В [13] предложен подход к выбору рыбозащитных мер, который на основе накопленного опыта в области рыбозащиты, анализа существующих конструкций РЗУ и положений СНиП 2.06.07-87 ([11]) позволяет выбрать оптимальную конструкцию РЗУ.
При проектировании РЗУ производятся предварительные ихтиологические изыскания с целью определения следующих характеристик экосистемы водного объекта: видовой и размерный состав защищаемых рыб; период их ската и миграции; вертикальное и горизонтальное распределение рыб; места расположения нерестилищ и зимовальных ям; сносящая скорость течения для молоди защищаемых рыб. Водозаборы размещают с учетом экологического районирования водоема в зонах (биотопах) пониженной плотности рыб. Не допускается их расположение в районах нерестилищ, зимовальных ям, на участках интенсивной миграции и большой концентрации личинок и молоди рыб, в заповедных зонах. Рыбозащитные устройства должны обеспечивать защиту рыб всех видов и размеров. При этом их рыбозащитная эффективность для рыб размером от 12 мм и выше должна быть не менее 70%.
Рыбозащитное устройство, как правило, включает три основных функциональных элемента: входной потокоформирующий, рабочий с защитно-водоприемной поверхностью и выходной рыбоотводящий. Дополнительно в конструкцию РЗУ может быть включен комплекс вспомогательных элементов.
Потокоформирующий элемент предназначен для создания гидравлической структуры поступающего в РЗУ потока воды, которая обеспечивает вывод рыб в удаленную от защитно-водоприемной поверхности рабочего органа зону транзитного потока и обеспечивает оптимальные условия для их ската на транзите в рыбоотводящий элемент.
Рабочий орган (защитно-водоприемный элемент) предназначен для поддержания оптимальных гидравлических условий пассивного ската молоди рыб в транзитном потоке и для равномерного со скоростями, не превышающими сносящие скорости для наименьшего размера защищаемых рыб, отбора рабочего потока в водозабор через реальную или воображаемую защитно-водоприемную поверхность.
Рыбоотводящий элемент предназначен для отведения защищенной молоди из зоны действия рабочего органа в безопасное место рыбообитаемого водоема. В качестве рыбоотводящего элемента может быть использовано естественное течение водотока или искусственное организованное течение в водоеме или рыбоотводящем тракте.
Вспомогательный элемент предназначен для повышения эффективности защиты главным образом подросших, свободно перемещающихся в водоеме рыб. С помощью дополнительных свойств он позволяет более полно и с большей эффективностью использовать рыбозащитные качества основных функциональных элементов как в комплексе, так и в отдельности. При этом в конструкцию рыбозащитных сооружений могут быть включены как один, так и сразу несколько вспомогательных элементов. Как правило, вспомогательные элементы оказывают на рыб физиологическое влияние различного происхождения, обеспечивающее самостоятельное активное движение рыб от источника опасности на участки водоема с более комфортными условиями обитания.
Конструкция РЗУ для конкретного водозабора разрабатывается как комбинация различных вариантов из набора функциональных основных и вспомогательных элементов.
Потокоформирующие элементы РЗУ
Потокоформирующий элемент является основным элементом конструкции, не только организующим гидравлическую структуру потока в РЗУ, но и, главным образом, влияющим на характер перераспределения молоди внутри устройства в определенную его зону. Поэтому, поскольку он предназначен для организации такой гидравлической структуры поступающего в устройство потока, при которой молодь рыб перераспределяется в его транзитную зону, и рассматривать этот элемент целесообразно в зависимости от характера его воздействия на структуру течения транзитного потока.
Обеспечить перераспределение молоди рыб в потоке можно, сформировав следующие гидравлические структуры его течения: реоградиентную, с поперечной циркуляцией и вызывающую "реакцию избегания".
Реоградиентная структура потока характеризуется наличием зон с различными скоростями течения, обладающими различной транспортирующей молодь рыб способностью. В свою очередь, именно повышенная транспортирующая способность транзитного рыбоотводящего потока обеспечивает эффективное перемещение молоди рыб мимо водоприемной поверхности рабочего органа в оголовок рыбоотвода и далее из зоны влияния водозабора. Реоградиентную структуру потока можно сформировать либо установкой в водотоке стационарных потокоформирующих элементов (наклонных поверхностей, конфузоров и т.д.), создающих в определенной его зоне течение с повышенной скоростью, либо подачей в эту зону высокоскоростной струи из автономных или питающихся из напорной сети водопотребителя струегенераторов.
Поперечная циркуляция потока позволяет перераспределить скатывающуюся в водотоке молодь рыб в его определенную рыбоотводящую зону. Структуру течения потока с поперечной циркуляцией можно сформировать установкой в водотоке закручивающего потокоформирующего аппарата. При этом конструкция последнего может быть различной (завихрители с осевым и тангенциальным входом, струенаправляющие лопатки, излучина и т.д.).
Наличие различных возмущений в потоке, имеющих механическую, гидравлическую или иную природу, может вызвать у рыб "реакцию избегания", отпугивающую их от источника опасности, в данном случае водоприемной поверхности рабочего органа РЗУ. Структуру течения потока, вызывающую у рыб "реакцию избегания", можно сформировать, установив в водотоке устройство, оказывающее на него локальное или более объемлющее воздействие, заставляющее рыб самостоятельно выйти из зоны действия данного устройства, т.е. и из зоны действия водозабора. Примерами таких устройств могут быть стационарные или движущиеся турбулизаторы потока, водовоздушные завесы и т.д.
В настоящее время разработаны следующие типы потокоформирующих элементов: кумулятивные, вихревые, инерционные, струйные, поворотно-русловые, водовоздушные, воздушно-пузырьковые и турбулизирующие. Их исследования дали толчок к созданию целого направления в разработке РЗУ переформирующего типа. В результате на их основе было разработано целое семейство переформирующих рыбозащитных сепараторов.
Рабочие органы РЗУ
Рабочий орган РЗУ, являясь защитно-водоприемным элементом, в многокомпонентных переформирующих РЗУ выполняет главным образом водоприемно-распределительную функцию.
Переформирующий рабочий орган представляет собой устроенную за потокоформирующим элементом поверхность, служащую для плавного растекания рабочего потока в водоприемные окна с сохранением организованной на входе в устройство оптимальной гидравлической структуры транзитного течения. В большинстве случаев эта поверхность выполняется водонепроницаемой или вообще является стенками водовода, а водоприемные окна потребителя располагаются за ней фронтально к движущемуся в устройстве потоку, как, например, в рыбозащитном концентраторе с вертикальной сепарацией.
Заградительный рабочий орган представляет собой расположенную за потокоформирующим элементом мелко- или крупноперфорированную поверхность, служащую для равномерного отбора из транзитного потока рабочего потока через перфорацию к водопотребителю при одновременном недопущении попадания молоди рыб в водозабор. Здесь имеет место не фронтальный, а "щелевой" тип водозабора. При этом транзитная (рыбоотводящая) зона остается одинаковой для обоих типов рабочих органов, поэтому установка заградительного рабочего органа за потокоформирующим элементом (например, входной гранью порога) позволяет придать всему РЗУ новое качество: оно становится чисто отводящим переформирующим ночью, в наибольшей степени использующим естественные особенности пассивного ската молоди рыб, и отводящим рыбозаградителем днем, ориентирующим молодь на активный уход от преграды (защитно-водоприемного экрана).
Отгораживающий рабочий орган представляет собой установленный в зоне влияния водозабора водонепроницаемый экран, служащий для предотвращения прямого доступа молоди рыб к потребителю из рыбообитаемых горизонтов водоема и обеспечения забора воды из мало насыщенных молодью рыб горизонтов водоема. Для эффективной работы отгораживающего рабочего органа необходимо осуществлять мероприятия по переконцентрации молоди рыб в зону защиты (к защитному экрану) и обеспечению вдоль него естественно или искусственно организованного транзитного течения для выноса и транспортировки рыб, накапливающихся перед этим экраном, из зоны действия водозабора.
Рыбоотводящие элементы РЗУ
Рыбоотводящий элемент РЗУ (рыбоотвод) предназначен для отведения защищенной жизнеспособной молоди рыб из зоны действия рабочего органа РЗУ в безопасное место рыбообитаемого водоисточника для ее дальнейшего естественного воспроизводства.
Основными функциональными показателями работы рыбоотвода являются его транспортирующая способность, характеризующаяся скоростью течения потока, выносящего молодь рыб из зоны влияния водозабора, а также расход рыбоотвода по отношению к рабочему расходу воды, забираемой водопотребителем.
Рыбоотвод (систему отведения молоди из зоны влияния водозабора в безопасное место водоисточника) целесообразно рассматривать в зависимости от характера используемого для этого течения, а именно:
- как естественное течение водотока;
- как искусственно организованное течение водотока;
- как течение в отводящих трактах (трубопроводах, каналах и т.д.).
При этом естественное течение водотока может иметь место, как в речном русле, так и в искусственном канале. Искусственно организованное течение для отвода молоди рыб от водозабора можно организовать, создав искусственный стрежень или локальный гидравлический экран.
Искусственный стрежень организуется с помощью системы последовательно установленных в слабо проточном водоеме автономных струегенераторов в целях отведения защищенной в рыбозащитном сепараторе молоди в том случае, если организация рыбоотводящего тракта невозможна или экономически невыгодна. При этом система струегенераторов создает локальное течение (струю) от рабочего органа в безопасное место водоема, т.е. за пределы зоны влияния водозабора.
Гидравлический экран решает более локальную задачу, а именно отвод защищаемой молоди из зоны действия рабочего органа, например, жалюзийного экрана. В этом случае гидравлический экран выполняет функции не только рыбоотводящего, но и потокоформирующего и рабочего элементов.
Отведение защищенной молоди рыб из зоны действия водозабора в рыбоотводящих трактах - наиболее распространенный способ организации рыбоотвода практически на любых водозаборах, размещенных в слабопроточном водоеме. При этом транспортирование молоди может осуществляться по трубопроводу, в открытом или закрытом канале, в специально организованной в водоподводящем канале акватории.
Компактные трубопроводы целесообразно прокладывать от рыбозащитного сепаратора обратно в водоисточник по дну непротяженных водозаборных ковшей или каналов. При наличии более протяженных каналов на создание течения в трубопроводах приходится затрачивать значительные энергетические ресурсы, что не всегда бывает экономически приемлемым, поэтому в данном случае более целесообразным является устройство в водоподводящем канале специальной акватории, отгороженной от водозабора, например, продольной стенкой. При этом специального течения в акватории не создается, кроме как за счет поступающего в нее потока воды из оголовка рыбоотвода. В случае размещения рыбозащитного сепаратора на значительном удалении от водоисточника целесообразно применение закрытых или открытых каналов, выбор типа которых зависит от топографической характеристики местности. Кроме того, закрытый канал является сопрягающим звеном между оголовком рыбоотвода и открытым каналом. В зависимости от топографической характеристики местности (наличие больших уклонов поверхности земли, перепада между бьефами гидроузла и т.д.) течение в рыбоотводящих трактах может быть самотечным. При отсутствии таковых течение в рыбоотводящих трактах организуется специальными устройствами (эжекторами, водогонами и т.д.). В этом случае рыбоотвод включает следующие элементы: оголовок рыбоотвода, узел создания течения, рыбоотводящий тракт (трубопровод, канал и т.д.).
Вспомогательные элементы РЗУ
Вспомогательные элементы РЗУ предназначены для повышения эффективности защиты главным образом подросших, свободно перемещающихся в водоеме рыб путем проведения дополнительных рыбозащитных мероприятий, позволяющих более полно и с большей эффективностью использовать "рыбозащитные" качества основных функциональных элементов, как всех в комплексе, так и каждого в отдельности. При этом в конструкцию РЗУ могут быть включены как один, так и сразу несколько вспомогательных элементов. Как правило, вспомогательные элементы оказывают на рыбу физиологическое воздействие различного происхождения, обеспечивающее самостоятельное активное движение рыб в локальные зоны с более комфортными условиями обитания и одновременно удаленные от зоны влияния водозабора.
В зависимости от способа воздействия на защищаемых рыб вспомогательные элементы делятся на три основные группы:
- ориентирующие (направляющие);
- привлекающие;
- отпугивающие.
Ориентирующие вспомогательные элементы предназначены:
- для ограничения зоны безопасного ската рыб вдоль рабочего органа (воздушно-пузырьковая завеса, тактильный ориентир, электрорыбозаградитель, "световая дорожка"), что снижает вероятность контакта рыб с водоприемной поверхностью рабочего органа РЗУ, их травмирования и гибели. В результате рыбозащитная эффективность всего устройства повышается;
- для улучшения условий отвода рыб из зоны действия водозабора (тактильный ориентир, "световая дорожка").
В результате применения ориентирующего вспомогательного элемента в системе рыбоотведения РЗУ удается значительно сократить протяженность рыбоотводящих трактов и снизить энергозатраты на создание в них течения воды.
В большинстве случаев для создания водовоздушной завесы (ВВЗ) перфорированным оголовком воздуховода - эрлифтом доукомплектовывается потокоформирующий элемент РЗУ. При этом шлейф ВВЗ располагается по границе между транзитным течением, транспортирующим защищаемую рыбу в рыбоотвод, и зоной растекания потока по рабочему органу РЗУ. Являясь визуальной и акустической преградой для большинства активно перемещающихся в потоке рыб, ВВЗ предотвращает выход рыб из транзитной зоны потока в зону действия рабочего органа РЗУ. Это обеспечивает бесконтактную защиту не только покатной молоди рыб, устойчиво сносящейся в потоке, но и подросших рыб, способных к более самостоятельным перемещениям в водотоке.
Тактильный ориентир (продольные лотки, стенки и т.п.) устраивается в омываемой транзитным течением периферийной зоне действия рабочего органа РЗУ. Он предназначен для обеспечения возможности подросшим рыбам восстанавливать тактильную ориентацию и самостоятельно выходить из "высокоскоростной" зоны транзитного течения, не подходя при этом к водоприемной поверхности рабочего органа РЗУ для отдыха, дальнейшего ската в зонах с пониженными скоростями течения или устойчивой тактильной ориентации.
Электрорыбозаградитель - система электродов, создающих отпугивающее рыб электрическое поле, предназначенное для стимулирования ухода рыб от водоприемной зоны рабочего органа РЗУ в транзитную периферийную зону с последующим скатом в ней в оголовок рыбоотвода. Как правило, размещается электрорыбозаградитель параллельно или под углом к водоприемной поверхности рабочего органа РЗУ либо ею собственно и является.
"Световая дорожка" предназначена для восстановления ориентации рыб в потоке или стимулирования их движения в необходимом для целей рыбозащиты направлении. В зависимости от назначения "световая дорожка" может располагаться как в водоприемной, так и в транзитной зоне рабочего органа РЗУ. Она может быть движущейся - "бегущая волна", образованная поочередным включением рядов электрических ламп, и стационарной, выполненной из постоянно светящихся ламп или черно-белой разметки - "зебра".
Апеллентные вспомогательные элементы предназначены:
- для привлечения и удержания мигрирующих рыб в безопасных, удаленных от зоны влияния водозабора участках водоема (аэратор, места оптимального обитания, световой маяк и звуковой манок). Это позволяет замедлить на продолжительное время или вообще полностью прекратить скат рыб в зону действия водозабора. В связи с этим применение апеллентных вспомогательных элементов в ряде случаев можно рассматривать как самостоятельные рыбозащитные мероприятия и альтернативу оборудованию водозаборов рыбозащитными сооружениями;
- для привлечения и стимуляции движения рыб по РЗУ в оголовок рыбоотвода (световой маяк и звуковой манок);
- для сокращения протяженности рыбоотводящих трактов и энергозатрат на организацию в них течения воды (аэратор, места оптимального обитания, световой маяк и звуковой манок).
Аэратор целесообразно использовать в водоемах с пониженным содержанием кислорода в воде. В этом случае при размещении различного рода аэрационных установок (плавучих и стационарных аэраторов, перфорированных трубопроводов, подключенных к напорному воздуховоду и т.д.) в удаленных от водозабора участках заморного водоема, можно добиться самостоятельного перехода рыбного стада и кормовой базы водоема из зоны действия водозабора в зону действия аэратора. При этом целесообразно применять мобильные плавучие аэрационные установки, позволяющие более оперативно реагировать на изменение гидрологической, водовоздушной и гидрохимической ситуации в водоеме и концентрировать рыбу на оптимальных в данный момент участках водоема. Аэратор может быть размещен также в протяженных рыбоотводящих трактах РЗУ для улучшения кислородного режима, созданного в них течения, а также на входе в оголовок рыбоотвода для привлечения к нему защищаемых рыб.
Места оптимального обитания рыб - участки акватории с оптимальными для обитания рыб рельефом дна, гидрологическим, температурным, кислородным и кормовым режимами, предназначены для улучшения условий обитания и нагула рыб, а также для задержки и полного прекращения ската молоди рыб ранних возрастных групп вниз по течению в зону опасности, например, к водозаборным сооружениям.
Места оптимального обитания рыб подразделяются на:
- русловые, предназначенные для задержки ската ранней молоди рыб с нерестилищ. Они устраиваются в русле водотока, непосредственно ниже по течению нерестилищ или выше опасной зоны (водозабора). Локальными стационарными или передвижными русловыми местами оптимального обитания рыб могут быть дооборудованы выходные оголовки рыбоотводов в целях сокращения протяженности рыбоотводящих трактов РЗУ;
- береговые ловушки-рыбонакопители, размещаемые в естественных или искусственных заливах и предназначенные как для задержки ската ранней молоди с нерестилищ, так и, главным образом, для предупреждения попадания молоди рыб в водозаборные и водосбросные сооружения путем удержания рыб в комфортных условиях обитания. В них также могут быть направлены и рыбоотводящие тракты РЗУ.
Места оптимального обитания рыб можно рассматривать как самостоятельные рыбозащитные сооружения, особенно в тех случаях, когда необходимо задержать или полностью прекратить скат рыб в водосбросные сооружения крупных гидроузлов или водоприемники ГЭС. В связи с этим они включают весь комплекс основных функциональных элементов и оборудованы входным потоко- и рыбонаправляющим оголовком, рабочей рыбонакапливающей акваторией и системой (гидравлической, механической, рельефной и т.д.) удержания рыбы в акватории, т.е. противорыбоотводом. Входной оголовок мест оптимального обитания рыб целесообразно оборудовать вспомогательным рыбонаправляющим устройством.
Световой и звуковой манки целесообразно использовать в рыбоводных хозяйствах для перераспределения рыб из зон действия водозабора или водосброса в удаленные от них, желательно кормовые, зоны водоема. Манки могут быть различной конструкции при условии, чтобы их сигнал хорошо воспринимался рыбой и подавался во время ее кормления. Манки могут размещаться также в оголовке рыбоотвода для ориентации и привлечения в него защищаемых рыб и на безопасных участках водоема, расположенных за выходным оголовком, как правило, укороченного рыбоотвода для организации самостоятельного движения рыб по намеченной трассе рыбоотведения.
Репеллентные вспомогательные элементы предназначены для отпугивания рыб от водоприемной зоны рабочего органа РЗУ в целях предотвращения попадания их в водозабор.
В большинстве случаев в собственно РЗУ они конструктивно и функционально схожи с ориентирующими вспомогательными органами. Однако при определенных условиях (малая производительность водозабора, незначительный ущерб, наносимый им рыбному хозяйству, и т.д.) репеллентные вспомогательные элементы возможно использовать и как самостоятельные рыбозащитные сооружения.
Водовоздушная завеса (пневмобарьер) устраивается перед водозабором в индифферентной зоне его влияния, т.е. там, где скорости течения воды в водозабор не превышают пороговых скоростей плавания защищаемых рыб. Весьма желательно, чтобы вдоль ВВЗ существовало транзитное течение водотока. Конструктивно и функционально репеллентная ВВЗ схожа с ориентирующей ВВЗ. Принцип ее действия заключается в отпугивании рыб, соприкасающихся с визуально непроницаемой, движущейся "стенкой". Кроме того, поскольку репеллентная ВВЗ расположена в зоне пониженных скоростей течения воды, то ее факел поднимается практически вертикально вверх. При этом вдоль факела формируется восходящее водное течение, увлекающее за собой молодь рыб. Растекаясь по поверхности, оно способствует выносу рыб в поверхностном слое от водозабора обратно в водоем, что можно рассматривать как проявление рыбоотводящих функций. Однако наиболее целесообразной является совместная работа ВВЗ с защитно-водоприемной поверхностью рабочего органа иного типа, например, переформирующего, с направлением водовоздушного факела спутно транзитному течению в оголовок рыбоотвода, т.е. использование ВВЗ в качестве ориентирующего вспомогательного элемента РЗУ.
Электрорыбозаградитель также устраивается в индифферентной зоне влияния водозабора и конструктивно и функционально схож с ориентирующим электрорыбоза-градителем. Однако поскольку при его работе не формируются никакие рыбоотводящие течения, то его можно использовать только на водотоках или дооборудовать им транзитные участки рабочих органов РЗУ.
Световой и звуковой барьеры - системы пульсирующих ламп, гидрофонов, звуковых вибраторов и т.д., устанавливаемые в индифферентной зоне влияния водозабора, служащие для дооборудования рабочих органов РЗУ и предназначенные для оказания на рыб отпугивающе-ориентирующего воздействия, препятствующего их заходу в опасную зону.
Эффективность акустических барьеров, в первую очередь, для молоди рыб, не превышает 60% - 70%. По этой причине рекомендуется использование комбинированных (акустико-механических, акустико-пузырьковых, акустико-электрических и т.д.) РЗУ, обеспечивающих одновременное воздействие на несколько каналов восприятия информации у рыб об окружающей обстановке (слуховые, зрительные, тактильные и др. рецепторы). Сообщается, что эффективность акустико-пузырьковых РЗУ на крупных водозаборах составляет 90% - 95%.
При создании оптимальных конструкций РЗУ для конкретных объектов осуществляется выбор типа каждого из функциональных элементов - потокоформирующего, рабочего и рыбоотводящего, а также вспомогательных элементов - с учетом следующих основных факторов:
- существующая в водоеме в зоне действия водозабора ихтиологическая обстановка (размерно-видовой состав подлежащих защите рыб, характер их покатных, кормовых и других миграций и т.д.) влияет в основном на выбор потокоформирующего элемента и рабочего органа;
- топографический, гидрологический, климатический и другие факторы - на все три функциональных элемента РЗУ;
- капитальные и эксплуатационные затраты - на все три функциональных элемента и главным образом на рабочий орган и рыбоотвод;
- обеспечение требуемой рыбозащитной эффективности - на все три функциональных элемента РЗУ и главным образом на потокоформирующий элемент;
- обеспечение отвода защищенной молоди рыб в жизнеспособном состоянии в безопасное место рыбообитаемого водоисточника - на рыбоотвод.
3.5 Тепловое воздействие на окружающую среду
3.5.1 Влияние ПСО на температуру воды водных объектов
Объем тепла, отводимого от производственного объекта в окружающую среду, определяется общей эффективностью использования энергии объектом. Поэтому ПСО, обеспечивающие наивысшие значения энергоэффективности охлаждаемых технологических процессов и потребляющие наименьшее количество энергии, обеспечивают наименьший объем тепла, отводимого в окружающую среду.
Все тепло, отводимое ПСО от производственных объектов, независимо от их типа и конструкции в итоге оказывается в атмосфере. В то же время некоторые типы водных ПСО отводят все (прямоточные системы, оборотные системы с водоемами-охладителями) или часть тепла (водные оборотные системы с различными градирнями, брызгальными бассейнами) в поверхностные водные объекты, которые можно рассматривать как промежуточные приемники тепла. Изменение естественного температурного режима водных объектов может при некоторых условиях приводить к неблагоприятным изменениям в водных экосистемах, создавать препятствия для пользования водными объектами для других водопользователей. В связи с этим законодательством Российской Федерации установлены меры и механизмы регулирования теплового воздействия на водные объекты.
Необходимо отметить, что по характеру воздействия на водные объекты тепло, в силу своей природы, существенно отличается от воздействия загрязняющих веществ:
- тепло не способно накапливаться в водных объектах или гидробионтах (как, например, некоторые загрязняющие вещества) из-за постоянного теплообмена водного объекта и атмосферы и поверхности земли (дна, берегов водного объекта). В связи с этим тепловое воздействие на водные объекты всегда имеет ограниченный во времени характер, локализовано в пределах определенной зоны, размеры которой определяется соотношением интенсивности процессов поступления тепла в водоем и его рассеивания в окружающей среде. При прекращении сброса тепла в водный объект он достаточно быстро возвращается к своему естественному тепловому состоянию;
- тепло само по себе не оказывает неблагоприятного воздействия на экосистему водоема и водные организмы. Травмирующим фактором может стать повышение температуры воды выше определенных уровней, зависящих от видового состава экосистемы и жизненной фазы водных организмов. Чувствительность к температурному режиму воды различна для разных видов организмов и для разных фаз их развития. В связи с этим законодательные ограничения для техногенного теплового воздействия касаются именно температуры отводимого тепла и его влияния на температуру воды водного объекта, при этом общий объем тепла, сбрасываемого в водный объект, не ограничивается и не регулируется.
Температура воды оказывает прямое влияние на гидробионтов и их физиологию, а также косвенное воздействие через влияние на содержание в воде кислорода и других растворенных газов. Повышение температуры в водоемах может привести к увеличению объемов потребления кислорода и росту биомассы (эвтрофикация), сокращает величину насыщения воды кислородом, что приводит к снижению концентрации кислорода. Рост температуры воды также ускоряет микробное разложение органических веществ, вызывая увеличенное потребление кислорода. Известны случаи аномально высокого повышения температур воды в водных объектах, как правило, небольших. Эти инциденты связаны с аномально высокими температурами окружающей среды, не характерными для данной местности, или условиями маловодности, засухи, когда охлаждающая способность водного объекта резко снижается. Кроме того, если один поверхностный водоем используется несколькими промышленными объектами, требуется учитывать возможность влияния сбросов тепла на эксплуатацию производственных процессов, расположенных ниже по потоку.
Так как рыбы не имеют своей постоянной температуры тела и относятся к пойки-лотермным животным, то температура тела их только на десятые доли градуса отличается от температуры воды. Рыбы могут жить при различной температуре воды, некоторые виды рыб выдерживают значительные колебания ее температуры. Так, щука, окунь, карп, карась, лещ, сазан, линь живут в водоемах, в которых температура воды в течение года изменяется в широких пределах, а другие виды - треска, камбала, рыбы полярных и тропических широт - переносят лишь небольшие температурные колебания, не более 5°С - 7°C.
Исходя из оптимальных температурных условий жизни, все виды рыб условно подразделяются на холодноводных и тепловодных.
К тепловодным относятся семейства карповых, осетровых и др. Некоторые виды тепловодных рыб нерестятся при температуре 13°С - 20°С, а другие при температуре воды в пределах 17°С - 22°С. Питание и рост тепловодных рыб происходит наиболее интенсивно при температуре воды в пределах 18°С - 25°С и выше. При температуре 22°С - 28°С тепловодный карп значительно лучше принимает корм и усваивает пищу, чем при температуре 18°С.
К холодноводным относятся: лосось, семга, форель, белорыбица (семейство лососевых), сиг, рипус, ряпушка (сиговые) и др. Они нерестятся при температуре воды ниже 10°C и наиболее интенсивно питаются и растут при температуре в пределах 8°С - 16°C.
В зависимости от биологического состояния (икра, личинки, мальки, годовики и т.д.), рыбам необходимы определенные оптимальные температуры (табл. 3.4).
|
Виды рыб |
Икра |
Личинки |
Взрослая рыба |
|
Карп |
12, 5 - 30 |
17 - 32 |
10 - 30 |
|
Лещ |
- |
8 - 23 |
8 - 28 |
|
Голавль |
- |
- |
8 - 28 |
|
Линь |
- |
- |
20 - 26 |
|
Плотва |
- |
5 - 20 |
8 - 25 |
|
Щука |
7 - 16 |
8 - 23 |
9 - 25 |
|
Окунь |
- |
- |
8 - 25 |
|
Судак |
12 - 18 |
12 - 18 |
12 - 26 |
|
Ручьевая форель |
4 - 6 |
12, 4 |
10 - 17, 6 |
|
Радужная форель |
6 - 14, 4 |
8 - 14 |
10 - 18 |
|
Голец |
8, 0 |
16, 0 |
14 - 16 |
|
Кумжа |
4 - 6 |
- |
5 - 14 |
|
Хариус |
8 - 14 |
- |
12 - 18 |
|
Сиг |
- |
0 - 3 |
23 |
У холодноводных рыб при высоких температурах резко снижается активность и уменьшается интенсивность питания. Наоборот, у тепловодных рыб интенсивность обмена веществ в организме протекает при более высоких температурах, но не выше 30°С. Холодноводные рыбы - форель, сиг, лососевые хорошо развиваются в относительно холодной воде. Для радужной форели оптимальным является температура воды в пределах 16°C - 18°C.
Температура воды в водоеме имеет важное значение для размножения рыб. Так, холодноводные рыбы мечут икру поздно осенью (лососевые породы, сиги и др.), а тепловодные рыбы (карповые породы, сомы, осетровые и др.) приступают к размножению весной и в начале лета.
С изменением температуры воды в водоеме меняется процесс газообмена у рыб, а также изменяется концентрация в воде свободного кислорода. Так, для карпов при температуре воды в водоеме в пределах 1°С минимальная концентрация кислорода должна составлять 0, 8 мг/л, а при температуре воды 30°С - 1, 3 мг/л.
В связи с изменением температуры воды в водоеме происходит изменение токсического действия некоторых веществ на организм рыб. Например, при температуре воды в пределах 1°С летальная концентрация углекислоты CO2 для карпа составляет в количестве 120 мг/л, а при температуре воды 30°С - 55 - 60 мг/л.
Начиная со второй половины 20-го века, было проведено достаточно большое количество, в том числе многолетних и комплексных, исследований влияния теплых сбросных вод ТЭС и АЭС на экосистемы водных объектов ([22]) - ([42]).
В [42] приведены результаты многолетних наблюдений за воздействием Костромской ГРЭС на экосистему Горьковского водохранилища. По результатам исследований был сделан вывод о том, что отчетливо выраженное воздействие тепловых сбросов Костромской ГРЭС на мейобентос (мелкие водные донные организмы) проявлялось у некоторых животных только в смещении фаз жизненного цикла. В остальном различия между зонами с повышенной и нормальной температурами четко не прослеживались.
Влияние нагрева воды на бентос обычно завуалировано другими, более значимыми факторами, например, типом донных отложений. Видимо, по этой причине литературные данные о влиянии сбросов подогретых вод на мейобентос противоречивы. Мейобентос глубоководных участков Мошковичского залива Иваньковского водохранилища, принимающего в себя подогретые воды из системы охлаждения Конаковской ГРЭС, и других частей водоема сходен по видовому составу, в то время как количественные показатели сообщества наиболее высоки в заливе. Максимальные значения численности и биомассы отмечены в зоне умеренного подогрева. За вегетационный период численность и биомасса мейобентоса в подогреваемой части водного объекта в среднем были примерно вдвое выше, чем вне зоны влияния теплых вод.
В глубоководной зоне Новотроицкого водохранилища, служащего водоемом-охладителем Ставропольской ГРЭС, на участке влияния подогретых вод мейобентос значительно богаче, чем в естественных условиях.
По результатам исследований ([24]) влияния Назаровской ГРЭС на экосистему реки Чулым были сделаны следующие основные выводы.
1) Исследования гидрологического режима реки Чулым в районе действия Назаровской ГРЭС показали наличие изменений, возникающих под воздействием сточных вод ТЭС, выражающихся в увеличении температуры воды в районе впадения сбросного канала на 11°С в течении марта и октября, а также на 8°С в летние месяцы, в уменьшении прозрачности воды и отсутствии ледяного покрова на участке реки протяженностью около 60 км.
2) Установлено увеличение количества растворенного в воде кислорода на станциях, подверженных влиянию сбросных вод электростанции до 9, 0 мг/л против 7, 5 мг/л на фоновой станции.
3) На участках сброса теплых вод и их перемешивания с речным стоком отмечается повышенная биомасса фитопланктона (в 2, 0 - 2, 5 раза выше по сравнению фоновым участком реки) и увеличение его видового разнообразия (с 46 видов на фоновом участке до 69). Смены доминирующих видов на участке реки, подверженном влиянию Назаровской ГРЭС, по сравнению с фоновым не происходит.
4) В период с 1979 года по 2001 год на участке реки Чулым, подверженном влиянию сбросных вод теплоэлектростанции, произошло уменьшение количества видов фитопланктона с 93 в 1979 году до 70 в 2001 году. С 1991 года отмечаются новые виды водорослей, встречающиеся в летнее время повсеместно, но наиболее массовое развитие отмечено на участке реки, где происходит смешивание водных масс реки и Назаровской ГРЭС.
5) На участках реки Чулым, подверженных влиянию сточных вод ТЭС, происходит опережение развития зоопланктона в весенний период.
6) Величина продукции органического вещества, значения коэффициентов продуктивности фитопланктона и деструкции органического вещества имеют наибольшие значения в течение вегетационного сезона в постэкстримальный температурный период. Это свидетельствуют о стимулирующем действии температуры на указанные процессы. Кроме того, полученные данные позволяют сделать заключение о том, что температура воды в реке выше 25°С оказывает подавляющее действие на рассматриваемые процессы.
7) Анализ полученных результатов свидетельствует о стабильном состоянии экосистемы реки Чулым, и отсутствии в ней выраженных признаков теплового загрязнения.
В монографии ([25]) представлены результаты многолетних исследований техно-экосистемы АЭС. На примере Хмельницкой атомной электростанции рассмотрена концепция техно-экосистемы, особенности ее элементов, характер техногенных и биотических факторов. Приводятся данные по гидрохимическому режиму, гидродинамическим характеристикам водоема-охладителя, гидробиологии основных группировок - планктона, бентоса, перифитона, а также рыбному населению. Рассмотрены концептуальные положения различных подходов к оценкам техногенного воздействия на водные экосистемы.
В [43] приведены результаты многолетнего мониторинга гидрологических, гидрохимических и гидробиологических характеристик Беловского водохранилища. Анализ данных показывает, что динамика его экосистемы соответствует, установленным ранее для других малых водохранилищ умеренных широт, закономерностям. Постоянное поступление дополнительного тепла в результате использования водохранилища в качестве водоема-охладителя ГРЭС, определяет его тепловое эвтрофирование и создает повышенный потенциал самоочищения воды. Изменение качества воды вследствие использования водоема для выращивания рыбы, рекреации, в результате сельскохозяйственного производства и разработки угольных месторождений на водосборном бассейне имеет локальный характер и ограничено во времени. Адаптивный потенциал экосистемы водохранилища достаточен для самосохранения и самовосстановления ее состава, структуры и функционирования.
В результате информационного обмена не было получено сведений о случаях превышения НДС по температуре при эксплуатации ПСО. Превышение НДС по температуре возможно только для ПСО, предполагающих отведение нагретой воды в водные объекты:
- прямоточные системы;
- водные оборотные системы с водоемами-охладителями;
- водные оборотные системы с испарительными градирнями различного типа, брызгальными бассейнами, отводящие продувочные воды в природные водные объекты.
Прямоточные системы и оборотные водные системы с водоемами-охладителями характеризуются наибольшими объемами сброса тепла в водоемы, поскольку все отводимое ими тепло отводится в атмосферу через водные объекты. Температуры тепловой воды, отводимой этими ПСО в водные объекты или водоемы-охладители, как правило, превышают температуру воды на водозаборах на 7°С - 10°C.
Охлаждающая вода в оборотных системах с градирнями передает большую часть своего тепла через градирню непосредственно в атмосферу, а небольшая часть тепла поступает с продувочными водами в водные объекты и только затем - в атмосферу. Объем тепла, сбрасываемого с продувочными водами градирен, составляет приблизительно до 1, 5% всего отводимого ими объема тепла.
Знание поведения потока теплой воды в поверхностном водоеме будет ценно не только для защиты принимающей среды, но также и для того, чтобы выбрать правильное место для водозабора и выпуска. Важно предотвратить циркуляцию потока к водозабору, что может оказать влияние на температуру забираемой воды и, следовательно, снижать эффективность системы охлаждения. Как пример, площадь влияния теплового сброса в пределах изотермы повышения естественной температуры на 1°С (например, в озере без сильных течений), составляет приблизительно 1 га на МВт(эл) для обычной электростанции, или приблизительно 45 км2 для электростанции 5000 МВт(эл).
Распределение тепла в водном объекте происходит под воздействием различных физических явлений: турбулентная диффузия, конвекция в воде, перемещение потоков жидкости переменной плотности, испарение, радиация, конвекция в воздухе. В зависимости от температуры и объема сброса тепла и типа принимающей среды, некоторые явления являются преобладающими и определяют способ распределения тепла в принимающей среде.
Расчет распределения тепла в водном объекте достаточно сложен из-за множества механизмов его распространения и, соответственно, множества влияющих факторов. Нормативная методика расчета температур воды в водном объекте дана в [46]. Исходные условия и параметры для расчета НДС тепла должны содержать:
- данные об использовании водного объекта (экологическое состояние, виды использования, баланс водопотребления и водоотведения, схема расположения водозаборов и выпусков сточных вод);
- гидрологические характеристики водного объекта в год 95% обеспеченности: для водотоков - расход, скорость течения, глубина; для водоемов - нормативный подпорный уровень и уровень "мертвого" объема, средняя глубина и площадь водного зеркала;
- расходы забираемой воды из водного объекта на охлаждение оборудования;
- расходы и температуры нагретых вод;
- среднемноголетние метеорологические условия, к которым относятся: естественная температура воды в водном объекте, °C; температура, °C и влажность воздуха, Па; максимальная температура и соответствующая ей влажность воздуха за последние 10 лет, °C; скорость ветра на ближайшей береговой метеостанции, м/с; высота флюгера на ближайшей метеостанции, м; облачность общая и нижняя, баллы (доли единицы).
Охлаждение воды в водоемах-охладителях происходит с поверхности зеркала воды, участвующей в теплообмене, являющейся активной зоной водоема. Водоемы-охладители обеспечивают более низкие температуры охлажденной воды, чем градирни и брызгальные бассейны, при меньшем колебании температуры в течение суток благодаря их большой теплоаккумулирующей способности.
Различают ближнюю и дальнюю зоны сброса охлаждающей воды. Ближняя зона определяется как область, в которой перемешивание теплого водного потока с речной водой еще неполно. Температура воды в ближней зоне зависит от степени смешивания воды. Смешивание может быть интенсифицировано и ускорено за счет применения специальных устройств.
Дальняя зона - область теплой воды, которая полностью перемешана по глубине и является, таким образом, вторичным тепловым полем. Избыточная температура в дальней зоне постепенно снижается из-за смешивания с окружающими водами и теплообмена с атмосферой.
При сбросах в море, подверженное действию приливов, или в море с сильными течениями, поток теплой воды главным образом управляется течениями в принимающей среде. Они вызывают быстрое смешивание, предотвращая любую стратификацию, вызванную различием плотностей теплой и холодной воды. Температура теплой воды снижается преимущественно из-за перемешивания, а не из-за потерь тепла на поверхности воды. В [9] сообщают, что площадь теплой воды в море, подверженном действию приливов, для атомной электростанции мощностью 5000 МВт(эл) составляет от 2 до 10 км2.
Поведение потока теплой воды в море без течений определяется, прежде всего, явлением стратификации и конвекции. Температура очень быстро снижается в результате перемешивания. В бесприливном море или озере распространение охлаждающей воды находится под сильным влиянием ветровых течений. В среднем область температурного влияния ТЭС оценивается примерно в 1 га/МВт(эл).
При размещении выпуска в устьях рек необходимо учитывать возможности обратного движения воды в результате ветрового воздействия (нагонные явления) или приливных течений. Эти явления могут существенно изменить распространение потока теплой воды в устье.
3.5.2 Законодательные ограничения теплового воздействия на окружающую среду
Действующим российским законодательством установлены следующие требования к изменениям температуры водных объектов под воздействием тепла, отводимого со сточными водами:
- для водных объектов или их участков, используемых для хозяйственно-питьевого, культурно-бытового водопользования, водоснабжения пищевых предприятий, для рекреационного водопользования, а также в черте населенных мест летняя температура воды в результате сброса сточных вод не должна повышаться более чем на 3°С по сравнению со среднемесячной температурой воды самого жаркого месяца года за последние 10 лет;
- для водных объектов или их участков, которым присвоена какая-либо рыбохозяйственная категория водопользования (высшая, первая или вторая), температура воды не должна повышаться по сравнению с естественной температурой водного объекта более чем на 5°С, с общим повышением температуры не более чем до 20°С летом и 5°С зимой для водных объектов, где обитают холодолюбивые рыбы (лососевые и сиговые) и не более чем до 28°С летом и 8°С зимой в остальных случаях. В местах нерестилищ налима запрещается повышать температуру воды зимой более чем на 2°С.
На основании этих требований по определенной методике разрабатываются обязательные индивидуальные требования к температуре каждого выпуска сточных вод. Методика разработки индивидуальных нормативов допустимого сброса (НДС по температуре) дана в [46] и заключается в расчете максимальной температуры стоков, при которой в контрольном створе выполняются указанные выше требования. При этом учитываются индивидуальные особенности сточных вод (расход), конструкция и место выпуска, категория водопользования участка водного объекта, его гидрологические характеристики, климатические характеристики, естественные температуры воды водного объекта и т.п.
Водным кодексом предполагается переход от описанной методики установления индивидуальных нормативов допустимого сброса к методике нормирования на основе использования нормативов допустимого воздействия (НДВ) на водные объекты. Методика разработки НДВ предполагает установление целевых показателей качества воды для каждого водного объекта и нормативов воздействий (количество веществ и микроорганизмов, содержащихся в сбросах сточных вод и (или) дренажных вод в водные объекты) для водных объектов или их участков. Однако из-за неготовности нормативной базы сроки перехода на новую методику пока не определены.
3.5.3 Применяемые методы снижения влияния ПСО на температурный режим водных объектов
Применяемые методы снижения влияния ПСО на температурный режим водных объектов направлены на:
- снижение объемов сброса тепла в водные объекты;
- выбор водного объекта с достаточной охлаждающей способностью;
- выбор мест и конструкции выпуска теплых вод с учетом местных условий и нормативных требований к температуре воды водных объектов;
- снижение температуры сбросной воды, поступающей в водный объект, интенсификация снижения температуры воды водного объекта в зоне смешения или в активной зоне водоема-охладителя.
Очевидно, что воздушные системы охлаждения, оборотные испарительные системы с различными типами градирен практически не создают рисков превышения допустимых температур водных объектов. Однако, при решении вопроса об общем снижении теплового воздействия на окружающую среду важно понимать, что в конечном счете все тепло попадет в атмосферу и что поверхностный водоем - только промежуточное звено процесса теплопередачи от технологического оборудования к атмосфере. Объем отводимого тепла полностью определяется общей энергоэффективностью технологического процесса, включающего и систему охлаждения. При этом прямоточные ПСО и оборотные водные системы с водоемами-охладителями обеспечивают максимальную эффективность использования первичной энергии и, соответственно, минимальные объемы сбросного тепла. В связи с этим замена прямоточных систем и оборотных систем с водоемами-охладителями на прочие типы ПСО может рассматриваться лишь в том случае, если вблизи производственной площадки отсутствуют водные объекты с достаточной охлаждающей способностью и такой водоем не может быть создан.
При строительстве оборотных систем с водоемами-охладителями необходимо рассматривать возможность создания на них гидроэлектростанций небольшой мощности. Ряд ТЭС применяют этот метод дополнительной выработки электроэнергии. При решении вопроса о целесообразности строительства ГЭС необходимо учитывать его техническую возможность и экономическую целесообразность.
Снижение объемов отведения тепла в водные объекты может достигаться снижением общих объемов избыточного тепла от технологического процесса за счет повышения его экологической эффективности и полезного использования избыточного тепла.
Основным методом, который применяется при проектировании производственных объектов и позволяет предотвращать превышение допустимых норм температурного состояния водных объектов, является выбор водного объекта, охлаждающая способность которого соответствует максимальной возможной тепловой нагрузке.
Предварительные инженерно-экологические изыскания и моделирование процессов теплопередачи на физических и математических моделях позволяют спроектировать водозаборные и сбросные сооружения, наилучшим образом приспособленные для того, чтобы избегать недопустимого повышения температуры в водном объекте, рециркуляции тепла от выпуска к водозабору и способствовать максимально быстрому перемешиванию тепловых сбросов с водой водного объекта. Если возможно математическое моделирование, то оно должно быть основано на конкретных гидрологических данных. Использование моделирования гарантирует соответствие нормативным ограничениям максимальных температур воды в контрольных створах.
Для максимального использования поверхности водоемов-охладителей должно обеспечиваться оптимальное распределение сбрасываемой для охлаждения воды. В оборотных ПСО с водоемами-охладителями коэффициент эффективности водохранилища может быть в пределах 0, 5 - 0, 85. в зависимости от формы и схемы расположения водосбросных, струераспределительных, струенаправляющих и водозаборных сооружений. Кроме того, в процессе эксплуатации водоемов-охладителей для предотвращения снижения площади активной зоны необходимо не допускать в зоне транзитного потока водохранилищ разрастание высшей водной растительности, расположение сооружений садкового рыбного хозяйства, а также других сооружений, уменьшающих площадь активной зоны. Одной из характеристик водоема-охладителя, позволяющих оценить эффективность охлаждения, является кривая падения температуры воды в поверхностном слое. Более эффективное охлаждение обеспечивает выпуск в верхний слой водоема-охладителя широким фронтом с небольшой скоростью, а наиболее выгодной термической структурой водоема-охладителя является двухслойная вертикальная температурная стратификация.
При выпуске подогретой циркуляционной воды в водоем-охладитель открытым каналом могут установиться два различных гидротермических режима.
Первый режим характеризуется тем, что в канал внедряется охлажденная вода нижнего слоя, приобретая форму клина. Благодаря образованию поверхности раздела между слоями, гасящей турбулентные возмущения, удается существенно уменьшить перемешивание подогретой воды с водой нижнего слоя.
При втором режиме внедрение холодной воды в канал не происходит. Сбрасываемая подогретая вода интенсивно перемешивается с окружающей водой на участке акватории водоема-охладителя у водовыпуска.
Наиболее эффективное охлаждение циркуляционной воды в водоемах-охладителях обеспечивается при создании первого из указанных гидротермических режимов (с наименьшим перемешиванием). Если параметры отводящего канала не позволяют получить на водовыпуске гидротермический режим с минимальным перемешиванием, могут быть применены специальные водовыпускные сооружения. Как правило, сброс охлаждающих вод в водный объект производится открытым сбросным каналом трапециевидной формы.
В прямоточных системах и оборотных системах с водоемами-охладителями для гарантированного выполнения НДС по температуре в условиях аномально высоких температур воздуха применяют разбрызгивающие устройства, которые могут устанавливаться на акватории отводящих каналов, водовыпусков или зоны смешения. Этот метод применяется как резервный. Для его применения необходимо строительство дополнительной насосной и его применение связано с дополнительными капитальными и эксплуатационными затратами. В [9] сообщается о применении предварительного охлаждения сбросной воды прямоточной системы охлаждения больших электростанций посредством градирни. Этот дорогостоящий метод применяется там, где циркуляция теплой воды в поверхностном водоеме может влиять на температуру воды на водозаборе. Дополнительные затраты на градирню должны быть сравнимы с затратами, связанными со снижением эффективности из-за более высокой температуры входной воды.
3.6 Сбросы загрязняющих веществ в водные объекты от ПСО
Сбросы загрязняющих веществ в поверхностные водные объекты оцениваются как одна из наиболее значимых экологических проблем ПСО. Выделяют три возможных пути попадания загрязняющих веществ в поверхностные водоемы из водных систем охлаждения:
- охлаждаемые химические вещества в результате их утечек при нарушении герметичности теплообменников;
- продукты коррозии оборудования систем охлаждения;
- химические вещества, используемые для обработки подпиточной, циркуляционной и продувочной воды.
Для управления этими воздействиями на окружающую среду применяются различные методы. Меры по снижению рисков утечек рассматриваются в разделе 3.10. Этот раздел посвящен мерам по снижению объемов и уровню токсичности сбросов загрязняющих веществ в водные объекты, связанных с применением различных химических добавок к охлаждающей воде, а также продуктов коррозии оборудования систем охлаждения. Основные меры направлены на:
- сокращение необходимости применения химических методов обработки воды;
- выбор реагентов, наименее токсичных для окружающей среды;
- выбор наиболее эффективных методов применения реагентов.
При рассмотрении данных мер необходимо учитывать, что наиболее важным аспектом ПСО является их косвенное влияние на энергопотребление охлаждаемого производственного процесса. Поэтому экологическая результативность методов снижения сбросов загрязняющих веществ должна оцениваться в первую очередь с точки зрения их влияния на общее энергопотребление производственным процессом. Кроме того, применение методов снижения сбросов не должны приводить к перемещению загрязнений в другие природные среды, например, к образованию опасных отходов.
3.6.1 Обработка охлаждающей воды
Используемые для охлаждения природные воды содержат растворенные коллоидные и грубодисперсные вещества, а также растительные и животные организмы. Попадая в систему технического водоснабжения, эти вещества могут негативно влиять на работу ПСО. В водных ПСО могут происходить следующие негативные процессы и явления:
- коррозия оборудования и сооружений ПСО. Коррозия может быть определена как процесс разрушения металла за счет химических или электрохимических реакций с окружающей средой. В результате образуются оксиды или соли металла, имеющие менее прочную структуру, что вызывает разрушение материала. В системах охлаждения коррозия вызывает две основных проблемы. Первая и наиболее очевидная проблема - это разрушение оборудования, что влечет за собой затраты на его замену, сбросы загрязняющих веществ в окружающую среду и простои предприятия. Вторая проблема - снижение эффективности работы оборудования, связанное с ухудшением теплообмена, вызванное накоплением в теплообменнике продуктов коррозии. Коррозия вызывается или интенсифицируется в присутствии кислорода, солей, отложений и низким уровнем рН. Коррозия также может вызываться биозагрязнителями, так называемая микробиологическая коррозия: кислота, выделяемая бактериями, может вызывать коррозию;
- выпадение взвесей и образование механических отложений, нарушающих процессы теплообмена и повышающих энергопотребление ПСО. Механические отложения могут ускорять процессы коррозии. Загрязнение происходит, когда нерастворимые минеральные и органические твердые частицы оседают на поверхностях прямоточных и открытых оборотных систем охлаждения, и образовывают при этом отложения. Природа частиц, их размеры и низкая скорость потока воды являются факторами, влияющими на интенсивность загрязнения. Загрязнителями могут быть песок, ил, оксиды железа и другие продукты коррозии, и они также могут реагировать с некоторыми химическими веществами, применяемыми для обработки воды. Загрязнители попадают в систему из воздуха, с подпиточной водой или с утечками из охлаждаемого технологического процесса;
- выпадение на теплообменных поверхностях солевых отложений, нарушающих процессы теплообмена, преимущественно углекислого кальция, сульфатов и фосфатов цинка и магния. Если концентрация соли в водяной пленке вблизи теплообменной поверхности превышает ее растворимость в состоянии насыщения, происходит осаждение соли, что приводит к образованию на теплообменной поверхности солевого слоя или накипи. Основные виды отложений - карбонат и фосфат кальция, но возможны также отложения и сульфата кальция, силикатов цинка и магния, в зависимости от солевого состава циркуляционной воды. Отложения снижают эффективность теплообменника, так как теплопроводность карбоната кальция приблизительно в 25 раз ниже, чем теплопроводность стали. Интенсивность отложений зависит от трех основных факторов: минерализация (щелочность) воды, повышенные температура и рН циркуляционной воды, и вторичных факторов: присутствие сложных органических веществ и материал поверхностей теплообменника. Кроме того, образованию отложений могут способствовать определенные конструктивные особенности теплообменника. Волнистость, наклонные каналы и недостаточные скорости воды способствуют образованию отложений. В оборотных системах высокие коэффициенты концентрации могут привести к отложениям. Отложения могут вызвать проблемы в градирнях, поскольку пленочный ороситель может быть восприимчивым к различным типам осадков. Из-за испарения (1, 8% циркулирующего потока на 10°С охлаждения) в градирне растворенные соли и органические вещества могут сконцентрироваться в оборотной воде до такого уровня, что может произойти их осаждение. В частности, отложения солей происходит: при нагреве воды до 30°С при прямоточном охлаждении и 45°С в градирне; из-за испарения воды, что приводит к росту концентрации растворенных солей; из-за потерь свободного углекислого газа во время прохода воды через градирни, вызывающих повышение рН, который варьируется в зависимости от расхода воды и типа оросителя. В деревянных градирнях рН 7, 5 - 7, 8, но в градирнях с пластмассовым оросителем рН увеличивается до 8, 2 - 8, 4;
- биологические обрастания и отложения, образование биопленок, препятствующих теплообмену, повышающих гидравлическое сопротивление тракта ПСО и, соответственно, энергопотребления. Биозагрязнения также могут ускорять процессы коррозии.
Биозагрязнение обычно разделяют на два типа: макрозагрязнение (например, мидиями, дрейссеной) и микрозагрязнение (бактериями, грибками, водорослями).
Макрозагрязнение более характерно для прямоточных систем с пресной водой. Макрозагрязнение может приводить к засорению системы трубопроводов и водоводов и может вызывать процессы эрозии и коррозии. Интенсивность и видовое разнообразие макрозагрязнителей существенно зависит от местных условий.
Микрозагрязнение характерно и для прямоточных и для открытых оборотных систем охлаждения. Рост микроорганизмов на мокрых поверхностях приводит к образованию биопленок. Результат нерегулируемого роста микроорганизмов - образование шлама. Биопленки состоят из живых клеток и продуктов их метаболизма. Микрозагрязнение всегда предшествует макрозагрязнениям.
Преобладающее влияние биозагрязнений - снижение интенсивности теплопередачи в теплообменниках и рост затрат энергии из-за увеличения сопротивления гидравлического тракта ПСО. Если биозагрязнение развивается на металлической поверхности, возможна ее коррозия. Кроме того, некоторые микроорганизмы, распространяясь через градирни, могут угрожать человеческому здоровью.
Доступны многие методы борьбы с биозагрязнениями. Их области применения, типы охлаждающей воды и связанные проблемы приведены в таблице 3.5.
|
Страна |
Тип охлаждающей воды, характерное загрязнение, засорение и отложения |
Основные методы борьбы с загрязнениями | ||
|
Морская вода |
Жесткая вода |
Пресная вода | ||
|
Бельгия |
Гидроидные + Биопленка ++ |
Биопленка ++ Зебровая мидия + Азиатские моллюски + Мшанки ++ Брюхоногие моллюски ++ В градирнях: отложения ++ |
Пресная вода: Фильтрация воды, мусоросборные фильтры, решетки. Шариковая очистка конденсаторов. Периодическая обработка гипохлоритом. | |
|
Дания |
Мидии + Биопленка + |
Морская вода |
Не используется |
Морская вода: Фильтрация воды, фильтры для мусора. Шариковая очистка конденсаторов. Нетоксичные покрытия. |
|
Франция |
Мидии +++ Усоногие раки ++ Засорение: Морской крыжовник (медуза) +++ Морские водоросли +++ |
Загрязнение: никаких проблем Засорение: дрейфующие макрофиты + |
Зебровая мидия ++ Мшанки ++ Водоросли ++ Брюхоногие моллюски ++ Азиатские моллюски + В градирнях: отложения ++ |
Морская вода: Фильтрация воды, фильтры для мусора. Шариковая очистка конденсаторов (несколько предприятий). Постоянное хлорирование низкими концентрациями (0.5 - 1.0 мг/л), электрохлораторы Пресная вода: Фильтрация воды, фильтры для мусора. Шариковая очистка конденсаторов. Шоковое хлорирование один или два раза в год. |
|
Германия |
Зебровая мидия + Биопленка ++ В градирнях: отложения ++ |
Пресная вода: Фильтрация воды, фильтры для мусора. Шариковая очистка конденсаторов. Прерывистое хлорирование гипохлоритом, перекисью водорода, озоном | ||
|
Ирландия |
Мидии + Биопленка + Засорение: Рыба +++ |
Морская вода |
Зебровая мидия |
Морская вода: Фильтрация воды, фильтры для мусора. Шариковая очистка конденсаторов. Постоянное хлорирование гипохлоритом |
|
Италия |
Мидии +++ Гидроидные ++ Трубчатые черви ++ Усоногий рак ++ Биопленка ++ Засорение: морские водоросли + Posidonia + |
(только одна станция) Засорение: морские водоросли + мусор + |
Зебровая мидия Биопленка ++ Засорение: дрейфующие растения, листва + |
Морская вода: Фильтрация воды, фильтры для мусора. Шариковая очистка конденсаторов (несколько предприятий). Постоянное или импульсное хлорирование гипохлоритом или электрохлораторами Пресная вода: Фильтрация воды, фильтры для мусора. Шариковая очистка конденсаторов. Импульсное хлорирование (очень мало случаев) |
|
Нидерланды |
Мидии +++ Биопленка ++ Засорение: медузы +++ рыба ++ |
Мидии ++ Биопленка + Засорение: рыба + |
Зебровая мидия + Биопленка ++ Засорение: рыба ++ |
Морская и пресная вода: Фильтрация воды, фильтры для мусора. Шариковая очистка конденсаторов. Тепловая обработка. Непрерывное или прерывистое хлорирование гипохлоритом |
|
Норвегия |
ГЭС: проблемы только с миграциями рыбы | |||
|
Португалия |
Мидии ++ Биопленка + |
Азиатские моллюски + |
Морская вода: Фильтрация воды, фильтры для мусора. Шариковая очистка конденсаторов (несколько предприятий). Постоянное хлорирование низкими концентрациями (0.5 - 1.0 мг/л), электрохлораторы Пресная вода: Фильтрация воды, фильтры для мусора. Шариковая очистка конденсаторов. | |
|
Испания |
Биопленка + Трубчатые черви + Мидии ++ Устрицы + |
Биопленка ++ В градирнях: отложения ++ |
Морская и пресная вода: Фильтрация воды, фильтры для мусора. Шариковая очистка конденсаторов. Непрерывное хлорирование, низкими и шоковыми дозами, гипохлоритом и электрохлораторами. | |
|
Великобритания |
Усоногие раки + Мидии ++ Биопленка ++ Засорение: Рыба +++ Водоросли ++ Медузы + |
Морская вода |
Биопленка ++ В градирнях: отложения ++ |
Морская и пресная вода: Фильтрация воды, фильтры для мусора. Шариковая очистка конденсаторов. Непрерывное хлорирование (импульсное - зимой) гипохлоритом и электрохлораторами |
Для борьбы с указанными негативными явлениями применяются различные методы, наиболее распространенными из которых является обработка охлаждающей воды химическими веществами. Применение таких веществ имеет важное значение для окружающей среды: рано или поздно они покидают систему охлаждения и поступают в окружающую среду, в поверхностные водоемы или, в намного меньшей степени, в атмосферный воздух.
Объем применяемых веществ существенно различается в разных типах ПСО.
По результатам опроса определено, что российскими предприятиями в прямоточных системах какие-либо методы химической обработки охлаждающей воды не применяются. Это связано, прежде всего, с большими объемами охлаждающей воды, а также с жесткими ограничениями на сброс загрязняющих веществ в природные водные объекты. Тем не менее, в прямоточных системах могут происходить те же негативные явления, что и в других водных ПСО. Для борьбы с ними применяются иные методы, не связанные с химической обработкой воды:
- применение в системах охлаждения материалов, наименее подверженных коррозии в среде охлаждающей воды;
- конструктивные меры, предотвращающие образование механических отложений;
- очистка охлаждающей воды от плавающего мусора;
- предотвращение попадания в систему охлаждения взвешенных веществ и водных организмов;
- механические методы очистки теплообменных поверхностей, которые могут применяться на действующем или остановленном оборудовании.
В странах Европейского Союза в [9] сообщают о редких случаях применения в прямоточных системах биоцидов с целью борьбы с развитием в теплообменниках некоторых водных организмов.
В сухих радиаторных ПСО, а также в промежуточных контурах других типов систем охлаждения постоянная обработка воды не применяется. Однако эти системы, как правило, заполняются обессоленной водой, при подготовке которой применяются химические вещества. Процессы водоподготовки сопровождаются образованием сточных вод и отходов.
Наибольшие объемы химических веществ применяются для обработки циркуляционной воды в оборотных водных ПСО.
Выбор методов обработки охлаждающей воды является сложной и специфически местной проблемой, требующей учет следующих факторов:
- конструкция и материал теплообменника;
- температура и химический состав охлаждающей воды;
- организмы, обитающие в поверхностном водоеме;
- чувствительность водной экосистемы к поступлению в водный объект химических веществ и продуктам их трансформации.
Для надлежащей эффективности любой из обработок обычно требуется регулирование рН охлаждающей воды и щелочности в пределах определенного диапазона. Хорошее регулирование рН и щелочности более важно там, где используются программы обработки, чувствительные к рН или если в открытых оборотных градирнях применяются более высокие коэффициенты концентрации, чтобы минимизировать продувку и сократить потребность в подпиточной воде. Обычной практикой в промышленности является разработка регламентов технического обслуживания ПСО и выполнение их силами сторонней организацией, но ответственность за эксплуатацию систем при этом остается на владельце системы охлаждения.
Ингибиторы коррозии
Наибольшее значение для обеспечения высокого уровня эффективности, надежности и экологической безопасности ПСО имеет подавление процессов коррозии теплообменных поверхностей. Для таких поверхностей применяются материалы с высокой теплопроводностью. В конденсаторах поставки отечественных турбостроительных заводов установлены, как правило, трубки из медных сплавов: медно-цинковых (латуней), легированных для увеличения их стойкости против коррозии оловом, а в случаях возможности эрозионно-коррозионных повреждений алюминием и содержащих также небольшое количество мышьяка для снижения их склонности к обесцинкованию (латуни ЛО-70-1, ЛА-77-2, ЛОМш 70-1-0, 05 и ЛАМш 77-2-0, 05), и медно-никелевых, легированных железом и марганцем (сплавы МНЖ-5-1, МНЖ-Мц-5-1-0, 8 или МНЖМц-30-1-1).
В латунных трубках коррозионные повреждения проявляются в форме общего обесцинкования, пробочного обесцинкования, коррозионного растрескивания, ударной коррозии и коррозионной усталости. Форма и скорость развития коррозионного процесса зависят от агрессивности охлаждающей воды, ее скорости в трубках, чистоты трубок и состояния металла.
При благоприятных условиях (пресные, слабоминерализованные, не загрязненные стоками воды, хорошо отожженные мягкие трубки) наблюдается лишь медленный процесс общего обесцинкования латунных трубок (образования с водяной стороны трубки постепенно углубляющегося слоя красной губчатой меди), приводящий к необходимости замены трубок вследствие утонения и уменьшения механической прочности их стенок по истечении 15 - 20 лет и более. Однако повышенная агрессивность охлаждающих вод, загрязнение трубок содержащимися в воде примесями, а также дефекты изготовления трубок приводят к их местному (пробочному) обесцинкованию или коррозионному растрескиванию, что существенно сокращает срок службы трубок.
При местном обесцинковании на внутренней поверхности латунных трубок образуются небольшие (диаметром до 3 - 5 мм) язвины и пробки губчатой меди, быстро проникающие вглубь стенки и образующие в результате выпадения пробок, сквозные свищи-отверстия. Растрескивание трубок происходит при наличии в них растягивающих напряжений, большей частью остаточных напряжений, не снятых из-за неудовлетворительного их отжига после изготовления (латунные трубки должны быть "мягкими"). При пробочном обесцинковании и коррозионном растрескивании выход трубок из строя может начаться уже через 3 - 5 лет после их установки, а необходимость замены трубного пучка конденсатора из-за большого числа заглушенных трубок и ускорившегося выхода их из строя может возникнуть по истечении 8 - 10 лет, а иногда и быстрее.
При высокоминерализованных водах, главным образом морских, входные концы латунных трубок могут подвергаться ударной коррозии или эрозионно-коррозионному разрушению, связанному с повреждением защитной пленки на поверхности металла под действием ударов, вызываемых кавитацией, и содержащихся в воде абразивных примесей (песка, золы). Легирование латуни алюминием повышает ее стойкость против эрозии, вследствие чего трубки из алюминиевой латуни нашли применение в основном на приморских электростанциях, где срок их службы составляет в среднем около 10 лет. Но при загрязненных стоками морских водах и содержании в воде сульфидов стойкость их недостаточна.
Для защиты входных концов латунных трубок от ударной коррозии в них вставляются втулки из пластмассы длиной 150 - 250 мм или на участок той же длины наносится покрытие из эпоксидной смолы или другого синтетического материала. Втулка или покрытие должны иметь плавное очертание на входе и сходящую на нет толщину по их длине, так как наличие уступа при переходе к металлу приводит к образованию очага коррозии последнего. При морских водах целесообразно также применение электрохимической (протекторной или катодной) защиты.
В последнее время в конденсаторах мощных паровых турбин электростанций применяются в основном трубки из медно-никелевого сплава МНЖ-Мц 5-1-0, 8 (мягкие), при высокоминерализованных и загрязненных морских водах - из сплава МНЖ-Мц 30-1-1.
Трубки из сплава МНЖ-Мц 5-1-0, 8 применяются взамен латунных при пресных и чистых морских водах, не содержащих сульфидов и аммиака. Сплав с 30% Ni хорошо противостоит действию аммиака, и трубки из этого сплава могут применяться в выходной зоне трубного пучка (воздухоохладительной секции), если при трубках из других медных сплавов в этой зоне наблюдается их аммиачная коррозия. Но этот сплав непригоден при кислых водах.
Трубки из медно-никелевых сплавов подвержены язвенной коррозии под отложениями, и даже сравнительно редкие локальные отложения могут приводить к образованию в них течей. При кислых водах или содержания в воде сульфидов они могут подвергаться пробочному обезникелеванию.
Для предотвращения или замедления коррозии конденсаторных трубок из медных сплавов с водяной стороны наряду с выбором их материала, учитывающим свойства охлаждающей воды, и выполнением требований, предъявляемых к их изготовлению, транспортировке и хранению, весьма важным является поддержание в условиях эксплуатации достаточной чистоты внутренней поверхности трубок и осуществление в случае необходимости мероприятий, способствующих образованию на этой поверхности прочной и плотной защитной пленки.
Ингибиторы коррозии удаляют продукты коррозии, пассивируют, осаждают или адсорбируют их. Пассивирующие (анодные) ингибиторы формируют защитную оксидную пленку на поверхности металла. Осаждающие (катодные) ингибиторы являются простыми химическими веществами, которые образуют нерастворимые осадки, образующие на поверхности защитный слой. Адсорбционные ингибиторы имеют полярные свойства, что позволяет им адсорбироваться на поверхность металла. Ранее в качестве антикоррозионных добавок использовались, главным образом, соединения металлов, в настоящее время наблюдается тенденция перехода к азолам, фосфонатам, полифосфатам и полимерам. Токсичность для окружающей среды этих веществ ниже, в то же время антикоррозийные свойства выше. Разработаны биоразлагаемые полимеры, эффективные для борьбы с коррозией.
В различных системах охлаждения применяют различные ингибиторы коррозии. За рубежом в прямоточных системах используют полифосфаты и цинк и, ограниченно - силикаты и молибдаты. В некоторых странах почти не применяют ингибиторы коррозии в прямоточных системах, за исключением ингибиторов для желтых металлов (например, сульфаты железа), применяемых для теплообменников или конденсаторов из медных сплавов. По результатам опроса в Российской Федерации ни одна из компаний не сообщила о применении ингибиторов коррозии в прямоточных системах.
Образованию на поверхности медных сплавов оксидной пленки, обладающей повышенными защитными свойствами, способствует содержание в воде гидратиро-ванных окислов железа. При этом на поверхности естественной оксидной пленки - слоя, состоящего в основном из окислов меди, образуется сцепленный с ним второй оксидный слой, представляющий собой гомогенный слой окиси железа. Поскольку окислов железа, попадающих в охлаждающую воду в результате коррозии стальных элементов водозаборных сооружений, обычно недостаточно, рекомендуется особенно при соленых (морских) и солоноватых водах дозирование в охлаждающую воду сульфата железа (FeSO4) или других соединений железа или же установка в передней водяной камере конденсатора железных анодов. Этот метод упрочнения защитной пленки пригоден как для новых, так и для проработавших уже трубок.
Образованию стабильной защитной пленки на поверхности трубок при дозировании сульфата железа может препятствовать значительное содержание в воде абразивных примесей (песка, золы).
Наиболее широко ингибиторы коррозии применяются в открытых оборотных системах. Многие годы в качестве ингибитора коррозии применялись хроматы, но в настоящее время из-за их токсичности использование хроматов значительно сократилось. В настоящее время наиболее часто антикоррозионные программы обработки базируются на добавках фосфатов и цинка. Часто в системе создают щелочные условия (pH 8 - 9), но введение биоцидов и диспергаторов может повлиять на кислотность среды. Вода по своей природе является слабокоррозионной средой. Щелочная среда в комбинации с применением органических фосфонатов эффективна против коррозии и отложений.
По результатам опроса среди российских предприятий получены сведения о применении некоторыми из них ингибиторов коррозии со среднегодовым расходом 0, 7 т/год.
Теоретически, закрытые водные системы не требуют введения ингибиторов коррозии. Кислород, попадающий в систему с подпиточной водой, должен быстро израсходоваться на окисление металлов, после чего коррозия должна бы прекратиться. Однако, реальные закрытые системы теряют достаточно много воды и в них достаточно воздуха, чтобы защита от коррозии была необходима. Для закрытых систем наиболее подходят ингибиторы коррозии на основе хроматов, молибдатов и нитритов. Как правило, обработка хроматами и молибдатами дает наилучшие результаты. Токсичность хроматов ограничивает их применение, в частности, если система должна периодически опорожняться. В этих случаях доступны нехроматные препараты, но в некоторых государствах ЕС они все еще разрешены. Обработка молибдатами обеспечивает эффективную защиту от коррозии и более приемлема для окружающей среды.
Самые эффективные ингибиторы коррозии для меди - ароматические азолы. Их концентрации в испарительных оборотных системах охлаждения обычно колеблются от 2 до 20 мг/л в пересчете на активное соединение. Для сравнения, для некоторых анодных ингибиторов (таких как хроматы, молибдаты и нитриты) концентрации, используемые в прошлом, составляли 500 - 1000 мг/л в замкнутых системах.
Ингибиторы солевых отложений
Главным образом, это полифосфаты, фосфонаты и некоторые полимеры. Последние усовершенствования в этой области связаны с разработкой биоразлагаемых соединений.
Образование солевых отложений может происходить в прямоточных и открытых оборотных системах охлаждения. В закрытых оборотных системах это не является значительной проблемой. В закрытых системах отложения могут быть в случаях, когда значительные утечки требуют частых добавок подпиточной воды.
Увеличение концентрации солей в охлаждающей воде в открытых оборотных системах охлаждения вызывается испарением в градирне и контролируется величиной продувки. Отношение концентрации солей в оборотной воде к их концентрации в подпиточной воде называют коэффициентом концентрации. Коэффициент концентрации составляет 2 - 3 для больших электростанций и до 8 - 9 для некоторых оборотных промышленных систем охлаждающей воды. Типичные коэффициенты концентрации в промышленности (не на электростанциях) составляют от 3 до 5.
На практике интенсивность отложений контролируется регулированием значения рН и применением ингибиторов солевых отложений. Опыты на больших системах охлаждения электростанций, снабженных градирнями, показывают, что обработка кислотой (серной или соляной) не приводит к изменению pH, среда остается щелочной. В то же время кислоты нейтрализуют щелочность, что позволяет избежать осаждения СаСО3.
Однако, в процессах декарбонизации регулирование рН воды может выполняться добавлением кислот. Декарбонизация путем осаждения карбоната кальция зависит от трех основных факторов: минерализации (щелочности), температуры и рН циркуляционной воды. Вторичные факторы - присутствие органических комплексов в воде и материал теплообменника.
Сообщают о трех альтернативных методах обработки охлаждающей воды, предотвращающих образование отложений в теплообменниках и испарительных градирнях в крупных водных системах охлаждения:
- декарбонизация подпиточной воды (при этом образуется осадок);
- дозирование кислоты;
- дозирование ингибиторов солевых отложений.
Наиболее распространенные ингибиторы отложений - полифосфаты, фосфонаты, полиакрилаты, сополимеры и терполимеры. Их типичные концентрации в воде составляют от 2 до 20 мг/л в пересчете на активное вещество. Стабилизаторы жесткости воды предотвращают образование кристаллов и используются в оборотных системах, но редко или никогда - в прямоточных системах. Первичные контуры закрытых оборотных систем не подвержены образованию отложений, кроме тех случаев, когда используется жесткая подпиточная вода. В закрытых системах используют умягченную воду или конденсат в качестве подпиточной воды, чтобы предотвратить образование отложений.
Химические диспергаторы
Главным образом в качестве диспергаторов используются сополимеры, часто в комбинации с поверхностно-активными веществами. Основное экологическое влияние этих веществ связано с их недостаточной способностью к биоразложению. Диспергаторы - это полимеры, используемые для предотвращения осаждения загрязнений, они удаляют частицы (в т.ч. органические, например, микрозагрязнение и биопленку) с поверхности теплообменника, увеличивая их электрический заряд, при этом частицы отталкиваются друг друга и, в результате, остаются взвешенными в толще воды и выводятся из ПСО, например, с продувочной водой. Могут также использоваться поверхностно-активные вещества, часто называемые биодиспергаторами, облегчающие проникновение биоцидов в слой биозагрязнений. Диспергаторы помогают сохранить поверхности теплообменников чистыми, что повышает интенсивность теплообмена, снижает риск коррозии. Обычной практикой является дозирование биоцидов в комбинации с диспергаторами в концентрациях 1 - 10 мг/л в пересчете на активное вещество. Наиболее эффективные и широко используемые диспергаторы - низкомолекулярные анионные полимеры, в том числе: органические сульфонаты и сульфонаты металлов, феноляты металлов, диалкил дифиофосфаты металлов, диалкил натрий сульфосуккинаты, полиэтиленалкильные и алициклические амины, моноэтаноламинфосфат, полиакрилаты, полиметакрилаты и основанные на акрилатах полимеры.
Биоциды
Биоциды вводятся в охлаждающую воду промышленных открытых водных систем охлаждения для борьбы с биозагрязнением. Было выполнено большое количество исследований, посвященных способам использования биоцидов и их влиянию, существует большое количество публикаций по этим вопросам. Биоциды - вещества, которые замедляют рост микроорганизмов в охлаждающей воде, уменьшают общее количество клеток в воде и снижают стабильность биопленки, и таким образом уменьшают органическое загрязнение систем охлаждения. Биозагрязнение включает развитие микроорганизмов, бактерий, морских водорослей и грибов, и также развитие макроорганизмов, таких как устрицы, моллюски.
Обычно биоциды делятся на биоциды-окислители и биоциды-неокислители. Биоциды-окислители обладают неспецифическим широким спектром биоцидного действия, которое ограничивает степень приспособляемости организмов к этим биоцидам. Биоциды-неокислители обладают более направленным и сложным действием и поэтому нуждаются в более длительном времени реакции, чем биоциды-окислители.
Экологическая проблема применения биоцидов заключается в их токсичности. Некоторые антибактериальные препараты, используемые в системах охлаждения, являются соединениями, быстро распадающимися в воде, таким образом, снижая потенциальные экологические риски. Такой химический распад сопровождается снижением токсичности соединения. Соединение может быть добавлено в систему циркуляционного водоснабжения, выполнить свою задачу по устранению микробов и затем разложиться на менее токсичные химические вещества.
Потребление биоцидов определяется типом системы охлаждения, качеством воды (пресная или соленая), сезоном, утечками органических материалов из охлаждаемого процесса и временем распада биоцида. По данным ([9]) в странах ЕС в прямоточных системах обычно применяются биоциды-окислители, такие как гипохлорит или гипобромит.
В открытых оборотных системах охлаждения биоциды-окислители используются самостоятельно или в комбинации с биоцидами-неокислителями. Почти весь объем биоцидов-неокислителей и других средств кондиционирования циркуляционной воды потребляется оборотными системами водоснабжения.
Биоциды-окислители: главным образом, используются хлор (или комбинация хлора и брома) и монохлорамин. Хлор и бром являются сильными окислителями (остротоксичными), что означает, что срок их распада невысок, но при этом могут образовываться токсичные побочные продукты - галоидированные органические соединения. Другие биоциды-окислители - озон, ультрафиолетовое излучение (УФ), перекись водорода и надуксусная кислота. Использование озона и УФ требуют предварительной подготовки подпиточной воды и применения специальных материалов. Считается, что их экологические влияния менее вредны, чем у галоидированных пестицидов, но их применение нуждается в специальных методах, дорого и применимо не во всех ситуациях.
Биоциды-неокислители: изотриазолоны, DBNPA, глютаральдегид и четвертичные аммониевые основания и т.д. Эти соединения, как правило, остро токсичны и часто практически небиоразлагаемы, хотя есть некоторые соединения, которые гидролизуются или разлагаются по другим механизмам. Потенциальные экологические воздействия этих веществ значительны.
|
Химические вещества |
Проблемы качества воды | |||||
|
Коррозия |
Отложения |
Биозагрязнение | ||||
|
Прямоточные системы |
Оборотные системы |
Прямоточные системы |
Оборотные системы |
Прямоточные системы |
Оборотные системы | |
|
Цинк |
X | |||||
|
Молибдаты |
X | |||||
|
Силикаты |
X | |||||
|
Фосфонаты |
X |
X | ||||
|
Полифосфаты |
X |
X | ||||
|
Сложные эфиры высокомолекулярных спиртов |
X | |||||
|
Природная органика |
X | |||||
|
Полимеры |
X |
X |
X |
X |
X |
X |
|
Биоциды-неокислители |
X | |||||
|
Биоциды-окислители |
X |
X | ||||
|
Примечание - Хром в ЕС не применяется из-за его высокой экологической опасности. | ||||||
Биоциды-окислители
Обычно используемые в промышленных системах охлаждения биоциды-окислители - хлор и бром, в жидком и газообразном виде, органические соединения галогенов, двуокись хлора, озон, монохлорамин и перекись водорода. В условиях морской воды наблюдается рост объемов применения двуокиси хлора из-за ее эффективности и пониженного образования бромированных углеводородов (в частности бромоформа, хлородибромметана, бромдихлорметана и дибромацетонитрила) и тригалометанов (ТНМ) по сравнению с гипохлоритом. Также в некоторых местах используется газообразный хлор (Cl2) из-за компактности и дешевизны, но при его применении возникают риски аварийных утечек хлора.
Натрия хлорат (хлорноватокислый натрий)- окислительный биоцид, обычно используемый в больших прямоточных системах. Он может производиться путем электролиза из морской воды. Этот процесс, называемый электрохлоринацией, позволяет избежать транспортировки и хранения опасного газообразного или сжиженного хлора. Потребление хлорноватокислого натрия обычно ниже в системах с морской водой, чем с пресной, из-за высокого содержания растворенных и взвешенных органических веществ в пресной воде. Из-за этого в морской воде ниже образование хлорорганических соединений.
|
Группа |
Биоциды-окислители |
Великобритания (1993)(2) |
Нидерланды (1995)(3) |
Франция (1998) |
|
Хлорсодержащие |
Гипохлорит натрия |
731 000(1), (5) |
1 800 000(4) |
817 000(6) |
|
Дихлоризоцианурат натрия |
19 300 | |||
|
Диоксид хлора |
13 000 | |||
|
Бромсодержащие |
Бромид натрия |
356 000 |
22 500 | |
|
1-бром-3-хлор-5, 5-диметилгидрохлорид (BCDMH) |
286 000 |
1000 | ||
|
Другие |
Перекись водорода |
910 | ||
|
Надуксусная кислота |
975 | |||
|
(1) Оценка дана в пересчете на активное вещество (потребление в виде готовой продукции намного выше. (2) Во всех водных системах охлаждения. (3) Только в оборотных системах. (4) В пересчете на Cl2. (5) Это заниженная оценка, т. к. в Великобритании на многих прибрежных электростанциях используются электрохлоринаторы. (6) На Cl2, произведенный электрохлоринаторами ТЭС. | ||||
Это также справедливо для систем охлаждения, использующих воду из сильно загрязненных гаваней. Часто предпочитается непрерывное хлорирование с низкими концентрациями, хотя все более часто практикуется прерывистое или полунепрерывное хлорирование. Однако это требует более интенсивного мониторинга системы охлаждения и охлаждающей воды. При применении газообразного хлора и раствора гипохлорита натрия наиболее активным химическим веществом является недиссоциированная гипохлорная кислота. Это очень активный окислительный агент и реагирует с большинством видов органики в воде с образованием тригалометана (THM), хлороформа (3% - 5%) и других хлорорганических соединений. Свободный хлор может также реагировать с аммиаком с образованием хлораминов или с разнообразными растворенными органическими соединениями, образовывая различные типы галогенорганических соединений (например, ТНМ, хлорфенолы). Это происходит непосредственно в системе охлаждения одновременно с его основной биоцидной работой.
Использование окислительного биоцида - гипобромовой кислоты (НОBr) может быть альтернативой гипохлориту. Гипобромовая кислота не диссоциирует при более высоких значениях pH, чем гипохлорная кислота. Из этого следует, что при рН 8 и выше НОВr - более эффективный биоцид, чем диссоциированный ион Cl-. Как следствие, в щелочной пресной воде эффективная дозировка гипобромита может быть намного ниже, чем гипохлорита. Хотя бромированная органика в 2 - 3 раза более токсична, чем хлорированные эквиваленты, они более быстро разлагаются и это может обеспечить экологическое преимущество. Однако, в морской воде, окисление ионов бромида гипохлоритом приводит к быстрому образованию гипобромита, и хлорирование морской воды почти эквивалентно бромированию, и экологическая выгода гипобромита по сравнению с гипохлоритом небольшая.
Бромид и гипохлорит натрия, хлорамин и перекись используются в оборотных системах в комбинациях, которые, как ожидают, приводят к образованию менее экологически опасных веществ. Недостаток такой обработки в том, что при высоких концентрациях свободного окислителя (FO) может происходить образование канцерогенного бромата. Другим возможным источником этого вещества может быть окисление ионов бромида при озонировании природных вод.
Содержание бромата зависит от концентрации бромида в пластовой воде, используемой для производства гипохлорита натрия. Теоретическая максимальная концентрация бромата (BrO3-) в растворе гипохлорита натрия, произведенного электролизом морской воды, около 100 мг/л или 3 мг на грамм хлора. Широкий диапазон концентраций бромата найден в коммерческих растворах гипохлорита. Если для производства хлора используются концентрированные морские воды, оно изменяется от 0.15 до 4.0 мг BrO3- на грамм хлора.
Биоциды-неокислители
Биоциды-неокислители - сравнительно медленно реагирующие вещества, которые воздействуют на специфические клеточные компоненты или пути миграции веществ. Обычно используются, по сообщениям, следующие биоциды-неокислители: 2, 2-дибром-3-нитрилопропионамид (DBNPA), глютаровый альдегид, четвертичные аммониевые соединения (QAC), изотриазолоны, галоидированные бисфенолы и тиокар-баматы, но на рынке есть многие другие биоциды и в пределах Европы объем и частота использования отдельных биоцидов значительно изменяется. В таблице 3.8 дана оценка потребления некоторых биоцидов-неоксидантов.
Применение биоцидов-неокислителей вместо биоцидов-окислителей рекомендуется только в тех случаях, когда биоциды-окислители не в состоянии обеспечить достаточную защиту, например, в системах с высокими нагрузками органики, или в оборотных водных системах охлаждения, где не практикуется ежедневное регулирование. В больших оборотных водных системах охлаждения, где главным образом используется гипохлорит натрия, иногда применяется постоянный мониторинг, обеспечивающий необходимый уровень свободных окислителей в контуре. Однако, для многих более мелких оборотных водных систем охлаждения, а также систем в компаниях сферы обслуживания, у которых нет возможности держать специальный персонал, применение биоцидов-неокислителей, которые менее зависимы от качества воды, предпочтительно. Биоциды-неокислители, главным образом, применяются в открытых испаряющих оборотных системах охлаждения. Обычно, они применяются в системах охлаждения в концентрациях активного компонента приблизительно от 0, 5 до 50 ppm (иногда 100 ppm).
Биоциды-неокислители проявляют свое влияние на микроорганизмы реакцией со специфическими компонентами клеток или клеточными реакциями. Первая реакция включает повреждение мембраны клетки, во второй реакции повреждаются биохимические механизмы производства клеточной энергии или использования энергии в клетках. Четвертичные аммониевые соединения - катионактивные поверхностно-активные молекулы. Они повреждают клеточные мембраны бактерий, грибов и морских водорослей, таким образом увеличивая проходимость стенки клеток, приводящей к денатурации протеинов и к смерти клеток. Изотриазолоны являются неспецифическими, и они воздействуют на АТФ-синтез в клетках. Из других биоцидов широко используется против бактерий и грибов метилен(бис)тиоцанат (MBT), этот биоцид, как полагают, необратимо связывает биомолекулы, предотвращая их сокращение и реакции окисления. Глютаральдегид используется и против аэробных и анаэробных бактерий и его биоцидная деятельность основана на образовании поперечных связей в белках.
|
Группа |
Биоциды-неокислители |
Великобритания (1993)(2) |
Нидерланды (1995)(3) |
Франция (1998) |
|
QAC |
Диметил кокобензил аммоний хлорид |
23400(1) | ||
|
Бензил-алкодиум аммонийные соединения |
21400 | |||
|
Всего QAC |
71152 | |||
|
Изотриазолины |
5-хлоро-2-метил-4-изотриазоин-3-он |
13200 | ||
|
Всего изотриазолины |
18000 |
1500 | ||
|
Галогенизированные бисфенолы (дихлорофен + фентихлор) |
12150 | |||
|
Тиокарбаматы |
56800 | |||
|
Другие |
Глютаральдегид |
56400 |
750 | |
|
Тетраалкил фосфониум хлорид |
9500 | |||
|
2, 2-дибром-3-нитрил-пропионамид |
17200 |
800 | ||
|
Метилен(бис)тиосианат (MВТ) |
2270 |
1450 | ||
|
1-бромо-1-нитростирен (BNS) |
231 |
1950 | ||
|
Фаттиамины |
20000(4) | |||
|
Другие |
4412 | |||
|
Оценка всего |
234963 |
6450 | ||
|
(1) Оценка дана в пересчете на активное вещество (потребление в виде готовой продукции намного выше. (2) В любых водных системах охлаждения. (3) Только в оборотных системах. (4) Используется в приморских ТЭС. | ||||
Факторы, влияющие на использование биоцидов ([9])
Следующие факторы являются основными при использовании биоцидов, но могут быть учтены также и при использовании других добавок.
Очевидно, что биоцид должен быть эффективным в определенной ситуации, в которой он используется. Однако важно понять, что биоцид, или программа обработки охлаждающей воды, который эффективен в одной системе, возможно, не будет также эффективен в другой системе, даже если эти системы совершенно идентичны. Одна из причин этого может быть в развитии у микроорганизмов стойкости к данному биоциду. Для биоцидов-окислителей это встречается реже, чем для биоцидов-неокислителей.
Тип системы определяет период нахождения охлаждающей воды в системе охлаждения, и, соответственно, время контакта биоцида с охлаждающей водой. В прямоточных водных системах охлаждения это время невелико, поэтому используются быстро реагирующие биоциды-окислители. Медленнее реагирующие биоциды-неокислители в настоящее время используются только в оборотных водных системах охлаждения. В большинстве систем (> 90%) используются Na°Cl, Cl2, ClO2 или Na°CI/NaBr.
Тип охлаждаемого процесса - важный фактор при выборе биоцида, особенно если жидкости процесса могут реагировать с биоцидами. Некоторые процессы, например, прямое охлаждение металла в металлургической промышленности создают специальные условия в охлаждающей воде. Жидкости, просачивающиеся в охлаждающую воду, могут выполнять роль питательных веществ для биологического роста.
Химическое и биологическое качество воды влияет на выбор программы обработки охлаждающей воды, и, таким образом, на выбор биоцида. Местонахождение организмов-макрозагрязнителей сильно связано с качеством воды. Вообще говоря, повышенная биомасса в поверхностном водном объекте может привести к повышенному содержанию макрозагрязнителей в водных системах охлаждения.
Для микроорганизмов рН воды не играет основной роли. В теории значение рН около 7 оптимально для микробного роста. Кислотные среды способствуют росту грибов, а при рН выше 8 подавляется рост морских водорослей. Однако, на практике оказывается, что микроорганизмы очень приспосабливаемы и могут колонизировать разнообразные системы. В качестве иллюстрации можно привести пример: обычно считается, что грибы предпочитают кислотную нейтральной среде, а в щелочной среде вытесняются бактериями. Теоретически это правильно, но, если система охлаждения обработана бактерицидом, не подавляющим грибковую деятельность, часто наблюдается загрязнение системы грибковыми спорами даже при значении рН = 9. В прямоточных системах значение рН определяется входящей водой, хотя дозирование гипохлорита натрия может немного увеличить значение рН, но обычно это увеличение невозможно измерить. В открытых испаряющих оборотных системах значение рН часто поддерживается от 7 до 9 за счет дозирования кислот (обычно серной) или оснований (обычно гидроокиси натрия).
Известно, что при применении в качестве биоцидов гипохлорита и гипобромида натрия значение рН сильно влияет на равновесие между гипогалогенными кислотами и гипогалит-ионом. Гипогалогенные кислоты приблизительно в сто раз более токсичны, чем их анионы. Поэтому, по теории, значение рН влияет на токсичность, например, гипохлорита.
На практике значение рН не может влиять на прямоточные системы. Пресноводные прямоточные системы обычно используют охлаждающую воду, имеющую рН 7 - 8; системы охлаждения с морской воды работают при значении рН около 8.
Водные оборотные системы обычно эксплуатируются при рН в пределах 7 - 9. Опыт в химической промышленности показал, что оборотная система, работающая при рН = 9 использует меньше гипохлорита, чем система, работающая при более низком значении рН, без потерь эффективности обработки. Судьба гипохлорита в оборотных системах изучена в достаточной степени. Один из результатов исследований: при рН = 8, 5 в градирне теряется 5% - 10% дозируемого гипохлорита, при рН<7 - 30% - 40%.
Объяснение этого состоит в том, что анионы гипохлорита не могут быть выведены из градирни, в отличие от гипогалогенной кислоты. Поэтому делается заключение, что дозировка гипохлорита при рН = 9 одинаково эффективна, несмотря на то, что только 1% - 5% хлора присутствует в кислотном виде, так как потребляемая кислота немедленно пополняется из избыточного количества анионов. Общее заключение - эксплуатация оборотных систем при высоком значении рН уменьшает объем гипохлорита, необходимого для эффективного регулирования микрозагрязнений.
Температура поверхности влияет на интенсивность роста морских организмов и поэтому может использоваться в качестве фактора при выборе программы обработки для прямоточных систем охлаждения. В Нидерландах, в течение зимних месяцев, макрозагрязнители прямоточных систем растут медленно. Поэтому при температурах воды ниже 12°C нет необходимости в дозировании биоцидов. В прямоточных системах на Средиземноморском побережье рост макрозагрязнителей имеет место весь год, поэтому биоциды-окислители также дозируются весь год. Как правило, температура воды очень влияет на изменчивость разновидностей, темп роста и потребление биоцидов. В прямоточных системах величина нагрева воды ΔТ = 8°C - 12°C ограничена предельной температурой выпуска. Оборотные системы имеют такое же ограничение в точке сброса, хотя иногда допускаются более высокие температуры выпуска. Температуры оборотной воды могут составлять 20°С - 30°С и выше. Большинство разновидностей макрозагрязнителей в Нидерландах не выдерживает долгосрочное воздействие температур 30°C, но некоторые разновидности, например, жестководная мидия, при этой температуре очень быстро растет.
Для оборотных систем с высокими коэффициентами концентрации жесткость подпиточной воды и содержание в ней органических веществ имеют чрезвычайно важное значение, так как это влияет на объем отложений и необходимых антикоррозийных добавок. И для прямоточных и для оборотных систем важно содержание органических веществ (растворенных и взвешенных) в охлаждающей воде, так как это влияет на потребление биоцидов. Степень, в которой это влияет на биоциды, различна (например, гипохлорит будет реагировать с аммиаком, диоксид хлора - не будет). Как правило, желательно уменьшать до минимума все вещества, которые приводят к увеличению потребления биоцидов.
3.6.2 Загрязняющие вещества, сбрасываемые ПСО в окружающую среду
В настоящее время перечень нормируемых показателей качества сточных вод, отводимых в окружающую среду, устанавливается на основании п. 19 ([46]): перечень нормируемых веществ формируется на основе исходной информации об использовании веществ на конкретном предприятии и анализе данных о качестве исходной и сточных, в том числе дренажных вод. При этом в [46] и других нормативных или нормативно-методических документах отсутствуют какие-либо указания о методах проведения такого анализа. Таким образом, действующее законодательство не содержит положений, позволяющих однозначно определить перечень нормируемых показателей качества сточных вод, отводимых в окружающую среду, для каждого конкретного предприятия. В этих условиях ответственность за формирование таких перечней фактически переложена на территориальные органы государственных надзорных органов, согласующие и утверждающие нормативы допустимого сброса (Росводресурсы, Росприроднадзор, Росгидромет, Росрыболовство, Роспотребнадзор). Любой из этих государственных органов имеет возможность влияния на содержание перечня нормируемых веществ для конкретного предприятия.
Сведения о фактических сбросах загрязняющих веществ от ПСО, полученные в результате опроса российских предприятий, противоречивы и не отражают уровня фактического воздействия ПСО различных типов на окружающую среду, не позволяют сделать выводы о массах загрязняющих веществ, отводимых ими со сточными водами, характерных значениях показателей качества сточных вод.
Так, по результатам опроса предприятий Российской Федерации были получены сведения о среднегодовых массах загрязняющих веществ, сброшенных в окружающую среду от ПСО различных типов (таблица 3.9).
|
Наименование загрязняющего вещества |
прямоточная |
воздушная с вентиляторными градирнями |
оборотная водная с водоемом-охладителем |
оборотная водная с баш. градирнями |
оборотная водная с брызг. бассейнами |
оборотная водная с вент. градирнями |
|
БПК |
39, 65 |
- |
1, 67 |
2, 44 |
- |
- |
|
Взвешенные вещества |
104, 84 |
- |
9, 56 |
7, 15 |
32, 05 |
- |
|
Нефтепродукты (нефть) |
0, 45 |
- |
0, 03 |
0, 13 |
0, 84 |
- |
|
СПАВ |
- |
- |
- |
0, 06 |
- |
- |
|
Фенол, гидроксибензол |
- |
- |
- |
0, 001 |
- |
- |
|
ХПК |
692, 53 |
- |
- |
1, 09 |
- |
- |
|
Анионы | ||||||
|
Кремний (силикаты) |
- |
- |
- |
2, 28 |
- |
- |
|
Нитрат-анион |
26, 28 |
- |
0, 26 |
0, 89 |
- |
- |
|
Нитрит-анион |
1, 22 |
- |
- |
0, 001 |
- |
- |
|
Сульфат-анион (сульфаты) |
1867, 10 |
- |
77, 83 |
73, 44 |
365, 93 |
- |
|
Фосфаты (по фосфору) |
0, 70 |
- |
- |
1, 37 |
- |
- |
|
Фторид-анион |
0, 35 |
- |
8, 04 |
- |
2, 10 |
- |
|
Хлорид-анион (хлориды) |
124, 93 |
- |
109, 46 |
60, 90 |
317, 01 |
324, 78 |
|
Катионы | ||||||
|
Аммоний-ион |
0, 63 |
- |
0, 16 |
0, 07 |
- |
- |
|
Алюминий |
- |
- |
- |
0, 04 |
- |
- |
|
Ванадий |
0, 07 |
- |
0, 35 |
- |
- |
- |
|
Железо |
17, 90 |
- |
0, 13 |
0, 17 |
0, 32 |
- |
|
Калий |
- |
- |
- |
18, 70 |
- |
- |
|
Кальций |
- |
- |
34, 54 |
41, 52 |
- |
- |
|
Магний |
- |
- |
21, 03 |
21, 97 |
- |
- |
|
Марганец |
0, 01 |
- |
- |
0, 01 |
- |
- |
|
Медь |
0, 11 |
- |
0, 01 |
0, 02 |
0, 03 |
- |
|
Мышьяк и его соединения |
- |
- |
0, 21 |
- |
- |
- |
|
Натрий |
- |
- |
- |
70, 64 |
- |
- |
|
Стронций |
0, 93 |
- |
- |
- |
- |
- |
|
Хром |
- |
- |
- |
0, 0016 |
- |
- |
|
Цинк |
0, 01 |
- |
0, 01 |
0, 0002 |
- |
- |
В соответствии с этими данными наибольшие массы загрязняющих веществ сбрасываются прямоточными системами охлаждения, в том числе сотни тонн в год взвешенных и органических веществ, сульфатов, хлоридов, десятки тонн железа, даже стронций. В то же время, по результатам этого же опроса ни для одной прямоточной системы охлаждения не используется обработка циркуляционной воды какими-либо химическими веществами. Т.е. в циркуляционную воду прямоточных систем химические вещества не добавляются. На этом основании можно сделать вывод, что сведения о массах сбросов от прямоточных ПСО содержат сведения о веществах, которые присутствовали в исходной охлаждающей воде.
Этот вывод косвенно подтверждается анализом перечней показателей качества сточных вод, нормируемых для прямоточных систем ТЭС. По результатам опроса были получены сведения о показателях качества вод, отводимых в поверхностные водные объекты прямоточными ПСО ТЭС, приведенные в таблице 3.10.
|
Показатель качества сточных вод |
Количество случаев нормирования показателя |
В % от общего количества прямоточных ПСО |
|
Взвешенные вещества |
8 |
89% |
|
Нефтепродукты (нефть) |
8 |
89% |
|
Солесодержание |
7 |
78% |
|
БПК |
6 |
67% |
|
Сульфат-анион (сульфаты) |
6 |
67% |
|
Хлорид-анион (хлориды) |
6 |
67% |
|
Железо |
4 |
44% |
|
Аммоний-ион |
3 |
33% |
|
ХПК |
3 |
33% |
|
Медь |
3 |
33% |
|
Алюминий |
2 |
22% |
|
Ванадий |
2 |
22% |
|
Кальций |
2 |
22% |
|
Кислород |
1 |
11% |
|
рН |
1 |
11% |
|
Температура |
1 |
11% |
|
Нитрат-анион |
1 |
11% |
|
Нитрит-анион |
1 |
11% |
|
Фосфаты (по фосфору) |
1 |
11% |
|
Фторид-анион |
1 |
11% |
|
Марганец |
1 |
11% |
|
Стронций |
1 |
11% |
|
Цинк |
1 |
11% |
Из анализа данных таблицы 3.10 очевидно, что у государственных надзорных органов отсутствует единое мнение о показателях качества сточных вод, на которые могут повлиять прямоточные ПСО и которые необходимо нормировать.
Основное количество нормируемых показателей (17 из 23 или 74%) встречается менее чем в половине случаев. В том числе такой важнейший показатель для прямоточных систем, как температура вод, отводимых в водные объекты, нормировался только в 11% случаев, наравне с такими экзотическими показателями, как содержание стронция, цинка, марганца, нитратов, нитритов.
Достаточно часто нормировались показатели солесодержания, содержания хлоридов и сульфатов, хотя очевидно, что прямоточные ПСО не могут повлиять на эти показатели исходной воды.
Надзорные органы практически единодушны в необходимости нормирования массы сбросов взвешенных веществ и нефтепродуктов.
Для оборотных водных ПСО данные еще более противоречивы. Каждый из нормируемых показателей встречается в составе НДС ТЭС с оборотными системами не более чем в 17% случаев (таблица 3.11).
|
Количество случаев нормирования показателя |
В % от общего количества водных оборотных ПСО | |
|
Взвешенные вещества |
6 |
17% |
|
Нефтепродукты (нефть) |
6 |
17% |
|
Железо |
6 |
17% |
|
Солесодержание |
5 |
14% |
|
Сульфат-анион (сульфаты) |
5 |
14% |
|
Хлорид-анион (хлориды) |
5 |
14% |
|
Медь |
5 |
14% |
|
БПК |
4 |
11% |
|
Алюминий |
4 |
11% |
|
Кальций |
3 |
8% |
|
Фосфаты (по фосфору) |
3 |
8% |
|
Фенол, гидроксибензол |
3 |
8% |
|
Магний |
3 |
8% |
|
Натрий |
3 |
8% |
|
ХПК |
2 |
6% |
|
Нитрат-анион |
2 |
6% |
|
Марганец |
2 |
6% |
|
Аммоний-ион |
1 |
3% |
|
Ванадий |
1 |
3% |
|
Нитрит-анион |
1 |
3% |
|
Цинк |
1 |
3% |
|
СПАВ |
1 |
3% |
|
Кремний (силикаты) |
1 |
3% |
|
Хром |
1 |
3% |
По данным опроса для обработки циркуляционной воды в оборотные системы в среднем вводится 134 т/год различных химических веществ: серной и соляной кислот, ингибиторов, биоцидов, диспергаторов. При этом в составе нормируемых показателей практически отсутствуют показатели содержания химических веществ, используемых в оборотных водных ПСО для обработки циркуляционной воды. Исключение составляют показатели содержания сульфатов и хлоридов при использовании серной и соляной кислот.
Таким образом, по результатам анализа фактических данных о нормируемых показателях качества сточных вод ПСО и массах сбрасываемых веществ системами охлаждения, можно сделать вывод о невозможности применения этих данных для формирования перечня загрязняющих веществ, отводимых ПСО различных типов со сточными водами.
Данный перечень возможно сформировать исходя из анализа методов эксплуатации ПСО различных типов.
Для прямоточных систем и водных оборотных систем с водоемами-охладителями сброс загрязняющих веществ со сточными водами не характерен в связи с тем, что эксплуатация этих типов ПСО не требует применения каких-либо химических веществ, добавляемых к циркуляционной воде.
|
Показатель |
Примечания: причины включения в перечень, особенности нормирования и контроля |
|
Температура возвратных вод |
Данный показатель является основным для прямоточных ПСО. Он должен нормироваться и постоянно (непрерывно) контролироваться. |
|
Разность содержания охлаждаемых веществ в воде на выходе и входе ПСО в случае их опасности для окружающей среды |
Этот показатель предназначен для контроля отсутствия утечек экологически опасных охлаждаемых веществ. Контроль может быть инструментальным непрерывным или периодическим. |
|
Показатель |
Примечания: причины включения в перечень, особенности нормирования и контроля |
|
Показатель концентрации водородных ионов pH продувочных сточных вод |
В оборотных системах значение pH может регулироваться и существенно отличаться от pH воды в водных объектах - приемниках сточных вод. Контроль может быть инструментальным непрерывным или периодическим. |
|
Разность ХПК в воде на выходе и входе ПСО |
В оборотных системах могут развиваться микро- и макроорганизмы. Данный показатель позволяет контролировать интенсивность данных процессов. Контроль - инструментальный периодический. |
|
Токсичность продувочных сточных вод для гидробионтов |
Данный показатель позволяет контролировать сброс биоцидов из ПСО. В связи с разнообразием применяемых биоцидов контроль каждого из них затруднителен и может быть дорогостоящим. Данный показатель позволяет заменить анализ воды на содержание специфических биоцидов и является обобщающей характеристикой стоков с точки зрения их токсичности для водных организмов. Контроль - инструментальный периодический. |
|
Разность содержания взвешенных веществ в воде на выходе и входе ПСО |
Этот показатель предназначен для контроля возможного сброса продуктов коррозии оборудования ПСО. Значение НДС для этого показателя должно определяться с учетом точности методики применяемой измерения исходя из формулы: Свых - Δвых < Свх + Δвх, где Свх, Свых - концентрация нормируемого вещества в воде водного объекта в месте водозабора и в сточных теплообменных водах соответственно; Δвх, Δвых - абсолютная погрешность измерения величин Свх и Свых соответственно. Контроль - инструментальный периодический. |
|
Разность содержания охлаждаемых веществ в воде на выходе и входе ПСО в случае их опасности для окружающей среды. При наличии возможности контроль содержания охлаждаемых веществ может быть заменен контролем косвенных физико-химических показателей, которые могут служить индикаторами наличия утечек, например, проводимости, рН, температуры воды. |
Этот показатель предназначен для контроля отсутствия утечек экологически опасных охлаждаемых веществ. Контроль может быть инструментальным непрерывным или периодическим. |
При использовании для подпитки оборотных водных систем сточных вод в перечень нормируемых веществ могут быть включены специфические загрязняющие вещества, характерные для таких сточных вод, например, содержание нефтепродуктов или ионов аммония. При использовании для обработки циркуляционной воды специфических реагентов возможно дополнение перечня показателями, характеризующими содержание данных реагентов в продувочной воде, например, при введении азолов и других азотсодержащих веществ - содержание азота, при введении фосфорсодержащих веществ - содержание фосфора, при введении веществ, содержащих металлы - суммарная концентрация соответствующих металлов. Эти же показатели должны контролироваться и в подпиточной воде с целью определения массы загрязняющих веществ, отводимых ПСО в окружающую среду.
Показатели солесодержания (общее солесодержание, сухой остаток, сульфаты, хлориды, кальций, магний и т.д.) продувочной воды в оборотных системах всегда выше, чем в подпиточной воде, так как в процессе эксплуатации оборотных испарительных систем происходит их концентрирование. Тем не менее, данные показатели не включены в перечень нормируемых веществ, так как в общем случае они поступают в ПСО с подпиточной водой и затем сбрасываются в том же количестве с продувочной водой. В связи с этим ограничение и контроль сброса, фактически - возврата, этих веществ в водные объекты нецелесообразно.
В то же время для обработки циркуляционной воды в оборотных системах могут применяться известь, серная и соляная кислоты, других веществ, которые влияют на общее солесодержание циркуляционных и продувочных вод. Однако разделить массы солей, поступающих в ПСО с подпиткой и с реагентами, на основе результатов химического анализа сточных вод затруднительно. В этих случаях целесообразно устанавливать предельное количество этих веществ, вводимых в ПСО.
3.6.3 Снижение сбросов в поверхностные водные объекты
Применяемые методы снижения сбросов загрязняющих веществ в поверхностные водные объекты от ПСО могут быть направлены на:
- снижение коррозии оборудования систем охлаждения;
- снижение утечек охлаждаемых веществ;
- применения методов обработки охлаждающей воды, не связанные с применением реагентов;
- выбор менее экологически опасных реагентов;
- оптимизация методов применения реагентов.
Далее дано описание специального подхода для выбора биоцидов для новых и действующих ПСО ([9]). Этот подход обеспечивает учет всех важных факторов, влияющих на снижение совокупного использования биоцидов.
При проектировании системы охлаждения должно быть принято решение о типе системы охлаждения. Если будет использоваться охлаждающая вода, необходимо предусмотреть технические решения для контроля биозагрязнений. При проектировании важно предусмотреть достаточно высокие скорости потока во всех частях системы и отсутствие избыточных сопротивлений в гидравлическом тракте. Это снизит возможность оседания организмов. Применение нетоксичных покрытий поможет далее сократить возможности для прикрепления и развития организмов. Структура водозабора должна быть разработана таким образом, чтобы минимизировать захват мусора и водных организмов. Фильтровальные устройства и сороудерживающие решетки могут далее сократить объем захватываемых макрозагрязнителей. Входные и распределительные камеры теплообменников могут быть сделаны из армированных стекловолокном пластмасс. Этот материал может также применяться для трубопроводов и соединений в системе. Кроме того, при проектировании могут быть предусмотрены относительно простые методы, такие как устройства для химического и биологического мониторинга, или дозировки (например, специальные стойки дозирования и точки ввода реагентов) или более сложные для механической очистки, такие как, мидийные решетки или система шариковой очистки. В некоторых случаях может использоваться термообработка и тогда нет необходимости в биоцидной обработке. Для применения термообработки должен быть разработан специальный контур в водной системе охлаждения. Дальнейшие возможности для оптимизации подобны тем, которые применяются в существующих системах.
В существующей водной системе охлаждения важно определить виды биозагрязнителей и величину риска биозагрязнения. Предпосылка для этого - адекватный биологический мониторинг. Причина проблемы биообрастания должна быть проанализирована. Качество охлаждающей воды может быть улучшено предварительной подготовкой воды (например, микро- и макрофильтрацией). Это может частично снизить риск биообрастания, сокращая объем поступающих организмов и питательных веществ. Если основная причина увеличенного биологического роста - утечки охлаждаемых веществ, они должны быть устранены, например, применением материалов, устойчивых против коррозии или установкой резервных теплообменников, которые позволяют более частую механическую чистку и техническое обслуживание.
В прямоточных системах борьба с макрозагрязнениями иногда ведется применением термической обработки, без использования пестицидов. Наиболее часто применяемый пестицид - гипохлорит натрия (хлорноватистокислый натрий). Дозирование осуществляется ударно или непрерывно. Стратегия дозирования для регулирования макрозагрязнений должна быть профилактической, не допуская необходимости шокового дозирования при высоком уровне макрозагрязнений, что требует очень высоких доз в течение длительных периодов времени. Рекомендуется рассмотреть возможность применения способа целенаправленной дозировки в местах с высоким риском загрязнения, таким как вход и выход из теплообменника. Так как концентрация биоцида-окислителя в водной системе охлаждения постепенно уменьшается, необходимы химические измерения, чтобы регистрировать эффективный остаточный уровень пестицида в критических точках системы охлаждения. Измерение концентраций пестицида, основанные на измерении токсичности, также полезно для оптимизации. Контроль макрозагрязнений дают информацию относительно отстаивания и роста организмов и об эффективности программы контроля биообрастаний. Эта информация является существенной для программ оптимизации пестицида в прямоточных системах, у которых есть проблемы с макрозагрязнениями.
В открытых оборотных системах микрозагрязнение намного более важно, чем макрозагрязнение. Измерения микрозагрязнений дают важную информацию относительно развития и состояния микробного населения в водной системе охлаждения. Чтобы предотвратить внос организмов и питательных веществ с охлаждающей водой, входная вода может быть предварительно очищена (например, микрофильтрацией или отстаиванием). Вынесенная система фильтрации (непрерывная фильтрация части циркулирующего объема воды) помогает еще более сократить объем органического материала в охлаждающей воде. Объем пестицида, требуемого для успешной обработки, может быть таким образом сокращен.
В системах оборотного охлаждения используются биоциды-окислители и биоциды-неокислители. В Нидерландах приблизительно 90% оборотных систем обрабатываются гипохлоритом натрия. Биоциды-неокислители используются, только когда биоциды-окислители не могут обеспечить достаточную защиту. Для окислительных и неокислительных биоцидов рекомендуется прерывистое или ударное дозирование для того, чтобы минимизировать их использование, хотя в некоторых случаях при непрерывном дозировании с низким уровнем концентраций может расходоваться меньше химикатов, чем при ударном дозировании. Это также снижает риск развития привыкания водных организмов. Для биоцидов-неоксидантов необходимы точные аналитические методы, чтобы оптимизировать их использование. Биологические методы для измерения концентраций биоцида в охлаждающей воде могут также быть полезными в оборотных системах.
Если возможно, рекомендуется закрыть или сократить продувку во время шокового дозирования биоцидов-оксидантов и неоксидантов, чтобы сократить сбросы активного биоцида. Это особенно эффективно при их высокой реакционной способности или способности к разложению. Далее рекомендуется поддерживать в оборотной водной системе охлаждения, обработанной гипохлоритом, значение рН равным 8 - 9 для минимизирования потерь испарения хлора в градирне. Опыт показал, что это не обязательно приводит к снижению эффективности биоцида.
Комбинированное использование гипохлорита и бромида может применяться в пресноводной водной системе охлаждения и в прямоточной водной системе охлаждения, так как некоторые их побочные продукты - бромированные амины - имеют более сильный биоцидный эффект, чем их хлорированные гомологи и они быстрее разрушаются.
В оборотных системах с высоким качеством воды может применяться озонирование. Здесь важно обратить внимание на риск коррозии. Несколько опытов применения озона в Европе были успешны. Наконец, УФ-облучение может также применяться в оборотных системах как дополнительный метод. Однако только УФ-облучение не может уничтожить биозагрязнение, которое уже имеется на поверхностях водной системы охлаждения. Для эффективности этому методу необходима относительно прозрачная охлаждающая вода, так как свет должен быть в состоянии проникать через слой воды.
В результате данный подход к оптимизации применения биоцидов может быть суммирован следующим образом:
- когда выбор типа системы охлаждения выполнен, должна быть реализована сложная схема исследований с целью выбора из следующих вариантов, которые далее повлияют на необходимость обработки охлаждающей воды:
- выбор материалов и покрытий теплообменников и трубопроводов:
- исключение в конструкции системы охлаждения избыточных сопротивлений, источников возмущения потока воды, мест, удобных для роста макрозагрязнителей, обеспечение необходимой скорости воды;
- изучение возможностей улучшения качества охлаждающей воды предварительной подготовкой подпиточной воды;
- рассмотрены возможности механической очистки системы охлаждения;
- альтернативные физические и механические методы обработки ПСО, например, тепловая очистка, УФ-облучение, вынесенная фильтрация циркуляционной воды.
В зависимости от результата этого исследования водная система охлаждения может все еще нуждаться в определенной защите от отложений, коррозии или биозагрязнений. Это зависит от химического состава охлаждающей воды, от способа, которым система эксплуатируется, например, значений коэффициентов концентрации, и выбранной конфигурации охлаждения. Ясно, что для закрытого воздушного охлаждения или воздушных конденсаторов такая обработка не нужна. Химические вещества могут использоваться для очистки оребренных труб, но обычно она применяется на остановленном оборудовании.
Как только необходимость в обработке охлаждающей воды определена, необходим выбор конкретной программы обработки охлаждающей воды, соответствующей законодательным требованиям. Эти требования могут включать:
- запрещение использования определенных веществ для обработки охлаждающей воды, например, хрома, соединений ртути, металлоорганических соединений, нитритов, меркаптобензтиазолов;
- ограничение применения определенных веществ или групп веществ (например, цинка, фосфора, хлора, АОХ) в сточных водах, определяя нормативы сброса;
- ограничение токсичности сточных вод.
Выбор добавок для обработки охлаждающей воды для новых и существующих систем в соответствии со следующим подходом приведет к снижению сбросов:
- устанавливают необходимость в обработке охлаждающей воды после того, как другие физические методы очистки были рассмотрены;
- выбирают тип добавок;
- оценивают экологический риск веществ, которые будут применены;
- если возможно, применяют вещества, у которых более низкий потенциал воздействия на окружающую среду.
3.6.4 Снижение сбросов путем выбора материалов и конструкции ПСО
Для снижения объемов применения добавок в новых системах охлаждения применяют определенные материалы и конструкции. Для оборудования систем охлаждения используются много различных материалов. Поставщики оборудования обычно предлагают оборудование, изготовленное из некоторого диапазона различных металлов и сплавов, чтобы дать возможность выбрать материал, пригодный для химического состава охлаждающей воды и условий процесса. Важно учитывать, что характеристики материалов могут быть противоречивыми, что усложняет выбор материала и влияет на программу обработки охлаждающей воды. Например, материал с пониженной коррозионностью может иметь одновременно более высокую чувствительность к биозагрязнению.
Надлежащее расположение и конструкция системы охлаждения могут влиять на необходимость в добавках к охлаждающей воде. Во время монтажа необходимо избегать ненужных выступов, а также резких изменений в направлении потоков воды. Это вызывает турбулизацию потока, которая усиливает коррозионные процессы, осаждение, например, мидий. Эксплуатация системы с адекватной минимальной скоростью потока воды не только поддерживает необходимую производительность системы охлаждения, но также и сокращает накопление макрозагрязнений и коррозию материалов.
Применяемые покрытия и краски препятствуют фиксации организмов, снижают трение воды и облегчают чистку систем. Эти предохраняющие от обрастания краски не должны содержать токсичные вещества. Водостойкость и цена варьируются и зависят от размера системы охлаждения и условий. Например, органические покрытия наносятся в относительно небольших установках охлаждения посредством теплового отверждения на поверхности. Это порошковые покрытия, которые могут использоваться во влажной среде, не содержат токсичных веществ, не используют растворителей, коррозионностойкие, в итоге существенно продлевают жизнь оборудования.
3.6.5 Применение дополнительных и альтернативных методов обработки охлаждающей воды
По результатам опроса были получены сведения о методах обработки систем охлаждения, которые приводят к снижению потребности в ее химической обработке и применении реагентов, применяемых российскими предприятиями (таблица 3.14).
|
Наименование метода обработки |
прямоточная |
оборотная водная |
воздушная |
|
Механическая очистка на остановленном оборудовании |
5 |
4 |
- |
|
Повышение температуры охлаждающей воды |
- |
1 |
- |
|
Кислотная промывка на остановленном оборудовании |
- |
2 |
- |
|
Очистка теплообменников водой высокого давления |
2 |
1 |
- |
|
Шариковая очистка |
4 |
7 |
- |
|
Термическая чистка на остановленном оборудовании (термосушка) |
2 |
2 |
- |
|
Промывка радиаторов водой или мыльным (моющим) раствором (в зависимости от степени загрязнения) с использованием специальной установки |
- |
- |
2 |
Кроме того, в справочнике ([9]) сообщается о применении европейскими предприятиями следующих методов:
- очистка и подготовка подпиточной воды;
- механическая очистка работающего оборудования ПСО;
- механическая очистка остановленного оборудования;
- термическая очистка;
- применение специальных покрытий для оборудования;
- ультрафиолетовое (УФ) облучение, озонирование воды с целью ее обеззараживания;
- ультразвуковые технологии.
Цель всех перечисленных методов состоит в том, чтобы улучшить биологическое качество охлаждающей воды и сохранить поверхности элементов систем охлаждения (трубопроводов и теплообменников) чистыми насколько это возможно, создавая в системе внутреннюю среду, которая будет препятствовать загрязнениям. Некоторые из этих методов не имеют общего применения или все еще исследуются. Экологические выгоды от их применения должны быть сбалансированы со снижением объемов применения химических веществ. Например, УФ-облучение нуждается в относительно прозрачный воде, озонирование и ультразвуковая технология нуждаются в дополнительном подводе энергии.
В соответствии с ([48]) способ термической очистки теплообменников заключается в том, что при повышении температуры стенок трубок до 50°С - 55°С органические и илистые отложения высыхают, растрескиваются и отслаиваются от стенок трубок. Для ускорения процесса сушки и удаления отслоившихся отложений через трубки теплообменника с помощью вентилятора продувается воздух, обычно предварительно подогретый в калорифере.
На ТЭС термическая очистка производится при поочередном отключении половин конденсатора по воде при одновременном снижении электрической нагрузки таким образом, чтобы температура в выхлопном патрубке не превышала 55°С. В очищаемую половину конденсатора прекращается подача воды. Вскрываются люки со стороны входа и выхода воды, очищаются от мусора (щепы, рыбы, ракушек и т.п.) трубные доски, закрываются задвижки на линии отсоса воздуха. На площадке перед конденсатором устанавливается вентилятор, напорный патрубок которого соединяется с одним или двумя люками крышки конденсатора со стороны подвода воды. Включается вентилятор и калорифер и через трубки конденсатора продувается подогретый воздух. Сушка трубок конденсаторов продолжается 4 - 8 ч, а при необходимости и более. Продолжительность сушки определяется толщиной и характером отложений и температурой воздуха, поступающего в конденсатор. После окончания сушки закрываются люки крышки конденсатора и он включается в работу. Отложения, вынесенные воздухом в водяные камеры, удаляются с водой при включении половины конденсатора в работу.
Разновидностью термической сушки является вакуумная сушка. Сущность метода заключается в том, что в водяном пространстве конденсатора создается вакуум на 40 - 150 мм вод. ст более глубокий, чем в паровом пространстве. В процессе сушки слой осадка уплотняется, разрывается на мелкие чешуйки и отслаивается. Процесс сушки происходит при параметрах, соответствующих кипению, отложения высыхают до влажности 3% - 5%. При включении конденсатора в работу чешуйки смываются циркуляционной водой. Длительность вакуумной сушки одной половины конденсатора составляет 1 - 2 ч.
Механическая очистка теплообменников производится щетинистыми ершами, укрепленными на длинных шомполах и приводимых в действие вручную или с помощью механических, электрических, гидравлических или пневматических устройств различного типа; резиновыми цилиндриками или поршеньками, проталкиваемыми через трубку шомполами; водой или воздухом под давлением с помощью пистолетов различной конструкции или других устройств; струей воды под большим давлением и в отдельных случаях с примесью песка, золы, воздуха и т.д. Очистка высоконапорной установкой ведется с давлением рабочей воды 400 - 500 кгс/см2, поэтому она проводится специально обученным персоналом, как правило, специализированных организаций.
Химический способ очистки теплообменников в остановленном состоянии применяется при неэффективности или невозможности применения механических методов. При химическом способе очистки большое внимание уделяется равномерному растворению отложений, достигаемому отсутствием пенообразования, и минимальной потере металла теплообменных поверхностей.
В настоящее время для очистки теплообменников применяются следующие моющие вещества:
- водный конденсат низкомолекулярных органических кислот (ВК НМК), представляющий собой 25 - 35%-ную смесь муравьиной, уксусной, пропиновой, валериановой, масляной и капроновой кислот, а также концентрат низкомолекулярных кислот (К НМК), т.е. 75%-ная смесь этих кислот. ВК НМК и К НМК являются отходом производства синтетических жирных кислот. Очистка производится 5 - 7%-ным раствором с ингибиторами коррозии: И-2-В или И-1-Е в количестве 0, 2% - 0, 5% в промывочном растворе; смесь 0, 1% КИ-1 с 0, 05% тиурама или 0, 1% 0П7 (ОП10, КИ-1) с 0, 02% каптакса;
- техническая соляная кислота, ингибированная В-2 или БП-5, 2-5%-ная с добавкой для пеногашения водного конденсата из расчета 0, 35 кг (100%-ного) на 1 кг накипи или синтетических жирных кислот (СЖК) фракции С5 - С6 в количестве 0, 15% - 0, 25% по объему. В качестве дополнительных ингибиторов могут быть использованы: тиосульфат натрия в количестве 4 - 5 г на 1 г-ион железа и меди; 0, 3 - 0, 5%-ный И-2-В или И-1-Е; тиомочевина с гидроксиламином по 2 г на 1 г-ион железа и меди; смесь катапина и тиурама в количествах соответственно 0, 1 и 0, 05% в промывочном растворе; роданистый аммоний в количестве 0, 1% в промывочном растворе; смесь роданистого аммония с тиомочевиной по 0, 05% каждого компонента в промывочном растворе; смесь 0, 1% - 0, 2% КИ-1 с 0, 02% каптакса.
Количество реагентов, необходимое для химической очистки, рассчитывается по количеству имеющейся в нем накипи.
Финансовые затраты могут варьироваться в зависимости от размера системы и количества одновременно применяемых методов.
Фильтрация подпиточной воды оборотных систем и циркуляционной воды прямоточных систем с целью задержки мусора применяется повсеместно при заборе воды из поверхностных водных объектов. Для этого используются неподвижные решетки и вращающихся сеток для мусора, мусорозадерживающие фильтры с ячейками различного размера.
Очистка конденсаторов эластичными шариками из губчатой резины является одним из наиболее широко применяемым методом поддержания в чистоте поверхности охлаждения трубчатых теплообменников и конденсаторов в энергетике. Шарики диаметром на 1, 0 - 1, 5 мм больше диаметра очищаемых трубок при прохождении по ним за счет плотного прилегания к стенкам препятствуют накопления биологических, механических и солевых отложений.
Система шариковой очистки (СШО) состоит из фильтра предварительной очистки, очищающего воду от крупного мусора, насоса отмывки фильтра, шарикоулавливающего устройства, предназначенного для сбора и возвращения шариков в цикл, насоса для циркуляции шариков, загрузочной камеры для введения шариков в контур циркуляции, а также для сбора и удаления отработавших шариков, транспортных трубопроводов циркуляции шариков с электрифицированной арматурой и средств автоматизации системы.
Принципиальная схема СШО показана на рисунке ___________.

Рисунок 3.1 - Принципиальная схема системы шариковой очистки конденсатора:
1 - конденсатор; 2 и 3 - напорный и сливной циркуляционные водоводы; 4 - фильтр предварительной очистки; 5 - шарикоулавливающее устройство; 6 - загрузочная камера; 7 - насос промывки фильтра предварительной очистки; 8 - насос циркуляции шариков; I и II - подвод и слив циркуляционной воды; III - подача воды на отмывку фильтра предварительной очистки; IV - сброс загрязненной воды из фильтра; V - контур циркуляции шариков; VI - опорожнение загрузочной камеры.
В Европе, кроме того, для предотвращения обрастания промышленных систем достаточно часто используются следующие методы:
- поддержание достаточно высоких скоростей воды, чтобы избежать фиксации органических организмов (> 2 м/с), эта рекомендация в настоящее время применяется очень широко;
- нетоксичные покрытия и краски, которые усложняют фиксацию организмов, улучшают влияние скорости потока и облегчают очистку; однако, эти покрытия дороги и должны восстанавливаться каждые 4 - 5 лет.
Иногда используется установка специальных противомидийных фильтров.
Физические методы могут применяться и для морской и для пресной воды.
Имеется несколько случаев применения облучения воды ультрафиолетовым светом (УФ-облучение).
В технической литературе имеется информация об успешном применении на не скольких химических и нефтехимических российских предприятиях (Казаньоргсинтез, Лукойл-Пермнефтеоргсинтез, Акрон, Московский НПЗ, ЛУКОЙЛ-Пермнефтегазпереработка и др.), а также десятках зарубежных промышленных предприятиях различных отраслей, технологии каталитического обеззараживания циркуляционной воды водных оборотных систем охлаждения.
Суть технологии заключается в следующем. В поток охлаждающей воды помещается ячейка с металлическим (наноструктурированный Cr-Ni-Fe сплав) нерасходуемым катализатором, сюда же дозируется реагент, основа которого - стабилизированный 30%-й раствор перекиси водорода H2O2. При взаимодействии с катализатором молекулы перекиси водорода за счет перехода электронов активируются, а сама поверхность катализатора приобретает положительный заряд. Имеющие слабый отрицательный заряд клетки микроорганизмов в течение секунды притягиваются к поверхности катализатора, где под воздействием активных высокореакционноспособных молекул перекиси водорода клеточные мембраны микроорганизмов разрушаются, вследствие чего клетки микроорганизмов полностью деструктурируются и окисляются.
В результате этих реакций в воде образуются поверхностно-активные вещества биологического происхождения (биоПАВ), которые, в отличие от синтетических ПАВ (СПАВ), нетоксичны, проявляют свою активность на поверхности раздела фаз жидкость/твердое тело и малоактивны на разделе фаз жидкость/газ, т.е. не образуют пены и по своей структуре очень схожи с мембранами клеток микроорганизмов, поскольку являются продуктами их распада. Продвигаясь с потоком воды, биоПАВ отщепляют соединенные с металлическими и другими поверхностями слои биоотложений (биопленок), что вызывает гибель внутренней анаэробной части биослоя. Таким образом, постепенно происходит полная очистка поверхности оборудования и трубопроводов от биоотложений. Сообщают, что в результате применения каталитического обеззараживания происходит очистка не только градирен, но и всех элементов охлаждающей системы (оросителей, трубопроводов, теплообменников и т.д.) и препятствуют образованию новых слоев биообрастаний, а также предотвращается образование новых слоев биообрастаний (биопленок).
Разработчики технологии отмечают следующие преимущества каталитического обеззараживания, подтвержденные опытом его применения, по сравнению с другими применяемыми методами:
- уничтожение биозагрязнителей не только в объеме воды, но и труднодоступной для других методов биопленки;
- в ПСО не вносятся соли и галогенпроизводные вещества;
- независимость эффективности обеззараживания от рН и концентрации нефтепродуктов в охлаждающей воде;
- за счет применения нерасходуемого катализатора (реальный срок сохранения активности катализатора составляет не менее 10 лет) существенно снижается масса применяемого реагента (в 15 - 20 раз);
- за счет уничтожения биопленки существенно снижается интенсивность коррозионных процессов, увеличивается срок службы оборудования, улучшается теплообмен.
Технология совместима со всеми применяемыми ингибиторами коррозии и отложения солей. По сведениям разработчика технологии экономические показатели ее внедрения и применения сравнимы с показателями альтернативных технологий обеззараживания охлаждающей воды.
3.6.6 Оптимизация методов обработки циркуляционной воды
Оптимизация методов использования добавок к охлаждающей воде означает выбор адекватного режима дозировки и мониторинга влияния программы обработки воды на сбросы в поверхностный водный объект и на эффективность работы системы охлаждения (эффективность теплопередачи и надежность системы).
Выбор режима дозировки должен стремиться к достижению необходимой концентрации в нужное время без снижения эффективности системы охлаждения. Сниженная дозировка может вызвать коррозию или отложения и снижение эффективности системы охлаждения, что, в свою очередь, приводит к косвенным экологическим влияниям, передозировка химического вещества может привести к загрязнению поверхностей теплообмена, более высоким уровням сбросов в окружающую среду и более высоким затратам на обработку.
Целенаправленная дозировка, основанная на анализе качества охлаждающей воды, стремится поддерживать минимальный необходимый уровень концентрации, обеспечивающий постоянную защиту от загрязнений. Избегают чрезмерно высоких уровней концентрации, снижая таким образом сбросы в окружающую среду и затраты на приобретение реагентов. Поэтому правильно разработанные режимы дозировки сокращают необходимые объемы добавок и могут быть экономически эффективными.
Для поддержания эффективности применяемого обработки циркуляционной воды важно организовать производственный контроль состояния ПСО. Его объем определяется конструкцией ПСО и применяемыми методами обработки воды.
3.7 Выбросы загрязняющих веществ в атмосферу
Для целей идентификации НДТ систем охлаждения важно учитывать прямые и косвенные выбросы загрязняющих веществ в атмосферу, связанные с эксплуатацией ПСО. Прямые выбросы ПСО связаны с возможным поступлением в атмосферу экологически опасных веществ, содержащихся в циркуляционной воде и поступающих в атмосферу через градирни. Косвенные выбросы - это дополнительные выбросы от производственного процесса, связанные с недостаточной эффективностью работы системы охлаждения. Они возникают вследствие того, что недостаток охлаждения может приводить к увеличению потребления сырья или энергетических ресурсов и, в результате, к увеличению объемов выбросов загрязняющих веществ в атмосферу.
3.7.1 Объемы выбросов в атмосферу
В сравнении с выбросами загрязняющих веществ в атмосферу охлаждаемыми технологическими установками выбросы ПСО, как правило, относительно невелики. Кроме того, загрязняющие вещества от ПСО поступают атмосферу в основном с капельной влагой, выбрасываемой водными градирнями, которая достаточно быстро оседает на почву или испаряется. Поэтому область влияния капельных выбросов от градирен невелика. Зона выпадения капельной влаги на поверхности земли имеет форму эллипса с большой осью, проходящей через центр градирни в направлении ветра. Наибольшая интенсивность выпадения капель на поверхность земли в этой зоне находится на большой оси эллипса на расстоянии примерно двух высот градирни. На расстоянии 5 - 6 высот башни интенсивность выпадения влаги снижается примерно в 10 раз. Размер зоны выпадения капельной влаги зависит от высоты градирни, скорости ветра, степени турбулентности воздуха в приземном слое, концентрации и крупности капель, а также от температуры и влажности атмосферного воздуха.
В процессе сбора данных по применяемым в Российской Федерации системам охлаждения сведений о прямых выбросах загрязняющих веществ от ПСО не поступило, что свидетельствует о низкой значимости этого экологического аспекта ПСО. Выбросы загрязняющих веществ в атмосферу от ПСО не нормируются и не контролируются.
Косвенные выбросы от охлаждаемых производственных процессов, связанных с недостаточной эффективностью ПСО, могут быть существенно выше прямых выбросов от градирен. Их интенсивность и состав существенно зависят специфики охлаждаемого процесса.
3.7.2 Методы снижения выбросов
Применяемые методы снижения косвенных и прямых выбросов загрязняющих веществ в атмосферу направлены на:
- обеспечение соответствия производительности ПСО требованиям охлаждаемого производственного оборудования;
- снижение массы и экологической опасности веществ, используемых в ПСО для обработки подпиточной или циркуляционной воды;
- снижение возможностей поступления в атмосферу загрязняющих веществ, используемых в ПСО.
В качестве методов снижения косвенных выбросов могут применяться все методы, направленные на повышение эффективности охлаждения технологического оборудования, а также энергетической эффективности работы ПСО.
Масса прямых выбросов в атмосферу от градирен зависит от массы и уровня экологической опасности веществ, используемых для обработки охлаждающей воды, их концентрации в циркуляционной воде. В связи с этим меры, направленные на снижение объемов применения химических веществ, применяемых для стабилизационной обработки и обеззараживания циркуляционной воды, а также на применение менее токсичных веществ, способствуют снижению негативного воздействия ПСО на атмосферный воздух.
Замена химических методов обработки охлаждающей воды на механические и физические также способствуют снижению выбросов загрязняющих веществ в атмосферу.
При внесении изменений в эксплуатационные режимы работы градирен необходимо оценивать влияние изменений на выбросы в атмосферу.
Учитывая, что основным путем поступления загрязняющих веществ в атмосферу от ПСО являются их выброс с капельным уносом мокрых градирен (башенных, вентиляторных, атмосферных), методом снижения выбросов является применение достаточно эффективных каплеуловителей (сепараторов капельного уноса). Стандартные капельные сепараторы, используемые в настоящее время в мокрых градирнях, позволяют ограничить потери воды с уносом до 0, 01% от полного расхода циркуляционной воды. Меры по оборудованию градирен достаточно эффективными каплеуловителями доступны как для новых проектируемых, так и для действующих градирен.
В качестве эксплуатационного метода, косвенно способствующего снижению прямых выбросов от градирен, может рассматриваться организация производственного контроля состава циркуляционной воды, ее химического и бактериологического состава. Такой контроль позволяет предотвратить чрезмерное накопление в воде и выброс загрязняющих веществ в атмосферу. В программу контроля могут включаться вещества, применяемые для стабилизационной обработки и дезинфекции воды, взвешенные вещества, количество общих и термотолерантных колиформных бактерий, колифагов, БПК, ХПК, интенсивность запаха и окраски. Инструментальный контроль объема выбросов от градирен, эффективности каплеуловителей достаточно сложен, поэтому в производственном контроле он не применяется. В качестве эксплуатационных мер для поддержания эффективности работы каплеуловителей применяются их периодические осмотры, механические чистки и ремонты.
3.8 Паровые факелы градирен
3.8.1 Условия образования парового факела
Образование парового факела может происходить только в водных оборотных системах охлаждения в условиях, когда воздух с высоким содержанием влаги покидает градирню или иной охладитель, смешивается с атмосферным воздухом и начинает остывать. Если при остывании относительная влажность воздуха достигает 100%, то некоторая доля водяного пара конденсируется в капли, что и приводит к образованию видимого парового факела. Учитывая, что при испарении воды растворенные в ней вещества не переходят в пар, паровой факел состоит из чистых водяных капель. Форма и плотность парового факела зависят от температуры и относительной влажности атмосферного воздуха, силы ветра. Чем более холодным и влажным является атмосферный воздух, тем более устойчивым и протяженным будет паровой факел. Поэтому эта проблема актуальна в большей степени для областей с более холодным климатом и, главным образом, в холодные сезоны года. Паровые факелы от крупных ПСО могут снижаться до уровня земли, что может приводить к оледенению дорог, зданий и сооружений.
По результатам опроса ни одно из опрашиваемых предприятий, эксплуатирующих испарительные градирни различного типа, не сообщило о существенной значимости проблем, связанных с образованием парового факела. В то же время, в процессе обсуждения проекта настоящего справочника НДТ поступала информация о наличии таких проблем, в особенности для невысоких вентиляторных испарительных градирен. В справочнике ([9]) также отмечается возможное воздействие испарительных градирен на условия безопасности эксплуатации автомобильных дорог, взлетно-посадочных полос аэропортов, других сооружений.
3.8.2 Методы предотвращения и уменьшения парового факела
Уменьшение парового факела - комплексная технологическая мера, требующая изменения конструкции ПСО. В некоторых случаях образование парового факела может быть предотвращено сушкой влажного отходящего воздуха перед их выбросом в атмосферу, его смешиванием с некоторым количеством теплого сухого воздуха. Однако эти меры связаны с дополнительным расходованием энергии и поэтому неэффективны в смысле комплексного воздействия на окружающую среду и потребления энергии производственным объектом в целом. Полное предотвращение парового факела возможно только при эксплуатации сухих радиаторных и гибридных систем.
В результате опроса российских предприятий не было получено сообщений о мерах, применяемых для снижения интенсивности или предотвращения образования парового факела.
3.9 Шум
3.9.1 Источники и уровни шума ПСО
ПСО создают относительно невысокий уровень шума, он может создавать проблемы только при расположении ПСО недалеко от границ санитарно-защитных и жилых зон.
По результатам опроса были получены немногочисленные сведения об уровнях шума от оборудования ПСО. В связи с различными условиями измерения (расстояния, наличие других источников шума) данные от различных компаний несопоставимы между собой и на их основе невозможно сформировать данные о характерных уровнях шума от оборудования ПСО.
Шум насосного оборудования, всегда присутствующего в водных ПСО, может быть значительным. Однако насосы всегда располагаются внутри зданий, поэтому их шум не создает проблем для нормируемых реципиентов. Обычно в ПСО выделяют два основных первичных источника шума:
- вентиляторное оборудование (вентилятор, передаточные механизмы, двигатель) - во всех градирнях с принудительной тягой или наддувом. Шум вентиляторной установки с приводом создается преимущественно на низких и средних частотах 63 - 500 Гц;
- капли, падающие в водосборные бассейны в испарительных градирнях. Шум от падения капель (шум дождя) происходит на частотах 500 - 8000 Гц.
Дополнительные шумы могут возникать также при колебаниях и вибрациях отдельных элементов градирни (оболочки, диффузора и т.п.). Однако эти шумы связаны с некачественным монтажом или недостаточным техническим обслуживанием ПСО. В качественно смонтированных и обслуживаемых ПСО влияние дополнительных шумов на общий шум несущественно.
Уровни шума, создаваемого градирней, оцениваются по шумовой характеристике. Шумовой характеристикой принято считать уровень звукового давления на среднегеометрических частотах октавных полос в диапазоне 63 - 8000 Гц на расстоянии 1 м от звукоактивных поверхностей.
Звукоактивная поверхность - часть поверхности градирни с наибольшим излучением шума (входные окна, корпус вентилятора, выход из диффузора).
Уровень звукового давления L, дБ - величина, вычисляемая по формуле:
L = 20 lg(P/P0),
где P0 = 2 х 10-5 Па.
Для ориентировочной оценки шума допускается за характеристику постоянного шума принимать уровень звука, дБА, измеряемый по шкале А шумомера и определяемый по формуле:
L = 20 lg(Pa/P0),
где Ра - среднеквадратичная величина звукового давления с учетом коррекции А шумомера, Па.
На уровень шума, создаваемого вентилятором градирни, влияют окружная скорость колеса, профиль лопаток, их число, конструкция подшипников, работа электродвигателя и тип привода. В малых вентиляторных градирнях (площадь секции не более 16 м2) преобладающим источником шума является вентиляторная установка. При больших размерах секции значительную долю в общий шум, создаваемый градирней, может вносить и шум дождя, особенно на высоких частотах. Разница в шуме градирни с различными типами капельных и пленочных оросителей несущественна и колеблется в пределах 3 дБ.
В справочнике ([9]) предложены следующие формулы для оценки уровня шума от различных градирен.
Уровень звукового давления от вентилятора может быть приблизительно вычислен следующим образом:
L(дБА)=16+10*lg(V/V0)+20*(Δр/Δр0)±5,
где V0 = 1 м3 воздуха/ч; Δр0 = 1 гПа.
Это общее уравнение может использоваться и для дутьевых и для вытяжных вентиляторов. В градирнях с наддувом вклад вентиляторов в уровень мощности звука на выходе воздуха средних и больших градирен обычно меньше, чем вклад вентилятора градирни с принудительной тягой с вентиляторами наверху. Это различие может составлять до 5 дБА.
Следующее уравнение показывает, как мощность шума осевых вентиляторов связана с окружной скоростью лопаток:
L(дБА)=C+30 lgUtip+10 lg(Q *P) - 5 lgD,
где C - постоянная, характеризующая профиль вентилятора, Utip - окружная скорость лопаток вентилятора, Q - расход воздуха, P - давление, D - диаметр вентилятора.
Для градирен с естественной тягой расход воды и высота градирни - наиболее важные факторы, влияющие на уровень шума. Важно, чтобы высота падения капель составляла менее 5 м.
Уровень мощности звука градирни с естественной тягой в месте забора воздуха может быть вычислен в соответствии с уравнением:
L (дБА) = 68 + 10lg (M/М0) ±2,
где М0 = 1 т/ч, М - массовый расход воды.
Мощность звука в месте выхода воздуха из градирни с естественной тягой может быть приблизительно вычислена по формуле:
L (дБА) = 71 + 10lg (M/М0) - 0.15 * (H/Н0) ±5,
где М0 = 1 т/ч, М - массовый расход воды, Н0 = 1 м, Н - высота градирни.
Вклад шума воды в полный уровень мощности звука вентиляторной градирни может быть приблизительно вычислен по формуле:
L (дБА) = 72 + 10lg (M/М0) ±3,
где М0 = 1 т/ч, М - массовый расход воды.
Шум имеет определенный частотный спектр и имеются различия в спектрах мокрых градирен с естественной тягой и вентиляторных градирен. Шум падающей воды в градирнях с естественной тягой имеет более широкий спектр частот, тогда как спектр шума вентиляторов состоит из низких частот. Это, кроме прочих факторов, объясняет, почему шум воды обычно преобладает вблизи установки, а шум вентиляторов становится преобладающим с увеличением расстоянием от градирни. Частотные характеристики шума необходимо учитывать при выборе мер шумоподавления.
|
Оборудование |
Мощность, производительность(1) |
Уровень шума L, дВ(А) |
|
Компрессоры |
490/2000 кВт |
108/119 |
|
Насосы |
25/100/1300 кВт |
94/98/108 |
|
Паровые турбины |
1000/2000 кВт |
106/108 |
|
АВО |
7/20/60 кВт |
89/93/98 |
|
АВО/воздушный конденсатор |
170 кВт |
102 |
|
АВО/воздушный конденсатор |
2.7 МВт (тепл) |
97 |
|
АВО |
14.7 МВт (тепл)/18.8 кВт |
105 |
|
АВО |
1.5 МВт (тепл)/7.5 кВт (тепл) |
90 |
|
Градирня |
300 МВт (тепл) |
106 |
|
Градирня |
2000 м3/ч |
105 |
|
(1) Указание мощности вращающихся машин, двигателей и т.д. не является производительностью системы охлаждения. | ||
|
Конструкция водной системы охлаждения |
Вход воздуха, дБ(А) |
Выход воздуха (при открытом диффузоре), дБ(А) |
|
Башенная градирня с естественной тягой |
84 ±3 |
69 ±3 |
|
Атмосферная градирня |
86 ±3 |
80 ±3 |
|
Вентиляторная градирня с нагнетанием воздуха |
88 ±3 |
85 ±3 |
|
Вентиляторная градирня с принудительной тягой |
85 ±3 |
88 ±3 |
|
Система охлаждения |
Уровень шума, дБ(А) |
|
Башенная градирня |
90 - 100 |
|
Вентиляторная градирня |
80 - 120 |
|
Гибридная градирня |
80 - 120 |
|
Радиаторная градирня |
90 - 130 |
3.9.2 Применяемые методы шумоподавления
Уровень шума от вентиляторных градирен, как правило, не превышает допустимый уровень по санитарным нормам для территорий промышленных предприятий уже на расстоянии 10 м, поэтому их можно размещать в любом месте промышленного предприятия без проведения каких-либо мероприятий по защите от шума. Однако в случаях, если поблизости находятся жилые или другие здания, уровень шума для которых ограничен санитарными нормами, может возникнуть необходимость в проведении мероприятий для снижения уровня шума в расчетных точках до величин, допустимых санитарными нормами.
Эти мероприятия необходимо предусматривать на стадии проектирования и привязки градирни к местности, что обходится обычно в 2 - 3 раза дешевле, чем обеспечение защиты от шума после пуска градирен в эксплуатацию.
Борьбу с шумом градирен следует осуществлять по следующим основным направлениям:
- уменьшение или предотвращение образования шума в его источнике (первичные меры) - конструктивные и административные методы (применение малошумного источника, регламентация времени его работы и мест расположения на территории);
- снижение шума на пути его распространения (вторичные меры).
В качестве первичных мер используются:
- увеличение количества лопаток в вентиляторах до 6 - 8 вместо 4 может привести к снижению шума (при этом также снижается потребление энергии);
- использование низкошумных вентиляторов с более широкими лопатками и более низкими окружными скоростями (< 40 м/с) при сохранении расхода и давления воздуха;
- применение низкошумных электродвигателей и механизмов передачи (с небольшими коэффициентами передачи или многополюсных электродвигателей), геликоидальных механизмов вместо ременных приводов и, если возможно, прямых приводов;
- использование ременных приводов с V-образными или плоскими ремнями. Если возможно, ремни должны быть закрыты кожухами;
- применение низкошумных двигателей;
- применение центробежных вентиляторов вместо осевых;
- обеспечение наибольшего возможного расстояния между лопатками вентилятора и другими конструкциями;
- использование упругой опоры механизмов и двигателей вентилятора, установка вентилятора на "плавающем" основании, "мягкое" соединение вентилятора с корпусом градирни;
- снижение скорости вращения вентиляторов за счет изменения конструкции или применения двухскоростных двигателей;
- устройство удлиненных диффузоров с непрерывным течением потока при покрытии внутренней поверхности диффузора звукопоглощающим материалом с пластмассовой пленкой для защиты от воды;
- усовершенствование аэродинамических характеристик лопастей проточной части вентиляторов;
- снижение высоты падения капель воды;
- предотвращение падения капель на поверхность водосборного бассейна устройствами, улавливающими капли и дренирующими их в бассейн (дефлекторов). Эффект снижения шума составляет максимум 7 дБ;
- уменьшение площади поверхности воды за счет более быстрого дренирования бассейна, при этом стенки бассейна используются как звуковые барьеры;
- применение сеток или тканых материалов с небольшими ячейками, дрейфующих на водной поверхности и уменьшающих шум падающих капель. Количественная оценка эффективности метода неизвестна;
- шумовые экраны на воздухозаборных окнах могут обеспечивать максимальное снижение шума на 20 дБ. Недостатком является дополнительный перепад давления, который может составлять до 10 Па, что может потребовать увеличения производительности вентилятора на 20%;
- в тех случаях, где это возможно, целесообразно предусматривать режим работы градирни с остановкой в ночное время или в период более низких нагрузок вентиляторы можно эксплуатировать при более низких скоростях вращения, 50%-ое снижение скорости приводит к снижению шума приблизительно на 6 - 10 дБ(А);
- размещение градирен с ориентацией наиболее шумных устройств, мест выхода звуковой энергии из градирни в сторону, противоположную зданиям или другим реципиентам шума.
В качестве вторичных мер применяются:
- удаление градирен от жилых домов на достаточное расстояние, определяемое расчетами на стадии проектирования;
- устройство между градирней и рассматриваемым объектом экранов в виде насыпей, ограждений, стенок, полос зеленых насаждений. Шумоподавляющие экраны могут обеспечивать снижение шума на 20 дБ. Их эффективность зависит от конструкции и расстояния от основания градирни;
- размещение вентиляторных градирен с использованием в качестве экранов существующих сооружений зданий, рельефа местности. Снижение уровня звука вблизи градирни ограждением может составлять до 20 дБ.
При выборе методов шумоподавления необходимо учитывать, что их применение может приводить к дополнительному энергопотреблению на преодоление дополнительного аэродинамического сопротивления. Поэтому вторичные меры могут быть более предпочтительными. Необходимо сравнивать выгоды снижения шума на 10 - 25 дБА и дополнительный перепад давления на 20 - 70 Па, что потребует дополнительного энергопотребления или установки более мощных (и более шумных) вентиляторов. Выбор малошумных радиальных вентиляторов часто приводит к более высокому уровню потребления энергии и более высоким результирующим эксплуатационным расходам, чем для осевых вентиляторов.
Комплексное применение различных мер позволяет достигать уровней шумоподавления от 20 до 30 дБА. Для таких уровней шумоподавления необходимо одновременно применять низкошумное оборудование и вторичные меры шумоподавления, например, акустические экраны.
3.10 Риск утечек опасных веществ
3.10.1 Причины и потенциальные последствия утечек охлаждаемых веществ
Риски утечек охлаждаемых веществ характерны только для поверхностных рекуперативных теплообменников, в которых охлаждаемая и охлаждающая среды (вода или воздух) разделены теплообменной поверхностью. В смешивающих теплообменниках смешение охлаждаемой и охлаждающей сред является нормальным процессом. В регенеративных теплообменниках некоторая доля смешивания сред также является нормальной. Теплообменная поверхность рекуперативных теплообменников может подвергаться коррозии, эрозии и другим видам износа и повреждениям, в результате которых герметичность теплообменников нарушается и происходит смешение охлаждаемой и охлаждающей сред. В зависимости от соотношения давлений сред результатом разгерметизации теплообменной поверхности может быть загрязнение охлаждаемого или охлаждающего веществ. Очевидно, что опасность для окружающей среды представляют собой только те случаи, когда охлаждаемое вещество представляет опасность для окружающей среды и оно может попасть в охлаждающую среду. Таким образом, условиями наличия для ПСО рисков утечек, которые рассматриваются в данном справочнике НДТ, являются:
- применение поверхностных рекуперативных теплообменников;
- охлаждаемая среда является экологически опасным веществом;
- в случае разгерметизации теплообменника охлаждаемое вещество может попасть в окружающую среду.
Данным критериям могут удовлетворять все типы ПСО, описанные в разделе 2. Поэтому можно говорить только об относительной величине рисков утечек, характерных для разных типов ПСО.
Утечки охлаждаемых веществ могут происходить в водных и воздушных системах охлаждения. В прямоточных системах загрязнение немедленно поступает в водные объекты через охлаждающую воду. В оборотных водных и гибридных системах в случае протечки загрязнений в циркуляционную воду, их попадание в окружающую среду произойдет спустя некоторое время, с влажным охлаждающим воздухом и продувочными водами.
В воздушных системах охлаждения аварийная утечка охлаждаемого вещества или хладагента промежуточного контура может привести к загрязнению охлаждающего воздуха. Эта проблема может быть значимой и актуальной для воздушных систем охлаждения, применяемых на газо- и нефтеперерабатывающих, химических предприятиях, где могут охлаждаться в том числе токсичные, взрыво- и пожароопасные вещества.
Системы охлаждения любых типов, применяемые на электростанциях, не несут высоких рисков утечек опасных веществ. Причиной этого является то, что на электростанциях основной объем тепла отводится от конденсаторов, в которых происходит процесс конденсации водяного пара. Очевидно, что водяной пар не является экологически опасным веществом. Кроме того, в паровом пространстве конденсатора поддерживается низкое давление, существенно ниже давления охлаждающей воды. В связи с этим при нарушении герметичности трубок конденсатора происходит попадание охлаждающей воды в паровое пространство, что способствует повышению в нем давления и ведет к снижению эффективности процесса производства энергии или даже к аварийному останову турбины. Однако при этом не происходит попадания каких-либо загрязняющих веществ в окружающую среду.
В то же время на ТЭС в охлаждении нуждаются и экологически опасные вещества - масла, которые применяются для смазки и охлаждения разнообразных вращающихся механизмов, включая паровые и газовые турбины, насосы, тягодутьевые механизмы. Кроме того, отдельные системы охлаждения иногда применяются для охлаждения изоляционного масла в маслонаполненном электрооборудовании. Если системы охлаждения этого оборудования объединяется с системами охлаждения конденсаторов, то риски утечек появляются для всей системы охлаждения.
На интенсивность процессов износа теплообменников влияют такие факторы, как тип и материал теплообменника, скорости жидкостей, химический состав охлаждаемого и охлаждающего веществ, температуры материалов и уровни давления.
Нарушение целостности теплообменной поверхности не всегда происходит в виде явного видимого разрыва трубок в теплообменнике, иногда утечка происходит из-за наличия небольших трещин или дефектов теплообменных поверхностей. Самые распространенные причины возникновения дефектов в теплообменниках:
- коррозия в результате химического воздействия (язвенная коррозия);
- коррозия, связанная с биологическими загрязнениями, действием бактерий;
- механическая эрозия;
- вибрация, вызванная движением среды или работой насосов;
- заводские дефекты материалов;
- дефекты крепления труб;
- смещенные стыки труб;
- напряжения в материалах в результате непроектных эксплуатационных давлений и/или температур;
- слишком высокий температурный перепад в теплообменнике, перепад около 50°С может вызвать проблемы.
3.10.2 Методы снижения рисков утечек
Теплообменники должны проектироваться с учетом необходимости обеспечения их надежности и предотвращения утечек. Применяются следующие общие меры по снижению рисков возникновения утечек:
- выбор материалов для оборудования водных систем охлаждения с учетом агрессивности охлаждаемой и охлаждающей сред, в том числе охлаждающей воды;
- эксплуатация систем в проектных режимах;
- обработка охлаждающей воды для предотвращения отложений, коррозии, биозагрязнений, если это необходимо;
- предотвращение загрязнения теплообменников;
- поддержание небольших значений разности давлений между охлаждаемой и охлаждающей средами или создание избыточного давления охлаждающей среды;
- применение непрямых ПСО с промежуточным контуром.
Очевидно, что применение непрямой системы с промежуточным контуром снижает риски утечек практически до нуля. Однако необходимо учитывать, что непрямая конструкция системы охлаждения увеличит недоохлаждение и повысит минимальную конечную температуру процесса на 3°С - 5°С. Если для охлаждаемого процесса это допустимо, а токсичность охлаждаемых веществ высока, применение непрямой конструкции может быть оправдано.
Некоторые компании используют системы охлаждения, в которой часть оборудования, в котором утечки недопустимы, охлаждается непрямой системой, а другая часть оборудования охлаждается иным типом системы охлаждения. Такие системы охлаждения характерны для АЭС. При охлаждении экологически опасных веществ прямые прямоточные системы, как правило, не должны использоваться, особенно при наличии доступных альтернатив.
По результатам опроса российских предприятий были получены сведения о применении непрямых систем охлаждения с промежуточным контуром в прямоточных, водных оборотных и воздушных ПСО.
Для крупных существующих систем охлаждения внедрение промежуточного контура обычно не является технически реализуемым и экономически эффективным. Применение предупредительных мер борьбы с обрастаниями и отложениями, снижения вибрации, методов технического диагностирования и профилактического обслуживания может снизить риски утечек до приемлемых уровней. Сообщают о применении индикаторов утечек, которые позволяют сократить время между началом утечки и ее обнаружением.
Необходимые меры по предотвращению таких аварийных выбросов регламентируются правилами безопасности ([15]) и ([16]). Правилами предусмотрены следующие основные требования к системам охлаждения:
- организация теплообмена, выбор теплоносителя (хладагента) и его параметров осуществляются с учетом физико-химических свойств охлаждаемого материала в целях обеспечения необходимой теплопередачи, исключения возможности перегрева и разложения продукта;
- в теплообменном процессе не допускается применение теплоносителей, образующих при химическом взаимодействии с технологической средой взрывоопасные продукты;
- при разработке процессов с передачей тепла через стенку предусматриваются методы и средства контроля и сигнализации о взаимном проникновении теплоносителя и технологического продукта в случае, если это может привести к образованию взрывоопасной среды.
В поверхностных теплообменниках давление негорючих теплоносителей (хладагентов) должно, как правило, превышать давление охлаждаемых горючих веществ. В случаях невозможности выполнения этого требования необходимо предусматривать контроль за содержанием горючих веществ в негорючем теплоносителе.
В теплообменных процессах, в том числе и реакционных, в которых при отклонениях технологических параметров от регламентированных возможно развитие неуправляемых, самоускоряющихся экзотермических реакций, предусматриваются средства, предотвращающие их развитие.
При организации теплообменных процессов с применением высокотемпературных органических теплоносителей предусматриваются системы удаления летучих продуктов, образующихся в результате их частичного разложения.
3.10.3 Техническая диагностика и профилактическое техническое обслуживание
Снижению рисков утечек в теплообменниках способствует применение различных методов технической диагностики состояния теплообменников и их профилактическое техническое обслуживание по результатам диагностики. Примерный порядок проведения технического диагностирования теплообменников включает следующие процедуры.
На первом этапе проводится анализ технической и эксплуатационной документации, который включает:
- проверку соответствия фактических режимов эксплуатации проектным по температуре, давлению, числу остановов, качеству воды;
- анализ сертификатных данных для выявления случаев отклонения в исходных механических свойствах металла или его химического состава;
- анализ данных о повреждениях, ремонтах, заменах, реконструкциях, осмотрах, очистках, промывках основных элементов теплообменника, результатах технических освидетельствований и гидравлических испытаний;
- выявление длительности эксплуатации оборудования в аномальных условиях, анализ обстоятельств и причин аварийных остановов и определение зон основных элементов, которые могли подвергаться негативному воздействию; получение информации о наличии дефектов, интенсивности их развития, а также о возможных изменениях механических характеристик и структуры металла элементов в процессе эксплуатации.
Результаты анализа технической и эксплуатационной документации используют для составления индивидуальной программы технического диагностирования теплообменника. В программе указываются:
- основные элементы теплообменников, работающие в режимах, под воздействием которых могут возникать и развиваться процессы усталости, эрозии, коррозии, а также процессы, вызывающие изменение геометрических размеров, структуры и механических свойств металла;
- наиболее напряженные зоны (участки) основных элементов теплообменников, которые в результате особенностей конструктивного исполнения или условий эксплуатации наиболее предрасположены к образованию различных дефектов;
- объемы и методы контроля или исследования механических свойств и микроструктуры металла основных элементов.
Программой могут предусматриваться различные методы контроля:
- наружный осмотр;
- визуальный и измерительный контроль;
- капиллярная дефектоскопия;
- магнитопорошковая дефектоскопия;
- метод магнитной памяти металла;
- ультразвуковая толщинометрия стенки;
- ультразвуковой контроль сварных соединений и основного металла;
- измерение твердости переносными приборами;
- определение механических свойств;
- анализ микроструктуры металла элементов по репликам (в случае необходимости);
- испытания на прочность и плотность.
В индивидуальной программе должны быть определены основные элементы, зоны, подлежащие контролю, а также объемы, методы неразрушающего контроля; обоснованы необходимость и объемы лабораторных исследований структуры и свойств металла конкретного диагностируемого теплообменника.
При осмотре теплообменников особое внимание обращается на изменение формы и геометрических размеров основных элементов теплообменников, произошедших в процессе эксплуатации (вмятины, выпучины и отклонения образующих элементов теплообменника от прямолинейности, следы механического и коррозионного износа).
Визуальный и измерительный контроль проводят для выявления и измерения обнаруженных дефектов (поверхностных трещин всех видов и направлений, коррозионных повреждений, эрозионного износа, расслоений, вмятин, выпучин, механических повреждений), образовавшихся в процессе эксплуатации или на стадии монтажа или ремонта, развитие которых может привести к разрушению поврежденных элементов теплообменника. Визуальному и измерительному контролю подлежат основной металл, сварные соединения с наружной и внутренней стороны элементов.
Контроль наружной и внутренней поверхностей основных элементов методами капиллярной и магнитопорошковой дефектоскопии осуществляется с целью выявления и определения размеров и конфигурации поверхностных и подповерхностных трещин, а также дефектов коррозионного происхождения.
Метод магнитной памяти металла применяется с целью обнаружения и локализации внутренних дефектов сварных соединений и основного металла элементов утилизационного теплообменника, подвергнутых воздействию максимальных нагрузок по конструктивным и эксплуатационным параметрам.
Ультразвуковой контроль толщины стенки проводят для определения толщины стенки элементов утилизационного теплообменника. По результатам ультразвукового контроля толщины стенки определяют скорость их коррозии и устанавливают сроки замены изношенных элементов или уровни снижения рабочих параметров, а также сроки проведения восстановительного ремонта. Ультразвуковой контроль толщины стенки труб поверхностей нагрева проводят в наиболее теплонапряженных местах и местах наибольшего коррозионного или эрозионного износа.
Ультразвуковой контроль следует проводить с целью выявления внутренних дефектов в сварных соединениях (трещин, непроваров, пор, шлаковых включений и др.) в основном металле и в металле гибов.
Исследования механических свойств и микроструктуры металла элементов утилизационных теплообменников следует выполнять для установления их соответствия требованиям действующих нормативных документов и выявления изменений, возникших в результате нарушения нормальных условий работы или в связи с длительной эксплуатацией. Исследования механических свойств и структуры металла следует проводить неразрушающими методами контроля.
Испытания теплообменников на прочность и плотность проводятся в виде гидравлических испытаний. Гидравлическое испытание является завершающей операцией технического диагностирования теплообменника, осуществляемой с целью проверки плотности и прочности всех его элементов, работающих под давлением. Гидравлическое испытание следует проводить при положительных результатах технического диагностирования и после устранения обнаруженных дефектов при пробном давлении 1, 25 рабочего давления и времени выдержки под пробным давлением не менее 10 мин. Результаты гидравлического испытания утилизационного теплообменника признаются удовлетворительными, если не обнаружено:
- трещин или признаков разрыва (поверхностные трещины, надрывы и др.);
- течи, капель и влаги на поверхности основного металла, сварных соединений;
- видимых остаточных деформаций.
Сообщается о положительном опыте технической диагностики состояния труб теплообменников посредством вихревых токов. Вихретоковый метод контроля основан на анализе взаимодействия внешнего электромагнитного поля с электромагнитным полем вихревых токов, наводимых возбуждающей катушкой в электропроводящем объекте контроля этим полем. В качестве источника электромагнитного поля чаще всего используется индуктивная катушка (одна или несколько), называемая вихретоковым преобразователем (ВТП).
Синусоидальный (или импульсный) ток, создаваемый в катушках ВТП, создает электромагнитное поле, которое возбуждает вихревые токи в электромагнитном объекте. Электромагнитное поле вихревых токов воздействует на катушки преобразователя, наводя в них ЭДС или изменяя их полное электрическое сопротивление. Регистрируя напряжение на катушках или их сопротивление, получают информацию о свойствах объекта и о положении преобразователя относительно его. Особенность вихретокового контроля в том, что его можно проводить без контакта преобразователя и объекта. Их взаимодействие происходит на расстояниях, достаточных для свободного движения преобразователя относительно объекта (от долей миллиметров до нескольких миллиметров). Поэтому этими методами можно получать хорошие результаты контроля даже при высоких скоростях движения объектов.
В [9] сообщается, что в результате применения этого метода на химическом заводе количество аварийных остановок процесса из-за течей труб было сокращено на 90% за 10 лет. Это также привело к снижению ежегодных затрат: средняя ежегодная экономия из-за уменьшения количества заменяемых труб приблизительно в 5 раз больше, чем инспекционные затраты.
3.10.4 Обращение с химическими реагентами
Хранение и обращение с химическими реагентами - потенциальная экологическая проблема водных систем охлаждения. Дозировка добавок в систему охлаждения может быть непрерывной или периодической, химическое вещество может подаваться в растворенном или в чистом виде. Объемы применяемых химикатов и их характеристики существенно различаются и зависят от многих факторов (например, химического состава воды и материала теплообменников), соответственно, риски, связанные с их хранением также различаются.
Например, для регулирования рН циркуляционной воды может применяться серная кислота, которая обычно хранится в резервуарах из малоуглеродистой стали. Для обеспечения безопасности таких хранилищ необходимо принимать специальные меры.
Иногда добавки производятся на месте. Например, гипохлорит может производиться электролизом морской воды. Этот процесс может быть опасным с точки зрения образования хлора. Утечки озона при его производстве могут представлять опасность как для персонала, так и для окружающей среды.
Добавки могут вводиться вручную или посредством автоматизированной системы управления. При ручном вводе есть более высокий риск проливов. Автоматизированные системы снижают риски, но требуют регулярного обслуживания и контроля.
НДТ для хранения опасных веществ описаны в справочнике НДТ "Сокращение выбросов загрязняющих веществ, сбросов загрязняющих веществ при хранении и складировании товаров (грузов)".
3.11 Риски микробиологического загрязнения
3.11.1 Условия развития микроорганизмов в ПСО
В отечественной и зарубежной литературе сообщают о наличии рисков развития и размножения различных болезнетворных микроорганизмов в оборотных водных системах охлаждения. Это может происходить в охлаждающей воде или на конструктивных элементах ПСО, которые находятся в контакте с охлаждающей водой. Эти риски не существуют для воздушных радиаторных систем охлаждения с естественной или принудительной тягой.
Санитарно-эпидемиологические правила ([45]) относят водные системы охлаждения промышленных предприятий (градирни и испарительные конденсаторы) к потенциально опасным объектам в отношении распространения легионеллезной инфекции и требующим периодического исследования на наличие возбудителя легионеллеза. Наличие в данных системах больших количеств циркулирующей теплой воды в сочетании с образованием водного аэрозоля, способного распространяться в радиусе до нескольких километров позволяет отнести данные объекты к числу потенциально опасных в отношении возникновения легионеллезной инфекции. Учитывая, что опасность представляют только системы с высокими источниками водных аэрозолей, микробиологические риски значимы только для водных оборотных систем с испарительными башенными градирнями. Остальные водные системы либо не создают водных аэрозолей (прямоточные, оборотные с водоемами-охладителями), либо имеют незначительную высоту (водные оборотные с атмосферными, вентиляторными и эжекционными градирнями, брызгальными бассейнами).
По информации справочника ([9]) основные теплолюбивые болезнетворные микроорганизмы, которых находят в водных системах охлаждения, использующих речные воды - это бактерии Legionella pneumophila (Lp) и амебы Naegleria fowleri (Nf).
В естественной природной среде упомянутые разновидности микроорганизмов обычно существуют в низких и безопасных концентрациях. Возбудитель легионеллеза является широко распространенным водным микроорганизмом, присутствующим в большинстве пресных водоемов в некультивируемом состоянии. Концентрации легионелл в природных водоемах не превышают 103 КОЕ на литр и не представляют опасности для человека. В связи с этим природные водоемы не являются объектами профилактического исследования воды на наличие возбудителя легионеллеза. Из-за повышенной температуры и благоприятных условий в системах охлаждения может произойти ускорение развития этих бактерий, что создает потенциальный риск для человеческого здоровья. Развитие Lp ускоряется в условиях наличия загрязнений, присутствия амеб, водорослей. После нескольких вспышек легионеллеза места и характеристики развития Lp были широко исследованы с медицинской и биологической точек зрения. Но остается еще много недостаточно исследованных вопросов, касающихся связи развития патогенных микроорганизмов с химическим составом воды и технологическими особенностями ПСО.
Основной механизм передачи легионеллеза - аэрозольный, путь - воздушно-капельный. Факторами передачи инфекции являются мелкодисперсионный водный аэрозоль и вода, содержащие легионеллы. Практически все крупные эпидемические вспышки и многие спорадические случаи легионеллеза связаны с распространением мелкодисперсного аэрозоля, содержащего легионеллы и генерируемого бытовыми, медицинскими или промышленными водными системами. Потребление зараженной водопроводной воды без образования аэрозоля считается альтернативным путем передачи инфекции. В последнее время он приобретает все большую актуальность.
В системах водоснабжения, кондиционирования и увлажнения воздуха, других системах связанных с циркуляцией теплой воды в диапазоне от 20°C до 50°C концентрация возбудителя резко возрастает за счет образования биопленок на поверхности оборудования, что является ключевым фактором накопления потенциально опасных концентраций легионелл. Кроме того, в [9] сообщается, что дополнительными условиями, способствующими развитию Lp в ПСО являются недостаточный уровень обслуживания оборудования ПСО и рН циркуляционной воды между 6 и 8.
3.11.2 Методы снижения микробиологических рисков
В санитарно-эпидемиологических правилах ([45]) указано, что необходимым условием эффективной профилактики легионеллеза является периодический количественный мониторинг потенциально опасных водных объектов и систем. Микробиологическое исследование на наличие возбудителя легионеллеза данных систем в рамках государственного санитарного контроля необходимо осуществлять ежеквартально. При выявлении возбудителя в концентрации, превышающей допустимые значения необходимо проведение дополнительных профилактических мероприятий.
В методических указаниях ([44]) приведены рекомендации для организаций, эксплуатирующих системы технического водоснабжения промышленных предприятий, в том числе ПСО, и направленные на повышение гигиенической безопасности систем технического водоснабжения. Рекомендованные в [44] гигиенические критерии - допустимые уровни гигиенических показателей воды, используемой в системах охлаждения, основываются на принципе соответствия качества используемой воды условиям ее дальнейшего применения и вероятностью контакта человека с восстановленной водой: в закрытых или открытых системах. В закрытых системах технического водоснабжения непосредственный контакт работающих с восстановленной водой, как правило, отсутствует.
Для закрытых систем лимитирующим показателем опасности воды является ее микробиологический состав. Необходимая степень обеззараживания достигается при соответствии качества очищенных сточных и природных вод требованиям, представленным в таблице 3.19.
|
Показатели |
Единицы измерения |
Допустимые уровни |
|
Взвешенные вещества |
мг/л |
10, 0 |
|
БПК5 |
мг О2/л |
10, 0 |
|
ХПК |
мг О/л |
70, 0 |
|
Общие колиформные бактерии |
Число бактерий в 100 мл |
500 |
|
Термотолерантные колиформные бактерии |
Число бактерий в 100 мл |
100 |
|
Колифаги |
Число бляшкообразующих единиц (БОЕ) в 100 мл |
100 |
При использовании очищенных сточных вод в открытых системах технического водоснабжения эпидемическая безопасность является важнейшим критерием ее качества и, следовательно, степени ее очистки. Вместе с тем вода должна иметь благоприятные органолептические свойства и быть безопасной по химическому составу. При любом сочетании методов очистки, доочистки и обеззараживания главным требованием является соответствие качества воды гигиеническим критериям, приведенным в таблице 3.20.
|
Показатели |
Единицы измерения |
Допустимые уровни |
|
Запах |
баллы |
2 |
|
Окраска в столбике воды |
см |
10 |
|
БПК5 |
мг О2/л |
3, 0 |
|
ХПК |
мг О/л |
30, 0 |
|
Общие колиформные бактерии |
Число бактерий в 100 мл |
20 |
|
Термотолерантные колиформные бактерии |
Число бактерий в 100 мл |
10 |
|
Колифаги |
Число бляшкообразующих единиц (БОЕ) в 100 мл |
10 |
В открытых системах рекомендуется использование воды природных источников и восстановленной воды, полученной из поверхностного стока с территории предприятий, при соответствии этих категорий вод требованиям, представленным в таблице 3.21.
|
Показатели |
Единицы измерения |
Допустимые уровни |
|
Общие колиформные бактерии |
Число бактерий в 100 мл |
500 |
|
Термотолерантные колиформные бактерии |
Число бактерий в 100 мл |
100 |
|
Колифаги |
Число бляшкообразующих единиц (БОЕ) в 100 мл |
10 |
В таблице 3.22 приведены сведения по санитарным показателям воды ПСО, полученные по результатам опроса предприятий.
|
Показатели |
оборотные водные ПСО |
прямоточные ПСО |
|
Колифаги, БОЕ/100 мл |
13 |
1 |
|
Общие колиформные бактерии, КОЕ/100 мл |
551 |
166 |
|
Термотолерантные колиформные бактерии, КОЕ/100 мл |
473 |
121 |
|
Возбудители инфекционных заболеваний, ед./л |
0 |
0 |
Количество полученных данных (от семи предприятий) не позволяет сделать обоснованные выводы о характерных значениях показателей. Тем не менее, можно обратить внимание существенно более высокие значения показателей для оборотных систем по сравнению с прямоточными.
В соответствии с ([9]) меры по предотвращению легионеллеза могут быть направлены на предотвращение развития и размножения бактерий в системах охлаждения. В США и Великобритании были разработаны соответствующие рекомендации. Регулярный анализ потенциально опасных бассейнов (например, в водосборных бассейнов в градирнях), дополнительное техническое обслуживание, поддержание определенных уровней pH и температур, адекватных остаточных уровней биоцидов и регулирование качества добавочной воды может предотвратить создание условий, благоприятных для развития Lp.
В качестве мер по предотвращению развития Lp и других бактерий в градирнях, в [9] рекомендуется применять следующие мероприятия:
- очистка и дезинфекционная обработка подпиточной воды, если это возможно;
- меры по предотвращению утечек охлаждаемых веществ в систему охлаждения;
- предотвращение образования в водном тракте застойных зон;
- снижение освещенности внутреннего объема градирни, что замедляет рост водорослей;
- обеспечение свободного доступа к элементам ПСО для их регулярной очистки;
- использование конструкций каплеуловителей и оросителей, которые могут легко очищаться;
- температура охлаждающей воды должна быть низкой настолько, насколько возможно (небольшие недоохлаждения);
- предотвращение образования отложений и коррозии;
- оптимизация конструкции для увеличения скоростей потока воды и воздуха;
- снижение интенсивности капельного уноса с целью ограничения возможности распространения бактерий в окружающей среде;
- особое внимание должно уделяться случаям остановок и пусков систем охлаждения, в особенности при остановке циркуляции воды более чем на 4 дн;
- персонал, обслуживающий градирни, должен применять средства защиты органов дыхания;
- при обнаружении Lp механическая очистка систем охлаждения и обеззараживание путем шоковой дозировки биоцида.
Для предотвращения развития Lp нужно в максимально возможной степени поддерживать высокий уровень обслуживания ПСО. Как правило, для уничтожения Lp в воде применяют биоциды-окислители. Для уничтожения бактерий в биопленках необходимы более медленно действующие неокисляющие биоциды.
При применении хлора безопасность возникновения эпидемий обеспечивается следующим режимом хлорирования:
- при содержании в циркуляционной воде взвешенных веществ до 3 мг/л, биологического потребления кислорода (БПК5) до 6 мг/л и химического потребления кислорода (ХПК) до 45 мг/л - длительность контакта воды с хлором не менее 30 мин, концентрация остаточного хлора не менее 1 мг/л;
- при содержании взвешенных веществ 3 - 10 мг/л, БПК5 до 6 мг/л и ХПК до 45 мг/л - длительность контакта воды с хлором не менее 1 ч, концентрация остаточного хлора не менее 1 мг/л.
Для обеспечения безопасности возникновения эпидемий в районе размещения градирен допускается обработка оборотной воды гипохлоритом натрия, озоном, комбинацией озона с хлора.
Для обеззараживания промышленных водных резервуаров, градирен, прудов-отстойников, систем оборотного водоснабжения в [45] рекомендуется следующая схема дезинфекции:
- проведение постоянного хлорирования при концентрации 2 - 3 мг/л свободного хлора в течение 24 - 48 ч;
- хлорирование меньшими дозами 0, 7 - 1, 0 мг/л по 1 ч в сутки.
Для небольших ПСО возможно использование термического метода дезинфекции - прогрев воды при температуре не менее 80°С в течение суток.
3.12 Образование отходов
Информации о видах и массе специфических отходов, связанных с эксплуатацией ПСО, было получено немного. Можно выделить следующие группы отходов, образующихся в течение всего жизненного цикла ПСО:
- для прямоточных и оборотных систем с водоемами-охладителями, частью которых являются крупные водозаборы из поверхностных водных объектов, характерно образование мусора, собираемого с мусоросборных решеток, неподвижных и вращающихся сеток, мусоросборных фильтров, боновых заграждений;
- иловые осадки, накапливающиеся в водосборных бассейнах градирен, брызгальных бассейнов, аванкамерах насосных станций;
- отходы, образующиеся при предварительной подготовке подпиточной воды, обработке циркуляционной воды или очистке продувочных вод водных оборотных систем, если эти методы обработки воды применяются;
- отходы, образующиеся при ремонте, реконструкции или выводе ПСО из эксплуатации.
Объемы образования иловых осадков зависят от качества циркуляционной воды, а также интенсивности развития в ПСО водной растительности. В результате опроса были получены сведения об объемах образования иловых осадков 4-го и 5-го классов опасности, собираемых в водных оборотных ПСО, от 26 до 344 т/год. В справочнике ([9]) сообщается, что иловые осадки, оседающие в водных бассейнах градирен, могут содержать цисты или устойчивые формы патогенных бактерий и простейших: патогенных амеб и Legionella pneumophila (Lp). Для решения вопроса о методах обращения с иловыми осадками оборотных водных систем необходимо их микробиологическое исследование. Может потребоваться их специальная обработка в целях обеззараживания.
Мусор, собираемый с мусоросборных решеток, состоит из отмерших остатков водных организмов, высшей водной и наземной растительности, бытового мусора, попавшего в водный объект с водосборной территории. ПСО не являются источниками образования этого мусора и какие-либо меры по снижению его образования невозможны. В то же время важно не допускать его попадания в ПСО, так как он может оказывать существенное негативное влияние на работу ПСО. Объемы его образования зависят от плотности биомассы в водном объекте, видового состава экосистемы, степени благоустроенности водосборного бассейна, загрязненности акватории и других факторов. В результате опроса были получены сведения об объемах образования отходов, собранного с мусоросборных решеток, от 0, 1 до 3, 8 т/год. Однако эти данные немногочисленны и не являются представительными.
Обычный проектный срок эксплуатации ПСО достаточно длительный - от 20 лет и более. Однако необходимо учитывать воздействие на окружающую среду материалов, из которых состоит ПСО и которые будут образовываться и удаляться при выводе из эксплуатации или замене частей системы охлаждения. В результате опроса были получены единичные сведения за период 2013 - 2015 годов об образовании таких отходов при реконструкции испарительной градирни, классифицированный как мусор от сноса и разборки зданий несортированный 4-го класса опасности для окружающей среды.
В то же время о видах отходов, образующихся при реконструкции и выводе ПСО из эксплуатации можно судить на основании данных о материалах, применяемых при строительстве ПСО. В связи с широким разнообразием применяемых материалов и конструкций ПСО невозможно определить характерные величины масс образующихся отходов, однако можно утверждать, что наибольшие массы таких отходов образуются при реконструкции и выводе из эксплуатации водных оборотных систем с башенными градирнями.
Отходы бетона от демонтажа башен, построенных из литого или сборного железобетона, после их некоторой обработки могут утилизироваться в строительстве, в том числе дорожном, для ликвидации горных выработок, рекультивации нарушенных земель.
Лом черных и цветных (в основном алюминий) металлов в виде отслуживших срок деталей насосов, вентиляторов, трубопроводов, металлоконструкций градирен и радиаторов являются наиболее массовыми отходами при демонтаже ПСО. Отходы металлов могут возвращаться в хозяйственный оборот практически полностью и, как правило, с их утилизацией проблем не возникает.
Отходы деревянных деталей ПСО (детали обшивки башен градирен, оросителей, каплеуловителей) могут представлять определенную экологическую опасность. Для предотвращения гниения дерева во влажной среде деревянные детали, как правило, обрабатываются специальными веществами, которые могут быть опасны для окружающей среды. В Федеральном классификационном каталоге отходов данный вид отходов пока отсутствует, поэтому перед выбором метода обращения с такими отходами необходимо их исследование.
В конструкции градирен (обшивка, водораспределительная система, ороситель, каплеуловитель) применяются различные виды пластмасс, такие как поливинилхлорид, полипропилен, полиэтилен и пластмассы, армированные стекловолокном. Использование пластмасс в качестве материала для различных частей ПСО способствует снижению массы образующихся отходов, если есть возможность рециклинга пластмассовых элементов после их замены или демонтажа. В этом случае необходимо организовать раздельный сбор отходов пластмасс по их видам. Учитывая данные о возможном накоплении на поверхности каплеуловителей и оросителей болезнетворных микроорганизмов, эти детали целесообразно подвергнуть перед демонтажом очистке от отложений и дезинфекции.
В целом проблемы образования отходов при эксплуатации ПСО можно оценить как малозначимые в связи с относительно небольшим объемом их образования и низким уровнем их опасности для окружающей среды.


