ИТС 40-2017 ДУБЛЕНИЕ, КРАШЕНИЕ, ВЫДЕЛКА ШКУР И КОЖИ
Tanning, dyeing, dressing skins and leather
Дата введения - 1 июля 2018 г.
Введение
Настоящий информационно-технический справочник по наилучшим доступным технологиям "Дубление, крашение, выделка шкур и кожи" (далее - справочник НДТ) является документом по стандартизации, разработанным в результате анализа технических, технологических и управленческих решений, применяемых при производстве натуральных кож.
Структура настоящего справочника НДТ соответствует ГОСТ Р 56828.14-2016 "Наилучшие доступные технологии. Структура информационно-технического справочника" [3], формат описания технологий - ГОСТ Р 56828.13-2016 "Наилучшие доступные технологии. Формат описания технологий" [4], термины приведены в соответствии с ГОСТ Р 56828.15-2016 "Наилучшие доступные технологии. Термины и определения" [5].
Краткое содержание справочника
Введение. Представлено краткое содержание настоящего справочника НДТ.
Предисловие. Указана цель разработки настоящего справочника НДТ, его статус, законодательный контекст, краткое описание процедуры создания в соответствии с установленным порядком, а также взаимосвязь с аналогичными международными документами.
Область применения. Описаны основные виды деятельности, на которые распространяется действие настоящего справочника НДТ.
В разделе 1 представлена информация о состоянии и уровне развития кожевенной промышленности в Российской Федерации, а также приведены основные факторы и аспекты экологических проблем кожевенной промышленности.
В разделе 2 представлены сведения о технологических процессах и операциях кожевенного производства:
- общие сведения о технологии производства кожи;
- общие сведения о приемке, сортировке и хранении кожевенного сырья;
- общие сведения об отмочно-зольных процессах и операциях;
- общие сведения о преддубильно-дубильных процессах и операциях;
- общие сведения о красильно-жировальных процессах и операциях;
- общие сведения о сушильно-увлажнительных процессах;
- общие сведения об отделочных операциях.
Также в разделе 2 приведены и описаны основные выбросы в окружающую среду.
В разделе 3 дана оценка потребления энергоресурсов и уровней эмиссий в окружающую среду, характерных для производства кожи в Российской Федерации.
Раздел подготовлен на основе данных, представленных предприятиями Российской Федерации в рамках разработки справочника НДТ, а также различных литературных источников.
В разделе 4 описаны особенности подходов, использованных при разработке настоящего справочника НДТ и в целом соответствующих Правилам определения технологии в качестве наилучшей доступной технологии, а также разработки, актуализации и опубликования информационно-технических справочников по наилучшим доступным технологиям (утверждены постановлением Правительства Российской Федерации от 23 декабря 2014 г. N 1458) и Методическим рекомендациям по определению технологии в качестве наилучшей доступной технологии (утверждены приказом Министерства промышленности и торговли Российской Федерации от 31 марта 2015 г. N 665).
В разделе 5 приведено краткое описание НДТ для производства кожи, включающее системы экологического и энергетического менеджмента, контроля и мониторинга технологических процессов, а также технические и технологические решения для повышения энергоэффективности, ресурсосбережения, снижения эмиссий загрязняющих веществ, методы обращения с отходами и побочными продуктами производства.
В разделе 6 приведены доступные сведения об экономических аспектах реализации НДТ на предприятиях Российской Федерации.
В разделе 7 приведены сведения о новых технологических и технических решениях (не применяемых в России на момент подготовки справочника), направленных на повышение энергоэффективности, ресурсосбережение, снижение эмиссий загрязняющих веществ, эффективное обращение с отходами, промежуточными и побочными продуктами.
Заключительные положения и рекомендации. Приведены сведения о членах технической рабочей группы, принимавших участие в разработке настоящего справочника НДТ, и рекомендации предприятиям отрасли по дальнейшим исследованиям экологических аспектов производственной деятельности и улучшению технологических показателей.
Библиография. Приведен перечень источников информации и нормативных правовых актов, использованных при разработке настоящего справочника НДТ.
Предисловие
Цели, основные принципы и порядок разработки справочника НДТ установлены постановлением Правительства Российской Федерации от 23 декабря 2014 г. N 1458 [1]. Перечень областей применения наилучших доступных технологий определен распоряжением Правительства Российской Федерации от 24 декабря 2014 г. N 2674-р [2].
1 Статус документа
Настоящий справочник НДТ является документом по стандартизации и разработан в соответствии с положениями, требованиями и терминологией, изложенными в национальных стандартах в области наилучших доступных технологий [3-5].
2 Информация о разработчиках
Настоящий справочник НДТ разработан технической рабочей группой "Дубление, крашение, выделка шкур и кожи" (ТРГ 40), состав которой утвержден протоколом совещания под руководством заместителя Министра промышленности и торговли Российской Федерации В.С. Осьмакова от 22 марта 2017 г. N 15-ОВ/12.
Перечень организаций и их представителей, принимавших участие в разработке настоящего справочника НДТ, приведен в разделе "Заключительные положения и рекомендации".
Настоящий справочник НДТ представлен на утверждение Бюро наилучших доступных технологий (далее - Бюро НДТ) (www.burondt.ru).
3 Краткая характеристика
Настоящий справочник НДТ содержит описание применяемых при производстве кожи технологических процессов и операций, оборудования, технических способов, методов, в том числе позволяющих снизить негативное воздействие на окружающую среду, сократить водопотребление, повысить энергоэффективность и ресурсосбережение. Из описанных технологических процессов и операций, оборудования, технических способов, методов определены решения, являющиеся наилучшими доступными технологиями (НДТ).
В настоящем справочнике НДТ установлены соответствующие технологические показатели НДТ.
4 Взаимосвязь с международными, региональными аналогами
Настоящий справочник НДТ разработан на основе справочника ЕС по наилучшим доступным технологиям "Европейская комиссия. Комплексное предотвращение и контроль загрязнения окружающей среды. Наилучшие доступные технологии (НДТ). Справочный документ для дубления шкур и кожи. 2013 г." (European Commission. Integrated Pollution and Control. Best Available Techniques (BAT) Reference Document for the Tanning of Hides and Skins. 2013) [6].
5 Сбор данных
Информация о технологических процессах, оборудовании, технических способах, методах, применяемых при производстве кожи в Российской Федерации, была собрана в процессе разработки настоящего справочника НДТ в соответствии с Порядком сбора данных, необходимых для разработки информационно-технического справочника по наилучшим доступным технологиям и анализа приоритетных проблем отрасли, утвержденным приказом Федерального агентства по техническому регулированию и метрологии от 23 июля 2015 г. N 863 [7].
6 Взаимосвязь с другими справочниками НДТ
Взаимосвязь настоящего справочника НДТ с другими справочниками НДТ, разработанными или разрабатываемыми в соответствии с распоряжением Правительства Российской Федерации от 31 октября 2014 г. N 2178-р [8], приведена в разделе "Область применения".
7 Информация об утверждении, опубликовании и введении в действие
Настоящий справочник НДТ утвержден приказом Росстандарта от 13 декабря 2017 г. N 2818.
Настоящий справочник НДТ введен в действие с 1 июля 2018 г., официально опубликован в информационной системе общего пользования на официальном сайте Федерального агентства по техническому регулированию и метрологии в сети Интернет (www.gost.ru).
Область применения
Настоящий справочник НДТ распространяется на следующие основные виды экономической деятельности без ограничений по производственной мощности:
- производство кожи из шкур крупного рогатого скота и лошадей;
- производство кож из шкур овец, коз и свиней;
- производство кож из шкур прочих животных, а также производство композиционной кожи.
Производство кожи относится в соответствии с общероссийским классификатором видов экономической деятельности к производству кожи и изделий из кожи.
Коды по общероссийскому классификатору видов экономической деятельности (ОКВЭД) и общероссийскому классификатору продукции по видам экономической деятельности (ОКПД), соответствующие области применения настоящего справочника НДТ, приведены в таблицах 1 и 2.
|
Код по ОКВЭД 2 |
Наименование деятельности по ОКВЭД 2 |
|
15 |
Производство кожи и изделий из кожи |
|
15.1 |
Дубление и отделка кожи, производство чемоданов, сумок, шорно-седельных изделий из кожи; выделка и крашение меха |
|
15.11 |
Дубление и выделка кожи, выделка и крашение меха |
|
15.11.3 |
Дубление, выделка и крашение кожи из шкур крупного рогатого скота или животных семейства лошадиных |
|
15.11.4 |
Дубление, выделка и крашение кожи из шкур овец, коз и свиней |
|
15.11.5 |
Дубление, выделка и крашение кожи из шкур прочих животных, производство композиционной кожи |
|
15.11.51 |
Дубление, выделка и крашение кожи из шкур прочих животных |
|
Код по ОКПД 2 |
Наименование продукции по ОКПД 2 |
|
15 |
Кожа и изделия из кожи |
|
15.1 |
Кожа дубленая и выделанная; чемоданы, сумки дамские, изделия шорно-седельные и упряжь; меха выделанные и окрашенные |
|
15.11 |
Кожа дубленая и выделанная; меха выделанные и окрашенные |
|
15.11.2 |
Замша; кожа лаковая и кожа лаковая ламинированная; кожа металлизированная |
|
15.11.21 |
Замша |
|
15.11.22 |
Кожа лаковая и кожа лаковая ламинированная; кожа металлизированная |
|
15.11.22.110 |
Кожа лаковая |
|
15.11.22.120 |
Кожа лаковая ламинированная |
|
15.11.22.130 |
Кожа металлизированная |
|
15.11.3 |
Кожа из шкур крупного рогатого скота или животных семейства лошадиных без волосяного покрова |
|
15.11.31 |
Кожа из целых шкур крупного рогатого скота без волосяного покрова |
|
15.11.32 |
Кожа из нецелых шкур крупного рогатого скота без волосяного покрова |
|
15.11.33 |
Кожа из шкур животных семейства лошадиных без волосяного покрова |
|
15.11.4 |
Кожа из шкур овец, коз и свиней без волосяного покрова |
Справочник НДТ также распространяется на процессы, связанные с основными видами деятельности, которые могут оказать влияние на объемы эмиссий или масштабы загрязнения окружающей среды:
- производственные процессы вспомогательных производств (приготовление химических материалов для отмочно-зольных, преддубильно-дубильных, красильно-жировальных и отделочных процессов, очистка сточных вод).
Справочник НДТ не распространяется на заготовку сырья.
Дополнительные виды деятельности, осуществляемые при производстве кожи, и соответствующие им справочники НДТ, определенные распоряжением Правительства Российской Федерации от 31 октября 2014 г. N 2178-р [8], приведены в таблице 3.
|
Вид деятельности |
Наименование соответствующего справочника НДТ |
|
Очистка выбросов вредных (загрязняющих) веществ в атмосферный воздух |
Информационно-технический справочник по наилучшим доступным технологиям ИТС 22-2016 "Очистка выбросов вредных (загрязняющих) веществ в атмосферный воздух при производстве продукции (товаров), а также при проведении работ и оказании услуг на крупных предприятиях" |
|
Очистка и утилизация сточных вод |
Информационно-технический справочник по наилучшим доступным технологиям ИТС 8-2015 "Очистка сточных вод при производстве продукции (товаров), выполнении работ и оказании услуг на крупных предприятиях" |
|
Утилизация и обезвреживание отходов |
Информационно-технический справочник по наилучшим доступным технологиям ИТС 15-2016 "Утилизация и обезвреживание отходов (кроме обезвреживания термическим способом (сжигание отходов)" |
|
Размещение отходов |
Информационно-технический справочник по наилучшим доступным технологиям ИТС 17-2016 "Размещение отходов производства и потребления" |
|
Системы охлаждения |
Информационно-технический справочник по наилучшим доступным технологиям ИТС 20-2016 "Промышленные системы охлаждения" |
В 2005-2012 гг. мировое производство готовых кож крупного рогатого скота росло в среднем на 1, 3% в год. Доля развивающихся стран в их объеме увеличилась с 72% до 75%, а развитых - снизилась до 25%. Объем производства кож крупного рогатого скота (КРС) в этот период ежегодно сокращался на 0, 5%.
Динамика производства готовых овечьих и козьих кож была положительной со среднегодовым приростом в размере 0, 6% в год. Распределение между развивающимися и развитыми странами практически не менялось и составляет 78% и 22% соответственно.
Крупнейшим импортером готовых кож в денежном выражении в 2011-2012 гг. являлся Китай (17%), за ним следуют Гонконг, Италия, Вьетнам и Германия. Лидером по экспорту готовых кож в 2011-2012 гг. выступала Италия с долей 25%.
Предприятия кожевенной промышленности России на 99% работают на отечественном сырье, объемы которого в последние годы постоянно снижаются в связи со снижением поголовья скота и ростом экспорта кожевенного сырья.
По данным Росстата и РСКО (см. рисунок 1.1), поголовье крупного рогатого скота в хозяйствах всех категорий за последние 5 лет снизилось на 8, 2% (с 20, 7 млн голов в 2009 г. до 19, 0 млн голов в 2015 г.).
Рисунок 1.1 - Динамика поголовья крупного рогатого скота, млн голов (по данным Росстата на март 2017 г.)
Объем заготовки сырых шкур в 2014 г. составил около 145 тыс. т (по данным Национальной мясной ассоциации). Официальная статистика по заготовке шкур КРС в Российской Федерации отсутствует.
Объем экспорта сырых шкур постоянно растет. В 2013 г. по сравнению с 2012 г. он вырос на 73%, в 2014 г. - на 60, 5% и составил 1, 5 тыс. т.
В настоящее время более 50% выпуска шкур КРС и около 40% овчины и козлины используется в производстве обуви, а остальное кожсырье - в изготовлении одежды, мебели и дорожных принадлежностей.
По данным Российского союза кожевников и обувщиков по результатам опроса предприятий кожевенной промышленности России, в 2014 г. ими переработано 115 тыс. т (на 11% ниже уровня 2013 г.). С учетом того, что при максимальной загрузке мощностей годовая потребность в кожевенном сырье российских кожевенных предприятий составляет 220 тыс. т, дефицит сырьевых кожевенных ресурсов составляет 40%.
Использование импортного сырья практически невозможно, поскольку большинство стран активно защищает вывоз сырьевых ресурсов либо запретом, либо высокими пошлинами. Запрет на вывоз сырья и кожевенного полуфабриката введен в Индии, Аргентине, Новой Зеландии, Египте, Белоруссии и др. Высокие экспортные пошлины - в Украине, Китае, Эфиопии, Таиланде.
В России в августе 2014 г. было принято постановление Правительства Российской Федерации от N 826 "О введении временного запрета на вывоз кожевенного полуфабриката с территории Российской Федерации".
По оценкам предприятий кожевенно-обувной подотрасли действие постановления способствовало увеличению объемов сырьевых ресурсов для внутреннего потребления, сбалансированности внутреннего рынка и улучшению экономической ситуации в отрасли. Объем переработки кожевенного полуфабриката до кожи краст вырос в 2, 6 раза (с 11, 6 до 30, 3 млн дм2). Решением Правительства этот запрет продлен на период с 25 мая по 25 ноября 2015 г. По инициативе РСКО и при активной поддержке Минпромторга России удалось принять постановление Правительства РФ о временном запрете вывоза полуфабриката от 28.11.2015 N 1285. Прорабатывается вопрос о введении ограничений на следующие годы.
Стратегической задачей Минсельхоза России должно стать увеличение поголовья скота, структурная модернизация отрасли животноводства и снижение потерь сырья после реализации скота на убой.
Российские кожевенные предприятия постоянно осуществляют модернизацию и техническое перевооружение (ежегодные объемы инвестиций, по данным Росстата, составляют порядка 1, 4 млрд руб.). Инвестиционные процессы в отрасли привели к тому, что сегодня готовые кожи и изделия из кожи, производимые в России, по конкурентоспособности не уступают аналогичным импортным, в результате чего рынки их реализации расширились. Многие виды кожтоваров успешно поставляются даже в такие развитые страны, как Италия, Германия, Австрия, Китай и др.
Перспективой развития данного сегмента является:
- экологизация производства кож и применение бесхромовых методов дубления;
- переход на новую технологическую базу, основанную на развитии малоотходных и безотходных технологических процессов, совершенствовании организации производства и управления;
- расширение ассортимента кож и аксессуаров из кожи для производства кожгалантерейных изделий и обуви;
- углубление интеграции и кооперации с отраслями-потребителями (производство автомобильной, мебельной, декоративной кожи).
Основные направления государственной политики в этом сегменте:
- стимулирование развития отечественной сырьевой базы, в частности субсидирование увеличения поголовья скота и повышения качества заготовки шкур;
- стимулирование переработки отходов кожевенного производства и внедрения новых технологий по повышению экологической безопасности производства.
В таблице 1.1 приведены данные Росстата по производству различных видов кож по Федеральным округам за 2016 г.
|
Вид кожи, млн дм2 |
Центральный |
Северо-Западный |
Южный |
Приволжский |
Уральский |
Дальневосточный |
Северо-Кавказский |
|
Кожа для низа обуви |
1, 86 33, 1 |
1, 07 117, 5 |
- |
- |
- |
- |
- |
|
Юфть |
3, 3 87, 4 |
0, 03 79, 4 |
- |
17, 65 67, 8 |
0, 28 82, 9 |
- |
- |
|
Кожа хромового дубления |
1651 107, 2 |
16, 63 102, 7 |
3, 75 159, 1 |
409, 3 113, 2 |
5, 75 266, 9 |
1, 4 116 |
3, 65 87, 1 |
|
Ворсовые кожи |
345, 5 130, 4 |
7, 64 117, 4 |
- |
- |
0, 57 110, 9 |
- |
- |
|
Лаковые кожи |
18, 56 183 |
- |
- |
- |
- |
- |
- |
|
Кожа из шкур овец |
0, 12 75, 1 |
- |
- |
0, 04 120 |
- |
- |
- |
|
Кожа из шкур коз |
1, 1 134, 9 |
- |
- |
- |
- |
- |
- |
|
Кожа из шкур свиней |
44, 16 111 |
- |
- |
2, 0 36, 2 |
0, 87 129, 1 |
- |
- |
|
Итого |
2065, 6 |
24, 3 |
3, 75 |
428, 99 |
7, 47 |
1, 4 |
3, 65 |
|
Примечание - Под первой строкой в таблице показан процент выпуска кож по сравнению с предыдущим, 2015 г. | |||||||
Как видно из представленных данных основное производство кож размещается в Центральном федеральном округе. Из общего объема выпускаемых кож около 80% составляют кожи хромового дубления.
В целом отмечается снижение производства кож для низа обуви и юфти. Вместе с тем отмечается рост производства кож хромового дубления, ворсовых и лаковых кож.
На диаграмме (см. рисунок 1.2) и в таблице 1.2 представлены данные по размещению кожевенных предприятий по федеральным округам.
Рисунок 1.2 - Количество кожевенных предприятий на территории федеральных округов
|
Федеральный округ |
Предприятия |
|
Центральный |
АО "Русская кожа" (Рязанская обл.) НАО "Спасский кожзавод" (Рязанская обл.) ООО ПФ "Раском" (Тамбовская обл.) ТОО "Хром" (Ярославская обл.) АО "Верхневолжский кожзавод" (Тверская обл.) ООО "Шевро" (Воронежская обл.) ЗАО "Рыбинский кожзавод" (Ярославская обл.) ЗАО "Серпуховский кожзавод "Труд" (Московская обл.) ООО "ВКП ЛТ "Вяземский кожзавод" (Смоленская обл.) ООО "Рыбинский кожзавод" (Ярославская обл.) ООО "Талдомский кожзавод" (Московская обл.) |
|
Северо-Западный |
ОАО "Кожа" (г. Санкт-Петербург) |
|
Южный |
ООО "Лайка" (Краснодарский край) ОАО "Таганрогский кожзавод" (Ростовская обл.) ОАО "Шеврет" (Волгоградская обл.) |
|
Поволжский |
ОАО "Богородский завод хромовых кож" (Нижегородская обл.) ЗАО "Хромтан" (Нижегородская обл.) ЗАО "Бокоз" (Нижегородская обл.) ООО "Вахруши-юфть" (Кировская обл.) ООО "Шеморданский промкомбинат" (Республика Татарстан) ООО "Артекс" (Кировская обл.) АО "Сафьян" (Республика Татарстан) ООО "Камышловский кожевенник" (Свердловская обл.) |
|
Северо-Кавказский |
ООО "Кариста" (Кабардино-Балкарская Республика) ООО "Махачкалинский кожзавод" (Республика Дагестан) |
|
Уральский |
ООО "Камышловский кожевенник" (Свердловская обл.) |
|
Дальневосточный |
ООО "Сахабулт" (Республика Саха (Якутия)) |
Несмотря на прогрессивное расширение ЕС до 27 членов, общее число кожевенных предприятий продолжает снижаться. За последнее десятилетие кожевенный сектор потерял треть своего промышленного потенциала и треть рабочей силы. Большая часть потерь промышленного потенциала кожевенных производств отмечалась в странах Северной Европы, Германии и в Англии. Определенные потери наблюдались в таких странах, как Италия и Испания. Основу кожевенных предприятий в Европе составляют малые и средние предприятия с давней традицией.
В качестве кожевенного сырья используются шкуры мокросоленого или сухо-соленого консервирования, а также хромированный полуфабрикат wet-blue. Рост импорта хромированного полуфабриката связан с переносом наиболее трудоемких и экологически вредных этапов производства в развивающиеся страны. Негативной стороной этого процесса может быть появление в сточных водах и эмиссия в атмосферу токсичных соединений, применение которых в странах ЕС ограничено или запрещено.
На диаграмме (см. рисунок 1.3) представлено распределение объемов производства кож в ЕС по отдельным видам.
Рисунок 1.3 - Распределение объемов производства кож по отдельным видам в ЕС
В таблице 1.3 представлены данные по количеству предприятий, числу занятых на производстве и объему выпуска кож в некоторых странах ЕС.
|
Страна |
Количество предприятий |
Число занятых на производстве, чел. |
Объем производства, м2 |
|
Англия |
22 |
1200 |
8700 |
|
Бельгия |
2 |
129 |
473 |
|
Швеция |
4 |
193 |
1540 |
|
Германия |
14 |
1950 |
9110 |
|
Франция |
43 |
1542 |
4900 |
|
Испания |
101 |
2285 |
22150 |
|
Португалия |
54 |
1908 |
6531 |
|
Италия |
1269 |
17958 |
129 000 |
|
Румыния |
15 |
539 |
1527 |
Основное внимание в странах ЕС обращают на высокую производительность кожевенного производства и соответствие готовой продукции модным тенденциям в отделке кожи.
Как следует из рисунка 1.3, наибольший объем производства занимает кожа для верха обуви. Кожа для мебели и автомобильная кожа составляют около 30% от общего выпуска. Эти отношения изменяются в широких пределах в тех или иных странах. Например, страны Северной Европы (Швеция, Германия, Австрия и Англия) особое внимание уделяют производству обивочных кож для автомобильной и авиационной промышленности.
Себестоимость готовой кожи на 50% - 70% определяется стоимостью сырья. Доля трудовых ресурсов составляет от 7% до 15%, химических материалов - около 10%, энергии - 3%. Экологические издержки оцениваются в пределах 5% от себестоимости продукции.
Инновационные технологии в кожевенной промышленности, как правило, связаны с экологической эффективностью и направлены в основном на использование менее токсичных химических материалов.
Технология производства кожи предусматривает применение различных химических материалов, таких как соли тяжелых металлов, фенолсодержащие соединения, растворители, кислоты, красители и др. Эти вещества попадают вместе со сточными водами в гидросферу, выбрасываются в атмосферный воздух и накапливаются в отходах производства. Поэтому одной из важнейших проблем современного этапа развития кожевенной промышленности является разработка новых, более технологичных способов обработки кожевенного сырья, методов очистки сточных вод и выбросов, переработки и утилизации отходов, позволяющих исключить попадание загрязняющих веществ в окружающую среду.
Кожевенная промышленность относится к материалоемким отраслям, в которых стоимость сырья составляет свыше 70% себестоимости готовой продукции. На рисунке 1.4 изображено соотношение отходов и готовой продукции при переработке шкур крупного рогатого скота в готовую кожу с естественной лицевой поверхностью.
Рисунок 1.4 - Соотношение белоксодержащих продуктов при переработке шкур КРС
Из рисунка 1.4 следует, что лишь 40%-45% белковых веществ шкуры переходит в готовую кожу и спилок. Возросшие требования к охране окружающей среды, штрафные санкции за выбросы токсических веществ, увеличение затрат на утилизацию отходов предполагает разработку новых технологий, обеспечивающих снижение объема отходов и более полное их использование. По литературным данным, при переработке 1 т кожевенного сырья образуется порядка 550-600 кг твердых отходов и 15-50 м3 сточных вод с показателями ХПК 200-260 кг и БПК 75-95 кг [9].
Значения ХПК и БПК, а также количество отходов в значительной степени определяется видом перерабатываемого кожевенного сырья и технологией производства.
Основные процессы переработки кожевенного сырья проводятся в водной среде, что приводит к образованию большого количества сточных вод, содержащих растворимые белки и отработанные химические материалы. Расходы, связанные с созданием очистных сооружений, могут достигать 40% - 50% всех капитальных затрат на строительство. В структуре издержек кожевенного производства расходы на эксплуатацию очистных сооружений и решение других экологических проблем иногда достигают 10%, что сопоставимо с оплатой всего персонала (12%-14%) [10].
Хромовое дубление на сегодняшний день является самым распространенным во всем мире. Соединения хрома в значительных объемах попадают в природные водоемы. В то же время кожевенные отходы, содержащие хром (III), не включены в Европейский перечень опасных отходов, поскольку не обладают характеристиками, необходимыми для классификации их в качестве опасных отходов [11].
Соединения шестивалентного хрома (VI) не используются в дублении. Однако существует опасность окисления соединений хрома (III), присутствующих в коже, в хром (VI) в технологическом процессе производства [12, 13]. Наиболее вероятной причиной образования хрома (VI) в коже может быть процесс окисления, вызванный присутствием свободных радикалов, образующихся в результате воздействия на жиры высокой температуры в присутствии катализаторов.
Большинство технологических процессов кожевенного производства осуществляется в водных растворах. Отработанные растворы кожевенных предприятий представляют собой сложные многокомпонентные системы, характеризующиеся высокими значениями ХПК и БПК. Содержание различных химических соединений в сточных водах зависит от принятой на предприятии технологии обработки кожевенного сырья.
При очистке сточных вод кожевенного производства образуется несколько видов осадков, количество которых составляет от 5% до 9% от общего объема стоков. В состав этих осадков входят белковые вещества, соли, жиры, красители и другие соединения, используемые для обработки сырья.
Одним из основных компонентов осадка являются продукты распада белков шкуры. Обезвоживание осадков производится на иловых площадках, вакуум-фильтрах, центрифугах, фильтр-прессах. Влажность обезвоженных осадков составляет 60%-75%. Способы переработки обезвоженных осадков включают утилизацию, компостирование, производство биогаза [14]. Осадки, не содержащие токсичных соединений, можно использовать в качестве органических удобрений.
Поскольку сухое вещество обезвоженных осадков на 50%-70% состоит из органических соединений, то сжигание таких осадков позволяет не только сократить объем отходов, подлежащих захоронению, но и получить дополнительный источник энергии.
Зола от сжигания осадков очистных сооружений, не содержащая токсичных веществ, может быть использована в качестве добавок в строительные материалы, при производстве асфальта, как наполнитель в производстве резинотехнических изделий [14].
Загрязнение воздушной среды на кожевенных предприятиях связано с приготовлением и использованием технологических, в особенности отделочных, растворов в условиях повышенной температуры. Использование сульфата аммония на стадии обеззоливания приводит к образованию аммиака. Сероводород, относящийся к сильным токсическим газам, может выделяться при подготовительных процессах кожевенного производства. Использование аминосмол в красильно-жировальных процессах, а также в период хранения готовой продукции на складах приводит к выделению паров формальдегида в окружающую среду. Атмосферный воздух может загрязняться летучими органическими растворителями, выделяющимися при отделке кожи полимерными.
Наряду с химическими соединениями, на различных стадиях производства в воздушную среду может выделяться большое количество пыли, которая образуется в результате воздействия технологического оборудования на обрабатываемый материал в процессе шлифования.
Выбросы токсических веществ, таких как сульфиды, аммиак и многие органические растворители, могут достигать уровней, требующих оборудования рабочих мест соответствующими системами вентиляции.
Научно-технические нормативы воздействия на окружающую среду разрабатываются для производственных объектов в форме проектов томов нормативов допустимых сбросов (НДС), предельно допустимых выбросов (ПДВ), нормативов образования отходов и лимитов на их размещение (НООЛР). Постановлением Правительства РФ от 3 августа 1992 г. N 545 (с изменениями, внесенными 16 июня 2000 г. постановлением N 461) принят Порядок разработки и утверждения экологических нормативов выбросов и сбросов загрязняющих веществ в окружающую природную среду, лимитов использования природных ресурсов, размещения отходов.
Процесс производства кожи и меха представляет собой совокупность многочисленных и очень разнообразных обработок сырья и полуфабриката, выполняемых в определенной последовательности. Все эти обработки по характеру лежащих в их основе воздействий на сырье и полуфабрикат условно можно разделить на две группы: первая - обработки, основу которых составляют химические и физико-химические явления, и вторая - обработки, базирующиеся на механических воздействиях.
Обработкам первой группы подвергаются, как правило, партии сырья или полуфабриката, поэтому их называют партионными. Производственная партия сырья - это группа однородных шкур, подобранная по виду, развесу или размеру, методу консервирования, толщине и плотности. Партионные обработки обычно осуществляются погружением партии сырья или полуфабриката в обрабатывающую жидкость и проводятся в специальной аппаратуре. Исключение представляют сушка и увлажнение, являющиеся по своей сущности физико-химическими процессами.
Обработкам второй группы на машинах или агрегатах подвергают, как правило, отдельные шкуры, шкурки или единицы полуфабриката. Такие обработки называются поштучными.
Сложившаяся к настоящему времени общая схема кожевенного производства, отражающая сущность выработки кож, имеет следующий вид:
- выделение из шкуры дермы с необходимыми для данного вида кожи микроструктурой и химическим составом (получения голья);
- фиксация структуры голья, придание структурным элементам устойчивости к действию влаги, термическим, бактериальным воздействиям (получение дубленого полуфабриката);
- придание дубленому полуфабрикату необходимых физико-механических свойств и внешнего вида (получение краста и готовой кожи).
В соответствии с этим все процессы и операции кожевенного производства группируются следующим образом: отмочно-зольные, заканчивающиеся получением голья; преддубильно-дубильные, заканчивающиеся получением дубленого полуфабриката; красильно-жировальные процессы и сушка, заканчивающиеся получением полуфабриката "краст", и отделочные, заканчивающиеся получением готовой кожи. Такое деление примерно соответствует делению кожевенного завода на цехи.
Кожа является основным материалом, используемым в производстве обуви, одежды, галантерейных изделий, мебели, в качестве обивки салонов автомобилей, самолетов, а также во многих других отраслях промышленности. Назначение кожи определяет технологию ее изготовления.
В процессе обработки кожевенного сырья на различных стадиях образуются побочные продукты, которые также находят свое применение в качестве материалов для пищевой и медицинской промышленности, в косметологии и фармацевтике.
На протяжении последних лет большое внимание уделялось экологическим проблемам кожевенного производства, что способствовало существенному изменению технологии отдельных процессов и использованию новых, более безопасных химических материалов. В результате этого удалось свести к минимуму потенциальное воздействие кожевенных предприятий на состояние воздушной среды, водоемов и почвы. Технологические решения для улучшения экологических показателей предполагают их предварительную системную оценку с учетом общих затрат на реализацию и планируемого эффекта.
Таким образом, работа, связанная с внедрением новых технологий обработки кожи, направленных на снижение загрязнения окружающей среды, требует тщательного анализа существующих и новых методов обработки, в том числе оценки затрат на реализацию различных вариантов организации технологического процесса.
Сложившаяся к настоящему времени общая схема кожевенного производства (см. рисунок 2.1), отражающая сущность выработки кож, имеет следующий вид:
- выделение из шкуры дермы с определенными, необходимыми для данного вида кожи, микроструктурой и химическим составом (получение голья). На этой стадии осуществляются следующие механические операции: сгонка шерсти, мездрение, двоение (при необходимости);
- фиксация структуры голья, придание структурным элементам устойчивости к действию влаги, термическим, бактериальным воздействиям (получение дубленого полуфабриката). Дубленый полуфабрикат отжимают, строгают, кантуют;
- придание дубленому полуфабрикату необходимых физико-механических свойств и внешнего вида. Этому способствуют такие операции, как разводка, отжим, сушка, увлажнение, тяжка, грунтование, покрывное крашение, шлифование, обеспыливание, прессование, глажение, измерение площади.
В соответствии с этим все процессы и операции кожевенного производства группируются следующим образом: подготовительные, заканчивающиеся получением голья, преддубильно-дубильные, заканчивающиеся получением дубленого полуфабриката, красильно-жировальные и отделочные, заканчивающиеся получением полуфабриката "краст" или готовой кожи. Такое деление примерно соответствует делению кожевенного завода на цехи.
Обработки, основу которых составляют химические и физико-химические явления, относят к процессам. Обработки, базирующиеся на механических воздействиях, относят к операциям. В результате их выполнения могут изменяться размеры и форма обрабатываемого объекта, а иногда и физические свойства.
Операции в кожевенном производстве характеризуются, как правило, индивидуальной обработкой каждой единицы сырья или полуфабриката с помощью машин, агрегатов, приспособлений и т.д.
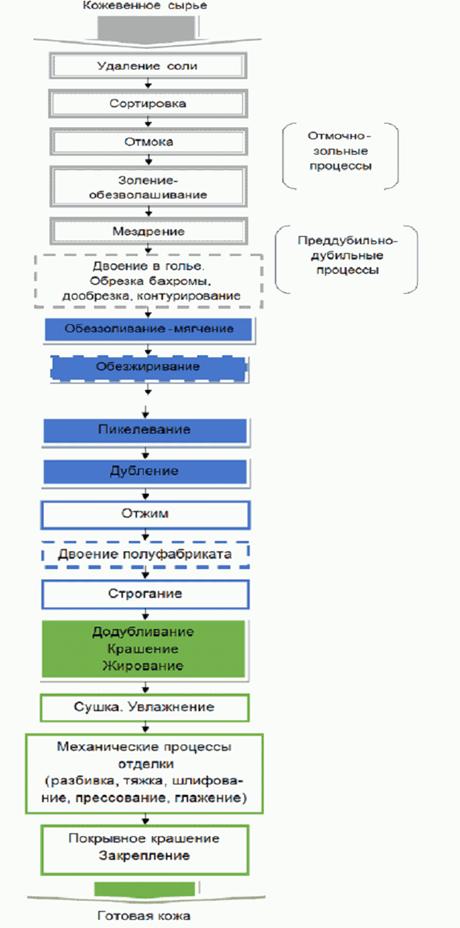
Технологическая схема производства кож хромового метода дубления представлена на рисунке 2.1.
Технологии производства кож различного назначения могут существенно отличаться, но основная схема производства и последовательность процессов и операций идентичны. Жидкостные процессы проводятся в барабанах или баркасах. Отдельные процессы могут использоваться только для определенных видов сырья. Так, обезжиривание, в качестве обязательного процесса, применяется только при обработке овчины и свиных шкур. В производстве кож из овчины может отсутствовать процесс обезволашивания без сохранения шерсти, поскольку она может найти применение в качестве сырья для изготовления валяной обуви и фетра.
На отдельных стадиях производства получают кожевенные полуфабрикаты, которые могут передаваться как внутри предприятия, так и являться предметами торговли. Так на стадии отмочно-зольных процессов после двоения голья образуются два слоя: нижний (бахтармяный) спилок и верхний (лицевой) спилок, которые после дополнительной обработки известью можно использовать в производстве пищевых оболочек и биофармпрепаратов.
Рисунок 2.1 - Схема технологического процесса производства кож хромового дубления
При обработке овчины такой промежуточной стадией является пикелевание. Пикелеванное голье может передаваться на другие предприятия для дальнейшей переработки.
Наиболее распространенными видами полуфабрикатов, которые можно передавать с предприятия на предприятие, являются влажный полуфабрикат после хромового дубления wet blue и высушенный полуфабрикат после красильно-жировальных процессов без отделки "краст".
Кожевенное сырье поступает на предприятия из различных источников: непосредственно от мясоперерабатывающих заводов, от заготовительных организаций и фирм, от частных лиц.
Первым технологическим подразделением кожевенного предприятия является кожсырьевой цех, в котором производится приемка, сортировка, при необходимости доконсервирование сырья, и последующее его хранение. Предварительная сортировка может быть осуществлена на бойне или фирмами-заготовителями, но в любом случае производиться дополнительно в процессе приемки сырья. Сортировка осуществляется в зависимости от вида сырья, массы, сортности. В некоторых случаях производится дополнительное контурирование шкур.
Доконсервирование кожевенного сырья производится методом пересыпки солью, в некоторых случаях с добавлением биоцидов.
Кожевенное сырье, сформированное в производственные партии, хранится на специальных поддонах в вентилируемых и прохладных помещениях, откуда поступает на обработку в отмочно-зольный цех.
Отмока. Большая часть кожевенного сырья поступает для переработки на кожевенные заводы в консервированном виде (мокросоленом, пресно-сухом, сухо-соленом). Расконсервирование сырья и приведение его в состояние, максимально приближающееся к парному как по степени обводнения, так и по микроструктуре, достигается в процессе отмоки. При отмоке из сырья удаляются консервирующие вещества, грязь, кровь и растворимые белки. Шкуры после отмоки должны быть мягкими по всей толщине и площади, матово-белыми в разрезе. Содержание влаги в сырье из шкур крупного рогатого скота после отмоки должно быть не менее 65%.
Отмока проводится в подвижной аппаратуре, в основном в барабанах. Внешний вид барабана для проведения отмочно-зольных процессов представлен на рисунке 2.2.
Рисунок 2.2 - Барабан для отмочно-зольных процессов
Продолжительность процесса отмоки определяется в зависимости от метода консервирования, состояния сырья, использования обострителей и составляет от нескольких часов до двух суток. В некоторых случаях для предотвращения развития бактериальных процессов в рабочий раствор вводят биоциды. Для интенсификации процесса отмоки рекомендуется использовать ферментные препараты и поверхностно-активные вещества.
При проведении отмоки контролируют параметры процесса (температуру, жидкостный коэффициент (ж. к.), продолжительность, расход химических материалов и воды), состояние шкур (мягкость, цвет разреза шкуры, который должен быть равномерно белым), состояние волосяного покрова.
Обезволашивание и золение. Цель обезволашивания - ослабление связи волоса и эпидермиса с дермой и полное его разрушение. При обработке шкур в сульфидно-известковом растворе одновременно с обезволашиванием осуществляется золение. Отдельные технологии предусматривают использование щелочных протеаз и вспомогательных химических материалов для усиления обезволашивающего действия.
При обезволашивании сырья из шкур овец для сохранения ценной шерсти используют намазной метод, заключающийся в нанесении на бахтармяную сторону шкуры смеси, состоящей из сульфида натрия, гидроксида кальция и хлорида кальция. Эта смесь может быть нанесена как вручную, так и методом полива. В результате такой обработки связь волоса с дермой значительно ослабевает, и его можно легко удалить со шкуры на волососгонных машинах или вручную. Овчина после удаления шерсти поступает на золение.
В результате золения получают упругое набухшее голье, освобожденное от шерсти, а также в значительной степени от глобулярных белков и небелковых компонентов.
Мездрение. Назначение операции - удаление со шкур или голья на мездрильных машинах подкожно-жировой клетчатки, прирезей мяса и сала. Мездрение может проводиться в сырье после отмоки и золения. Наиболее качественное мездрение осуществляется после золения, когда обрабатывается голье в состоянии набухания, при котором достигается требуемая степень упругости и выравнивание толщины отдельных топографических участков.
Мездра, удаляемая в процессе машинной обработки, подается с промывной водой в специальные сборники.
Двоение голья. Назначение операции - получение голья и кожи заданной толщины. Преимуществами двоения голья являются более высокое качество кож и больший выход готовых кож по площади по сравнению с двоением хромированного полуфабриката. Однако равномерность толщины голья в результате двоения не всегда отвечает предъявляемым требованиям. К тому же двоение в голье является достаточно трудоемкой операцией.
Операция производится на двоильных машинах, снабженных ленточным ножом. В результате распиливания голья получают верхний (лицевой) и нижний (бахтармяный) спилок.
Обеззоливание. Цель процесса - удаление щелочных реагентов из голья после золения и снятие нажора. При обеззоливании применяются кислые соли, например сульфат аммония, и слабые органические кислоты, например молочная или фталевая. Использование сильных кислот может привести к образованию токсичного сероводорода. В процессе обеззоливания из голья извлекаются водорастворимые белки и остатки кератина волоса. В результате обеззоливания голье переводится в состояние, близкое к нейтральному, уменьшается его набухание, создается pH среды, благоприятный для проведения мягчения, уменьшается содержание в голье солей кальция.
Мягчение. Это кратковременная обработка частично или полностью обеззоленного голья в водной среде при повышенной температуре ферментными препаратами, в результате которой удаляются остатки гнейста, происходит полное опадение нажора, удаление из дермы межволоконных белков, продуктов распада кератина, углеводов и жиров шкуры, увеличивается воздухопроницаемость голья. В процессе мягчения происходит более глубокое разделение структурных элементов лицевого слоя дермы, вследствие чего он приобретает мягкость, гладкость, шелковистость, а готовая кожа становится эластичной и более тягучей.
Обезжиривание проводится при обработке сырья из шкур овец, содержание жировых веществ в которых составляет 15% - 20%. Значительное содержание жира может отрицательно сказаться на проведении процессов дубления и крашения.
Существуют три основных метода обезжиривания:
- органоэмульсионное, при котором голье обрабатывается в водном растворе в присутствии поверхностно-активных веществ и органических растворителей;
- водноэмульсионное, при котором голье обрабатывается в водном растворе в присутствии поверхностно-активных веществ;
- обезжиривание в среде органического растворителя.
Пикелевание. Цель процесса - подготовить голье к дублению. Обработку проводят растворами, состоящими из смесей кислот или одной кислоты и соли. Значение pH пикельной жидкости составляет примерно 3, 5.
Дубление. Процесс дубления является одним из важнейших в кожевенном производстве. Дубление может производиться как на отработанной пикельной жидкости, так и на новом растворе. Дубящие вещества вступают во взаимодействие с функциональными группами молекулярных цепей коллагена, образуя устойчивые дополнительные поперечные связи. При этом происходит формирование пористой структуры кожи, она приобретает устойчивость к гидротермическому воздействию, к действию микроорганизмов, повышается прочность на разрыв.
Различают следующие виды дубления: хромовое дубление, при котором используют основные сульфаты хрома (III) одни или в сочетании с другими дубящими соединениями (солями алюминия, циркония, титана); различные варианты комбинированного дубления с использованием растительных, синтетических и минеральных дубителей.
Кожи хромового метода дубления составляют 80% от общего выпуска кожевенных фабрикатов. Выбор метода определяется требуемыми характеристиками готовых кож.
Отжим влаги. Цель операции - механическое удаление влаги из продубленного полуфабриката (отжим) на отжимных валичных машинах или гидравлических отжимных прессах.
Двоение полуфабриката. Цель операции - получить полуфабрикат и кожу заданной толщины. Двоение полуфабриката осуществляют после хромового дубления и отжима влаги. При двоении полуфабриката достигается большая равномерность готовых кож по толщине.
Строгание. Цель операции - выравнивание на строгальной машине толщины полуфабриката по всей площади, обеспечение требуемой толщины готовой кожи, получение чистой и гладкой бахтармы кожи. В результате строгания образуется хромовая стружка, которая прессуется и направляется на дальнейшую переработку.
Нейтрализация. Цель нейтрализации - подготовить кожевенный полуфабрикат хромового дубления к крашению и жированию, повысить pH полуфабриката. Для нейтрализации применяют соли щелочного характера, в основном гидрокарбонат натрия и формиат натрия.
Додубливание. Цель додубливания - уменьшить различия по толщине и плотности различных топографических участков полуфабриката, снизить потери по толщине при разводке и сушке кож, улучшить равномерность распределения жирующих веществ. Для додубливания используют растительные и синтетические дубители, их смеси, минеральные дубители.
Крашение проводят для получения требуемого цвета в соответствии с ассортиментом готовой кожи. Для крашения кож применяют анионные кислотные, в том числе металлокомплексные, и прямые красители.
Жирование. Целью жирования является придание коже мягкости, эластичности, предотвращение усадки кож в процессе сушки. Кожи для обуви, одежды и галантереи обрабатывают эмульсиями жиров. Натуральную юфть жируют в расплаве жиров.
Отжим влаги проводят на отжимных и комбинированных отжимных разводных машинах. Снижение содержание влаги в полуфабрикате положительно влияет на качество выполнения разводки полуфабриката, производительность работы на этой операции и на выход кож по площади.
Разводка. Цель операции - разглаживание на разводной машине лицевой поверхности полуфабриката, устранение имеющихся на нем морщин, сгибов, расправление периферийных участков. В результате разводки значительно улучшается внешний вид лицевой поверхности полуфабриката, увеличивается выход кож по площади на 15% - 20%.
Сушка. Цель сушки - удаление избыточной влаги из полуфабриката. При сушке завершается процесс формирования кожи. Сушка может проводиться в свободном или в фиксированном состоянии (внаклейку на пластинах, врастяжку на перфорированных рамах, в условиях вакуума).
Полуфабрикат хромового дубления для верха обуви сушат в две или три стадии: на первой стадии в свободном состоянии или внаклейку на стеклянные поверхности, на второй стадии (после увлажнения и тяжки) - в фиксированном состоянии на рамах или гладких поверхностях вакуумных сушилок. При трехстадийной сушке полуфабрикат высушивают до влажности 28% - 40% в вакуумных сушилках, досушивают в свободном состоянии до равновесной влажности и после увлажнения и тяжки проводят заключительную сушку в фиксированном состоянии.
Многостадийная сушка необходима для получения мягких кож, что имеет особое значение при выработке лицевых эластичных кож, кож для перчаток и одежды.
Увлажнение. Кожа после сушки отличается стойкостью, малой подвижностью структурных элементов, в той или иной мере склеенных в процессе сушки. Для эффективного выполнения последующих механических операций (тяжки, разбивки и др.), а также для предупреждения появления дефектов необходимо увеличить подвижность структурных элементов дермы, придать полуфабрикату пластические свойства. Это достигается путем увлажнения высушенных кож.
Количество введенной в полуфабрикат влаги в результате увлажнения зависит от вида полуфабриката, применяемого оборудования и интенсивности деформаций при механических операциях.
Тяжка. Цель тяжки - повысить прочность, мягкость, гибкость и эластичность кож хромового дубления, юфти и др., увеличить их площадь и уменьшить тягучесть. Тяжку выполняют на тянульных машинах различных типов несколько раз с промежуточной пролежкой.
Покрывное крашение. Покрывное крашение включает совокупность физико-химических и механических воздействий, назначение которых - придание коже красивого внешнего вида, соответствующего требованиям моды, необходимых физико-механических свойств, а также увеличение выхода площади. Покрывное крашение имеет первостепенное значение в расширении и обновлении ассортимента кож, их конкурентоспособности. Пленка покрывной краски, нанесенная на лицевую поверхность кожи, придает ей необходимый блеск или матовость, позволяет выровнять окраску, полученную при барабанном крашении, закрывает незначительные лицевые пороки.
Покрытие на коже должно обладать хорошими эксплуатационными свойствами (устойчивостью к многократным циклическим деформациям, устойчивостью к трению, морозостойкостью), обеспечивать гигиенические свойства кожи. Отделочное покрытие создают на коже путем последовательного нанесения на ее поверхность грунта, покрывной краски и закрепителя. Покрытие на коже представляет собой многослойную композицию и формируется в несколько приемов. Каждый слой имеет свое назначение и свойства.
Шлифование и обеспыливание. Цель шлифования - снятие тонкого слоя кожи с лицевой стороны или бахтармы с помощью шлифовальной шкурки. При шлифовании с бахтармы кожа выравнивается по толщине и приобретает бархатистость. Путем шлифования с лицевой стороны удаляют мелкие неглубокие лицевые пороки или всю лицевую поверхность, как это требуется при выработке кож с искусственной лицевой поверхностью. Важное значение имеет шлифование при выработке ворсовых кож (нубук, велюр, замша). Шлифование выполняют на специальных шлифовальных машинах, как правило, несколько раз.
В результате шлифования выделяется большое количество пыли, которая должна быть удалена на обеспыливающих машинах.
Грунтование - нанесение непигментированного пропитывающего и пигментированного грунта.
Непигментированный грунт прочно связывается с кожей и обеспечивает адгезию последующих слоев покрытия, в том числе пигментированного грунта. Непигментированный грунт наносят на поверхность кожи в распылительных агрегатах и затем подсушивают. Применение пропитывающих грунтов предусмотрено при выработке кож с анилиновой и полуанилиновой отделкой с целью создания подложки для последующих слоев отделочного покрытия. Пропитывающий грунт наносят с помощью поливочных машин, валичных машин или в распылительных агрегатах.
Разбивка. При выработке эластичных, перчаточных кож и велюра для достижения требуемой мягкости проводят разбивку в подвесном барабане.
Пигментированный грунт придает поверхности кожи необходимую окраску, выравнивает микронеровности на поверхности кожи.
Пигментированный грунт наносят на кожу в щеточных агрегатах, в которых рабочий раствор разбрызгивается из форсунок на движущуюся кожу, втирается специальными щетками, затем подсушивается в специальной зоне того же агрегата. Пигментированный грунт можно наносить валичным способом.
Покрывная краска - сложная композиция, в состав которой входят различные пленкообразователи, пигменты, красители, пластификаторы, а также вспомогательные добавки. Покрывную краску (средние слои покрытия) наносят на загрунтованную поверхность кожи очень тонкими слоями путем многократного распыления (3-4 покрытия с промежуточной подсушкой).
Закрепляющий слой предназначен для придания покрытию блеска, устойчивости к механическим воздействиям, повышенной температуре, воде, органическим растворителям.
Прессование, глажение, нарезка (тиснение). Путем прессования формируют покрытие, выравнивают лицевую поверхность кожи, придают ей блеск, улучшают внешний вид, а также повышают адгезию покрытия к коже. Прессование выполняют плитой, как гладкой, так и с различными рисунками. Тиснение (нарезка) повышает сортность кож и улучшает их использование при раскрое на обувных фабриках.
При прессовании и тиснении облагороженных кож уплотняется лицевой слой, уменьшается его впитывающая способность, что препятствует образованию провалов покрытия, характеризующихся недостаточной укрывистостью, шершавостью и матовостью лицевой поверхности кожи.
Прокатка. Прокатка - завершающая отделочная операция при выработке кож для низа обуви. В результате прокатки повышаются жесткость и плотность кож, увеличиваются сопротивление разрыву, прочность держания крепителя в обуви (винта или шпильки), площадь, приобретается блеск, выравнивается поверхность кожи. Давление при прокатке регулируется в зависимости от вида и назначения кожи. Полуфабрикат прокатывают на роликовых непроходных и проходных катках.
Измерение площади и толщины. Площадь и толщина кожи измеряются автоматически на проходных машинах контактного и бесконтактного действия с механическими или электрическими счетно-решающими устройствами.
Основными выбросами в окружающую среду от кожевенных предприятий являются сточные воды, твердые отходы и выбросы в атмосферу.
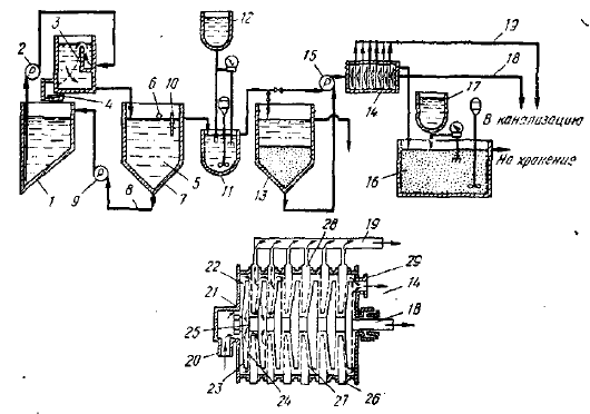
Сточные воды кожевенных предприятий характеризуются высоким содержанием органических и неорганических химических соединений. Используемые в технологических процессах химические реагенты и вода представлены на рисунке 2.3 на схеме слева, а с правой стороны показана характеристика образующихся отходов и сточных вод.
Рисунок 2.3 - Потребляемые химические вещества и характеристика стоков
Очистка сточных вод может осуществляться на очистных сооружениях непосредственно на кожевенных предприятиях или после предварительной очистки - на специализированных установках водоочистки.
Существует множество разнообразных технологий очистки производственных стоков, среди которых можно выделить следующие (см. таблицу 2.1):
|
Механическая очистка |
Улавливание и удаление грубых примесей (взвешенные вещества, коллоидные системы, жиры, масла, ПАВ) |
|
Физико-химическая очистка |
Включает в себя окисление, осаждение, флотацию. При этом удаляются органические соединения, сульфиды, соли хрома |
|
Биологическая очистка |
Биохимическое окисление органических веществ под действием аэробных и анаэробных микроорганизмов |
В процессе переработки кожевенного сырья в готовую кожу переходит от 20% до 25%, в зависимости от назначения готовой кожи, от общей массы шкур, поступающих на обработку. Оставшаяся часть растворяется и переходит в сточные воды и накапливается на отдельных стадиях обработки в виде отходов. В зависимости от стадий, на которых они образуются, отходы можно классифицировать по степени их токсичности (см. таблицу 2.2).
|
Код отхода |
Описание отхода |
|
4 1 0 |
Отходы от выделки кожи |
|
4 1 1 |
Отходы известкового расщепления |
|
4 1 2 |
Известковые отходы |
|
4 1 3 |
Обезжиренные отходы |
|
4 1 4 |
Использованные воды, содержащие Cr(VI) |
|
4 1 5 |
Использованные воды, содержащие Cr(III) |
|
4 1 6 |
Использованные воды без хрома |
|
4 1 7 |
Шлам, содержащий Cr(VI) |
|
4 1 8 |
Шлам, содержащий Cr(III) |
|
4 1 9 |
Шлам без хрома |
|
4 1 10 |
Отходы выделки кож (скобление, разрезание, полировка) |
|
4 1 11 |
Поглощающие фильтрующие материалы, обтирочные ткани и защитная одежда |
Отходы выделки кож включают соль, волосы или шерсть, обрезь, мездру, стружку, жиры, отработанные масла, шламы от очистки сточных вод, отходы от отделочных процессов, органические растворители, кожевенную пыль и другие вещества.
Объем и вид отходов во многом определяется технологией производства и методикой очистки сточных вод. Некоторые отходы могут использоваться как товарная продукция, например гольевой спилок, жиры, хромовая стружка. Другие отходы могут быть переработаны на самом предприятии после предварительного удаления влаги, прессования, термообработки. Однако высокие затраты на такие методы утилизации не позволяют использовать их в больших масштабах. При хранении отходов на территории кожевенного предприятия нередко возникают проблемы с появлением неприятных запахов.
Стадии образования побочных продуктов и отходов кожевенного производства показаны на рисунке 2.4.
Рисунок 2.4 - Схема образования побочных продуктов в технологическом процессе
В сравнении с объемом сточных вод выбросы в атмосферу составляют относительно небольшие величины. Наиболее чувствительной проблемой для кожевенных предприятий был специфический запах, однако в настоящее время эта проблема в значительной степени решена.
В воздушную среду выделяются: твердые микрочастицы, органические растворители, сероводород, аммиак. Эти выбросы могут распространяться за пределы территории предприятия, но и представляют опасность для работников соответствующих цехов, что требует установки соответствующего вентиляционного оборудования.
Выбросы аэрозольных частиц. Основной объем выбросов твердых микрочастиц характерен для механических операций шлифования и разбивки. Аэрозоли образуются при нанесении покрытий методом распыления. Для улавливания аэрозолей применяются специальные фильтры. Предотвратить выбросы аэрозольных частиц можно, используя герметичное оборудование и химические материалы в виде жидкостей.
Органические растворители. Источником загрязнения воздуха органическими растворителями на кожевенных предприятиях являются отделочные операции, в частности покрывное крашение, в которых используются такие растворители, как бутилацетат, этилацетат, ацетон, метилизобутилкетон. Использование органических растворителей может быть снижено путем замены их водоэмульсионными композициями, а также применением современных методов нанесения покрытий, например на валичных машинах.
Сероводород. Сероводород токсичен в относительно низких концентрациях и обладает характерным запахом. Он может выделяться в отмочно-зольных цехах из отработанных растворов при значениях pH меньше 9.5. Следует избегать смешивания кислотных и щелочных стоков, в том числе и на очистных сооружениях. Частично сероводород может выделяться при обеззоливании и пикелевании. Тщательная промывка голья и введение в обеззоливающую жидкость небольшого количества пероксида водорода или бисульфита натрия может предотвратить выделение сероводорода в воздушную среду. В производственных помещениях рекомендуется устанавливать приточно-вытяжную вентиляцию.
Сероводород также может выделяться из сульфатов при обработке сточных вод анаэробнымим бактериями в процессах переработки и хранения осадка.
Аммиак. Аммиак может выделяться в процессе обеззоливания и в процессе крашения. Снизать концентрацию аммиака в рабочей зоне можно при использовании ряда технологических приемов, при эффективной промывке голья, а также за счет установки приточно-вытяжной вентиляции.
Запах. Неприятный запах вблизи кожевенных предприятий может быть причиной жалоб местного населения. Запах проявляется вследствие ряда технологических обработок кожевенного сырья, а также из-за присутствия отходов и значительного объема сточных вод. Качественная обработка и соответствующие условия хранения кожевенного сырья позволяют снизить проявление запаха. Этому будет способствовать требуемая влажность и температура кожсырьевого цеха и герметичность помещения.
Наиболее ощутимые запахи характерны для очистных сооружений.
В данном разделе приведена информация по типовым уровням расхода и эмиссии выбросов кожевенных предприятий. Представленные данные в значительной степени определяются видом сырья и готовой продукции, технологией обработки, местными условиями.
При работе кожевенных предприятий в окружающую среду выделяются жидкие, твердые и газообразные отходы. В свою очередь предприятие потребляет кожевенное сырье, энергию, химические материалы и воду. Основные объемы стоков образуются при выполнении жидкостных процессов. Основную массу перерабатываемого сырья представляют шкуры мокросоленого метода консервирования.
На рисунке 3.1 представлен общий вид входных и выходных параметров типового технологического процесса производства кожи. Некоторые значения входных параметров, например потребление энергии и химических материалов, могут изменяться в зависимости от конкретной технологии производства. То же самое можно сказать об отходах производства, объем которых зависит от перерабатываемого сырья, использования методов рециркуляции отработанных растворов, системы очистки сточных вод и других условий производства.
Рисунок 3.1 - Схема потребляемых ресурсов и образующихся отходов при производстве кожи
Более детальная информация по потреблению и образующимся отходам в производстве кожи представлена в таблице 3.1.
|
Технологический процесс |
Потребляемый ресурс |
Отработанный раствор |
Отходы |
Эмиссия в воздушную среду |
|
Первичная обработка сырья и отмочно-зольные процессы и операции
| ||||
|
Первичная обработка сырья |
Хлорид натрия, биоциды, энергия для охлаждения |
Незначительное количество раствора биоцидов |
Хлорид натрия |
Запах |
|
Отмока |
Вода, щелочные реагенты, смачиватели, ПАВ, биоциды, ферменты |
ХПК, БПК, взвешенные вещества, растворимые белки, грязь, кровь, соль, смачиватели, ПАВ, биоциды, ферменты | ||
|
Мездрение |
Вода |
ХПК, БПК, взвешенные вещества, растворимые белки |
Мездра | |
|
Золение-обезволашивание. Промывка |
Вода, гидроксид кальция, сульфид натрия, ферменты, ПАВ |
ХПК, БПК, взвешенные вещества, растворимые белки, эмульгированный жир, продукты деструкции волоса, гидроксид кальция, аммонийный азот, биоциды, сульфиды |
Волос, осадок извести после очистки стоков |
Сероводород |
|
Двоение |
Вода |
То же, что и после предыдущего процесса |
Гольевой спилок, обрезь | |
|
Преддубильно-дубильные процессы и операции
| ||||
|
Обеззоливание-мягчение. Промывка |
Вода, сульфат аммония, ферменты |
ХПК, БПК, взвешенные вещества, растворимые белки, продукты деструкции волоса, аммонийный азот, сульфиды, соли кальция |
Аммиак, сероводород | |
|
Обезжиривание (для свиного сырья и овчины) |
Вода, ПАВ, органический растворитель |
ХПК, БПК, взвешенные вещества, растворимые белки, жиры, растворители, ПАВ | ||
|
Пикелевание |
Вода, кислоты, соль, фунгициды |
ХПК, БПК, взвешенные вещества, растворимые белки, соль, кислоты, фунгициды |
Сероводород, летучие кислоты | |
|
Дубление. Промывка |
Вода, кислоты, дубители, фунгициды, средства для повышения основности, маскирующие добавки |
ХПК, БПК, взвешенные вещества, растворимые белки, соль, кислоты, фунгициды, средства для повышения основности, маскирующие добавки | ||
|
Отжим |
То же, что и после предыдущего процесса | |||
|
Двоение. Строгание. Обрезка |
Спилок, стружка, обрезь | |||
|
Красильно-жировальные процессы и операции
| ||||
|
Промывка |
Вода, органические кислоты |
Кожевенная стружка, органические кислоты | ||
|
Нейтрализация. Промывка |
Вода, нейтрализующие соли, синтаны |
ХПК, БПК, взвешенные вещества, растворимые белки, нейтрализующие соли, синтаны | ||
|
Додубливание |
Вода, дубящие агенты, синтаны, кислоты, полимерные дубители |
ХПК, БПК, взвешенные вещества, растворимые белки, дубящие агенты, синтаны, кислоты | ||
|
Крашение. Промывка |
Вода, красители, ПАВ, кислоты |
Красители, хлорорганические соединения, ПАВ, кислоты |
Аммиак, фенолы | |
|
Жирование |
Вода, ПАВ, жиры, кислоты |
Жиры, хлорорганические соединения, ПАВ, кислоты | ||
|
Отжим. Разводка |
Жиры, хлорорганические соединения, ПАВ, кислоты | |||
|
Отделочные процессы и операции
| ||||
|
Сушка |
Энергия |
Тепло, пар | ||
|
Механические операции |
Энергия |
Кожевенная пыль |
Тепло | |
|
Грунтование. Покрывное крашение. Закрепление покрытий |
Вода, грунты, покрывные краски, закрепители, ПАВ |
Компоненты отделочных материалов, ПАВ |
Шлам после очистки стоков |
Органические растворители, аэрозоли, альдегиды |
|
Мероприятия по снижению загрязнения стоков и воздушной среды
| ||||
|
Очистка воздуха |
Фильтрующие материалы, вода, химические реагенты |
Отработанные реагенты |
Шлам, фильтры | |
|
Очистка сточных вод |
Энергия, специальная химия |
Шлам |
Сероводород, аммиак | |
|
Переработка отходов |
Энергия, химические материалы в зависимости от вида отходов и технологии обработки |
Химические материалы в зависимости от вида отходов и технологии обработки |
Зависит от вида отходов и способа обработки |
В зависимости от вида отходов и технологии обработки |
Объем различных химических материалов, используемых при производстве кожи, может варьироваться в широком диапазоне, который зависит от вида обрабатываемого сырья, вида готовой продукции и технологии обработки.
Из неорганических химических материалов в кожевенной технологии применяются сульфид натрия, гидроксид кальция, серная и соляная кислота, карбонат натрия, сульфит натрия. Также используются различные многотоннажные органические соединения - уксусная и муравьиная кислота, растительные дубители, полимерные смолы, красители, жирующие материалы. Примерные объемы потребляемых химических материалов (в процентах от общего объема) представлены в таблице 3.2 [15].
|
Химические материалы |
Объем потребления, % |
|
ПАВ (анионные, катионные, неионогенные) |
2 |
|
Антисептики, биоциды |
0, 3 |
|
Неорганические соединения (сульфид натрия, гидроксид кальция, соли, кислоты) |
37 |
|
Дубители (минеральные, растительные, альдегидные) |
25 |
|
Органические кислоты (уксусная, муравьиная) |
5 |
|
Красители |
4 |
|
Жирующие материалы |
7 |
|
Материалы для отделки |
11 |
|
Органические растворители |
4 |
|
Ферментные препараты |
2 |
|
Вспомогательные материалы |
2, 7 |
|
Итого |
100 |
Перечисленные выше химические материалы, особенно из числа вспомогательных веществ, не всегда сопровождаются паспортами безопасности продукции, что не позволяет оценить их реальную опасность для здоровья работников предприятий и токсичность при воздействии на окружающую среду.
В этой связи целесообразно проводить оценку потенциальной токсичности и экологических последствий воздействия того или иного химического материала. При этом следует учитывать следующие факторы:
- химический состав или строение материала;
- среда, в которой этот химический материал содержится (выделяется);
- содержание (концентрация) химического материала;
- возможная трансформация химических материалов в процессе обработки.
Информация о химических веществах и их потенциальной опасности представлена в Перечне загрязняющих веществ, в отношении которых применяются методы государственного регулирования в области охраны окружающей среды (распоряжение Правительства РФ от 8 июля 2015 г. N 1316-р). Для импортируемых химических материалов существуют требования Европейского химического законодательства "Правила Сообщества о химических веществах и их безопасного использования" (Регламент Европейского парламента и Совета ЕС 1907/2006 от 18 декабря 2006 г. относительно регистрации, оценки, разрешения и ограничения химических веществ (Регламент REACH)).
Хлорид натрия поступает в сточные воды кожевенного производства после проведения отмочно-зольных и преддубильно-дубильных процессов. Хлорид натрия хорошо растворим в воде, практически не осаждается, и поэтому сточные воды очистить от этой соли достаточно проблематично. Способы, позволяющие рекуперировать хлориды из отработанных растворов, требуют больших затрат и проведения сложных обработок, таких как электродиализ, обратный осмос, ультрафильтрация, выпаривание и др. [14].
Содержание хлоридов в отработанных растворах на отдельных стадиях технологического процесса представлено на диаграмме (см. рисунок 3.2).
Хлориды подавляют действие микроорганизмов в диапазоне концентраций 50-100 г/л. В смешанных производственных стоках кожевенных предприятий содержание хлоридов редко превышает 10 г/л, что не позволяет говорить о потенциальной опасности хлорида натрия.
Рисунок 3.2 - Сравнительная концентрация хлоридов в отработанных растворах, г/л
Основными процессами, приводящими к загрязнению стоков сульфатами, являются процессы обеззоливания, дубления и додубливания. При обеззоливании применяется сульфат аммония, в дублении - серная кислота и основной сульфат хрома. Многие синтетические дубители содержат сульфатные группы. Также сульфаты могут образовываться при окислении сульфидов в сточных водах.
Присутствие сульфатов в сточных водах в концентрациях до 5 г/л не сказывается на процессах биологической очистки, однако может привести к разрушению бетонных очистных сооружений.
Содержание сульфатов в отработанных растворах представлено на рисунке 3.3 [14].
Рисунок 3.3 - Сравнительная концентрация сульфатов в отработанных растворах, г/л
Содержание сульфидов в сточных водах кожевенного производства обусловлено использованием в процессе золения-обезволашивания сульфида и гидросульфида натрия. Содержание сульфидов в отработанных растворах после золения-обезволашивания и после обеззоливания-мягчения представлено на рисунке 3.4.
Рисунок 3.4 - Сравнительная концентрация сульфидов в отработанных растворах, г/л
В рабочих растворах и отработанных стоках щелочного характера сульфиды присутствуют в неактивном состоянии. Однако при значениях pH менее 9, 5 из таких стоков выделяется сероводород, характеризующийся неприятным запахом и высокой токсичностью, даже при низких концентрациях. Смертельной для человека концентрацией сероводорода в воздухе считается значение 100 ppm, при этом особого запаха не ощущается.
Предельно допустимой концентрацией сероводорода в воздухе производственных помещений считается 0, 008 мг/м3. Для обеспечения условий безопасности производственные цеха, где возможно выделение сероводорода, должны быть оснащены приточно-вытяжной системой вентиляции.
Сероводород может образовываться в системах очистки сточных вод под действием анаэробных бактерий. Эти бактерии способны восстанавливать сульфаты до сероводорода, увеличивая его концентрацию в стоках. Соединения, содержащие тиоловые группы, могут переходить в раствор в результате разрушения кератина волоса.
Содержание сероводорода в воздухе в объемных концентрациях от 4% до 45% может привести к возгоранию и взрыву этой смеси.
Азотсодержащие соединения в сточных водах образуются в основном в результате разрушения белка при проведении отмочно-зольных процессов, а также в процессе обеззоливания сульфатом аммония. В очистных сооружениях биологической очистки аммонийный азот подвергается нитрификации.
Принимая во внимание токсичность аммонийного азота в отношении водной флоры и фауны, высокое значение ХПК и БПК, возможность образования нитратов, следует обращать особое внимание на снижение использования азотсодержащих химических материалов в технологическом процессе. На диаграмме (см. рисунок 3.5) представлены сравнительные концентрации аммонийного азота на отдельных стадиях кожевенного производства.
Рисунок 3.5 - Сравнительная концентрация аммонийного азота в отработанных растворах, г/л
Соединения хрома переходят в отработанные растворы после процессов дубления и додубливания, а также в результате промывок. Содержание соединений хрома (III) в отработанных растворах представлено на рисунке 3.6.
Рисунок 3.6 - Содержание соединений хрома (III) в отработанных растворах
Дубящее действие солей хрома известно с 1858 г. Хромовое дубление в настоящее время является самым распространенным - более 80% готовой кожи вырабатывается с использованием дубящих соединений хрома.
Хромовые соединения в значительных объемах попадают в природные водоемы. Влияя на состав и свойства природных вод, соединения хрома вызывают необратимые изменения в организмах растений и животных и опосредствовано воздействуют на всю биосферу. Предельно допустимая концентрация (ПДК) перед сбросом в природные водоемы составляет 0, 02 мг/л по хрому (VI) и 0, 07 мг/л по хрому (III), считая на оксид хрома (Приказ Росрыболовства от 18.01.2010 N 20 и СанПиН 2.1.5.980-00).
Токсическое действие хрома на человека приводит к нарушению обмена веществ, сказывается на повреждении печени, почек, желудочно-кишечного тракта, сердечно-сосудистой системы. Соединения хрома, попадая в организм человека, ингибируют ферменты и угнетают тканевое дыхание.
Соединения хрома осложняют очистку сточных вод от других загрязнителей, поскольку угнетают жизнедеятельность аэробных бактерий.
Экологические проблемы, связанные с применением растительных экстрактов, синтанов и альдегидных дубителей, обусловлены их низкой способностью к биологическому разложению и токсичностью по отношению к представителям водной флоры и фауны.
Таниды растительных дубителей представляют собой сложные полифенольные соединения, которые можно разделить на две основные группы:
- пирокатехиновые или конденсируемые (мимоза, квебрахо);
- пирогалловые или гидролизуемые (миробалан, дуб, сумах, каштан).
Фенольные соединения являются одними из самых трудноизвлекаемых веществ, содержащихся в сточных водах кожевенных предприятий. Содержание фенолов в промышленных стоках может составлять от 5 до 10 г/л, при том, что допустимая концентрация фенолов в питьевой воде и воде рыбохозяйственных водоемов составляет 0, 001 мг/л. Сточные воды, содержащие растительные дубители, характеризуются высокими значениями ХПК.
Синтетические дубители (синтаны) в основном являются сульфированными продуктами конденсации ароматических соединений, таких как фенол, крезол или нафталин, с формальдегидом. В экологическом отношении синтаны неравноценны: одни из них не подвержены биологическому разложению, другие разлагаются легко и быстро. Способность синтанов к биоразложению зависит от содержания в них фенольных соединений [9]. Простые фенолы легко подвергаются биохимическому окислению. Многоатомные фенолы разрушаются под действием химических окислителей.
К синтетическим дубителям можно отнести аминосмолы, которые характеризуются содержанием незначительного количества формальдегида, а также высокомолекулярные продукты полимеризации акриловых мономеров. Эти продукты подвержены анаэробному и аэробному биологическому разрушению [14].
В процессах кожевенного производства наибольшее распространение в качестве дубителей получили глутаровый альдегид, глиоксаль и формальдегид. Вследствие высокой реакционной способности они взаимодействуют и связываются с белками, присутствующими в сточных водах, поэтому особой опасности при очистке стоков не представляют.
Глутаровый альдегид оказывает бактерицидное действие и может использоваться в качестве дезинфицирующего средства.
Органические растворители в основном используются в композициях для покрывного крашения при отделке кожи. Эти соединения представляют серьезную опасность как для человека, так и для окружающей среды. Поступая в атмосферу, органические соединения могут вызывать косвенные эффекты, связанные с фотохимическим окислением.
Хранение и работа с органическими растворителями требуют наличия соответствующих помещений и соблюдения правил противопожарной безопасности.
Различают неионогенные, анионные и катионные ПАВ, которые используются в качестве диспергаторов, эмульгаторов, антистатиков, смачивателей, водоотталкивающих реагентов.
В отмочно-зольных процессах в основном применяются неионогенные поверхностно-активные вещества, такие как алкоксилаты. Назначение этих ПАВ заключается в смачивании, удалении загрязнений, эмульгировании жировых веществ шкуры. Они синтезированы на основе ароматических или алифатических полиэтоксилатов. В последние годы использование нонилфенола и нонилфенолэтоксилата (NPE) в производстве кожи ограничено директивой ЕС. В качестве альтернативы предложено применять этоксилированные спирты или алкилполигликозиды, которые легко разлагаются в аэробных и анаэробных условиях [16]. Однако их использование ограничивается из-за интенсивного пенообразования.
Анионные ПАВ, такие как алифатические сульфонаты, находят применение в процессах обезжиривания и крашения. Их способность к биологическому разложению зависит от замещающей алкильной группы.
Линейные алкилированные бензолсульфоновые кислоты давно используются в кожевенной технологии, они способны легко разлагаться [14].
Катионные поверхностно-активные вещества, такие как соли четвертичного аммония, используют в качестве биоцидов и комплексообразующих реагентов. Эти соединения относятся к трудноразлагаемым веществам.
Присутствие ПАВ в сточных водах отрицательно влияет на работу очистных сооружений: снижает эффективность работы первичных отстойников, затрудняет процесс седиментации извести, тормозит биохимические процессы. ПДК для большинства ПАВ равно 10-20 мг/л для сооружений биологической очистки.
В составе жирующих композиций находят применение как природные, так и синтетические жиры, а также продукты их модификации. Широко используются хлорированные парафины [15].
К вспомогательным материалам, используемым в кожевенном производстве, относят различные соединения, например дикарбоновые алифатические кислоты и их соли, фталаты, соли фосфорной кислоты. Эти соединения применяются в качестве маскирующих, смачивающих, комплексообразующих добавок.
Присутствие красителей в сточных водах заметно по их окраске. Красители относятся к трудноразлагаемым соединениям, увеличивают значение ХПК, БПК [17].
Основную долю красителей представляют анионные (кислотные) красители. По химическому строению эти красителя являются производными антрахинона или трифенилметана.
Самую большую группу синтетических красителей представляют азокрасители. Законодательно в ЕС запрещается использование азокрасителей указанных в приложении XVII к Регламенту ЕС 1907/2006 Европейского парламента и Совета о регистрации, оценке, разрешении и ограничении (запрещении) применения химических веществ (REACH).
Для крашения кожи используются также металлокомплексные красители, в состав которых входят атом металла и одна или две молекулы азокрасителя. В качестве металла могут присутствовать атомы железа, хрома, меди, кобальта.
Эксперименты показали, что металлокомплексные красители не ухудшают процесс компостирования белоксодержащих отходов, кроме красителей, которые содержат медь. Медь обладает фунгицидным и бактерицидным действием, что препятствует разложению отходов.
В процессе крашения часто используются вспомогательные материалы, улучшающие смачивание полуфабриката и диффузию красителей, обеспечивающие равномерность окрашивания. Некоторые из этих материалов могут содержать потенциально вредные для сточных вод вещества.
Отделочные материалы представлены сложными композициями, состоящими из большого количества отдельных компонентов: пленкообразователей, пигментов, связующих, эмульгаторов, смачивателей, биоцидов, антистатиков и др.
Белковые связующие представлены продуктами растворения коллагена и казеином. Полимерные связующие включают в себя акрилаты, диеновые полимеры, полиуретаны, винилацетаты.
В покрывные композиции входят органические и неорганические пигменты. В качестве сшивающих реагентов используются полиизоцианаты, эпоксиды, альдегиды.
Лаковые покрытия формируются на основе органоводных производных нитроцеллюлозы или на основе полиуретановых композиций.
При хранении композиций на основе белковых связующих в их состав вводят антисептики и биоциды.
В соответствии с назначением вода, потребляемая кожевенными предприятиями, подразделяется на технологическую воду, расходуемую на обработку кожевенного сырья и полуфабриката, и техническую, расходуемую на хозяйственно-бытовые цели, очистку стоков и др. Объем технической воды составляет порядка 20% общего потребления [14].
Расход технологической воды зависит от вида обрабатываемого сырья, технологии производства, ассортимента готовой продукции. По данным [14] потребление воды в расчете на 1 т сырья составляет от 54 до 78 м3. Основное количество воды расходуется на проведение отмочно-зольных процессов. В качестве источников воды могут быть речные ресурсы, городское водоснабжение, артезианские скважины.
Основными показателями, характеризующими состояние производственных стоков, являются химическое потребление кислорода (ХПК), биохимическое потребление кислорода (БПК), содержание взвешенных веществ (ВВ), содержание аммонийного азота, общее содержание азота, содержание сульфатов, хлоридов, фосфатов, сульфидов, фенолов, СПАВ, хрома, жира, значение pH.
До 75% БПК и ХПК приходится на стоки от отмочно-зольных процессов [14]. Основной объем взвешенных веществ переходит в сточные воды после процессов золения и обезволашивания. В целом на стадии отмочно-зольных процессов образуются наиболее загрязненные стоки, содержащие грязь, кровь, белки, взвешенные вещества, гидроксид кальция, сульфиды, хлориды и имеющие высокое значение pH.
Стоки от процессов обеззоливания и мягчения содержат сульфиды, аммонийный азот, соли кальция.
После процессов пикелевания и дубления основными загрязнителями сточных вод являются соли хрома и кислоты. В случае растительного дубления в стоки попадают фенолсодержащие продукты, что проявляется в высоких значениях ХПК.
В таблице 3.3 приведен средний состав отработанных растворов после жидкостных процессов кожевенного производства [14].
|
Процесс |
Взвешенные вещества |
Азот аммонийный |
Хлориды |
Сульфаты |
Сульфиды |
Хром (III) |
Жиры |
ХПК |
БПК |
СПАВ |
pH |
|
Промывка |
7, 6-11, 5 |
- |
7, 3-14, 7 |
- |
- |
- |
- |
- |
2-5 |
- |
7, 9-9, 6 |
|
Отмока |
1, 5-36 |
0, 01-0, 5 |
6, 8-10, 1 |
- |
- |
- |
0-4, 5 |
0, 8-0, 9 |
0, 4-0, 6 |
0-0, 4 |
7, 6-10, 4 |
|
Золение-обезволашивание |
6, 8-35, 6 |
1, 6-2, 9 |
0, 9-3, 6 |
1, 2-2, 5 |
1, 0-10, 1 |
- |
0, 2-4, 6 |
2, 5-13, 7 |
2, 0-11, 1 |
0-1, 9 |
8, 9-12, 2 |
|
Промывка |
1, 5-2, 2 |
0, 1-0, 2 |
- |
- |
0, 3-0, 6 |
- |
0, 4-0, 6 |
0, 9-1, 2 |
0, 2-0, 3 |
- |
8, 2-8, 9 |
|
Обеззоливание |
0, 8-3, 0 |
0-0, 3 |
- |
1, 5-8, 2 |
- |
- |
- |
- |
1, 7-3, 0 |
- |
7, 6-8, 0 |
|
Пикелевание |
0, 7-6, 5 |
- |
- |
20-30 |
- |
2, 0-6, 3 |
0-4, 0 |
1, 8-7, 0 |
0, 5-4, 5 |
- |
3, 5-5, 0 |
|
Дубление |
- |
- |
- |
- |
- |
- |
- |
- |
- |
- |
- |
|
Промывка |
0, 2-0, 4 |
- |
- |
- |
- |
0, 2-0, 5 |
- |
0, 1-0, 2 |
- |
- |
4, 2-5, 4 |
|
Нейтрализация |
0, 1-3, 0 |
- |
- |
0, 8-3, 2 |
- |
0-0, 1 |
- |
0, 6-11, 7 |
0, 2-0, 3 |
- |
6, 0-8, 5 |
|
Промывка |
- |
- |
- |
- |
- |
- |
- |
0, 1-0, 4 |
0, 1-0, 2 |
- |
6, 0-7, 5 |
|
Крашение |
0, 9-1, 6 |
0, 1-0, 2 |
- |
- |
- |
- |
2, 5-12, 7 |
2, 3-8, 9 |
1, 8-5, 7 |
0, 1-0, 2 |
5, 0-6, 0 |
|
Жирование |
- |
- |
- |
- |
- |
- |
- |
- |
- |
- |
- |
|
Додубливание |
- |
- |
- |
- |
- |
- |
- |
- |
- |
- |
- |
Для минимализации количества отходов необходимо определить источник и объем образующихся отходов, их физико-химические свойства, экологичность или токсичность, возможность их переработки.
По существующей классификации все отходы можно разделить на:
- недубленые;
- дубленые;
- жиросодержащие;
- другие.
Наиболее ценными являются недубленые отходы, которые можно использовать для производства колбасных оболочек, желатина, кормовых добавок, клея, в производстве медицинских препаратов и косметических композиций. Объем производства и ассортимент этих продуктов постоянно расширяется. К недубленым отходам относят гольевую обрезь, спилок и спилковую обрезь, мездру. Мездра может быть использована для получения натуральных жиров и белков. В таблице 3.4 представлены данные по выходу недубленых отходов из 1 т кожевенного сырья.
|
Наименование |
Масса, кг |
|
Обрезь после контурирования шкур |
50-100 |
|
Растворенные белки |
50-100 |
|
Мездра |
150 |
|
Спилок и обрезь |
150 |
|
Итого |
400-500 |
В результате гидролиза белоксодержащих отходов можно получить такие продукты, как желатин или клей, гидролизаты коллагена и продукты его модификации.
Наиболее проблемными отходами кожевенного производства являются отходы, образующиеся после хромового дубления. Использование дубленых отходов может осуществляться путем переработки с сохранением волокнистой структуры, или путем частичного ее разрушения (раздубливания). Процесс разволокнения является энергоемким, но позволяет получить материалы, которые можно использовать для производства кожкартона, искусственной кожи, в качестве наполнителей древесно-волокнистых плит.
Сжигание отходов позволяет получить тепловую энергию. Термообработка при температуре свыше 380°С в отсутствии кислорода дает возможность получения активированного угля с высокоразвитой внутренней поверхностью.
Возможные варианты использования, переработки и утилизации твердых и жидких отходов кожевенного производства представлены в таблице 3.5.
|
Вид отходов |
Состав |
Направления использования/ переработки/ утилизации |
|
Отходы после контурирования сырья |
Коллаген, шерсть, жир |
Производство клея, кормовые добавки/термообработка, биогаз/полигон |
|
Шерсть после обезволашивания |
Кератин, жир |
Производство кормовых добавок, ланолина/компостирование, термообработка, биогаз/полигон |
|
Мездра |
Жир |
Производство белковых гидролизатов, жира/компостирование, биогаз/полигон |
|
Спилок гольевой |
Коллаген |
Производство кож из спилка, желатин и клей, белковые гидролизаты, колбасные оболочки |
|
Отработанные растворы после обезжиривания |
Растворители, ПАВ, жир |
Рециклинг растворителей, жиры/термообработка |
|
Отработанные растворы после дубления |
Соединения хрома |
Рециклинг соединений хрома |
|
Спилок дубленый |
Коллаген, соединения хрома |
Производство кож из спилка, волокнистые материалы, белковые гидролизаты, удобрения/компостирование, термообработка/полигон |
|
Хромовая стружка и обрезь |
Коллаген, соединения хрома |
Волокнистые материалы, белковые гидролизаты удобрения/компостирование, термообработка/полигон |
|
Кожевенный лоскут, обрезь |
Коллаген, соединения хрома и другие химикаты |
Волокнистые материалы, декоративные материалы/термообработка/полигон |
|
Шлам очистных сооружений |
- |
Удобрения/компостирование, биогаз, термообработка/полигон |
Некоторые отходы, не приведенные в таблице 3.5, представлены солями, отработанными химическими реагентами, осадками после влажной очистки воздуха, пылью от шлифования и др.
Относительно выбросов в атмосферу литературные данные приведены только для органических летучих соединений. Органические растворители, используемые при обезжиривании овчин улавливаются фильтрами с активированным углем. Неприятные запахи трудно подвергаются количественному контролю, но часто являются предметом жалоб окрестного населения.
От отмочно-зольных процессов в атмосферу поступает сероводород и аммиак, от механических операций отделки - пыль, от покрывного крашения - аэрозоли.
Предельно допустимые значения выбросов в атмосферу определены для аммиака, сероводорода, летучих органических соединений (ЛОС).
Потребление энергии на кожевенных предприятиях зависит в основном от следующих факторов:
- технологии производства, мощности и количества оборудования;
- потерь тепла от технологических оборудования и производственных зданий;
- методов очистки сточных вод;
- использования отходов для получения дополнительной энергии.
Расход энергии зависит от климатической зоны, в которой расположено конкретное предприятие. Потери тепла могут быть минимизированы за счет хорошей тепловой изоляции.
Основными источниками шума и вибрации являются механические операции и работа аппаратов, используемых для проведения жидкостных процессов.
В данном разделе рассматривается каждый технологический процесс, в общем виде представленный в таблице 3.1. В зависимости от вида используемого сырья и ассортимента готовой продукции конкретные данные могут отличаться от приведенных в этой таблице. Уровень выбросов в зависимости от технологии обработки приведен в разделе 4.
В результате обрезки краевых участков шкуры (контурирование) образуются твердые отходы, содержащие в своем составе белки, шерсть и консервирующие вещества. Наиболее рационально проводить контурирование на мясокомбинатах до консервирования и обработки антисептиками [10].
Доконсервирование сырья проводится в случае неудовлетворительного основного консервирования, при приемке шкур от населения, а также в случае долговременного хранения. Доконсервирование производят методом посола с использованием хлорида натрия с добавками антисептиков. Соль обладает обезвоживающим действием на белки шкуры, что препятствует развитию бактерий. В качестве антисептиков используют диметилдитиокарбамат, дихлорбензол, производные борной кислоты, метабисульфит натрия.
Все указанные соединения, а также грязь, кровь, соль можно обнаружить в сточных водах при выполнении последующих жидкостных обработок.
Сточные воды отмочно-зольного цеха загрязнены продуктами расщепления белка и неиспользованными химическими реагентами. Стоки являются наиболее токсичными, засоленными, мутными, содержат большое количество нерастворимых веществ органического и неорганического происхождения. Состав сточных вод после отмочно-зольных процессов представлен в таблице 3.6.
|
Процесс |
ХПК |
Сульфиды |
Хлориды |
Взвешенные вещества |
|
Отмока |
30-33 |
- |
150-210 |
6-8 |
|
Золение-обезволашивание |
110-120 |
10-15 |
3-6 |
70-80 |
Отмока кожевенного сырья производится в барабанах. Расход воды составляет от 150% до 250% от массы обрабатываемого сырья. При переработке овчины расход воды на отмоку значительно увеличивается. В зависимости от степени загрязненности и метода консервирования отмоку проводят многократно со сливом отработанного раствора. На некоторых заводах проводится предварительная отмока, а затем основная.
В случае бактериального сырья в отмочную жидкость вводят биоциды, в количестве 0, 1% от массы шкур, в особенности при повышенной (30°С) температуре обрабатывающей жидкости [18].
Для ускорения отмоки в обрабатывающий раствор вводят также щелочные реагенты, ПАВ и ферментные препараты [19]. Расход этих материалов не превышает 1% от массы сырья.
Отработанный раствор после проведения отмоки содержит растворимые белки, такие как альбумин и глобулин, взвешенные вещества, поступающие с грязью, навозом и кровью, что определяет высокие значения ХПК этих стоков. Также в раствор переходят соль и консервирующие вещества. Содержание хлоридов в стоках находится в пределах 10-15 г/л.
Отработанные растворы, вследствие значительного содержания белковых веществ подвержены порче (гниению). БПК составляет 0, 4-2, 3 г/л. В пересчете на 1 т кожевенного сырья нагрузка по БПК составляет 7, 5-9, 0 кг. В таблице 3.7 приведены данные о составе стоков после проведения отмоки.
|
Показатель, г/л |
[9] |
[14] |
|
Взвешенные вещества |
2, 5-3, 5 |
1, 5-3, 6 |
|
ХПК |
1, 5-8, 6 |
0, 6-4, 9 |
|
БПК |
0, 3-4, 5 |
0, 4-2, 3 |
|
Хлориды |
7, 5-10, 1 |
6, 8-10, 1 |
Как следует из данных, представленных в таблице 3.7, диапазон концентраций загрязняющих веществ в стоках после отмоки достаточно велик и во многом зависит от вида сырья, технологии обработки и выпускаемого ассортимента кож.
В процессе золения-обезволашивания сырье подвергается воздействию следующих реагентов: сульфида и гидросульфида натрия, гидроксида кальция, ПАВ, ферментов. В некоторых случаях часть сульфида натрия заменяют на тиолы, амины и меркаптаны. Расход химических материалов зависит от вида обрабатываемого сырья.
Химические материалы, используемые в процессах золения-обезволашивания, приведены в таблице 3.8.
|
Материал |
В производстве юфти |
В производстве кож для верха обуви |
|
Вода |
200-230 |
130-150 |
|
Гидроксид кальция |
1, 5-2, 0 |
3, 0-3, 2 |
|
Сульфид натрия |
0, 6-0, 8 |
2, 0-3, 0 |
|
Вспомогательные вещества |
0, 2-0, 3 |
0, 1-0, 3 |
В таблице 3.9 представлены значения состава сточных вод после традиционного золения-обезволашивания и после усовершенствованного процесса.
|
Показатель |
Традиционная технология |
Новая технология [20] |
|
Вода |
200-220 |
180-200 |
|
Взвешенные вещества |
20, 8-33, 6 |
20, 0-22, 0 |
|
БПК |
7, 0-10, 0 |
0, 7-1, 1 |
|
ХПК |
7, 5-10, 4 |
0, 8-11, 4 |
|
Сульфиды |
5, 0-8, 1 |
0, 2-0, 4 |
|
Хлориды |
1, 8-3, 6 |
0, 8-1, 0 |
Отработанные растворы после золения-обезволашивания характеризуются высокой щелочностью и значением ХПК, значительным содержанием сульфидов и взвешенных веществ. При значениях pH менее 9 из отработанных растворов может выделяться сероводород, который характеризуется высокой токсичностью по отношению к живым организмам.
Возможно выделение в воздушную среду аммиака, образующегося в процессе разрушения белковых компонентов шкуры.
Мездрение может осуществляться на нескольких этапах технологического процесса, а именно на стадии сырья и на стадии голья. Мездрение относится к механической обработке и заключается в удалении со шкуры подкожной жировой клетчатки. Мездрение проводят после золения-обезволашивания, когда голье находится в набухшем состоянии. В некоторых случаях мездрению подвергают неконсервированные шкуры или консервированные, но после предварительной отмоки.
Для уменьшения скольжения голья и улучшения захвата рабочие используют известь или древесные опилки. Удаление мездры происходит под струей воды.
В результате мездрения голье теряет от 15% до 30% исходной массы. Мездра может перерабатываться непосредственно на предприятии или вывозиться на полигоны для утилизации. Основными продуктами переработки мездры являются клей и жир.
Двоение производят либо в голье, либо в хромированном полуфабрикате. При двоении в голье преимуществом является снижение расхода химических материалов в последующих процессах и сокращение длительности обработки.
Однако на большинстве кожевенных предприятий двоение проводят на стадии после дубления, что обусловлено меньшей трудоемкостью обработки и получением полуфабриката требуемой толщины.
Побочным продуктом после двоения является нижний спилок, который может быть использован для производства велюра и замши. Нижний спилок и гольевая обрезь могут быть переработаны на желатин, клей, колбасную оболочку.
Обеззоливание проводится для извлечения из голья кальция и снижения набухания. Кальций с поверхности голья частично может быть удален в результате промывки. Полное обеззоливание можно обеспечить обработкой голья солями аммония при их расходе 2, 5% - 3, 5% от массы голья [18, 19].
Существуют технологии, в которых рекомендуется при обеззоливании использовать диоксид углерода с расходом 0, 8% - 2, 2% от массы голья, что позволяет полностью или частично заменить соли аммония [21]. В [22] предлагается использование альтернативных обеззоливающих реагентов, которые могут применяться самостоятельно или в сочетании с традиционными химическими материалами.
В процессе мягчения используются ферментные препараты природного или бактериального происхождения, в состав которых входят инертные наполнители.
В отработанных растворах может присутствовать сероводород, выделяющийся при пониженном значении pH, и аммиак, образующийся в результате гиролиза аммонийных солей. Следует отметить, что наряду с растворением карбоната кальция и образованием хорошо растворимого гидрокарбоната кальция, который при взаимодействии с сульфидами образует заметно больше сероводорода, чем при традиционном методе обеззоливания.
Пикелевание предназначено для обеспечения диффузии дубящих соединений хрома в дерму и заключается в обработке голья раствором кислоты (в основном серной и муравьиной) и соли. Расход кислоты составляет 0, 5% - 1, 2%, соли - 5% - 6% от массы голья. Для предохранения хромированного полуфабриката от плесневения в обрабатывающий раствор вводят фунгициды, такие как TCMTB или тиобензотиазолы. Расход фунгицидных материалов составляет 0, 05% - 0, 2% от массы голья.
Дубление практически всегда проводится на отработанной пикельной жидкости. Вид дубления зависит от назначения готовой продукции (кожи для низа обуви, кожи для верха обуви, одежные и галантерейные кожи, замша и др.). В таблице 3.10 приведены основные виды дубителей и вспомогательных материалов.
|
Вид дубления |
Состав дубителя |
Вспомогательные материалы |
|
Хромовое дубление |
Основной сульфат хрома |
Реагенты для повышения основности (оксид магния, карбонат или бикарбонат натрия), фунгициды, маскирующие добавки (муравьиная кислота, фталевая кислота), жиры, синтаны, смолы |
|
Минеральное дубление (кроме хромового) |
Дубящие соли алюминия, циркония, титана |
Маскирующие добавки, реагенты для повышения основности, жиры, синтаны, смолы |
|
Растительное дубление |
Полифенольные соединения на основе растительных экстрактов (квебрахо, мимозы, дуба) |
Диспергаторы, отбеливатели, муравьиная кислота, жиры, синтаны, смолы |
|
Синтановое дубление |
Сульфопроизводные фенола, крезола, нафталина, полиакрилаты, смолы на основе меламина и мочевины |
Фиксаторы, жиры |
|
Альдегидное дубление |
Глутаровый альдегид, глиоксаль |
Щелочные реагенты, отбеливатели |
|
Жировое дубление |
Жиры и масла |
Катализаторы, бикарбонат натрия, альдегиды, эмульгаторы |
Как следует из приведенных в таблице 3.10 данных, кроме основных дубителей в технологических растворах используется значительное количество вспомогательных материалов различного назначения. Так, ПАВ предназначены для улучшения смачивания и ускорения диффузии дубителей во внутренние слои дермы.
При дублении растительными экстрактами и синтанами в обрабатывающий раствор вводят фиксирующие материалы, способствующие закреплению дубителей в структуре дермы.
Основным видом минерального дубления остается хромовое дубление с использованием основного сульфата хрома. Хромовый дубитель выпускается в виде порошка. Дубление осуществляется при расходе технического дубителя от 8% до 10%, считая на массу голья. С учетом того что в техническом продукте содержится 25% оксида хрома, расход применительно к оксиду хрома составит от 2, 0% до 2, 5% от массы голья.
Для повышения основности используют до 1% бикарбоната натрия или 0, 5% оксида магния от массы голья.
Перед дозировкой хромового дубителя в раствор вводят маскирующие реагенты в количестве от 0, 5% до 1, 0% от массы голья [18].
Отработка дубителя по типовой технологии составляет 70% - 80% [18, 19], остальное количество переходит в сточные воды. Стоки от процесса дубления характеризуются низким значением pH (3, 5-4, 5), содержат несвязанные соединения хрома, комплексообразователи, фунгициды и жиры.
В таблице 3.11 приведены данные о составе стоков после процесса дубления.
|
Взвешенные вещества |
Сульфаты |
Хром (III) |
Жиры |
ХПК |
БПК |
pH |
|
0, 7-6, 5 |
20-30 |
2, 0-6, 3 |
0-4, 0 |
1, 8-7, 0 |
0, 5-4, 5 |
3, 5-5, 0 |
Используя новые технологии можно увеличить отработку дубящих соединений хрома до 95% [21, 22].
Другие минеральные дубители не позволяют обеспечить свойства кожи, достигаемые при хромовом дублении. Это относится к мягкости, эластичности, формостойкости, гидротермической устойчивости. Дубящие соединения алюминия в небольших объемах используются в производстве кож из овчины.
Алюминиевое дубление может комбинироваться с растительным, что позволяет увеличить температуру сваривания кожи [21]. В некоторых технологиях используют комбинацию алюминиевого и альдегидного дубления. В качестве альдегидного дубителя применяют глутаровый альдегид или глиоксаль.
При дублении солями циркония получают белый плотный полуфабрикат. Вследствие возможного гидролиза солей циркония, дубление проводят при очень низких значениях pH (1, 3-1, 5). В качестве маскирующего агента используются многоосновные кислоты [23].
Титановое дубление может быть реализовано в сочетании с другими минеральными дубителями в производстве кож белого цвета [23]. В то же время применение сульфатотитанилата аммония приведет к загрязнению стоков аммонийным азотом.
Растительные дубители представляют собой сложные полифенольные соединения (таниды), извлекаемые экстрагированием из различных частей растений. Они подразделяются на гидролизуемые (галловые) и конденсированные (катехиновые) [15].
Наибольшее распространение получили экстракты квебрахо, мимозы, каштана, миробалана, валонеи, тары, дуба. Растительное дубление используется в производстве кож для низа обуви, шорно-седельных, конского и людского снаряжения, кож технического назначения.
В настоящее время на большинстве кожевенных предприятий, вырабатывающих кожи для низа обуви, дубление осуществляется в барабанах. Расход дубильных экстрактов на 100 м2 кож для низа обуви составляет 170-180 кг, считая на таниды [15]. В растительных экстрактах содержится до 60% - 70% танидов, остальное составляют нетаниды и нерастворимые вещества [18].
При практически полном связывании танидов, в отработанных растворах содержатся нетаниды, которые обусловливают высокие значения ХПК стоков, значительную цветность и концентрацию фенолов. Объем сточных вод в значительной степени зависит от технологии дубления и составляет от 2 до 4 м3 на 1 т голья.
Синтетические дубители были разработаны для замены растительных дубителей, и используются в качестве самостоятельных дубителей, так и в качестве вспомогательных материалов для улучшения диффузии танидов и красителей, а также для специальных целей (отбеливание, крашение, наполнение) [19].
Расход синтанов зависит от вида сырья и ассортимента выпускаемой продукции и составляет 6% - 18% от массы полуфабриката [18].
Основными требованиями к экологическим характеристикам синтанов являются минимальное содержание свободных фенолов и формальдегида, а в отношении полимерных наполняющих материалов - отсутствие мономерных продуктов.
Отработанные растворы, содержащие несвязанные синтаны и полимерные наполнители, характеризуются высокими значениями ХПК и низкой способностью к биоразложению.
Альдегидные дубители используются для предварительного дубления, а также в процессе выработки кож с повышенными требованиями относительно потостойкости и устойчивости к стирке. Наибольшее распространение получил глутаровый альдегид и его модификации, а также глиоксаль. Отработанные растворы после альдегидного дубления практически не содержат реакционно способных соединений и не представляют опасность для сточных вод.
Жировое дубление используется при выработке замши из шкур овец и оленей и заключается в обработке голья со спиленной лицевой поверхностью ненасыщенными маслами и рыбьими жирами при высокой температуре в присутствии кислорода воздуха. На заключительной стадии дубления полуфабрикат промывают от несвязанных жиров раствором карбоната натрия.
В последнее время для предварительной обработки перед замшеванием используют глутаровый альдегид.
В отработанных растворах после жирового дубления содержатся окисленные жиры и масла, придающие стокам характерный запах и определяющие высокое значение ХПК.
Сточные воды, образующиеся при отжиме влаги из полуфабриката после красильно-жировальных процессов, содержат незначительное количество химических соединений, использованных в этих процессах и перечисленных выше. Объем стоков после операции отжима составляет порядка 0, 2 м3 на 1 т кожевенного сырья.
В результате выравнивания толщины при строгании хромированного полуфабриката образуется стружка. Объем стружки зависит от того, на какой стадии проводится двоение. При двоении в голье количество стружки в основном больше, чем при двоении хромированного полуфабриката. Выход кожевенной стружки при строгании полуфабриката КРС составляет 8% - 10% от массы, а при строгании свиного полуфабриката 12% - 15% [15].
На кожевенных предприятиях хромовая стружка от строгальных машин транспортируется к прессу, а после прессования отправляется к потребителям. Стружка принадлежит к твердым отходам, которые могут направляться на переработку в широкий спектр материалов (волокнисто-пористые материалы, сырье для получения гидролизатов, удобрений).
Сточные воды от красильно-жировальных процессов загрязнены в основном материалами, которые использовались в этих технологических процессах, то есть додубливающими и жирующими материалами.
В таблице 3.12 представлены усредненные характеристики производственных стоков, образующихся при переработке тонны сырья КРС [9].
|
Параметр |
Количество загрязнений на 1 т сырья |
|
БПК, кг |
12-15 |
|
ХПК, кг |
50-58 |
|
Взвешенные вещества, кг |
54-58 |
|
Вода, м3 |
10-14 |
Для нейтрализации используются вещества щелочного характера, такие как карбонат натрия, бикарбонат натрия, бикарбонат аммония, формиат натрия, формиат кальция, ацетат натрия, нейтрализующие синтаны. Их расход составляет от 2, 5% до 4% от массы полуфабриката.
Конкретные цифры от загрязнения сточных вод после нейтрализации привести невозможно, поскольку они аккумулируются в общий сток после красильно-жировальных процессов.
Расход и вид додубливающих материалов определяется типом предшествующего дубления и ассортиментом готовой кожи. Додубливание можно осуществлять используя растительное дубители, синтаны, полимерные дубители и смолы, альдегиды, минеральные дубители.
Расход додубливающих материалов варьируется в широком диапазоне от 4 до 13% от массы строганого полуфабриката.
В сточные воды переходят несвязавшиеся дубители, что сказывается на высоких значениях ХПК, а при хромовом додубливании в стоки попадают соединения хрома.
В процессе крашения кожи используются кислотные, металлокомплексные и основные красители. Эти красители относятся к классу антрахиноновых, азо- и трифенилметановых красителей. Также в процессе крашения используются вспомогательные материалы, обеспечивающие равномерное окрашивание, сквозное прокрашивание и фиксацию красителей.
Расход красителей определяется, исходя из требований, предъявляемых готовой коже, и составляет от 0, 5% до 8%, от массы строганого полуфабриката.
Сточные воды после крашения содержат остатки красителей и вспомогательных материалов. В окружающую среду может выделяться аммиак. Степень отработки красильных растворов достаточно высока и составляет более 90%. Остаточное количество красителя в стоках обусловливает высокие значения ХПК и возможность образования хлорсодержащих соединений. Поскольку основная масса красителей выпускается в форме порошка, следует обратить внимание на возможность загрязнения воздуха при дозировании и транспортировке красителей.
Расход жирующих веществ в производстве кож составляет от 4% до 16% от массы строганного полуфабриката [15]. Жиры входят в состав композиций вместе с эмульгирующими веществами и различными добавками. В производстве кож для верха обуви и других видов кож хромового дубления проводится эмульсионное жирование. Для жирования юфти, замши и кож для низа обуви используются расплавы жиров.
При выработке кож специального назначения в состав жирующих композиций вводят водоотталкивающие реагенты, антипирены, силиконы, антистатики.
Все указанные материалы в определенных объемах могут быть обнаружены в стоках после красильно-жировальных процессов.
Существуют различные методы сушки, которые отличаются как по времени удаления влаги из полуфабриката, так и по затратам энергии.
При сушке внаклейку используются составы, включающие связующее, антисептики, пластификаторы. Они могут попадать в сточные воды при механической очистке сушильных пластин.
Основными стадиями, приводящими к загрязнению окружающей среды в отделочных операциях, являются шлифование и разбивка полуфабриката. При шлифовании в воздушную среду попадает пыль, содержащая большое количество органических соединений и соединений хрома. Шлифовальное оборудование снабжается обеспыливающими устройствами, но некоторое количество пыли выделяется в окружающее пространство. Для улавливания этой пыли предназначены скрубберы с влажными фильтрами.
На других механических операциях следует отметить вибрацию, шум и значительный расход энергии.
Отделочные покрытия могут наноситься на поверхность кожи различными способами: вручную щетками, механическим путем методом полива, распыления, нанесением валами. В таблице 3.13 представлены сравнительные данные по выбросам от различных методов нанесения покрытий.
|
Параметры |
Распыление |
Полив |
Валичное нанесение |
|
Производительность, полукож в смену |
2000-2500 |
1000-1200 |
600-800 |
|
Количество отходов, % |
40-60 |
10 |
10 |
При нанесении на распылительных агрегатах отходы содержат жидкие отделочные композиции, твердые частицы. В воздух выделяются аэрозоли.
Водоэмульсионные казеиновые покрытия закрепляются формальдегидом, являющимся канцерогенным веществом, что требует дополнительных мер защиты.
В целом расход покрывных композиций составляет от 100 до 520 г/м2 кожи и зависит от ассортимента готовой продукции. Состав основных и вспомогательных компонентов отделочных композиций представлен в таблице 3.14.
|
Назначение |
Основные компоненты |
Вспомогательные вещества |
|
Грунт |
Пигментный концентрат Полимер Связующее Вода |
Смачиватель Восковая эмульсия Пластификатор |
|
Покрывная краска |
Пигментный концентрат Полимер Связующее Вода |
Смачиватель Восковая эмульсия Пластификатор Матирующий реагент |
|
Закрепитель |
Полимер Вода |
Структурирующий реагент |
После нанесения отделки кожа проходит через зоны агрегата, где происходит высушивание покрытия. Сушка производится либо калориферами, либо электрическими или газовыми нагревательными элементами.
Основными выбросами в атмосферу являются пары органических растворителей, входящих в состав покрывных композиций. Эти загрязнения улавливаются скрубберами.
Заключительной механической операцией, на которой образуются твердые отходы, является обрезка краевых участков кожи перед сортировкой. Эти отходы могут использоваться для изготовления различных декоративных отделочных материалов или вывозиться на специальные полигоны для утилизации.
При очистке сточных вод необходимо разделять стоки от отмочно-зольных процессов, содержащие значительное количество взвешенных веществ и сульфиды, и стоки от преддубильно-дубильных процессов, содержащие соединения хрома.
Для всех видов водопользования регламентируются химические, физические и бактериологические показатели качества воды. В таблице 3.15 приведены сравнительные данные по предельно допустимым концентрациям веществ в отдельных регионах РФ и ЕС.
|
Показатели качества воды, химические вещества |
ЕС |
Москва |
Санкт-Петербург |
Ярославль |
|
pH |
6, 5-8, 5 |
6, 5-8, 5 |
6, 5-8, 5 |
6, 5-8, 5 |
|
Хром (Cr6+), мг/л |
0, 1-0, 5 |
0, 1 |
0, 1 |
0, 07 |
|
Хром (Cr3+), мг/л |
0, 5-5 |
1 |
0, 1 |
0, 4 |
|
Алюминий (Al3+), мг/л |
1-10 |
1 |
- |
- |
|
Марганец (Mn), мг/л |
- |
2 |
0, 2 |
- |
|
Кальций (Ca2+), мг/л |
- |
- |
- |
150 |
|
Жесткость, мг-экв/л |
- |
- |
- |
- |
|
Сухой остаток, мг/л |
- |
2000 |
- |
- |
|
Сульфаты ( |
- |
500 |
250 |
100 |
|
Хлориды (Cl-), мг/л |
- |
350 |
170 |
300 |
|
Нитраты (NO3-), мг/л |
- |
- |
23, 5 |
40 |
|
Фосфаты ( |
- |
4 |
1, 5 |
1, 6 |
|
Эфироизвлекаемые вещества, мг/л |
- |
20 |
23, 1 |
3 |
|
Аммиак и аммонийные соли, мг/л |
- |
20 |
23, 1 |
3 |
|
Нефтепродукты, мг/л |
0, 1-5 |
4 |
0, 5 |
0, 3 |
|
ПАВ (анионные и неионогенные), мг/л |
- |
2, 5 |
2, 5 |
0, 9 |
|
Жиры, мг/л |
- |
20 |
- |
- |
|
Фенолы, мг/л |
- |
0, 01 |
- |
- |
|
ХПК, мг/л |
150-400 |
800 |
270 |
176 |
|
Взвешенные вещества, мг/л |
50-60 |
500 |
150 |
103 |
|
Сухой остаток, мг/л |
- |
- |
500 |
- |
Не допускается сбрасывать без соответствующей очистки сточные воды кожевенных предприятий, содержащие биоциды, пестициды хлорорганические препараты.
Отнесение технологий к НДТ регулируется приказом Министерства промышленности и торговли Российской Федерации от 31 марта 2015 г. N 665 "Об утверждении Методических рекомендаций по определению технологии в качестве наилучшей доступной технологии" (далее - Методические рекомендации). Отнесение технологий к НДТ осуществляется членами технических рабочих групп (ТРГ) в процессе разработки и актуализации информационно-технических справочников НДТ. В соответствии с Методическими рекомендациями отнесение применяемой технологии к НДТ осуществляется с учетом группы критериев:
- наименьший уровень негативного воздействия на окружающую среду в расчете на единицу времени или объем производимой продукции либо соответствие другим показателям воздействия на окружающую среду, предусмотренным международными договорами Российской Федерации;
- экономическая эффективность внедрения и эксплуатации;
- период внедрения;
- промышленное внедрение технологических процессов, оборудования, технических способов, методов на двух и более объектах в Российской Федерации, оказывающих негативное воздействие на окружающую среду.
В первую очередь рассматривается критерий промышленного внедрения процессов, оборудования, технических способов, методов на двух и более объектах в Российской Федерации, затем остальные критерии. Члены ТРГ при отнесении технологий к НДТ, в дополнение к Методическим рекомендациям могут использовать международные информационно-технические справочники НДТ, соответствующую научную литературу, статистические сборники, результаты научно-исследовательских и диссертационных работ, иные источники.
В данном разделе рассматриваются методы определения наилучших доступных технологий. Эти методы связаны с системой экологического менеджмента, технологическими приемами обработки, управлением отходами, включая способы снижения потребления химических материалов и водных ресурсов за счет их повторного использования. Приведены сведения о мерах по предотвращению или ограничению последствий экологических последствий аварий или нештатных ситуаций.
Последовательность изложения в каждом технологическом процессе основана на общем и техническом описании, определении эффективности с точки зрения экономики и экологии.
В большинстве случаев использование НДТ требует более высоких затрат на внедрение, закупку новых химических материалов, энергетику. Основой для рассмотрения возможности замены тех или иных веществ, используемых в технологии кожевенного производства, является паспорт безопасности, который сопровождает партию этих материалов. Однако в некоторых сопроводительных документах экологические аспекты химических материалов не упоминаются.
Некоторые технологии могут обеспечить экологическую безопасность только за счет использования менее вредных химических веществ, которые способны к полному биоразложению. Некоторые мероприятия по сокращению и утилизации отходов могут быть достаточно затратны, что необходимо учитывать, исходя из экономической ситуации и условий работы конкретного кожевенного предприятия.
Система экологического менеджмента предназначена обеспечить решение экологических проблем. Техническое описание содержит методы (в соответствии с определением понятия "наилучшие доступные технологии") осуществления технологического процесса. При этом следует руководствоваться [27] с соблюдением требований природоохранного законодательства.
На конкретном предприятии система экологического менеджмента должна предусматривать разработку экологической политики, планирование технических решений и их материальное обеспечение, в том числе обучение персонала и ведение соответствующей документации. Постоянный мониторинг даст возможность определить и оценить перспективы внедрения НДТ с учетом требований к охране окружающей среды, спрогнозировать затраты и эффективность от внедрения новых технологий.
Внедрение и реализация системы экологического менеджмента предусматривает соблюдение следующих принципиальных требований:
1) постоянный контроль за качеством химических материалов, полуфабрикатов и готовой продукции;
2) бережное расходование и хранение химических материалов, сырья и готовой продукции, предотвращение утечек воды, разливов химических растворов, несчастных случаев;
3) контроль технологических параметров процесса;
4) регулярное техническое обслуживание систем очистки сточных вод.
Экологическая политика предприятия должна включать в себя постоянное совершенствование процедур управления и планирования в тесной взаимосвязи с финансовым планированием и инвестициями. При этом особое внимание следует уделять созданию соответствующих структур и повышению их ответственности, обучению и участию в этом процессе всех сотрудников предприятия, ведению необходимой документации, разработке программ технического обслуживания оборудования, готовности к реагированию в случае чрезвычайных ситуаций.
Экономия расхода воды является актуальной задачей кожевенных предприятий, поскольку позволяет уменьшить расходы на очистку образующихся стоков. Физико-химическая обработка концентрированных сточных вод более эффективна, чем следующая биологическая очистка. Экономия воды может быть достигнута при внедрении современного оборудования для жидкостных процессов, исключении промывок на проточной воде, установке и своевременном техническом обслуживании расходомеров, вентилей, клапанов трубопроводов.
На рисунке 4.1 приведен график данных по расходу воды, м3, на технологические нужды на 1 т сырья в зависимости от ассортимента выпускаемой продукции [14].
Рисунок 4.1 - Расход воды на технологические нужды на 1 т сырья в зависимости от ассортимента выпускаемой продукции, м3
Эффективный контроль расхода воды потребует инвестиций в аппаратуру по подготовке и автоматизации системы водоснабжения.
Инвестиционная стоимость такой системы для 5-8 барабанов составит около 10 000 евро [28].
Правильная дозировка, контроль pH и температуры обрабатывающих растворов будут способствовать улучшению качества готовой кожи.
Возможны следующие варианты повторного использования отработанных растворов:
- после основной отмоки раствор используется для предварительной отмоки;
- оборотное использование стоков после биологической очистки для проведения жидкостных процессов;
- повторное использование условно чистой воды от сушилок в красильно-жировальных процессах.
Относительно процесса отмоки снижение загрязнения стоков может быть достигнуто за счет замены некоторых химических материалов на менее токсичные, оптимизации расхода и совершенствования оборудования для водоподготовки и водораспределения, предварительной механической очистки сырья от соли.
Очистка от соли производится в специальных сетчатых барабанах. При этом удается удалить от 5% до 10% соли от общего ее содержания в шкуре. Использование этой соли в жидкостных технологических процессах проблематично из-за наличия в ней бактерий и органических загрязнений. Утилизация ее на полигонах также проблематична.
Эта технология перспективна с точки зрения уменьшения содержания соли в сточных водах.
В настоящее время обессоливание осуществляется на многих кожевенных предприятиях.
Мездрение может производиться как для консервированной шкуры, так и после предварительной отмоки. Полученная мездра может быть использована для переработки с целью вытапливания жира. Выбор стадии, на которой целесообразно осуществлять операцию мездрения, определяется наличием соответствующего оборудования.
При мездрении в сырье обеспечивается более эффективная обработка шкур в отмочно-зольных процессах, достигается значительная экономия химических материалов и воды. Соответственно, снижается загрязненность сточных вод. Мездра в качестве полупродукта для получения жира не содержит извести и сульфидов, что упрощает технологию ее обработки.
Препятствием для мездрения в сырье является опасность повреждения дермы вследствие различия в толщине отдельных топографических участков шкуры, густоты волосяного покрова, наличия навала. Мездрильные машины должны быть точно отрегулированы. В большинстве случаев после мездрения в сырье требуется дополнительное мездрение в голье.
При мездрении шкур после отмоки их необходимо выгрузить из барабана и после мездрения вновь загрузить в барабан на дальнейшую обработку, то есть требуется дополнительная операция по выгрузке-загрузке сырья.
Значительные повреждения сырья при мездрении отрицательно сказываются на выходе кож по площади, количество образующейся мездры также меньше, чем при мездрении голья. Кроме того, такая мездра не подлежит длительному хранению.
Затраты на приобретение мездрильной машины составят около 130 000 евро [4].
Для снижения загрязнения сточных вод на этой стадии производства могут быть рекомендованы методики, предусматривающие сохранение шерсти, методы с сокращенным расходом сульфида натрия и гидроксида кальция.
ПАВ на основе октил- и нонилфонольных этоксилатов используются в процессе эмульсионного обезжиривания овчины и свиных шкур, а также в отмочно-зольных процессах производства кож из сырья КРС.
Нонилфенолэтоксилат - поверхностно-активное вещество, входящее в состав многих обезжиривающих композиций, может разлагаться с образованием токсичных производных, в частности нонилфенола. В Европе применение этого ПАВ ограничено из-за возможного негативного влияния на эндокринную систему человека [16].
Возможной альтернативой этим ПАВ являются этоксилаты алифатических спиртов, которые характеризуются более низкой токсичностью [29].
Расход этих ПАВ в процессе обезжиривания несколько выше, что повышает затраты на химические материалы.
Этот метод предусматривает обработку шкуры с бахтармяной стороны, при которой достигается эффект ослабления связи волоса с дермой. Шерсть удаляется на шерстосгонных машинах. Такая технология в основном используется при переработке овчины.
Другой вариант заключается в уменьшенном расходе сульфида натрия, при котором повреждаются только луковицы волоса. Обработка проводится в специальном барабане, снабженном перфорированной перегородкой, позволяющей отделять шерсть от отработанного раствора. Полученная шерсть может стать дополнительным источником доходов или потребует утилизации, но не приведет к загрязнению стоков. Сточные воды будут содержать меньше взвешенных веществ и меньшее значение БПК.
Экологический эффект, который может быть получен при использовании предлагаемой методики, заключается в снижении загрязнения стоков, меньшем объеме шлама в очистных сооружениях, снижении расхода химических реагентов для очистки сточных вод.
Способ обезволашивания с сохранением шерсти будет оправдан лишь в том случае, если сохраненная шерсть имеет рынки сбыта, например для изготовления войлока. С большей степенью вероятности может быть реализована овечья или козья шерсть.
Инвестиционные затраты на приобретение барабана, оборудованного системой для рециркуляции воды и с фильтром для улавливания шерсти составят около 100 000-130 000 евро [28].
При модификации традиционных барабанов такими устройствами затраты составят порядка 5000-10 000 евро [28].
Расход сульфида натрия можно сократить за счет обработки сырья ферментными препаратами [21], а также использования вспомогательных препаратов на основе сероорганических соединений типа меркаптоэтанола. Эти соединения обладают восстанавливающими свойствами и способностью разрушать дисульфидные связи в кератине волоса.
Преимущество использования таких препаратов заключается в снижении расхода сульфида натрия и уменьшении содержания сульфидов в стоках [21]. Совместное применение ферментативной обработки с обезволашиванием с использованием меньшего расхода сульфида натрия позволяет повысить эффективность этого процесса. Однако использование ферментов в некоторых случаях может привести к повреждению лицевой поверхности голья.
Расход сульфида натрия и загрязнение сульфидами сточных вод при использовании этой технологии снижается на 40% - 70%.
При использовании ферментов необходимо предусматривать дополнительную промывку для их инактивации, чтобы предотвратить повреждение лицевой поверхности голья.
Органические тиосоединения являются более дорогими, чем сульфиды, однако эти затраты компенсируются снижением расходов на очистку сточных вод, а также снижается возможность выделения сероводорода в отмочно-зольных цехах.
При высоком содержании сульфидов в сточных водах и значениях pH меньше 9, 5 возможно образование сероводорода. Чтобы избежать эмиссии сероводорода в окружающую среду, необходимо обработать стоки биологическим методом или химическим способом с использованием в качестве катализатора сульфата марганца. Такая обработка должна осуществляться в герметичных условиях с использованием вытяжной вентиляции через фильтровальные устройства. В качестве реагентов используются перекись водорода или гипохлорит натрия. Такая обработка позволяет сократить эмиссию сероводорода в окружающую среду, избежать появления неприятных запахов на территории предприятия.
Представляет интерес технология отмочно-зольных процессов, в соответствии с которой отмока производится в кислой среде, а затем постепенно осуществляется переход в щелочную область и проводится пероксидно-щелочное обезволашивание с использованием минимального расхода сульфида натрия. Теоретическое обоснование этого метода изложено в [30]. Высокая степень обводненности сырья, достигаемая в результате кислой отмоки, позволяет обеспечить оптимальные условия для проникания компонентов зольной жидкости к волосяным сумкам, что способствует ослаблению связи волоса с дермой, разрыхлению клеточных структур эпителия, получению более чистого голья. Проведение отмоки в кислой среде не требует введения биоцидов, поскольку низкие значения pH препятствует размножению бактерий.
Основные преимущества новой технологии приведены в таблице 4.1.
|
Параметры обработки и технико-экономические показатели |
Технология "Кобра" |
Традиционная технология |
|
Расход, % от массы сырья: | ||
|
- фталевая кислота |
2, 0 |
- |
|
- карбонат натрия |
- |
1, 5 |
|
- гидроксид натрия |
2, 0 |
- |
|
- гидроксид кальция |
- |
4, 6 |
|
- сульфид натрия |
1, 0 |
3, 2 |
|
- пероксид водорода |
2, 5 |
- |
|
Продолжительность, ч |
10-12 |
18-20 |
|
Расход сырья на 100 м2 готовой кожи, кг |
610 |
668 |
Технология предусматривает проведение отмочно-зольных процессов в подвесных барабанах при постоянном их вращении со скоростью 3-4 об/мин. Отмока выполняется после предварительной промывки и мездрения в присутствии 2, 0% 1, 2-бензолдикарбоновой (фталевой) кислоты от массы сырья при ж. к. 1.5. Равномерного обводнения шкур удается достичь за 4-5 ч обработки. В процессе золения используются гидроксид натрия и сульфид натрия в количестве соответственно 2, 0% и 1, 0% от массы сырья. Продолжительность процесса - 5-6 ч. На заключительной стадии золения вводится пероксид водорода в количестве 2, 5% от массы сырья. Через 1 ч обработки в растворе можно обнаружить лишь следовые количества сульфидов. После завершения технологического цикла производится промывка голья при ж. к. 2 в течение 30 мин.
|
Содержание в отработанном растворе, г/л |
Технология |
Традиционная технология |
|
Сульфиды |
Следы |
1, 8 |
|
Взвешенные вещества |
6, 8 |
21, 2 |
Расходы на использование фталевой кислоты окупаются сокращением затрат на очистку сточных вод, а также исключается возможность выделения сероводорода в отмочно-зольном цехе. Пероксидно-щелочную обработку рекомендуется осуществлять в пластиковых барабанах.
Разработана методика проведения процесса золения-обезволашивания с использованием вспомогательных материалов Анавит СПА и Анавит ПСБ с расходом щелочных реагентов: гидроксида кальция - 2, 0% и сульфида натрия - 2, 0% от массы сырья в течение 14-16 ч при ж. к. 1, 5 и температуре обрабатывающей жидкости 22°С - 24°С. Содержание сульфидов в отработанном зольном растворе составляет 3-5 г/л, поэтому целесообразно завершить процесс золения введением в обрабатывающую жидкость специальных реагентов, например пероксида водорода, позволяющих снизить содержание сульфидов в отработанных растворах.
Основные преимущества новой технологии приведены в таблице 4.3.
|
Параметры обработки и технико-экономические показатели |
Новая технология [31] |
Заводская технология |
|
Расход, процент от массы сырья: | ||
|
Риберсал PLE |
- |
1, 0 |
|
Анавит СПА |
1, 0 |
- |
|
Анавит ПСБ |
1, 0 |
- |
|
Гидроксид кальция |
2, 0 |
3, 5 |
|
Сульфид натрия |
2, 0 |
2, 4 |
|
Гидросульфид натрия |
- |
0, 5 |
Технология прошла производственные испытания с положительными результатами на ряде российских кожевенных заводов. Испытания проводили на сырье КРС яловки средней развесом 17-20 кг мокросоленого метода консервирования.
Новая технология производства кож с использованием вспомогательных материалов целевого назначения Анавит СПА, Анавит ПСБ позволяет:
- снизить расход гидроксида кальция на 40% и сульфида натрия на 15% по сравнению с действующими технологиями;
- снизить содержание сульфидов в конце золения с 3-5 до 1 г/л;
- повысить сортность кож до 2, 5% за счет уменьшения воротистости, стяжки и ликвидации отдушистости;
- увеличить выход кож по площади до 3% за счет лучшего разделения структуры дермы.
Расходы на использование вспомогательных материалов окупаются сокращением затрат на очистку сточных вод, повышения сортности и выхода кож по площади.
Двоение может осуществляться как на стадии после золения, так и после хромового дубления. При распиливании голья образуются лицевой спилок и бахтармяный спилок.
Двоение в голье позволяет получить экономический эффект от сокращения расхода химических материалов при дублении, а также от реализации недубленых отходов (обрези и спилка), которые находят применение в производстве коллагеновых оболочек и белковых продуктов для пищевых целей [32].
Двоение в голье имеет и технологические преимущества: увеличивается выход кож по площади, сокращается длительность преддубильно-дубильных процессов, расширяются возможности переработки спилка. Двоение в голье используется для изготовления мебельных и автомобильных кож.
Недостатками двоения в голье является большая трудоемкость операции и неравномерность толщины лицевого спилка.
Оборудование для двоения в голье и в хромированном виде мало отличается. Некоторые отличия могут быть только в конструкции транспортирующих валов.
Затраты на приобретение двоильной машины с шириной рабочего прохода 3000 мм составляют порядка 140 000 евро [28].
Основным преимуществом двоения в голье является снижение объема хромсодержащих отходов.
Технология предусматривает полную или частичную замену сульфата аммония в процессе обеззоливания на углекислый газ. Углекислый газ легко растворяется в воде, образуя угольную кислоту, что приводит к снижению pH голья. Углекислый газ транспортируется в баллонах и может дозировааться непосредственно в обрабатывающий раствор или в промежуточную герметичную емкость, из которой поступает непосредственно в барабан [28].
При обеззоливании углекислотой в сточных водах увеличивается значение ХПК. Кроме того, возрастают затраты на оборудование. Образование сероводорода при использовании углекислоты и эмиссию его в окружающую среду, можно предотвратить путем введения в раствор незначительного количества пероксида водорода (0, 1% - 0, 2%). При этом необходимо учитывать, что пероксид водорода может вызвать коррозию деревянных барабанов.
В процессе обеззоливания голья углекислотой, конечное значение pH может быть несколько ниже (pH 6, 7-6, 9), чем при использовании соли аммония (pH 8, 8-9, 2), что в свою очередь потребует применения ферментов, активность которых наиболее полно проявляется при меньших значениях pH. При обеззоливании углекислотой увеличивается продолжительность процесса. В некоторых случаях в готовых кожах отмечалась повышенная жесткость.
В плане экологии обеззоливание с использованием углекислоты позволяет сократить загрязнение стоков аммонийным азотом с 4-5 до 0, 02 кг на 1 т сырья и обеспечивает двукратное снижение БПК.
Оборудование для использования углекислого газа может быть автоматизировано. Оно включает резервуар под давлением, диффузор и тепловую камеру. Это оборудование должно обслуживаться квалифицированным персоналом.
Обеззоливание углекислотой рекомендуется при обработке голья небольшой толщины (не более 1, 5 мм). Расход двуокиси углерода составляет 0, 75% - 1, 5% из расчета на массу голья.
Стоимость углекислоты выше, чем стоимость сульфата аммония. Кроме того, необходимо оборудовать площадку для хранения углекислоты, смонтировать трубопроводы к аппаратуре, контрольно-измерительные приборы.
Экономия достигается только за счет уменьшения содержания аммонийного азота и ХПК в сточных водах и затрат на их очистку [28].
Сульфат аммония может быть полностью или частично заменен органическими кислотами. Для этой цели могут быть использованы молочная кислота, муравьиная или уксусная кислоты, их эфиры. Основной целью этой замены является снижение содержания аммонийного азота в сточных водах.
Расход таких реагентов составляет порядка 1.5% от массы голья. Продолжительность обработки при объеме воды 200% от 1 до 1, 5 ч. В то же время эти реагенты увеличивают значение ХПК в стоках. Они значительно дороже сульфата аммония.
Сульфат аммония может быть полностью или частично заменен карбамидфосфатными соединениями [33]. Эти соединения представляют собой продукты взаимодействия карбамида и фосфорной кислоты и характеризуются значением pH - 5-7. Цель замены снизить содержание аммонийного азота в сточных водах. В таблице 4.4 представлена эффективность предлагаемой технологии.
|
Стадия обработки |
Содержание аммонийного азота, г/л, при обеззоливании препаратами: | |
|
Бепикор 2, 0 % |
(NH4)2SO4 2, 5 % | |
|
Золение |
0, 12 |
0, 10 |
|
Обеззоливание |
0, 56 |
2, 58 |
|
Мягчение |
0, 45 |
2, 57 |
|
Промывка |
0, 11 |
0, 56 |
|
Всего |
1, 12 |
5, 71 |
Как следует из представленных данных, использование препарата "Бепикор" при обеззоливании позволяет значительно снизить загрязненность сточных вод аммонийным азотом. Оптимальный расход препарата "Бепикор" для обеззоливания голья традиционного метода золения составляет 1, 5%.
Основными преимуществами метода обеззоливания с использованием препарата Бепикор являются:
- существенное снижение загрязненности сточных вод;
- уменьшение содержания кальция в голье (по сравнению с использованием сульфата аммония в равных количествах);
- равномерное обеззоливание голья по слоям;
- уменьшение затрат на обработку сточных вод.
Относительно опасений, связанных с наличием в препарате "Бепикор" фосфорсодержащих групп, следует привести данные по гигиеническому обоснованию использования осадков сточных вод [34]. Установлено, что осадки сточных вод кожевенной промышленности, представляющие собой известково-фосфорсодержащие органоминеральные удобрения, не могут оказывать ингибирующее действие на процессы самоочищения различных типов почв и ухудшение качества грунтовых вод. Метод апробирован на кожевенных предприятиях РФ и Турции.
Пикелевание с заменой соли на ароматические сульфокислоты позволяет снизить загрязненность сточных вод сульфатами и хлоридами и улучшить выбираемость соединений хрома при дублении [28].
В экологическом плане нагрузка этих соединений на сточные воды не возрастает, хотя значение ХПК увеличивается.
Следует обратить внимание на возможность изменения тона окраски при последующем крашении, что потребует соответствующих изменений в методике крашения.
Расходы на химические материалы при этом сравнимы с традиционной технологией, в которой используют муравьиную кислоту.
Основным преимуществом предлагаемой технологии является снижение содержания хлоридов в сточных водах.
Беспикельное дубление привлекает технологов тем, что при использовании данного метода отпадает необходимость применения солей, кислот и карбоната натрия для регулирования основности хромового дубителя. При расходе препарата - 1, 5% от массы голья и расходе дубящих соединений хрома - 1, 8%, считая на оксид хрома, за 2, 0-2, 5 ч дубления достигается полный прокрас среза дермы, а температура сваривания полуфабриката через 6-7 ч обработки составляет 107°С - 108°С при содержании оксида хрома в отработанной жидкости до 1, 5 г/л [35]. При обработке недвоеного голья рекомендуется использование дубящих соединений хрома основностью 28% - 30%.
Обработка голья препаратами этого типа [36] обеспечивает необходимую стабилизацию структуры дермы и частичную дезактивацию функциональных групп коллагена, что исключает нажор при введении в раствор дубящих соединений хрома и облегчает их диффузию во внутренние слои дермы.
Оптимальные параметры преддубильно-дубильных процессов по технологии беспикельного дубления (технология "Бепикор"): ж. к. - 1, 0; температура - 20°С продолжительность обработки препаратом "Бепикор" - 1, 5-2, 0 ч; расход - 1, 5% от массы голья. Расход хромового дубителя - 1, 8%-2, 0% от массы голья, считая на оксид хрома (основность 38% - 42%). Продолжительность дубления - 8 ч. Эффективность технологии в отношении сточных вод представлена в таблице 4.5.
|
Содержание в отработанной жидкости, г/л |
Технология "Бепикор" |
Традиционная технология |
|
Аммонийного азота |
1, 0 |
6, 3 |
|
Оксида хрома |
1, 7 |
12, 0 |
|
Хлоридов |
1, 1 |
18, 8 |
|
Сульфатов |
13, 3 |
25, 0 |
Использование фосфорсодержащих препаратов и других химических материалов аналогичного действия в преддубильно-дубильных процессах позволит:
- исключить из технологии применение сульфата аммония, хлорида натрия, минеральных и органических кислот, карбоната натрия, то есть сократить расход химических материалов почти в три раза;
- существенно улучшить экологические характеристики отработанных растворов за счет снижения содержания аммонийного азота в 6 раз, оксида хрома - в 4-6 раз, практически полностью исключить загрязнение стоков хлоридами.
Метод основан на использовании комплексных добавок, способствующих повышенной сорбции соединений хрома из обрабатывающего раствора. Возможны два варианта этого метода.
Первый заключается в модификации состава хромового комплекса, например введением дикарбоновых кислот. Второй основан на увеличении связывающей способности белка за счет дополнительного количества карбоксильных реакционноспособных групп.
Маскирование хромовых комплексов дикарбоновыми кислотами имеет и отрицательную сторону, поскольку затрудняет осаждение хрома при обработке сточных вод. Кроме того, опыт некоторых предприятий, использовавших эту технологию, показал некоторые проблемы с качеством готовой кожи.
Основным экологическим преимуществом этого метода является сокращение содержания соединений хрома в стоках. Одновременно снижается сброс в стоки сульфатов [28].
Использование отработанных растворов после дубления для пикелевания. При этом отработанный раствор фильтруют, собирают в специальную емкость и вводят требуемое количество кислоты. Подготовленный таким образом раствор заливают в барабан, в котором голье обрабатывается в растворе соли. После пикелевания следует хромовое дубление.
Количество циклов повторного использования отработанных растворов может доходить до 10. В этом случае сброс соединений хрома в сточные воды может быть уменьшен в 2 раза.
Следует иметь в виду возможное снижение качества хромированного полуфабриката, изменение окраски, которое может происходить за счет накопления в отработанном растворе белков, жиров, ПАВ и маскирующих реагентов. Это в первую очередь обусловливает слабое распространение рециркуляции отработанных хромовых растворов на кожевенных предприятиях.
Основным направлением работ остается разработка методов, позволяющих повысить степень использования дубящих соединений хрома из обрабатывающей жидкости. Таким образом, если степень отработки хромового дубителя больше, чем 80%, рециркуляция растворов нецелесообразна.
Капитальные затраты на рециркуляцию отработанных растворов не так велики, а возможный эффект зависит от объема перерабатываемых стоков [28].
Технология предусматривает осаждение хрома из отработанных растворов, обезвоживание осадка и повторное растворение с использованием серной кислоты. Внедрение этой технологии требует тщательного аналитического контроля и соответствующего оборудования, в том числе емкости для сбора отработанных растворов, емкости для осаждения солей хрома, фильтр-пресса или центрифуги для обезвоживания осадка, емкости для повторного растворения гидроксида хрома концентрированной серной кислотой. Кроме того, необходимо наличие специальных химических реагентов для осаждения жиров и других материалов, содержащихся в отработанных растворах.
Рисунок 4.2 - Схема непрерывного процесса выделения гидроокиси хрома из отработанных хромсодержащих дубильных жидкостей и его повторного использования для дубления
Прозрачный хромсодержащий раствор из средней части резервуара 5, проходя под отражателем 10, поступает в смеситель 11, в который из резервуара 12 подается каустическая сода или какой-либо другой щелочной раствор для того, чтобы поддерживать величину pH в резервуаре И, равной 8, 0-9, 5. Если концентрация осажденного гидроксида хрома достаточно высока, то отстаивание в осветлителе 13 можно не проводить; в этом случае смесь непосредственно поступает на фильтр 14 для непрерывной фильтрации под давлением. Если же суспензия гидроксида хрома достаточно разбавлена, то перед фильтрованием ее направляют в отстойник 13, где осадок собирается в конической нижней части.
Одновременно чистый раствор, находящийся над осадком, декантируют из отстойника на определенной высоте, уменьшая таким образом до минимума объем суспензии гидроксида хрома, которую необходимо фильтровать. Суспензию перекачивают под давлением насосом 15 на непрерывную фильтрацию на фильтре 14, где поддерживается постоянная толщина слоя осадка и происходит концентрирование гидроксида хрома до заранее определенной концентрации.
При достижении этой желаемой концентрации (14%-15%) пасту гидроксида хрома направляют в резервуар 16, куда из емкости 17 подается для смешения серная кислота, до тех пор пока не будет достигнута требуемая основность и произойдет растворение осадка. Прозрачный фильтрат с фильтра 14 по линиям 18 и 19 направляется в сток; суммарное содержание хрома в нем составляет менее 2 ppm.
В нижней части рисунка 4.2 проиллюстрирована работа фильтра 14. Этот многосегментный фильтр для непрерывного фильтрования под давлением имеет входное отверстие 20, ведущее в корпус 21. Внутри корпуса размещены вращающиеся фильтровальные пластины 22, состоящие из металлического диска 23, прилегающего к фильтрующей поверхности 24. Жидкость проходит через фильтр 24 и выводится через коллекторную трубу 25. Стационарные пластины 26 закреплены внутри корпуса и состоят из круглых полых каркасов, с фильтровальными поверхностями 27, через которые проходит фильтрат, вытекающий далее через коллекторную линию 28. По линиям 18 и 19 фильтрат отводится в сток. Осадок, образующийся при фильтровании, выбрасывается по линии 29, на которой имеется пневматический клапан, срабатывающий, когда давление достигает определенного уровня [37].
Полученный раствор сульфата хрома может заменить до 30% потребности в дубителе. При этом достигается снижение загрязнения стоков соединениями хрома.
Использование регенерированного хрома может привести к незначительному изменению цвета хромированного полуфабриката. Внедрение этой технологии требует значительных капитальных затрат [28].
Метод может быть реализован непосредственно в дубильном цехе или на территории очистных сооружений.
Технология предусматривает предварительную обработку голья такими соединениями, как соли алюминия, глутаровый альдегид, синтаны, соли титана. Например, расход некоторых дубителей для предварительной обработки голья составит 1, 25% оксида алюминия, или 1, 0%-1, 5% глутарового альдегида, или 0, 75% оксида титана [21]. При этом можно сократить расход дубящих соединений хрома с 8% до 5% от массы голья.
Следует иметь в виду, что некоторые из этих соединений являются более опасными с точки зрения экологии веществами, чем, например, хром, алюминий.
Предварительное дубление увеличивает длительность технологического цикла, увеличиваются затраты на дополнительные химические материалы [21].
Затраты на предварительное задубливание голья глутаровым альдегидом по сравнению с процессом хромового дубления на 20% больше [38].
Технология предусматривает максимальное выбирание красителей их обрабатывающих растворов, что достигается за счет использования вспомогательных материалов, высоких температур и меньшего ж. к. При этом достигается значительный экономический эффект, поскольку красителя являются одними из самых дорогостоящих химических материалов [28].
Цель оптимизации увеличить степень отработки жиров и таким образом снизить значение ХПК в сточных водах [28].
В последние годы наметилась тенденция к снижению выбросов органических растворителей в окружающую среду. Это было достигнуто за счет использования водоэмульсионной отделки, а также улучшения методов распыления и внедрения валичных методов нанесения покрывных композиций [28, 39].
Метод полива используется только для нанесения грунтов. Основным экологическим преимуществом метода является использование водных дисперсий. Метод требует конкретного технологического оборудования - поливочных машин. Цена одной машины составляет около 75 000 евро [28].
По предлагаемой технологии покрытие наносится с помощью валов различной конструкции. При этом необходимо тщательно регулировать скорость транспортирования кожи, вязкость наносимой композиции, своевременной очистки валов. Валичным методом можно обрабатывать тонкие кожи. Можно наносить на поверхность кожи масло, воск. Сушку можно производить в тех же камерах, которыми оснащены распылительные агрегаты.
Валичное нанесение покрытий обеспечивает эффективное расходование покрывных композиций, минимальное количество отходов и меньшее загрязнение воздуха растворителями. Этот метод не применим при выработке кож типа "анилин" или "полуанилин".
Стоимость валичной машины с шириной рабочего прохода 3000 мм, оборудованной питателем и тремя валами составляет приблизительно 175 000 евро [28, 39].
Одним из направлений совершенствования этого метода является использование пистолетов-распылителей низкого давления, которые позволяют распылять большее количество смеси. В этом случае обратный "отскок" воздушной смеси значительно меньше по сравнению с обычным распылением.
Второе направление - это безвоздушное распыление, то есть на кожу распыляется сама композиция, находящаяся под давлением. В основном этот метод используется для нанесения заключительных покрытий.
Третьим направлением можно считать автоматизированное распыление, при котором специальные контролирующие системы определяют область и время работы распылительных головок.
Перечисленные системы позволяют на 70% - 75% повысить эффективность использования покрывных композиций. Снижается загрязнение воздушной среды органическими растворителями.
Стоимость новой распылительной машины составляет 200 000-500 000 евро [28].
Водоэмульсионные композиции значительно перспективнее покрытий на основе органических растворителей, поскольку в меньшей степени загрязняют окружающую среду. Для сохранения прочностных характеристик покрытий в водоэмульсионные композиции необходимо вводить сшивающие реагенты, при этом некоторые из них являются токсичными веществами.
При сушке водоэмульсионных композиций потребуются более высокие затраты на процесс сушки, а также на очистку стоков [28].
В целях сокращения потребления воды следует принять во внимание следующий принцип. По возможности на всех стадиях производства вместо обработок на проточной воде использовать периодические процессы, контролировать расход воды с помощью измерительных приборов. Ниже приведены рекомендуемые нормы расходования воды при переработке сырья крупного рогатого скота (см. таблицу 4.6).
|
Стадия обработки |
Расход воды, м3/т |
|
Отмочно-зольные и преддубильно-дубильные процессы |
13-18 |
|
Красильно-жировальные процессы и отделка |
6-10 |
|
Всего |
19-28 |
Для снижения загрязнения сточных вод в соответствии НДТ можно рекомендовать следующие мероприятия (см таблицу 4.7).
|
Технологии |
Описание |
Использование |
|
В подготовительных процессах
| ||
|
Работа при низких ж. к. |
Снижение расхода воды на технологические нужды. Лучшая отработка химических материалов |
Некоторые ограничения связаны с типом используемого оборудования |
|
Предварительная механическая очистка от соли |
Снижение загрязнения стоков хлоридами |
Для всех предприятий перерабатывающих мокросоленое сырье |
|
Золение с сохранением волоса |
Ослабляется связь волоса с дермой при сохранении шерсти, которую можно отделить от обрабатывающего раствора. Снижается загрязненность стоков продуктами распада кератина |
Не используется при отсутствии экономической целесообразности и соответствующего оборудования |
|
Использование серосодержащих реагентов и ферментных препаратов |
Частичная замена сульфидов |
Не рекомендуется для предприятий, выпускающих кожу с анилиновой отделкой |
|
Снижение расхода сульфата аммония при обеззоливании |
Частичная или полная замена сульфата аммония диоксидом углерода или другими реагентами |
Не рекомендуется при обеззоливании голья толщиной свыше 1, 5 мм |
|
В процессе дубления
| ||
|
Работа при низких ж. к. |
Снижение расхода воды на технологические нужды. Лучшая отработка химических материалов |
Некоторые ограничения связаны с типом используемого оборудования |
|
Наиболее полная отработка дубящих растворов |
Оптимизация режимов обработки (pH, температура, скорость вращения барабана). Использование вспомогательных материалов |
Для всех предприятий |
|
В красильно-жировальных процессах
| ||
|
Совершенствование технологии красильно-жировальных процессов |
Достижение наиболее полного выбирания химических материалов из обрабатывающих растворов |
Для всех предприятий |
Для исключения загрязнения сточных вод биоцидами необходим контроль за перечнем биоцидов, используемых для обработки кожевенного сырья.
В таблице 4.8 представлены рекомендуемые НДТ значения для сброса очищенных стоков в открытые водоемы.
|
Показатель |
Значения, мг/л |
|
ХПК |
Не более 500 |
|
БПК |
Не более 25 |
|
Взвешенные вещества |
Не более 35 |
|
Аммонийный азот |
Не более 10 |
|
Хром |
Не более 1 |
|
Сульфиды |
Не более 1 |
Технология очистки сточных вод включает в себя следующие стадии:
- механическая очистка;
- физико-химическая очистка;
- биологическая очистка.
Эти процессы могут быть реализованы в различных комбинациях, как на предприятии, так и в обслуживающих организациях (см. таблицу 4.9).
|
Технологии |
Описание |
Использование |
|
Механическая очистка |
Удаление грубых частиц, жировых веществ, осаждение |
Непосредственно на предприятии |
|
Физико-химическая очистка |
Удаление сульфидов, снижение ХПК, удаление взвешенных веществ. Осаждение хрома при повышении pH до 8 или выше с использованием щелочных реагентов (гидроксид кальция, оксид магния, карбонат натрия, гидроксид натрия, алюминат натрия) |
Непосредственно на предприятии |
|
Биологическая очистка |
Аэробная биологическая очистка с использованием аэрации. Удаление взвешенных веществ осаждением и флотацией |
Непосредственно на предприятии |
|
Биологическая очистка от азотистых соединений |
Нитрификация аммонийных соединений до нитратов и последующее их удаление |
Рекомендуется для предприятий, сбрасывающих воду в открытые водоемы. Требуется наличие соответствующих площадей |
Окисление сульфидсодержащих стоков необходимо проводить до смешивания с другими стоками в закрытом резервуаре, с улавливанием газов в скруббере.
Механическая очистка производится для удаления из сточных вод грубых примесей. В сооружениях для механической очистки вначале отделяются наиболее крупные частицы (решетки, сита), затем тяжелые взвести (песколовки) и на заключительном этапе тонкодиспергированные нерастворимые загрязнения (отстойники, осветлители и др.).
На ситах может быть удалено до 35% грубых частиц, включая остатки шерсти, что позволит снизить ХПК на 30%, снизить затраты на флокулянты и уменьшить количество общего осадка [14].
Физико-химические методы очистки сточных вод используют для удаления тонкодисперсных взвешенных веществ, растворенных газов, органических и минеральных веществ. Выбор методов очистки производят с учетом санитарных и технологических требований, предъявляемых к очищенным производственным сточным водам с целью дальнейшего их использования, а также с учетом объема стоков и концентрации в них загрязняющих веществ, наличия необходимых материальных и экономических ресурсов.
Окисление сульфидов, осаждение хрома, снижение ХПК и удаление взвешенных твердых частиц методом коагуляции и флокуляции. В результате использования коагулянтов, наряду с осветлением воды от взвешенных веществ, осуществляется очистка стоков от органических веществ и удаление примесей.
Типичная схема физико-химической обработки приведена на рисунке 4.3.
Рисунок 4.3 - Схема физико-химической обработки стоков
Удаление сульфидов из сточных вод может быть достигнуто путем каталитического окисления (аэрация в присутствии солей марганца) в тиосульфаты и, в меньших количествах, в сульфаты. Тиосульфаты разрушаются с образованием серы и сульфитов.
Сульфиды в сточных водах также могут быть удалены осаждением солями железа (II). В результате аэрации образуются гидроксид железа (III) и сера. Соли железа могут использоваться при обработке смешанных сточных вод кожевенного завода или для очистки отдельных стоков. При этом образуются значительные объемы осадков.
Процесс окисления сульфидов может быть полностью автоматизирован.
Осаждение хрома (III) лучше производить из локальных стоков путем нейтрализации до pH 8, 5 с использованием гидроксида кальция, оксида магния, карбоната натрия, гидроксида натрия или алюмината натрия.
Для коагуляции загрязнений используют сульфат алюминия, сульфат железа или полимерные флокулянты. Следует принимать во внимание, что полимерные флокулянты, наряду с повышением эффективности обработки, способствуют увеличению объема осадка.
Флотация - один из видов очистки, основанный на формировании всплывающих агломератов загрязнений с диспергированной газовой фазой и с последующим их отделением в виде концентрированного пенного продукта. Для ускорения процесса флотации систему вспенивают путем интенсивного перемешивания (механическая флотация) или барботажа воздуха через систему (пневматическая флотация).
Экологические преимущества этих методов очистки заключаются в снижении содержания в стоках сульфидов, хрома, значений ХПК, подготовки стоков к биологической очистке.
К побочным эффектам физико-химических методов очистки можно отнести образование сульфатов в процессе окисления сульфидов. Это в свою очередь может привести к повреждению бетонных коллекторов. Кроме того, в анаэробных условиях сульфаты могут восстанавливаться до сульфидов и загрязнять шлам.
Эти методы очистки потребуют значительных дополнительных расходов на химические материалы, воду и электроэнергию [40].
Биологическая очистка сточных вод основана на использовании биоаэрации. После предварительной механической и физико-химической очистки стоки подвергаются обработке на биологических очистных сооружениях. Контактируя с органическими веществами, микроорганизмы частично разрушают их, превращая в воду, диоксид углерода, сульфат и нитрит-ионы, другая часть вещества идет на образование биомассы. Для поддержания биологической активности в некоторых случаях используют введение в стоки фосфатов. Большинство установок биологической очистки используют метод активного ила. Активный ил состоит из микроорганизмов и твердого субстрата. Качество ила определяется скоростью его осаждения и степенью очистки стока. Чем хуже оседает ил, тем более высокий иловый индекс он имеет.
Очистные сооружения с активным илом состоят из двух основных узлов: бассейн для аэрации (аэротенк) и вторичный отстойник. В аэротенках сточные воды обрабатываются активным илом, во вторичных отстойниках осуществляется осаждение и отделение ила от очищенной воды. Основная часть активного ила возвращается в аэротенки для поддержания высокой концентрации ила. Небольшая часть активного ила удаляется из системы в качестве избыточного активного ила. Для окисления органики, дыхания микроорганизмов и для поддержания активного ила во взвешенном состоянии в систему биологической очистки подается воздух. Процессы очистки протекают в большом резервуаре, заполненном активным илом и стоками. Продолжительность процесса очистки составляет 6-12 ч. Расход энергии типовой установки с активным илом составляет около 1, 1-1, 7 МДж для уменьшения значения БПК5 на 1 кг.
Применяются различные типы аэраторов: поверхностные аэраторы, погружные турбинные аэраторы, мелкопузырчатые и струйные аэраторы. Проекты существующих очистных сооружений отличаются количеством ступеней, конструкцией аэротенков, аэраторов и вторичных отстойников, оборудованием для обработки избыточного активного ила. Процесс с использованием активного ила используется в 60% - 75% всех сооружений биологической очистки. При этом достигается снижение БПК на 85% - 98%, ХПК на 60% - 85%. При очистке сточных вод образуется избыточный активный ил, который после обезвоживания может сжигаться в котле-утилизаторе, обеспечивая дополнительную выработку тепла. Установки с активным илом успешно применяются в течение многих лет на различных кожевенных заводах.
Сульфатвосстанавливающие бактерии активно развиваются в анаэробных условиях. Анаэробная очистка протекает без доступа кислорода и дает меньше шлама, чем аэробная обработка. При анаэробной очистке ХПК стоков снижается на 50%. Биологическая очистка в сочетании с физико-химической обработкой стоков может обеспечить снижение ХПК до 95%.
Стандартные установки для аэробной биологической очистки располагаются либо на территории предприятия, либо за его пределами. Биологическая очистка является достаточно длительным процессом.
После биологической очистки сточные воды можно сбрасывать в открытые водоемы или отправлять на дополнительную очистку в городскую канализацию. Остатки активного ила необходимо утилизировать.
Биологическая очистка необходима, в случае если сбрасываемые стоки должны соответствовать определенным требованиям, устанавливаемым принимающей организацией [21, 41].
Продолжает развиваться технология очистки сточных вод на мембранных биореакторах, сочетающая биологическую обработку активным илом с механической мембранной фильтрацией. Основным отличием мембранного биореактора от систем традиционной биологической очистки в аэротенках является наличие мембранного модуля, который используется для разделения иловой смеси и представляет собой альтернативу широко применяемому методу осаждения активного ила во вторичных отстойниках. В зависимости от взаимного положения реактора и мембранного модуля различают две основные конфигурации:
- погружной мембранный биореактор (мембранный модуль погружен непосредственно в аэротенк, фильтрация происходит под действием вакуума);
- внешний мембранный биореактор с циклом рециркуляции (мембранный модуль находится вне аэротенка и объединяет в себе функции вторичного отстойника и сооружений доочистки).
Высокие концентрации активного ила (до 10-20 г/л) позволяют эксплуатировать биореактор в режиме низких нагрузок, что создает резерв окисляющей способности, повышает устойчивость биоценоза активного ила к колебаниям состава сточных вод и пиковым нагрузкам, обеспечивает стабильное качество очистки, многократно повышает окисляющую мощность сооружения. Кроме того, высокие дозы ила позволяют сократить время пребывания сточных вод в сооружении [42].
Площадь, занимаемая мембранными биореакторами, в 2-4 раза меньше площади, занимаемой традиционными сооружениями биологической очистки. Достигаемый экологический эффект обеспечивается за счет снижения сброса органических веществ, фосфора, азота, АОХ.
Данный метод очистки сточных вод может применяться как на действующих, так и на строящихся предприятиях.
Процесс нитрификации аммонийного азота с последующим окислением до газообразного азота. Предварительной стадией процесса является аммонификация, на которой азот, содержащийся в белке, переводится в аммонийный азот, и это технически предшествует нитрификации. На стадии нитрификации аммонийный азот окисляется в нитраты. Этот процесс происходит в аэробных условиях, то есть в присутствии свободного кислорода.
На стадии денитрификации нитраты биологически восстанавливают до газообразного азота, большая часть которого поступает в окружающую атмосферу. Остальная часть азота присутствует в составе биомассы. Денитрификация протекает в анаэробных условиях.
Этот метод позволяет ограничить поступление азота и сероводорода в окружающую среду и устранить неприятные запахи от кожевенного завода.
Следует принимать во внимание, что высокая концентрация хлоридов в стоках, присутствие фунгицидов и биоцидов могут снижать эффективность процессов нитрификация и денитрификации. Большое значение имеет поддержание оптимальных температурных режимов процесса. Для сохранения высокой активности микроорганизмов температура нитрификации не должна снижаться до 20°С. Деятельность нитрифицирующих бактерий полностью прекращается при температуре ниже 12°С.
Использование стадии нитрификации при очистке сточных вод потребует дополнительного расхода энергии и дополнительных площадей для размещения соответствующего оборудования. Эксплуатационные расходы состоят в основном из затрат на обслуживающий персонал, химические материалы и обработку осадка.
Исходя из европейского опыта (при амортизации свыше 20 лет, без процентной ставки), затраты на реализацию этого метода очистки составят около 1, 5-1, 6 евро за метр квадратный [28, 41].
Дополнительная очистка предполагает удаление взвешенных частиц осаждением, обезвоживание образующегося осадка и вторичную флотацию. Для удаления взвешенных твердых частиц используются (вертикальные) отстойники или флотация. Отделение активного ила от очищенного стока обычно осуществляется путем осаждения. Шлам от первичной седиментации содержит 3% - 5% твердых веществ и может перекачиваться насосом.
Обезвоживание часто практикуется для уменьшения объема осадка. Шлам может быть обезвожен с помощью фильтр-прессов, ленточных прессов, центрифуг и при термообработке. Фильтрующие прессы способны обезвоживать шлам до влажности 60%, в то время как с использованием ленточных прессов влажность осадка составляет 75% - 80%. Центрифуги обеспечивают влажность шлама в пределах 60% - 70%. Термическая обработка позволяет высушить осадок до влажности 10%. Обезвоживание осадка позволяет уменьшить его объем приблизительно в 20 раз. Осадок после обезвоживания можно сжигать, получая дополнительную тепловую энергию.
Основными преимуществами для окружающей среды от использования этих технологий очистки являются снижение содержания взвешенных веществ в сточных водах и сокращение объема шлама при его утилизации [43, 44].
Запахи могут являться следствием бактериального повреждения кожевенного сырья, накопления отходов производства, работы очистных сооружений. Запахи не обязательно являются вредными или токсичными, но вызывают неприятные ощущения у окружающих и распространяются на близлежащие территории.
Предотвратить появление запаха можно при надлежащем хранении кожевенного сырья, соответствующем обеспечении работы очистных сооружений. Запахи от таких химических соединений, как сероводород, тиолы, аммиак, амины, альдегиды, кетоны, спирты или органические кислоты, могут быть устранены с использованием комплексных мер, изложенных ранее в разделе 3, а также за счет систем очистки воздуха [45].
Оптимальным вариантов сокращения эмиссии органических растворителей в воздушную среду является использование отделочных композиций на водной основе. Для снижения выбросов летучих органических соединений существуют различные технологические методы, в том числе мокрая очистка с использованием скрубберов, адсорбция, биофильтрация, сжигание.
Мокрая очистка является стандартной технологией очистки отходящих газов, но наиболее эффективна против пыли и аэрозолей. Примерно 50% растворителей можно удалить мокрой очисткой [28].
Адсорбционные методы с использованием активированного угля применимы в тех случаях, если концентрация растворителя в воздушной среде сохраняется постоянной. Адсорбент после эксплуатации необходимо утилизировать.
Биофильтры, помимо устранения запахов, могут быть использованы для окисления органических веществ, таких как спирт, кетоны, сложные эфиры и простые эфиры.
Сжигание (каталитическое или термическое) является надежным, но дорогостоящим методом очистки от органических растворителей [28, 46].
Снижение эмиссии аммиака и сероводорода можно достичь путем биофильтрации. Обработка воздуха в скруббере может предшествовать или заменять биофильтрацию. Для удаления аммиака используют кислотные растворы, а для удаления сероводорода - щелочные, например перекись водорода или смесь гидроксида натрия и гипохлорита натрия.
Затраты на применение этой технологии включают энергетику и очистку стоков от скрубберов [46].
Необходимо снижать выбросы в атмосферу пыли и других твердых частиц, образующихся в результате шлифования, полировки, нанесения покрытий, при использовании порошкообразных химикатов. Эти выбросы можно характеризовать и оценивать по химическому составу, размеру и концентрации частиц.
В основном очистка воздуха от пыли осуществляется в месте ее образования, то есть непосредственно при выполнении той или иной операции. Забор воздуха должен производиться от рабочих частей машины или агрегата. Методы сбора твердых частиц представлены в таблице 4.10.
|
Циклоны |
Циклоны обеспечивают высокоэффективный сбор более крупных частиц и характеризуются относительно низкими капитальными и эксплуатационными расходами. Циклоны также могут использоваться в комбинации с рукавными фильтрами и скрубберами |
|
Скрубберы |
Скрубберы различаются в зависимости от типа исполнения |
|
Рукавные фильтры |
В рукавных фильтрах решающее значение при очистке приобретает фильтровальный материал. Фильтры должны быть снабжены устройством для удаления пыли из фильтровального материала |
Собранные с помощью этих устройств твердые отходы необходимо утилизировать. Потребление энергии увеличивается, но улучшаются условия труда на рабочем месте [28].
Отходы, образующиеся на стадии отмочно-зольных процессов, в меньшей степени загрязнены вредными химическими веществами, поэтому могут быть использованы в качестве сырья для получения целевых продуктов, что позволит обеспечить, наряду с экологическими преимуществами, определенную экономическую эффективность.
Утилизация органических отходов на специализированных полигонах становится все более затратным. Альтернативой утилизации является компостирование. Однако не все отходы кожевенного завода пригодны для компостирования, а некоторые нуждаются в предварительной подготовке.
Коллагенсодержащие отходы можно использовать в различных отраслях промышленности: пищевой, косметической, фармацевтической, текстильной, при производстве искусственной кожи, резинотехнических изделий, в сельском хозяйстве.
Варианты утилизации и повторного использования кератинсодержащих отходов следующие:
- приготовление гидролизатов и их применение в процессах наполнения додубливания;
- переработка на удобрения;
- получение биогаза при анаэробной обработке.
Овечья шерсть может быть использована в текстильной промышленности. Повторное использование или рециркуляция кератинсодержащих отходов позволяет сократить затраты на их утилизацию [47].
Обзор методов утилизации сырьевой, гольевой обрези и краевых участков полуфабриката и готовой кожи приведен в таблице 4.11.
|
Возможные варианты |
Сырьевая обрезь |
Гольевая обрезь |
Обрезь полуфабриката и готовой кожи |
|
Получение дополнительной продукции |
Производство коллагенсодержащих материалов |
Использование в декоративной отделке и художественном творчестве | |
|
Использование после предварительной обработки |
Производство мездрового клея |
Производство технического желатина и жира, белковых гидролизатов, мездрового клея |
Производство волокнистых материалов и белковых гидролизатов |
|
Другие возможности |
Производство биогаза при анаэробной обработке |
Производство биогаза при анаэробной обработке |
Производство биогаза при анаэробной обработке |
Жиры и масла могут быть выделены из отходов кожевенного производства или из отработанных растворов после обезжиривания и жирования. Натуральные жиры улавливаются в специальных жировых ловушках. Жиры также можно удалять в процессе анаэробной обработки стоков [48].
Расход энергии при сушке может быть снижен за счет лучшего обезвоживания полуфабриката на операциях отжима и разводки.
Расход энергии в жидкостных процессах кожевенного производства может быть снижен за счет работы при низких жидкостных коэффициентах вследствие меньших затрат на нагрев технологической воды.
Низкие жидкостные коэффициенты не рекомендуется использовать при переработке мелкого сырья, а также на предприятиях с устаревшими барабанами.
В таблице 4.12 приведены данные по рекомендуемому потреблению энергии в производстве кож из сырья КРС и овчины, за исключением затрат энергии на работу очистных сооружений.
|
Этапы обработки |
Удельный расход потребляемой энергии в расчете на единицу сырья, ГДж/т |
|
От сырья до дубленого полуфабриката |
Не более 4 |
|
От сырья до готовой кожи |
Не более 16 |
|
При выработке кож из овчины |
Не более 10 |
Мониторинг экологических проблем и выбросов от промышленной деятельности кожевенных предприятий имеет важное значение для обеспечения эффективного контроля в этой области.
Для контроля загрязненности сточных вод пользуются стандартными методами анализа, позволяющими определять такие параметры, как ХПК, БПК, содержание азота, соединений хрома, сульфиды, хлориды, значение pH и температуру.
Контроль выбросов и других соответствующих параметров технологического процесса должен осуществляться в соответствии с действующими стандартами со следующей периодичностью (см. таблицу 4.13).
|
Параметр |
Периодичность |
Применимость |
|
Определение потребления воды в подготовительных и красильно-жировальных процессах и выпуск продукции |
Ежемесячно |
Для соответствующих цехов |
|
Определение потребления химических материалов и выпуск продукции |
Ежегодно |
Для завода в целом |
|
Контроль содержания сульфидов и соединений хрома в сточных водах в соответствии с суточным потреблением воды. Контроль содержания сульфидов и соединений хрома в сточных водах после осаждения хрома в соответствии с суточным потреблением воды |
Еженедельно или ежемесячно |
На заводах, использующих методы очистки стоков от соединений хрома и сульфидов |
|
Контроль показателей ХПК, БПК, аммонийного азота, в соответствии с суточным потреблением воды. Контроль содержания взвешенных веществ после очистки стоков в соответствии с суточным потреблением воды |
Еженедельно или ежемесячно, а при необходимости даже чаще |
Для заводов, имеющих очистные сооружения |
|
Определение объема образующихся отходов и отходов, направляемых на повторное использование и утилизацию |
Регулярно |
Для предприятия в целом |
|
Расход энергии |
Регулярно |
Для предприятия в целом |
В разделе 4 были описаны наилучшие доступные технологии в кожевенном производстве.
В данном подразделе представлен общий вид выбранных технологий НДТ для достижения более высокого уровня защиты окружающей среды и более эффективного ресурсосбережения в кожевенном производстве.
НДТ для снижения потребления воды на кожевенных предприятиях:
|
Метод |
Пункт |
|
Снижение потребления воды с помощью внедрения современного оборудования для жидкостных процессов, установки и своевременного технического обслуживания расходомеров, вентилей, клапанов трубопроводов, а также с помощью повторного использования отработанных растворов или очищенных сточных вод |
4.3 |
НДТ, направленные на оптимизацию или снижение расхода химических материалов в отмочно-зольных процессах:
|
Метод |
Пункт |
|
Предварительное обессоливание сырья в специальных сетчатых барабанах |
4.4.1 |
|
Мездрение в сырье для обеспечения более эффективной обработки шкур в отмочно-зольных процессах, а так же для экономии химических материалов и воды |
4.4.2 |
|
Замена ПАВ на основе октил- и нонилфенольных этоксилатов на менее токсичные |
4.5.1 |
|
Золение с сохранением шерсти при золение и последующем ее удалении на шерстосгонных машинах |
4.5.2 |
|
Снижение расхода сульфида натрия за счет обработки сырья ферментными препаратами, а также использования вспомогательных препаратов на основе сероорганических соединений |
4.5.3 |
|
Предотвращение эмиссии сероводорода из сточных вод посредством обработки стоков биологическим методом или химическим способам с использованием в качестве катализатора сульфат марганца |
4.5.4 |
|
Технология кислой отмоки, при которой отмока производится в кислой среде, а затем постепенно осуществляется переход в щелочную область и проводится пероксидно-щелочное обезволашивание |
4.5.5.1 |
|
Технология с сокращенным расходом извести и сульфида натрия |
4.5.5.2 |
|
Двоение голья позволяет получить экономический эффект от сокращения химических материалов, реализации недубленых отходов, а также имеет ряд технологических преимуществ |
4.5.6 |
НДТ, позволяющие оптимизировать или частично сократить расход химических веществ, в результате чего снижается загрязнение сточных вод в процессах обеззоливания-мягчения:
|
Метод |
Пункт |
|
Замена сульфата аммония на углекислый газ с целью уменьшения содержания аммонийного азота и ХПК в сточных водах |
4.6.1 |
|
Замена сульфата аммония органическими кислотами с целью уменьшения содержания аммонийного азота в сточных водах |
4.6.2 |
|
Замена сульфата аммония карбамидфосфатными соединениями с целью уменьшения содержания аммонийного азота в сточных водах |
4.6.3 |
НДТ, направленные на сокращение расхода химических материалов при процессах пикелевания-дубления:
|
Метод |
Пункт |
|
Сокращение расхода соли при пикелевании за счет замены их на ароматические сульфокислоты |
4.7.1.1 |
|
Беспикельное дубление, при котором не применяются соли, кислоты и карбонат натрия для регулирования основности хромового дубителя, что значительно снижает загрязнение сточных вод |
4.7.1.2 |
НДТ, позволяющие снизить количество солей хрома в сточных водах после процесса дубления:
|
Метод |
Пункт |
|
Хромовое дубление с высокой степенью отработки дубителя, которое основано на использовании добавок, способствующих повышенной сорбции соединений хрома |
4.8.1.1 |
|
Повторное использование хромсодержащих растворов для пикелевания после фильтрации и ввода соли |
4.8.1.2 |
|
Регенерация дубящих соединений хрома после их осаждения |
4.8.1.3 |
|
Предварительное дубление голья солями аммония, глутаровым альдегидом, синтанами или солями титана |
4.8.1.4 |
НДТ, направленные на оптимизацию или уменьшение расхода покрывных композиций при покрывном крашении:
|
Метод |
Пункт |
|
Метод полива с использованием водных дисперсий |
4.10.1.1 |
|
Использование валичных машин, которые позволяют обеспечить эффективное расходование покрывных композиций, минимальное количество отходов и меньшее загрязнение воздуха растворителями |
4.10.1.2 |
|
Совершенствование метода нанесения покрытия распылением в нескольких направлениях |
4.10.1.3 |
|
Водоэмульсионные композиции для отделки, которые в меньшей степени загрязняют окружающую среду |
4.10.1.4 |
НДТ, направленные на снижение степени загрязнения сточных вод с помощью применения различных методов очистки как в отдельности, так и в различных комбинациях:
|
Метод |
Пункт |
|
Механическая обработка сточных вод для удаления грубых примесей |
4.11.3.1 |
|
Физико-механические методы очистки сточных вод, направленные на удаление тонкодисперсных взвешенных веществ, растворенных газов, органических и минеральных веществ |
4.11.3.2 |
|
Биологическая очистка - удаление взвешенных веществ осаждением и флотацией |
4.11.3.3 |
|
Применение мембранных биореакторов |
4.11.3.3.1 |
|
Биологическое удаление азота по способу нитрификации аммонийных соединений до нитратов и последующее их удаление |
4.11.3.3.2 |
|
Дополнительная очистка и утилизация ила предполагает удаление взвешенных частиц осаждением, обезвоживание образующегося осадка и вторичную флотацию |
4.11.3.3.3 |
НДТ для сокращения эмиссий в атмосферный воздух:
|
Метод |
Пункт |
|
Сокращение эмиссии органических растворителей различными технологическими методами |
4.12.2 |
|
Снижение эмиссии аммиака и сероводорода посредством биофильтрации |
4.12.3 |
|
Удаление пали и других твердых частиц при помощи циклонов, скрубберов, рукавных фильтров |
4.12.4 |
НДТ обращения с отходами:
|
Метод |
Пункт |
|
Утилизация шерсти различными способами |
4.13.1 |
|
Утилизация обрези на разных этапах производства кожи |
4.13.2 |
|
Утилизация жиров и масел посредством выделения их из отходов кожевенного производства или из отработанных растворов после обезжиривания и жирования |
4.13.3 |
НДТ, направленные на снижение потребления электроэнергии:
|
Метод |
Пункт |
|
Снижение расхода электроэнергии при сушке за счет лучшего обезвоживания полуфабриката |
4.14.1 |
|
Снижение расхода электроэнергии в жидкостных процессах за счет работы при низких жидкостных коэффициентах |
4.14.2 |
В настоящем разделе приведены экономические аспекты внедрения НДТ на кожевенных предприятиях.
В связи с ограниченным объемом информации сложно выполнить обоснованные и корректные расчеты и оценку внедрения НДТ. Однако с учетом имеющихся сведений от российских производителей и производителей стран ЕС, а также после анализа рынка технологического оборудования были частично рассчитаны затраты на закупку технологического оборудования, обеспечивающего сокращение эмиссий загрязняющих веществ в окружающую среду. Все данные приведены в таблице 6.1.
|
Технология |
Описание |
Экономические показатели |
|
Снижение потребления воды |
4.3 |
Инвестиции, требуемые для внедрения автоматизированной системы контроля расхода и подготовки воды на технологические нужды, составляют ориентировочно 10 000 евро на 5-8 барабанов |
|
Предварительное обессоливание сырья |
4.4.1 |
Стоимость барабанов для предварительного обессоливания сырья невелика. Обычно эти барабаны монтируются на площадке в сырьевом цехе. Увеличение затрат возможно за счет утилизации соли |
|
Мездрение в сырье |
4.4.2 |
Капиталовложения в приобретение мездрильной машины составят 130 000 евро. Экономия может быть достигнута за счет сокращения расхода химических материалов и реализации или переработки мездры на более дорогостоящие продукты |
|
Замена ПАВ на основе октил- и нонилфенольных этоксилатов |
4.5.1 |
Технология может быть реализована на новых и существующих заводах. Стоимость внедрения будет зависеть от конкретных условий производства |
|
Золение с сохранением шерсти |
4.5.2 |
Капиталовложения для закупки и монтажа барабана для улавливания шерсти составят 100 000-130 000 евро, при модификации имеющегося оборудования - 5000-10 000 евро. Эффект от внедрения, экономия затрат на очистку сточных вод и дополнительная прибыль от реализации шерсти |
|
Снижение расхода сульфида натрия |
4.5.3 |
Технология может быть реализована на новых и существующих заводах. Стоимость внедрения будет зависеть от конкретных условий производства |
|
Предотвращение эмиссии сероводорода из сточных вод |
4.5.4 |
Технология может быть реализована на новых и существующих заводах. Стоимость внедрения будет зависеть от конкретных условий производства |
|
Технология кислой отмоки |
4.5.5.1 |
Технология может быть реализована на новых и существующих заводах. Стоимость внедрения будет зависеть от конкретных условий производства и затрат на приобретение пластиковых барабанов. Экономический эффект получают за счет снижения затрат на очистку сточных вод |
|
Технология с сокращенным расходом извести и сульфида натрия |
4.5.5.2 |
Технология может быть реализована на новых и существующих заводах. Стоимость внедрения будет зависеть от конкретных условий производства. Экономический эффект получают за счет снижения затрат на очистку сточных вод |
|
Двоение голья |
4.5.6 |
Капиталовложения на установку двоильно-ленточной машины составляют примерно 140 000 евро. Экономический эффект достигается за счет снижения расходов на химматериалы |
|
Замена сульфата аммония на углекислый газ |
4.6.1 |
Расходы на углекислый газ выше, чем при обычной технологии. Инвестиции составят порядка 100 000 евро при мощности предприятия 20-30 т сырья в сутки |
|
Замена сульфата аммония органическими кислотами |
4.6.2 |
Значительные инвестиции не потребуются |
|
Замена сульфата аммония карбамидфосфатными соединениями |
4.6.3 |
Значительные инвестиции не потребуются. Эффект от сокращения затрат на очистку сточных вод |
|
Сокращение расхода соли при пикелевании |
4.7.1.1 |
Значительные инвестиции не потребуются. Эффект от сокращения затрат на очистку сточных вод |
|
Беспикельное дубление |
4.7.1.2 |
Значительные инвестиции не потребуются. Эффект от сокращения затрат на очистку сточных вод |
|
Хромовое дубление с высокой степенью отработки дубителя |
4.8.1.1 |
Значительные инвестиции не потребуются. Эффект от сокращения затрат на очистку сточных вод |
|
Повторное использование хромсодержащих растворов |
4.8.1.2 |
Требуются капиталовложения для установки резервуаров для хранения отработанных растворов и необходимых для перекачивания трубопроводов, насосов, а также обеспечение электроэнергией и КИП |
|
Регенерация дубящих соединений хрома после их осаждения |
4.8.1.3 |
Необходимы капиталовложения для установки резервуаров для хранения отработанных растворов и необходимых для перекачивания трубопроводов, насосов, а также обеспечение электроэнергией и КИП |
|
Предварительное дубление голья |
4.8.1.4 |
Внедрение технологии приведет к увеличению затрат на 20 %, но обеспечит экономию при очистке сточных вод |
|
Метод полива |
4.10.1.1 |
Затраты на внедрение метода и закупку оборудования составят 75 000 евро |
|
Использование валичных машин |
4.10.1.2 |
Стоимость валичной машины ориентировочно составляет 175 000 евро. Эффект от внедрения за счет экономии химических материалов |
|
Совершенствование метода нанесения покрытия распылением |
4.10.1.3 |
Капиталовложения составляют от 200 000 до 500 000 евро. Эффект от внедрения за счет экономии химических материалов |
|
Водоэмульсионные композиции для отделки |
4.10.1.4 |
Внедрение технологии приведет к увеличению затрат на 10 %, но обеспечит экономию за счет снижения выбросов в атмосферу |
|
Механическая обработка сточных вод |
4.11.3.1 |
Капитальные затраты в зависимости от объема производственных стоков |
|
Физико-химические методы очистки сточных вод |
4.11.3.2 |
Капитальные и эксплуатационные затраты определяются объемом производственных стоков и стоимостью химических реагентов |
|
Биологическая очистка |
4.11.3.3 |
Процесс очистки с использованием активного ила включает капитальные затраты и эксплуатационные затраты и зависит от объема производственных стоков. Ориентировочно 24 000-30 000 руб./кг ХПК в сутки |
|
Применение мембранных биореакторов |
4.11.3.3.1 |
Процесс очистки с использованием мембранных реакторов включают: капитальные затраты и эксплуатационные затраты и зависят от объема производственных стоков. Ориентировочно 30 000 руб./кг ХПК в сутки |
|
Биологическое удаление азота |
4.11.3.3.2 |
Капитальные затраты зависят от уровня нагрузки по загрязняющим веществам |
|
Дополнительная очистка и утилизация ила |
4.11.3.3.3 |
Капитальные затраты зависят от уровня нагрузки по загрязняющим веществам |
|
Сокращение эмиссии органических растворителей |
4.12.2 |
Снижение выплат за превышение нормативных показателей выбросов |
|
Снижение эмиссии аммиака и сероводорода |
4.12.3 |
Снижение выплат за превышение нормативных показателей выбросов |
|
Удаление пыли и других твердых частиц |
4.12.4 |
Снижение выплат за превышение нормативных показателей выбросов |
|
Утилизация шерсти |
4.13.1 |
Реализация шерсти в качестве сырья для изготовления целевых продуктов |
|
Утилизация обрези |
4.13.2 |
Реализация обрези в качестве сырья для изготовления целевых продуктов |
|
Утилизация жиров и масел |
4.13.3 |
Использование вторичных продуктов в технологическом процессе с частичной экономией химических материалов |
Мокросоленый и сухосоленый методы консервирования - наиболее распространенные способы сохранения кожевенного сырья от бактериального поражения, базирующиеся на обработке шкур большим количеством соли.
Соль, извлекаемая при предварительной механической очистке сырья, не может повторно использоваться из-за заражения бактериями и присутствия в ней органических веществ. Данный метод позволяет соли восстанавливаться. Он состоит из термической обработки (стерилизации) и сушки соли. После термической обработки восстановленную соль можно использовать для технического обслуживания дорог зимой.
Основным экологическим преимуществом данного метода является уменьшение количества соли в качестве отходов.
Операционный блок включает в себя:
- склад для хранения соли перед восстановлением;
- питающий источник;
- загрузочная воронка;
- система термической обработки (110°С - 140°С) для стерилизации соли;
- склад для хранения соли после восстановления.
Подача электроэнергии осуществляется за счет природного газа с прямым контактом между пламенем и солью. Органические вещества сгорают без образования отходов.
Данная технология используется поставщиками кожевенного сырья во Франции и может быть внедрена на кожевенных заводах.
Экономических вложений требуют системы термической обработки и хранения, а также эксплуатационные расходы, включающие стоимость топлива (на восстановление 1 кг соли требуется от 70 до 119 кДж).
Данная технология разработана в Италии для выполнения додубливания, крашения и наполнения в полунепрерывном аппарате с низким жидкостным коэффициентом. Линия состоит из трех отдельных модулей:
- валичная машина для додубливания и наполнения. Благодаря системе, разработанной специально для этой цели, машина облегчает проникновение химических веществ в кожу, а затем "выдавливает" избыток этих веществ. Особенностью этой машины является двойной резервуар для импрегнации, поэтому кожа одновременно обрабатывается с обеих сторон;
- стабилизирующая камера, в которой контролируется давление, влажность и температура, создающие оптимальные условия для диффузии и фиксации химических веществ в коже;
- система замачивания-крашения, в которой кожа окрашивается за несколько секунд. Низкие объемы воды содержат высокие концентрации химических веществ - это позволяет системе работать в краткосрочном режиме, а также поддерживать низкий уровень сточных вод.
Машины снабжены датчиками для мониторинга ключевых параметров процессов (температура, pH, концентрация), что позволяет сохранить условия стабильными.
Наличие справочной информации является необходимым условием совершенствования комплексной системы профилактики и борьбы с загрязнениями в кожевенной промышленности.
При очередной подготовке справочника по НДТ рекомендуется упростить анкету и повысить заинтересованность предприятий в представлении объективных данных о работе в области экологически чистых технологий, уровне потребляемых химических материалов, степени загрязненности сточных вод, конкретных значений выбросов в атмосферу.
Приложение А
(обязательное)
|
ОКПД 2 |
Наименование продукции по ОК 034-2014 (ОКПД) |
Наименование вида деятельности по ОКВЭД 2 |
ОКВЭД 2 |
|
15 |
Кожа и изделия из кожи |
Производство кожи и изделий из кожи |
15 |
|
15.1 |
Кожа дубленая и выделанная; чемоданы, сумки дамские, изделия шорноседельные и упряжь; меха выделанные и окрашенные |
Дубление и отделка кожи, производство чемоданов, сумок, шорно-седельных изделий из кожи; выделка и крашение меха |
15.1 |
|
15.11 |
Кожа дубленая и выделанная; меха выделанные и окрашенные |
Дубление и выделка кожи, выделка и крашение меха |
15.11 |
|
15.11.2 |
Замша; кожа лаковая и кожа лаковая ламинированная; кожа металлизированная |
Дубление, выделка и крашение кожи из шкур крупного рогатого скота или животных семейства лошадиных |
15.11.3 |
|
15.11.21 |
Замша |
Дубление, выделка и крашение кожи из шкур овец, коз и свиней |
15.11.4 |
|
15.11.22 |
Кожа лаковая и кожа лаковая ламинированная; кожа металлизированная |
Дубление, выделка и крашение кожи из шкур прочих животных, производство композиционной кожи |
15.11.5 |
|
15.11.22.110 |
Кожа лаковая |
Дубление, выделка и крашение кожи из шкур прочих животных |
15.11.51 |
|
15.11.22.120 |
Кожа лаковая ламинированная | ||
|
15.11.22.130 |
Кожа металлизированная | ||
|
15.11.3 |
Кожа из шкур крупного рогатого скота или животных семейства лошадиных без волосяного покрова | ||
|
15.11.31 |
Кожа из целых шкур крупного рогатого скота без волосяного покрова | ||
|
15.11.32 |
Кожа из нецелых шкур крупного рогатого скота без волосяного покрова | ||
|
15.11.33 |
Кожа из шкур животных семейства лошадиных без волосяного покрова | ||
|
15.11.4 |
Кожа из шкур овец, коз и свиней без волосяного покрова |
Приложение Б
(обязательное)
маркерных загрязняющих веществ для водных объектов и атмосферного воздуха
|
Для атмосферного воздуха |
Для водных объектов |
|
Сероводород |
Взвешенные вещества |
|
Аммиак |
БПК |
|
Органические растворители |
ХПК |
|
Сульфиды | |
|
Аммонийный азот | |
|
Хром |
Приложение В
(обязательное)
НДТ, позволяющих сократить эмиссии в окружающую среду, повысить энергоэффективность и оптимизировать и сократить ресурсопотребление
|
N |
Наименование НДТ |
Примечание |
|
1 |
Снижение потребления воды |
5.1.1 |
|
2 |
Оптимизация или снижение расхода химических материалов в отмочно-зольных процессах |
5.1.2 |
|
3 |
Оптимизация или частичное сокращение расхода химических веществ в процессах обеззоливания-мягчения |
5.1.3 |
|
4 |
Сокращение расхода химических материалов при проведении процессов пикелевания-дубления |
5.1.4 |
|
5 |
Снижение количества солей хрома в сточных водах после процесса дубления |
5.1.5 |
|
6 |
Оптимизация или уменьшение расхода покрывных композиций при покрывном крашении |
5.1.6 |
|
7 |
Снижение степени загрязнения сточных вод |
5.1.7 |
|
8 |
Сокращение эмиссий в атмосферный воздух |
5.1.8 |
|
9 |
Обращение с отходами |
5.1.9 |
|
10 |
Снижение потребления электроэнергии |
5.1.10 |
Приложение Г
(обязательное)
|
Номер НДТ |
Технологический показатель |
Единица измерения |
Диапазон (значение) |
|
НДТ 1 |
Расход воды на отмочно-зольные и преддубильно-дубильные процессы |
м3/т |
Не более 18 |
|
Расход воды на красино-жировальные и отделочные процессы |
Не более 10 | ||
|
НДТ 2 |
Взвешенные вещества |
г/л |
Не более 35 |
|
БПК |
Не более 12 | ||
|
ХПК |
Не более 13 | ||
|
Сульфиды |
Не более 10 | ||
|
Аммонийный азот |
Не более 3 | ||
|
НДТ 3 |
Взвешенные вещества |
г/л |
Не более 3 |
|
БПК |
Не более 3 | ||
|
Аммонийный азот |
Не более 0, 3 | ||
|
НДТ 4 |
Взвешенные вещества |
г/л |
Не более 6 |
|
БПК |
Не более 4, 5 | ||
|
ХПК |
Не более 7 | ||
|
Хром |
Не более 6 | ||
|
НДТ 5 |
Хром |
мг/л |
Не более 1 (среднемесячное значение) |
|
НДТ 6 |
Летучие органические соединения |
г/м2 |
Не более 150 (среднегодовое значение на единицу готовой кожи) |
|
НДТ 7 |
ХПК |
мг/л |
Не более 500 |
|
БПК |
Не более 25 | ||
|
Взвешенные вещества |
Не более 35 | ||
|
Аммонийный азот |
Не более 10 | ||
|
Хром |
Не более 1 | ||
|
Сульфиды |
Не более 1 | ||
|
НДТ 8 |
Сероводород |
г/л |
Не определены |
|
Аммиак |
Не определены | ||
|
Органические растворители |
Не определены | ||
|
НДТ 9 |
Не определены |
Не определены |
Не определены |
|
НДТ 10 |
От сырья до дубленого п/ф |
ГДж/т |
Не более 4 |
|
От сырья до готовой кожи |
Не более 16 | ||
|
При выработке кож из овчины |
Не более 10 |
Приложение Д
(обязательное)
Кожевенное производство характеризуется большим ресурсопотреблением и энергоемкостью. На обработку 1 т кожевенного сырья расходуется примерно 54-78 м3 воды, около 400 кг химических материалов и от 36 до 60 ГДж энергии.
В процессе производства кожи энергия расходуется на всех технологических стадиях: для подогрева воды при жидкостных операциях, при отделки кож и т.д. Наибольший уровень потребления энергии связан с процессами сушки. Рекомендации по повышению энергоэффективности представлены в 3.4.
В таблице Д.1 приведены данные по рекомендуемому потреблению энергии в производстве кож из сырья КРС и овчины, за исключением затрат энергии на работу очистных сооружений.
|
Вид производства |
Удельный расход потребляемой энергии в расчете на единицу сырья, ГДж/т |
|
Производство wet-blue и wet-white из шкур КРС |
Не более 4 |
|
Производства готовой кожи из шкур КРС |
Не более 16 |
|
Производство готовой кожи из овчины |
Не более 10 |
|
Стадия обработки |
Расход воды, м3/т |
|
Отмочно-зольные и преддубильно-дубильные процессы |
Не более 18 |
|
Красильно-жировальные процессы и отделка |
Не более 10 |
|
Всего |
Не более 28 |
|
Химические материалы |
Объем потребления, % |
|
ПАВ (анионные, катионные, неионогенные) |
2 |
|
Антисептики, биоциды |
0, 3 |
|
Неорганические соединения (сульфид натрия, гидроксид кальция, соли, кислоты) |
37 |
|
Дубители (минеральные, растительные, альдегидные) |
25 |
|
Органические кислоты (уксусная, муравьиная) |
5 |
|
Красители |
4 |
|
Жирующие материалы |
7 |
|
Материалы для отделки |
11 |
|
Органические растворители |
4 |
|
Ферментные препараты |
2 |
|
Вспомогательные материалы |
2, 7 |
|
Итого |
100 |
|
Номер НДТ |
Наименование НДТ |
Раздел/ пункт справочника |
|
НДТ 1 |
Снижение потребления воды |
5.1.1 |
|
НДТ 2 |
Оптимизация или снижение расхода химических материалов в отмочно-зольных процессах |
5.1.2 |
|
НДТ 3 |
Оптимизация или частичное сокращение расхода химических веществ в процессах обеззоливания-мягчения |
5.1.3 |
|
НДТ 4 |
Сокращение расхода химических материалов при проведении процессов пикелевания-дубления |
5.1.4 |
|
НДТ 5 |
Снижение количества солей хрома в сточных водах после процесса дубления |
5.1.5 |
|
НДТ 6 |
Оптимизация или уменьшение расхода покрывных композиций при покрывном крашении |
5.1.6 |
|
НДТ 10 |
Снижение потребления электроэнергии |
5.1.10 |
Экономические аспекты реализации НДТ приведены в разделе 6.
Перспективные технологии, направленные на повышение энергоэффективности и оптимизацию и сокращение ресурсопотребления могут включать в себя такие направления, как:
- использование отходов кожевенного производства;
- применение новых, более безопасных химических материалов;
- использование ферментных препаратов в технологических операциях;
- совершенствование систем водоотведения и очистных сооружений кожевенных предприятий и др.
Некоторые из перспективных технологий приведены в разделе 7.
Библиография
[1] Постановление Правительства Российской Федерации от 23 декабря 2014 г. "О порядке определения технологии в качестве наилучшей доступной технологии, а также разработки, актуализации и опубликования информационно-технических справочников по наилучшим доступным технологиям".
[2] Распоряжение Правительства Российской Федерации от 24 декабря 2014 г. N 2674-р "Об утверждении перечня областей применения наилучших доступных технологий".
[3] ГОСТ Р 56828.14-2016 НДТ. Структура информационно-технического справочника.
[4] ГОСТ Р 56828.13-2016 НДТ. Формат описания технологий.
[5] ГОСТ Р 56828.15-2016 НДТ. Термины и определения.
[6] Справочник Европейского союза по НДТ European Commission. Integrated Pollution and Control. Best Available Techniques (BAT) Reference Document for the Tanning of Hides and Skins, 2013.
[7] Приказ Федеральной службы по техническому регулированию и метрологии от 23 июня 2015 г. N 863 "Об утверждении порядка сбора данных, необходимых для разработки информационно-технического справочника по наилучшим доступным технологиям и анализа приоритетных проблем отрасли".
[8] Распоряжение Правительства Российской Федерации от 31 октября 2014 г. N 2178-р "Об утверждении поэтапного графика создания в 2015-2017 г. справочников наилучших доступных технологий".
[9] Павлова, М.С. Экологический аспект химической технологии кожи. - М.: МГАЛП, 1997. - 191 с.
[10] Кондауров, Б.П. Коллагенсодержащие отходы кожевенного производства и направления их использования. - М.: МГУДТ, 2008. - 102 с.
[11] European Waste Catalogue and Hazardous Waste List - Valid from 1 January 2002 Environmental Protection Agency 2002 Johnstown Castle Estate County Wexford Ireland ISBN: 1-84095-083-8. - 43 P.
[12] Chromium trioxide, sodium chromate, sodium dichromate, ammonium dichromate and potassium dichromate summary. Risk assessment report. Final report, 2005 special publication. i.05.16. - 28 P.
[13] Чурсин, В.И., Андриевская, О.К. Восстановление бихромата натрия в присутствии растительных компонентов//Известия вузов Химия и химическая технология. - 2016. - Т. 59, вып. 11. - С. 77-84.
[14] Кондауров, Б.П., Захарова, А.А., Александров, В.И., Базшиева, Л.Т., Салтыкова, В.С. Сточные воды кожевенного предприятия: проблемы и решения. - М.: МГУДТ, 2011. - 285 с.
[15] Афанасьева, Р.Я. Справочник кожевника (сырье и материалы)/Р.Я. Афанасьева, Н.С. Афонская, М.М. Бернштейн и др.; под ред. проф. К.М. Зурабяна. - М.: Легкая и пищевая промышленность, 1984. - 384 с.
[16] Холмберг, К., Йенссон, Б., Кронберг, Б., Линдман, Б. Поверхностно-активные вещества и полимеры в водных растворах/пер. с англ. - М.: БИНОМ. Лаборатория знаний, 2007. - 528 с.
[17] Клименко, Н.А., Лободина, А.Н. и др. Перспективы мембранной очистки промышленных вод от поверхностно-активных веществ и красителей. - Киев, 1996. - 43 с.
[18] Балберова, Н.А. Справочник кожевника (технология)/Н.А. Балберова, А.Н. Михайлов, Е.Н. Шуленкова, В.А. Кутьин. - М.: Легпромбытиздат, 1986. - 272 с.
[19] Данилкович, А.Г., Чурсин, В.И. Практикум по химии и технологии кожи и меха. - М.: ЦНИИКП, 2002. - 413 с.
[20] Чурсин, В.И. Новые химические материалы в экологически безопасных технологиях кожевенного производства//Кожевенно-обувная промышленность. - 2003. - N 5. - С. 10-11.
[21] Журавский, В.А. Малоотходная технология кожевенного производства. - М.: Легпромбытиздат, 1993. - 128 с.
[22] Чурсин, В.И. Новые химические материалы для беспикельного дубления кож//Кожевенно-обувная промышленность. - 1997. - N 5. - С. 32-33.
[23] Бейсеуов, К. Новое в минеральном дублении кож. - М.: Легпромбытиздат, 1993. - 128 с.
[24] rv-ryazan.ru/news/67096.html.
[25] www.rbc.ru/rbcfreenews/58808a859a7947209f76f2a1.
[26] Official Journal of the European Union L 45/1316.2.2013.
[27] ENISO 14001:2004.
[28] Best Available Techniques (BAT) Reference Document for theTanning of Hides and Skins Industrial Emissions Directive 2010/75/EU 2013 р. 290.
[29] Yan Y. Lam., Eric Ravussin Analysis of energy metabolism in humans: A review of methodologies. Molecular Metabolism. - 2016. - Vol. 5, Iss. 11. - P. 1057-1071.
[30] Чурсин, В.И. Теоретические основы и практика новых нетрадиционных технологий: автореферат диссертации на соискание ученой степени доктора технических наук. - М., 1999. - 50 с.
[31] Маллашахбанов, Ш.А., Чурсин, В.И. Интенсификация подготовительных процессов кожевенного производства с использованием целевых вспомогательных материалов: сб. науч.-исслед. работ ЦНИИКП. - М., 2004. - С. 36-41.
[32] Семенова, А.А., Куцакова, В.Е. Пищевые белковые ингредиенты из побочных продуктов мясопереработки//Все о мясе. - 2012. - N 2. - С. 10-12.
[33] Чурсин, В.И., Волчкова, Т.А. Использование фосфорсодержащих соединений в преддубильно-дубильных процессах кожевенного производства: сб. тр. ЦНИИКП. - М., 1993. - С. 27-37.
[34] Голюта, В.А. Гигиеническое обоснование использования осадков сточных вод кожевенной промышленности, загрязненных ПАВ, в качестве удобрений. - Киев, 1992. - С. 111-112.
[35] Чурсин, В.И. Беспикельное дубление кож в режиме замкнутого цикла//Кожевенно-обувная промышленность. - 1998. - N 2. - С. 22-27.
[36] Чурсин, В.И. Структурные особенности коллагена и образование поперечных сшивок при дублении//Текстильная химия. - 1998. - N 1. - С. 11-12.
[37] Пат. N 2129992 Российская Федерация. Способ регенерации отработанных растворов хромового дубления кожевенного производства/В.П. Панов, A. C. Пакшвер; опубл. 10.05.1999, Бюл. N 13.
[38] Hauber and Knödler, Innovative techniques: Determination of Best Available Techniques (BAT) in the tanning industry as a contribution to complying, Leather Institute Reutlingen, Germany. - 2008. - P. 66.
[39] Хаустов, В.Д., Чурсин, В.И. Современное технологическое оборудование кожевенного производства. - М.: РГУ им. А.Н. Косыгина, 2017. - 173 с.
[40] Annual Report of Laboratory Directed Research & Development Program Activities For FY. - 2002. - P. 252.
[41] Rydin and Svenson, Tanwater - Reduction of Nitrogen Discharge from the Leather Industry. - 2006. - P. 7.
[42] Трунов, П.В. Особенности процесса очистки сточных вод в погружных мембранных биореакторах//Коммунальное хозяйство городов. - 2010. - N 93. - С. 20-28.
[43] Воронов, Ю.В., Яковлев, С.В. Водоотведение и очистка сточных вод. - М.: Издательство Ассоциации строительных вузов, 2006. - 704 с.
[44] Health effects engineering of coal and biomass combustion particulates: influence of zinc, sulfur and process changes on potential lung injury from inhaled ash/Fernandez Art, Wendt Jost O. L., Witten Mark L.//Fuel: The Science and Technology of Fuel and Energy. 2005. - 84. - N 10. - P. 1320-1327.
[45] Богомолов, М.В., Кармазинов, Ф.В., Костюченко, С.В. Методы удаления запахов в системах транспортировки и очистки сточных вод//Водоснабжение и санитарная техника. - 2016. - N 7. - С. 33-43.
[46] Hackmack U., Mahrwald B. Implementation guide for the German Solvent Ordinance. - 2002. - P. 117.
[47] Шевцова, Н.И. Технология получения кормовой добавки из отходов шерсти и ее использование в кормлении овец: дис. ... канд. с.-х. наук: 06.02.2004. - Ставрополь, 2005. - 154 с.
[48] Вайсберг, Л.А. Новые технологии переработки бытовых и промышленных отходов//Вторичные ресурсы. - 2001. - N 5-6. - С. 45-51.
[49] Directive 2010/75/EU of the European Parliament and of the Council of 24 November 2010 on industrial emissions (integrated pollution prevention and control). - 17 Р.


